EP2036818A1 - Verfahren zum Herstellen einer palettenlosen Verpackungseinheit - Google Patents

Verfahren zum Herstellen einer palettenlosen Verpackungseinheit Download PDF

Info

Publication number
EP2036818A1
EP2036818A1 EP07023274A EP07023274A EP2036818A1 EP 2036818 A1 EP2036818 A1 EP 2036818A1 EP 07023274 A EP07023274 A EP 07023274A EP 07023274 A EP07023274 A EP 07023274A EP 2036818 A1 EP2036818 A1 EP 2036818A1
Authority
EP
European Patent Office
Prior art keywords
stack
film
engagement
wrapped
stacked
Prior art date
Legal status (The legal status is an assumption and is not a legal conclusion. Google has not performed a legal analysis and makes no representation as to the accuracy of the status listed.)
Granted
Application number
EP07023274A
Other languages
English (en)
French (fr)
Other versions
EP2036818B1 (de
Inventor
Peter Dipl.- Ing. Aka
Richard Birkenfeld
Norbert Frenzel
Current Assignee (The listed assignees may be inaccurate. Google has not performed a legal analysis and makes no representation or warranty as to the accuracy of the list.)
Maschinenfabrik Moellers GmbH
Original Assignee
Maschinenfabrik Moellers GmbH
Priority date (The priority date is an assumption and is not a legal conclusion. Google has not performed a legal analysis and makes no representation as to the accuracy of the date listed.)
Filing date
Publication date
Family has litigation
First worldwide family litigation filed litigation Critical https://patents.darts-ip.com/?family=39276186&utm_source=google_patent&utm_medium=platform_link&utm_campaign=public_patent_search&patent=EP2036818(A1) "Global patent litigation dataset” by Darts-ip is licensed under a Creative Commons Attribution 4.0 International License.
Application filed by Maschinenfabrik Moellers GmbH filed Critical Maschinenfabrik Moellers GmbH
Priority to EP07023274A priority Critical patent/EP2036818B1/de
Priority to DK07023274.9T priority patent/DK2036818T3/da
Priority to DE202007018783U priority patent/DE202007018783U1/de
Priority to CN2008801184950A priority patent/CN101903251B/zh
Priority to PCT/EP2008/010092 priority patent/WO2009068294A1/de
Priority to RU2010121263/13A priority patent/RU2464209C2/ru
Publication of EP2036818A1 publication Critical patent/EP2036818A1/de
Publication of EP2036818B1 publication Critical patent/EP2036818B1/de
Application granted granted Critical
Active legal-status Critical Current
Anticipated expiration legal-status Critical

Links

Images

Classifications

    • BPERFORMING OPERATIONS; TRANSPORTING
    • B65CONVEYING; PACKING; STORING; HANDLING THIN OR FILAMENTARY MATERIAL
    • B65BMACHINES, APPARATUS OR DEVICES FOR, OR METHODS OF, PACKAGING ARTICLES OR MATERIALS; UNPACKING
    • B65B9/00Enclosing successive articles, or quantities of material, e.g. liquids or semiliquids, in flat, folded, or tubular webs of flexible sheet material; Subdividing filled flexible tubes to form packages
    • B65B9/10Enclosing successive articles, or quantities of material, in preformed tubular webs, or in webs formed into tubes around filling nozzles, e.g. extruded tubular webs
    • B65B9/13Enclosing successive articles, or quantities of material, in preformed tubular webs, or in webs formed into tubes around filling nozzles, e.g. extruded tubular webs the preformed tubular webs being supplied in a flattened state
    • B65B9/135Enclosing successive articles, or quantities of material, in preformed tubular webs, or in webs formed into tubes around filling nozzles, e.g. extruded tubular webs the preformed tubular webs being supplied in a flattened state for palletised loads

Definitions

  • the present invention relates to a method for producing a palletless packaging unit comprising a plurality of packaging items stacked in a stack, in which the packaging items are stacked in such a way that at least two engagement areas for fork legs of a lift truck are formed in at least one stack level, the stack at least with its engagement region a first film is wrapped, the unilaterally wrapped good pile is turned so that the engaging portions having portion of the stack comes down and the stack is wrapped with a preferably reaching into the engagement areas of the second film.
  • Such a method is from those attributable to the present applicant DE 26 14 558 and DE 27 02 613 known.
  • a shrink hood is pulled over the stack as a first film, which subsequently applied by heat shrinking under welding with another plastic film, which has been previously placed on the stack, closely to the stack.
  • another shrink film hood was pulled over the stack as a second sheet and also shrunk to the stack by thermal shrinkage, welding to the overlapping portions of the first sheet.
  • the generic method has proven particularly useful for forming packages of stacked sacks, such as concrete, gypsum or mortar sacks, especially in those areas where the use of pallets for storing a stack of goods is unusual, and / or the return of pallets becomes too expensive after unloading the packaging items.
  • the implementation of the generic method requires a differentiated dosage and application of heat energy for shrinking the two films on the stack, in particular for welding the two film layers against each other. This welding is considered necessary to connect the palletless layer to a unit that, despite the lack of flat shelf due to the lack of a pallet several times turn and safely transport, without the risk that the stack will lose its stability.
  • the present invention is based on the problem of specifying an improved method for producing a palletless packaging unit.
  • the present invention proposes a method having the features of claim 1.
  • This differs from the generic state of the art in that the first film and the second film are each formed from a tube whose circumference is initially smaller than the circumference of the stack and before the wrapping of the stack to a circumference greater than the circumference stretched the stack and applied with elastic hoop stress to the stack.
  • a palletless packaging unit is produced by stretching two film tubes and coating over the stack in the opposite direction with respect to the height axis of the stack. It has surprisingly been found that even with stretched film tubes (as disclosed, for example, in US Pat EP 1 013 549 ) a palletless packaging unit can be produced, which has the necessary strength and dimensional and dimensional stability even with repeated handling.
  • a packaging unit produced in this way can be produced reliably even without a pallet forming the storage surface.
  • care must be taken to ensure that the packaging regions surrounding the engagement regions are stacked such that the engagement regions for the fork legs engage, in particular when the first film is stretched in such a way that it connects the edges surrounding the engagement regions in the manner of a tangent allow the fork legs.
  • Engaging areas for fork legs can also be formed, for example, by creating a free space between two packaging objects which are arranged in a stack level.
  • the fork legs of a lift truck can also be introduced by moving the fork leg initially moved laterally next to the stack in the engagement areas.
  • this engagement of the fork legs it is possible, for example, first to urge tangentially two edges of the stack of material bridging foil material in the engagement areas inward, so that the fork legs come to rest on the stack forming layers.
  • the engagement areas are usually formed by a so-called special situation, which is stacked differently from the normal layers of the stack and has a smaller footprint than this.
  • the special situation In the case of identically dimensioned packaging items which form the stack of goods, for example bags filled with bulk goods, the special situation has fewer packaging items than the normal position.
  • a plurality of special layers can also be stacked on top of one another, resulting in an engagement region with a larger engagement height.
  • the first and the second film is formed from the same tube.
  • This can be the identical tube, provided that the stack to be wrapped is coated after turning at that position with the second film on which it has also been coated with the first film.
  • the first film on the outside and / or the second film on the inside can be provided with a bonding agent and / or with a friction-increasing surface, so that the sections of the two films provided in the overlapping region of the first and second films interlock with one another and / or or cling to each other.
  • the packaging unit To increase the strength of the packaging unit, in particular during transport, it is proposed according to a further preferred embodiment of the present invention to place a holding position on the stack before wrapping the stack with the first film, in such a way that this holding position, the engagement areas and adjacent thereto provided packaging items covered.
  • the wrapped packaging unit is reinforced after completion by the holding position in particular adjacent to and over the engagement areas, so that when lifting the stack of goods through the lift truck sagging of layers of the stack between the fork legs or laterally past individual fork legs is effectively prevented.
  • the engaging portions should be immediately adjacent to opposite longitudinal sides of the stack, so provided on opposite edges of the stack, so that the fork legs of a lift truck can be passed past both sides of the stack and by successive closing of the fork legs only in the engagement areas and can be brought under the first film and the holding position.
  • the introduction of the fork legs is therefore essentially without destruction of the films by lateral approach, ie closing the fork legs towards each other.
  • a holding layer can be formed from a fabric-reinforced film web.
  • the holding layer may be formed from a web reinforced with a grid structure.
  • the grid structure may be a permeable grid structure in this preferred development. The individual strands of the grid act as traction tendrils which stiffen the bottom of the packaging unit.
  • the holding layer may consist of a plastic film material, cardboard, or a knitted fabric. Also, tabular elements made of wood or metal or plastic are suitable for the formation of the retaining layer.
  • means may be provided at the phase boundary between the holding layer and the first film web, which promote an intimate bond between the two film webs.
  • an adhesive bond between the holding position and the first film web can be realized.
  • the first and / or the second film is welded off before wrapping the stack to form a hood and separated from a strand of the first and / or the second film supplying the film material, can by dimensional design of the film relative to the base of the stack and proper process management when coating the stack on the bottom later, ie the top when coating the first film, a certain tension of the film material can be achieved, which leads to an improved connection between the retaining layer and the first sheet material. If the retaining layer has a profiled lattice structure, this can be pressed into the film material of the first film by sufficient clamping of the first film on the upper side of the material stack and thus anchored therein.
  • the holding position for example, when the stacked stack of goods and introduction into a first workstation, where the stack is wrapped with the first film, are placed on the top of the engaging areas.
  • a hanging down holding position can be taken from the horizontally moving stack and after subtracting a desired length of a continuous strand fed the film web can be cut from this strand. It is desirable in this case to have a method guide in which the holding layer not only covers the upper side of the stack of goods when the first film is coated, but also extends at least a little beyond the adjacent, mutually opposite side walls of the stack.
  • the subsequent coating at least with the first film leads to the fact that the voltage applied to the side wall of the stack of goods length portions of the holding position are pressed against them, so that the holding position is additionally fixed relative to the stack.
  • the holding function of the holding position is further improved, which ensures that individual packaging items of the finished packaged packaging unit does not sag when lifting down.
  • a short hose hood can be applied under elastic elongation to the stack, whereby the stack is reinforced in the region of its later underside by a stretch hood.
  • This short hose cover usually extends two to four layers over the stack, but does not extend over the entire height of the same.
  • the short tube cap is preferably made of the film material of the first film to simplify the process, so that the short tube cap and formed by the first film, usually the entire stack of high-covering hose hood manufactured with the same device and pulled at the same station on the stack can be.
  • the holding position can be placed before and / or during or after the stacking of the stack or completely or partially disposed between different layers of the stack to fix the holding position within the stack of goods. It is also conceivable to first apply the special position to a holding position, to transfer the holding position over the single or the highest special layer and then to stack the normal layers. The stacked stack is then rotated 180 ° and covered with the first film. After rotating again by 180 °, the stack is then covered with the second film.
  • a soil reinforcement can be placed on the stack before coating the first film.
  • This floor reinforcement can be formed, for example, from cardboard, a foil or a panel made of plastic, wood or metal and will be used in particular when the stacks of goods are pushed upright when being folded on the later underside.
  • the soil reinforcement protects the bottom layer of the finished pile of goods during transport and when handling against damage.
  • the bottom reinforcement may also have a certain rigidity, and thus form a basically rigid bottom.
  • the first film is drawn from the upper side comprising the engagement regions to the region of the underside of the product stack above it.
  • the first film surrounding the engaging regions and held there is fixed over the entire height of the product stack, so that there is no risk of the first film slipping off the product stack in the longitudinal direction when it is lifted by the lift truck and moving as a result, packaging objects of the lowermost layer move gravity direction and want to break out of the stacked composite.
  • the second film is drawn substantially over the entire stack of goods after turning, so that the second film against the stack of elastic material against the peripheral surface of the stack with the interposition of the first sheet against the stack applies and the first Film additionally fixed.
  • the second film should cover after turning now lying on top of the bottom of the stack, so that the stack is covered by the elastic against the stack of fabric hose hood on the top side and protected against the ingress of dirt and moisture.
  • the second film is pulled over the stack so that it ends at the level of the engagement areas.
  • the second film is preferably pulled over the stack so that it does not interfere with the engagement of the fork legs of a lift truck or only slightly.
  • the second sheet material is dispensed in the engagement regions at the end of the coating process, ie actively released by driving Reffrollen of these Reffrollen associated with the refining. The film material of the second film is accordingly supplied to the level of the engagement regions.
  • the material of the first foil and / or the retaining layer which initially essentially tangentially overlaps two outer edges of the stack is pushed inwards in the engagement regions, so that the original contour of the stack is Also on the outside of the film webs is recovered.
  • feeding of increased material results in the second film in the edge-side engagement areas that they are more easily accessible to the fork legs of a lift truck without destroying the film material.
  • the sheet material is supplied while a film deflecting the upper edge of the refining fingers is stationary at the upper end of the engagement areas, i. at the point where the highest special situation ends.
  • the supplied sheet material is conveyed directly under the lowest normal position, so that the first tangentially extending between two edges of the stack material of the first sheet or the holding position moves in the corner of the stack and the stack is then contour contoured enveloped by the slides.
  • the first and / or the second film or the short hose hood with an elastic circumferential extent of at least 50%, preferably of at least 70% based on the unstretched circumference of the tubular film is applied to the stack. Envisaged are circumferential strains of up to 150%, whereby a tight and compact packaging unit is obtained.
  • the present invention further provides protection for a packaging unit produced by the method according to the invention, comprising a plurality of layers of stacked packaging articles stacked such that at least two engaging portions for fork legs of a lift truck are formed in a stacking plane and the one surface and in any case, parts of the side surface enclosing hood made of a first film material and in the opposite direction to this over the stack drawn hood from a second film material, wherein the tube cap formed from the first and second formed film are applied as a stretch hood to the stack, ie abut with elastic circumferential strain on the stack.
  • FIG. 1 shows an embodiment of a stack of goods 2 with several summarized in a stack level packaging items 4, which should be formed in the present case by cement bags.
  • a stack level packaging items 4 On top of each other several levels of packaging items 4 are stacked.
  • Each stack level has in the normal layers 5, the same number of packaging items 4, so that there is a substantially cuboid stack 2.
  • Only the upper layer is designed as a special layer 7 and has fewer packaging items 4, so that at the edge of the stack of goods between the top 6 and opposite side surfaces 8 engagement portions 10 are formed, which extend at right angles to the plane of the drawing parallel to the side surfaces 8, over the entire depth of the stack 2.
  • the width of the Engaging portions 10, that is, the distance between the side surface 8 and the parallel thereto extending side surface of the upper packaging items 4.1; 4.2 is chosen so that the fork legs of a lift truck can be driven almost or completely under the normal layers 5 of the stack 2 and thus in the engaging portions 10.
  • the stacked stack 2 is driven for example via a conveyor line, such as a conveyor belt in the direction of a hood stretcher (see. EP 1 013 549 ).
  • a conveyor line such as a conveyor belt
  • hood Stretcher On the way to the hood Stretcher will - like FIG. 2 clarified - a Garlage 12 placed on the top 6.
  • the length of the retaining layer 12 is dimensioned such that a flat layer forming the retaining layer 12 lies both on the upper side 6 and partly along the side surfaces 8.
  • the retaining layer 12 is located at FIG. 2 in a state loosely placed on the stack 2.
  • a hood stretcher is now formed in a conventional manner by cutting an endlessly conveyed tubing, end-side welding and cutting a length of the tubing a hose cap of a first film 14, which is first reefed and elastically stretched by moving apart of refiners in the circumferential direction, ie is stretched , And to a circumference that is greater than the base of the stack 2.
  • This transversely stretched tubular hood is now applied by subtracting the refusers first on the top 6 and then on the side surfaces 8 of the stack 2 at relative movement between the refusers and the stack 2 in the height direction of the stack 2. Usually, the Refffinger be lowered. Thereafter, the stack 2 is wrapped on one side of the first sheet 14 and covered on the top. The cover takes place with the interposition of the holding layer 12.
  • the first film 14 lays against the peripheral walls of the stack 2, ie the side surfaces 8 and thus pushes the web of the holding layer 12 against the stack 2 (see. Fig. 3 ).
  • the retaining layer 12 has a dimension in the depth direction of the stack 2 substantially corresponding to the depth of the stack of goods.
  • the front and rear edges of the retaining layer 12 extend substantially parallel to the front and back of the stack 2, ie those side surfaces which form the periphery of the stack 2 and extend at right angles to the marked in the drawing by 8 reference side surfaces.
  • the one-sided wrapped and identified by reference numeral 16 good stack is turned so that when placing the holding layer 12 and the coating of the first film 14, the top 6 forming surface now forms the bottom 18 of the stack 16 and down is located (cf. FIG. 4 ).
  • the one-sided wrapped good stack is usually fed via a transport route a hood stretcher. This can be the hood stretcher, which has pulled the first film 14 as a hose hood over the stack 2.
  • a second film 20 is also pulled as a hose cover over the one-sided wrapped stack 16, in such a way that the second film 20 hangs on the first cover the bottom 22 forming surface of the stack 2 and also at the circumferential walls 8 of the stack 2 at least under horizontal bias applies, with the interposition of the first film 14, so that there is a marked with reference numeral 24 finished packaging unit.
  • the first sheet 14 the retaining layer 12 against the side surfaces 8 of the stack of goods 2.
  • the first sheet 14 is fixed relative to the stack 2 by the second film 20 and its circumferential elastic strain when applied to the stack 2.
  • the second film is sufficient in the first embodiment of the FIGS. 1 to 5 up to the lowest normal position 5.
  • the fork legs of a lift truck are usually first led past the side of the stack 2 and then fed through each other laterally into the engaging portions 10.
  • the material of the first film 14 can be pushed inwards.
  • the present invention is not limited to the embodiment shown.
  • special means may be used to deform the first film 14 and / or the retaining layer 12 in the engagement regions 10 and to apply them close to the material stack 2.
  • the film material can be mechanically connected to the stack.
  • the stack 2 is stacked with six normal layers 5 of packaging objects 4 first.
  • the retaining layer 12 is applied to the top of the stack 2 (see. FIG. 7 ).
  • the special layer 7 comprising the packaging items 4.1 and 4.2 is stacked on the top of the stack 2 with the interposition of the holding layer 12.
  • only a special situation 7 is formed.
  • two, regularly formed with identical base area special layers can be provided one above the other.
  • ready stacked stack 2 is now wrapped with the first film 14, which is applied under elastic circumferential expansion of the stack.
  • the first film 14 can in this case also be applied with a certain longitudinal extension to the stack in order to clamp it in the longitudinal direction and in the circumferential direction by elastic expansion portions of the first film 14.
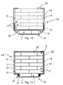
  • FIG. 9 shown unilaterally wrapped stack 2 is now rotated by 180 ° (see. FIG. 10 ). Thereafter, the second film 20 is pulled over the stack 2 and possibly also applied with elastic elongation at a certain longitudinal extension of the stack.
  • FIGS. 12 and 13 illustrate - the material of the second film 30 in the manner of a collar in several closely juxtaposed, possibly also superimposed film pleats introduced into corner regions 26 between the special layer 7 and the lowest normal position 5 by the special layer 7 superior packaging items 4 of the lowest normal position. 5 are formed.
  • the coating movement is stopped for this purpose, when refining fingers 28 of a device (not shown in detail) for clamping and covering the hose cover are located above the stack of goods 2 at the upper end of the engagement regions 10.
  • Refreshers 30 associated with the refiners 28 are now driven to release the remaining material of the second film 20 from the refining finger 28 and feed it to the corner region 26.
  • the beginning of this process step is in FIG. 12 to recognize.
  • the second film 20 because of its circumferential expansion, wants to relax inwards and thereby urges the first film 14 in the corner region 26. Since the second film 20 is deposited in a plurality of layers in the corner region 26 (cf. FIG. 13 ), the hoop stress generated by the second foil 20 in the corner regions 26 becomes stronger than the tension of the first foil 14, which first extends between two edges 32, 34 of the stack 2, namely an edge 34, on the underside the rotated stack of goods 2 is formed, and an edge 32 which is formed by the lower edge of the first normal position 5 (see. FIG. 10 ).
  • the initially tangentially extending material of the first film 14 is accordingly applied to the good stack 2 between the two edges 32, 34 contour true by the hoop stress of the second film 20. This results in substantially rectangular engagement portions 10 for the fork legs of a lift truck (see. FIG. 13 ).
  • the first film for example, the coating according to FIG. 9
  • the first film at the level of the engagement regions 10 can be supplied by the refffingers 28 to the engagement regions 10 by driving the refurbing rollers 30 associated therewith.
  • the film may in this case depending on their elastic properties and their pre-stretching in the circumferential direction in dimensions are also drawn to the top 6 of the stack. But it can also be promoted in the intervention areas to prevent an embodiment, for example, in the Figures 9 and 10 is shown and in which the first film 14, the two edges 32, 34 extends connecting.
  • the Refffinger especially the upper edge of the Refffinger in the lower region of the engagement areas, ie approximately at the height of the transition between the special situation 7 and the normal position 5 in an upright pile before turning (see, for example FIG. 8 ).

Landscapes

  • Engineering & Computer Science (AREA)
  • Mechanical Engineering (AREA)
  • Basic Packing Technique (AREA)
  • Packages (AREA)

Abstract

Die vorliegende Erfindung betrifft ein Verfahren zum Herstellen einer palettenlosen, mehrere zu einem Gutstapel (2) gestapelte Verpackungsgegenstände (4) umfassenden Verpackungseinheit (24), bei dem die Verpackungsgegenstände (4) derart gestapelt werden, dass wenigstens in einer Stapelebene mindestens zwei Eingriffsbereiche (10) für Gabelschenkel eines Hubladers gebildet werden, der Gutstapel (2) jedenfalls mit seinem Eingriffsbereich mit einer ersten Folie (14) umhüllt wird, der einseitig umhüllte Gutstapel (16) gewendet wird, so dass der die Eingriffsbereiche (10) aufweisende Teil des Gutstapels (16) nach unten kommt und der Gutstapel (16) mit einer bis zu der ersten Folie (14) reichenden zweiten Folie (20) umhüllt wird. Der vorliegenden Erfindung liegt das Problem zugrunde, ein verbessertes Verfahren zur Herstellung einer palettenlosen Verpackungseinheit anzugeben. Zur Lösung dieses Problems wird vorgeschlagen, dass die erste und die zweite Folie jeweils aus einem Schlauch gebildet werden, dessen Umfang zunächst kleiner als der Umfang des Gutstapels ist und der vor dem Umhüllen des Gutstapels auf einen Umfang größer als der Umfang des Gutstapels gedehnt und mit elastischer Umfangsspannung an dem Gutstapel angelegt wird.

Description

  • Die vorliegende Erfindung betrifft ein Verfahren zum Herstellen einer palettenlosen, mehrere zu einem Gutstapel gestapelte Verpackungsgegenstände umfassenden Verpackungseinheit, bei dem die Verpackungsgegenstände derart gestapelt werden, dass in wenigstens einer Stapelebene mindestens zwei Eingriffsbereiche für Gabelschenkel eines Hubladers gebildet werden, der Gutstapel jedenfalls mit seinem Eingriffsbereich mit einer ersten Folie umhüllt wird, der einseitig umhüllte Gutstapel gewendet wird, so dass der die Eingriffsbereiche aufweisende Teil des Gutstapels nach unten kommt und der Gutstapel mit einer vorzugsweise bis in die Eingriffsbereiche reichenden zweiten Folie umhüllt wird.
  • Ein solches Verfahren ist aus den auf die vorliegende Anmelderin zurückgehenden DE 26 14 558 und DE 27 02 613 bekannt. Bei diesem vorbekannten Verfahren wird als erste Folie eine Schrumpfhaube über den Gutstapel gezogen, welche nachfolgend durch Wärmeschrumpfen unter Verschweißen mit einer weiteren Kunststofffolie, die zuvor auf den Gutstapel gelegt worden ist, eng an den Gutstapel angelegt. Nach dem Wenden wir eine weitere Schrumpffolienhaube als zweite Folie über den Stapel gezogen und ebenfalls durch thermisches Schrumpfen unter Verschweißen mit den überlappenden Bereichen der ersten Folie an den Stapel geschrumpft.
  • Das gattungsgemäße Verfahren hat sich insbesondere zur Bildung von Verpackungseinheiten aus gestapelten Säcken, beispielsweise Beton-, Gips- oder Mörtelsäcken bewährt, und zwar insbesondere in solchen Gebieten, wo die Verwendung von Paletten zur Lagerung eines Gutstapels ungewöhnlich ist, und/oder die Rückführung von Paletten nach dem Entladen der Verpackungsgegenstände zu aufwendig wird.
  • Allerdings erfordert die Durchführung des gattungsgemäßen Verfahrens eine differenzierte Dosierung und Anwendung von Wärmeenergie zum Aufschrumpfen der beiden Folien auf dem Gutstapel, insbesondere zum Verschweißen der beiden Folienlagen gegeneinander. Dieses Verschweißen wird als notwendig erachtet, die palettenlose Lage zu einer Einheit zu verbinden, die sich trotz der fehlenden ebenen Ablagefläche in Folge des Fehlens einer Palette mehrfach umschlagen und sicher transportieren lässt, ohne dass die Gefahr besteht, dass der Gutstapel seine Stabilität verliert.
  • Der vorliegenden Erfindung liegt das Problem zugrunde, ein verbessertes Verfahren zur Herstellung einer palettenlosen Verpackungseinheit anzugeben.
  • Zur Lösung dieses Problems wird mit der vorliegenden Erfindung ein Verfahren mit den Merkmalen von Anspruch 1 vorgeschlagen. Dieses unterscheidet sich von dem gattungsbildenden Stand der Technik dadurch, dass die erste Folie und die zweite Folie jeweils aus einem Schlauch gebildet werden, dessen Umfang zunächst kleiner als der Umfang des Gutstapels ist und der vor dem Umhüllen des Gutstapels auf einen Umfang größer als der Umfang des Gutstapels gedehnt und mit elastischer Umfangsspannung an dem Gutstapel angelegt wird. Mit anderen Worten wird bei dem gattungsgemäßen Verfahren eine palettenlose Verpackungseinheit durch Stretchen von zwei Folienschläuchen und Überziehen über den Gutstapel in gegenläufiger Richtung mit Bezug auf die Höhenachse des Gutstapels erzeugt. Es hat sich überraschenderweise gezeigt, dass auch mit gestretchten Folienschläuchen (wie beispielsweise offenbart in EP 1 013 549 ) eine palettenlose Verpackungseinheit hergestellt werden kann, die auch bei mehrfachem Umschlagen die notwendige Festigkeit und Form- und Maßhaltigkeit aufweist. Nach den überraschenden Versuchsergebnissen der Anmelderin kann eine so hergestellte Verpackungseinheit auch ohne eine die Ablagefläche bildende Palette zuverlässig hergestellt werden. Dabei ist dafür Sorge zu tragen, dass die Eingriffsbereiche umgebende Verpackungsgegenstände so gestapelt sind, dass die Eingriffsbereiche für die Gabelschenkel auch bei einem Aufspannen insbesondere der ersten Folie in einer Weise, dass diese die die Eingriffsbereiche umgebenden Kanten nach Art einer Tangente miteinander verbindet, das Einbringen der Gabelschenkel erlauben. Dies schließt die Möglichkeit nicht aus, dass die Eingriffsbereiche für Gabelschenkel benachbart zu einander gegenüberliegenden Seitenflächen des Gutstapels vorgesehen sind. Eingriffsbereiche für Gabelschenkel können beispielsweise auch dadurch gebildet werden, dass zwischen zwei Verpackungsgegenständen, die in einer Stapelebene angeordnet sind, ein Freiraum geschaffen wird. Üblicherweise wird man aber die Eingriffsbereiche an einander gegenüberliegenden Kanten des Gutstapels ausformen, so dass die Gabelschenkel eines Hubladers auch durch Zusammenfahren der zunächst seitlich neben dem Gutstapel verbrachten Gabelschenkel in die Eingriffsbereiche eingebracht werden können. Durch diesen Eingriff der Gabelschenkel ist es beispielsweise möglich, zunächst tangential zwei Kanten des Gutstapels überbrückendes Folienmaterial in den Eingriffsbereichen nach innen zu drängen, so dass die Gabelschenkel an dem den Gutstapel bildenden Lagen zur Anlage kommen.
  • Die Eingriffsbereiche werden üblicherweise durch eine sogenannte Sonderlage gebildet, die abweichend von den Normallagen des Gutstapels gestapelt ist und eine kleinere Grundfläche als diese hat. Bei identisch dimensionierten Verpackungsgegenständen, die den Gutstapel bilden, beispielsweise mit Schüttgut gefüllten Säcken, hat die Sonderlage weniger Verpackungsgegenstände als die Normallage. Zur Ausbildung der Eingriffsbereiche können auch mehrere Sonderlagen übereinander gestapelt sein, so dass sich ein Eingriffsbereich mit größerer Eingriffshöhe ergibt.
  • Gemäß einer bevorzugten Weiterbildung der vorliegenden Erfindung wird die erste und die zweite Folie aus dem gleichen Schlauch gebildet. Dabei kann es sich um den identischen Schlauch handeln, sofern der zu umhüllende Gutstapel nach dem Wenden an derjenigen Position mit der zweiten Folie überzogen wird, an der er auch mit der ersten Folie überzogen worden ist. Des Weiteren kann die erste Folie an der Außenseite und/oder die zweite Folie an der Innenseite mit einem Haftvermittler und/oder mit einer reiberhöhenden Oberfläche versehen sein, so dass sich die im Überlappungsbereich der ersten und zweiten Folie vorgesehenen Abschnitte beider Folien gegeneinander verhaken und/oder aneinander anhaften.
  • Zur Erhöhung der Festigkeit der Verpackungseinheit insbesondere beim Transport wird gemäß einer weiteren bevorzugten Ausgestaltung der vorliegenden Erfindung vorgeschlagen, vor dem Umhüllen des Gutstapels mit der ersten Folie eine Haltelage auf den Gutstapel aufzulegen, und zwar derart, dass diese Haltelage die Eingriffsbereiche sowie benachbart hierzu vorgesehene Verpackungsgegenstände überdeckt. Die umhüllte Verpackungseinheit ist nach Fertigstellung durch die Haltelage insbesondere benachbart zu und über den Eingriffsbereichen verstärkt, so dass bei einem Anheben des Gutstapels durch den Hublader ein Durchsacken von Lagen des Gutstapels zwischen den Gabelschenkeln oder seitlich vorbei an einzelnen Gabelschenkeln wirksam verhindert wird. Bei der zuvor erwähnten bevorzugten Ausgestaltung sollten die Eingriffsbereiche unmittelbar benachbart zu einander gegenüberliegenden Längsseiten des Gutstapels, also an einander gegenüberliegenden Kanten des Gutstapels vorgesehen sein, so dass die Gabelschenkel eines Hubladers zunächst beidseitig an dem Gutstapel vorbeigeführt werden können und durch aufeinander Zufahren der Gabelschenkel erst in die Eingriffsbereiche und unter die erste Folie sowie die Haltelage gebracht werden können. Das Einbringen der Gabelschenkel erfolgt demnach im Wesentlichen ohne Zerstörung der Folien durch seitliches Zufahren, d.h. Zufahren der Gabelschenkel aufeinander zu.
  • Selbstverständlich können mehrere Haltelagen in der vorerwähnten Weise zunächst übereinander auf den Gutstapel aufgelegt werden, bevor dieser mit der ersten Folie umhüllt wird. Die Haltelage dient vornehmlich oder gar ausschließlich der mechanischen Verstärkung der Unterseite der Verpackungseinheit. Es kann dementsprechend eine Haltelage aus einer mit Gewebe verstärkten Folienbahn gebildet werden. Alternativ oder ergänzend kann die Haltelage aus einer mit einer Gitterstruktur verstärkten Bahn gebildet sein. Die Gitterstruktur kann bei dieser bevorzugten Weiterbildung eine durchlässige Gitterstruktur sein. Die einzelnen Stränge des Gitters wirken als Zugsehnen, welche den Boden der Verpackungseinheit versteifen. Die Haltelage kann aus einem Kunststofffolienmaterial, Pappe, oder einem Gewirke bestehen. Auch tafelförmige Elemente aus Holz oder Metall bzw. Kunststoff eignen sich zur Ausbildung der Haltelage.
  • An der Phasengrenze zwischen der Haltelage und der ersten Folienbahn können wiederum Mittel vorgesehen sein, die einen innigen Verbund zwischen den beiden Folienbahnen fördern. So kann beispielsweise eine Klebeverbindung zwischen der Haltelage und der ersten Folienbahn verwirklicht werden. Insbesondere bei einer bevorzugten Weiterbildung, bei welcher die erste und/oder die zweite Folie vor dem Umhüllen des Gutstapels zur Bildung einer Haube abgeschweißt und von einem das Folienmaterial zuführenden Strang der ersten und/oder der zweiten Folie abgetrennt wird, kann durch dimensionale Auslegung der Folie relativ zu der Grundfläche des Gutstapels und angemessene Verfahrensführung beim Überziehen des Gutstapels auf der späteren Unterseite, d.h. der Oberseite beim Überziehen der ersten Folie, eine gewisse Verspannung des Folienmaterials erreicht werden, die zu einer verbesserten Verbindung zwischen der Haltelage und dem ersten Folienmaterial führt. Sofern die Haltelage eine profilierte Gitterstruktur aufweist, kann diese durch hinreichendes Verspannen der ersten Folie auf der Oberseite des Gutstapels in das Folienmaterial der ersten Folie eingedrückt und so hierin verankert werden.
  • Die Haltelage kann beispielsweise beim Verfahren des gestapelten Gutstapels und Einbringen in eine erste Arbeitsstation, an der der Gutstapel mit der ersten Folie umhüllt wird, auf die die Eingriffsbereiche umfassende Oberseite aufgelegt werden. So kann beispielsweise eine nach unten hängende Haltelage von dem horizontal bewegten Gutstapel mitgenommen werden und nach Abziehen eines gewünschten Längenabschnitts eines zugeführten Endlosstranges die Folienbahn von diesem Strang geschnitten werden. Wünschenswert ist dabei eine Verfahrensführung, bei welcher die Haltelage nicht nur die Oberseite des Gutstapels beim Überziehen der ersten Folie überdeckt, sondern sich darüber hinaus zumindest ein Stück weit über die benachbarten einander gegenüberliegenden Seitenwände des Gutstapels erstreckt. Bei einer solchen Ausgestaltung führt das spätere Überziehen jedenfalls mit der ersten Folie dazu, dass die an der Seitenwand des Gutstapels anliegenden Längenabschnitte der Haltelage gegen diese angedrückt werden, so dass die Haltelage zusätzlich gegenüber dem Gutstapel fixiert wird. Hierdurch wird die Haltefunktion der Haltelage weiter verbessert, die dafür Sorge trägt, dass einzelne Verpackungsgegenstände der fertig verpackten Verpackungseinheit nicht beim Anheben nach unten durchsacken.
  • Als Haltelage kann auch eine kurze Schlauchhaube unter elastischer Längsdehnung an den Gutstapel angelegt werden, wodurch der Gutstapel im Bereich seiner späteren Unterseite durch eine Stretchhaube verstärkt wird. Diese kurze Schlauchhaube reicht üblicherweise zwei bis vier Lagen über den Gutstapel, erstreckt sich allerdings nicht über die gesamte Höhe desselben. Die kurze Schlauchhaube wird zur Vereinfachung der Verfahrensführung vorzugsweise aus dem Folienmaterial der ersten Folie gebildet, so dass die kurze Schlauchhaube und die durch die erste Folie gebildete, üblicherweise den gesamten Gutstapel höhenmäßig abdeckende Schlauchhaube mit der gleichen Vorrichtung hergestellt und an derselben Station über den Gutstapel gezogen werden können.
  • Die Haltelage kann vor und/oder während bzw. nach dem Stapeln des Gutstapels aufgelegt bzw. ganz oder teilweise zwischen verschiedenen Lagen des Gutstapels angeordnet werden, um die Haltelage innerhalb des Gutstapels zu fixieren. Denkbar ist es auch, zunächst die Sonderlage auf eine Haltelage aufzubringen, die Haltelage über die einzige oder die oberste Sonderlage umzulegen und danach die Normallagen aufzustapeln. Der fertig gestapelte Gutstapel wird dann um 180° gedreht und mit der ersten Folie überzogen. Nach neuerlichem Drehen um 180° wird der Gutstapel dann mit der zweiten Folie überzogen.
  • Gemäß einer weiteren bevorzugten Ausgestaltung der vorliegenden Erfindung kann vor dem Überziehen der ersten Folie eine Bodenverstärkung auf den Gutstapel aufgelegt werden. Diese Bodenverstärkung kann beispielsweise aus Pappe, einer Folie oder eine Tafel aus Kunststoff, Holz oder Metall gebildet sein und wird insbesondere dann zur Anwendung kommen, wenn die Gutstapel beim Umschlagen auf der späteren Unterseite stehend geschoben werden. Die Bodenverstärkung schützt die unterste Lage des fertigen Gutstapels beim Transport und beim Umschlagen vor Beschädigung. Des Weiteren kann die Bodenverstärkung auch eine gewisse Steifigkeit aufweisen, und somit einen im Grunde steifen Boden bilden.
  • Gemäß einer bevorzugten Weiterbildung der vorliegenden Erfindung wird die erste Folie von der die Eingriffsbereiche umfassenden Oberseite bis zum Bereich der Unterseite des Gutstapels über diesen gezogen. Durch diese Maßnahme wird die die Eingriffsbereiche umgebende und dort haltende erste Folie über die gesamte Höhe des Gutstapels an diesem festgelegt, so dass nicht zu befürchten ist, dass die erste Folie in Längsrichtung von dem Gutstapel abrutscht, wenn dieser von dem Hublader angehoben wird und sich in Folge dessen Verpackungsgegenstände der untersten Lage Schwerkraftrichtung verschieben und aus dem gestapelten Verbund ausbrechen wollen. Zur weiteren Verfestigung der Verpackungseinheit wird bei dieser bevorzugten Weiterbildung die zweite Folie nach dem Wenden im Wesentlichen über den gesamten Gutstapel gezogen, so dass sich die zweite Folie beim elastischen Anlegen gegen die Umfangsfläche des Gutstapels unter Zwischenlage der ersten Folie gegen den Gutstapel anlegt und die erste Folie zusätzlich fixiert. Dabei sollte die zweite Folie, die nach dem Wenden nun oben liegende bisherige Unterseite des Gutstapels abdecken, so dass der Gutstapel durch die elastisch gegen den Gutstapel angelegte Schlauchhaube oberseitig abgedeckt und gegen vor dem Eindringen von Verschmutzung und Feuchtigkeit geschützt ist.
  • Vorzugsweise wird die zweite Folie so über den Gutstapel gezogen, dass diese auf Höhe der Eingriffsbereiche endet. Die zweite Folie wird bevorzugt so über den Gutstapel gezogen, dass diese den Eingriff der Gabelschenkel eines Hubstaplers nicht oder nur wenig stört. Vorzugsweise wird das zweite Folienmaterial in den Eingriffsbereichen am Ende des Überziehvorgangs gespendet, d.h. aktiv durch Antrieb von Reffrollen von diesen Reffrollen zugeordneten Refffingern freigegeben. Das Folienmaterial der zweiten Folie wird dementsprechend auf Höhe der Eingriffsbereiche diesen zugeführt. Aufgrund der Umfangsspannung, mit der die zweite Folie an den Gutstapel angelegt wird, wird das zunächst im Wesentlichen tangential zwei äußere Kanten des Gutstapels überbrückende Material der ersten Folie und/oder der Haltelage in den Eingriffsbereichen nach innen gedrängt, so dass die ursprüngliche Kontur des Gutstapels auch an der Außenseite der Folienbahnen zurückerhalten wird. Mit anderen Worten führt das Zuführen von vermehrtem Material der zweiten Folie in die randseitigen Eingriffsbereiche dazu, dass diese ohne Zerstörung des Folienmaterials leichter zugänglich für die Gabelschenkel eines Hubladers sind.
  • Gemäß einer bevorzugten Weiterbildung der vorliegenden Erfindung wird das Folienmaterial zugeführt während sich eine die Folie umlenkende Oberkante der Refffinger stationär am oberen Ende der Eingriffsbereiche befindet, d.h. an derjenigen Stelle, wo die oberste Sonderlage endet. Bei dieser Verfahrensführung wird das zugeführte Folienmaterial unmittelbar unter die unterste Normallage gefördert, so dass sich das zunächst tangential zwischen zwei Kanten des Gutstapels erstreckende Material der ersten Folie bzw. der Haltelage im Eckbereich des Gutstapels einzieht und der Gutstapel danach konturabbildend von den Folien umhüllt ist.
  • Gemäß einer weiteren bevorzugten Ausgestaltung wird die erste und/oder die zweite Folie bzw. die kurze Schlauchhaube mit einer elastischen Umfangsdehnung von wenigstens 50%, vorzugsweise von wenigstens 70% bezogen auf den ungedehnten Umfang der Schlauchfolie an den Gutstapel angelegt. Denkbar sind Umfangsdehnungen von bis zu 150%, wodurch eine eng und kompakt gefasste Verpackungseinheit erhalten wird.
  • Weitere bevorzugte Weiterbildungen des erfindungsgemäßen Verfahrens sind in den Unteransprüchen angegeben.
  • Mit der vorliegenden Erfindung wird ferner eine nach dem erfindungsgemäßen Verfahren hergestellte Verpackungseinheit unter Schutz gestellt, die mehrere Lagen von übereinander gestapelten Verpackungsgegenständen umfasst, die derart gestapelt sind, dass in einer Stapelebene mindestens zwei Eingriffsbereiche für Gabelschenkel eines Hubladers gebildet sind und die eine die Oberfläche und jedenfalls Teile der Seitenfläche umhüllende Haube aus einem ersten Folienmaterial und eine in entgegen gesetzter Richtung hierzu über den Gutstapel gezogene Haube aus einem zweiten Folienmaterial umfasst, wobei die aus der ersten und der zweiten gebildeten Folie gebildete Schlauchhaube als Stretchhaube an dem Gutstapel angelegt sind, d.h. mit elastischer Umfangsdehnung an dem Gutstapel anliegen.
  • Weitere Einzelheiten und Vorteile der vorliegenden Erfindung ergeben sich aus der nachfolgenden Beschreibung eines Ausführungsbeispiels der vorliegenden Erfindung in Verbindung mit der Zeichnung. In dieser zeigen:
  • Figur 1
    einen gestapelten Gutstapel vor dem Umhüllen mit Folie;
    Figur 2
    den in Figur 1 gezeigten Gutstapel nach dem Auflegen einer Haltelage;
    Figur 3
    den in den Figuren 1 und 2 gezeigten Gutstapel nach dem Überziehen mit einer ersten als Haube ausgebildeten Folie;
    Figur 4
    den in Figur 3 gezeigten einmalig umhüllten Gutstapel nach dem Wenden;
    Figur 5
    die nach neuerlichem Überziehen mit einer zweiten als Schlauchhaube ausgebildeten Folie vollständig umhüllte Verpackungseinheit;
    Figur 6
    einen gestapelten Gutstapel vor dem Umhüllen mit Folie nach einem zweiten Ausführungsbeispiel der vorliegenden Erfindung;
    Figur 7
    den in Figur 6 gezeigten Gutstapel nach dem Auflegen einer Haltelage;
    Figur 8
    den mit der Haltelage umgebenden Gutstapel gemäß Figur 7 nach dem Aufstapeln einer Sonderlage;
    Figur 9
    den in Figur 8 gezeigten Gutstapel nach dem Überziehen mit einer ersten als Haube ausgebildeten Folie;
    Figur 10
    den in Figur 9 gezeigten einmalig umhüllten Gutstapel nach dem Wenden;
    Figur 11
    die nach dem neuerlichen Überziehen mit einer zweiten als Schlauchhaube ausgebildeten Folie vollständig umhüllte Verpackungseinheit;
    Figur 12
    die Einzelheit E gemäß Figur 11 kurz vor Beendigung des Überziehens mit der zweiten Folie; und
    Figur 13
    die in Figur 12 gezeigte vergrößerte Einzelheit nach dem vollständigen Überziehen der zweiten Folie.
  • Die Figur 1 zeigt ein Ausführungsbeispiel eines Gutstapels 2 mit mehreren in je einer Stapelebene zusammengefassten Verpackungsgegenständen 4, die vorliegend durch Zementsäcke gebildet sein sollen. Übereinander sind mehrere Ebenen von Verpackungsgegenständen 4 gestapelt. Jede Stapelebene hat in den Normallagen 5 die gleiche Anzahl von Verpackungsgegenständen 4, so dass sich ein im Wesentlichen quaderförmiger Gutstapel 2 ergibt. Lediglich die obere Lage ist als Sonderlage 7 ausgebildet und weist weniger Verpackungsgegenstände 4 auf, so dass am Rand des Gutstapels zwischen der Oberseite 6 und einander gegenüberliegenden Seitenflächen 8 Eingriffsbereiche 10 ausgebildet sind, die sich rechtwinklig zur Darstellungsebene der Zeichnung parallel zu den Seitenflächen 8 erstrecken, und zwar über die gesamte Tiefe des Gutstapels 2. Die Breite der Eingriffsbereiche 10, d.h. der Abstand zwischen der Seitenfläche 8 und der sich hierzu parallel erstreckenden Seitenfläche der oberen Verpackungsgegenstände 4.1; 4.2 ist so gewählt, dass die Gabelschenkel eines Hubladers nahezu oder vollständig unter die Normallagen 5 des Gutstapels 2 und damit in die Eingriffsbereiche 10 gefahren werden können.
  • Der so gestapelte Gutstapel 2 wird beispielsweise über eine Förderstrecke, wie beispielsweise ein Förderband in Richtung auf einen Haubenstretcher gefahren (vgl. EP 1 013 549 ). Auf dem Weg zu dem Haubenstretcher wird - wie Figur 2 verdeutlicht - eine Haltelage 12 auf die Oberseite 6 aufgelegt. Die Länge der Haltelage 12 ist derart bemessen, dass eine die Haltelage 12 bildende Flachbahn sowohl auf der Oberseite 6 sowie teilweise entlang der Seitenflächen 8 liegt. Die Haltelage 12 befindet sich bei Figur 2 in einem lose auf den Gutstapel 2 aufgelegten Zustand. In einem Haubenstretcher wird nunmehr in an sich bekannter Weise durch Ablängen eines endlos zugeförderten Schlauchmaterials, endseitiges Verschweißen und Abschneiden eines Längenstücks des Schlauchmaterials eine Schlauchhaube aus einer ersten Folie 14 gebildet, die zunächst gerefft und durch Auseinanderfahren von Refffingern in Umfangsrichtung elastisch gedehnt, d.h. gestretcht wird, und zwar auf einen Umfang, der größer als die Grundfläche des Gutstapels 2 ist. Diese quer gestretchte Schlauchhaube wird nunmehr durch Abziehen von den Refffingern zunächst auf die Oberseite 6 und dann an die Seitenflächen 8 des Gutstapels 2 angelegt bei Relativbewegung zwischen den Refffingern und dem Gutstapel 2 in Höhenrichtung des Gutstapels 2. Üblicherweise werden dazu die Refffinger abgesenkt. Danach ist der Gutstapel 2 einseitig von der ersten Folie 14 umhüllt und oberseitig abgedeckt. Die Abdeckung erfolgt unter Zwischenlage der Haltelage 12. Die erste Folie 14 legt sich an die umfänglichen Wandungen des Gutstapels 2, d.h. die Seitenflächen 8 an und drückt somit die Bahn der Haltelage 12 gegen den Gutstapel 2 (vgl. Fig. 3).
  • Die Haltelage 12 hat eine Abmessung in Tiefenrichtung des Gutstapels 2 im Wesentlichen entsprechend der Tiefe des Gutstapels. Mit anderen Worten verlaufen die vorderen und hinteren Ränder der Haltelage 12 im Wesentlichen parallel zu der Vorder- und Rückseite des Gutstapels 2, d.h. denjenigen Seitenflächen, die den Umfang des Gutstapels 2 bilden und sich rechtwinklig zu den in der Zeichnung mit Bezugszeichen 8 gekennzeichneten Seitenflächen erstrecken.
  • Nach dem Überziehen der ersten Folie 14 wird der einseitig umhüllte und mit Bezugszeichen 16 gekennzeichnete Gutstapel gewendet, so dass eine beim Auflegen der Haltelage 12 und beim Überziehen der ersten Folie 14 die Oberseite 6 bildende Fläche nunmehr den Boden 18 des Gutstapels 16 bildet und sich unten befindet (vgl. Figur 4). In dieser Lage wird der einseitig umhüllte Gutstapel üblicherweise über eine Transportstrecke einem Haubenstretcher zugeführt. Dies kann derjenige Haubenstretcher sein, der die erste Folie 14 als Schlauchhaube über den Gutstapel 2 gezogen hat.
  • Wie aus Figur 5 ersichtlich, wird bei dem letzten Verfahrensschritt eine zweite Folie 20 ebenfalls als Schlauchhaube über den einseitig umhüllten Gutstapel 16 gezogen, und zwar so, dass sich die zweite Folie 20 auf der beim ersten Umhüllen die Unterseite 22 bildenden Fläche des Gutstapels 2 auflegt und sich auch an die umfänglichen Wandungen 8 des Gutstapels 2 zumindest unter horizontaler Vorspannung anlegt, und zwar unter Zwischenlage der ersten Folie 14, so dass sich eine mit Bezugszeichen 24 gekennzeichnete fertige Verpackungseinheit ergibt. Bei dieser drückt die erste Folie 14 die Haltelage 12 gegen die Seitenflächen 8 des Gutstapels 2. Des Weiteren wird durch die zweite Folie 20 und deren umfängliche elastische Dehnung beim Anliegen an den Gutstapel 2 die erste Folie 14 gegenüber dem Gutstapel 2 fixiert. Die zweite Folie reicht bei dem ersten Ausführungsbeispiel nach den Figuren 1 bis 5 bis zu der untersten Normallage 5.
  • Es ist eine Verpackungseinheit 24 geschaffen, die formstabil ist und auch ein mehrfaches Umschlagen verträgt. Die Gabelschenkel eines Hubladers werden üblicherweise zunächst seitlich an dem Gutstapel 2 vorbeigeführt und danach durch aufeinander zufahren seitlich in die Eingriffsbereiche 10 eingebracht. Hierbei kann das Material der ersten Folie 14 nach innen gedrängt werden. Die vorliegende Erfindung ist nicht auf das gezeigte Ausführungsbeispiel beschränkt. So können besondere Mittel zur Anwendung kommen, um die erste Folie 14 und/oder die Haltelage 12 in den Eingriffsbereichen 10 zu verformen und konturnah an den Gutstapel 2 anzulegen. Hierzu kann das Folienmaterial mit dem Gutstapel mechanisch verbunden werden.
  • Bei dem in den Figuren 6 bis 13 gezeigten zweiten Ausführungsbeispiel wird zunächst der Gutstapel 2 mit sechs Normallagen 5 aus Verpackungsgegenständen 4 gestapelt. Danach wird die Haltelage 12 auf die Oberseite des Gutstapels 2 aufgebracht (vgl. Figur 7). Danach wird die Sonderlage 7 umfassend die Verpackungsgegenstände 4.1 und 4.2 auf die Oberseite des Gutstapels 2 unter Zwischenlage der Haltelage 12 gestapelt. Auch bei diesem Ausführungsbeispiel wird lediglich eine Sonderlage 7 gebildet. Selbstverständlich können zwei, regelmäßig mit identischer Grundfläche ausgeformte Sonderlagen übereinander vorgesehen werden.
  • Der in Figur 8 gezeigte, fertig gestapelte Gutstapel 2 wird nunmehr mit der ersten Folie 14 umhüllt, die unter elastischer Umfangsdehnung an den Gutstapel angelegt wird. Die erste Folie 14 kann hierbei auch mit einer gewissen Längsdehnung an den Gutstapel angelegt werden, um diesen in Längsrichtung und in Umfangsrichtung durch elastische Dehnungsanteile der ersten Folie 14 zu verspannen.
  • Der in Figur 9 gezeigte einseitig umhüllte Gutstapel 2 wird nunmehr um 180° gedreht (vgl. Figur 10). Danach wird die zweite Folie 20 über den Gutstapel 2 gezogen und mit elastischer Umfangsdehnung ggf. ebenfalls mit einer gewissen Längsdehnung an den Gutstapel angelegt.
  • Dabei wird - wie Figuren 12 und 13 verdeutlichen - das Material der zweiten Folie 30 nach Art eines Kragens in mehreren dicht nebeneinander, ggf. auch übereinander liegenden Folienfalten in Eckbereiche 26 eingebracht, die zwischen der Sonderlage 7 und der untersten Normallage 5 durch die die Sonderlage 7 überragenden Verpackungsgegenstände 4 der untersten Normallage 5 gebildet sind. Bei dem gezeigten Ausführungsbeispiel wird hierzu die Überziehbewegung angehalten, wenn Refffinger 28 einer nicht im Detail gezeigten Vorrichtung zum Aufspannen und Überziehen der Schlauchhaube über den Gutstapel 2 am oberen Ende der Eingriffsbereiche 10 befindlich sind. Den Refffingern 28 zugeordnete Reffrollen 30 werden nunmehr angetrieben, um das restliche Material der zweiten Folie 20 von dem Refffinger 28 freizugeben und dem Eckbereich 26 zuzuführen.
  • Der Beginn dieses Verfahrensschrittes ist in Figur 12 zu erkennen. Die zweite Folie 20 will aufgrund ihrer Umfangsdehnung nach innen relaxieren und drängt hierbei die erste Folie 14 in dem Eckbereich 26. Da die zweite Folie 20 mehrlagig in den Eckbereich 26 abgelegt wird (vgl. Figur 13) wird die von der zweiten Folie 20 in den Eckbereichen 26 erzeugte Umfangsspannung stärker als die Spannung der ersten Folie 14, die sich zunächst zwischen zwei Kanten 32, 34 des Gutstapels 2 erstreckt, nämlich einer Kante 34, die auf der Unterseite des gedrehten Gutstapels 2 gebildet ist, und einer Kante 32, die durch den unteren Rand der ersten Normallage 5 gebildet ist (vgl. Figur 10). Das sich zunächst tangential erstreckende Material der ersten Folie 14 wird dementsprechend zwischen den beiden Kanten 32, 34 konturgetreu durch die Umfangsspannung der zweiten Folie 20 an den Gutstapel 2 angelegt. Es ergeben sich im Wesentlichen rechteckige Eingriffsbereiche 10 für die Gabelschenkel eines Hubladers (vgl. Figur 13).
  • Das mit Rücksicht auf die Figuren 12 und 13 beschriebene Vorgehen kann auch genutzt werden, um die erste Folie (beispielsweise beim Überziehen gemäß Figur 9), in den Eingriffsbereichen 10 eng an die Kontur des Gutstapels anzulegen. Hierzu kann die erste Folie auf Höhe der Eingriffsbereiche 10 von den Refffingern 28 durch Antrieb der diesen zugeordneten Reffrollen 30 den Eingriffsbereichen 10 zugeführt werden. Zwar mag die Folie hierbei abhängig von ihren elastischen Eigenschaften und ihrer Vordehnung in Umfangsrichtung in Maßen auch zu der Oberseite 6 des Gutstapels gezogen werden. Sie kann aber auch in die Eingriffsbereiche gefördert werden, um eine Ausgestaltung zu verhindern, die beispielsweise in den Figuren 9 und 10 gezeigt ist und bei der sich die erste Folie 14 die beiden Kanten 32, 34 verbindend erstreckt.
  • Bei dieser Weiterbildung befinden sich die Refffinger, speziell die Oberkante der Refffinger im unteren Bereich der Eingriffsbereiche, d.h. in etwa auf Höhe des Übergangs zwischen der Sonderlage 7 und der Normallage 5 bei einem aufrechtstehenden Gutstapel vor dem Wenden (vgl. beispielsweise Figur 8).
  • Bezugszeichenliste
  • 2
    Gutstapel
    4
    Verpackungsgegenstände
    5
    Normallage
    6
    Oberseite
    7
    Sonderlage
    8
    Seitenflächen
    10
    Eingriffsbereich
    12
    Haltelage
    14
    erste Folie
    16
    einseitig umhüllter Gutstapel
    18
    Boden
    20
    zweite Folie
    22
    Unterseite
    24
    Verpackungseinheit
    26
    Eckbereich
    28
    Refffinger
    30
    Reffrolle
    32
    Kante
    34
    Kante

Claims (19)

  1. Verfahren zum Herstellen einer palettenlosen, mehrere zum einem Gutstapel (2) gestapelte Verpackungsgegenstände (4) umfassenden Verpackungseinheit (24), bei dem die Verpackungsgegenstände (4) derart gestapelt werden, dass in wenigstens einer Stapelebene mindestens zwei Eingriffsbereiche (10) für Gabelschenkel eines Hubladers gebildet werden,
    der Gutstapel (2) jedenfalls mit seinem Eingriffsbereich mit einer ersten Folie (14) umhüllt wird;
    der einseitig umhüllte Gutstapel (16) gewendet wird, so dass der die Eingriffsbereiche (10) aufweisende Teil des Gutstapels (16) nach unten kommt und der Gutstapel (16) mit einer bis zu der ersten Folie (14) reichenden zweiten Folie (20) umhüllt wird,
    dadurch gekennzeichnet,
    dass die erste Folie (14) und die zweite Folie (20) jeweils aus einem Schlauch gebildet werden, dessen Umfang zunächst kleiner als der Umfang des Gutstapels (2) ist und der vor dem Umhüllen des Gutstapels (2) auf einen Umfang größer als der Umfang des Gutstapels (2) gedehnt und mit elastischer Umfangsspannung an den Gutstapel (2) angelegt wird.
  2. Verfahren nach Anspruch 1, dadurch gekennzeichnet,
    dass die erste Folie (14) und die zweite Folie (20) aus dem gleichen Schlauch gebildet werden.
  3. Verfahren nach Anspruch 1 oder 2, dadurch gekennzeichnet,
    dass zunächst eine Haltelage (12) die Eingriffsbereiche (10) und benachbart hierzu vorgesehene Verpackungsgegenstände (4) überdeckend auf den Gutstapel (2) aufgelegt wird und danach der Gutstapel (2) unter Zwischenlage der Haltelage (12) mit der ersten Folie (14) umhüllt wird.
  4. Verfahren nach Anspruch 3, dadurch gekennzeichnet,
    dass die Haltelage (12) als Folienbahn so auf den Gutstapel (2) aufgelegt wird, dass die Haltelage (12) sich jedenfalls teilweise über die gegenüberliegenden Längsseiten (8) des Gutstapels (2) erstreckt.
  5. Verfahren nach Anspruch 3, dadurch gekennzeichnet, dass die Haltelage (12) als kurze Schlauchhaube unter elastischer Umfangsdehnung an den Gutstapel (2) angelegt wird.
  6. Verfahren nach einem der Ansprüche 3 bis 5, dadurch gekennzeichnet, dass die Haltelage (12) aus dem Folienmaterial der ersten Folie (14) gebildet wird.
  7. Verfahren nach einem der Ansprüche 3 bis 6, dadurch gekennzeichnet,
    dass die Haltelage (12) aus einer mit Gewebe verstärkten Foliebahn gebildet wird.
  8. Verfahren nach einem der Ansprüche 3 bis 7, dadurch gekennzeichnet,
    dass die Haltelage (12) aus einer mit einer Gitterstruktur verstärkten Folienbahn gebildet wird.
  9. Verfahren nach einem der vorherigen Ansprüche, dadurch gekennzeichnet, dass vor dem Überziehen der ersten Folie (14) eine Bodenverstärkung auf den Gutstapel (2) aufgelegt wird.
  10. Verfahren nach einem der vorherigen Ansprüche, dadurch gekennzeichnet,
    dass die erste Folie (14) von der die Eingriffsbereiche (10) umfassenden Oberseite (6) bis zum Bereich der Unterseite (22) des Gutstapels (2) über diesen gezogen wird und dass die zweite Folie (20) die nach dem Wenden nun nach oben zeigende Unterseite (22) des Gutstapels (16) abdeckend und im wesentlichen über den gesamten Gutstapel (16) gezogen wird.
  11. Verfahren nach einem der vorherigen Ansprüche, dadurch gekennzeichnet, dass die zweite Folie (20) in den Eingriffsbereichen (10) endet.
  12. Verfahren nach Anspruch 11, dadurch gekennzeichnet, dass die erste Folie (20) auf Höhe der Eingriffsbereiche (10) von das Folienmaterial beim Überziehen aufspannenden Refffingern (28) durch Antrieb von den Refffingern (28) zugeordneten Reffrollen (30) den Eingriffsbereichen (10) zugeführt wird.
  13. Verfahren nach Anspruch 11 oder 12, dadurch gekennzeichnet, dass das Folienmaterial zugeführt wird während sich eine die zweite Folie (20) umlenkende Oberkante der Refffinger (28) am oberen Ende der Eingriffsbereiche (10) befindet.
  14. Verfahren nach einem der Ansprüche 10 bis 12, dadurch gekennzeichnet, dass das Folienmaterial den Eingriffsbereichen (10) so zugeführt wird, dass das zunächst im Wesentlichen tangential zwei Kanten (32, 34) des Gutstapels (2) überbrückende Material der ersten Folie (14) und/oder der Haltelage (12) in den Eingriffsbereichen (10) nach innen gedrängt wird.
  15. Verfahren nach einem der vorherigen Ansprüche, dadurch gekennzeichnet, dass die erste und/oder die zweite Folie (14; 20) mit einer elastischen Umfangsdehnung von wenigstens 50%, vorzugsweise von wenigstens 70% bezogen auf den ungedehnten Umfang der Folie (14, 20) an dem Gutstapel (2) angelegt wird.
  16. Verfahren nach einem der vorherigen Ansprüche, dadurch gekennzeichnet,
    dass die erste Folie (14) und/oder die zweite Folie (20) vor dem Umhüllen des Gutstapels (2) zur Bildung einer Schlauchhaube abgeschweißt und von einem das Folienmaterial der ersten und/oder zweiten Folie (14, 20) zuführenden Strang abgetrennt wird.
  17. Verfahren nach einem der vorherigen Ansprüche, dadurch gekennzeichnet,
    dass die erste Folie (14) auf Höhe der Eingriffsbereiche (10) von das Folienmaterial beim Überziehen aufspannenden Refffingern (28) durch Antrieb von den Refffingern (28) zugeordneten Reffrollen (30) den Eingriffsbereichen zugeführt wird.
  18. Verfahren nach Anspruch 17, dadurch gekennzeichnet, dass das Folienmaterial zugeführt wird, während sich eine die erste Folie (20) umlenkende Oberkante der Refffinger (28) am unteren Ende der Eingriffsbereiche (10) befindet.
  19. Verpackungseinheit (24) mit mehreren Lagen von übereinander gestapelten Verpackungsgegenständen (4), die derart gestapelt sind, dass in einer Stapelebene mindestens zwei Eingriffsbereiche (10) für Gabelschenkel eines Hubladers gebildet sind und mit einer eine Oberfläche (6) und jedenfalls Teile der Seitenflächen (8) umhüllenden Haube aus einem ersten Folienmaterial (14) und einer in entgegen gesetzter Richtung hierzu über den Gutstapel (2) gezogener Schlauchhaube aus einem zweiten Folienmaterial (20), wobei die aus der ersten Folie (14) und der zweiten Folie (20) gebildete Schlauchhaube als Stretchhauben an den Gutstapel (2) angelegt sind.
EP07023274A 2007-11-30 2007-11-30 Verfahren zum Herstellen einer palettenlosen Verpackungseinheit Active EP2036818B1 (de)

Priority Applications (6)

Application Number Priority Date Filing Date Title
EP07023274A EP2036818B1 (de) 2007-11-30 2007-11-30 Verfahren zum Herstellen einer palettenlosen Verpackungseinheit
DK07023274.9T DK2036818T3 (da) 2007-11-30 2007-11-30 Fremgangsmåde til fremstilling af en palleløs emballageenhed
DE202007018783U DE202007018783U1 (de) 2007-11-30 2007-11-30 Palettenlose Verpackungseinheit
PCT/EP2008/010092 WO2009068294A1 (de) 2007-11-30 2008-11-27 Verfahren zum herstellen einer palettenlosen verpackungseinheit
CN2008801184950A CN101903251B (zh) 2007-11-30 2008-11-27 用于生产无托板封装单元的方法
RU2010121263/13A RU2464209C2 (ru) 2007-11-30 2008-11-27 Способ изготовления упаковочной единицы без поддона

Applications Claiming Priority (1)

Application Number Priority Date Filing Date Title
EP07023274A EP2036818B1 (de) 2007-11-30 2007-11-30 Verfahren zum Herstellen einer palettenlosen Verpackungseinheit

Publications (2)

Publication Number Publication Date
EP2036818A1 true EP2036818A1 (de) 2009-03-18
EP2036818B1 EP2036818B1 (de) 2011-05-25

Family

ID=39276186

Family Applications (1)

Application Number Title Priority Date Filing Date
EP07023274A Active EP2036818B1 (de) 2007-11-30 2007-11-30 Verfahren zum Herstellen einer palettenlosen Verpackungseinheit

Country Status (5)

Country Link
EP (1) EP2036818B1 (de)
CN (1) CN101903251B (de)
DK (1) DK2036818T3 (de)
RU (1) RU2464209C2 (de)
WO (1) WO2009068294A1 (de)

Cited By (11)

* Cited by examiner, † Cited by third party
Publication number Priority date Publication date Assignee Title
DE202009008434U1 (de) 2009-05-08 2009-09-03 Maschinenfabrik Möllers Gmbh Vorrichtung zum Herstellen einer palettenlosen Verpackungseinheit und palettenlose Verpackungseinheit
DE102009052551A1 (de) 2009-11-10 2011-05-12 Maschinenfabrik Möllers Gmbh Verfahren und Vorrichtung zum Herstellen einer Verpackungseinheit
DE102010019282A1 (de) 2010-05-04 2011-11-10 Maschinenfabrik Möllers Gmbh Vorrichtung zum Herstellen einer Verpackungseinheit
WO2011138016A1 (de) 2010-05-04 2011-11-10 Maschinenfabrik Möllers Gmbh Vorrichtung zur be- bzw. entladung von ladeeinheiten
DE102011010126A1 (de) 2011-02-02 2012-08-02 Maschinenfabrik Möllers Gmbh Verfahren zum Herstellen einer palettenlosen Verpackungseinheit
DE102011103366B3 (de) * 2011-06-03 2012-09-20 Maschinenfabrik Möllers Gmbh Verfahren und Vorrichtung zum Herstellen einer palettenlosen Verpackungseinheit
DE102011120459A1 (de) * 2011-12-07 2013-06-13 Beumer Gmbh & Co. Kg Verfahren zum Umhüllen eines Stückgutstapels und damit gebildete Verpackungseinheit
US20150307290A1 (en) * 2014-04-28 2015-10-29 Windmöller & Hölscher Kg Method for stacking of filled sacks to a pallet-free sack stacking
EP2130771B1 (de) * 2008-06-07 2016-08-03 MSK Emballage S.A.R.L. Vorrichtung und Verfahren zum Überziehen einer Schlauchfolie über einen Gutstapel
EP3312099A1 (de) 2016-10-18 2018-04-25 Maschinenfabrik Möllers GmbH Verfahren zum herstellen einer palettenlosen verpackungseinheit und nach dem verfahren hergestellte verpackungseinheit
WO2021081158A1 (en) * 2019-10-23 2021-04-29 Signode Industrial Group Llc Systems and methods for wrapping loads of goods with tubular stretch film

Citations (10)

* Cited by examiner, † Cited by third party
Publication number Priority date Publication date Assignee Title
DE2614558A1 (de) 1976-04-03 1977-10-13 Moellers E Fa Verfahren und vorrichtung zur herstellung palettenloser kollis
FR2354928A1 (fr) * 1976-06-15 1978-01-13 Laessig Foerdertech Hamburg Systeme et equipement permettant de confectionner des charges palettisees sans palette sous conditionnement etanche
DE2702613A1 (de) 1977-01-22 1978-07-27 Moellers Maschf Verfahren und vorrichtung zur herstellung palettenloser kollis
FR2566739A1 (fr) 1984-07-02 1986-01-03 Newtec Internal Sa Procede pour realiser un pli annulaire d'extremite sur une gaine tubulaire, en particulier une gaine plastique d'emballage et machine pour sa mise en oeuvre
DE3621296A1 (de) * 1986-06-25 1988-01-14 Moellers Maschf Gmbh Vorrichtung zur herstellung einer vollstaendig mit schrumpffolie umhuellten, palettenlosen verpackungseinheit
DE3832557A1 (de) * 1988-09-24 1990-04-05 Beumer Maschf Bernhard Verfahren und vorrichtung zum bilden von mit kunststoffolie umhuellten verpackungseinheiten sowie hiermit hergestellte verpackungseinheit
DE3941139A1 (de) * 1989-12-13 1991-06-20 Moellers Maschf Gmbh Verfahren zur herstellung einer palettenlosen verpackungseinheit
EP0461564A1 (de) 1990-06-14 1991-12-18 Bernhard Beumer Maschinenfabrik KG Vorrichtung zum Umhüllen von Stückgut mit Stretchfolie
EP1013549A1 (de) 1998-12-23 2000-06-28 Maschinenfabrik Möllers GmbH u. Co. Verfahren und Vorrichtung zum Umhüllen eines Stückgutstapels
EP1048566A1 (de) * 1999-04-16 2000-11-02 Kl- Lachenmeier A/S Verfahren und Vorrichtung zum Verpacken von Gegenständen in einer Folienhaube

Patent Citations (11)

* Cited by examiner, † Cited by third party
Publication number Priority date Publication date Assignee Title
DE2614558A1 (de) 1976-04-03 1977-10-13 Moellers E Fa Verfahren und vorrichtung zur herstellung palettenloser kollis
FR2354928A1 (fr) * 1976-06-15 1978-01-13 Laessig Foerdertech Hamburg Systeme et equipement permettant de confectionner des charges palettisees sans palette sous conditionnement etanche
DE2702613A1 (de) 1977-01-22 1978-07-27 Moellers Maschf Verfahren und vorrichtung zur herstellung palettenloser kollis
FR2566739A1 (fr) 1984-07-02 1986-01-03 Newtec Internal Sa Procede pour realiser un pli annulaire d'extremite sur une gaine tubulaire, en particulier une gaine plastique d'emballage et machine pour sa mise en oeuvre
DE3621296A1 (de) * 1986-06-25 1988-01-14 Moellers Maschf Gmbh Vorrichtung zur herstellung einer vollstaendig mit schrumpffolie umhuellten, palettenlosen verpackungseinheit
DE3832557A1 (de) * 1988-09-24 1990-04-05 Beumer Maschf Bernhard Verfahren und vorrichtung zum bilden von mit kunststoffolie umhuellten verpackungseinheiten sowie hiermit hergestellte verpackungseinheit
DE3941139A1 (de) * 1989-12-13 1991-06-20 Moellers Maschf Gmbh Verfahren zur herstellung einer palettenlosen verpackungseinheit
EP0461564A1 (de) 1990-06-14 1991-12-18 Bernhard Beumer Maschinenfabrik KG Vorrichtung zum Umhüllen von Stückgut mit Stretchfolie
EP0461564B1 (de) 1990-06-14 1995-03-08 Bernhard Beumer Maschinenfabrik KG Vorrichtung zum Umhüllen von Stückgut mit Stretchfolie
EP1013549A1 (de) 1998-12-23 2000-06-28 Maschinenfabrik Möllers GmbH u. Co. Verfahren und Vorrichtung zum Umhüllen eines Stückgutstapels
EP1048566A1 (de) * 1999-04-16 2000-11-02 Kl- Lachenmeier A/S Verfahren und Vorrichtung zum Verpacken von Gegenständen in einer Folienhaube

Cited By (22)

* Cited by examiner, † Cited by third party
Publication number Priority date Publication date Assignee Title
EP2130771B1 (de) * 2008-06-07 2016-08-03 MSK Emballage S.A.R.L. Vorrichtung und Verfahren zum Überziehen einer Schlauchfolie über einen Gutstapel
DE102009020454B3 (de) * 2009-05-08 2010-10-28 Maschinenfabrik Möllers Gmbh Verfahren und Vorrichtung zum Herstellen einer palettenlosen Verpackungseinheit und palettenlose Verpackungseinheit
EP2248722A1 (de) 2009-05-08 2010-11-10 Maschinenfabrik Möllers GmbH Verfahren und Vorrichtung zum Herstellen einer palettenlosen Verpackungseinheit und palettenlose Verpackungseinheit
DE202009008434U1 (de) 2009-05-08 2009-09-03 Maschinenfabrik Möllers Gmbh Vorrichtung zum Herstellen einer palettenlosen Verpackungseinheit und palettenlose Verpackungseinheit
DE102009052551A1 (de) 2009-11-10 2011-05-12 Maschinenfabrik Möllers Gmbh Verfahren und Vorrichtung zum Herstellen einer Verpackungseinheit
EP2322433A1 (de) 2009-11-10 2011-05-18 Maschinenfabrik Möllers GmbH Verfahren und Vorrichtung zum Herstellen einer Verpackungseinheit
DE102010019282A1 (de) 2010-05-04 2011-11-10 Maschinenfabrik Möllers Gmbh Vorrichtung zum Herstellen einer Verpackungseinheit
WO2011138016A1 (de) 2010-05-04 2011-11-10 Maschinenfabrik Möllers Gmbh Vorrichtung zur be- bzw. entladung von ladeeinheiten
DE102010019262A1 (de) 2010-05-04 2011-11-10 Maschinenfabrik Möllers Gmbh Vorrichtung zur Be- bzw. Entladung von Ladeeinheiten
WO2011138017A1 (de) 2010-05-04 2011-11-10 Maschinenfabrik Möllers Gmbh Vorrichtung zum herstellen einer verpackungseinheit
DE102010019282B4 (de) 2010-05-04 2019-06-19 Maschinenfabrik Möllers Gmbh Vorrichtung zum Herstellen einer Verpackungseinheit
WO2012104090A1 (de) 2011-02-02 2012-08-09 Maschinenfabrik Möllers Gmbh Verfahren zum herstellen einer palettenlosen verpackungseinheit sowie verpackungseinheit
DE102011010126A1 (de) 2011-02-02 2012-08-02 Maschinenfabrik Möllers Gmbh Verfahren zum Herstellen einer palettenlosen Verpackungseinheit
WO2012163536A1 (de) 2011-06-03 2012-12-06 Maschinenfabrik Möllers Gmbh Verfahren und vorrichtung zum herstellen einer palettenlosen verpackungseinheit
DE102011103366B3 (de) * 2011-06-03 2012-09-20 Maschinenfabrik Möllers Gmbh Verfahren und Vorrichtung zum Herstellen einer palettenlosen Verpackungseinheit
DE102011120459A1 (de) * 2011-12-07 2013-06-13 Beumer Gmbh & Co. Kg Verfahren zum Umhüllen eines Stückgutstapels und damit gebildete Verpackungseinheit
US20150307290A1 (en) * 2014-04-28 2015-10-29 Windmöller & Hölscher Kg Method for stacking of filled sacks to a pallet-free sack stacking
EP2939962A1 (de) * 2014-04-28 2015-11-04 Windmöller & Hölscher KG Verfahren für das stapeln von gefüllten säcken zu einem palettenfreien sackstapel
US11225386B2 (en) 2014-04-28 2022-01-18 Windmöller & Hölscher Kg Method for stacking of filled sacks to a pallet-free sack stacking
EP3312099A1 (de) 2016-10-18 2018-04-25 Maschinenfabrik Möllers GmbH Verfahren zum herstellen einer palettenlosen verpackungseinheit und nach dem verfahren hergestellte verpackungseinheit
WO2021081158A1 (en) * 2019-10-23 2021-04-29 Signode Industrial Group Llc Systems and methods for wrapping loads of goods with tubular stretch film
US12060192B2 (en) 2019-10-23 2024-08-13 Signode Industrial Group Llc Systems and methods for wrapping loads of goods with tubular stretch film

Also Published As

Publication number Publication date
EP2036818B1 (de) 2011-05-25
WO2009068294A1 (de) 2009-06-04
CN101903251A (zh) 2010-12-01
DK2036818T3 (da) 2011-08-29
RU2010121263A (ru) 2012-01-10
CN101903251B (zh) 2013-01-16
RU2464209C2 (ru) 2012-10-20

Similar Documents

Publication Publication Date Title
EP2036818B1 (de) Verfahren zum Herstellen einer palettenlosen Verpackungseinheit
EP0344815B2 (de) Verfahren und Vorrichtung zum Umhüllen von Stückgut, insbesondere Stückgutstapeln, mit einer Stretchfolienhaube
DE2409705A1 (de) Verfahren und anlage zum umwickeln einer aus einem oder mehreren teilen bestehenden einheit
WO2010130552A1 (de) Vorrichtung und verfahren zum verpacken einer ladungseinheit mit folie
EP1266829B1 (de) Verfahren zum Umhüllen von Stückgut, insb. Stückgutstapeln, mit Stretchfolie
DE69310858T2 (de) Verfahren und Vorrichtung zum Verpacken von zusammendrückbaren Isolationsprodukten
EP2939962B1 (de) Verfahren für das stapeln von gefüllten säcken zu einem palettenfreien sackstapel
DE2303128A1 (de) Aus mehreren schichten aufeinander gestapelter verpackungsgegenstaende bestehendes kolli, sowie verfahren und maschine zur herstellung desselben
DE2614558C3 (de) Verfahren und Vorrichtung zur Herstellung palettenloser Verpackungseinheiten
DE202007018783U1 (de) Palettenlose Verpackungseinheit
DE3917110C2 (de)
EP2248722B1 (de) Palettenlose Verpackungseinheit
DE2702613C2 (de) Verfahren zur Herstellung palettenloser Verpackungseinheiten
EP2322433B1 (de) Verfahren und Vorrichtung zum Herstellen einer Verpackungseinheit
EP2670670B1 (de) Verfahren zum herstellen einer palettenlosen verpackungseinheit
EP2714523B1 (de) Verfahren und vorrichtung zum herstellen einer palettenlosen verpackungseinheit
DE4440217C1 (de) Verfahren zur Herstellung einer palettenlosen Verpackungseinheit
EP2130771B1 (de) Vorrichtung und Verfahren zum Überziehen einer Schlauchfolie über einen Gutstapel
DE69403162T2 (de) Verfahren für eine Überverpackung und Vorrichtung zur Durchführung dieses Verfahrens
DE29921803U1 (de) Dämmstoffplattenverpackung und Vorrichtung zu ihrer Herstellung
EP0764579B1 (de) Verfahren und Vorrichtung zum Verpacken von Gegenständen mit einer dehnbaren, schlauchförmigen Kunststoffolie
EP0445443B1 (de) Seitenfaltenschlauch aus Dehnfolie zum Umhüllen von Stückgut
DE102023107398A1 (de) Palettenhaube für palettiertes Gut
DE102013001566A1 (de) Verfahren und Vorrichtung zum Umhüllen eines Stückgutstapels
EP1048566A1 (de) Verfahren und Vorrichtung zum Verpacken von Gegenständen in einer Folienhaube

Legal Events

Date Code Title Description
PUAI Public reference made under article 153(3) epc to a published international application that has entered the european phase

Free format text: ORIGINAL CODE: 0009012

17P Request for examination filed

Effective date: 20090126

AK Designated contracting states

Kind code of ref document: A1

Designated state(s): AT BE BG CH CY CZ DE DK EE ES FI FR GB GR HU IE IS IT LI LT LU LV MC MT NL PL PT RO SE SI SK TR

AX Request for extension of the european patent

Extension state: AL BA HR MK RS

17Q First examination report despatched

Effective date: 20090409

AKX Designation fees paid

Designated state(s): DE DK IT

GRAP Despatch of communication of intention to grant a patent

Free format text: ORIGINAL CODE: EPIDOSNIGR1

TPAC Observations filed by third parties

Free format text: ORIGINAL CODE: EPIDOSNTIPA

RIN1 Information on inventor provided before grant (corrected)

Inventor name: FRENZEL, NORBERT

Inventor name: BIRKENFELD, RICHARD

Inventor name: AKA, PETER

GRAJ Information related to disapproval of communication of intention to grant by the applicant or resumption of examination proceedings by the epo deleted

Free format text: ORIGINAL CODE: EPIDOSDIGR1

TPAC Observations filed by third parties

Free format text: ORIGINAL CODE: EPIDOSNTIPA

GRAP Despatch of communication of intention to grant a patent

Free format text: ORIGINAL CODE: EPIDOSNIGR1

GRAS Grant fee paid

Free format text: ORIGINAL CODE: EPIDOSNIGR3

GRAA (expected) grant

Free format text: ORIGINAL CODE: 0009210

AK Designated contracting states

Kind code of ref document: B1

Designated state(s): DE DK IT

REG Reference to a national code

Ref country code: DE

Ref legal event code: R096

Ref document number: 502007007302

Country of ref document: DE

Effective date: 20110707

REG Reference to a national code

Ref country code: DK

Ref legal event code: T3

PLBI Opposition filed

Free format text: ORIGINAL CODE: 0009260

PLAX Notice of opposition and request to file observation + time limit sent

Free format text: ORIGINAL CODE: EPIDOSNOBS2

26 Opposition filed

Opponent name: BEUMER MASCHINENFABRIK GMBH & CO. KG

Effective date: 20120227

REG Reference to a national code

Ref country code: DE

Ref legal event code: R026

Ref document number: 502007007302

Country of ref document: DE

Effective date: 20120227

PLBB Reply of patent proprietor to notice(s) of opposition received

Free format text: ORIGINAL CODE: EPIDOSNOBS3

PLCK Communication despatched that opposition was rejected

Free format text: ORIGINAL CODE: EPIDOSNREJ1

PLBN Opposition rejected

Free format text: ORIGINAL CODE: 0009273

STAA Information on the status of an ep patent application or granted ep patent

Free format text: STATUS: OPPOSITION REJECTED

27O Opposition rejected

Effective date: 20130407

REG Reference to a national code

Ref country code: DE

Ref legal event code: R100

Ref document number: 502007007302

Country of ref document: DE

Effective date: 20130407

PGFP Annual fee paid to national office [announced via postgrant information from national office to epo]

Ref country code: DK

Payment date: 20211126

Year of fee payment: 15

PGFP Annual fee paid to national office [announced via postgrant information from national office to epo]

Ref country code: IT

Payment date: 20211130

Year of fee payment: 15

REG Reference to a national code

Ref country code: DE

Ref legal event code: R081

Ref document number: 502007007302

Country of ref document: DE

Owner name: MOELLERS PACKAGING TECHNOLOGY GMBH, DE

Free format text: FORMER OWNER: MASCHINENFABRIK MOELLERS GMBH, 59269 BECKUM, DE

REG Reference to a national code

Ref country code: DK

Ref legal event code: EBP

Effective date: 20221130

PG25 Lapsed in a contracting state [announced via postgrant information from national office to epo]

Ref country code: IT

Free format text: LAPSE BECAUSE OF NON-PAYMENT OF DUE FEES

Effective date: 20221130

Ref country code: DK

Free format text: LAPSE BECAUSE OF NON-PAYMENT OF DUE FEES

Effective date: 20221130

PGFP Annual fee paid to national office [announced via postgrant information from national office to epo]

Ref country code: DE

Payment date: 20241126

Year of fee payment: 18