EP1596181A2 - Verfahren und Vorrichtung zur spektroskopischen Messung eines Isotopengases - Google Patents
Verfahren und Vorrichtung zur spektroskopischen Messung eines Isotopengases Download PDFInfo
- Publication number
- EP1596181A2 EP1596181A2 EP05015626A EP05015626A EP1596181A2 EP 1596181 A2 EP1596181 A2 EP 1596181A2 EP 05015626 A EP05015626 A EP 05015626A EP 05015626 A EP05015626 A EP 05015626A EP 1596181 A2 EP1596181 A2 EP 1596181A2
- Authority
- EP
- European Patent Office
- Prior art keywords
- gas
- concentration
- breath
- measurement
- sample
- Prior art date
- Legal status (The legal status is an assumption and is not a legal conclusion. Google has not performed a legal analysis and makes no representation as to the accuracy of the status listed.)
- Withdrawn
Links
Images
Classifications
-
- G—PHYSICS
- G01—MEASURING; TESTING
- G01N—INVESTIGATING OR ANALYSING MATERIALS BY DETERMINING THEIR CHEMICAL OR PHYSICAL PROPERTIES
- G01N21/00—Investigating or analysing materials by the use of optical means, i.e. using sub-millimetre waves, infrared, visible or ultraviolet light
- G01N21/17—Systems in which incident light is modified in accordance with the properties of the material investigated
- G01N21/25—Colour; Spectral properties, i.e. comparison of effect of material on the light at two or more different wavelengths or wavelength bands
- G01N21/31—Investigating relative effect of material at wavelengths characteristic of specific elements or molecules, e.g. atomic absorption spectrometry
- G01N21/35—Investigating relative effect of material at wavelengths characteristic of specific elements or molecules, e.g. atomic absorption spectrometry using infrared light
- G01N21/3504—Investigating relative effect of material at wavelengths characteristic of specific elements or molecules, e.g. atomic absorption spectrometry using infrared light for analysing gases, e.g. multi-gas analysis
-
- A—HUMAN NECESSITIES
- A61—MEDICAL OR VETERINARY SCIENCE; HYGIENE
- A61B—DIAGNOSIS; SURGERY; IDENTIFICATION
- A61B10/00—Instruments for taking body samples for diagnostic purposes; Other methods or instruments for diagnosis, e.g. for vaccination diagnosis, sex determination or ovulation-period determination; Throat striking implements
-
- A—HUMAN NECESSITIES
- A61—MEDICAL OR VETERINARY SCIENCE; HYGIENE
- A61B—DIAGNOSIS; SURGERY; IDENTIFICATION
- A61B5/00—Measuring for diagnostic purposes; Identification of persons
- A61B5/08—Measuring devices for evaluating the respiratory organs
- A61B5/097—Devices for facilitating collection of breath or for directing breath into or through measuring devices
-
- G—PHYSICS
- G01—MEASURING; TESTING
- G01N—INVESTIGATING OR ANALYSING MATERIALS BY DETERMINING THEIR CHEMICAL OR PHYSICAL PROPERTIES
- G01N21/00—Investigating or analysing materials by the use of optical means, i.e. using sub-millimetre waves, infrared, visible or ultraviolet light
- G01N21/01—Arrangements or apparatus for facilitating the optical investigation
- G01N21/03—Cuvette constructions
- G01N21/0332—Cuvette constructions with temperature control
-
- G—PHYSICS
- G01—MEASURING; TESTING
- G01N—INVESTIGATING OR ANALYSING MATERIALS BY DETERMINING THEIR CHEMICAL OR PHYSICAL PROPERTIES
- G01N21/00—Investigating or analysing materials by the use of optical means, i.e. using sub-millimetre waves, infrared, visible or ultraviolet light
- G01N21/01—Arrangements or apparatus for facilitating the optical investigation
- G01N21/11—Filling or emptying of cuvettes
-
- G—PHYSICS
- G01—MEASURING; TESTING
- G01N—INVESTIGATING OR ANALYSING MATERIALS BY DETERMINING THEIR CHEMICAL OR PHYSICAL PROPERTIES
- G01N21/00—Investigating or analysing materials by the use of optical means, i.e. using sub-millimetre waves, infrared, visible or ultraviolet light
- G01N21/17—Systems in which incident light is modified in accordance with the properties of the material investigated
- G01N21/25—Colour; Spectral properties, i.e. comparison of effect of material on the light at two or more different wavelengths or wavelength bands
- G01N21/27—Colour; Spectral properties, i.e. comparison of effect of material on the light at two or more different wavelengths or wavelength bands using photo-electric detection ; circuits for computing concentration
- G01N21/274—Calibration, base line adjustment, drift correction
-
- G—PHYSICS
- G01—MEASURING; TESTING
- G01N—INVESTIGATING OR ANALYSING MATERIALS BY DETERMINING THEIR CHEMICAL OR PHYSICAL PROPERTIES
- G01N21/00—Investigating or analysing materials by the use of optical means, i.e. using sub-millimetre waves, infrared, visible or ultraviolet light
- G01N21/17—Systems in which incident light is modified in accordance with the properties of the material investigated
- G01N21/25—Colour; Spectral properties, i.e. comparison of effect of material on the light at two or more different wavelengths or wavelength bands
- G01N21/31—Investigating relative effect of material at wavelengths characteristic of specific elements or molecules, e.g. atomic absorption spectrometry
- G01N21/314—Investigating relative effect of material at wavelengths characteristic of specific elements or molecules, e.g. atomic absorption spectrometry with comparison of measurements at specific and non-specific wavelengths
-
- A—HUMAN NECESSITIES
- A61—MEDICAL OR VETERINARY SCIENCE; HYGIENE
- A61B—DIAGNOSIS; SURGERY; IDENTIFICATION
- A61B10/00—Instruments for taking body samples for diagnostic purposes; Other methods or instruments for diagnosis, e.g. for vaccination diagnosis, sex determination or ovulation-period determination; Throat striking implements
- A61B2010/0083—Instruments for taking body samples for diagnostic purposes; Other methods or instruments for diagnosis, e.g. for vaccination diagnosis, sex determination or ovulation-period determination; Throat striking implements for taking gas samples
- A61B2010/0087—Breath samples
-
- A—HUMAN NECESSITIES
- A61—MEDICAL OR VETERINARY SCIENCE; HYGIENE
- A61B—DIAGNOSIS; SURGERY; IDENTIFICATION
- A61B5/00—Measuring for diagnostic purposes; Identification of persons
- A61B5/0059—Measuring for diagnostic purposes; Identification of persons using light, e.g. diagnosis by transillumination, diascopy, fluorescence
-
- A—HUMAN NECESSITIES
- A61—MEDICAL OR VETERINARY SCIENCE; HYGIENE
- A61B—DIAGNOSIS; SURGERY; IDENTIFICATION
- A61B5/00—Measuring for diagnostic purposes; Identification of persons
- A61B5/08—Measuring devices for evaluating the respiratory organs
- A61B5/083—Measuring rate of metabolism by using breath test, e.g. measuring rate of oxygen consumption
- A61B5/0836—Measuring rate of CO2 production
-
- G—PHYSICS
- G01—MEASURING; TESTING
- G01N—INVESTIGATING OR ANALYSING MATERIALS BY DETERMINING THEIR CHEMICAL OR PHYSICAL PROPERTIES
- G01N33/00—Investigating or analysing materials by specific methods not covered by groups G01N1/00 - G01N31/00
- G01N33/0004—Gaseous mixtures, e.g. polluted air
- G01N33/0006—Calibrating gas analysers
-
- G—PHYSICS
- G01—MEASURING; TESTING
- G01N—INVESTIGATING OR ANALYSING MATERIALS BY DETERMINING THEIR CHEMICAL OR PHYSICAL PROPERTIES
- G01N33/00—Investigating or analysing materials by specific methods not covered by groups G01N1/00 - G01N31/00
- G01N33/48—Biological material, e.g. blood, urine; Haemocytometers
- G01N33/483—Physical analysis of biological material
- G01N33/497—Physical analysis of biological material of gaseous biological material, e.g. breath
Definitions
- the present invention relates to methods and apparatuses for spectrometrically measuring the concentration of an isotopic gas on the basis of a difference in the light absorption characteristics of the isotope.
- Isotopic analyses are useful for diagnosis of a disease in a medical application, in which metabolic functions of a living body can be determined by measuring a change in the concentration or concentration ratio of an isotope after administration of a drug containing the isotope.
- the isotopic analyses are used for studies of the photosynthesis and metabolism of plants, and for ecological tracing in a geochemical application.
- HP helicobacter pylori
- Carbon has isotopes having mass numbers of 12, 13 and 14, among which 13 C having a mass number of 13 is easy to handle because of its non-radioactivity and stability.
- the concentration ratio of 13 CO 2 to 12 CO 2 in naturally occurring carbon dioxide is 1:100. Therefore, it is difficult to determine the concentration ratio in the breath of the patient with high accuracy.
- Calibration curves for determining the concentrations of 12 CO 2 should be prepared by using gaseous samples each having a known 12 CO 2 concentration.
- the 12 CO 2 absorbances are measured for different 12 CO 2 concentrations.
- the 12 CO 2 concentrations and the 12 CO 2 absorbances are plotted as abscissa and ordinate, respectively, and the calibration curve is determined by the method of least squares.
- the calibration curve for the 13 CO 2 concentration is prepared in the same manner as described above.
- the preparation of the calibration curves is based on an assumption that the relation between the concentration and the absorbance conforms to the Lambert-Beer Law.
- the Lambert-Beer Law itself is an approximate expression.
- the actual relation between the concentration and the absorbance does not always conform to the Lambert-Beer Law. Therefore, all the plotted data do not perfectly fit to the calibration curve.
- the concentration ratios determined for different 12 CO 2 concentrations deviate from the actual concentration ratio (1.077%), and form an undulatory curve when plotted.
- the cause of the deviation has not been elucidated yet, the deviation supposedly results from changes in the spectroscopic characteristics such as reflectance, refractive index and stray light in dependence on the 12 CO 2 concentration and from the error characteristics of the least square method employed for the preparation of the calibration curves.
- Fig. 2 is a graphical representation in which 13 CO 2 concentration ratios are plotted with respect to oxygen contents, the 13 CO 2 concentration ratios having been determined by measuring gaseous samples containing 13 CO 2 diluted with oxygen and nitrogen and having the same 13 CO 2 concentration but different oxygen concentrations. The determined 13 CO 2 concentration ratios are normalized on the basis of a 13 CO 2 concentration ratio for an oxygen content of 0%.
- the 13 CO 2 concentration ratio is not constant but varies depending on the oxygen concentration.
- Fig. 3 is a graphical representation illustrating the result of measurement in which gaseous samples having different 13 CO 2 concentration ratios and containing no oxygen were measured.
- the actual 13 CO 2 concentration ratios and the measured 13 CO 2 concentration ratios are plotted as abscissa and ordinate, respectively.
- the 13 CO 2 concentration ratios are normalized on the basis of the minimum 13 CO 2 concentration ratio.
- Fig. 4 is a graphical representation illustrating the result of measurement in which gaseous samples having different 13 CO 2 concentration ratios and containing various concentration of oxygen (up to 90%) were measured.
- the actual 13 CO 2 concentration ratios and the measured 13 CO 2 concentration ratios are plotted as abscissa and ordinate, respectively.
- the 13 CO 2 concentration ratios are normalized on the basis of the minimum 13 CO 2 concentration ratio.
- a comparison between the results shown in Figs. 3 and 4 indicates that the relationship between the actual 13 CO 2 concentration ratio and the measured 13 CO 2 concentration ratio in Fig. 3 is about 1:1 (or the scope of the fitting curve in Fig. 3 is about 1) while the relationship between the actual 13 CO 2 concentration ratio and the measured 13 CO 2 concentration ratio in Fig. 4 is about 1:0.3 (or the scope of the linear fitting curve in Fig. 4 is about 0.3).
- the measurement of the 13 CO 2 concentration or the 13 CO 2 concentration ratio is influenced by the concentration of oxygen contained in a gaseous sample, the cause of which has not been elucidated yet.
- concentration or concentration ratio of a component gas is determined without performing a correction in consideration of the' oxygen concentration, it is predicted that a critical error may result.
- concentration of CO 2 particularly, the concentration of 13 CO 2 is extremely low, highly sensitive measurement is required.
- a measured light intensity is responsive to changes in parameters of the measurement system, e.g., the light intensity of a light source, the temperature of a sample gas, the temperature of a cell to which the gas is introduced, the sensitivity of a photodetector and the like.
- the measured value may have an error caused by factors not related to the sample gas.
- the measurement is started after the measurement system is stabilized in a time-consuming manner. This reduces the operation efficiency and makes it impossible to meet a user demand to measure a large amount of samples in a short time.
- the 12 CO 2 absorbance is measured and the 12 CO 2 concentration is determined on the basis of a calibration curve for 12 CO 2 .
- the 13 CO 2 absorbance is measured and the 13 CO 2 concentration is calculated on the basis of a calibration curve for 13 CO 2 , as well.
- the measurement of another breath sample is carried out in the same manner.
- the flow rate of the gaseous sample may be controlled to be constant by using a pump and a flow meter in combination.
- the accuracy of the flow control cannot be ensured, because the volume of the bag containing the gaseous sample is small and the flow rate is low.
- an apparatus called mass flow meter for electronic flow control may be employed as flow control means. This improves the accuracy of the flow rate control, but results in a complicated apparatus and an increased cost.
- E In the method disclosed in JPB 61(1986)-42220, the length of the cell is reduced and, therefore, a cell-absent space is filled with air. The air space hinders highly accurate measurement. If the lengths of paths between the light source and the cell and between the cell and the photoreceptor are increased, highly accurate measurement may be hindered.
- the absorbance of 13 CO 2 present in a trace amount is measured in the isotopic gas measurement, even a small external disturbance reduces the measurement accuracy.
- a few percentage of 12 CO 2 and a trace amount of 13 CO 2 are present in the aforesaid air space and spaces between the light source and the cell and between the cell and the photoreceptor.
- a 13 CO 2 spectrum partially overlaps a 12 CO 2 spectrum and, if a filter is used, the band-pass width thereof influences the measurement. Therefore, the presence of 12 CO 2 indirectly influences the measurement of the 13 CO 2 absorbance, and the trace amount of 13 CO 2 directly influences the measurement of the 13 CO 2 absorbance.
- an apparatus To eliminate the influence of CO 2 present in a light path, an apparatus (see JPB 3(1991)-31218) has been proposed in which a light source, a sample cell, a reference cell, a interference filter, a detection element and like elements are accommodated in a sealed case which is connected to a column filled with a CO 2 absorbent through a tube and a circulation pump for circulating air within the sealed case and the column to remove CO 2 from the air in the sealed case.
- the apparatus disclosed in this document can remove CO 2 which may adversely affect the measurement, but requires the column filled with the CO 2 absorbent, the tube and a large sealed case for accommodating the respective elements, resulting in a large-scale construction.
- the fabrication of the apparatus requires a laborious process such as for sealing the large case.
- a nonuniform flow of the air within the sealed case causes a local temperature change and an incidental concentration change, thereby causing a light detection signal to be fluctuated.
- breath is sampled in breath sampling bags before and after a diagnostic drug is administered to a living body, and the breath samples in the breath sampling bags are respectively measured for determination of the 13 CO 2 concentration or the 13 CO 2 concentration ratio.
- breath samples obtained before and after the drug administration are often mistakenly manipulated.
- breath samples obtained from one patient before and after the drug administration are mistaken for those obtained from another patient, or a breath sample obtained before the drug administration is mistaken for that obtained after the drug administration.
- a breath sample includes a gas remaining in the oral cavity of a patient, the measurement accuracy is reduced. To reduce a measurement error, breath from the lung of the patient should be sampled.
- the present invention provides a method for spectrometrically measuring an isotopic gas, which is described in claim 1.
- the aforesaid method includes an additional step (the third step) of correcting the concentration ratio of a component gas in a gaseous test sample on the basis of the concentration of the component gas by using a correction curve prepared by measuring gaseous samples respectively containing the component gas in known concentrations or known concentration ratios.
- the correction of the concentration ratio eliminates the conventionally experienced drawback that the measured concentration ratios of the component gas which should basically be the same vary depending on the concentration of the component gas, thereby improving the measurement accuracy of the concentration ratio of the component gas.
- the concentration of a component gas is tentatively determined with the use of a calibration curve which is prepared on the basis of data obtained by measuring gaseous samples containing the component gas in known concentrations within a predetermined range (the second step).
- the second step all the data do not perfectly fit to the calibration curve on which the tentatively determined concentration of the component gas is based, as described in "Background Art".
- the obtained concentration of the component gas is more accurate.
- the measurement accuracy of the concentration of the component gas can be increased.
- the aforesaid method includes an additional step (the third step) of correcting the concentration or concentration ratio of a component gas in a gaseous test sample on the basis of a measured oxygen concentration of the gaseous test sample by using a correction curve prepared by measuring gaseous samples respectively containing oxygen in known concentrations.
- the correction eliminates the newly encountered drawback that the measured concentrations of the component gas which should basically be the same vary depending on the oxygen concentration, thereby improving the measurement accuracy of the concentration or concentration ratio of the component gas.
- the oxygen concentration may be determined by means of any of various oxygen sensors or by spectrometrically measuring an absorbance in an oxygen molecular spectrum.
- a reference gas measurement in which a light intensity is measured with a reference gas filled in a cell and a sample measurement in which a light intensity is measured with a gaseous sample filled in the cell are each performed once for measurement of an absorbance.
- the absorbance is determined on the basis of the light intensity measured in the sample measurement and an average of light intensity measured in the reference gas measurements performed before and after the sample measurement.
- a time-related variation of the absorbances measured before and after the sample measurement can be corrected by using the average of the light intensity obtained in the reference gas measurement.
- an influence of the time-related change of the measurement system can be eliminated.
- the result of the reference gas measurement performed after the sample measurement can serve as the result of the reference gas measurement performed before the next sample measurement. Therefore, one measurement result for the reference gas can be used twice.
- an absorbance is determined on the basis of a light intensity measured in a reference gas measurement and an average of light intensity measured in sample measurements performed before and after the reference gas measurement.
- the operation efficiency is reduced.
- a time-related variation of the absorbances obtained before and after the sample measurement can be corrected by using the average of the light intensity obtained in the sample measurement.
- an influence of the time-related change of the measurement system can be eliminated.
- two breath test samples can be measured on condition that the CO 2 concentrations thereof are at the same level and, therefore, a range of a calibration curve to be used can be limited.
- the accuracy of the measurement can be improved as the range of the calibration curve to be used becomes narrower. Hence, the measurement accuracy can be improved by using a limited range of the calibration curve.
- the present invention provides an apparatus for spectrometrically measuring an isotopic gas, which includes a gas injection means for sucking therein a gaseous sample and then injecting the gaseous sample into a cell by mechanically pushing out the gaseous sample at a constant flow rate (claim 15).
- the gaseous sample is injected into the cell at a constant flow rate. Therefore, the gaseous sample uniformly flows within the cell, so that a highly accurate light detection signal free from fluctuation can be provided for more accurate concentration measurement.
- gas injection means for mechanically pushing out the gaseous sample at the constant rate is, for example, a mechanism including a piston and a cylinder and adapted to move the cylinder at a constant rate.
- the apparatus for spectrometrically measuring an isotopic gas further includes a temperature maintaining means for maintaining a cell for receiving the gaseous sample introduced therein at a constant temperature (claim 16).
- the temperature condition of the gaseous sample can be kept uniform, so that a highly accurate light detection signal free from fluctuation can be provided.
- the present invention provides another apparatus for spectrometrically measuring an isotopic gas, which includes a cell for receiving a gaseous sample introduced therein positioned in the midst of a light path between a light source and a photoreceptor, and a reference cell disposed in a portion of the light path not occupied by the cell and filled with a reference gas having no absorption at a wavelength for measurement (claim 17).
- the aforesaid apparatuses for spectrometrically measuring an isotopic gas each further include a gas flow generating means for constantly passing the reference gas through the reference cell at a constant flow rate (claims 18 and 21).
- the passing of the reference gas through the reference cell is based on the following consideration. If the reference cell is sealed with the reference gas filled therein, the reference gas gradually leaks from a joint of the cell and is replaced with outside air. The air which has entered the cell contains component gases of the same kinds as contained in the gaseous sample, resulting in an optically adverse effect. Further, the reference gas constantly flowing at a constant rate does not generate a nonuniform gas flow within the reference cell, thereby preventing a light detection signal from being fluctuated.
- the gas flow generating means may comprise a valve for introducing the reference gas from a gas container, a pipe and a flow meter, for example.
- the aforesaid apparatus for spectrometrically measuring an isotopic gas further includes a temperature maintaining means for maintaining the cell for receiving the gaseous sample introduced therein and the reference cell at a constant temperature (claims 19 and 22).
- the present invention provides a breath sampling bag, which includes a plurality of breath accumulating chambers joined together for respectively accumulating a plurality of breath samples, and a plurality of breath introduction pipes for respectively introducing the breath samples from the plurality of breath accumulating chambers into a plurality of inlets of a gas measuring apparatus for measuring a breath sample, the plurality of breath introduction pipes each being configured such as to be prevented from being connected to the inlets of the gas measuring apparatus in a wrong way (claim 23).
- a gas measuring apparatus in accordance with the present invention is adapted to measure breath samples contained in a breath sampling bag which includes a plurality of breath accumulating chambers joined together and a plurality of breath introduction pipes for introducing therethrough a plurality of breath samples from a living body into the respective breath accumulating chambers, and includes a plurality of breath inlets for respectively introducing the breath samples from the breath accumulating chambers through the breath introduction pipes, the plurality of breath inlets each being configured such as to prevent the breath introduction pipes from being connected thereto in a wrong way (claim 24).
- breath is sampled from a living body before and after a diagnostic drug is administered to the living body and the 13 CO 2 concentration or 13 CO 2 concentration ratio of the breath samples is measured, for example, the manipulation mistake of the breath samples obtained before and after the administration of the diagnostic drug for measurement can be prevented. Further, where a load test is performed and breath is sampled at a predetermined time interval after the administration of a diagnostic drug, breath samples thus obtained are prevented from being measured in a wrong order.
- the breath introduction pipes or the breath inlets are, for example, asymmetrically configured for prevention of the connection mistake of the breath sampling bag.
- the plurality of breath introduction pipes may have different diameters, lengths and cross-sections
- the plurality of breath inlets may have different diameters, lengths and cross-sections corresponding to those of the respective breath introduction pipes.
- Another breath sampling bag in accordance with the present invention includes a breath accumulating chamber for accumulating breath and a breath introduction pipe for introducing the breath from a living body into the breath accumulating chamber, the breath introduction pipe having a resistance generating means for generating a resistance to the blowing of the breath during the sampling of the breath (claim 25).
- the provision of the resistance generating means prevents the sampling of breath present in the oral cavity of the living body, but enables the sampling of breath from the lung thereof. Thus, a measurement error can be reduced.
- the resistance generating means is embodied by allowing the interior of the breath introduction pipe to have some change which generates a resistance to the blowing of the' breath.
- the inner diameter of the breath introduction pipe may be reduced or, alternatively, a resistance component may be provided on the interior of the breath introduction pipe.
- breath sampling bag in accordance with the present invention includes a breath accumulating chamber for accumulating breath and a breath introduction pipe for introducing the breath from a living body into the breath accumulating chamber, the breath introduction pipe having a detachable filter for removing moisture from the breath during the sampling of the-breath (claim 26).
- the moisture in the breath can be removed therefrom by means of the filter, so that a reduction in the optical measurement accuracy can be prevented.
- the removal of moisture is particularly effective for infrared spectrometry.
- Still another breath sampling bag in accordance with the present invention includes a breath accumulating chamber for accumulating breath and a breath introduction pipe for introducing the breath from a living body into the breath accumulating chamber, the breath introduction pipe having a valve for preventing the back flow of the breath during the sampling of the breath (claim 27).
- the provision of the back-flow prevention valve in the breath introduction pipe prevents the breath from leaking out of the breath sampling bag.
- Another gas measuring apparatus in accordance with the present invention which is adapted to measure a breath sample contained in a breath sampling bag including a breath accumulating chamber for accumulating the breath sample and a breath introduction pipe with a back-flow prevention valve for introducing the breath sample from a living body into the breath accumulating chamber, includes a breath inlet for introducing therein the breath sample from the breath sampling bag through the breath introduction pipe, the breath inlet having means for disabling the function of the valve with the breath introduction pipe being connected to the breath inlet (claim 28).
- the function of the valve can be disabled with the breath introduction pipe being connected to the breath inlet when the breath sample is to be introduced into the gas measuring apparatus through the breath introduction pipe. Therefore, the breath sample can be smoothly introduced into the gas measuring apparatus.
- the means for disabling the function of the valve is embodied, for example, by providing a long pin projecting from the breath inlet, which is adapted to forcibly open the valve when the breath introduction pipe is connected to the breath inlet.
- concentration of 12 CO 2 is called “ 12 Conc”
- concentration of 13 CO 2 is called “ 13 Conc”
- absorbance of 12 CO 2 is called “ 12 Abs”
- absorbance of 13 CO 2 is called “ 13 Abs”.
- breath of the patient is sampled in a breath sampling bag.
- the volume of the breath sampling bag may be about 250ml. Then, the urea diagnostic drug is administered to the patient and, after a lapse of 10 to 15 minutes, breath of the patient is sampled in the breath sampling bag in the same manner as in the previous breath sampling.
- Fig. 5 is a view illustrating the appearance of the breath sampling bag 1 to be connected to nozzles N 1 and N 2 of an apparatus for spectrometrically measuring an isotopic gas.
- the breath sampling bag 1 includes a breath sampling chamber 1a for sampling breath of the patient after the administration of the urea diagnostic drug and a breath sampling chamber 1b for sampling breath of the patient before the administration of the urea diagnostic drug, the breath sampling chambers 1a and 1b being integrally molded and joined together to form a single body.
- a pipe 2a is attached to an end of the breath sampling chamber 1a, and a pipe 2b is attached to an end of the breath sampling chamber 1b. Bottom ends 5a and 5b of the breath sampling chambers 1a and 1b are closed.
- the pipes 2a and 2b each have two functions, i.e., the pipes 2a and 2b serve not only as breath blowing ports from which breath is blown into the breath sampling chambers 1a and 1b, but also for introducing the breath samples from the breath sampling chambers 1a and 1b into the spectrometric apparatus when the breath sampling bag is connected to the nozzles N 1 and N 2 of the apparatus.
- a cylindrical filter (like cigarette filter) 7a or 7b is fitted into the pipe 2a or 2b, and then the breath is blown into the breath sampling bag 1.
- the filters 7a and 7b are used to remove moisture in the breath.
- back-flow valves 3a and 3b are provided in the pipes 2a and 2b, respectively, for preventing the breath blown into the breath sampling bag from flowing back.
- the pipes 2a and 2b each have a portion having a smaller inner diameter (e.g., a smaller diameter portion 4a or 4b) for generating a resistance to the blowing of the breath.
- the resistance to the blowing of the breath allows the patient to exhale air from his lung. It has been experimentally confirmed that air exhaled from the lung of a patient provides a more stable CO 2 concentration than air present in the oral cavity of the patient.
- the filters are removed, and the pipes 2a and 2b are inserted into the nozzles N 1 and N 2 , respectively, of the spectrometric apparatus.
- the nozzles N 1 and N 2 have different inner diameters
- the pipes 2a and 2b have different outer diameters corresponding to the inner diameters of the nozzles N 1 and N 2 . This prevents the pipes 2a and 2b from being inserted into wrong nozzles N 2 and N 1 , thereby preventing the breath samples obtained before and after the administration of the urea diagnostic drug from being mistakenly manipulated.
- the nozzles N 1 and N 2 of the spectrometric apparatus have projections 6a and 6b, respectively, which are adapted to disable the function of the back-flow valves 3a and 3b when the pipes 2a and 2b are inserted into the nozzles N 1 and N 2 .
- any other constructions may be employed to prevent the mistake of connection between the pipes 2a and 2b and the nozzles N 1 and N 2 .
- the pipes may have different lengths and the nozzles N 1 and N 2 of the spectrometric apparatus may have different depths corresponding to the lengths of the pipes. With this construction, a longer one of the pipes mistakenly inserted into a nozzle having a smaller depth fails to perfectly fit in the nozzle. Therefore, a user notices the connection mistake of the pipes.
- the pipes may have different cross sections (e.g., round, rectangular or triangular cross sections).
- the spectrometric apparatus Upon completion of the connection of the breath sampling bag 1, the spectrometric apparatus performs the following automatic control.
- Fig. 7 is a block diagram illustrating the overall construction of the apparatus for spectrometrically measuring an isotopic gas.
- the breath sampling bag is set to the apparatus so that one breath sampling chamber thereof containing the breath sampled after the drug administration (hereinafter referred to as “sample gas”) and the other breath sampling chamber thereof containing the breath (hereinafter referred to as “base gas”) sampled before the drug administration are connected to the nozzles N 1 and N 2 , respectively.
- sample gas the drug administration
- base gas the other breath sampling chamber thereof containing the breath
- the nozzle N 1 is connected to one port of a three-way valve V 1 through a transparent resin pipe (hereinafter referred to simply as "pipe”) and the nozzle N 2 is connected to one port of a three-way valve V 2 through a pipe.
- a reference gas (any gas having no absorption at a wavelength for measurement, e.g., nitrogen gas) is supplied from a gas cylinder to the apparatus.
- the reference gas flows through a flow path diverged into two paths. One path is connected through a flow meter M 1 to a reference cell 11c. The other path is connected through a flow meter M 2 to one port of a three-way valve V 3 .
- the reference gas flows into the reference cell 11c, and discharged therefrom.
- the other ports of the three-way valve V 3 are connected to another port of the three-way valve V 1 and to a first sample cell 11a for measuring a 12 CO 2 absorbance.
- the other ports of the three-way valve V 2 are connected to the first sample cell 11a through a two-way valve V 4 and to the other port of the three-way valve V 1 .
- a gas injector 21 (volume: 60cc) for quantitatively injecting the sample gas or the base gas is interposed between the three-way valve V 3 and the first sample cell 11a.
- the gas injector 21 is a syringe-like device having a piston and a cylinder.
- the piston is driven by cooperation of a motor, a screw connected to the motor and a nut fixed to the piston (which will be described later).
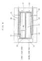
- a cell chamber 11 has the first sample cell 11a having a smaller length for measuring therein a 12 CO 2 absorbance, a second sample cell 11b having a greater length for measuring therein a 13 CO 2 absorbance, and the reference cell 11c through which the reference gas is passed.
- the first sample cell 11a communicates with the second sample cell 11b.
- the sample gas or the base gas is introduced into the first sample cell 11a and then into the second cell 11b, and discharged therefrom.
- the reference gas is introduced into the reference cell 11c, and then discharged therefrom.
- the first and second sample cells 11a and 11b have lengths of 13mm and 250mm, respectively
- the reference cell 11c has a length of 236mm.
- a discharge pipe extending from the second sample cell 11b is provided with an O 2 sensor 18.
- O 2 sensor 18 are commercially available oxygen sensors such as a solid electrolyte gas sensor (e.g., zirconia sensor) and an electrochemical gas sensor (e.g., galvanic cell sensor).
- a reference character L denotes an infrared light source having two waveguides 23a and 23b for guiding infrared rays for irradiation.
- the generation of the infrared rays may be achieved in any way.
- a ceramic heater surface temperature: 450°C
- a rotary chopper 22 for periodically blocking the infrared rays is provided adjacent to the infrared light source L. Infrared rays emitted from the infrared light source L are transmitted to the first sample cell 11a and the reference cell 11c through a first light path, and to the second sample cell 11b through a second light path (see Fig. 8).
- a reference character D denotes an infrared detector for detecting the infrared rays transmitted through the cells.
- the infrared detector D has a first wavelength filter 24a and a first detection element 25a disposed in the first light path, and a second wavelength filter 24b and a second detection element 25b disposed in the second light path.
- the first wavelength filter 24a (band width: about 20nm) passes an infrared ray having a wavelength of about 4,280nm to be used for measurement of a 12 CO 2 absorbance.
- the second wavelength filter 24b (band width: about 50nm) passes an infrared ray having a wavelength of about 4,412nm to be used for measurement of a 13 CO 2 absorbance.
- Usable as the first and second detection elements 25a and 25b are any elements capable of detecting infrared rays. For example, a semiconductor infrared sensor such as of PbSe is used.
- the first wavelength filter 24a and the first detection element 25a are housed in a package 26a filled with an inert gas such as Ar.
- the second wavelength filter 24b and the second detection element 25b are housed in a package 26b filled with an inert gas.
- the whole infrared detector D is maintained at a constant temperature (25°C) by means of a heater and a Peltier element.
- the inside temperatures of the packages 26a and 26b are kept at 0°C by means of a Peltier element.
- the cell chamber 11 is formed of a stainless steel, and vertically and laterally sandwiched between metal plates (e.g., brass plates) 12.
- a heater 13 is provided on upper, lower and lateral sides of the cell chamber.
- the cell chamber 11 is sealed with insulators 14 such as of polystyrene foam with the heater 13 interposed therebetween.
- a temperature sensor e.g., a platinum temperature sensor
- for measuring the temperature of the cell chamber 11 is provided in the cell chamber 11.
- the cell chamber 11 has two tiers.
- the first sample cell 11a and the reference cell 11c are disposed in one tier, and the second sample cell 11b is disposed in the other tier.
- the first light path extends through the first sample cell 11a and the reference cell 11c which are disposed in series, and the second light path extends through the second sample cell b.
- Reference characters 15, 16 and 17 denote sapphire transmission windows through which the infrared rays are transmitted.
- Fig. 9 is a block diagram illustrating a mechanism for adjusting the temperature of the cell chamber 11.
- the temperature adjustment mechanism is constituted by the temperature sensor 32 provided in the cell chamber 11, a temperature adjustment substrate 31 and the heater 13.
- the temperature of the temperature adjustment substrate 31 may be adjusted in any manner.
- the temperature adjustment can be achieved by changing the duty ratio of a pulse current flowing through the heater 13 on the basis of a temperature measurement signal of the temperature sensor 32.
- the heater 13 is controlled on the basis of this temperature adjustment method so as to maintain the cell chamber 11 at a constant temperature (40°C).
- Figs. 10A and 10B are a plan view and a side view, respectively, of the gas injector 21 for quantitatively injecting a gaseous sample.
- the gas injector 21 includes a cylinder 21b disposed on a base 21a, a piston 21c inserted in the cylinder 21c, and a movable nut 21d connected to the piston 21c, a feed screw 21e threadingly meshed with the nut 21d and a motor 21f for rotating the feed screw 21e which are disposed below the base 21a.
- the motor 21f is driven for forward and backward rotation by a driving circuit not shown.
- the feed screw 21e is rotated by the rotation of the motor 21f, the nut 21d moved forward or backward depending on the rotational direction of the feed screw 21e.
- the piston 21c advances toward a position indicated by a dashed line in Fig. 10A.
- the gas injector 21 can be flexibly controlled to introduce and extract the gaseous sample in/from the cylinder 21b.
- the measuring procedure includes reference gas measurement, base gas measurement, reference gas measurement, sample gas measurement and reference gas measurement, which are to be performed in this order.
- base gas measurement, reference gas measurement and base gas measurement, and sample gas measurement, reference gas measurement and sample gas measurement may be performed in this order. In the latter case, the base gas measurement and the sample gas measurement are each performed twice and, therefore, the operation efficiency is reduced.
- the former measuring procedure which is more efficient will hereinafter be described.
- the reference gas constantly flows through the reference cell 11c, and the flow rate thereof is always kept constant by the flow meter M 1 .
- the clean reference gas is passed through a gas flow path and the cell chamber 11 of the spectrometric apparatus at a rate of 200ml/minute for about 15 seconds for cleaning the gas flow path and the cell chamber 11.
- the gas flow path is changed, and then the reference gas is passed therethrough for cleaning the gas flow path and the cell chamber 11. After a lapse of about 30 seconds, light intensity are measured by means of the detection elements 25a and 25b.
- the light intensity thus obtained by the first and second detection elements 25a and 25b are represented by 12 R 1 and 13 R 1 , respectively.
- the base gas is sucked into the gas injector 21 from the breath sampling bag with the reference gas prevented from flowing through the first and second sample cells 11a and 11b (see Fig. 13).
- the base gas is mechanically pushed out at a constant rate (60ml/minute) by the gas injector 21 as shown in Fig. 14 and, at the same time, light intensity are measured by means of the detection elements 25a and 25b.
- the light intensity thus obtained by the first and second detection elements 25a and 25b are represented by 12 B and 13 B, respectively.
- the light intensity thus obtained by the first and second detection elements 25a and 25b are represented by 12 R 2 and 13 R 2 , respectively.
- the sample gas is sucked into the gas injector 21 from the breath sampling bag with the reference gas prevented from flowing through the first and second sample cells 11a and 11b (see Fig. 15).
- the sample gas is mechanically pushed out at a constant rate (60ml/minute) by the gas injector 21 as shown in Fig. 16 and, at the same time, light intensity are measured by means of the detection elements 25a and 25b.
- the light intensity thus obtained by the first and second detection elements 25a and 25b are represented by 12 S and 13 S, respectively.
- the light intensity thus obtained by the first and second detection elements 25a and 25b are represented by 12 R 3 and 13 R 3 , respectively.
- the CO 2 concentrations of the base gas and the sample gas are not adjusted to the same level.
- the ranges of 12 CO 2 and 13 CO 2 calibration curves to be used for determination of the concentrations can be narrowed. By using limited ranges of the calibration curves, the measurement accuracy can be increased.
- the CO 2 concentrations of the base gas and the sample gas are adjusted to substantially the same level.
- the CO 2 concentrations of the base gas and the sample gas are measured in a preliminary measurement. If the CO 2 concentration of the base gas obtained in the preliminary measurement is higher than the CO 2 concentration of the sample gas obtained in the preliminary measurement, the base gas is diluted to a CO 2 concentration level equivalent to that of the sample gas, and the measurement of the concentration is performed on the base gas and then on the sample gas in a main measurement.
- the CO 2 concentration of the base gas obtained in the preliminary measurement is lower than the CO 2 concentration of the sample gas obtained in the preliminary measurement, the CO 2 concentration of the base gas is measured in the main measurement.
- the sample gas is diluted to a CO 2 concentration level equivalent to that of the base gas, and then the CO 2 concentration thereof is measured.
- the measurement procedure 2 includes preliminary base gas measurement, preliminary sample gas measurement, reference gas measurement, base gas measurement, reference gas measurement, sample gas measurement and reference gas measurement, which are performed in this order.
- the clean reference gas is passed through the gas flow path and the cell chamber 11 of the spectrometric apparatus for cleaning the gas flow path and the cell chamber 11 and, at the same time, a reference light intensity is measured.
- the base gas is sucked into the gas injector 21 from the breath sampling bag, and then mechanically pushed.out at a constant flow rate by means of the gas injector 21.
- the intensity of light transmitted through the base gas is measured by means of the detection element 25a to determine an absorbance, and the CO 2 concentration of the base gas is determined on the basis of the absorbance by using a calibration curve.
- the clean reference gas is passed through the gas flow path and the cell chamber 11 of the spectrometric apparatus for cleaning the gas flow path and the cell chamber 11 and, at the same time, a reference light intensity is measured.
- the sample gas is sucked into the gas injector 21 from the breath sampling bag, and then mechanically pushed out at a constant flow rate by means of the gas injector 21.
- the intensity of light transmitted through the sample gas is measured by means of the detection element 25a to determine an absorbance, and the CO 2 concentration of the sample gas is determined on the basis of the absorbance by using the calibration curve.
- the gas flow path is changed, and then the reference gas is passed therethrough to clean the gas flow path and the cell chamber 11. After a lapse of about 30 seconds, light intensity are measured by means of the detection elements 25a and 25b.
- the light intensity thus obtained by the first and second detection elements 25a and 25b are represented by 12 R 1 and 13 R 1 , respectively.
- Preliminary base gas measurement is compared with the CO 2 concentration of the sample gas obtained by the first detection element 25a in "IIIb-2.
- Preliminary sample gas measurement If the CO 2 concentration of the base gas is higher than the CO 2 concentration of the sample gas, the base gas is diluted with the reference gas in the gas injector 21 to a CO 2 concentration level equivalent to that of the sample gas, and then the light intensity measurement is performed on the base gas thus diluted.
- the measuring procedure 2 of this embodiment is characterized in that the CO 2 concentrations of the two breath samples are adjusted to substantially the same level, and does not necessarily require to employ a step of maintaining the CO 2 concentration at a constant level as described in JPB 4(1992)-124141.
- the use of limited ranges of calibration curves can be achieved simply by adjusting the CO 2 concentrations of the base gas and the sample gas to substantially the same level. Since the CO 2 concentrations of the base gas and the sample gas vary within a range of 1% to 5% in actual measurement, it is very troublesome to always maintain the CO 2 concentrations at a constant level.
- the base gas is not diluted, and the measurement is performed on the base gas.
- the base gas is mechanically pushed out at a constant flow rate by the gas injector 21, and light intensity are measured by means of the detection elements 25a and 25b.
- the light intensity thus obtained by the first and second detection elements 25a and 25b are represented by 12 B and 13 B, respectively.
- the light intensity thus obtained by the first and second detection elements 25a and 25b are represented by 12 R 2 and 13 R 2 , respectively.
- the sample gas is sucked from the breath sampling bag, and then mechanically pushed out at a constant flow rate by the gas injector 21. At this time, light intensity are measured by the detection elements 25a and 25b.
- the sample gas is diluted with the reference gas to a CO 2 concentration level equivalent to that of the base gas in the gas injector 21, and then the intensity of light transmitted through the sample gas is measured by means of the detection elements 25a and 25b.
- the light intensity thus obtained by the first and second detection elements 25a and 25b are represented by 12 S and 13 S, respectively.
- the light intensity thus obtained by the first and second detection elements 25a and 25b are represented by 12 R 3 and 13 R 3 , respectively.
- Absorbances 12 Abs(B) and 13 Abs(B) of 12 CO 2 and 13 CO 2 in the base gas are calculated on the basis of the transmitted light intensity 12 R 1 , 13 R 1 , 12 R 2 and 13 R 2 for the reference gas and the transmitted light intensity 12 B and 13 B for the base gas obtained in the measuring procedure 1 or in the measuring procedure 2.
- the absorbances Since the calculation of the absorbances is based on the light intensity obtained in the base gas measurement and the averages ( 12 R 1 + 12 R 2 )/2 and ( 13 R 1 + 13 R 2 )/2 of the light intensity obtained in the reference measurements performed before and after the base gas measurement, the influence of a drift (a time-related influence on the measurement) can be eliminated. Therefore, when the apparatus is turned on, there is no need for waiting until the apparatus reaches a thermal equilibrium (it usually takes several hours).
- Absorbances 12 Abs(S) and 13 Abs(S) of 12 CO 2 and 13 CO 2 in the sample gas are calculated on the basis of the transmitted light intensity 12 R 2 , 13 R 2 , 12 R 3 and 13 R 3 for the reference gas and the transmitted light intensity 12 S and 13 S for the sample gas obtained in the measuring procedure 1 or in the measuring procedure 2.
- the 12 CO 2 concentration and the 13 CO 2 concentration are calculated by using calibration curves.
- the calibration curves for 12 CO 2 and 13 CO 2 are prepared on the basis of measurement performed by using gaseous samples of known 12 CO 2 concentrations and gaseous samples of known 13 CO 2 concentrations, respectively.
- the 12 CO 2 absorbances for different 12 CO 2 concentrations within a range of about 0% to about 6% are measured.
- the 12 CO 2 concentrations and the 12 CO 2 absorbances are plotted as abscissa and ordinate, respectively, and the curve is determined by the method of least squares.
- An approximate quadratic curve, which includes relatively small errors, is employed as the calibration curve in this embodiment.
- the 13 CO 2 absorbances for different 13 CO 2 concentrations within a range of about 0.00% to about 0.07% are measured.
- the 13 CO 2 concentrations and the 13 CO 2 absorbances are plotted as abscissa and ordinate, respectively, and the curve is determined by the method of least squares.
- An approximate quadratic curve, which includes relatively small errors, is employed as the calibration curve in this embodiment.
- the 13 CO 2 absorbance determined by individually measuring gases respectively containing 12 CO 2 and 13 CO 2 may be different from the 13 CO 2 absorbance determined by measuring a gas containing both 12 CO 2 and 13 CO 2 . This is because the wavelength filters each have a bandwidth and the 12 CO 2 absorption spectrum partially overlaps 13 CO 2 absorption spectrum. Since gases containing both 12 CO 2 and 13 CO 2 are to be measured in this measurement method, the overlap of these spectra should be corrected for preparation of the calibration curves. The calibration curves to be employed in this measurement are subjected to the correction for the overlap of the absorption spectra.
- the 12 CO 2 absorbances for 20 different 12 CO 2 concentrations within a range of about 0% to about 6% are measured.
- the 12 CO 2 concentrations and the 12 CO 2 absorbances are plotted as abscissa and ordinate, respectively, as shown in Fig. 17A.
- the curve which passes through the respective data points, is determined by the method of least squares.
- An approximate quadratic curve includes the least error. Therefore, the approximate quadratic curve is employed as the calibration curve for 12 CO 2 in this embodiment.
- the five data points are selected which are located around the 12 CO 2 concentration of the base gas previously determined on the basis of the calibration curve for 12 CO 2 .
- the five data points fall within a concentration range of 1.5%, which accounts for 25% of the entire concentration range (6%) of the calibration curve shown in Fig. 17A.
- the data within the limited concentration range are used for the preparation of a new calibration curve (see Fig. 17B). It is confirmed that the preparation of the calibration curve within the limited data range improves the conformity of the data to the approximate curve, thereby remarkably reducing errors associated with the preparation of the calibration curve.
- the 12 CO 2 concentration of the base gas is determined on the basis of the absorbance 12 Abs(B) of the base gas by using the new calibration curve for 12 CO 2 .
- the 12 CO 2 concentration of the sample gas is determined in the same manner.
- the 13 CO 2 absorbances for 20 different 13 CO 2 concentrations within a range of about 0.00% to about 0.07% are measured.
- the 13 CO 2 concentrations and the 13 CO 2 absorbances are plotted as abscissa and ordinate, respectively, as shown in Fig. 18A.
- the curve which passes through the respective data points, is determined by the method of least squares.
- An approximate quadratic curve includes the least error. Therefore, the approximate quadratic curve is employed as the calibration curve for 13 CO 2 in this embodiment.
- the five data points are selected which are located around the 13 CO 2 concentration of the base gas previously determined on the basis of the calibration curve for 13 CO 2 .
- the five data points fall within a concentration range of 0.015%, which accounts for about 1/4 of the entire concentration range (0.07%) of the calibration curve shown in Fig. 18A.
- the data within the limited concentration range are used for the preparation of a new calibration curve (see Fig. 18B). It is confirmed that the preparation of the calibration curve within the limited data range improves the conformity of the data to the approximate curve, thereby remarkably reducing errors associated with the preparation of the calibration curve.
- the 13 CO 2 concentration of the base gas is determined on the basis of the absorbance 13 Abs(B) of the base gas by using the new calibration curve for 13 CO 2 .
- the 13 CO 2 concentration of the sample gas is determined in the same manner.
- the 12 CO 2 concentration and 13 CO 2 concentration of the base gas are represented by 12 Conc(B) and 13 Conc(B), respectively.
- the 12 CO 2 concentration and 13 CO 2 concentration of the sample gas are represented by 12 Conc(S) and 13 Conc(S), respectively.
- the concentration ratio of 13 CO 2 to 12 CO 2 is determined.
- the concentration ratios in the base gas and in the sample gas are expressed as 13 Conc(B)/ 12 Conc(B) and 13 Conc(S)/ 12 Conc(S), respectively.
- the concentration ratios in the base gas and in the sample gas may be defined as 13 Conc(B)/ 12 Conc(B)+ 13 Conc(B) and 13 Conc(S)/ 12 Conc(S)+ 13 Conc(S), respectively. Since the 12 CO 2 concentration is much higher than the 13 CO 2 concentration, the concentration ratios expressed in the former way and in the latter way are substantially the same.
- the cause of the deviation has not been elucidated yet, the deviation supposedly results from changes in the spectroscopic characteristics such as reflectance, refractive index and stray light in dependence on the 12 CO 2 concentration and from the error characteristics of the least square method employed for preparation of the calibration curves.
- concentration ratio is determined without correcting the deviation, a critical error may result. Therefore, absorbances 12 Abs and 13 Abs of 12 CO 2 and 13 CO 2 in gaseous samples having the same concentration ratio but different 12 CO 2 concentrations are measured, and the 13 CO 2 and 12 CO 2 concentrations and 13 CO 2 concentration ratios of the gaseous samples are determined by using the calibration curves. Then, the 12 CO 2 concentrations 12 Conc and the concentration ratios 13 Conc/ 12 Conc are plotted as abscissa and ordinate, respectively.
- Fig. 19 illustrates a graph obtained by way of standardization of the concentration ratios in which a concentration ratio in a gaseous sample of the lowest CO 2 concentration is regarded as "1". (The concentration ratios thus normalized are hereinafter referred to as "normalized concentration ratios”.)
- Standardized 13 CO 2 / 12 CO 2 concentration ratios are calculated from the correction equation (1) on the basis of the 12 CO 2 concentrations 12 Conc(B) and 12 Conc(S) in the breath samples of the patient. Then, the concentration ratios 13 Conc(B)/ 12 Conc(B) and 13 Conc(S)/ 12 Conc(S) of the base gas and the sample gas obtained in the measurement are respectively divided by the normalized concentration ratios calculated from the correction equation (1).
- the 13 CO 2 concentration ratios of the base gas and the sample gas are subjected to a correction for oxygen concentration according to the present invention.
- the 13 CO 2 concentration ratios are corrected by using a graph (Fig. 2) in which measurements of the 13 CO 2 concentration ratio are plotted with respect to the oxygen contents of gaseous samples.
- normalized 13 CO 2 concentration ratios are obtained from the graph shown in Fig. 2 on the basis of the concentrations of oxygen in the breath samples which are measured by means of the O 2 sensor. Then, the 13 CO 2 concentration ratios of the base gas and the sample gas are respectively divided by the normalized 13 CO 2 concentration ratios. Thus, the 13 CO 2 concentration ratios corrected depending on the oxygen concentrations can be obtained.
- the present invention is not limited to the embodiment described above.
- the 12 CO 2 and 13 CO 2 concentrations of the base gas and the sample gas are determined, then the concentration ratios thereof are calculated, and the concentration ratios are subjected to the oxygen concentration correction.
- the concentration ratios may be determined after the 12 CO 2 and 13 CO 2 concentrations of the base gas and the sample gas are determined and the 12 CO 2 and 13 CO 2 concentrations are corrected by way of the oxygen concentration correction.
- the absorbances of gaseous samples respectively containing 12 CO 2 in concentrations 12 Conc of 1%, 2%, 3%, 4%, 5% and 6% with a concentration ratio 13 Conc/ 12 Conc of 1.077% were measured in accordance with the method for spectrometrically measuring an isotopic gas.
- the 12 CO 2 concentrations 12 Conc and 13 CO 2 concentrations 13 Conc of the gaseous samples were determined on the basis of the measured absorbances by using the calibration curves.
- the 12 CO 2 concentrations 12 Conc and the concentration ratios 13 Conc/ 12 Conc were plotted as abscissa and ordinate, respectively, as shown in Fig. 20.
- the concentration ratios 13 Conc/ 12 Conc were corrected by using the correction equation (1), thus providing a less undulant curve as shown in Fig. 21.
- the maximum and minimum values of the concentration ratios 13 Conc/ 12 Conc were 1.078% and 1.076%, respectively, and the difference therebetween was 0.0015%.
- the absorbances of gaseous samples respectively containing 12 CO 2 in concentrations 12 Conc of 1%, 2%, 3%, 4%, 5% and 6% with a concentration ratio 13 Conc/ 12 Conc of 1.065% were measured in accordance with the method for spectrometrically measuring an isotopic gas.
- the 12 Conc and the 13 Conc were determined on the basis of the measured absorbances by using the calibration curves shown in Figs. 17A and 18A.
- the 12 CO 2 concentrations 12 Conc and the concentration ratios 13 Conc/ 12 Conc were plotted as abscissa and ordinate, respectively, as shown in Fig. 22.
- concentration ratios 13 Conc/ 12 Conc were determined by using the calibration curves shown in Figs. 17A and 18A and then using the limited-range calibration curves shown in Figs. 17B and 18B, thus providing a less undulant curve as shown in Fig. 23.
- the maximum and minimum values of the concentration ratios 13 Conc/ 12 Conc were 1.066% and 1.064%, respectively, and the difference therebetween was 0.002%.
- the method of the present invention in which the calibration curves were produced again, remarkably reduced the variation in the concentration ratio 13 Conc/ 12 Conc.
- the relationship between the actual 13 CO 2 concentration ratio and the measured 13 CO 2 concentration ratio is about 1:1 (or the scope of the fitting curve in Fig. 24 is about 1).
- the measurement accuracy was drastically improved by performing the correction.
- the 12 CO 2 concentration of the same sample gas containing carbon dioxide was measured a plurality of times by means of the apparatus for spectrometrically measuring an isotopic gas.
- a measuring procedure consisting of the reference gas measurement, the sample gas measurement, the reference gas measurement, the sample gas measurement and the reference gas measurement were performed ten times on the same sample gas.
- the 12 CO 2 concentration was determined in each cycle of the measuring procedure in accordance with the method A of the present invention in which the absorbance of 12 CO 2 in the sample gas was determined on the basis of an average of values obtained in the reference gas measurements performed before and after the sample gas measurement, and in accordance with the prior art method B in which the absorbance of 12 CO 2 in the sample gas was determined on the basis of a value obtained in the reference measurement only before the sample gas measurement.
- the method of the present invention in which the absorbances are determined on the basis of the light intensity measured on the sample gas and an average of the light intensity measured on the reference gas, provides concentration data with little variation.
Landscapes
- Physics & Mathematics (AREA)
- Health & Medical Sciences (AREA)
- Life Sciences & Earth Sciences (AREA)
- Pathology (AREA)
- General Health & Medical Sciences (AREA)
- Spectroscopy & Molecular Physics (AREA)
- General Physics & Mathematics (AREA)
- Immunology (AREA)
- Biochemistry (AREA)
- Analytical Chemistry (AREA)
- Chemical & Material Sciences (AREA)
- Engineering & Computer Science (AREA)
- Animal Behavior & Ethology (AREA)
- Heart & Thoracic Surgery (AREA)
- Biomedical Technology (AREA)
- Public Health (AREA)
- Veterinary Medicine (AREA)
- Surgery (AREA)
- Molecular Biology (AREA)
- Medical Informatics (AREA)
- Physiology (AREA)
- Pulmonology (AREA)
- Biophysics (AREA)
- Mathematical Physics (AREA)
- Theoretical Computer Science (AREA)
- Investigating Or Analysing Materials By Optical Means (AREA)
- Other Investigation Or Analysis Of Materials By Electrical Means (AREA)
- Investigating Or Analysing Biological Materials (AREA)
- Sampling And Sample Adjustment (AREA)
- Spectrometry And Color Measurement (AREA)
- Measurement Of The Respiration, Hearing Ability, Form, And Blood Characteristics Of Living Organisms (AREA)
Applications Claiming Priority (17)
| Application Number | Priority Date | Filing Date | Title |
|---|---|---|---|
| JP26174595 | 1995-10-09 | ||
| JP26174695A JP2996611B2 (ja) | 1995-10-09 | 1995-10-09 | 同位体ガス分光測定装置 |
| JP26174695 | 1995-10-09 | ||
| JP26174595A JP3090412B2 (ja) | 1995-10-09 | 1995-10-09 | 同位体ガス分光測定方法及び測定装置 |
| JP26174495A JP2947737B2 (ja) | 1995-10-09 | 1995-10-09 | 同位体ガス分光測定方法及び測定装置 |
| JP26174495 | 1995-10-09 | ||
| JP26330495 | 1995-10-11 | ||
| JP26330495 | 1995-10-11 | ||
| JP26330595 | 1995-10-11 | ||
| JP26330595A JP2969066B2 (ja) | 1995-10-11 | 1995-10-11 | 同位体ガス分光測定装置 |
| JP31449095A JP2947742B2 (ja) | 1995-12-01 | 1995-12-01 | 同位体ガス分光測定方法及び測定装置 |
| JP31449095 | 1995-12-01 | ||
| JP954596A JP3238318B2 (ja) | 1996-01-23 | 1996-01-23 | 呼気バッグ及びガス測定装置 |
| JP954596 | 1996-01-23 | ||
| JP5805296A JP2885687B2 (ja) | 1995-10-11 | 1996-03-14 | 同位体ガス分光測定方法 |
| JP5805296 | 1996-03-14 | ||
| EP96932807A EP0797765B1 (de) | 1995-10-09 | 1996-10-02 | Verfahren zur spektroskopischen messung des konzentrationsverhältnisses zweier isotope in einem gas |
Related Parent Applications (2)
| Application Number | Title | Priority Date | Filing Date |
|---|---|---|---|
| EP96932807A Division EP0797765B1 (de) | 1995-10-09 | 1996-10-02 | Verfahren zur spektroskopischen messung des konzentrationsverhältnisses zweier isotope in einem gas |
| EP96932807.9 Division | 1997-04-17 |
Publications (2)
| Publication Number | Publication Date |
|---|---|
| EP1596181A2 true EP1596181A2 (de) | 2005-11-16 |
| EP1596181A3 EP1596181A3 (de) | 2008-11-19 |
Family
ID=27571665
Family Applications (8)
| Application Number | Title | Priority Date | Filing Date |
|---|---|---|---|
| EP05015632A Withdrawn EP1596182A3 (de) | 1995-10-09 | 1996-10-02 | Verfahren und Vorrichtung zur spektroskopischen Messung eines Isotopengases |
| EP05015638A Withdrawn EP1596184A3 (de) | 1995-10-09 | 1996-10-02 | Verfahren und Vorrichtung zur spektroskopischen Messung eines Isotopengases |
| EP03021659A Expired - Lifetime EP1380258B1 (de) | 1995-10-09 | 1996-10-02 | Atemgasprobentasche und Gasmessvorrichtung |
| EP03021665A Withdrawn EP1378743A3 (de) | 1995-10-09 | 1996-10-02 | Vorrichtung zur spektroskopischen Messung eines Isotopen Gases |
| EP03021664.2A Expired - Lifetime EP1380833B8 (de) | 1995-10-09 | 1996-10-02 | Vorrichtung zur spektroskopischen Messung eines Isotopengases |
| EP05015633A Withdrawn EP1596183A3 (de) | 1995-10-09 | 1996-10-02 | Verfahren und Vorrichtung zur spektroskopischen Messung eines Isotopengases |
| EP96932807A Expired - Lifetime EP0797765B1 (de) | 1995-10-09 | 1996-10-02 | Verfahren zur spektroskopischen messung des konzentrationsverhältnisses zweier isotope in einem gas |
| EP05015626A Withdrawn EP1596181A3 (de) | 1995-10-09 | 1996-10-02 | Verfahren und Vorrichtung zur spektroskopischen Messung eines Isotopengases |
Family Applications Before (7)
| Application Number | Title | Priority Date | Filing Date |
|---|---|---|---|
| EP05015632A Withdrawn EP1596182A3 (de) | 1995-10-09 | 1996-10-02 | Verfahren und Vorrichtung zur spektroskopischen Messung eines Isotopengases |
| EP05015638A Withdrawn EP1596184A3 (de) | 1995-10-09 | 1996-10-02 | Verfahren und Vorrichtung zur spektroskopischen Messung eines Isotopengases |
| EP03021659A Expired - Lifetime EP1380258B1 (de) | 1995-10-09 | 1996-10-02 | Atemgasprobentasche und Gasmessvorrichtung |
| EP03021665A Withdrawn EP1378743A3 (de) | 1995-10-09 | 1996-10-02 | Vorrichtung zur spektroskopischen Messung eines Isotopen Gases |
| EP03021664.2A Expired - Lifetime EP1380833B8 (de) | 1995-10-09 | 1996-10-02 | Vorrichtung zur spektroskopischen Messung eines Isotopengases |
| EP05015633A Withdrawn EP1596183A3 (de) | 1995-10-09 | 1996-10-02 | Verfahren und Vorrichtung zur spektroskopischen Messung eines Isotopengases |
| EP96932807A Expired - Lifetime EP0797765B1 (de) | 1995-10-09 | 1996-10-02 | Verfahren zur spektroskopischen messung des konzentrationsverhältnisses zweier isotope in einem gas |
Country Status (14)
| Country | Link |
|---|---|
| US (2) | US5964712A (de) |
| EP (8) | EP1596182A3 (de) |
| KR (2) | KR100415336B1 (de) |
| CN (6) | CN1237337C (de) |
| AT (2) | ATE314005T1 (de) |
| AU (2) | AU707754B2 (de) |
| CA (4) | CA2402303C (de) |
| DE (2) | DE69635688T2 (de) |
| DK (3) | DK0797765T3 (de) |
| ES (3) | ES2413004T3 (de) |
| HK (1) | HK1050392B (de) |
| MX (1) | MX9704239A (de) |
| PT (2) | PT797765E (de) |
| WO (1) | WO1997014029A2 (de) |
Families Citing this family (53)
| Publication number | Priority date | Publication date | Assignee | Title |
|---|---|---|---|---|
| CA2429733C (en) * | 1997-01-14 | 2006-10-10 | Otsuka Pharmaceutical Co., Ltd. | Stable isotope measurement method and apparatus by spectroscopy |
| US6067989A (en) * | 1997-02-26 | 2000-05-30 | Oridion Medical, Ltd. | Breath test for the diagnosis of Helicobacter pylori infection in the gastrointestinal tract |
| US6186958B1 (en) | 1997-02-26 | 2001-02-13 | Oridion Medical | Breath test analyzer |
| IL121793A (en) | 1997-09-17 | 2008-06-05 | Lewis Coleman | Isotopic gas analyzer |
| USRE38728E1 (en) * | 1997-09-11 | 2005-04-19 | Oridion Medical, LTD | Breath test analyzer |
| AU9182698A (en) | 1997-09-11 | 1999-03-29 | Oridion Medical Ltd. | Breath test analyser |
| DE19746862A1 (de) * | 1997-10-23 | 1999-04-29 | Huels Chemische Werke Ag | Vorrichtung und Verfahren für Probenahme und IR-spektroskopische Analyse von hochreinen, hygroskopischen Flüssigkeiten |
| WO2000074553A2 (en) * | 1999-06-08 | 2000-12-14 | Oridion Medical (1987) Ltd. | Gas analyzer calibration checking device |
| US6656127B1 (en) * | 1999-06-08 | 2003-12-02 | Oridion Breathid Ltd. | Breath test apparatus and methods |
| DE19962589A1 (de) * | 1999-12-23 | 2001-07-19 | Abb Patent Gmbh | Verfahren und Einrichtung zur Messung eines Anteiles eines Messgases |
| EP1320743B1 (de) * | 2000-09-25 | 2010-06-09 | Otsuka Pharmaceutical Co., Ltd. | Verfahren zur analyse der menschlichen atemluft mittels eines isotopengas-analysators |
| DE10062126A1 (de) * | 2000-12-13 | 2002-06-20 | Inficon Gmbh | Verfahren zur Feststellung eines Gases mit Hilfe eines Infrarot-Gasanlaysators sowie für die Durchführung dieser Verfahren geigneter Gasanalysator |
| JP2002286638A (ja) * | 2001-03-26 | 2002-10-03 | Shimadzu Corp | 同位体ガス測定装置 |
| DE10125415A1 (de) * | 2001-05-25 | 2002-11-28 | Fischer Analysen Instr Gmbh | Verfahren zur Messung des 13CO¶2¶/12CO¶2¶-Verhältnisses in der Atemluft intubierter Probanden |
| GB0120027D0 (en) * | 2001-08-16 | 2001-10-10 | Isis Innovation | Spectroscopic breath analysis |
| US7153272B2 (en) * | 2002-01-29 | 2006-12-26 | Nanotherapeutics, Inc. | Methods of collecting and analyzing human breath |
| IL148468A (en) | 2002-03-03 | 2012-12-31 | Exalenz Bioscience Ltd | Breath collection system |
| US7749436B2 (en) * | 2003-10-31 | 2010-07-06 | Otsuka Pharmaceutical Co., Ltd. | Gas injection amount determining method in isotope gas analysis, and isotope gas analyzing and measuring method and apparatus |
| GB0403612D0 (en) * | 2004-02-18 | 2004-03-24 | Univ Glasgow | Method, apparatus and kit for breath diagnosis |
| CN100494983C (zh) * | 2005-08-12 | 2009-06-03 | 深圳迈瑞生物医疗电子股份有限公司 | 利用红外光吸收特性自动校准和测量气体浓度的方法和装置 |
| ES2668293T3 (es) | 2006-02-03 | 2018-05-17 | Otsuka Pharmaceutical Co., Ltd. | Método de medición y análisis de gas exhalado y aparato para el mismo |
| US7914460B2 (en) | 2006-08-15 | 2011-03-29 | University Of Florida Research Foundation, Inc. | Condensate glucose analyzer |
| EP1969997A1 (de) * | 2007-03-12 | 2008-09-17 | Radiometer Basel AG | Sensorensystem |
| DE102007021324B4 (de) * | 2007-05-07 | 2012-01-19 | Manfred Dausch | Vorrichtung und Verfahren zur Bestimmung des Mischungsverhältnisses eines aus zwei oder mehreren Einzelkomponenten bestehenden Mediums |
| DE102008007407A1 (de) * | 2008-02-04 | 2009-08-13 | Siemens Aktiengesellschaft | Messküvette für einen Gasanalysator und ihre Verwendung |
| WO2009119367A1 (ja) * | 2008-03-28 | 2009-10-01 | コニカミノルタセンシング株式会社 | 分光特性測定システム、分光特性測定器、データ処理装置およびプログラム |
| DE102009009583A1 (de) * | 2009-02-19 | 2010-08-26 | Abb Ag | Verfahren und Einrichtung zur Durchführung von Analysen von Atemgasproben |
| US8579829B2 (en) * | 2009-04-17 | 2013-11-12 | Linshom L.P. | System and method for monitoring breathing |
| US8911380B1 (en) | 2009-04-17 | 2014-12-16 | Linshom, L.P. | Respiration monitoring system and method |
| DE102009058394B3 (de) * | 2009-12-15 | 2011-02-10 | Siemens Aktiengesellschaft | Verfahren zur Messung der Konzentration mindestens einer Gaskomponente in einem Messgas |
| US8945936B2 (en) | 2011-04-06 | 2015-02-03 | Fresenius Medical Care Holdings, Inc. | Measuring chemical properties of a sample fluid in dialysis systems |
| DE102011007310A1 (de) * | 2011-04-13 | 2012-10-18 | Humedics Gmbh | Verfahren zur Bestimmung der metabolischen Leistung mindestens eines Enzyms |
| US9618417B2 (en) * | 2011-10-20 | 2017-04-11 | Picarro, Inc. | Methods for gas leak detection and localization in populated areas using isotope ratio measurements |
| US10113997B2 (en) * | 2011-10-20 | 2018-10-30 | Picarro, Inc. | Methods for gas leak detection and localization in populated areas using two or more tracer measurements |
| US9291550B1 (en) | 2012-04-12 | 2016-03-22 | Nicholas Wing | Device and method for instantaneous drug testing in the field |
| CN103105366B (zh) * | 2013-01-22 | 2015-04-22 | 中国科学院安徽光学精密机械研究所 | Co2碳同位素红外光谱检测方法及装置 |
| CN103149955B (zh) * | 2013-01-31 | 2015-01-07 | 中国科学院合肥物质科学研究院 | 一种用于积分腔光谱技术同位素分析的温度精确控制装置 |
| DE202013103647U1 (de) | 2013-08-12 | 2013-09-02 | Aspect Imaging Ltd. | Ein System zum Online-Messen und Steuern von O2-Fraktion, CO-Fraktion und CO2-Fraktion |
| GB2520086B (en) | 2013-11-11 | 2020-02-19 | Thermo Fisher Scient Bremen Gmbh | Method of measuring isotope ratio |
| DE102014100691B3 (de) | 2014-01-22 | 2015-01-08 | Avl Emission Test Systems Gmbh | Vorrichtung zur Bestimmung der Konzentration zumindest eines Gases in einem Probengasstrom mittels Infrarotabsorptionsspektroskopie |
| CN110068541A (zh) * | 2014-02-12 | 2019-07-30 | 积水医疗株式会社 | 碳同位素分析装置和碳同位素分析方法 |
| WO2016047169A1 (ja) * | 2014-09-22 | 2016-03-31 | 株式会社 東芝 | 呼気診断装置 |
| DE102015000626A1 (de) * | 2015-01-22 | 2016-07-28 | Kibion Gmbh | Verfahren zum Nachweis von Helicobacter Pylori |
| CN104819949A (zh) * | 2015-03-27 | 2015-08-05 | 安徽养和医疗器械设备有限公司 | 红外光谱仪 |
| CN106610373A (zh) * | 2015-10-27 | 2017-05-03 | 哈尔滨建成集团有限公司 | 一种金属材料磷元素含量检测试验结果处理的系统与方法 |
| DE102020112504A1 (de) * | 2019-05-17 | 2020-11-19 | Gyrus Acmi, Inc. D/B/A Olympus Surgical Technologies America | System zur bewertung von kollateraler ventilation |
| CN110487731B (zh) * | 2019-10-08 | 2024-04-19 | 南京信息工程大学 | 基于cn自由基同位素光谱的幽门螺杆菌检测装置及方法 |
| CN111024640A (zh) * | 2019-12-27 | 2020-04-17 | 安徽养和医疗器械设备有限公司 | 气体进样装置 |
| CN110987851A (zh) * | 2019-12-27 | 2020-04-10 | 安徽养和医疗器械设备有限公司 | 一种双气路碳十三红外光谱仪 |
| CN110987852A (zh) * | 2019-12-27 | 2020-04-10 | 安徽养和医疗器械设备有限公司 | 一种碳十三红外光谱仪曲线自动校准系统 |
| US11131628B1 (en) * | 2020-05-12 | 2021-09-28 | Savannah River Nuclear Solutions, Llc | Spectroscopic methods and systems for isotopic analysis |
| WO2023110492A1 (en) * | 2021-12-15 | 2023-06-22 | Koninklijke Philips N.V. | Determining a concentration of a gas in a breath of a subject |
| CN118777258A (zh) * | 2024-07-22 | 2024-10-15 | 中国气象局广州热带海洋气象研究所(广东省气象科学研究所) | 一种温室气体和碳同位素浓度监测系统 |
Citations (2)
| Publication number | Priority date | Publication date | Assignee | Title |
|---|---|---|---|---|
| DE3116344A1 (de) | 1981-04-24 | 1982-11-18 | Kernforschungszentrum Karlsruhe Gmbh, 7500 Karlsruhe | Verfahren zum erhoehen der messgenauigkeit eines gasanalysators |
| US5146294A (en) | 1990-04-19 | 1992-09-08 | Fraunhofer-Gesellschaft Zur Forderung Der Angewandten Forschung E.V. | Process and device for measuring isotope ratios |
Family Cites Families (49)
| Publication number | Priority date | Publication date | Assignee | Title |
|---|---|---|---|---|
| BE633038A (de) * | 1961-02-27 | |||
| US3437449A (en) * | 1966-06-08 | 1969-04-08 | Manley J Luckey | Breath alcohol determination |
| US3544273A (en) * | 1968-11-04 | 1970-12-01 | Mine Safety Appliances Co | Apparatus for sampling and analyzing breath |
| DE1915540B2 (de) * | 1969-03-26 | 1979-04-26 | Jaeger, Erich, 8700 Wuerzburg | Spirometrie-Atemmaske |
| US3734692A (en) * | 1972-02-04 | 1973-05-22 | Becton Dickinson Co | Alveolar air breath sampling and analyzing apparatus |
| CH554571A (de) * | 1973-08-14 | 1974-09-30 | Cerberus Ag | Verfahren und anordnung zur branddetektion. |
| FI52255C (fi) * | 1975-10-30 | 1977-07-11 | Innotec Oy | Infrapuna-analysaattori. |
| US4110619A (en) * | 1975-11-21 | 1978-08-29 | H. Maihak Ag | Method of compensating for carrier-gas-composition dependence due to the collision-broadening effect in non-dispersive infrared photometers having a detector comprised of two absorption chambers arranged one behind the other |
| DE2552165A1 (de) * | 1975-11-21 | 1977-05-26 | Maihak Ag | Verfahren zur kompensation des traegergaseinflusses infolge stossverbreiterung bei nichtdispersiven infrarot- fotometern mit doppelschicht-absorptionsmesskammer |
| JPS5342890A (en) * | 1976-09-30 | 1978-04-18 | Nippon Bunko Kogyo Kk | Measuring method of methabolism function of organ |
| JPS54134088A (en) | 1978-04-10 | 1979-10-18 | Nippon Steel Corp | Preparation of manganese dioxide catalyst |
| US4288693A (en) * | 1978-06-22 | 1981-09-08 | Hartmann & Braun Aktiengesellschaft | Nondispersive infrared gas analyzer |
| DD137323A1 (de) * | 1978-06-23 | 1979-08-29 | Klaus Wetzel | Verfahren zur bestimmung des relativen c-13-gehalts der atemluft |
| DK151393C (da) * | 1978-12-06 | 1988-05-16 | Foss Electric As N | Fremgangsmaade til kvantitativ bestemmelse af fedt i en vandig fedtemulsion |
| JPS55104740A (en) | 1978-12-06 | 1980-08-11 | Foss Electric As N | Method of measuring quantity of fat in fattcontaining sample |
| JPS55112546A (en) | 1979-02-23 | 1980-08-30 | Hitachi Ltd | Atomic extinction analysis meter |
| JPS5648822A (en) | 1979-09-28 | 1981-05-02 | Iseki Agricult Mach | Dust discharging device of thresher |
| JPS5666738A (en) * | 1979-11-05 | 1981-06-05 | Anritsu Corp | Spectrometer for gas measurement |
| JPS57205056A (en) | 1981-06-08 | 1982-12-16 | Brother Ind Ltd | Periphery abrading jig for motor rotor |
| JPS59171836A (ja) | 1983-03-18 | 1984-09-28 | Sanyo Electric Co Ltd | 光吸収セル |
| AU2396884A (en) * | 1983-05-23 | 1984-11-29 | Becton Dickinson & Company | Throw-away breath sample device |
| JPS6111634A (ja) * | 1984-06-28 | 1986-01-20 | Japan Spectroscopic Co | ↑1↑3co↓2の測定方法及び装置 |
| DE3446436A1 (de) * | 1984-12-20 | 1986-07-03 | Hartmann & Braun Ag, 6000 Frankfurt | Nichtdispersives fotometer |
| JPS6142220A (ja) * | 1984-08-03 | 1986-02-28 | 株式会社日立製作所 | デジタル保護リレ−の再スタ−ト方法 |
| CN86101828A (zh) * | 1986-03-18 | 1987-09-30 | 矿山安全器械公司 | 红外流体分析器 |
| US4859859A (en) * | 1986-12-04 | 1989-08-22 | Cascadia Technology Corporation | Gas analyzers |
| JPH0740123B2 (ja) | 1987-01-16 | 1995-05-01 | 富士写真フイルム株式会社 | 放射線画像情報記録読取装置 |
| JPS6461647A (en) | 1987-09-02 | 1989-03-08 | Ishikawajima Harima Heavy Ind | Bending test method for metallic pipe |
| JPH0242338A (ja) | 1988-08-03 | 1990-02-13 | Horiba Ltd | ガス分析計 |
| DE4000538C1 (de) | 1990-01-10 | 1991-03-21 | Rohde & Schwarz Gmbh & Co Kg, 8000 Muenchen, De | |
| DE4000583A1 (de) * | 1990-01-10 | 1991-07-11 | Muetek Gmbh | Verfahren zum betreiben eines strahlungsabsorptionsspektrometers |
| US5131387A (en) * | 1990-05-09 | 1992-07-21 | Marquette Gas Analysis Corp. | Moisture trap |
| US5146092A (en) * | 1990-05-23 | 1992-09-08 | Ntc Technology, Inc. | Gas analysis transducers with electromagnetic energy detector units |
| JP2516468B2 (ja) | 1990-10-25 | 1996-07-24 | 日本鋼管株式会社 | Cおよびs同時分析装置 |
| US5340987A (en) * | 1991-03-15 | 1994-08-23 | Li-Cor, Inc. | Apparatus and method for analyzing gas |
| JP2522865B2 (ja) | 1991-06-12 | 1996-08-07 | 日本無線株式会社 | 炭素同位体分析装置 |
| CN1031768C (zh) * | 1991-07-02 | 1996-05-08 | 中国建筑材料科学研究院水泥科学研究所 | 多元素同位素x射线荧光分析仪 |
| DK165391D0 (da) | 1991-09-27 | 1991-09-27 | Foss Electric As | Ir-maalesystem |
| JP2844503B2 (ja) * | 1991-11-20 | 1999-01-06 | 東京瓦斯株式会社 | ガス測定装置 |
| US5165093A (en) * | 1992-03-23 | 1992-11-17 | The Titan Corporation | Interstitial X-ray needle |
| JPH05296922A (ja) | 1992-04-16 | 1993-11-12 | Japan Radio Co Ltd | 炭素同位体分析装置 |
| JPH05342890A (ja) * | 1992-06-05 | 1993-12-24 | Sharp Corp | 半導体記憶装置 |
| EP0584897B1 (de) | 1992-07-22 | 1996-10-16 | MANNESMANN Aktiengesellschaft | Nichtdispersives Infrarotspektrometer |
| JPH06142219A (ja) * | 1992-11-05 | 1994-05-24 | Terumo Corp | レーザ治療器用のレーザ装置 |
| EP0634644A1 (de) * | 1993-07-13 | 1995-01-18 | Mic Medical Instrument Corporation | Vorrichtung zur Bestimmung des 13CO2/12CO2-Konzentrationsverhältnisses in einer Gasprobe |
| JPH07190930A (ja) | 1993-12-25 | 1995-07-28 | Horiba Ltd | ガス分析計 |
| JPH0843382A (ja) * | 1994-07-29 | 1996-02-16 | Shiseido Co Ltd | 13c呼気検査システム |
| JP3065498B2 (ja) * | 1994-12-09 | 2000-07-17 | ジャスコエンジニアリング株式会社 | 呼気採取装置 |
| US5543621A (en) * | 1995-05-15 | 1996-08-06 | San Jose State University Foundation | Laser diode spectrometer for analyzing the ratio of isotopic species in a substance |
-
1996
- 1996-10-02 CA CA002402303A patent/CA2402303C/en not_active Expired - Fee Related
- 1996-10-02 EP EP05015632A patent/EP1596182A3/de not_active Withdrawn
- 1996-10-02 EP EP05015638A patent/EP1596184A3/de not_active Withdrawn
- 1996-10-02 EP EP03021659A patent/EP1380258B1/de not_active Expired - Lifetime
- 1996-10-02 CA CA002401553A patent/CA2401553C/en not_active Expired - Lifetime
- 1996-10-02 PT PT96932807T patent/PT797765E/pt unknown
- 1996-10-02 CA CA002206788A patent/CA2206788C/en not_active Expired - Lifetime
- 1996-10-02 MX MX9704239A patent/MX9704239A/es active IP Right Grant
- 1996-10-02 WO PCT/JP1996/002876 patent/WO1997014029A2/en not_active Ceased
- 1996-10-02 ES ES03021664T patent/ES2413004T3/es not_active Expired - Lifetime
- 1996-10-02 CN CNB021219109A patent/CN1237337C/zh not_active Expired - Lifetime
- 1996-10-02 EP EP03021665A patent/EP1378743A3/de not_active Withdrawn
- 1996-10-02 AT AT03021659T patent/ATE314005T1/de not_active IP Right Cessation
- 1996-10-02 ES ES96932807T patent/ES2281086T3/es not_active Expired - Lifetime
- 1996-10-02 CN CNB021219117A patent/CN1242253C/zh not_active Expired - Lifetime
- 1996-10-02 AU AU71451/96A patent/AU707754B2/en not_active Ceased
- 1996-10-02 EP EP03021664.2A patent/EP1380833B8/de not_active Expired - Lifetime
- 1996-10-02 EP EP05015633A patent/EP1596183A3/de not_active Withdrawn
- 1996-10-02 KR KR10-2001-7008303A patent/KR100415336B1/ko not_active Expired - Lifetime
- 1996-10-02 EP EP96932807A patent/EP0797765B1/de not_active Expired - Lifetime
- 1996-10-02 CA CA002402305A patent/CA2402305C/en not_active Expired - Lifetime
- 1996-10-02 DE DE69635688T patent/DE69635688T2/de not_active Expired - Fee Related
- 1996-10-02 DK DK96932807T patent/DK0797765T3/da active
- 1996-10-02 US US08/849,351 patent/US5964712A/en not_active Expired - Lifetime
- 1996-10-02 AT AT96932807T patent/ATE354795T1/de not_active IP Right Cessation
- 1996-10-02 CN CNB961913029A patent/CN1138978C/zh not_active Expired - Lifetime
- 1996-10-02 CN CNB021557144A patent/CN100416259C/zh not_active Expired - Lifetime
- 1996-10-02 CN CNB021557136A patent/CN1281942C/zh not_active Expired - Lifetime
- 1996-10-02 DK DK03021659T patent/DK1380258T3/da active
- 1996-10-02 ES ES03021659T patent/ES2253623T3/es not_active Expired - Lifetime
- 1996-10-02 DE DE69636921T patent/DE69636921T2/de not_active Expired - Lifetime
- 1996-10-02 EP EP05015626A patent/EP1596181A3/de not_active Withdrawn
- 1996-10-02 KR KR1019970703824A patent/KR100355258B1/ko not_active Expired - Lifetime
- 1996-10-02 DK DK03021664.2T patent/DK1380833T3/da active
- 1996-10-02 PT PT3021664T patent/PT1380833E/pt unknown
- 1996-10-02 CN CNB2004100588791A patent/CN1299108C/zh not_active Expired - Lifetime
-
1999
- 1999-04-30 AU AU26010/99A patent/AU721808B2/en not_active Ceased
- 1999-05-03 US US09/303,427 patent/US6274870B1/en not_active Expired - Lifetime
-
2003
- 2003-03-18 HK HK03101978.1A patent/HK1050392B/zh not_active IP Right Cessation
Patent Citations (2)
| Publication number | Priority date | Publication date | Assignee | Title |
|---|---|---|---|---|
| DE3116344A1 (de) | 1981-04-24 | 1982-11-18 | Kernforschungszentrum Karlsruhe Gmbh, 7500 Karlsruhe | Verfahren zum erhoehen der messgenauigkeit eines gasanalysators |
| US5146294A (en) | 1990-04-19 | 1992-09-08 | Fraunhofer-Gesellschaft Zur Forderung Der Angewandten Forschung E.V. | Process and device for measuring isotope ratios |
Also Published As
Similar Documents
| Publication | Publication Date | Title |
|---|---|---|
| US5964712A (en) | Apparatus and breathing bag for spectrometrically measuring isotopic gas | |
| US6444985B1 (en) | Stable isotope measurement method and apparatus by spectroscopy | |
| JP3176302B2 (ja) | 同位体ガス分光測定方法及び測定装置 | |
| AU2601199A (en) | Breath sampling bag and gas measuring apparatus | |
| JPH10197444A (ja) | 同位体ガス分光測定方法 | |
| JPH09152401A (ja) | 同位体ガス分光測定方法及び測定装置 | |
| JPH09166546A (ja) | 同位体ガス分光測定方法及び測定装置 | |
| JPH09105714A (ja) | 同位体ガス分光測定方法及び測定装置 | |
| HK1063847B (en) | Method for spectrometrically measuring isotopic gas |
Legal Events
| Date | Code | Title | Description |
|---|---|---|---|
| PUAI | Public reference made under article 153(3) epc to a published international application that has entered the european phase |
Free format text: ORIGINAL CODE: 0009012 |
|
| AC | Divisional application: reference to earlier application |
Ref document number: 0797765 Country of ref document: EP Kind code of ref document: P |
|
| AK | Designated contracting states |
Kind code of ref document: A2 Designated state(s): AT BE CH DE DK ES FI FR GB GR IE IT LI LU MC NL PT SE |
|
| AX | Request for extension of the european patent |
Extension state: AL LT LV SI |
|
| PUAL | Search report despatched |
Free format text: ORIGINAL CODE: 0009013 |
|
| AK | Designated contracting states |
Kind code of ref document: A3 Designated state(s): AT BE CH DE DK ES FI FR GB GR IE IT LI LU MC NL PT SE |
|
| AX | Request for extension of the european patent |
Extension state: AL LT LV SI |
|
| 17P | Request for examination filed |
Effective date: 20090210 |
|
| RTI1 | Title (correction) |
Free format text: METHOD FOR SPECTROMETRICALLY MEASURING ISOTOPIC GAS |
|
| 17Q | First examination report despatched |
Effective date: 20090327 |
|
| AKX | Designation fees paid |
Designated state(s): AT BE CH DE DK ES FI FR GB GR IE IT LI LU MC NL PT SE |
|
| STAA | Information on the status of an ep patent application or granted ep patent |
Free format text: STATUS: THE APPLICATION IS DEEMED TO BE WITHDRAWN |
|
| 18D | Application deemed to be withdrawn |
Effective date: 20160503 |