EP1191162A2 - Verfahren zur Herstellung von zugänglichen abgehängten Decken und dafür verwendbares Profilsystem - Google Patents

Verfahren zur Herstellung von zugänglichen abgehängten Decken und dafür verwendbares Profilsystem Download PDF

Info

Publication number
EP1191162A2
EP1191162A2 EP01122375A EP01122375A EP1191162A2 EP 1191162 A2 EP1191162 A2 EP 1191162A2 EP 01122375 A EP01122375 A EP 01122375A EP 01122375 A EP01122375 A EP 01122375A EP 1191162 A2 EP1191162 A2 EP 1191162A2
Authority
EP
European Patent Office
Prior art keywords
profile
profiles
plate
ceiling
elements
Prior art date
Legal status (The legal status is an assumption and is not a legal conclusion. Google has not performed a legal analysis and makes no representation as to the accuracy of the status listed.)
Granted
Application number
EP01122375A
Other languages
English (en)
French (fr)
Other versions
EP1191162A3 (de
EP1191162B1 (de
Inventor
Hans-Heinz Birkmüller
Manfred Kaiser
Current Assignee (The listed assignees may be inaccurate. Google has not performed a legal analysis and makes no representation or warranty as to the accuracy of the list.)
Knauf Integral KG
Original Assignee
Knauf Gips KG
Knauf Integral KG
Priority date (The priority date is an assumption and is not a legal conclusion. Google has not performed a legal analysis and makes no representation as to the accuracy of the date listed.)
Filing date
Publication date
Application filed by Knauf Gips KG, Knauf Integral KG filed Critical Knauf Gips KG
Publication of EP1191162A2 publication Critical patent/EP1191162A2/de
Publication of EP1191162A3 publication Critical patent/EP1191162A3/de
Application granted granted Critical
Publication of EP1191162B1 publication Critical patent/EP1191162B1/de
Anticipated expiration legal-status Critical
Expired - Lifetime legal-status Critical Current

Links

Images

Classifications

    • EFIXED CONSTRUCTIONS
    • E04BUILDING
    • E04BGENERAL BUILDING CONSTRUCTIONS; WALLS, e.g. PARTITIONS; ROOFS; FLOORS; CEILINGS; INSULATION OR OTHER PROTECTION OF BUILDINGS
    • E04B9/00Ceilings; Construction of ceilings, e.g. false ceilings; Ceiling construction with regard to insulation
    • E04B9/06Ceilings; Construction of ceilings, e.g. false ceilings; Ceiling construction with regard to insulation characterised by constructional features of the supporting construction, e.g. cross section or material of framework members
    • E04B9/064Ceilings; Construction of ceilings, e.g. false ceilings; Ceiling construction with regard to insulation characterised by constructional features of the supporting construction, e.g. cross section or material of framework members comprising extruded supporting beams
    • EFIXED CONSTRUCTIONS
    • E04BUILDING
    • E04BGENERAL BUILDING CONSTRUCTIONS; WALLS, e.g. PARTITIONS; ROOFS; FLOORS; CEILINGS; INSULATION OR OTHER PROTECTION OF BUILDINGS
    • E04B9/00Ceilings; Construction of ceilings, e.g. false ceilings; Ceiling construction with regard to insulation
    • E04B9/003Ceilings; Construction of ceilings, e.g. false ceilings; Ceiling construction with regard to insulation with movable parts, e.g. pivoting panels, access doors
    • EFIXED CONSTRUCTIONS
    • E04BUILDING
    • E04BGENERAL BUILDING CONSTRUCTIONS; WALLS, e.g. PARTITIONS; ROOFS; FLOORS; CEILINGS; INSULATION OR OTHER PROTECTION OF BUILDINGS
    • E04B9/00Ceilings; Construction of ceilings, e.g. false ceilings; Ceiling construction with regard to insulation
    • E04B9/04Ceilings; Construction of ceilings, e.g. false ceilings; Ceiling construction with regard to insulation comprising slabs, panels, sheets or the like
    • E04B9/0428Ceilings; Construction of ceilings, e.g. false ceilings; Ceiling construction with regard to insulation comprising slabs, panels, sheets or the like having a closed frame around the periphery
    • EFIXED CONSTRUCTIONS
    • E04BUILDING
    • E04BGENERAL BUILDING CONSTRUCTIONS; WALLS, e.g. PARTITIONS; ROOFS; FLOORS; CEILINGS; INSULATION OR OTHER PROTECTION OF BUILDINGS
    • E04B9/00Ceilings; Construction of ceilings, e.g. false ceilings; Ceiling construction with regard to insulation
    • E04B9/04Ceilings; Construction of ceilings, e.g. false ceilings; Ceiling construction with regard to insulation comprising slabs, panels, sheets or the like
    • E04B9/0435Ceilings; Construction of ceilings, e.g. false ceilings; Ceiling construction with regard to insulation comprising slabs, panels, sheets or the like having connection means at the edges
    • EFIXED CONSTRUCTIONS
    • E04BUILDING
    • E04BGENERAL BUILDING CONSTRUCTIONS; WALLS, e.g. PARTITIONS; ROOFS; FLOORS; CEILINGS; INSULATION OR OTHER PROTECTION OF BUILDINGS
    • E04B9/00Ceilings; Construction of ceilings, e.g. false ceilings; Ceiling construction with regard to insulation
    • E04B9/04Ceilings; Construction of ceilings, e.g. false ceilings; Ceiling construction with regard to insulation comprising slabs, panels, sheets or the like
    • E04B9/0464Ceilings; Construction of ceilings, e.g. false ceilings; Ceiling construction with regard to insulation comprising slabs, panels, sheets or the like having irregularities on the faces, e.g. holes, grooves
    • EFIXED CONSTRUCTIONS
    • E04BUILDING
    • E04BGENERAL BUILDING CONSTRUCTIONS; WALLS, e.g. PARTITIONS; ROOFS; FLOORS; CEILINGS; INSULATION OR OTHER PROTECTION OF BUILDINGS
    • E04B9/00Ceilings; Construction of ceilings, e.g. false ceilings; Ceiling construction with regard to insulation
    • E04B9/18Means for suspending the supporting construction
    • E04B9/183Means for suspending the supporting construction having a lower side adapted to be connected to a channel of the supporting construction
    • EFIXED CONSTRUCTIONS
    • E04BUILDING
    • E04BGENERAL BUILDING CONSTRUCTIONS; WALLS, e.g. PARTITIONS; ROOFS; FLOORS; CEILINGS; INSULATION OR OTHER PROTECTION OF BUILDINGS
    • E04B9/00Ceilings; Construction of ceilings, e.g. false ceilings; Ceiling construction with regard to insulation
    • E04B9/18Means for suspending the supporting construction
    • E04B9/20Means for suspending the supporting construction adjustable
    • EFIXED CONSTRUCTIONS
    • E04BUILDING
    • E04BGENERAL BUILDING CONSTRUCTIONS; WALLS, e.g. PARTITIONS; ROOFS; FLOORS; CEILINGS; INSULATION OR OTHER PROTECTION OF BUILDINGS
    • E04B9/00Ceilings; Construction of ceilings, e.g. false ceilings; Ceiling construction with regard to insulation
    • E04B9/22Connection of slabs, panels, sheets or the like to the supporting construction
    • E04B9/28Connection of slabs, panels, sheets or the like to the supporting construction with the slabs, panels, sheets or the like having grooves engaging with horizontal flanges of the supporting construction or accessory means connected thereto

Definitions

  • the present invention relates to a method for producing accessible suspended ceilings made of plate elements with grooves and Fastening elements in the form of profile systems, the profile systems being made of a first profile that can be hung from the ceiling and one that is open at the top Channel and a second profile that can be hooked into this channel of the first profile exist and both profiles on the top a plate and on the bottom as have spring-acting L-shaped extension.
  • Suspended accessible ceilings have so far been produced by the attachment a frame suspended from the ceiling, into which the plate elements be inserted.
  • the plate elements are preferably with a metal sheet flanged so that they are not damaged by the frame.
  • a suspended ceiling is preferably made of metal, in which the individual elements by simply laying them on by themselves concealed mounting rails are mutually fixed and adjustable in height Tensioners attached to the load-bearing ceiling and by horizontal Connection struts are stiffened and spaced apart.
  • a removable ceiling mount is known from GB-1 493 737 which mineral fiber boards can be inserted, the suspension via Z-shaped holders, which are deliberately offset laterally, each one Being able to remove the plate unhindered.
  • Both profiles had a plate on the top and L-shaped ones on the bottom Extensions that acted as a spring. This feather could be in Plate elements with grooves can be installed.
  • the hanging profile pointed from the outer edge inwards displaces a vertical plate with a round thickening at the top. At this thickening could Clamping elements are attached using a wire rope and hoes connected to the ceiling. The height adjustment was done through the wire rope and the clamping element.
  • This hanging profile had one open channel upwards, in which a second profile is hung could. This resulted in alternating hanging on the ceiling Plate elements and only suspended plate elements in between, the were easy to remove, leaving the space between the ceiling and Plate elements became accessible.
  • This profile system is shown in Figures 5,6 and 7.
  • the invention has therefore set itself the task of producing of accessible suspended ceilings made of panel elements with grooves and To simplify fasteners in the form of profile systems and before all once a height adjustment can not be changed, so that at a later opening and closing of the suspended ceilings on a new height adjustment can be dispensed with.
  • the ends of the profiles and thus of the plate elements are preferably rigid but reversibly connected. This is achieved in that the Profiles have a round or angular cavity at least at their ends have, in which a displaceable and fixable metal rod inserted becomes.
  • the second profile then preferably has both on the plate and on the part of the L-shaped extension acting as a spring which is the same distance from the contact surface of the two profiles have, such as the limitation of the gutter.
  • the first profiles are preferably attached to the ceiling by means of Threaded rods and snail picks. This creates a suspension on the Ceiling, which after a single height adjustment even when the later expansion Plate elements maintain the height adjustment.
  • the suspension device of the first profile can also facilitate the profile be designed to be removable. The only thing that matters is that through installation and expansion the plate elements will not lose the height adjustment later. Still is the profile system according to the invention is easy to install height adjustable and can also be readjusted later if necessary.
  • the suspended panel elements but also the suspended panel elements can be rigidly but reversibly connected to each other at their ends be, for example, by a movable and fixable metal rod.
  • Plate elements on fiber-reinforced plaster are particularly preferred, if desired, these plate elements also have holes or grooves can.
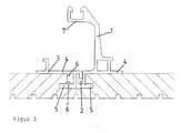
  • Figure 1 shows a section through a usable according to the invention Profile system, which is designed to be removable.
  • Figure 2 shows another embodiment, which by means of threaded rods and snail hooks can be hung.
  • Figure 3 shows a ceiling mount for this profile, in which the Profile system can be detachably attached.
  • Figures 4 and 4a show another embodiment in which the Attachment of the first profile with the ceiling is designed to be displaceable. figure 4 shows this configuration in the suspended state and FIG. 4a not hung condition.
  • FIGS. 5, 6 and 7 show the prior art from Boscetti, von which only a sample exists in the hands of the applicant.

Landscapes

  • Engineering & Computer Science (AREA)
  • Architecture (AREA)
  • Electromagnetism (AREA)
  • Civil Engineering (AREA)
  • Structural Engineering (AREA)
  • Physics & Mathematics (AREA)
  • Joining Of Building Structures In Genera (AREA)
  • Paper (AREA)
  • Installation Of Indoor Wiring (AREA)
  • Conveying And Assembling Of Building Elements In Situ (AREA)
  • Working Measures On Existing Buildindgs (AREA)
  • Connection Of Plates (AREA)
  • Residential Or Office Buildings (AREA)
  • Vehicle Step Arrangements And Article Storage (AREA)
  • Duct Arrangements (AREA)
  • Measurement And Recording Of Electrical Phenomena And Electrical Characteristics Of The Living Body (AREA)
  • Lining Or Joining Of Plastics Or The Like (AREA)
  • Coating With Molten Metal (AREA)

Abstract

Das Verfahren zur Herstellung von zugänglichen, abgehängten Decken aus Plattenelementen mit Nuten und Befestigungselementen in Form von Profilsystemen, wobei die Profilsysteme aus einem ersten an der Decke aufhängbaren Profil (1) und einer nach oben offenen Rinne (2) und einem zweiten in diese Rinne des ersten Profils einhängbaren Profil (3) bestehen und beide Profile an der Oberseite eine Platte (4) und an der Unterseite als Feder wirkende L-förmige Erweiterungen (5) aufweisen, erfolgt dadurch, dass zunächst ein oder mehrere Plattenelemente mit zwei ersten Profilen (1) oberhalb der späteren Berührungsflächen mit den zweiten Profilen (3) starr, höhenjustierbar aber abnehmbar an der Decke befestigt werden, dann in Abständen der Breite der Plattenelemente weitere Plattenelemente mit jeweils zwei ersten Profilen (1) oberhalb der späteren Berührungsflächen mit den zweiten Profilen (3) starr, höhenjustierbar aber abnehmbar an der Decke befestigt werden und danach in den Lücken Plattenelemente mit zwei Profilen (3) eingehängt werden. <IMAGE>

Description

Gegenstand der vorliegenden Erfindung ist ein Verfahren zur Herstellung von zugänglichen abgehängten Decken aus Plattenelementen mit Nuten und Befestigungselementen in Form von Profilsystemen, wobei die Profilsysteme aus einem ersten an der Decke aufhängbaren Profil und einer nach oben offenen Rinne und einem zweiten in dieser Rinne des ersten Profils einhängbaren Profil bestehen und beide Profile an der Oberseite eine Platte und an der Unterseite als federwirkende L-förmige Erweiterung aufweisen.
Abgehängte zugängliche Decken werden bisher hergestellt durch die Anbringung eines an der Decke aufgehängten Gestells, in welches die Plattenelemente eingelegt werden. Vorzugsweise sind die Plattenelemente mit einem Metallblech umbördelt, so dass sie nicht durch das Gestell beschädigt werden.
Aus der DE-A-19 38 643 ist eine Unterdecke vorzugsweise aus Metall bekannt, bei der die einzelnen Elemente durch einfaches Auflegen auf die durch sie selbst verdeckten Tragschienen gegenseitig festgelegt sind und über höhenverstellbare Spannvorrichtungen an der tragenden Decke befestigt und durch horizontale Verbindungsstreben ausgesteift und im Abstand voneinander gehalten sind.
Aus der GB-1 493 737 ist eine abnehmbare Deckenbefestigung bekannt, an welche Mineralfaserplatten eingelegt werden können, wobei die Aufhängung über Z-förmige Halter erfolgt, die bewusst seitlich versetzt sind, um jeweils jede Platte ungehindert herausnehmen zu können.
Von der nicht mehr existierenden Firma Boscetti in Lugano ist ein Profilsystem entwickelt und an einer Baustelle einmal eingebaut worden, welches aus einem ersten an der Decke aufhängbaren Profil mit einer nach oben offenen Rinne und einem zweiten in dieser Rinne des ersten Profils einhängbaren Profil bestand. Beide Profile wiesen an der Oberseite eine Platte auf und an der Unterseite L-förmige Erweiterungen, die als Feder wirkten. Diese Feder konnte in Plattenelemente mit Nuten eingebaut werden. Das aufhängbare Profil wies von der Außenkante nach innen versetzt eine senkrecht stehende Platte auf mit einer runden Verdickung am oberen Ende. An dieser Verdickung konnten Klemmelemente angebracht werden, die mittels eines Drahtseiles und Hacken an der Decke mit dieser verbunden wurden. Die Höhenjustierung erfolgte dabei durch das Drahtseil und das Klemmelement. Dieses aufhängbare Profil wies eine nach oben offene Rinne auf, in welche ein zweites Profil eingehängt werden konnte. Es entstanden somit abwechselnd an der Decke aufgehängte Plattenelemente und jeweils dazwischen nur eingehängte Plattenelemente, die sich leicht herausnehmen ließen, wodurch der Raum zwischen Decke und Plattenelementen zugänglich wurde. Dieses Profilsystem ist in den Figuren 5,6 und 7 dargestellt.
Dieses Profilsystem wies aber noch eine Reihe von Nachteilen auf, die den praktischen Einsatz sehr erschwerten. So mussten die Bohrlöcher für die Hacken in der Decke ebenfalls vom Plattenende weg versetzt werden, so dass der Abstand von zwei gegenüberliegenden Bohrlöchern nicht der Breite der Plattenelemente entsprach. Weiterhin musste bei einem Abnehmen auch der abgehängten Profile mit eingesetzten Plattenelementen hinterher wieder höhenjustiert werden, was mit erheblichem Aufwand verbunden war und nur von geschulten Kräften durchgeführt werden konnt.
Die Erfindung hat sich somit die Aufgabe gestellt, das Verfahren zur Herstellung von zugänglichen abgehängten Decken aus Plattenelementen mit Nuten und Befestigungselementen in Form von Profilsystemen zu vereinfachen und vor allem eine einmal erfolgte Höhenjustierung nicht mehr zu verändern, so dass bei einem späteren Öffnen und wieder Schließen der abgehängten Decken auf eine neue Höhenjustierung verzichtet werden kann.
Diese Aufgabe wird erfindungsgemäß dadurch gelöst, dass zunächst ein oder mehrere Plattenelemente mit zwei ersten Profilen oberhalb der späteren Berührungsfläche mit den zweiten Profilen starr, höhenjustierbar aber abnehmbar an der Decke befestigt werden und danach in den Lücken Plattenelemente mit zwei zweiten Profilen eingehängt werden.
Vorzugsweise werden die Enden der Profile und damit der Plattenelemente starr aber reversibel miteinander verbunden. Dies wird dadurch erreicht, dass die Profile mindestens an ihren Enden einen runden oder eckigen Hohlraum aufweisen, in welchen ein verschiebbarer und fixierbarer Metallstab eingeführt wird.
Das Verfahren und das dafür verwendete Profilsystem ist weiterhin dadurch gekennzeichnet, dass vorzugsweise die Rinne des ersten Profils und die Einhängung des zweiten Profils zwischen der Oberkante der Platte und der Nut der Plattenelemente angebracht sind.
Vorzugsweise weist dann das zweite Profil sowohl an der Platte als auch auf dem als Feder wirkenden Teil der L-förmigen Erweiterung Begrenzungsnoppen auf, welche den gleichen Abstand von der Berührungsfläche der beiden Profile aufweisen, wie die Begrenzung der Rinne. Dies hat den Vorteil, dass die Plattenelemente sowohl für den aufhängbaren Teil wie auch für den nur eingehängten Teil gleiche Dimensionen aufweisen können und somit als standardisierte Teile universell eingesetzt werden können.
Die Befestigung der ersten Profile mit der Decke erfolgt vorzugsweise mittels Gewindestäbe und Schneckenhacken. Es entsteht somit eine Aufhängung an der Decke, die nach einmaliger Höhenjustierung auch beim späteren Ausbau der Plattenelemente die Höhenjustierung beibehält.
Um den Ein- und Ausbau der aufgehängten Plattenelemente mit dem ersten Profil zu erleichtern, kann die Aufhängvorrichtung des ersten Profils auch abnehmbar ausgestaltet sein. Entscheidend ist nur, dass durch Ein- und Ausbau der Plattenelemente später nicht die Höhenjustierung verloren geht. Dennoch ist das erfindungsgemäße Profilsystem bereits beim ersten Einbau leicht höhenjustierbar und kann notfalls auch später nachjustiert werden.
Bei der Herstellung der erfindungsgemäßen abgehängten Decken wird an beliebiger Stelle an einer Seitenwand des Raumes begonnen mit einem ersten aufhängbaren Profil und dem damit verbundenen Plattenelement. Die Bohrlöcher für die Schneckenhacken und das Einhängen beispielsweise der Gewindestäbe kann dann mit konstanten und standardisierten Abständen erfolgen. Sofern am andere Ende des Raumes eigentlich ein nur einhängbares Plattenelement zum Einsatz kommen sollte, kann dieses ohne weiteres auch asymmetrisch mit einem ersten und einem zweiten Profil verbunden werden.
Die aufgehängten Plattenelemente, aber auch die eingehängten Plattenelemente können an ihrem Ende jeweils starr aber reversibel miteinander verbunden werden, beispielsweise durch einen verschiebbaren und fixierbaren Metallstab.
Als Plattenelemente können die verschiedensten Materialien zum Einsatz kommen. Besonders bevorzugt sind Plattenelemente auf faserverstärktem Gips, wobei diese Plattenelemente gewünschtenfalls auch Löcher oder Rillen aufweisen können.
In den anliegenden Figuren sind bevorzugte Ausführungsformen des Profilsystems sowie entsprechend ausgerüsteter Plattenelemente und Aufhängungen an der Decke dargestellt.
Figur 1 zeigt einen Schnitt durch ein erfindungsgemäß verwendbares Profilsystem, welches abnehmbar ausgestaltet ist.
Figur 2 zeigt eine andere Ausgestaltungsform, welche mittels Gewindestäben und Schneckenhacken aufgehängt werden kann.
Figur 3 zeigt eine Deckenbefestigung für dieses Profil, in welches das Profilsystem abnehmbar eingehängt werden kann.
Figuren 4 und 4a zeigen eine andere Ausgestaltungsform, bei welcher die Befestigung des ersten Profils mit der Decke verschiebbar ausgestaltet ist. Figur 4 zeigt diese Ausgestaltung im eingehängten Zustand und Figur 4a im nicht eingehängten Zustand.
Figuren 5, 6 und 7 zeigen den Stand der Technik der Firma Boscetti, von welchem nur noch ein Muster in Händen der Anmelderin existiert.

Claims (12)

  1. Verfahren zur Herstellung von zugänglichen, abgehängten Decken aus Plattenelementen (P) mit Nuten und Befestigungselementen in Form von Profilsystemen, wobei die Profilsysteme aus einem ersten an der Decke aufhängbaren Profil (1) und einer nach oben offenen Rinne (2) und einem zweiten in diese Rinne des ersten Profils einhängbaren Profil (3) bestehen und beide Profile an der Oberseite eine Platte (4) und an der Unterseite als Feder wirkende L-förmige Erweiterungen (5) aufweisen, dadurch gekennzeichnet, dass zunächst ein oder mehrere Plattenelemente (P) mit zwei ersten Profilen (1) oberhalb der späteren Berührungsflächen mit den zweiten Profilen (3) starr, höhenjustierbar aber abnehmbar an der Decke befestigt werden, dann in Abständen der Breite der Plattenelemente weitere Plattenelemente mit jeweils zwei ersten Profilen (1) oberhalb der späteren Berührungsflächen mit den zweiten Profilen starr, höhenjustierbar aber abnehmbar an der Decke befestigt werden und danach in den Lücken Plattenelemente mit zwei zweiten Profilen (3) eingehängt werden.
  2. Verfahren gemäß Anspruch 1, dadurch gekennzeichnet, dass die Enden der Profile starr, aber reversibel miteinander verbunden werden.
  3. Verfahren gemäß Anspruch 1 oder 2, dadurch gekennzeichnet, dass die Rinne des ersten Profils und die Einhängung des zweiten Profils zwischen der Oberkante der Platte und der Nut der Plattenelemente angebracht sind.
  4. Verfahren gemäß einem der Ansprüche 1-3, dadurch gekennzeichnet, dass das zweite Profil sowohl an der Platte als auch auf dem als Feder wirkenden Teil der L-förmigen Erweiterung Begrenzungsnoppen (6) aufweist, welche den gleichen Abstand von der Berührungsfläche der beiden Profile aufweisen wie die Begrenzung der Rinne.
  5. Verfahren gemäß einem der Ansprüche 1-4, dadurch gekennzeichnet, dass die Verbindung der Enden der Profile durch einen verschiebbaren und fixierbaren Metallstab erfolgt.
  6. Verfahren gemäß einem der Ansprüche 1-5, dadurch gekennzeichnet, dass die Befestigung der ersten Profile mit der Decke mittels Gewindestäben und Schneckenhaken erfolgt.
  7. Verfahren gemäß einem der Ansprüche 1-6, dadurch gekennzeichnet, dass die Befestigung der ersten Profile mit der Decke verschiebbar ausgestaltet ist.
  8. Profilsystem für abgehängte Decken aus Plattenelementen (P) mit Nuten bestehend aus einem ersten an der Decke aufhängbar ausgestalteten Profil (1) mit einer nach oben offenen Rinne (2) und einem zweiten in diese Rinne des ersten Profils einhängbaren Profil (3), wobei beide Profile an der Oberseite eine Platte (4) und auf der Unterseite als Feder wirkende L-förmige Erweiterungen (5) aufweisen, in welche die Nuten der Plattenelemente einführbar sind, wobei die Aufhängvorrichtung (7) des ersten Profils soweit zum zweiten Profil herüberragt, dass die Befestigung an der Decke jeweils genau oberhalb der Berührungsfläche der beiden Profile erfolgen kann.
  9. Profilsystem gemäß Anspruch 8, dadurch gekennzeichnet, dass die offene Rinne des aufhängbaren ersten Profils (1) und die Einhängung des zweiten Profils (3) zwischen der Oberkante der Platte und der Nut des Plattenelements angebracht sind.
  10. Profilsystem gemäß Anspruch 9, dadurch gekennzeichnet, dass das zweite Profil (3) sowohl an der Platte als auch auf dem als Feder wirkenden Teil der L-förmigen Erweiterung Begrenzungsnoppen (6) aufweist, welche den gleichen Abstand von der Berührungsfläche der beiden Profile aufweisen wie die Begrenzung der Rinne.
  11. Profilsystem gemäß einem der Ansprüche 8-10, dadurch gekennzeichnet, dass die Profile mindestens an ihren Enden einen runden oder eckigen Hohlraum aufweisen.
  12. Profilsystem gemäß einem der Ansprüche 7-10, dadurch gekennzeichnet, dass die Aufhängvorrichtung des ersten Profils abnehmbar ausgestaltet ist.
EP01122375A 2000-09-20 2001-09-19 Verfahren zur Herstellung von zugänglichen abgehängten Decken und dafür verwendbares Profilsystem Expired - Lifetime EP1191162B1 (de)

Applications Claiming Priority (2)

Application Number Priority Date Filing Date Title
DE10046430 2000-09-20
DE10046430 2000-09-20

Publications (3)

Publication Number Publication Date
EP1191162A2 true EP1191162A2 (de) 2002-03-27
EP1191162A3 EP1191162A3 (de) 2003-07-16
EP1191162B1 EP1191162B1 (de) 2007-11-14

Family

ID=7656853

Family Applications (1)

Application Number Title Priority Date Filing Date
EP01122375A Expired - Lifetime EP1191162B1 (de) 2000-09-20 2001-09-19 Verfahren zur Herstellung von zugänglichen abgehängten Decken und dafür verwendbares Profilsystem

Country Status (8)

Country Link
EP (1) EP1191162B1 (de)
AT (1) ATE378481T1 (de)
CZ (1) CZ20013373A3 (de)
DE (1) DE50113258D1 (de)
HU (1) HUP0103734A2 (de)
NO (1) NO20014552L (de)
PL (1) PL349654A1 (de)
RU (1) RU2215853C2 (de)

Cited By (5)

* Cited by examiner, † Cited by third party
Publication number Priority date Publication date Assignee Title
WO2012171115A1 (en) 2011-06-16 2012-12-20 Les Plafonds Embassy Inc. Trackless suspended ceiling
CN105649253A (zh) * 2015-12-07 2016-06-08 浙江宝兰电气有限公司 一种集成吊顶结构
US9783984B2 (en) 2015-06-02 2017-10-10 Awi Licensing Llc Ceiling mounting system and related method
CN111910828A (zh) * 2020-09-02 2020-11-10 法狮龙家居建材股份有限公司 一种悬挂式吊顶及安装方法
CN117266434A (zh) * 2023-08-25 2023-12-22 浙江亚厦装饰股份有限公司 一种装配式吊顶结构及其安装方法

Families Citing this family (6)

* Cited by examiner, † Cited by third party
Publication number Priority date Publication date Assignee Title
RU2270303C1 (ru) * 2005-02-11 2006-02-20 Игорь Валентинович Маркин Облицовка помещения навесными панелями с плавающим стыком - "пласт" и комплект строительных элементов для нее
US7478506B2 (en) * 2005-04-04 2009-01-20 Usg Interiors, Inc. Clip for attaching ceiling panels to T-grid
EP2167749B1 (de) * 2007-06-08 2016-10-05 AWI Licensing LLC Deckensystem
US20100064618A1 (en) * 2008-09-15 2010-03-18 Certainteed Corporation Ceiling tile and edge suspension system
RU2658927C1 (ru) * 2017-09-21 2018-06-26 Александр Васильевич Гущин Универсальная декоративная подвесная рамочная потолочная и стеновая система
CN113585596B (zh) * 2021-08-16 2024-12-27 浙江亚厦装饰股份有限公司 一种预装式跌级板支撑连接固定组件

Citations (2)

* Cited by examiner, † Cited by third party
Publication number Priority date Publication date Assignee Title
DE1938643A1 (de) 1968-12-14 1970-06-18 Picatoste Jose Lledo Unterdecke
GB1493737A (en) 1975-01-17 1977-11-30 Thermo Acoustic Prod Ltd Demountable ceiling assembly

Family Cites Families (11)

* Cited by examiner, † Cited by third party
Publication number Priority date Publication date Assignee Title
BE398364A (de) * 1932-09-13
GB833307A (en) * 1958-03-25 1960-04-21 Anders Palmer Improvements in or relating to sub-ceiling panel
DE1189695B (de) * 1958-04-30 1965-03-25 Elektro Metall Kuersteiner & C Unterdecke mit in einem tragenden Bauteil, z. B. einer Geschossdecke, verankerten Haengern
AU5254864A (en) * 1965-12-06 1967-06-08 JOHANNES GOYER and HAROLD KEITH BOAZ GEORGE Ceiling panel suspension and partition locating devices for builders
US3714753A (en) * 1971-05-03 1973-02-06 Chicago Metallic Corp Concealed grid system
DE2162382A1 (de) * 1971-12-16 1973-06-20 Westag & Getalit Ag Vorrichtung fuer die aufhaengung einer deckenverkleidung an ortsfesten gebaeudedecken
US3832816A (en) * 1972-06-05 1974-09-03 Chicago Metallic Corp Concealed grid suspended ceiling structure with simplified installation
US3875717A (en) * 1973-08-30 1975-04-08 Wolfgang Moeller Unitary device for joining removable ceiling tile to hanger member
US5893250A (en) * 1997-10-31 1999-04-13 Benvenuto; Guido Drop ceiling system
EP0999317A1 (de) * 1998-11-02 2000-05-10 Giovanni Boschetti Befestigungsmittel für Paneelelemente einer aufgehängten Decke an den Hängeelementen
RU14227U1 (ru) * 2000-01-20 2000-07-10 Общество с ограниченной ответственностью "Аркада" Подвес потолочного профиля для крепления подвесного потолка и пружинящая скоба для него

Patent Citations (2)

* Cited by examiner, † Cited by third party
Publication number Priority date Publication date Assignee Title
DE1938643A1 (de) 1968-12-14 1970-06-18 Picatoste Jose Lledo Unterdecke
GB1493737A (en) 1975-01-17 1977-11-30 Thermo Acoustic Prod Ltd Demountable ceiling assembly

Cited By (7)

* Cited by examiner, † Cited by third party
Publication number Priority date Publication date Assignee Title
WO2012171115A1 (en) 2011-06-16 2012-12-20 Les Plafonds Embassy Inc. Trackless suspended ceiling
EP2721226A4 (de) * 2011-06-16 2015-03-11 Plafonds Embassy Inc Selbsttragende hängedecke
US9783984B2 (en) 2015-06-02 2017-10-10 Awi Licensing Llc Ceiling mounting system and related method
CN105649253A (zh) * 2015-12-07 2016-06-08 浙江宝兰电气有限公司 一种集成吊顶结构
CN111910828A (zh) * 2020-09-02 2020-11-10 法狮龙家居建材股份有限公司 一种悬挂式吊顶及安装方法
CN111910828B (zh) * 2020-09-02 2025-08-12 法狮龙家居建材股份有限公司 一种悬挂式吊顶及安装方法
CN117266434A (zh) * 2023-08-25 2023-12-22 浙江亚厦装饰股份有限公司 一种装配式吊顶结构及其安装方法

Also Published As

Publication number Publication date
RU2215853C2 (ru) 2003-11-10
NO20014552L (no) 2002-03-21
EP1191162A3 (de) 2003-07-16
ATE378481T1 (de) 2007-11-15
NO20014552D0 (no) 2001-09-19
HU0103734D0 (en) 2001-11-28
DE50113258D1 (de) 2007-12-27
HUP0103734A2 (hu) 2003-11-28
CZ20013373A3 (cs) 2002-05-15
PL349654A1 (en) 2002-03-25
EP1191162B1 (de) 2007-11-14

Similar Documents

Publication Publication Date Title
EP0979334A1 (de) Vorrichtung zum Befestigen von Fassadenplatten
EP1191162B1 (de) Verfahren zur Herstellung von zugänglichen abgehängten Decken und dafür verwendbares Profilsystem
DE3232106A1 (de) Tragschiene oder -platte fuer eine vorgehaengte wand- oder deckenverkleidung
DE8815364U1 (de) Wandbekleidungselement, insbesondere Fassadenelement
DE3246725A1 (de) Aufhaengevorrichtung fuer wandbekleidungsplatten und unter verwendung derartiger aufhaengevorrichtungen aufgebaute plattenverankerungen
DE202016007387U1 (de) Universalhalterung für Gabionen und Gitterzäune
DE2402585A1 (de) Vorrichtung zum aufhaengen von fassadenplatten od. dgl. an baukoerpern
DE19737515A1 (de) Vorrichtung zur Befestigung von Bauteilen an und im Abstand zu einem Tragwerk, insbesondere von Längsprofilen an und im Abstand zu einer Bauwerkswand und dafür geeigneter Abstandhalter
DE102016118483A1 (de) Fassadenplatten-Montagesystem
DE3345966C2 (de)
DE4000951A1 (de) Aluminium-schienensystem zur montage von natursteinfassadenplatten
DE2219564C2 (de) Aufhängevorrichtung für Bekleidungsplatten aus Beton o.dgl.
EP3722528B1 (de) Überdachung in form einer pergola, eines glasdachs oder eines wintergartens
DE2916925A1 (de) Halterung fuer fassadenplatten
DE19823173C2 (de) Aufhängeleiste zum Aufhängen von Rahmen
DE4024579A1 (de) Vorrichtung zum befestigen von fassadenelementen an gebaeuden
DE3837990A1 (de) Vorrichtung zur haengenden halterung, von langformteilen an gebaeudedecken
WO2019029773A1 (de) Wandhaken
AT202746B (de) Einstellbare Hängevorrichtung für insbesondere untergehängte bzw. vorgesetzte Decken bzw. Wandteile
DE2156757C3 (de) Aufhängevorrichtung für Wandverkleidungsplatten
DE20280077U1 (de) Montagehilfsvorrichtung zur Befestigung einer Unterkonstruktion zwecks Aufnahme von Wand- oder Deckenverkleidungen
DE4205100A1 (de) Wandbekleidung
DE2836817A1 (de) Vorrichtung zur aufhaengung einer fassadenplatte an einem hinterluefteten baukoerper
DE29606690U1 (de) Trennwandvorrichtung für Ladenlokale
AT352356B (de) Variable raumbegrenzung

Legal Events

Date Code Title Description
PUAI Public reference made under article 153(3) epc to a published international application that has entered the european phase

Free format text: ORIGINAL CODE: 0009012

AK Designated contracting states

Kind code of ref document: A2

Designated state(s): AT BE CH CY DE DK ES FI FR GB GR IE IT LI LU MC NL PT SE TR

AX Request for extension of the european patent

Free format text: AL;LT;LV;MK;RO;SI

PUAL Search report despatched

Free format text: ORIGINAL CODE: 0009013

AK Designated contracting states

Designated state(s): AT BE CH CY DE DK ES FI FR GB GR IE IT LI LU MC NL PT SE TR

AX Request for extension of the european patent

Extension state: AL LT LV MK RO SI

RAP1 Party data changed (applicant data changed or rights of an application transferred)

Owner name: KNAUF INTEGRAL KG

17P Request for examination filed

Effective date: 20030816

AKX Designation fees paid

Designated state(s): AT BE CH CY DE DK ES FI FR GB GR IE IT LI LU MC NL PT SE TR

AXX Extension fees paid

Extension state: LT

Payment date: 20030816

GRAP Despatch of communication of intention to grant a patent

Free format text: ORIGINAL CODE: EPIDOSNIGR1

GRAS Grant fee paid

Free format text: ORIGINAL CODE: EPIDOSNIGR3

GRAA (expected) grant

Free format text: ORIGINAL CODE: 0009210

AK Designated contracting states

Kind code of ref document: B1

Designated state(s): AT BE CH CY DE DK ES FI FR GB GR IE IT LI LU MC NL PT SE TR

AX Request for extension of the european patent

Extension state: LT

REG Reference to a national code

Ref country code: GB

Ref legal event code: FG4D

Free format text: NOT ENGLISH

REG Reference to a national code

Ref country code: CH

Ref legal event code: EP

REG Reference to a national code

Ref country code: IE

Ref legal event code: FG4D

Free format text: LANGUAGE OF EP DOCUMENT: GERMAN

REF Corresponds to:

Ref document number: 50113258

Country of ref document: DE

Date of ref document: 20071227

Kind code of ref document: P

REG Reference to a national code

Ref country code: CH

Ref legal event code: NV

Representative=s name: SCHMAUDER & PARTNER AG PATENTANWALTSBUERO

PG25 Lapsed in a contracting state [announced via postgrant information from national office to epo]

Ref country code: SE

Free format text: LAPSE BECAUSE OF FAILURE TO SUBMIT A TRANSLATION OF THE DESCRIPTION OR TO PAY THE FEE WITHIN THE PRESCRIBED TIME-LIMIT

Effective date: 20080214

Ref country code: ES

Free format text: LAPSE BECAUSE OF FAILURE TO SUBMIT A TRANSLATION OF THE DESCRIPTION OR TO PAY THE FEE WITHIN THE PRESCRIBED TIME-LIMIT

Effective date: 20080225

Ref country code: NL

Free format text: LAPSE BECAUSE OF FAILURE TO SUBMIT A TRANSLATION OF THE DESCRIPTION OR TO PAY THE FEE WITHIN THE PRESCRIBED TIME-LIMIT

Effective date: 20071114

NLV1 Nl: lapsed or annulled due to failure to fulfill the requirements of art. 29p and 29m of the patents act
GBV Gb: ep patent (uk) treated as always having been void in accordance with gb section 77(7)/1977 [no translation filed]
PG25 Lapsed in a contracting state [announced via postgrant information from national office to epo]

Ref country code: DK

Free format text: LAPSE BECAUSE OF FAILURE TO SUBMIT A TRANSLATION OF THE DESCRIPTION OR TO PAY THE FEE WITHIN THE PRESCRIBED TIME-LIMIT

Effective date: 20071114

EN Fr: translation not filed
PLBE No opposition filed within time limit

Free format text: ORIGINAL CODE: 0009261

STAA Information on the status of an ep patent application or granted ep patent

Free format text: STATUS: NO OPPOSITION FILED WITHIN TIME LIMIT

PG25 Lapsed in a contracting state [announced via postgrant information from national office to epo]

Ref country code: PT

Free format text: LAPSE BECAUSE OF FAILURE TO SUBMIT A TRANSLATION OF THE DESCRIPTION OR TO PAY THE FEE WITHIN THE PRESCRIBED TIME-LIMIT

Effective date: 20080414

REG Reference to a national code

Ref country code: IE

Ref legal event code: FD4D

26N No opposition filed

Effective date: 20080815

PG25 Lapsed in a contracting state [announced via postgrant information from national office to epo]

Ref country code: IE

Free format text: LAPSE BECAUSE OF FAILURE TO SUBMIT A TRANSLATION OF THE DESCRIPTION OR TO PAY THE FEE WITHIN THE PRESCRIBED TIME-LIMIT

Effective date: 20071114

Ref country code: FR

Free format text: LAPSE BECAUSE OF FAILURE TO SUBMIT A TRANSLATION OF THE DESCRIPTION OR TO PAY THE FEE WITHIN THE PRESCRIBED TIME-LIMIT

Effective date: 20080829

PG25 Lapsed in a contracting state [announced via postgrant information from national office to epo]

Ref country code: GB

Free format text: LAPSE BECAUSE OF FAILURE TO SUBMIT A TRANSLATION OF THE DESCRIPTION OR TO PAY THE FEE WITHIN THE PRESCRIBED TIME-LIMIT

Effective date: 20071114

PG25 Lapsed in a contracting state [announced via postgrant information from national office to epo]

Ref country code: GR

Free format text: LAPSE BECAUSE OF FAILURE TO SUBMIT A TRANSLATION OF THE DESCRIPTION OR TO PAY THE FEE WITHIN THE PRESCRIBED TIME-LIMIT

Effective date: 20080215

BERE Be: lapsed

Owner name: KNAUF INTEGRAL K.G.

Effective date: 20080930

PG25 Lapsed in a contracting state [announced via postgrant information from national office to epo]

Ref country code: MC

Free format text: LAPSE BECAUSE OF NON-PAYMENT OF DUE FEES

Effective date: 20080930

PG25 Lapsed in a contracting state [announced via postgrant information from national office to epo]

Ref country code: CY

Free format text: LAPSE BECAUSE OF FAILURE TO SUBMIT A TRANSLATION OF THE DESCRIPTION OR TO PAY THE FEE WITHIN THE PRESCRIBED TIME-LIMIT

Effective date: 20071114

Ref country code: BE

Free format text: LAPSE BECAUSE OF NON-PAYMENT OF DUE FEES

Effective date: 20080930

REG Reference to a national code

Ref country code: CH

Ref legal event code: PCAR

Free format text: SCHMAUDER & PARTNER AG PATENT- UND MARKENANWAELTE VSP;ZWAENGIWEG 7;8038 ZUERICH (CH)

PG25 Lapsed in a contracting state [announced via postgrant information from national office to epo]

Ref country code: FI

Free format text: LAPSE BECAUSE OF FAILURE TO SUBMIT A TRANSLATION OF THE DESCRIPTION OR TO PAY THE FEE WITHIN THE PRESCRIBED TIME-LIMIT

Effective date: 20071114

PG25 Lapsed in a contracting state [announced via postgrant information from national office to epo]

Ref country code: LU

Free format text: LAPSE BECAUSE OF NON-PAYMENT OF DUE FEES

Effective date: 20080919

PG25 Lapsed in a contracting state [announced via postgrant information from national office to epo]

Ref country code: TR

Free format text: LAPSE BECAUSE OF FAILURE TO SUBMIT A TRANSLATION OF THE DESCRIPTION OR TO PAY THE FEE WITHIN THE PRESCRIBED TIME-LIMIT

Effective date: 20071114

PGFP Annual fee paid to national office [announced via postgrant information from national office to epo]

Ref country code: CH

Payment date: 20100923

Year of fee payment: 10

PGFP Annual fee paid to national office [announced via postgrant information from national office to epo]

Ref country code: AT

Payment date: 20100920

Year of fee payment: 10

PGFP Annual fee paid to national office [announced via postgrant information from national office to epo]

Ref country code: DE

Payment date: 20101125

Year of fee payment: 10

PGFP Annual fee paid to national office [announced via postgrant information from national office to epo]

Ref country code: IT

Payment date: 20100928

Year of fee payment: 10

REG Reference to a national code

Ref country code: CH

Ref legal event code: PL

PG25 Lapsed in a contracting state [announced via postgrant information from national office to epo]

Ref country code: IT

Free format text: LAPSE BECAUSE OF NON-PAYMENT OF DUE FEES

Effective date: 20110919

REG Reference to a national code

Ref country code: DE

Ref legal event code: R119

Ref document number: 50113258

Country of ref document: DE

Effective date: 20120403

PG25 Lapsed in a contracting state [announced via postgrant information from national office to epo]

Ref country code: LI

Free format text: LAPSE BECAUSE OF NON-PAYMENT OF DUE FEES

Effective date: 20110930

Ref country code: DE

Free format text: LAPSE BECAUSE OF NON-PAYMENT OF DUE FEES

Effective date: 20120403

Ref country code: CH

Free format text: LAPSE BECAUSE OF NON-PAYMENT OF DUE FEES

Effective date: 20110930

REG Reference to a national code

Ref country code: AT

Ref legal event code: MM01

Ref document number: 378481

Country of ref document: AT

Kind code of ref document: T

Effective date: 20110919

PG25 Lapsed in a contracting state [announced via postgrant information from national office to epo]

Ref country code: AT

Free format text: LAPSE BECAUSE OF NON-PAYMENT OF DUE FEES

Effective date: 20110919