EP1065005A2 - Flüssigkeits-Versorgungsvorrichtung - Google Patents

Flüssigkeits-Versorgungsvorrichtung Download PDF

Info

Publication number
EP1065005A2
EP1065005A2 EP00107815A EP00107815A EP1065005A2 EP 1065005 A2 EP1065005 A2 EP 1065005A2 EP 00107815 A EP00107815 A EP 00107815A EP 00107815 A EP00107815 A EP 00107815A EP 1065005 A2 EP1065005 A2 EP 1065005A2
Authority
EP
European Patent Office
Prior art keywords
container
liquid
supply device
liquid supply
collapsible
Prior art date
Legal status (The legal status is an assumption and is not a legal conclusion. Google has not performed a legal analysis and makes no representation as to the accuracy of the status listed.)
Withdrawn
Application number
EP00107815A
Other languages
English (en)
French (fr)
Other versions
EP1065005A3 (de
Inventor
Karlheinz Sperber
Current Assignee (The listed assignees may be inaccurate. Google has not performed a legal analysis and makes no representation or warranty as to the accuracy of the list.)
Baldwin Germany GmbH
Original Assignee
Baldwin Grafotec GmbH
Priority date (The priority date is an assumption and is not a legal conclusion. Google has not performed a legal analysis and makes no representation as to the accuracy of the date listed.)
Filing date
Publication date
Application filed by Baldwin Grafotec GmbH filed Critical Baldwin Grafotec GmbH
Publication of EP1065005A2 publication Critical patent/EP1065005A2/de
Publication of EP1065005A3 publication Critical patent/EP1065005A3/de
Withdrawn legal-status Critical Current

Links

Images

Classifications

    • BPERFORMING OPERATIONS; TRANSPORTING
    • B05SPRAYING OR ATOMISING IN GENERAL; APPLYING FLUENT MATERIALS TO SURFACES, IN GENERAL
    • B05CAPPARATUS FOR APPLYING FLUENT MATERIALS TO SURFACES, IN GENERAL
    • B05C11/00Component parts, details or accessories not specifically provided for in groups B05C1/00 - B05C9/00
    • B05C11/10Storage, supply or control of liquid or other fluent material; Recovery of excess liquid or other fluent material

Definitions

  • the invention relates to a liquid supply device for supply of machines with a liquid from a container according to the preamble of claim 1.
  • Liquids such as especially glue, paint and varnish as well as organic Detergents must be kept liquid-tight so that they do not can dry out and react with oxygen, their volatile components cannot evaporate and no bacterial cultures develop in them can.
  • Such liquids are usually made in containers Plastic or metal kept. If the liquid from such Container is pumped out with a pressure pump, air is in the container pressed. This allows the liquid to react with the oxygen in the air volatile components can escape from the liquid, and the Conveying speed is limited because the containers have high air pressures Do not stand the pressure pump unless there are containers made of very thick Plastic material or metal used. The use of containers with thick plastic walls or metal is expensive to manufacture and very expensive expensive to dispose of (sometimes as hazardous waste) or in the recycling process and the containers are heavy. Due to the limited pressure resistance the container is also the delivery pressure of the pressure pump and thus the Fluid delivery speed limited. This limitation has one Limitation of the production speed of the liquid supplied Machine result.
  • a preferred application of the invention relates to glue machines which a container, e.g. Canister, glue fed for application to finished paper to glue sheets of paper or paper webs together.
  • a container e.g. Canister
  • Paper can also be sheets in the form of sheets (sheets) or endless webs made of plastic, metal, cork or another material.
  • the machine is a coating machine for coating a substrate with a Coating material.
  • the carrier material is preferably paper in the form of Sheets of paper or webs of paper. Sheets can also be in the form of sheets or Sheets of plastic, metal, cork or other material coated become.
  • the coating material is preferably paint or lacquer.
  • Another preferred area of application of the invention is machinery or Devices for moistening finished paper to a desired one Reach moisture content and at a predetermined value or Keep value range, e.g. with so-called softening liquid, which is water can be to make paper easier to fold so that it is not in folders tears.
  • Softening liquid is especially a commercially available folding aid concentrate, which is a mixture of water and additives e.g. Vinegar and / or dish soap
  • Offset printing machines use so-called Fountain solution to form ink-repellent areas on one Printing plate cylinder.
  • the fountain solution consists of water, alcohol or Alcohol substitute and so-called additives.
  • These liquid additives can according to the invention from an airtight storage container to one Fountain solution preparation tub of the printing press can be conveyed without that the additive comes into contact with air. This prevents organic additive is infested with bacteria or fungi or with Oxygen can react.
  • the liquid is pumped from the Container pushed out. This has the disadvantage that if the delivery pressure is too high there is a risk that the container will burst. There is also a risk that the Compressed air from the pressure pump reacts chemically with the liquid or is in the Liquid bacteria or fungi can develop. It is also known Suck the liquid out of a dimensionally stable canister using suction pumps.
  • the object of the invention is to achieve a possibility of through which arbitrarily large quantities of liquid are conveyed out of the container material costs, weight and costs for the container and its disposal or recycling can be reduced can, as well as contact of the liquid in the container with air or other Gases can be avoided.
  • the walls of the container are designed in such a way that the suction force of the Suction pump, which is required to convey the liquid, bendable and can be moved against each other without the suction force of the suction pump needs to be much higher than for sucking the liquid out of one open container.
  • the container walls can be dimensionally unstable, but none or have such a low bending stiffness that they are slightly flexible and could not stand upright on their own without bending, kinking or in fold up.
  • the walls of the Container is dimensionally stable, but already due to a low suction power Suction pump plastically deformable. This means that the container walls after the plastic deformation when the deformation forces decrease their deformed Maintain shape.
  • glue machines Coating machines and printing machines.
  • glue machines and Coating machines apply the liquid to a carrier in the form of finished paper or foil applied, the foil made of metal, plastic or Cork or other material can exist.
  • the liquid is a Dampening liquid, e.g. Water, for moistening finished paper, with it it can then be folded or folded more easily in a folder, without tearing the paper.
  • a Dampening liquid e.g. Water
  • the invention can be used for offset printing presses to make liquid To feed additives from a collapsible container to a mixing container, in which the additive with water and alcohol or alcohol substitute is mixed to form dampening water, which one Printing plate cylinder is supplied to form ink-repellent areas.
  • the fountain solution can also be fed to cylinders or rollers of the printing press such as paper guide rollers and chill rollers to prevent contamination, e.g. also to prevent or remove ink deposits.
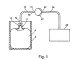
  • FIG. 1 shows a container which can be collapsed by the suction force of a suction pump 20 4 in an outer container 6 which supports it laterally and made of non-collapsible stiff material.
  • the collapsible container 4 has a neck 8 with a thread on which by means of a threaded sleeve 10 the end 12 of a fluid line 14 is airtight connectable, the other end 16 to the suction side 18 one Suction pump 20 can be connected.
  • the pressure side 22 of the suction pump 20 is connected via a further fluid line 24 connected to a machine 26 which dispenses liquid from the suction pump 20 the container 4 can be fed.
  • the container 4 is designed to be collapsible in such a way that it passes through the subatmospheric pressure of the suction pump 20 is easily collapsible and corresponding to the amount of liquid drawn from it and collapses the suction power of the suction pump 20 offers only very little resistance.
  • the walls of the container 4 can be very dimensionally unstable so that they do not or only have low bending stiffness and do not stand upright on their own without bending, kinking or collapsing.
  • the walls of the container 4 Dimensionally stable, but with extremely little force, which is due to the conveying suction force the suction pump 20 is applied, easily plastically deformable.
  • This easy plastic deformability has the consequence that when the suction power decreases the suction pump 20 the container 4 maintains its deformed shape.
  • the container 4 in one to accommodate dimensionally stable outer container 6, from whose side walls he on old pages is supported.
  • the outer container 6 not only makes it easier Transport of the dimensionally unstable container 4, but also prevents Damage to him.
  • the container 4 consists of flexible plastic or rubber.
  • Such containers are simple and inexpensive to manufacture very thin-walled, e.g. by thin from a foil-like Plastic tubing hose sections cut off at both ends be welded shut. During the welding process, at the same time a hose end a line connection are formed, which in the Figures 1, 2 and 3 in the form of the neck 8 is shown symbolically.
  • the end 12 of the suction fluid line 14 to be connected to the container 4 can be designed as a puncture tube 28 or be provided with such a puncture tube 28 for piercing a container closure 30 on the neck 8.
  • the Container closure 30 can be a film welded onto the neck 8 or through the container 4 itself be formed.
  • the puncture tube 28 can without the Threaded sleeve 10 are used or be designed so that they Screw the threaded sleeve 10 to the neck 8 through the container closure 30 is inserted automatically.
  • the suction fluid line 14 is a lancing element in the form of a knife-like or have needle-like tip, which has no liquid passage opening.
  • the end 12 the suction fluid line 14 in the neck 8 or at least through the threaded sleeve 10 protrude or be fluidly connected thereto.
  • the container 4 need not have a neck 8, but rather that through the neck 8 formed line connection of the container 4 can also by a flat or be formed differently shaped container wall of the container 4, which the Cover wall, a bottom wall or a side wall of the container 4 can be.
  • the machine 26 can be of any of the types mentioned.
  • Figure 3 shows an example of a glue machine 26, in which glue from the Container 4 on one or both tracks 32 and 34, e.g. Paper webs, is applied, which are glued together by the glue.
  • glue machines and also the other types of machines are in practice are known and are therefore not described in detail.
  • the container 4 is designed such that it corresponds approximately to the continuously sucked from him by the suction pump 20 amount of liquid collapsed.
  • the collapse of the container 4 follows substantially continuously Fluid withdrawal.
  • the collapsible container 4 is preferably in the form of a flexible bag.
  • the capacity of the collapsible container 4 is at least 1 liter (1 cubic decimeter).

Landscapes

  • Packages (AREA)
  • Coating Apparatus (AREA)
  • Nozzles (AREA)
  • Inking, Control Or Cleaning Of Printing Machines (AREA)
  • Loading And Unloading Of Fuel Tanks Or Ships (AREA)

Abstract

Flüssigkeits-Versorgungsvorrichtung, insbesondere für Leimmaschinen, Beschichtungsmaschinen, Papier-Befeuchtungsmaschinen und Druckmaschinen. Sie enthält einen kollabierbar ausgebildeten Behälter (4). Der Behälter (4) ist derart ausgebildet, daß er korrespondierend zu der aus ihm durch eine Saugpumpe (20) abgesaugte Flüssigkeitsmenge kollabiert. <IMAGE>

Description

Die Erfindung betrifft eine Flüssigkeits-Versorgungsvorrichtung zur Versorgung von Maschinen mit einer Flüssigkeit aus einem Behälter gemäß dem Oberbegriff von Anspruch 1.
Flüssigkeiten wie insbesondere Leim, Farbe und Lack sowie organische Waschmittel müssen flüssigkeitsdicht aufbewahrt werden, damit sie nicht austrocknen und mit Sauerstoff reagieren können, ihre flüchtigen Bestandteile nicht verdunsten können, und sich in ihnen keine Bakterienkulturen entwickeln können.
Solche Flüssigkeiten werden üblicherweise in Behältern bzw.Kanistern aus Kunststoff oder Metall aufbewahrt. Wenn die Flüssigkeit aus einem solchen Behälter mit einer Druckpumpe herausgefördert wird, wird Luft in den Behälter gepreßt. Dadurch kann die Flüssigkeit mit dem Sauerstoff der Luft reagieren, flüchtige Bestandteile können aus der Flüssigkeit entweichen, und die Fördergeschwindigkeit ist begrenzt, weil die Behälter hohe Luftdrücke der Druckpumpe nicht aushalten, außer es werden Behälter aus sehr dickem Kunststoffmaterial oder Metall verwendet. Die Verwendung von Behältern mit dicken Kunststoffwänden oder aus Metall ist teuer in der Herstellung und sehr teuer in der Entsorgung (manchmal als Sondermüll) oder im Recyclingverfahren und die Behälter haben ein hohes Gewicht. Durch die begrenzte Druckfestigkeit der Behälter ist auch der Förderdruck der Druckpumpe und damit die Fördergeschwindigkeit der Flüssigkeit begrenzt. Diese Begrenzung hat eine Beschränkung der Produktionsgeschwindigkeit der mit der Flüssigkeit versorgten Maschine zur Folge.
Eine bevorzugte Anwendung der Erfindung betrifft Leimmaschinen, welchen aus einem Behälter, z.B. Kanister, Leim zum Auftragen auf fertiges Papier zugeführt wird, um Papierbögen oder Papierbahnen zusammenzukleben. Anstelle von Papier können auch Folien in Form von Bögen (Blätter) oder endlosen Bahnen aus Kunststoff, Metall, Kork oder einem anderen Material verwendet werden.
Gemäß einer anderen bevorzugten Anwendung der Erfindung ist die Maschine eine Beschichtungsmaschine zum Beschichten von Trägermaterial mit einem Beschichtungsmaterial. Das Trägermaterial ist vorzugsweise Papier in Form von Papierbögen oder Papierbahnen. Auch können Folien in Form von Bögen oder Bahnen aus Kunststoff, Metall, Kork oder aus einem anderen Material beschichtet werden. Das Beschichtungsmaterial ist vorzugsweise Farbe oder Lack.
Ein weiteres bevorzugtes Anwendungsgebiet der Erfindung sind Maschinen oder Vorrichtungen zum Befeuchten von fertigem Papier, um einen gewünschten Feuchtigkeitsgehalt zu erreichen und auf einem vorbestimmten Wert oder Wertebereich zu halten, z.B. mit sogenannter Softening-Flüssigkeit, was Wasser sein kann, um Papier leichter faltbar zu machen, damit es in Falzapparaten nicht reißt. Softening-Flüssigkeit ist insbesondere handelsübliches Falzhilfekonzentrat, was eine Mischung aus Wasser und Zusätzen z.B. Essig und/ oder Spülmittel ist
Ein weiteres bevorzugtes Anwendungsgebiet der Erfindung sind Druckmaschinen in Form von Bogendruckmaschinen und Rollendruckmaschinen, insbesondere Offset-Druckmaschinen. Offset-Druckmaschinen verwenden sogenanntes Feuchtwasser zur Bildung von farbabstoßenden Bereichen auf einem Druckplattenzylinder. Das Feuchtwasser besteht aus Wasser, Alkohol oder Alkoholersatzstoff und sogenannten Zusätzen. Diese flüssigen Zusätze können gemäß der Erfindung aus einem luftdichten Vorrats-Behälter zu einer Feuchtwasser-Zubereitungswanne der Druckmaschine gefördert werden, ohne daß das Zusatzmittel mit Luft in Berührung kommt. Dadurch wird verhindert, daß organisches Zusatzmittel von Bakterien oder Pilzen befallen wird oder mit Sauerstoff reagieren kann.
Beim Stand der Technik wird die Flüssigkeit durch Druckpumpen aus dem Behälter herausgedrückt. Dies hat den Nachteil, daß bei zu hohem Förderdruck die Gefahr besteht, daß der Behälter platzt. Ferner besteht die Gefahr, daß die Druckluft der Druckpumpe mit der Flüssigkeit chemisch reagiert oder sich in der Flüssigkeit Bakterien oder Pilze entwickeln können. Es ist auch schon bekannt, die Flüssigkeit durch Saugpumpen aus einem formstabilen Kanister abzusaugen. Dies hat jedoch die Nachteile, daß sich entweder im formstabilen Kanister ein der Pumpensaugkraft enrgegenwirkendes Vakuum bildet oder der Kanister belüftet werden muß, was zu einer Kontaktierung der Flüssigkeit mit Luft bzw. Sauerstoff führt und die genannten Nachteile zur Folge hat, daß die Flüssigkeit eintrocknet, mit Sauerstoff reagieren kann und/oder sich Bakterien oder Pilze in der Flüssigkeit oder in dem Kanister bilden können. Der gleiche Nachteil wie beim Belüften des Kanisters ergibt sich auch bei Verwendung von Druckpumpen durch die von ihnen in den Kanister geförderte Luft.
Durch die Erfindung soll die Aufgabe gelöst werden, eine Möglichkeit zu schaffen, durch welche beliebig große Mengen Flüssigkeit aus dem Behälter gefördert werden können und gleichzeitig der Materialaufwand, das Gewicht und die Kosten für den Behälter und dessen Entsorgung oder dessen Recycling reduziert werden können, sowie eine Berührung der Flüssigkeit im Behälter mit Luft oder anderen Gasen vermieden werden kann.
Diese Aufgabe wird gemäß der Erfindung durch die kennzeichnenden Merkmale von Anspruch 1 gelöst.
Weitere Merkmale der Erfindung sind in den Unteransprüchen enthalten.
Die Wände des Behälters sind derart ausgebildet, daß sie durch die Saugkraft der Saugpumpe, welche zur Förderung der Flüssigkeit erforderlich ist, verbiegbar und dabei gegeneinander bewegbar sind, ohne daß die Saugkraft der Saugpumpe wesentlich höher zu sein braucht als für das Absaugen der Flüssigkeit aus einem offenen Behälter.
Zu diesem Zweck können die Behälterwände forminstabil sein, wobei sie keine oder nur eine so geringe Biegesteifigkeit haben, daß sie leicht biegsam sind und selbständig nicht aufrecht stehen könnten, ohne umzubiegen, abzuknicken oder in sich zusammenzufalten.
Gemäß einer anderen bevorzugten Ausführungsform sind die Wände des Behälters zwar formstabil, jedoch bereits durch eine geringe Saugkraft der Saugpumpe plastisch verformbar. Dies bedeutet, daß die Behälterwände nach der plastischen Verformung, wenn die Verformungskräfte nachlassen, ihre verformte Gestalt beibehalten.
Bevorzugte Anwendungsgebiete der Erfindung sind Leimmaschinen, Beschichtungsmaschinen und Druckmaschinen. In Leimmaschinen und Beschichtungsmaschinen wird die Flüssigkeit auf einen Träger in Form von fertigem Papier oder Folie aufgebracht, wobei die Folie aus Metall, Kunststoff oder Kork oder einem anderen Material bestehen kann.
Gemäß einem anderen Anwendungsgebiet der Erfindung ist die Flüssigkeit eine Befeuchtungsflüssigkeit, z.B. Wasser, zum Befeuchten von fertigem Papier, damit es anschließend leichter gefaltet oder gefalzt werden kann in einem Falzapparat, ohne daß das Papier reißt.
Ferner ist die Erfindung für Offset-Druckmaschinen verwendbar, um flüssiges Zusatzmittel aus einem kollabierbaren Behälter einem Mischbehälter zuzuführen, in welchem das Zusatzmittel mit Wasser und Alkohol oder Alkoholersatzstoff vermischt wird zur Bildung von Feuchtwasser, welches einem Druckplattenzylinder zur Bildung von farbabstoßenden Bereichen zugeführt wird. Das Feuchtwasser kann auch Zylindern oder Rollen der Druckmaschine zugeführt werden, beispielsweise Papierleitwalzen und Kühlwalzen, um Verschmutzungen, z.B. auch Ablagerung von Druckfarbe, zu verhindern oder zu entfernen.
Die Erfindung wird im folgenden mit Bezug auf die Zeichnungen anhand von bevorzugten Ausführungsformen als Beispiele beschrieben. In den Zeichnungen zeigen
Fig. 1
schematisch eine Flüssigkeits-Versorgungsvorrichtung nach der Erfindung in verkleinertem Maßstab,
Fig. 2
ein vergrößertes Detail von Fig. 1 im Querschnitt gezeichnet,
Fig. 3
die Flüssigkeits-Versorgungsvorrichtung nach den Figuren 1 und 2 in Anwendung auf eine Leimmaschine.
Fig 1 zeigt einen durch die Saugkraft einer Saugpumpe 20 kollabierbaren Behälter 4 in einem ihn seitlich stützenden Außenbehälter 6 aus nicht-kollabierbarem steifen Material.
Der kollabierbare Behälter 4 hat oben einen Hals 8 mit einem Gewinde, an welchem mittels einer Gewindehülse 10 das Ende 12 einer Fluidleitung 14 luftdicht anschließbar ist, deren anderes Ende 16 an die Saugseite 18 einer Saugpumpe 20 anschließbar ist.
Die Druckseite 22 der Saugpumpe 20 ist über eine weitere Fluidleitung 24 mit einer Maschine 26 verbunden, welcher von der Saugpumpe 20 Flüssigkeit aus dem Behälter 4 zuführbar ist.
Der Behälter 4 ist derart kollabierbar ausgebildet, daß er durch den unteratmosphärischen Druck der Saugpumpe 20 leicht kollabierbar ist und korrespondierend zu der aus ihm abgesaugten Flüssigkeitsmenge kollabiert und der Saugkraft der Saugpumpe 20 nur einen sehr geringen Widerstand bietet.
Die Wände der Behälter 4 können sehr form-instabil sein, so daß sie keine oder nur eine geringe Biegesteifigkeit haben und selbständig nicht aufrecht stehen könnten, ohne umzubiegen, abzuknicken oder in sich zusammenzufalten.
Gemäß anderer Ausführungsform der Erfindung sind die Wände des Behälters 4 zwar formstabil, jedoch mit extrem geringer Kraft, welche durch die Förder-Saugkraft der Saugpumpe 20 aufgebracht wird, leicht plastisch verformbar. Diese leichte plastische Verformbarkeit hat zur Folge, daß bei Nachlassen der Saugkraft der Saugpumpe 20 der Behälter 4 seine verformte Form beibehält.
Für beide Ausführungsformen ist es vorteilhaft, den Behälter 4 in einem formstabilen Außenbehälter 6 unterzubringen, von dessen Seitenwänden er auf alten Seiten abgestützt wird. Der Außenbehälter 6 erleichtert nicht nur den Transport des forminstabilen Behälters 4, sondern verhindert auch Beschädigungen an ihm.
Gemäß bevorzugter Ausführungsform der Erfindung besteht der Behälter 4 aus flexiblem Kunststoff oder Gummi. Solche Behälter sind auf einfache Weise und preiswert sehr dünnwandig herstellbar, z.B. indem von einem folienartig dünnen Kunststoffschlauch Schlauchabschnitte abgeschnitten und an ihren beiden Enden zugeschweißt werden. Während des Schweißvorganges kann gleichzeitig am einen Schlauchende ein Leitungsanschluß gebildet werden, welcher in den Figuren 1, 2 und 3 in Form des Halses 8 symbolisch dargestellt ist.
Das an den Behälter 4 anzuschließende Ende 12 der Saug-Fluidleitung 14 kann als Stechrohr 28 ausgebildet oder mit einem solchen Stechrohr 28 versehen sein zum Durchstechen eines Behälterverschlusses 30 am Hals 8. Der Behälterverschluß 30 kann eine auf den Hals 8 aufgeschweißte Folie oder durch den Behälter 4 selbst gebildet sein. Das Stechrohr 28 kann ohne die Gewindehülse 10 verwendet werden oder so ausgebildet sein, daß sie beim Anschrauben der Gewindehülse 10 an den Hals 8 durch den Behälterverschluß 30 automatisch hindurchgesteckt wird.
Anstelle eines Stechrohres 28 kann das an den Behälter 4 anzuschließende Ende der Saug-Fluidleitung 14 ein Stechelement in Form einer messerartigen oder nadelartigen Spitze aufweisen, welche keine Flüssigkeits-Durchgangsöffnung hat. In diesem Falle muß nicht nur dieses Stechelement, sondern auch das Ende 12 der Saug-Fluidleitung 14 in den Hals 8 oder mindestens durch die Gewindehülse 10 hindurchragen oder daran fluidmäßig angeschlossen sein.
Der Behälter 4 braucht keinen Hals 8 zu haben, sondern der durch den Hals 8 gebildete Leitungsanschluß des Behälters 4 kann auch durch eine flache oder andersartig geformte Behälterwand des Behälters 4 gebildet sein, was die Deckwand, eine Bodenwand oder eine Seitenwand des Behälters 4 sein kann.
Die Maschine 26 kann von jeder der genannten Arten sein.
Figur 3 zeigt als Beispiel eine Leimmaschine 26, in welcher Leim aus dem Behälter 4 auf eine oder beide Bahnen 32 und 34, z.B. Papierbahnen, aufgebracht wird, die durch den Leim miteinander verklebt werden. Leimmaschinen und auch die anderen Arten von Maschinen sind in der Praxis bekannt und werden daher nicht im einzelnen beschrieben.
Der Behälter 4 ist derart ausgebildet, daß er ungefähr korrespondierend zu der durch die Saugpumpe 20 aus ihm abgesaugten Flüssigkeitsmenge fortlaufend kollabiert. Das Kollabieren des Behälters 4 folgt im wesentlichen kontinuierlich der Flüssigkeitsentnahme.
Der kollabierbare Behälter 4 hat vorzugsweise die Form eines flexiblen Beutels. Das Fassungsvermögen des kollabierbaren Behälters 4 beträgt mindestens 1 Liter (1 Kubikdezimeter).

Claims (13)

  1. Flüssigkeits-Versorgungsvorrichtung zur Versorgung von Maschinen mit Flüssigkeit aus einem Behälter,
    dadurch gekennzeichnet,
    daß der Behälter (4) ein kollabierbar ausgebildeter Behälter ist, der durch unteratmosphärischen Druck im Behälterinnenraum leicht kollabierbar ist,
    daß die Saugseite (18) einer Saugpumpe (20) an den Behälter angeschlossen oder anschließbar ist, um Flüssigkeit aus dem Behälter zu saugen und zu der betreffenden Maschine zu fördern und gleichzeitig den Behälter (4) durch die Saugkraft der Saugpumpe zu kollabieren korrepondierend zu der abgesaugten Flüssigkeitsmenge.
  2. Flüssigkeits-Versorgungsvorrichtung nach Anspruch 1,
    dadurch gekennzeichnet,
    daß mindestens eine Wand des Behälters (4), was eine Seiten-, Boden- und/oder Deckwand sein kann, forminstabil ist, wobei die Wand keine oder nur eine so geringe Biegesteifigkeit hat, daß sie leicht biegsam ist und nicht selbständig aufrecht stehen kann, ohne umzubiegen, abzuknicken oder in sich zusammenzufalten.
  3. Flüssigkeits-Versorgungsvorrichtung nach Anspruch 1,
    dadurch gekennzeichnet,
    daß der kollabierbare Behälter (4) mindestens eine, durch das Vakuum der Saugpumpe (20) leicht plastisch verformbare Wand hat, was eine Seiten-, Boden- und/oder Deckwand sein kann, welche keine wesentlichen Verformungs-Rückstellkräfte aufweist, so daß sie bei Reduzierung der Saugkraft der Pumpe ihre durch diese Saugkraft erzeugte Verformung im wesentlichen beibehält.
  4. Flüssigkeits-Versorgungsvorrichtung nach einem der vorhergehenden Ansprüche,
    dadurch gekennzeichnet,
    daß die Druckseite (22) der Saugpumpe (20) mit einer Leimauftragsmaschine (26) verbunden oder verbindbar ist und daß die im kollabierbaren Behälter (4) gespeicherte Flüssigkeit Leim ist.
  5. Flüssigkeits-Versorgungsvorrichtung nach einem der Ansprüche 1 bis 3,
    dadurch gekennzeichnet,
    daß die Druckseite (22) der Saugpumpe (20) mit einer Falzhilfevorrichtung zur Befeuchtung einer Papierbahn vor einem Papierbahn-Falzapparat verbunden oder verbindbar ist und daß die im kollabierbaren Behälter (4) gespeicherte Flüssigkeit Wasser oder eine Mischung aus Wasser und mindestens einem Zusatzmittel ist.
  6. Flüssigkeits-Versorgungsvorrichtung nach einem der Ansprüche 1 bis 3,
    dadurch gekennzeichnet,
    daß die Maschine (26) eine Beschichtungsmaschine zum Beschichten von Papier oder Folie, welche aus einem anderen Material als das Papier besteht, ist, und daß die im kollabierbaren Behälter (4) gespeicherte Flüssigkeit Beschichtungsflüssigkeit ist.
  7. Flüssigkeits-Versorgungsvorrichtung nach einem der Ansprüche 1 bis 3,
    dadurch gekennzeichnet,
    daß die Maschine eine Offset-Druckmaschine ist und daß die im kollabierbaren Behälter (4) gespeicherte Flüssigkeit ein flüssiges Zusatzmittel zur Zubereitung von Offsetdruck-Feuchtwasser ist.
  8. Flüssigkeits-Versorgungsvorrichtung nach einem der Ansprüche 1 bis 3,
    dadurch gekennzeichnet,
    daß die Maschine eine Maschine zum Befeuchten von Papier ist, um das Papier leichter biegbar und faltbar zu machen, ohne daß es reißt.
  9. Flüssigkeits-Versorgungsvorrichtung nach einem der vorhergehenden Ansprüche,
    dadurch gekennzeichnet,
    daß der kollabierbare Behälter (4) aus Kunststoff oder Gummi besteht.
  10. Flüssigkeits-Versorgungsvorrichtung nach einem der vorhergehenden Ansprüche,
    dadurch gekennzeichnet,
    daß der kollabierbare Behälter ein Fassungsvermögen von mindestens einem Liter hat.
  11. Flüssigkeits-Versorgungsvorrichtung nach einem der vorhergehenden Ansprüche,
    dadurch gekennzeichnet,
    daß der kollabierbare Behälter ein flexibler Beutel ist.
  12. Flüssigkeits-Versorgungsvorrichtung nach einem der vorhergehenden Ansprüche,
    dadurch gekennzeichnet,
    daß der mit Flüssigkeit gefüllte kollabierbare Behälter (4) in einem formstabilen Außenbehälter (6) angeordnet ist, von dessen formstabilen Behälterwänden er in einer vorbestimmten Position gehalten wird.
  13. Verwendung eines kollabierbar ausgebildeten Behälters (4) zur luftdichten Speicherung von Flüssigkeit zur Behandlung von fertigem Papier, wobei der Behälter durch Saugkraft einer die Flüssigkeit absaugenden Saugpumpe in dem Maße kollabierbar ist, wie die Flüssigkeit abgesaugt wird, und dabei das Innenraum-Volumen des Behälters in dem Masse verkleinerbar ist, wie Flüssigkeitsvolumen abgesaugt wird.
EP00107815A 1999-06-29 2000-04-12 Flüssigkeits-Versorgungsvorrichtung Withdrawn EP1065005A3 (de)

Applications Claiming Priority (2)

Application Number Priority Date Filing Date Title
DE19929844A DE19929844A1 (de) 1999-06-29 1999-06-29 Flüssigkeits-Versorgungsvorrichtung
DE19929844 1999-06-29

Publications (2)

Publication Number Publication Date
EP1065005A2 true EP1065005A2 (de) 2001-01-03
EP1065005A3 EP1065005A3 (de) 2004-01-14

Family

ID=7912971

Family Applications (1)

Application Number Title Priority Date Filing Date
EP00107815A Withdrawn EP1065005A3 (de) 1999-06-29 2000-04-12 Flüssigkeits-Versorgungsvorrichtung

Country Status (5)

Country Link
US (1) US6581802B1 (de)
EP (1) EP1065005A3 (de)
JP (1) JP2001030471A (de)
CN (1) CN1290812A (de)
DE (1) DE19929844A1 (de)

Cited By (2)

* Cited by examiner, † Cited by third party
Publication number Priority date Publication date Assignee Title
EP2020433A3 (de) * 2007-07-30 2011-10-05 Xcellerex, Inc. Kontinuierliches Perfusions-Bioreaktorsystem
CN116493195A (zh) * 2023-05-23 2023-07-28 苏州锐智航智能科技有限公司 一种在线式真空灌胶机及其控制方法

Families Citing this family (10)

* Cited by examiner, † Cited by third party
Publication number Priority date Publication date Assignee Title
EP1510262A1 (de) * 2003-08-28 2005-03-02 Robatech AG Verfahren und Vorrichtung zum Bereitstellen und Abgeben eines feuchtigkeitsaushärtenden Klebstoffs
SG153847A1 (en) * 2005-04-25 2009-07-29 Advanced Tech Materials Liner-based liquid storage and dispensing systems with empty detection capability
JP5145335B2 (ja) 2006-06-16 2013-02-13 エクセレレックス インク. 液体を収容するように形成された容器
KR100791004B1 (ko) * 2006-12-01 2008-01-04 삼성전자주식회사 진공 흡착형 피커 및 피킹 방법
FR2926717B1 (fr) * 2008-01-29 2018-03-16 Frederic Bosler Echographe a dispositif distributeur de gel rapporte ou integre a au moins une sonde et utilisation
EP2839075A1 (de) * 2012-04-17 2015-02-25 Voith Patent GmbH Verfahren und vorrichtung zum befeuchten einer faserstoffbahn
CN106175061A (zh) * 2016-09-07 2016-12-07 绵阳晓迪圣点创意科技有限公司 新型气囊式自来水刷漆装置
US20190128257A1 (en) * 2017-10-30 2019-05-02 Newer Commuter, LLC Pump apparatus
CN108097545B (zh) * 2017-12-14 2020-04-10 武汉华星光电半导体显示技术有限公司 应用于柔性基板制作的涂布液供给装置
CN115258413A (zh) * 2022-08-01 2022-11-01 重庆钢铁股份有限公司 一种用于易挥发危险化学药液的存储装置

Family Cites Families (29)

* Cited by examiner, † Cited by third party
Publication number Priority date Publication date Assignee Title
US2618409A (en) * 1949-09-07 1952-11-18 Eisenberger Sidney Liquid container comprising a flexible envelope
US3249031A (en) * 1964-02-07 1966-05-03 Polaroid Corp Photographic apparatus for treating a sheet with a liquid
US3651756A (en) * 1969-08-11 1972-03-28 Roy R Smith Jr Spray dampening system with individual metering pumps for offset press
US3764070A (en) * 1972-07-03 1973-10-09 Didde Glaser Inc Dampening fluid pump and metering apparatus for offset printing press
US4258862A (en) * 1979-06-26 1981-03-31 Ivar Thorsheim Liquid dispenser
US4484697A (en) * 1980-08-27 1984-11-27 Shasta Beverages, Inc. Method and apparatus for dispensing liquid
DE8226904U1 (de) * 1982-09-24 1983-01-05 Elbatainer Kunststoff- Und Verpackungsgesellschaft Mbh, 7505 Ettlingen Entleervorrichtung fuer elastische kunststoffbehaelter
US4467941A (en) * 1982-09-30 1984-08-28 Du Benjamin R Apparatus and method for dispensing beverage syrup
DE3544244A1 (de) * 1985-12-14 1987-06-25 Minnesota Mining & Mfg Vorrichtung zum entnehmen von fuellgut aus beuteln
US5025722A (en) * 1990-01-22 1991-06-25 Ryco Graphic Manufacturing, Inc. Adjustable spray dampening system
JP2504596Y2 (ja) * 1990-01-26 1996-07-10 富士写真フイルム株式会社 湿し水自動補充装置
DE4016460A1 (de) * 1990-05-22 1991-11-28 Schotten & Hansen Gmbh Geraet zum einpressen von dickfluessigen materialien wie leim in fugen und haarrisse von werkstoffen
US5368817A (en) * 1992-07-08 1994-11-29 Toppan Printing, Co., Ltd. Dampening water controller
US5264899A (en) * 1992-10-21 1993-11-23 Xerox Corporation Sheet moisture replacement system using porous rolls
DE4301410A1 (de) * 1993-01-20 1994-07-21 Baldwin Gegenheimer Gmbh Druckmaschinen-Reinigungsvorrichtung
US5368195A (en) * 1993-05-13 1994-11-29 Pleet; Lawrence Pressurized bag-in-bottle liquid dispensing system
DE4416089A1 (de) * 1994-04-20 1995-10-26 Schenk Helga Anordnung zum Dispensieren von hochviskosen Flüssigkeiten
US5605251A (en) * 1994-12-07 1997-02-25 Quick Tools, Llc Pulseless pump apparatus
DE19503234A1 (de) * 1995-02-02 1996-08-08 Gerd Rudi Mueller Vorrichtung zur Bevorratung von Flüssigkeiten
JPH08216360A (ja) * 1995-02-09 1996-08-27 Nagano Japan Radio Co オフセット印刷機
DE29503535U1 (de) * 1995-03-03 1995-05-24 MAN Roland Druckmaschinen AG, 63075 Offenbach Feuchtwerkkasten in einem Feuchtwerk einer Offset-Druckmaschine
US5826514A (en) * 1995-10-19 1998-10-27 Technicas Especiales De Oxigenacion, S.L. Introduced in wetting systems for offset printing and a mechanism for their application
DE29623705U1 (de) * 1996-03-27 1999-04-08 Corob S.p.A., Medolla, Modena System zum Konservieren, Transportieren und Verteilen von Farbstoffen sowie eine Vorrichtung zum Verteilen in einem solchen System
DE29706932U1 (de) * 1997-04-17 1997-06-05 MAN Roland Druckmaschinen AG, 63075 Offenbach Feuchtwerk für eine Offsetdruckmaschine
GB2331065B (en) * 1997-11-10 2002-01-16 Gr Advanced Materials Ltd Dispensing container for highly viscous liquids
DE19806869A1 (de) * 1998-02-19 1999-08-26 Focke & Co Vorrichtung zum Auftragen von Leim
DE19921628B4 (de) * 1998-06-04 2005-12-29 Heidelberger Druckmaschinen Ag Verfahren zum Dosieren von Feuchtmittel beim Drucken mit einer Druckform für Offsetdruck
US6053360A (en) * 1998-07-01 2000-04-25 Packaging Systems, Inc. Fitment for a flexible container
US6152032A (en) * 1998-11-05 2000-11-28 Heidelberger Druckmaschinen Ag Mist containment system for a spray dampener system

Non-Patent Citations (1)

* Cited by examiner, † Cited by third party
Title
None

Cited By (5)

* Cited by examiner, † Cited by third party
Publication number Priority date Publication date Assignee Title
EP2020433A3 (de) * 2007-07-30 2011-10-05 Xcellerex, Inc. Kontinuierliches Perfusions-Bioreaktorsystem
US9109193B2 (en) 2007-07-30 2015-08-18 Ge Healthcare Bio-Sciences Corp. Continuous perfusion bioreactor system
US11834643B2 (en) 2007-07-30 2023-12-05 Global Life Sciences Usa Llc Continuous perfusion bioreactor system
CN116493195A (zh) * 2023-05-23 2023-07-28 苏州锐智航智能科技有限公司 一种在线式真空灌胶机及其控制方法
CN116493195B (zh) * 2023-05-23 2023-11-28 苏州锐智航智能科技有限公司 一种在线式真空灌胶机及其控制方法

Also Published As

Publication number Publication date
US6581802B1 (en) 2003-06-24
EP1065005A3 (de) 2004-01-14
JP2001030471A (ja) 2001-02-06
CN1290812A (zh) 2001-04-11
DE19929844A1 (de) 2001-01-04

Similar Documents

Publication Publication Date Title
EP1065005A2 (de) Flüssigkeits-Versorgungsvorrichtung
DE3314289C2 (de) Verfahren zum Umwickeln eines sich drehenden Ballens aus Wickelmaterial, insbesondere aus einer kaschierten Mineralfaserbahn, mit einer Schutzbahn zur Verpackung, sowie Vorrichtung zur Durchführung des Verfahrens
DD245595A5 (de) Vorrichtung zum aufbringen eines fluessigen beschichtungsmaterials auf die flaeche eines bogenteiles
WO2000078657A1 (de) Verfahren und vorrichtung zum wechseln von paletten für bogenstapel
DE3132223A1 (de) Feuchtwerk fuer eine druckpresse
DE1753634A1 (de) Kunststoff-Kreuzbodensack und Verfahren sowie Vorrichtung zu seiner Herstellung
DE19705006C2 (de) Vorrichtung zum Zuführen und Absaugen von Farbe in Druckmaschinen
WO2003057577A1 (de) Verfahren zum herstellen eines kombi-verpackungsbehälters sowie vorrichtung zur durchführung des verfahrens
WO2004080255B1 (de) Papierspender zur wahlweisen abgabe von flüssigkeitsgetränktem oder trockenem papier
EP2456568A1 (de) Unterbindung von leimablagerungen an einer düsenplatte
DE102007018730B4 (de) Verfahren und Vorrichtung zum Auftragen von Leim auf Bestandteile von Werkstücken zur Herstellung von Säcken und Beuteln
DE3119109C2 (de) Vorrichtung zum Wechseln von Vorratsrollen in einer Etikettiermaschine
EP3851271A1 (de) Verfahren und vorrichtung zur herstellung einzelner schlauchstücke sowie schlauchstücke und säcke
DE2633831B1 (de) Sauger zum Anheben von biegsamen Gegenstaenden mit flacher Oberflaeche,insbesondere Bogen aus Papier oder Folie
EP0372253A2 (de) Reinigungsvorrichtung für einen Druckmaschinengegendruckzylinder
EP2498984B1 (de) Bodendeckblattaggregat für randlose beleimung
DE2942734C2 (de) Farbwerk für Offset-Rotationsdruckmaschinen mit einer Farbrückführvorrichtung
EP1125740B1 (de) Verfahren und Anordnung zum Reinigen von Leitwalzen einer Rollendruckmachine
DE1761908A1 (de) Feuchtwerk fuer Druckmaschinen
DE10255485B4 (de) Leimwerk für eine Bodenlegevorrichtung
DE102006030119B4 (de) Verfahren und Vorrichtung zur Bearbeitung einer Endlosbahn aus flexiblem Material
DE1946081B2 (de) Abgabebehaelter fuer eine insbesondere der analhygiene dienende, angefeuchtete stoffbahn
DE4042169A1 (de) Einrichtung zum handhaben von teilen
DE2609498C3 (de) Verfahren zum Einbringen eines Dichtstoffstranges in eine Haltenut einer Abdichtungsprofilleiste und Vorrichtung zur Durchführung des Verfahrens
DD202517A5 (de) Vorrichtung zum lithographischen drucken oder zum tiefdruck

Legal Events

Date Code Title Description
PUAI Public reference made under article 153(3) epc to a published international application that has entered the european phase

Free format text: ORIGINAL CODE: 0009012

AK Designated contracting states

Kind code of ref document: A2

Designated state(s): AT BE CH CY DE DK ES FI FR GB GR IE IT LI LU MC NL PT SE

AX Request for extension of the european patent

Free format text: AL;LT;LV;MK;RO;SI

17P Request for examination filed

Effective date: 20010331

RAP1 Party data changed (applicant data changed or rights of an application transferred)

Owner name: BALDWIN GERMANY GMBH

PUAL Search report despatched

Free format text: ORIGINAL CODE: 0009013

STAA Information on the status of an ep patent application or granted ep patent

Free format text: STATUS: THE APPLICATION HAS BEEN WITHDRAWN

AK Designated contracting states

Kind code of ref document: A3

Designated state(s): AT BE CH CY DE DK ES FI FR GB GR IE IT LI LU MC NL PT SE

AX Request for extension of the european patent

Extension state: AL LT LV MK RO SI

18W Application withdrawn

Effective date: 20031217