EP0928845A2 - Vorrichtung zum direkten oder indirekten Auftragen eines flüssigen oder pastösen Auftragsmediums auf eine laufende Materialbahn, insbesondere aus Papier oder Karton - Google Patents

Vorrichtung zum direkten oder indirekten Auftragen eines flüssigen oder pastösen Auftragsmediums auf eine laufende Materialbahn, insbesondere aus Papier oder Karton Download PDF

Info

Publication number
EP0928845A2
EP0928845A2 EP99100508A EP99100508A EP0928845A2 EP 0928845 A2 EP0928845 A2 EP 0928845A2 EP 99100508 A EP99100508 A EP 99100508A EP 99100508 A EP99100508 A EP 99100508A EP 0928845 A2 EP0928845 A2 EP 0928845A2
Authority
EP
European Patent Office
Prior art keywords
application
material web
steam
moistening
point
Prior art date
Legal status (The legal status is an assumption and is not a legal conclusion. Google has not performed a legal analysis and makes no representation as to the accuracy of the status listed.)
Withdrawn
Application number
EP99100508A
Other languages
English (en)
French (fr)
Other versions
EP0928845A3 (de
Inventor
Harald Hess
Rüdiger Dr. Kurtz
Benjamin Dr. Mendéz-Gallon
Current Assignee (The listed assignees may be inaccurate. Google has not performed a legal analysis and makes no representation or warranty as to the accuracy of the list.)
Voith Patent GmbH
Original Assignee
Voith Paper Patent GmbH
Voith Sulzer Papiertechnik Patent GmbH
Priority date (The priority date is an assumption and is not a legal conclusion. Google has not performed a legal analysis and makes no representation as to the accuracy of the date listed.)
Filing date
Publication date
Application filed by Voith Paper Patent GmbH, Voith Sulzer Papiertechnik Patent GmbH filed Critical Voith Paper Patent GmbH
Publication of EP0928845A2 publication Critical patent/EP0928845A2/de
Publication of EP0928845A3 publication Critical patent/EP0928845A3/de
Withdrawn legal-status Critical Current

Links

Images

Classifications

    • DTEXTILES; PAPER
    • D21PAPER-MAKING; PRODUCTION OF CELLULOSE
    • D21HPULP COMPOSITIONS; PREPARATION THEREOF NOT COVERED BY SUBCLASSES D21C OR D21D; IMPREGNATING OR COATING OF PAPER; TREATMENT OF FINISHED PAPER NOT COVERED BY CLASS B31 OR SUBCLASS D21G; PAPER NOT OTHERWISE PROVIDED FOR
    • D21H25/00After-treatment of paper not provided for in groups D21H17/00 - D21H23/00
    • D21H25/04Physical treatment, e.g. heating, irradiating
    • D21H25/06Physical treatment, e.g. heating, irradiating of impregnated or coated paper
    • YGENERAL TAGGING OF NEW TECHNOLOGICAL DEVELOPMENTS; GENERAL TAGGING OF CROSS-SECTIONAL TECHNOLOGIES SPANNING OVER SEVERAL SECTIONS OF THE IPC; TECHNICAL SUBJECTS COVERED BY FORMER USPC CROSS-REFERENCE ART COLLECTIONS [XRACs] AND DIGESTS
    • Y10TECHNICAL SUBJECTS COVERED BY FORMER USPC
    • Y10STECHNICAL SUBJECTS COVERED BY FORMER USPC CROSS-REFERENCE ART COLLECTIONS [XRACs] AND DIGESTS
    • Y10S118/00Coating apparatus
    • Y10S118/07Hoods

Definitions

  • the invention relates to a device for direct or indirect application a liquid or pasty application medium on a running material web, in particular made of paper or cardboard, a commissioned work being provided, which, in the case of direct application, the order medium at an order point applies directly to the material web as an application layer or in the case of indirect First apply the order medium to an order element, e.g. an application roller, which then applies the application medium at the application point transfers to the material web as an application layer, and wherein in Direction of the material web behind the application point a drying device is provided for drying the application layer.
  • an order element e.g. an application roller
  • the process of applying the application medium by the application device The running material web is usually used by a whole series of Interfering effects.
  • air currents adversely affect the order result.
  • These air currents stir particularly at high running speeds Material web from the air boundary layer carried or entrained by the material web on their surface.
  • It also adversely affects Order result if the absorption capacity of the to be coated Material web in its longitudinal or running direction or in its transverse direction varies.
  • the suction capacity of the material web is addressed here, which among other things is responsible for how fast the order medium drained into the material web.
  • it is disadvantageous if it is due to the given physical properties, e.g.
  • This task is carried out in an application device of the type mentioned solved according to the invention in that in the running direction of the material web before the Drying device a device for moistening and / or heating the Material web or / and the application medium or the application layer provided is.
  • An advantage of the solution according to the invention can be seen in the fact that Application medium dries more slowly and also reduces its viscoelasticity becomes. As a result, the application medium remains free-flowing for a longer time, so that application thickness differences and irregularities in the surface structure of the Application layer can melt. Overall, this results in an automatic Equalization of the order shift.
  • the humidification and / or heating can in this case, for example, by means of steam, preferably water vapor, which generated in the area of the application device by evaporation of a liquid or / and generated outside of the application device and in the area of Application device is fed. Additionally or alternatively, the Moistening however also preferably by spraying a liquid Water. In addition to a certain dilution of the application medium also the heating of the application medium, which can preferably be achieved with hot steam a viscosity reduction, which leads to a better flow of the application medium.
  • water be it in the form of water vapor or in the form a water spray has the advantage that it is ensured that the applied water removed in the subsequent drying device and therefore the composition of the application layer cannot is affected.
  • the humidification and / or heating device provided according to the invention can be at one or more of the points discussed below be arranged:
  • the moistening and / or heating device in the running direction the material web be arranged immediately in front of the job. When doing so, it emits the steam or spray towards the application point material web and application medium can be moistened at the same time become.
  • the moistening of the material web reduces variations of their absorbency and thus ensures a more uniform drainage of the Application medium in the material web.
  • Humidification and / or heating of the application medium lowers its surface tension or reduces it Viscosity and thus even out the wetting of the material web with the Application medium or increases the uniformity of the layer to be applied even before the transfer to the material web.
  • the influence the air boundary layer which is particularly reduced at high running speeds the material web is carried or carried along by this and that Order result affected.
  • the humidifying and / or heating device arranged in front of the application device can include, for example, a steam supply line which in the area of the application device, at least on the application site facing side has at least one steam outlet opening.
  • a steam supply line which in the area of the application device, at least on the application site facing side has at least one steam outlet opening.
  • the steam outlet forming wall sections of the steam supply line or Steam outlet opening downstream wall sections nozzle-like, preferably tapering in the steam flow direction are also proposed.
  • This steam outlet nozzle allows steam to enter the application gap, for example be blown in excess so that at least part of the blown Steam the application area along the web surface, however leaves again in the opposite direction.
  • the humidification and / or heating device in the running direction the material web can be provided behind the order point.
  • it can be between the order agent and one of the order agents device downstream in the direction of travel of the material web Equalization or / and metering of the application layer can be provided.
  • the moistening and / or heating device in the direction of travel the material web behind one downstream of the order point Device for leveling and / or dosing the application layer is provided is.
  • the Humidification or / and heating device When the humidification and / or heating device is arranged in the running direction the material web behind the job, it is preferred if the Humidification or / and heating device the steam or the spray emits essentially orthogonal to the surface of the material web, since an effective moistening of the surface of the application layer can be achieved. In addition, the kinetic energy of the steam itself can Equalization can be exploited.
  • the humidification and / or heating device can be a Steam supply line, which in its facing the material web Wall section has at least one steam outlet opening.
  • the humidification or / and heating device according to the invention offers in addition, the possibility that transverse and / or the longitudinal profile of the application layer to influence.
  • a plurality of consecutively in the transverse direction of the web arranged steam or spray discharge sections is provided, which in terms of the amount of steam they emit per unit of time or spray can be controlled independently.
  • a suction device can be provided for the condensation of the vapor or the accumulation of the spray droplets prevent in areas other than the desired areas of the application device. Because the trend will exist that the web of steam or the spray at their Movement entrains, it is proposed that the suction device in the running direction the material web behind the moistening and / or heating device is arranged. In the case of the one discussed above, arranged in front of the order point Humidification or / and heating device can suction also in the direction of travel of the material web in front of the moistening and / or heating device be arranged.
  • the humidification and / or heating device based on the direction of travel of the material web in front of the job at a distance of this is arranged. Treatment by humidification or warming can be useful long before the order point, be it that the constructive circumstances of the commissioned work require this, or be it that an indirect application method is chosen, in which a smooth and uniform stroke order on the order element the stroke result of Material web can be significantly influenced. It is therefore suggested that the humidifying and / or heating device with indirect application is arranged in the area of the order element. The humidification or / and the heating device can be arranged in the region of a point at which the application medium is applied to the application element.
  • doctor rods for use. Good results have been achieved if initially only the doctor rod is moistened or heated and that Application medium only indirectly over the humidified or heated Doctor rod is moistened or heated. It is therefore proposed that the Application work at least one doctor rod for dosing and / or leveling the applied to the order element or the material web includes and that the humidifying and / or heating device the Doctor rod in at least one of its engagement with the application element or the material web distant peripheral area moistened and / or heated.
  • the doctor rod is usually in substantially the entire length thereof stored in a doctor bed.
  • a structurally simple solution for humidification or Heating of the doctor rod then consists in that this is via a channel system is moistenable and / or heated, which runs in the doctor bed and to a storage area for the doctor rod is open.
  • a channel system is moistenable and / or heated, which runs in the doctor bed and to a storage area for the doctor rod is open.
  • flushing channels can be used in a simple manner, as in conventional doctor beds often already exist.
  • the invention also relates to a method for direct or indirect application of a liquid or pasty application medium to a running material web, in particular made of paper or cardboard.
  • a liquid or pasty application medium to a running material web, in particular made of paper or cardboard.
  • An application device according to the invention is generally designated 10 in FIG. 1.
  • the application device 10 is used for the direct application of a liquid or pasty medium 20 on a moving in the direction of arrow L. Material web 16, which in the area of the application device 10 around a counter roller 12 is led around.
  • the counter roller 12 is in the direction of the arrow P. their axis A rotated.
  • the application device 10 comprises an application unit 18, for example a Free jet nozzle applicator, which is the application medium at an application point S usually releases in excess to the material web 16.
  • Free jet nozzle applicators are known per se. Therefore, regarding their structure and their function are referred to the state of the art.
  • Application units are used, for example "curtain coating” or “spray coating” application units, to name just a few.
  • doctor device In the running direction L behind the application point S is a leveling or / and dosing device 22 (hereinafter referred to as "doctor device"), which has a doctor blade 22b held on a doctor bar 22a.
  • doctor blade 22b is set against the material web 16 or the application layer 24, the contact pressure or the contact force by means of an adjusting device 22c can be changed.
  • Such doctor devices are in the state known in the art and will therefore not be explained in more detail here.
  • Drying device 26 In the running direction L of the material web 16 behind the doctor device 22 is one Drying device 26 is provided, which the material web 16 and the application layer 24 at least partially removes the moisture contained in it.
  • drying devices known per se be again referred to the state of the art.
  • an application device 10 according to FIG first humidification or / and heating device 30 may be provided, which arranged in the running direction L of the material web 16 in front of the application point S. is, can also between the order point S and the doctor device 22 second humidification or / and heating device 32 may be provided, and can finally between the doctor device 22 and the drying device 26, a third humidification and / or heating device 34 is provided be.
  • the invention not always all three humidification and / or heating devices 30, 32 and 34 must be present, but that the invention also refers to application devices in which only any or any two of these three humidification and / or heating devices 30, 32, 34 is or are provided.
  • all three are moistening and / or Heating devices 30, 32, 34 designed as vapor deposition devices, which to the material web 16 or the application medium 20 or the application layer 24 Steam, preferably water vapor. It can advantageously saturated or superheated steam can be used.
  • the humidifying or / and heating device 30 comprises a steam feed pipe 36, which on its wall side facing the order point S. Has steam outlet openings 36a. At these steam outlet openings 36a closes a nozzle body tapering towards the application point S. 36b, which preferably reaches right up to the order point S.
  • the steam from the humidification and / or heating device is preferred 30 in such an amount to the area in front of the order point S given that at least part of this vapor leaves this area again, in a direction opposite to the running direction L of the material web 16 Flow, which is indicated in Fig. 1 by the arrows 36c. This allows the air boundary layer entrained by the material web 16 are prevented from to get to order point S and there affect the order result.
  • the humidifying and / or heating device 30 only releases the steam to the application medium 20 while a separate humidification and / or heating device 31 only to the Material web 16 emits steam.
  • the dampening arranged between the application point S and the doctor device 22 or / and heater 32 includes a feed section 32a and a distribution section 32b.
  • the wall facing the material web 16 the distribution section 32b includes a plurality of steam outlets 32c from which the steam of the material web 16 or the application layer 24 is supplied essentially orthogonally, which in Fig. 1 by five small Arrows is indicated.
  • the humidifying or / and heating device 32 is in terms of a simple and inexpensive structure preferably carried out as a sheet metal construction.
  • a similar structure to the humidifier and / or heating device 32 also has the humidifying and / or heating device 34, which arranged between the doctor device 22 and the drying device 26 is. Steam is fed into a distribution section 34b via a feed line 34a from which the steam is introduced through steam outlet openings 34c of the application layer 24 is supplied essentially orthogonally.
  • the humidification or / and heating device 34 is advantageously as a sheet metal construction built up.
  • the steam fed to the material web 16 or the application layer 24 becomes insofar as it is not absorbed by them, by moving in the direction of travel L entrained and leaves the area of the respective humidification or / and Heating device.
  • humidification and / or the heating device 30 counteracts an outflow of the steam the running direction L is even desirable.
  • the escaping steam can turn on cool spots of the application device 10 or other parts of the overall system precipitate and lead to undesirable condensation.
  • Humidification or / and heating devices 30, 31, 32, 34 steam suction devices be assigned.
  • the sheet metal box construction the humidifying and / or heating device 34 a suction section 34d, which directly in the running direction L of the material web 16 the distribution section 34b follows.
  • the extracted steam can come from the suction section 34d are discharged via a suction line 34e, to which, if desired a blower can be connected.
  • Humidification or / and heating device 32 can be the suction device in a structurally particularly simple manner from the collecting device 22d Doctor device 22 are formed. Either you take a dilution of the scraped application medium through the condensate in buying what can be tolerated in particular because of the doctor blade Application medium in comparison with the application medium applied to the material web is somewhat thickened because the material web due to its absorbency removes moisture from the application medium applied to them. It However, it is also possible to extend one into the collecting device 22d To provide suction pipe 38, to which in turn a fan 40 is connected can be.
  • a suction device can be assigned if this is shown 1 also omitted for the sake of clarity of the drawing has been. For reasons of space, this suction device is in the running direction L of the material web 16 arranged in front of the devices 30 and 31, respectively be.
  • the application device 110 shown in FIG. 3 is used for bilateral, indirect application of liquid or pasty application medium 120, 120 ' onto a material web 116 moving in the running direction L.
  • the application device 110 comprises two commissioned works 118, 118 ', which the liquid or pasty application medium 120, 120 'on the surface 112a or Apply 112a 'of two application rollers 112, 112'.
  • the application rollers 112, 112 ' form an order gap between them through which the material web 116 runs through.
  • the application rollers 112, 112 ' are about their axes A and A' in the direction of arrows P and P 'driven in such a way that they with the Material web 116 are in essentially non-slip and slip-free engagement.
  • the humidifying and / or heating device 30 of the embodiment 1 give the humidification and / or heating devices 130, 130 'not steam in the direction of the application point S, but a spray of finely chopped liquid droplets.
  • Suitable as a humidification and / or heating device 130 or 130 'suitable Atomizing devices are in turn known in the prior art and are therefore not to be explained in more detail here.
  • each of the devices 30, 31, 32, 34, 130, 130 ', 134, 134' either as a device for generating and / or feeding Steam or as a device for spraying liquid or as one Combination of these types of devices can be formed.
  • Fig. 4 shows a part of an application device 210, which is for indirect Applying liquid or pasty application medium 220 to a non-application medium material web shown serves.
  • the application medium 220 is by means of of an order unit 218 first on a rotating in the arrow direction P.
  • Application or transfer roller 212 applied.
  • a moistening or / and heating device 230 that is on the transfer roller 212 applied application medium 220 moistened and / or heated.
  • the schematic Humidifying and / or heating device 230 shown as a nozzle is on a nip between the transfer roller 212 and one Doctor rod 244 directed, this doctor rod 244 as the layer thickness of the applied medium 220 metering doctor element.
  • the moisturizing or / and heating device 230 is related to the direction of rotation of the Transfer roller 212 arranged after the metering rod 244 and favors this uniform flow of the application medium 220 on the transfer roller 212, so that at the transfer point, not shown, where the order medium is transferred to the material web over the entire width of the transfer roller 212 and the material web as well as in the longitudinal direction of the material web in order relationships are essentially the same.
  • the in the gap between the doctor rod 244 and transfer roller 212 directed nozzle-like Humidification or / and heating device 230 the so-called film splitting effectively prevents parts of the application medium that are on the Transfer roller 212 to be applied, stick to the doctor rod 244 stay.
  • FIG. 5 shows a counter roller 312 rotating in the direction of an arrow P, which is covered on part of its circumference with a material web 316, which is provided with a layer of application medium 320.
  • the painted one Material web 316 passes through a doctor device 322, which with a doctor rod 344 excess portions of the application medium 320 from the material web 316 scrapes off.
  • the doctor rod 344 is rotatable about its rod axis 346 in one Doctor bed 348 stored, essentially over its entire length.
  • the doctor bed 348 has a partially cylindrical bearing surface 350 on which the doctor rod 344 is supported.
  • doctor rod 344 In the bearing surface 350 are along the doctor rod 344 trending channels 352 incorporated, either on their entire Length to the doctor rod 344 are open or distributed along the doctor rod 344 have arranged outlet openings.
  • the channels 352 are part of one Humidifier or / and heater 330, the steam or a Spray liquid through the channels 352 onto the outer surface of the doctor rod 344 applies.
  • the doctor rod 344 rotating in the doctor bed 348 carries the Moisture and / or heat in the area of its contact with the material web 316 where the moisture and / or heat is at least partially due to the Application medium 320 and material web 316 pass over.
  • one in the gap between doctor rod 344 and roller 312nd directional nozzle arrangement can be provided by means of the or spray treatment a moistening and / or heating of the application medium 320 and the material web 316 can be achieved.
  • the channels 352 are often already present in conventional doctor beds and serve as rinsing channels, can be used to implement the embodiment 5 shows a conventional doctor bed essentially without modification be used so that the manufacturing technology and construction Keep effort low.

Landscapes

  • Coating Apparatus (AREA)
  • Application Of Or Painting With Fluid Materials (AREA)
  • Paper (AREA)

Abstract

Eine Vorrichtung (10) zum direkten oder indirekten Auftragen eines flüssigen oder pastösen Auftragsmediums (20) auf eine laufende Materialbahn (16), insbesondere aus Papier oder Karton, umfaßt ein Auftragswerk (18), welches bei direktem Auftragen das Auftragsmedium (20) an einer Auftragsstelle (S) unmittelbar auf die Materialbahn (16) als Auftragsschicht (24) aufbringt bzw. bei indirektem Auftragen das Auftragsmedium zunächst auf ein Auftragselement, bspw. eine Auftragswalze, aufbringt, welches das Auftragsmedium dann an der Auftragsstelle an die Materialbahn als Auftragsschicht überträgt. Ferner ist in Laufrichtung (L) der Materialbahn (1 6) hinter der Auftragsstelle (S) eine Trocknungsvorrichtung (26) zum Trocknen der Auftragsschicht vorgesehen. Bei der erfindungsgemäßen Auftragsvorrichtung ist darüber hinaus in Laufrichtung (L) der Materialbahn (16) vor der Trocknungsvorrichtung (26) eine Vorrichtung (30, 32, 34) zum Befeuchten oder/und Erwärmen der Materialbahn (16) oder/und des Auftragsmediums (20) bzw. der Auftragsschicht (24) vorgesehen. <IMAGE>

Description

Die Erfindung betrifft eine Vorrichtung zum direkten oder indirekten Auftragen eines flüssigen oder pastösen Auftragsmediums auf eine laufende Materialbahn, insbesondere aus Papier oder Karton, wobei ein Auftragswerk vorgesehen ist, welches bei direktem Auftragen das Auftragsmedium an einer Auftragsstelle unmittelbar auf die Materialbahn als Auftragsschicht aufbringt bzw. bei indirektem Auftragen das Auftragsmedium zunächst auf ein Auftragselement, bspw. eine Auftragswalze, aufbringt, welches das Auftragsmedium dann an der Auftragsstelle an die Materialbahn als Auftragsschicht überträgt, und wobei in Laufrichtung der Materialbahn hinter der Auftragsstelle eine Trocknungsvorrichtung zum Trocknen der Auftragsschicht vorgesehen ist.
Derartige Vorrichtungen zum direkten oder indirekten Auftragen sind im Stand der Technik allgemein bekannt. Es sei hier lediglich auf den VOITH SULZER-Artikel "Advances in Coating Equipment" von Herrn Dr. M. Kustermann verwiesen. Dieser Artikel kann unter der Bestellnummer P3008 von der Anmelderin bezogen werden.
Der Vorgang des Auftragens des Auftragsmediums durch die Auftragsvorrichtung auf die laufende Materialbahn wird üblicherweise von einer ganzen Reihe von Störeffekten beeinflußt. Bereits bei der Zufuhr des Auftragsmediums zur Materialbahn können über die Arbeitsbreite der zu beschichtenden Materialbahn ungleichmäßig auftretende Luftströmungen das Auftragsergebnis nachteilig beeinflussen. Diese Luftströmungen rühren insbesondere bei hohen Laufgeschwindigkeiten der Materialbahn von der von der Materialbahn mitgeführten bzw. mitgerissenen Luftgrenzschicht an ihrer Oberfläche her. Ferner wirkt es sich nachteilig auf das Auftragsergebnis aus, wenn das Aufnahmevermögen der zu beschichtenden Materialbahn in deren Längs- oder Laufrichtung bzw. in deren Querrichtung variiert. Insbesondere sei hier das Saugvermögen der Materialbahn angesprochen, welches unter anderem dafür verantwortlich ist, wie schnell das Auftragsmediums in die Materialbahn entwässert. Weiterhin ist es nachteilig, wenn es aufgrund der gegebenen physikalischen Eigenschaften, wie z.B. Oberflächenspannung und Viskoelastizität, zu unerwünschten Strukturen des aufgetragenen Mediums kommt. Bei indirekten Auftragsverfahren kommen noch die beispielsweise von dem sogenannten Filmsplitting-Effekt herrührenden Unregelmäßigkeiten in der Oberflächenstruktur der beschichteten Materialbahn hinzu. Bei direkten Auftragsverfahren, beispielsweise unter Einsatz eines Freistrahl-Düsenauftragswerks mit nachgeordneter Rakeleinrichtung, eines "Sprüh-Coating"-Auftragswerks, eines "Curtain Coating"-Auftragswerks oder dergleichen, können sich Effekte, wie beispielsweise Rakelstreifen, Rilligkeit bei Einsatz profilierter Rakelstäbe, Farbspritzer oder Filmsplitting bei Einsatz glatter Rakelstäbe, Rakelüberkochen (hierunter wird das übermäßige Aufbauen des Auftragsmediums am Ende des Rakelelements verstanden), nachteilig auf das Auftragsergebnis auswirken.
Es ist daher Aufgabe der vorliegenden Erfindung, eine Auftragsvorrichtung der gattungsgemäßen Art derart weiterzubilden, daß der nachteilige Einfluß der vorstehend erläuterten Effekte auf das letztendlich erzielte Auftragsergebnis zumindest gemindert, wenn nicht gar vollständig ausgeschlossen werden kann.
Diese Aufgabe wird bei einer Auftragsvorrichtung der eingangs genannten Art erfindungsgemäß dadurch gelöst, daß in Laufrichtung der Materialbahn vor der Trocknungsvorrichtung eine Vorrichtung zum Befeuchten oder/und Erwärmen der Materialbahn oder/und des Auftragsmediums bzw. der Auftragsschicht vorgesehen ist. Ein Vorteil der erfindungsgemäßen Lösung ist darin zu sehen, daß das Auftragsmedium langsamer trocknet und überdies seine Viskoelastizität reduziert wird. Hierdurch bleibt das Auftragsmedium länger fließfähig, so daß Auftragsdickenunterschiede und Unregelmäßigkeiten in der Oberflächenstruktur der Auftragsschicht zerlaufen können. Insgesamt ergibt sich somit eine selbsttätige Egalisierung der Auftragsschicht. Die Befeuchtung oder/und Erwärmung kann dabei beispielsweise mittels Dampf, vorzugsweise Wasserdampf, erfolgen, der im Bereich der Auftragsvorrichtung durch Verdampfen einer Flüssigkeit erzeugt oder/und außerhalb der Auftragsvorrichtung erzeugt und in den Bereich der Auftragsvorrichtung zugeführt wird. Zusätzlich oder alternativ kann die Befeuchtung allerdings auch durch Versprühen einer Flüssigkeit, vorzugsweise Wasser, erfolgen. Neben einer gewissen Verdünnung des Auftragsmediums hat auch die vorzugsweise mit heißem Dampf erzielbare Erwärmung des Auftragsmediums eine Viskositätserniedrigung zur Folge, welche ein besseres Verfließen des Auftragsmediums nach sich zieht.
Die Verwendung von Wasser, sei es in Form von Wasserdampf oder in Form eines Wassersprühnebels hat dabei den Vorteil, daß sichergestellt ist, daß das aufgebrachte Wasser in der nachfolgenden Trocknungsvorrichtung wieder entfernt werden kann und somit die Zusammensetzung der Auftragsschicht nicht beeinträchtigt wird.
Die erfindungsgemäß vorgesehene Befeuchtungs- oder/und Erwärmungsvorrichtung kann an einer oder mehreren der nachfolgend diskutierten Stellen angeordnet sein:
Beispielsweise kann die Befeuchtungs- oder/und Erwärmungsvorrichtung in Laufrichtung der Materialbahn unmittelbar vor der Auftragsstelle angeordnet sein. Gibt sie dabei den Dampf bzw. den Sprühnebel in Richtung auf die Auftragsstelle hin ab, so können hierdurch Materialbahn und Auftragsmedium gleichzeitig befeuchtet werden. Die Befeuchtung der Materialbahn mindert Variationen von deren Saugfähigkeit und sorgt somit für eine gleichmäßigere Entwässerung des Auftragsmediums in die Materialbahn. Die Befeuchtung oder/und die Erwärmung des Auftragsmediums senkt dessen Oberflächenspannung bzw. reduziert dessen Viskosität und vergleichmäßigt somit die Benetzung der Materialbahn mit dem Auftragsmedium bzw. erhöht die Gleichmäßigkeit der aufzutragenden Schicht bereits vor der Übertragung auf die Materialbahn. Darüber hinaus wird der Einfluß der Luftgrenzschicht gemindert, welche insbesondere bei hohen Laufgeschwindigkeiten der Materialbahn von dieser mitgeführt bzw. mitgerissen wird und das Auftragsergebnis beeinträchtigt.
Die vor der Auftragsvorrichtung angeordnete Befeuchtungs- oder/und Erwärmungsvorrichtung kann beispielsweise eine Dampfzuführleitung umfassen, welche im Bereich der Auftragsvorrichtung zumindest auf ihrer der Auftragsstelle zugewandten Seite wenigstens eine Dampfaustrittsöffnung aufweist. Insbesondere im Hinblick auf die Minderung des Einflusses der von der Materialbahn mitgeführten Luftgrenzschicht wird ferner vorgeschlagen, daß die Dampfaustrittsöffnung bildende Wandungsabschnitte der Dampfzuführleitung bzw. der Dampfaustrittsöffnung in Dampfströmrichtung nachgeordnete Wandungsabschnitte düsenartig, vorzugsweise sich in Dampfströmrichtung verjüngend, ausgebildet sind. Durch diese Dampfaustrittsdüse kann Dampf in den Auftragsspalt beispielsweise im Überschuß eingeblasen werden, so daß zumindest ein Teil des eingeblasenen Dampfes den Auftragsbereich längs der Materialbahnoberfläche, jedoch entgegen deren Laufrichtung wieder verläßt. Es ist jedoch auch möglich gerade soviel Dampf zuzuführen, wie von der Materialbahn oder/und dem Auftragsmedium gerade aufgenommen und somit abgeführt wird.
Weiterhin kann die Befeuchtungs- oder/und Erwärmungsvorrichtung in Laufrichtung der Materialbahn hinter der Auftragsstelle vorgesehen sein. Beispielsweise bei direktem Auftrag kann sie zwischen der Auftragsstelle und einer der Auftragsstelle in Laufrichtung der Materialbahn nachgeordneten Vorrichtung zum Egalisieren oder/und Dosieren der Auftragsschicht vorgesehen sein. Es ist jedoch auch möglich, daß die Befeuchtungs- oder/und Erwärmungsvorrichtung in Laufrichtung der Materialbahn hinter einer der Auftragsstelle nachgeordneten Vorrichtung zum Egalisieren oder/und Dosieren der Auftragsschicht vorgesehen ist.
Bei Anordnung der Befeuchtungs- oder/und Erwärmungsvorrichtung in Laufrichtung der Materialbahn hinter der Auftragsstelle ist es bevorzugt, wenn die Befeuchtungs- oder/und Erwärmungsvorrichtung den Dampf bzw. den Sprühnebel im wesentlichen orthogonal zur Materialbahnoberfläche abgibt, da sich hiermit eine effektive Befeuchtung der Oberfläche der Auftragsschicht erzielen läßt. Darüber hinaus kann die kinetische Energie des Dampfes an sich schon zur Vergleichmäßigung ausgenutzt werden.
Beispielsweise kann die Befeuchtungs- oder/und Erwärmungsvorrichtung eine Dampfzuführleitung umfassen, welche in ihrem der Materialbahn zugewandten Wandungsabschnitt wenigstens eine Dampfaustrittsöffnung aufweist.
Um eine ausreichende Befeuchtung der Auftragsschicht sicherstellen zu können, wird ferner vorgeschlagen, daß ein Dampfauslaßabschnitt der Dampfzuführleitung sich in Laufrichtung der Materialbahn über eine Distanz von zwischen etwa 0,1 cm und etwa 200 cm, vorzugsweise zwischen etwa 50 cm und 100 cm, erstreckt.
Die erfindungsgemäße Befeuchtungs- oder/und Erwärmungsvorrichtung bietet darüber hinaus die Möglichkeit, daß Quer- oder/und das Längsprofil der Auftragsschicht zu beeinflussen. Hierzu wird in Weiterbildung der Erfindung vorgeschlagen, daß eine Mehrzahl von in Querrichtung der Materialbahn aufeinanderfolgend angeordneter Dampf- bzw. Sprühnebelabgabeabschnitte vorgesehen ist, welche hinsichtlich der von ihnen pro Zeiteinheit abgegebenen Menge an Dampf bzw. Sprühnebel unabhängig voneinander steuerbar sind.
Um das Kondensieren des Dampfs bzw. eine Anlagerung der Sprühnebeltröpfchen in anderen als den erwünschten Bereichen der Auftragsvorrichtung verhindern zu können, kann eine Absaugvorrichtung vorgesehen sein. Da die Tendenz bestehen wird, daß die Materialbahn den Dampf bzw. den Sprühnebel bei ihrer Bewegung mitreißt, wird vorgeschlagen, daß die Absaugvorrichtung in Laufrichtung der Materialbahn hinter der Befeuchtungs- oder/und Erwärmungsvorrichtung angeordnet ist. Bei der vorstehend diskutierten, vor der Auftragsstelle angeordneten Befeuchtungs- oder/und Erwärmungsvorrichtung kann die Absaugung auch in Laufrichtung der Materialbahn vor der Befeuchtungs- oder/und Erwärmungsvorrichtung angeordnet sein.
Bei Einsatz einer Egalisier- oder/und Dosiervorrichtung ist dieser üblicherweise eine Auffangvorrichtung für überschüssiges Auftragsmedium zugeordnet. Diese Auffangvorrichtung kann durch konstruktiv einfache Modifikation gleichzeitig als Absaugvorrichtung eingesetzt werden.
Es ist ferner denkbar, daß die Befeuchtungs- oder/und Erwärmungsvorrichtung bezogen auf die Laufrichtung der Materialbahn vor der Auftragsstelle im Abstand von dieser angeordnet ist. Eine Behandlung durch Befeuchtung oder Erwärmung kann nämlich bereits weit vor der Auftragsstelle zweckmäßig sein, sei es, daß die konstruktiven Gegebenheiten des Auftragswerks dies erfordern, oder sei es, daß ein indirektes Auftragsverfahren gewählt wird, bei dem durch einen glatten und gleichmäßigen Strichauftrag auf das Auftragselement das Strichergebnis der Materialbahn maßgeblich beeinflußt werden kann. Es wird daher vorgeschlagen, daß die Befeuchtungs- oder/und Erwärmungsvorrichtung bei indirektem Auftrag im Bereich des Auftragselements angeordnet ist. Dabei kann die Befeuchtungs- oder/und Erwärmungsvorrichtung im Bereich einer Stelle angeordnet sein, an der das Auftragsmedium auf das Auftragselement aufgebracht wird. Regelmäßig erfolgt bei indirektem Auftrag auch eine Dosierung oder/und Egalisierung der auf das Auftragselement aufgebrachten Schicht des Auftragsmediums. Dann kann die Befeuchtungs- oder/und Erwärmungsvorrichtung im Bereich einer Stelle angeordnet sein, an der das auf das Auftragselement aufgebrachte Auftragsmedium dosiert oder/und egalisiert wird.
Generell kommen zur Dosierung oder/und Egalisierung neben Rakelklingen auch Rakelstäbe zum Einsatz. Dabei haben sich gute Ergebnisse eingestellt, wenn zunächst lediglich der Rakelstab befeuchtet oder erwärmt wird und das Auftragsmedium lediglich mittelbar über den befeuchteten oder erwärmten Rakelstab befeuchtet oder erwärmt wird. Es wird daher vorgeschlagen, daß das Auftragswerk mindestens einen Rakelstab zum Dosieren oder/und Egalisieren des auf das Auftragselement oder die Materialbahn aufgebrachten Auftragsmediums umfaßt und daß die Befeuchtungs- oder/und Erwärmungsvorrichtung den Rakelstab in mindestens einem von dessen Eingriff mit dem Auftragselement bzw. der Materialbahn fernen Umfangsbereich befeuchtet oder/und erwärmt.
Üblicherweise ist der Rakelstab im wesentlichen auf seiner gesamten Länge in einem Rakelbett gelagert. Eine konstruktiv einfache Lösung zur Befeuchtung oder Erwärmung des Rakelstabs besteht dann darin, daß dieser über ein Kanalsystem befeuchtbar oder/und erwärmbar ist, welches in dem Rakelbett verläuft und zu einer Lagerfläche für den Rakelstab hin offen ist. Für das Kanalsystem können in einfacher Weise Spülkanäle benutzt werden, die bei herkömmlichen Rakelbetten häufig bereits vorhanden sind.
Die Erfindung betrifft darüber hinaus auch ein Verfahren zum direkten oder indirekten Auftragen eines flüssigen oder pastösen Auftragsmediums auf eine laufende Materialbahn, insbesondere aus Papier oder Karton. Hinsichtlich der mit diesem erfindungsgemäßen Verfahren erzielbaren Vorteile sei auf die vorstehende Diskussion der erfindungsgemäßen Auftragsvorrichtung verwiesen.
Die Erfindung wird im folgenden anhand der beigefügten Zeichnung anhand von Ausführungsbeispielen näher erläutert werden. Es stellt dar:
Fig. 1
einen grob schematischen Seitenschnitt einer erfindungsgemäßen Auftragsvorrichtung zum einseitigen, direkten Beschichten einer Materialbahn;
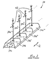
Fig. 2
eine schematische Darstellung einer Befeuchtungs- oder/und Erwärmungsvorrichtung, mit welcher in Querrichtung aufeinanderfolgend angeordnete Abschnitte der Materialbahn unterschiedlich stark befeuchtet werden können;
Fig. 3
eine grob schematische Darstellung einer erfindungsgemäßen Auftragsvorrichtung zum beidseitigen, indirekten Beschichten einer Materialbahn;
Fig. 4
eine grob schematische Darstellung eines Teils einer erfindungsgemäßen Auftragsvorrichtung zum indirekten Beschichten einer Materialbahn, bei der im Bereich einer Transferwalze der Auftragsvorrichtung befeuchtet oder/und erwärmt wird;
Fig. 5
eine grob schematische Darstellung einer erfindungsgemäßen Auftragsvorrichtung, bei der ein Rakelstab befeuchtet oder/und erwärmt wird.
In Fig. 1 ist eine erfindungsgemäße Auftragsvorrichtung allgemein mit 10 bezeichnet. Die Auftragsvorrichtung 10 dient zum direkten Auftragen eines flüssigen oder pastösen Mediums 20 auf eine sich in Richtung des Pfeils L bewegende Materialbahn 16, welche im Bereich der Auftragsvorrichtung 10 um eine Gegenwalze 12 herumgeführt ist. Die Gegenwalze 12 ist in Richtung des Pfeils P um ihre Achse A drehangetrieben.
Die Auftragsvorrichtung 10 umfaßt ein Auftragswerk 18, beispielsweise ein Freistrahl-Düsenauftragswerk, welches das Auftragsmedium an einer Auftragsstelle S üblicherweise im Überschuß an die Materialbahn 16 abgibt. Freistrahl-Düsenauftragswerke sind an sich bekannt. Daher kann hinsichtlich ihres Aufbaus und ihrer Funktion auf den Stand der Technik verwiesen werden. Selbstverständlich können anstelle des Freistrahl-Düsenauftragswerks 18 auch andersartige Auftragswerke eingesetzt werden, beispielsweise "Curtain Coating"- oder "Sprüh-Coating"-Auftragswerke, um nur einige zu nennen.
In Laufrichtung L hinter der Auftragsstelle S ist eine Egalisier- oder/und Dosiereinrichtung 22 (im folgenden kurz als "Rakeleinrichtung" bezeichnet) vorgesehen, welche eine an einem Rakelbalken 22a gehaltene Rakelklinge 22b aufweist. Die Rakelklinge 22b ist gegen die Materialbahn 16 bzw. die Auftragsschicht 24 angestellt, wobei der Anstelldruck bzw. die Anstellkraft mittels einer Anstelleinrichtung 22c verändert werden kann. Derartige Rakeleinrichtungen sind im Stand der Technik bekannt und sollen daher hier nicht näher erläutert werden.
In Laufrichtung L der Materialbahn 16 hinter der Rakeleinrichtung 22 ist eine Trocknungsvorrichtung 26 vorgesehen, welche der Materialbahn 16 und der Auftragsschicht 24 die in ihr enthaltene Feuchtigkeit zumindest teilweise entzieht. Hinsichtlich Aufbau und Funktion derartiger, an sich bekannter Trocknungsvorrichtungen sei wiederum auf den Stand der Technik verwiesen.
Erfindungsgemäß können nun bei der Auftragsvorrichtung 10 gemäß Fig. 1 eine erste Befeuchtungs- oder/und Erwärmungsvorrichtung 30 vorgesehen sein, welche in Laufrichtung L der Materialbahn 16 vor der Auftragsstelle S angeordnet ist, kann ferner zwischen der Auftragsstelle S und der Rakeleinrichtung 22 eine zweite Befeuchtungs- oder/und Erwärmungsvorrichtung 32 vorgesehen sein, und kann schließlich zwischen der Rakeleinrichtung 22 und der Trocknungseinrichtung 26 ein dritte Befeuchtungs- oder/und Erwärmungsvorrichtung 34 vorgesehen sein. Dabei sei bereits an dieser Stelle darauf hingewiesen, daß erfindungsgemäß nicht stets alle drei Befeuchtungs- oder/und Erwärmungsvorrichtungen 30, 32 und 34 vorhanden sein müssen, sondern daß sich die Erfindung auch auf Auftragsvorrichtungen bezieht, bei denen lediglich eine beliebige oder zwei beliebige dieser drei Befeuchtungs- oder/und Erwärmungsvorrichtungen 30, 32, 34 vorgesehen ist bzw. sind.
Im Ausführungsbeispiel gemäß Fig. 1 sind alle drei Befeuchtungs- oder/und Erwärmungsvorrichtungen 30, 32, 34 als Bedampfungsvorrichtungen ausgebildet, welche an die Materialbahn 16 bzw. das Auftragsmedium 20 bzw. die Auftragsschicht 24 Dampf, vorzugsweise Wasserdampf abgeben. Dabei kann vorteilhafterweise gesättigter oder überhitzter Wasserdampf eingesetzt werden.
Die Befeuchtungs- oder/und Erwärmungsvorrichtung 30 umfaßtein Dampfzuführrohr 36, welches an seiner der Auftragsstelle S zugewandten Wandungsseite Dampfaustrittsöffnungen 36a aufweist. An diese Dampfaustrittsöffnungen 36a schließt sich ein sich in Richtung zur Auftragsstelle S hin verjüngender Düsenkörper 36b an, der vorzugsweise bis unmittelbar vor die Auftragsstelle S heranreicht. Bevorzugt wird der Dampf von der Befeuchtungs- oder/und Erwärmungsvorrichtung 30 in einer derartigen Menge an den Bereich vor der Auftragsstelle S abgegeben, daß zumindest ein Teil dieses Dampfes diesen Bereich wieder verläßt, und zwar in einer entgegen der Laufrichtung L der Materialbahn 16 gerichteten Strömung, die in Fig. 1 durch die Pfeile 36c angedeutet ist. Hierdurch kann die von der Materialbahn 16 mitgerissene Luftgrenzschicht daran gehindert werden, zur Auftragsstelle S zu gelangen und dort das Auftragsergebnis zu beeinträchtigen. Es ist jedoch auch möglich, daß die Befeuchtungs- oder/und Erwärmungsvorrichtung 30 den Dampf nur an das Auftragsmedium 20 abgibt, während eine gesonderte Befeuchtungs- oder/und Erwärmungsvorrichtung 31 nur an die Materialbahn 16 Dampf abgibt.
Die zwischen der Auftragsstelle S und der Rakeleinrichtung 22 angeordnete Befeuchtungs- oder/und Erwärmungsvorrichtung 32 umfaßt einen Zuführabschnitt 32a und einen Verteilabschnitt 32b. Die der Materialbahn 16 zugewandte Wandung des Verteilabschnitts 32b umfaßt eine Mehrzahl von Dampfaustrittsöffnungen 32c aus denen der Dampf der Materialbahn 16 bzw. der Auftragsschicht 24 im wesentlichen orthogonal zugeführt wird, was in Fig. 1 durch fünf kleine Pfeile angedeutete ist. Die Befeuchtungs- oder/und Erwärmungsvorrichtung 32 ist im Hinblick auf einen möglichst einfachen und kostengünstigen Aufbau vorzugsweise als Blechkonstruktion ausgeführt.
Einen ähnlichen Aufbau wie die Befeuchtungs- oder/und Erwärmungsvorrichtung 32 weist auch die Befeuchtungs- oder/und Erwärmungsvorrichtung 34 auf, welche zwischen der Rakeleinrichtung 22 und der Trocknungseinrichtung 26 angeordnet ist. Über eine Zuführleitung 34a wird Dampf in einen Verteilabschnitt 34b eingeleitet, aus welchem der Dampf durch Dampfaustrittsöffnungen 34c der Auftragsschicht 24 im wesentlichen orthogonal zugeführt wird. Auch die Befeuchtungs- oder/und Erwärmungsvorrichtung 34 ist vorteilhafterweise als Blechkonstruktion aufgebaut.
Der der Materialbahn 16 bzw. der Auftragsschicht 24 zugeführte Dampf wird, soweit er nicht von diesen absorbiert wird, durch die Bewegung in Laufrichtung L mitgerissen und verläßt den Bereich der jeweiligen Befeuchtungs- oder/und Erwärmungsvorrichtung. Wie vorstehend erläutert wurde, ist bei der Befeuchtungs- oder/und Erwärmungsvorrichtung 30 ein Abströmen des Dampfes entgegen der Laufrichtung L sogar erwünscht. Der austretende Dampf kann sich an kühlen Stellen der Auftragsvorrichtung 10 oder anderer Teile der Gesamtanlage niederschlagen und dort zu unerwünschter Kondensatbildung führen. Um diesem Effekt vorzubeugen bzw. um diesen Effekt verhindern zu können, können den Befeuchtungs- oder/und Erwärmungsvorrichtungen 30, 31, 32, 34 Dampfabsaugvorrichtungen zugeordnet sein. So weist beispielsweise die Blechkastenkonstruktion der Befeuchtungs- oder/und Erwärmungsvorrichtung 34 einen Absaugabschnitt 34d auf, welcher in Laufrichtung L der Materialbahn 16 unmittelbar auf den Verteilabschnitt 34b folgt. Der abgesaugte Dampf kann aus dem Absaugabschnitt 34d über eine Saugleitung 34e abgeführt werden, an welche gewünschtenfalls ein Gebläse angeschlossen sein kann.
Bei der zwischen der Auftragsstelle S und der Rakeleinrichtung 32 angeordneten Befeuchtungs- oder/und Erwärmungsvorrichtung 32 kann die Absaugeinrichtung in konstruktiv besonders einfacher Weise von der Auffangvorrichtung 22d der Rakeleinrichtung 22 gebildet werden. Entweder nimmt man dabei eine Verdünnung des abgerakelten Auftragsmediums durch das Kondensat in Kauf, was insbesondere deshalb durchaus toleriert werden kann, weil das abgerakelte Auftragsmedium im Vergleich mit dem auf die Materialbahn aufgebrachten Auftragsmedium etwas eingedickt ist, da die Materialbahn aufgrund ihrer Saugfähigkeit dem auf sie aufgebrachten Auftragsmedium Feuchtigkeit entzieht. Es ist jedoch auch möglich, ein in die Auffangvorrichtung 22d hineinreichendes Absaugrohr 38 vorzusehen, an welches wiederum ein Gebläse 40 angeschlossen sein kann.
Auch bzw. gerade den Befeuchtungs- oder/und Erwärmungsvorrichtung 30 und 31 kann eine Absaugvorrichtung zugeordnet sein, wenn diese in der Darstellung gemäß Fig. 1 auch der besseren Übersichtlichkeit der Zeichnung halber weggelassen worden ist. Aus Raumgründen wird diese Absaugvorrichtung in Laufrichtung L der Materialbahn 16 vor den Vorrichtungen 30 bzw. 31 angeordnet sein.
Um eine in Querrichtung Q der Materialbahn zonenweise Bedampfung der Auftragsschicht 24 ermöglichen zu können, können die Befeuchtungs- oder/und Erwärmungsvorrichtungen, wie dies in Fig. 2 für die Befeuchtungs- oder/und Erwärmungsvorrichtung 34 dargestellt ist, eine Mehrzahl von Dampfauslaßabschnitten 34b, 34b', 34b", 34b‴, ... aufweisen, denen jeweils eine gesonderte Dampfzuführleitung 34a, 34a', 34a", 34a‴, ... zugeordnet ist. Der Volumenstrom des über die Dampfzuführleitungen 34a, 34a', ... zugeführten Dampfes kann von einer in Fig. 2 nicht dargestellten Steuereinheit aus mittels schematisch dargestellten Ventileinheiten beeinflußt werden. Selbstverständlich kann auch bei den Befeuchtungs- oder/und Erwärmungsvorrichtungen 30, 31 und 32 das Bedampfungs-Querprofil in analoger Weise variiert werden.
Die in Fig. 3 dargestellte Auftragsvorrichtung 110 dient zum beidseitigen, indirekten Auftragen von flüssigem oder pastösem Auftragsmedium 120, 120' auf eine sich in Laufrichtung L bewegende Materialbahn 116. Die Auftragsvorrichtung 110 umfaßt hierzu zwei Auftragswerke 118, 118', welche das flüssige oder pastöse Auftragsmedium 120, 120' auf die Oberfläche 112a bzw. 112a' zweier Auftragswalzen 112, 112' auftragen. Die Auftragswalzen 112, 112' bilden zwischen sich einen Auftragsspalt, durch den die Materialbahn 116 hindurch verläuft. Die Auftragswalzen 112, 112' sind um ihr Achsen A bzw. A' in Richtung der Pfeile P bzw. P' derart drehangetrieben, daß sie mit der Materialbahn 116 in im wesentlichen rutsch- und schlupffreien Eingriff stehen. Durch die Drehung der Auftragswalzen 112, 112' wird das Auftragsmedium 120, 120' von den Auftragswerken 118 und 118' zur Materialbahn hin transportiert. In Laufrichtung L hinter der Auftragsstelle S ist analog der Auftragsvorrichtung 10 gemäß Fig. 1 eine Trocknungsvorrichtung 126 vorgesehen.
Vor der Auftragsstelle S bzw. vor der Trocknungseinrichtung 126 sind ähnlich wie bei der Ausführungsform gemäß Fig. 1 Befeuchtungs- oder/und Erwärmungsvorrichtungen 130, 130' und 134 bzw. 134' angeordnet. Die Befeuchtungs- oder/und Erwärmungsvorrichtungen 134 und 134' entsprechen in Aufbau und Funktion der Befeuchtungs- oder/und Erwärmungsvorrichtung 34 der Ausführungsform gemäß Fig. 1, auf deren Beschreibung hiermit verwiesen sei.
Anders als die Befeuchtungs- oder/und Erwärmungsvorrichtung 30 der Ausführungsform gemäß Fig. 1 geben die Befeuchtungs- oder/und Erwärmungsvorrichtungen 130, 130' nicht Dampf in Richtung auf die Auftragsstelle S hin ab, sondern einen Sprühnebel feinst zerkleinerter Flüssigkeitströpfchen. Für den Einsatz als Befeuchtungs- oder/und Erwärmungsvorrichtung 130 bzw. 130' geeignete Zerstäubungseinrichtungen sind wiederum im Stand der Technik bekannt und sollen daher hier nicht näher erläutert werden.
Obgleich vorstehend lediglich eine Ausführungsform mit einseitigem direkten Auftrag und eine Ausführungsform mit beidseitigem indirekten Auftrag dargestellt und diskutiert worden sind, und darüber hinaus eine Sprüheinrichtung nur bei letzterer Ausführungsform vorhanden war und dort auch nur in Laufrichtung vor der Auftragsstelle, sei an dieser Stelle darauf hingewiesen, daß sich die Erfindung auch auf Ausführungsformen mit beidseitigem direkten Auftrag, einseitigem indirekten Auftrag oder gar gemischtem direktem und indirektem Auftrag beziehen. Ferner kann jede der vorstehend angeführten Vorrichtungen 30, 31, 32, 34, 130, 130', 134, 134' entweder als Vorrichtung zum Erzeugen oder/und Zuführen von Dampf oder als Vorrichtung zum Versprühen von Flüssigkeit oder als eine Kombination dieser Vorrichtungstypen ausgebildet sein.
Es werden nun die Fig. 4 und 5 erläutert. Dabei werden, soweit es sich um gleiche oder gleichwirkende Komponenten wie in den Fig. 1 bis 3 handelt, gleiche Bezugszeichen, jedoch um 100 oder ein ganzzahliges Vielfaches von 100 erhöht, verwendet. Zur Beschreibung solcher Komponenten wird auf die vorangehende Beschreibung der Fig. 1 bis 3 verwiesen.
Fig. 4 zeigt einen Teil einer Auftragsvorrichtung 210, die zum indirekten Auftragen von flüssigem oder pastösem Auftragsmedium 220 auf eine nicht näher dargestellte Materialbahn dient. Das Auftragsmedium 220 wird mittels eines Auftragswerks 218 zunächst auf eine sich in Pfeilrichtung P drehende Auftrags- bzw. Transferwalze 212 aufgetragen. Mittels einer Befeuchtungs- oder/und Erwärmungsvorrichtung 230 wird das auf die Transferwalze 212 aufgetragene Auftragsmedium 220 befeuchtet oder/und erwärmt. Die schematisch als Düse dargestellte Befeuchtungs- oder/und Erwärmungsvorrichtung 230 ist auf einen Spalt (sogenannter Nip) zwischen der Transferwalze 212 und einem Rakelstab 244 gerichtet, wobei dieser Rakelstab 244 als die Schichtstärke des aufgebrachten Mediums 220 dosierendes Rakelelement dient. Die Befeuchtungs- oder/und Erwärmungsvorrichtung 230 ist bezogen auf die Drehrichtung der Transferwalze 212 nach dem Dosierstab 244 angeordnet und begünstigt das gleichmäßige Verfließen des Auftragsmediums 220 auf der Transferwalze 212, so daß an der nicht näher dargestellten Transferstelle, wo das Auftragsmedium auf die Materialbahn übertragen wird, über die gesamte Breite der Transferwalze 212 und der Materialbahn sowie auch in Längsrichtung der Materialbahn im wesentlichen gleiche Auftragsverhältnisse herrschen. Zudem wird durch die in den Spalt zwischen Rakelstab 244 und Transferwalze 212 gerichtete düsenartige Befeuchtungs- oder/und Erwärmungsvorrichtung 230 das sogenannte Filmsplitting wirksam verhindert, bei dem Teile des Auftragsmediums, die auf die Transferwalze 212 aufgebracht werden sollen, an dem Rakelstab 244 haften bleiben.
In Fig. 5 erkennt man eine in Richtung eines Pfeils P rotierende Gegenwalze 312, die auf einem Teil ihres Umfangs mit einer Materialbahn 316 belegt ist, welche mit einer Schicht eines Auftragsmediums 320 versehen ist. Die bestrichene Materialbahn 316 durchläuft eine Rakeleinrichtung 322, die mit einem Rakelstab 344 überschüssige Anteile des Auftragsmediums 320 von der Materialbahn 316 abrakelt. Der Rakelstab 344 ist um seine Stabachse 346 drehbar in einem Rakelbett 348 gelagert, und zwar im wesentlichen auf seiner gesamten Länge. Das Rakelbett 348 weist hierzu eine teilzylindrische Lagerfläche 350 auf, an der sich der Rakelstab 344 abstützt. In die Lagerfläche 350 sind längs des Rakelstabs 344 verlaufende Kanäle 352 eingearbeitet, die entweder auf ihrer gesamten Länge zum Rakelstab 344 hin offen sind oder längs des Rakelstabs 344 verteilt angeordnete Austrittsöffnungen aufweisen. Die Kanäle 352 sind Teil einer Befeuchtungs- oder/und Erwärmungsvorrichtung 330, die Dampf oder eine Sprühflüssigkeit durch die Kanäle 352 auf die Mantelfläche des Rakelstabs 344 aufbringt. Der in dem Rakelbett 348 rotierende Rakelstab 344 trägt die Feuchtigkeit oder/und Wärme in den Bereich seines Kontakts mit der Materialbahn 316, wo die Feuchtigkeit oder/und Wärme mindestens teilweise auf das Auftragsmedium 320 und die Materialbahn 316 übergehen. Selbstverständlich kann zusätzlich eine in den Spalt zwischen Rakelstab 344 und Walze 312 gerichtete Düsenanordnung vorgesehen sein, mittels der durch Bedampfungs- oder Sprühbehandlung eine Befeuchtung oder/und Erwärmung des Auftragsmediums 320 und der Materialbahn 316 erzielbar sind.
Da die Kanäle 352 bei herkömmlichen Rakelbetten häufig bereits vorhanden sind und zur Verwendung als Spülkanäle dienen, kann zur Realisierung der Ausführungsform der Fig. 5 ein herkömmliches Rakelbett im wesentlichen modifikationsfrei verwendet werden, so daß sich der fertigungstechnische und konstruktive Aufwand gering halten läßt.

Claims (42)

  1. Vorrichtung (10; 110) zum direkten oder indirekten Auftragen eines flüssigen oder pastösen Auftragsmediums (20; 120, 120') auf eine laufende Materialbahn (16; 116), insbesondere aus Papier oder Karton,
    wobei ein Auftragswerk (18; 118, 118') vorgesehen ist, welches bei direktem Auftragen das Auftragsmedium (20) an einer Auftragsstelle (S) unmittelbar auf die Materialbahn (16) als Auftragsschicht (24) aufbringt bzw. bei indirektem Auftragen das Auftragsmedium (120, 120') zunächst auf ein Auftragselement (112, 112'), bspw. eine Auftragswalze, aufbringt, welches das Auftragsmedium (120, 120') dann an der Auftragsstelle (S) an die Materialbahn (116) als Auftragsschicht überträgt, und
    wobei in Laufrichtung (L) der Materialbahn (16; 116) hinter der Auftragsstelle (S) eine Trocknungsvorrichtung (26; 126) zum Trocknen der Auftragsschicht vorgesehen ist,
    dadurch gekennzeichnet, daß in Laufrichtung (L) der Materialbahn (16; 116) vor der Trocknungsvorrichtung (26; 126) eine Vorrichtung (30, 32, 34; 130, 130', 134, 134') zum Befeuchten oder/und Erwärmen der Materialbahn (16; 116) oder/und des Auftragsmediums (20; 120, 120') bzw. der Auftragsschicht (24) vorgesehen ist.
  2. Vorrichtung nach Anspruch 1,
    dadurch gekennzeichnet, daß die Befeuchtungs- oder/und Erwärmungsvorrichtung (30, 32, 34; 134, 134') eine Vorrichtung zum Erzeugen oder/und Zuführen von Dampf, vorzugsweise Wasserdampf, ist.
  3. Vorrichtung nach Anspruch 1 oder 2,
    dadurch gekennzeichnet, daß die Befeuchtungs- oder/und Erwärmungsvorrichtung (130, 130') eine Vorrichtung zum Versprühen von Flüssigkeit, vorzugsweise Wasser, ist.
  4. Vorrichtung nach einem der Ansprüche 1 bis 3,
    dadurch gekennzeichnet, daßdie Befeuchtungs- oder/und Erwärmungsvorrichtung (30) in Laufrichtung (L) der Materialbahn (16) unmittelbar vor der Auftragsstelle (S) angeordnet ist.
  5. Vorrichtung nach Anspruch 4,
    dadurch gekennzeichnet, daß die Befeuchtungs- oder/und Erwärmungsvorrichtung (30) den Dampf bzw. den Sprühnebel in Richtung auf die Auftragsstelle (S) hin abgibt.
  6. Vorrichtung nach Anspruch 5,
    dadurch gekennzeichnet, daß die Befeuchtungs- oder/und Erwärmungsvorrichtung (30) eine Dampfzuführleitung (36) umfaßt, welche im Bereich der Auftragsvorrichtung (10) zumindest auf ihrer der Auftragsstelle (S) zugewandten Seite wenigstens eine Dampfaustrittsöffnung (36a) aufweist.
  7. Vorrichtung nach Anspruch 6,
    dadurch gekennzeichnet, daß die Dampfaustrittsöffnung bildende Wandungsabschnitte (36b) der Dampfzuführleitung (36) bzw. der Dampfaustrittsöffnung in Dampfströmrichtung nachgeordnete Wandungsabschnitte düsenartig, vorzugsweise sich in Dampfströmrichtung verjüngend, ausgebildet sind.
  8. Vorrichtung nach einem der Ansprüche 1 bis 7,
    dadurch gekennzeichnet, daßdie Befeuchtungs- oder/und Erwärmungsvorrichtung (32, 34; 134, 134') in Laufrichtung (L) der Materialbahn (16; 116) hinter der Auftragsstelle (S) vorgesehen ist.
  9. Vorrichtung nach Anspruch 8,
    dadurch gekennzeichnet, daß die Befeuchtungs- oder/und Erwärmungsvorrichtung (32) zwischen der Auftragsstelle (S) und einer der Auftragsstelle (S) in Laufrichtung (L) der Materialbahn (16) nachgeordneten Vorrichtung (22) zum Egalisieren oder/und Dosieren der Auftragsschicht (24) vorgesehen ist.
  10. Vorrichtung nach Anspruch 8,
    dadurch gekennzeichnet, daßdie Befeuchtungs- oder/und Erwärmungsvorrichtung (34) in Laufrichtung (L) der Materialbahn (16) hinter einer der Auftragsstelle (S) nachgeordneten Vorrichtung (22) zum Egalisieren oder/und Dosieren der Auftragsschicht (24) vorgesehen ist.
  11. Vorrichtung nach einem der Ansprüche 8 bis 10,
    dadurch gekennzeichnet, daßdie Befeuchtungs- oder/und Erwärmungsvorrichtung (32, 34; 134, 134') den Dampf bzw. den Sprühnebel im wesentlichen orthogonal zur Oberfläche der Materialbahn (16) abgibt.
  12. Vorrichtung nach einem der Ansprüche 8 bis 11,
    dadurch gekennzeichnet, daß die Befeuchtungs- oder/und Erwärmungsvorrichtung (32, 34; 134, 134') eine Dampfzuführleitung (32a, 34a) umfaßt, welche in ihrem der Materialbahn (16) zugewandten Wandungsabschnitt wenigstens eine Dampfaustrittsöffnung (32c, 34c) aufweist.
  13. Vorrichtung nach einem der Ansprüche 8 bis 12,
    dadurch gekennzeichnet, daß ein Dampfauslaßabschnitt (32b, 34b) der Dampfzuführleitung (32a, 34a) sich in Laufrichtung (L) der Materialbahn (16) über eine Distanz von zwischen etwa 0,1 cm und etwa 200 cm, vorzugsweise etwa 50 cm und etwa 100 cm, erstreckt.
  14. Vorrichtung nach einem der Ansprüche 1 bis 13,
    dadurch gekennzeichnet, daß eine Mehrzahl von in Querrichtung (Q) der Materialbahn (16) aufeinanderfolgend angeordneter Dampf- bzw. Sprühnebelabgabeabschnitte (34b, 34b',...) vorgesehen ist, welche hinsichtlich der von ihnen pro Zeiteinheit abgegebenen Menge an Dampf bzw. Sprühnebel unabhängig voneinander steuerbar sind.
  15. Vorrichtung nach einem der Ansprüche 1 bis 14,
    dadurch gekennzeichnet, daß eine Absaugvorrichtung (40, 34d) vorgesehen ist.
  16. Vorrichtung nach Anspruch 15,
    dadurch gekennzeichnet, daß die Absaugvorrichtung (40, 34d) in Laufrichtung (L) der Materialbahn (16) hinter der Befeuchtungs- oder/und Erwärmungsvorrichtung (32, 34) angeordnet ist.
  17. Vorrichtung nach Anspruch 15,
    dadurch gekennzeichnet, daß bei Einsatz einer Egalisier- oder/und Dosiervorrichtung (22) die Absaugvorrichtung (40) mit einer dieser Egalisier- oder/und Dosiervorrichtung (22) zugeordneten Auftragsmedium-Auffangvorrichtung (22d) verbunden ist.
  18. Verfahren zum direkten oder indirekten Auftragen eines flüssigen oder pastösen Auftragsmediums (20; 120, 120') auf eine laufende Materialbahn (16; 116), insbesondere aus Papier oder Karton,
    wobei das Auftragsmedium (20; 120, 120') bei direktem Auftrag an einer Auftragsstelle (S) als Auftragsschicht (24) unmittelbar auf die Materialbahn (16) aufgebracht wird bzw. bei indirektem Auftrag zunächst auf ein Auftragselement (112, 112'), bspw. eine Auftragswalze, aufgebracht wird, von welchem es dann an der Auftragsstelle (S) an die Materialbahn (116) als Auftragsschicht übertragen wird, und
    wobei die Auftragsschicht in Laufrichtung (L) der Materialbahn (16; 116) hinter der Auftragsstelle (S) getrocknet wird,
    dadurch gekennzeichnet, daß die Materialbahn (16; 116) oder/und das Auftragsmedium (20; 120, 120') bzw. die Auftragsschicht (24) vor der Trocknung befeuchtet oder/und erwärmt wird.
  19. Verfahren nach Anspruch 18,
    dadurch gekennzeichnet, daß die Befeuchtung oder/und Erwärmung mittels Dampf, vorzugsweise Wasserdampf, erfolgt.
  20. Verfahren nach Anspruch 18 oder 19,
    dadurch gekennzeichnet, daß die Befeuchtung mittels eines Sprühnebels, vorzugsweise eines Wassersprühnebels, erfolgt.
  21. Verfahren nach einem der Ansprüche 18 bis 20,
    dadurch gekennzeichnet, daß die Materialbahn (16; 116) oder/und das Auftragsmedium (20; 120, 120') in Laufrichtung (L) der Materialbahn (16; 116) unmittelbar vor der Auftragsstelle (S) befeuchtet oder/und erwärmt wird.
  22. Verfahren nach Anspruch 18,
    dadurch gekennzeichnet, daß der Dampf bzw. der Sprühnebel in Richtung auf die Auftragsstelle (S) hin abgegeben wird.
  23. Verfahren nach Anspruch 22,
    dadurch gekennzeichnet, daß der Dampf in Richtung der Auftragsstelle (S) im Überschuß abgegeben wird, so daß zumindest ein Teil des Dampfes entgegen der Laufrichtung (L) der Materialbahn (16) und längs deren Oberfläche von der Auftragsstelle (S) wieder abströmt.
  24. Verfahren nach einem der Ansprüche 18 bis 23,
    dadurch gekennzeichnet, daß die Auftragsschicht (24) in Laufrichtung (L) der Materialbahn (16; 116) hinter der Auftragsstelle (S) befeuchtet oder/und erwärmt wird.
  25. Verfahren nach Anspruch 24,
    dadurch gekennzeichnet, daß die Auftragsschicht (24) zwischen der Auftragsstelle (S) und einer der Auftragsstelle (S) in Laufrichtung (L) der Materialbahn (16) nachgeordneten Vorrichtung (22) zum Egalisieren oder/und Dosieren der Auftragsschicht (24) befeuchtet oder/und erwärmt wird.
  26. Verfahren nach Anspruch 24,
    dadurch gekennzeichnet, daß die Auftragsschicht (24) in Laufrichtung (L) der Materialbahn (16) hinter einer der Auftragsstelle (S) nachgeordneten Vorrichtung (22) zum Egalisieren oder/und Dosieren der Auftragsschicht (24) befeuchtet oder/und erwärmt wird.
  27. Verfahren nach einem der Ansprüche 24 bis 26,
    dadurch gekennzeichnet, daß der Dampf bzw. der Sprühnebel im wesentlichen orthogonal zur Oberfläche der Materialbahn (16; 116) abgegeben wird.
  28. Verfahren nach einem der Ansprüche 24 bis 27,
    dadurch gekennzeichnet, daß die Befeuchtung oder/und Erwärmung in Laufrichtung (L) der Materialbahn (16; 116) über eine Distanz von zwischen etwa 0,1 cm und etwa 200 cm, vorzugsweise zwischen etwa 50 cm und etwa 100 cm, erfolgt.
  29. Verfahren nach einem der Ansprüche 18 bis 28,
    dadurch gekennzeichnet, daß die Materialbahn (1 6) oder/und das Auftragsmedium (20) bzw. die Auftragsschicht (24) in einer Mehrzahl von in Querrichtung (Q) der Materialbahn (16) aufeinanderfolgend angeordneten Abschnitten (34a, 34',...) mit Dampf- bzw. Sprühnebel-Volumenströmen befeuchtet oder/und erwärmt wird, deren Werte unabhängig voneinander steuerbar sind.
  30. Verfahren nach einem der Ansprüche 18 bis 29,
    dadurch gekennzeichnet, daß überschüssiger Dampf bzw. Sprühnebel abgesaugt wird.
  31. Vorrichtung nach einem der Ansprüche 1 bis 17,
    dadurch gekennzeichnet, daßdie Befeuchtungs- oder/und Erwärmungsvorrichtung (230) bezogen auf die Laufrichtung der Materialbahn vor der Auftragsstelle im Abstand von dieser angeordnet ist.
  32. Vorrichtung nach Anspruch 31,
    dadurch gekennzeichnet, daßdie Befeuchtungs- oder/und Erwärmungsvorrichtung (230) bei indirektem Auftrag im Bereich des Auftragselements (21 2) angeordnet ist.
  33. Vorrichtung nach Anspruch 32,
    dadurch gekennzeichnet, daßdie Befeuchtungs- oder/und Erwärmungsvorrichtung (230) im Bereich einer Stelle angeordnet ist, an der das Auftragsmedium (220) auf das Auftragselement (212) aufgebracht wird.
  34. Vorrichtung nach Anspruch 32 oder 33,
    dadurch gekennzeichnet, daßdie Befeuchtungs- oder/und Erwärmungsvorrichtung (230) im Bereich einer Stelle angeordnet ist, an der das auf das Auftragselement (212) aufgebrachte Auftragsmedium (220) dosiert oder/und egalisiert (bei 244) wird.
  35. Vorrichtung nach einem der Ansprüche 1 bis 17 und 31 bis 34,
    dadurch gekennzeichnet, daß das Auftragswerk (310) mindestens einen Rakelstab (344) zum Dosieren oder/und Egalisieren des auf das Auftrags-element oder die Materialbahn (316) aufgebrachten Auftragsmediums (320) umfaßt und daßdie Befeuchtungs- oder/und Erwärmungsvorrichtung (330) den Rakelstab (344) in mindestens einem von dessen Eingriff mit dem Auftragselement bzw. der Materialbahn (316) fernen Umfangsbereich befeuchtet oder/und erwärmt.
  36. Vorrichtung nach Anspruch 35,
    dadurch gekennzeichnet, daß der Rakelstab (344) im wesentlichen auf seiner gesamten Länge in einem Rakelbett (348) gelagert ist und über ein Kanalsystem (352) befeuchtbar oder/und erwärmbar ist, welches in dem Rakelbett (348) verläuft und zu einer Lagerfläche (350) für den Rakelstab (348) hin offen ist.
  37. Verfahren nach einem der Ansprüche 18 bis 30,
    dadurch gekennzeichnet, daß die Befeuchtung oder/und Erwärmung bezogen auf die Laufrichtung der Materialbahn vor der Auftragsstelle im Abstand von dieser erfolgt.
  38. Verfahren nach Anspruch 37,
    dadurch gekennzeichnet, daß die Befeuchtung oder/und Erwärmung bei indirektem Auftrag im Bereich des Auftragselements (212) erfolgt.
  39. Verfahren nach Anspruch 38,
    dadurch gekennzeichnet, daß die Befeuchtung oder/und Erwärmung im Bereich einer Stelle erfolgt, an der das Auftragsmedium (220) auf das Auftragselement (212) aufgebracht wird.
  40. Verfahren nach Anspruch 38 oder 39,
    dadurch gekennzeichnet, daß die Befeuchtung oder/und Erwärmung im Bereich einer Stelle erfolgt, an der das auf das Auftragselement (212) aufgebrachte Auftragsmedium (220) dosiert oder/und egalisiert (bei 244) wird.
  41. Verfahren nach einem der Ansprüche 18 bis 30 und 37 bis 40,
    dadurch gekennzeichnet, daß mindestens ein Rakelstab (344) zum Dosieren oder/und Egalisieren des auf das Auftragselement oder die Materialbahn (316) aufgebrachten Auftragsmediums (320) vorgesehen ist und daß die Befeuchtung oder/und Erwärmung in mindestens einem vom Eingriff mit dem Auftragselement bzw. der Materialbahn (316) fernen Umfangsbereich des Rakelstabs (344) erfolgt.
  42. Verfahren nach Anspruch 41,
    dadurch gekennzeichnet, daß der Rakelstab (344) im wesentlichen auf seiner gesamten Länge in einem Rakelbett (348) gelagert ist und über ein Kanalsystem (352) befeuchtet oder/und erwärmt wird, welches in dem Rakelbett (348) verläuft und zu einer Lagerfläche (350) für den Rakelstab (348) hin offen ist.
EP99100508A 1998-01-13 1999-01-12 Vorrichtung zum direkten oder indirekten Auftragen eines flüssigen oder pastösen Auftragsmediums auf eine laufende Materialbahn, insbesondere aus Papier oder Karton Withdrawn EP0928845A3 (de)

Applications Claiming Priority (2)

Application Number Priority Date Filing Date Title
DE19800954A DE19800954A1 (de) 1998-01-13 1998-01-13 Vorrichtung zum direkten oder indirekten Auftragen eines flüssigen oder pastösen Auftragsmediums auf eine laufende Materialbahn, insbesondere aus Papier oder Karton
DE19800954 1998-01-13

Publications (2)

Publication Number Publication Date
EP0928845A2 true EP0928845A2 (de) 1999-07-14
EP0928845A3 EP0928845A3 (de) 2000-04-19

Family

ID=7854464

Family Applications (1)

Application Number Title Priority Date Filing Date
EP99100508A Withdrawn EP0928845A3 (de) 1998-01-13 1999-01-12 Vorrichtung zum direkten oder indirekten Auftragen eines flüssigen oder pastösen Auftragsmediums auf eine laufende Materialbahn, insbesondere aus Papier oder Karton

Country Status (4)

Country Link
US (2) US6309704B1 (de)
EP (1) EP0928845A3 (de)
JP (1) JPH11253867A (de)
DE (1) DE19800954A1 (de)

Cited By (6)

* Cited by examiner, † Cited by third party
Publication number Priority date Publication date Assignee Title
DE10023794A1 (de) * 2000-05-15 2001-11-22 Voith Paper Patent Gmbh Vorrichtung zum Auftragen eines flüssigen oder pastösen Mediums auf eine laufende Oberfläche
EP1234912A3 (de) * 2001-02-13 2004-01-14 Mitsubishi Heavy Industries, Ltd. Auftragsvorrichtung und Verfahren zur Herstellung von beschichtetem Papier
CN112657712A (zh) * 2019-11-17 2021-04-16 杨滋垚 一种复合材料纺织布制造设备
CN115839039A (zh) * 2021-09-20 2023-03-24 维美德技术有限公司 具有用于加热浆幅材的装置的制浆机
WO2023169741A1 (de) * 2022-03-09 2023-09-14 Voith Patent Gmbh Auftragsdüse, auftragswerk und verfahren
WO2023169740A1 (de) * 2022-03-09 2023-09-14 Voith Patent Gmbh Auftragsdüse, auftragswerk und verfahren

Families Citing this family (37)

* Cited by examiner, † Cited by third party
Publication number Priority date Publication date Assignee Title
DE19820432A1 (de) * 1998-05-07 1999-11-11 Voith Sulzer Papiertech Patent Verfahren und Vorrichtung zum Aufbringen eines Auftragsmediums auf einen laufenden Untergrund
WO2000018514A1 (de) 1998-09-30 2000-04-06 Voith Sulzer Papiertechnik Patent Gmbh Vorrichtung und verfahren zum auftragen eines flüssigen oder pastösen auftragsmediums auf einen laufenden untergrund
FI115314B (fi) * 2001-03-13 2005-04-15 Metso Paper Inc Sovitelma paperin tai kartongin käsittelemiseksi
EP1432525B1 (de) * 2001-05-23 2010-04-07 Voith Patent GmbH Auftragsvorrichtung
US7563326B2 (en) * 2002-06-24 2009-07-21 Voith Paper Patent Gmbh Device for coating and drying both sides of a material web of paper or board
DE10228114A1 (de) * 2002-06-24 2004-01-15 Voith Paper Patent Gmbh Vorrichtung zum beidseitigen Streichen und zum Trocknen einer Materialbahn, insbesondere aus Papier oder Karton
DE10245072A1 (de) * 2002-09-27 2004-04-08 Voith Paper Patent Gmbh Auftragswerk
US6869639B2 (en) * 2002-09-30 2005-03-22 Stora Enso North America Corp. Film coater and smoothing method and apparatus
FI121674B (fi) * 2003-01-09 2011-02-28 Metso Paper Inc Menetelmä ja sovitelma liikkuvan paperi- tai kartonkirainan kostuttamiseksi
DE20306938U1 (de) 2003-05-06 2003-06-26 Voith Paper Patent GmbH, 89522 Heidenheim Vorrichtung zum direkten Auftragen eines flüssigen oder pastösen Mediums auf eine laufende Materialbahn
JP2005296723A (ja) * 2004-04-07 2005-10-27 Mitsubishi Heavy Ind Ltd 塗工装置
CA2506235C (en) * 2004-05-03 2013-12-10 Transphase Technology Ltd. Steam box
US20080226966A1 (en) * 2004-12-20 2008-09-18 David Dillard Fuel Cell Devices, Systems, and Methods
EP1857189B1 (de) * 2005-03-11 2010-09-08 Toray Industries, Inc. Auftragsvorrichtung, auftragsverfahren und verfahren zur herstellung einer bahn mit einem überzugsfilm
FI118305B (fi) * 2006-03-24 2007-09-28 Metso Paper Inc Menetelmä ja sovitelma päällystemäärän hallitsemiseksi kuiturainan päällystyksessä
DE102007027817A1 (de) * 2007-06-13 2008-12-18 Voith Patent Gmbh Rakelvorrichtung
JP4920737B2 (ja) * 2009-10-30 2012-04-18 富士フイルム株式会社 塗布膜の乾燥方法
CN102814256A (zh) * 2011-08-09 2012-12-12 南通鸿鼎威雅地毯有限公司 地毯自动上胶装置
CN102493280A (zh) * 2011-12-02 2012-06-13 牡丹江恒丰纸业股份有限公司 一种具有阻燃带的卷烟纸的制造装置及制备方法
US8826558B2 (en) 2012-10-11 2014-09-09 Eastman Kodak Company Barrier dryer transporting medium through heating liquid
US8756830B2 (en) 2012-10-11 2014-06-24 Eastman Kodak Company Dryer transporting moistened medium through heating liquid
US8684514B1 (en) 2012-10-11 2014-04-01 Eastman Kodak Company Barrier dryer with porous liquid-carrying material
US9074816B2 (en) 2012-10-11 2015-07-07 Eastman Kodak Company Dryer with heating liquid in cavity
US8904668B2 (en) 2012-10-11 2014-12-09 Eastman Kodak Company Applying heating liquid to remove moistening liquid
US8756825B2 (en) 2012-10-11 2014-06-24 Eastman Kodak Company Removing moistening liquid using heating-liquid barrier
US9096079B2 (en) 2012-10-11 2015-08-04 Eastman Kodak Company Dryer impinging heating liquid onto moistened medium
US8818252B2 (en) 2012-10-29 2014-08-26 Eastman Kodak Company Toner fixer transporting medium through heating liquid
US8824944B2 (en) 2012-10-29 2014-09-02 Eastman Kodak Company Applying heating liquid to fix toner
US8849170B2 (en) 2012-10-29 2014-09-30 Eastman Kodak Company Toner fixer with liquid-carrying porous material
US8798515B2 (en) 2012-10-29 2014-08-05 Eastman Kodak Company Transported medium heating-liquid-barrier toner fixer
US8938195B2 (en) 2012-10-29 2015-01-20 Eastman Kodak Company Fixing toner using heating-liquid-blocking barrier
US8805261B2 (en) 2012-10-29 2014-08-12 Eastman Kodak Company Toner fixer impinging heating liquid onto medium
US8843047B2 (en) 2012-10-29 2014-09-23 Eastman Kodak Company Toner fixer impinging heating liquid onto barrier
JP6241043B2 (ja) * 2013-02-27 2017-12-06 セイコーエプソン株式会社 記録物の製造方法
US20170361626A1 (en) * 2015-01-28 2017-12-21 Hewlett-Packard Development Company, L.P. Coating device
DE102020117953A1 (de) 2020-07-08 2022-01-13 Voith Patent Gmbh Beschichtungsanlange und Verfahren zur Beschichtung
CN114176444B (zh) * 2021-12-10 2023-04-11 维达纸业(浙江)有限公司 一种卫卷纸的生产工艺及其生产设备

Family Cites Families (27)

* Cited by examiner, † Cited by third party
Publication number Priority date Publication date Assignee Title
US3152918A (en) 1961-06-02 1964-10-13 Kimberly Clark Co Process of coating paper with a trailing blade
DE1817912C3 (de) 1968-11-22 1978-08-17 Vepa Ag, Riehen B. Basel (Schweiz) Vorrichtung zum kontinuierlichen Aufbringen einer Behandlungsflüssigkeit, insbesondere einer Färbeflüssigkeit, auf ein bahnförmiges Textilgut o.dgl
US3785340A (en) * 1972-08-08 1974-01-15 Beloit Corp Metering bar
SE419946B (sv) * 1974-10-16 1981-09-07 Inventing Ab Sett och anordning for bestrykning av en lopande bana
DE3207463C2 (de) 1982-03-02 1985-02-28 Vits-Maschinenbau Gmbh, 4018 Langenfeld Verfahren und Vorrichtung zum Trocknen und anschließendem Kühlen von insbesondere nach dem Offsetdruckverfahren bedruckten Warenbahnen
DE3701406A1 (de) 1987-01-20 1988-07-28 Vib Apparatebau Gmbh Vorrichtung zum aufbringen von dampf auf eine materialbahn, wie papier
DE3922184A1 (de) * 1988-12-22 1990-06-28 Escher Wyss Gmbh Verfahren zum glaetten einer papierbahn
US5106655A (en) * 1989-01-27 1992-04-21 Measurex Corporation Cross-directional smoothness controller and method of using the same
DE3935059C1 (de) * 1989-10-20 1991-02-21 Juergen 8609 Bischberg De Ruemmer
DE9100291U1 (de) * 1991-01-11 1991-04-04 Jagenberg AG, 40476 Düsseldorf Vorrichtung zum beidseitigen Beschichten einer Materialbahn
DE4224726A1 (de) * 1992-07-27 1994-02-03 Voith Gmbh J M Streicheinrichtung mit zwischen einer Auftragswalze und einer Gegenwalze gebildetem Auftragsspalt
DE4227136C3 (de) * 1992-08-17 1998-08-13 Weitmann & Konrad Fa Verfahren und Vorrichtung zum Befeuchten einer bedruckten und anschließend thermisch getrockneten, bewegten Materialbahn, insbesondere Papierbahn
DE4302435A1 (en) * 1993-01-29 1993-08-12 Voith Gmbh J M Paper web coating appts. - has smoother against side of web in free path after leaving gap between applicator rollers
FI93242C (fi) * 1993-03-25 1995-03-10 Valmet Paper Machinery Inc Menetelmä ja laitteisto päällystysleveyden rajoittamiseksi ja/tai telapäätyjen vaurioitumisen estämiseksi paperin tai vastaavan rainamateriaalin päällystyksessä tai pintaliimauksessa
ATE162251T1 (de) 1993-08-07 1998-01-15 Voith Gmbh J M Vorrichtung zum streichen einer papierbahn
EP0643168B1 (de) * 1993-08-07 1998-01-14 J.M. Voith GmbH Vorrichtung zum Streichen einer Papierbahn
DE4402744C2 (de) * 1994-01-31 1997-10-16 Voith Gmbh J M Vorrichtung zum Auftragen von Streichfarbe auf eine Faserstoffbahn
JP2862787B2 (ja) * 1994-03-09 1999-03-03 日本製紙株式会社 塗被紙の製造方法
FI98387C (fi) * 1995-02-01 1997-06-10 Valmet Corp Menetelmä pintakäsiteltävän paperin, etenkin hienopaperin, valmistamiseksi sekä paperikoneen kuivapää
DE19545182C2 (de) * 1995-03-30 1998-09-17 Oji Paper Co Verfahren zur Herstellung von beschichtetem Papier
FI108061B (fi) * 1995-10-05 2001-11-15 Metso Paper Inc Menetelmä liikkuvan paperi- tai kartonkirainan päällystämiseksi
FI101092B (fi) * 1996-02-07 1998-04-15 Valmet Corp Menetelmä filminsiirtopäällystyksessä ja menetelmän toteuttamiseen tar koitettu laitteisto
DE19651738A1 (de) * 1996-12-12 1998-06-18 Voith Sulzer Papiermasch Gmbh Auftragswerk zum direkten oder indirekten Auftragen eines flüssigen oder pastösen Mediums auf eine laufende Oberfläche
DE29621877U1 (de) * 1996-12-17 1997-02-13 Voith Sulzer Papiermaschinen GmbH, 89522 Heidenheim Auftrags- und Dosiersystem zum Auftragen eines Streichmediums auf Auftragswalzen
DE19751697A1 (de) * 1997-11-21 1999-05-27 Voith Sulzer Papiertech Patent Vorrichtung zum indirekten Auftragen eines flüssigen oder pastösen Mediums auf eine Materialbahn, insbesondere aus Papier oder Karton
US5932287A (en) * 1997-12-18 1999-08-03 Johns Manville International, Inc. Manufacture of built-up roofing products with moisture conditioned fibrous mats
DE19800955A1 (de) * 1998-01-13 1999-07-15 Voith Sulzer Papiertech Patent Vorrichtung zum Auftragen eines flüssigen oder pastösen Auftragsmediums auf eine laufende Materialbahn, insbesondere aus Papier oder Karton

Non-Patent Citations (1)

* Cited by examiner, † Cited by third party
Title
None

Cited By (8)

* Cited by examiner, † Cited by third party
Publication number Priority date Publication date Assignee Title
DE10023794A1 (de) * 2000-05-15 2001-11-22 Voith Paper Patent Gmbh Vorrichtung zum Auftragen eines flüssigen oder pastösen Mediums auf eine laufende Oberfläche
EP1234912A3 (de) * 2001-02-13 2004-01-14 Mitsubishi Heavy Industries, Ltd. Auftragsvorrichtung und Verfahren zur Herstellung von beschichtetem Papier
CN112657712A (zh) * 2019-11-17 2021-04-16 杨滋垚 一种复合材料纺织布制造设备
CN115839039A (zh) * 2021-09-20 2023-03-24 维美德技术有限公司 具有用于加热浆幅材的装置的制浆机
AT525492A3 (de) * 2021-09-20 2023-04-15 Valmet Technologies Oy Pulpemaschine mit einer Anordnung zum Erwärmen einer Pulpebahn
AT525492B1 (de) * 2021-09-20 2023-07-15 Valmet Technologies Oy Pulpemaschine mit einer Anordnung zum Erwärmen einer Pulpebahn
WO2023169741A1 (de) * 2022-03-09 2023-09-14 Voith Patent Gmbh Auftragsdüse, auftragswerk und verfahren
WO2023169740A1 (de) * 2022-03-09 2023-09-14 Voith Patent Gmbh Auftragsdüse, auftragswerk und verfahren

Also Published As

Publication number Publication date
DE19800954A1 (de) 1999-07-15
JPH11253867A (ja) 1999-09-21
EP0928845A3 (de) 2000-04-19
US6309463B1 (en) 2001-10-30
US6309704B1 (en) 2001-10-30

Similar Documents

Publication Publication Date Title
EP0928845A2 (de) Vorrichtung zum direkten oder indirekten Auftragen eines flüssigen oder pastösen Auftragsmediums auf eine laufende Materialbahn, insbesondere aus Papier oder Karton
EP0881330B1 (de) Verfahren und Vorrichtung zum Auftragen eines flüssigen oder pastösen Auftragmediums auf eine laufende Oberfläche
DE102008021541B4 (de) Verfahren und Vorrichtung zum Behandeln einer Faserbahn
DE112007001442B4 (de) Verfahren und Vorrichtung zur Behandlung einer Faserbahn
DE69722649T2 (de) Verfahren und vorrichtung zum beschichten einer laufenden pappebahn
DE69712991T2 (de) Folientransferbeschichtungsverfahren und vorrichtung zur durchführung des verfahrens
EP2157240B1 (de) Vorhang-Auftragsmaschine
EP1516087A2 (de) Vorrichtung zum beidseitigen streichen und zum trocknen einer materialbahn, insbesondere aus papier oder karton
DE3207463C2 (de) Verfahren und Vorrichtung zum Trocknen und anschließendem Kühlen von insbesondere nach dem Offsetdruckverfahren bedruckten Warenbahnen
DE102009009862B4 (de) Verfahren und Anlage zum Aufbringen einer Suspension auf eine Materialbahn
DE9111669U1 (de) Vorrichtung zum Auftragen von Streichfarbe auf eine Faserstoffbahn
WO2001068272A2 (de) Verfahren und vorrichtung zum auftrag einer partiellen oberflächenbeschichtung
DE4118076A1 (de) Verfahren und vorrichtung zum schlichten von webketten aus textilen garnen
DE10195585B3 (de) Vorrichtung und Verfahren zur Steuerung des Verwerfens von Papier oder Pappe
DE69018135T2 (de) Befeuchtungsvorrichtung für bandförmiges Material, insbesondere Papier.
DE19954083A1 (de) Verfahren und Vorrichtung zum Beschichten einer laufenden Materialbahn, insbesondere aus Papier oder Karton
EP0909356A1 (de) Verfahren und vorrichtung zum beschichten einer laufenden materialbahn, insbesondere aus papier oder karton, mit flüssigem oder pastösem auftragsmedium, verfahren zur herstellung einer gestrichenen warenbahn
DE102005031444A1 (de) Vorrichtung zum Befeuchten einer Materialbahn
DE1038515B (de) Vorrichtung zum Schlichten von Faeden bzw. Fadenscharen
DE19743246A1 (de) Kombinations-Auftragsvorrichtung
DE19960772A1 (de) Auftragsverfahren
DE102005027831A1 (de) Beschichtungsverfahren
DE2820914B2 (de) Verfahren und Vorrichtung zum Nachbehandeln von laufenden Textilbahnen
DE102004062120A1 (de) Verfahren und Vorrichtung zum Behandeln einer laufenden Papier-, Karton- oder anderen Faserstoffbahn
DE102012205074A1 (de) Vorrichtung zur Herstellung einer ein- oder beidseitig, ein- oder mehrfach beschichteten Faserstoffbahn

Legal Events

Date Code Title Description
PUAI Public reference made under article 153(3) epc to a published international application that has entered the european phase

Free format text: ORIGINAL CODE: 0009012

AK Designated contracting states

Kind code of ref document: A2

Designated state(s): AT DE FI FR IT SE

AX Request for extension of the european patent

Free format text: AL;LT;LV;MK;RO;SI

PUAL Search report despatched

Free format text: ORIGINAL CODE: 0009013

AK Designated contracting states

Kind code of ref document: A3

Designated state(s): AT BE CH CY DE DK ES FI FR GB GR IE IT LI LU MC NL PT SE

AX Request for extension of the european patent

Free format text: AL;LT;LV;MK;RO;SI

17P Request for examination filed

Effective date: 20000828

RAP1 Party data changed (applicant data changed or rights of an application transferred)

Owner name: VOITH PAPER PATENT GMBH

AKX Designation fees paid

Free format text: AT DE FI FR IT SE

17Q First examination report despatched

Effective date: 20040219

STAA Information on the status of an ep patent application or granted ep patent

Free format text: STATUS: THE APPLICATION IS DEEMED TO BE WITHDRAWN

18D Application deemed to be withdrawn

Effective date: 20040630