EP0806784A2 - Schaltgerät mit bewegbaren Verbindungs-Leitungen - Google Patents
Schaltgerät mit bewegbaren Verbindungs-Leitungen Download PDFInfo
- Publication number
- EP0806784A2 EP0806784A2 EP97890079A EP97890079A EP0806784A2 EP 0806784 A2 EP0806784 A2 EP 0806784A2 EP 97890079 A EP97890079 A EP 97890079A EP 97890079 A EP97890079 A EP 97890079A EP 0806784 A2 EP0806784 A2 EP 0806784A2
- Authority
- EP
- European Patent Office
- Prior art keywords
- switching device
- lines
- carrier
- section
- adjacent
- Prior art date
- Legal status (The legal status is an assumption and is not a legal conclusion. Google has not performed a legal analysis and makes no representation as to the accuracy of the status listed.)
- Granted
Links
Images
Classifications
-
- H—ELECTRICITY
- H01—ELECTRIC ELEMENTS
- H01H—ELECTRIC SWITCHES; RELAYS; SELECTORS; EMERGENCY PROTECTIVE DEVICES
- H01H71/00—Details of the protective switches or relays covered by groups H01H73/00 - H01H83/00
- H01H71/08—Terminals; Connections
- H01H71/082—Connections between juxtaposed circuit breakers
Definitions
- the invention relates to a switching device for installation in a control cabinet, which switching device has lines for establishing electrical connections to the connection terminals of a further switching device arranged immediately adjacent.
- a control cabinet generally has a plurality of rails spaced apart from one another, on which rails the various switching devices are fixed and then electrically connected to one another.
- a fault current module has become known from EP-A1-649 158 , which has a rigid bracket which runs horizontally with respect to the installation position in a control cabinet and in which bracket the lines necessary for establishing electrical connections to an adjacent circuit breaker lead are. The ends of the lines protrude from the bracket in such a way that when the circuit breaker and FI module are arranged next to each other on a mounting rail, they engage in the connection terminals of the circuit breaker.
- this is achieved in that the lines are fixed on the switching device relative to the switching device along a predetermined path.
- the lines can thus be removed from the connecting terminals of the adjacent switching device, thereby releasing the mechanical connection of the two switching devices themselves without any movement of the switching device provided with the lines.
- a preferred embodiment of the invention can consist in that the lines are fixed on the switching device so as to be translationally displaceable.
- the lines are arranged on a common carrier, which carrier is mounted in the switching device so as to be displaceable parallel to the side surfaces of the switching device between a retracted and an extended position.
- any neighboring switching device designed in accordance with the standards can be wired in such a configuration.
- the carrier has a first straight section which runs parallel to the side surfaces of the switching device, which section runs inside the switching device and has one end extending through a switching device transverse wall.
- the carrier has a second section, which is fixed at the end of the first section which extends through the switching device transverse wall and runs essentially normal to this, completely outside the switching device and which has the connection terminals of the adjacent switching device connectable cable ends.
- a further feature of the invention can be that the carrier section running parallel to the side surfaces of the switching device has a spring-attached projection at its end projecting through the switching device transverse wall, which in the extended position of the carrier is located on an edge of the switching device transverse wall starts. This allows the carrier to be detachably fixed in its extended position, as a result of which the neighboring switching device can be brought into its position in a particularly simple manner.
- the carrier is formed by a flat plate, on the surfaces of which the lines are fixed, since this embodiment can be produced particularly easily.
- the plate has walls running essentially normal to these surfaces on each surface equipped with lines.
- the second carrier section running outside the switching device has rail-shaped approaches, preferably extending essentially over the entire length of the second carrier section, on which a cover covering the lines can be positively fixed. This means that the cables can be enclosed on all sides and electrically isolated from their environment.
- extensions extending in the direction of the carrier plate are arranged on the inside of the cover.
- the lines between the carrier plate and cover can be clamped and fixed on the carrier, which means that further fastening measures, such as Gluing, screwing or the like can be omitted.
- the cover has a nose in the region of its side edge adjacent to the switching device, which nose engages in a corresponding recess in the switching device transverse wall in the retracted position of the carrier.
- the cover is thus secured in the retracted position of the carrier against horizontal displacements, so that it can no longer be detached from the carrier plate. Measures to permanently close the lid, e.g. Gluing is not required.
- peg-shaped projections are formed, which engage in correspondingly mirror-inverted holes in the side wall of the adjacent further switching device in the engaged state, because the adjacent switching device is in exact alignment the side wall can be created.
- Another object of the invention is to provide a circuit breaker which comprises a switching device of the type described hitherto, has both RCD and CB function, is of compact design and is easy to wire.
- the switching device is formed by a fault current module comprising a switch lock, a summation current transformer and a circuit of the summation current transformer that actuates the switch lock
- the adjacent switching device is formed by a circuit breaker
- the switch lock of the fault current module with one through the side walls from Fault current module and tripping finger is provided through which the switch lock of the adjacent circuit breaker can be actuated.
- the switch contacts of the circuit breaker are also used for switching off if the FI module responds. Separate, series-connected contacts of the FI part therefore do not need to be provided, which results in a downsizing of the overall arrangement.
- a switching device 1 for control cabinets which is to be electrically connected to a further switching device 4 arranged directly adjacent, with corresponding lines 2 in order to avoid their manual laying.
- the lines are provided according to the invention 2 relative to the switching device 1 along a predetermined path movable to fix this.
- This movability can be realized, for example, in that the lines 2 are arranged so as to be pivotable about axes 5. However, the lines 2 are preferably slidably displaceable, in particular slidably mounted parallel to the side walls 10, 11 of the switching device 1.
- the lines 2 could each be fixed on the switching device 1 so as to be movable, that is to say pivotable or displaceable, but for reasons of simpler handling, it is expedient to fix them together on the switching device 1 so as to be movable.
- the lines 2 are preferably mechanically connected to one another, whereby the joint mobility is automatically given.
- the axes 5 would then be combined to form a common axis or at least all axes 5 would be arranged in alignment with one another.
- the switching device 1 is designed as a fault current module, which itself has no switch contacts but only the fault current detection circuit with the associated switch lock.
- the fault current detection circuit is formed from a switch lock, a summation current transformer 17 and a circuit of the summation current transformer 17 that actuates the switch lock. To maintain clarity, only the summation current transformer 17 is shown in FIG.
- the neighboring switching device 4 is a circuit breaker.
- the switch lock of the residual current module has a trigger finger 15, which trigger finger 15 protrudes through the side wall 11 of the residual current module and through the side wall 40 of the circuit breaker and can actuate the switch lock of the circuit breaker (see FIG. 8).
- the switch contacts of the circuit breaker are thus used both for switching off in the event of a line overload and in the event of a fault current.
- the invention is in no way limited to this embodiment variant, but rather can be transferred to any type of device which can be installed in control cabinets. Examples of this are: circuit breakers with an adjacent FI switch; Miniature circuit breakers with adjacent impulse switches, staircase automatons, etc.
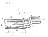
- a carrier 6 is provided, on which the lines 2 are arranged.
- the carrier 6 is mounted parallel to the side surfaces 10, 11 of the switching device 1 between a retracted and an extended position in the switching device 1.
- this carrier 6 The most important component of this carrier 6 is its section 60, which runs parallel to the side surfaces 10, 11.
- This section 60 like a drawer, is displaceably guided within the switching device 1 and extends with one end 61 through one of the switching device transverse walls 12, 13.
- the lower transverse wall 12 was selected for this purpose, but it would be entirely equivalent to carry out the support section 60 through the upper transverse wall 13.
- a second section 62 which is essentially normal to this section 60 fixed. This is entirely outside the switching device 1 and carries the line ends 20. These are distributed on the carrier section 62 so that when the carrier 6 moves in the direction of the arrow 8 into the terminals 3 of one immediately adjacent, that is to say to the side wall 11 extend further arranged switching device 4.
- the first carrier section 60 also has a spring-mounted extension 63 at its end 61 which projects through the transverse wall 12.
- This extension 63 is located in the retracted position of the carrier 6 inside the switching device 1, in the extended carrier position it protrudes just beyond the transverse wall 12 and can thus attach to the edge 64 of the transverse wall 12 (cf. also FIG. 4 ).
- the carrier 6 can thereby be locked in its extended position.
- the carrier 6 is formed by a flat plate 65, on the surfaces of which the lines 2 are fixed. (To maintain clarity, only one of the lines 2 is shown in FIG. 3). According to the embodiment shown in the drawings, all lines 2 are fixed on one and the same surface of plate 65, namely on the surface of plate 65 facing away from further switching device 4. However, within the meaning of the invention it is also entirely possible to distribute the lines 2 on both surfaces of the plate 65 in order to e.g. with the same plate dimensions to accommodate lines 2 of larger cross section, or to arrange the lines 2 on the surface of the plate 65 facing away from the further switching device 4.
- the lines 2 are sufficiently insulated from one another. This could be realized, for example, in that the lines 2 are coated with an insulating material, e.g. Pour plastic.
- Another possibility is to equip the plate 65 on each surface equipped with lines 2 with walls 66 running essentially normal to these surfaces. This creates individual chambers in which the lines 2 are received, insulated from one another.
- a cover 7 which covers the lines 2 in the region of the second carrier section 62.
- Rail-shaped lugs 67 are arranged on the carrier section 62 and likewise rail-shaped lugs 75 are arranged in the cover 7 itself (cf. FIGS. 5 a, b) in order to secure it in a form-fitting manner.
- the cover 7 is open on its end face 72 facing the switching device 1, but is closed on the end face facing away from the switching device 1 by an end wall 71. The cover 7 can thus be pushed onto the carrier section 62 in the direction of the arrow 9 in FIG.
- extensions 73 extending in the direction of the carrier plate 65 are arranged. As can be seen in FIG. 6, these extensions 73 are of such a height that they are supported on the lines 2 and thus clamp them between the carrier plate 65 and the cover 7.
- the cover 7 In the area of its side edge 72 adjacent to the switching device 1, the cover 7 has a nose 74, which nose 74 engages in a corresponding recess in the switching device transverse wall 12 in the retracted position of the carrier 6 (see FIG. 7).
- the movement of the switch lock of the switching device 1 is transmitted to the switch lock of the adjacent circuit breaker by a trigger finger 15 protruding through the side wall 11. So that this trigger finger 15 can be inserted exactly into the corresponding socket of the circuit breaker switch lock when the two switching devices 1, 4 are joined together, it is favorable to design the side wall 11 to which the further switching device 4 can be attached with peg-shaped lugs 16 to provide.
- the lugs 16 engage in mirror-inverted holes in the side wall of the adjacent switching device 4 and thus ensure an exact alignment of the two switching devices 1, 4.
- FIGS. 8-10 The fault current module 1 is fixed (snapped on) on the control cabinet rail and the carrier 6 is brought into its extended position.
- the circuit breaker 4 is also arranged on the rail at a small horizontal distance from the fault current module (Fig. 8).
- the two switching devices 1, 4 are now pushed towards one another until the lugs 16 engage in the corresponding bores and the trigger finger 15 in the corresponding socket and the switching devices 1, 4 lie with their side surfaces 11, 40 against one another (FIG. 9). .
Landscapes
- Patch Boards (AREA)
- Switch Cases, Indication, And Locking (AREA)
- Coupling Device And Connection With Printed Circuit (AREA)
- Push-Button Switches (AREA)
- Trip Switchboards (AREA)
- Input Circuits Of Receivers And Coupling Of Receivers And Audio Equipment (AREA)
- Keying Circuit Devices (AREA)
- Cable Accessories (AREA)
- Structure Of Telephone Exchanges (AREA)
- Breakers (AREA)
- Casings For Electric Apparatus (AREA)
- Mechanical Light Control Or Optical Switches (AREA)
- Use Of Switch Circuits For Exchanges And Methods Of Control Of Multiplex Exchanges (AREA)
Abstract
Description
- Die Erfindung betrifft ein Schaltgerät für den Einbau in einen Schaltschrank, welches Schaltgerät Leitungen zum Herstellen elektrischer Verbindungen zu den Anschlußklemmen eines unmittelbar benachbart angeordneten weiteren Schaltgerätes aufweist.
- Ein Schaltschrank weist in der Regel mehrere beabstandet untereinander angeordnete Schienen auf, auf welchen Schienen die verschiedenen Schaltgeräte festgelegt und anschließend elektrisch miteinander verbunden werden.
- Es gibt Schaltgeräte, die in jedem Schaltkasten vorhanden sind und immer elektrisch in Serie geschaltet werden müssen. Bestes Beispiel hiefür sind Leitungsschutzschalter und Fehlerstrom-Schutzschalter. Der Übersichtlichkeit halber werden diese Bauteile üblicherweise auf ein und derselben Schiene unmittelbar benachbart zueinander angeordnet. Nachdem sie, wie schon erwähnt, stets in Serie geschaltet werden müssen, liegt es auf der Hand, beide Schalter einstückig aufzubauen, um den Aufwand ihrer Verdrahtung zu reduzieren.
- Durch die EP-A1-649 158 ist ein Fehlerstrommodul bekannt geworden, das einen -in Bezug auf die Einbaulage in einem Schaltschrank- horizontal verlaufenden starren Bügel aufweist, in welchem Bügel die zur Herstellung elektrischer Verbindungen zu einem benachbart angeordneten LS-Schalter notwendigen Leitungen geführt sind. Die Enden der Leitungen sind aus dem Bügel herausragend angeordnet und zwar in der Weise, daß sie, wenn LS-Schalter und FI-Modul auf einer Montageschiene nebeneinander angeordnet sind, in die Anschlußklemmen des LS-Schalter eingreifen.
- Bei einer derartigen Zusammenschaltung von FI-Modul und LS-Schalter ist es vorschriftsgemäß notwendig, die beiden Geräte unlösbar miteinander zu verbinden, um ein nicht fachgerecht durchgeführtes separates Tauschen einer Einzelkomponente zu unterbinden. Werden jedoch andere, nebeneinander angeordnete Geräte in erläuterter Weise miteinander verdrahtet -z.B. LS-Schalter mit Stromstoßschalter-, so ist es erlaubt, jedes der beiden Geräte einzeln zu tauschen. Der Nachteil, den die Ausbildung nach der EP-A1-649 158 in so einem Fall mitsich bringt, ist darin gelegen, daß im Störungsfall -auch wenn lediglich ein Teil des Schalterblockes defekt ist- stets der gesamte Schalterblock ausgetauscht oder zur Reparatur im ganzen ausgebaut werden muß.
- Beim Austausch eines der beiden Module ergibt sich allerdings die Schwierigkeit, daß diese durch die Montage-Schiene einerseits und den starren Bügel andererseits formschlüssig miteinander verbunden sind. Um diese Verbindung zu lösen, müssen beide Module gemeinsam ausgebaut, damit beide von der jeweils weiterführenden Verkabelung abgeschlossen und von der Schiene genommen werden.
- Es ist Aufgabe der Erfindung, eine Ausgestaltungs-Möglichkeit eines Schaltgerätes der eingangs erwähnten Art anzugeben, bei welcher eine Einschränkung der Bewegungsfreiheit des benachbart angeordneten Schaltgerätes durch die elektrischen Verbindungsleitungen vermieden wird.
- Erfindungsgemäß wird dies dadurch erreicht, daß die Leitungen relativ zum Schaltgerät längs eines vorbestimmten Weges bewegbar an diesem festgelegt sind.
- Damit können die Leitungen aus den Anschlußklemmen des benachbarten Schaltgerätes entfernt werden, dadurch die mechanische Verbindung der beiden Schaltgeräte ohne jeglicher Bewegung des mit den Leitungen versehenen Schaltgerätes selbst, gelöst werden.
- In Weiterbildung der Erfindung kann vorgesehen sein, daß sämtliche Leitungen gemeinsam bewegbar sind.
- Damit kann der Zeitaufwand für Montage bzw. Demontage verringert werden.
- In diesem Zusammenhang kann weiters vorgesehen sein, daß sämtliche Leitungen mechanisch miteinander verbunden sind, weil damit die gemeinsame Bewegbarkeit besonders gut realisiert werden kann.
- Eine bevorzugte Ausführungsform der Erfindung kann darin bestehen, daß die Leitungen translatorisch verschiebbar am Schaltgerät festgelegt sind.
- Diese Art der Festlegung ist gegenüber der alternativ vorstellbaren verschwenkbaren Lagerung einfacher herzustellen.
- In diesem Zusammenhang kann weiters vorgesehen sein, daß die Leitungen auf einem gemeinsamen Träger angeordnet sind, welcher Träger parallel zu den Seitenflächen des Schaltgerätes zwischen einer eingefahrenen und einer ausgefahrenen Position verschiebbar im Schaltgerät gelagert ist.
- Nachdem übliche Anschlußklemmen so konstruiert sind, daß die in sie einzubringenden Leitungen in Richtung parallel zu den Seitenwänden einzuführen sind, kann bei einer derartigen Ausbildung jedes normgemäß gestaltete Nachbar-Schaltgerät verdrahtet werden. Weiters kann vorgesehen sein, daß der Träger einen ersten geraden, parallel zu den Seitenflächen des Schaltgerätes verlaufenden Abschnitt aufweist, welcher Abschnitt im Inneren des Schaltgerätes verläuft und mit einem Ende durch eine Schaltgerät-Querwand hindurchreicht.
- Damit wird eine kompakte Bauweise erreicht, durch die Anordnung des Trägers im Inneren des Schaltgerätes dienen dessen Gehäuse-Wandungen gleichzeitig zur Isolierung der Leitungen.
- In weiterer Ausgestaltung der Erfindung kann vorgesehen sein, daß der Träger einen am durch die Schaltgerät-Querwand hindurchreichenden Ende des ersten Abschnittes festgelegten, im wesentlichen normal zu diesem, zur Gänze außerhalb des Schaltgerätes verlaufenden zweiten Abschnitt aufweist, der die mit den Anschlußklemmen des benachbarten Schaltgerätes verbindbaren Leitungsenden trägt.
- Damit werden die Leitungen besonders gut mechanisch miteinander verbunden, ihr Einbringen in die Anschlußklemmen des benachbaren Schaltgerätes dadurch vereinfacht. Ein weiteres Merkmal der Erfindung kann sein, daß der parallel zu den Seitenflächen des Schaltgerätes verlaufende Träger-Abschnitt an seinem durch die Schaltgerät-Querwand hindurchragenden Ende einen federnd gehaltenen Ansatz aufweist, welcher sich in der ausgefahrenen Position des Trägers an einer Kante der Schaltgerät-Querwand ansetzt. Dies erlaubt eine lösbare Festlegung des Trägers in seiner ausgefahrenen Position, wodurch das Nachbar-Schaltgerät besonders einfach in seine Position gebracht werden kann.
- Vorteilhaft kann es sein, daß der Träger durch eine ebene Platte gebildet ist, an deren Oberflächen die Leitungen festgelegt sind, da diese Ausgestaltungsweise besonders einfach hergestellt werden kann.
- In diesem Zusammenhang kann vorgesehen sein, daß die Platte an jeder mit Leitungen bestückten Oberfläche im wesentlichen normal zu diesen Oberflächen verlaufende Wandungen aufweist.
- Diese Wandungen dienen zur gegenseitigen elektrischen Isolation der einzelnen Leitungen. Besonders vorteilhaft kann es sein, daß sämtliche Leitungen an ein und derselben Oberfläche der Platte festgelegt sind, weil sich dadurch die Leitungen ähnlich ausbilden lassen und dadurch besonders einfach zu montieren, also auf die Platte aufzubringen sind.
- In Weiterbildung der Erfindung kann weiters vorgesehen sein, daß der zweite, außerhalb des Schaltgerätes verlaufende Träger-Abschnitt schienenförmige, vorzugsweise sich im wesentlichen über die gesamte Länge des zweiten Träger-Abschnittes erstreckende Ansätze aufweist, an denen ein die Leitungen bedeckender Deckel formschlüssig festlegbar ist. Damit können die Leitungen allseitig umschlossen und gegenüber ihrer Umwelt elektrisch isoliert werden.
- In diesem Zusammenhang kann vorgesehen sein, daß an der Innenseite des Deckels sich in Richtung der Trägerplatte erstreckende Fortsätze angeordnet sind.
- Mithilfe solcher Fortsätze können die Leitungen zwischen Träger-Platte und Deckel eingeklemmt und am Träger festgelegt werden, wodurch weitere Befestigungsmaßnahmen wie z.B. Kleben, Verschrauben od. dgl. entfallen können.
- Eine Verbesserung kann in diesem Zusammenhang dadurch erreicht werden, daß der Deckel im Bereich seiner dem Schaltgerät benachbarten Seitenkante eine Nase aufweist, welche Nase in der eingefahrenen Position des Trägers in eine entsprechende Ausnehmung der Schaltgerät-Querwand eingreift.
- Der Deckel wird damit in der eingefahrenen Position des Trägers auch gegen horizontale Verschiebungen gesichert, sodaß er nicht mehr von der Trägerplatte gelöst werden kann. Maßnahmen zur dauerhaften Verschließung des Deckels, wie z.B. Verkleben werden damit nicht benötigt.
- Vorteilhaft kann es sein, daß an jener Seitenwand, an welcher das weitere Schaltgerät anlegbar ist, zapfenförmige Ansätze angeformt sind, welche im angerückten Zustand in entsprechend spiegelbildlich in die Seitenwand des benachbarten weiteren Schaltgerätes eingelassene Bohrungen eingreifen, weil damit das benachbarte Schaltgerät in exakter Ausrichtung an die Seitenwand angelegt werden kann.
- Eine weitere Aufgabe der Erfindung liegt darin, einen Schutzschalter anzugeben, der ein Schaltgerät der bisher beschriebenen Art umfaßt, sowohl FI- als auch LS-Funktion aufweist, kompakt aufgebaut und einfach zu verdrahten ist.
- Erfindungsgemäß wird dies dadurch erreicht, daß das Schaltgerät durch ein Fehlerstrommodul umfassend ein Schaltschloß, einen Summenstromwandler und eine das Schaltschloß betätigende Beschaltung des Summenstromwandlers gebildet ist, daß das benachbarte Schaltgerät durch einen Leitungsschutzschalter gebildet ist, und daß das Schaltschloß des Fehlerstrommodules mit einem durch die Seitenwände von Fehlerstrommodul und Leitungsschutzschalter hindurchgreifenden Auslöse-Finger versehen ist, durch welchen das Schaltschloß des benachbart angeordneten Leitungsschutzschalters betätigbar ist.
- Durch eine solche Ausbildung werden die Schaltkontakte des Leitungsschutzschalters auch für das Abschalten im Falle des Ansprechens des FI-Modules verwendet. Separate, in Serie geschaltete Kontakte des FI-Teiles brauchen daher nicht vorgesehen werden, wodurch sich eine Verkleinerung der Gesamtanordnung ergibt.
- Die Erfindung wird nun unter Bezugnahme auf die Zeichnungen, die ein bevorzugtes Ausführungsbeispiel zeigen, näher erläutert.
- Es zeigen:
- Fig.1 ein erfindungsgemäßes Schaltgerät und ein benachbart dazu angeordnetes weiteres Schaltgerät im Aufriß;
- Fig.2 eine besonders bevorzugte Ausführungsform der Erfindung mit geöffnetem Gehäuse im Aufriß;
- Fig.3 einen erfindungsgemäßen Leitungsträger im Schrägriß;
- Fig.4 das erfindungsgemäße Schaltgerät nach Fig.2 mit geschlossenem Gehäuse im Schrägriß;
- Fig.5a,b eine Deckel für den Träger nach Fig.4 im Schrägriß und im Schnitt;
- Fig.6 eine Seitenansicht des erfindungsgemäßen Schaltgerätes nach Fig.2;
- Fig.7 eine Unteransicht des erfindungsgemäßen Schaltgerätes nach Fig.2;
- Fig.8 das erfindungsgemäße Schaltgerät nach Fig.2 mit einem dazu benachbart anzuordnendem Leitungsschutzschalter im Aufriß;
- Fig.9 die Anordnung nach Fig.8, wobei FI-Modul und LS-Schalter aneinander angerückt sind und der Leitungsträger sich in seiner ausgefahrenden Position befindet und
- Fig.10 die Anordnung nach Fig.9, wobei der Leitungsträger sich in seiner eingefahrenen Position befindet.
- Wie eingangs schon erwähnt, ist es üblich, ein Schaltgerät 1 für Schaltschränke, das mit einem weiteren unmittelbar benachbart angeordneten Schaltgerät 4 elektrisch verbunden werden soll, mit dementsprechenden Leitungen 2 zu versehen, um deren händisches Verlegen zu vermeiden.
- Diese Maßnahme ist auch bei einem erfindungsgemäßen Schaltgerät 1 vorgesehen, wie am besten aus Fig. 1 ersichtlich ist. Ein Problem, das sich bei einer solchen Anordnung ergibt ist, wie schon erwähnt, daß gleichzeitig mit der elektrischen Verbindung durch die Leitungen 2 auch eine mechanische Verbindung der beiden Schaltgeräte 1,4 hergestellt wird.
- Um diese von den Leitungen 2 aufgebaute Verbindung nun ohne Bewegung der beiden Schaltgeräte 1,4 lösen bzw. herstellen zu können -eine Situation, die sich nach dem Montieren der beiden Schaltgeräte 1,4 in einem Schaltschrank zwangsläufig ergibt- ist erfindungsgemäß vorgesehen, die Leitungen 2 relativ zum Schaltgerät 1 längs eines vorbestimmten Weges bewegbar an diesem festzulegen.
- Diese Bewegbarkeit kann beispielsweise dadurch realisiert sein, daß die Leitungen 2 um Achsen 5 verschwenkbar angeordnet sind. Bevorzugt werden die Leitungen 2 jedoch translatorisch verschiebbar, im besonderen parallel zu den Seitenwänden 10,11 des Schaltgerätes 1 verschiebbar gelagert.
- Prinzipiell könnten die Leitungen 2 jede für sich bewegbar, also verschwenk- oder verschiebbar am Schaltgerät 1 festgelegt sein, aus Gründen der einfacheren Handhabung ist es jedoch günstig, sie gemeinsam bewegbar am Schaltgerät 1 festzulegen. Bevorzugt werden die Leitungen 2 mechanisch miteinander verbunden, wodurch die gemeinsame Bewegbarkeit automatisch gegeben ist. Im Fall der in Fig.1 dargestellten verschwenkbaren Lagerung der Leitungen 2 würden dabei dann die Achsen 5 zu einer gemeinsamen Achse zusammengefaßt werden oder zumindest sämtliche Achsen 5 fluchtend untereinander angeordnet werden. Für die weitere Erklärung wird nun auf ein sehr spezielles Ausführungsbeipiel der Erfindung, das in den Fig.2 bis 10 dargestellt ist, Bezug genommen.
- Das Schaltgerät 1 ist hierbei als Fehlerstrommodul ausgebildet, welches selbst keine Schaltkontakte sondern lediglich die Fehlerstrom-Erkennungs-Schaltung mit zugehörigem Schaltschloß aufweist. Die Fehlerstrom-Erkennungs-Schaltung ist aus einem Schaltschloß, einem Summenstromwandler 17 und einer das Schaltschloß betätigenden Beschaltung des Summenstromwandlers 17 gebildet. Zur Wahrung der Übersichtlichkeit ist davon in Fig.2 lediglich der Summenstromwandler 17 dargestellt. Das benachbarte Schaltgerät 4 ist ein Leitungsschutzschalter.
- Das Schaltschloß des Fehlerstrommodules weist einen Auslöse-Finger 15 auf, welcher Auslöse-Finger 15 durch die Seitenwand 11 des Fehlerstrommodules sowie durch die Seitenwand 40 des Leitungsschutzschalters hindurchragt und das Schaltschloß des Leitungsschutzschalters betätigen kann (vgl. Fig.8). Damit werden die Schaltkontakte des LS-Schalters sowohl zum Abschalten in Falle einer Leitungsüberlastung als auch beim Auftreten eines Fehlstromes verwendet.
- Die Erfindung ist keineswegs auf diese Ausführungs-Variante beschränkt, vielmehr kann sie auf jede Gattung von in Schaltschränke einbaubare Geräte übertragen werden. Beispiele dafür sind: LS-Schalter mit benachbart angeordnetem FI-Schalter; LS-Schalter mit benachbart angeordnetem Stromstoß-Schalter, Treppenhaus-Automat usw.
- Wie am besten aus Fig.2 ersichtlich, ist ein Träger 6 vorgesehen, auf welchem die Leitungen 2 angeordnet sind. Der Träger 6 ist parallel zu den Seitenflächen 10,11 des Schaltgerätes 1 zwischen einer eingefahrenen und einer ausgefahrenen Position verschiebbar im Schaltgerät 1 gelagert.
- Wesentlichster Bestandteil dieses Trägers 6 ist sein parallel zu den Seitenflächen 10,11 verlaufender Abschnitt 60. Dieser Abschnitt 60 ist ähnlich einer Schublade innerhalb des Schaltgerätes 1 verschiebbar geführt und reicht mit einem Ende 61 durch eine der Schaltgerät-Querwände 12,13 hindurch. Bei der in den Zeichnungen dargestellten Ausführungsform wurde dazu die untere Querwand 12 gewählt, völlig gleichwertig wäre es jedoch, den Träger-Abschnitt 60 durch die obere Querwand 13 durchzuführen.
- Am durch die Schaltgerät-Querwand 12 hindurchreichenden Ende 61 des ersten Abschnittes 60 ist ein im wesentlichen normal zu diesem Abschnitt 60 verlaufender zweiter Abschnitt 62 festgelegt. Dieser liegt zur Gänze außerhalb des Schaltgerätes 1 und trägt die Leitungsenden 20. Diese sind so auf dem Träger-Abschnitt 62 verteilt, daß sie bei Bewegung des Trägers 6 in Richtung des Pfeiles 8 in die Anschlußklemmen 3 eines unmittelbar benachbart, also an die Seitenwand 11 angelegt angeordneten weiteren Schaltgerätes 4 hineinreichen.
- Unter Bezugnahme auf Fig.3 wird nun der Aufbau des Trägers 6 näher erläutert. Der erste Träger-Abschnitt 60 weist weiters an seinem durch die Querwand 12 hindurchragenden Ende 61 einen federnd gehaltenen Ansatz 63 auf. Dieser Ansatz 63 befindet sich in der eingefahrenen Position des Trägers 6 im Inneren des Schaltgerätes 1, ragt in der ausgefahrenen Träger-Position gerade über die Querwand 12 hinaus und kann sich damit an der Kante 64 der Querwand 12 ansetzen (vgl. auch Fig.4). Der Träger 6 ist dadurch in seiner ausgefahrenen Position arretierbar.
- Der Träger 6 ist durch eine ebene Platte 65 gebildet, an deren Oberflächen die Leitungen 2 festgelegt sind. (Zur Wahrung der Übersichtlichkeit ist in Fig.3 lediglich eine der Leitungen 2 eingezeichnet). Entsprechend der in den Zeichnungen dargestellten Ausführungsform sind dabei sämtliche Leitungen 2 an ein und derselben Oberfläche der Platte 65, nämlich auf der dem weiteren Schaltgerät 4 abgewandten Oberfläche der Platte 65, festgelegt. Es ist im Sinne der Erfindung jedoch auch durchaus möglich, die Leitungen 2 auf beide Oberflächen der Platte 65 zu verteilen, um z.B. bei gleichen Plattenabmessungen Leitungen 2 größeren Querschnittes unterzubringen, oder die Leitungen 2 auf der dem weiteren Schaltgerät 4 abgewandten Oberfläche der Platte 65 anzuordnen.
- Wichtig ist in allen Fällen, daß die Leitungen 2 ausreichend gegeneinander isoliert sind. Dies könnte beispielsweise dadurch realisiert werden, daß die Leitungen 2 mit einem Isoliermaterial, z.B. Kunststoff umgossen werden.
- Eine weitere Möglichkeit liegt darin, die Platte 65 an jeder mit Leitungen 2 bestückten Oberfläche mit im wesentlichen normal zu diesen Oberflächen verlaufenden Wandungen 66 auszustatten. Dadurch entstehen einzelne Kammern, in denen die Leitungen 2 -voneinander isoliert- aufgenommen werden.
- Durch diese Art der Isolation ist es nicht notwendig, jede Leitung 2 für sich zu isolieren, vielmehr können blanke Metallbahnen, beispielsweise Kupferbahnen, eingesetzt werden. Damit diese blanken Kupferbahnen nicht auch im Schaltschrank freiliegen, ist ein die Leitungen 2 im Bereich des zweiten Träger-Abschnittes 62 bedeckender Deckel 7 vorgesehen. Zu seiner formschlüssigen Festlegung sind schienenförmige Ansätzen 67 am Träger-Abschnitt 62 und ebenso schienenförmige Ansätze 75 im Deckel 7 selbst angeordnet (vgl. Fig.5a,b).
- An seiner dem Schaltgerät 1 zugewandten Stirnseite 72 ist der Deckel 7 offen, an der dem Schaltgerät 1 abgewandten Stirnseite jedoch von einer Stirnwand 71 verschlossen. Damit kann der Deckel 7 in Richtung des Pfeiles 9 in Fig.2 auf den Träger-Abschnitt 62 aufgeschoben werden.
- An der Innenseite des Deckels 7 sind sich in Richtung der Träger-Platte 65 erstreckende Fortsätze 73 angeordnet. Wie in Fig.6 zu erkennen, sind diese Fortsätze 73 mit einer solchen Höhe ausgebildet, daß sie sich auf die Leitungen 2 abstützen und diese damit zwischen Träger-Platte 65 und Deckel 7 einklemmen.
- Im Bereich seiner dem Schaltgerät 1 benachbarten Seitenkante 72 weist der Deckel 7 eine Nase 74 auf, welche Nase 74 in der eingefahrenen Position des Trägers 6 in eine entsprechende Ausnehmung der Schaltgerät-Querwand 12 eingreift (vgl. Fig.7).
- Damit ist jegliche Verschiebung des Deckels 7 in der eingefahrenen Position des Trägers 6, also nach abgeschlossener Montage verhinderbar und eine zuverlässige Isolation der Leitungen 2 gewährleistet.
- Bei der in den Zeichnungen dargestellten Ausführungsform der Erfindung, wird -wie oben bereits erläutert- die Bewegung des Schaltschloßes des Schaltgerätes 1 durch einen durch die Seitenwand 11 hindurchragenden Auslösefinger 15 auf das Schaltschloß des benachbart angeordneten LS-Schalters übertragen. Damit dieser Auslöse-Finger 15 beim Aneinanderfügen der beiden Schaltgeräte 1,4 exakt in die entsprechende Buchse des LS-Schalter-Schaltschlosses eingeführt werden kann, ist es günstig, die Seitenwand 11, an welche das weitere Schaltgerät 4 anlegbar ist, mit zapfenförmigen Ansätzen 16 zu versehen. Wenn die beiden Schaltgeräte 1,4 volkommen aneinander gerückt sind, so greifen die Ansätze 16 in spiegelbildlich in die Seitenwand des benachbarten Schaltgerätes 4 eingelassene Bohrungen ein und sichern damit eine exakte Ausrichtung der beiden Schaltgeräte 1,4.
- Anhand der Fig.8-10 wird abschließend die Vorgangsweise bei der Montage eines erfindungsgemäßen FI/LS-Modules erläutert. Das Fehlerstrommodul 1 wird auf der Schaltschrank-Schiene festgelegt (aufgeschnappt) und der Träger 6 in seine ausgefahrene Position gebracht. Der Leitungsschutzschalter 4 wird ebenfalls auf der Schiene -in geringem horizontalen Abstand vom Fehlerstrommodul- angeordnet (Fig.8). Die beiden Schaltgeräte 1,4 werden nun aufeinander zu geschoben, bis die Ansätze 16 in die entsprechenden Bohrungen und der Auslöse-Finger 15 in die entsprechende Buchse eingreift und die Schaltgeräte 1,4 mit ihren Seitenflächen 11,40 aneinander liegen (Fig.9).
- Abschließend wird der Träger 6 in seine eingefahrene Position gebracht, die Leitungsenden 20 damit in die Anschlußklemmen 3 des Leitungsschutzschalters 4 geschoben und die elektrischen Verbindungen durch Anziehen der Anschlußklemmen 3 hergestellt (Fig.10).
Claims (16)
- Schaltgerät für den Einbau in einen Schaltschrank, welches Schaltgerät (1) Leitungen (2) zum Herstellen elektrischer Verbindungen zu den Anschlußklemmen (3) eines unmittelbar benachbart angeordneten weiteren Schaltgerätes (4) aufweist, dadurch gekennzeichnet, daß die Leitungen (2) relativ zum Schaltgerät (1) längs eines vorbestimmten Weges bewegbar an diesem festgelegt sind.
- Schaltgerät nach Anspruch 1, dadurch gekennzeichnet, daß sämtliche Leitungen (2) gemeinsam bewegbar sind.
- Schaltgerät nach Anspruch 2, dadurch gekennzeichnet, daß sämtliche Leitungen (2) mechanisch miteinander verbunden sind.
- Schaltgerät nach Anspruch 1, 2 oder 3, dadurch gekennzeichnet, daß die Leitungen (2) translatorisch verschiebbar am Schaltgerät (1) festgelegt sind.
- Schaltgerät nach Anspruch 4, dadurch gekennzeichnet, daß die Leitungen (2) auf einem gemeinsamen Träger (6) angeordnet sind, welcher Träger (6) parallel zu den Seitenflächen (10,11) des Schaltgerätes (1) zwischen einer eingefahrenen und einer ausgefahrenen Position verschiebbar im Schaltgerät (1) gelagert ist.
- Schaltgerät nach Anspruch 5, dadurch gekennzeichnet, daß der Träger (6) einen ersten geraden, parallel zu den Seitenflächen (10,11) des Schaltgerätes (1) verlaufenden Abschnitt (60) aufweist, welcher Abschnitt (60) im Inneren des Schaltgerätes (1) verläuft und mit einem Ende (61) durch eine Schaltgerät-Querwand (12,13) hindurchreicht.
- Schaltgerät nach Anspruch 6, dadurch gekennzeichnet, daß der Träger (6) einen am durch die Schaltgerät-Querwand (12) hindurchreichenden Ende (61) des ersten Abschnittes (60) festgelegten, im wesentlichen normal zu diesem, zur Gänze außerhalb des Schaltgerätes (1) verlaufenden zweiten Abschnitt (62) aufweist, der die mit den Anschlußklemmen (3) des benachbarten Schaltgerätes (4) verbindbaren Leitungsenden (20) trägt.
- Schaltgerät nach Anspruch 6 oder 7, dadurch gekennzeichnet, daß der parallel zu den Seitenflächen (10,11) des Schaltgerätes (1) verlaufende Träger-Abschnitt (60) an seinem durch die Schaltgerät-Querwand (12) hindurchragenden Ende (61) einen federnd gehaltenen Ansatz (63) aufweist, welcher sich in der ausgefahrenen Position des Trägers (6) an einer Kante (64) der Schaltgerät-Querwand (12) ansetzt.
- Schaltgerät nach einem der Ansprüche 5 bis 8, dadurch gekennzeichnet, daß der Träger (6) durch eine ebene Platte (65) gebildet ist, an deren Oberflächen die Leitungen (2) festgelegt sind.
- Schaltgerät nach Anspruch 9, dadurch gekennzeichnet, daß die Platte (65) an jeder mit Leitungen (2) bestückten Oberfläche im wesentlichen normal zu diesen Oberflächen verlaufende Wandungen (66) aufweist.
- Schaltgerät nach Anspruch 9 oder 10, dadurch gekennzeichnet, daß sämtliche Leitungen (2) an ein und derselben Oberfläche der Platte (65) festgelegt sind.
- Schaltgerät nach einem der Ansprüche 9, 10 oder 11, dadurch gekennzeichnet, daß der zweite, außerhalb des Schaltgerätes (1) verlaufende Träger-Abschnitt (62) schienenförmige, vorzugsweise sich im wesentlichen über die gesamte Länge des zweiten Träger-Abschnittes (62) erstreckende Ansätze (67) aufweist, an denen ein die Leitungen (2) bedeckender Deckel (7) formschlüssig festlegbar ist.
- Schaltgerät nach Anspruch 12, dadurch gekennzeichnet, daß an der Innenseite des Deckels (7) sich in Richtung der Träger-Platte (65) erstreckende Fortsätze (73) angeordnet sind.
- Schaltgerät nach Anspruch 12 oder 13, dadurch gekennzeichnet, daß der Deckel (7) im Bereich seiner dem Schaltgerät (1) benachbarten Seitenkante (72) eine Nase (74) aufweist, welche Nase (74) in der eingefahrenen Position des Trägers in eine entsprechende Ausnehmung der Schaltgerät-Querwand (12) eingreift.
- Schaltgerät nach einem der Ansprüche 1 bis 14, dadurch gekennzeichnet, daß an jener Seitenwand (11), an welcher das weitere Schaltgerät (4) anlegbar ist, zapfenförmige Ansätze (16) angeformt sind, welche im angerückten Zustand in entsprechend spiegelbildlich in die Seitenwand (40) des benachbarten weiteren Schaltgerätes (4) eingelassene Bohrungen eingreifen.
- FI/LS-Schalter umfassend ein Schaltgerät (1) nach einem der Ansprüche 1 bis 15, dadurch gekennzeichnet, daß das Schaltgerät (1) durch ein Fehlerstrommodul umfassend ein Schaltschloß, einen Summenstromwandler (17) und eine das Schaltschloß betätigende Beschaltung des Summenstromwandlers (17) gebildet ist, daß das benachbarte Schaltgerät (4) durch einen Leitungsschutzschalter gebildet ist, und daß das Schaltschloß des Fehlerstrommodules mit einem durch die Seitenwände (11,40) von Fehlerstrommodul und Leitungsschutzschalter hindurchgreifenden Auslöse-Finger (15) versehen ist, durch welchen das Schaltschloß des benachbart angeordneten Leitungsschutzschalters betätigbar ist.
Priority Applications (1)
| Application Number | Priority Date | Filing Date | Title |
|---|---|---|---|
| AT97890079T ATE254335T1 (de) | 1996-05-07 | 1997-04-29 | Schaltgerät mit bewegbaren verbindungs-leitungen |
Applications Claiming Priority (3)
| Application Number | Priority Date | Filing Date | Title |
|---|---|---|---|
| AT813/96 | 1996-05-07 | ||
| AT0081396A AT411115B (de) | 1996-05-07 | 1996-05-07 | Schaltgerät mit bewegbaren verbindungs-leitungen |
| AT81396 | 1996-05-07 |
Publications (3)
| Publication Number | Publication Date |
|---|---|
| EP0806784A2 true EP0806784A2 (de) | 1997-11-12 |
| EP0806784A3 EP0806784A3 (de) | 1998-05-20 |
| EP0806784B1 EP0806784B1 (de) | 2003-11-12 |
Family
ID=3500323
Family Applications (1)
| Application Number | Title | Priority Date | Filing Date |
|---|---|---|---|
| EP97890079A Expired - Lifetime EP0806784B1 (de) | 1996-05-07 | 1997-04-29 | Schaltgerät mit bewegbaren Verbindungs-Leitungen |
Country Status (10)
| Country | Link |
|---|---|
| EP (1) | EP0806784B1 (de) |
| AT (2) | AT411115B (de) |
| AU (1) | AU715916B2 (de) |
| CZ (1) | CZ293608B6 (de) |
| DE (1) | DE59710978D1 (de) |
| ES (1) | ES2109913T3 (de) |
| GR (1) | GR970300052T1 (de) |
| HU (1) | HU221670B1 (de) |
| PL (1) | PL182547B1 (de) |
| SK (1) | SK283786B6 (de) |
Cited By (11)
| Publication number | Priority date | Publication date | Assignee | Title |
|---|---|---|---|---|
| FR2772979A1 (fr) * | 1997-12-18 | 1999-06-25 | Schneider Electric Sa | Dispositif de raccordement electrique d'un bloc differentiel sur un disjoncteur ou analogue et bloc differentiel equipe d'un tel dispositif |
| FR2779269A1 (fr) * | 1998-05-29 | 1999-12-03 | Hager Electro | Dispositif de couplage de deux elements electriques modulaires accoles |
| EP1100105A1 (de) * | 1999-11-12 | 2001-05-16 | Schneider Electric Industries SA | Verdrahtungsvorrichtung für Schutzschaltung |
| EP1278224A1 (de) * | 2001-07-18 | 2003-01-22 | Schneider Electric Industries SAS | Elektrische Verbindungsvorrichtung für zwei nebeneinander auf einer Schiene montierte elecktrische Geräte |
| DE102005050318B3 (de) * | 2005-10-20 | 2007-03-15 | Siemens Ag | Wandlereinheit und Vorrichtung zur allstromsensitiven Erfassung eines elektrischen Differenzstromes |
| EP1770739A1 (de) * | 2005-09-29 | 2007-04-04 | Hager-Electro SAS | Differentialmodul mit einem entlang einer geneigten Bahn verschiebbarem Träger |
| EP2031627A3 (de) * | 2007-08-27 | 2010-09-15 | Phoenix Contact GmbH & Co. KG | Baueinheit bestehend aus einem Fehlerstromschutzschalter und einem Überspannungsschutzgerät |
| RU2464667C2 (ru) * | 2007-07-26 | 2012-10-20 | Бтичино С.П.А. | Устройство защиты от остаточных токов для электрического выключателя |
| EP2680379A1 (de) | 2012-06-28 | 2014-01-01 | Schneider Electric Industries SAS | Verriegelungsvorrichtung für mindestens ein modulares Elektrogerät auf einer Montageschiene, und Stromunterbrechungsgerät, das mit Hilfe dieser Vorrichtung auf der Schiene fixiert ist |
| CN103510768A (zh) * | 2013-09-29 | 2014-01-15 | 安徽鑫龙电器股份有限公司 | 一种用于高压开关柜的断路器门锁机构及其安装方法 |
| WO2021164895A1 (de) * | 2020-02-19 | 2021-08-26 | Dehn Se + Co Kg | Überspannungsschutzvorrichtung, überspannungsschutzbaugruppen mit einer solchen überspannungsschutzvorrichtung sowie verfahren zur montage einer überspannungsschutzbaugruppe |
Families Citing this family (2)
| Publication number | Priority date | Publication date | Assignee | Title |
|---|---|---|---|---|
| ES2155024B1 (es) * | 1999-05-14 | 2001-11-01 | Power Controls Iberica Sl | Carcasa para aparatos electricos. |
| US9842715B2 (en) * | 2015-12-04 | 2017-12-12 | Eaton Corporation | Electrical switching apparatus and strain relief assembly therefor |
Family Cites Families (6)
| Publication number | Priority date | Publication date | Assignee | Title |
|---|---|---|---|---|
| DE1145248B (de) * | 1959-12-01 | 1963-03-14 | Stotz Kontakt Gmbh | Klemmenanordnung, insbesondere fuer Installationsselbstschalter |
| DE2654373A1 (de) * | 1976-12-01 | 1978-06-08 | Licentia Gmbh | Mit einem mehrpoligen leitungsschutzschalter kombinierter fehlerstromschutzschalter |
| DE7813854U1 (de) * | 1978-05-08 | 1979-10-11 | Licentia Patent-Verwaltungs-Gmbh, 6000 Frankfurt | Mit einem mehrpoligen Leitungsschutzschalter kombinierter Fehlerstromschutzschalter |
| DE8804649U1 (de) * | 1988-04-08 | 1988-06-16 | Murrelektronik GmbH, 7155 Oppenweiler | Elektrisches Gerät, z.B. Schaltgerät, Einschaltverzögerer od. dgl. |
| FR2640422B1 (fr) * | 1988-12-14 | 1996-04-05 | Merlin Gerin | Dispositif d'assemblage modulaire d'un disjoncteur differentiel multipolaire |
| FR2711449B1 (fr) * | 1993-10-18 | 1995-12-22 | Merlin Gerin | Bloc de protection différentielle avec passage des câbles. |
-
1996
- 1996-05-07 AT AT0081396A patent/AT411115B/de not_active IP Right Cessation
-
1997
- 1997-04-28 HU HU9700820A patent/HU221670B1/hu not_active IP Right Cessation
- 1997-04-29 AT AT97890079T patent/ATE254335T1/de active
- 1997-04-29 ES ES97890079T patent/ES2109913T3/es not_active Expired - Lifetime
- 1997-04-29 DE DE59710978T patent/DE59710978D1/de not_active Expired - Lifetime
- 1997-04-29 EP EP97890079A patent/EP0806784B1/de not_active Expired - Lifetime
- 1997-05-06 CZ CZ19971373A patent/CZ293608B6/cs not_active IP Right Cessation
- 1997-05-07 PL PL97319846A patent/PL182547B1/pl not_active IP Right Cessation
- 1997-05-07 AU AU20095/97A patent/AU715916B2/en not_active Ceased
- 1997-05-07 SK SK580-97A patent/SK283786B6/sk not_active IP Right Cessation
- 1997-12-31 GR GR970300052T patent/GR970300052T1/el unknown
Cited By (20)
| Publication number | Priority date | Publication date | Assignee | Title |
|---|---|---|---|---|
| FR2772979A1 (fr) * | 1997-12-18 | 1999-06-25 | Schneider Electric Sa | Dispositif de raccordement electrique d'un bloc differentiel sur un disjoncteur ou analogue et bloc differentiel equipe d'un tel dispositif |
| EP0926695A1 (de) * | 1997-12-18 | 1999-06-30 | Schneider Electric Sa | Elektrische Anschlussvorrichtung eines Differentialmoduls an einem Schutzschalter oder dergleichen und ein mit dieser Vorrichtung ausgerüsteter Differentialmodul |
| TR199802642A3 (tr) * | 1997-12-18 | 1999-10-21 | Schneider Electric S.A. | Bir diferansiyel ünitesinin bir devre kesiciye veya benzeri bir cihaza elektriksel baglantisi için bir düzenek ve böyle bir düzenek ile donatilmis bir diferansiyel ünitesi. |
| FR2779269A1 (fr) * | 1998-05-29 | 1999-12-03 | Hager Electro | Dispositif de couplage de deux elements electriques modulaires accoles |
| WO1999063563A1 (fr) * | 1998-05-29 | 1999-12-09 | Hager Electro | Dispositif de couplage de deux elements electriques modulaires accoles |
| AU741444B2 (en) * | 1998-05-29 | 2001-11-29 | Hager Electro | Device for coupling two attached modular electrical elements |
| EP1100105A1 (de) * | 1999-11-12 | 2001-05-16 | Schneider Electric Industries SA | Verdrahtungsvorrichtung für Schutzschaltung |
| FR2801165A1 (fr) * | 1999-11-12 | 2001-05-18 | Schneider Electric Ind Sa | Dispositif de precablage pour contacteurs |
| US6388894B1 (en) | 1999-11-12 | 2002-05-14 | Schneider Electric Industries Sa | Pre-wiring device for contactors |
| FR2827702A1 (fr) * | 2001-07-18 | 2003-01-24 | Schneider Electric Ind Sa | Dispositif de raccordement electrique de deux appareils electriques montes cote a cote sur un meme support de montage |
| EP1278224A1 (de) * | 2001-07-18 | 2003-01-22 | Schneider Electric Industries SAS | Elektrische Verbindungsvorrichtung für zwei nebeneinander auf einer Schiene montierte elecktrische Geräte |
| EP1770739A1 (de) * | 2005-09-29 | 2007-04-04 | Hager-Electro SAS | Differentialmodul mit einem entlang einer geneigten Bahn verschiebbarem Träger |
| DE102005050318B3 (de) * | 2005-10-20 | 2007-03-15 | Siemens Ag | Wandlereinheit und Vorrichtung zur allstromsensitiven Erfassung eines elektrischen Differenzstromes |
| RU2464667C2 (ru) * | 2007-07-26 | 2012-10-20 | Бтичино С.П.А. | Устройство защиты от остаточных токов для электрического выключателя |
| EP2031627A3 (de) * | 2007-08-27 | 2010-09-15 | Phoenix Contact GmbH & Co. KG | Baueinheit bestehend aus einem Fehlerstromschutzschalter und einem Überspannungsschutzgerät |
| EP2680379A1 (de) | 2012-06-28 | 2014-01-01 | Schneider Electric Industries SAS | Verriegelungsvorrichtung für mindestens ein modulares Elektrogerät auf einer Montageschiene, und Stromunterbrechungsgerät, das mit Hilfe dieser Vorrichtung auf der Schiene fixiert ist |
| FR2992783A1 (fr) * | 2012-06-28 | 2014-01-03 | Schneider Electric Ind Sas | Dispositif de verrouillage d'au moins un appareil electrique modulaire sur un rail de montage, et appareil de coupure electrique fixe sur le rail au moyen d'un tel dispositif |
| CN103515845A (zh) * | 2012-06-28 | 2014-01-15 | 施耐德电器工业公司 | 用于将电气设备锁定在导轨上的装置以及电气开关设备 |
| CN103510768A (zh) * | 2013-09-29 | 2014-01-15 | 安徽鑫龙电器股份有限公司 | 一种用于高压开关柜的断路器门锁机构及其安装方法 |
| WO2021164895A1 (de) * | 2020-02-19 | 2021-08-26 | Dehn Se + Co Kg | Überspannungsschutzvorrichtung, überspannungsschutzbaugruppen mit einer solchen überspannungsschutzvorrichtung sowie verfahren zur montage einer überspannungsschutzbaugruppe |
Also Published As
| Publication number | Publication date |
|---|---|
| HU221670B1 (hu) | 2002-12-28 |
| CZ137397A3 (cs) | 1998-12-16 |
| DE59710978D1 (de) | 2003-12-18 |
| SK58097A3 (en) | 1998-07-08 |
| ES2109913T3 (es) | 2004-07-01 |
| AU715916B2 (en) | 2000-02-10 |
| ATE254335T1 (de) | 2003-11-15 |
| HUP9700820A3 (en) | 1999-11-29 |
| ES2109913T1 (es) | 1998-02-01 |
| PL319846A1 (en) | 1997-11-10 |
| HU9700820D0 (en) | 1997-06-30 |
| EP0806784A3 (de) | 1998-05-20 |
| PL182547B1 (pl) | 2002-01-31 |
| SK283786B6 (sk) | 2004-01-08 |
| AT411115B (de) | 2003-09-25 |
| AU2009597A (en) | 1997-11-13 |
| CZ293608B6 (cs) | 2004-06-16 |
| GR970300052T1 (en) | 1997-12-31 |
| HUP9700820A2 (hu) | 1998-01-28 |
| EP0806784B1 (de) | 2003-11-12 |
| ATA81396A (de) | 2003-02-15 |
Similar Documents
| Publication | Publication Date | Title |
|---|---|---|
| EP0709920B1 (de) | Modulare Steuerungsanlage | |
| EP0899818B1 (de) | Elektrische Anschlussklemme, insbesondere für den Einsatz auf Leiterplatten | |
| AT411115B (de) | Schaltgerät mit bewegbaren verbindungs-leitungen | |
| EP1914838A1 (de) | Modulares Installationsschaltgerät | |
| EP1856709B1 (de) | Elektromechanisches schaltgerät | |
| DE4124487C2 (de) | Adapter | |
| EP0133152A1 (de) | Anordnung zum Anschluss von Hilfsleitungen an ein Schaltgerät oder eine Schaltgerätekombination | |
| DE2515152B2 (de) | Elektrische Schaltanlage für Niederspannung | |
| DE69420923T2 (de) | Differentialschutzblock mit Kabeldurchgang | |
| EP1851839B1 (de) | Schaltanlage | |
| DE4312617C2 (de) | Elektrisches Schaltfeld, insbesondere für Mittelspannungsanlagen | |
| EP0821454B1 (de) | Anschlussvorrichtung für elektrische Installationsgeräte | |
| EP1784847B1 (de) | Elektrisches installationsgerät | |
| DE102004037083A1 (de) | Überspannungsableiter-Anordnung mit einer als Bestandteil eines Gehäuses ausführbaren Trägerplatte | |
| EP2786389B1 (de) | Permanentmagnetanordnung fuer eine lichtbogentreiberanordnung und schaltgeraet | |
| EP0223732B1 (de) | Mehrpoliger Niederspannungs-Leistungsschalter mit Stromschienen | |
| DE10003349A1 (de) | Halterungseinrichtung zur Befestigung wenigstens eines elektrischen Schaltgerätes auf einer Hutprofiltragschiene | |
| DE4337254B4 (de) | Fehlerstrommodul, der mit Leitungsschutzschaltern zusammensetzbar ist | |
| DE9403259U1 (de) | Gehäuseaufbau für einen Niederspannungs-Schutzschalter mit Hilfsschalterblock | |
| DE10146503A1 (de) | Elektrische Installationsverteilung | |
| DE69607136T2 (de) | Schalttafel und Anschlusseinrichtung für elektrische Installationen mit modularen Einrichtungen | |
| DE102005049873A1 (de) | Überspannungsableiter-Anordnung mit einer als Bestandteil eines Gehäuses ausführbaren Trägerplatte | |
| DE10106270A1 (de) | Geräteeinheit mit einer Kontaktvorrichtung zur lösbaren Verbindung mit ortsfesten Stromschienen | |
| DE102012215528B4 (de) | Schalter, insbesondere Leistungsschalter für Niederspannungen | |
| DE69808836T2 (de) | Adapter zur modularen Verbindung elektrischer Geräte zu einem elektrischen Verteilungssystem auf Basis von Schiene |
Legal Events
| Date | Code | Title | Description |
|---|---|---|---|
| PUAI | Public reference made under article 153(3) epc to a published international application that has entered the european phase |
Free format text: ORIGINAL CODE: 0009012 |
|
| AK | Designated contracting states |
Kind code of ref document: A2 Designated state(s): AT BE CH DE DK ES FI FR GB GR IE IT LI LU MC NL PT SE |
|
| AX | Request for extension of the european patent |
Free format text: AL PAYMENT 970530;LT PAYMENT 970530;LV PAYMENT 970530;RO PAYMENT 970530;SI PAYMENT 970530 |
|
| ITCL | It: translation for ep claims filed |
Representative=s name: SAMA DANIELE |
|
| EL | Fr: translation of claims filed | ||
| IECL | Ie: translation for ep claims filed | ||
| REG | Reference to a national code |
Ref country code: ES Ref legal event code: BA2A Ref document number: 2109913 Country of ref document: ES Kind code of ref document: T1 |
|
| TCNL | Nl: translation of patent claims filed | ||
| PUAL | Search report despatched |
Free format text: ORIGINAL CODE: 0009013 |
|
| GBC | Gb: translation of claims filed (gb section 78(7)/1977) | ||
| AK | Designated contracting states |
Kind code of ref document: A3 Designated state(s): AT BE CH DE DK ES FI FR GB GR IE IT LI LU MC NL PT SE |
|
| AX | Request for extension of the european patent |
Free format text: AL PAYMENT 970530;LT PAYMENT 970530;LV PAYMENT 970530;RO PAYMENT 970530;SI PAYMENT 970530 |
|
| 17P | Request for examination filed |
Effective date: 19981120 |
|
| 17Q | First examination report despatched |
Effective date: 20020606 |
|
| GRAH | Despatch of communication of intention to grant a patent |
Free format text: ORIGINAL CODE: EPIDOS IGRA |
|
| GRAS | Grant fee paid |
Free format text: ORIGINAL CODE: EPIDOSNIGR3 |
|
| GRAA | (expected) grant |
Free format text: ORIGINAL CODE: 0009210 |
|
| AK | Designated contracting states |
Kind code of ref document: B1 Designated state(s): AT BE CH DE DK ES FI FR GB GR IE IT LI LU MC NL PT SE |
|
| AX | Request for extension of the european patent |
Extension state: AL LT LV RO SI |
|
| PG25 | Lapsed in a contracting state [announced via postgrant information from national office to epo] |
Ref country code: NL Free format text: LAPSE BECAUSE OF FAILURE TO SUBMIT A TRANSLATION OF THE DESCRIPTION OR TO PAY THE FEE WITHIN THE PRESCRIBED TIME-LIMIT Effective date: 20031112 Ref country code: IE Free format text: LAPSE BECAUSE OF FAILURE TO SUBMIT A TRANSLATION OF THE DESCRIPTION OR TO PAY THE FEE WITHIN THE PRESCRIBED TIME-LIMIT Effective date: 20031112 Ref country code: GB Free format text: LAPSE BECAUSE OF FAILURE TO SUBMIT A TRANSLATION OF THE DESCRIPTION OR TO PAY THE FEE WITHIN THE PRESCRIBED TIME-LIMIT Effective date: 20031112 Ref country code: FI Free format text: LAPSE BECAUSE OF FAILURE TO SUBMIT A TRANSLATION OF THE DESCRIPTION OR TO PAY THE FEE WITHIN THE PRESCRIBED TIME-LIMIT Effective date: 20031112 |
|
| REG | Reference to a national code |
Ref country code: GB Ref legal event code: FG4D Free format text: NOT ENGLISH |
|
| REG | Reference to a national code |
Ref country code: CH Ref legal event code: EP |
|
| REF | Corresponds to: |
Ref document number: 59710978 Country of ref document: DE Date of ref document: 20031218 Kind code of ref document: P |
|
| REG | Reference to a national code |
Ref country code: IE Ref legal event code: FG4D Free format text: GERMAN |
|
| PG25 | Lapsed in a contracting state [announced via postgrant information from national office to epo] |
Ref country code: SE Free format text: LAPSE BECAUSE OF FAILURE TO SUBMIT A TRANSLATION OF THE DESCRIPTION OR TO PAY THE FEE WITHIN THE PRESCRIBED TIME-LIMIT Effective date: 20040212 Ref country code: GR Free format text: LAPSE BECAUSE OF FAILURE TO SUBMIT A TRANSLATION OF THE DESCRIPTION OR TO PAY THE FEE WITHIN THE PRESCRIBED TIME-LIMIT Effective date: 20040212 Ref country code: DK Free format text: LAPSE BECAUSE OF FAILURE TO SUBMIT A TRANSLATION OF THE DESCRIPTION OR TO PAY THE FEE WITHIN THE PRESCRIBED TIME-LIMIT Effective date: 20040212 |
|
| LTIE | Lt: invalidation of european patent or patent extension |
Effective date: 20031112 |
|
| PG25 | Lapsed in a contracting state [announced via postgrant information from national office to epo] |
Ref country code: LU Free format text: LAPSE BECAUSE OF NON-PAYMENT OF DUE FEES Effective date: 20040429 |
|
| PG25 | Lapsed in a contracting state [announced via postgrant information from national office to epo] |
Ref country code: MC Free format text: LAPSE BECAUSE OF NON-PAYMENT OF DUE FEES Effective date: 20040430 Ref country code: LI Free format text: LAPSE BECAUSE OF NON-PAYMENT OF DUE FEES Effective date: 20040430 Ref country code: CH Free format text: LAPSE BECAUSE OF NON-PAYMENT OF DUE FEES Effective date: 20040430 |
|
| NLV1 | Nl: lapsed or annulled due to failure to fulfill the requirements of art. 29p and 29m of the patents act | ||
| GBV | Gb: ep patent (uk) treated as always having been void in accordance with gb section 77(7)/1977 [no translation filed] |
Effective date: 20031112 |
|
| REG | Reference to a national code |
Ref country code: ES Ref legal event code: FG2A Ref document number: 2109913 Country of ref document: ES Kind code of ref document: T3 |
|
| ET | Fr: translation filed | ||
| PLBE | No opposition filed within time limit |
Free format text: ORIGINAL CODE: 0009261 |
|
| STAA | Information on the status of an ep patent application or granted ep patent |
Free format text: STATUS: NO OPPOSITION FILED WITHIN TIME LIMIT |
|
| 26N | No opposition filed |
Effective date: 20040813 |
|
| REG | Reference to a national code |
Ref country code: CH Ref legal event code: PL |
|
| PG25 | Lapsed in a contracting state [announced via postgrant information from national office to epo] |
Ref country code: PT Free format text: LAPSE BECAUSE OF NON-PAYMENT OF DUE FEES Effective date: 20040412 |
|
| PGFP | Annual fee paid to national office [announced via postgrant information from national office to epo] |
Ref country code: BE Payment date: 20120516 Year of fee payment: 16 |
|
| PGFP | Annual fee paid to national office [announced via postgrant information from national office to epo] |
Ref country code: AT Payment date: 20120327 Year of fee payment: 16 |
|
| BERE | Be: lapsed |
Owner name: *FELTEN & GUILLEAUME AUSTRIA A.G. Effective date: 20130430 |
|
| REG | Reference to a national code |
Ref country code: AT Ref legal event code: MM01 Ref document number: 254335 Country of ref document: AT Kind code of ref document: T Effective date: 20130430 |
|
| PG25 | Lapsed in a contracting state [announced via postgrant information from national office to epo] |
Ref country code: BE Free format text: LAPSE BECAUSE OF NON-PAYMENT OF DUE FEES Effective date: 20130430 Ref country code: AT Free format text: LAPSE BECAUSE OF NON-PAYMENT OF DUE FEES Effective date: 20130430 |
|
| REG | Reference to a national code |
Ref country code: FR Ref legal event code: PLFP Year of fee payment: 19 |
|
| REG | Reference to a national code |
Ref country code: FR Ref legal event code: PLFP Year of fee payment: 20 |
|
| PGFP | Annual fee paid to national office [announced via postgrant information from national office to epo] |
Ref country code: FR Payment date: 20160331 Year of fee payment: 20 |
|
| PGFP | Annual fee paid to national office [announced via postgrant information from national office to epo] |
Ref country code: ES Payment date: 20160411 Year of fee payment: 20 Ref country code: DE Payment date: 20160414 Year of fee payment: 20 |
|
| PGFP | Annual fee paid to national office [announced via postgrant information from national office to epo] |
Ref country code: IT Payment date: 20160414 Year of fee payment: 20 |
|
| REG | Reference to a national code |
Ref country code: DE Ref legal event code: R071 Ref document number: 59710978 Country of ref document: DE |
|
| REG | Reference to a national code |
Ref country code: ES Ref legal event code: FD2A Effective date: 20170804 |
|
| PG25 | Lapsed in a contracting state [announced via postgrant information from national office to epo] |
Ref country code: ES Free format text: LAPSE BECAUSE OF EXPIRATION OF PROTECTION Effective date: 20170430 |