EP0806294A2 - Verfahren und Vorrichtung zum Einstellen des Umfangsregisters in einer Rollenrotationsdruckmaschine mit einem eine hülsenförmige Druckplatte tragenden Plattenzylinder - Google Patents

Verfahren und Vorrichtung zum Einstellen des Umfangsregisters in einer Rollenrotationsdruckmaschine mit einem eine hülsenförmige Druckplatte tragenden Plattenzylinder Download PDF

Info

Publication number
EP0806294A2
EP0806294A2 EP97107129A EP97107129A EP0806294A2 EP 0806294 A2 EP0806294 A2 EP 0806294A2 EP 97107129 A EP97107129 A EP 97107129A EP 97107129 A EP97107129 A EP 97107129A EP 0806294 A2 EP0806294 A2 EP 0806294A2
Authority
EP
European Patent Office
Prior art keywords
speed
plate
sleeve
detector
printing
Prior art date
Legal status (The legal status is an assumption and is not a legal conclusion. Google has not performed a legal analysis and makes no representation as to the accuracy of the status listed.)
Granted
Application number
EP97107129A
Other languages
English (en)
French (fr)
Other versions
EP0806294B1 (de
EP0806294A3 (de
Inventor
James Brian Vrotacoe
Current Assignee (The listed assignees may be inaccurate. Google has not performed a legal analysis and makes no representation or warranty as to the accuracy of the list.)
Heidelberger Druckmaschinen AG
Original Assignee
Heidelberger Druckmaschinen AG
Priority date (The priority date is an assumption and is not a legal conclusion. Google has not performed a legal analysis and makes no representation as to the accuracy of the date listed.)
Filing date
Publication date
Application filed by Heidelberger Druckmaschinen AG filed Critical Heidelberger Druckmaschinen AG
Publication of EP0806294A2 publication Critical patent/EP0806294A2/de
Publication of EP0806294A3 publication Critical patent/EP0806294A3/de
Application granted granted Critical
Publication of EP0806294B1 publication Critical patent/EP0806294B1/de
Anticipated expiration legal-status Critical
Expired - Lifetime legal-status Critical Current

Links

Images

Classifications

    • BPERFORMING OPERATIONS; TRANSPORTING
    • B41PRINTING; LINING MACHINES; TYPEWRITERS; STAMPS
    • B41FPRINTING MACHINES OR PRESSES
    • B41F13/00Common details of rotary presses or machines
    • B41F13/08Cylinders
    • B41F13/10Forme cylinders
    • B41F13/12Registering devices
    • B41F13/14Registering devices with means for displacing the cylinders
    • BPERFORMING OPERATIONS; TRANSPORTING
    • B41PRINTING; LINING MACHINES; TYPEWRITERS; STAMPS
    • B41FPRINTING MACHINES OR PRESSES
    • B41F13/00Common details of rotary presses or machines

Definitions

  • the present invention relates to a method and a device according to the preamble of claims 1 and 11.
  • Printing presses include mechanisms for adjusting the circumferential register of one cylinder relative to another cylinder of the printing press.
  • roller rotary printing machines such adjustments are usually made on a plate cylinder to adjust the position of the plate cylinder relative to the associated blanket cylinder in the circumferential direction, the blanket cylinder z. B. is driven via a common drive shaft by the motor of the main drive of the printing press.
  • This adjustment in the circumferential direction ensures exact registration of the printed images printed on both sides of the web in the surface and back printing machines printing from blanket to blanket.
  • multicolor printing machines such an adjustment of the circumferential register ensures that the printed images are printed with a first color in one printing unit and with a second color in another printing unit.
  • the circumferential register setting of each plate cylinder is carried out by means of a helical toothing or a helical gear which is axially movable on the pivot pin of the plate cylinder.
  • a helical toothing or a helical gear which is axially movable on the pivot pin of the plate cylinder.
  • Such a device is e.g. For example, see U.S. Patent No. 4,709,634, the entire contents of which are incorporated herein by reference.
  • the device of US Pat. 4,709,634 further a side register adjustment of the plate cylinder.
  • the circumferential register can therefore only be set within a limited range.
  • continuous printing plates in the form of sleeves are used, which are applied to the plate cylinder through an opening formed in one side wall of the printing unit housing, the plate cylinder being freely floating or floating in the other side wall of the housing.
  • the sleeve-shaped printing plates tend to migrate on the plate cylinder body when the printing press is in operation.
  • a printing press in which sleeve-shaped printing plates are used is e.g. For example, see U.S. Patent No. 4,913,048, the entire contents of which are incorporated herein by reference.
  • the migration of the sleeve-shaped printing plates on the plate cylinder body often causes register errors in the respective printing unit. Attempts have therefore been made to eliminate the migration of the sleeve-shaped printing plates by z. B. by pinning or otherwise fixing on the respective plate cylinder body. Since the sleeve-shaped printing plates are usually made of lightweight conventional plate material, such as. B. aluminum, there is a risk that they break or become cracked by being fixed by pins on the plate cylinder body, since the material is not strong enough to withstand the forces that arise during the rotation of the printing plate on the plate cylinder body.
  • a speed difference between the speed of the sleeve-shaped printing plate and the speed of the printing press is determined and the speed of the plate cylinder body carrying the sleeve-shaped printing plate is changed in such a way that the speed difference is reduced.
  • the speed of the sleeve-shaped printing plate is advantageously carried out by detecting marks formed on the sleeve-shaped printing plate, for example register marks, the detection of the register marks on the sleeve-shaped printing plate preferably taking place optically.
  • the speed of the sleeve-shaped printing plate is carried out indirectly by measuring a time difference between two successive detections of a register mark.
  • the speed of the printing press is preferably determined by an angle encoder or angle encoder, which can be connected, for example, to a blanket cylinder assigned to the plate cylinder.
  • it can also be provided to determine the speed of the printing press by detection of register marks which are formed on the body of a blanket cylinder assigned to the plate cylinder, the detection of the register marks on the body of the blanket cylinder advantageously taking place optically and e.g. B. indirectly by measuring a time difference between two successive detections of the register mark on the body of the blanket cylinder.
  • the speed of the sleeve-shaped pressure plate can be achieved by differentiating a measured position signal.
  • the invention also has a device for setting a circumferential register in a web-fed rotary printing press with a sleeve-shaped one Printing plate on a plate cylinder body-carrying plate cylinder, a first detector for detecting the speed of the sleeve-shaped printing plate, a second detector for detecting the speed of the printing press and a speed control device which determines the speed of the plate-shaped cylinder body carrying the sleeve-shaped printing plate as a function of the speed difference between the through the first detector and controls the second detector of detected speeds such that the speed difference is reduced or minimized.
  • the first detector can be, for example, an optical detector which detects a mark arranged on the sleeve-shaped printing plate and, for example, indirectly determines the speed of the sleeve-shaped printing plate by measuring the time difference between two successive detections of the mark.
  • the second detector is an angle encoder or angle encoder, which is connected to the body of a blanket cylinder assigned to the plate cylinder.
  • the second detector can be a detector which detects marks formed on a blanket cylinder assigned to the plate cylinder, the marks on the blanket cylinder advantageously being able to be optically scanned and the second detector measuring the speed of the printing press, for example indirectly, by measuring a time difference determined between two successive detections of the marks on the blanket cylinder.
  • the speed control device comprises a speed-adjustable adjustment gear connected to the plate cylinder.
  • the speed control device has individual drives which drive the plate cylinder and / or the associated blanket cylinder separately.
  • the method according to the invention and the device according to the invention have the advantage that the setting of the circumferential register can be carried out continuously during the operation of the printing press. It is a further advantage of the present invention that the setting of the circumferential register is not limited to a certain angular range. In addition, the circumferential register setting according to the invention is carried out automatically and does not require any additional actions by the operator.
  • the printing unit 1 shown in Fig. 1 comprises a housing 2, in which a blanket cylinder 4 and an associated plate cylinder 6 are rotatably received with their pivot pins in respective bearings.
  • a further cylinder 8 can be rotatably mounted in the housing 2 under the blanket cylinder 4.
  • the cylinder 8 can either be a printing cylinder or, in the case of a perfecting press with rubber-to-rubber printing units, a second blanket cylinder which is assigned to a platter cylinder, not shown.
  • the Plate cylinder 6 has a plate cylinder body 10 on which a sleeve-shaped pressure plate 12 is attached.
  • the pressure plate 12 may e.g. B.
  • the printing plate can be formed from a conventional printing plate by bending the plate into a sleeve and welding the ends of the plate together or by means of adhesive or in some other way.
  • the printing plate can be formed from a seamless tube, to which the printed image is subsequently transferred.
  • the sleeve-shaped printing plate 12 - hereinafter also called the printing plate sleeve - is applied to and held by the plate cylinder body 10 by moving the printing plate 12 laterally through an opening 14 formed in the left side wall 2a of the housing 2 of the printing unit on the plate cylinder body 10.
  • the plate cylinder 6 is overhung in the right side wall 2b of the housing 2 of the printing unit, as z.
  • the inside diameter of the printing plate sleeve 12 is slightly smaller than the outside diameter of the plate cylinder body 10.
  • the printing plate sleeve 12 can move and migrate relative to the plate cylinder body 10 during operation of the printing unit, which continuously causes the printing unit 1 to be incorrectly registered.
  • the speed at which the printing plate sleeve 12 moves or moves on the plate cylinder body 10 depends on the Machine speed and can, for. B. be one revolution per day when the machine is running at a speed of approximately 80,000 revolutions per hour.
  • the speed of the relative movement between the plate cylinder body 10 and the pressure plate sleeve 12 is dependent on various factors, such as. B.
  • This dynamic register setting system 20 comprises a speed-adjustable adjusting gear 22, which is, for example, a so-called Harmonic drive ", as described, for example, in US Pat. Nos. 3,724,368 and 2,906,143, the entire contents of which are hereby incorporated by reference.
  • the variable-speed adjustment mechanism 22 drives the drive shaft or the drive Trunnion 24 of the plate cylinder 6 with a shaft 26, with which in turn an helically toothed drive wheel 28 is axially rotatably connected
  • the variable speed gear 22 may be driven by an electric motor, such as a stepper motor 30, that rotates a shaft generator 32 of the variable speed gear 22, such as a shaft 34 that extends through the center of the shaft 26, or by another known motor Drive are actuated when shaft 34 is pressed eht, the adjusting gear 22 generates a speed difference between the shaft 26 and the drive shaft or the pivot 24 of the plate cylinder 6, so that the plate cylinder body 10 with respect to the shaft 26 driven at machine speed with a slightly higher Speed is driven.
  • the shaft 26 is driven by the plate cylinder gear 28, which meshes with the blanket cylinder gear 36, the blanket cylinder gear 36, by the main drive 38 of the printing machine, for. B. is driven at machine speed.
  • the dynamic register setting system 20 comprises a central control device 40 which controls the speed and the direction of rotation of the stepping motor 30.
  • the central control device 40 is also electrically connected to a first detector 42, which can be attached to the surface of the printing plate sleeve 12.
  • the first detector 42 is preferably an optical sensor, the brands such. B. the register marks provided on the side of a printing plate for the usual static circumferential and / or page register setting.
  • the detector 42 is not limited to the scanning of register marks, but can in the same way be a detector for scanning a certain area within the printed image recorded on the printing plate or an electrically, magnetically or mechanically actuated sensor.
  • a second detector 44 for measuring the speed of the printing press is also connected to the central control device 40.
  • the second detector 44 can e.g. B. a conventional rotary encoder or encoder, which is connected to the drive shaft 46 or the pivot of the blanket cylinder 4 and the central control device 40 supplies a signal which corresponds to the speed of the printing press or the printing unit 1.
  • An active encoder can e.g. B. When using a continuous sleeve-shaped rubber blanket, as described in US Patent No. 5,429,048, the entire contents of which are incorporated herein by reference. As indicated therein, the sleeve-shaped blanket is applied to the blanket cylinder body in the same manner as the printing plate sleeve 12 is applied to the plate cylinder body 10. Thus, the sleeve-shaped rubber blanket also migrates on the rubber blanket cylinder body during the operation of the printing press.
  • the second detector 44 can also be an optical detector which optically scans marks provided on the blanket cylinder 4 in the same way as the first detector 42.
  • the second detector 44 z. B. can also be provided on the main machine drive, on a further printing unit, on the central drive shaft of the machine or at another possible location where the machine speed can be measured.
  • the second detector 44 is not limited to an optical sensor, but can also be an electrically, magnetically or mechanically actuated or other suitable sensor.
  • the first and second detectors 42, 44 generate corresponding first and second signals, each of which corresponds to the speed of the printing plate sleeve 12 and the speed of the printing press or printing unit 1.
  • the first and the second signal are evaluated by the central control device 40.
  • the central control device 40 generates a control signal for the stepper motor 30 of the speed-adjustable adjusting gear 22 on the basis of the speed difference between the speed of the printing plate sleeve 12 measured by the first detector 42 and the speed of the printing press measured by the second detector 44.
  • the central control device 40 controls the stepper motor 30 in such a way that the adjusting mechanism 22 produces a slight overspeed of the plate cylinder body 10 and minimizes the speed difference between the speed of the printing plate sleeve 12 measured by the first detector 42 and the speed of the printing press measured by the second detector 44 and / or reduced to zero.
  • the hardware used for the central control device 40 and the first and second detectors 42, 44 can e.g. B.
  • Such a system is e.g. B. is manufactured and sold by Web Printing Controls Co., Inc., 23872 N. Kelsey Road, Lake Barrington, Illinois 60010-1653, USA and is used in the printing presses manufactured by the applicant of the M3000 series.
  • the control system of the above manufacturer is entitled in a manual distributed by Web Printing Controls Micro Track CCR "(January 1990). The content of this manual, which is available from the named manufacturer, is referred to here.
  • a commonly used static size and page register setting system for controlling the static size and page register independently of the above-mentioned dynamic size register setting such as e.g., the system described in U.S. Patent No. 4,709,634, the contents of which are incorporated herein by reference.
  • Fig. 1 the static circumferential register adjustment of the plate cylinder 6 is shown by a double arrow 48 to adjust the static circumferential register adjustment of the plate cylinder 6 by axial movement of the to indicate diagonally toothed gear 28 on the shaft 26, which is rotated with respect to the drive shaft 46 of the blanket cylinder 4.
  • the speed signals generated by the first and second detectors 42, 44 can be signals that correspond to a surface speed, such as e.g. B. correspond to the surface speed of the printing plate sleeve 12 and / or the blanket cylinder 4 and / or can be signals which correspond to an angular velocity, e.g. B. the angular velocity of the shaft 46 of the blanket cylinder 4, and / or may be signals that correspond to a time difference between two successive scans of a mark on the printing plate sleeve 12 or on the blanket cylinder 4.
  • a surface speed such as e.g. B. correspond to the surface speed of the printing plate sleeve 12 and / or the blanket cylinder 4
  • an angular velocity e.g. B. the angular velocity of the shaft 46 of the blanket cylinder 4
  • the signals can e.g. B. also by measurement and differentiation of relative positions of locations or marks on the printing plate sleeve 12 and an associated reference point or mark (z. B. on a drive shaft or a blanket cylinder) can be obtained.
  • an associated reference point or mark z. B. on a drive shaft or a blanket cylinder
  • the dynamic register setting can be carried out either in the manner described above or by a direct control of the relative speed of the motors.
  • a dynamic setting of the register can be achieved in that the individual drive motor of the plate cylinder 6 or the plate cylinder is controlled via the central control device 40.
  • a speed-adjustable adjusting gear 22 is not necessary.
  • the gears 28 and 36 are then also not required.

Landscapes

  • Engineering & Computer Science (AREA)
  • Mechanical Engineering (AREA)
  • Inking, Control Or Cleaning Of Printing Machines (AREA)
  • Rotary Presses (AREA)

Abstract

Die Erfindung betrifft ein Verfahren und eine Vorrichtung zum Einstellen des Umfangsregisters in einer Rollenrotationsdruckmaschine mit einem eine hülsenförmige Druckplatte (12) tragenden Plattenzylinder (6). In den Ausführungsbeispielen ist ein geschwindigkeitsregelbares Verstellgetriebe (22) (harmonic drive) vorgesehen, das von einer zentralen Steuereinrichtung (40) in Abhängigkeit von einer gemessenen Differenz zwischen der Geschwindigkeit einer Druckplattenhülse (12) und der Maschinengeschwindigkeit gesteuert wird. Das Verstellgetriebe (22) produziert eine geringfügige Übergeschwindigkeit eines Plattenzylinderkörpers (10), der die hülsenförmige Druckplatte (12) trägt, in der Weise, daß eine Differenz zwischen der Geschwindigkeit der hülsenförmigen Druckplatte (12) und der Geschwindigkeit der Druckmaschine auf Null reduziert wird.

Description

  • Die vorliegende Erfindung betrifft ein Verfahren und eine Vorrichtung gemäß dem Oberbegriff der Ansprüche 1 und 11.
  • Druckmaschinen umfassen Mechanismen zum Einstellen des Umfangsregisters eines Zylinders relativ zu einem anderen Zylinder der Druckmaschine. In Rollerrotationsdruckmaschinen werden solche Verstellungen gewöhnlich an einem Plattenzylinder vorgenommen, um die Position des Plattenzylinders relativ zum zugeordneten Gummituchzylinder in Umfangsrichtung einzustellen, wobei der Gummituchzylinder z. B. über eine gemeinsame Antriebswelle durch den Motor des Hauptantriebs der Druckmaschine angetrieben wird. In den von Gummituch zu Gummituch druckenden Schön- und Widerdruckmaschinen gewährleistet dieses Einstellen in Umfangsrichtung eine genaue Registerhaltigkeit der auf beide Seiten der Bahn gedruckten Druckbilder. In Mehrfarben-Druckmaschinen gewährleistet solch ein Einstellen des Umfangsregisters die Registerhaltigkeit der in einem Druckwerk mit einer ersten Farbe und in einem weiteren Druckwerk mit einer zweiten Farbe gedruckten Druckbilder.
  • In den Rollenrotationsdruckmaschinen des Standes der Technik mit auf die Plattenzylinder aufgespannten herkömmlichen Druckplatten erfolgt die Umfangsregistereinstellung eines jeden Plattenzylinders durch eine Schrägverzahnung oder ein Schrägzahnrad, das auf dem Drehzapfen des Plattenzylinders axial bewegbar ist. Eine solche Vorrichtung ist z. B. in dem US-Patent Nr. 4,709,634 beschrieben, auf dessen gesamten Inhalt hier Bezug genommen wird. Außer der Umfangsregistereinstellung erlaubt die Vorrichtung des US-Patentes No. 4,709,634 ferner eine Seitenregistereinstellung des Plattenzylinders. Da jedoch die axiale Bewegung des Schrägzahnrades auf dem Drehzapfen des Plattenzylinders begrenzt ist, ist auch der Drehwinkel des Plattenzylinders begrenzt. Somit kann das Umfangsregister nur innerhalb eines begrenzten Bereichs eingestellt werden.
  • In einigen aus dem Stand der Technik bekannten Druckwerken werden kontinuierliche Druckplatten in Form von Hülsen verwendet, die durch eine in einer Seitenwand des Druckwerkgehäuses gebildete Öffnung auf den Plattenzylinder aufgebracht werden, wobei der Plattenzylinder in der anderen Seitenwand des Gehäuses freischwebend oder fliegend gelagert ist. In diesen Druckwerken besteht bei den hülsenförmigen Druckplatten die Neigung, beim Betrieb der Druckmaschine auf dem Plattenzylinderkörper zu wandern. Eine Druckmaschine, in welcher hülsenförmige Druckplatten verwendet werden, ist z. B. in dem US-Patent Nr. 4,913,048 beschrieben, auf dessen gesamten Inhalt hier Bezug genommen wird.
  • Das Wandern der hülsenförmigen Druckplatten auf dem Plattenzylinderkörper verursacht häufig Registerfehler in dem jeweiligen Druckwerk. Es wurden daher Versuche unternommen, das Wandern der hülsenförmigen Druckplatten zu beseitigen, indem diese z. B. durch Verstiften oder anderweitiges Fixieren auf dem jeweiligen Platterzylinderkörper befestigt werden. Da die hülsenförmigen Druckplatten gewöhnlich aus leichtgewichtigem herkömmlichem Plattenmaterial, wie z. B. Aluminium, hergestellt sind, besteht die Gefahr, daß sie durch das Fixieren mittels Stiften auf dem Platterzylinderkörper brechen oder rissig werden, da das Material nicht stark genug ist, um den Kräften standzuhalten, die bei der Rotation der Druckplatte auf dem Plattenzylinderkörper entstehen.
  • Im Hinblick auf die oben erwähnten Nachteile des Standes der Technik ist es eine Aufgabe der vorliegenden Erfindung, ein Verfahren und eine Vorrichtung zu schaffen, mit denen das Umfangsregister in einer Rollenrotationsdruckmaschine mit mindestens einem eine hülsenförmige Druckplatte enthaltenden Druckwerk mit hoher Zuverlässigkeit und Genauigkeit über einen unbegrenzten Bereich hinweg eingestellt werden kann.
  • Erfindungsgemäß wird diese Aufgabe durch die Merkmale von Anspruch 1 und 11 gelöst. Weitere Merkmale der Erfindung sind in den Unteransprüchen enthalten.
  • Erfindungsgemäß wird bei einem Verfahren zum Einstellen des Umfangsregisters in einer Rollenrotationsdruckmaschine mit einem eine hülsenförmige Druckplatte auf einem Plattenzylinderkörper tragenden Plattenzylinder eine Geschwindigkeitsdifferenz zwischen der Geschwindigkeit der hülsenförmigen Druckplatte und der Geschwindigkeit der Druckmaschine bestimmt und die Geschwindigkeit des die hülsenförmige Druckplatte tragenden Platterzylinderkörpers in der Weise verändert, daß die Geschwindigkeitsdifferenz verringert wird. Vorteilhafterweise wird hierbei die Geschwindigkeit der hülsenförmigen Druckplatte durch Detektion von auf der hülsenförmigen Druckplatte gebildeten Marken, beispielsweise Registermarken durchgeführt, wobei die Detektion der Registermarken auf der hülsenförmigen Druckplatte vorzugsweise optisch erfolgt. Außerdem kann es vorgesehen sein, daß die Geschwindigkeit der hülsenförmigen Druckplatte durch Messen einer Zeitdifferenz zwischen zwei aufeinanderfolgenden Detektionen einer Registermarke indirekt vorgenommen wird.
  • Gemäß einer weiteren Ausgestaltung der Erfindung wird die Geschwindigkeit der Druckmaschine bevorzugterweise durch einen Winkelcodierer oder Drehwinkelgeber bestimmt, der beispielsweise mit einem dem Plattenzylinder zugeordneten Gummituchzylinder verbunden sein kann. Daneben kann es ebenfalls vorgesehen sein, die Geschwindigkeit der Druckmaschine durch Detektion von Registermarken zu bestimmen, die auf dem Körper eines dem Plattenzylinder zugeordneten Gummituchzylinders gebildet sind, wobei die Detektion der Registermarken auf dem Körper des Gummituchzylinders vorteilhafterweise optisch erfolgt und z. B. indirekt durch Messen einer Zeitdifferenz zwischen zwei aufeinanderfolgenden Detektionen der Registermarke auf dem Körper des Gummituchzylinders indirekt durchgeführt wird.
  • Gemäß einer weiterend Ausgestaltung des erfindingsgemäßen Verfahrens kann die Geschwindigkeit der hülsenförmigen Druckplatte durch Differentiation eines gemessenen Positionssignals erfolgen.
  • Erfindungsgemäß besitzt weiterhin eine Vorrichtung zum Einstellen eines Umfangsregisters in einer Rollenrotationsdruckmaschine mit einem eine hülsenförmige Druckplatte auf einem Plattenzylinderkörper tragenden Platterzylinder einen ersten Detektor zum Detektieren der Geschwindigkeit der hülsenförmigen Druckplatte, einen zweiten Detektor zum Detektieren der Geschwindigkeit der Druckmaschine sowie eine Geschwindigkeitssteuerungseinrichtung, die die Geschwindigkeit des die hülsenförmige Druckplatte tragenden Plattenzylinderkörpers in Abhängigkeit von der Geschwindigkeitsdifferenz zwischen den durch den ersten Detektor und den zweiten Detektor detektierten Geschwindigkeiten in der Weise steuert, daß die Geschwindigkeitsdiffererz verringert oder minimiert wird.
  • Hierbei kann der erste Detektor beispielsweise ein optischer Detektor sein, der eine auf der hülsenförmigen Druckplatte angeordnete Marke detektiert und beispielsweise die Geschwindigkeit der hülsenförmigen Druckplatte indirekt durch Messen der Zeitdifferenz zwischen zwei aufeinanderfolgenden Detektionen der Marke bestimmt. Ferner besteht die Möglichkeit, daß der zweite Detektor ein Winkelcodierer oder Drehwinkelgeber ist, der mit dem Körper eines dem Plattenzylinder zugeordneten Gummituchzylinders verbunden ist.
  • Gemäß einer weiteren Ausführungsform der Erfindung kann der zweite Detektor ein Detektor sein, der auf einem dem Plattenzylinder zugeordneten Gummituchzylinder gebildete Marken detektiert, wobei die Marken auf dem Gummituchzylinder vorteilhafterweise optisch abgetastet werden können und der zweite Detektor die Geschwindigkeit der Druckmaschine beispielsweise indirekt durch Messen einer Zeitdifferenz zwischen zwei aufeinanderfolgenden Detektionen der Marken auf dem Gummituchzylinder bestimmt.
  • Gemäß einer weiteren bevorzugten Ausführungsform der Erfindung umfaßt die Geschwindigkeitssteuerungseinrichtung ein mit dem Plattenzylinder verbundenes geschwindigkeitsregelbares Verstellgetriebe.
  • Schließlich kann es vorgesehen sein, daß die Geschwindigkeitssteuerungseinrichtung Einzelantriebe aufweist, die den Plattenzylinder und/oder den zugehörigen Gummituchzylinder separat antreiben.
  • Das erfindungsgemäße Verfahren sowie die erfindungsgemäße Vorrichtung weisen den Vorteil auf, daß während des Betriebs der Druckmaschine die Einstellung des Umfangsregisters kontinuierlich ausgeführt werden kann. Es ist ein weiterer Vorteil der vorliegenden Erfindung, daß die Einstellung des Umfangsregisters nicht auf einen bestimmten Winkelbereich begrenzt ist. Außerdem wird die erfindungsgemäße Umfangsregistereinstellung automatisch ausgeführt und erfordert keine zusätzlichen Handlungen des Bedieners.
  • Weitere Vorteile und Merkmale der vorliegenden Erfindung werden in der folgenden Beschreibung bevorzugter Ausführungsbeispiele im Zusammenhang mit den beigefügten, nachstehend erklärten Zeichnungen näher erläutert:
  • Es zeigen
  • Fig. 1
    einen schematischen Querschnitt eines Druckwerks mit einem Gummituchzylinder und einem zugeordneten Plattenzylinder, der eine hülsenförmige Druckplatte trägt sowie mit einem Registereinstellsystem nach einem Ausführungsbeispiel der vorliegenden Erfindung; und
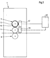
    Fig. 2
    eine schematische Seitenansicht des Druckwerks der Fig. 1, in welchem die Geschwindigkeit des Gummituchzylinders durch optische Detektoren und entsprechende Marken auf dem Gummituchzylinder erfaßt wird.
  • Das in Fig. 1 gezeigte Druckwerk 1 umfaßt ein Gehäuse 2, in welchem ein Gummituchzylinder 4 und ein zugeordneter Plattenzylinder 6 mit ihren beidseitigen Drehzapfen in jeweiligen Lagerungen drehbar aufgenommen sind. In dem Gehäuse 2 kann unter dem Gummituchzylinder 4 ein weiterer Zylinder 8 drehbar gelagert sein. Der Zylinder 8 kann entweder ein Druckzylinder, oder im Falle einer Schön- und Widerdruckmaschine mit Gummi-zu-Gummi-Druckwerken, ein zweiter Gummituchzylinder sein, der einem nicht gezeigten Platterzylinder zugeordnet ist. Der Plattenzylinder 6 weist einen Plattenzylinderkörper 10 auf, auf welchem eine hülsenförmige Druckplatte 12 angebracht ist. Die Druckplatte 12 kann z. B. aus einer herkömmlichen Druckplatte geformt sein, indem die Platte zu einer Hülse gebogen und die Enden der Platte zusammengeschweißt oder mittels Klebstoff oder in anderer Weise zusammengefügt sind. Alternativ kann die Druckplatte aus einem nahtlosen Rohr geformt sein, auf welches das Druckbild im nachhinein übertragen wird.
  • Die hülsenförmige Druckplatte 12 - im folgenden auch Druckplattenhülse genannt - wird auf den Plattenzylinderkörper 10 aufgebracht und von diesem gehalten, indem die Druckplatte 12 seitlich durch eine in der linken Seitenwand 2a des Gehäuses 2 des Druckwerks gebildete Öffnung 14 auf den Plattenzylinderkörper 10 bewegt wird. Hierbei wird der Plattenzylinder 6 in der rechten Seitenwand 2b des Gehäuses 2 des Druckwerks fliegend gelagert, wie dies z. B. in dem US-Patent Nr. 4,913,048 beschrieben ist, auf dessen gesamten Inhalt hier Bezug genommen wird. Um ein sicheres und präzises Anbringen der Druckplatte auf dem Plattenzylinder 10 zu gewährleisten, ist der Innendurchmesser der Druckplattenhülse 12 geringfügig kleiner als der Außendurchmesser des Plattenzylinderkörpers 10.
  • Beim Aufbringen der Druckplattenhülse 12 auf den Plattenzylinderkörper 10 wird die Hülse durch Druckluft, die durch in der Umfangsfläche des Plattenzylinderkörpers 10 eingebaute Luftdüsen (nicht gezeigt) zugeführt wird, gedehnt. Durch Abstellen der Druckluft wird die Druckplattenhülse 12 auf dem Plattenzylinderkörper 10 festgeklemmt, wie dies z. B. in den US-Patenten Nr. 4,903,597 und Nr. 4,913,048 beschrieben ist, auf deren gesamten Inhalt hier Bezug genommen wird.
  • Obschon dieses Aufspannen der Druckplattenhülse 12 einen relativ festen und sicheren Sitz der Druckplattenhülse 12 auf dem Plattenzylinderkörper 10 bewirkt, kann sich beim Betrieb des Druckwerks die Druckplattenhülse 12 relativ zum Plattenzylinderkörper 10 bewegen und auf diesem wandern, was laufend eine fehlerhafte Registerhaltigkeit des Druckwerks 1 hervorruft. Die Geschwindigkeit, mit welcher die Druckplattenhülse 12 auf dem Plattenzylinderkörper 10 wandert oder sich bewegt, hängt von der Maschinengeschwindigkeit ab und kann, z. B. eine Umdrehung pro Tag betragen, wenn die Maschine mit einer Geschwindigkeit von ca. 80.000 Umdrehungen pro Stunde läuft. Die Geschwindigkeit der Relativbewegung zwischen dem Plattenzylinderkörper 10 und der Druckplattenhülse 12 wird von verschiedenen Faktoren, wie z. B. der Maschinengeschwindigkeit, der Temperatur der Zylinder, der Oberflächenstruktur des Plattenzylinderkörpers 10, der Oberflächenstruktur der Druckplattenhülse 12, dem Gummimaterial auf dem Gummituchzylinder 4, der Kraft, mit welcher der Plattenzylinder 6 und der Gummituchzylinder 4 gegeneinander gepreßt werden, dem Druckplattenmaterial, den unterschiedlichen Spannkräften der Hülse auf dem Zylinder usw., beeinflußt.
  • Um die durch das Wandern der Druckplattenhülse 12 laufend hervorgerufene fehlerhafte Registerhaltigkeit des Druckwerks 1 zu kompensieren, ist ein erfindingsgemäßes dynamisches Umfangsregister-Einstellsystem 20 vorgesehen. Dieses dynamische Registereinstellsystem 20 umfaßt ein geschwindigkeitsregelbares Verstellgetriebe 22, welches beispielsweise ein sogenanntes
    Figure imgb0001
    Harmonic Getriebe" (harmonic drive) sein kann, wie es z. B. in den US-Patenten Nr. 3,724,368 und Nr. 2,906,143 beschrieben ist, auf deren gesamten Inhalt hier Bezug genommen wird. Das geschwindigkeitsregelbare Verstellgetriebe 22 verbindet antriebsmäßig die Antriebswelle oder den Drehzapfen 24 des Plattenzylinders 6 mit einer Welle 26 , mit welcher wiederum ein schrägverzahntes Antriebsrad 28 axial drehbar verbunden ist. Das geschwindigkeitsregelbare Verstellgetriebe 22 sorgt für eine geringfügige Geschwindigkeitsdifferenz zwischen der Welle 26 und der Antriebswelle 24 des Plattenzylinders 6 und ermöglicht eine sehr feine und genaue Einstellung dieser Geschwindigkeitsdifferenz. Das Verstellgetriebe 22 kann durch einen Elektromotor, z. B. einen Schrittmotor 30, der einen Wellenerzeuger 32 des Verstellgetriebes 22, z. B. über eine sich durch die Mitte der Welle 26 erstreckende Welle 34 dreht, oder einen anderen bekannten motorischen Antrieb betätigt werden. Wenn die Welle 34 gedreht wird, erzeugt das Verstellgetriebe 22 eine Geschwindigkeitsdifferenz zwischen der Welle 26 und der Antriebswelle oder dem Drehzapfen 24 des Plattenzylinders 6, so daß der Plattenzylinderkörper 10 bezüglich der mit Maschinengeschwindigkeit angetriebenen Welle 26 mit einer geringfügig höheren Geschwindigkeit angetrieben wird. Die Welle 26 wird durch das Plattenzylinderzahnrad 28, das mit dem Gummituchzylinderzahnrad 36 kämmt, angetrieben, wobei das Gummituchzylinderzahnrad 36, durch den Hauptantrieb 38 der Druckmaschine z. B. mit Maschinengeschwindigkeit angetrieben wird.
  • Zur Steuerung der Geschwindigkeit des Plattenzylinderkörpers 10 umfaßt das dynamische Registereinstellsystem 20 eine zentrale Steuereinrichtung 40, die die Geschwindigkeit und die Drehrichtung des Schrittmotors 30 steuert. Die zentrale Steuereinrichtung 40 ist ferner elektrisch mit einem ersten Detektor 42 verbunden, der an der Oberfläche der Druckplattenhülse 12 angebracht sein kann. Der erste Detektor 42 ist vorzugsweise ein optischer Sensor, der Marken, wie z. B. die an der Seite einer Druckplatte zur üblichen statischen Umfangs- und/oder Seitenregistereinstellung vorgesehenen Registermarken, abtastet. Der Detektor 42 ist jedoch nicht auf das Abtasten von Registermarken beschränkt, sondern kann in gleicher Weise ein Detektor zum Abtasten eines gewissen Bereichs innerhalb des auf der Druckplatte aufgezeichneten Druckbildes oder aber ein elektrisch, magnetisch oder mechanisch betätigter Sensor sein.
  • Ein zweiter Detektor 44 zum Messen der Geschwindigkeit der Druckmaschine ist ebenfalls mit der zentralen Steuereinrichtung 40 verbunden. Der zweite Detektor 44 kann z. B. ein herkömmlicher Drehwinkelgeber oder Winkelcodierer sein, der mit der Antriebswelle 46 oder dem Drehzapfen des Gummituchzylinders 4 verbunden ist und der der zentralen Steuereinrichtung 40 ein Signal zuführt, welches der Geschwindigkeit der Druckmaschine oder des Druckwerks 1 entspricht. Ein Wirkelcodierer kann z. B. bei Verwendung eines kontinuierlichen hülsenförmigen Gummituches eingesetzt werden, wie dies in dem US-Patent Nr. 5,429,048 beschrieben ist, auf dessen gesamten Inhalt hier Bezug genommen wird. Wie darin angegeben ist, wird das hülsenförmige Gummituch auf den Gummituchzylinderkörper in der gleichen Weise aufgebracht, wie die Druckplattenhülse 12 auf den Plattenzylinderkörper 10 aufgebracht wird. Somit wandert während des Betriebs der Druckmaschine das hülsenförmige Gummituch auch auf dem Gummituchzylinderkörper.
  • Wie in Fig. 2 gezeigt ist, kann der zweite Detektor 44 auch ein optischer Detektor sein, der in gleicher Weise wie der erste Detektor 42 auf dem Gummituchzylinder 4 vorgesehene Marken optisch abtastet. In einem weiteren Ausführungsbeispiel der Erfindung kann der zweite Detektor 44 z. B. auch an dem Maschinenhauptantrieb, an einem weiteren Druckwerk, an der zentralen Antriebswelle der Maschine oder an einer anderen möglichen Stelle, wo die Maschinengeschwindigkeit gemessen werden kann, vorgesehen sein. Der zweite Detektor 44 ist nicht auf einen optischen Sensor beschränkt, sondern kann auch ein elektrisch, magnetisch oder mechanisch betätigter oder anderer geeigneter Sensor sein.
  • Der erste und der zweite Detektor 42, 44 erzeugen entsprechende erste und zweite Signale, welche jeweils der Geschwindigkeit der Druckplattenhülse 12 und der Geschwindigkeit der Druckmaschine oder des Druckwerks 1 entsprechen. Das erste und das zweite Signal werden durch die zentrale Steuereinrichtung 40 ausgewertet. Die zentrale Steuereinrichtung 40 erzeugt ein Steuersignal für den Schrittmotor 30 des geschwindigkeitsregelbaren Verstellgetriebes 22 auf der Basis der Geschwindigkeitsdifferenz zwischen der durch den ersten Detektor 42 gemessenen Geschwindigkeit der Druckplatterhülse 12 und der durch den zweiten Detektor 44 gemessenen Geschwindigkeit der Druckmaschine. Die zentrale Steuereinrichtung 40 steuert den Schrittmotor 30 in der Weise, daß das Verstellgetriebe 22 eine geringfügige Übergeschwindigkeit des Plattenzylinderkörpers 10 produziert und die Geschwindigkeitsdifferenz zwischen der von dem ersten Detektor 42 gemessenen Geschwindigkeit der Druckplattenhülse 12 und der von dem zweiten Detektor 44 gemessenen Geschwindigkeit der Druckmaschine minimiert und/oder auf Null reduziert wird.
  • Die für die zentrale Steuereinrichtung 40 und den ersten und zweiten Detektor 42, 44 verwendete Hardware kann z. B. ein kommerziell erhältliches Registersteuerungssystem zum Steuern des dynamischen Umfangs- und Seitenregisters in einer Rollenrotationsdruckmaschine sein. Solch ein System wird z. B. von Web Printing Controls Co., Inc., 23872 N. Kelsey Road, Lake Barrington, Illinois 60010-1653, U.S.A., hergestellt und vertrieben und wird in den von der Anmelderin gefertigten Druckmaschinen der Serie M3000 verwendet. Das Steuerungssystem des o. g. Herstellers ist in einem von Web Printing Controls vertriebenen Handbuch mit dem Titel
    Figure imgb0001
    Micro Track CCR" (Januar 1990) beschrieben. Auf den Inhalt dieses Handbuches, das vom genannten Hersteller erhältlich ist, wird hier Bezug genommen.
  • Zusätzlich kann auch ein allgemein verwendetes statisches Umfangs- und Seitenregister-Einstellsystem zum Steuern des statischen Umfangs- und Seiterregisters unabhängig von der oben erwähnten dynamischen Umfangsregistereinstellung vorgesehen sein, wie z. B. das in dem US-Patent Nr. 4,709,634 beschriebene System, auf dessen Inhalt hier Bezug genommen wird, In Fig. 1 ist die statische Umfangsregistereinstellung des Plattenzylinders 6 durch einen Doppelpfeil 48 dargestellt, um die statische Umfangsregistereinstellung des Plattenzylinders 6 durch axiale Bewegung des schrägverzahnten Zahnrads 28 auf der Welle 26, die bezüglich der Antriebswelle 46 des Gummituchzylinders 4 gedreht wird, schematisch anzuzeigen.
  • Die von dem ersten und dem zweiten Detektor 42, 44 erzeugten Geschwindigkeitssignale können Signale sein, die einer Oberflächengeschwindigkeit, wie z. B. der Oberflächengeschwindigkeit der Druckplattenhülse 12 und/oder des Gummituchzylinders 4 entsprechen und/oder können Signale sein, die einer Winkelgeschwindigkeit, z. B. der Winkelgeschwindigkeit der Welle 46 des Gummituchzylinders 4, entsprechen und/oder können Signale sein, die einer zeitlichen Differenz zwischen zwei aufeinanderfolgenden Abtastungen einer Marke auf der Druckplattenhülse 12 oder auf dem Gummituchzylinder 4 entsprechen. Variationen und alternative Arten von für die erfindingsgemäßen Ausführungsbeispiele geeigneten Geschwindigkeitssignalen sind für den Fachmann offensichtlich.
  • Die Signale können z. B. auch durch Messung und Differnentiation von relativen Positionen von Stellen oder Marken auf der Druckplattenhülse 12 und einer zugehörigen Bezugsstelle oder Marke (z. B. auf einer Antriebswelle oder einem Gummituchzylinder) erhalten werden. In diesem Falle werden die beiden Stellen oder Marken bei jeder Umdrehung der Zylinder dadurch in der gleichen Position gehalten, daß die Geschwindigkeit, wie oben beschrieben, verändert und angepaßt wird.
  • In Druckwerken, in welchen jeder Zylinder durch einen jeweiligen Einzelmotor separat angetrieben wird, z. B. durch in Fig.1 als gestrichelte Linien dargestellte Direktantrieb-Elektromotoren 52 und 54, kann die dynamische Registereinstellung entweder in der oben beschriebenen Weise oder aber durch eine direkte Regelung der Relativgeschwindigkeit der Motoren ausgeführt werden. So kann eine dynamische Einstellung des Registers beispielsweise dadurch erzielt werden, daß der Einzel-Antriebsmotor des Plattenzylinders 6 oder der Plattenzylinder über die zentrale Steuereinrichtung 40 gesteuert wird. In diesem Falle ist ein geschwindigkeitsregelbares Verstellgetriebe 22 nicht nötig. Die Zahnräder 28 und 36 werden dann ebenfalls nicht benötigt.
  • LISTE DER BEZUGSZEICHEN
  • 1
    Druckwerk
    2
    Gehäuse
    2a
    linke Seitenwand des Gehäuses 2
    2b
    rechte Seitenwand des Gehäuses 2
    4
    Gummituchzylinder
    6
    Plattenzylinder
    8
    Zylinder
    10
    Plattenzylinderkörper
    12
    hülsenförmige Druckplatte / Druckplattenhülse
    14
    Öffnung im Druckwerkgehäuse 2
    20
    dynamisches Umfangsregister-Einstellsystem
    22
    geschwindigkeitsregelbares Verstellgetriebe
    24
    Antriebswelle oder Drehpazfen des Plattenzylinders 6
    26
    Welle
    28
    schrägverzahntes Antriebsrad des Plattenzylinders 6
    30
    Schrittmotor
    32
    Wellenerzeuger des Verstellgetriebes 22
    34
    Welle
    36
    Gummituchzylinderzahnrad
    38
    Hauptantrieb der Druckmaschine
    40
    zentrale Steuereinrichtung
    42
    erster Detektor
    44
    zweiter Detektor
    46
    Antriebswelle oder Drehzapfen des Gummituchzylinders 4
    48
    Doppelpfeil
    52
    Direktantrieb-Elektromotor
    54
    Direktantrieb-Elektromotor

Claims (19)

  1. Verfahren zum Einstellen des Umfangsregisters in einer Rollenrotationsdruckmaschine mit einem eine hülsenförmige Druckplatte auf einem Plattenzylinderkörper tragenden Plattenzylinder, gekennzeichnet durch folgende Verfahrensschritte:
    Bestimmen einer Geschwindigkeitsdifferenz zwischen der Geschwindigkeit der hülsenförmigen Druckplatte und der Geschwindigkeit der Druckmaschine, und
    Verändern der Geschwindigkeit des die hülsenförmige Druckplatte tragenden Plattenzylinderkörpers in der Weise, daß die Geschwindigkeitsdifferenz verringert wird.
  2. Verfahren nach Anspruch 1,
    dadurch gekennzeichnet,
    daß die Geschwindigkeit der hülsenförmigen Druckplatte durch Detektion von auf der hülsenförmigen Druckplatte gebildeten Registermarken erfolgt.
  3. Verfahren nach Anspruch 2,
    dadurch gekennzeichnet,
    daß die Detektion der Registermarken auf der hülsenförmigen Druckplatte optisch ausgeführt wird.
  4. Verfahren nach Anspruch 2,
    dadurch gekennzeichnet,
    daß die Geschwindigkeit der hülsenförmigen Druckplatte durch Messen einer Zeitdifferenz zwischen zwei aufeinanderfolgenden Detektionen einer Registermarke erfolgt.
  5. Verfahren nach einem der vorhergehenden Ansprüche,
    dadurch gekennzeichnet,
    daß die Geschwindigkeit der Druckmaschine durch einen Winkelcodierer bestimmt wird.
  6. Verfahren nach Anspruch 5,
    dadurch gekennzeichnet,
    daß der Winkelcodierer mit einem dem Plattenzylinder zugeordneten Gummituchzylinder verbunden ist.
  7. Verfahren nach einem der vorhergehenden Ansprüche,
    dadurch gekennzeichnet,
    daß die Geschwindigkeit der Druckmaschine durch Detektion von Registermarken erfolgt, die auf dem Körper eines dem Plattenzylinder zugeordneten Gummituchzylinders gebildet sind.
  8. Verfahren nach Anspruch 7,
    dadurch gekennzeichnet,
    daß die Detektion der Registermarken auf dem Körper des Gummituchzylinders optisch erfolgt.
  9. Verfahren nach Anspruch 7,
    dadurch gekennzeichnet,
    daß die Bestimmung der Geschwindigkeit der Druckmaschine durch Messen einer Zeitdifferenz zwischen zwei aufeinanderfolgenden Detektionen der Registermarke auf dem Körper des Gummituchzylinders erfolgt.
  10. Verfahren nach Anspruch 1,
    dadurch gekennzeichnet,
    daß die Geschwindigkeit der hülsenförmigen Druckplatte (12) durch Differentiation eines gemessenen Positionssignals erfolgt.
  11. Vorrichtung zum Einstellen eines Umfangsregisters in einer Rollenrotationsdruckmaschine mit einem eine hülsenförmige Druckplatte (12) auf einem Plattenzylinderkörper (10) tragenden Plattenzylinder (6),
    gekennzeichnet durch
    einen ersten Detektor (42) zum Detektieren der Geschwindigkeit der hülsenförmigen Druckplatte (12);
    einen zweiten Detektor (44) zum Detektieren der Geschwindigkeit der Druckmaschine, sowie
    eine Geschwindigkeitssteuerungseinrichtung (40), die die Geschwindigkeit des die hülsenförmige Druckplatte (12) tragenden Plattenzylinderkörpers (10) in Abhängigkeit von der Geschwindigkeitsdifferenz zwischen den durch den ersten Detektor (42) und den zweiten Detektor (44) detektierten Geschwindigkeiten in der Weise steuert, daß die Geschwindigkeitsdifferenz verringert wird.
  12. Vorrichtung nach Anspruch 11,
    dadurch gekennzeichnet,
    daß der erste Detektor (42) ein optischer Detektor ist, der eine auf der hülsenförmigen Druckplatte (12) angeordnete Marke detektiert.
  13. Vorrichtung nach Anspruch 12,
    dadurch gekennzeichnet,
    daß der erste Detektor (42) die Geschwindigkeit der hülsenförmigen Druckplatte (12) indirekt durch Messen der Zeitdifferenz zwischen zwei aufeinanderfolgenden Detektionen der Marke bestimmt.
  14. Vorrichtung nach einem der vorhergehenden Ansprüche,
    dadurch gekennzeichnet,
    daß der zweite Detektor (44) ein Winkelcodierer ist, der mit dem Körper eines dem Plattenzylinder (6) zugeordneten Gummituchzylinders (4) verbunden ist.
  15. Vorrichtung nach einem der vorhergehenden Ansprüche,
    dadurch gekennzeichnet,
    daß der zweite Detektor (44) ein Detektor ist, der auf einem dem Plattenzylinder (6) zugeordneten Gummituchzylinder (4) gebildete Marken detektiert.
  16. Vorrichtung nach Anspruch 15,
    dadurch gekennzeichnet,
    daß die Marken auf dem Gummituchzylinder (4) optisch abgetastet werden.
  17. Vorrichtung nach Anspruch 15,
    dadurch gekennzeichnet,
    daß der zweite Detektor (44) die Geschwindigkeit der Druckmaschine indirekt durch Messen einer Zeitdifferenz zwischen zwei aufeinanderfolgenden Detektionen der Marken auf dem Gummituchzylinder (4) bestimmt.
  18. Vorrichtung nach einem der Ansprüche 11 bis 17,
    dadurch gekennzeichnet,
    daß die Geschwindigkeitssteuerungseinrichtung (40) ein mit dem Plattenzylinder (6) verbundenes geschwindigkeitsregelbares Verstellgetriebe (22) umfaßt.
  19. Vorrichtung nach einem der Ansprüche 11 bis 18,
    dadurch gekennzeichnet,
    daß die Geschwindigkeitssteuerungseinrichtung (40) Einzelantriebe umfaßt, die den Plattenzylinder (6) und/oder den zugehörigen Gummituchzylinder (4) separat antreiben.
EP97107129A 1996-05-07 1997-04-30 Verfahren und Vorrichtung zum Einstellen des Umfangsregisters in einer Rollenrotationsdruckmaschine mit einem eine hülsenförmige Druckplatte tragenden Plattenzylinder Expired - Lifetime EP0806294B1 (de)

Applications Claiming Priority (2)

Application Number Priority Date Filing Date Title
US646077 1996-05-07
US08/646,077 US6293194B1 (en) 1996-05-07 1996-05-07 Method and apparatus for adjusting the circumferential register in a web-fed rotary printing press having a plate cylinder with a sleeve-shaped printing plate

Publications (3)

Publication Number Publication Date
EP0806294A2 true EP0806294A2 (de) 1997-11-12
EP0806294A3 EP0806294A3 (de) 1998-05-13
EP0806294B1 EP0806294B1 (de) 2001-07-11

Family

ID=24591655

Family Applications (1)

Application Number Title Priority Date Filing Date
EP97107129A Expired - Lifetime EP0806294B1 (de) 1996-05-07 1997-04-30 Verfahren und Vorrichtung zum Einstellen des Umfangsregisters in einer Rollenrotationsdruckmaschine mit einem eine hülsenförmige Druckplatte tragenden Plattenzylinder

Country Status (4)

Country Link
US (1) US6293194B1 (de)
EP (1) EP0806294B1 (de)
JP (1) JPH1044380A (de)
DE (1) DE59703993D1 (de)

Cited By (7)

* Cited by examiner, † Cited by third party
Publication number Priority date Publication date Assignee Title
DE10118759A1 (de) * 2001-04-17 2002-11-07 Koenig & Bauer Ag Verfahren und Vorrichtung zur Registerregelung
EP1792728A3 (de) * 2005-11-08 2008-01-16 MAN Roland Druckmaschinen AG Druckmaschine und Verfahren zum Betreiben derselben
DE10246072B4 (de) * 2001-10-31 2009-02-12 Heidelberger Druckmaschinen Ag Rotationsdruckverfahren für Mehrfarbendruck
DE102006018462B4 (de) * 2005-05-04 2010-07-08 Koenig & Bauer Aktiengesellschaft Verfahren zum Steuern und/oder Regeln eines Registers in einer Druckmaschine
US7963225B2 (en) 2005-05-04 2011-06-21 Koenig & Bauer Aktiengesellschaft Method for controlling and/or adjusting a register in a printing machine and a device for controlling and/or adjusting a circumferential register
US8042466B2 (en) 2007-03-02 2011-10-25 Heidelberger Druckmaschinen Ag Printing press with adjustable bearer rings
DE102015204479A1 (de) * 2015-03-12 2016-09-15 Koenig & Bauer Ag Druckwerk und Verfahren zur Druckbildkorrektur

Families Citing this family (12)

* Cited by examiner, † Cited by third party
Publication number Priority date Publication date Assignee Title
WO2002076741A1 (de) * 2001-03-26 2002-10-03 Koenig & Bauer Aktiengesellschaft Antrieb eines druckwerks
US7140295B2 (en) * 2001-04-09 2006-11-28 Koenig & Bauer Aktiengesellschaft Printing group including cylinders supported for movement
EP1442878A1 (de) * 2003-02-03 2004-08-04 Kba-Giori S.A. Antrieb des Einfärbwerkes in einer Tiefdruckmaschine
DE10320205B4 (de) * 2003-05-07 2015-12-17 Windmöller & Hölscher Kg Mehrfarben-Rotationsdruckmaschine
JP4276010B2 (ja) * 2003-07-24 2009-06-10 株式会社小森コーポレーション 印刷機における駆動装置
EP1593504A1 (de) * 2004-05-04 2005-11-09 Müller Martini Holding AG Einrichtung mit einem Einschub und einer an den Einschub angebauten Beschichtungsvorrichtung
JP2008213366A (ja) * 2007-03-06 2008-09-18 Ryobi Ltd 印刷機におけるカラーバーの色濃度測定方法及び印刷機におけるカラーバーの色濃度測定装置並びに色濃度測定装置を備えた印刷機
DE102007034835A1 (de) * 2007-07-26 2009-01-29 Robert Bosch Gmbh Verfahren zum Betreiben einer wellenlosen Druckmaschine und wellenlose Druckmaschine
KR100953475B1 (ko) * 2008-02-19 2010-04-16 건국대학교 산학협력단 전자소자 연속공정 롤투롤 인쇄를 위한 초정밀 레지스터제어 방법
JP6128372B2 (ja) * 2013-02-13 2017-05-17 大日本印刷株式会社 印刷機および印刷方法
JP6359172B2 (ja) * 2014-07-16 2018-07-18 ケイビーエイ−メタルプリント ゲゼルシャフト ミット ベシュレンクテル ハフツングKBA−MetalPrint GmbH 中空体に印刷を行う装置
JP7156198B2 (ja) * 2019-07-25 2022-10-19 株式会社村田製作所 グラビア印刷装置および積層セラミックコンデンサの製造方法

Family Cites Families (16)

* Cited by examiner, † Cited by third party
Publication number Priority date Publication date Assignee Title
US2906143A (en) 1955-03-21 1959-09-29 United Shoe Machinery Corp Strain wave gearing
US3724368A (en) 1970-06-17 1973-04-03 Harris Intertype Corp Harmonic drive register adjustment device for a printing press
US3915090A (en) * 1973-03-21 1975-10-28 Armstrong Cork Co Printed pattern and embossed pattern registration control system
CA1029240A (en) * 1973-08-01 1978-04-11 Harris Corporation Printing press drive system
US4473009A (en) * 1981-03-18 1984-09-25 Morgan John H Apparatus for varying the position of a printing operation performed on a web
DE3136703C1 (de) 1981-09-16 1982-11-04 M.A.N.- Roland Druckmaschinen AG, 6050 Offenbach Einrichtungen an Druckmaschinen mit Registerverstelleinrichtungen
JPS6072731A (ja) * 1983-09-30 1985-04-24 Dainippon Printing Co Ltd 色間見当プリセツト装置
DE3543704A1 (de) 1985-12-11 1987-06-19 Md Papierfabrik Pasing Nicolau Vorrichtung und verfahren zum bedrucken einer bahn
JPS6315749A (ja) 1986-07-08 1988-01-22 Isowa Ind Co ベルト式印刷機の同期制御方法およびその装置
US4709634A (en) 1986-10-02 1987-12-01 Rockwell International Corporation Plate cylinder register control
US4903597A (en) 1988-10-24 1990-02-27 Lavalley Industries, Inc. Printing sleeves and methods for mounting and dismounting
US5429048A (en) 1989-10-05 1995-07-04 Gaffney; John M. Offset lithographic printing press
US5127324A (en) * 1990-11-06 1992-07-07 Heidelberg Harris Gmbh Adjustment apparatus with DC drive system for use in a printing press
DE4322744C2 (de) 1993-07-08 1998-08-27 Baumueller Nuernberg Gmbh Elektrisches Antriebssystem und Positionierverfahren zur synchronen Verstellung mehrerer dreh- und/oder verschwenkbarer Funktionsteile in Geräten und Maschinen, Antriebsanordnung mit einem Winkellagegeber und Druckmaschine
DE4323750C2 (de) * 1993-07-15 1997-03-27 Roland Man Druckmasch Offset-Druckform und Verfahren zur Herstellung einer solchen Offset-Druckform
DE4401269A1 (de) 1994-01-18 1995-07-20 Roland Man Druckmasch Verfahren und Vorrichtung zum registergerechten Positionieren von Druckformhülsen

Cited By (9)

* Cited by examiner, † Cited by third party
Publication number Priority date Publication date Assignee Title
DE10118759A1 (de) * 2001-04-17 2002-11-07 Koenig & Bauer Ag Verfahren und Vorrichtung zur Registerregelung
DE10246072B4 (de) * 2001-10-31 2009-02-12 Heidelberger Druckmaschinen Ag Rotationsdruckverfahren für Mehrfarbendruck
DE102006018462B4 (de) * 2005-05-04 2010-07-08 Koenig & Bauer Aktiengesellschaft Verfahren zum Steuern und/oder Regeln eines Registers in einer Druckmaschine
US7963225B2 (en) 2005-05-04 2011-06-21 Koenig & Bauer Aktiengesellschaft Method for controlling and/or adjusting a register in a printing machine and a device for controlling and/or adjusting a circumferential register
EP1792728A3 (de) * 2005-11-08 2008-01-16 MAN Roland Druckmaschinen AG Druckmaschine und Verfahren zum Betreiben derselben
US8042466B2 (en) 2007-03-02 2011-10-25 Heidelberger Druckmaschinen Ag Printing press with adjustable bearer rings
DE102008009203B4 (de) 2007-03-02 2019-04-25 Heidelberger Druckmaschinen Ag Druckmaschine mit verstellbaren Schmitzringen und Verfahren zum aktiven Gegeneinanderverdrehen von Zylinderpaaren
DE102015204479A1 (de) * 2015-03-12 2016-09-15 Koenig & Bauer Ag Druckwerk und Verfahren zur Druckbildkorrektur
DE102015204479B4 (de) * 2015-03-12 2021-06-17 Koenig & Bauer Ag Verfahren zur Druckbildkorrektur

Also Published As

Publication number Publication date
EP0806294B1 (de) 2001-07-11
JPH1044380A (ja) 1998-02-17
US6293194B1 (en) 2001-09-25
DE59703993D1 (de) 2001-08-16
EP0806294A3 (de) 1998-05-13

Similar Documents

Publication Publication Date Title
EP0806294B1 (de) Verfahren und Vorrichtung zum Einstellen des Umfangsregisters in einer Rollenrotationsdruckmaschine mit einem eine hülsenförmige Druckplatte tragenden Plattenzylinder
EP1277575B2 (de) Offsetdruckmaschine
EP0916486B2 (de) Elektrisches Antriebssystem zur Verstellung von einem oder mehreren Funktionsteilen in Maschinen; Antriebsanordnung mit einem Winkellagegeber und Druckmaschine
DE3302798C2 (de) Vorrichtung zum Voreinstellen an Druckmaschinen
DE69809000T2 (de) Druckmaschine mit auf einem Schlitten montierten austauschbaren Plattenzylindern
DE60008196T2 (de) Vorrichtung zum auswechselbares Halten und Positionnieren von Druckzylinder in eine Offsetdruckmaschine
DE69529028T2 (de) Vorrichtung zum Schrägstellen und Abheben des Zylinders für Druckmaschine
EP2440408A2 (de) Vorrichtung und verfahren zum gegenseitigen anstellen zumindest zweier zylinder einer druckmaschine
EP0426022B1 (de) Plattenzylinder einer Druckmaschine
EP1157830B1 (de) Vorrichtung und Verfahren zum Wechseln des Druckbildes während des Betriebs einer Druckmaschine
EP1291175B1 (de) Druckzylinder zur Aufnahme mehrerer Bilder
EP1193059B1 (de) Vorrichtung zur Regulierung des Breiterdruckens (Fan-Out) einer Bahn
EP1018426A1 (de) Verfahren zum Anstellen zweier Zylinder einer Druckmaschine gegeneinander
EP0562351A2 (de) Verfahren und Vorrichtung zum passgerechten Ausrichten und Aufbringen von Klischees auf die Mantelflächen von Formzylindern
EP1843898B2 (de) Registerverfahren
DE69304755T2 (de) Kontrollvorrichtung für Zylinderphaseneinstellung einer Druckmaschine
DE10023940A1 (de) Verfahren und Vorrichtung zum Ausrichten bogenförmigen Materials während des Transports
DE4142876C2 (de) Offset-Druckmaschine, Druckplatte, und Bildlage-Ermittlungsverfahren für eine Offset-Druckmaschine
DE2055876B2 (de) Vorrichtung zur Registereinstellung von gebogenen Druckplatten auf von einer Rotationsdruckmaschine entfernte Druckwalzen
EP0405249B1 (de) Vorrichtung zur Einstellung des Umfangsregisters
DE3238912C1 (de) Vorrichtung zum zonenweisen Abtasten der Einfaerbung eines Plattenzylinders einer Rotations-Offsetdruckmaschine
EP1211068A2 (de) Verfahren zur Reduzierung von Vibrationen in einer Druckmaschine
DE3930782C1 (de)
DE69706256T2 (de) Lithographisches Bildaufzeichnungssystem für austauschbare Plattenzylinder
DE2924636A1 (de) Steuervorrichtung fuer eine bogengreifervorrichtung, bei welcher die bogengreifer in axialer richtung bewegbar sind

Legal Events

Date Code Title Description
PUAI Public reference made under article 153(3) epc to a published international application that has entered the european phase

Free format text: ORIGINAL CODE: 0009012

17P Request for examination filed

Effective date: 19970430

AK Designated contracting states

Kind code of ref document: A2

Designated state(s): DE FR GB IT

PUAL Search report despatched

Free format text: ORIGINAL CODE: 0009013

AK Designated contracting states

Kind code of ref document: A3

Designated state(s): DE FR GB IT

17Q First examination report despatched

Effective date: 19990726

GRAG Despatch of communication of intention to grant

Free format text: ORIGINAL CODE: EPIDOS AGRA

GRAG Despatch of communication of intention to grant

Free format text: ORIGINAL CODE: EPIDOS AGRA

GRAH Despatch of communication of intention to grant a patent

Free format text: ORIGINAL CODE: EPIDOS IGRA

GRAH Despatch of communication of intention to grant a patent

Free format text: ORIGINAL CODE: EPIDOS IGRA

GRAA (expected) grant

Free format text: ORIGINAL CODE: 0009210

AK Designated contracting states

Kind code of ref document: B1

Designated state(s): DE FR GB IT

PG25 Lapsed in a contracting state [announced via postgrant information from national office to epo]

Ref country code: IT

Free format text: LAPSE BECAUSE OF FAILURE TO SUBMIT A TRANSLATION OF THE DESCRIPTION OR TO PAY THE FEE WITHIN THE PRESCRIBED TIME-LIMIT;WARNING: LAPSES OF ITALIAN PATENTS WITH EFFECTIVE DATE BEFORE 2007 MAY HAVE OCCURRED AT ANY TIME BEFORE 2007. THE CORRECT EFFECTIVE DATE MAY BE DIFFERENT FROM THE ONE RECORDED.

Effective date: 20010711

REF Corresponds to:

Ref document number: 59703993

Country of ref document: DE

Date of ref document: 20010816

GBT Gb: translation of ep patent filed (gb section 77(6)(a)/1977)

Effective date: 20010911

ET Fr: translation filed
REG Reference to a national code

Ref country code: GB

Ref legal event code: IF02

PLBE No opposition filed within time limit

Free format text: ORIGINAL CODE: 0009261

26N No opposition filed
REG Reference to a national code

Ref country code: GB

Ref legal event code: 732E

REG Reference to a national code

Ref country code: FR

Ref legal event code: TP

PGFP Annual fee paid to national office [announced via postgrant information from national office to epo]

Ref country code: FR

Payment date: 20110504

Year of fee payment: 15

Ref country code: DE

Payment date: 20110427

Year of fee payment: 15

PGFP Annual fee paid to national office [announced via postgrant information from national office to epo]

Ref country code: GB

Payment date: 20110426

Year of fee payment: 15

GBPC Gb: european patent ceased through non-payment of renewal fee

Effective date: 20120430

REG Reference to a national code

Ref country code: FR

Ref legal event code: ST

Effective date: 20121228

PG25 Lapsed in a contracting state [announced via postgrant information from national office to epo]

Ref country code: GB

Free format text: LAPSE BECAUSE OF NON-PAYMENT OF DUE FEES

Effective date: 20120430

PG25 Lapsed in a contracting state [announced via postgrant information from national office to epo]

Ref country code: FR

Free format text: LAPSE BECAUSE OF NON-PAYMENT OF DUE FEES

Effective date: 20120430

REG Reference to a national code

Ref country code: DE

Ref legal event code: R119

Ref document number: 59703993

Country of ref document: DE

Effective date: 20121101

PG25 Lapsed in a contracting state [announced via postgrant information from national office to epo]

Ref country code: DE

Free format text: LAPSE BECAUSE OF NON-PAYMENT OF DUE FEES

Effective date: 20121101