EP0805316B1 - Warmwasserspeicher mit einem Innenbehälter - Google Patents

Warmwasserspeicher mit einem Innenbehälter Download PDF

Info

Publication number
EP0805316B1
EP0805316B1 EP97107299A EP97107299A EP0805316B1 EP 0805316 B1 EP0805316 B1 EP 0805316B1 EP 97107299 A EP97107299 A EP 97107299A EP 97107299 A EP97107299 A EP 97107299A EP 0805316 B1 EP0805316 B1 EP 0805316B1
Authority
EP
European Patent Office
Prior art keywords
hot water
vessel
water cylinder
conical component
funnel
Prior art date
Legal status (The legal status is an assumption and is not a legal conclusion. Google has not performed a legal analysis and makes no representation as to the accuracy of the status listed.)
Expired - Lifetime
Application number
EP97107299A
Other languages
English (en)
French (fr)
Other versions
EP0805316A2 (de
EP0805316A3 (de
Inventor
Hermann Woeste
Bernd Woeste
Ludger Mateina
Current Assignee (The listed assignees may be inaccurate. Google has not performed a legal analysis and makes no representation or warranty as to the accuracy of the list.)
Franz Kaldewei GmbH and Co KG
Original Assignee
Franz Kaldewei GmbH and Co KG
Priority date (The priority date is an assumption and is not a legal conclusion. Google has not performed a legal analysis and makes no representation as to the accuracy of the date listed.)
Filing date
Publication date
Application filed by Franz Kaldewei GmbH and Co KG filed Critical Franz Kaldewei GmbH and Co KG
Publication of EP0805316A2 publication Critical patent/EP0805316A2/de
Publication of EP0805316A3 publication Critical patent/EP0805316A3/de
Application granted granted Critical
Publication of EP0805316B1 publication Critical patent/EP0805316B1/de
Anticipated expiration legal-status Critical
Expired - Lifetime legal-status Critical Current

Links

Images

Classifications

    • FMECHANICAL ENGINEERING; LIGHTING; HEATING; WEAPONS; BLASTING
    • F24HEATING; RANGES; VENTILATING
    • F24HFLUID HEATERS, e.g. WATER OR AIR HEATERS, HAVING HEAT-GENERATING MEANS, e.g. HEAT PUMPS, IN GENERAL
    • F24H1/00Water heaters, e.g. boilers, continuous-flow heaters or water-storage heaters
    • F24H1/18Water-storage heaters
    • F24H1/181Construction of the tank
    • FMECHANICAL ENGINEERING; LIGHTING; HEATING; WEAPONS; BLASTING
    • F24HEATING; RANGES; VENTILATING
    • F24HFLUID HEATERS, e.g. WATER OR AIR HEATERS, HAVING HEAT-GENERATING MEANS, e.g. HEAT PUMPS, IN GENERAL
    • F24H1/00Water heaters, e.g. boilers, continuous-flow heaters or water-storage heaters
    • F24H1/18Water-storage heaters
    • F24H1/20Water-storage heaters with immersed heating elements, e.g. electric elements or furnace tubes
    • F24H1/201Water-storage heaters with immersed heating elements, e.g. electric elements or furnace tubes using electric energy supply
    • F24H1/202Water-storage heaters with immersed heating elements, e.g. electric elements or furnace tubes using electric energy supply with resistances

Definitions

  • the present invention relates to a hot water tank with an inner container, the two opposite longitudinal side walls and two transverse side walls connected to these having either the two opposite Long side walls or the two opposite Transverse sidewalls preferably in one with respect to the height of the container and the width of the container mean Area drawn in towards the center of the container are, the area drawn in towards the center of the container the long side walls or the transverse side walls on both sides has the shape of a funnel or cone and the funnel bottoms of the two funnels in the Place the center of the container together and face each other support and with the two adjacent Hopper bottoms of the inner container each have at least one Have through hole.
  • a hot water tank of the above type, of which the Invention based is known from WO 95/08085 A.
  • the Long side walls form funnel-shaped indentations here.
  • the Hopper bottoms of the feeders support each other and are connected with a screw that goes into the through hole is plugged in.
  • different functional parts are necessary, which must be installed in or on the hot water tank, For example, the control group with control device for the Setting the desired heating temperature.
  • the present invention is based on the object a hot water tank with an inner container at the beginning to create the genus mentioned, in which the said Assemblies for the control and setting of the desired Temperature are easy to assemble and space-saving that can.
  • a hot water tank provides the solution to this task with an inner container of the type mentioned with the characteristic features of the main claim.
  • the invention Solution takes advantage of the fact that for stability reasons the inner container in about
  • a conical component is used and over a Fastener that is received by the through hole is attached to the funnel bottom.
  • the component will then be further for the Function of the hot water tank attached necessary components.
  • these mounting parts are preferred those with an electrical / electronic assembly for the regulation and setting of the desired heating temperature in association with.
  • Hot water tanks of this type usually point to the Inner containers around and have insulation as well an outer container that serves the assemblies and the To protect and disguise the inner container from the outside.
  • the minimum size of the entire hot water tank is through the volume of the inner container and the Thermal insulation necessary layer thickness of the insulation given and in this construction volume, if possible, all also necessary assemblies of the hot water tank space to have.
  • the size optimized from this point of view is the size optimized from this point of view.
  • Attachment of the electrical / electronic component and optionally further components on the conical Component can be plugged onto this in the outer area Washer is provided. This can be done on this disc electrical / electronic component and optionally other components can be determined. You can do that conical component also use the outer container of the hot water tank on the inner tank.
  • Said electrical / electronic component comprises preferably a controller and a thermostat.
  • a rotatable control element used with the electrical / electronic component is in operative connection and that on the conical Component for example by means of this on the outside Area attachable disc is definable.
  • This control element is of course usually on the Arranged outside of the outer container while the Regulation and the thermostat on the inside of the Outer container.
  • the control element is preferred arranged rotatably about an axis which is the central axis of the conical component corresponds.
  • the conical Component is z. B. via a Screw or the like through the through hole of the grips both adjacent funnel bottoms, on Inner container set.
  • the cone shape of the conical component has the sense that this is adapted to the shape of the funnel of the inner container and the conical component is supported on the inner container.
  • the outer peripheral area of the conical Component for attaching z. B. used a disc become. This enables a pre-assembly, namely the Control module, the thermostat etc.
  • the disc can be mounted and then the disc can simply be opened the conical component can be plugged on, so that the Assembly takes place quickly.
  • an axis of the control assembly present through the disc protrudes outwards, preferably through an opening of the Outer container so that after putting on the Outer container, the control element z. B. by molded Locking elements or the like on this axis of Control module can be simply plugged on.
  • the aforementioned conical component which in one of the Funnel of the inner container is not necessary have a continuous cone jacket, but can e.g. B. like this be designed so that it is distributed over the circumference Has webs that this component give conical outline, with several such webs at one end or at both ends with each other are connected and smaller or between these webs there are larger openings. For example one has a conical component with four such webs use, then the webs on the walls of the Support the funnel of the inner container. If the webs in the Area of the tip of the conical component connected there is a sufficient abutment for one Fastening element for attachment to the funnel bottom. On the outside, the disc can be on the ends of the webs be put on. Those following the shape of the cone shell Bridges can be at their outer end by a stabilizing ring web to be connected.
  • the inner container 30 for a hot water tank has channels formed on the inner container for the water inlet and outlet in the upper area a drain channel 28 for the hot water and next to it arranged an inlet channel 27 for the incoming Cold water.
  • This inlet channel, 27 opens into another Channel 26, which is guided along the container 30 to Bottom of the container where it is deflected by 90 ° and then opens approximately horizontally into the inner container 30.
  • the Cold water gets into the inner container there, heated in this and leaves the container as warm water via the channel 28 formed above.
  • the basic shape of the inner container 30 is derived from that of a cuboid and has the inner container 30 an approximately rectangular outline with something rounded corner transition areas 33.
  • the container shape deviates from a cuboid or box shape than as the two longitudinal side walls 31a, 31b, which by the two transverse side walls 32a, 32b are connected to one another, in an approximately central area are drawn inwards such that there are two opposite funnels 20a, 20b result, which extend to the middle so far that the Funnel bottoms 20c lie next to each other and in the Support the area of the circular contact surface.
  • the Both funnel bottoms have a through hole 20d here on so that you can attach mounting parts here for certain functions of the hot water tank are required, as explained below using an example.
  • the inner container 30 has an opening 42 in the lower region, which is arranged off-center on one side and one has a circular outline.
  • This opening 42 serves a Heating coil through this opening into the inner container 30 introduce. Because the heating coil is off-center in introduces the inner container 30, there will be better circulation of the hot water in the inner tank.
  • Fig. 2 shows in a Exploded view of a conical component 200, the adapted in its outer shape to that of the funnel 20b is.
  • This conical component 200 has four over the Circumferentially distributed on one side of the component 200 tapered webs 200a, which on the outside of the conical component 200 by a Ring web 200b are interconnected.
  • the four webs 200a are closed connected to a kind of truncated cone 200c.
  • This truncated cone 200c has a bore 200d so that a driving pin 201 or a similar fastener through this hole 200d and pass the hole 20d in the funnel bottom 20c can to the conical component 200 on the inner container 30th to attach as shown in Fig. 3.
  • FIGS. 4 and 5 It can be seen here that the inner container 30 is insulated 300 is embedded and this in turn by one Outer container 205 is enclosed, the inner container 30th disguised and an almost cuboid box shape Has.
  • the heating coil 41 can also be seen in FIGS. which are inserted into the circular opening 42 of the inner container 30 is.
  • the conical component 200 takes in its interior in the outer area a control unit 202 with thermostat on the disc 203 on the other Is attached inside. This disc 203 is again on Provide circumference with webs and with these webs on the Web 200a and the ring web 200b of the conical Component 200 placed and thus attached to it.
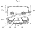
  • Fig. 6 shows again the top view of the outer container 205 for the hot water tank according to the 4 and 5, this outer container 205 partially is cut open so that the inner container 30 can be seen can and the conical member 200 that is in the funnel 20b of the inner container 30 is inserted.
  • the control unit 202 which on the conical component 200 attached disc 203 and that rotatable control element 204. You can also see that from the Outer container 205 upwards emerging connections for the drain channel 28 and the inlet channel 27.
  • the conical component 200 is in FIGS. 2 and 3 in the Cut recognizable. For a better understanding is in Fig. 7 another view of this conical component 200 in Direction of its axis viewed. One recognises the four webs 200a and the truncated cone 200c.

Landscapes

  • Engineering & Computer Science (AREA)
  • General Engineering & Computer Science (AREA)
  • Chemical & Material Sciences (AREA)
  • Thermal Sciences (AREA)
  • Combustion & Propulsion (AREA)
  • Mechanical Engineering (AREA)
  • Physics & Mathematics (AREA)
  • Cookers (AREA)
  • Domestic Hot-Water Supply Systems And Details Of Heating Systems (AREA)
  • Devices For Dispensing Beverages (AREA)
  • Details Of Fluid Heaters (AREA)
  • Devices For Medical Bathing And Washing (AREA)
  • Standing Axle, Rod, Or Tube Structures Coupled By Welding, Adhesion, Or Deposition (AREA)

Description

Die vorliegende Erfindung betrifft einen Warmwasserspeicher mit einem Innenbehälter, der zwei gegenüberliegende Längsseitenwände und zwei mit diesen verbundene Querseitenwände aufweist, wobei entweder die zwei gegenüberliegenden Längsseitenwände oder die zwei gegenüberliegenden Querseitenwände vorzugsweise in einem in Bezug auf die Höhe des Behälters und die Breite des Behälters mittleren Bereich nach Innen zur Behältermitte hin eingezogen sind, wobei der zur Behältermitte hin eingezogene Bereich der Längsseitenwände oder der Querseitenwände beidseitig jeweils etwa die Form eines Trichters oder Konus hat und jeweils die Trichterböden der beiden Trichter in der Behältermitte aneinanderliegen und sich flächig gegeneinander abstützen und wobei die beiden aneinanderliegenden Trichterböden des Innenbehälters jeweils wenigstens eine Durchgangsbohrung aufweisen.
Ein Warmwasserspeicher der oben genannten Art, von dem die Erfindung ausgeht, ist aus WO 95/08085 A bekannt. Die Längsseitenwände bilden hier trichterförmige Einzüge. Die Trichterböden der Einzüge stützen sich aneinander ab und werden mit einer Schraube verbunden, die in die Durchgangsbohrung eingesteckt ist. Bei einem solchen Warmwasserspeicher sind verschiedene funktionelle Teile notwendig, die in oder am Warmwasserspeicher montiert werden müssen, beispielsweise die Regelgruppe mit Stelleinrichtung für die Einstellung der gewünschten Aufheiztemperatur.
Aus dem Stand der Technik sind weitere Warmwasserspeicher mit Innenbehältern der eingangs genannten Art bekannt geworden, z. B. aus der AT 386 069 (B). Die Maßnahme, die Seitenwände des Behälters zur Behältermitte hin einzuziehen, so dass sie sich flächig gegeneinander abstützen, dient dazu, den Innenbehälter des Warmwasserspeichers zu stabilisieren.
Der vorliegenden Erfindung liegt die Aufgabe zugrunde, einen Warmwasserspeicher mit einem Innenbehälter der eingangs genannten Gattung zu schaffen, bei dem die genannten Baugruppen für die Regelung und Einstellung der gewünschten Temperatur einfach montierbar sind und platzsparend untergebracht den können.
Die Lösung dieser Aufgabe liefert ein Warmwasserspeicher mit einem Innenbehälter der eingangs genannten Art mit den kennzeichnenden Merkmalen des Hauptanspruchs. Die erfindungsgemäße Lösung macht sich die Tatsache zu Nutze, dass aus Stabilitätsgründen der Innenbehälter etwa in der
Behältermitte einen eingezogenen Bereich in den Behälterseitenwänden aufweist. Dadurch wird ein trichterförmiger oder kegelförmiger Freiraum geschaffen, in dem sich eine für den Warmwasserspeicher notwendige Baugruppe unterbringen lässt. Weiterhin schafft die Tatsache, dass die Trichterböden der beiden Trichter des Innenbehälters sich gegeneinander abstützen und im Bereich einer gewissen Fläche aneinanderliegen die Möglichkeit, dort eine Durchgangsbohrung unterzubringen, die dann ein Befestigungselement aufnehmen kann und somit eine Befestigungsmöglichkeit für den Anbau notwendiger Montageteile schafft.
In einem der beiden Trichter des Innenbehälters ist ein kegelförmiges Bauelement eingesetzt und über ein Befestigungselement, das von der Durchgangsbohrung aufgenommen wird, am Trichterboden befestigt. An diesem kegelförmigen Bauelement werden dann wiederum weitere für die Funktion des Warmwasserspeichers notwendige Bauelemente befestigt. In einer Weiterbildung der vorliegenden Erfindung sind diese Montageteile vorzugsweise solche, die mit einer elektrischen/elektronischen Baugruppe für die Regelung und Einstellung der gewünschten Aufheiztemperatur im Zusammenhang stehen. Man benötigt so nur eine Bohrung des Innenbehälters, nämlich die Durchgangsbohrung, die sich dort befindet, wo die Trichterböden aneinanderliegen, denn verständlicherweise kann man für den Anbau weiterer Bauelemente nicht ohne weiteres in die Wandung des im bestimmungsgemäßen Gebrauch mit Wasser gefüllten Innenbehälters bohren, da sich dadurch Dichtigkeitsprobleme ergäben. Deshalb wird das kegelförmige Bauelement verwendet, das vorteilhaft so ausgebildet ist, dass es eine Anbringung weiterer Bauteile ermöglicht und das für diese Bauteile einen Aufnahmeraum bietet, so dass die Bauelemente nicht zu weit über die äußere Begrenzung des Innenbehälters nach außen ragen und dadurch die Baugröße des gesamten Warmwasserspeichers so gering wie möglich gehalten wird. Warmwasserspeicher dieser Art weisen üblicherweise um den Innenbehälter herum eine Isolierung auf und haben außerdem einen Außenbehälter, der dazu dient die Baugruppen und den Innenbehälter nach außen hin zu schützen und zu verkleiden. Die minimale Baugröße des gesamten Warmwasserspeichers wird durch das Aufnahmevolumen des Innenbehälters und die zur Wärmedämmung notwendige Schichtdicke der Isolierung vorgegeben und in diesem Bauvolumen sollten möglichst alle außerdem notwendigen Baugruppen des Warmwasserspeichers Platz haben. Bei einem erfindungsgemäßen Warmwasserspeicher wird die Baugröße unter diesem Gesichtspunkt optimiert.
Gemäß einer bevorzugten konstruktiven Lösung im Rahmen einer Weiterbildung der Erfindung ist vorgesehen, daß für die Befestigung des elektrischen/elektronischen Bauelements und gegebenenfalls weiterer Bauelemente an dem kegelförmigen Bauelement eine auf dieses im äußeren Bereich aufsteckbare Scheibe vorgesehen ist. An dieser Scheibe kann das elektrische/elektronische Bauelement und gegebenenfalls weitere Bauelemente festgelegt werden. Man kann das kegelförmige Bauelement auch dazu benutzen, den Außenbehälter des Warmwasserspeichers am Innenbehälter festzulegen.
Das genannte elektrische/elektronische Bauelement umfaßt vorzugsweise eine Regelung und einen Thermostaten. Zur Einstellung der gewünschten Aufheiztemperatur des Wasserspeichers wird vorzugsweise ein drehbares Bedienelement verwendet, das mit dem elektrischen/elektronischen Bauelement in Wirkverbindung steht und das an dem kegelförmigen Bauelement beispielsweise mittels der auf dieses im äußeren Bereich aufsteckbaren Scheibe festlegbar ist.
Dieses Bedienelement ist natürlich in der Regel an der Außenseite des Außenbehälters angeordnet, während sich die Regelung und der Thermostat auf der Innenseite des Außenbehälters befinden. Das Bedienelement ist vorzugsweise um eine Achse drehbar angeordnet, die der Mittelachse des kegelförmigen Bauelements entspricht. Das kegelförmige Bauelement wird in sehr einfacher Weise z. B. über eine Schraube oder dergleichen die durch die Durchgangsbohrung der beiden aneinanderliegenden Trichterböden greift, am Innenbehälter festgelegt. Die Kegelform des kegelförmigen Bauelements hat zum einen den Sinn, daß diese an die Form der Trichter des Innenbehälters angepaßt ist und das kegelförmige Bauelement sich am Innenbehälter abstützt. Zum anderen kann der äußere Umfangsbereich des kegelförmigen Bauelements für das Aufstecken z. B. einer Scheibe genutzt werden. Dies ermöglicht eine Vormontage, nämlich die Regelungsbaugruppe, der Thermostat etc. können auf die Scheibe montiert werden und dann kann die Scheibe einfach auf das kegelförmige Bauelement aufgesteckt werden, so daß die Montage rasch von statten geht. Vorzugsweise ist eine Achse der Regelungsbaugruppe vorhanden, die durch die Scheibe hindurch nach außen ragt, vorzugsweise durch eine Öffnung des Außenbehälters hindurch, so daß nach Aufsetzen des Außenbehälters das Bedienelement z. B. durch angeformte Rastelemente oder dergleichen auf diese Achse der Regelungsbaugruppe einfach aufgesteckt werden kann.
Das vorgenannte kegelförmige Bauelement, das in einen der Trichter des Innenbehälters eingesetzt ist, muß keinen durchgehenden Kegelmantel haben, sondern kann z. B. so ausgebildet sein, daß es über den Umfang verteilt angeordnete Stege aufweist, die diesem Bauelement einen kegelförmigen Umriß geben, wobei mehrere solcher Stege an ihrem einen Ende oder auch an beiden Enden miteinander verbunden sind und zwischen diesen Stegen kleinere oder größere Durchbrechungen vorhanden sind. Beispielsweise kann man ein kegelförmiges Bauelement mit vier solcher Stege verwenden, wobei sich dann die Stege an den Wänden des Trichters des Innenbehälters abstützen. Wenn die Stege im Bereich der Spitze des kegelförmigen Bauelements verbunden sind, befindet sich dort ein ausreichendes Widerlager für ein Befestigungselement für die Anbringung am Trichterboden. Außenseitig kann die Scheibe auf die Enden der Stege aufgesetzt werden. Die der Form des Kegelmantels folgenden Stege können an ihrem äußeren Ende durch einen stabilisierenden Ringsteg miteinander verbunden sein.
Nachfolgend werden Ausführungsbeispiele der vorliegenden Erfindung unter Bezugnahme auf die beiliegenden Zeichnungen näher beschrieben. Dabei zeigen
Fig. 1
einen Längsschnitt durch einen Innenbehälter für einen Warmwasserspeicher;
Fig. 2
einen um 90° Grad versetzten Längsschnitt durch den Innenbehälter gemäß der Linie II-II von Fig. 1;
Fig. 3
einen Ausschnitt aus Fig. 2 jedoch mit montiertem kegelförmigen Bauelement;
Fig. 4
einen Längsschnitt durch den vollständigen Warmwasserspeicher mit Innenbehälter, Isolierung und Außenbehälter;
Fig. 5
einen weiteren Längsschnitt durch den Warmwasserspeicher entlang der Linie V-V von Fig. 4;
Fig. 6
eine Draufsicht auf den Warmwasserspeicher gemäß Fig. 4 im teilweisen Schnitt;
Fig. 7
eine Detailansicht des kegelförmigen Bauelements in Richtung dessen Achse gesehen;
Fig. 8
eine Detailansicht der Scheibe die auf das kegelförmige Bauelement aufsteckbar ist;
Fig. 9
eine Schnittansicht dieser Scheibe entlang der in Fig. 8 eingezeichneten Schnittlinie.
Nachfolgend wird zunächst auf die Fig. 1 und 2 Bezug genommen. Der Innenbehälter 30 für einen Warmwasserspeicher hat am Innenbehälter angeformte Kanäle für den Wasserzulauf bzw. Ablauf und zwar im oberen Bereich einen Ablaufkanal 28 für das Warmwasser und daneben angeordnet einen Zulaufkanal 27 für das eintretende Kaltwasser. Dieser Zulaufkanal, 27 mündet in einen weiteren Kanal 26, der an dem Behälter 30 entlang geführt ist bis zur Behälterunterseite wo er um 90° Grad umgelenkt ist und dann etwa horizontal in den Innenbehälter 30 mündet. Das Kaltwasser gelangt also dort in den Innenbehälter, erwärmt sich in diesem und verläßt als warmwasser den Behälter wieder über den oben angeformten Kanal 28.
Die Grundform des Innenbehälters 30 leitet sich von derjenigen eines Quaders ab und der Innenbehälter 30 hat einen annähernd rechteckigen Außenumriß mit etwas abgerundeten Eckübergangsbereichen 33. Die Behälterform weicht jedoch insofern von einer Quaderform oder Kastenform ab, als die beiden Längsseitenwände 31a, 31b, die durch die beiden Querseitenwände 32a, 32b miteinander verbunden sind, in einem etwa mittigen Bereich eingezogen sind nach innen hin derart, daß sich dort zwei gegenüberliegende Trichter 20a, 20b ergeben, die soweit zur Mitte hinreichen, daß jeweils die Trichterböden 20c aneinanderliegen und sich gegenseitig im Bereich der kreisrunden Berührungsfläche abstützen. Die beiden Trichterböden weisen hier eine Durchgangsbohrung 20d auf, so daß man hier Montageteile befestigen kann, die für bestimmte Funktionen des Warmwasserspeichers benötigt werden, wie hier nachfolgend anhand eines Beispiels erläutert wird. Durch die Ausbildung der beiden Trichter 20a, 20b im mittleren Bereich erhält der Innenbehälter 30 eine verbesserte Steifigkeit und Stabilität. Der Fluß des Wassers aus der unteren Hälfte des Innenraums des Innenbehälters in dessen obere Hälfte geschieht dadurch, daß das Wasser durch die Verbindungsräume 23, 24 strömt, die wie Passagen rechts und links der beiden Trichter 20a, 20b bilden (siehe Fig. 1).
Der Innenbehälter 30 hat im unteren Bereich eine Öffnung 42, die an einer Seite außermittig angeordnet ist und einen kreisförmigen Umriß hat. Diese Öffnung 42 dient dazu, eine Heizspirale durch diese Öffnung in den Innenbehälter 30 einzuführen. Dadurch daß man die Heizspirale außermittig in den Innenbehälter 30 einführt, wird eine bessere Zirkulation des Warmwassers im Innenbehälter erreicht.
Die Nutzung des Trichters bzw. eines der beiden Trichter 20a bzw. 20b zur Befestigung eines begelförmigen Bauelementes wird anhand der Figuren 2 und 3 deutlich. Fig. 2 zeigt in einer Explosionsdarstellung ein kegelförmiges Bauelement 200, das in seiner äußeren Umrißform an die des Trichters 20b angepaßt ist. Dieses kegelförmige Bauelement 200 weist vier über den Umfang verteilt angeordnete an einer Seite des Bauelements 200 kegelförmig aufeinander zulaufende Stege 200a auf, die an der Außenseite des kegelförmigen Bauelements 200 durch einen Ringsteg 200b miteinander verbunden sind. An der Innenseite des kegelförmigen Bauelements 200, die dem Trichterboden 20c des Innenbehälters zugeordnet ist, sind die vier Stege 200a zu einer Art Kegelstumpf 200c verbunden. Dieser Kegelstumpf 200c weist eine Bohrung 200d auf, so daß man einen Treibstift 201 oder ein ähnliches Befestigungselement durch diese Bohrung 200d und die Bohrung 20d im Trichterboden 20c hindurchführen kann, um das kegelförmige Bauelement 200 am Innenbehälter 30 zu befestigen so wie dies in Fig. 3 dargestellt ist.
Es wird nun nachfolgend auf die Fig. 4 und 5 Bezug genommen. Man erkennt hier, daß der Innenbehälter 30 in eine Isolierung 300 eingebettet ist und diese wiederum von einem Außenbehälter 205 umschlossen wird, der den Innenbehälter 30 verkleidet und der eine annähernd quaderförmige Kastenform hat. Man erkennt auch in den Fig. 4 und 5 die Heizspirale 41, die in die Kreisöffnung 42 des Innenbehälters 30 eingeführt ist. Wie man sieht nimmt das kegelförmige Bauelement 200 in seinem Innenraum im äußeren Bereich eine Regelungsbaueinheit 202 mit Thermostat auf, die an der Scheibe 203 an deren Innenseite befestigt ist. Diese Scheibe 203 ist wiederum am Umfang mit Stegen versehen und mit diesen Stegen auf die Stege 200a und den Ringsteg 200b des kegelförmigen Bauelements 200 aufgesetzt und damit an diesem befestigt. Durch eine Bohrung im Außenbehälter 205 ragt eine Befestigungsachse 206, auf die dann wiederum das drehbare Bedienelement 204 aufsteckbar ist, mittels dessen man die gewünschte Aufheiztemperatur durch Einwirkung auf die Regelungsbaueinheit 202 von der Außenseite des Außenbehälters 205 her bei montiertem Warmwasserspeicher einstellen kann. Es werden dann über einen Stromkreis, der hier nicht im einzelnen dargestellt ist die entsprechenden Schaltvorgänge vorgenommen, die die Aufheizung der Heizspirale 41 auf die gewünschte Temperatur bewirken
Fig. 6 zeigt noch einmal die Draufsicht auf den Außenbehälter 205 für den Warmwasserspeicher gemäß den Fig. 4 und 5, wobei dieser Außenbehälter 205 teilweise aufgeschnitten ist, so daß man den Innenbehälter 30 erkennen kann und das kegelförmige Bauelement 200, das in den Trichter 20b des Innenbehälters 30 eingesetzt ist. Man erkennt weiterhin hier die Regelungsbaueinheit 202, die auf das kegelförmige Bauelement 200 aufgesteckte Scheibe 203 und das drehbare Bedienelement 204. Weiterhin erkennt man die aus dem Außenbehälter 205 nach oben hin austretenden Anschlüsse für den Ablaufkanal 28 und den Zulaufkanal 27.
Das kegelförmige Bauelement 200 ist ja in den Fig. 2 und 3 im Schnitt erkennbar. Zum besseren Verständnis ist in Fig. 7 noch mal eine Ansicht dieses kegelförmigen Bauelements 200 in Richtung dessen Achse betrachtet wiedergegeben. Man erkennt die vier Stege 200a und den Kegelstumpf 200c.
In den Fig. 8 und 9 ist die Scheibe 203 noch einmal vergrößert im Detail wiedergegeben. Man erkennt in Fig. 8, daß die Scheibe Durchbrechungen und Bohrungen für Montagezwecke aufweist und man kann aus Fig. 9 erkennen, daß der Rand der Scheibe 203 eine Art Nut 203a hat, die bei aufgesteckter Scheibe 203 den Rand des Ringstegs 200b des kegelförmigen Bauelements 200 aufnimmt.

Claims (6)

  1. Warmwasserspeicher mit einem Innenbehälter (30), der zwei gegenüberliegende Längsseitenwände (31a, 31b) und zwei mit diesen verbundene Querseitenwände (32a, 32b) aufweist, wobei entweder die zwei gegenüberliegenden Längsseitenwände (31a, 31b) oder die zwei gegenüberliegenden Querseitenwände (32a, 32b) vorzugsweise in einem in Bezug auf die Höhe des Behälters und die Breite des Behälters mittleren Bereich nach Innen zur Behältermitte hin eingezogen sind, wobei der zur Behältermitte hin eingezogene Bereich der Längsseitenwände (31a, 31b) oder der Querseitenwände (32a, 32b) beidseitig jeweils etwa die Form eines Trichters oder Konus hat und jeweils die Trichterböden (20c) der beiden Trichter (20a, 20b) in der Behältermitte aneinanderliegen und sich flächig gegeneinander abstützen, wobei die beiden aneinanderliegenden Trichterböden (20c) des Innenbehälters (30) jeweils wenigstens eine Durchgangsbohrung (20d) aufweisen, dadurch gekennzeichnet, dass in wenigstens einem der beiden Trichter (20a, 20b) ein kegelförmiges Bauelement (200) angeordnet und mit einem die Durchgangsbohrung (20d) durchfassenden Befestigungselement (201) Trichterboden (20c) befestigt ist.
  2. Warmwasserspeicher nach Anspruch 1, dadurch gekennzeichnet, dass das kegelförmige Bauelement (200) einen Aufnahmeraum bildet, der wenigstens ein elektrisches/elektronisches Bauteil (202) aufnimmt, das über dazu geeignete Mittel (203) an dem kegelförmigen Bauelement (200) befestigt ist.
  3. Warmwasserspeicher nach Anspruch 2, dadurch gekennzeichnet, dass für die Befestigung des elektrischen/elektronischen Bauelements (202) und gegebenenfalls weiterer Bauelemente an dem kegelförmigen Bauelement (200) eine auf dieses im äußeren Bereich aufsteckbare Scheibe (203) vorgesehen ist.
  4. Warmwasserspeicher nach einem der Ansprüche 1 bis 3, dadurch gekennzeichnet, dass ein Außenbehälter (205) des Warmwasserspeichers über das kegelförmige Bauelement (200) am Innenbehälter festgelegt ist.
  5. Warmwasserspeicher nach Anspruch 4, dadurch gekennzeichnet, dass ein an der Außenseite des Außenbehälters (205) um eine Achse drehbar angeordnetes Bedienelement (204) vorgesehen ist, wobei diese Achse der Mittelachse (206) des kegelförmigen Bauelements (200) entspricht und wobei das Bedienelement (204) in Wirkverbindung mit dem in dem kegelförmigen Bauelement (200) aufgenommenen elektrischen/elektronischen Bauelement (202) steht.
  6. Warmwasserspeicher nach Anspruch 5, dadurch gekennzeichnet, dass das elektrische/elektronische Bauelement (202) eine Regelung und einen Thermostaten umfasst und das Bedienelement (204) zur Einstellung der gewünschten Aufheiztemperatur des Warmwasserspeichers dient.
EP97107299A 1996-05-03 1997-05-02 Warmwasserspeicher mit einem Innenbehälter Expired - Lifetime EP0805316B1 (de)

Applications Claiming Priority (2)

Application Number Priority Date Filing Date Title
DE19617741 1996-05-03
DE19617741 1996-05-03

Publications (3)

Publication Number Publication Date
EP0805316A2 EP0805316A2 (de) 1997-11-05
EP0805316A3 EP0805316A3 (de) 1998-11-04
EP0805316B1 true EP0805316B1 (de) 2001-10-24

Family

ID=7793212

Family Applications (1)

Application Number Title Priority Date Filing Date
EP97107299A Expired - Lifetime EP0805316B1 (de) 1996-05-03 1997-05-02 Warmwasserspeicher mit einem Innenbehälter

Country Status (4)

Country Link
EP (1) EP0805316B1 (de)
AT (1) ATE207602T1 (de)
DE (2) DE59705030D1 (de)
ES (1) ES2162151T3 (de)

Families Citing this family (6)

* Cited by examiner, † Cited by third party
Publication number Priority date Publication date Assignee Title
GB2347991B (en) * 1999-03-16 2002-10-02 Elsy & Gibbons Ltd Hot water supply appliance
DE102004020820A1 (de) * 2004-04-28 2005-12-22 BSH Bosch und Siemens Hausgeräte GmbH Wasserbehälter eines Wasserbereiters, insbesondere eines Wasserspeichers
DE102005062660B4 (de) * 2005-12-23 2023-10-26 Stiebel Eltron Gmbh & Co. Kg Warmwasserbereiter sowie Grundbehälter für einen Warmwasserbereiter
DE102005063542B3 (de) * 2005-12-23 2024-08-08 Stiebel Eltron Gmbh & Co. Kg Warmwasserbereiter sowie Grundbehälter für einen Warmwasserbereiter
CN103162444B (zh) * 2011-12-08 2014-11-05 刘威良 热水器储水箱
DE102020100807A1 (de) * 2020-01-15 2021-07-15 Stiebel Eltron Gmbh & Co. Kg Kleinwarmwasserspeicher mit nebeneinander angeordneten Speicheranschlüssen

Family Cites Families (3)

* Cited by examiner, † Cited by third party
Publication number Priority date Publication date Assignee Title
DE1288279C2 (de) * 1963-08-13 1973-02-01 Siemens Ag Wasserbehaelter fuer elektrische Heisswasserbereiter
DE3011426A1 (de) * 1980-03-25 1981-10-01 Schneider, Helmhold, 5230 Altenkirchen Kunststoff-waermespeicher, insbesondere fuer die warmwasserspeicherung im haustechnischen bereich u.dgl., sowie verfahren zu seiner hertellung
IT1261870B (it) * 1993-09-17 1996-06-03 Romano Nardi Scaldaacqua autoportante, atto ad essere costituito in materiale plastico.

Also Published As

Publication number Publication date
EP0805316A2 (de) 1997-11-05
ATE207602T1 (de) 2001-11-15
DE19718354A1 (de) 1997-11-06
ES2162151T3 (es) 2001-12-16
EP0805316A3 (de) 1998-11-04
DE59705030D1 (de) 2001-11-29

Similar Documents

Publication Publication Date Title
DE3043422C2 (de)
DE60022787T2 (de) Mehrwegventil
DE3905655C2 (de) Steuervorrichtung
EP0805316B1 (de) Warmwasserspeicher mit einem Innenbehälter
EP0866300A2 (de) Getriebeölkühler
DE1912905C3 (de) Korrosionsbeständiger Kegelhahn
AT8713U1 (de) Plattenheizkörper für die kombinierte heizung
DE3234432A1 (de) Beleuchtungseinrichtung
DE29511076U1 (de) Heizkörperanordnung
DE3422336C2 (de)
AT393154B (de) Zum vermischen von warmwasser und kaltwasser dienendes mischventil
CH371154A (de) Poldurchführung im Zellendeckel eines Akkumulators, insbesondere eines Bleiakkumulators
DE8706453U1 (de) Mischhahn für Warm- und Kaltwasser
AT412991B (de) Verteilerventil
EP1760407A1 (de) Rohrverteiler für eine Heizungs- oder Kühlanlage
DE3416335A1 (de) Drehschieberventil
AT404299B (de) Anschlussgarnitur
DE4302264C2 (de) Tauchbadgerät
DE69612530T2 (de) Rohrradiator
DE19843694C2 (de) Innenbehälter für Heißwasserspeicher mit einem Überströmkanal
DE2910833A1 (de) Ventilanordnung mit einem thermostatventil
DE1600995B2 (de) Wahlweise fuer links- oder rechtsanschluss verwendbarer mehrweg-mischhahn
DE19638939C1 (de) Anordnung zur Zu- und Abführung eines Heizmediums zu bzw. von einem Gliederheizkörper
DE20108117U1 (de) Grundkörper, vorzugsweise als Komponente eines elektrischen Durchlauferhitzers
EP0666440A1 (de) Drehschieberzufluss -und Rückflussventil für Radiatoren von Heizanlagen

Legal Events

Date Code Title Description
PUAI Public reference made under article 153(3) epc to a published international application that has entered the european phase

Free format text: ORIGINAL CODE: 0009012

AK Designated contracting states

Kind code of ref document: A2

Designated state(s): AT BE CH DE ES FR GB LI LU NL

PUAL Search report despatched

Free format text: ORIGINAL CODE: 0009013

AK Designated contracting states

Kind code of ref document: A3

Designated state(s): AT BE CH DE ES FR GB LI LU NL

17P Request for examination filed

Effective date: 19981124

17Q First examination report despatched

Effective date: 20000306

GRAG Despatch of communication of intention to grant

Free format text: ORIGINAL CODE: EPIDOS AGRA

GRAG Despatch of communication of intention to grant

Free format text: ORIGINAL CODE: EPIDOS AGRA

GRAH Despatch of communication of intention to grant a patent

Free format text: ORIGINAL CODE: EPIDOS IGRA

GRAH Despatch of communication of intention to grant a patent

Free format text: ORIGINAL CODE: EPIDOS IGRA

RAP1 Party data changed (applicant data changed or rights of an application transferred)

Owner name: FRANZ KALDEWEI GMBH & CO.KG

GRAA (expected) grant

Free format text: ORIGINAL CODE: 0009210

AK Designated contracting states

Kind code of ref document: B1

Designated state(s): AT BE CH DE ES FR GB LI LU NL

REF Corresponds to:

Ref document number: 207602

Country of ref document: AT

Date of ref document: 20011115

Kind code of ref document: T

REG Reference to a national code

Ref country code: CH

Ref legal event code: EP

REG Reference to a national code

Ref country code: CH

Ref legal event code: NV

Representative=s name: KELLER & PARTNER PATENTANWAELTE AG

REF Corresponds to:

Ref document number: 59705030

Country of ref document: DE

Date of ref document: 20011129

REG Reference to a national code

Ref country code: ES

Ref legal event code: FG2A

Ref document number: 2162151

Country of ref document: ES

Kind code of ref document: T3

REG Reference to a national code

Ref country code: GB

Ref legal event code: IF02

GBT Gb: translation of ep patent filed (gb section 77(6)(a)/1977)

Effective date: 20020105

PGFP Annual fee paid to national office [announced via postgrant information from national office to epo]

Ref country code: DE

Payment date: 20020304

Year of fee payment: 6

ET Fr: translation filed
PGFP Annual fee paid to national office [announced via postgrant information from national office to epo]

Ref country code: AT

Payment date: 20020409

Year of fee payment: 6

PGFP Annual fee paid to national office [announced via postgrant information from national office to epo]

Ref country code: FR

Payment date: 20020411

Year of fee payment: 6

PGFP Annual fee paid to national office [announced via postgrant information from national office to epo]

Ref country code: NL

Payment date: 20020415

Year of fee payment: 6

Ref country code: LU

Payment date: 20020415

Year of fee payment: 6

PGFP Annual fee paid to national office [announced via postgrant information from national office to epo]

Ref country code: CH

Payment date: 20020416

Year of fee payment: 6

PGFP Annual fee paid to national office [announced via postgrant information from national office to epo]

Ref country code: GB

Payment date: 20020417

Year of fee payment: 6

PGFP Annual fee paid to national office [announced via postgrant information from national office to epo]

Ref country code: BE

Payment date: 20020508

Year of fee payment: 6

PGFP Annual fee paid to national office [announced via postgrant information from national office to epo]

Ref country code: ES

Payment date: 20020510

Year of fee payment: 6

PLBE No opposition filed within time limit

Free format text: ORIGINAL CODE: 0009261

STAA Information on the status of an ep patent application or granted ep patent

Free format text: STATUS: NO OPPOSITION FILED WITHIN TIME LIMIT

26N No opposition filed
PG25 Lapsed in a contracting state [announced via postgrant information from national office to epo]

Ref country code: LU

Free format text: LAPSE BECAUSE OF NON-PAYMENT OF DUE FEES

Effective date: 20030502

Ref country code: GB

Free format text: LAPSE BECAUSE OF NON-PAYMENT OF DUE FEES

Effective date: 20030502

Ref country code: AT

Free format text: LAPSE BECAUSE OF NON-PAYMENT OF DUE FEES

Effective date: 20030502

PG25 Lapsed in a contracting state [announced via postgrant information from national office to epo]

Ref country code: ES

Free format text: LAPSE BECAUSE OF NON-PAYMENT OF DUE FEES

Effective date: 20030503

PG25 Lapsed in a contracting state [announced via postgrant information from national office to epo]

Ref country code: LI

Free format text: LAPSE BECAUSE OF NON-PAYMENT OF DUE FEES

Effective date: 20030531

Ref country code: CH

Free format text: LAPSE BECAUSE OF NON-PAYMENT OF DUE FEES

Effective date: 20030531

Ref country code: BE

Free format text: LAPSE BECAUSE OF NON-PAYMENT OF DUE FEES

Effective date: 20030531

BERE Be: lapsed

Owner name: FRANZ *KALDEWEI G.M.B.H. & CO. K.G.

Effective date: 20030531

PG25 Lapsed in a contracting state [announced via postgrant information from national office to epo]

Ref country code: NL

Free format text: LAPSE BECAUSE OF NON-PAYMENT OF DUE FEES

Effective date: 20031201

PG25 Lapsed in a contracting state [announced via postgrant information from national office to epo]

Ref country code: DE

Free format text: LAPSE BECAUSE OF NON-PAYMENT OF DUE FEES

Effective date: 20031202

GBPC Gb: european patent ceased through non-payment of renewal fee

Effective date: 20030502

REG Reference to a national code

Ref country code: CH

Ref legal event code: PL

PG25 Lapsed in a contracting state [announced via postgrant information from national office to epo]

Ref country code: FR

Free format text: LAPSE BECAUSE OF NON-PAYMENT OF DUE FEES

Effective date: 20040130

NLV4 Nl: lapsed or anulled due to non-payment of the annual fee

Effective date: 20031201

REG Reference to a national code

Ref country code: FR

Ref legal event code: ST

REG Reference to a national code

Ref country code: ES

Ref legal event code: FD2A

Effective date: 20030503