EP0226925B1 - Portioniermaschine - Google Patents

Portioniermaschine Download PDF

Info

Publication number
EP0226925B1
EP0226925B1 EP86117031A EP86117031A EP0226925B1 EP 0226925 B1 EP0226925 B1 EP 0226925B1 EP 86117031 A EP86117031 A EP 86117031A EP 86117031 A EP86117031 A EP 86117031A EP 0226925 B1 EP0226925 B1 EP 0226925B1
Authority
EP
European Patent Office
Prior art keywords
blade
nozzle
machine according
knife
operating
Prior art date
Legal status (The legal status is an assumption and is not a legal conclusion. Google has not performed a legal analysis and makes no representation as to the accuracy of the status listed.)
Expired - Lifetime
Application number
EP86117031A
Other languages
English (en)
French (fr)
Other versions
EP0226925A3 (en
EP0226925A2 (de
Inventor
Karl Ing. Schnell
Current Assignee (The listed assignees may be inaccurate. Google has not performed a legal analysis and makes no representation or warranty as to the accuracy of the list.)
Karl Schnell GmbH and Co Maschinenfabrik
Original Assignee
Karl Schnell GmbH and Co Maschinenfabrik
Priority date (The priority date is an assumption and is not a legal conclusion. Google has not performed a legal analysis and makes no representation as to the accuracy of the date listed.)
Filing date
Publication date
Application filed by Karl Schnell GmbH and Co Maschinenfabrik filed Critical Karl Schnell GmbH and Co Maschinenfabrik
Publication of EP0226925A2 publication Critical patent/EP0226925A2/de
Publication of EP0226925A3 publication Critical patent/EP0226925A3/de
Application granted granted Critical
Publication of EP0226925B1 publication Critical patent/EP0226925B1/de
Anticipated expiration legal-status Critical
Expired - Lifetime legal-status Critical Current

Links

Images

Classifications

    • BPERFORMING OPERATIONS; TRANSPORTING
    • B26HAND CUTTING TOOLS; CUTTING; SEVERING
    • B26DCUTTING; DETAILS COMMON TO MACHINES FOR PERFORATING, PUNCHING, CUTTING-OUT, STAMPING-OUT OR SEVERING
    • B26D5/00Arrangements for operating and controlling machines or devices for cutting, cutting-out, stamping-out, punching, perforating, or severing by means other than cutting
    • B26D5/02Means for moving the cutting member into its operative position for cutting
    • B26D5/04Means for moving the cutting member into its operative position for cutting by fluid pressure

Definitions

  • the invention relates to a portioning machine with a filling pump and at least one outlet nozzle connected thereto, along the mouth or mouths of which a knife can be moved in and out, the knife being able to be lifted from the nozzle mouth in its infeed end position and against the nozzle mouth before the cutting movement begins It can be reset by being mounted on a sliding member so as to be pivotable about an axis running in its longitudinal direction perpendicular to the infeed direction, and being connected to a pivoting drive, and being deliverable by means of a working cylinder of the sliding drive.
  • This portioning machine with filling pump has several outlet nozzles arranged in a row, through which the portionable mass exits.
  • the individual mass strands are sheared off simultaneously using the knife. Because this portioning machine is primarily intended to process dough, especially for pretzels, a number of pretzels corresponding to the number of outlet nozzles is produced, for example, with one working stroke of the knife.
  • the object of the invention is consequently seen in the further development of a portioning machine of the type described at the outset in such a way that the portions can be produced with reduced technical and thus also mechanical expenditure.
  • the portioning machine is designed in accordance with the preamble of claim 1 in accordance with the characterizing part of this claim.
  • This portioning machine also requires four movements for one work cycle, which correspond to those of the previously known portioning machine, but they can be produced with the machine according to the invention in a very simple manner and with only a single motor or working cylinder.
  • the cylinder of the swivel drive is also a cylinder of the knife displacement drive.
  • the axis of rotation of the swivel joint by means of which the working piston is connected to the plate, and that of the knife or a knife holder run parallel to one another.
  • the rotary movement of the knife and its infeed movement do not necessarily have to take place separately, rather they can be at least partially superimposed on one another.
  • the shifting movement may only begin when the knife has reached the nozzle mouth or its intended shifting plane and has not yet reached the mass strand.
  • the tab is extended beyond the swivel joint of the working piston and the extension piece carries a stop element which is displaceably and rotatably mounted in an elongated hole of a control member, because the elongated hole extends parallel to the working cylinder and to the longitudinal axis of the sliding member, one can under Utilizing the displacement movement of the working piston in a simple way to achieve a swinging away of the knife from the nozzle mouth.
  • a particular area of application of this portioning machine is the meat processing industry, where the meat and possibly also bones and the like are processed to a portionable mass by means of a suitable comminution machine. If this mass leaves the outlet nozzle without a sausage casing, it must be stiff enough that it does not fall apart under its own weight. As a rule, efforts are made or it is demanded that this mass strand be divided into sections or portions of equal size.
  • a special area of application is the production of so-called "Cevapcici”. It is precisely this product that requires sharp, blade-like knives and a high cutting speed so that the ends of the portions are not deformed and clean cutting surfaces are created. The distance from one working stroke to the next is expediently adjustable.
  • a further development of the invention provides that the knife can be adjusted by means of a preferably adjustable clock device, in particular electropneumatically. Electricity and compressed air are normally available in the area of such portioning machines. On the commonly used filling machines, a pulse for intermittent work can be easily removed, since it can also be used for twisting the sausages or attaching a clip - in the manufacture of sausages with sausage casing - needed. Because this portioning machine preferably enables portioning with a continuously driven metering pump, a single pulse is sufficient for the cutting. A second impulse for a break is therefore not necessary. Of course, the filling speed of the filling pump must be adapted to the emerging mass of the metering pump or pumps.
  • the electronic controls customary today make it possible without further ado to precisely coordinate the various devices and units and to precisely determine the pulse interval depending on the delivery rate of the metering pumps and the desired portion size.
  • the portion size corresponds to the set delivery rate of the filling pump between two pulses divided by this number of nozzles.
  • the pivot axes of the knife or knife holder and the tab on the working cylinder in the starting position of the knife are approximately in a common plane running perpendicular to the longitudinal axes of the sliding member and the working member and the control member is in the starting position of the knife has a maximum distance from the end of the elongated hole serving as a stop and abuts the stop at the end of the cutting movement.
  • the stop element runs along the elongated hole and, seen in the feed direction, it arrives at its front or lower end when the cutting process has ended. This then stops the further feed movement not only of the stop element, but also of the working piston and the knife.
  • the working piston is displaced in the opposite direction, this causes a torque on the knife or a knife holder, which lifts the knife from the nozzle mouth, with a small pivoting movement about the pivot axis of the knife or of his knife holder takes place on the sliding link.
  • the cylinder of the working piston and the control member can be pivoted about parallel axes, which are also parallel to the pivot axis of the knife and the articulation axis of the plate or the like. In this way, the working cylinder and the control member can oscillate around their suspension axes to the extent necessary.
  • the knife is designed as a flat, in particular strip-like knife, the plane of which, when cutting, is inclined to the plane of the nozzle mouth or mouths. In this way, a particularly good, deformation-free or at least low-deformation cut is obtained.
  • This knife can also be used to cut two or more strands running side by side at the same time.
  • the geometric axis of the displacement member is expediently located approximately in the plane of the nozzle mouth or mouths. This means that the direction of displacement of the sliding member runs parallel to the plane of the nozzle mouth, while the plane of the knife includes a, preferably acute, angle with that of the nozzle mouth. This also contributes to the good work result and enables the mass to flow continuously even during the cutting process.
  • Another embodiment of the invention is that an imaginary plane through the geometric axes of the displacement member, the working piston and the control member approximately perpendicular to the plane of the nozzle mouth. runs. In this way, the knife can be moved back and forth on a circular path without tilting.
  • the plane of the nozzle mouth is inclined to the longitudinal axis of the nozzle or nozzles.
  • the inclination of the nozzle mouth is now selected so that when cutting, the plane of the knife, which, as already mentioned, is also inclined to the geometric axis of the displacement member, is approximately perpendicular to the geometric axis of the outlet nozzle.
  • the inclinations are chosen so that the knife moves both transversely to the mass strand and in its conveying direction when sliding along the oblique nozzle mouth.
  • nozzle is located at the outlet of a metering device, in particular a gear metering pump.
  • a gear metering pump This has a pair of gearwheels in a known manner and the mass to be conveyed is in the tooth gaps when the gearwheels are turned. The mass delivered per unit of time can be varied by changing the gear speed.
  • a particularly preferred embodiment of the invention is characterized in that mottled gear wheels are attached to a common drive shaft which listen to a gear metering pump set having a plurality of gear pumps arranged side by side, the outlet nozzles being arranged side by side and all having a common knife assigned to them.
  • the length of this knife is determined by the number of nozzles and its width in the cutting direction is essentially determined by the thickness of the nozzle mouth.
  • disk-like intermediate pieces which define the distance between the nozzles or nozzle orifices and, if appropriate, also simultaneously seal the pressure sides of the individual metering pumps from one another.
  • a further embodiment of the invention is characterized in that the inlets of the gear metering pumps are connected to one another via a cross distributor, the inlet connection or the like of which is connected in terms of flow to the filling pump, so that the medium can be supplied to all metering pumps via a single filling pump.
  • a further preferred variant of the invention is characterized by a transport member for the cut-off portions which can be moved past below the nozzle orifice. It must be arranged, in particular in terms of height, so that on the one hand the portions are not deformed when placed on it and on the other hand the escape of the mass strand and the cutting off by the transport member are not impaired.
  • the transport member is designed in a particularly advantageous manner as a web that can be unwound from a roll, in particular made of paper. This paper web can then later be divided into transportable or dispatchable units with the portions lying thereon.
  • the web of paper or the like is supported in a further embodiment of the invention on an endless conveyor belt, which is expediently adjustable in height, thereby adapting the height to the nozzle mouths and with an inclined course of the conveyor belt plane to the imaginary plane through the geometric axes of the sausage-shaped portions to allow the portion length in a certain order of magnitude.
  • the filling material to be divided into portions is introduced into the funnel 1 of the device 2.
  • the device 2 contains at least one filling pump 3.
  • at least one comminution device can also be installed in the device 2, which comminutes the material introduced into the hopper 1 to the desired degree of fineness, if necessary.
  • the material conveyed by the filling pump 3 reaches a gear metering pump set 6.
  • This is preceded by a transverse distributor 7, the connecting flange 8 of which is tightly connected to the connecting line 5.
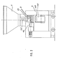
  • Each gear metering pump of the metering pump set 6 has an outlet nozzle 9. In FIG. 2 nine such nozzles are shown.
  • the metering pump set consists of fourteen metering pumps 10.
  • metering pumps 10 can vary within further limits.
  • the smallest unit has only a single metering pump, the inlet of which is then connected directly to the connecting line 5. 3 that 10 disk-like intermediate pieces 11 of different thickness can be inserted between the individual metering pumps. These not only determine the lateral distance between the individual outlet nozzles 8, but can also serve as part of the pump housing.
  • each nozzle mouth 12 is cut or sheared at a predetermined time with the aid of a resettable and resettable knife 13, as a result of which the strand emerging from the nozzle, for example from stiff sausage or meat sausage meat, is divided into individual, more or less short or long portions is divided.
  • the knife thickness is comparatively small and its width is set according to the diameter of the nozzle mouth.
  • the length of the knife depends on the width of the gear metering pump set 6 in the direction of the geometric axis 14 of the drive shaft 15, for example for all upper gear wheels 16 measured. In the latter case, the driving wheel is designated 16 and the driven wheel 17.
  • the operation of such gear metering pumps is known and therefore does not need to be explained in more detail.
  • the good is over the tooth gaps 18. 19 promoted to the outlet nozzle 9. Accordingly, all emerging mass strands are cut through with a single knife stroke.
  • the knife 13 can be set in the direction of the arrow 20 and can be reset in the opposite direction. During cutting, it slides along the nozzle mouth 12, the strands being sheared off at high speed. This will be explained in more detail below.
  • the knife 13 is pivotally mounted on a sliding member 22 about an axis 21 extending in its longitudinal direction and perpendicular to the feed direction 20 and is connected to a pivot drive 23.
  • the exemplary embodiment also provides a knife holder 24, on which the knife, in particular replaceable, is held. Accordingly, in the exemplary embodiment, the knife is indirectly pivotable on the slide via the knife holder 24 member 22 stored.
  • the swivel drive 23 has a, in particular pneumatic, working cylinder 25. In an advantageous manner, this is also a knife displacement drive.
  • the working direction of the working piston 26 of this working cylinder 25 runs parallel to the working direction of the displacement member or its guide bearing 27.
  • the working piston 26 is coupled to a tab 29 of the knife holder 24 via a swivel joint 28. This tab is extended beyond the swivel joint 28, the extension piece 30 carrying a stop element 31, for example a bolt-shaped one.
  • the stop element 31 engages in an elongated hole 32 of a control member 33 and is displaceable therein in the direction of the double arrow 34 and rotatable about its axis.
  • the elongated hole and in particular also the entire control member 33 extend parallel to the working cylinder 25 or displacement member 22, i.e. the geometrical axes of these three elements run parallel and preferably in a common plane. This is otherwise perpendicular to a plane placed by the knife 13 and all nozzle openings.
  • the axis 21 and the axis of the swivel joint 28 lie on a common imaginary axis that is laid to the geometric axes of the working cylinder and the displacement member Level, while due to the inclination of the tab 29 with its extension piece 30, the stop element 31 is removed from this imaginary plane and in the direction of the articulation axis 35 of the control member 33 on a beam 37.
  • the working piston is also limited by an axis 36 Entirely pivoted.
  • the lower end of the elongated hole 32 in the drawing forms a stop 38 for the stop element 31. It follows that the stop element 31 is at its greatest distance from the stop 38 in the starting position of the knife 13, that is to say in the retracted end position of the working piston 26. Starting from the upper end position shown in FIG. 4 in the direction of arrow 39, the knife 13 can be pivoted about the axis 23 towards the nozzle mouth 12. This takes place automatically with the aid of the swivel drive 23 or more precisely the feed movement of the working piston 26.
  • the working piston 26 of the swivel drive 23, which is also a knife drive, is extended further, this leads to the shearing off of the emerging strand and to the formation of a portion 43 or, in the case of several nozzles, to a corresponding number of portions.
  • the stop element 31 lies against the stop 38.
  • the extension piece 30 is pivoted clockwise around the stop element 31. This leads to the lifting of the knife 1, 3 from the nozzle orifice 12.
  • the portion 43 or the portion group is placed on a transport member 45 that can be moved past beneath the nozzle orifices 12. This is preferably a web 47 that can be unwound from a roll 46, in particular a paper web.
  • the portion of the transport member 45 to be covered with the portions 43 rests on the upper run of an endless conveyor belt 48.
  • the height 49 of the conveyor belt 48 and in particular its upper run 50 can be set within predetermined limits. 1 that both the device 2 and the associated device 51 with the gear metering pump set 6 and the cutting device can be moved.
  • a braking or locking device 52 ensures that the correct alignment with respect to the conveyor belt 48 is maintained.
  • controller 53 By means of a controller 53, the conveyance of the goods to be divided into portions and the feed movement of the cutting knife 13 are controlled so that the filling pump 3 can work continuously and the gearwheel -Dosing pump set 6 the correct amount is supplied, the cutting process should take place so that the resulting rear and front ends of the portions and the portions themselves are not deformed. If necessary, the controller 53 also serves other purposes, for example the correct functioning of a comminution device of the device 2.
  • the portion size can be set on the controller 53. It is dependent on the flow rate, for example in the connecting line 5, and the time interval between two working movements of the cutting knife 13.

Landscapes

  • Physics & Mathematics (AREA)
  • Fluid Mechanics (AREA)
  • Life Sciences & Earth Sciences (AREA)
  • Forests & Forestry (AREA)
  • Engineering & Computer Science (AREA)
  • Mechanical Engineering (AREA)
  • Crushing And Pulverization Processes (AREA)
  • Formation And Processing Of Food Products (AREA)
  • Perforating, Stamping-Out Or Severing By Means Other Than Cutting (AREA)

Description

  • Die Erfindung bezieht sich auf eine Portioniermaschine mit einer Füllpumpe und mindestens einer damit verbundenen Auslaßdüse, entlang deren Mündung bzw. Mündungen ein Messer zu-und rückstellbar ist, wobei das Messer in seiner Zustellendlage von der Düsenmündung abhebbar und vor Beginn der Schneidbewegung gegen die Düsenmündung hin rückstellbar ist, indem es um eine in seiner Längsrichtung senkrecht zur Zustellrichtung verlaufenden Achse schwenkbar an einem Verschiebeglied gelagert und mit einem Schwenkantrieb verbunden sowie mittels eines Arbeitszylinders des Verschiebeantriebs zustellbar ist. Eine derartige Konstruktion ist durch die US-A-3 782 876 bekannt geworden. Diese Portioniermaschine mit Füllpumpe hat mehrere in Reihe nebeneinander angeordnete Auslaßdüsen, über welche die portionierfähige Masse austritt. Die einzelnen Massestränge werden mit Hilfe des Messers gleichzeitig abgeschert. Weil mit dieser Portioniermaschine hauptsächlich Teig, insbesondere für Brezeln, verarbeitet werden soll, entstehen beispielsweise mit einem Arbeitshub des Messers eine der Auslaßdüsenzahl entsprechende Anzahl von Brezeln.
  • Für die zu einem vollständigen Arbeitsspiel gehörenden zwei Bewegungen sind bei dieser Portioniermaschine zwei Antriebseinrichtungen erforderlich, deren Bewegungen hinsichtlich ihres zeitlichen Ablaufs genau aufeinander abgestimmt werden müssen. Es ist einleuchtend, daß dies nur mit einer entsprechend aufwendigen Steuerung geht.
  • Die Aufgabe der Erfindung wird infolgedessen darin gesehen, eine Portioniermaschine der eingangs beschriebenen Art so weiterzubilden, daß die Portionen mit einem verringerten technischen und damit auch maschinenmäßigen Aufwand hergestellt werden können.
  • Zur Lösung dieser Aufgabe wird erfindungsgemäß vorgeschlagen, daß die Portioniermaschine gemäß dem Oberbegriff des Anspruchs 1 entsprechend dem kennzeichnenden Teil dieses Anspruchs ausgebildet ist. Auch bei dieser Portioniermaschine sind für ein Arbeitsspiel vier Bewegungen erforderlich, welche denjenigen der vorbekannten Portioniermaschine entsprechen, jedoch können sie mit der erfindungsgemäßen Maschine auf recht einfache Weise und mit lediglich einem einzigen Motor bzw. Arbeitszylinder erzeugt werden. Man erreicht dies vor allen Dingen aufgrund einer vereinfachten, aber doch sehr sinnvollen Ausbildung des Messerantriebs. Besondere Bedeutung kommt der Tatsache zu, daß Arbeitszylinder des Schwenkantriebs zugleich ein Arbeitzylinder des Messer-Verschiebeantriebs ist.
  • Durch das Abheben des beim Schneiden entlang der Düsenmündung bewegbaren Messers am Ende des Schneidvorgangs, kann man mit einem kontinuierlich austretenden Massestrang arbeiten, ohne Verformung der beim Abschneiden gebildeten Portionsenden in Kauf nehmen zu müssen. Der abgetrennten Portion wird zugleich mit dem Abschneiden auch noch ein Impuls in Abtransportrichtung vermittelt. Die Messersteuerung ermöglicht nicht nur das Abheben nach dem Abschneidevorgang, sondern auch das rechtzeitige Annähern an die Düsenmündung, um beim nächsten Arbeitshub an letzterer unmittelbar entlanggleiten zu können. Die richtige Bewegung zur richtigen Zeit erreicht man trotz Verwendung lediglich eines einzigen Zylinders, und zwar aufgrund der besonderen Kinematik des Messerantriebs dieser Portioniermaschine.
  • Die Drehachse des Drehgelenks, mittels welcher der Arbeitskolben mit der Lasche verbunden ist, und diejenige des Messers oder eines Messerhalters verlaufen parallel zueinander. Die Drehbewegung des Messers und seine Zustellbewegung müssen nicht notwendigerweise getrennt ablaufen, vielmehr können sie zumindest teilweise einander überlagert sein. Andererseits darf aber die Verschiebebewegung erst dann beginnen, wenn das Messer an der Düsenmündung oder seiner vorgesehenen Verschiebeebene angekommen ist und dabei den Massestrang noch nicht erreicht hat. Dadurch, daß die Lasche über das Drehgelenk des Arbeitskolbens hinaus verlängert ist und das Verlängerungsstück ein Anschlagelement trägt, das in einem Langloch eines Steuerglieds verschieb- und drehbar gelagert ist, weil sich das Langloch parallel zum Arbeitszylinder und zur Längsachse des Verschiebeglieds erstreckt, kann man unter Ausnutzung der Verschiebebewegung des Arbeitskolbens auf einfache Art und Weise ein Wegschwenken des Messers von der Düsenmündung erreichen.
  • Ein besonderes Anwendungsgebiet dieser Portioniermaschine ist die fleischverarbeitende Industrie, wo das Fleisch und ggf. auch Knochen und dgl. mittels einer geeigneten Zerkleinerungsmaschine zu einer portionierfähigen Masse verarbeitet wird. Wenn diese Masse die Auslaßdüse ohne Wursthülle verläßt, so muß sie steif genug sein, damit sie nicht unter dem Eigengewicht auseinanderfällt. In der Regel ist man bestrebt oder wird es verlangt, daß dieser Massestrang in lauter gleich große Teilstücke oder Portionen unterteilt wird. Ein spezielles Anwendungsgebiet ist die Herstellung sogenannter "Cevapcici". Gerade dieses Gut verlangt scharfe klingenartige Messer und eine hoher Schnittgeschwindigkeit, damit die Enden der Portionen nicht verformt werden und saubere Schnittflächen entstehen. Zweckmäßigerweise ist der Abstand von einem Arbeitshub zum nächsten einstellbar.
  • Ein Weiterbildung der Erindung sieht vor, daß das Messer mittels einer, vorzugsweise einstellbaren, Takteinrichtung, insbesondere elektropneumatisch, zustellbar ist. Strom und Druckluft stehen im Bereich solcher Portioniermaschinen normaleweise zur Verfügung. An den üblicherweise verwendteten Füllmaschinen ist ein Impuls für das taktweise Arbeiten ohne weiteres abnehmbar, da man ihn beispielsweise dort auch für das Abdrehen der Würste odert das Anbringen eines Clips - bei der Herstellung von Würsten mit Wursthülle - benötigt. Weil bei dieser Portioniermaschine in bevorzugter Weise ein Portionieren mit kontinuierlich angetriebener Dosierpumpe möglich ist, reicht ein einziger Impuls für das Schneiden aus. Es entfällt dadurch ein zweiter Impuls für eine Pause. Selbstverständlich muß die Füllgeschwindigkeit der Füllpumpe an die austretenden Masse der Dosierpumpe oder -pumpen angepaßt werden. Die heute üblichen elektronischen Steuerungen ermöglichen es ohne weiteres, die verschiedenen Vorrichtungen und Aggregate genau aufeinander abzustimmen und den Impulsabstand in Abhängigkeit von der Fördermenge der Dosierpumpen und der gewünschten Portionsgröße genau festzulegen. Insbesondere ist es möglich, an der Füllpumpe ein bestimmtes Gewicht oder eine bestimmte Fördermenge vorzuwählen. Bei Verwendung von beispielsweise fünfzehn Düsen entspricht dann die Portionsgröße der eingestellten Fördermenge der Füllpumpe zwischen zwei Impulsen geteilt durch diese Anzahl der Düsen.
  • Des weiteren ist es besonders vorteilhaft, wenn sich die Schwenkachsen des Messers oder Messerhalters und der Lasche am Arbeitszylinder in der Ausgangsstellung des Messer etwa in einer gemeinsamen, senkrecht zu den Längsachsen des Verschiebeglieds und des Arbeitsglieds verlaufenden Ebenen befinden und das Steuerglied in der Ausgangslage des Messers von dem als Anschlag dienenden Ende des Langloches einen Maximalabstand aufweist sowie am Ende der Schneidbewegung am Anschlag anliegt. Während des Schneidvorgangs läuft das Anschlagelement entlang dem Langloch und es kommt in Vorschubrichtung gesehen an dessen vorderem oder unterem Ende dann an, wenn der Schneidvorgang beendet ist. Damit wird dann die weitere Vorschubbewegung nicht nur des Anschlagelements, sondern auch des Arbeitskolbens und des Messers beendigt. Wenn daraufhin, beispielsweise durch Druckumsteuerung und Verwendung eines doppelt wirkenden Arbeitszylinders, der Arbeitskolben in Gegenrichtung verschoben wird, so bewirkt dies ein Drehmoment am Messer oder einem Messerhalter, welcher das Messer von der Düsenmündung abhebt, wobei eine kleine Schwenkbewegung um die Schwenkachse des Messers bzw. seines Messerhalters am Verschiebeglied stattfindet.
  • Um sowohl für die Drehgelenke als auch die Schiebeführung des Anschlagelements möglichst enge Toleranzen verwenden zu können, ist es von besonderem Vorteil, daß der Zylinder des Arbeitskolbens und das Steuerglied um parallele Achsen verschwenkbar sind, die auch parallel zu Schwenkachse des Messers und der Anlenkachse der Lasche od. dgl. verlaufen. Der Arbeitszylinder und das Steuerglied können auf diese Weise um ihre Aufhängeachsen im notwendigen Umfange pendeln.
  • Das Messer ist in Weiterbildung der Erfindung als flaches, insbesondere leistenartiges Messer ausgebildet, dessen Ebene beim Schneiden geneigt zur Ebene der Düsdenmündung bzw. -mündungen verläuft. Man erhält auf diese Weise einen besonders guten, verformungsfreien oder zumindest verformungsarmen Schnitt. Außerdem können mit diesem Messer auch zwei oder mehrere nebeneinander ablaufende Stränge gleichzeitig abgeschnitten werden.
  • Die geometrische Achse des Verschiebeglieds ist zweckmäßigerweise etwa in der Ebene der Düsenmündung bzw. -mündungen gelegen. Dies bedeutet, daß die Verschieberichtung des Verschiebeglieds parallel zur Ebene der Düsenmündung verläuft, während die Ebene des Messers mit derjenigen der Düsenmündung einen, vorzugsweise spitzen Winkel einschließt. Auch dies trägt zum guten Arbeitsergebnis bei und ermöglicht das kontinuierliche Ausströmen der Masse auch während des Schneidvorgangs.
  • Eine weitere Ausgestaltung der Erfindung besteht darin, daß eine gedachte Ebene durch die geometrischen Achsen des Verschiebeglieds, des Arbeitskolbens und des Steuerglieds etwa senkrecht zur Ebene der Düsenmündung. verläuft. Auf diese Weise kann das Messer verkantungsfrei auf einer Kreisbahn zu- und zurückgestellt werden.
  • Bei einer bevorzugten Ausführungsform der Erfindung verläuft die Ebene der Düsenmündung geneigt zur Längsachse der Düse oder Düsen. Das bedeutet, daß die Längsachse der Düse oder Düsen auch geneigt zu den geometrischen Achsen von Verschiebeglied, Arbeitszylinder und Steuerglied angeordnet ist. Die Neigung der Düsenmündung ist nun so gewählt, daß beim Abschneiden die Ebene des Messers, das, ja, wie gesagt, auch geneigt zur geometrischen Achse des Verschiebeglieds angeordnet ist, etwa senkrecht zur geometrischen Achse der Auslaßdüse steht. Des weiteren sind die Neigungen so gewählt, daß sich das Messer beim Gleiten entlang der schrägen Düsenmündung sowohl quer zum Massestrang als auch in dessen Förderrichtung bewegt.
  • Eine weitere Variante der Erfindung kennzeichnet sich dadurch, daß sich die Düse am Auslaß einer Dosiervorrichtung, insbesondere einer Zahnrad-Dosierpumpe befindet. Diese besitzt in bekannter Weise ein Zahnradpaar und die zu fördernde Masse befindet sich beim Drehen der Zahnräder in den Zahnlücken. Durch Veränderung der Zahnraddrehzahl kann man die pro Zeiteinheit geförderte Masse variieren.
  • Eine besonders bevorzugte Ausgestaltung der Erfindung ist dadurch gekennzeichnet, daß auf einer gemeinsamen Antriebswelle melirere Zähnräder befestigt sind, die einem mehrere nebeneinander angeordnete Zahnradpumpen aufweisenden Zahnrad-Dosierpumpensatz ange hören, wobei die Auslaßdüsen in Reihe nebeneinander angeordnet sind und allen ein gemeinsames Messer zugeordnet ist. Die Länge dieses Messers bestimmt sich nach der Zahl der Düsen und seine Breite in Schneidrichtung gesehen wird im wesentlichen durch die Stärke der Düsenmündung festgelegt. Dadurch, daß alle treibenden Zahnräder der nebeneinander angeordneten Dosier-Zahnradpumpen auf einer gemeinsamen Antriebswelle sitzen und damit von einem gemeinsamen, insbesondere elektrischen, Motor angetrieben werden, tritt bei gleicher Düsendimensionierung aus jeder Düse ein gleich starker Massestrang gleich schnell aus. Mit jedem Messerhub entsteht damit eine der Dosierpumpenzahl entsprechende Portionszahl.
  • Zwischen den einzelnen Pumpen des Zahnrad-Dosierpumpensatzes befinden sich, insbesondere im Auslaßbereich, scheibenartige Zwischenstücke, welche den Abstand der Düsen bzw. Düsenmündungen festlegen, und gegebenenfalls gleichzeitig auch die Druckseiten der einzelnen Dosierpumpen gegeneinander abdichten.
  • Eine weitere Ausgestaltung der Erfindung kennzeichnet sich dadurch, daß die Einlässe der Zahnrad-Dosierpumpen über einen Querverteiler miteinander verbunden sind, dessen Einlaßstutzen od. dgl. mit der Füllpumpe strömungsmäßig verbunden ist, so daß das Medium allen Dosierpumpen über eine einzige Füllpumpe zugeführt werden kann.
  • Eine weitere bevorzugte Variante der Erfindung ist durch ein unterhalb der oder den Düsenmündungen vorbeibewegbares Transportglied für die abgeschnittenen Portionen gekennzeichnet. Es muß so angeordnet, insbesondere in der Höhe so plaziert werden, daß einerseits die Portionen beim Ablegen darauf nicht verformt werden und andererseits das Austreten des Massestrangs und das Abschneiden durch das Transportglied nicht beeinträchtigt wird.
  • Das Transportglied ist in besonders vorteilhafter Weise als von einer Role abwickelbare Bahn, insbesondere aus Papier, ausgebildet. Diese Papierbahn kann dann später mit den daraufliegenden Portionen in transport- oder versandfähige Einheiten unterteilt werden. Die Bahn aus Papier od. dgl. ist in weiterer Ausbildung der Erfindung auf einem endlosen Förderband abgestützt, das zweckmäßigerweise höheneinstellbar ist, um dadurch eine Höhenanpassung an die Düsenmündungen und bei geneigtem Verlauf der Förderbandebene zur gedachten Ebene durch die geometrischen Achsen der wurstförmigen Portionen eine Variation der Portionslänge in einer betimmten Größenordnung zu ermöglichen.
  • Die Erfindung wird nachstehend anhand der Zeichnung näher erläutert.
  • Die Zeichnung zeig ein Ausführungsbeispiel der Erfindung. Hierbei stellen dar:
    • Fig. 1 Eine Seitenansicht der Maschine,
    • Fig. 2 eine Vorderansicht der Maschine in Pfeilrichtung A der Fig. 1 gesehen,
    • Fig. 3 eine abgebrochene Draufsicht im Bereich des Dosierpumpensatzes, teilweise geschnitten,
    • Fign. 4 bis 7 in etwas schematisierter Darstellung vier verschiedene Phasen der Portionsbildung.
  • In den Trichter 1 der Vorrichtung 2 wird das in Portionen zu unterteilende Füllgut eingebracht. Di Vorrichtung 2 enthält zumindest eine Füllpumpe 3. Darüber hinaus kann in die Vorrichtung 2 auch noch wenigstens eine Zerkleinerungseinrichtung eingebaut sein, welche das in den Trichter 1 eingebrachte Gut gegebenenfalls auf den gewünschten Feinheitsgrad zerkleinert. Über den Aulaß 4 und eine Verbindungsleitung 5 gelangt das von der Füllpumpe 3 geförderte Gut zu einem Zahnrad-Dosierpumpensatz 6. Diesem ist ein Querverteiler 7 vorgeschaltet, dessen Anschlußflansch 8 mit der Verbindungsleitung 5 dicht verbunden ist. Jede Zahnrad-Dosierpumpe des Dosierpumpensatzes 6 besitzt eine Auslaßdüse 9. In Fig. 2 sind neun derartige Düsen eingezeichnet. Gemäß Fig. 3 besteht der Dosierpumpensatz aus vierzehn Dosierpumpen 10. Damit soll zum Ausdruck gebracht werden, daß die Zahl der Dosierpumpen 10 innerhalb weitere Grenzen variieren kann. Die kleinste Einheit weist lediglich eine einzige Dosierpumpe auf, deren Einlaß dann unmittelbar an die Verbindungsleitung 5 angeschlossen wird. Des weiteren ergibt sich aus Fig. 3, daß zwischen den einzelnen Dosierpumpen 10 scheibenartige Zwischenstücke 11 unterschiedlicher Dicke eingesetzt sein können. Diese legen nicht nur den Seitenabstand der einzelnen Auslaßdüsen 8 fest, sondern können auch als Teil des Pumpengehäuses dienen.
  • Das aus jeder Düsenmündung 12 austretende Gut wird mit Hilfe eines zu- und rückstellbaren Messers 13 zur vorbestimmten Zeit abgeschnitten oder abgeschert, wodurch der aus der Düse austretende Strang, beispielsweise aus steifem Wurst- oder Fleischbrät, in einzelne mehr oder weniger kurze bzw. lange Portionen unterteilt wird. Beispielsweise aus Fig. 4 ersieht man, daß die Messerdicke vergleichweise gering und seine Breite dem Durchmesser der Düsenmündung entsprechend festgelegt ist. Die Länge des Messers richtet sich nach der Breite des Zahnrad-Dosierpumpensatzes 6 in Richtung der geometrischen Achse 14 der Antriebswelle 15 für beispielweise alle oberen Zahnräder 16 gemessen. Im letzteren Falle wird also das treibende Rad mit 16 und das getreibene mit 17 bezeichnet. Die Arbeitsweise derartiger Zahnrad-Dosierpumpen ist bekannt und muß aus diesem Grunde nicht näher erläutert werden. Das Gut wird über die Zahnlücken 18 .bzw. 19 zur Auslaßdüse 9 gefördert. Demnach werden also mit einem einzigen Messerhub sämtliche austretenden Massestränge durchschnitten.
  • Das Messer 13 ist, wie bereits angedeutet, im Sinne des Pfeiles 20 zustellbar und in Gegenrichtung rückstellbar. Während des Schneidens gleitet es entlang der Düsenmünundung 12, wobei die Stränge mit hoher Geschwindigkeit abgeschert werden. Im einzelnen wird das nachstehend noch erläutert.
  • Das Messer 13 ist um eine sich in seiner Längsrichtung und senkrecht zur Zustellrichtung 20 verlaufende Achse 21 schwenkbar an einem Verschiebeglied 22 gelagert und mit einem Schwenkantrieb 23 verbunden. Das Ausführungsbeispiel sieht noch einen Messerhalter 24 vor, an welchem das Messer, insbesondere auswechselbar, gehalten ist. Demnach wird also beim Ausführungsbeispiel das Messer indirekt über den Messerhalter 24 verschwenkbar am Verschiebeglied 22 gelagert. Der Schwenkantrieb 23 weist einen, insbesondere pneumatischen, Arbeitszylinder 25 auf. Diese ist in vorteil hafter Weise zugleich ein Messer-Verschiebeantrieb. Die Arbeitsrichtung des Arbeitskolbens 26 dieses Arbeitszylinders 25 verläuft parallel zu Arbeitsrichtung des Verschiebeglieds bzw. dessen Führungslager 27. Der Arbeitskolben 26 ist über ein Drehgelenk 28 mit einer Lasche 29 des Messerhalters 24 gekuppelt. Diese Lasche ist über das Drehgelenk 28 hinaus verlängert, wobei das Verlängerungsstück 30 ein, beispielsweise bolzenförmiges, Anschlagelement 31 trägt.
  • Das Anschlagelement 31 greift in ein Langloch 32 eines Steuerglieds 33 ein und ist darin in Richtung des Doppelpfeils 34 verschiebbar und um seine Achse drehbar. Das Langloch und insbesondere auch das gesamte Steuerglied 33 erstrekken sich parallel zum Arbeitszylinder 25 bzw. Verschiebeglied 22, d.h. die geometrischen Achsen dieser drei Elemente verlaufen parallel sowie vorzugsweise in einer gemeinsamen Ebene. Diese steht im übrigen zu einer durch das Messer 13 und alle Düsenmündungen gelegten Eben senkrecht.
  • In der in Fig. 4 dargestellten Ausgangslage eines Arbeitszyklus des Messers 13, nämlich bei in seiner oberen Endlange befindlichen Stellung das Arbeitskolbens 26, liegen die Achse 21 und die Achse des Drehgelenks 28 auf einer gemeinsamen zu den geometrischen Achsen des Arbeitszylinders und des Verschiebeglieds gelegten gedachten Ebene, während aufgrund der Schrägstellung der Lasche 29 mit ihrem Verlängerungsstück 30 das Anschlagelement 31 von dieser gedachten Ebene entfernt ist und zwar in Richtung auf die Anlenkachse 35 des Steuerglieds 33 an einem Balken 37. An letzterem ist auch der Arbeitskolben mittels einer Achse 36 in begrenztem Umfange schwenkbar gelagert.
  • Das in der Zeichnung untere Ende des Langloches 32 bildet einen Anschlag 38 für das Anschlagelement 31. Hieraus folgt, daß das Anschlagelement 31 vom Anschlag 38 in der Ausgangslage des Messers 13, also in der eingezogenen Endstellung des Arbeitskolbens 26, seinen größten Abstand aufweist. Das Messer 13 ist ausgehend von der in Fig. 4 gezeichneten oberen Endstellung im Sinne des Pfeils 39 um die Achse 23 gegen die Düsenmündung 12 hin verschwenkbar. Dies erfolgt automatisch mit Hilfe des Schwenkantriebs 23 oder genauer gesagt der Zustellbewegung des Arbeitskolbens 26. Sobald nämlich der Arbeitskolben im Sinne des Pfeils 20 aus seinem Zylinder 25 ausgefahren wird, wirkt am Messehalter 24 und damit auch am Messer 13 ein Drehmoment im Sinne des Pfeils 39. Dadurch legt sich die Messerschneide 41 an der bzw. den Düsenmündungen 12 an und zwar oberhalb der Düsenbohrung 42. Nunmehr ist die in Fig. 5 gezeigte Stellung erreicht. Die Messerebene, welche gemäß Fig. 4 parallel zur Düsenmündung verlief, steht nunmehr winklig zu der bzw. zu den Düsenmüngen 12.
  • Wenn der Arbeitskolben 26 des Schwenkantriebs 23, der zugleich Messerantrieb ist, weiter ausgefahren wird, so führt dies zum Abscheren des austretenden Stranges und zur Bildung einer Portion 43 bzw. bei mehreren Düsen zu einer entsprechenden Anzahl von Portionen. Sobald das Schneidmesser 13 gemäß Fig. 6 den Strang durchtrennt hat und dabei seine untere Endlage nahezu erreicht hat, liegt das Anschlagelement 31 am Anschlag 38 an. Beim restlichen Abwärtshub wird das Verlängerungsstück 30 im Uhrzeigersinne um das Anschlagelement 31 verschwenkt. Dies fürt zum Abheben des Messers 1,3 von der Düsenmündung 12. Wird nunmehr der Arbeitskolben 26 durch Umsteuern des, insbesondere pneumatischen, doppelt wirkenden Arbeitszylinders 25 entgegen dem Pfeil 20 angehoben, d.h.-in den Zylinder 40 wieder eingezogen, so erzeugt dies ein Drehmoment um die Achse 21 im Sinne des Pfeils 44 (Fig. 7) am Messer bzw. Messerhalter 24 und das Messer bzw. die Messerschneide hebt infolgedessen vom unteren Ende der Düsenmündung 12 noch weiter ab. Bei weiterer Aufwärtsbewegung des Kolbens 26 wird schließlich wieder die in Fig. 4 dargestellte Ausgangsstellung des Zyklus erreicht. Insbesondere dieses frühe Abheben des Messers schon am Ende des Schneidhubes ermöglicht das vorteilhafte Abschneiden bei ständig laufender Füllpumpe.
  • Die Portion 43 bzw. die Portionsgruppe wird auf einem unterhalb den Düsenmündungen 12 vorbeibewegbaren Transportglied 45 abgelegt. Dabei handelt es sich vorzugsweise um eine von einer Rolle 46 abwickelbare Bahn 47, insbesondere eine Papierbahn. Das mit den Portionen 43 zu belegende bzw. belegte Teilstück des Transportglieds 45 liegt auf dem oberen Trum eines endlosen Förderbands 48 auf. Die Höhe 49 des Förderbands 48 und insbesondere seines oberen Trums 50 ist innerhalb vorgegebener Grenzen einstellbar. Im übrigen ergibt sich aus Fig. 1, daß sowohl die Vorrichtung 2 als auch die damit verbundene Vorrichtung 51 mit dem Zahnrad-Dosierpumpensatz 6 und der Schneideinrichtung fahrbar sind. Eine Brems- oder Feststelleinrichtung 52 sorgt für die Beibehaltung der korrekten Ausrichtung gegenüber dem Förderband 48. Mittels einer Steuerung 53 wird die Förderung des in Portionen zu unterteilenden Gutes und die Zustellbewegung des Schneidmessers 13 so gesteuert, daß die Füllpumpe 3 kontinuierlich arbeiten kann und dem Zahnrad-Dosierpumpensatz 6 jeweils die korrekte Menge zugeführt wird, wobei der Abschneidevorgang so ablaufen soll, daß die dabei entstehenden hinteren und vorderen Enden der Portionen und auch die Portionen selbst nicht verformt werden. Gegebenenfalls dient die Steuerung 53 auch noch weiteren Zwecken, beispielsweise der korrekten Arbeitsweise einer Zerkleinerungseinrichtung der Vorrichtung 2. Die Portionsgröße kann an der Steuerung 53 eingestellt werden. Sie ist vom Förderstrom, beispiels weise in der Verbindungsleitung 5, und dem Zeitabstand zwischen zwei Arbeitsbewegungen des Schneidmessers 13 abhängig.

Claims (11)

1. Portioniermaschine mit einer Füllpumpe und mindestens einer damit verbundenen Auslaßdüse (9), entlang deren Mündung bzw. Mündungen (12) ein Messer (13) zu- und rückstellbar ist, wobei das Messer (13) in seiner Zustellendlage von der Düsenmündung (12) abhebbar (44) und vor Beginn der Schneidbewegung (20) gegen die Düsenmündung (12) hin rückstellbar (39) ist, indem es um eine in seiner Längsrichtung senkrecht zur Zustellrichtung (20) verlaufende Achse (21) schwenkbar an einem Verschiebeglied (22) gelagert und mit einem Schwenkantrieb (23) verbunden sowie mittels eines Arbeitszylinders des Verschiebeantriebs zustellbar ist, dadurch gekennzeichnet, daß der Schwenkantrieb (23) einen, insbesondere pneumatischen, Arbeitszylinder (25) aufweist, der zugleich der Arbeitszylinder des Messer-Verschiebeantriebs ist, und daß die Arbeitsrichtung des Arbeitskolbens (26) etwa parallel zur Arbeitsrichtung (20) des Verschiebegleids (22) verläuft, wobei der Arbeitskolben (26) über ein Drehgelenk (28) mit einer Lasche (29) od. dgl. des Messers (13) oder eines Messerhalters (24) gekuppelt ist, daß außerdem die Lasche (29) od. dgl. über das Drehgelenk (28) des Arbeitskolbens (26) hinaus verlängert ist und das Verlängerungsstück (30) ein Anschlagelement (31) trägt, das in einem Langloch (32) eines Steuerglieds (33) verschieb- und drehbar gelagert ist, wobei sich das Langloch (32) parallel zum Arbeitszylinder (25) und zur Längsachse des Verschiebeglieds (22) erstreckt.
2. Maschine nach Anspruch 1, dadurch gekennzeichnet, daß das Messer (13) mittels einer, vorzugsweise einstellbaren, Takteinrichtung, insbesondere elektropneumatisch, zustellbar ist.
3. Maschine nach Anspruch 1 oder.2, dadurch gekennzeichnet, daß sich die Schwenkachsen (21 bzw. 28) des Messers (13) oder Messerhalters (24) und der Lasche (29) am Arbeitszylinder (25) in der Ausgangsstellung des Messers etwa in einer gemeinsamen, senkrecht zu den Längsachsen des Verschiebeglieds (22) und des Arbeitszylinders (25) verlaufenden Ebene befinden, und daß das Steuerglied (33) in der Ausgangslage des Messers (13) von dem als Anschlag (38) dienenden Ende des Langloches (33) einen Maximalabstand aufweist und am Ende der Schneidbewegung (20) am Anschlag (38) anliegt.
4. Maschine nach Anspruch 3, dadurch gekennzeichnet, daß der Zylinder (25) des Arbeitskolbens (26) und das Steuerglied (33) um parallele Achsen (36) bzw. (35) verschwenkbar sind, die auch parallel zur Schwenkachse (21) des Messers (13) und zur Anlenkachse (28) der Lasche (29) od. dgl. verlaufen.
5. Maschine nach wenigstens einem der vorhergehenden Ansprüche, dadurch gekennzeichnet, daß das Messer (13) als flaches, insbesondere leistenartiges, Messer ausgebildet ist, dessen Ebene beim Schneiden geneigt zur Ebene der Düsenmündung (12) bzw. -mündungen verläuft, wobei die geometrische Achse des Verschiebeglieds (22) etwa in der Ebene der Düsenmündung (12) bzw. -mündungen gelegen ist, und daß eine gedachte Ebene durch die geometrischen Achsen des Verschiebeglieds (22) des Arbeitskolbens (26) und des Steuerglieds (33) etwa senkrecht zur Ebene der Düsenmündung (12) verläuft.
6. Maschine nach wenigstens einem der vorhergehenden Ansprüche, dadurch gekennzeichnet, daß die Ebene der Düsenmündung (12) geneigt zur Längsachse (39) der Düsenbohrung (12) oder Düsenbohrungen verlauft.
7. Maschine nach wenigstens einem der vorhergehenden Ansprüche, dadurch gekennzeichnet, daß sich die Düse (12) am Auslaß einer Dosiervorrichtung, insbesondere einer Zahnrad-Dosierpumpe (10), befindet, wobei auf einer gemeinsamen Antriebswelle (15) mehrere Zahnräder (16) befestigt sind, die einem mehrere nebeneinander angeordnete Zahnradpumpen (10) aufweisenden Zahnrad-Dosierpumpensatz (6) angehören, wobei die Auslaßdüsen (9) in Reihe nebeneinander angeordnet sind und allen ein gemeinsames Messer (13) zugeordnet ist.
8. Maschine nach Anspruch 7, dadurch gekennzeichnet, daß sich zwischen den einzelnen Pumpen (10) des Zahnrad-Dosierpumpensatzes (6), insbesondere im Auslaßbereich, scheibenartige Zwischenstücke (11) befinden.
9. Maschine nach Anspruch 7 oder 8, dadurch gekennzeichnet, daß die Einlässe der Zahnrad-Dosierpumpen (10) über einen Querverteiler (7) miteinander verbunden sind, dessen Einlaßsstutzen (8) od. dgl. mit der Füllpumpe (3) strömungsmäßig verbunden ist.
10. Maschine nach wenigstens einem der vorhergehenden Ansprüche, gekennzeichnet durch ein unterhalb der Düsenmündung oder den Düsenmündungen (12) vorbeibewegbares Transportglied (45) für die abgeschnittenen Portionen (43), das als von einer Rolle (46) abwickelbare Bahn (47), insbesondere aus Papier, ausgebildet ist.
11. Maschine nach Anspruch 10, dadurch gekennzeichnet, daß die Bahn (47) aus Papier od. dgl. auf einem endlosen Förderband (48) abgestützt ist.
EP86117031A 1985-12-21 1986-12-08 Portioniermaschine Expired - Lifetime EP0226925B1 (de)

Applications Claiming Priority (2)

Application Number Priority Date Filing Date Title
DE3545673A DE3545673C2 (de) 1985-12-21 1985-12-21 Portioniermaschine
DE3545673 1985-12-21

Publications (3)

Publication Number Publication Date
EP0226925A2 EP0226925A2 (de) 1987-07-01
EP0226925A3 EP0226925A3 (en) 1989-03-22
EP0226925B1 true EP0226925B1 (de) 1990-11-22

Family

ID=6289311

Family Applications (1)

Application Number Title Priority Date Filing Date
EP86117031A Expired - Lifetime EP0226925B1 (de) 1985-12-21 1986-12-08 Portioniermaschine

Country Status (3)

Country Link
US (1) US4747767A (de)
EP (1) EP0226925B1 (de)
DE (1) DE3545673C2 (de)

Families Citing this family (16)

* Cited by examiner, † Cited by third party
Publication number Priority date Publication date Assignee Title
US5046940A (en) * 1989-06-19 1991-09-10 Automated Machinery Systems, Inc. Apparatus for dividing and cutting dough
DE69002629T2 (de) * 1990-08-31 1993-11-11 Frisco Findus Ag Schneiden von Fleisch.
GB9312331D0 (en) * 1993-06-15 1993-07-28 Pj Contracts Limited Meat substitute manufacturing process
US5840345A (en) * 1995-04-17 1998-11-24 Ayash; Ajwad Dough transport device
US5906297A (en) * 1996-11-21 1999-05-25 Cole; Russell H. Multi-outlet depositor
EP1592497B1 (de) * 2003-01-20 2015-05-06 DJM Foodprocessing B.V. Verteilungseinrichtung
HRP20041038A2 (en) * 2004-11-04 2006-09-30 Šturman Klaudio Apparatus for serial production of minced-meat fingers
AT503323B1 (de) * 2005-01-18 2008-11-15 Erema Strangformbauteil und verfahren zum anfahren desselben
EP1712135B1 (de) * 2005-04-11 2007-08-22 Albert Handtmann Maschinenfabrik GmbH & Co. KG Vorrichtung und Verfahren zum geordneten Ablegen von getrennten Wurstportionen
DE102007050592A1 (de) * 2007-10-23 2009-04-30 Rieter Automatik Gmbh Stranggießvorrichtung zur Erzeugung von Granulatkörnern aus Kunststoffmaterial und Verfahren zu deren Betrieb
US20130104710A1 (en) * 2011-11-01 2013-05-02 Hollymatic Corporation Fluff pack portioning apparatus
EP2781160B1 (de) 2013-03-21 2016-11-30 Albert Handtmann Maschinenfabrik GmbH & Co. KG Vorrichtung zum Herstellen koextrudierter Lebensmittelprodukte
ES2660477T3 (es) * 2015-07-30 2018-03-22 Albert Handtmann Maschinenfabrik Gmbh & Co. Kg Procedimiento y dispositivo para la nivelación simplificada de una máquina de llenado para la fabricación de embutidos
EP3424329B1 (de) * 2017-07-06 2021-03-10 Radie B.V. Vorrichtung zur bereitstellung eines teigstücks auf einem beweglichen substrat
CN112873319A (zh) * 2021-01-20 2021-06-01 胡强 一种杜仲皮清理切割一体机
CN114931659B (zh) * 2022-04-21 2023-01-10 广州市爱家有方日用品有限公司 一种公共厕所长效除臭剂及其制备方法

Family Cites Families (11)

* Cited by examiner, † Cited by third party
Publication number Priority date Publication date Assignee Title
DE538189C (de) * 1930-01-31 1931-11-11 Thomas Asum Presshefeteilapparat
US2090095A (en) * 1936-09-22 1937-08-17 George K Bainbridge Candy cutting machine
GB712402A (en) * 1951-04-24 1954-07-21 S B Engineering Company Ltd Improvements in or relating to the manufacture of plastic material such as ice cream
DE1695105U (de) * 1953-04-07 1955-03-17 Georg Bader Einrichtung zur herstellung von raeucherwuersten ohne darm.
GB774347A (en) * 1954-07-07 1957-05-08 Swan Friteof Anderson Block forming and wrapping machine
US2838012A (en) * 1955-06-24 1958-06-10 Edward Weidenmiller Co Inc Cookie forming machine
US3019746A (en) * 1957-09-10 1962-02-06 Facs Mfg Company Inc Extruding apparatus
US3415206A (en) * 1965-03-31 1968-12-10 Reisman Howard Pretzel forming
US3776671A (en) * 1970-11-13 1973-12-04 Eskimo Pie Corp Apparatus for producing confection bars
US3782876A (en) * 1971-12-30 1974-01-01 Reading Pretzel Machinery Co Extrusion machine for pretzels and the like
US4392801A (en) * 1979-06-13 1983-07-12 Matthew Meyer Apparatus for manufacturing cheese product

Also Published As

Publication number Publication date
DE3545673C2 (de) 1995-12-21
EP0226925A3 (en) 1989-03-22
US4747767A (en) 1988-05-31
EP0226925A2 (de) 1987-07-01
DE3545673A1 (de) 1987-06-25

Similar Documents

Publication Publication Date Title
EP0226925B1 (de) Portioniermaschine
DE19518583C2 (de) Schneidmaschine zum Zerschneiden von Produktlaiben
DE1604331C2 (de) Vorrichtung zum Zuteilen und kontrollierten Absetzen genau dosierter Mengen eines plastifizierten Kunststoffes
EP3400805B1 (de) Vorrichtung und verfahren zum übergeben und einlegen von würstchengruppen in eine verpackung
DE2555425A1 (de) Vorrichtung zum einschlagen von papierriesen und dergleichen mit von einem kontinuierlichen verpackungsmaterialband abgeschnittenen blaettern, sowie zum einstellen der blattabmessungen in abhaengigkeit des riesformates
DE3503094A1 (de) Schneidvorrichtung zur bearbeitung kontinuierlich durchlaufender materialbahnen
EP0473036A2 (de) Drahtbiegemaschine für mit Isolierung versehenen Draht
DE3022631C1 (de) Landwirtschaftliche Aufsammelpresse mit Einfuelloeffnung an der Unterseite des Presskanals
DE3783601T2 (de) Positioniervorrichtung fuer die messer einer laengsschneidmaschine.
DE3900414C2 (de)
DE19638307B4 (de) Verfahren zum Schneiden von kontinuierlich geförderten, flächigen Produkten aus Papier oder ähnlichen Materialien
DE3402567A1 (de) Vorrichtung zum schneiden von stabmaterial, insbesondere von betonstahlstaeben
EP1424900A2 (de) Teigteilmaschine
DE576788C (de) Vorrichtung zum Schlingen von Brezeln
EP0265783A2 (de) Vorrichtung zum Speisen von Walzwerken, insbesondere für Ölsaaten
EP2298078A2 (de) Wirkvorrichtung zum Wirken von Teiglingen
DE69801111T2 (de) Querschneidevorrichtung für bahnförmiges Gut
DE102008013806B4 (de) Portioniervorrichtung (Aufwärts Schneiden)
DE953335C (de) Vorrichtung zum Biegen von Blechkegeln auf Biegemaschinen
EP1338201A1 (de) Teigbearbeitungsmaschine zur Herstellung gefüllter Backstücke
EP0133305A1 (de) Vorrichtung zum Zuführen von stangenförmigem Stückgut
EP4232274B1 (de) Fülleinheit für eine rundlaufpresse und ein verfahren zur bereitstellung einer optimierten rundlaufpresse
EP4442415B1 (de) Vorrichtung zum schneiden oder stanzen von teig
DE3135277C2 (de)
DE2023841C2 (de) Schneidvorrichtung zum Abschneiden gleicher Teigstücke von Teigsträngen

Legal Events

Date Code Title Description
PUAI Public reference made under article 153(3) epc to a published international application that has entered the european phase

Free format text: ORIGINAL CODE: 0009012

AK Designated contracting states

Kind code of ref document: A2

Designated state(s): FR GB

PUAL Search report despatched

Free format text: ORIGINAL CODE: 0009013

AK Designated contracting states

Kind code of ref document: A3

Designated state(s): FR GB

17P Request for examination filed

Effective date: 19890505

17Q First examination report despatched

Effective date: 19890913

GRAA (expected) grant

Free format text: ORIGINAL CODE: 0009210

AK Designated contracting states

Kind code of ref document: B1

Designated state(s): FR GB

ET Fr: translation filed
GBT Gb: translation of ep patent filed (gb section 77(6)(a)/1977)
PLBE No opposition filed within time limit

Free format text: ORIGINAL CODE: 0009261

26N No opposition filed
PGFP Annual fee paid to national office [announced via postgrant information from national office to epo]

Ref country code: FR

Payment date: 19941123

Year of fee payment: 9

PGFP Annual fee paid to national office [announced via postgrant information from national office to epo]

Ref country code: GB

Payment date: 19941128

Year of fee payment: 9

PG25 Lapsed in a contracting state [announced via postgrant information from national office to epo]

Ref country code: GB

Effective date: 19951208

GBPC Gb: european patent ceased through non-payment of renewal fee

Effective date: 19951208

PG25 Lapsed in a contracting state [announced via postgrant information from national office to epo]

Ref country code: FR

Effective date: 19960830

REG Reference to a national code

Ref country code: FR

Ref legal event code: ST