EP0139085A1 - Verfahren und Brenner zum Verbrennen von flüssigen oder gasförmigen Brennstoffen unter verminderter Bildung von NOx - Google Patents

Verfahren und Brenner zum Verbrennen von flüssigen oder gasförmigen Brennstoffen unter verminderter Bildung von NOx Download PDF

Info

Publication number
EP0139085A1
EP0139085A1 EP84106790A EP84106790A EP0139085A1 EP 0139085 A1 EP0139085 A1 EP 0139085A1 EP 84106790 A EP84106790 A EP 84106790A EP 84106790 A EP84106790 A EP 84106790A EP 0139085 A1 EP0139085 A1 EP 0139085A1
Authority
EP
European Patent Office
Prior art keywords
air
guide tube
burner
combustion
air box
Prior art date
Legal status (The legal status is an assumption and is not a legal conclusion. Google has not performed a legal analysis and makes no representation as to the accuracy of the status listed.)
Granted
Application number
EP84106790A
Other languages
English (en)
French (fr)
Other versions
EP0139085B2 (de
EP0139085B1 (de
Inventor
Rolf Oppenberg
Helmut Wiehn
Current Assignee (The listed assignees may be inaccurate. Google has not performed a legal analysis and makes no representation or warranty as to the accuracy of the list.)
Deutsche Babcock Werke AG
Original Assignee
Deutsche Babcock Werke AG
Priority date (The priority date is an assumption and is not a legal conclusion. Google has not performed a legal analysis and makes no representation as to the accuracy of the date listed.)
Filing date
Publication date
Family has litigation
First worldwide family litigation filed litigation Critical https://patents.darts-ip.com/?family=6205376&utm_source=google_patent&utm_medium=platform_link&utm_campaign=public_patent_search&patent=EP0139085(A1) "Global patent litigation dataset” by Darts-ip is licensed under a Creative Commons Attribution 4.0 International License.
Application filed by Deutsche Babcock Werke AG filed Critical Deutsche Babcock Werke AG
Priority to AT84106790T priority Critical patent/ATE27854T1/de
Publication of EP0139085A1 publication Critical patent/EP0139085A1/de
Application granted granted Critical
Publication of EP0139085B1 publication Critical patent/EP0139085B1/de
Publication of EP0139085B2 publication Critical patent/EP0139085B2/de
Anticipated expiration legal-status Critical
Expired - Lifetime legal-status Critical Current

Links

Images

Classifications

    • FMECHANICAL ENGINEERING; LIGHTING; HEATING; WEAPONS; BLASTING
    • F23COMBUSTION APPARATUS; COMBUSTION PROCESSES
    • F23CMETHODS OR APPARATUS FOR COMBUSTION USING FLUID FUEL OR SOLID FUEL SUSPENDED IN  A CARRIER GAS OR AIR 
    • F23C7/00Combustion apparatus characterised by arrangements for air supply
    • F23C7/008Flow control devices
    • FMECHANICAL ENGINEERING; LIGHTING; HEATING; WEAPONS; BLASTING
    • F23COMBUSTION APPARATUS; COMBUSTION PROCESSES
    • F23CMETHODS OR APPARATUS FOR COMBUSTION USING FLUID FUEL OR SOLID FUEL SUSPENDED IN  A CARRIER GAS OR AIR 
    • F23C9/00Combustion apparatus characterised by arrangements for returning combustion products or flue gases to the combustion chamber
    • F23C9/006Combustion apparatus characterised by arrangements for returning combustion products or flue gases to the combustion chamber the recirculation taking place in the combustion chamber
    • FMECHANICAL ENGINEERING; LIGHTING; HEATING; WEAPONS; BLASTING
    • F23COMBUSTION APPARATUS; COMBUSTION PROCESSES
    • F23DBURNERS
    • F23D17/00Burners for combustion simultaneously or alternately of gaseous or liquid or pulverulent fuel
    • F23D17/002Burners for combustion simultaneously or alternately of gaseous or liquid or pulverulent fuel gaseous or liquid fuel

Definitions

  • the invention relates to a method and a burner with the features of the preamble of claim 1 or 8.
  • the combustion air can be fed in in partial flows, the combustion being carried out in a reducing manner in a first combustion zone.
  • the combustion air is supplied via concentrically arranged channels, the outlet cross sections of which lie essentially on the same plane.
  • it is also known to return flue gas and to mix the combustion air as a whole or a partial stream (DE-OS 23 06 537, DE-OS 31 10 186).
  • An oil burner is known (US-PS 40 04 875), in which the partial flows of the combustion air are supplied at intervals along the burner axis.
  • the proportion of primary air is less than the proportion of secondary air, so that an initial flame with insufficient UV radiation can set in.
  • this burner a portion of the incompletely burned reaction products formed in the primary combustion zone is sucked back and returned to the primary combustion zone.
  • the known burner is therefore particularly unsuitable for the combustion of heavy heating oil.
  • the invention has for its object a method and a burner for the combustion of liquid. and / or to create gaseous fuels with the aid of which the formation of NO during combustion can be effectively suppressed if the flame is properly monitored and the burner is not contaminated.
  • the combustion air is supplied in two or more stages via concentric channels, the openings of which follow at intervals along the burner axis.
  • a gradual mixing of the combustion air with the oil or gas flame is achieved, so that delayed combustion with a reduced flame temperature is achieved, by which the formation of NOX is effectively suppressed.
  • the return of flue gas via an injector intake by means of the primary air flow serves to further suppress NO formation.
  • the flue gas is the Removed the combustion chamber, where it is largely burned out, so that coking and contamination are avoided.
  • the high proportion of primary air creates an initial flame with sufficient UV radiation, which ensures perfect flame monitoring by means of a UV photo cell.
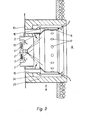
  • the burner arrangement consists of an air box 1 through which a burner lance 2 for oil and several burner lances for gas are passed.
  • the gas burner lances 3 are arranged around the oil burner lance 2.
  • An impeller 4 is attached to the oil burner lance 2.
  • the burner lance 2, 3 are surrounded by a first guide tube 5, the inlet opening 6 of which is inside the air box 1 and the outlet opening 7 of which is inside the burner mouth, which is represented by the burner throat 8.
  • a combustion chamber 9 connects to the burner groove 8.
  • the air box 1 is separated from the burner groove 8 by a cover plate 10 through which the first guide tube 5 projects.
  • a swirl device 11 and an air guide tube 12 are provided in front of its inlet opening 6.
  • the air guide tube 12 is axially adjustable via a linkage 13 guided to the outside. In one end position, the air guide tube 12 covers the air inlet cross section on the swirl device 11. In the other end position. position of the air guide tube 12, the air inlet cross section on the swirl device 11 is released and the rest of the inlet cross section to the first guide tube 5 is covered.
  • the first-mentioned position of the air guide tube 12 is shown in the upper part and the other position is shown in the lower part of FIG. 1. Intermediate positions between the two end positions are also possible.
  • a second guide tube 14 is arranged within the burner groove 8 in the longitudinal axis of the burner at an axial distance from the outlet opening 7 of the first guide tube 5 and the cover plate 10 of the air box 1.
  • the second guide tube 14 preferably consists of a conically widening section which is adjoined by a cylindrical section.
  • the second guide tube 14 is surrounded by a third guide tube 16 within the burner groove 8 at a distance, forming an annular channel 15.
  • This third guide tube 16 like the other two guide tubes 5, 14, can be metallic. Depending on the the temperatures to be expected, the third guide tube 16 can also consist of a refractory ceramic material. According to FIG. 1, the third guide tube 16 can extend into the transition of the burner groove 8 into the combustion chamber 9 or, according to FIG. 2, also end shortly before the transition. The outlet cross section of the third guide tube 16 is closer to the combustion chamber 9 than the outlet cross section of the second guide tube 14.
  • the second guide tube 14 projects further into the burner groove 8 than the third guide tube 16.
  • the second guide tube 14 contains an outwardly directed deflection edge 28.
  • the second guide tube 14 can be provided with lateral bores 17, through which a connection between the ring channel 15 between the guide tubes 14, 16 and the interior of the second guide tube 14 is made.
  • the second guide tube 14 can also be extended by a tube section 18 which partially surrounds the second guide tube 14 within the third guide tube 16. In the direction of the combustion chamber 9, the inlet opening of this pipe section 18 is present and its outlet opening behind the outlet opening of the second guide pipe 14.
  • the annular channel 15 has thus been given two outlet cross sections one behind the other.
  • the ring channel 15 is closed at its end facing the air box 1 and connected to the air box 1 via connecting pipes 19.
  • the connecting pipes 19 can open into an air inlet chamber 20 which is formed within the air box 1 and which is open via an inlet opening to the air box 1.
  • the inlet opening of the air inlet chamber 20 is adjustable via a drum slide 21 which can be axially displaced with the aid of a linkage 22. In the upper part of FIG. 1, the drum slide 21 has opened the inlet opening of the air inlet chamber 20, while in the lower part of FIG. 1 this inlet opening is closed.
  • the connecting pipes open directly into the air box.
  • the air inlet chamber 20 with the opening that can be adjusted via the drum slide 21 is then not present.
  • the third guide tube 16 is arranged at a radial distance from the wall 23 of the burner groove 8 and at an axial distance from the cover plate 10 of the air box 1. In this way, an annular connecting channel 24 is created, via which the combustion chamber 9 is connected to the interior of the second guide tube 14.
  • the wall 23 of the burner groove 8 can be formed by cooling pipes (FIG. 2) or be fireproof-lined (FIG. 3). Training with cooling pipes is recommended if the burner is connected to a steam generator operated in forced flow.
  • the wall 23 of the burner groove 8 is surrounded by an annular chamber 25.
  • the annular chamber 25 is provided with an air connection 26, through which air is conveyed into the annular chamber 25 with the aid of a pressure-increasing blower.
  • the annular chamber 25 is connected to the air box 1.
  • An angled baffle 27 serves to limit the annular chamber 25 laterally and is arranged at a distance from the wall 23 of the burner groove 8, the guide of the air stream cooling the wall 23.
  • the ring line 29 is provided with nozzles through which water is sprayed into the connecting channel 24.
  • cooling air is blown through the annular duct 15 when the burner is at a standstill.
  • a cooling air line 30 is accommodated in the air box 1, which is supplied with cooling air from outside the air box 1.
  • the cooling air line can also be designed as a distribution box which is connected to the annular chamber 25 shown in FIG. 1 for cooling the wall 23 of the burner groove 8.
  • the cooling air line 30 is provided with pipe sockets 31 which protrude into the connecting pipes 19. The cooling air line 30 is only supplied with cooling air when the burner is at a standstill.
  • the embodiment shown in FIG. 5 can be operated both with air as the combustion medium using the intake of combustion gas from the combustion chamber 9 and with exhaust gas from a gas turbine as the combustion medium.
  • the air or the exhaust gas are optionally supplied to the air box 1.
  • a drum slide 32 is arranged in the air box 1 and can be displaced in the longitudinal direction of the burner.
  • the cover plate 10 ver the air box 1 to the burner groove 8 closes, is provided with an annular opening 33. This opening 33 is provided in the extension of the connecting channel 24.
  • the position of the drum slide 32 shown in the lower part of FIG. 5 is selected for the operation of the burner with air as the combustion medium. In this position, the drum slide 32 closes the opening 33, as a result of which combustion gases are sucked in from the combustion chamber 9 through the connecting duct 24 in the manner described so far by the injector action of the primary air.
  • the drum slide 32 When operating with exhaust gas from a gas turbine, the drum slide 32 is brought into the position shown in the upper part of FIG. 5. The drum slide 32 now opens the opening 33 so that the exhaust gas can flow through the connecting channel 24 in addition to the first guide tube 5 and the annular channel 15. In this way, a sufficiently large flow cross section is made available to the exhaust gas.
  • the air volume is controlled by a control element located in the supply line.
  • the combustion air is divided into a primary air component and a secondary air component.
  • the primary air flows through the inner guide tube 5 and burns the fuel emerging from the oil burner lance 2 or the gas lances 3 in a flame under substoichiometric conditions.
  • the secondary air enters the annular duct 15 between the first and the second guide tubes 14, 16 via the connecting tubes 19.
  • the secondary air is at an axial distance via the outlet opening of the second guide tube 14 abandoned behind the primary air.
  • the embodiments of the second guide tube 14 shown in FIGS. 1 and 2 split the secondary air again and add it to the flame in two successive stages.
  • the secondary air emerging from the annular duct 15 is directed outwards through the deflection edge 28, ie. H. distracted away from the flame. In this way, the mixing of the secondary air with the flame gases is further delayed.
  • the proportion of primary air in the total combustion air is greater than the proportion of secondary air and is between 60 and 80%, preferably about 70%.
  • the quantitative division of the combustion air takes place via the drum slide 21 or by dimensioning the flow cross-sections in accordance with the division.
  • the primary air is only swirled or only swirled axially or partially and partly axially parallel to the burner mouth.
  • Fixed swirl devices are also possible in the path of the secondary air, so that secondary air can be supplied in an axially parallel flow or also swirled.
  • the injector effect which is exerted by the primary air flowing out of the first guide tube 5, means that burned-out smoke gases are sucked out of the combustion chamber 9. These flue gases are led through the connecting channel 24 and the space between the inlet opening of the second guide tube 14 and the cover plate 10 of the air box 1 into the interior of the second guide tube 14. They come to the beginning of the flame between the primary air task and the secondary air task.
  • the sucked-in flue gases can be cooled in the interior of the second guide tube 14 before they are mixed with the flame gases.
  • the cooling takes place by injecting water from the ring line 29 into the flow of the sucked-in flue gases. This cooling causes the flame temperature to rise less and thus contributes to a further reduction in the formation of NO.

Landscapes

  • Engineering & Computer Science (AREA)
  • Chemical & Material Sciences (AREA)
  • Combustion & Propulsion (AREA)
  • Mechanical Engineering (AREA)
  • General Engineering & Computer Science (AREA)

Abstract

Um flüssige und/oder gasförmige Brennstoffe unter verminderter Bildung von NOx zu verbrennen, wird die Verbrennungsluft in axialen Abständen hintereinander aufgegeben. Dabei ist der Primärluftanteil größer als der Sekundärluftanteil. Durch die Injektorwirkung der Primärluft wird ausgebranntes Rauchgas aus dem Feuerraum angesaugt und dem Flammenanfang zwischen der Primärluftaufgabe und der Sekundärluftaufgabe zugeführt.

Description

  • Die Erfindung betrifft ein Verfahren und einen Brenner mit den Merkmalen des Oberbegriffes des Anspruches 1 oder 8.
  • Mit einem solchen Brenner läßt sich die Verbrennungsluft in Teilströmen aufgeben, wobei die Verbrennung in einer ersten Verbrennungszone reduzierend erfolgt. Bei bekannten Kohlenstaub-Brennern (Jahrbuch der Dampferzeugungstechnik, 4. Ausgabe 1980/81, Seiten 748-763) wird die Verbrennungsluft über konzentrisch angeordnete Kanäle zugeführt, deren Austrittsquerschnitte im wesentlichen in der gleichen Ebene liegen. Zur Senkung des NO - Gehaltes ist es weiterhin bekannt, Rauchgas zurückzuführen und der Verbrennungsluft insgesamt oder einem Teilstrom zuzumischen (DE-OS 23 06 537, DE-OS 31 10 186).
  • Bei der Verwendung eines solchen Brenners mit in der gleichen Ebene liegenden Austrittsöffnungen der Luftkanäle als Gas- oder ölbrenner zeigte sich eine im Vergleich mit dem Staubbrenner wesentlich geringere Minderung des NO - Gehaltes. Offensichtlich wurde der Mischungsverlauf der Gas- oder ölflamme durch die gestufte in der gleichen Austrittsebene erfolgende Luftzuführung im Brenner weniger stark beeinflußt als bei einer Kohlenstaubflamme.
  • Es ist ein Ölbrenner bekannt (US-PS 40 04 875), bei dem die Teilströme der Verbrennungsluft in Abständen längs der Brennerachse zugeführt werden. Dabei ist der Anteil der Primärluft geringer als der Anteil der Sekundärluft, so daß sich eine Anfangsflamme mit nicht ausreichender UV-Strahlung einstellen kann. Bei diesem Brenner wird weiterhin ein Teil der in der Primärbrennzone entstehenden, unvollständig verbrannten Reaktionsprodukte ruckgesaugt und der Primärbrennzone erneut zugeführt. Diese unvollständig verbrannten Gase führen infolge Abkühlung und durch strömungsbedingte Ablagerungen zu Koksanbackungen und Verschmutzungen innerhalb des Brenners. Der bekannte Brenner ist daher insbesondere für die Verbrennung von schwerem Heizöl nicht geeignet.
  • Der Erfindung liegt die Aufgabe zugrunde, ein Verfahren und einen Brenner für die Verbrennung von flüssigen . und/oder gasförmigen Brennstoffen zu schaffen, mit deren Hilfe die Bildung von NO bei der Verbrennung wirksam unterdrückt werden kann bei einer einwandfreien Flammenüberwachung und ohne Verschmutzung des Brenners.
  • Diese Aufgabe wird erfindungsgemäß durch ein Verfahren mit den Merkmalen des Anspruches 1 und durch einen Brenner mit den Merkmalen des Anspruches 8 gelöst. Vorteilhafte Ausgestaltungen der Erfindung sind in den Unteransprüchen gekennzeichnet.
  • Bei diesem Verfahren bzw. bei diesem Brenner wird die Verbrennungsluft zwei- oder mehrstufig über konzentrische Kanäle zugeführt, deren Öffnungen in Abständen längs der Brennerachse folgen. Hierdurch wird eine gestufte Vermischung der Verbrennungsluft mit der öl-oder Gasflamme erreicht, so daß eine verzögerte Verbrennung mit abgesenkter Flammentemperatur erzielt wird, durch die die Bildung von NOX wirksam unterdrückt wird. Zur weiteren Unterdrückung der NO - Bildung dient die Rückführung von Rauchgas über eine Injektoransaugung mittels des Primärluftstromes. Dabei wird das Rauchgas dem Feuerraum entnommen, wo es weitgehend ausgebrannt ist, so daß Koksanbackungen und Verschmutzungen vermieden werden. Der hohe Anteil an Primärluft erzeugt eine Anfangsflamme mit einer ausreichenden UV-Strahlung, durch die eine einwandfreie Flammenüberwachung durch eine UV-Fotozelle sicherzustellen ist. Außerdem ist durch den großen Primärluftanteil der rückgesaugte Rauchgasanteil größer. Dabei bleiben die wesentlichen Konstruktionselemente der Ö1- und Gasbrenner erhalten, die sich im Betrieb bewährt haben. So ist die Ölflamme in dem Potentialwirbel hinter einem ausreichend großen Impeller zu stabilisieren, und die öldüsen und Gaslanzen können so angeordnet werden, daß eine stabile durchge- - zündete Anfangsflamme entsteht.
  • Mehrere Ausführungsbeispiele der Erfindung sind in der Zeichnung dargestellt und werden im folgenden näher erläutert. Es zeigen:
    • Fig. 1 den Längsschnitt durch einen Brenner gemäß der Erfindung und
    • Fig. 2 bis 5 jeweils den Längsschnitt durch eine Brennerkehle gemäß einer anderen Ausführungsform der Erfindung.
  • Die Brenneranordnung besteht aus einem Luftkasten 1, durch den eine Brennerlanze 2 für öl und mehrere Brennerlanzen für Gas hindurchgeführt sind. Die Gasbrennerlanzen 3 sind um die ölbrennerlanze 2 angeordnet. Auf der Ölbrennerlanze 2 ist ein Impeller 4 befestigt.
  • Die Brennerlanze 2, 3 sind von einem ersten Führungsrohr 5 umgeben, dessen Eintrittsöffnung 6 innerhalb des Luftkastens 1 und dessen Austrittsöffnung 7 innerhalb der Brennermündung liegt, die durch die Brennerkehle 8 dargestellt ist. An die Brennerkehle 8 schließt sich ein Feuerraum 9 an. Der Luftkasten 1 ist von der Brennerkehle 8 durch eine Deckplatte 10 getrennt, durch die das erste Führungsrohr 5 hindurchragt.
  • In rückwärtiger Verlängerung des ersten Führungsrohres 5 ist vor dessen Eintrittsöffnung 6 eine Dralleinrichtung 11 und ein Luftleitrohr 12 vorgesehen. Das Luftleitrohr 12 ist über ein nach außen geführtes Gestänge 13 axial verstellbar. In der einen Endstellung überdeckt das Luftleitrohr 12 den Lufteintrittsquerschnitt an der Dralleinrichtung 11. In der anderen End- . stellung des Luftleitrohres 12 ist der Lufteintrittsquerschnitt an der Dralleinrichtung 11 freigegeben und der übrige Eintrittsquerschnitt zu dem ersten Führungsrohr 5 überdeckt. Die zuerst genannte Stellung des Luftleitrohres 12 ist in dem oberen Teil und die andere Stellung ist in dem unteren Teil der Fig. 1 gezeigt. Dabei sind auch Zwischenstellungen zwischen den beiden Endstellungen möglich.
  • Innerhalb der Brennerkehle 8 ist in der Längsachse des Brenners in einem axialen Abstand von der Austrittsöffnung 7 des ersten Führungsrohres 5 und der Deckplatte 10 des Luftkastens 1 ein zweites Führungsrohr 14 angeordnet. Das zweite Führungsrohr 14 besteht vorzugsweise aus einem sich konisch erweiternden Abschnitt, an den sich ein zylindrischer Abschnitt anschließt.
  • Das zweite Führungsrohr 14 ist innerhalb der Brennerkehle 8 in einem Abstand unter Bildung eines Ringkanales 15 von einem dritten Führungsrohr 16 umgeben. Dieses dritte Führungsrohr 16 kann ebenso wie die beiden anderen Führungsrohre 5, 14 metallisch sein. Je nach den zu erwartenden Temperaturen kann das dritte Führungsrohr 16 auch aus einem feuerfesten keramischen Werkstoff bestehen. Das dritte Führungsrohr 16 kann nach Fig. 1 bis in den Übergang der Brennerkehle 8 in den Feuerraum 9 reichen oder nach Fig. 2 auch kurz vor dem Übergang enden. Der Austrittsquerschnitt des dritten Führungsrohres 16 liegt dem Feuerraum 9 näher als der Austrittsquerschnitt des zweiten Führungsrohres 14.
  • Nach Fig. 4 ragt das zweite Führungsrohr 14 weiter in die Brennerkehle 8 hinein als das dritte Führungsrohr 16. Dabei enthält das zweite Führungsrohr 14 eine nach außen weisende Ablenkkante 28.
  • Das zweite Führungsrohr 14 kann mit seitlichen Bohrungen 17 versehen sein, durch die eine Verbindung zwischen dem Ringkanal 15 zwischen den Führungsrohren 14, 16 und dem Innenraum des zweiten Führungsrohres 14 hergestellt ist.
  • Das zweite Führungsrohr 14 kann auch durch einen Rohrabschnitt 18 verlängert sein, der innerhalb des dritten Führungsrohres 16 das zweite Führungsrohr 14 teilweise umgibt. In Richtung auf den Feuerraum 9 liegt die Eintrittsöffnung dieses Rohrabschnittes 18 vor und dessen Austrittsöffnung hinter der Austrittsöffnung des zweiten Führungsrohres 14. Damit hat der Ringkanal 15 zwei hintereinanderliegende Austrittsquerschnitte erhalten.
  • Der Ringkanal 15 ist an seinem dem Luftkasten 1 zugewandten Ende geschlossen und über Verbindungsrohre 19 mit dem Luftkasten 1 verbunden. Dabei können die Verbindungsrohre 19 in eine Lufteintrittskammer 20 münden, die innerhalb des Luftkastens 1 gebildet ist und die über eine Eintrittsöffnung zum Luftkasten 1 offen ist. Die Eintrittsöffnung der Lufteintrittskammer 20 ist über einen Trommelschieber 21 einstellbar, der mit Hilfe eines Gestänges 22 axial verschiebbar ist. In dem oberen Teil der Fig. 1 hat der Trommelschieber 21 die Eintrittsöffnung der Lufteintrittskammer 20 freigegeben, während im unteren Teil der Fig. 1 diese Eintrittsöffnung verschlossen ist.
  • In einer vereinfachten Ausführungsform münden die Verbindungsrohre direkt in den Luftkasten. Die Lufteintrittskammer 20 mit der über den Trommelschieber 21 einstellbaren Öffnung ist dann nicht vorhanden.
  • Das dritte Führungsrohr 16 ist mit einem radialen Abstand von der Wandung 23 der Brennerkehle 8 und mit einem axialen Abstand von der Deckplatte 10 des Luftkastens 1 angeordnet. Auf diese Weise ist ein ringförmiger Verbindungskanal 24 geschaffen, über den der Feuerraum 9 mit dem Innenraum des zweiten Führungsrohres 14 verbunden ist.
  • Die Wandung 23 der Brennerkehle 8 kann durch Kühlrohre gebildet (Fig. 2) oder feuerfest ausgekleidet sein (Fig. 3). Die Ausbildung mit Kühlrohren empfiehlt sich, wenn der Brenner an einen im Zwangsdurchlauf betriebenen Dampferzeuger angeschlossen ist.
  • Nach Fig. 1 ist die Wandung 23 der Brennerkehle 8 von einer Ringkammer 25 umgeben. Die Ringkammer 25 ist mit einem Luftanschluß 26 versehen, durch den mit Hilfe eines Druckerhöhungsgebläses Luft in die Ringkammer 25 gefördert wird. Die Ringkammer 25 ist mit dem Luftkasten 1 verbunden. Dabei dient ein gewinkeltes Leitblech 27, das die Ringkammer 25 seitlich begrenzt und in einem Abstand von der Wandung 23 der Brennerkehle 8 angeordnet ist, der Führung des die Wandung 23 kühlenden Luftstromes.
  • In der Nähe der Deckplatte 10 ist nach Fig. 4 entsprechend einer weiteren möglichen Zusatzausrüstung in dem ringförmigen Verbindungskanal 24 eine Ringleitung 29 verlegt, die an eine Zuführungsleitung für Wasser angeschlossen ist. Die Ringleitung 29 ist mit Düsen versehen, durch die Wasser in den Verbindungskanal 24 eingesprüht wird.
  • Um die Führungsrohre 5, 14, 16 und den Rohrabschnitt 18 bei abgeschaltetem Brenner vor einer Wärmeabstrahlung aus dem Feuerraum 9 zu schützen, wird bei Brennerstillstand Kühlluft durch den Ringkanal 15 geblasen. Zu diesem Zweck ist in dem Luftkasten 1 eine Kühlluftleitung 30 untergebracht, die von außerhalb des Luftkastens 1 mit Kühlluft versorgt wird. Die Kühlluftleitung kann auch als Verteilkasten ausgebildet sein, der an die in Fig. 1 dargestellte Ringkammer 25 zur Kühlung der Wandung 23 der Brennerkehle 8 angeschlossen ist. Die Kühlluftleitung 30 ist mit Rohrstutzen 31 versehen, die in die Verbindungsrohre 19 hineinragen. Die Kühlluftleitung 30 wird nur bei Brennerstillstand mit Kühlluft beaufschlagt.
  • Die in Fig. 5 dargestellte Ausführungsform kann sowohl mit Luft als Verbrennungsmedium unter Anwendung der Ansaugung von Verbrennungsgas aus dem Feuerraum 9 als auch mit Abgas einer Gasturbine als Verbrennungsmedium betrieben werden. Die Luft bzw. das Abgas werden wahlweise dem Luftkasten 1 zugeführt. In dem Luftkasten 1 ist ein Trommelschieber 32 angeordnet, der in Längsrichtung des Brenners verschiebbar ist. Die Deckplatte 10, die den Luftkasten 1 zur Brennerkehle 8 hin verschließt, ist mit einer ringförmigen Öffnung 33 versehen. Diese öffnung 33 ist in Verlängerung des Verbindungskanals 24 vorgesehen.
  • Die im unteren Teil der Fig. 5 dargestellte Stellung des Trommelschiebers 32 ist für den Betrieb des Brenners mit Luft als Verbrennungsmedium gewählt. In dieser Stellung verschließt der Trommelschieber 32 die öffnung 33, wodurch in der bisher beschriebenen Weise durch die Injektorwirkung der Primärluft Verbrennungsgase aus dem Feuerraum 9 durch den Verbindungskanal 24 angesaugt werden.
  • Bei dem Betrieb mit Abgas einer Gasturbine wird der Trommelschieber 32 in die im oberen Teil der Fig. 5 gezeigte Stellung gebracht. Der Trommelschieber 32 gibt jetzt die Öffnung 33 frei, so daß das Abgas außer durch das erste Führungsrohr 5 und den Ringkanal 15 auch durch den Verbindungskanal 24 strömen kann. Auf diese Weise wird dem Abgas ein genügend großer Strömungsquerschnitt zur Verfügung gestellt.
  • Mit dem beschriebenen Brenner läßt sich das nachfolgend erläuterte Verfahren durchführen. Dem Luftkasten 1 wird eine vorgegebene, auf die Brennstoffmenge abgestimmte Luftmenge zugegeben. Die Regelung der Luftmenge erfolgt über ein in der Zuleitung angeordnetes Regelorgan. In dem Luftkasten 1 wird die Verbrennungsluft in einen Primärluftanteil und einen Sekundärluftanteil aufgeteilt. Die Primärluft durchströmt das innere Führungsrohr 5 und verbrennt den aus der ölbrennerlanze 2 oder den Gaslanzen 3 austretenden Brennstoff in einer Flamme unter unterstöchiometrischen Bedingungen. Die Sekundärluft tritt über die Verbindungsrohre 19 in den Ringkanal 15 zwischen dem ersten und dem zweiten Führungsrohr 14, 16 ein. über die Austrittsöffnung des zweiten Führungsrohres 14 wird die Sekundärluft in einem axialen Abstand hinter der Primärluft aufgegeben. Durch die in den Fig. 1 und 2 gezeigten Ausführungsformen des zweiten Führungsrohres 14 wird die Sekundärluft noch einmal aufgeteilt und in zwei hintereinanderliegenden Stufen der Flamme zugegeben.
  • Nach Fig. 4 wird die aus dem Ringkanal 15 austretende Sekundärluft durch die Ablenkkante 28 nach außen, d. h. von der Flamme weg abgelenkt. Auf diese Weise wird die Vermischung der Sekundärluft mit den Flammengasen weiter verzögert.
  • Der Anteil der Primärluft an der gesamten Verbrennungsluft ist größer als der Sekundärluftanteil und beträgt zwischen 60 und 80 %, vorzugsweise etwa 70 %. Die mengenmäßige Aufteilung der Verbrennungsluft erfolgt über den Trommelschiebers 21 oder durch eine der Aufteilung entsprechende Bemessung der Durchströmquerschnitte.
  • Die Primärluft wird je nach der Stellung des Luftleitrohres 12 ausschließlich verdrallt oder ausschließlich achsparallel oder teils verdrallt und teils achsparallel der Brennermündung zugeführt. Fest angestellte Dralleinrichtungen sind in dem Weg der Sekundärluft ebenfalls möglich, so daß Sekundärluft in achsparalleler Anströmung oder auch verdrallt zugeführt werden kann.
  • Durch die Injektorwirkung, die von der aus dem ersten Führungsrohr 5 ausströmenden Primärluft ausgeübt wird, werden ausgebrannte Rauchgase aus dem Feuerraum 9 angesaugt. Diese Rauchgase werden durch den Verbindungskanal 24 und den Zwischenraum zwischen der Eintrittsöffnung des zweiten Führungsrohres 14 und der Deckplatte 10 des Luftkastens 1. in den Innenraum des zweiten Führungsrohres 14 geführt. Dabei gelangen sie an den Flammenanfang zwischen der Primärluftaufgabe und der Sekundärluftaufgabe.
  • Die angesaugten Rauchgase können vor ihrer Vermischung mit den Flammengasen in dem Innenraum des zweiten Führungsrohres 14 gekühlt werden. Das Abkühlen erfolgt durch Eindüsen von Wasser aus der Ringleitung 29 in die Strömung der angesaugten Rauchgase. Diese Abkühlung läßt die Flammentemperatur weniger stark ansteigen und trägt damit zu einer weiteren Verminderung der Bildung von NO bei.

Claims (19)

1. Verfahren zum Verbrennen von flüssigen und/oder gasförmigen Brennstoffen in einem Feuerraum unter verminderter Bildung von NO , wobei die Verbrennungsluft in Teilmengen als Primärluft und Sekundärluft zugeführt wird, diese Teilmengen in Strömungsrichtung der Verbrennungsgase in axialen Abständen hintereinander aufgegeben werden und durch die Primärluft eine Injektorwirkung erzeugt wird, durch die Verbrennungsgase angesaugt werden, dadurch gekennzeichnet, daß die Primärluft in einem höheren Anteil an der gesamten Verbrennungsluft als die Sekundärluft zugeführt wird und daß weitgehend ausgebrannte Verbrennungsgase aus dem Feuerraum angesaugt und an den Flammenanfang zwischen der Primärluftaufgabe und der Sekundärluftaufgabe geführt werden.
2. Verfahren nach Anspruch 1, dadurch gekennzeichnet, daß die Primärluft in einer Teilmenge von etwa 60 - 80 %, vorzugsweise von etwa 70 %, der gesamten Verbrennungsluft zugeführt wird.
3. Verfahren nach Anspruch 1 oder 2, dadurch gekennzeichnet, daß die Sekundärluft in achsparalleler Anströmung oder verdrallt zugeführt wird.
4. Verfahren nach einem oder mehreren der Ansprüche 1 bis 3, dadurch gekennzeichnet daß die Primärluft achsparallel oder verdrallt oder teils achsparallel und teils verdrallt zugeführt wird.
5. Verfahren nach einem oder mehreren der Ansprüche 1 bis 4, dadurch gekennzeichnet , daß die Sekundärluft in mehreren Teilmengen in Strömungsrichtung der Verbrennungsgase in axialen Abständen hintereinander aufgegeben wird.
6. Verfahren nach einem oder mehreren der Ansprüche 1 bis 5, dadurch gekennzeichnet, daß die Sekundärluft beim Austritt in den Feuerraum nach außen abgelenkt wird.
7. Verfahren nach einem oder mehreren der Ansprüche 1 bis 6, dadurch gekennzeichnet, daß die angesaugten Verbrennungsgase vor dem Vermischen mit den Flammengasen durch Eindüsen von Wasser gekühlt werden.
8. Brenner zum Verbrennen von flüssigen und/oder gasförmigen Brennstoffen unter verminderter Bildung von NO , bei dem Brennerlanzen (2, 3) durch einen Luftkasten (1) geführt und von einem ersten Führungsrohr (5) umschlossen sind, dessen Eintrittsöffnung (6) innerhalb des Luftkastens (1) und dessen Austrittsöffnung (7) in der Brennermündung (8) vorgesehen sind und bei dem in Richtung der Brennerachse innerhalb der Brennermündung (8) ein zweites Führungsrohr (14) angeordnet ist, insbesondere zur Durchführung des Verfahrens nach einem oder mehreren der Ansprüche 1 bis 7, dadurch gekennzeichnet, daß das zweite Führungs- rohr (14) in einem axialen Abstand von der Austrittsöffnung (7) des ersten Führungsrohres angeordnet und von einem dritten Führungsrohr (16) umgeben ist, das in einem radialen Abstand von der Wandung (23) der Brennermündung (8) und in einem axialen Abstand von dem Luftkasten (1) angeordnet ist und daß der Ringkanal (15) zwischen dem zweiten und dem dritten Führungsrohr (14, 16) mit dem Luftkasten (1) über Verbindungsrohre (19) verbunden ist.
9. Brenner nach Anspruch 8, dadurch gekennzeichnet, daß die Verbindungsrohre (19) in eine Lufteintrittskammer (20) münden, die über eine durch einen Ringschieber (21) einstellbare Eintrittsöffnung mit dem Luftkasten (1) verbunden ist.
10. Brenner nach Anspruch 8 oder 9, dadurch gekennzeichnet, daß die Austrittsöffnung des dritten Führungsrohres (16) über die Austrittsöffnung des zweiten Führungsrohres (14) in Richtung des Feuerraumes (9) hinausragt.
11. Brenner nach einem oder mehreren der Ansprüche 8 oder 9, dadurch gekennzeichnet daß die Austrittsöffnung des zweiten Führungsrohres (14) über die Austrittsöffnung des dritten Führungsrohres (16) in Richtung auf den Feuerraum (9) hinausragt und mit einer nach außen weisenden Ablenkkante (28) versehen ist.
12. Brenner nach einem oder mehreren der Ansprüche 8 bis 11, dadurch gekennzeichnet, daß die Austrittsöffnung des dritten Führungsrohres (16) bis in den Übergang der Brennermündung (8) in den Feuerraum (9) hineinragt.
13. Brenner nach einem oder mehreren der Ansprüche 8 bis 12, dadurch gekennzeichnet, daß in dem zweiten Führungsrohr (14) seitliche Bohrungen (17) vorgesehen sind.
14. Brenner nach einem oder mehreren der Ansprüche 8 bis 12, dadurch gekennzeichnet, daß zwischen dem zweiten und dem dritten Führungsrohr (14, 16) ein Rohrabschnitt (18) vorgesehen ist, dessen Eintrittsquerschnitt in Richtung auf den Feuerraum (9) vor und dessen Austrittsquerschnitt hinter dem Austrittsquerschnitt des zweiten Führungsrohres (14) angeordnet ist.
15. Brenner nach einem oder mehreren der Ansprüche 8 bis 14, dadurch gekennzeichnet, daß die Wandung (23) der Brennermündung (8) von einer Ringkammer (25) umgeben ist, die mit einem Luftanschluß (26) versehen und mit dem Luftkasten (1) verbunden ist.
16. Brenner nach einem oder mehreren der Ansprüche 8 bis 15, dadurch gekennzeichnet, daß in der rückwärtigen Verlängerung des ersten Führungsrohres (5) innerhalb des Luftkastens (1) eine Dralleinrichtung (11) und ein axial verschiebbares Luftleitrohr (12) vorgesehen sind und daß das Luftleitrohr (12) in der einen Endstellung den Lufteinlaßquerschnitt an der Dralleinrichtung (11) und in der anderen Endstellung den übrigen Lufteintrittsquerschnitt des ersten Führungsrohres (5) überdeckt.
17. Brenner nach einem oder mehreren der Ansprüche 8 bis 16, dadurch gekennzeichnet, daß zwischen der Wandung (23) der Brennermündung (8) und dem dritten Führungsrohr (16) ein ringförmiger Verbindungskanal (24) gebildet ist, in dem eine mit Düsen versehene, Wasser führende Ringleitung (29) verlegt ist.
18. Brenner nach einem oder mehreren der Ansprüche 8 bis 17, dadurch gekennzeichnet , daß innerhalb des Luftkastens (1) eine Kühlluftleitung (30) angeordnet ist, die mit in die Verbindungsrohre (19) hineinragenden Rohrstutzen (31) versehen ist.
19. Brenner nach einem oder mehreren der Ansprüche 8 bis 18, dadurch gekennzeichnet daß der Luftkasten (1) zur Brennermündung (8) hin durch eine Deckplatte (10) geschlossen ist, daß die Deckplatte (10) im Bereich des ringförmigen Verbindungskanals (24) mit einer öffnung (33) versehen ist und daß die öffnung (33) durch einen innerhalb des Luftkastens (1) angeordneten Trommelschieber (32) verschließbar ist.
EP84106790A 1983-07-30 1984-06-14 Verfahren und Brenner zum Verbrennen von flüssigen oder gasförmigen Brennstoffen unter verminderter Bildung von NOx Expired - Lifetime EP0139085B2 (de)

Priority Applications (1)

Application Number Priority Date Filing Date Title
AT84106790T ATE27854T1 (de) 1983-07-30 1984-06-14 Verfahren und brenner zum verbrennen von fluessigen oder gasfoermigen brennstoffen unter verminderter bildung von nox.

Applications Claiming Priority (2)

Application Number Priority Date Filing Date Title
DE3327597 1983-07-30
DE19833327597 DE3327597A1 (de) 1983-07-30 1983-07-30 Verfahren und brenner zum verbrennen von fluessigen oder gasfoermigen brennstoffen unter verminderter bildung von nox

Publications (3)

Publication Number Publication Date
EP0139085A1 true EP0139085A1 (de) 1985-05-02
EP0139085B1 EP0139085B1 (de) 1987-06-16
EP0139085B2 EP0139085B2 (de) 1993-08-18

Family

ID=6205376

Family Applications (1)

Application Number Title Priority Date Filing Date
EP84106790A Expired - Lifetime EP0139085B2 (de) 1983-07-30 1984-06-14 Verfahren und Brenner zum Verbrennen von flüssigen oder gasförmigen Brennstoffen unter verminderter Bildung von NOx

Country Status (5)

Country Link
US (1) US4575332A (de)
EP (1) EP0139085B2 (de)
JP (1) JPH0713527B2 (de)
AT (1) ATE27854T1 (de)
DE (2) DE3327597A1 (de)

Cited By (7)

* Cited by examiner, † Cited by third party
Publication number Priority date Publication date Assignee Title
DE3600665C1 (de) * 1986-01-13 1987-07-16 Leobersdorfer Maschf Brenner zum Verbrennen von fluessigem und/oder gasfoermigem Brennstoff unter verminderter Bildung von Stickoxiden
EP0391858A1 (de) * 1989-04-07 1990-10-10 BALSIGER, Benno Vorrichtung zur Rauchgasrückführung bei Oel- und Gasbrennern
EP0386732A3 (de) * 1989-03-10 1991-05-15 Oertli Wärmetechnik Ag Verbrennungseinrichtung für einen Zweistoffbrenner
WO1992016793A1 (en) * 1991-03-12 1992-10-01 Lawrence Edward Helyer Low nox emission burner
EP0527565A3 (en) * 1991-08-09 1993-05-26 Robert David Eden Waste gas burner
EP0525734A3 (en) * 1991-08-01 1993-07-14 Institute Of Gas Technology Cyclonic combustion
CN106196043A (zh) * 2016-08-31 2016-12-07 福建铁拓机械有限公司 用于沥青搅拌站的高效点火及燃烧的煤粉燃烧器

Families Citing this family (80)

* Cited by examiner, † Cited by third party
Publication number Priority date Publication date Assignee Title
DE3666625D1 (en) * 1985-02-21 1989-11-30 Tauranca Ltd Fluid fuel fired burner
DE3663189D1 (en) * 1985-03-04 1989-06-08 Siemens Ag Burner disposition for combustion installations, especially for combustion chambers of gas turbine installations, and method for its operation
DE3706234A1 (de) * 1987-02-26 1988-09-08 Sonvico Ag Ing Bureau Brenner zum verbrennen von fluessigen oder gasfoermigen brennstoffen
US5062789A (en) * 1988-06-08 1991-11-05 Gitman Gregory M Aspirating combustion system
DE3822004A1 (de) * 1988-06-30 1990-01-04 Babcock Werke Ag Brenner
DE3825291A1 (de) * 1988-07-26 1990-02-01 Ver Kesselwerke Ag Verfahren und feuerungsanlage zur verbrennung fossiler brennstoffe unter reduzierter bildung von stickoxiden
US4989549A (en) * 1988-10-11 1991-02-05 Donlee Technologies, Inc. Ultra-low NOx combustion apparatus
US5135387A (en) * 1989-10-19 1992-08-04 It-Mcgill Environmental Systems, Inc. Nitrogen oxide control using internally recirculated flue gas
US5044932A (en) * 1989-10-19 1991-09-03 It-Mcgill Pollution Control Systems, Inc. Nitrogen oxide control using internally recirculated flue gas
SE464542B (sv) * 1989-11-01 1991-05-06 Aga Ab Saett och anordning foer foerbraenning av foeretraedesvis flytande eller gasformigt fossilt braensle
US5275554A (en) * 1990-08-31 1994-01-04 Power-Flame, Inc. Combustion system with low NOx adapter assembly
US5174743A (en) * 1990-09-05 1992-12-29 Wayne/Scott Fetzer Company Power fuel oil burner
US5098282A (en) * 1990-09-07 1992-03-24 John Zink Company Methods and apparatus for burning fuel with low NOx formation
US5269678A (en) * 1990-09-07 1993-12-14 Koch Engineering Company, Inc. Methods and apparatus for burning fuel with low NOx formation
US5154596A (en) * 1990-09-07 1992-10-13 John Zink Company, A Division Of Koch Engineering Company, Inc. Methods and apparatus for burning fuel with low NOx formation
US5092761A (en) * 1990-11-19 1992-03-03 Exxon Chemical Patents Inc. Flue gas recirculation for NOx reduction in premix burners
US5096412A (en) * 1991-01-28 1992-03-17 The United States Of America As Represented By The Secretary Of The Army Combustion chamber for multi-fuel fired ovens and griddles
US5462430A (en) * 1991-05-23 1995-10-31 Institute Of Gas Technology Process and apparatus for cyclonic combustion
AU1793992A (en) * 1991-05-24 1992-12-30 Michael G. May Method of burning fuel to produce low pollutant emissions
US5209187A (en) * 1991-08-01 1993-05-11 Institute Of Gas Technology Low pollutant - emission, high efficiency cyclonic burner for firetube boilers and heaters
US5603906A (en) * 1991-11-01 1997-02-18 Holman Boiler Works, Inc. Low NOx burner
US5257927A (en) * 1991-11-01 1993-11-02 Holman Boiler Works, Inc. Low NOx burner
US5284438A (en) * 1992-01-07 1994-02-08 Koch Engineering Company, Inc. Multiple purpose burner process and apparatus
US5238395A (en) * 1992-03-27 1993-08-24 John Zink Company Low nox gas burner apparatus and methods
US5195884A (en) * 1992-03-27 1993-03-23 John Zink Company, A Division Of Koch Engineering Company, Inc. Low NOx formation burner apparatus and methods
RU2089785C1 (ru) * 1993-03-22 1997-09-10 Холман Бойлер Уокс, Инк. Горелка, приспособленная для снижения выделения ядовитых газов (варианты) и способ оптимизации сгорания
US5518395A (en) * 1993-04-30 1996-05-21 General Electric Company Entrainment fuel nozzle for partial premixing of gaseous fuel and air to reduce emissions
US5350293A (en) * 1993-07-20 1994-09-27 Institute Of Gas Technology Method for two-stage combustion utilizing forced internal recirculation
DE4336095A1 (de) * 1993-10-22 1995-04-27 Abb Research Ltd Verbrennungsverfahren für atmosphärische Feuerungen und Vorrichtung zur Durchführung des Verfahrens
US5393220A (en) * 1993-12-06 1995-02-28 Praxair Technology, Inc. Combustion apparatus and process
US5363782A (en) * 1993-12-06 1994-11-15 Praxair Technology, Inc. Apparatus and process for combusting fluid fuel containing solid particles
US5573391A (en) * 1994-10-13 1996-11-12 Gas Research Institute Method for reducing nitrogen oxides
US5636977A (en) * 1994-10-13 1997-06-10 Gas Research Institute Burner apparatus for reducing nitrogen oxides
US5649819A (en) * 1995-05-25 1997-07-22 Gordon-Piatt Energy Group, Inc. Low NOx burner having an improved register
US5709541A (en) * 1995-06-26 1998-01-20 Selas Corporation Of America Method and apparatus for reducing NOx emissions in a gas burner
US5813848A (en) * 1996-09-19 1998-09-29 Loqvist; Kaj-Ragnar Device for boilers
US6164956A (en) * 1997-02-11 2000-12-26 Ge Energy & Environmental Research Corporation System and method for removing ash deposits in a combustion device
FR2766557B1 (fr) * 1997-07-22 1999-10-22 Pillard Chauffage Bruleurs a combustible liquide et gazeux a faible emission d'oxydes d'azote
JP2002518656A (ja) * 1998-06-17 2002-06-25 ジョン ジンク カンパニー,エルエルシー 低NOx及び低COバーナ並びにその作動方法
US20010034001A1 (en) * 2000-02-24 2001-10-25 Poe Roger L. Low NOx emissions, low noise burner assembly and method for reducing the NOx content of furnace flue gas
DE10021039C2 (de) * 2000-04-28 2003-04-03 Ltg Mailaender Gmbh Brenner sowie Verfahren zu seinem Betreiben
US6616442B2 (en) * 2000-11-30 2003-09-09 John Zink Company, Llc Low NOx premix burner apparatus and methods
US6499990B1 (en) 2001-03-07 2002-12-31 Zeeco, Inc. Low NOx burner apparatus and method
US6663380B2 (en) 2001-09-05 2003-12-16 Gas Technology Institute Method and apparatus for advanced staged combustion utilizing forced internal recirculation
US6986658B2 (en) 2002-03-16 2006-01-17 Exxonmobil Chemical Patents, Inc. Burner employing steam injection
US6887068B2 (en) 2002-03-16 2005-05-03 Exxonmobil Chemical Patents Inc. Centering plate for burner
US7322818B2 (en) * 2002-03-16 2008-01-29 Exxonmobil Chemical Patents Inc. Method for adjusting pre-mix burners to reduce NOx emissions
US7476099B2 (en) * 2002-03-16 2009-01-13 Exxonmobil Chemicals Patents Inc. Removable light-off port plug for use in burners
US20030175635A1 (en) * 2002-03-16 2003-09-18 George Stephens Burner employing flue-gas recirculation system with enlarged circulation duct
US6890172B2 (en) 2002-03-16 2005-05-10 Exxonmobil Chemical Patents Inc. Burner with flue gas recirculation
US6869277B2 (en) * 2002-03-16 2005-03-22 Exxonmobil Chemical Patents Inc. Burner employing cooled flue gas recirculation
US6893252B2 (en) 2002-03-16 2005-05-17 Exxonmobil Chemical Patents Inc. Fuel spud for high temperature burners
US6881053B2 (en) 2002-03-16 2005-04-19 Exxonmobil Chemical Patents Inc. Burner with high capacity venturi
US6893251B2 (en) 2002-03-16 2005-05-17 Exxon Mobil Chemical Patents Inc. Burner design for reduced NOx emissions
US20030175634A1 (en) * 2002-03-16 2003-09-18 George Stephens Burner with high flow area tip
US6877980B2 (en) * 2002-03-16 2005-04-12 Exxonmobil Chemical Patents Inc. Burner with low NOx emissions
US6866502B2 (en) 2002-03-16 2005-03-15 Exxonmobil Chemical Patents Inc. Burner system employing flue gas recirculation
US6902390B2 (en) * 2002-03-16 2005-06-07 Exxonmobil Chemical Patents, Inc. Burner tip for pre-mix burners
US6846175B2 (en) * 2002-03-16 2005-01-25 Exxonmobil Chemical Patents Inc. Burner employing flue-gas recirculation system
US6672859B1 (en) * 2002-08-16 2004-01-06 Gas Technology Institute Method and apparatus for transversely staged combustion utilizing forced internal recirculation
US6775987B2 (en) 2002-09-12 2004-08-17 The Boeing Company Low-emission, staged-combustion power generation
US6802178B2 (en) * 2002-09-12 2004-10-12 The Boeing Company Fluid injection and injection method
US6755359B2 (en) 2002-09-12 2004-06-29 The Boeing Company Fluid mixing injector and method
US7422427B2 (en) * 2004-02-25 2008-09-09 Coen Company, Inc. Energy efficient low NOx burner and method of operating same
US7909601B2 (en) * 2006-01-24 2011-03-22 Exxonmobil Chemical Patents Inc. Dual fuel gas-liquid burner
US7901204B2 (en) * 2006-01-24 2011-03-08 Exxonmobil Chemical Patents Inc. Dual fuel gas-liquid burner
US8075305B2 (en) * 2006-01-24 2011-12-13 Exxonmobil Chemical Patents Inc. Dual fuel gas-liquid burner
ITMI20061636A1 (it) * 2006-08-22 2008-02-23 Danieli & C Officine Meccaniche Spa Bruciatore
KR100969857B1 (ko) * 2008-11-21 2010-07-13 한국생산기술연구원 연료 연소장치
US20120129111A1 (en) * 2010-05-21 2012-05-24 Fives North America Combustion, Inc. Premix for non-gaseous fuel delivery
US20120012036A1 (en) * 2010-07-15 2012-01-19 Shaw John R Once Through Steam Generator
US9593847B1 (en) 2014-03-05 2017-03-14 Zeeco, Inc. Fuel-flexible burner apparatus and method for fired heaters
KR102353616B1 (ko) 2014-04-10 2022-01-21 소핀터 에스.피.에이. 버너
US9593848B2 (en) 2014-06-09 2017-03-14 Zeeco, Inc. Non-symmetrical low NOx burner apparatus and method
KR101931968B1 (ko) * 2016-12-21 2018-12-24 두산중공업 주식회사 연도 가스 재순환 연소기를 포함하는 터빈.
US11353212B2 (en) 2019-09-12 2022-06-07 Zeeco, Inc. Low NOxburner apparatus and method
IT202000028394A1 (it) * 2020-11-25 2022-05-25 Baltur S P A Bruciatore e apparato industriale a ridotte emissioni
CN217131272U (zh) * 2020-11-25 2022-08-05 百得股份公司 减少排放的工业燃烧器和设备
US12449122B2 (en) 2022-11-14 2025-10-21 Zeeco, Inc. Free-jet burner and method for low CO2, NOx, and CO emissions
WO2024215468A1 (en) 2023-04-13 2024-10-17 ExxonMobil Technology and Engineering Company Burner device with primary air chamber, staged air chamber, and tertiary air chamber

Citations (1)

* Cited by examiner, † Cited by third party
Publication number Priority date Publication date Assignee Title
DE2511500A1 (de) * 1975-03-15 1976-09-23 Smit Nijmegen Bv Brenner fuer die stoechiometrische verbrennung von fluessigen brennstoffen

Family Cites Families (14)

* Cited by examiner, † Cited by third party
Publication number Priority date Publication date Assignee Title
US2918117A (en) * 1956-10-04 1959-12-22 Petro Chem Process Company Inc Heavy fuel burner with combustion gas recirculating means
US3781162A (en) * 1972-03-24 1973-12-25 Babcock & Wilcox Co Reducing nox formation by combustion
JPS509822A (de) * 1973-05-31 1975-01-31
US4004875A (en) * 1975-01-23 1977-01-25 John Zink Company Low nox burner
JPS5218233A (en) * 1975-08-02 1977-02-10 Kawasaki Heavy Ind Ltd Burning gas circulation-type pre-combustion chamber
JPS5222134A (en) * 1975-08-12 1977-02-19 Borukano Kk Burner
JPS5244902U (de) * 1975-09-26 1977-03-30
JPS5248842A (en) * 1975-10-17 1977-04-19 Fujisash Co Suppressing process for oxidized nitrogen, and burner
US4130388A (en) * 1976-09-15 1978-12-19 Flynn Burner Corporation Non-contaminating fuel burner
US4347052A (en) * 1978-06-19 1982-08-31 John Zink Company Low NOX burner
JPS5592804A (en) * 1978-12-30 1980-07-14 Daido Steel Co Ltd Method of burning at two-stage combustion burner
US4380429A (en) * 1979-11-02 1983-04-19 Hague International Recirculating burner
DE3040830C2 (de) * 1980-10-30 1990-05-31 L. & C. Steinmüller GmbH, 5270 Gummersbach Verfahren zur Verminderung der NO↓X↓ -Emission bei der Verbrennung von stickstoffhaltigen Brennstoffen
DE3110186A1 (de) * 1981-03-17 1982-10-07 Kawasaki Jukogyo K.K., Kobe, Hyogo Verfahren zur verbrennung von kohlenstaub mit einem kohlenstaubbrenner

Patent Citations (1)

* Cited by examiner, † Cited by third party
Publication number Priority date Publication date Assignee Title
DE2511500A1 (de) * 1975-03-15 1976-09-23 Smit Nijmegen Bv Brenner fuer die stoechiometrische verbrennung von fluessigen brennstoffen

Cited By (8)

* Cited by examiner, † Cited by third party
Publication number Priority date Publication date Assignee Title
DE3600665C1 (de) * 1986-01-13 1987-07-16 Leobersdorfer Maschf Brenner zum Verbrennen von fluessigem und/oder gasfoermigem Brennstoff unter verminderter Bildung von Stickoxiden
EP0386732A3 (de) * 1989-03-10 1991-05-15 Oertli Wärmetechnik Ag Verbrennungseinrichtung für einen Zweistoffbrenner
EP0391858A1 (de) * 1989-04-07 1990-10-10 BALSIGER, Benno Vorrichtung zur Rauchgasrückführung bei Oel- und Gasbrennern
WO1992016793A1 (en) * 1991-03-12 1992-10-01 Lawrence Edward Helyer Low nox emission burner
EP0525734A3 (en) * 1991-08-01 1993-07-14 Institute Of Gas Technology Cyclonic combustion
EP0527565A3 (en) * 1991-08-09 1993-05-26 Robert David Eden Waste gas burner
CN106196043A (zh) * 2016-08-31 2016-12-07 福建铁拓机械有限公司 用于沥青搅拌站的高效点火及燃烧的煤粉燃烧器
CN106196043B (zh) * 2016-08-31 2018-06-29 福建铁拓机械有限公司 用于沥青搅拌站的高效点火及燃烧的煤粉燃烧器

Also Published As

Publication number Publication date
DE3327597C2 (de) 1992-07-16
EP0139085B2 (de) 1993-08-18
JPH0713527B2 (ja) 1995-02-15
DE3327597A1 (de) 1985-02-07
DE3464283D1 (en) 1987-07-23
EP0139085B1 (de) 1987-06-16
JPS6038513A (ja) 1985-02-28
US4575332A (en) 1986-03-11
ATE27854T1 (de) 1987-07-15

Similar Documents

Publication Publication Date Title
EP0139085B1 (de) Verfahren und Brenner zum Verbrennen von flüssigen oder gasförmigen Brennstoffen unter verminderter Bildung von NOx
DE3706234C2 (de)
DE3306483C2 (de)
EP0438682B1 (de) Abgassystem mit einem Partikelfilter und einem Regenerierungsbrenner
DE69519197T2 (de) Zerstäuber für die Verbrennung von flüssigem Brennstoff mit kleinem Sprühwinkel
DE69203023T2 (de) Brenner für einen Drehrohrofen.
DE4326802A1 (de) Brennstofflanze für flüssige und/oder gasförmige Brennstoffe sowie Verfahren zu deren Betrieb
DE2602401A1 (de) Brenner fuer fluessige und gasfoermige brennstoffe
DE69302301T2 (de) Gasstrahlungsbrenner
DE1551637A1 (de) Heizvorrichtung
DE4138433C2 (de) Brenner für Industrieöfen
DE3206074C2 (de)
DE69919456T2 (de) Brenner mit konzentrischer Luftzufuhr und zentral angeordnetem Stabilisator
EP0239003B1 (de) Reaktor und Verfahren zur Herstellung von Furnaceruss
DE2511500C2 (de) Brenner zur Verbrennung von flüssigem Brennstoff
DE4244400C2 (de) Brenner zur Heißgaserzeugung
DE1083001B (de) Verfahren und Vorrichtung zur Herstellung von Aktivruss
DE4008692A1 (de) Mischeinrichtung fuer oelgeblaesebrenner
EP1754937B1 (de) Brennkopf und Verfahren zur Verbrennung von Brennstoff
DE1401932A1 (de) Verfahren zum Betrieb von Brennern fuer Kesselfeuerungen
EP0829678A2 (de) Kanalbrenner und Verfahren zum Aufheizen eines strömenden Gases
DE3009764A1 (de) Kohlebrenner
AT404399B (de) Verfahren und brenner zum verbrennen insbesondere flüssiger brennstoffe
DE4119278C2 (de) Brennereinrichtung
DE68909851T2 (de) Verbrennungsvorrichtung.

Legal Events

Date Code Title Description
PUAI Public reference made under article 153(3) epc to a published international application that has entered the european phase

Free format text: ORIGINAL CODE: 0009012

AK Designated contracting states

Designated state(s): AT CH DE FR GB LI NL SE

17P Request for examination filed

Effective date: 19850517

GRAA (expected) grant

Free format text: ORIGINAL CODE: 0009210

AK Designated contracting states

Kind code of ref document: B1

Designated state(s): AT CH DE FR GB LI NL SE

REF Corresponds to:

Ref document number: 27854

Country of ref document: AT

Date of ref document: 19870715

Kind code of ref document: T

REF Corresponds to:

Ref document number: 3464283

Country of ref document: DE

Date of ref document: 19870723

ET Fr: translation filed
PLBI Opposition filed

Free format text: ORIGINAL CODE: 0009260

PLBI Opposition filed

Free format text: ORIGINAL CODE: 0009260

PLBI Opposition filed

Free format text: ORIGINAL CODE: 0009260

26 Opposition filed

Opponent name: JOH. VAILLANT GMBH U. CO

Effective date: 19880223

26 Opposition filed

Opponent name: EVT ENERGIE UND VERFAHRENSTECHNIK GMBH

Effective date: 19880315

Opponent name: JOH. VAILLANT GMBH U. CO

Effective date: 19880223

26 Opposition filed

Opponent name: L. & C. STEINMUELLER GMBH

Effective date: 19880316

Opponent name: EVT ENERGIE UND VERFAHRENSTECHNIK GMBH

Effective date: 19880315

Opponent name: JOH. VAILLANT GMBH U. CO

Effective date: 19880223

NLR1 Nl: opposition has been filed with the epo

Opponent name: JOH.VAILLANT GMBH U. CO

NLR1 Nl: opposition has been filed with the epo

Opponent name: L.& C. STEINMUELLER GMBH

Opponent name: EVT ENERGIE UND VERFAHRENSTECHNIK GMBH

PUAH Patent maintained in amended form

Free format text: ORIGINAL CODE: 0009272

STAA Information on the status of an ep patent application or granted ep patent

Free format text: STATUS: PATENT MAINTAINED AS AMENDED

27A Patent maintained in amended form

Effective date: 19930818

AK Designated contracting states

Kind code of ref document: B2

Designated state(s): AT CH DE FR GB LI NL SE

REG Reference to a national code

Ref country code: CH

Ref legal event code: AEN

ET3 Fr: translation filed ** decision concerning opposition
NLR2 Nl: decision of opposition
NLR3 Nl: receipt of modified translations in the netherlands language after an opposition procedure
EAL Se: european patent in force in sweden

Ref document number: 84106790.3

PGFP Annual fee paid to national office [announced via postgrant information from national office to epo]

Ref country code: SE

Payment date: 19950512

Year of fee payment: 12

PGFP Annual fee paid to national office [announced via postgrant information from national office to epo]

Ref country code: AT

Payment date: 19960529

Year of fee payment: 13

PG25 Lapsed in a contracting state [announced via postgrant information from national office to epo]

Ref country code: SE

Effective date: 19960615

EUG Se: european patent has lapsed

Ref document number: 84106790.3

PG25 Lapsed in a contracting state [announced via postgrant information from national office to epo]

Ref country code: AT

Effective date: 19970614

REG Reference to a national code

Ref country code: GB

Ref legal event code: IF02

PGFP Annual fee paid to national office [announced via postgrant information from national office to epo]

Ref country code: CH

Payment date: 20020517

Year of fee payment: 19

PGFP Annual fee paid to national office [announced via postgrant information from national office to epo]

Ref country code: DE

Payment date: 20020527

Year of fee payment: 19

PGFP Annual fee paid to national office [announced via postgrant information from national office to epo]

Ref country code: NL

Payment date: 20020531

Year of fee payment: 19

PGFP Annual fee paid to national office [announced via postgrant information from national office to epo]

Ref country code: GB

Payment date: 20020605

Year of fee payment: 19

PGFP Annual fee paid to national office [announced via postgrant information from national office to epo]

Ref country code: FR

Payment date: 20020611

Year of fee payment: 19

PG25 Lapsed in a contracting state [announced via postgrant information from national office to epo]

Ref country code: GB

Free format text: LAPSE BECAUSE OF NON-PAYMENT OF DUE FEES

Effective date: 20030614

PG25 Lapsed in a contracting state [announced via postgrant information from national office to epo]

Ref country code: LI

Free format text: LAPSE BECAUSE OF NON-PAYMENT OF DUE FEES

Effective date: 20030630

Ref country code: CH

Free format text: LAPSE BECAUSE OF NON-PAYMENT OF DUE FEES

Effective date: 20030630

PG25 Lapsed in a contracting state [announced via postgrant information from national office to epo]

Ref country code: NL

Free format text: LAPSE BECAUSE OF NON-PAYMENT OF DUE FEES

Effective date: 20040101

Ref country code: DE

Free format text: LAPSE BECAUSE OF NON-PAYMENT OF DUE FEES

Effective date: 20040101

GBPC Gb: european patent ceased through non-payment of renewal fee

Effective date: 20030614

REG Reference to a national code

Ref country code: CH

Ref legal event code: PL

PG25 Lapsed in a contracting state [announced via postgrant information from national office to epo]

Ref country code: FR

Free format text: LAPSE BECAUSE OF NON-PAYMENT OF DUE FEES

Effective date: 20040227

NLV4 Nl: lapsed or anulled due to non-payment of the annual fee

Effective date: 20040101

REG Reference to a national code

Ref country code: FR

Ref legal event code: ST

APAH Appeal reference modified

Free format text: ORIGINAL CODE: EPIDOSCREFNO