EP0098516A2 - Strickmaschine - Google Patents

Strickmaschine Download PDF

Info

Publication number
EP0098516A2
EP0098516A2 EP83106322A EP83106322A EP0098516A2 EP 0098516 A2 EP0098516 A2 EP 0098516A2 EP 83106322 A EP83106322 A EP 83106322A EP 83106322 A EP83106322 A EP 83106322A EP 0098516 A2 EP0098516 A2 EP 0098516A2
Authority
EP
European Patent Office
Prior art keywords
knitting
tools
machine according
knitting tools
knitting machine
Prior art date
Legal status (The legal status is an assumption and is not a legal conclusion. Google has not performed a legal analysis and makes no representation as to the accuracy of the status listed.)
Granted
Application number
EP83106322A
Other languages
English (en)
French (fr)
Other versions
EP0098516A3 (en
EP0098516B1 (de
Inventor
Eberhard Leins
Manfred Walter
Current Assignee (The listed assignees may be inaccurate. Google has not performed a legal analysis and makes no representation or warranty as to the accuracy of the list.)
Sulzer Morat GmbH
Original Assignee
Sulzer Morat GmbH
Priority date (The priority date is an assumption and is not a legal conclusion. Google has not performed a legal analysis and makes no representation as to the accuracy of the date listed.)
Filing date
Publication date
Application filed by Sulzer Morat GmbH filed Critical Sulzer Morat GmbH
Publication of EP0098516A2 publication Critical patent/EP0098516A2/de
Publication of EP0098516A3 publication Critical patent/EP0098516A3/de
Application granted granted Critical
Publication of EP0098516B1 publication Critical patent/EP0098516B1/de
Expired legal-status Critical Current

Links

Images

Classifications

    • DTEXTILES; PAPER
    • D04BRAIDING; LACE-MAKING; KNITTING; TRIMMINGS; NON-WOVEN FABRICS
    • D04BKNITTING
    • D04B15/00Details of, or auxiliary devices incorporated in, weft knitting machines, restricted to machines of this kind
    • D04B15/66Devices for determining or controlling patterns ; Programme-control arrangements
    • D04B15/68Devices for determining or controlling patterns ; Programme-control arrangements characterised by the knitting instruments used
    • D04B15/70Devices for determining or controlling patterns ; Programme-control arrangements characterised by the knitting instruments used in flat-bed knitting machines

Definitions

  • the drive element 6 On a side, the connecting web 9 facing part, the drive element 6 has a shaft 11 which is mounted in a sliding and rotary bearing, so that the drive element 6 is held on the one hand due to the action of the pressure spring 10 on the cam plate 5 and on the other hand due to the sliding - And pivot bearing is slidably and flexibly mounted.
  • the pusher After reaching the transfer position, the pusher should be held in the transfer position for a while so that the receiving knitting needle has enough tent to properly pierce and take over the stitch held by the transferring knitting needle. It follows that the foot 12 should be decoupled from the stage 20 when the transmission position is reached, because a sufficiently long downtime can only be provided if the drive stroke of the cam 5 and the foot 12 has not yet ended when the transmission position is reached .
  • the invention ensures on the one hand that the plunger 15 slides off the slider 41 when the transfer position is reached.
  • an additional decoupling element working with positive locking is provided to support the compression spring 24, which cannot always carry out the pivoting back of the ram alone with the required security. According to FIG.
  • a selection stage namely stage 18, could then be omitted, so that the pattern device would only have to make a selection between "knitting” and "non-knitting". Furthermore, only those knitting needles 2 which are actually intended to transfer stitches need to be provided with an expansion spring 34.
  • the elements provided for controlling the sliders 41 and the transmission parts 59 other elements can be provided, and the position and arrangement of these elements on the knitting machine could also be chosen differently. For example, it does not matter for the described function whether the return curves 76, 79 are arranged directly at the rear end of the needle beds or at the beginning of the same just before the control curves 74, 75 or somewhere between these two positions.

Landscapes

  • Engineering & Computer Science (AREA)
  • Textile Engineering (AREA)
  • Knitting Machines (AREA)

Abstract

Strickmaschine mit zwei Nadelbetten, in denen Maschen bildende Strickwerkzeuge austreibbar und abziehbar gelagert sind, mit exzentrischen, auf einer drehbaren Antriebswelle mit Winkelversatz angeordneten Kurvenscheiben zum Austreiben der Strickwerkzeuge und mit einer Mustervorrichtung zum mustergemäßen Koppeln und Entkoppeln der Strickwerkzeuge und der Kurvenscheiben derart, daß nur gekoppelte Strickwerkzeuge von den Kurvenscheiben austreibbar sind, wobei eine zum Übertragen von auf Strickwerkzeugen wenigstens eines Nadelbetts gebildeten Maschen auf zugeordnete Strickwerkzeuge des anderen Nadelbetts bestimmte Übertragungsvorrichtung vorgesehen ist, von der die mittels der Mustervorrichtung hergestellte Kopplung zwischen den Kurvenscheiben und den Strickwerkzeugen derart beeinflußbar ist, daß die Strickwerkzeuge durch die Kurvenscheiben wahlweise in eine Strickstellung oder in eine Übertragungsstellung austreibbar sind.

Description

  • Die Erfindung betrifft eine Strickmaschine der im Obergegriff des Anpruchs 1 definierten Gattung.
  • Bekannte Strickmaschinen dieser Art (DE-AS 1 296 733, DE-OS 25 31 762), die sich gegenüber herkömmlichen, einen hin-und hergehenden oder umlaufenden Schlitten aufweisenden Flachstrickmaschinen insbesondere durch höhere Systemzahlen, größere Strickgeschwindigkeiten und die dadurch bedingte Produktionssteigerung auszeichnen, sind in ihren Anwendungsmöglichkeiten noch beschränkt. Insbesondere sind bisher keine derartigen Strickmaschinen bekannt geworden, die mit Vorrichtungen zum Übertragen von den auf einem Nadelbett gebildeten Maschen auf die Nadeln des anderen Nadelbetts ausgerüstet sind, so daß mit diesen Strickmaschinen keine Rippränder und keine Strukturmuster hergestellt werden können.
  • Das Übertragen oder Umhängen von Maschen ist bisher nur bei herkömmlichen Strickmaschinen bekannt. Übliche Flachstrickmaschinen weisen hierzu beispielsweise in Laufrichtung der Schlitten hintereinander angeordnete Strick- und Ubertragungsschlösser oder kombinierte Strick- und Ubertragungsschlösser auf (DE-AS 24 43 231, DE-OS'en 27 20 750 und 30 19 036 oder PCT-OS WO 81/00868). Während die Auswahl der übertragenden Nadeln bei Anwendung spezieller Austriebsteile keine Probleme mit sich bringt, wird bei Anwendung von kombinierten Strick- und Übertragungsschlössern in der Regel ein nur beim Umhängevorgang einschaltbares Austriebsteil oder eine schaltbare, zwischen einem Strickschloßteil und einem zusätzlichen Austriebsteil angeordnete Schloßweiche vorgesehen. Dabei werden diejenigen Strickwerkzeuge, die die Maschen Übertragen sollen, dadurch für den Übertragungsvorgang vorbereitet, daß sie zunächst mittels einer Mustervorrichtung wie bei einem normalen Strick- oder Fangvorgang ausgewählt und dann mittels des eingeschalteten Austriebsteils oder der Schloßweiche in die oberhalb der Strickhöhe liegende Übertragungsstellung ausgetrieben werden. Hierdurch ergibt sich der Vorteil, daß für die Auswahl der Strickwerkzeuge herkömmliche, auf Stricken und im Bedarfsfall auch auf Fang programmierbare Mustervorrichtungen verwendet werden können und ein zusätzlicher Musterbefehl nur zur Steuerung des Antriebsteils oder der Schloßweiche benötigt wird.
  • Derartige Übertragungsvorrichtungen sind auf Strickmaschinen der eingangs bezeichneten Gattung nicht ohne weiteres übertragbar, da bei diesen die Austriebs- und AbzugshUbe der Strickwerkzeuge nicht durch Schloßteile, sondern durch mit den Strickwerkzeugen antriebsmäßig verbundene Kurvenscheiben gesteuert werden und daher spezielle Austriebsteile oder Schloßweichen nicht eingesetzt werden können. Zur Maschen-übertragung sind daher bei derartigen Strickmaschinen bisher nur solche Mustervorrichtungen denkbar, bei denen eine Vierfachselektion ("Nichtstricken", "Fang", "Stricken" und "Übertragung") möglich ist oder auf die Selektionsstufe "Fang" verzichtet werden muß. Eine Vierfachselektion ist unabhängig von der Art der Mustervorrichtung kompliziert und aufwendig, während ein Verzicht auf die Selektionsstufe "Fang" gerade beim Übertragen von Maschen nicht wünschenswert ist.
  • Der Erfindung liegt daher die Aufgabe zugrunde, eine Strickmaschine der eingangs bezeichneten Art mit einer Maschen- Übertragungsvorrichtung zu versehen und diese so auszubilden, daß der Übertragungsvorgang ähnlich wie bei herkömmlichen Strickmaschinen gesteuert werden kann.
  • Zur Lösung dieser Aufgabe sind die kennzeichnenden Merkmale des Patentanspruchs 1 vorgesehen.
  • Weitere vorteilhafte Merkmale ergeben sich aus den Unteransprüchen.
  • Die Erfindung schafft erstmals eine Strickmaschine der eingangs bezeichneten Gattung, die eine Übertragungsvorrichtung aufweist. Diese Übertragungsvorrichtung ist in vorteilhafter Weise so ausgebildet, daß die Mustervorrichtung nur zwischen "Stricken" und "Nichtstricken" entscheiden braucht. Die zum Stricken ausgewählten und dazu mit den zugehörigen Kurvenscheiben gekoppelten Strickwerkzeuge werden dann mittels der Übertragungsvorrichtung so beeinflußt, daß sie entweder in die übliche Strickstellung oder in eine Übertragungsstellung ausgetrieben werden. Dadurch ergibt sich außer der vereinfachten Steuerung, die insbesondere dann bemerkenswert ist, wenn es möglich sein soll, die Strickwerkzeuge zusätzlich in eine Fangstellung auszutreiben, auch der Vorteil, daß bei Anwendung einer elektronischen bzw. elektromagnetischen Mustervorrichtung leicht dafür gesorgt werden kann, daß bei Stromausfall alle Nadeln in die Strickstellung und nicht etwa in die Übertragungsstellung ausgetrieben werden.
  • Gemäß einer bevorzugten Weiterbildung der Erfindung wird der Abzug der Strickwerkzeuge allein durch entlang der Nadelbetten bewegbare Abzugsteile bewirkt. Durch diese Maßnahme ist es möglich, unabhängig von der Teilung der Strickmaschine sehr kleine Systemabstände vorzusehen, ohne insbesondere bei groben Teilungen auf stricktechnische Vorteile, z.B. mittels bewegbarer Schloßteile eine Änderung der Maschenlänge zu ermöglichen (DE-OS 25 31 705), verzichten zu müssen.
  • Die Erfindung wird nachfolgend in Verbindung mit der beiliegenden Zeichnung an Ausführungsbeispielen näher erläutert. Es zeigen:
    • Fig. 1 schematisch und perspektivisch die Gesamtansicht einer Strickmaschine mit einer erfindungsgemäßen Übertragungsvorrichtung;
    • Fig. 2 einen Schnitt durch ein Nadelbett der Strickmaschine nach Fig. 1;
    • Fig. 3 bis 6 diejenigen Elemente der Übertragungsvorri chtung in je einer der Fig. 2 entsprechenden Ansicht und in Schnitten längs der Linien III-III bis VI-VI der Fig. 7, die zum Austrieb ausgewählter Strickwerkzeuge in eine Übertragungsstellung benötigt werden;
    • Fig. 7 eine Draufsicht auf die zur Steuerung eines Ubertragungsvorgangs benötigten Schloßteile beider Nadelbetten;
    • Fig. 8 in schematischer Darstellung die einzelnen Bewegungsphasen der Strickwerkzeuge während eines vollen Austriebs- und Abzugshubes;
    • Fig. 9 eine Draufsicht auf die in Fig. 1 dargestellte Einzelheit "A"; und
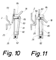
    • Fig. 10 und 11 die Lagerung und Steuerung eines Ubertragungsteils der erfindungsgemäßen Übertragungsvorrichtung in je einer den Fig. 3 bis 6 entsprechenden Ansicht.
  • In Fig. 1 und 2 ist eine Flachstrickmaschine mit zwei V-förmig angeordneten Nadelbetten 1 dargestellt, in deren Nuten in bekannter Weise Strickwerkzeuge in Form von Stricknadeln 2 mit Haken 3, vorzugsweise Zungennadeln, längsverschieblich gelagert sind. In jedem Nadelbett 1 ist eine Antriebswelle 4 drehbar gelagert, auf der eine der Zahl der Stricknadeln 2 entsprechende Anzahl von exzentrischen Kurvenscheiben 5 drehfest aufgereiht ist.
  • Auf jede Kurvenscheibe 5 ist gemäß Fig. 2 je ein Antriebselement 6, z.B. in Form einer Gabel, aufgesetzt, das zwei im wesentlichen parallele Arme 7 und 8 aufweist, die durch einen im wesentlichen senkrecht zu diesen angeordneten, als Koppelelement wirksamen Verbindungssteg 9 verbunden sind, an dem eine Andruckfeder 10 angreift, die den Verbindungssteg an die Kurvenscheibe 5 anzulegen versucht. Die beiden Arme 7 und 8 umgreifen die Kurvenscheibe 5 von zwei Seiten derart, daß ihre Berührungspunkte mit der Kurvenscheibe 5 auf einer Linie liegen, die im wesentlichen parallel zu den Nadelachsen verläuft, so daß die Antriebselemente 6 bei Drehung der Antriebswellen 4 von den Kurvenscheiben 5 parallel zu den Nadelachsen gehoben und gesenkt werden und auf diese Weise Austriebs- und Abzugshübe durchführen. An einem seitlichen, dem Verbindungssteg 9 zugewandten Teil weist das Antriebselement 6 einen Schaft 11 auf, der in einem Schiebe- und Drehlager gelagert ist, so daß das Antriebselement 6 einerseits aufgrund der Wirkung der Andrückfeder 10 auf der Kurvenscheibe 5 gehalten und andererseits aufgrund des Schiebe- und Drehlagers verschiebbar und dehbar gelagert ist.
  • An einem oberen Abschnitt des Antriebselements 6 ist ein Fuß 12 vorgesehen, dessen Oberkante als Austriebskante 13 und dessen Unterkante als Abzugskante 14 für einen zugeordneten und unterhalb der zugehörigen Stricknadel 2 angeordneten Stößer 15 dient. Der Fuß 12 ragt in eine auf der Vorderseite des Stößers 15 ausgebildete Aussparung, die sich zwischen einem den Fuß 12 untergreifenden Fuß 16 des Stößers 15 und einem weiteren, mittleren Fuß 17 des Stößers erstreckt. Der Boden der Aussparung ist stufenförmig ausgebildet und enthält drei als Austriebsorgane wirksame Stufen 18,19 und 20. Die Oberkante des Fußes 16 wirkt als Abzugsorgan.
  • Der Fuß 16 des Stößers 15 besitzt eine solche Länge, daß er den Fuß 12 während eines Abzugshubes der Kurvenscheibe 5 in jeder möglichen Stellung des Antriebselements 6 überlappt. Die Stufen 18,19 und 20 sind dagegen so bemessen, daß der Fuß 12 in der aus Fig. 2 ersichtlichen Grundstellung des Stößers 15 in zwei möglichen Koppelstellungen des Antriebselements 6 bzw. des Verbindungsstegs 9 entweder eine der Stufen 18 oder 19 untergreift oder in einer zusätzlichen Entkoppelstellung außerhalb des Wirkungsbereichs aller drei Stufen 18,19 und 20 liegt.
  • Zur mustergemäßen Steuerung der Stricknadeln 2 ist eine Mustervorrichtung vorgesehen, die beim dargestellten Ausführungsbeispiel pro Stricknadel 2 je einen mustergemäß steuerbaren Haltemagneten 21 und eine Steuerfeder 22 enthält, deren freies Ende mittels eines am Schaft 11 vorgesehenen Vorsprungs unter Vorspannung an die Polfläche des Haltemagneten 21 angelegt werden kann. Zieht der Haltemagnet 21 die Steuerfeder 22 an, wird der Verbindungssteg 9 von der Andriickfeder 10 gegen die zugehörige Kurvenscheibe 5 gelegt, bis die Austriebskante 13 die Stufe 19 untergreift und beim nächsten Austriebshub der Kurvenscheibe 5 den zugehörigen Stößer 15 in eine für den normalen Strickvorgang benötigte Strickstellung austreibt. Wird die Steuerfeder 22 dagegen vom Haltemagneten 21 mustergemäß fallen gelassen, dann legt sich ihr freies Ende wahlweise gegen einen von zwei am Schaft 11 ausgebildeten Anschlägen, so daß entweder das Antriebselement 6 trotz Wirkung der Andrückfeder 10 in einer zurückgezogenen Stellung arretiert und daher der Stößer 15 nicht ausgetrieben wird oder aber der Fuß 12 nur so weit vorgeschoben wird, daß er die Stufe 18 untergreift und daher den Stößer 15 bis in eine Fangstellung austreibt.
  • Entsprechend Fig. 2 ist jeder Stößer in seinem mittleren Teil mittels eines Gelenks 23 schwenkbar an einer über ihm angeordneten Stricknadel 2 derart angelenkt, daß diese die durch die Kurvenscheibe 5 bewirkte Austriebs- und Abzugsbewegung des Stößers 15 unabhängig davon mitmacht, welche Schwenkstellung der Stößer 15 einnimmt. Dabei wird der Stößer normalerweise durch eine U-förmige Druckfeder 24, die zwischen einem oberhalb des Gelenks 23 liegenden Oberteil des Stößers und der Stricknadel angeordnet ist, in der aus Fig. 2 ersichtlichen Schwenkstellung gehalten, in welcher der Rücken seines unter dem Gelenk 23 liegenden, die Stufen 18 bis 20 enthaltenden Abschnitts auf dem Nadelbett 1 aufliegt. Jede Stricknadel 2 weist außerdem einen Strickfuß 25 auf.
  • Die Strickfüße 25 können mit einer Mehrzahl von Schloßplatten 26 zusammenwirken, die gemäß Fig. 1 an endlosen Bändern 27 befestigt sind,die auf jeweils wenigstens zwei Umlenkrollen 28 gelagert und mittels einer nicht dargestellten Antriebsvorrichtung mit Strickgeschwindigkeit in Pfeilrichtung angetrieben werden. Die Schloßplatten 26 sind mit ihren Unterkanten an Tragkörpern 29 montiert, die während ihres Vorbeigangs an den Nadelbetten 1 in der Nut je einer Gleitschiene 30 geführt und abgestützt sind, die an einer parallel und ortsfest über die gesamte Breite des zugehörigen Nadelbetts 1 erstreckten Abdeckung 31 befestigt ist. Die Oberkanten der Schloßplatten 26 gleiten dagegen zwischen dem oberen Ende dieser Abdeckung 3 und einer Gegenführung 32. Dadurch werden die Schloßplatten 26 während ihres Vorbeigangs an den Nadelbetten 1 stets in derselben unveränderlichen Höhe angeordnet. Jede Schloßplatte 26 kann ein aus Fig. 1 und 2 nicht ersichtliches, verstellbares Abzugsteil tragen, das dazu dient, durch kurzzeitige Einwirkung auf die Strickfüße 25 die letzte Phase des Abzugs der Stricknadeln 2 so zu steuern, daß die von diesen gebildeten Maschen eine durch Einstellung des Abzugateils vorgewählte Länge erhalten.
  • Die bisher beschriebene Strickmaschine unterscheidet sich von bekannten Strickmaschinen dieser Art (z.B. DE-OS'en 25 31 705; 25 31 734. 25 31 762 und 27 01 652) nur dadurch, daß die Antriebselemente 6 nicht direkt, sondern indirekt über die Stößer 15 auf die Stricknadeln 2 einwirken und die Stößer 15 eine dritte Stufe 20 aufweisen, deren Funktion noch erläutert wird. Auf eine Beschreibung weiterer Einzelheiten und der Betriebsweise der Strickmaschine nach Fig. 1 und 2 kann daher verzichtet werden.
  • Im Gegensatz zu den bekannten Strickmaschinen dieser Art weist die erfindungsgemäße Strickmaschine zusätzlich eine Übertragungsvorrichtung zum Übertragen bzw. Umhängen von auf Stricknadeln eines Nadelbetts gebildeten Maschen auf zugeordnete Stricknadeln des anderen Nadelbetts auf. Derartige Übertragungsvorrichtungen sind bei Flachstrickmaschinen mit hin- und hergehenden oder umlaufenden Schlitten sowohl mit seitlichem Versatz der beiden Nadelbetten relativ zueinander (DE-OS 22 28 547) als auch ohne diesen Versatz (DE-AS 24 43 231 und PCT-OS 0 81/00868) allgemein bekannt. Bei Strickmaschinen der hier beschriebenen Art hätte eine Maschen-Übertragung mit Versatz den Nachteil, daß die Vielzahl der längs der Nadelbetten angeordneten Stricksysteme so lange stillgesetzt werden müßte, bis der gesamte Ubertragungsvorgang beendet ist, was insbesondere bei der Herstellung spezieller Muster mit einem beträchtlichen Produktionsausfall verbunden wäre. Bei der erfindungsgemäßen Strickmaschine wird der Übertragungsvorgang daher vorzugsweise ohne Versatz durchgeführt. Zu diesem Zweck sind die übertragenden Stricknadeln 2 gemäß Fig. 3 bis 6 mit den bekannten seitli- .chen Spreizfedern 34 versehen, die dazu dienen, die von den übertragenden Stricknadeln 2 geführten Maschen beim Übertragungsvorgang derart zu spreizen, daß die Haken 3 der übernehmenden Stricknadeln 2 die gespreizten Maschen ungehindert durchdringen und in bekannter Weise übernehmen können. Sind dabei alle Stricknadeln beider Nadelbetten mit solchen Spreizfedern 34 versehen, können die Maschen wahlweise von allen ausgewählten Stricknadeln eines Nadelbettes auf die zugeordneten Stricknadeln des anderen Nadelbettes und umgekehrt übertragen werden.
  • Die erfindungsgemäße Übertragungsvorrichtung enthält als wesentliche Bestandteile die Schloßplatten 26 mit auf ihnen montierten, den Übertragungsvorgang steuernden Elementen und einen Steuermechanismus, mittels dessen diese Elemente für den Übertragungsvorgang vorbereitet werden.
  • anhand Fig. 3 bis 6 wird nachfolgend schematisch erläutert, auf welche Weise diejenigen Stricknadeln, die eine Masche übertragen und dazu über die normale Strickstellung hinaus in eine Übertragungsstellung ausgetrieben werden sollen, ausgewählt werden. Dabei zeigt Fig. 3 zunächst eine Stricknadel 2 und den zugehörigen Stößer 15 in der aus Fig. 2 ersichtlichen Lage. Das Antriebselement 6 ist mittels der Mustervorrichtung für einen Strickvorgang ausgewählt worden, so daß die Austriebskante 13 eines Fußes 12 in der tiefsten Stellung die Stufe 19 untergreift und den Stößer 15 und die mit ihm durch das Gelenk 23 verbundene Stricknadel 2 entsprechend einem Pfeil 36 in die zur normalen Maschenbildung erforderliche Strick- bzw. Einschließstellung austreiben kann. Um mit demselben Befehl "Stricken" der Mustervorrichtung die Stricknadel 2 auch über die Strickstellung hinaus in die Übertragungsstellung austreiben zu können, ist auf der von den Stößern 15 abgewandten Seite der Schloßplatte 26 je ein Schwenklager 37 befestigt, in dem ein Hebel 38 schwenkbar gelagert ist. Der eine Arm des Hebels 38 ist durch eine an der Schloßplatte 26 abgestützte Druckfeder 39 vorgespannt. Der andere Hebelarm weist einen um 90° abgewinkelten Abschnitt 40 auf, der an seinem äußeren, die Schloßplatte 26 durchragenden Ende ein Gleitstück 41 trägt, das beim Vorbeitransport der Schloßplatte 26 am Nadelbett den oberen, durch die Druckfedern 24 aus dem Nadelbett herausgedrückten Abschnitten der Stößer 15 gegenübersteht und sich parallel zum Nadelbett erstreckt.
  • Beim normalen Strickvorgang ist die Wirkung der Druckfeder beispielsweise 39 durch eine in der Seitenansicht/quadratische Steuerscheibe 42 aufgehoben, die an einer ihrer Ecken mittels eines zur Schloßplatte 26 parallelen Zapfens 43 schwenkbar an dem das Gleitstück 41 tragenden Arm des Hebels 38 angelenkt ist. Bei der aus Fig. 3 ersichtlichen Lage ist die Steuerscheibe 42 mit einer dem Zapfen 43 fernen Kante auf der Schloßplatte 26 abgestützt, wodurch der betreffende Hebelarm gegen den Druck der Druckfeder 39 in einem so großen Abstand von der Schloßplatte 26 gehalten ist, daß das Gleitstück 41 die Stößer 15 nicht beeinflussen kann.
  • Soll dagegen ein Übertragungsvorgang eingeleitet werden, wird die Steuerscheibe 42 mittels eines seitlich an ihr angebrachten Steuerarms 44 um 90° derart um den Zapfen 43 verschwenkt, daß sich nunmehr eine dem Zapfen 43 nahe Kante der Steuerscheibe 42 auf der Schloßplatte 26 abstützt und infolgedessen der betreffende Hebelarm unter dem Einfluß der Druckfeder 39 einen wesentlich kleineren Abstand zur Schloßplatte 26 einnimmt. Dadurch wird das Gleitstück 41 gegen die oberen Abschnitte der vorbeiwandernden Stößer 15 gedruckt (Fig. 4), was zur Folge hat, daß der Reihe nach alle Stößer 15 gegen die Kraft der Druckfeder 24 um die Gelenke 23 derart verschwenkt werden, daß sich ihre unterhalb der Gelenke 23 befindlichen Abschnitte den zugehörigen Antriebselementen 6 annähern, bis ihre Stufen 20 die Austriebskanten 13 der Füße 12 derjenigen Antriebselemente 6 Ubergreifen, die zuvor mittels der Mustervorrichtung zum Stricken ausgewählt wurden und daher dieselbe Stellung wie in Fig. 3 einnehmen. Die Stößer 15 nehmen nun eine zweite, aus Fig. 4 ersichtliche Schwenkstellung ein. Beim nachfolgenden Austriebshub der Antriebselemente 6 in Richtung eines Pfeils 45 werden die zugehörigen Stößer daher um ein dem Abstand der Stufen 19 und 20 entsprechendes Maß über die normale Strickhöhe in die Übertragungsstellung angehoben. Dabei ist durch entsprechende Ausbildung und Anordnung des Antriebselements 6, der Kurvenscheibe 5, der Stufen 18 bis 20 und des Gelenks 23 dafür gesorgt, daß die Füße 12 derjenigen Antriebselemente 6, die durch die Mustervorrichtung in eine Nichtstrick- oder Fangstellung gebracht wurden, mit keiner der Stufen 18 bis 20 in Berührung kommen können, solange sich die Stößer 15 in der aus Fig. 4 ersichtlichen, verschwenkten Lage befinden. Dies folgt vor allem daraus, daß die Stufe 20 den größten, die Stufe 18 dagegen den kleinsten Abstand vom Gelenk 23 hat und daher die Stufe 18 um so wenig verschwenkt wird, daß sie ein in Nichtstrickstellung befindliches Antriebselement 6 auch nach dem Verschwenkvorgang nicht übergreifen kann. Sollte die Stufe 19 ein derartiges Antriebselement 6 übergreifen und das Strickwerkzeug 2 dadurch bis in die Fangstellung ausgetrieben werden, wäre dies unschädlich, weil ein in Fangstellung befindliches Strickwerkzeug weder den Übertragungsvorgang stört noch die von ihm gehaltene Masche abwirft.
  • Nach dem Erreichen der Übertragungsstellung sollte der Stößer eine Zeitlang in der Ubertragungsstellung gehalten werden, damit die übernehmende Stricknadel genügend Zelt hat, die von der übertragenden Stricknadel gehaltene Masche ordnungsgemäß zu durchstechen und zu übernehmen. Daraus folgt, daß der Fuß 12 beim Erreichen der Ubertragungsstellung von der Stufe 20 entkoppelt werden sollte, weil eine ausreichend lange Stillstandzeit nur dann zur Verfügung gestellt werden kann, wenn der Austriebshub der Kurvenscheibe 5 und des Fußes 12 beim Erreichen der Ubertragungsstellung noch nicht beendet ist. Um die Entkopplung zu ermöglichen, ist erfindungsgemäß einerseits sichergestellt, daß der Stößer 15 beim Erreichen der Übertragungsstellung vom Gleitstück 41 abgleitet. Andererseits ist zur Unterstützung der Druckfeder 24, die den RUckschwenkvorgang des Stößers allein nicht immer mit der erforderlichen Sicherheit durchführen kann, ein zusätzliches, mit Formschluß arbeitendes Entkopplungselement vorgesehen. Dieses besteht gemäß Fig. 5 aus einer an der Schloßplatte 26 befestigten und in Richtung der Stößer ragenden Anschlagkante 47, auf die die Füße 17 der Stößer 15 genau dann auftreffen, wenn die Stricknadeln 2 die Übertragungsstel5.un,g erreicht haben. Durch das Anschlagen der Füße 17 an die Anschlagkante 47 werden die Stößer zwangsweise um das Gelenk 23 in die aus Fig. 5 ersichtliche Stellung zurückgeschwenkt und gleichzeitig die Füße 12 von den Stufen 20 entkoppelt. Die Länge der zum Nadelbett 1 und zum Gleitstück 41 parallelen Anschlagkante 47 ist dabei so bemessen, daß diese in Laufrichtung der Schloßplatte 26 kurz hinter dem hinteren Ende des Gleitstücks 41 beginnt und einige Nadelteilungen hinter diesem Ende endet. Um ein Verklemmen der Stößer 15 zu vermeiden, ist außerdem vorgesehen, daß die Oberkanten der Füße 17 in der aus Fig. 5 ersichtlichen Schwenkstellung der Stößer 15 dicht unterhalb der Anschlagkante 47 angeordnet sind.
  • Nachdem der Übertragungsvorgang vollendet ist, wird das Antriebselement 6 und mit ihm sein Fuß 12 in Richtung eines Pfeils 48 von der zugehörigen Kurvenscheibe 5 wieder abgezogen (Fig. 6), wobei sich der Fuß 12 auf den unteren Fuß 16 des Stößers 15 auflegt und infolgedessen auch diesen und die zugehörige Stricknadel 2 abzieht, bis der letzte Teil der Abzugsbewegung von einem auf den Strickfuß 25 einwirkenden, an der Schloßplatte 26 verstellbar befestigten und an sich bekannten Abzugsteil 49 durchgeführt wird (DE-OS 25 31 705).
  • Fig. 7 zeigt eine Draufsicht von oben auf die von vier nicht Schloßplatten dargestellten/getragenen Schloßteile, die in Richtung eines Pfeils P von links nach rechts an den Nadelbetten vorbeibewegt werden. Die in Fig. 7 unterhalb einer Linie 50 dargestellten Schloßteile sind dem vorderen Nadelbett, die oberhalb der Linie 50 angeordneten Schloßteile dagegen dem hinteren Nadelbett zugeordnet und bilden jeweils in durch Bezugszeichen 51 bis 54 dargestelltes Schloß. Dabei sind die vorlaufenden Schlösser 51 und 53 zur Übertragung von Maschen von den Stricknadeln des vorderen Nadelbetts auf die Stricknadeln des hinteren Nadelbetts und die nachlaufenden Schlösser 52 und 54 zur Herstellung normaler Strick- bzw. Fangmaschen eingestellt. Jedes Schloß enthält ein Hubbegrenzungsteil 55, ein diesem zugeordnetes Führungsteil 56, ein in Abzugsrichtung wirksames Schloßteil 57, ein diesem zugeordnetes weiteres Führungsteil 58, ein schaltbares Ubertragungsteil 59 und ein Abzugsteil 60, die alle an je einer Schloßplatte 26 (Fig. 3 bis 6) befestigt sind. An den Vorderabschnitten der Schlösser 51 bis 54 sind die entsprechend Fig. 3 bis 6 befestigten Gleitstücke 41 und Abschlagkanten 47 angedeutet. Mit gestrichelten Linien sind außerdem jeweils Bahnen 61,62 bzw. 63 der Oberkanten der Strickfüße 25 angedeutet, die diese während einer vollen Umdrehung einer Kurvenscheibe 5 beschreiben würden, wenn der Fuß 12 des Antriebselements 6 ständig entweder die Stufe 20 oder die Stufe 19 oder die Stufe 18 des Stößers 15 untergreifen würde.
  • Anhand der Schlösser 51 und 53 wird nachfolgend ein vollständiger Ubertragungszyklus beschrieben. Zur Vorbereitung der Übertragung wird das Gleitstück 41 des vorderen Nadelbetts in die aus Fig. 4 ersichtliche Stellung gebracht. Außerdem werden die Antriebselemente aller derjenigen Stricknadeln des vorderen Nadelbetts, die eine Masche übertragen sollen, mittels der Mustervorrichtung zum "Stricken" ausgewählt, d.h. die zugehörigen Steuerfedern 22 werden von den Elektromagneten 21 ständig angezogen, während alle anderen Antriebselemente zum "Nichtstricken" ausgewählt sind. Das Übertragungsteil 59 des vorderen Nadelbetts bleibt ausgeschaltet, so daß es die Strickfüße 25 nicht beeinflussen kann. Im hinteren Nadelbett werden dagegen die Antriebselemente 6 aller derjenigen Stricknadeln, die eine Masche übernehmen sollen, für "Fang" ausgewählt, d.h. die zugehörigen Steuerfedern 22 werden von den Elektromagneten 21 so spät fallen gelassen, daß die Füße 12 der Antriebselemente bis unter die Stufen 19 der zugehörigen Stößer 15 vorgeschoben werden. Das Übertragungsteil 59 des hinteren Nadelbetts wird eingeschaltet, damit es auf die Strickfüße 25 einwirken kann. Das Gleitstück 41 des hinteren Nadelbetts bleibt ausgeschaltet.
  • Werden die Schlösser 51 und 53 nun an irgendeinem Stricksystem vorbeigeführt, wirkt das Gleitstück 41 des Schlosses 51 entsprechend Fig. 4 nacheinander auf die Stößer 15 ein. Dadurch werden die Füße 12 aller zum Stricken ausgewählten Antriebselemente 6 unter den Stufen 20 der zugehörigen Stößer 15 angeordnet, so daß die Strickfüße 25 der mit diesen verbundenen Stricknadeln längs der Bahn 61 ausgetrieben werden. Die Antriebselemente der zum Nichtstricken ausgewählten Stricknadeln lassen diese dagegen unbeeinflußt.
  • Beim Erreichen des Hubbegrenzungsteils 55 werden die Strickfüße in der dort erreichten iibertragungsstellung festgehalten (vgl. Fig. 5). Da das im unteren Bereich der Schloßplatte 51 gezeigte Gleitstück 41 in diesem Moment gerade vom zugehörigen Stößer 15 abgleitet und dessen Fuß 17 gegen die jetzt im Bereich des Stößers 15 angeordnete Anschlagkante 47 stößt, wird der Stößer automatisch zuriickgeschwenkt, wodurch seine Stufe 20 vom Antriebselement 6 entkoppelt wird. Infolgelessen kann dessen Fuß 12 entlang einer zur Bahn 61 parallelen Bahn weiter ausgetrieben werden, ohne daß der Stößer 15 dieser Bewegung folgen muß.
  • Beim Weiterwandern des Schlosses 51 werden die Strickfüße 25 zwischen dem Hubbegrenzungsteil 55 und dem Filhrungsteil 56 auf einer für den tibertragungsvorgang zweckmäßigen Bahn geführt. Gleichzeitig werden die übernehmenden Stricknadeln des hinteren Nadelbetts längs der Bahn 63 in die Fangstellung ausgetrieben, weil die zugehörigen Antriebselemente mittels der Mustervorrichtung entsprechend vorbereitet wurden, so daß die Haken dieser Stricknadeln durch die jetzt gespreizten Maschen der in der Ubertragungsstellung befindlichen Stricknadeln des vorderen Nadelbetts stechen. Unmittelbar danach werden die übertragenden Stricknadeln durch das Schloßteil 57 in einer für das Umhängen zweckmäßigen Weise bis in die Strickhöhe abgezogen. Daraufhin werden die auf Fanghöhe ausgetriebenen übernehmenden Stricknadeln vom Übertragungsteil 59 bis nahe in die Durchlaufstellung abgezogen. Dadurch ist der Ubernahmevorgang beendet, d.h. die übertragenden Maschen befinden sich jetzt in den Haken der übernehmenden Stricknadeln des hinteren Nadelbetts. Der weitere Austrieb der zugehörigen Antriebselemente 6 des vorderen Nadelbetts wird durch diese Nadelbewegungen nicht behindert, weil ihre Füße 12 entsprechend Fig. 5 von den Stufen 18 bis 20 entkoppelt sind.
  • Bevor die Strickfüße 25 der an der Unterkante des Schloßteils 57 geführten übertragenden Stricknadeln den abfallenden Zweig der Bahn 61 erreichen, was ihren Abzug durch die Antriebselemente 6 bedeuten würde, laufen die Strickfüße 25 auf das Abzugsteil 60 auf und werden von diesem bis in die Durchlaufstellung abgezogen, wodurch der Übertragungszyklus vollendet ist (vgl. auch Fig. 6).
  • Sollen während eines Vorbeigangs eines Schlosses an den Nadelbetten keine Maschen übertragen werden, bleibt das betreffende Gleitstück 41 ausgeschaltet, wie bei den Schlössern 52 und 54 durch gestrichelte Linien angedeutet ist (vgl. Fig. 3). Dadurch verbleiben sämtliche Stößer 15'in der aus Fig. 3 ersichtlichen Schwenkstellung, so daß die Füße 12 der Antriebselemente 6 je nach Musterung entweder die Stufe 19 oder die Stufe 18 oder gar keine Stufe untergreifen. Dementsprechend werden die zugehörigen Stricknadeln im Vergleich zum Ubertragungsvorgang zu etwas späteren Zeitpunkten entweder in die Strick- bzw. Einschließstellung (Schloß 52) oder in die Fangstellung (Schloß 54) ausgetrieben oder in der Durchlaufstellung gelassen. Die Ubertragungsteile 59 sind dabei jeweils ausgeschaltet.
  • Das erfindungsgemäße Abzugsteil 60 ermöglicht auch bei kleinen Systembreiten einen stets gleichmäßigen Abzug der Stricknadeln unabhängig davon, ob diese in die Fang- oder Strickstellung ausgetrieben wurden oder ob die Strickstellung in Abhängigkeit von der im Einzelfall vorgesehenen Teilung etwas höher oder tiefer liegt. Dadurch ergibt sich der Vorteil, daß für alle vorkommenden Teilungen dieselben Schloßplatten, Kurvenscheiben und Antriebselemente eingesetzt werden können.
  • Das Abzugsteil 60 ermöglicht ferner eine Variation der Maschenlänge. Wie Fig. 7 für das Schloß 52 und Fig. 8 zeigt, ist hierzu lediglich erforderlich, das Abzugsteil 60 mit an sich bekannten Mitteln (DE-OS'en 25 31 705, 30 03 811 und 31 38 337) in Richtung eines Pfeils V verschiebbar an der zugehörigen Schloßplatte zu lagern. Außerdem ist es zweckmäßig, der Unterkante des Abzugsteils 60 ein Führungsteil 64 zuzuordnen, um eine exakte Maschenlänge auch bei hohen Geschwindigkeiten zu gewährleisten.
  • In Fig. 8 ist außerdem schematisch das Zusammenspiel zwischen dem ftbzugsteil 60, den Antriebselementen 6 und den Stricknadeln 2 bei Durchführung eines normalen Strickvorgangs dargestellt. Eine gestrichelte Linie gibt eine Bahn 65 an, auf der sich die ideal flach gedachten Füße 12 der Antriebselemente 6 während der Austriebs- und Abzugshübe bewegen. Eine weitere gestrichelte Linie gibt eine Bahn 66 an, auf welcher sich die Oberkanten der Füße 16 der Stößer 15 bewegen würden, falls sie den Füßen 12 formschlüssig folgen würden. Tatsächlich ist zwischen der Stufe 19 und der Oberkante des Fußes 16 jedoch ein relativ großes, dem Abstand der Bahnen 65 und 66 entsprechendes Spiel vorhanden. Daher folgen die Oberkanten der Füße 16 nur beim Austrieb exakt der Bahn 66, weil zu diesem Zeitpunkt die Füße 12 unter die Stufe 19 greifen und diese spielfrei mitnehmen. Beginnt der Fuß 12 jedoch nach Durchlaufen des Maximus der Bahn 65 wieder mit dem Abstieg, kann der Fuß 16 nicht sofort folgen, weil der Fuß 12 zunächst das Spiel zwischen der Stufe 19 und dem Fuß 16 überbrücken muß. Infolgedessen verharren die Füße 16 zunächst in einer Höhenlinie 67. Dies gilt theoretisch so lange, bis die Verlängerung der Höhenlinie 67 den absteigenden Teil der Bahn 65 bei 68 schneidet. In diesem Moment setzt der Fuß 12 nämlich auf der Oberkante des Fußes 16 auf.
  • Würde der Fuß 16 nun der Bahn 65 folgen,wäre der Abzug des Stößers 15 steiler, als dem maximalen Steigungswinkel eines Kulierteils entspricht. Außerdem würden sich je nach Teilung unterschiedliche Verhältnisse ergeben. Das auf die Strickfüße 25 einwirkende Abzugsteil 60 wird daher so eingestellt, daß es der Bahn etwasvorauseilt und die Füße 16 der Stößer bereits an einer vor der Stelle 68 liegenden Stelle 69 längs einer Bahn 70 abgezogen werden. Da diese Bahn 70 stets zwischen den beiden Bahnen 65 und 66 liegt, bis sie zu Beginn des nachfolgenden Austriebszyklus an einer Stelle 71 wieder auf die Bahn 66 trifft, bewegt sich der Fuß 12 während der Abzugshübe stets irgendwo in dem zwischen der Stufe 19 und der Oberkante des Fußes 16 liegenden Bereich, ohne mit diesen zu kollidieren. Dadurch ist es im Gegensatz zu bekannten Strickmaschinen dieser Art (DE-OS 25 31 705), bei denen nur ein Schloßteil zur Einstellung der Maschenlänge vorgesehen ist, möglich, den gesamten Austriebshub mittels der rotierenden, den Stricknadeln einzeln zugeordneten Kurvenscheiben 5 und den gesamten Abzugshub mittels separater Schloßteile 60 zu steuern, die mit Strickgeschwindigkeit an den Nadelbetten entlangbewegt werden. Aus ähnlichen Gründen ist es möglich, trotz der allgemeinen Steuerung der Stricknadeln durch die Kurvenscheiben 5 eine Anzahl von Schloßteilen 55 bis 59 einzusetzen, um bestimmte Funktionen in einer ähnlichen Weise zu steuern, wie dies bei herkömmlichen, mit Schlitten ausgerüsteten Flachstrickmaschinen üblich ist.
  • Die Schaltung der Gleitstücke 41 und der Ubertragungsteile 59 erfolgt mit Hilfe eines Steuermechanismus. Dieser enthält gemäß Fig. 1 zwei vor dem Anfang des vorderen Nadelbetts 1 angeordnete, elektrisch steuerbare Hubmagnete 72 und 73, deren nach unten herausragende Hubstangen je eine Steuerkurve 74 bzw. 75 tragen. Die Steuerkurve 74 ist bei erregtem Hubmagneten 72 im Bereich des Steuerarms 44 (Fig. 3 bis 6) angeordnet, so daß dieser beim Vorbeigang der Schloßplatte 26 am Hubmagneten 72 auf die Steuerkurve 74 aufläuft und von dieser aus der in Fig. 3 ersichtlichen Außerarbeitsstellung in die aus Fig. 4 ersichtliche Arbeitsstellung geschwenkt wird. Ist der Hubmagnet 72 nicht erregt, ist die Steuerkurve 74 außerhalb des Wirkungsbereichs des Steuerarms 44 angeordnet. Ein mit Hilfe der Fteuerkurve 74 verschwenkter Steuerarm 44 bleibt in dieser Lage, bis die Schloßplatte 26 das hintere Ende des Nadelbetts erreicht und in den Wirkungsbereich einer ortsfesten RUckstellkurve 76 des Steuermechanismus gelangt, auf die der Steuerarm 44 aufläuft. Dadurch wird der Steuerarm 44 im Vergleich zur Steuerkurve 74 in der entgegengesetzten Richtung um 900 verschwenkt, so daß er wieder die aus Fig. 3 ersichtliche Außerarbeitsstellung einnimmt, damit beim erneuten Vorbeigang am Hubmagneten 72 ein neuer Auswählvorgang eingeleitet werden kann. Bereits in der Außerarbeitsstellung befindlihe Steuerarme 44 werden von der Rückstellkurve 76 nicht beeinflußt.
  • Die Steuerkurve 75 kann in entsprechender Weise auf einen Steuerarm 78 einwirken, der das Übertragungsteil 59 in die vorgeschobene Arbeitsstellung schwenkt. Die Rückstellung des Ubertragungsteils 59 erfolgt dann am Ende des Nadelbetts mittels einer weiteren ortsfesten, auf den Steuerarm 78 einwirkenden Rückstellkurve 79. Im übrigen enthält der Steuermechanismus am hinteren Nadelbett entsprechende, in Fig. 1 nicht dargestellte Hubmagnete, Steuerkurven und Rückstellkurven, so daß die Maschen wahlweise vom vorderen auf das hintere Nadelbett und umgekehrt übertragen werden können.
  • Die in Fig. 1 mit einem Kreis umrandete Einzelheit A ist in Fig. 9 vergrößert und als Draufsicht zusammen mit den Rückstellkurven 76 und 79 dargestellt.
  • Fig. 10 und 11 zeigen die Lagerung des Übertragungsteils 59 an der Schloßplatte 26 in einer den Fig. 3 bis 6 ähnlichen Ansicht, wobei das Übertragungsteil 59 allerdings entsprechend Fig. 9 im Vergleich zum Gleitstück 41 nachlaufend an der Schloßplatte 26 angeordnet ist. Zur Steuerung des Übertragungsteils 59 ist auf der Schloßplatte 26 ein Schwenklager 80 befestigt, in dem ein Hebel 81 schwenkbar gelagert ist. Der eine Arm des Hebels 81 ist durch eine an der Schloßplatte 26 abgestützte Druckfeder 82 vorgespannt, während der andere Hebelarm einen um 90° abgewinkelten Abschnitt 83 aufweist, der an seinen äußeren, die Schloßplatte 26 durchragenden Ende das Übertragungsteil 59 trägt.
  • Die Steuerung des Übertragungsteils erfolgt wie die des Gleitstücks 41 mittels einer beisnielsweise quadratischen Steuerscheibe 84, die an einer Ecke mittels eines Zapfens 85 schwenkbar am Hebel 81 befestigt ist, den Steuerarm 78 aufweist und in ihrer aus Fig. 10 ersichtlichen Stellung das Ubertragungsteil 59 gegen die Kraft der Druckfeder 82 von den Strickfüßen 25 fernhält, in der aus Fig. 11 ersichtlichen, beim Übertragungsvorgang benötigten Stellung dagegen die anhand Fig. 7 beschriebene Einwirkung des Ubertragungsteils 59 auf die Strickfüße 25 zuläßt.
  • Gemäß Fig. 1 ist an den Schloßplatten 26 schließlich noch irgendein an sich bekannter Zungenöffner 86 (z.B. DE-OS 28 26 963) vorgesehen, der dazu dient, die Zungen derjenigen Nadeln, die eine Musche aufnehmen sollen, zu öffnen, und der daher so an der Schloßplatte 26 gelagert ist, daß er spätestens kurz hinter der in Fig. 7 durch die Schnittlinie V-V bezeichneten Stelle wirksam wird, d.h. bevor die aufnehmenden Stricknadeln ausgetrieben werden. Außerdem kann ein an sich bekanntes Halteteil vorgesehen sein, daß die Nadelzungen nach dem Öffnen so lange offen hält, bis die Haken die aufzunehmenden Maschen durchstochen haben.
  • Die Erfindung ist nicht auf das beschriebene Ausführungsbeispiel beschränkt, das auf vielfache Weise abgewandelt werden kann. Anstelle der in Fig. 7 dargestellten Schloßanordnung, die auf beiden Nadelbetten symmetrisch ausgebildet ist und für jedes Schloß eine Übertragung der Maschen vom vorderen Nadelbett zum hinteren Nadelbett und umgekehrt vorsieht, braucht beispielsweise nur jedes zweite der hintereinander herlaufenden Schlösser mit den die Übertragung steuernden Schloßteilen versehen werden, wenn eine Maschen-Übertragung nur an jedem zweiten System erforderlich ist. Dabei können die Schloßteile 55,56,57 und 59 und insbesondere die zwischen diesen gebildeten Kanäle in jeder beliebigen, für den Übertragungsvorgang jeweils günstigsten Form ausgebildet und beispielsweise gekrümmt statt gerade sein. Weiterhin könnten die aufnehmenden Nadeln beim Übertragungsvorgang auf andere Weise, z.B. durch schaltbare Schlösser, in die zur Maschenübernahme benötigte Stellung ausgetrieben werden. Dadurch könnte dann eine Selektionsstufe, nämlich die Stufe 18, entfallen, so daß die Mustervorrichtung eine Auswahl nur zwischen "Stricken" und "Nichtstricken" treffen müßte. Weiterhin brauchen nur diejenigen Stricknadeln 2, die tatsächlich Maschen übertragen sollen, mit einer Spreizfeder 34 versehen sein. Anstelle der zur Steuerung der Gleitstücke 41 und der Übertragungsteile 59 vorgesehenen Elemente können andere Elemente vorgesehen sein, und auch die Lage und Anordnung dieser Elemente an der Strickmaschine könnte anders gewählt sein. Beispielsweise ist es für die beschriebene Funktion gleichgültig, ob die Rückstellkurven 76,79 unmittelbar am hinteren Ende der Nadelbetten oder am Anfang derselben kurz vor den Steuerkurven 74,75 oder irgendwo zwischen diesen beiden Positionen angeordnet sind. Entsprechend könnten die Steuerkurven und Hubmagnete des Schaltmechanismus an einer anderen Stelle angeordnet und durch andere Schaltelemente ersetzt sein. Bei dem anhand Fig. 3 bis 8 beschriebenen Austrieb und Abzug der Stricknadeln 2 ist es ferner möglich, die Füße 16 der Stößer 15 ganz wegzulassen, da diese weder beim Austrieb noch beim Abzug der Stricknadeln benötigt werden. Sie bringen jedoch den besonderen Vorteil mit sich, daß ein Abzug der Stricknadeln selbst dann möglich ist, wenn ein Strickfuß defekt oder gebrochen ist. In diesem Fall sorgen nämlich die Füße 12 der Antriebselemente 6 dafür, daß diejenigen Stricknadeln, deren Strickfüße 25 gebrochen sind und die daher nicht durch das Abzugsteil 60 abgezogen werden, durch Einwirkung der Füße 12 auf die Füße 16 der Stößer 15 in die Nichtstrickstellung abgezogen werden. Weiterhin ist es möglich, alle ausgetriebenen Stößer 15 und die mit ihnen gekoppelten Stricknadeln 2 auf an sich bekannte Weise im wesentlichen vollständig mit Hilfe der Antriebselemente 6 abzuziehen (DE-OS 25 31 705) und nur den letzten, die Maschenlänge festlegenden Teil des Abzugshubs mittels eines Abzugsteils zu steuern, wenn ein vollständiger Abzug durch die Abzugsteile 60 nicht erforderlich ist. Schließlich könnten die Stößer 15 durch entsprechende, biegbare Nadelabschnitte ersetzt, die Stufen 18 bis 20 am Fuß 12 anstatt am Stößer 15 ausgebildet, die starr an den Austriebselementen angebrachten Verbindungsstege 9 durch schwenkbare Koppelelemente ersetzt und andere an sich bekannte Mustervorrichtungen (DE-OS 25 31 705) vorgesehen sein.

Claims (12)

1) Strickmaschine mit zwei Nadelbetten, in denen Maschen bildende Strickwerkzeuge austreibbar und abziehbar gelagert sind, mit exzentrischen, auf einer drehbaren Antriebswelle mit Winkelversatz angeordneten Kurvenscheiben zum Austreiben der Strickwerkzeuge und mit einer Mustervorrichtung zum mustergemäßen Koppeln und Entkoppeln der Strickwerkzeuge und der Kurvenscheiben derart, daß nur gekoppelte Strickwerkzeuge von den Kurvenscheiben austreibbar sind, gekennzeichnet durch eine zum Übertragen von auf Strickwerkzeugen wenigstens eines Nadelbetts gebildeten Maschen auf zugeordnete Strickwerkzeuge des anderen Nadelbetts bestimmte Ubertragungsvorrichtung, von der die mittels der Mustervorrichtung hergestellte Kopplung zwischen den Kurvenscheiben und den Strickwerkzeugen derart beeinflußbar ist, daß die Strickwerkzeuge durch die Kurvenscheiben wahlweise in eine Strickstellung oder in eine Ubertragungsstellung austreibbar sind.
2) Strickmaschine nach Anspruch 1, dadurch gekennzeichnet, daß jedem Strickwerkzeug (2) ein mit der zugehörigen Kurvenscheibe (5) koppelbarer Stößer (15) zugeordnet ist.
3) Strickmaschine nach Anspruch 2, dadurch gekennzeichnet, daß jeder Kurvenscheibe (5) ein Antriebselement (6) und jedem Antriebselement (6) ein Koppelelement (9) zugeordnet ist, das mittels der Mustervorrichtung (21,22) in wenigstens eine den Stößer (15) mit dem Antriebselement (6) koppelnde Koppelstellung und eine Entkoppelstellung steuerbar ist.
4) Strickmaschine nach Anspruch 3, dadurch gekennzeichnet, daß der Stößer (15) wenigstens zwei Stufen (19,20) aufweist, wobei die eine Stufe (18) zum Austreiben der Strickwerkzeuge in eine Fang- oder Strickstellung bestimmt und dazu in einer ersten Stellung des Stößers (15) sowie in der Koppelstellung des Koppelelements (9) mit dem Antriebselement (6) verbunden ist, und daß die Übertragungsvorrichtung wenigstens ein mit Strickgeschwindigkeit an einem Nadelbett entlangbewegbares und derart auf die Stößer (15) einwirkendes Gleitstück (41) aufweist, daß diese eine zweite Stellung einnehmen und dadurch bei in der Koppelstellung befindlichem Koppelelement (9) die andere Stufe zum Austreiben der Strickwerkzeuge in eine Übertragungsstellung bestimmte Stufe (20) mit dem Antriebselement (6) gekoppelt wird.
5) Strickmaschine nach Anspruch 4, dadurch gekennzeichnet, daß das Gleitstück (41) in eine auf die Stößer (15) einwirkende Arbeitsstellung einschaltbar und in eine die Stößer (15) unbeeinflußt lassende Außerarbeitsstellung ausschaltbar ist.
6) Strickmaschine nach einem der Ansprüche 1 bis 5, dadurch gekennzeichnet, daß zum Abzug der Strickwerkzeuge (2) allein entlang der Nadelbetten bewegbare Abzugsteile (57,59,60) vorgesehen sind.
7) Strickmaschine nach Anspruch 6, dadurch gekennzeichnet, daß die Abzugsteile (57,59,60) und/oder Gleitstücke (41) an parallel geführten, je einem Nadelbett zugeordneten Schloßplatten (26) montiert sind.
8) Strickmaschine nach Anspruch 7, dadurch gekennzeichnet, daß die dem Nadelbett mit den aufnehmenden Strickwerkzeugen zugeordnete Schloßplatte (53) wenigstens ein in eine die Strickwerkzeuge beeinflussende Arbeitsstellung und in eine die Strickwerkzeuge nicht beeinflussende Außerarbeitsstellung schaltbares Übertragungsteil (59) zum vorzeitigen Abziehen der Strickwerkzeuge aus einer die Maschen übernehmenden Stellung in eine Nichtstrickstellung aufweist.
9) Strickmaschine nach wenigstens einem der Ansprüche 5 bis 8, dadurch gekennzeichnet, daß die Übertragungsvorrichtung einen Schaltmechanismus zum Ein- und Ausschalten der Gleitstücke (41) und/oder der Übertragungsteile (59) aufweist.
10) Strickmaschine nach wenigstens einem der Ansprüche 5 bis 9, dadurch gekennzeichnet, daß die Gleitstücke (41) und/oder Übertragungsteile (59) schwenkbar an den Schloßplatten (26) gelagert sind und der Schaltmechanismus zum Verschwenken der Gleitstücke (41) und/oder Übertragungsteile (59) bestimmte Steuer- und Rückstellkurven (74,75, 76,79) aufweist.
11) Strickmaschine nach Anspruch 10, dadurch gekennzeichnet, daß wenigstens die Steuerkurven (74,75) schaltbar sind.
12) Strickmaschine nach wenigstens einem der Ansprüche 1 bis 11, dadurch gekennzeichnet, daß zum Zurückschwenken der Stößer (15) nach dem Vorbeigang der Gleitstücke (41) ein zusätzliches, an der Schloßplatte (26) angebrachtes Entkoppelungselement (47) vorgesehen ist.
EP83106322A 1982-07-07 1983-06-29 Strickmaschine Expired EP0098516B1 (de)

Applications Claiming Priority (2)

Application Number Priority Date Filing Date Title
DE3225345 1982-07-07
DE19823225345 DE3225345A1 (de) 1982-07-07 1982-07-07 Strickmaschine

Publications (3)

Publication Number Publication Date
EP0098516A2 true EP0098516A2 (de) 1984-01-18
EP0098516A3 EP0098516A3 (en) 1985-01-30
EP0098516B1 EP0098516B1 (de) 1987-04-22

Family

ID=6167824

Family Applications (1)

Application Number Title Priority Date Filing Date
EP83106322A Expired EP0098516B1 (de) 1982-07-07 1983-06-29 Strickmaschine

Country Status (6)

Country Link
US (1) US4539826A (de)
EP (1) EP0098516B1 (de)
JP (1) JPS5921759A (de)
DD (1) DD210085A5 (de)
DE (1) DE3225345A1 (de)
ES (1) ES524230A0 (de)

Families Citing this family (3)

* Cited by examiner, † Cited by third party
Publication number Priority date Publication date Assignee Title
JPS62162055A (ja) * 1985-12-28 1987-07-17 株式会社 松谷鉄工 横編機用選針装置
DE59403821D1 (de) * 1993-03-16 1997-10-02 Stoll & Co H Verfahren zur Bildung eines Fadensicherungsknotens auf einer Flachstrickmaschine, Gestrick mit einem Fadensicherungsknoten und Verwendung einer Flachstrickmaschine zur Herstellung des Knotens
US6158250A (en) * 2000-02-14 2000-12-12 Novacept Flat-bed knitting machine and method of knitting

Family Cites Families (19)

* Cited by examiner, † Cited by third party
Publication number Priority date Publication date Assignee Title
CH142122A (de) * 1930-01-10 1930-09-15 Kuehling Fritz Flachstrickmaschine.
DE1296733B (de) * 1963-02-15 1969-06-04 Schieber Universal Maschf Strickmaschine, insbesondere Flachstrickmaschine
DE1585308A1 (de) * 1966-12-07 1971-01-28 Hans Ruck Flachstrickmaschine ohne Schlitten
GB1339355A (en) * 1971-06-23 1973-12-05 Stibbe Monk Development Ltd V-bed knitting machines
CH569118A5 (de) * 1973-07-13 1975-11-14 Dubied & Cie Sa E
IT1027577B (it) * 1974-10-01 1978-12-20 Dini Mamiliano Macchina tessile poligonale ad aghi indipendenti
DE2531734C2 (de) * 1975-07-16 1983-12-22 Sulzer Morat Gmbh, 7024 Filderstadt Fadenführung an maschenbildenden Maschinen mit umlaufenden Fadenführern
DE2531705C2 (de) * 1975-07-16 1984-07-05 Sulzer Morat Gmbh, 7024 Filderstadt Strickmaschine
DE2531762C2 (de) * 1975-07-16 1984-10-18 Sulzer Morat Gmbh, 7026 Bonlanden Maschenbildende Maschine
US4127012A (en) * 1975-07-16 1978-11-28 Manfred Schmid Stitch selector control means
US4103517A (en) * 1975-07-16 1978-08-01 Manfred Schmid Straight knitting machine
DD125826A1 (de) * 1976-05-18 1977-05-18
DE2701652C2 (de) * 1977-01-17 1986-02-27 Sulzer Morat Gmbh, 7024 Filderstadt Vorrichtung an einer Strick-, Wirk- oder Webmaschine zum Zuführen von fadenförmigen Materialien
FR2395342A1 (fr) * 1977-06-20 1979-01-19 Superba Sa Metier a tricoter pour report de mailles
DE2907008C2 (de) * 1979-02-23 1987-04-02 Sulzer Morat Gmbh, 7024 Filderstadt Steuermagnetsystem
DD145117A1 (de) * 1979-07-26 1980-11-19 Gunter Beyer Strickmaschine,insbesondere flachs rickmaschine
JPS6410617B2 (de) * 1979-10-01 1989-02-22 Bentorei Aremania Ltd
DE3003811A1 (de) * 1980-02-02 1981-08-13 Sulzer Morat Gmbh, 7024 Filderstadt Strickmaschine
DE3138337A1 (de) * 1981-09-26 1983-04-07 Sulzer Morat Gmbh, 7024 Filderstadt Strickmaschine

Also Published As

Publication number Publication date
US4539826A (en) 1985-09-10
DD210085A5 (de) 1984-05-30
JPS5921759A (ja) 1984-02-03
EP0098516A3 (en) 1985-01-30
ES8404718A1 (es) 1984-05-01
EP0098516B1 (de) 1987-04-22
DE3225345A1 (de) 1984-01-12
DE3225345C2 (de) 1991-03-14
ES524230A0 (es) 1984-05-01

Similar Documents

Publication Publication Date Title
DE2842054C2 (de)
DE3313554C2 (de)
DE4007253C2 (de)
DE3050591C2 (de) Flachstrickmaschine mit einstelbarer Maschendichte
EP0302286B1 (de) Rundstrickmaschine mit Schiebernadeln
EP0531789B1 (de) Rundstrickmaschine zur Herstellung von Plüschwaren
EP0224031B1 (de) Flachstrickmaschine mit Nadelauswahleinrichtung
DE3433628A1 (de) Schlosssystem fuer flachstrickmaschinen und verfahren zum kombinierten bilden und umhaengen von maschen an flachstrickmaschinen
CH659835A5 (de) Flachstrickmaschine mit nadelauswahleinrichtung.
DE2531762C2 (de) Maschenbildende Maschine
WO2010066219A9 (de) Strickmaschine zur herstellung von mit mustern versehenen strickwaren und dafür bestimmtes nadelbett
EP1649092B1 (de) Maschenbildungsanordnung für eine strick- oder kettenwirkmaschine zum maschinellen maschenbilden
DE10321737A1 (de) Strickmaschine, insbesondere Rundstrickmaschine, und dafür geeignete Steuerplatine
DE3225345C2 (de)
DE3033102C2 (de)
DE2531705C2 (de) Strickmaschine
DE3406870A1 (de) Flachstrickmaschine mit elektromechanischer auswahl
DE3928986C2 (de) Strickmaschine
EP4019680A1 (de) Stricksystem für eine flachstrick- oder wirkmaschine
DE3507004C2 (de)
DE3537679A1 (de) Auswahlvorrichtung fuer rundstrickmaschine
DE3803091A1 (de) Waehl- und steuervorrichtung zum fadenwechsel bei wirkmaschinen
EP0033837A1 (de) Strickmaschine
CH465117A (de) Verfahren und Vorrichtung zur Herstellung eines Gestrickes oder Gewirkes auf einer Flachstrickmaschine
DE3249754C2 (de) Vorrichtung zur Selektierung von Stricknadeln bei einer nach der Drei-Weg-Technik arbeitenden, mehrsystemigen Strickmaschine

Legal Events

Date Code Title Description
PUAI Public reference made under article 153(3) epc to a published international application that has entered the european phase

Free format text: ORIGINAL CODE: 0009012

AK Designated contracting states

Designated state(s): CH FR GB IT LI

PUAL Search report despatched

Free format text: ORIGINAL CODE: 0009013

AK Designated contracting states

Designated state(s): CH FR GB IT LI

17P Request for examination filed

Effective date: 19850710

17Q First examination report despatched

Effective date: 19860418

ITF It: translation for a ep patent filed
GRAA (expected) grant

Free format text: ORIGINAL CODE: 0009210

AK Designated contracting states

Kind code of ref document: B1

Designated state(s): CH FR GB IT LI

ET Fr: translation filed
PLBE No opposition filed within time limit

Free format text: ORIGINAL CODE: 0009261

STAA Information on the status of an ep patent application or granted ep patent

Free format text: STATUS: NO OPPOSITION FILED WITHIN TIME LIMIT

26N No opposition filed
PG25 Lapsed in a contracting state [announced via postgrant information from national office to epo]

Ref country code: GB

Effective date: 19880629

PG25 Lapsed in a contracting state [announced via postgrant information from national office to epo]

Ref country code: CH

Effective date: 19880630

Ref country code: LI

Effective date: 19880630

GBPC Gb: european patent ceased through non-payment of renewal fee
PG25 Lapsed in a contracting state [announced via postgrant information from national office to epo]

Ref country code: FR

Free format text: LAPSE BECAUSE OF NON-PAYMENT OF DUE FEES

Effective date: 19890228

REG Reference to a national code

Ref country code: CH

Ref legal event code: PL

REG Reference to a national code

Ref country code: FR

Ref legal event code: ST