EP0050293A2 - Vorrichtung zur variablen Verstärkung der elastischen Abstützkräfte in beliebigen Partialbereichen eines Liegemöbel-Lattenrosts - Google Patents

Vorrichtung zur variablen Verstärkung der elastischen Abstützkräfte in beliebigen Partialbereichen eines Liegemöbel-Lattenrosts Download PDF

Info

Publication number
EP0050293A2
EP0050293A2 EP81108226A EP81108226A EP0050293A2 EP 0050293 A2 EP0050293 A2 EP 0050293A2 EP 81108226 A EP81108226 A EP 81108226A EP 81108226 A EP81108226 A EP 81108226A EP 0050293 A2 EP0050293 A2 EP 0050293A2
Authority
EP
European Patent Office
Prior art keywords
spring
slats
female connectors
elastic
load
Prior art date
Legal status (The legal status is an assumption and is not a legal conclusion. Google has not performed a legal analysis and makes no representation as to the accuracy of the status listed.)
Granted
Application number
EP81108226A
Other languages
English (en)
French (fr)
Other versions
EP0050293A3 (en
EP0050293B1 (de
Inventor
Hugo Degen
Current Assignee (The listed assignees may be inaccurate. Google has not performed a legal analysis and makes no representation or warranty as to the accuracy of the list.)
Marpal AG
Original Assignee
Marpal AG
Priority date (The priority date is an assumption and is not a legal conclusion. Google has not performed a legal analysis and makes no representation as to the accuracy of the date listed.)
Filing date
Publication date
Family has litigation
First worldwide family litigation filed litigation Critical https://patents.darts-ip.com/?family=4331362&utm_source=google_patent&utm_medium=platform_link&utm_campaign=public_patent_search&patent=EP0050293(A2) "Global patent litigation dataset” by Darts-ip is licensed under a Creative Commons Attribution 4.0 International License.
Application filed by Marpal AG filed Critical Marpal AG
Publication of EP0050293A2 publication Critical patent/EP0050293A2/de
Publication of EP0050293A3 publication Critical patent/EP0050293A3/de
Application granted granted Critical
Publication of EP0050293B1 publication Critical patent/EP0050293B1/de
Expired legal-status Critical Current

Links

Images

Classifications

    • AHUMAN NECESSITIES
    • A47FURNITURE; DOMESTIC ARTICLES OR APPLIANCES; COFFEE MILLS; SPICE MILLS; SUCTION CLEANERS IN GENERAL
    • A47CCHAIRS; SOFAS; BEDS
    • A47C23/00Spring mattresses with rigid frame or forming part of the bedstead, e.g. box springs; Divan bases; Slatted bed bases
    • A47C23/06Spring mattresses with rigid frame or forming part of the bedstead, e.g. box springs; Divan bases; Slatted bed bases using wooden springs, e.g. of slat type ; Slatted bed bases
    • A47C23/062Slat supports
    • A47C23/068Slat supports with additional supports between the ends of the slats

Definitions

  • the present invention relates to a device for variable reinforcement of the elastic support forces in any partial areas of reclining furniture with spring bars arranged transversely to the reclining furniture axis, for the purpose of improving the load-bearing behavior while simultaneously reducing the space between the female and male bars in the areas of greatest load.
  • the known reclining furniture provided with transverse spring slats which are also referred to as LSUtlicbuch, have an elastically deformable lying surface that bends depending on the local load and intercepts the load with a corresponding support force opposing the load.
  • This elastic reactivity of the bed surface which is sometimes also referred to as spring hardness, is now the same size in the known bed furniture over the entire bed surface, although the load on the bed surface is undoubtedly very different locally.
  • the greatest load generally occurs in the central area of the lying surface, ie at the support points of the buttocks and hips, while the end areas support the head and feet are hardly subject to noteworthy loads.
  • people can change their body weight considerably over time and that the load conditions of a bed are subject to considerable fluctuations, for example after an emaciation regimen or during pregnancy.
  • the object of the present invention to provide a device for zone reinforcement on reclining furniture with spring slats, which allows any zones of the lying surface, but in particular the most stressed middle zone, to be varied at will with regard to their elastic supporting force, in order to thus prevail To be able to adapt stress conditions in the sense of physiologically correct lying.
  • the device should not require any damage to the adjacent female connectors for its attachment and, moreover, should bring the additional advantage that it contributes to the protection of the top mattress and its better carrying behavior.
  • Fig. 1 shows a slatted frame designated in its entirety with 1, which is composed of two longitudinal frames 2 and a number of transverse spring slats 3.
  • the female connectors 3 are designed in a known manner as multi-layer wooden springs and are based on rubber-elastic support bodies 4, which are anchored to the inner surfaces of the longitudinal frames 2. On each pair of these support bodies 4, as the figure shows, there are two spring strips 3 which are arranged at a mutual distance and are thus assigned to the support bodies in pairs. Details . this construction results from the CH patent application No. 12002/77.
  • a known central belt M is arranged in the central region of the slatted frame.
  • the mutually adjacent pairs of female connectors 3 are at a mutual distance a.
  • This distance must be chosen to be relatively large for wooden spring gratings, because if the pitch is too narrow, the spring hardness would be exceptionally high.
  • the waiter, not shown mattress is pressed with its underside into the space between adjacent pairs of female connectors and there is prematurely worn or damaged under the influence of sleep movements. Correcting this deficiency is one of the objects that the present invention is intended to solve.
  • this device comprises two rubber-elastic coupling members 5 and an additional spring slat Z.
  • the coupling member 5 is a profile body which has two longitudinal strips 6/7, which are connected to one another by transverse webs 8, 9. In this way, there is a through opening 10 in the central region and an open recess 11/12 at each of the two ends.
  • the height h of these recesses corresponds approximately to the thickness of the wooden spring slats 3 (FIG. 3), so that the coupling element 5 can be arranged like a bridge between two pairs of wooden spring strips 3 and secured with the recesses 11, 12 on the adjacent wooden spring strips.
  • the two retaining lips 13 and 14 delimiting the recesses are of different lengths (compare length difference d in FIG.
  • the recess can be installed 11 over a wooden female connector and then snap the coupling element from above with the shorter lip 14 over the other wooden female connector.
  • the coupling element which should consist of a tough, rubber-elastic material with high flexural strength, is thus securely anchored in the space between two pairs of wooden slats.
  • the through opening 10 is dimensioned such that the additional spring slat designated Z in FIG. 1 can just be inserted through the opening and is then held firmly in the same.
  • the inner walls of the through opening 10 are preferably narrowed slightly on one side or on both sides, as is shown in particular in FIG. 4.
  • the webs 8 and 9 are slightly cambered on the contact surfaces F on the additional spring slat Z in the exemplary embodiment.
  • the device will accordingly be fitted with any number of additional spring slats Z in the area of the heaviest load and its elastic behavior can be adapted to individual needs by regulating the distance c. Since the additional spring slats Z are anchored to the spring strips 3 via the coupling members 5, the suspension properties of the latter will also change.
  • the entire support area B (FIG. 1) can thus be "hardened", while individual areas within this area can either be made particularly hard or more resilient.
  • rubber-elastic used in the present context is to be understood to include all materials, in particular also plastics, which can be compared to rubber on account of their elasticity behavior.
  • the rubber elasticity based on the material itself is therefore the formula elasticity, e.g. a coil spring, opposite.

Landscapes

  • Mattresses And Other Support Structures For Chairs And Beds (AREA)
  • Springs (AREA)

Abstract

Im Zwischenraum zwischen zwei benachbarten Federlatten (3) eines Liegemöbels werden zwei gummielastische Kupplungsorgane (5) so verankert, daß dieselben die Federleisten (3) mit ihren Haltelippen (13, 14) übergreifen. Eine Zusatzfederlatte (Z) läßt sich durch die Durchgangsöffnungen (10) der Kupplungsorgane hindurchschieben. Die Vorrichtung gestattet die gezielte Anpassung des
elastischen Stützdruckes (Federhärte) an Stellen besonderer Belastung, insbesondere im Gesäß- und Lendenbereich, und trägt zur Schonung der Obermatraze bei.

Description

  • Die vorliegende Erfindung betrifft eine Vorrichtung zur variablen Verstärkung der elastischen Abstützkräfte in beliebigen Partialbereichen von Liegemöbeln mit quer zur Liegemöbelachse angeordneten Federlelsten, zwecks Verbesserung des Tragverhaltens unter gleichzeitiger Verringerung des Federleisten-Zwischenraumes im Bereiche grösster Belastung.
  • Die bekannten, mit quer verlaufenden Federleisten versehenen Liegemöbel, welche auch als Lättlicbuch bezeichnet werden, weisen eine elastisch verformbare Liegefläche auf, die sich je nach der lokalen Belastung durchbiegt und die Belastung mit einer entsprechenden, der Belastung entgegengerichteten Abstützkraft abfängt. Diese elastische Reaktionsfähigkeit der'Liegefläche, die zuweilen auch als Federhärte bezeichnet wird, ist nun bei den bekannten Liegemöbeln auf der gesamten Liegefläche gleich gross, obwohl die Belastung der Liegefläche zweifellos lokal sehr unterschiedlich ist. So muss einerseits berücksichtigt werden, dass die grösste Belastung im allgemeinen etwa im Mittelbereich der Liegefläche, d.h. an den Abstützstellen von Gesäss und Hüfte, auftritt, während die Endbereiche zur Abstützung von Kopf und Füssen kaum nennenswerten Belastungen unterworfen sind. Hinzu kommt, dass der Mensch im Laufe der Zeit sein Körpergewicht ganz erheblich zu verändern vermag und dass die Belastungsverhältnisse eines Bettes beispielsweise nach einer Abmagerungskur oder während einer Schwangerschaft beträchtlichen Schwankungen unterworfen sind.
  • Es ist somit die Aufgabe der vorliegenden Erfindung, eine Vorrichtung zur Zonenverstärkung an Liegemöbeln mit Federleisten zu schaffen, die es gestattet, beliebige Zonen der Liegefläche, insbesondere aber die meistbelastete Mittelzone, nach Belieben bezüglich ihrer elastischen Abstützkraft zu variieren, um sie somit den gerade herrschenden Belastungsverhältnissen im Sinne physiologisch richtigen Liegens anpassen zu können. Die Vorrichtung soll ferner zu ihrer Befestigung keinerlei Beschädigung der angrenzenden Federleisten erfordern und im übrigen' den zusätzlichen Vorteil mit sich bringen, dass sie zur' Schonung der Obermatratze und deren besserem Tragverhalten beiträgt.
  • Diese Aufgabe wird dank der im unabhängigen Anspruch 1 definierten Merkmalskombination gelöst. Ausführungsvarianten des Erfindungsgegenstandes sind in den abhängigen Ansprüchen definiert.
  • Nachstehend wird anhand der beiliegenden Zeichnung ein Ausführungsbeispiel des Erfindungsgegenstandes beschrieben.
    • Fig. 1 ist eine Draufsicht auf einen für ein Liegemöbel bestimmten Lattenrost,
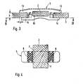
    • Fig. 2 ist eine Perspektivansicht eines der elastischen Kupplungsorgane,
    • Fig. 3 zeigt das montierte Kupplungsorgan in Seitenansicht und
    • Fig. 4 ist ein Schnitt längs der Linie IV-IV aus Fig. 3.
  • Fig. 1 zeigt einen in seiner Gesamtheit mit 1 bezeichneten Lattenrost, welcher sich aus zwei Längszargen 2 und einer Anzahl quer verlaufender Federleisten 3 zusammensetzt. Die Federleisten 3 sind in bekannter Weise als mehrschichtige Holzfedern ausgebildet und stützen sich auf gummielastische Stützkörper 4, die an den Innenflächen der Längszargen 2 verankert sind. Auf je einem Paar dieser Stützkörper 4 ruhen, wie die Figur zeigt, zwei in gegenseitigem Abstand angeordnete Federleisten 3, die somit paarweise den Stützkörpern zugeordnet sind. Einzelheiten . dieser Konstruktion ergeben sich aus dem CH-Patentgesuch Nr. 12002/77.
  • Ein bekannter Mittelgurt M ist im Mittelbereich des Lattenrostes angeordnet.
  • Die einander benachbarten Federleistenpaare 3 befinden sich in gegenseitigem Abstand a. Dieser Abstand muss bei Holzfederrosten relativ gross gewählt werden, da sich bei zu enger Teilung eine aussergewöhnlich hohe Federhärte ergäbe. Aufgrund des grossen Abstandes a besteht jedoch das Risiko, dass die nicht dargestellte Obermatratze mit ihrer Unterseite in den Zwischenraum zwischen einander benachbarten Federleistenpaaren eingedrückt wird und dort unter dem Einfluss der Schlafbewegungen frühzeitig abgenutzt bzw. beschädigt wird. Die Behebung dieses Mangels ist eine der Aufgaben, die durch die vorliegende Erfindung gelöst werden sollen.
  • In einem mit B bezeichneten Belastungsbereich des Lattenrostes, in welchem erfahrungsgemäss die grössten statischen und dynamischen Belastungen auftreten, sind in den Zwischenräumen zweier benachbarter Federleistenpaare 3 Vorrichtungen angeordnet, welche es nicht nur gestatten, diese Zwischenräume unter weitgehender Schonung der Obermatratze zu überbrücken, sondern die eine gezielte, in bezug auf lokale Verteilung und Intensität der Federhärte variable Anpassung der elastischen Abstützbedingungen an bestimmte Bedarfsfälle zulassen. Diese Vorrichtung umfasst in jedem der genannten Zwischenräume zwei gummielastische Kupplungsorgane 5 sowie eine Zusatzfederlatte Z.
  • Wie Fig. 2 zeigt, ist das Kupplungsorgan 5 ein Profilkörper, welcher zwei Längsleisten 6/7 aufweist, die durch Querstege 8, 9 miteinander verbunden sind. Auf diese Weise ergibt sich im Mittelbereich eine Durchgangsöffnung 10 und an den beiden Enden je eine offene Ausnehmung 11/12. Die Höhe h dieser Ausnehmungen entspricht in etwa der Dicke der Holzfederlatten 3 (Fig. 3), so dass sich das Kupplungsorgan 5 nach Art einer Brücke zwischen zwei Holzfederleistenpaaren 3 anordnen und mit den Ausnehmungen 11, 12 an den angrenzenden Holzfederleisten sichern lässt. Im Hinblick auf eine einfache Handhabung beim Ein- und Ausbau sind die beiden die Ausnehmungen begrenzenden Haltelippen 13 und 14 (Fig. 3) von unterschiedlicher Länge (vergleiche Längendifferenz d in Fig. 3), in jedem Falle aber kürzer als die Gesamtbreite einer Federleiste 3. Bei der Montage kann man somit beispielsweise die Ausnehmung 11 über eine Holzfederleiste stecken und das Kupplungsorgan dann von oben her mit der kürzeren Lippe 14 über die andere Holzfederleiste schnappen lassen. Das Kupplungsorgan, das aus einem zähen, gummielastischen Werkstoff hoher Biegefestigkeit bestehen sollte, ist damit sicher im Zwischenraum zwischen zwei Holzfederleistenpaaren verankert.
  • Die Durchgangsöffnung 10 ist so bemessen, dass sich die in Fig. 1 mit Z bezeichnete Zusatzfederlatte knapp durch die Oeffnung hindurchstecken lässt und dann satt in derselben gehalten-ist. Vorzugsweise sind die Innenwände der Durchgangsöffnung 10 nach einer Seite oder nach beiden Seiten leicht verengt, wie dies insbesondere Fig. 4 zeigt. Die Stege 8 und 9 sind bei dem Ausführungsbeispiel an den Anlageflächen F an der Zusatzfederlatte Z leicht bombiert.
  • Bei der Anordnung nach Fig. l sind vier Zusatzfederlatten Z mittels vier Paaren von Kupplungsorganen 5 vorgesehen. Der gegenseitige Abstand c der Kupplungsorgane 5 lässt sich leicht variieren, was ebenfalls einen Einfluss auf das elastische Abstützverhalten der betreffenden Zusatzfederleiste Z ausübt.
  • In der praktischen Anwendung der beschriebenen Vorrichtung wird man demgemäss in dem Bereich stärkster Belastung eine beliebige Anzahl von Zusatzfederlatten Z anbringen und deren elastisches Verhalten durch Regulie-ren des Abstandes c,den individuellen Bedürfnissen anpassen. Da die Zusatzfederlatten Z über die Kupplungsorgane 5 an den Federleisten 3 verankert sind, werden sich auch die Federungseigenschaften der letzteren verändern. Somit lässt sich der gesamte Abstützbereich B (Fig. 1) "verhär- - ten", während innerhalb dieses Bereiches wiederum einzelne Stellen entweder besonders hart oder nachgiebiger gestaltet werden können.
  • Gerade in diesem Belastungsbereich B ist es auch besonders wichtig, dass die Obermatratze nicht in die Zwischenräume zwischen zwei Federleistenpaaren 3 gepresst und dort beschädigt werden kann. Dies wird durch die Anordnung der Zusatzfederlatten wirksam verhindert. Eine auf der Oberfläche der Kupplungsorgane 5 angeordnete Profilierung P (Fig. 2) verhindert das unerwünschte Verrutschen der Obermatratze sowie die Ansammlung von Feuchtigkeit.
  • Der im vorliegenden Zusammenhang verwendete Ausdruck "gummielastisch" ist so zu verstehen, dass er sämtliche Materialien, insbesondere auch Kunststoffe umfasst, die sich aufgrund ihres Elastizitätsverhaltens mit dem Gummi vergleichen lassen. Der auf dem Werkstoff selbst beruhenden Gummielastizität steht somit die Formelastizität, z.B. einer Schraubenfeder, gegenüber.

Claims (5)

1. Vorrichtung zur variablen Verstärkung der elastischen Abstützkräfte in beliebigen Partialbereichen von Liegemöbeln mit quer zur Liegemöbelachse angeordneten Federleisten, zwecks Verbesserung des Tragverhaltens unter gleichzeitiger Verringerung des Federleisten-Zwischenraumes im Bereiche grösster Belastung, dadurch gekennzeichnet, dass im Zwischenraum zwischen zwei einander benachbarten Federleisten (3) mindestens zwei quer zu . den Federleisten (3) orientierte, aus einem gummielastischen Werkstoff bestehende Kupplungsorgane (5) angeordnet sind, welche an ihren den Federleisten (3) zugewandten Enden mit Mitteln (13, 14) zur beschädigungsfreien und lösbaren Verankerung an den Federeisten (3) versehen sind und ferner.in ihrem Mittelbereich eine Durchgangsöffnung (10) zur Aufnahme einer Zusatzfederleiste (6) aufweisen.
2. Vorrichtung nach Anspruch 1, dadurch gekennzeichnet, dass jedes Kupplungselement (5) an jedem seiner Endabschnitte zwei frei auskragende Haltestege (13, 14) aufweist, deren gegenseitiger Abstand (h) der Federleistendicke entspricht und deren Länge kleiner als die Breite der Federleisten (3) ist.
3. Vorrichtung nach Anspruch 2, dadurch gekennzeichnet, dass die beiden an jedem Endabschnitt jedes Kupplungselementes (5) angeordneten Haltestege (13, 14) in bezug auf deren Montage unterschiedliche Länge aufweisen.
4. Vorrichtung nach einem der Ansprüche 1 bis 3, dadurch gekennzeichnet, dass die genannte Durchgangsöffnung (10) zwecks Halterung der Zusatzfederleiste (6) einen sich nach einer Seite oder nach zwei Seiten hin leicht verengenden Querschnitt besitzt.
5. Vorrichtung nach einem der Ansprüche 1 bis 4, dadurch gekennzeichnet, dass die der Obermatratze zugewandte Fläche der Kupplungsorgane mit einer Profilierung (P) versehen ist, um das unerwünschte Verrutschen der Obermatratze sowie die Ansammlung von Feuchtigkeit zu verhindern.
EP19810108226 1980-10-21 1981-10-12 Vorrichtung zur variablen Verstärkung der elastischen Abstützkräfte in beliebigen Partialbereichen eines Liegemöbel-Lattenrosts Expired EP0050293B1 (de)

Applications Claiming Priority (2)

Application Number Priority Date Filing Date Title
CH7850/80 1980-10-21
CH785080 1980-10-21

Publications (3)

Publication Number Publication Date
EP0050293A2 true EP0050293A2 (de) 1982-04-28
EP0050293A3 EP0050293A3 (en) 1982-10-27
EP0050293B1 EP0050293B1 (de) 1985-04-24

Family

ID=4331362

Family Applications (1)

Application Number Title Priority Date Filing Date
EP19810108226 Expired EP0050293B1 (de) 1980-10-21 1981-10-12 Vorrichtung zur variablen Verstärkung der elastischen Abstützkräfte in beliebigen Partialbereichen eines Liegemöbel-Lattenrosts

Country Status (3)

Country Link
EP (1) EP0050293B1 (de)
AT (1) AT368854B (de)
DE (2) DE3170159D1 (de)

Cited By (11)

* Cited by examiner, † Cited by third party
Publication number Priority date Publication date Assignee Title
US4573226A (en) * 1983-02-02 1986-03-04 Franz Wittmann Insert for a piece of lounging furniture
AT381851B (de) * 1983-12-16 1986-12-10 Gerfried Schwanner Lattenrost fuer betten od. dgl.
EP0274371A1 (de) * 1986-12-29 1988-07-13 Lucien Watteau Rollbarer Lattenrost mit veränderbarer Breite und mit elastischen, gegliederten, schiebbaren, unabhängigen, selbsttragenden und anhaftenden Lagerkörpern
EP0344105A1 (de) * 1988-05-19 1989-11-29 Matra AG Lattenrost für Liegemöbel
EP0424646A1 (de) * 1989-10-25 1991-05-02 Klute Gmbh Lattenrost
FR2666973A1 (fr) * 1990-09-21 1992-03-27 Delahousse Bruant Curseur variateur de tension pour sommier a lattes.
FR2688393A1 (fr) * 1992-03-11 1993-09-17 Murrate Pierre Sommier a lames.
EP0614635A1 (de) * 1993-03-11 1994-09-14 Matra AG Vorrichtung an einem Lattenrost zum Verstärken der Stützkraft von Federleisten
FR2771270A1 (fr) * 1997-11-27 1999-05-28 Oniris Sa Dispositif d'ajustement variable de la souplesse d'un sommier a lattes
EP0967312A1 (de) * 1998-06-26 1999-12-29 Alaze GmbH Gurt für insbesondere Lattenroste von Sitz- und Liegemöbeln
AU2008201223B2 (en) * 2007-01-08 2014-06-05 Coast Rv Pty Ltd Slat Support

Families Citing this family (4)

* Cited by examiner, † Cited by third party
Publication number Priority date Publication date Assignee Title
DE3506027C2 (de) * 1984-06-30 1986-06-19 hülsta-werke Hüls GmbH & Co KG, 4424 Stadtlohn Elastische Befestigungsvorrichtung für die Federlatte eines Lattenrostes am Rostrahmen
AT400919B (de) * 1992-12-22 1996-04-25 Schneider Rudolf Betteinsatz
DE9318233U1 (de) * 1993-11-29 1994-12-22 Diamona Hermann Koch GmbH & Co KG Fabrik für Wohn- und Schlafkomfort, 38446 Wolfsburg Sprungfedermatratze
AT763U1 (de) * 1995-07-19 1996-05-28 Sigl Herbert Betteinlage

Family Cites Families (4)

* Cited by examiner, † Cited by third party
Publication number Priority date Publication date Assignee Title
FR350883A (fr) * 1905-01-20 1905-06-28 Sarnez Des Ets De Perfectionnements apportés aux sommiers à lames d'acier
IT955584B (it) * 1972-03-21 1973-09-29 Mobelwerke Flototto Corpo di supporto per assicelle trasversali di telai di divani
CH619605A5 (de) * 1977-09-30 1980-10-15 Marpal Ag
DE2756477C2 (de) * 1977-12-17 1979-07-26 Huelsta Werke Huels Kg, 4424 Stadtlohn Lattenrost mit durch einen Gurt verbundenen Stützlatten

Cited By (12)

* Cited by examiner, † Cited by third party
Publication number Priority date Publication date Assignee Title
US4573226A (en) * 1983-02-02 1986-03-04 Franz Wittmann Insert for a piece of lounging furniture
AT381851B (de) * 1983-12-16 1986-12-10 Gerfried Schwanner Lattenrost fuer betten od. dgl.
EP0274371A1 (de) * 1986-12-29 1988-07-13 Lucien Watteau Rollbarer Lattenrost mit veränderbarer Breite und mit elastischen, gegliederten, schiebbaren, unabhängigen, selbsttragenden und anhaftenden Lagerkörpern
EP0344105A1 (de) * 1988-05-19 1989-11-29 Matra AG Lattenrost für Liegemöbel
EP0424646A1 (de) * 1989-10-25 1991-05-02 Klute Gmbh Lattenrost
FR2666973A1 (fr) * 1990-09-21 1992-03-27 Delahousse Bruant Curseur variateur de tension pour sommier a lattes.
FR2688393A1 (fr) * 1992-03-11 1993-09-17 Murrate Pierre Sommier a lames.
EP0614635A1 (de) * 1993-03-11 1994-09-14 Matra AG Vorrichtung an einem Lattenrost zum Verstärken der Stützkraft von Federleisten
FR2771270A1 (fr) * 1997-11-27 1999-05-28 Oniris Sa Dispositif d'ajustement variable de la souplesse d'un sommier a lattes
EP0919163A1 (de) * 1997-11-27 1999-06-02 Oniris S.A. Vorrichtung zum Verstellen der Flexibilität eines Lattenrostes
EP0967312A1 (de) * 1998-06-26 1999-12-29 Alaze GmbH Gurt für insbesondere Lattenroste von Sitz- und Liegemöbeln
AU2008201223B2 (en) * 2007-01-08 2014-06-05 Coast Rv Pty Ltd Slat Support

Also Published As

Publication number Publication date
EP0050293A3 (en) 1982-10-27
AT368854B (de) 1982-11-25
EP0050293B1 (de) 1985-04-24
DE3170159D1 (en) 1985-05-30
ATA593180A (de) 1982-04-15
DE8130609U1 (de) 1982-07-15

Similar Documents

Publication Publication Date Title
DE2942426C2 (de) Schaumstoffkörper für eine Matratze
EP0050293B1 (de) Vorrichtung zur variablen Verstärkung der elastischen Abstützkräfte in beliebigen Partialbereichen eines Liegemöbel-Lattenrosts
DE2842038A1 (de) Untermatratze fuer liegemoebel
EP0782830A1 (de) Matratze
DE1198504B (de) Mattenartiger Koerper zur Schuhreinigung
EP0150873A2 (de) Matratzenrost
DE4320168C2 (de) Liegefläche mit mindestens 3-facher Lattenebene
EP1959797B1 (de) Matratze
EP0539644B1 (de) Lattenrost für ein Bett
EP0397978B1 (de) Federleiste für einen Lattenrost od.dgl.
DE3424942C2 (de) Matratze
EP1099397A1 (de) Bettrahmen mit einer Mehrzahl von die Matratzenauflage bildenden Federelementen
EP0344105B1 (de) Lattenrost für Liegemöbel
DE29624278U1 (de) Matratzenunterlage mit federnden Schaumstoffblöcken
DE3423923C1 (de) Lagerkörper für die Latten eines Lattenrostes
EP3972458A1 (de) Liege- oder sitzmöbel
DE8809806U1 (de) Federndes Bauelement zur Ausbildung einer Liegefläche eines Liegemöbels
DE8407599U1 (de) Bett
DE19945735A1 (de) Federungselement für ein Lattenrost
DE8404177U1 (de) Liegemoebel-gestell mit querlatten
DE7709407U1 (de) Federleiste aus schichtholz
CH695258A5 (de) Eine Mehrzahl von Federelementen aufweisende Liege- oder Sitzflaeche sowie Verfahren zur Herstellung dieser Federelemente.
DE19726793C1 (de) Bettlattenrost mit Härtezoneneinstellung
DE19617787A1 (de) Lattenrost
EP0974294A2 (de) Streifenförmiges Federelement

Legal Events

Date Code Title Description
PUAI Public reference made under article 153(3) epc to a published international application that has entered the european phase

Free format text: ORIGINAL CODE: 0009012

AK Designated contracting states

Designated state(s): BE CH DE FR GB IT LU NL SE

ITCL It: translation for ep claims filed

Representative=s name: JACOBACCI CASETTA & PERANI S.P.A.

TCNL Nl: translation of patent claims filed
PUAL Search report despatched

Free format text: ORIGINAL CODE: 0009013

AK Designated contracting states

Designated state(s): BE CH DE FR GB IT LU NL SE

17P Request for examination filed

Effective date: 19821124

ITF It: translation for a ep patent filed
GRAA (expected) grant

Free format text: ORIGINAL CODE: 0009210

AK Designated contracting states

Designated state(s): BE CH DE FR GB IT LI LU NL SE

REF Corresponds to:

Ref document number: 3170159

Country of ref document: DE

Date of ref document: 19850530

ET Fr: translation filed
PG25 Lapsed in a contracting state [announced via postgrant information from national office to epo]

Ref country code: LU

Free format text: LAPSE BECAUSE OF NON-PAYMENT OF DUE FEES

Effective date: 19851031

PLBI Opposition filed

Free format text: ORIGINAL CODE: 0009260

NLR1 Nl: opposition has been filed with the epo

Opponent name: BIRCHLER & CO. AG BICO-MATRATZENFABRIK

26 Opposition filed

Opponent name: BIRCHLER & CO. AG BICO-MATRATZENFABRIK

Effective date: 19860124

PLAB Opposition data, opponent's data or that of the opponent's representative modified

Free format text: ORIGINAL CODE: 0009299OPPO

R26 Opposition filed (corrected)

Opponent name: BICO BIRCHLER & CO. AG

Effective date: 19860124

NLXE Nl: other communications concerning ep-patents (part 3 heading xe)

Free format text: IN PAT.BUL.06/86,PAGE 701:SHOULD BE MODIFIED INTO:BICO BIRCHLER & CO. A.G.

PLBN Opposition rejected

Free format text: ORIGINAL CODE: 0009273

STAA Information on the status of an ep patent application or granted ep patent

Free format text: STATUS: OPPOSITION REJECTED

27O Opposition rejected

Effective date: 19880517

NLR2 Nl: decision of opposition
PGFP Annual fee paid to national office [announced via postgrant information from national office to epo]

Ref country code: SE

Payment date: 19890915

Year of fee payment: 9

PGFP Annual fee paid to national office [announced via postgrant information from national office to epo]

Ref country code: CH

Payment date: 19890919

Year of fee payment: 9

PGFP Annual fee paid to national office [announced via postgrant information from national office to epo]

Ref country code: LU

Payment date: 19890920

Year of fee payment: 9

PGFP Annual fee paid to national office [announced via postgrant information from national office to epo]

Ref country code: FR

Payment date: 19890926

Year of fee payment: 9

ITTA It: last paid annual fee
PGFP Annual fee paid to national office [announced via postgrant information from national office to epo]

Ref country code: NL

Payment date: 19891031

Year of fee payment: 9

Ref country code: GB

Payment date: 19891031

Year of fee payment: 9

PGFP Annual fee paid to national office [announced via postgrant information from national office to epo]

Ref country code: BE

Payment date: 19891115

Year of fee payment: 9

PGFP Annual fee paid to national office [announced via postgrant information from national office to epo]

Ref country code: DE

Payment date: 19891228

Year of fee payment: 9

PG25 Lapsed in a contracting state [announced via postgrant information from national office to epo]

Ref country code: GB

Effective date: 19901012

PG25 Lapsed in a contracting state [announced via postgrant information from national office to epo]

Ref country code: SE

Effective date: 19901013

PG25 Lapsed in a contracting state [announced via postgrant information from national office to epo]

Ref country code: LI

Effective date: 19901031

Ref country code: CH

Effective date: 19901031

Ref country code: BE

Effective date: 19901031

BERE Be: lapsed

Owner name: MARPAL A.G.

Effective date: 19901031

PG25 Lapsed in a contracting state [announced via postgrant information from national office to epo]

Ref country code: NL

Effective date: 19910501

GBPC Gb: european patent ceased through non-payment of renewal fee
NLV4 Nl: lapsed or anulled due to non-payment of the annual fee
PG25 Lapsed in a contracting state [announced via postgrant information from national office to epo]

Ref country code: FR

Effective date: 19910628

REG Reference to a national code

Ref country code: CH

Ref legal event code: PL

PG25 Lapsed in a contracting state [announced via postgrant information from national office to epo]

Ref country code: DE

Effective date: 19910702

REG Reference to a national code

Ref country code: FR

Ref legal event code: ST

EUG Se: european patent has lapsed

Ref document number: 81108226.2

Effective date: 19910603

APAH Appeal reference modified

Free format text: ORIGINAL CODE: EPIDOSCREFNO