EP0033131B1 - Auslösbares Einspannlager - Google Patents

Auslösbares Einspannlager Download PDF

Info

Publication number
EP0033131B1
EP0033131B1 EP81100425A EP81100425A EP0033131B1 EP 0033131 B1 EP0033131 B1 EP 0033131B1 EP 81100425 A EP81100425 A EP 81100425A EP 81100425 A EP81100425 A EP 81100425A EP 0033131 B1 EP0033131 B1 EP 0033131B1
Authority
EP
European Patent Office
Prior art keywords
spring plunger
housing
bearing according
ski
pressure
Prior art date
Legal status (The legal status is an assumption and is not a legal conclusion. Google has not performed a legal analysis and makes no representation as to the accuracy of the status listed.)
Expired
Application number
EP81100425A
Other languages
English (en)
French (fr)
Other versions
EP0033131A1 (de
Inventor
Carolyn Bildner
Current Assignee (The listed assignees may be inaccurate. Google has not performed a legal analysis and makes no representation or warranty as to the accuracy of the list.)
Cessione implementurs Omerseas Ltd
Original Assignee
Individual
Priority date (The priority date is an assumption and is not a legal conclusion. Google has not performed a legal analysis and makes no representation as to the accuracy of the date listed.)
Filing date
Publication date
Priority claimed from DE19803002236 external-priority patent/DE3002236A1/de
Priority claimed from DE19803031162 external-priority patent/DE3031162A1/de
Application filed by Individual filed Critical Individual
Priority to AT81100425T priority Critical patent/ATE9272T1/de
Publication of EP0033131A1 publication Critical patent/EP0033131A1/de
Application granted granted Critical
Publication of EP0033131B1 publication Critical patent/EP0033131B1/de
Expired legal-status Critical Current

Links

Images

Classifications

    • AHUMAN NECESSITIES
    • A63SPORTS; GAMES; AMUSEMENTS
    • A63CSKATES; SKIS; ROLLER SKATES; DESIGN OR LAYOUT OF COURTS, RINKS OR THE LIKE
    • A63C9/00Ski bindings
    • A63C9/08Ski bindings yieldable or self-releasing in the event of an accident, i.e. safety bindings
    • A63C9/088Ski bindings yieldable or self-releasing in the event of an accident, i.e. safety bindings with electronically controlled locking devices

Definitions

  • the invention relates to a releasable clamping bearing, in particular for ski bindings, which has a displaceable spring piston under the force of a compression spring as a holding element, the rear end of the spring piston being supported against an abutment.
  • a telescopic spring piston is known as a resilient clamping abutment.
  • the rear area of the telescopic spring piston is rigidly fixed in the binding housing.
  • no indications of an electrical and / or electronic triggering of the ski binding can be found.
  • the present invention is based on the object of providing a releasable clamping bearing, in particular for ski bindings, in which a predetermined clamping pressure for holding the object in the clamping device is not substantially exceeded in order not to damage or destroy the clamped object.
  • the predetermined clamping pressure should be easy to set and vary, the predetermined clamping pressure being dependent both on the clamped object, the material from which it is made and the measures to which the clamped object is subjected.
  • such a device should be easily readjustable with regard to the clamping pressure if the dimensioning of the clamped object changes in the clamping direction for certain reasons, for example due to shrinkage of plastic material when the temperature drops.
  • the adjustment of the clamping pressure should be possible quickly and easily; at the same time, if the clamping pressure is exceeded beyond a defined value, the clamping pressure is lifted and thus the clamped object is released immediately and reliably.
  • the releasable clamping bearing in particular for ski bindings, which has a displaceable spring piston under the force of a compression spring as a holding element, the rear end of the spring piston being supported against an abutment, in that the spring piston consists of a front, the Shoe-facing part and a rear part, which are telescopically displaceable against each other against the force of the compression spring, and that sensors provide a signal when the two parts are displaced and by a predetermined amount, which causes the abutment to be unlocked.
  • the object to be clamped is clamped between two clamping bearings which hold the object between them in punctiform or planar fashion.
  • a bearing which can be designed to be resilient, for example, has a device for adjusting the clamping pressure with which the counter-clamp is clamped.
  • This device for pressure adjustment preferably serves at the same time as an indication of the clamping pressure actually acting on the clamped object.
  • Clamping pressure set The release pressure at which the clamping pressure is to be released is measured in the spring-loaded clamping bearing by pressure sensors or light barriers known per se or the like; When the set limit of the clamping pressure is reached, these electronically generate a signal that triggers the release of the clamping pressure, so that the clamped object is released.
  • a clamping bearing is designed such that it can be moved mechanically, for example by means of an adjusting screw, in the direction of the movable, spring-shaped clamping bearing. It is hereby achieved that when the length of the clamped object is shortened in the clamping direction, the predetermined clamping pressure is set to the opposite bearing by corresponding movement of this clamping bearing. The triggering of the mechanism for canceling the clamping pressure when the predetermined and set limit value of the clamping pressure is reached is carried out in the manner described.
  • the object 1 to be clamped is a ski boot;
  • the front, adjustable holding device for the tip of the ski shoe consists of a block 9 which is fixedly arranged on the ski 6 and in which an adjusting screw 2 is arranged for the adjustment.
  • the adjusting screw 2 acts on a slider 3 depending on the direction of rotation of the adjusting screw 2 in the direction of the automatic heel unit or is moved in the opposite direction.
  • the tip of the ski shoe is held by the component 5, which is arranged on the slide 3 so that it can be adjusted in height by the screw 4.
  • Centering rollers, bolts and / or clamp-like components known per se are provided for laterally holding the tip of the ski shoe sideways.
  • the construction described makes it possible to move the ski boot in the direction of the longitudinal axis of the ski as required by adjusting the set screw 2 and correspondingly displacing the slide 3.
  • the embodiment according to the invention is shown schematically as a ski binding in FIG.
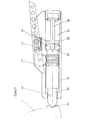
  • the housing 13 of the automatic heel unit is arranged on the ski 6 in the rear region of the ski, in which a spring piston 18, consisting of the front 18a and rear spring piston parts 18b, is arranged in a spring piston housing.
  • the pressure exerted on the spring piston 18a + b by adjusting the adjusting screw 2 via the ski boot 1 is indicated by the position of the lever 15: this lever is arranged on an axis 16 which is at an angle of approximately 90 with the spring piston 18 ° forms, and is driven by this directly over matched profiles; this results in a pivoting of the lever 15 depending on the load on the spring piston part 18a, z. B.
  • the clamping pressure for the ski shoe which is to be determined in the usual way, is set at + 20 ° C, this clamping pressure can be read off by means of the marking in area 16: If the length of the ski shoe 1 is reduced to -10 ° C, for example, by cooling, it is adjusted the set screw 2 of the ski boot 1 so far in the direction of the automatic heel unit 13 until the same marking setting is reached again, so that the predetermined clamping pressure is set.
  • FIG. 3 shows an automatic heel unit according to FIG. 2 in a side view; here, in a manner known per se, an operating lever 22 is added, which is connected to the spring piston part 18a in the upper region of the housing 13 via a correspondingly adapted profile; Before the ski boot is clamped in, the system is in a relaxed position, i.e. the spring piston is in the dashed position, the pointer lever in position 15a and the operating lever in position 22a; in the tensioned state, the spring piston assumes the rear position (solid line), the pointer lever occupies position 15 and the operating lever occupies position 22. Otherwise, the reference numbers correspond to those according to FIG. 2.
  • the predetermined clamping pressure can be set again by adjusting the adjusting screw 2 according to FIG. 1 by bringing the markings 16 into line. Otherwise, the reference numbers have the meaning given above.
  • the automatic heel unit according to the invention is shown schematically in section parallel to the ski surface.
  • the spring piston 18 is telescopic, the two parts 18a + b of the telescopic spring piston 18 being supported against one another by a spring 36.
  • At least one pin 34a serves as a safeguard against the rotation of the Spring piston 18.
  • the spring piston 18a has a step-shaped stop 35, which prevents the spring piston 18a from coming out of the housing 13 by a certain amount.
  • stop pins, rollers or balls 38 are arranged in the housing 13, which block the escape of the rear part 18b of the telescopic spring bolt 18, the axis of these locking rollers 38 being guided in lateral, vertical link slots in the rear spring piston region.
  • a bolt 39 Arranged in the end region of the housing 13 is a bolt 39 which can be displaced in the direction of the longitudinal axis of the ski and which has a cylindrical recess in which the cylindrical rear region 18b of the spring piston 18 can be received; when the bolt 39 moves towards the ski tip, the locking by the balls or rollers 38 is lifted by external ramps on the locking bolt 39, so that the rear region 18b of the telescopic spring bolt 18 can enter the recess in the bolt 39, as a result of which the pressure of the Spring piston part 18b is practically canceled on the ski boot heel.
  • sensors 42 are arranged for electronic pressure absorption.
  • Piezo elements are preferably used here which generate a certain voltage at a certain pressure, which unlocks the unlocking of the locking elements 38 by electromagnetic movement of the latch 39 in the direction of the ski tip at a certain limit value which corresponds to the previously set trigger pressure.
  • the pressure sensors instead of the pressure sensors, light barriers or the like can also be used. are used, which register the displacement of the spring piston 18 into the housing 13 with increasing pressure on the spring piston 18 in a manner known per se and, when a certain piston path is exceeded, which is proportional to the pressure increase, the unlocking of the piston 18 within the housing 13 and thus causing the relaxation of the spring element 36.
  • the unlocking mechanism consists of the bolt or slide 39, which is connected to an armature 40, which in turn passes through a coil 41.
  • a magnetic field is generated in the magnet coil 41, by means of which the armature 40 sets the slide 39 in the direction of the ski tip and thus unlocks the piston 18 and the spring 36 is relaxed.
  • the electromagnetic electronic part of the device is. powered by commercially available electric batteries 43.
  • the control works in such a way that the signals from the pressure sensors or light barriers 42 enter the respective values into a converter.
  • the converter can be preprogrammed to certain values by microswitches 44. If necessary, the converter can also be preprogrammed using a continuously adjustable resistor.
  • FIG. 6 shows the automatic heel unit according to the invention in accordance with FIG. 5 in a different functional state. While in FIG. 5 the rear part 18b of the telescopic spring piston 18 is shown in the locked position, in FIG. 6 this part 18b has entered the recess provided in the slide or bolt 39; the lock was previously unlocked by the rollers 38 by moving the bolt or slide 39 in the direction of the ski tip, the rollers being pressed back into their bearings by the run-up profiles on the slide 39 in the region of the rollers. The described forward movement of the slide 39 was triggered and brought about, for example, by a pressure exerted sideways on the tip of the spring piston part 18a beyond the set limit value in the manner described.
  • the pressure sensors are preferably arranged as semiconductors, measuring strips or piezo elements on the piston or on the adjacent housing 13 and generate a certain voltage when the spring piston 18 acts on pressure.
  • this voltage is divided via the voltage distributors R1 and R2.
  • the voltage required for the trigger value is preferably sampled at R2.
  • the same acts on a threshold switch V1, which transmits a pulse to a switching amplifier V2 when a certain input voltage is reached.
  • This excites a coil L1 (coil 41 according to FIGS. 5 and 6), which builds up a magnetic field through which the armature 40 is moved with the slide 39 (according to FIGS. 5 and 6), whereby the spring piston 18 is unlocked.
  • Resistor R2 can be changed using a potentiometer or a microswitch, which optionally connects several resistors in parallel. This allows the voltage to be set at a given pressure.
  • the threshold switch is a circuit which is known per se as a signal converter.
  • the slider 39 (FIGS. 5 and 6) is reset outside the electronic control by a return spring, which is designated 45 in FIG. 5, for example.
  • a limit switch 22b (FIG. 3) is provided, which is automatically switched to position 22a (FIG. 3) by the opening lever in the idle state of the tensioning device. If a pressure of approximately 50% of the trigger pressure acts in the direction of the longitudinal axis of the spring on the spring piston 18, the opening lever 22 is raised to such an extent that the spring-mounted switch 22b is released and the circuit is closed.
  • the pointer or lever 15 according to FIGS. 2 and 3, which, in cooperation with corresponding markings on the housing 13, serves as an indication of the pressure acting on the spring piston 18, can preferably be designed as a ski brake.
  • the axis about which the component 15 rotates is not parallel to the ski surface, but arranged at an angle of about 40 to 50 °, preferably 45 °; it is hereby achieved that in the tensioned state of the spring 36, the pointer 15 designed as a brake arm pivots over the width of the ski and thus does not protrude sideways beyond the ski.
  • a second pointer 15 designed as a brake arm can be arranged on the opposite side of the housing 13.
  • FIGS. 8 schematically shows another unlocking mechanism of the automatic heel unit, which otherwise corresponds to the automatic heel unit according to FIGS. 5 and 6.
  • the rear part 18b of the telescopic spring piston 18 is locked by means of spherical or roller-like locking elements 38 which are arranged opposite one another within this area.
  • the locking elements 38 suspended in the piston part 18b are pressed in a locking manner partly through corresponding openings in the wall of the spring piston part 18b into corresponding counter bearings or depressions in the adjacent housing wall, so that the rear part 18b of the spring piston 18 is locked with the housing 13.
  • the locking elements 38 are held in the locking position by the bolt or slide 39 which enters the spring piston part 18b through the rear wall thereof and between the locking elements 38.
  • the bolt or slide 39 is formed in one piece with the armature 40, which is arranged in the coil 41 and is set in motion in the manner described.
  • the bar 39 which is rod-shaped in the present case, tapers in its front end, the corresponding side walls forming a profile 63, on which the locking elements 38 roll up or roll off when locking or unlocking.
  • a spring element (not shown) is preferably arranged which, after unlocking and completely relieving the load on the front part of the spring piston 18a, returns its rear region 18b to the starting position for the locking.
  • the bolt 39 or the armature 40 is preferably extended through the rear wall of the housing 13, so that on the one hand the locking can be carried out by hand and on the other hand it can be checked visually whether the spring piston 18 is locked or not.
  • the housing 13 there is an assembly opening for the components of the automatic heel unit arranged in the interior, which can be closed by a screw cap 65. This ensures easy access to the interior of the automatic heel unit while at the same time excluding dirt and water. This also makes manipulation by third parties in binding binding difficult.
  • FIG. 9 schematically shows a cross section through the area of an automatic heel unit according to the invention, in which the front part 18a of the spring piston emerges from the housing 13.
  • the pressure is taken up by only one electrical semiconductor 84, to which the pressure which is exerted on the front part 18a of the spring piston by the ski boot 1 by twisting or the like of the ski boot 1 in the binding, via one, the front region of the spring piston a setting 83 that extends around 180 °.
  • An adjustable screw 85 serves as a counterbearing for the pressure transducer 84.
  • Two scenes are preferably arranged in a V-shape in the outlet opening of the spring piston from the housing, which surround the spring piston over a range of approximately 90 ° in each case, and which bear against a sheet-like pressure sensor.
  • circular or semicircular sensors can also be used in analog applications.
  • FIG. 10 shows a cross section in the left half of the figure and a longitudinal section in the right half through a locking mechanism according to the invention.
  • the two locking rollers 38 and the intermediate guide roller 70 with a smaller diameter are rotatably mounted on a common axis 75.
  • the axis 75 is arranged parallel to the ski surface and at right angles to the longitudinal axis of the ski in the rear region of the piston 18; the two ends of the axle 75 are slotted in the side walls of the rear part 18b of the piston; the slots extend in the direction perpendicular to the ski surface, so that the axis 75, the locking rollers 38 and the guide roller 70 are movably mounted in this direction.
  • the bolt 39 has at its front end a control profile 63 on which the guide roller 70 rests.
  • a bearing roller 74 serves as the counter bearing for the bolt 39, so that the bolt 39 is mounted between the bearing roller 74 and the guide roller 70;
  • the control profile is designed in such a way that when the bolt 39 moves in the direction of the longitudinal axis of the ski, the axis 75 with the locking rollers 38 is pressed in a locking manner via corresponding guidance of the guide roller 70 on the control profile through the corresponding openings in the piston and housing wall: see FIG. 10 , right half; in the opposite movement of the bolt 39 is unlocked.
  • FIG. 11 A further unlocking and locking mechanism of another embodiment of the device according to the invention is shown schematically in FIG. 11.
  • this control profile is applied to a separate component 95 which can be moved in the rear part 18b of the spring piston in the longitudinal direction of the automatic heel unit is arranged.
  • This component 95 which in principle holds the locking element or elements 38 in the locking position in the same way as in FIG. 8, is moved from the locking position into the unlocking position when the trigger signal is generated by the bolt 39 or armature 40 which is bolt-shaped in the present case Knocked out in the direction of the ski tip; 94 denotes the free path of the firing pin-like bolt 39.
  • the locking position is shown schematically in the left half of the figure and the unlocking position in the right half of the figure.
  • the various embodiments of the device according to the invention are set in such a way that at normal temperature, for example in the ski shop, the binding is set to a corresponding trigger value in a manner known per se depending on the physical data of the skier and the ski shoe material used.
  • the electronic release is set to a somewhat lower value, so that if the electronic control of the release fails, the binding opens in a conventional manner at a slightly higher pressure. This ensures maximum security.

Landscapes

  • Footwear And Its Accessory, Manufacturing Method And Apparatuses (AREA)

Description

  • Die Erfindung betrifft ein auslösbares Einspannlager, insbesondere für Skibindungen, das einen unter der Kraft einer Druckfeder stehenden verschiebbaren Federkolben als Halteelement aufweist, wobei das hintere Ende des Federkolbens sich gegen ein Widerlager abstützt.
  • Aus der deutschen Patentanmeldung DE-A-2 736 027 ist ein derartiges auslösbares Einspannlager in Form einer Sicherheitsskibindung bekannt, wobei diese durch Einrichtungen zum Feststellen der beim Skifahren auftretenden Belastungen gekennzeichnet ist, und wobei anhand der festgestellten Werte die Bindung manuell oder automatisch nachjustiert werden kann. Darüber hinaus wird in der vorbekannten Offenlegungsschrift ausgeführt, dass eine derartige Bindung ein Verriegelungsorgan für einen Haltebacken aufweist, wobei dieses Verriegelungsorgan durch eine elektrische Auslöseschaltung betätigt wird. Weitere konstruktive Massnahmen der Entriegelungsmechanik dieser elektrischen oder elektronischen Skibindung gemäss Entgegenhaltung sind nicht offenbart.
  • Aus der österreichischen Patentschrift AT-A-268 951 ist ein teleskopartig ausgebildeter Federkolben als in sich federndes Einspannwiderlager bekannt. Allerdings ist bei dieser vorbekannten Skibindung der Hinterbereich des teleskopartig ausgebildeten Federkolbens im Bindungsgehäuse starr festgelegt. Darüber hinaus sind in dieser vorbekannten Veröffentlichung keinerlei Hinweise auf eine elektrische und/oder elektronische Auslösung der Skibindung zu entnehmen.
  • Der vorliegenden Erfindung liegt die Aufgabe zugrunde, ein auslösbares Einspannlager, insbesondere für Skibindungen zur Verfügung zu stellen, bei der ein vorbestimmter Einspanndruck zum Festhalten des Gegenstandes in der Einspannvorrichtung nicht wesentlich überschritten wird, um den eingespannten Gegenstand nicht zu beschädigen oder zu zerstören. Darüber hinaus soll der vorbestimmte Einspanndruck leicht eingestellt und variiert werden können, wobei der vorbestimmte Einspanndruck sowohl vom eingespannten Gegenstand, dem Material, aus dem dieser besteht, sowie den Massnahmen abhängig ist, denen der eingespannte Gegenstand unterworfen wird. Darüber hinaus soll eine derartige Vorrichtung hinsichtlich des Einspanndruckes leicht nachjustierbar sein, wenn sich die Dimensionierung des eingespannten Gegenstandes in der Einspannrichtung aus bestimmten Gründen, beispielsweise durch Schrumpfung von Plastikmaterial bei Temperaturabfall, ändert. Die Justierung des Einspanndruckes soll schnell und einfach möglich sein; gleichzeitig soll bei Überschreitung des Einspanndruckes über einen definierten Wert hinaus dei Aufhebung des Einspanndruckes und damit die Freigabe des eingespannten Gegenstandes sofort und zuverlässig erfolgen.
  • Diese Aufgaben stellen sich im Zusammenhang mit Aufzügen, Seilbahnen, Papierverarbeitungsanlagen, Kunststoffverarbeitungsanlagen sowie insbesondere auch bei Skibindungen.
  • Diese Aufgabe wird durch das erfindungsgemässe auslösbare Einspannlager, insbesondere für Skibindungen, das einen unter der Kraft einer Druckfeder stehenden verschiebbaren Federkolben als Halteelement aufweist, wobei das hintere Ende des Federkolbens sich gegen ein Widerlager abstützt, dadurch gelöst, dass der Federkolben aus einem vorderen, dem Schuh zugewandten Teil und einem hinteren Teil besteht, die teleskopartig gegeneinander gegen die Kraft der Druckfeder verschiebbar sind, und dass Sensoren bei Verschiebung der beiden Teile und um einen vorgegebenen Betrag ein Signal liefern, welches das Entriegeln des Widerlagers bewirkt.
  • Weitere vorteilhafte Ausgestaltungen der erfindungsgemässen Vorrichtung gemäss Anspruch 1 sind in den Ansprüchen 2 bis 15 beschrieben.
  • Bei der erfindungsgemässen Vorrichtung wird der einzuspannende Gegenstand zwischen zwei Einspannlagern, die punktförmig oder flächenförmig den Gegenstand zwischen sich halten, eingespannt. Ein Lager, das beispielsweise in sich federnd ausgebildet sein kann, weist eine Vorrichtung zur Einstellung des Einspanndruckes auf, mit dem der Gegensatnd eingespannt wird. Vorzugsweise dient diese Vorrichtung zur Druckeinstellung gleichzeitig als Anzeige für den tatsächlich auf den eingespannten Gegenstand wirkenden Einspanndruck. Nach Justierung des vorbestimmten Einspanndruckes bzw. bei Nachjustierung des Einspanndruckes wegen einer Dimensionsänderung des eingespannten Gegenstandes in Einspannrichtung, beispielsweise durch Längenschrumpfung eines Kunststoffgegenstandes bei Temperaturabfall, wird der Mechanismus, der den Einspanndruck bei Überschreiten eines bestimmten Wertes aufhebt, auf den bestimmten Wert oberhalb des Ausgangs-Einspanndruckes eingestellt. Die Messung des Auslösedruckes, bei dem der Einspanndruck aufgehoben werden soll, erfolgt im in sich federnden Einspannlager durch an sich bekannte Drucksensoren oder Lichtschranken od.dgl.; diese erzeugen bei Erreichen des eingestellten Grenzwertes des Einspanndruckes elektronisch ein Signal, durch das die Aufhebung des Einspanndruckes ausgelöst wird, so dass der eingespannte Gegenstand freigegeben wird.
  • Bei einer anderen erfindungsgemässen Ausführungsform ist ein Einspannlager derart ausgebildet, dass es mechanisch, beispielsweise durch eine Stellschraube, in Richtung auf das bewegliche, federnd ausgebildete Einspannlager bewegt werden kann. Hierdurch wird erreicht, dass bei einer Verkürzung der Längenausdehnung des eingespannten Gegenstandes in Einspannrichtung der vorgegebene Einspanndruck durch entsprechende Bewegung dieses Einspannlagers auf das gegenüberliegende Lager eingestellt wird. Die Auslösung des Mechanismus zur Aufhebung des Einspanndruckes bei Erreichen des vorbestimmten und eingestellten Grenzwertes des Einspanndruckes erfolgt in beschriebener Weise.
  • Die Erfindung wird anhand der Fig. 1 bis 11 näher erläutert; hierbei wird eine Skibindung als eine bevorzugte Ausführungsform der erfindungsgemässen Vorrichtung beschrieben.
    • Fig. 1 ist die schematische Wiedergabe eines Querschnitts durch das Bauteil einer Erfindungsgemässen Ausführungsform, in dem das in Richtung auf das gegenüberliegende Einspannlager bewegliche Einspannlager angeordnet ist;
    • Fig. 2 ist eine schematische Seitenansicht einer erfindungsgemässen Ausführungsform;
    • Fig. 3 ist die schematische Seitenansicht eines erfindungsgemässen Fersenautomaten;
    • Fig. 4 ist eine andere Seitenansicht eines Bauteils gemäss Fig. 3;
    • Fig. 5 ist ein schematischer Querschnitt einer Draufsicht auf ein Bauteil gemäss Fig. 3 und 4;
    • Fig. 6 entspricht Fig. 5 in der Auslösephase des Bauteils;
    • Fig. 7 ist ein Schaltbild zur Steuerung des Auslösemechanismus zur Freigabe des eingespannten Gegenstandes;
    • Fig. 8 ist ein schematischer Längsschnitt durch das Bauteil gemäss Fig. 5 mit einem geänderten Auslösungsmechanismus;
    • Fig. 9 ist ein Querschnitt durch eine besondere Ausführungsform des Bauteils gemäss Fig. 8 im Bereich des Austritts des Federkolbens aus dem Gehäuse;
    • Fig. 10 gibt einen Teilausschnitt im Quer- und Längsschnitt (schematisch) durch eine besondere Ausführungsform der Verriegelungsmechanik wieder;
    • Fig. 11 ist ein schematischer Längsschnitt durch eine Verriegelungsmechanik in zwei verschiedenen Funktionszuständen.
  • Die in den Figuren wiedergegebenen Ausführungsformen der erfindungsgemässen Vorrichtung als Skibindung ist nur eine bevorzugte Anwendungsform, aus der jedoch andere Anwendungsformen der eingangs geschilderten Art ohne erfinderisches Zutun von einem Durschnittsfachmann abgeleitet werden können.
  • In Fig. 1 ist der einzuspannende Gegenstand 1 ein Skischuh; die vordere, verstellbar ausgebildete Haltevorrichtung für die Skischuhspitze besteht aus einem fest auf dem Ski 6 angeordneten Block 9, in dem eine Verstellschraube 2 für die Verstellung angeordnet ist. Die Verstellschraube 2 wirkt auf einen Schieber 3 in Abhängigkeit von der Drehrichtung der Stellschraube 2 in Richtung auf den Fersenautomaten zu oder in entgegengesetzter Richtung bewegt wird. In senkrechter Richtung wird die Skischuhspitze durch das Bauteil 5 gehalten, das durch die Schraube 4 höhenverstellbar auf dem Schieber 3 angeordnet ist. Zur seitlichen Halterung der Skischuhspitze sind seitwärts, die Skischuhspitze umfassende Zentrierrollen, Bolzen und/oder an sich bekannte klammerförmige Bauteile vorgesehen.
  • Durch die beschriebene Konstruktion ist es möglich, durch Verstellen der Stellschraube 2 und entsprechender Verschiebung des Schiebers 3 den Skischuh in Richtung der Skilängsachse nach Bedarf zu bewegen.
  • In Fig. ist die erfindungsgemässe Ausführungsform als Skibindung schematisch wiedergegeben. Zusätzlich zu dem Bauteil gemäss Fig. 1 ist auf dem Ski 6 im hinteren Bereich des Skis das Gehäuse 13 des Fersenautomaten angeordnet, in dem ein Federkolben 18, bestehend aus dem vorderen 18a und hinteren FederkolbenteiJ 18b, in einem Federkolbengehäuse angeordnet ist. Der Druck, der durch Verstellen der Einstellschraube 2 über den Skischuh 1 auf den Federkolben 18a + b ausgeübt wird, wird durch die Stellung des Hebels 15 angezeigt: Dieser Hebel ist auf einer Achse 16 angeordnet, die mit dem Federkolben 18 einen Winkel von etwa 90° bildet, und durch diesen unmittelbar über einander angepasste Profile angetrieben wird; hierdurch erfolgt je nach Belastung des Federkolbenteils 18a eine Verschwenkung des Hebels 15, wobei z. B. auf derAchse 16 und auf dem Gehäuse 13 im Bereich der Achse 16 Markierungen angebracht sind, von der der Druck abgelesen werden kann, der auf den Federkolben 18 einwirkt. Wird beispielsweise bei +20°C der in üblicher Weise zu bestimmende Einspanndruck für den Skischuh eingestellt, ist dieser Einspanndruck über die Markierung im Bereich 16 ablesbar: Reduziert sich nun die Längenausdehnung des Skischuhs 1 durch Abkühlung auf beispielsweise -10°C, wird durch Verstellen der Stellschraube 2 der Skischuh 1 so weit in Richtung auf den Fersenautomat 13 hin verschoben, bis die gleiche Markierungseinstellung wieder erreicht wird, so dass der vorbestimmte Einspanndruck eingestellt ist.
  • In Fig. 3 ist ein Fersenautomat gemäss Fig. 2 in einer Seitenansicht wiedergegeben; hierbei tritt in an sich bekannter Weise ein Bedienungshebel 22 hinzu, der im oberen Bereich des Gehäuses 13 über ein entsprechend angepasstes Profil mit dem Federkolbenteil 18a verbunden ist; vor dem Einspannen des Skischuhs befindet sich das System in entspannter Stellung, d.h., der Federkolben in gestrichelter Position, der Zeigerhebel in der Position 15a und der Bedienungshebel in der Position 22a; in gespanntem Zustand nimmt der Federkolben die hintere Position (durchgezogene Linie), der Zeigerhebel die Position 15 und der Bedienungshebel die Position 22 ein. Im übrigen entsprechen die Bezugsziffern denen gemäss Fig. 2.
  • In Fig. 4 wird der Zustand des Fersenautomaten im überspannten Zustand wiedergegeben; durch entsprechende Einstellung der Einstellschraube 2 gemäss Fig. 1 kann der vorbestimmte Einspanndruck wieder eingestellt werden, indem die Markierungen 16 in Übereinstimmung gebracht werden. Im übrigen besitzen die Bezugsziffern die zuvor gegebene Bedeutung.
  • In Fig. 5 wird der erfindungsgemässe Fersenautomat im Schnitt parallel zur Skioberfläche schematisch wiedergegeben. Hierbei ist der Federkolben 18 teleskopartig ausgebildet, wobei die beiden Teile 18a+b des teleskopartigen Federkolbens 18 im Inneren durch eine Feder 36 gegeneinander abgestützt sind. Mindestens ein Stift 34a dient als Sicherung gegen das Verdrehen des Federkolbens 18. Im vorderen Bereich weist der Federkolben 18a einen stufenförmigen Anschlag 35 auf, der das Heraustreten des Federkolbens 18a aus dem Gehäuse 13 über einen bestimmten Betrag hinaus verhindert. Im Bereich des hinteren Endes des Federkolbens 18b sind Anschlagstifte, Rollen oder Kugeln 38 im Gehäuse 13 angeordnet, die das Ausweichen des hinteren Teiles 18b des teleskopartigen Federbolzens 18 sperren, wobei die Achse dieser Verriegelungsrollen 38 in seitlichen, senkrechten Kulissenschiitzen im hinteren Federkolbenbereich geführt wird.
  • Im Endbereich des Gehäuses 13 ist ein in Richtung der Skilängsachse verschiebbarer Riegel 39 angeordnet, der eine zylinderförmige Aussparung aufweist, in der der zylinderförmige hintere Bereich 18b des Federkolbens 18 aufgenommen werden kann; bei Bewegung des Riegels 39 auf die Skispitze zu wird durch aussen liegende Auflauframpen am Sperriegel 39 die Sperrung durch die Kugeln oder Rollen 38 aufgehoben, so dass der hintere Bereich 18b des teleskopartigen Federbolzens 18 in die Aussparung im Riegel 39 eintreten kann, wodurch der Druck des Federkolbenteils 18b auf den Skistiefelabsatz praktisch aufgehoben wird. Im Gehäuse 13, insbesondere in der Austrittsöffnung des Federkolbenteils 18a aus dem Gehäuse sind Fühler 42 zur elektronischen Druckaufnahme angeordnet. Hierbei werden vorzugsweise Piezo-Elemente verwendet, die bei einem bestimmten Druck eine bestimmte Spannung erzeugen, die bei einem bestimmten Grenzwert, der dem vorher festgelegten Auslösedruck entspricht, die Entriegelung der Verriegelungselemente 38 durch elektromagnetische Bewegung des Riegels 39 in Richtung auf die Skispitze entriegelt. Anstelle der Drucksensoren können auch Lichtschranken od.dgl. verwendet werden, die in an sich bekannter Weise die Verschiebung des Federkolbens 18 in das Gehäuse 13 hinein bei zunehmendem Druck auf den Federkolben 18 registrieren und bei Überschreiten eines bestimmten Kolbenweges, der porportional der Druckzunahme ist, die Entriegelung des Kolbens 18 innerhalb des Gehäuses 13 und damit die Entspannung des Federelements 36 bewirken.
  • Die Entriegelungsmechanik besteht aus dem Riegel oder Schieber 39, der mit einem Anker 40 verbunden ist, der wiederum durch eine Spule 41 durchtritt. Bei Erzeugung des Entriegelungssignals durch die Drucksensoren oder Lichtschranken 42 bei einem vorgegebenen Auslösedruck auf den Federkolben 18 wird in der Magnetspule 41 ein Magnetfeld erzeugt, durch das der Anker 40 den Schieber 39 in Richtung auf die Skispitze in Bewegung setzt und damit der Kolben 18 entriegelt und die Feder 36 entspannt wird. Der elektromagnetisch-elektronische Teil der Vorrichtung wird. durch handelsübliche elektrische Batterien 43 gespeist. Die Steuerung arbeitet derart, dass die Signale von den Drucksensoren oder Lichtschranken 42 die jeweiligen Werte in einen Umrechner eingeben. Der Umrechner ist auf bestimmte Werte durch Mikroschalter 44 stufig vorprogrammierbar. Gegebenenfalls kann der Umrechner auch durch einen stetig einstellbaren Widerstand vorprogrammiert werden.
  • In Fig. 6 ist der erfindungsgemässe Fersenautomat gemäss Fig. 5 in einem anderen Funktionszustand wiedergegeben. Während in Fig. 5 der hintere Teil 18b des teleskopartigen Federkolbens 18 in der verriegelten Stellung wiedergegeben ist, ist in der Fig. 6 dieser Teil 18b in die dafür vorgesehene Ausnehmung im Schieber oder Riegel 39 eingetreten; hierbei wurde zuvor die Verriegelung durch die Rollen 38 durch Bewegung des Riegels oder Schiebers 39 in Richtung auf die Skispitze entriegelt, wobei die Rollen in ihr Lager durch die Auflaufprofile am Schieber 39 im Bereich der Rollen zurückgedrückt wurden. Die beschriebene Vorwärtsbewegung des Schiebers 39 wurde beispielsweise durch einen seitwärts auf die Spitze des Federkolbenteils 18a ausgeübten Druck über den eingestellten Grenzwert hinaus in beschriebener Weise ausgelöst und bewirkt.
  • Im Bereich Federkolben 18 sind die Drucksensoren vorzugsweise Halbleiter, Messstreifen oder Piezo-Elemente an dem Kolben oder am anliegenden Gehäuse 13 angeordnet und erzeugen bei Druckeinwirkung auf den Federkolben 18 eine bestimmte Spannung.
  • Gemäss Fig. 7 wird diese Spannung über den Spannungsverteiler R1 und R2 aufgeteilt. Die für den Auslösewert notwendige Spannung wird vorzugsweise an R2 abgetastet. Dieselbe wirkt auf einen Schwellwertschalter V1, der bei Erreichung einer gewissen Eingangsspannung einen Impuls an einen Schaltverstärker V2 weitergibt. Dieser erregt eine Spule L1 (Spule 41 gemäss den Fig. 5 und 6), die ein Magnetfeld aufbaut, durch das der Anker 40 mit dem Schieber 39 (gemäss Fig. 5 und 6) bewegt wird, wodurch die Entriegelung des Federkolbens 18 erfolgt. Der Widerstand R2 kann durch ein Potentiometer oder einen Mikroschalter, die wahlweise mehrere Widerstände parallel schalten, verändert werden. Dadurch kann die Spannung bei vorgegebenem Druck eingestellt werden. Der Schwellwertschalter ist eine Schaltung, die als Signalumformer an sich bekannt ist. Die Rückstellung des Schiebers 39 (Fig. 5 und 6) erfolgt ausserhalb der elektronischen Steuerung durch eine Rückholfeder, die beispielsweise in Fig. 5 mit 45 bezeichnet ist.
  • Um den Energieverbrauch zeitweise abzuschalten, ist ein Endschalter 22b (Fig. 3) vorgesehen, der im Ruhezustand der Spannvorrichtung durch den Öffnungshebel automatisch in die Position 22a (Fig. 3) geschaltet wird. Wirkt auf den Federkolben 18 ein Druck von etwa 50% des Auslösedrucks in Richtung Skilängsachse, wird der Öffnungshebel 22 soweit angehoben, dass der federnd gelagerte Schalter 22b freigegeben und der Stromkreis geschlossen wird.
  • Der Zeiger oder Hebel 15 gemäss den Fig. 2 und 3, der im Zusammenwirken mit entsprechenden Makierungen auf dem Gehäuse 13 als Anzeige für den auf den Federkolben 18 wirkenden Druck dient, kann vorzugsweise als Skibremse ausgebildet sein. Hierbei ist die Achse, um die sich das Bauteil 15 dreht, nicht parallel zur Skioberfläche, sondern in einem Winkel von etwa 40 bis 50°, vorzugsweise 45° angeordnet; hierdurch wird erreicht, dass in gespanntem Zustand der Feder 36 der als Bremsarm ausgebildete Zeiger 15 über die Skibreite schwenkt und somit nicht seitwärts über den Ski hinausragt. In gleicher Weise kann ein zweiter als Bremsarm ausgebildeter Zeiger 15 auf der gegenüberliegenden Seite des Gehäuses 13 angeordnet sein.
  • In Fig. 8 wird ein anderer Entriegelungsmechanismus des Fersenautomaten schematisch wiedergegeben, der im übrigen dem Fersenautomaten gemäss Fig. 5 und 6 entspricht.
  • Auch hierbei erfolgt die Verriegelung des hinteren Teiles 18b des teleskopartig ausgebildeten Federkolbens 18 durch kugel- oder walzenartige Verriegelungselemente 38, die innerhalb dieses Bereiches sich gegenüberliegend angeordnet sind.
  • Bei der Verriegelung werden die im Kolbenteil 18b aufgehängten Verriegelungselemente 38 teilweise durch entsprechende Öffnungen in der Wand des Federkolbenteils 18b in entsprechende Gegenlager oder Vertiefungen in der anliegenden Gehäusewand verriegelnd gepresst, so dass der hintere Teil 18b des Federkolbens 18 mit dem Gehäuse 13 verriegelt ist.
  • In dem Ausführungsbeispiel gemäss Fig. 8 werden die Verriegelungselemente 38 in der Verriegelungsposition durch den Riegel oder Schieber 39 gehalten, der durch die rückwärtige Wand des Federkolbenteils 18b in diesen hinein und zwischen die Verriegelungselemente 38 tritt. Im vorliegenden Fall ist der Riegel oder Schieber 39 einstückig mit dem Anker 40 ausgebildet, der in der Spule 41 angeordnet ist, und in beschriebener Weise in Bewegung gesetzt wird. Der im vorliegenden Fall stangenförmig ausgebildete Riegel 39 läuft in seinem vorderen Ende spitz zu, wobei die entsprechenden Seitenwände ein Profil 63 bilden, auf dem die Verriegelungselemente 38 beim Verriegeln bzw. beim Entriegeln auf- bzw. abrollen.
  • Zwischen der rückwärtigen Wand des Federkolbenteils 18b und der Spule 41 ist vorzugsweise ein Federelement (nicht abgebildet) angeordnet, das nach Entriegelung und bei völliger Entlastung des vorderen Teiles des Federkolbens 18a dessen hinteren Bereich 18b in die Ausgangsstellung für die Verriegelung zurückführt.
  • Vorzugsweise ist der Riegel 39 bzw. der Anker 40 durch die hintere Wand des Gehäuses 13 hinaus verlängert, so dass einerseits die Verriegelung mit der Hand vorgenommen werden kann, und anderseits optisch kontrolliert werden kann, ob der Federkolben 18 verriegelt ist oder nicht.
  • Im Gehäuse 13 ist eine Montageöffnung für die im Inneren angeordneten Bauteile des Fersenautomaten vorgesehen, die durch einen Schraubverschluss 65 verschlossen werden kann. Hierdurch wird leichte Zugänglichkeit zum Inneren des Fersenautomaten bei gleichzeitigem Ausschluss von Schmutz und Wasser gewährleistet. Ebenso werden hierdruch Manipulationen durch Dritte bei der Bindungseinstellung erschwert.
  • In Fig. 9 wird schematisch ein Querschnitt durch den Bereich eines erfindungsgemässen Fersenautomaten wiedergegeben, in dem der vordere Teil 18a des Federkolbens aus dem Gehäuse 13 austritt. Bei dieser Ausführungsform erfolgt die Druckaufnahme durch nur einen elektrischen Halbleiter 84, auf den der Druck, der auf den vorderen Teil 18a des Federkolbens von dem Skischuh 1 durch Verdrehung oder ähnliches des Skischuhs 1 in der Bindung ausgeübt wird, über eine, den Vorderbereich des Federkolbens um etwa 180° umfassende Kulisse 83. Als Gegenlager für den Druckaufnehmer 84 dient eine verstellbare Schraube 85.
  • Bevorzugt werden zwei Kulissen in der Austrittsöffnung des Federkolbens aus dem Gehäuse V-förmig angeordnet, die den Federkolben über einen Bereich von jeweils etwa 90° umfassen, und die an jeweils einem flächenförmigen Drucksensor anliegen.
  • Schliesslich können in analoger Anwendung auch kreis- oder halbkreisförmige Sensoren verwendet werden.
  • In Fig. 10 ist in der linken Hälfte der Figur ein Querschnitt und in der rechten ein Längsschnitt durch eine erfindungsgemässe Verriegelungsmechanik schematisch wiedergegeben. Hierbei sind die beiden Verriegelungsrollen 38 und die zwischenliegende Führungsrolle 70 mit kleinerem Durchmesser auf einer gemeinsamen Achse 75 drehbar gelagert. Die Achse 75 ist parallel zur Skioberfläche und rechtwinklig zur Skilängsachse im hinteren Bereich des Kolbens 18 angeordnet; die beiden Enden der Achse 75 sind in Schlitzen in den Seitenwänden des hinteren Teils 18b des Kolben gelagert; die Schlitze erstrecken sich in senkrechter Richtung zur Skioberfläche, so dass in dieser Richtung die Achse 75, die Verriegelungsrollen 38 und die Führungsrolle 70 beweglich gelagert sind. Der Riegel 39 weist an seinem vorderen Ende ein Steuerprofil 63 auf, auf dem die Führungsrolle 70 anliegt. Als Gegenlager für den Riegel 39 dient eine Lagerrolle 74, so dass der Riegel 39 zwischen der Lagerrolle 74 und der Führungsrolle 70 gelagert ist; das Steuerprofil ist derart ausgebildet, dass bei Bewegung des Riegels 39 in Richtung der Skilängsachse die Achse 75 mit den Verriegelungsrollen 38 über entsprechende Führung der Führungsrolle 70 auf dem Steuerprofil durch die entsprechenden Öffnungen in der Kolben- und Gehäusewand verriegelnd gepresst wird: siehe Fig. 10, rechte Häflte; bei entgegengesetzter Bewegung des Riegels 39 wird entriegelt.
  • In Fig. 11 ist eine weitere Ent-, Verriegelungsmechanik einer anderen Ausführungsform der erfindungsgemässen Vorrichtung schematisch wiedergegeben.
  • Während bei der Ausführungsform gemäss Fig. 8 die Entriegelung durch das Steuerprofil 63 unmittelbar auf dem Riegel 39 erfolgte, ist bei der vorliegenden Ausführungsform dieses Steuerungsprofil auf einem separaten Bauteil 95 aufgebracht, das im hinteren Teil 18b des Federkolbens in Längsrichtung des Fersenautomaten bewegbar angeordnet ist. Dieses Bauteil 95, das im Prinzip in gleicher Weise wie in Fig. 8 das oder die Verriegelungselemente 38 in der Verriegelungsposition hält, wird bei Erzeugung des Auslösesignals durch den im vorliegenden Fall bolzenförmig ausgebildeten Riegel 39 bzw. Anker 40 aus der Verriegelungsposition in die Entriegelungsposition in Richtung auf die Skispitze hin herausgeschlagen; mit 94 ist die freie Wegstrecke des schlagbolzenartigen Riegels 39 bezeichnet. Durch entsprechende federnde Lagerung des Bauteils 95 und/ oder der Verriegelungselemente 38 werden diese bei völliger Entlastung des Federkolbens 18 in die Ausgangsposition für die Verriegelung rückgeführt.
  • In Fig. 11 sind in der linken Hälfte der Abbildung die Verriegelungsposition und in der rechten Hälfte der Abbildung die Entriegelungsposition schematisch wiedergegeben.
  • Die erfindungsgemässe Vorrichtung in ihren verschiedenen Ausführungsformen wird derart eingestellt, dass bei Normaltemperatur, beispielsweise im Skifachgeschäft, in an sich bekannter Weise die Bindung in Abhängigkeit von den physischen Daten des Skifahrers und des verwendeten Skischuhmaterials auf einen entsprechenden Auslösewert eingestellt wird. Die elektronische Auslösung wird auf einen etwas niedrigeren Wert eingestellt, so dass bei Versagen der elektronischen Steuerung der Auslösung die Bindung in konventioneller Weise bei einem etwas höheren Druck öffnet. Auf diese Weise wird maximale Sicherheit gewährleistet.

Claims (15)

1. Auslösbares Einspannlager, insbesondere für Skibindungen, das einen unter der Kraft einer Druckfeder (36) stehenden verschiebbaren Federkolben (18) als Halteelement aufweist, wobei das hintere Ende des Federkolbens sich gegen ein Widerlager (38) abstützt, dadurch gekennzeichnet, dass der Federkolben aus einem vorderen, dem Schuh zugewandten Teil (18a) und einem hinteren Teil (18) besteht, die teleskopartig gegeneinander gegen die Kraft der Druckfeder (36) verschiebbar sind, und dass Sensoren (42) bei Verschiebung der beiden Teile (18a), (18b) um einen vorgegebenen Betrag ein Signal liefern, welches das Entriegeln des Widerlagers (38) bewirkt.
2. Einspannlager nach Anspruch 1, dadurch gekennzeichnet, dass die Verriegelung durch mindestens ein kugel-, rollen- oder stabförmiges Verriegelungselement (38) erfolgt, das in verriegeltem Zustand gleichzeitig in die Gehäuseinnenwand und den hinteren Teil (18b) des teleskopartig ausgebildeten Federkolbens (18) eingreift und diesen Federkolbenteil (18b) gegen die Gehäusewand fixiert, wobei dieses Verriegelungselement (38) vorzugsweise senkrecht zur Skilängsachse derart beweglich ausgebildet ist, dass es zur Entriegelung entweder aus dem Verriegelungslager in der Gehäusewand oder aus dem Eingriff in den hinteren Teil (18b) des Federkolbens bewegt werden kann.
(Die Ansprüche 3 bis 10 entsprechend den ursprünglichen Ansprüchen 5 bis 12.)
3. Einspannlager nach mindestens einem der vorhergehenden Ansprüche, dadurch gekennzeichnet, dass das Verriegelungselement (38) in der verriegelten Stellung mit einem in Skilängsrichtung beweglichen Riegel (39) zusammenwirkt, der ein Steuerprofil (63) aufweist, durch welches bei Bewegung des Riegels (39) das Verriegelungselement (38) je nach Bewegungsrichtung des Riegels (39) aus der oder in die Verriegelungsposition gesteuert wird.
4. Einspannlager nach mindestenes einem der vorhergehenden Ansprüche, dadurch gekennzeichnet, dass der Riegel (39) mit einem Anker (40) zusammenwirkt oder mit diesem starr verbunden ist, der sich in einer Spule (41) hinter dem Federkolben (18) in Skilängsrichtung angeordnet befindet, und gegebenenfalls in Skilängsrichtung federnd gelagert ist, wobei dieser Anker (40) mittelbar oder unmittelbar den Riegel unter Ent- oder Verriegelung des Verriegelungselementes (38) bewegt, wenn die Spule (41), gespeist aus einer im Gehäuse befindlichen Batterie (43) auf das entsprechende Signal der Drucksensoren (42) mit Strom durchflossen wird.
5. Einspannlager nach mindestens einem der vorhergehenden Ansprüche, dadurch gekennzeichnet, dass in der Austrittsöffnung des Federkolbens (18) aus dem Gehäuse zwischen der Gehäusewand und dem Federkolben eine brückenförmige Kulisse (83) angeordnet ist, die brückenförmig auf dem Federkolben (18) aufliegt und diesen über einen Bereich von etwa 180° überfasst, und die an einem flachen flächenförmigen Drucksensor (84) anliegt.
6. Einspannlager nach Anspruch 7, dadurch gekennzeichnet, dass in der Austrittsöffnung des Federkolbens aus dem Gehäuse zwischen der Gehäusewand und dem Federkolben mindestens zwei brückenförmige Kulissen (83) in V-Anordnung angeordnet sind, die brückenförmig auf dem Federkolben aufliegen und diesen über einen Bereich von jeweils etwa 90° überfassen, und die an jeweils einem flächenförmigen Drucksensor anliegen.
7. Einspannlager nach mindestens einem der vorhergehenden Ansprüche, dadurch gekennzeichnet, dass die Schaltung zur Auslösung der mechanischen Entriegelung mehrere, beispielsweise fünf Widerstände aufweist, die jeweils einen vorbestimmten Auslösedruck entsprechen, und die durch Schalter an oder im Gehäuse in Abhängigkeit von dem gewünschten Auslösedruck eingeschaltet werden können.
8. Einspannlager nach Anspruch 9, dadurch gekennzeichnet, dass die Schaltung ein Verzögerungselement aufweist, das die Registrierung und damit die mechanische Entriegelung verhindert, wenn der Auslöse- oder ein höherer Druck über einen Zeitraum von weniger als 1/10 sec auftritt.
9. Einspannlager nach mindestens einem der vorhergehenden Ansprüche, dadurch gekennzeichnet, dass das Verriegelungselement (38) aus zwei Verriegelungsrollen mit einer zwischenliegenden Führungsrolle (70) kleineren Durchmessers besteht, die auf einer Achse (75) drehbar angeordnet sind.
10. Einspannlager nach Anspruch 11, dadurch gekennzeichnet, dass die beiden Enden der Achse (75) in senkrechten Schlitzen in den Seitenwänden des hinteren Teils (18b) des teleskopartigen Federkolbens beweglich geführt sind, und dass das Steuerprofil (63) des Riegels (39) ausschliesslich mit der Führungsrolle (70) zusammenwirkt.
11. Einspannlager nach mindestens einem der vorhergehenden Ansprüche, dadurch gekennzeichnet, dass ein Endschalter (22b) vorgesehen ist, über den der Stromkreis in Ruhestellung der Spannvorrichtung abgeschaltet und bei einem vorbestimmten Druck auf den Federkolben (18) der Stromkreis eingeschaltet wird.
12. Einspannlager nach Anspruch 11, dadurch gekennzeichnet, dass der Einschaltdruck etwa 50% des Druckes zur Auslösung des Entriegelungsmechanismus entspricht.
13. Einspannlager nach mindestens einem der vorhergehenden Ansprüche, dadurch gekennzeichnet, dass ein Zeiger oder Hebel (15) vorgesehen ist, der im Zusammenwirken mit entsprechenden Markierungen auf dem Gehäuse (13) als Anzeige für den auf den Federkolben (18) wirkenden Druck ausgebildet ist.
14. Einspannlager nach Anspruch 13, dadurch gekennzeichnet, dass die Achse (16), um die sich der Zeiger oder Hebel (15) dreht, in einem Winkel von etwa 40 bis 50°, vorzugsweise 45°, zur Skioberfläche angeordnet ist, wobei der Hebel (15) mit dem Federkolben (18) einen Winkel von etwa 90° bildet, und durch diesen unmittelbar über einander angepasste Profile angetrieben wird.
15. Einspannlager nach mindestens einem der Ansprüche 13 und 14, dadurch gekennzeichnet, dass der Hebel (15) als Skibremse ausgebildet ist, wobei beidseitig des Gehäuses jeweils ein Hebel (15) vorgesehen ist.
EP81100425A 1980-01-23 1981-01-21 Auslösbares Einspannlager Expired EP0033131B1 (de)

Priority Applications (1)

Application Number Priority Date Filing Date Title
AT81100425T ATE9272T1 (de) 1980-01-23 1981-01-21 Ausloesbares einspannlager.

Applications Claiming Priority (4)

Application Number Priority Date Filing Date Title
DE19803002236 DE3002236A1 (de) 1980-01-23 1980-01-23 Thermo-electronic-integral-einspannvorrichtung
DE3002236 1980-01-23
DE19803031162 DE3031162A1 (de) 1980-08-18 1980-08-18 Thermo-electronic-integral-einspannvorrichtung
DE3031162 1980-08-18

Publications (2)

Publication Number Publication Date
EP0033131A1 EP0033131A1 (de) 1981-08-05
EP0033131B1 true EP0033131B1 (de) 1984-09-12

Family

ID=25783318

Family Applications (1)

Application Number Title Priority Date Filing Date
EP81100425A Expired EP0033131B1 (de) 1980-01-23 1981-01-21 Auslösbares Einspannlager

Country Status (3)

Country Link
US (1) US4460195A (de)
EP (1) EP0033131B1 (de)
DE (1) DE3165887D1 (de)

Families Citing this family (8)

* Cited by examiner, † Cited by third party
Publication number Priority date Publication date Assignee Title
US4460195A (en) * 1980-01-23 1984-07-17 Carolyn Bildner Automatic clamping and release mechanism
AT375833B (de) * 1982-10-19 1984-09-10 Tyrolia Freizeitgeraete Ausloesemechanismus fuer eine sicherheitsskibindung
FR2540736A1 (fr) * 1983-02-11 1984-08-17 Salomon & Fils F Dispositif indicateur de l'etat de reglage d'une fixation de securite de ski
AT379960B (de) * 1984-03-21 1986-03-25 Amf Sport Freizeitgeraete Steuereinrichtung fuer ausloeseskibindungen
DE3808643C2 (de) * 1987-11-27 1994-04-28 Implementors Overseas Ltd Selbsttätig auslösbare Skibindungseinheit
AT398387B (de) * 1991-08-23 1994-11-25 Tyrolia Freizeitgeraete Sicherheitsskibindung
US6007086A (en) * 1997-04-18 1999-12-28 Hopkins; Mark D. Electric ski binding system
US10543936B2 (en) 2018-03-29 2020-01-28 Walmart Apollo, Llc Window unit for UAV delivery

Citations (6)

* Cited by examiner, † Cited by third party
Publication number Priority date Publication date Assignee Title
AT268951B (de) * 1964-03-20 1969-02-25 Richard Erlebach Sicherheitsskibindung
DE1578898A1 (de) * 1965-08-06 1970-07-02 Salomon & Fils F Magnetische Ski-Sicherheitsbindung
DE2244949A1 (de) * 1972-09-13 1974-03-21 Hannes Marker Verfahren und vorrichtung zur freigabe eines skischuhes vom ski
DE2308754A1 (de) * 1973-02-22 1974-09-05 Ver Baubeschlag Gretsch Co Ausloeseskibindung mit zwischen dem bein und dem schuh des skilaeufers angeordnetem geber
AT324903B (de) * 1971-11-25 1975-09-25 Smolka & Co Wiener Metall Skibindung
DE2736027A1 (de) * 1976-09-02 1978-03-09 Salomon & Fils F Sicherheitsskibindung

Family Cites Families (7)

* Cited by examiner, † Cited by third party
Publication number Priority date Publication date Assignee Title
AT303583B (de) * 1970-07-08 1972-11-27 Smolka & Co Wiener Metall Auslöseskibindung
FR2225185B1 (de) * 1973-04-10 1979-03-02 Lautier Dominique
FR2351678A1 (fr) * 1976-05-18 1977-12-16 Salomon & Fils F Fixation de securite a declenchement electrique pour ski
FR2354787A1 (fr) * 1976-06-18 1978-01-13 Salomon & Fils F Fixation de securite pour ski
FR2369853A1 (fr) * 1976-11-04 1978-06-02 Salomon & Fils F Fixation de securite pour ski
FR2375880A1 (fr) * 1976-12-30 1978-07-28 Salomon & Fils F Dispositif de verrouillage a declenchement electromecanique
US4460195A (en) * 1980-01-23 1984-07-17 Carolyn Bildner Automatic clamping and release mechanism

Patent Citations (6)

* Cited by examiner, † Cited by third party
Publication number Priority date Publication date Assignee Title
AT268951B (de) * 1964-03-20 1969-02-25 Richard Erlebach Sicherheitsskibindung
DE1578898A1 (de) * 1965-08-06 1970-07-02 Salomon & Fils F Magnetische Ski-Sicherheitsbindung
AT324903B (de) * 1971-11-25 1975-09-25 Smolka & Co Wiener Metall Skibindung
DE2244949A1 (de) * 1972-09-13 1974-03-21 Hannes Marker Verfahren und vorrichtung zur freigabe eines skischuhes vom ski
DE2308754A1 (de) * 1973-02-22 1974-09-05 Ver Baubeschlag Gretsch Co Ausloeseskibindung mit zwischen dem bein und dem schuh des skilaeufers angeordnetem geber
DE2736027A1 (de) * 1976-09-02 1978-03-09 Salomon & Fils F Sicherheitsskibindung

Also Published As

Publication number Publication date
DE3165887D1 (en) 1984-10-18
US4460195A (en) 1984-07-17
EP0033131A1 (de) 1981-08-05

Similar Documents

Publication Publication Date Title
AT361350B (de) Sicherheitsskibindung
DE2907939C2 (de)
EP0033131B1 (de) Auslösbares Einspannlager
DE2214242A1 (de) Auslöseskibindung
DE2757800A1 (de) Sicherheitsskibindung
EP0107146B1 (de) Auslösemechanismus für eine Sicherheitsskibindung
DE69307396T2 (de) Elektrische Betätigungseinrichtung für einen Schutzschalter
CH688023A5 (de) Bindungseinrichtung zwischen einem Schuh und einem Sportgeraet
EP0142702A2 (de) Diebstahlsicherung für Skier
DE3143974C2 (de) Fersenhalter für eine Sicherheitsskibindung
DE2462549C3 (de) Schibindung
DE2260614B2 (de) Härteprüfmaschine nach dem Vorlastverfahren nach Rockwell
EP1601429B1 (de) Auslösbare bindung mit elektronischer steuerung für ski bzw. snowboards
EP0324933B1 (de) Messbacken einer Sicherheits-Skibindung
DE3335743C2 (de) Vorrichtung zur Ausmessung leicht deformierbarer Objekte
DE4040069A1 (de) Skibindung
DE3214849C2 (de) Verstelleinrichtung für einen Skibindungsbacken
EP0207382A2 (de) Sicherheitsskibindung
DE3124853A1 (de) Backen, insbesondere vorderbacken fuer sicherheitsskibindungen
AT371731B (de) Vorrichtung zur laengsverstellung von skibindungsteilen
DE2947147C2 (de) Tastschalter
DE2429811B2 (de) Federverrastung für Sicherheitsskibindungen
DE1801880A1 (de) Federverrastung
DE3045416A1 (de) Hoehenmessinstrument
DE2401151A1 (de) Skibindungsteil

Legal Events

Date Code Title Description
PUAI Public reference made under article 153(3) epc to a published international application that has entered the european phase

Free format text: ORIGINAL CODE: 0009012

AK Designated contracting states

Designated state(s): AT CH DE FR IT LI

17P Request for examination filed

Effective date: 19810924

ITF It: translation for a ep patent filed
GRAA (expected) grant

Free format text: ORIGINAL CODE: 0009210

AK Designated contracting states

Designated state(s): AT CH DE FR IT LI

REF Corresponds to:

Ref document number: 9272

Country of ref document: AT

Date of ref document: 19840915

Kind code of ref document: T

REF Corresponds to:

Ref document number: 3165887

Country of ref document: DE

Date of ref document: 19841018

ET Fr: translation filed
PLBE No opposition filed within time limit

Free format text: ORIGINAL CODE: 0009261

STAA Information on the status of an ep patent application or granted ep patent

Free format text: STATUS: NO OPPOSITION FILED WITHIN TIME LIMIT

26N No opposition filed
REG Reference to a national code

Ref country code: CH

Ref legal event code: PUE

Owner name: COMMUNICATIONS MEDIA COMED AG

ITPR It: changes in ownership of a european patent

Owner name: CESSIONE;COMMUNICATIONS MEDIA COMED AG

REG Reference to a national code

Ref country code: FR

Ref legal event code: TP

REG Reference to a national code

Ref country code: CH

Ref legal event code: PUE

Owner name: IMPLEMENTORS OVERSEAS LIMITED

ITPR It: changes in ownership of a european patent

Owner name: CESSIONE;IMPLEMENTURS OMERSEAS LTD

REG Reference to a national code

Ref country code: FR

Ref legal event code: TP

ITTA It: last paid annual fee
PGFP Annual fee paid to national office [announced via postgrant information from national office to epo]

Ref country code: FR

Payment date: 19941205

Year of fee payment: 15

PGFP Annual fee paid to national office [announced via postgrant information from national office to epo]

Ref country code: AT

Payment date: 19941212

Year of fee payment: 15

PGFP Annual fee paid to national office [announced via postgrant information from national office to epo]

Ref country code: CH

Payment date: 19941220

Year of fee payment: 15

PGFP Annual fee paid to national office [announced via postgrant information from national office to epo]

Ref country code: DE

Payment date: 19950125

Year of fee payment: 15

PG25 Lapsed in a contracting state [announced via postgrant information from national office to epo]

Ref country code: AT

Effective date: 19960121

PG25 Lapsed in a contracting state [announced via postgrant information from national office to epo]

Ref country code: LI

Effective date: 19960131

Ref country code: CH

Effective date: 19960131

REG Reference to a national code

Ref country code: CH

Ref legal event code: PL

PG25 Lapsed in a contracting state [announced via postgrant information from national office to epo]

Ref country code: FR

Effective date: 19960930

PG25 Lapsed in a contracting state [announced via postgrant information from national office to epo]

Ref country code: DE

Effective date: 19961001

REG Reference to a national code

Ref country code: FR

Ref legal event code: ST