WO2020031409A1 - ガイドワイヤ - Google Patents

ガイドワイヤ Download PDF

Info

Publication number
WO2020031409A1
WO2020031409A1 PCT/JP2019/008779 JP2019008779W WO2020031409A1 WO 2020031409 A1 WO2020031409 A1 WO 2020031409A1 JP 2019008779 W JP2019008779 W JP 2019008779W WO 2020031409 A1 WO2020031409 A1 WO 2020031409A1
Authority
WO
WIPO (PCT)
Prior art keywords
torque tube
guide wire
distal end
tip
core wire
Prior art date
Legal status (The legal status is an assumption and is not a legal conclusion. Google has not performed a legal analysis and makes no representation as to the accuracy of the status listed.)
Ceased
Application number
PCT/JP2019/008779
Other languages
English (en)
French (fr)
Japanese (ja)
Inventor
康一 酒井
直樹 大岡
Current Assignee (The listed assignees may be inaccurate. Google has not performed a legal analysis and makes no representation or warranty as to the accuracy of the list.)
Yokowo Co Ltd
Original Assignee
Yokowo Co Ltd
Yokowo Mfg Co Ltd
Priority date (The priority date is an assumption and is not a legal conclusion. Google has not performed a legal analysis and makes no representation as to the accuracy of the date listed.)
Filing date
Publication date
Application filed by Yokowo Co Ltd, Yokowo Mfg Co Ltd filed Critical Yokowo Co Ltd
Priority to CN201980047175.9A priority Critical patent/CN112423825A/zh
Priority to US17/263,820 priority patent/US20210290915A1/en
Publication of WO2020031409A1 publication Critical patent/WO2020031409A1/ja
Anticipated expiration legal-status Critical
Ceased legal-status Critical Current

Links

Images

Classifications

    • AHUMAN NECESSITIES
    • A61MEDICAL OR VETERINARY SCIENCE; HYGIENE
    • A61MDEVICES FOR INTRODUCING MEDIA INTO, OR ONTO, THE BODY; DEVICES FOR TRANSDUCING BODY MEDIA OR FOR TAKING MEDIA FROM THE BODY; DEVICES FOR PRODUCING OR ENDING SLEEP OR STUPOR
    • A61M25/00Catheters; Hollow probes
    • A61M25/01Introducing, guiding, advancing, emplacing or holding catheters
    • A61M25/09Guide wires
    • AHUMAN NECESSITIES
    • A61MEDICAL OR VETERINARY SCIENCE; HYGIENE
    • A61MDEVICES FOR INTRODUCING MEDIA INTO, OR ONTO, THE BODY; DEVICES FOR TRANSDUCING BODY MEDIA OR FOR TAKING MEDIA FROM THE BODY; DEVICES FOR PRODUCING OR ENDING SLEEP OR STUPOR
    • A61M25/00Catheters; Hollow probes
    • A61M25/0043Catheters; Hollow probes characterised by structural features
    • A61M25/0045Catheters; Hollow probes characterised by structural features multi-layered, e.g. coated
    • AHUMAN NECESSITIES
    • A61MEDICAL OR VETERINARY SCIENCE; HYGIENE
    • A61MDEVICES FOR INTRODUCING MEDIA INTO, OR ONTO, THE BODY; DEVICES FOR TRANSDUCING BODY MEDIA OR FOR TAKING MEDIA FROM THE BODY; DEVICES FOR PRODUCING OR ENDING SLEEP OR STUPOR
    • A61M25/00Catheters; Hollow probes
    • A61M25/01Introducing, guiding, advancing, emplacing or holding catheters
    • A61M25/09Guide wires
    • A61M2025/09058Basic structures of guide wires
    • A61M2025/09083Basic structures of guide wires having a coil around a core
    • AHUMAN NECESSITIES
    • A61MEDICAL OR VETERINARY SCIENCE; HYGIENE
    • A61MDEVICES FOR INTRODUCING MEDIA INTO, OR ONTO, THE BODY; DEVICES FOR TRANSDUCING BODY MEDIA OR FOR TAKING MEDIA FROM THE BODY; DEVICES FOR PRODUCING OR ENDING SLEEP OR STUPOR
    • A61M25/00Catheters; Hollow probes
    • A61M25/01Introducing, guiding, advancing, emplacing or holding catheters
    • A61M25/09Guide wires
    • A61M2025/09133Guide wires having specific material compositions or coatings; Materials with specific mechanical behaviours, e.g. stiffness, strength to transmit torque
    • AHUMAN NECESSITIES
    • A61MEDICAL OR VETERINARY SCIENCE; HYGIENE
    • A61MDEVICES FOR INTRODUCING MEDIA INTO, OR ONTO, THE BODY; DEVICES FOR TRANSDUCING BODY MEDIA OR FOR TAKING MEDIA FROM THE BODY; DEVICES FOR PRODUCING OR ENDING SLEEP OR STUPOR
    • A61M25/00Catheters; Hollow probes
    • A61M25/01Introducing, guiding, advancing, emplacing or holding catheters
    • A61M25/09Guide wires
    • A61M2025/09166Guide wires having radio-opaque features
    • AHUMAN NECESSITIES
    • A61MEDICAL OR VETERINARY SCIENCE; HYGIENE
    • A61MDEVICES FOR INTRODUCING MEDIA INTO, OR ONTO, THE BODY; DEVICES FOR TRANSDUCING BODY MEDIA OR FOR TAKING MEDIA FROM THE BODY; DEVICES FOR PRODUCING OR ENDING SLEEP OR STUPOR
    • A61M25/00Catheters; Hollow probes
    • A61M25/01Introducing, guiding, advancing, emplacing or holding catheters
    • A61M25/09Guide wires
    • A61M2025/09175Guide wires having specific characteristics at the distal tip

Definitions

  • the present invention relates to a guidewire used in the medical field.
  • a guidewire is used as a medical device used as a guide when a catheter is inserted into a digestive organ, a blood vessel, a ureter or the like.
  • a general medical guide wire includes a core wire having flexibility (flexibility), and a coil body disposed at a distal end of the core wire. The tip of the core wire and the tip of the coil body are joined to form a tip (tip) serving as a tip inserted into the body.
  • a guide wire provided with a core wire made of a superelastic alloy and partially covered with a mesh-like tubular portion (blade tube) formed by knitting a filament made of stainless steel or the like has been proposed.
  • a guide wire including a coil and a linear core material arranged to penetrate the coil and reach the insertion tip has been proposed (Patent Document 2).
  • the guide wires proposed in Patent Literatures 1 and 2 have good torque transmission properties, but are not necessarily sufficient in flexibility. If the core wire is made rigid to improve the torque transmission, the flexibility is likely to be impaired. On the other hand, if a flexible core wire is used to improve flexibility, it becomes difficult to improve torque transmission, and the strength tends to decrease. That is, since torque transmission and flexibility have a so-called trade-off relationship, it has been difficult to achieve both of these characteristics.
  • the present invention has been made in view of such circumstances, and an object thereof is to provide a guide having excellent flexibility and having a tip portion having sufficient strength and having excellent torque transmission. It is to provide a wire.
  • a first aspect of the present invention includes a core wire, a torque tube having a proximal end joined to a distal end of the core wire, and an insertion distal end joined to a distal end of the torque tube.
  • a guide wire which is a hollow member including a tube-shaped constituent layer formed by combining a plurality of strands spirally wound in the same direction in parallel.
  • a second aspect of the present invention is the guide wire according to the first aspect, further comprising a helical body disposed outside the torque tube, wherein a distal end of the helical body is joined to the insertion distal end. .
  • a third aspect of the present invention is the guide wire according to the second aspect, wherein the helical body is a tapered helical body whose diameter gradually decreases toward its tip.
  • the torque tube has a multilayer structure in which two or more tubular constituent layers are radially stacked and arranged.
  • the winding direction of each of the strands constituting the tube-shaped constituent layer arranged in the opposite direction is a guide wire in which directions are opposite to each other.
  • the winding direction of the wires forming the helical body and the winding directions of the plurality of wires forming the torque tube are different from each other. Are guidewires that are in opposite directions to each other.
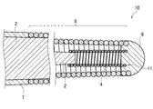
  • FIG. 1 is a side view schematically showing a first embodiment of a guide wire according to the present invention. It is sectional drawing which shows typically the front-end
  • FIG. 7 is a cross-sectional view schematically showing the vicinity of the distal end of the guide wire of FIG. 6. It is a side view which shows 4th Embodiment of the guide wire of this invention typically.
  • FIG. 9 is a cross-sectional view schematically showing the vicinity of the distal end of the guide wire of FIG.
  • FIG. 1 is a side view schematically showing a first embodiment of the guidewire of the present invention.
  • FIG. 2 is a cross-sectional view schematically showing the vicinity of the distal end of the guide wire of FIG.
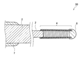
  • the guide wire 10 of the present embodiment includes a core wire 2, a torque tube 4 whose base end is joined to the tip of the core wire 2, and an insertion joint joined to the tip of the torque tube 4. And a tip portion 6.
  • the distal end of the core wire 2 is joined to the inside of the torque tube 4 at a position of, for example, about 1 to 3 mm.
  • a helical body 8 having a distal end joined to the insertion distal end 6 is disposed outside the torque tube 4.
  • FIG. 3 is a perspective view showing an example of the torque tube.
  • the torque tube 4 used as a component of the guide wire 10 (FIGS. 1 and 2) is a hollow member, and a plurality of strands 4a, 4b, spirally wound in the same direction. 4c,... Are formed by a tube-shaped constituent layer 11 formed by combining in parallel.
  • a conventional coil body is arranged at the distal end of a guide wire, and is configured by spirally winding a single element wire. Comparing the flexibility of the torque tube 4 with the flexibility of the conventional coil body, the torque tube 4 including the tubular component layer 11 having such a configuration shows a flexibility equal to or higher than the flexibility of the coil body.
  • the torque tube 4 is robust and has sufficient strength as compared with the conventional coil body, and is more excellent in torque transmission than the conventional coil body. Further, the torque tube 4 is different from a mesh-shaped tubular portion (blade tube) formed by knitting a filament and used for a guide wire proposed in Patent Document 1, and a plurality of strands 4a, 4b, 4c,. Are not knitted (not crossing each other), so that they are more flexible and easy to bend, and have excellent flexibility.
  • a circular shape, an elliptical shape, and the like can be given. It is preferable to use a torque tube composed of a plurality of wires having a circular cross-sectional shape, because a guide wire having more improved flexibility is obtained. Further, it is preferable to use a torque tube formed of an element wire having an elliptical cross-sectional shape, because a guide wire having further improved torque transmission is obtained.
  • the distal end of the core wire 2 is joined to the proximal end of the torque tube 4 and does not reach the insertion distal end 6. For this reason, the flexibility of the torque tube 4 is effectively exhibited, and the distal end portion of the guide wire 10 exhibits excellent flexibility. For this reason, it bends flexibly along the shape of the details without placing a burden on the tissue or the like in the body. Further, as described above, the torque tube 4 is more robust than a conventional coil body. For this reason, even if the core wire 2 does not penetrate through the inside (hollow portion) of the torque tube 4 and the distal end of the core wire 2 is joined to the base end of the torque tube 4, the distal end of the guide wire 10 of the present embodiment Has sufficient strength and excellent torque transmission.
  • FIG. 4 is a cross-sectional view schematically showing the vicinity of the distal end of the guide wire according to the second embodiment of the present invention.
  • FIG. 5 is a perspective view showing another example of the torque tube.
  • the torque tube 14 has a multilayer structure in which two or more tubular constituent layers 21 and 31 are radially stacked. Furthermore, the winding directions of the individual wires 14a, 14b, 14c,... And 24a, 24b, 24c,. Is preferred.
  • the torque transmission is excellent in any rotational direction (clockwise / counterclockwise). It can be a guidewire.
  • the number (the number) of strands constituting each of the adjacent tubular constituent layers may be different from each other.
  • the wire diameters of the wires constituting each of the tube-shaped constituent layers arranged adjacent to each other may be different from each other.
  • the number of strands (the number of wires) per one tube-shaped constituent layer constituting the torque tube is preferably 2 or more, more preferably 3 or more, and particularly preferably 4 or more.
  • the upper limit of the number of strands is not particularly limited, but is preferably 20 or less, more preferably 14 or less, and particularly preferably 8 or less. If the number of strands is too large, the flexibility of the torque tube tends to decrease, and the production tends to be difficult.
  • the total length L (FIG. 3) of the torque tube 4 is usually 3 to 100 mm, preferably 4 to 90 mm, and more preferably 5 to 80 mm.
  • the total length of the torque tube can be appropriately set according to the use of the guide wire.
  • the outer diameter and inner diameter of the torque tube slightly differ depending on the layer configuration (single-layer structure / multi-layer structure) of the torque tube and the number (number of wires) of the torque tube.
  • the inner diameter (maximum inner diameter) of a single-layer structure torque tube having six wires is usually 0.076 to 0.813 mm, preferably 0.102 to 0.559 mm.
  • the outer diameter (maximum outer diameter) of the single-layered torque tube having six strands is 0.152 to 0.889 mm, preferably 0.178 to 0.635 mm.
  • the inner diameter (maximum inner diameter) of the torque tube having six wires and a two-layer structure is usually 0.114 to 0.813 mm, preferably 0.140 to 0.559 mm.
  • the outer diameter (maximum outer diameter) of the torque tube having six wires and having a two-layer structure is usually 0.267 to 0.889 mm, preferably 0.292 to 0.635 mm.
  • the wires constituting the torque tube are formed of a metal material.
  • the metal material include stainless steel such as SUS302, SUS304V, and SUS316L; and various alloys such as nickel-titanium alloy (eg, Nitinol), Co, Cr, W, and platinum alloy. Among them, stainless steel such as SUS304V is preferable.
  • the diameter (maximum diameter) of the strand may be, for example, about 0.025 to 0.152 mm.
  • the total length and outer diameter of the core wire constituting the guide wire can be appropriately set according to the use of the guide wire (for digestive organs, blood vessels, etc.).
  • the total length of the core wire is, for example, 800 to 5,500 mm, and preferably 1,300 to 4,800 mm.
  • the outer diameter of the core wire may be gradually reduced from the base end (hand side) to the tip end.
  • the outer diameter of the core wire is, for example, 0.254 to 0.889 mm, and preferably 0.305 to 0.711 mm.
  • the core wire is formed of a metal material having good flexibility.
  • the metal material include stainless steel such as SUS302, SUS304V, and SUS316L; various alloys such as nickel-titanium alloy (eg, Nitinol) and Co, Cr, W.
  • stainless steel such as SUS304V and nickel-titanium alloy such as Nitinol are preferable, and nickel-titanium alloy such as Nitinol is particularly preferable from the viewpoint of excellent kink resistance.
  • a core wire 2 in which the base end side 2a and the front end side 2b are made of different metal materials, and these are joined at a joining portion 3.
  • Stainless steel is a metal material that is not excellent in kink resistance but is excellent in torque transmission.
  • a nickel-titanium alloy is a metal material excellent in kink resistance while easily causing torque loss.
  • the length of the distal end 2b made of a nickel-titanium alloy or the like is preferably 300 mm or more.
  • the helical body is formed of a metal material having good flexibility.
  • the metal material include stainless steel such as SUS302, SUS304V, and SUS316L; various alloys such as nickel-titanium alloy (eg, Nitinol), platinum alloy, gold, and W.
  • the helical body be made of a metal material such as a platinum alloy that is more difficult to transmit X-rays.
  • the total length of the helical body is usually 10 to 800 mm, preferably 20 to 600 mm.
  • the total length of the helical body can be set as appropriate according to the use of the guidewire and the like.
  • the diameter (maximum diameter) of the wires constituting the helical body may be, for example, about 0.040 to 0.080 mm.
  • the wires constituting the helical body may be tightly wound or sparsely wound.
  • the helical body 8 is preferably tapered such that its diameter gradually decreases toward its tip.
  • a tapered helical body 8 By using such a tapered helical body 8, it becomes easy to insert into a narrower vessel or the like, and a guide wire having a smaller diameter tip can be made more flexible.
  • the winding direction of the wires forming the helical body 8 and the winding directions of the wires 4a, 4b, 4c,... (FIG. 3) forming the torque tube 4 are opposite to each other. Is preferred. This makes it possible to provide a guide wire having excellent torque transmission in any rotational direction (clockwise / counterclockwise).
  • a coating layer 5 is formed on the surface of the core wire 2 (FIG. 1).
  • the material forming the coating layer 5 is preferably a hydrophobic resin material. Among them, it is preferable to form the coating layer with a fluorine-based resin such as PTFE, ETFE, and PFA. With such a configuration, the sliding resistance of the guide wire can be reduced more effectively.
  • a visibility marker such as a spiral pattern is provided near the distal end of the core wire 2 in order to enhance the visibility at the operation site using a fiber scope or the like (FIG. 1).
  • a marker 7 is, for example, after covering a predetermined portion of the core wire 2 with a heat-shrinkable resin tube provided with an appropriate pattern (marker), heated, and fixed with a UV adhesive or the like as necessary. Can be provided.
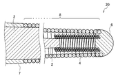
  • FIG. 6 is a side view schematically showing a third embodiment of the guide wire of the present invention.
  • FIG. 7 is a cross-sectional view schematically showing the vicinity of the distal end of the guide wire of FIG.
  • the guide wire 30 of the embodiment shown in FIGS. 6 and 7 includes a core wire 2, a torque tube 4 whose base end is joined to the distal end of the core wire 2, and an insertion distal end 6 joined to the distal end of the torque tube 4. Is provided.
  • the guidewire 30 of the present embodiment has no helical body disposed outside the torque tube 4.
  • the helical body is a component that can be appropriately provided according to the use of the guide wire and the like.
  • FIG. 8 is a side view schematically showing a fourth embodiment of the guide wire of the present invention.
  • FIG. 9 is a sectional view schematically showing the vicinity of the distal end of the guide wire of FIG.
  • the guide wire 40 of the embodiment shown in FIGS. 8 and 9 has the core wire 12 with its distal end bent, the torque tube 4 with its proximal end joined to the distal end of the core wire 12, and the distal end of the torque tube 4 joined. And an insertion tip 6.
  • a helical body 18 having a bent tip joined to the insertion tip 6 is disposed outside the torque tube 4. That is, the guide wire 40 of the embodiment shown in FIGS. 8 and 9 is an angle type guide wire having a bent distal end. As described above, the distal end of the guide wire may be appropriately bent depending on the use or the like.
  • the guidewire of the present invention can be manufactured according to a conventionally known method except that a specific torque tube is used.
  • a wire made of a nickel-titanium alloy such as Nitinol is polished to obtain a core wire having a desired shape.
  • a hydrophobic resin material such as a fluorine-based resin such as PTFE to form a coating layer
  • a predetermined position is formed by a heat-shrinkable resin tube provided with a visibility marker such as a spiral pattern. Is coated.
  • the base end of the torque tube is joined to the tip of the core wire by soldering or the like in a state where the tip of the core wire has entered the inside of the torque tube by about 1 to 3 mm.
  • the base end of the helical body made of a metal material such as a platinum alloy is joined to the core wire by soldering or the like, and the tip of the torque tube and the tip of the helical body are joined by Tig welding or the like to form an insertion tip.
  • both open ends of the heat-shrinkable resin tube are fixed to the core wire using a UV-curable adhesive or the like, and the resin tube is heated to shrink the resin tube and adhere to the core wire.
  • the guide wire of the present invention can be obtained by applying hydrophilic coating to a portion where the helical body is arranged.
  • the torque tube When manufacturing an angle type guide wire having a bent end as shown in FIGS. 8 and 9 using a torque tube having a relatively long overall length (for example, around 70 mm), the torque tube is usually bent. And fix it. Specifically, the torque tube can be bent at a desired angle, and the bent portion can be fixed by bonding with a UV adhesive or soldering. By bending in this manner, an angle type guide wire having a bent distal end can be manufactured even when a relatively long torque tube is used.
  • the guidewire of the present invention is useful, for example, as a digestive organ guidewire.

Landscapes

  • Health & Medical Sciences (AREA)
  • Life Sciences & Earth Sciences (AREA)
  • Biophysics (AREA)
  • Pulmonology (AREA)
  • Engineering & Computer Science (AREA)
  • Anesthesiology (AREA)
  • Biomedical Technology (AREA)
  • Heart & Thoracic Surgery (AREA)
  • Hematology (AREA)
  • Animal Behavior & Ethology (AREA)
  • General Health & Medical Sciences (AREA)
  • Public Health (AREA)
  • Veterinary Medicine (AREA)
  • Media Introduction/Drainage Providing Device (AREA)
PCT/JP2019/008779 2018-08-08 2019-03-06 ガイドワイヤ Ceased WO2020031409A1 (ja)

Priority Applications (2)

Application Number Priority Date Filing Date Title
CN201980047175.9A CN112423825A (zh) 2018-08-08 2019-03-06 导丝
US17/263,820 US20210290915A1 (en) 2018-08-08 2019-03-06 Guide wire

Applications Claiming Priority (2)

Application Number Priority Date Filing Date Title
JP2018148978A JP7137396B2 (ja) 2018-08-08 2018-08-08 ガイドワイヤ
JP2018-148978 2018-08-08

Publications (1)

Publication Number Publication Date
WO2020031409A1 true WO2020031409A1 (ja) 2020-02-13

Family

ID=69414671

Family Applications (1)

Application Number Title Priority Date Filing Date
PCT/JP2019/008779 Ceased WO2020031409A1 (ja) 2018-08-08 2019-03-06 ガイドワイヤ

Country Status (4)

Country Link
US (1) US20210290915A1 (enExample)
JP (1) JP7137396B2 (enExample)
CN (1) CN112423825A (enExample)
WO (1) WO2020031409A1 (enExample)

Cited By (1)

* Cited by examiner, † Cited by third party
Publication number Priority date Publication date Assignee Title
CN112494784A (zh) * 2020-12-08 2021-03-16 广东博迈医疗器械有限公司 一种血管介入造影导丝及其制备方法

Families Citing this family (1)

* Cited by examiner, † Cited by third party
Publication number Priority date Publication date Assignee Title
CN111891826B (zh) * 2020-08-05 2021-11-19 中北大学 一种多股并绕的导丝及其制备装置和制备方法

Citations (9)

* Cited by examiner, † Cited by third party
Publication number Priority date Publication date Assignee Title
JPH0420354U (enExample) * 1990-06-08 1992-02-20
JP2006511304A (ja) * 2002-12-23 2006-04-06 ボストン サイエンティフィック リミテッド ガイドワイヤのチップ構造
JP2007503929A (ja) * 2003-09-05 2007-03-01 ボストン サイエンティフィック リミテッド 体内で使用するための長尺状医療器具
US20080045908A1 (en) * 2006-08-16 2008-02-21 Boston Scientific Scimed, Inc. Medical device including a metallic tube fillet welded to a core member
JP2012070853A (ja) * 2010-09-28 2012-04-12 Asahi Intecc Co Ltd ガイドワイヤ
JP2012205800A (ja) * 2011-03-30 2012-10-25 Terumo Corp ガイドワイヤ
JP2013000268A (ja) * 2011-06-15 2013-01-07 Asahi Intecc Co Ltd ガイドワイヤ
JP2016013269A (ja) * 2014-07-02 2016-01-28 朝日インテック株式会社 ガイドワイヤ
JP2017070803A (ja) * 2016-12-15 2017-04-13 朝日インテック株式会社 ガイドワイヤ

Family Cites Families (8)

* Cited by examiner, † Cited by third party
Publication number Priority date Publication date Assignee Title
US4763647A (en) * 1987-01-06 1988-08-16 C. R. Bard, Inc. Dual coil steerable guidewire
JPH0780076A (ja) * 1993-06-30 1995-03-28 Asahi Intec Kk 医療用ガイドワイヤ
US20070293791A1 (en) * 2006-06-16 2007-12-20 Jeong Lee Guidewire With Lubricious Proximal Portion
JP4889062B2 (ja) * 2010-02-19 2012-02-29 朝日インテック株式会社 ガイドワイヤ
JP5448125B1 (ja) * 2013-05-31 2014-03-19 株式会社エフエムディ 医療用ガイドワイヤ
JP2015051085A (ja) * 2013-09-06 2015-03-19 朝日インテック株式会社 コイル体及びそのコイル体を用いた医療器具
JP2015208362A (ja) * 2014-04-24 2015-11-24 朝日インテック株式会社 ガイドワイヤ
EP3377163B1 (en) * 2015-11-18 2023-05-31 Heraeus Deutschland GmbH & Co. KG Torque coil and method

Patent Citations (9)

* Cited by examiner, † Cited by third party
Publication number Priority date Publication date Assignee Title
JPH0420354U (enExample) * 1990-06-08 1992-02-20
JP2006511304A (ja) * 2002-12-23 2006-04-06 ボストン サイエンティフィック リミテッド ガイドワイヤのチップ構造
JP2007503929A (ja) * 2003-09-05 2007-03-01 ボストン サイエンティフィック リミテッド 体内で使用するための長尺状医療器具
US20080045908A1 (en) * 2006-08-16 2008-02-21 Boston Scientific Scimed, Inc. Medical device including a metallic tube fillet welded to a core member
JP2012070853A (ja) * 2010-09-28 2012-04-12 Asahi Intecc Co Ltd ガイドワイヤ
JP2012205800A (ja) * 2011-03-30 2012-10-25 Terumo Corp ガイドワイヤ
JP2013000268A (ja) * 2011-06-15 2013-01-07 Asahi Intecc Co Ltd ガイドワイヤ
JP2016013269A (ja) * 2014-07-02 2016-01-28 朝日インテック株式会社 ガイドワイヤ
JP2017070803A (ja) * 2016-12-15 2017-04-13 朝日インテック株式会社 ガイドワイヤ

Cited By (1)

* Cited by examiner, † Cited by third party
Publication number Priority date Publication date Assignee Title
CN112494784A (zh) * 2020-12-08 2021-03-16 广东博迈医疗器械有限公司 一种血管介入造影导丝及其制备方法

Also Published As

Publication number Publication date
CN112423825A (zh) 2021-02-26
JP2020022648A (ja) 2020-02-13
JP7137396B2 (ja) 2022-09-14
US20210290915A1 (en) 2021-09-23

Similar Documents

Publication Publication Date Title
JP4981471B2 (ja) ガイドワイヤ
JP6082807B2 (ja) ガイドワイヤ
JP7266407B2 (ja) カテーテル及びカテーテルの製造方法
EP2384218B1 (en) Medical guide wire and method of forming thereof
JP2010524588A (ja) 医療器具
JP6679729B2 (ja) 補強材付きポリマーカテーテルシャフト
WO2016047499A1 (ja) ガイドワイヤ
CN108348726A (zh) 导管轴和相关联的装置、系统和方法
JP5995370B2 (ja) ガイドワイヤ
JP5665079B2 (ja) ガイドワイヤ
US10850074B2 (en) Guide wire
JP5742238B2 (ja) 医療機器
JP2008161589A (ja) ガイドワイヤ
WO2020031409A1 (ja) ガイドワイヤ
JP2015083086A (ja) コイル体及びガイドワイヤ
JP2016013285A (ja) 医療用チューブ体
WO2020246037A1 (ja) ガイドワイヤ
JP6701082B2 (ja) ガイドワイヤおよびガイドワイヤの製造方法
JP2006271901A (ja) コイル状造影マーカーとその製造方法、及びカテーテル
JP7545339B2 (ja) 多層コイル
JP5997370B2 (ja) ガイドワイヤ
JP6850368B2 (ja) カテーテル
JP2024082393A (ja) ガイドワイヤ
WO2014162391A1 (ja) ガイドワイヤ
JP6709083B2 (ja) ガイドワイヤ

Legal Events

Date Code Title Description
121 Ep: the epo has been informed by wipo that ep was designated in this application

Ref document number: 19848699

Country of ref document: EP

Kind code of ref document: A1

NENP Non-entry into the national phase

Ref country code: DE

122 Ep: pct application non-entry in european phase

Ref document number: 19848699

Country of ref document: EP

Kind code of ref document: A1