WO2019073910A1 - 車載電子部品用筐体のシール構造 - Google Patents

車載電子部品用筐体のシール構造 Download PDF

Info

Publication number
WO2019073910A1
WO2019073910A1 PCT/JP2018/037295 JP2018037295W WO2019073910A1 WO 2019073910 A1 WO2019073910 A1 WO 2019073910A1 JP 2018037295 W JP2018037295 W JP 2018037295W WO 2019073910 A1 WO2019073910 A1 WO 2019073910A1
Authority
WO
WIPO (PCT)
Prior art keywords
housing
rib
seal
opening
cover member
Prior art date
Legal status (The legal status is an assumption and is not a legal conclusion. Google has not performed a legal analysis and makes no representation as to the accuracy of the status listed.)
Ceased
Application number
PCT/JP2018/037295
Other languages
English (en)
French (fr)
Japanese (ja)
Inventor
晋太郎 木暮
健史郎 檜田
Current Assignee (The listed assignees may be inaccurate. Google has not performed a legal analysis and makes no representation or warranty as to the accuracy of the list.)
Denso Corp
Original Assignee
Denso Corp
Priority date (The priority date is an assumption and is not a legal conclusion. Google has not performed a legal analysis and makes no representation as to the accuracy of the date listed.)
Filing date
Publication date
Application filed by Denso Corp filed Critical Denso Corp
Priority to CN201880065880.7A priority Critical patent/CN111201844B/zh
Publication of WO2019073910A1 publication Critical patent/WO2019073910A1/ja
Priority to US16/844,821 priority patent/US11590909B2/en
Anticipated expiration legal-status Critical
Ceased legal-status Critical Current

Links

Images

Classifications

    • BPERFORMING OPERATIONS; TRANSPORTING
    • B60VEHICLES IN GENERAL
    • B60RVEHICLES, VEHICLE FITTINGS, OR VEHICLE PARTS, NOT OTHERWISE PROVIDED FOR
    • B60R16/00Electric or fluid circuits specially adapted for vehicles and not otherwise provided for; Arrangement of elements of electric or fluid circuits specially adapted for vehicles and not otherwise provided for
    • B60R16/02Electric or fluid circuits specially adapted for vehicles and not otherwise provided for; Arrangement of elements of electric or fluid circuits specially adapted for vehicles and not otherwise provided for electric constitutive elements
    • B60R16/023Electric or fluid circuits specially adapted for vehicles and not otherwise provided for; Arrangement of elements of electric or fluid circuits specially adapted for vehicles and not otherwise provided for electric constitutive elements for transmission of signals between vehicle parts or subsystems
    • B60R16/0239Electronic boxes
    • HELECTRICITY
    • H05ELECTRIC TECHNIQUES NOT OTHERWISE PROVIDED FOR
    • H05KPRINTED CIRCUITS; CASINGS OR CONSTRUCTIONAL DETAILS OF ELECTRIC APPARATUS; MANUFACTURE OF ASSEMBLAGES OF ELECTRICAL COMPONENTS
    • H05K5/00Casings, cabinets or drawers for electric apparatus
    • H05K5/06Hermetically-sealed casings
    • H05K5/061Hermetically-sealed casings sealed by a gasket held between a removable cover and a body, e.g. O-ring, packing
    • HELECTRICITY
    • H02GENERATION; CONVERSION OR DISTRIBUTION OF ELECTRIC POWER
    • H02MAPPARATUS FOR CONVERSION BETWEEN AC AND AC, BETWEEN AC AND DC, OR BETWEEN DC AND DC, AND FOR USE WITH MAINS OR SIMILAR POWER SUPPLY SYSTEMS; CONVERSION OF DC OR AC INPUT POWER INTO SURGE OUTPUT POWER; CONTROL OR REGULATION THEREOF
    • H02M7/00Conversion of AC power input into DC power output; Conversion of DC power input into AC power output
    • H02M7/42Conversion of DC power input into AC power output without possibility of reversal
    • H02M7/44Conversion of DC power input into AC power output without possibility of reversal by static converters
    • H02M7/48Conversion of DC power input into AC power output without possibility of reversal by static converters using discharge tubes with control electrode or semiconductor devices with control electrode
    • HELECTRICITY
    • H05ELECTRIC TECHNIQUES NOT OTHERWISE PROVIDED FOR
    • H05KPRINTED CIRCUITS; CASINGS OR CONSTRUCTIONAL DETAILS OF ELECTRIC APPARATUS; MANUFACTURE OF ASSEMBLAGES OF ELECTRICAL COMPONENTS
    • H05K5/00Casings, cabinets or drawers for electric apparatus
    • H05K5/02Details
    • H05K5/0217Mechanical details of casings
    • HELECTRICITY
    • H05ELECTRIC TECHNIQUES NOT OTHERWISE PROVIDED FOR
    • H05KPRINTED CIRCUITS; CASINGS OR CONSTRUCTIONAL DETAILS OF ELECTRIC APPARATUS; MANUFACTURE OF ASSEMBLAGES OF ELECTRICAL COMPONENTS
    • H05K5/00Casings, cabinets or drawers for electric apparatus
    • H05K5/02Details
    • H05K5/03Covers
    • BPERFORMING OPERATIONS; TRANSPORTING
    • B60VEHICLES IN GENERAL
    • B60RVEHICLES, VEHICLE FITTINGS, OR VEHICLE PARTS, NOT OTHERWISE PROVIDED FOR
    • B60R16/00Electric or fluid circuits specially adapted for vehicles and not otherwise provided for; Arrangement of elements of electric or fluid circuits specially adapted for vehicles and not otherwise provided for
    • B60R16/02Electric or fluid circuits specially adapted for vehicles and not otherwise provided for; Arrangement of elements of electric or fluid circuits specially adapted for vehicles and not otherwise provided for electric constitutive elements
    • B60R16/04Arrangement of batteries
    • YGENERAL TAGGING OF NEW TECHNOLOGICAL DEVELOPMENTS; GENERAL TAGGING OF CROSS-SECTIONAL TECHNOLOGIES SPANNING OVER SEVERAL SECTIONS OF THE IPC; TECHNICAL SUBJECTS COVERED BY FORMER USPC CROSS-REFERENCE ART COLLECTIONS [XRACs] AND DIGESTS
    • Y02TECHNOLOGIES OR APPLICATIONS FOR MITIGATION OR ADAPTATION AGAINST CLIMATE CHANGE
    • Y02EREDUCTION OF GREENHOUSE GAS [GHG] EMISSIONS, RELATED TO ENERGY GENERATION, TRANSMISSION OR DISTRIBUTION
    • Y02E60/00Enabling technologies; Technologies with a potential or indirect contribution to GHG emissions mitigation
    • Y02E60/10Energy storage using batteries

Definitions

  • the present disclosure relates to a seal structure of a housing that accommodates in-vehicle electronic devices.
  • a structure in which, for example, a power conversion device or a battery unit is disposed as an electronic device in an engine room.
  • the electronic device is susceptible to the effects of various liquids including car wash water, muddy water, salt water, and rain water, because it is exposed to the environment.
  • the battery unit described in Patent Document 1 below has a seal surface between the housing and the cover in a state where the cover is assembled from the upper side with respect to a base (hereinafter, referred to as a “housing”) that accommodates the electronic device.
  • a sealing member is provided, and the side surface of the housing and the side surface of the cover are configured to overlap each other. According to this configuration, for example, the side surface of the cover can prevent car wash water from striking the seal member directly.
  • the liquid which has entered the seal surface between the housing and the cover may accumulate near the seal portion, thereby deteriorating the seal member and infiltrating into the housing.
  • such a problem may occur not only in the housing that accommodates the battery unit but also in the housing that accommodates various in-vehicle electronic devices.
  • the present disclosure is intended to provide a seal structure that can prevent liquid from infiltrating into a housing that contains in-vehicle electronic components.
  • a housing that accommodates in-vehicle electronic components;
  • a cover member covering an opening provided in the housing; Equipped with The housing comprises: an erected portion having a sealing surface erected so as to surround the opening; and a rib erected on the opposite side of the opening with the erected portion interposed therebetween;
  • the rib has a discharge surface provided in connection with the sealing surface of the standing portion, the cover member has an extending portion extending along the rib, and the housing has the opening
  • the discharge surface of the rib is located lower than the seal surface of the standing portion, and the extension of the cover member is lower than the discharge surface of the rib.
  • Seal structure for an on-vehicle electronic component case which is configured to extend up to It is in.
  • the extension of the cover member when the housing is disposed with the opening facing upward, the extension of the cover member has a linear path along which the liquid passes from the outside over the rib to the sealing surface of the standing portion. It can be closed. For this reason, it is possible to make it difficult for the liquid to reach the seal surface by preventing the liquid from directly striking the seal surface of the erected portion with its force.
  • the discharge surface of the rib when the housing is arranged with the opening facing upward, the discharge surface of the rib is at a lower position than the seal surface of the standing portion, so the liquid follows the gravity due to the height difference between the discharge surface and the seal surface. It is easy to flow to the discharge surface side, and it is difficult to stay on the sealing surface of the standing portion. For this reason, it is possible to prevent the liquid entering the seal surface of the erected portion from deteriorating the seal surface itself or the seal member provided on the seal surface and entering the opening.
  • FIG. 1 is a perspective view of a power conversion device according to a first embodiment
  • FIG. 2 is a view showing a state in which the first cover member is removed from the housing in the power conversion device of FIG. 1
  • 3 is a cross-sectional view taken along line III-III in FIG. 4 is a cross-sectional view taken along line IV-IV in FIG.
  • FIG. 5 is a view showing a state in which the second cover member is removed from the housing in the power conversion device of FIG. 1
  • 6 is a cross-sectional view taken along line VI-VI in FIG. 7 is a cross-sectional view taken along line VII-VII in FIG.
  • FIG. 8 is a side view of the region A in FIG. 9 is a cross-sectional view taken along line IX-IX in FIG.
  • FIG. 10 is a side view of the region B in FIG. 5;
  • FIG. 11 is a side view of the seal structure located on the side when the housing of FIG. 1 is disposed sideways,
  • FIG. 12 is a side view of the seal structure located on the side when the housing of FIG. 1 is disposed sideways, 13 is a cross-sectional view showing the seal structure of Embodiment 2.
  • 14 is a cross-sectional view showing a seal structure of Embodiment 3
  • FIG. 15 is a cross-sectional view showing a seal structure of Embodiment 4;
  • FIG. 16 is a cross-sectional view showing the seal structure of the fifth embodiment.
  • a first direction which is a width direction at the time of mounting the vehicle body of a housing accommodating a plurality of in-vehicle electronic components is indicated by an arrow X, and is a depth direction of the housing
  • the second direction is indicated by arrow Y
  • the third direction which is the height direction (vertical direction) of the casing is indicated by arrow Z.
  • the power conversion device 1 As shown in FIG. 1, the power conversion device 1 according to the first embodiment is mounted, for example, on an electric car or a hybrid car, and is an inverter that converts direct current power to alternating current necessary for driving a driving motor. Used.
  • the power conversion device 1 includes an on-vehicle electronic component 2, a case 10 as a case, and cover members 30 and 50, and the case 10 is configured to accommodate a plurality of on-vehicle electronic components 2.
  • the plurality of on-vehicle electronic components 2 include semiconductor modules including semiconductor elements such as IGBTs, and electronic components such as a reactor, a capacitor, and a control circuit board that are all related to the semiconductor modules.
  • the first cover member 30 is fastened and fixed via the plurality of screw members 3 so as to cover the opening 20 of the housing 10 disposed in the normal direction.
  • the first cover member 30 constitutes a seal structure 11 for the opening 20 together with the housing 10.
  • the opening 20 is an opening portion provided in a penetrating manner on the upper surface 10 a of the housing 10 with the first direction X as a longitudinal direction. While the opening 20 is covered by the first cover member 30 during normal use of the power conversion device 1, an operator performs work for the on-vehicle electronic component 2 when assembling or maintaining the power conversion device 1. Sometimes it is used with the first cover member 30 removed.
  • the second cover member 50 is fastened and fixed via the plurality of screw members 3 so as to cover the opening 40 of the housing 10 disposed in the normal direction.
  • the second cover member 50 constitutes seal structures 12 and 13 for the opening 40 together with the housing 10.
  • the opening 40 is an opening provided in a penetrating manner on the side surface 10 b of the housing 10 with the first direction X as the longitudinal direction. Similar to the opening 20, the opening 40 is covered by the second cover member 50 during normal use of the power conversion device 1, and an operator performs on-vehicle electronic components when assembling or maintaining the power conversion device 1.
  • the second cover member 50 is used with the second cover member 50 removed when performing the work for the second.
  • an aluminum-based metal material can be used as an example of the material of the housing 10 and an iron-based metal material can be used as an example of the material of the cover members 30 and 50
  • various materials may be used as needed. It is possible to use.
  • a nonmetallic material such as a resin material can also be used.
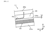
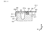
  • the housing 10 is provided with a standing portion 21 and a rib 23 on the top surface 10 a thereof.
  • the erected portion 21 has a sealing surface 21 a erected annularly so as to surround the opening 20.
  • the seal member 22 is disposed on the seal surface 21 a.
  • the sealing member 22 is formed of a gasket which is a liquid-tight fixing sealing material, and is housed in a space between the recess 33 provided in the first cover member 30 and the sealing surface 21 a of the standing portion 21. It is held.
  • the sealing surface 21a of the standing portion 21 is joined to the back surface of the first cover member 30 via the sealing member 22, whereby the opening 20 is formed. Be sealed.
  • the rib 23 is annularly erected so as to surround the outer periphery of the erected portion 21. That is, the rib 23 is erected on the opposite side of the opening 20 with the erecting portion 21 interposed therebetween.
  • the rib 23 has a discharge surface 23 a provided in connection with the seal surface 21 a of the standing portion 21.
  • the discharge surface 23 a of the rib 23 is configured to be located lower than the sealing surface 21 a of the standing portion 21.
  • the seal surface 21a and the discharge surface 23a are disposed adjacent to each other, and a step having a predetermined dimension is formed between the seal surface 21a and the discharge surface 23a.
  • the rib 23 has a groove 24 as a recess in the discharge surface 23a.
  • the groove 24 is configured as an annular groove extending continuously along the standing portion 21.
  • seal structure 11 will be described in detail with reference to FIGS. 3 and 4.
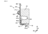
  • the rib 23 has a fastening surface 23 b that is substantially at the same position as the sealing surface 21 a of the standing portion 21 in the third direction Z.
  • the discharge surface 23 a and the fastening surface 23 b are alternately arranged on the rib 23 along the circumferential direction of the standing portion 21.
  • a gap 25 is formed between the first cover member 30 and the discharge surface 23 a of the rib 23 such that the dimension in the third direction Z is D1 (> 0).
  • the first cover member 30 also has an extension 31 extending along the rib 23.
  • the extension portion 31 is configured such that the dimension in the third direction Z from the part corresponding to the discharge surface 23a of the rib 23 and the same position in the third direction Z to the extension tip 31a is D2 (> 0). ing. Therefore, when the housing 10 is disposed with the opening 20 facing upward, the extending portion 31 of the first cover member 30 extends below the discharge surface 23 a of the rib 23.
  • the extending portion 31 of the first cover member 30 is a standing portion in which the liquid crosses the rib 23 from the side. It is possible to close the linear path to reach the seal surface 21a of 21. Therefore, by preventing the liquid from directly striking the seal surface 21 a of the standing portion 21 with the force thereof, the liquid can hardly reach the seal surface 21 a.
  • liquid typically, car wash water when car washing a vehicle under high pressure, muddy water or salt water scattered toward the vehicle when the vehicle is traveling, rain water, high pressure water used in a seal resistance test, etc. Can be mentioned.
  • the discharge surface 23a of the rib 23 is at a position lower than the seal surface 21a of the standing portion 21. Therefore, the liquid is the discharge surface 23a and the seal surface 21a. Because of the difference in height, it is easy to flow to the discharge surface 23a side according to the gravity, and it is difficult to stay on the seal surface 21a of the standing portion 21. Therefore, it is possible to prevent the liquid entering the seal surface 21 a of the standing portion 21 from deteriorating the seal surface 21 a itself or the seal member 22 provided on the seal surface 21 a and entering the opening 20. For example, even when the housing 10 is an aluminum die cast, it is possible to prevent the occurrence of a phenomenon in which the aluminum material is corroded by the liquid attached to the sealing surface 21a.
  • the liquid can be temporarily stored in the groove 24.
  • the liquid can be discharged to the outside through the gap 25 as indicated by the arrow Fa. Therefore, it is possible to prevent the liquid from reaching the seal surface 21 a of the standing portion 21 via the groove portion 24.
  • the weight of the housing 10 can be reduced as compared with the case where the groove 24 is not provided.
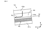
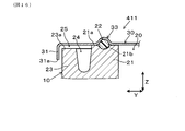
  • the housing 10 is provided with a standing portion 41 and a rib 43 on the side surface 10 b.
  • the standing portion 41 has a sealing surface 41 a standing annularly so as to surround the opening 40.
  • the seal member 42 is disposed on the seal surface 41 a.
  • the seal member 42 is formed of a gasket similar to the seal member 22, and is housed and held in the space between the recess 53 provided in the second cover member 50 and the seal surface 41 a of the standing portion 41.
  • the seal surface 41a of the standing portion 41 is joined to the back surface of the second cover member 50 via the seal member 42, whereby the opening 40 is formed. Be sealed.
  • the rib 43 is annularly erected so as to surround the outer periphery of the erected portion 41. That is, the rib 43 is erected on the opposite side of the opening 40 with the erecting portion 41 interposed therebetween.
  • the rib 43 has a discharge surface 43 a connected to the seal surface 41 a of the standing portion 41. Further, when the housing 10 is disposed with the opening 40 facing upward, the discharge surface 43 a of the rib 43 is configured to be located lower than the sealing surface 41 a of the standing portion 41. In this case, the seal surface 41a and the discharge surface 43a are disposed adjacent to each other, and a step of a fixed dimension is formed between the seal surface 41a and the discharge surface 43a.
  • the rib 43 has a groove 44 as a recess in the discharge surface 43a.
  • the groove 44 is configured as an annular groove extending along the standing portion 21.
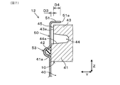
  • seal structures 12 and 13 will be described in detail with reference to FIGS. 6 to 9.
  • the rib 43 is a fastening surface 43 b substantially at the same position as the seal surface 41 a of the standing portion 41 in the second direction Y.
  • the discharge surface 43 a and the fastening surface 43 b are alternately arranged on the rib 43 along the circumferential direction of the standing portion 41.
  • the fastening surface 43b of the rib 43 is provided with screw holes 43c in which the respective shaft portions of the plurality of screw members 3 can be screwed. Therefore, in the second cover member 50, the shaft portion of the screw member 3 inserted in the through hole 52 is screwed into the screw hole 43c of the rib 43 in a state where the back surface is in contact with the fastening surface 43b of the rib 43 Are fastened and fixed to the housing 10 by the
  • a gap 45 is formed between the second cover member 50 and the discharge surface 43a of the rib 43 such that the dimension in the second direction Y is D3 (> 0).
  • the second cover member 50 has an extension 51 extending along the rib 43.
  • the extension portion 51 is configured such that the dimension in the second direction Y from the portion corresponding to the same position in the second direction Y with the discharge surface 43 a of the rib 43 is D4 (> 0) in the second direction Y. ing. Therefore, when the housing 10 is disposed with the opening 40 facing upward, the extending portion 51 of the second cover member 50 extends below the discharge surface 43 a of the rib 43.
  • the extending portion 51 of the second cover member 50 can close the linear path in which the liquid passes from the upper side over the rib 43 and reaches the sealing surface 41 a of the standing portion 41. . Therefore, by preventing the liquid from striking the seal surface 41 a of the standing portion 41 with its force directly, the liquid can hardly reach the seal surface 41 a.
  • the groove 44 can guide the liquid in the extending direction of the groove 44 in the horizontal direction.
  • the liquid flowing into the groove 44 through the gap 45 can be discharged downward from the groove 44 by guiding the inclined surface 44 a downward in the inclination direction according to the gravity as shown by the arrow Fb. (See Figure 8).
  • the extension portion 51 of the second cover member 50 is a portion where the liquid passes over the rib 43 from below. It is possible to close the linear path reaching the seal surface 41a of 41. Therefore, by preventing the liquid from striking the seal surface 41 a of the standing portion 41 with its force directly, the liquid can hardly reach the seal surface 41 a.
  • the groove 44 has an inclined surface 44a inclined at an angle ⁇ with respect to the horizontal direction, and
  • the inclined surface 44 a is preferably inclined to be lower as it goes further outward, that is, as it approaches the second cover member 50.
  • the liquid flowing into the groove 44 through the gap 45 is discharged from the groove 44 by guiding the inclined surface 44 a downward and downward in the inclination direction according to the gravity as shown by the arrow Fc. (See Figure 10).
  • the sealing structure 11 is the same as that of the sealing structures 12 and 13. The same effects as those described above are achieved.
  • the groove 24 has an angle ⁇ such that the liquid can be guided in the horizontal direction. And has an inclined surface 24a inclined by As a result, the liquid flowing into the groove 24 through the gap 25 (see FIG. 4) can be discharged downward from the groove 24 by guiding the inclined surface 24 a downward in the inclination direction according to the gravity as shown by the arrow Fd. .
  • the inclined surface 24 a of the groove 24 goes outward. That is, it is preferable to incline so as to be lower as the first cover member 30 is approached.
  • the liquid flowing into the groove 24 through the gap 25 can be discharged from the groove 24 by guiding the inclined surface 24 a downward and downward in the inclination direction according to the gravity as shown by the arrow Fe. .
  • the seal structures 12 and 13 exhibit the same effects as the above-described effects of the seal structure 11.
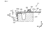
  • the seal structure 111 of the second embodiment is different from the seal structure 11 of the first embodiment in that the discharge surface 23 a of the rib 23 is not provided with a recess such as the groove 24 (see FIG. 4). It is different.
  • the other configuration is the same as that of the seal structure 11 of the first embodiment.
  • the shape of the discharge surface 23 a of the rib 23 can be simplified.
  • the same operation and effect as the seal structure 11 of the first embodiment can be obtained.
  • the feature of the seal structure 111 of the second embodiment can also be applied to the seal structures 12 and 13 of the first embodiment. That is, in the seal structures 12 and 13 of the first embodiment, the groove 44 (see FIGS. 7 and 9) provided in the discharge surface 43a of the rib 43 can be omitted.
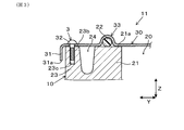
  • the seal structure 211 of the third embodiment is different from the seal structure 11 of the first embodiment in that a liquid seal material 122 is used instead of the seal member 22.
  • the sealing material 122 is applied to the sealing surface 21 a of the erected portion 21 and dried or uniformed after a predetermined time to form an elastic film or an adhesive thin layer to exhibit liquid tightness. It is done.
  • the recess 33 (see FIG. 4) of the first cover member 30 is omitted.
  • the other configuration is the same as that of the seal structure 11 of the first embodiment.
  • the third embodiment it is possible to realize a sealing structure 211 using a liquid sealing material 122 in place of the gasket. Further, the shape of the first cover member 30 can be simplified as compared with the first embodiment. In addition, the same operation and effect as the seal structure 11 of the first embodiment can be obtained.
  • seal structure 211 of the third embodiment can be applied to the seal structures 12 and 13 of the first embodiment. That is, instead of the seal member 42 of the seal structures 12 and 13 of the first embodiment, the same seal material as the seal material 122 can be used.
  • the seal structure 311 of the fourth embodiment is different from the seal structure 11 of the first embodiment in that the seal surface 21 a of the standing portion 21 is provided with a recess 21 b for accommodating the seal member 22. And is different. For this reason, the recessed part 33 (refer FIG. 4) of the 1st cover member 30 is abbreviate
  • the other configuration is the same as that of the seal structure 11 of the first embodiment.
  • the shape of the first cover member 30 can be simplified as compared with the first embodiment.
  • the same operation and effect as the seal structure 11 of the first embodiment can be obtained.
  • the feature of the seal structure 311 of the fourth embodiment can be applied to the seal structures 12 and 13 of the first embodiment.
  • Embodiment 5 As shown in FIG. 16, in the seal structure 411 of the fifth embodiment, the seal surface 21a of the standing portion 21 is provided with a recess 21b for accommodating the seal member 22.
  • the recess 21b and the first cover member It differs from the seal structure 11 of the first embodiment in that a space for accommodating and holding the seal member 22 is formed in both of the concave portions 33 of 30.
  • the other configuration is the same as that of the seal structure 11 of the first embodiment.
  • the dimension of the recess 33 of the first cover member 30 can be reduced as compared to the first embodiment.
  • the same operation and effect as the seal structure 11 of the first embodiment can be obtained.
  • the feature of the seal structure 411 of the fifth embodiment can be applied to the seal structures 12 and 13 of the first embodiment.
  • the number of combinations of the opening of the housing 10 and the cover member that covers the opening is two, the number of combinations is not limited to two; It may be one or three or more.
  • the discharge surface 23a of the rib 23 is provided with the groove 24 continuously extending along the standing portion 21, and the discharge surface 43a of the rib 43 is continuous along the standing portion 41.
  • at least one of the groove 24 and the groove 44 may be configured by a discontinuous recess.
  • the inclined surface 44a of the groove 44 is inclined with respect to the horizontal direction when the housing 10 is arranged in the normal direction, and the groove 24 of the groove 24 when the housing 10 is arranged horizontally.
  • the inclined surface 44a of the groove portion 44 extends in the horizontal direction when the housing 10 is disposed in the normal direction.
  • the inclined surface 24a of the groove 24 may be configured to extend in the horizontal direction when the housing 10 is disposed in the horizontal direction.
  • this seal structure is also applicable to the seal structure of the housing

Landscapes

  • Engineering & Computer Science (AREA)
  • Microelectronics & Electronic Packaging (AREA)
  • Mechanical Engineering (AREA)
  • Power Engineering (AREA)
  • Casings For Electric Apparatus (AREA)
  • Inverter Devices (AREA)
PCT/JP2018/037295 2017-10-10 2018-10-05 車載電子部品用筐体のシール構造 Ceased WO2019073910A1 (ja)

Priority Applications (2)

Application Number Priority Date Filing Date Title
CN201880065880.7A CN111201844B (zh) 2017-10-10 2018-10-05 车载电子部件用壳体的密封结构
US16/844,821 US11590909B2 (en) 2017-10-10 2020-04-09 Sealing structure of case for in-vehicle electronic components

Applications Claiming Priority (2)

Application Number Priority Date Filing Date Title
JP2017-197047 2017-10-10
JP2017197047A JP7081109B2 (ja) 2017-10-10 2017-10-10 車載電子部品用筐体のシール構造

Related Child Applications (1)

Application Number Title Priority Date Filing Date
US16/844,821 Continuation US11590909B2 (en) 2017-10-10 2020-04-09 Sealing structure of case for in-vehicle electronic components

Publications (1)

Publication Number Publication Date
WO2019073910A1 true WO2019073910A1 (ja) 2019-04-18

Family

ID=66100626

Family Applications (1)

Application Number Title Priority Date Filing Date
PCT/JP2018/037295 Ceased WO2019073910A1 (ja) 2017-10-10 2018-10-05 車載電子部品用筐体のシール構造

Country Status (4)

Country Link
US (1) US11590909B2 (enExample)
JP (1) JP7081109B2 (enExample)
CN (1) CN111201844B (enExample)
WO (1) WO2019073910A1 (enExample)

Families Citing this family (4)

* Cited by examiner, † Cited by third party
Publication number Priority date Publication date Assignee Title
CN210609961U (zh) 2019-06-18 2020-05-22 维谛技术有限公司 供电模块外壳及包括该供电模块外壳的供电模块
JP2022013151A (ja) * 2020-07-03 2022-01-18 住友電装株式会社 電気接続箱の筐体
WO2025046834A1 (ja) * 2023-08-31 2025-03-06 日立Astemo株式会社 収納空間シール構造
FR3162110A1 (fr) * 2024-05-07 2025-11-14 Ampere Sas Dispositif de fermeture pour un boitier, notamment un boitier configure pour recevoir un element electronique, et agencement comprenant celui-ci

Citations (7)

* Cited by examiner, † Cited by third party
Publication number Priority date Publication date Assignee Title
JPS62119064U (enExample) * 1986-01-20 1987-07-28
JPH01127298U (enExample) * 1988-02-24 1989-08-31
JP2003101256A (ja) * 2001-09-21 2003-04-04 Kyocera Corp 屋外設置機器の防水構造
JP2004072876A (ja) * 2002-08-05 2004-03-04 Yazaki Corp 防水ボックス
JP2010259208A (ja) * 2009-04-24 2010-11-11 Hitachi Automotive Systems Ltd 電気品の収納装置及び車両用インバータの収納装置
JP2015122914A (ja) * 2013-12-25 2015-07-02 トヨタ自動車株式会社 電力変換ユニットケース
JP2017158420A (ja) * 2016-02-29 2017-09-07 株式会社デンソー 電力変換装置

Family Cites Families (25)

* Cited by examiner, † Cited by third party
Publication number Priority date Publication date Assignee Title
JPS6359383U (enExample) * 1986-10-06 1988-04-20
JP3355081B2 (ja) * 1995-02-16 2002-12-09 矢崎総業株式会社 防水ケース
DE10045728B4 (de) * 1999-09-17 2015-08-20 Denso Corporation Gehäuse für ein elektronisches Steuergerät und Anordnung aus einem solchen Gehäuse und einer elektronischen Schaltungseinheit
JP4357504B2 (ja) * 2006-06-29 2009-11-04 株式会社日立製作所 エンジン制御装置
US7563992B2 (en) * 2006-09-20 2009-07-21 Delphi Technologies, Inc. Electronic enclosure with continuous ground contact surface
JP5236234B2 (ja) * 2007-09-18 2013-07-17 日本無線株式会社 車載通信端末装置
JP4557181B2 (ja) * 2007-11-15 2010-10-06 株式会社デンソー 電子制御装置
JP2009131088A (ja) * 2007-11-26 2009-06-11 Furukawa Electric Co Ltd:The 電気接続箱
JP5341626B2 (ja) * 2009-06-11 2013-11-13 矢崎総業株式会社 防水ボックス
JP5288207B2 (ja) * 2009-10-29 2013-09-11 住友電装株式会社 車載用電気機器のシールカバー
US8598455B2 (en) * 2009-11-17 2013-12-03 GM Global Technology Operations LLC Protection assemblies for terminal devices
CN102114798B (zh) * 2009-12-31 2013-03-13 上海市电力公司 一种车载式智能安全工器具柜
CN201700109U (zh) * 2010-04-26 2011-01-05 鸿富锦精密工业(深圳)有限公司 户外设备的机箱
CN201657565U (zh) 2010-04-28 2010-11-24 天津市柯文制模注塑有限公司 一种电器盒防水结构
JP5474877B2 (ja) * 2011-06-17 2014-04-16 日立オートモティブシステムズ株式会社 電子制御装置
JP2013105766A (ja) * 2011-11-10 2013-05-30 Mitsubishi Electric Corp 電子制御装置
JP6001360B2 (ja) 2012-07-05 2016-10-05 株式会社デンソー 電池ユニット
KR101405623B1 (ko) * 2012-08-13 2014-06-10 현대자동차주식회사 자동차용 전장박스
JP5499125B2 (ja) * 2012-09-19 2014-05-21 三菱電機株式会社 筐体及びその筐体の組立方法
KR101407154B1 (ko) * 2013-05-10 2014-06-13 현대오트론 주식회사 차량의 전자제어장치
KR101710188B1 (ko) * 2013-11-26 2017-02-24 엘지전자 주식회사 디스플레이 장치
JP5746386B1 (ja) * 2014-01-24 2015-07-08 三菱電機株式会社 防水型制御ユニットおよびその組み立て方法
JP5745127B1 (ja) * 2014-03-28 2015-07-08 三菱電機株式会社 防水型制御ユニット
JP6135736B2 (ja) 2015-03-19 2017-05-31 住友電装株式会社 電気機器のシールカバー
JP6631050B2 (ja) * 2015-06-30 2020-01-15 株式会社明電舎 電子制御装置

Patent Citations (7)

* Cited by examiner, † Cited by third party
Publication number Priority date Publication date Assignee Title
JPS62119064U (enExample) * 1986-01-20 1987-07-28
JPH01127298U (enExample) * 1988-02-24 1989-08-31
JP2003101256A (ja) * 2001-09-21 2003-04-04 Kyocera Corp 屋外設置機器の防水構造
JP2004072876A (ja) * 2002-08-05 2004-03-04 Yazaki Corp 防水ボックス
JP2010259208A (ja) * 2009-04-24 2010-11-11 Hitachi Automotive Systems Ltd 電気品の収納装置及び車両用インバータの収納装置
JP2015122914A (ja) * 2013-12-25 2015-07-02 トヨタ自動車株式会社 電力変換ユニットケース
JP2017158420A (ja) * 2016-02-29 2017-09-07 株式会社デンソー 電力変換装置

Also Published As

Publication number Publication date
US11590909B2 (en) 2023-02-28
US20200231105A1 (en) 2020-07-23
JP2019071732A (ja) 2019-05-09
CN111201844A (zh) 2020-05-26
CN111201844B (zh) 2021-08-20
JP7081109B2 (ja) 2022-06-07

Similar Documents

Publication Publication Date Title
WO2019073910A1 (ja) 車載電子部品用筐体のシール構造
US8978804B2 (en) Battery box
CN104509226A (zh) 电子控制装置
JP2000085375A (ja) 電気自動車のバッテリ搭載フロア構造
JP2013069736A (ja) 電子制御装置
JP2018067735A (ja) 電子制御装置
JP7114918B2 (ja) 電子制御装置
JP2015090941A (ja) 制御ユニット
US9610981B1 (en) Vehicle body assembly
JP2011147261A (ja) 電力変換装置
JP2009284366A (ja) 車両用ルーフアンテナ
CN111787726A (zh) 降低或消除噪声与振动问题的模块与装设其的电子设备
JP6722140B2 (ja) 接地ガード取付構造
JP2016067096A (ja) 電力変換装置
CN218577485U (zh) 车辆的充电口结构
JP6605344B2 (ja) 車載用フレーム体
EP4355041B1 (en) Electrical component housing
JP2010115003A (ja) パワーケーブルカバー
US11252845B2 (en) Power conversion device
JP2007153246A (ja) ステアリングジョイントカバー
JP2016052204A (ja) 電力変換装置
JP2005080489A (ja) ワイヤハーネスが挿通されるグロメットを備える機器
CN116534134B (zh) 发动机罩下面的前部储存室封闭
KR0160047B1 (ko) 자동차의 대시판넬 용접써비스홀 카바구조
CN209943942U (zh) 一种用于将零件安装到汽车围板上的安装结构及围板组件

Legal Events

Date Code Title Description
121 Ep: the epo has been informed by wipo that ep was designated in this application

Ref document number: 18866910

Country of ref document: EP

Kind code of ref document: A1

NENP Non-entry into the national phase

Ref country code: DE

122 Ep: pct application non-entry in european phase

Ref document number: 18866910

Country of ref document: EP

Kind code of ref document: A1