WO2019065387A1 - レバー式コネクタ - Google Patents

レバー式コネクタ Download PDF

Info

Publication number
WO2019065387A1
WO2019065387A1 PCT/JP2018/034558 JP2018034558W WO2019065387A1 WO 2019065387 A1 WO2019065387 A1 WO 2019065387A1 JP 2018034558 W JP2018034558 W JP 2018034558W WO 2019065387 A1 WO2019065387 A1 WO 2019065387A1
Authority
WO
WIPO (PCT)
Prior art keywords
contact pressure
lever
female
male
terminal
Prior art date
Legal status (The legal status is an assumption and is not a legal conclusion. Google has not performed a legal analysis and makes no representation as to the accuracy of the status listed.)
Ceased
Application number
PCT/JP2018/034558
Other languages
English (en)
French (fr)
Japanese (ja)
Inventor
清水 徹
Current Assignee (The listed assignees may be inaccurate. Google has not performed a legal analysis and makes no representation or warranty as to the accuracy of the list.)
Sumitomo Wiring Systems Ltd
AutoNetworks Technologies Ltd
Sumitomo Electric Industries Ltd
Original Assignee
Sumitomo Wiring Systems Ltd
AutoNetworks Technologies Ltd
Sumitomo Electric Industries Ltd
Priority date (The priority date is an assumption and is not a legal conclusion. Google has not performed a legal analysis and makes no representation as to the accuracy of the date listed.)
Filing date
Publication date
Application filed by Sumitomo Wiring Systems Ltd, AutoNetworks Technologies Ltd, Sumitomo Electric Industries Ltd filed Critical Sumitomo Wiring Systems Ltd
Priority to DE112018005470.5T priority Critical patent/DE112018005470B4/de
Priority to CN201880058642.3A priority patent/CN111801851B/zh
Priority to US16/636,569 priority patent/US11025005B1/en
Publication of WO2019065387A1 publication Critical patent/WO2019065387A1/ja
Anticipated expiration legal-status Critical
Ceased legal-status Critical Current

Links

Images

Classifications

    • HELECTRICITY
    • H01ELECTRIC ELEMENTS
    • H01RELECTRICALLY-CONDUCTIVE CONNECTIONS; STRUCTURAL ASSOCIATIONS OF A PLURALITY OF MUTUALLY-INSULATED ELECTRICAL CONNECTING ELEMENTS; COUPLING DEVICES; CURRENT COLLECTORS
    • H01R13/00Details of coupling devices of the kinds covered by groups H01R12/70 or H01R24/00 - H01R33/00
    • H01R13/62Means for facilitating engagement or disengagement of coupling parts or for holding them in engagement
    • H01R13/629Additional means for facilitating engagement or disengagement of coupling parts, e.g. aligning or guiding means, levers, gas pressure electrical locking indicators, manufacturing tolerances
    • H01R13/62933Comprising exclusively pivoting lever
    • H01R13/62938Pivoting lever comprising own camming means
    • HELECTRICITY
    • H01ELECTRIC ELEMENTS
    • H01RELECTRICALLY-CONDUCTIVE CONNECTIONS; STRUCTURAL ASSOCIATIONS OF A PLURALITY OF MUTUALLY-INSULATED ELECTRICAL CONNECTING ELEMENTS; COUPLING DEVICES; CURRENT COLLECTORS
    • H01R13/00Details of coupling devices of the kinds covered by groups H01R12/70 or H01R24/00 - H01R33/00
    • H01R13/02Contact members
    • H01R13/193Means for increasing contact pressure at the end of engagement of coupling part, e.g. zero insertion force or no friction
    • HELECTRICITY
    • H01ELECTRIC ELEMENTS
    • H01RELECTRICALLY-CONDUCTIVE CONNECTIONS; STRUCTURAL ASSOCIATIONS OF A PLURALITY OF MUTUALLY-INSULATED ELECTRICAL CONNECTING ELEMENTS; COUPLING DEVICES; CURRENT COLLECTORS
    • H01R13/00Details of coupling devices of the kinds covered by groups H01R12/70 or H01R24/00 - H01R33/00
    • H01R13/46Bases; Cases
    • H01R13/52Dustproof, splashproof, drip-proof, waterproof, or flameproof cases
    • H01R13/5202Sealing means between parts of housing or between housing part and a wall, e.g. sealing rings
    • HELECTRICITY
    • H01ELECTRIC ELEMENTS
    • H01RELECTRICALLY-CONDUCTIVE CONNECTIONS; STRUCTURAL ASSOCIATIONS OF A PLURALITY OF MUTUALLY-INSULATED ELECTRICAL CONNECTING ELEMENTS; COUPLING DEVICES; CURRENT COLLECTORS
    • H01R13/00Details of coupling devices of the kinds covered by groups H01R12/70 or H01R24/00 - H01R33/00
    • H01R13/46Bases; Cases
    • H01R13/52Dustproof, splashproof, drip-proof, waterproof, or flameproof cases
    • H01R13/521Sealing between contact members and housing, e.g. sealing insert
    • HELECTRICITY
    • H01ELECTRIC ELEMENTS
    • H01RELECTRICALLY-CONDUCTIVE CONNECTIONS; STRUCTURAL ASSOCIATIONS OF A PLURALITY OF MUTUALLY-INSULATED ELECTRICAL CONNECTING ELEMENTS; COUPLING DEVICES; CURRENT COLLECTORS
    • H01R13/00Details of coupling devices of the kinds covered by groups H01R12/70 or H01R24/00 - H01R33/00
    • H01R13/46Bases; Cases
    • H01R13/53Bases or cases for heavy duty; Bases or cases for high voltage with means for preventing corona or arcing
    • HELECTRICITY
    • H01ELECTRIC ELEMENTS
    • H01RELECTRICALLY-CONDUCTIVE CONNECTIONS; STRUCTURAL ASSOCIATIONS OF A PLURALITY OF MUTUALLY-INSULATED ELECTRICAL CONNECTING ELEMENTS; COUPLING DEVICES; CURRENT COLLECTORS
    • H01R13/00Details of coupling devices of the kinds covered by groups H01R12/70 or H01R24/00 - H01R33/00
    • H01R13/66Structural association with built-in electrical component
    • H01R13/70Structural association with built-in electrical component with built-in switch
    • H01R13/701Structural association with built-in electrical component with built-in switch the switch being actuated by an accessory, e.g. cover, locking member
    • HELECTRICITY
    • H01ELECTRIC ELEMENTS
    • H01RELECTRICALLY-CONDUCTIVE CONNECTIONS; STRUCTURAL ASSOCIATIONS OF A PLURALITY OF MUTUALLY-INSULATED ELECTRICAL CONNECTING ELEMENTS; COUPLING DEVICES; CURRENT COLLECTORS
    • H01R13/00Details of coupling devices of the kinds covered by groups H01R12/70 or H01R24/00 - H01R33/00
    • H01R13/66Structural association with built-in electrical component
    • H01R13/70Structural association with built-in electrical component with built-in switch
    • H01R13/703Structural association with built-in electrical component with built-in switch operated by engagement or disengagement of coupling parts, e.g. dual-continuity coupling part
    • H01R13/7031Shorting, shunting or bussing of different terminals interrupted or effected on engagement of coupling part, e.g. for ESD protection, line continuity

Definitions

  • the technology disclosed by the present specification relates to a lever-type connector.
  • Japanese Patent No. 4496475 (patent document The connector described in 1) is known.
  • the connector includes a male connector housing having a hood portion opened forward, and a female connector housing that can be fitted in the hood portion, and the female connector housing is provided with a flexible locking arm.
  • a female terminal fitting having a resilient contact piece is accommodated in the female connector housing, and a contact pressure receiving portion for pressing down the resilient contact piece is provided on the lower surface of the lock arm so as to project downward.
  • a lock protrusion is provided on the upper surface of the lock arm, and when the female connector housing is fitted in the hood portion, the lock arm is pushed downward while the lock protrusion is in sliding contact with the opening of the hood portion.
  • the pressure receiving portion is in a state in which the resilient contact piece is pushed down. In this state, when the male tab enters into the square tube portion of the female terminal fitting, the male tab does not contact the elastic contact piece, so that contact wear can be prevented.
  • Patent Document 2 Japanese Patent Application Laid-Open No. 2008-218331
  • This connector has a seal member in intimate contact with the hood portion of the male housing and the housing main body portion of the female housing, and this seal member enables sealing between the male and female housings.
  • the back wall portion of the male housing is provided with a pair of projecting pieces projecting forward, and a pair of projecting portions are provided projecting laterally on both sides of the contact piece of the female terminal.
  • the pair of projecting portions ride on the pair of projecting pieces, whereby the tab is in contact with the contact portion of the contact piece at a high contact pressure, and both are connected in a conductive manner.
  • contact wear due to the sliding contact of the tab with the contact portion of the contact piece during fitting can be suppressed.
  • Patent No. 4496475 gazette JP 2008-218331 A
  • Patent Documents 1 and 2 are as described above, and at present, a connector that can be applied to a waterproof connector and can suppress contact wear can not be realized.
  • the lever-type connector disclosed by the present specification includes a female terminal capable of being in contact with a male terminal held in a male housing, a female housing internally containing the female terminal and capable of being mated with the male housing, and The connector is attached to the female housing from the front in the mating direction, a low contact pressure position where the female terminal is in contact with the male terminal at a low contact pressure, and a contact direction back from the low contact position.
  • a contact pressure applying member movable between a high contact pressure position where the female terminal is brought into contact with the male terminal under high contact pressure by applying The lever for moving the housing in the fitting direction and for moving the contact pressure applying member from the low contact pressure position to the high contact pressure position after the fitting is completed, and the contact pressure applying member penetrates the female housing Arranged A first seal for water stopping the through-holes, and a structure in which a second seal for water stopping a mating portion of the said female housing male housing.
  • the contact pressure applying member is in the low contact pressure position before the male and female housings are completely fitted, and the female terminal contacts the male terminal with a low contact pressure, thereby preventing contact wear. be able to.
  • the contact pressure applying member is moved to the high contact pressure position by the lever, the female terminal contacts the male terminal with high contact pressure.
  • the fitting operation of the male and female housings is stopped, contact wear can be prevented even when the low contact pressure state is shifted to the high contact pressure state.
  • the present invention can be applied to a waterproof connector.
  • the lever-type connector disclosed by the present specification may have the following configuration.
  • the lever has a cam groove, and the cam groove is engaged with a cam pin provided on the male housing, and a fitting track for performing a fitting operation, and the lever is continuously moved after the fitting is completed.
  • It may be configured to have an idle track in which the fitting operation is kept stopped in some cases. According to such a configuration, since the cam groove has the fitting track and the idle track, the fitting operation is performed even if the lever is subsequently moved after the fitting of the male and female housings is completed by the fitting track. There is no progress and the male and female housings can be maintained in the fitted state.
  • the lever has a drive shaft, and the contact pressure applying member is provided with a drive track for moving from the low contact position to the high contact position by engaging with the drive shaft. It is good also as composition provided with a part and a contact pressure granting part which presses the above-mentioned female terminal, and applies contact pressure, and the above-mentioned drive part penetrates to the above-mentioned penetration hole, and is distributed. According to such a configuration, since the drive unit is disposed at a position different from the contact pressure applying unit that presses the female terminal, the first seal may be set without being restricted by the arrangement of the female terminal. it can.
  • the female housing has a mounting portion to which the driving portion is mounted, and the driving portion is accommodated between the mounting portion and the lever after the fitting of the female housing and the male housing is completed.
  • Configuration. since the drive portion is accommodated between the mounting portion and the lever, the drive portion can be prevented from being detached from the mounting portion on the way from the low contact pressure position to the high contact pressure position. .
  • lever-type connector which is applicable to a waterproof connector and which maintains a low contact pressure in the middle of fitting and is brought into a high contact pressure after fitting.
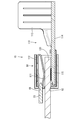
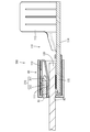
  • FIG. 1 An exploded perspective view showing components of the lever-type connector of Embodiment 1
  • a perspective view of a lever-type connector in which the lever is in the rotation start position The perspective view of the lever type connector which showed the state in which the lever is in the rotation end position.
  • Front view of a lever-type connector in which the lever is in the rotation start position AA line sectional view in FIG. 4
  • Front view of a lever-type connector in which the lever is in the rotation end position BB line cross section in FIG. 6 Top view of the lever-type connector with the lever in the mated position CC sectional view in FIG. 8
  • Sectional drawing which showed the state which connected the male terminal to the female terminal in Embodiment 2, and made the contact pressure provision member be located in the high contact pressure position.
  • Sectional drawing which showed the state which connected the male terminal to the female terminal in Embodiment 3, and made the contact pressure provision member be located in the high contact pressure position.
  • the perspective view which showed a mode that a contact pressure provision member was moved by gear drive in Embodiment 4.
  • the lever-type connector 10 includes a pair of contact pressure applying members 20, a pair of first seals 30, a front cover 40, a second seal 50, a female housing 60, a lever 70, and a pair of members.
  • the terminal cover 80, the pair of shield shells 90, the pair of terminal-equipped electric wires 100, and the like are provided.
  • the terminal-equipped electric wire 100 has a double-coated shielded electric wire 101, a female terminal 110 connected to the inner conductor constituting the shielded electric wire 101, an outer conductor 91 constituting the shielded electric wire 101, and a shield Underlay ring 103 and caulking ring 104 sandwiching the rear end of shell 90, third seal 105 in close contact with the outer peripheral surface of sheath 102 constituting shield wire 101, and back retainer 106 for preventing the third seal from coming off And is configured.
  • the female terminal 110 includes an angular tube portion 112 having an elastic contact piece 111, and a wire connection portion 114 having a barrel portion 113 to be crimped to the internal conductor of the shield wire 101.
  • the metal plate constituting 112 is thinner than the metal plate constituting the wire connection portion 114 and has high rigidity.
  • the wire connection portion 114 has a terminal connection portion 115 inserted from the rear to the square tube portion 112, and the terminal connection portion 115 is connected to the male terminal 120 held by the male housing 130.
  • the male terminal 120 of the present embodiment is a bus bar made of a conductive metal plate material.
  • the resilient contact piece 111 has a chevron shape as a whole, and is configured to extend forward in a cantilever shape. More specifically, the elastic contact piece 111 is provided so as to be folded forward from the rear end of the peripheral wall portion 116 constituting the rectangular tube portion 112, and between the front end of the elastic contact piece 111 and the peripheral wall portion 116 , A gap is formed. A contact pressure applying unit 23 described later can enter into this gap from the front.
  • the terminal connection portion 115 is disposed to face the apex portion of the elastic contact piece 111, and has a shape in which two places in front and rear are raised.
  • the raised portion serves as a contact portion in contact with the male terminal 120.
  • the two front and rear contact portions are arranged symmetrically at two front and rear positions with respect to the top of the resilient contact piece 111.
  • the female terminal 110 is accommodated and held inside the terminal cover 80, and the terminal cover 80 is accommodated and held inside the shield shell 90.
  • the shield shell 90 protrudes rearward beyond the rear end of the terminal cover 80, and is connected to the outer conductor 91 of the shield wire 101 at this protruding portion.
  • the shield shell 90 and the outer conductor 91 of the shield wire 101 are integrated. It has been crimped.
  • the rear end of the caulking ring 104 is fixed to the sheath 102 of the shield wire 101.
  • the female housing 60 is made of synthetic resin and includes a hood portion 61 opening forward and a housing main body 63 disposed to penetrate through the back wall 62 of the hood portion 61.
  • the housing main body 63 has a terminal cover 80
  • a terminal cover accommodating portion 64 accommodated inside and a third seal accommodating portion 65 internally accommodating the third seal 105 are provided.
  • the third seal 105 is in close contact with both the outer peripheral surface of the sheath 102 of the shield wire 101 and the inner peripheral surface of the third seal accommodating portion 65, and the backward movement is restricted by the back retainer 106.
  • the entry of water from the rear into the interior of the third seal housing portion 65 is restricted.
  • a second seal mounting wall 69 to which the second seal 50 is fitted is provided inside the hood portion 61.
  • a front cover 40 is mounted on the front side of the second seal mounting wall 69. The front cover 40 restricts the second seal 50 from coming off the second seal mounting wall 69 in the forward direction.
  • the male housing 130 enters between the hood portion 61 and the second seal mounting wall 69, the second seal 50 is in close contact with both the male housing 130 and the second seal mounting wall 69, and between the male and female housings 60 and 130. Water is restricted from entering the inside of the second seal mounting wall 69.
  • the lever 70 has a substantially gate-like shape as a whole, and as shown in FIG. 16, a pair of cam plate portions 71 are connected by an operation portion 72.
  • the cam plate portion 71 is provided with a cam groove 73 to which the cam pin 131 provided in the male housing 130 can enter.
  • the cam groove 73 is provided in the female housing 60. It is distributed in a substantially arc shape centering on a turning hole 74 in which the moving shaft 66 is fitted. More specifically, the cam groove 73 is provided so as to be continuous with the fitting track 73A formed so as to be closer to the turning hole 74 as it goes from the inlet portion toward the back end side and from the turning hole 74 And the same distance of the rotation path 73B.
  • a drive shaft 75 is provided on the cam plate portion 71 so as to project on the opposite side of the rotation groove 74 to the idle track 73 B of the cam hole 73.
  • the drive shaft 75 is located closer to the rotation hole 74 than the operation portion 72, and the drive shaft 75 of one cam plate portion 71 and the drive shaft 75 of the other cam plate portion 71 face each other. It is considered to be a projecting aspect.
  • the lever 70 is rotatably attached to the female housing 60 by fitting the pair of pivot shafts 66 into the pair of pivot holes 74 from the inside.
  • the lever 70 is rotated from the rotation start position shown by the two-dot chain line in FIGS. 12 and 13 via the fitting completion position shown in FIGS. 8 and 9 as shown by the two-dot chain line in FIGS. It is possible to rotate until it reaches the end position.
  • the inlet portion of the cam groove 73 is in a posture facing forward, and the cam pin 131 can be received in the cam groove 73.
  • the lever 70 is rotated to the fitting completion position.
  • the male and female housings 60, 130 reach the mated state.
  • the cam pin 131 moves along the idle track 73B of the cam groove 73, but the fitting operation of the male and female housings 60 and 130 does not proceed, in other words, fitting The completed state is maintained.
  • the contact pressure applying member 20 has a hook shape as a whole, and as shown in FIG. 1, a drive portion 22 provided with a drive track 21 for moving in the front-rear direction by engaging with the drive shaft 75;
  • the contact pressure application part 23 which applies the contact pressure by pressing the elastic contact piece 111 of the terminal 110, and the connection part 24 which connects the drive part 22 and the contact pressure application part 23 are comprised.
  • the driving portion 22 and the contact pressure applying portion 23 both protrude rearward from both side edges of the connecting portion 24 so as to be opposed to each other, and the driving portion 22 is longer than the contact pressure applying portion 23.
  • a flange 25 is circumferentially provided at a central portion in the front-rear direction of the drive unit 22.
  • a plurality of mounting holes 26 are provided through the flange 25 so that the plurality of mounting projections 31 provided on the first seal 30 are fitted to the plurality of mounting holes 26 so that the first seal 30 is formed of the flange 25. It is fixed to the back side.
  • a drive track 27 is provided at a rear portion of the flange 25 in the drive unit 22. The drive track 27 is configured to extend diagonally forward from the upper edge of the drive portion 22.
  • the drive unit 22 is inserted from the front into a through hole 67 provided through the back wall 62 of the hood unit 61.
  • the drive portion 22 protruding rearward from the back wall 62 is mounted along the mounting portions 68 provided on the left and right sides of the outer peripheral surface of the third seal housing portion 65.
  • the mounting portion 68 is provided with an L-shaped guide wall 68A for guiding the movement of the drive portion 22.
  • the contact pressure applying member 20 is movable in the front-rear direction between the low contact pressure position shown in FIG. 5 and the high contact pressure position shown in FIG. 7.
  • the flange 25 of the contact pressure applying member 20 is housed between the outer peripheral surface of the terminal cover housing portion 64 and the inner peripheral surface of the second seal mounting wall 69. Further, the first seal 30 is in close contact with both the outer peripheral surface of the terminal cover accommodating portion 64 and the outer peripheral surface of the second seal mounting wall 69. As a result, even if water tries to enter the inside of the hood portion 61 from the through hole 67, the water is stopped by the first seal 30.
  • the drive portion 22 is accommodated between the mounting portion 68 and the lever 70, the contact pressure applying member 20 is deformed outward and the female is deformed. It is possible to prevent the housing 60 from being detached. Since the cam pin 131 of the male housing 130 moves along the idle track 73B of the cam groove 73 while the lever 70 is rotated from the fitting completion position to the rotation end position, the fitting operation of the male and female housings 60 and 130 is It does not progress.
  • a contact pressure applying portion insertion hole 81 in which the contact pressure applying portion 23 is inserted from the front, and a male terminal insertion hole 82 in which the male terminal 120 is inserted from the front And are provided.
  • the tip end of the contact pressure application part 23 enters the back side of the elastic contact piece 111 (opposite to the terminal connection part 115) through the contact pressure application part insertion hole 81 There is.
  • the contact pressure applying part 23 presses the elastic contact piece 111 toward the terminal connection part 115 while sliding contact with the back side of the tip of the elastic contact piece 111.
  • the resilient contact piece 111 is pressed to the terminal connection portion 115 side.
  • the male terminal 120 enters between the elastic contact piece 111 and the terminal connection portion 115 through the male terminal insertion hole 82 in the state where the contact pressure applying portion 23 is in the low contact pressure position. Then, as shown in FIG. 20, due to the spring force of the elastic contact piece 111, the male terminal 120 comes into contact with the terminal connection portion 115 in a low contact pressure state. For this reason, the male terminal 120 and the terminal connection portion 115 do not cause contact wear, and the foreign matter removal effect by the wiping effect is exhibited. Then, as shown in FIG.
  • the contact pressure applying member 20 is in the low contact pressure position before the male and female housings 60 and 130 are completely fitted, and the female terminal 110 contacts the male terminal 120 at a low contact pressure. Therefore, contact wear can be prevented.
  • the contact pressure applying member 20 is moved to the high contact pressure position by the lever 70, the female terminal 110 contacts the male terminal 120 with high contact pressure. During this time, since the fitting operation of the male and female housings 60 and 130 is stopped, contact wear can be prevented even when the low pressure state is shifted to the high pressure state.
  • the through hole 67 of the female housing 60 can be stopped with the first seal 30, and the fitting portion of the male and female housings 60, 130 can be stopped with the second seal 50, so that the present invention is applied to a waterproof connector. can do.
  • the lever 70 has a cam groove 73, and the cam groove 73 engages with a cam pin 131 provided on the male housing 130 to make a fitting track 73A for performing a fitting operation, and the lever 70 is continued after the fitting is completed. It may be configured to have an idle track 73B that keeps the fitting operation stopped when moved. According to such a configuration, since the cam groove 73 has the fitting track 73A and the idle track 73B, the lever 70 is moved after the fitting of the male and female housings 60 and 130 is completed by the fitting track 73A. Even if this is done, the fitting operation does not proceed, and the male and female housings 60 and 130 can be maintained in the fitted complete state.
  • the lever 70 has a drive shaft 75, and the contact pressure applying member 20 engages with the drive shaft 75 to provide a drive track 21 for moving from a low contact position to a high contact position. It is good also as composition provided with section 22 and contact pressure grant part 23 which presses female terminal 110, and applies contact pressure, and drive part 22 penetrates penetration hole 67, and is distributed. According to such a configuration, since the drive portion 22 is disposed at a position different from the contact pressure applying portion 23 pressing the female terminal 110, the first seal 30 is not restricted by the arrangement of the female terminal 110. Can be set.
  • the female housing 60 has a mounting portion 68 to which the drive portion 22 is mounted, and after the fitting of the female housing 60 and the male housing 130 is completed, the driving portion 22 is between the mounting portion 68 and the lever 70. It may be configured to be accommodated. According to such a configuration, since the drive portion 22 is accommodated between the mounting portion 68 and the lever 70, the driving portion 22 is disengaged from the mounting portion 68 on the way from the low contact pressure position to the high contact pressure position. You can prevent.
  • the lever-type connector 200 of the present embodiment is a modification of the configuration of the female terminal 110 of the lever-type connector 10 of the first embodiment, and the other components are the same as those of the first embodiment. It shall be used, and the explanation shall be omitted.
  • the female terminal 210 of the present embodiment includes a terminal main body 211 and a secondary spring 212, and the terminal main body 211 is a primary wall disposed to face the bottom wall 213 and the bottom wall 213.
  • a spring 214 and a pair of connection walls 215 connecting the bottom wall 213 and the primary spring 214 are provided.
  • the primary spring 214 is formed to be closer to the bottom wall 213 from the front edge of the proximal end mounted on the upper edge of the pair of connection walls 215 toward the front, and the front end of the primary spring 214 and the front end of the bottom wall 213 Are substantially aligned in the front-rear direction.
  • the secondary spring 212 has a rectangular cylindrical shape, and is disposed so as to surround all around the front end of the primary spring 214 and the front end of the bottom wall 213.
  • a protrusion 216 is provided on the opposite wall of the secondary spring 212 opposite to the primary spring 214.
  • the distance between the front end of the primary spring 214 and the bottom wall 213 is smaller than the thickness of the male terminal 220.
  • the leading end of the male terminal 220 is provided with the taper 221 for guiding, the male terminal 220 can be smoothly inserted between the bottom wall 213 and the primary spring 214. As shown in FIG.
  • the leading end of the contact pressure application unit 230 is provided with a taper 231 for guiding, so that the contact pressure application unit 230 can be smoothly inserted between the secondary spring 212 and the primary spring 214 and at the same time, the contact with the primary spring 214 is gentle. Contact pressure can be applied. As shown in FIG. 24, when the contact pressure application unit 230 is moved from the low contact pressure position to the high contact pressure position, the contact pressure application unit 230 is pushed between the protrusion 216 and the primary spring 214, and the contact pressure application unit 230. Thus, the primary spring 214 is pressed to the bottom wall 213 side.
  • Embodiment 3 A third embodiment will now be described with reference to the drawing of FIG.
  • the lever-type connector 300 of the present embodiment is the same as the first embodiment because the configuration of the contact pressure applying portion 23 of the lever-type connector 10 of the first embodiment is changed and the other configurations are the same.
  • the code is used, and the description thereof is omitted.
  • the contact pressure applying portion 310 of the present embodiment is configured to include a shaft portion 311 made of synthetic resin and a spike 312 made of metal.
  • a spike 312 is formed so that the tip of the resilient contact piece 111 contacts in the region from the low contact position to the high contact position.
  • the tip of the elastic contact piece 111 is in sliding contact with the spike 312 with a strong force, but the spike 312 is made of metal Therefore, even when the contact pressure application unit 310 is repeatedly inserted and removed, the resin does not wear as in the resin, and the elastic contact piece 111 receives a strong force for a long period of time at the high contact pressure position and compresses as the resin. There is no creep deformation. Therefore, it is possible to prevent the contact pressure decrease due to wear and compression creep deformation.
  • the lever-type connector 400 of the present embodiment is the one in which the drive system of the contact pressure applying member 20 of the lever-type connector 10 of the first embodiment is changed from a cam mechanism to gear drive of a rack and pinion.
  • the same reference numerals are used as in the first embodiment, and the description thereof is omitted.
  • the contact pressure application member 410 of the present embodiment has a drive portion 412 provided with a drive gear 411 instead of the drive track 21.
  • the drive gear 411 is configured to extend straight.
  • the lever 420 has a rotating shaft 422 provided with a pinion gear 421 on the outer periphery. The drive gear 411 and the pinion gear 421 are engaged with each other, and the contact pressure applying member 410 can be moved in the front-rear direction by rotating the lever 420.
  • the contact pressure application member 20 in which the drive unit 22 and the contact pressure application unit 23 are provided at different places via the connection unit 24 is illustrated, but the drive unit and the contact pressure application unit are integrated. It may be a contact pressure application member provided in series.
  • the drive unit 22 is accommodated between the mounting portion 68 and the lever 70 after the fitting of the male and female housings 60 and 130 is completed, the driving unit is external to the mounting portion. It may be exposed.
  • the first seal 30 is attached to the flange 25 of the contact pressure applying member 20, the first seal 30 is attached to the opening edge of the through hole 67 of the female housing 60. It is also good.

Landscapes

  • Details Of Connecting Devices For Male And Female Coupling (AREA)
  • Connector Housings Or Holding Contact Members (AREA)
PCT/JP2018/034558 2017-09-28 2018-09-19 レバー式コネクタ Ceased WO2019065387A1 (ja)

Priority Applications (3)

Application Number Priority Date Filing Date Title
DE112018005470.5T DE112018005470B4 (de) 2017-09-28 2018-09-19 Hebelverbinder
CN201880058642.3A CN111801851B (zh) 2017-09-28 2018-09-19 杆式连接器
US16/636,569 US11025005B1 (en) 2017-09-28 2018-09-19 Lever-type connector

Applications Claiming Priority (2)

Application Number Priority Date Filing Date Title
JP2017188446A JP6880454B2 (ja) 2017-09-28 2017-09-28 レバー式コネクタ
JP2017-188446 2017-09-28

Publications (1)

Publication Number Publication Date
WO2019065387A1 true WO2019065387A1 (ja) 2019-04-04

Family

ID=65902880

Family Applications (1)

Application Number Title Priority Date Filing Date
PCT/JP2018/034558 Ceased WO2019065387A1 (ja) 2017-09-28 2018-09-19 レバー式コネクタ

Country Status (5)

Country Link
US (1) US11025005B1 (enExample)
JP (1) JP6880454B2 (enExample)
CN (1) CN111801851B (enExample)
DE (1) DE112018005470B4 (enExample)
WO (1) WO2019065387A1 (enExample)

Cited By (1)

* Cited by examiner, † Cited by third party
Publication number Priority date Publication date Assignee Title
US20240022018A1 (en) * 2020-08-28 2024-01-18 Sumitomo Wiring Systems, Ltd. Fitting device

Families Citing this family (7)

* Cited by examiner, † Cited by third party
Publication number Priority date Publication date Assignee Title
GB2582834B (en) * 2019-04-04 2023-04-12 Danfoss Power Solutions Ii Technology As Coupling device
KR102829875B1 (ko) 2020-12-28 2025-07-03 현대자동차주식회사 커넥터 조립체
JP7533316B2 (ja) * 2021-03-30 2024-08-14 住友電装株式会社 レバー式コネクタ
JP7533315B2 (ja) * 2021-03-30 2024-08-14 住友電装株式会社 ワイヤハーネス及びコネクタ
JP7764282B2 (ja) * 2022-03-07 2025-11-05 日本航空電子工業株式会社 コネクタ組立体
JP7764283B2 (ja) * 2022-03-07 2025-11-05 日本航空電子工業株式会社 コネクタ組立体
JP2024106182A (ja) * 2023-01-26 2024-08-07 日本航空電子工業株式会社 コネクタ組立体

Citations (2)

* Cited by examiner, † Cited by third party
Publication number Priority date Publication date Assignee Title
US6971894B2 (en) * 2004-03-31 2005-12-06 Jst Corporation Dual action mechanical assisted connector
JP2017126406A (ja) * 2016-01-12 2017-07-20 日立金属株式会社 コネクタ

Family Cites Families (17)

* Cited by examiner, † Cited by third party
Publication number Priority date Publication date Assignee Title
US5810612A (en) * 1996-08-26 1998-09-22 General Motors Corporation Electrical connector with cam lock lever
US6439902B1 (en) * 2000-11-13 2002-08-27 Yazaki North America Pre-set locks for a connector lever
US6761568B2 (en) * 2001-02-27 2004-07-13 Delphi Technologies, Inc. Electrical connector assembly
US6896531B2 (en) * 2001-02-27 2005-05-24 Delphi Technologies, Inc. Electrical connector assembly
US6565372B2 (en) * 2001-02-27 2003-05-20 Delphi Technologies, Inc. Staged lock feature for an electrical connector assembly having a cam mating device
US6846191B2 (en) * 2003-01-24 2005-01-25 Delphi Technologies, Inc. Electrical connector assembly
US6824406B1 (en) * 2003-06-26 2004-11-30 Delphi Technologies, Inc. Electrical connector assembly
CN2689502Y (zh) * 2003-10-29 2005-03-30 富士康(昆山)电脑接插件有限公司 具有凸轮机构的柔性线路板连接器
JP4496475B2 (ja) * 2005-02-01 2010-07-07 住友電装株式会社 コネクタ
US7871282B2 (en) 2006-03-13 2011-01-18 Illinois Tool Works Inc. Aircraft power connector with differential engagement and operational retention forces
US7241156B1 (en) * 2006-07-31 2007-07-10 Delphi Technologies, Inc. Electrical connector with cam lever retainer
US7267583B1 (en) * 2006-09-19 2007-09-11 Delphi Technologies, Inc. Electrical connection system
JP2008218331A (ja) 2007-03-07 2008-09-18 Sumitomo Wiring Syst Ltd コネクタ
JP4947181B2 (ja) 2010-04-13 2012-06-06 日立電線株式会社 レバー式コネクタ
US8882521B2 (en) * 2012-12-03 2014-11-11 Delphi Technologies, Inc. Lever type connector with enviromental cover
JP2015060628A (ja) * 2013-09-17 2015-03-30 住友電装株式会社 コネクタ
JP6086251B2 (ja) * 2014-05-20 2017-03-01 住友電装株式会社 コネクタ

Patent Citations (2)

* Cited by examiner, † Cited by third party
Publication number Priority date Publication date Assignee Title
US6971894B2 (en) * 2004-03-31 2005-12-06 Jst Corporation Dual action mechanical assisted connector
JP2017126406A (ja) * 2016-01-12 2017-07-20 日立金属株式会社 コネクタ

Cited By (2)

* Cited by examiner, † Cited by third party
Publication number Priority date Publication date Assignee Title
US20240022018A1 (en) * 2020-08-28 2024-01-18 Sumitomo Wiring Systems, Ltd. Fitting device
US12355181B2 (en) * 2020-08-28 2025-07-08 Sumitomo Wiring Systems, Ltd. Fitting device

Also Published As

Publication number Publication date
US11025005B1 (en) 2021-06-01
DE112018005470B4 (de) 2024-06-27
CN111801851B (zh) 2021-08-17
US20210159641A1 (en) 2021-05-27
JP2019067500A (ja) 2019-04-25
CN111801851A (zh) 2020-10-20
JP6880454B2 (ja) 2021-06-02
DE112018005470T5 (de) 2020-06-25

Similar Documents

Publication Publication Date Title
WO2019065387A1 (ja) レバー式コネクタ
JP5500680B2 (ja) レバー式電気コネクタ
JP6424190B2 (ja) レバー式コネクタ
JP2016072067A (ja) コネクタ
JP2019164945A (ja) コネクタ
JP2010246339A (ja) 防水コネクタ
WO2018142885A1 (ja) シールド端子
CN112436317B (zh) 连接器
JP2014165028A (ja) コネクタ
JP2019169244A (ja) 防水コネクタ
WO2017163802A1 (ja) 基板用防水コネクタ
WO2017159304A1 (ja) レバー式コネクタ
JP2002246088A (ja) 可撓性平型ケーブル用防水コネクタ
JP6243277B2 (ja) シールドコネクタ
JP2009252379A (ja) シールドコネクタ
JP2005174813A (ja) コネクタ
JP5267374B2 (ja) コネクタ
JP2008117552A (ja) コネクタ
JP2010257917A (ja) ショート端子
CN116057788A (zh) 屏蔽连接器
JP4830738B2 (ja) コネクタ
JP6617577B2 (ja) コネクタ
JP7759553B2 (ja) コネクタ
JP7337946B2 (ja) コネクタ
US20250038457A1 (en) Connector assembly and assembly method

Legal Events

Date Code Title Description
121 Ep: the epo has been informed by wipo that ep was designated in this application

Ref document number: 18863569

Country of ref document: EP

Kind code of ref document: A1

122 Ep: pct application non-entry in european phase

Ref document number: 18863569

Country of ref document: EP

Kind code of ref document: A1