WO2019035331A1 - コネクタ - Google Patents

コネクタ Download PDF

Info

Publication number
WO2019035331A1
WO2019035331A1 PCT/JP2018/028015 JP2018028015W WO2019035331A1 WO 2019035331 A1 WO2019035331 A1 WO 2019035331A1 JP 2018028015 W JP2018028015 W JP 2018028015W WO 2019035331 A1 WO2019035331 A1 WO 2019035331A1
Authority
WO
WIPO (PCT)
Prior art keywords
lance
housing
terminal module
connector
insertion space
Prior art date
Legal status (The legal status is an assumption and is not a legal conclusion. Google has not performed a legal analysis and makes no representation as to the accuracy of the status listed.)
Ceased
Application number
PCT/JP2018/028015
Other languages
English (en)
French (fr)
Japanese (ja)
Inventor
哲矢 宮村
康雄 大森
Current Assignee (The listed assignees may be inaccurate. Google has not performed a legal analysis and makes no representation or warranty as to the accuracy of the list.)
Sumitomo Wiring Systems Ltd
AutoNetworks Technologies Ltd
Sumitomo Electric Industries Ltd
Original Assignee
Sumitomo Wiring Systems Ltd
AutoNetworks Technologies Ltd
Sumitomo Electric Industries Ltd
Priority date (The priority date is an assumption and is not a legal conclusion. Google has not performed a legal analysis and makes no representation as to the accuracy of the date listed.)
Filing date
Publication date
Application filed by Sumitomo Wiring Systems Ltd, AutoNetworks Technologies Ltd, Sumitomo Electric Industries Ltd filed Critical Sumitomo Wiring Systems Ltd
Priority to US16/634,734 priority Critical patent/US11031718B2/en
Priority to CN201880051901.XA priority patent/CN111033904A/zh
Publication of WO2019035331A1 publication Critical patent/WO2019035331A1/ja
Anticipated expiration legal-status Critical
Ceased legal-status Critical Current

Links

Images

Classifications

    • HELECTRICITY
    • H01ELECTRIC ELEMENTS
    • H01RELECTRICALLY-CONDUCTIVE CONNECTIONS; STRUCTURAL ASSOCIATIONS OF A PLURALITY OF MUTUALLY-INSULATED ELECTRICAL CONNECTING ELEMENTS; COUPLING DEVICES; CURRENT COLLECTORS
    • H01R13/00Details of coupling devices of the kinds covered by groups H01R12/70 or H01R24/00 - H01R33/00
    • H01R13/40Securing contact members in or to a base or case; Insulating of contact members
    • H01R13/42Securing in a demountable manner
    • H01R13/422Securing in resilient one-piece base or case, e.g. by friction; One-piece base or case formed with resilient locking means
    • H01R13/4223Securing in resilient one-piece base or case, e.g. by friction; One-piece base or case formed with resilient locking means comprising integral flexible contact retaining fingers
    • HELECTRICITY
    • H01ELECTRIC ELEMENTS
    • H01RELECTRICALLY-CONDUCTIVE CONNECTIONS; STRUCTURAL ASSOCIATIONS OF A PLURALITY OF MUTUALLY-INSULATED ELECTRICAL CONNECTING ELEMENTS; COUPLING DEVICES; CURRENT COLLECTORS
    • H01R13/00Details of coupling devices of the kinds covered by groups H01R12/70 or H01R24/00 - H01R33/00
    • H01R13/64Means for preventing incorrect coupling
    • H01R13/641Means for preventing incorrect coupling by indicating incorrect coupling; by indicating correct or full engagement
    • HELECTRICITY
    • H01ELECTRIC ELEMENTS
    • H01RELECTRICALLY-CONDUCTIVE CONNECTIONS; STRUCTURAL ASSOCIATIONS OF A PLURALITY OF MUTUALLY-INSULATED ELECTRICAL CONNECTING ELEMENTS; COUPLING DEVICES; CURRENT COLLECTORS
    • H01R13/00Details of coupling devices of the kinds covered by groups H01R12/70 or H01R24/00 - H01R33/00
    • H01R13/648Protective earth or shield arrangements on coupling devices, e.g. anti-static shielding  
    • H01R13/658High frequency shielding arrangements, e.g. against EMI [Electro-Magnetic Interference] or EMP [Electro-Magnetic Pulse]
    • H01R13/6591Specific features or arrangements of connection of shield to conductive members
    • H01R13/6592Specific features or arrangements of connection of shield to conductive members the conductive member being a shielded cable

Definitions

  • the present invention relates to a connector.
  • Patent Document 1 discloses a connector for inserting a contact into a contact receiving cavity formed in a housing, and locking a lance formed in the contact receiving cavity to the contact to prevent the contact from being removed.
  • the lance elastically deforms due to the interference with the contact, and when the contact is in the normal insertion state, the lance elastically returns and locks on the contact.
  • the lance is housed inside the housing.
  • the lance may be pushed into the contact receiving cavity and plastically deformed when foreign matter hits the outer surface of the lance.
  • the present invention has been completed based on the above circumstances, and it is an object of the present invention to prevent unauthorized deformation of a lance.
  • the connector of the present invention is A housing having an insertion space; An insertion member insertable into the insertion space; The outer surface is formed on the housing so as to be exposed to the outside of the housing, and in the process of inserting the insertion member into the insertion space, it is elastically deformed to the outer surface side, and elastically returns when the insertion member is properly inserted.
  • a lance for retaining the insertion member; The lance is characterized in that the lance is formed with the lance, and the lance is restricted to be displaced to the insertion space side by being locked to the housing.
  • the perspective view of the connector in the state where the terminal module was properly inserted into the housing in the first embodiment Top view of the connector with the terminal module properly inserted into the housing AA line sectional view of FIG. 2 BB line sectional view of FIG. 3
  • the perspective view of the connector in the state where the terminal module was properly inserted into the housing in the second embodiment Top view of the connector with the terminal module properly inserted into the housing DD line cross section of FIG. 9 EE line sectional view of FIG. 10
  • the present invention is configured such that the lance extends in a cantilever shape substantially in parallel with the insertion direction of the insertion member, and the restricting portion extends beyond the proximal end in the extension direction of the lance. It may be arranged at the position of.
  • the lance elastically deforms to the outer surface due to the interference with the insertion member, the amount of deflection of the lance becomes maximum at the proximal end, so if the restriction portion is formed at the proximal end of the lance, the proximal end of the lance The bending rigidity is increased, and the resistance when inserting the insertion member is increased.
  • the restriction portion is formed at a position closer to the extending end than the proximal end in the extending direction of the lance.
  • the outer surface of the lance may be disposed at a position deeper than the outer wall surface of the housing when the lance is in a free state in which it does not elastically deform. According to this configuration, the foreign matter is less likely to interfere with the outer surface of the lance.
  • the lance may be cantilevered substantially parallel to the insertion direction of the insertion member, and a pair of the restriction portions may project from both side edges of the lance. According to this configuration, when the restricting portion abuts on the housing to restrict the elastic deformation of the lance, there is no possibility that the lance may tilt.
  • a detection groove may be formed on the outer wall surface of the housing so as to face the restriction portion displaced in accordance with the elastic deformation of the lance. According to this configuration, the lance elastically deforms to the outer surface side when the insertion member is partially inserted. In this state, when the mating member is fitted along the detection groove, the mating member abuts against the restricting portion, and this abutment can detect that the insertion member is in the partially inserted state.
  • the lance extends in a cantilever shape substantially in parallel with the insertion direction of the insertion member, and the outer wall surface of the housing is a guide extending toward the extension end of the lance.
  • a groove may be formed.
  • Example 1 A first embodiment of the present invention will now be described with reference to FIGS. 1 to 7.
  • the lower left in FIGS. 1 and 5 and the left in FIGS. 2, 4 and 7 are defined as the front.
  • the directions appearing in FIGS. 1, 3, 5 to 7 are defined as upper and lower as they are.
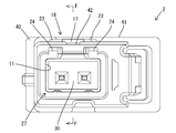
  • the connector 1 is configured to include a housing 10 made of synthetic resin and a terminal module 27 (an insertion member described in the claims) configuring the shield conductive path 26.
  • the terminal module 27 is inserted into the housing 10 from the rear.
  • the shield conductive path 26 is configured by attaching the terminal module 27 to the front end of the shield wire 28.
  • the terminal module 27 includes an inner conductor (not shown) individually connected to the twisted pair wires 29 constituting the shielded wire 28, a dielectric 30 for housing the inner conductor, and an outer conductor 31 for surrounding the dielectric 30. It is configured.
  • the terminal module 27 is provided with a locking projection 32 projecting from the upper surface of the outer conductor 31 and an abutting projection 33 projecting from the lower surface of the outer conductor 31.
  • the housing 10 is generally in the form of a block, and an insertion space 11 is formed in the housing 10.
  • the front end portion of the insertion space 11 opens at the front end surface of the housing 10, and the rear end portion of the insertion space 11 opens at the rear end surface of the housing 10 as an insertion port.
  • the upper wall portion 12 which partitions the insertion space 11 constitutes an upper wall surface 13 (an outer wall surface described in the claims) of the housing 10.
  • the upper wall portion 12 is formed with a notch portion 14 for communicating the outside of the housing 10 with the inside of the insertion space 11.
  • the planar view shape (shape seen from the direction orthogonal to the upper wall surface 13) of the notch part 14 is a rectangle long in the front-back direction as a whole.
  • the housing 10 is formed with a front stop 15 in a form projecting from the bottom of the insertion space 11.
  • the housing 10 is integrally formed with a lance 16 which is cantilevered forward along the ceiling surface of the insertion space 11.
  • the lance 16 is provided with a lance body 17 and a pair of left and right restricting portions 23.
  • the plan view shape of the lance body 17 is rectangular like a notch 14 long in the front-rear direction.
  • the lance main body portion 17 constitutes the upper wall portion 12 of the housing 10 by being accommodated in the notch portion 14.
  • the rear end 17R of the lance main body 17 (the base end of the lance described in the claims) is continuous with the rear edge of the opening area of the notch 14, but the front end 17F of the lance main body 17 (claim The extended end of the lance described in the above and the left and right side edges are not in contact with the opening edge of the notch 14. That is, between the opening edge of the notch 14 and the outer peripheral edge of the lance body 17, there is a slit having a substantially U-shaped plan view. That is, the lance body 17 (lance 16) is cantilevered forward, and is elastically deformed upward (on the upper wall 13 side of the housing 10) with the rear end 17R of the lance body 17 as a fulcrum. It is supposed to be able to
  • a retaining projection 18 is formed on the lower surface of the lance body 17. As shown in FIGS. 1 to 4, when the lance 16 is in the non-elastically deformed retaining position (free state), the retaining projection 18 advances into the insertion path of the terminal module 27 in the insertion space 11. As shown in FIGS. 5 to 7, when the lance 16 is at the release position elastically displaced upward, the retaining projection 18 retracts above the insertion space 11.
  • the front end surface of the retaining projection 18 is a locking surface 19 and is located slightly behind the front end of the lance body 17. The rear end of the retaining projection 18 is located slightly forward of the rear end of the lance body 17.
  • the entire area of the upper surface 17S of the lance body 17 (the outer surface of the lance described in the claims) is slightly lower than the upper wall 13 of the housing 10 (relative to the upper wall 13). In the recessed position).
  • the region of the top surface 17S of the lance body 17 on the front end 17F side is displaced to a position higher than the top wall 13 of the housing 10 (a position protruding from the top wall 13).
  • a front end (extension end) of the upper surface 17S of the lance main body 17 is a guiding slope 20.
  • the formation area of the guiding slope 20 in the front-rear direction is a range from the front end of the lance body 17 to a position slightly behind the locking surface 19.
  • the guiding slope 20 slopes downward toward the front.
  • the lower surface (inner surface) of the front end portion of the lance body 17 is a jig receiving surface 21.
  • the formation area of the jig receiving surface 21 in the front-rear direction is a range extending from the front end of the lance body 17 to a position forward of the locking surface 19.
  • the jig receiving surface 21 is inclined so as to be inclined upward toward the front.
  • the housing 10 is formed with a jig insertion portion 22 in which a part (central portion in the left-right direction) of the front edge portion of the cutout portion 14 in a plan view is recessed.
  • the jig receiving surface 21 is positioned to approach and oppose the jig insertion portion 22 in the front-rear direction.
  • the lance 16 is integrally formed with a pair of left and right restricting portions 23 which are square in plan view.
  • the restricting portion 23 protrudes outward in the left-right direction (width direction) from the left and right side edge portions of the lance main body portion 17.
  • the formation area of the restricting portion 23 in the front-rear direction is a position (retracting stop) in front of the rear end of the lance body 17 from a position slightly behind the locking surface 19 (a position slightly behind the rear end of the guiding slope 20). (A position slightly ahead of the rear end of the projection 18).
  • the formation region of the restriction portion 23 is only a part of the side edge along the extension direction of the lance 16, and the restriction portion 23 is a base end portion (rear end portion 17R in the extension direction of the lance 16). ) Is disposed at a position closer to the extension end (on the front end 17F side).
  • the thickness dimension (the dimension in the direction substantially parallel to the elastic deformation direction of the lance 16) of the restricting portion 23 is smaller than the maximum thickness dimension of the lance body 17.
  • the upper surface of the restriction portion 23 is flush with the region of the upper surface 17S of the lance 16 behind the guiding slope 20.
  • the lower surface of the restricting portion 23 is located above the lower surface of the lance body 17.
  • the restricting portion 23 protrudes laterally from the left and right side edges of the lance main body portion 17, and therefore protrudes outward of the opening region of the cutout portion 14 in a plan view.
  • a pair of laterally symmetrical stoppers 24 are formed on the housing 10 by recessing the left and right side edge portions of the opening region of the notch portion 14 of the upper wall surface 13 of the housing 10 so as to correspond to the regulation portion 23. ing.
  • the stopper 24 faces upward and is positioned to vertically face the lower surface (inner surface) of the regulating portion 23.
  • the lower surface of the restricting portion 23 is positioned to face the stopper 24 with a slight gap.
  • the restricting portion 23 is displaced upward away from the stopper 24.
  • the regulating portion 23 abuts against the stopper 24 when the lance 16 is displaced slightly downward, The elastic deformation of the is to be regulated.
  • a pair of left and right detection grooves 25 are formed on the upper wall surface 13 of the housing 10.
  • the pair of detection grooves 25 linearly extend in the front-rear direction from the front end of the upper wall surface 13 of the housing 10 toward the left and right restricting portions 23. That is, the pair of detection grooves 25 are positioned to correspond to the pair of restricting portions 23 in the left-right direction.
  • the rear end of the detection groove 25 is in communication with the notch 14.
  • the groove lower surface of the detection groove 25 has substantially the same height as the upper surface of the restricting portion 23 when the lance 16 is in the retaining position. Therefore, when the lance 16 is elastically deformed to the release position, the restricting portion 23 is displaced to a position higher than the bottom of the detection groove 25.
  • the terminal module 27 When assembling the terminal module 27 and the housing 10, the terminal module 27 is inserted into the insertion space 11 from the rear of the housing 10. In the process of insertion, when the terminal module 27 reaches the half insertion position just before the regular insertion position, the locking projection 32 of the outer conductor 31 abuts on the retaining projection 18 of the lance 16, as shown in FIG. The lance 16 is elastically deformed from the retaining position to the release position. From this state, when the insertion proceeds and the terminal module 27 reaches the normal insertion position, the abutment projection 33 of the terminal module 27 abuts on the front stop 15 of the insertion space 11, so further insertion of the terminal module 27 takes place. It is regulated.
  • the locking projection 32 passes through the locking projection 18 so that the lance 16 in the release position elastically returns to the locking position and the locking surface 19 of the locking projection 18 is locked.
  • the projection 32 is locked from behind.
  • the terminal module 27 is restricted in its rearward displacement and held at the normal insertion position.
  • the retaining projection 18 abuts on the upper surface of the outer conductor 31, and the lower surface of the front end portion of the lance main body 17 abuts on the upper surface of the locking projection 32. Does not improperly move in the opposite direction (downward).
  • the connector 1 is fitted to a mating connector (for example, the substrate connector 1) not shown.
  • a mating connector for example, the substrate connector 1
  • detection ribs individually formed in the pair of detection grooves 25 in the fitting process are formed. Therefore, the incorrect orientation in which the connector 1 is upside down with respect to the mating connector There is no risk of being fitted with
  • the fitting direction leading end of the detection rib is positioned so as to cover the upper surface of the regulating portion 23.
  • the locking projection 32 remains in interference with the retaining projection 18 so that the lance 16 is lifted to the release position It becomes a state.
  • the detection rib abuts on the front end of the restricting portion 23, so the connector 1 and the mating connector can not be fitted properly. By this, it can be detected that the terminal module 27 remains in the partially inserted state.
  • the same configuration as the detection rib may be provided in the continuity inspection device (not shown).
  • the connector 1 is set in the conduction detection device, it is possible to detect the presence of the terminal module 27 in the semi-inserted state.
  • a jig (not shown) is inserted into the jig insertion portion 22 and abuts on the jig receiving surface 21 of the lance 16, and the jig is inclined to make the lever
  • the lance 16 is elastically deformed to the release position.
  • the retaining projection 18 separates from the locking projection 32 and retracts above the locking projection 32, so that the terminal module 27 is released from the retention state.
  • the twist pair wire 29 may be pinched to pull the terminal module 27 backward.
  • the connector 1 of the first embodiment includes a housing 10 having an insertion space 11, a terminal module 27 which can be inserted into the insertion space 11, and a lance 16.
  • the lance 16 is formed in the housing 10 so that the upper surface 17S (outer surface) is exposed to the outside of the housing 10.
  • the lance 16 elastically deforms to the outer surface (upper surface 17S) side, and when the terminal module 27 is properly inserted, the lance 16 elastically returns to prevent the terminal module 27 from being removed. It is supposed to
  • the lance 16 In the state in which the terminal module 27 is inserted into the insertion space 11, the lance 16 abuts on the upper surface of the outer conductor 31 and therefore does not displace downward (in the direction of advancing into the insertion space 11). However, before the terminal module 27 is inserted into the housing 10, there is no member for supporting the lance 16 from the insertion space 11 side. Moreover, the outer surface (upper surface 17S) of the lance 16 is exposed to the outside of the housing 10. Therefore, when the outer surface (upper surface 17S) of the lance 16 is pressed, there is a concern that the lance 16 may be deformed illegally to advance into the insertion space 11.
  • a regulating portion 23 is formed in the lance 16.
  • the lance 16 is cantilevered in a direction (forward) substantially parallel to the insertion direction of the terminal module 27.
  • the amount of deflection of the lance 16 is maximum at the rear end 17R (proximal end). Therefore, when the restricting portion 23 is formed at the rear end 17R of the lance 16, the bending rigidity of the rear end 17R of the lance 16 becomes high, and the resistance when inserting the terminal module 27 becomes large.
  • the restricting portion 23 is disposed at a position closer to the front end 17F than the rear end 17R in the extension direction of the lance 16.
  • the portion of the lance 16 on the side of the front end 17F where the restricting portion 23 is formed has a smaller amount of deflection than the rear end 17R of the lance 16. Therefore, even if the restricting portion 23 is formed in the lance 16, the bending rigidity does not increase when the lance 16 elastically deforms, and the resistance when inserting the terminal module 27 does not increase.
  • the outer surface of the lance 16 (the upper surface 17S of the lance main body 17) is at a position deeper than the upper wall surface 13 of the housing 10. Because they are disposed, foreign matter is less likely to interfere with the outer surface (upper surface 17S) of the lance 16.
  • the lance 16 is cantilevered substantially parallel to the insertion direction of the terminal module 27. Focusing on this form, the pair of restricting portions 23 are protruded from the left and right side edge portions of the lance 16. According to this configuration, when the pair of left and right restricting portions 23 abut on the housing 10 to restrict the elastic deformation of the lance 16, the lance 16 can be prevented from tilting.
  • a detection groove 25 is formed on the upper wall surface 13 of the housing 10 so as to face the restricting portion 23 displaced in accordance with the elastic deformation of the lance 16.
  • the lance 16 elastically deforms to the upper surface 17S (outer surface) side, but in this state, along the detection groove 25, the other member (detection rib of the other connector, etc.)
  • the counterpart member abuts against the restricting portion 23. Thereby, it can be detected that the terminal module 27 remains in the half inserted state.
  • Example 2 Next, a second embodiment of the present invention will be described with reference to FIGS.
  • the connector 2 of the second embodiment is configured such that the shape of the upper wall surface 41 (the outer wall surface described in the claims) of the housing 40 is different from that of the first embodiment.
  • the other parts of the configuration are the same as those of the first embodiment, and thus the same reference numerals are given to the same components, and descriptions of the structures, operations, and effects are omitted.
  • the upper wall 13 of the housing 10 is formed with the pair of detection grooves 25 corresponding to the pair of restricting portions in the left-right direction.
  • the detection groove 25 is not formed on the wall surface 41, and only one guide groove 42 is formed.
  • the guide groove 42 is arranged not to correspond to the pair of restricting portions 23 and to correspond to the lance main body portion 17.
  • the rear end of the guide groove 42 faces the jig insertion portion 22. That is, the guide groove 42 and the jig insertion portion 22 communicate with each other.
  • the guide groove 42 is formed focusing on the point that the lance 16 is cantilevered substantially parallel (forward) to the insertion direction of the terminal module 27.
  • the guide groove 42 extends linearly from the front end edge of the housing 10 toward the front end 17F (extension end) of the lance 16 in which the jig receiving surface 21 is formed. Therefore, when disengaging the lance 16 from the terminal module 27, sliding the jig (not shown) backward along the guide groove 42 ensures that the jig is guided to the jig insertion portion 22, Dive into jig receiving surface 21 (inside of front end 17F of lance 16). Therefore, the workability is excellent.
  • the present invention is not limited to the embodiments described above with reference to the drawings.
  • the following embodiments are also included in the technical scope of the present invention.
  • the restricting portion is disposed at a position closer to the extending end than the proximal end in the extending direction of the lance, the restricting portion may be disposed at the proximal end of the lance.
  • the restricting portion is disposed only at a part of the side edge along the extending direction of the lance, but the restricting portion continues over the entire length of the side edge of the lance. It may be formed as follows.
  • the outer surface of the lance when the lance is in the free state, the outer surface of the lance is disposed at a position recessed from the outer wall surface of the housing, but the outer surface of the lance is flush with the outer surface wall of the housing. Or may project beyond the outer wall of the housing.
  • the restricting portion protrudes from the side edge of the lance, but the restricting portion may protrude forward from the extending end of the lance.
  • the insertion member is a terminal module in which the dielectric in which the inner conductor is accommodated is surrounded by the outer conductor
  • the insertion member is the inner conductor
  • the present invention can also be applied to the case where a lance is formed in the dielectric, or the case where the insertion member is an exposed terminal fitting not accommodated in the dielectric or the like.

Landscapes

  • Connector Housings Or Holding Contact Members (AREA)
PCT/JP2018/028015 2017-08-16 2018-07-26 コネクタ Ceased WO2019035331A1 (ja)

Priority Applications (2)

Application Number Priority Date Filing Date Title
US16/634,734 US11031718B2 (en) 2017-08-16 2018-07-26 Connector with a housing having a locking lance with a restricting portion to restrict outward deformation of the locking lance
CN201880051901.XA CN111033904A (zh) 2017-08-16 2018-07-26 连接器

Applications Claiming Priority (2)

Application Number Priority Date Filing Date Title
JP2017157076A JP6819510B2 (ja) 2017-08-16 2017-08-16 コネクタ
JP2017-157076 2017-08-16

Publications (1)

Publication Number Publication Date
WO2019035331A1 true WO2019035331A1 (ja) 2019-02-21

Family

ID=65362844

Family Applications (1)

Application Number Title Priority Date Filing Date
PCT/JP2018/028015 Ceased WO2019035331A1 (ja) 2017-08-16 2018-07-26 コネクタ

Country Status (4)

Country Link
US (1) US11031718B2 (enExample)
JP (1) JP6819510B2 (enExample)
CN (1) CN111033904A (enExample)
WO (1) WO2019035331A1 (enExample)

Cited By (1)

* Cited by examiner, † Cited by third party
Publication number Priority date Publication date Assignee Title
JP2021190328A (ja) * 2020-06-01 2021-12-13 矢崎総業株式会社 コネクタ

Families Citing this family (3)

* Cited by examiner, † Cited by third party
Publication number Priority date Publication date Assignee Title
JP6750540B2 (ja) * 2017-03-10 2020-09-02 株式会社オートネットワーク技術研究所 シールド端子及びシールドコネクタ
JP6816668B2 (ja) * 2017-07-11 2021-01-20 株式会社オートネットワーク技術研究所 コネクタ
JP2024147120A (ja) * 2023-04-03 2024-10-16 株式会社オートネットワーク技術研究所 端子モジュールおよびコネクタ

Citations (3)

* Cited by examiner, † Cited by third party
Publication number Priority date Publication date Assignee Title
JP2006236678A (ja) * 2005-02-23 2006-09-07 Sumitomo Wiring Syst Ltd コネクタ
JP2010040508A (ja) * 2008-07-08 2010-02-18 Sumitomo Wiring Syst Ltd コネクタおよびワイヤハーネス
JP2014017101A (ja) * 2012-07-06 2014-01-30 Jst Mfg Co Ltd ハーネス

Family Cites Families (6)

* Cited by examiner, † Cited by third party
Publication number Priority date Publication date Assignee Title
JP3788592B2 (ja) * 2001-10-04 2006-06-21 住友電装株式会社 コネクタ
JP2006054141A (ja) 2004-08-13 2006-02-23 Tyco Electronics Amp Kk 電気コネクタ
CN201197013Y (zh) * 2008-04-08 2009-02-18 富士康(昆山)电脑接插件有限公司 电子卡连接器
CN104953326A (zh) * 2011-12-16 2015-09-30 陈惟诚 表面安装侧向伸缩限位弹片
JP2014011148A (ja) * 2012-07-03 2014-01-20 Yazaki Corp コネクタ
JP6061198B2 (ja) * 2013-08-05 2017-01-18 住友電装株式会社 コネクタ

Patent Citations (3)

* Cited by examiner, † Cited by third party
Publication number Priority date Publication date Assignee Title
JP2006236678A (ja) * 2005-02-23 2006-09-07 Sumitomo Wiring Syst Ltd コネクタ
JP2010040508A (ja) * 2008-07-08 2010-02-18 Sumitomo Wiring Syst Ltd コネクタおよびワイヤハーネス
JP2014017101A (ja) * 2012-07-06 2014-01-30 Jst Mfg Co Ltd ハーネス

Cited By (2)

* Cited by examiner, † Cited by third party
Publication number Priority date Publication date Assignee Title
JP2021190328A (ja) * 2020-06-01 2021-12-13 矢崎総業株式会社 コネクタ
JP7146845B2 (ja) 2020-06-01 2022-10-04 矢崎総業株式会社 コネクタ

Also Published As

Publication number Publication date
US20200212617A1 (en) 2020-07-02
JP2019036465A (ja) 2019-03-07
US11031718B2 (en) 2021-06-08
CN111033904A (zh) 2020-04-17
JP6819510B2 (ja) 2021-01-27

Similar Documents

Publication Publication Date Title
JP6865725B2 (ja) コネクタ
KR101065811B1 (ko) 커넥터
JP4985206B2 (ja) コネクタ及びショート端子
JP2017224549A (ja) コネクタ
WO2019035331A1 (ja) コネクタ
US9306330B2 (en) Lever-type connector and connector assembly
US11791584B2 (en) Connector having improved holding force for retainer
US10903604B2 (en) Connector with a housing that restricts excessive deflection of the lock arm
US10511117B2 (en) Connector
CN108604749A (zh) 端子零件
KR20190105500A (ko) 커넥터
JP2011253717A (ja) コネクタ
JP2015005490A (ja) コネクタ
JP2005216810A (ja) コネクタ
JP2010244912A (ja) 端子金具
US10622754B2 (en) Connector
JP6252386B2 (ja) コネクタ
JP2001135400A (ja) カードエッジコネクタ
JP5440462B2 (ja) コネクタ
JP7652103B2 (ja) コネクタ
CN107925178B (zh) 卡缘连接器
JP2009123365A (ja) コネクタ
JP5958372B2 (ja) 雌端子金具
JP2010097765A (ja) コネクタ
JP4396652B2 (ja) コネクタ

Legal Events

Date Code Title Description
121 Ep: the epo has been informed by wipo that ep was designated in this application

Ref document number: 18846510

Country of ref document: EP

Kind code of ref document: A1

NENP Non-entry into the national phase

Ref country code: DE

122 Ep: pct application non-entry in european phase

Ref document number: 18846510

Country of ref document: EP

Kind code of ref document: A1