WO2018173477A1 - 半導体装置 - Google Patents

半導体装置 Download PDF

Info

Publication number
WO2018173477A1
WO2018173477A1 PCT/JP2018/002487 JP2018002487W WO2018173477A1 WO 2018173477 A1 WO2018173477 A1 WO 2018173477A1 JP 2018002487 W JP2018002487 W JP 2018002487W WO 2018173477 A1 WO2018173477 A1 WO 2018173477A1
Authority
WO
WIPO (PCT)
Prior art keywords
range
semiconductor substrate
surface electrode
contact
semiconductor device
Prior art date
Legal status (The legal status is an assumption and is not a legal conclusion. Google has not performed a legal analysis and makes no representation as to the accuracy of the status listed.)
Ceased
Application number
PCT/JP2018/002487
Other languages
English (en)
French (fr)
Japanese (ja)
Inventor
永岡 達司
侑佑 山下
泰 浦上
Current Assignee (The listed assignees may be inaccurate. Google has not performed a legal analysis and makes no representation or warranty as to the accuracy of the list.)
Denso Corp
Toyota Motor Corp
Original Assignee
Denso Corp
Toyota Motor Corp
Priority date (The priority date is an assumption and is not a legal conclusion. Google has not performed a legal analysis and makes no representation as to the accuracy of the date listed.)
Filing date
Publication date
Application filed by Denso Corp, Toyota Motor Corp filed Critical Denso Corp
Priority to US16/487,007 priority Critical patent/US11393902B2/en
Priority to CN201880019440.8A priority patent/CN110622320B/zh
Publication of WO2018173477A1 publication Critical patent/WO2018173477A1/ja
Anticipated expiration legal-status Critical
Ceased legal-status Critical Current

Links

Images

Classifications

    • HELECTRICITY
    • H10SEMICONDUCTOR DEVICES; ELECTRIC SOLID-STATE DEVICES NOT OTHERWISE PROVIDED FOR
    • H10DINORGANIC ELECTRIC SEMICONDUCTOR DEVICES
    • H10D62/00Semiconductor bodies, or regions thereof, of devices having potential barriers
    • H10D62/10Shapes, relative sizes or dispositions of the regions of the semiconductor bodies; Shapes of the semiconductor bodies
    • H10D62/17Semiconductor regions connected to electrodes not carrying current to be rectified, amplified or switched, e.g. channel regions
    • H10D62/393Body regions of DMOS transistors or IGBTs 
    • HELECTRICITY
    • H10SEMICONDUCTOR DEVICES; ELECTRIC SOLID-STATE DEVICES NOT OTHERWISE PROVIDED FOR
    • H10DINORGANIC ELECTRIC SEMICONDUCTOR DEVICES
    • H10D30/00Field-effect transistors [FET]
    • H10D30/60Insulated-gate field-effect transistors [IGFET]
    • H10D30/64Double-diffused metal-oxide semiconductor [DMOS] FETs
    • H10D30/66Vertical DMOS [VDMOS] FETs
    • HELECTRICITY
    • H10SEMICONDUCTOR DEVICES; ELECTRIC SOLID-STATE DEVICES NOT OTHERWISE PROVIDED FOR
    • H10DINORGANIC ELECTRIC SEMICONDUCTOR DEVICES
    • H10D12/00Bipolar devices controlled by the field effect, e.g. insulated-gate bipolar transistors [IGBT]
    • H10D12/01Manufacture or treatment
    • H10D12/031Manufacture or treatment of IGBTs
    • H10D12/032Manufacture or treatment of IGBTs of vertical IGBTs
    • H10D12/038Manufacture or treatment of IGBTs of vertical IGBTs having a recessed gate, e.g. trench-gate IGBTs
    • HELECTRICITY
    • H10SEMICONDUCTOR DEVICES; ELECTRIC SOLID-STATE DEVICES NOT OTHERWISE PROVIDED FOR
    • H10DINORGANIC ELECTRIC SEMICONDUCTOR DEVICES
    • H10D30/00Field-effect transistors [FET]
    • H10D30/60Insulated-gate field-effect transistors [IGFET]
    • H10D30/64Double-diffused metal-oxide semiconductor [DMOS] FETs
    • H10D30/66Vertical DMOS [VDMOS] FETs
    • H10D30/668Vertical DMOS [VDMOS] FETs having trench gate electrodes, e.g. UMOS transistors
    • HELECTRICITY
    • H10SEMICONDUCTOR DEVICES; ELECTRIC SOLID-STATE DEVICES NOT OTHERWISE PROVIDED FOR
    • H10DINORGANIC ELECTRIC SEMICONDUCTOR DEVICES
    • H10D62/00Semiconductor bodies, or regions thereof, of devices having potential barriers
    • H10D62/10Shapes, relative sizes or dispositions of the regions of the semiconductor bodies; Shapes of the semiconductor bodies
    • H10D62/113Isolations within a component, i.e. internal isolations
    • H10D62/115Dielectric isolations, e.g. air gaps
    • H10D62/116Dielectric isolations, e.g. air gaps adjoining the input or output regions of field-effect devices, e.g. adjoining source or drain regions
    • HELECTRICITY
    • H10SEMICONDUCTOR DEVICES; ELECTRIC SOLID-STATE DEVICES NOT OTHERWISE PROVIDED FOR
    • H10DINORGANIC ELECTRIC SEMICONDUCTOR DEVICES
    • H10D62/00Semiconductor bodies, or regions thereof, of devices having potential barriers
    • H10D62/10Shapes, relative sizes or dispositions of the regions of the semiconductor bodies; Shapes of the semiconductor bodies
    • H10D62/124Shapes, relative sizes or dispositions of the regions of semiconductor bodies or of junctions between the regions
    • H10D62/126Top-view geometrical layouts of the regions or the junctions
    • H10D62/127Top-view geometrical layouts of the regions or the junctions of cellular field-effect devices, e.g. multicellular DMOS transistors or IGBTs
    • HELECTRICITY
    • H10SEMICONDUCTOR DEVICES; ELECTRIC SOLID-STATE DEVICES NOT OTHERWISE PROVIDED FOR
    • H10DINORGANIC ELECTRIC SEMICONDUCTOR DEVICES
    • H10D62/00Semiconductor bodies, or regions thereof, of devices having potential barriers
    • H10D62/10Shapes, relative sizes or dispositions of the regions of the semiconductor bodies; Shapes of the semiconductor bodies
    • H10D62/13Semiconductor regions connected to electrodes carrying current to be rectified, amplified or switched, e.g. source or drain regions
    • H10D62/149Source or drain regions of field-effect devices
    • H10D62/151Source or drain regions of field-effect devices of IGFETs 
    • H10D62/152Source regions of DMOS transistors
    • H10D62/154Dispositions
    • HELECTRICITY
    • H10SEMICONDUCTOR DEVICES; ELECTRIC SOLID-STATE DEVICES NOT OTHERWISE PROVIDED FOR
    • H10DINORGANIC ELECTRIC SEMICONDUCTOR DEVICES
    • H10D62/00Semiconductor bodies, or regions thereof, of devices having potential barriers
    • H10D62/10Shapes, relative sizes or dispositions of the regions of the semiconductor bodies; Shapes of the semiconductor bodies
    • H10D62/13Semiconductor regions connected to electrodes carrying current to be rectified, amplified or switched, e.g. source or drain regions
    • H10D62/149Source or drain regions of field-effect devices
    • H10D62/151Source or drain regions of field-effect devices of IGFETs 
    • H10D62/156Drain regions of DMOS transistors
    • H10D62/158Dispositions
    • HELECTRICITY
    • H10SEMICONDUCTOR DEVICES; ELECTRIC SOLID-STATE DEVICES NOT OTHERWISE PROVIDED FOR
    • H10DINORGANIC ELECTRIC SEMICONDUCTOR DEVICES
    • H10D62/00Semiconductor bodies, or regions thereof, of devices having potential barriers
    • H10D62/50Physical imperfections
    • H10D62/53Physical imperfections the imperfections being within the semiconductor body 
    • HELECTRICITY
    • H10SEMICONDUCTOR DEVICES; ELECTRIC SOLID-STATE DEVICES NOT OTHERWISE PROVIDED FOR
    • H10DINORGANIC ELECTRIC SEMICONDUCTOR DEVICES
    • H10D62/00Semiconductor bodies, or regions thereof, of devices having potential barriers
    • H10D62/80Semiconductor bodies, or regions thereof, of devices having potential barriers characterised by the materials
    • H10D62/83Semiconductor bodies, or regions thereof, of devices having potential barriers characterised by the materials being Group IV materials, e.g. B-doped Si or undoped Ge
    • H10D62/832Semiconductor bodies, or regions thereof, of devices having potential barriers characterised by the materials being Group IV materials, e.g. B-doped Si or undoped Ge being Group IV materials comprising two or more elements, e.g. SiGe
    • H10D62/8325Silicon carbide
    • HELECTRICITY
    • H10SEMICONDUCTOR DEVICES; ELECTRIC SOLID-STATE DEVICES NOT OTHERWISE PROVIDED FOR
    • H10DINORGANIC ELECTRIC SEMICONDUCTOR DEVICES
    • H10D64/00Electrodes of devices having potential barriers
    • H10D64/20Electrodes characterised by their shapes, relative sizes or dispositions 
    • H10D64/23Electrodes carrying the current to be rectified, amplified, oscillated or switched, e.g. sources, drains, anodes or cathodes
    • H10D64/251Source or drain electrodes for field-effect devices
    • H10D64/252Source or drain electrodes for field-effect devices for vertical or pseudo-vertical devices
    • HELECTRICITY
    • H10SEMICONDUCTOR DEVICES; ELECTRIC SOLID-STATE DEVICES NOT OTHERWISE PROVIDED FOR
    • H10DINORGANIC ELECTRIC SEMICONDUCTOR DEVICES
    • H10D84/00Integrated devices formed in or on semiconductor substrates that comprise only semiconducting layers, e.g. on Si wafers or on GaAs-on-Si wafers
    • H10D84/101Integrated devices comprising main components and built-in components, e.g. IGBT having built-in freewheel diode
    • H10D84/141VDMOS having built-in components
    • HELECTRICITY
    • H10SEMICONDUCTOR DEVICES; ELECTRIC SOLID-STATE DEVICES NOT OTHERWISE PROVIDED FOR
    • H10DINORGANIC ELECTRIC SEMICONDUCTOR DEVICES
    • H10D84/00Integrated devices formed in or on semiconductor substrates that comprise only semiconducting layers, e.g. on Si wafers or on GaAs-on-Si wafers
    • H10D84/101Integrated devices comprising main components and built-in components, e.g. IGBT having built-in freewheel diode
    • H10D84/141VDMOS having built-in components
    • H10D84/143VDMOS having built-in components the built-in components being PN junction diodes
    • HELECTRICITY
    • H01ELECTRIC ELEMENTS
    • H01LSEMICONDUCTOR DEVICES NOT COVERED BY CLASS H10
    • H01L2224/00Indexing scheme for arrangements for connecting or disconnecting semiconductor or solid-state bodies and methods related thereto as covered by H01L24/00
    • H01L2224/01Means for bonding being attached to, or being formed on, the surface to be connected, e.g. chip-to-package, die-attach, "first-level" interconnects; Manufacturing methods related thereto
    • H01L2224/02Bonding areas; Manufacturing methods related thereto
    • H01L2224/04Structure, shape, material or disposition of the bonding areas prior to the connecting process
    • H01L2224/06Structure, shape, material or disposition of the bonding areas prior to the connecting process of a plurality of bonding areas
    • H01L2224/0601Structure
    • H01L2224/0603Bonding areas having different sizes, e.g. different heights or widths
    • HELECTRICITY
    • H01ELECTRIC ELEMENTS
    • H01LSEMICONDUCTOR DEVICES NOT COVERED BY CLASS H10
    • H01L23/00Details of semiconductor or other solid state devices
    • H01L23/34Arrangements for cooling, heating, ventilating or temperature compensation ; Temperature sensing arrangements

Definitions

  • the technology disclosed in this specification relates to a semiconductor device, and more particularly to a technology for improving the temperature distribution of the semiconductor device.
  • Japanese Unexamined Patent Application Publication No. 2011-134950 discloses a semiconductor device in which an IGBT (Insulated Gate Bipolar Transistor) and a free-wheeling diode are integrally formed.
  • This type of semiconductor device is also referred to as RC (Reverse-Conducting) -IGBT, and has a structure in which IGBT collector regions and free-wheeling diode cathode regions are alternately provided along the lower surface of the semiconductor substrate.
  • the ratio of the collector region to the cathode region is large at the central portion of the semiconductor substrate and small at the peripheral portion of the semiconductor substrate. According to such a configuration, the heat distribution of the semiconductor substrate is suppressed in the central portion that is inferior in heat dissipation, so that the temperature distribution of the semiconductor device is improved (ie, uniformized).
  • MOSFET Metal-Oxide-Semiconductor-Field-Effect-Transistor
  • body diode also called a parasitic diode
  • MOSFET Metal-Oxide-Semiconductor-Field-Effect-Transistor
  • a body diode having a MOSFET structure can function as a free-wheeling diode.
  • the MOSFET structure body diode generates a relatively large amount of heat when energized. For this reason, when the body diode is used as a free-wheeling diode, the semiconductor substrate tends to become high temperature, and variations in temperature distribution tend to increase.
  • the technique described in the above literature is effective for improving the temperature distribution, but cannot be applied to a semiconductor device having a MOSFET structure because it uses a structure peculiar to RC-IGBT.
  • the present specification provides a technique for improving the temperature distribution of a semiconductor device having a MOSFET structure.
  • the MOSFET structure in each range is designed so that the forward voltage of the body diode for the same current density is high in a range where heat dissipation is poor and low in a range where heat dissipation is excellent.
  • the current density decreases in a range where heat dissipation is inferior, and the current density increases in a range where heat dissipation is excellent.
  • the temperature distribution is made uniform in a plurality of ranges with different heat dissipation properties. Note that the forward voltage of the body diode can be adjusted without affecting the characteristics of the MOSFET such as the on-voltage.
  • the semiconductor device includes a semiconductor substrate having an upper surface and a lower surface, an upper surface electrode provided on the upper surface of the semiconductor substrate, and a lower surface electrode provided on the lower surface of the semiconductor substrate.
  • the semiconductor substrate has a first range including the center of the semiconductor substrate and a second range located between the first range and the outer periphery of the semiconductor substrate when viewed in plan.
  • a MOSFET structure incorporating a body diode is provided in each of the first range and the second range. The MOSFET structure differs between the first range and the second range such that the forward voltage of the body diode for the same current density is higher in the first range than in the second range.
  • the first range including the center of the semiconductor substrate is inferior in heat dissipation as compared with the second range located around the first range. Accordingly, the MOSFET structures are different between the first range and the second range so that the current density of the body diode is smaller than the second range in the first range. According to such a configuration, in the first range where heat dissipation is inferior, the amount of heat generated by the body diode is suppressed, so that the temperature distribution of the semiconductor device is improved.
  • the semiconductor device includes a semiconductor substrate having an upper surface and a lower surface, an upper electrode provided on the upper surface of the semiconductor substrate, a lower electrode provided on the lower surface of the semiconductor substrate, and an insulating protection that covers a part of the upper electrode. And a membrane.
  • the semiconductor substrate has a first range covered by the protective film and a second range not covered by the protective film when viewed in plan.
  • a MOSFET structure incorporating a body diode is provided in each of the first range and the second range. The MOSFET structure differs between the first range and the second range such that the forward voltage of the body diode for the same current density is higher in the first range than in the second range.
  • the first range covered by the protective film is inferior in heat dissipation compared to the second range not covered by the protective film. Accordingly, the MOSFET structures are different between the first range and the second range so that the current density of the body diode is smaller than the second range in the first range. According to such a configuration, in the first range where heat dissipation is inferior, the amount of heat generated by the body diode is suppressed, so that the temperature distribution of the semiconductor device is improved.
  • the semiconductor device includes a semiconductor substrate having an upper surface and a lower surface, an upper electrode provided on the upper surface of the semiconductor substrate, a lower electrode provided on the lower surface of the semiconductor substrate, and an insulating protection that covers a part of the upper electrode. And a membrane.
  • a conductive member such as a lead is bonded to at least a part of the upper surface of the upper electrode.
  • the semiconductor substrate has a first range that is not covered by the conductive member and a second range that is covered by the conductive member when viewed in plan.
  • a MOSFET structure incorporating a body diode is provided in each of the first range and the second range. The MOSFET structure differs between the first range and the second range such that the forward voltage of the body diode for the same current density is higher in the first range than in the second range.
  • the first range not covered by the conductive member is inferior in heat dissipation compared to the second range covered by the conductive member. Yes. Accordingly, the MOSFET structures are different between the first range and the second range so that the current density of the body diode is smaller than the second range in the first range. According to such a configuration, in the first range where heat dissipation is inferior, the amount of heat generated by the body diode is suppressed, so that the temperature distribution of the semiconductor device is improved.
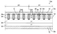
  • FIG. 1 is a plan view of a semiconductor device 10 of Example 1.
  • FIG. 1 is a plan view of a semiconductor device 10 of Example 1.
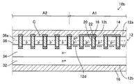
  • FIG. 2 is a cross-sectional view taken along the line II-II in FIG. 1 and schematically shows a cross-sectional structure of the semiconductor device 10 along a source region 38.
  • FIG. 3 is a cross-sectional view taken along line III-III in FIG. 1 and schematically shows a cross-sectional structure of the semiconductor device 10 along a body contact region 36a. Between the two ranges A1 and A2, the intervals CP1 and CP2 between the adjacent body contact points C are different from each other.
  • the semiconductor device 10a which is a modification of Example 1 is shown.
  • the areas CA1 and CA2 of the body contact portions C are different from each other between the two ranges A1 and A2.
  • the semiconductor device 10b which is another modification of Example 1 is shown.
  • the concentration of the p-type impurity in the body region 36 under the body contact portion C is different between the two ranges A1 and A2.
  • the density of the crystal defects 12d below the body contact portion C is different between the two ranges A1 and A2.
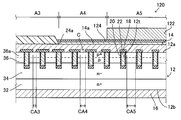
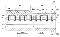
  • FIG. 6 is a plan view of a semiconductor device 100 of Example 2.
  • FIG. 7 is a cross-sectional view taken along line VII-VII in FIG. 6, schematically showing a cross-sectional structure of the semiconductor device 100 along the source region 38.
  • FIG. 7 is a cross-sectional view taken along line VIII-VIII in FIG. 6 and schematically shows a cross-sectional structure of the semiconductor device 100 along the body contact region 36a.
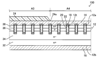
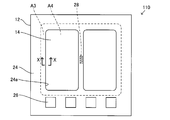
  • FIG. 6 is a plan view of a semiconductor device 110 of Example 3.
  • FIG. 10 is a cross-sectional view taken along line XX in FIG. 9 and schematically shows a cross-sectional structure of the semiconductor device 110.
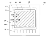
  • FIG. 10 is a plan view of a semiconductor device 120 of Example 4.
  • FIG. 12 is a cross-sectional view taken along line XII-XII in FIG. 11, schematically showing a cross-sectional structure of the semiconductor device 120 along the source region 38.
  • FIG. 12 is a cross-sectional view taken along line XIII-XIII in FIG. 11, schematically showing a cross-sectional structure of the semiconductor device 120 along the body contact region 36a.
  • the MOSFET structure is interposed between the n-type source region in contact with the upper electrode, the n-type drain region in contact with the lower electrode, the source region and the drain region, and in contact with the upper electrode.
  • a p-type body region and an n-type drift region interposed between the body region and the drain region may be included.
  • a body diode that allows a current from the upper surface electrode to the lower surface electrode is formed by the pn junction between the body region and the drift region.
  • the MOSFET structure may have a structure different from the above.
  • the ratio of the area where the body region is in contact with the upper surface electrode in the first range may be smaller than the ratio of the area where the body region is in contact with the upper surface electrode in the second range. According to such a configuration, the forward voltage of the body diode for the same current density can be made higher in the first range than in the second range without changing the characteristics of the MOSFET.
  • each of the first range and the second range may have a plurality of contact points where the body region and the upper surface electrode are in contact with each other.
  • the interval between the contact locations in the first range may be wider than the interval between the contact locations in the second range.
  • one area of the contact location in the first range may be narrower than one area of the contact location in the second range.
  • the concentration of the p-type impurity in the body region below the contact portion where the body region contacts the upper surface electrode in the first range is lower than the contact portion where the body region contacts the upper surface electrode in the second range. It may be lower than the concentration of the p-type impurity in the body region. Even with such a structure, the forward voltage of the body diode for the same current density can be made higher in the first range than in the second range without changing the characteristics of the MOSFET.
  • the density of crystal defects below the contact portion where the body region contacts the upper surface electrode in the first range, and the density of crystal defect below the contact portion where the body region contacts the upper surface electrode in the second range may be larger. Even with such a structure, the forward voltage of the body diode for the same current density can be made higher in the first range than in the second range without changing the characteristics of the MOSFET.
  • the density of crystal defects included in the drift region below the contact location in the first range is greater than the density of crystal defects included in the drift region below the contact location in the second range. May be. That is, the above-described differentiation of the crystal defect density may be performed in the drift region as an example.
  • the semiconductor device may further include a temperature sensor that detects the temperature of the semiconductor substrate.
  • the temperature sensor may be disposed at the center of the semiconductor substrate or in the vicinity thereof when viewed in plan.
  • the position where the temperature sensor is arranged can be variously changed. According to the present technology, since the temperature distribution of the semiconductor substrate is improved, the temperature of the semiconductor substrate can be correctly detected regardless of the position of the temperature sensor.
  • the semiconductor device 10 of Embodiment 1 is a power semiconductor device used for a power supply circuit.
  • the semiconductor device 10 has a MOSFET structure including a body diode (also referred to as a parasitic diode), and can be employed as a switching element of a converter or an inverter, for example.
  • the semiconductor device 10 includes a semiconductor substrate 12.
  • the semiconductor substrate 12 has an upper surface 12a and a lower surface 12b located on the opposite side of the upper surface 12a.
  • the terms “upper surface” and “lower surface” used here are expressions for distinguishing two surfaces located on opposite sides for convenience, and are used when the semiconductor device 10 is manufactured or used. The posture is not limited. Further, in this specification, the term “downward” means a direction from the upper surface 12a of the semiconductor substrate 12 toward the lower surface 12b.
  • the semiconductor substrate 12 of the present embodiment is a silicon carbide (SiC) substrate.
  • the semiconductor material constituting the semiconductor substrate 12 is not particularly limited, and may be, for example, silicon (Si) or a compound semiconductor such as gallium nitride (GaN).
  • Si silicon
  • GaN gallium nitride
  • a wide band gap semiconductor such as silicon carbide or gallium nitride has a characteristic that the forward voltage of the pn junction diode is higher than that of silicon. Therefore, the technique disclosed in this specification can exhibit a higher effect when the semiconductor substrate 12 is a wide band gap semiconductor substrate.
  • the semiconductor device 10 further includes an upper surface electrode 14 provided on the upper surface 12 a of the semiconductor substrate 12 and a lower surface electrode 16 provided on the lower surface 12 b of the semiconductor substrate 12.
  • the upper surface electrode 14 and the lower surface electrode 16 are conductive members.
  • the upper surface electrode 14 is in ohmic contact with the upper surface 12 a of the semiconductor substrate 12, and the lower surface electrode 16 is in ohmic contact with the lower surface 12 b of the semiconductor substrate 12.
  • the upper surface electrode 14 and the lower surface electrode 16 can be formed using a metal material such as aluminum (Al), nickel (Ni), titanium (Ti), and gold (Au). There are no particular limitations on the specific materials and structures that make up the upper electrode 14 and the lower electrode 16.
  • a plurality of trenches 12 t are provided on the upper surface 12 a of the semiconductor substrate 12.
  • the plurality of trenches 12t are parallel to each other and extend along the vertical direction in FIG. 2 and 3 show a cross section perpendicular to the plurality of trenches 12t.
  • a gate electrode 18 and a gate insulating film 20 are provided in each trench 12t.
  • the gate electrode 18 is made of a conductive material such as polysilicon
  • the gate insulating film 20 is made of an insulating material such as silicon oxide (SiO 2 ).
  • the gate electrode 18 faces the semiconductor substrate 12 with the gate insulating film 20 interposed therebetween.
  • An interlayer insulating film 22 is formed between the gate electrode 18 and the upper surface electrode 14.
  • the interlayer insulating film 22 is formed of an insulating material such as silicon oxide (SiO 2 ), for example, and electrically insulates between the gate electrode 18 and the upper surface electrode 14.
  • a protective film 24 is provided on the upper surface 12 a side of the semiconductor substrate 12.
  • the protective film 24 is made of an insulating material such as polyimide.
  • the protective film 24 is located on the upper surface electrode 14 and covers a part of the upper surface electrode 14.
  • the protective film 24 mainly covers the outer peripheral portion of the upper surface electrode 14, and two openings 24 a that expose the upper surface electrode 14 are provided in the central portion of the protective film 24.
  • the cross-sectional structure of the protective film 24 is shown in FIGS.
  • the structure of the protective film 24 and its opening 24a such as position, size, shape, and number is not particularly limited.
  • a plurality of signal electrodes 26 and a temperature sensor 28 are provided on the upper surface 12 a side of the semiconductor substrate 12.
  • the gate electrode 18, the upper surface electrode 14, and the temperature sensor 28 are electrically connected to the plurality of signal electrodes 26.
  • the temperature sensor 28 is disposed at the center (or the vicinity thereof) of the semiconductor substrate 12.
  • the temperature sensor 28 is a sensor for measuring the temperature of the semiconductor substrate 12 and outputs an electrical signal corresponding to the temperature.
  • the operation of the semiconductor device 10 is controlled according to the temperature detected by the temperature sensor 28. For example, when the temperature detected by the temperature sensor 28 exceeds the upper limit value, control is performed such that the current flowing through the semiconductor substrate 12 is interrupted.
  • the semiconductor substrate 12 includes a drain region 32, a drift region 34, a body region 36, and a source region 38.
  • the drain region 32 is an n-type semiconductor region.
  • the drain region 32 is located along the lower surface 12b of the semiconductor substrate 12, and is exposed to the lower surface 12b.
  • the drain region 32 extends in layers over the entire semiconductor substrate 12.
  • the lower electrode 16 described above is in ohmic contact with the drain region 32.
  • the drift region 34 is an n-type semiconductor region.
  • the n-type impurity concentration in the drift region 34 is lower than the n-type impurity concentration in the drain region 32.
  • the drift region 34 is located on the drain region 32 and is in contact with the drain region 32.
  • the drift region 34 extends in layers over the entire semiconductor substrate 12.
  • the concentration of the n-type impurity in the drift region 34 may be constant along the thickness direction of the semiconductor substrate 12 or may change continuously or stepwise. Further, in the drift region 34, for example, a p-type semiconductor region (so-called floating region) may be provided along the bottom surface of the trench 12t.
  • the body region 36 is a p-type semiconductor region.
  • the body region 36 is located on the drift region 34 and is in contact with the drift region 34.
  • the body region 36 extends in layers over the entire semiconductor substrate 12.
  • the body region 36 has a body contact region 36 a exposed on the upper surface 12 a of the semiconductor substrate 12.
  • the concentration of the p-type impurity in the body contact region 36 a is higher than the concentration of the p-type impurity in other portions of the body region 36.
  • the upper surface electrode 14 mentioned above is in ohmic contact with the body contact region 36a.
  • On the upper surface 12 a of the semiconductor substrate 12, a plurality of body contact regions 36 a are provided in stripes together with a plurality of source regions 38.
  • body contact regions 36a and source regions 38 are alternately formed along the longitudinal direction of the trench 12t (the vertical direction in FIG. 1).
  • the source region 38 extends perpendicular to the longitudinal direction of the trench 12t (see FIGS. 2 and 3).
  • the source region 38 is an n-type semiconductor region.
  • the n-type impurity concentration in the source region 38 is higher than the n-type impurity concentration in the drift region 34.
  • the source region 38 is located on the body region 36 and is exposed on the upper surface 12 a of the semiconductor substrate 12.
  • the above-described upper surface electrode 14 is also in ohmic contact with the source region 38.
  • the source region 38 is separated from the same n-type drift region 34 and drain region 32 through the body region 36.
  • the trench 12 t extends from the upper surface 12 a of the semiconductor substrate 12 through the body region 36 to the drift region 34.
  • the gate electrode 18 faces the source region 38, the body region 36, and the drift region 34 with the gate insulating film 20 interposed therebetween.
  • a positive voltage so-called gate drive voltage
  • an inversion layer is formed in the body region 36 facing the gate electrode 18.
  • the source region 38 and the drift region 34 are electrically connected, and the upper electrode 14 and the lower electrode 16 are electrically connected.
  • the semiconductor substrate 12 is provided with a MOSFET structure having the drain region 32, the drift region 34, the body region 36, and the source region 38.
  • This MOSFET structure incorporates a body diode (also referred to as a parasitic diode) as well shown in FIG. That is, the p-type semiconductor layer of the body region 36 (including the body contact region 36 a) and the n-type semiconductor layer including the drift region 34 and the drain region 32 are provided between the upper surface electrode 14 and the lower surface electrode 16. A junction type diode is formed.
  • the body diode allows a current flowing from the upper surface electrode 14 to the lower surface electrode 16 while blocking a current flowing from the lower surface electrode 16 to the upper surface electrode 14.
  • MOSFET body diodes generate a relatively large amount of heat when energized. For this reason, when the body diode is used as a free-wheeling diode, the semiconductor substrate 12 tends to become high temperature, and variations in temperature distribution tend to increase.
  • the temperature of the semiconductor substrate 12 is monitored by the temperature sensor 28, and the operation of the semiconductor device 10 is controlled based on the temperature detected by the temperature sensor 28. In this regard, if the temperature distribution of the semiconductor substrate 12 varies, the reliability of the temperature detected by the temperature sensor 28 decreases. That is, even if the operation of the semiconductor device 10 is controlled based on the temperature detected by the temperature sensor 28, there is a possibility that a failure due to overheating of the semiconductor substrate 12 cannot be avoided.
  • the semiconductor device 10 it is important to improve the temperature distribution of the semiconductor substrate 12. Therefore, the following structure is adopted in the semiconductor device 10 of the present embodiment.
  • the semiconductor substrate 12 has a range A ⁇ b> 1 including the center of the semiconductor substrate 12 and a range A ⁇ b> 2 located between the range A ⁇ b> 1 and the outer peripheral edge of the semiconductor substrate 12 when viewed in plan. And have.
  • Each of the two ranges A1 and A2 is provided with a MOSFET structure containing the body diode described above.
  • the structure related to the operation of the MOSFET is equal to each other between the two ranges A1 and A2.
  • the MOSFET structures are different between the two ranges A1 and A2. This is because the forward voltage of the body diode for the same current density is made higher in range A1 than in range A2.
  • the semiconductor device 10 of the present embodiment is configured such that the amount of heat generated by the semiconductor substrate 12 is suppressed in a range A1 that is inferior in heat dissipation.
  • the temperature distribution of the semiconductor substrate 12 is improved, and the reliability of the temperature detected by the temperature sensor 28 is improved. That is, by improving the temperature distribution of the semiconductor substrate 12, the temperature of the semiconductor substrate 12 can be correctly detected regardless of the position where the temperature sensor 28 is disposed.
  • each of the two ranges A ⁇ b> 1 and A ⁇ b> 2 has a plurality of body contact portions C where the body region 36 and the upper surface electrode 14 are in contact with each other.
  • the interval CP1 of the body contact portion C in the range A1 inferior in heat dissipation is made wider than the interval CP2 of the body contact portion C in the other range A2.
  • the ratio of the area where the body region 36 is in contact with the upper surface electrode 14 (that is, the ratio of the area occupied by the body contact portion C) is smaller in the range A1 than in the range A2.
  • the forward voltage of the body diode for the same current density is higher in range A1 than in range A2, so that the temperature distribution of semiconductor substrate 12 can be improved.
  • the structure related to the operation of the MOSFET is not affected (see FIG. 2), the characteristics of the semiconductor device 10 as the MOSFET are maintained as they are.
  • one area CA1 of the body contact portion C in the range A1 inferior in heat dissipation may be made narrower than one area CA2 of the body contact portion C in the other range A2.
  • the proportion of the area where the body region 36 is in contact with the upper surface electrode 14 is smaller in the range A1 than in the range A2.
  • the forward voltage of the body diode for the same current density is higher in range A1 than in range A2, so that the temperature distribution of semiconductor substrate 12 can be improved.
  • the concentration may be lower than the concentration of the p-type impurity.
  • the forward voltage of the body diode for the same current density can be made higher in the range A1 than in the range A2 without changing the characteristics of the MOSFET.
  • the density of the crystal defects 12d below the body contact portion C in the range A1 inferior in heat dissipation is set to the crystal defect below the body contact portion C in the other range A2.
  • the forward voltage of the body diode for the same current density can be made higher in the range A1 than in the range A2 without changing the characteristics of the MOSFET.
  • the crystal defects 12d can be intentionally provided in the drift region 34 in the range A1 inferior in heat dissipation.
  • FIG. 3 to FIG. 5 Several structural examples shown in FIG. 3 to FIG. 5 can be used alone or in any combination of two or more thereof.
  • the semiconductor substrate 12 has a range A3 covered by the protective film 24 and a range A4 not covered by the protective film 24 when viewed in plan.
  • Each of the two ranges A3 and A4 is provided with a MOSFET structure incorporating the body diode described in the first embodiment.
  • the MOSFET structures are different between the range A3 covered by the protective film 24 and the range A4 not covered by the protective film 24.
  • the semiconductor device 100 of this embodiment is different from the semiconductor devices 10, 10a, and 10b described in the first embodiment.
  • the structure related to the operation of the MOSFET is equal between the two ranges A3 and A4.
  • the structure relating to the body diode is different between the two ranges A3 and A4. This is because the forward voltage of the body diode for the same current density is made higher in range A3 than in range A4.
  • the semiconductor device 100 of the present embodiment is configured such that the amount of heat generated by the semiconductor substrate 12 is suppressed in a range A3 that is inferior in heat dissipation.
  • the temperature distribution of the semiconductor substrate 12 is improved, and the reliability of the temperature detected by the temperature sensor 28 is improved. That is, by improving the temperature distribution of the semiconductor substrate 12, the temperature of the semiconductor substrate 12 can be correctly detected regardless of the position where the temperature sensor 28 is disposed.
  • means for making the forward voltage of the body diode for the same current density different in the two ranges A3 and A4 is not limited to a specific one.
  • each of the two ranges A3 and A4 includes a plurality of body contact portions C where the body region 36 and the upper surface electrode 14 are in contact with each other.
  • one area CA3 of the body contact portion C in the range A3 inferior in heat dissipation is made narrower than one area CA4 of the body contact portion C in the other range A4.
  • the ratio of the area where the body region 36 is in contact with the upper surface electrode 14 (that is, the ratio of the area occupied by the body contact portion C) is smaller in the range A3 than in the range A4.
  • the forward voltage of the body diode for the same current density is higher in range A3 than in range A4, so that the temperature distribution of semiconductor substrate 12 can be improved.
  • the structure related to the operation of the MOSFET is not affected (see FIG. 7), the characteristics of the semiconductor device 10 as the MOSFET are maintained as they are.
  • the interval between the body contact points C in the range A3 that is inferior in heat dissipation may be narrower than the interval between the body contact points C in the other range A2 (see FIG. 3). Or you may make the density
  • the semiconductor device 110 of this embodiment has a planar gate structure, and in this respect, the semiconductor devices 10, 10a, 10b of Embodiments 1 and 2 having a trench gate structure. 100 is different. That is, in the semiconductor device 110, the gate electrode 18 and the gate insulating film 20 are provided along the upper surface 12 a of the semiconductor substrate 12, and the gate electrode 18 faces the upper surface 12 a of the semiconductor substrate 12 with the gate insulating film 20 interposed therebetween. ing.
  • the semiconductor substrate 12 is provided with a MOSFET structure having a drain region 32, a drift region 34, a body region 36 and a source region 38.
  • the structures of the body region 36 (including the body contact region 36a) and the source region 38 are changed.
  • the gate electrode 18 faces the source region 38, the body region 36, and the drift region 34 with the gate insulating film 20 interposed therebetween.
  • the source region 38 and the body region 36 are in ohmic contact with the upper surface electrode 14.
  • the MOSFET structure of this embodiment incorporates a body diode that can be used as a free-wheeling diode, like the MOSFET structures described in the first and second embodiments.
  • the MOSFET structure is different between the range A3 covered by the protective film 24 and the range A4 not covered by the protective film 24 as in the second embodiment.
  • the density of the crystal defects 12d below the body contact portion C is larger than that in the other range A4.
  • the forward voltage of the body diode for the same current density is higher than the range A4 in the range A3, and when a current flows through the body diode of the semiconductor substrate 12, the current density in the range A3 is higher than the current density in the range A4. Also lower.
  • the heat generation amount of the semiconductor substrate 12 is suppressed in the range A3 that is inferior in heat dissipation, the temperature distribution of the semiconductor substrate 12 is improved.
  • the technology disclosed in this specification can be applied to both a trench gate type MOSFET structure and a planar gate type MOSFET structure.
  • the technology disclosed in this specification is not limited to a specific MOSFET structure, and can be applied to various MOSFET structures.
  • the MOSFET structure is interposed between the n-type source region 38 in contact with the upper surface electrode 14, the n-type drain region 32 in contact with the lower surface electrode 16, the source region 38 and the drain region 32, and the upper surface electrode 14.
  • the p-type body region 36 is in contact with the n-type drift region 34 and the n-type drift region 34 is interposed between the body region 36 and the drain region 32. Since both the drain region 32 and the drift region 34 are n-type semiconductor regions, no clear boundary is required between them.
  • the semiconductor device 120 of the present embodiment has a trench gate structure as in the first and second embodiments.
  • the semiconductor device 120 is usually incorporated in a semiconductor package together with a conductive member 122 such as a lead.
  • the conductive member 122 is bonded to at least a part of the upper surface electrode 14 of the semiconductor device 120 via, for example, a solder layer 124. Therefore, the upper surface electrode 14 may have a plating layer 14a made of, for example, nickel or gold in order to improve the affinity and bonding with the solder layer 124.
  • the semiconductor substrate 12 In a state where the conductive member 122 is bonded to the upper surface electrode 14, the semiconductor substrate 12 has a range A5 covered with the conductive member 122 and ranges A3 and A4 not covered with the conductive member 122 in plan view. .
  • the heat of the semiconductor substrate 12 can be radiated to the outside through the conductive member 122. Accordingly, the ranges A3 and A4 that are not covered by the conductive member 122 are inferior in heat dissipation compared to the range A5 that is covered by the conductive member 122, and are likely to become high temperature.
  • the MOSFET structures are different between the ranges A3 and A4 that are not covered by the conductive member 122 and the range A5 that is covered by the conductive member 122. Furthermore, in the semiconductor device 120 of this embodiment, the MOSFET structures are different from each other between the range A3 covered by the protective film 24 and the range A4 not covered by the protective film 24. That is, the MOSFET structures are different from each other between the three ranges A1-A3 having different heat dissipation properties.
  • each of the two ranges A3-A5 has a plurality of body contact portions C where the body region 36 and the upper surface electrode 14 are in contact with each other. Comparing the three ranges A3-A5, the range A3 covered with the protective film 24 is the most inferior in heat dissipation, and the range A5 covered by the conductive member 122 is the best in heat dissipation. Therefore, each area CA3-CA5 of the body contact portion C in the range A3-A5 satisfies the relationship CA3 ⁇ CA4 ⁇ CA5. As a result, the forward voltage of the body diode for the same current density is highest in the range A3 and lowest in the range A5.
  • the current density is the smallest in the range A3 and the largest in the range A5. Since the amount of heat generated in each of the ranges A3-A5 is adjusted according to the heat dissipation, the temperature distribution of the semiconductor substrate 12 is improved.
  • the MOSFET structures may be different from each other so that the forward voltage of the body diode for the same current density is different for four or more ranges.
  • the means for making the forward voltage of the body diode different in each range is not limited to a specific one, and one or more structural examples described in this specification are adopted. can do.
  • the temperature distribution due to the heat generation of the body diode built in the MOSFET structure is improved. Therefore, when these semiconductor devices 10, 10a, 10b, 100, 110, 120 are employed in converters and inverters, the body diode can be used as a freewheeling diode.
  • the semiconductor devices 10, 10 a, 10 b, 100, 110, and 120 can be suitably employed for converters and inverters that perform synchronous rectification control.
  • the synchronous rectification control is a control that limits the current flowing through the body diode by driving the gate electrode 18 (that is, turning on the MOSFET) in accordance with the period during which the current flows through the body diode.

Landscapes

  • Physics & Mathematics (AREA)
  • Condensed Matter Physics & Semiconductors (AREA)
  • General Physics & Mathematics (AREA)
  • Engineering & Computer Science (AREA)
  • Computer Hardware Design (AREA)
  • Microelectronics & Electronic Packaging (AREA)
  • Power Engineering (AREA)
  • Metal-Oxide And Bipolar Metal-Oxide Semiconductor Integrated Circuits (AREA)
PCT/JP2018/002487 2017-03-22 2018-01-26 半導体装置 Ceased WO2018173477A1 (ja)

Priority Applications (2)

Application Number Priority Date Filing Date Title
US16/487,007 US11393902B2 (en) 2017-03-22 2018-01-26 Semiconductor device
CN201880019440.8A CN110622320B (zh) 2017-03-22 2018-01-26 半导体装置

Applications Claiming Priority (2)

Application Number Priority Date Filing Date Title
JP2017-055344 2017-03-22
JP2017055344A JP6666292B2 (ja) 2017-03-22 2017-03-22 半導体装置

Publications (1)

Publication Number Publication Date
WO2018173477A1 true WO2018173477A1 (ja) 2018-09-27

Family

ID=63585225

Family Applications (1)

Application Number Title Priority Date Filing Date
PCT/JP2018/002487 Ceased WO2018173477A1 (ja) 2017-03-22 2018-01-26 半導体装置

Country Status (4)

Country Link
US (1) US11393902B2 (OSRAM)
JP (1) JP6666292B2 (OSRAM)
CN (1) CN110622320B (OSRAM)
WO (1) WO2018173477A1 (OSRAM)

Cited By (2)

* Cited by examiner, † Cited by third party
Publication number Priority date Publication date Assignee Title
CN111354796A (zh) * 2018-12-21 2020-06-30 英飞凌科技股份有限公司 包括碳化硅主体的半导体器件以及制造方法
US20220077230A1 (en) * 2020-09-10 2022-03-10 Kabushiki Kaisha Toshiba Semiconductor device

Families Citing this family (5)

* Cited by examiner, † Cited by third party
Publication number Priority date Publication date Assignee Title
JP7103435B2 (ja) * 2018-12-21 2022-07-20 富士電機株式会社 半導体装置および半導体装置の製造方法
JP2021005692A (ja) * 2019-06-27 2021-01-14 株式会社デンソー 半導体装置
JP7256771B2 (ja) * 2020-03-16 2023-04-12 株式会社東芝 半導体装置
JP7614896B2 (ja) * 2021-03-19 2025-01-16 株式会社東芝 半導体装置及びその製造方法
WO2023002795A1 (ja) * 2021-07-20 2023-01-26 株式会社デンソー 半導体装置

Citations (7)

* Cited by examiner, † Cited by third party
Publication number Priority date Publication date Assignee Title
JP2000269234A (ja) * 1999-03-15 2000-09-29 Toshiba Corp 半導体装置
JP2014003095A (ja) * 2012-06-15 2014-01-09 Denso Corp 半導体装置
JP2014132600A (ja) * 2011-04-12 2014-07-17 Renesas Electronics Corp 半導体装置
JP2014150113A (ja) * 2013-01-31 2014-08-21 Toyota Motor Corp 半導体装置及び半導体装置の製造方法
JP2014154849A (ja) * 2013-02-13 2014-08-25 Toshiba Corp 半導体装置
WO2016039071A1 (ja) * 2014-09-08 2016-03-17 富士電機株式会社 半導体装置及びその製造方法
JP2017011171A (ja) * 2015-06-24 2017-01-12 株式会社デンソー 半導体装置

Family Cites Families (8)

* Cited by examiner, † Cited by third party
Publication number Priority date Publication date Assignee Title
CN101552274A (zh) * 2004-06-30 2009-10-07 先进模拟科技公司 半导体器件及其制造处理方法
JP4605251B2 (ja) * 2007-06-14 2011-01-05 株式会社デンソー 半導体装置
JP5045733B2 (ja) * 2008-12-24 2012-10-10 株式会社デンソー 半導体装置
JP5680299B2 (ja) 2009-12-25 2015-03-04 トヨタ自動車株式会社 半導体装置
CN103765582B (zh) * 2011-08-30 2016-08-24 丰田自动车株式会社 半导体装置
JP2014187080A (ja) * 2013-03-22 2014-10-02 Panasonic Corp 半導体素子、半導体装置及び複合モジュール
JP6119593B2 (ja) * 2013-12-17 2017-04-26 トヨタ自動車株式会社 半導体装置
JP6181597B2 (ja) * 2014-04-28 2017-08-16 トヨタ自動車株式会社 半導体装置及び半導体装置の製造方法

Patent Citations (7)

* Cited by examiner, † Cited by third party
Publication number Priority date Publication date Assignee Title
JP2000269234A (ja) * 1999-03-15 2000-09-29 Toshiba Corp 半導体装置
JP2014132600A (ja) * 2011-04-12 2014-07-17 Renesas Electronics Corp 半導体装置
JP2014003095A (ja) * 2012-06-15 2014-01-09 Denso Corp 半導体装置
JP2014150113A (ja) * 2013-01-31 2014-08-21 Toyota Motor Corp 半導体装置及び半導体装置の製造方法
JP2014154849A (ja) * 2013-02-13 2014-08-25 Toshiba Corp 半導体装置
WO2016039071A1 (ja) * 2014-09-08 2016-03-17 富士電機株式会社 半導体装置及びその製造方法
JP2017011171A (ja) * 2015-06-24 2017-01-12 株式会社デンソー 半導体装置

Cited By (4)

* Cited by examiner, † Cited by third party
Publication number Priority date Publication date Assignee Title
CN111354796A (zh) * 2018-12-21 2020-06-30 英飞凌科技股份有限公司 包括碳化硅主体的半导体器件以及制造方法
CN111354796B (zh) * 2018-12-21 2023-08-04 英飞凌科技股份有限公司 包括碳化硅主体的半导体器件以及制造方法
US20220077230A1 (en) * 2020-09-10 2022-03-10 Kabushiki Kaisha Toshiba Semiconductor device
US11985897B2 (en) * 2020-09-10 2024-05-14 Kabushiki Kaisha Toshiba Semiconductor device

Also Published As

Publication number Publication date
US20200043823A1 (en) 2020-02-06
JP6666292B2 (ja) 2020-03-13
US11393902B2 (en) 2022-07-19
JP2018160488A (ja) 2018-10-11
CN110622320B (zh) 2023-08-08
CN110622320A (zh) 2019-12-27

Similar Documents

Publication Publication Date Title
CN110622320B (zh) 半导体装置
US10784256B2 (en) Semiconductor device and method of manufacturing semiconductor device
US11876131B2 (en) Semiconductor device
JPWO2020031971A1 (ja) SiC半導体装置
US11916112B2 (en) SiC semiconductor device
US10115798B2 (en) Semiconductor device and method of manufacturing the same
TW201316506A (zh) 超接合半導體裝置
JP2010016103A (ja) 半導体装置
US11177360B2 (en) Semiconductor device
US10256232B2 (en) Semiconductor device including a switching element and a sense diode
US11621320B2 (en) Semiconductor device
TWI659611B (zh) 半導體裝置
US11855166B2 (en) Semiconductor device including sub-cell disposed at chip center
CN102456632A (zh) 半导体装置
CN111446244B (zh) 半导体装置
CN106471623A (zh) 半导体装置
US20200411653A1 (en) Semiconductor device
US11791406B2 (en) Semiconductor device
JP6774529B2 (ja) 半導体装置および半導体モジュール
JP7472613B2 (ja) 半導体装置
JP2010199149A (ja) 半導体装置
US20230106733A1 (en) Semiconductor device and method for manufacturing semiconductor device
JP2021002683A (ja) 半導体装置および半導体モジュール
JP4852876B2 (ja) 半導体装置
US20230335626A1 (en) Semiconductor device

Legal Events

Date Code Title Description
121 Ep: the epo has been informed by wipo that ep was designated in this application

Ref document number: 18770614

Country of ref document: EP

Kind code of ref document: A1

NENP Non-entry into the national phase

Ref country code: DE

122 Ep: pct application non-entry in european phase

Ref document number: 18770614

Country of ref document: EP

Kind code of ref document: A1