WO2018139080A1 - シート空調装置 - Google Patents

シート空調装置 Download PDF

Info

Publication number
WO2018139080A1
WO2018139080A1 PCT/JP2017/044462 JP2017044462W WO2018139080A1 WO 2018139080 A1 WO2018139080 A1 WO 2018139080A1 JP 2017044462 W JP2017044462 W JP 2017044462W WO 2018139080 A1 WO2018139080 A1 WO 2018139080A1
Authority
WO
WIPO (PCT)
Prior art keywords
seat
air
air conditioner
blower
housing
Prior art date
Legal status (The legal status is an assumption and is not a legal conclusion. Google has not performed a legal analysis and makes no representation as to the accuracy of the status listed.)
Ceased
Application number
PCT/JP2017/044462
Other languages
English (en)
French (fr)
Japanese (ja)
Inventor
川野 茂
Current Assignee (The listed assignees may be inaccurate. Google has not performed a legal analysis and makes no representation or warranty as to the accuracy of the list.)
Denso Corp
Original Assignee
Denso Corp
Priority date (The priority date is an assumption and is not a legal conclusion. Google has not performed a legal analysis and makes no representation as to the accuracy of the date listed.)
Filing date
Publication date
Application filed by Denso Corp filed Critical Denso Corp
Priority to CN201780081600.7A priority Critical patent/CN110121440B/zh
Priority to DE112017006907.6T priority patent/DE112017006907T5/de
Publication of WO2018139080A1 publication Critical patent/WO2018139080A1/ja
Priority to US16/439,890 priority patent/US11091075B2/en
Anticipated expiration legal-status Critical
Ceased legal-status Critical Current

Links

Images

Classifications

    • AHUMAN NECESSITIES
    • A47FURNITURE; DOMESTIC ARTICLES OR APPLIANCES; COFFEE MILLS; SPICE MILLS; SUCTION CLEANERS IN GENERAL
    • A47CCHAIRS; SOFAS; BEDS
    • A47C7/00Parts, details, or accessories of chairs or stools
    • A47C7/62Accessories for chairs
    • A47C7/72Adaptations for incorporating lamps, radio sets, bars, telephones, ventilation, heating or cooling arrangements or the like
    • A47C7/74Adaptations for incorporating lamps, radio sets, bars, telephones, ventilation, heating or cooling arrangements or the like for ventilation, heating or cooling
    • BPERFORMING OPERATIONS; TRANSPORTING
    • B60VEHICLES IN GENERAL
    • B60HARRANGEMENTS OF HEATING, COOLING, VENTILATING OR OTHER AIR-TREATING DEVICES SPECIALLY ADAPTED FOR PASSENGER OR GOODS SPACES OF VEHICLES
    • B60H1/00Heating, cooling or ventilating [HVAC] devices
    • BPERFORMING OPERATIONS; TRANSPORTING
    • B60VEHICLES IN GENERAL
    • B60HARRANGEMENTS OF HEATING, COOLING, VENTILATING OR OTHER AIR-TREATING DEVICES SPECIALLY ADAPTED FOR PASSENGER OR GOODS SPACES OF VEHICLES
    • B60H1/00Heating, cooling or ventilating [HVAC] devices
    • B60H1/32Cooling devices
    • BPERFORMING OPERATIONS; TRANSPORTING
    • B60VEHICLES IN GENERAL
    • B60NSEATS SPECIALLY ADAPTED FOR VEHICLES; VEHICLE PASSENGER ACCOMMODATION NOT OTHERWISE PROVIDED FOR
    • B60N2/00Seats specially adapted for vehicles; Arrangement or mounting of seats in vehicles
    • B60N2/56Heating or ventilating devices
    • B60N2/5607Heating or ventilating devices characterised by convection
    • B60N2/5621Heating or ventilating devices characterised by convection by air
    • B60N2/5635Heating or ventilating devices characterised by convection by air coming from the passenger compartment
    • BPERFORMING OPERATIONS; TRANSPORTING
    • B60VEHICLES IN GENERAL
    • B60NSEATS SPECIALLY ADAPTED FOR VEHICLES; VEHICLE PASSENGER ACCOMMODATION NOT OTHERWISE PROVIDED FOR
    • B60N2/00Seats specially adapted for vehicles; Arrangement or mounting of seats in vehicles
    • B60N2/56Heating or ventilating devices
    • B60N2/5607Heating or ventilating devices characterised by convection
    • B60N2/5621Heating or ventilating devices characterised by convection by air
    • B60N2/5657Heating or ventilating devices characterised by convection by air blown towards the seat surface
    • BPERFORMING OPERATIONS; TRANSPORTING
    • B60VEHICLES IN GENERAL
    • B60NSEATS SPECIALLY ADAPTED FOR VEHICLES; VEHICLE PASSENGER ACCOMMODATION NOT OTHERWISE PROVIDED FOR
    • B60N2/00Seats specially adapted for vehicles; Arrangement or mounting of seats in vehicles
    • B60N2/56Heating or ventilating devices
    • B60N2/5678Heating or ventilating devices characterised by electrical systems

Definitions

  • the present disclosure relates to a seat air conditioner that supplies conditioned air to a seat.
  • the seat air conditioner described in Patent Document 1 is disposed between a seat surface portion of a seat and a floor, and includes a vapor compression refrigeration cycle inside the casing.
  • the said seat air conditioner is improving the comfort of the passenger
  • the air suction port is formed on the lower surface of the casing of the seat air conditioner and is disposed so as to face the floor surface.
  • Patent Document 1 since the air inlet is formed on the lower surface of the casing of the seat air conditioner and faces the floor, the air near the floor heated by solar radiation or the like may be sucked from the air inlet. is there. In this case, when the intake air temperature rises, the temperature blown out to the occupant after cooling by the refrigeration cycle also rises, and the cooling performance of the seat air conditioner is lowered.
  • the present disclosure relates to a seat air conditioner disposed below a seat surface portion of a seat, and an object thereof is to provide a seat air conditioner capable of suppressing a decrease in air conditioning performance related to air suction.
  • the seat air conditioner includes: A housing disposed in a space formed below the seat surface portion of the seat in the passenger compartment and above the passenger compartment floor surface; A compressor that compresses and discharges the refrigerant; A condenser that dissipates heat from the refrigerant discharged from the compressor; A decompression section for decompressing the refrigerant flowing out of the condenser; An evaporator for evaporating the refrigerant decompressed in the decompression unit; A blower that blows air that is an object of heat exchange with the refrigerant, inside the housing, The blower is configured to be able to suck air through a ventilation opening formed on the upper surface of the housing.
  • this seat air conditioner when the air blower is operated during the air conditioning operation, the air above the upper surface of the casing away from the passenger compartment floor surface is sucked and the conditioned air can be sent out. It can. That is, the said seat air conditioner can suppress inhalation of the air near the compartment floor surface heated by solar radiation etc., and can suppress the fall of the cooling performance in a seat air conditioner.
  • the seat air conditioner since the suction of dust and the like on the passenger compartment floor surface can be suppressed during the suction of air accompanying the operation of the blower, the seat air conditioner has a reduced air conditioning performance of the refrigeration cycle due to the accumulation of dust and the like. Can be prevented, and failure caused by dust or the like can be prevented.
  • FIG. 4 is a cross-sectional view showing a cross section IV-IV in FIG. 3. It is an appearance perspective view of a seat frame which constitutes a seat. It is a front view which shows the flow of the air by the sheet
  • the seat air conditioner 1 according to the first embodiment is applied to air conditioning of an electric vehicle that runs on battery power. As shown in FIGS. 1 and 2, the seat air conditioner 1 is disposed in a small space between the seat surface portion 51 of the seat 50 of the electric vehicle and the passenger compartment floor surface F, and is based on temperature-adjusted air. By creating the air flow A, the comfort of the passenger sitting on the seat 50 is enhanced.
  • the seat air conditioner 1 is configured by housing a vapor compression refrigeration cycle 2 and a blower 7 in a housing 10. Therefore, the seat air conditioner 1 adjusts the temperature of the air blown by the operation of the blower 7 by the refrigeration cycle 2, and air-conditions the passenger sitting on the seat 50 via the seat 50, the main duct 21, and the leg duct 23. Can be supplied as wind.
  • the seat 50 has a seat surface portion 51 and a backrest portion 52, and is arranged so as to be slidable in the vehicle front-rear direction with respect to the vehicle compartment floor surface F.
  • the seat air conditioner 1 is fixed to the lower surface of the seat surface portion 51 and is slidably disposed with the seat 50.
  • the seat air conditioner 1 receives power supply from the in-vehicle battery, and the power line from the in-vehicle battery is configured by a coil wiring having a margin so as to allow sliding.
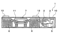
  • FIGS. 3 and 4 A schematic configuration of the seat air-conditioning apparatus 1 according to the first embodiment will be described in detail with reference to FIGS. 3 and 4. As described above, the seat air conditioner 1 according to the first embodiment is disposed between the seat surface portion 51 of the seat 50 and the passenger compartment floor surface F.
  • the seat air conditioner 1 includes a refrigeration cycle 2 and a blower 7 in a housing 10 configured as a box that can be disposed between a seat surface portion 51 and a passenger compartment floor surface F. And is housed.
  • the refrigeration cycle 2 constitutes a vapor compression refrigeration cycle, and functions to cool or heat the air blown around the seat 50 in the passenger compartment, which is the air-conditioning target space.
  • the refrigeration cycle 2 includes a compressor 3, a condenser 4, an expansion valve 5, and an evaporator 6.
  • the refrigeration cycle 2 employs an HFC-based refrigerant (specifically, R134a) as a refrigerant, and constitutes a vapor compression subcritical refrigeration cycle in which the high-pressure side refrigerant pressure does not exceed the critical pressure of the refrigerant.
  • an HFO refrigerant for example, R1234yf
  • a natural refrigerant for example, R744
  • the refrigerating machine oil for lubricating the compressor 3 is mixed in the refrigerant, and a part of the refrigerating machine oil circulates in the cycle together with the refrigerant.
  • the blower 7 is disposed in the central portion inside the housing 10.
  • the blower 7 is an electric blower that drives a centrifugal multiblade fan with an electric motor.
  • the blower 7 is arranged so that the rotation axis of the centrifugal multiblade fan coincides with the vertical direction of the housing 10. Therefore, the blower 7 sucks air along the vertical direction of the housing 10 and blows the sucked air in a direction perpendicular to the axis and in the centrifugal direction.
  • the number of rotations of the centrifugal multiblade fan in the blower 7 (the amount of blown air) is controlled by a control voltage output from an air conditioning control device (not shown).
  • the compressor 3 sucks, compresses and discharges the refrigerant in the refrigeration cycle 2.
  • the compressor 3 is disposed in the housing 10 of the seat air conditioner 1.
  • the compressor 3 is configured as an electric compressor that drives a fixed capacity type compression mechanism with a fixed discharge capacity by an electric motor.
  • this compression mechanism various compression mechanisms such as a scroll-type compression mechanism and a vane-type compression mechanism can be employed.
  • the operation (the number of rotations) of the electric motor constituting the compressor 3 is controlled by a control signal output from an air conditioning control device (not shown).
  • an air conditioning control device not shown.
  • this electric motor either an AC motor or a DC motor may be adopted.
  • coolant discharge capability of a compression mechanism is changed because an air-conditioning control apparatus controls the rotation speed of an electric motor.
  • the refrigerant inlet side of the condenser 4 is connected to the discharge port of the compressor 3.
  • the condenser 4 is configured by connecting a plurality of heat exchangers arranged so as to surround the periphery of the blower 7 over a range of about 180 degrees with a refrigerant pipe inside the housing 10. Yes. Therefore, the condenser 4 can exchange heat between the high-temperature and high-pressure discharged refrigerant discharged from the compressor 3 and the blown air blown by the blower 7, and can heat the blown air. That is, the condenser 4 functions as a heat exchanger for heating.
  • An expansion valve 5 is arranged on the refrigerant outlet side of the condenser 4.
  • the expansion valve 5 is configured to be able to change the throttle opening of the refrigerant flow path, and depressurizes the refrigerant that has flowed out of the condenser 4.
  • the expansion valve 5 functions as a pressure reducing unit.
  • the expansion valve 5 is used as a pressure reduction part which concerns on 1st Embodiment, it is not limited to this aspect.
  • various configurations can be adopted as the depressurization unit.
  • a fixed throttle or a capillary tube may be adopted as the pressure reducing unit, or an expansion valve capable of controlling the throttle opening degree by a control signal of the air conditioning control device may be used.
  • the refrigerant inlet side of the evaporator 6 is connected to the outlet side of the expansion valve 5.
  • the evaporator 6 is configured by connecting a plurality of heat exchangers, which are arranged so as to surround the periphery of the blower 7 over a range of about 180 degrees, with a refrigerant pipe inside the housing 10. Yes. That is, the blower 7 is surrounded by the condenser 4 and the evaporator 6. Therefore, the evaporator 6 can exchange heat between the refrigerant flowing out of the expansion valve 5 and the blown air blown by the blower 7, and can cool the blown air. That is, the evaporator 6 functions as a cooling heat exchanger.
  • the housing 10 is formed in a box shape having a size that can be disposed in a space between the seat surface portion 51 of the seat 50 and the passenger compartment floor surface F, and includes a central ventilation opening 11, a plurality of first ventilation openings 12, and a plurality of ventilation openings.
  • the second ventilation opening 13 is provided on the upper surface thereof.
  • the central ventilation opening 11 is formed in the central portion of the upper surface of the housing 10, and is opened so as to include the portion directly above the rotating shaft of the centrifugal multiblade fan in the blower 7. Yes.
  • the central ventilation opening 11 communicates the inside and the outside of the housing 10 and functions as a ventilation opening. Therefore, the blower 7 can suck the air in the vehicle interior into the housing 10 through the central ventilation opening 11 in accordance with the operation thereof.
  • the first ventilation opening 12 is opened at two corners corresponding to the condenser 4 among the corners on the upper surface of the housing 10, and communicates the inside and the outside of the housing 10. A part of the air blown by the blower 7 is heated by heat exchange in the condenser 4 and then blown out from the first ventilation opening 12.
  • the first vent opening 12 is an example of a vent hole.
  • the second ventilation opening 13 is opened at two corners corresponding to the evaporator 6 among the corners on the upper surface of the housing 10, and communicates the inside of the housing 10 with the outside. Another part of the air blown by the blower 7 is cooled by heat exchange in the evaporator 6 and then blown out from the second ventilation opening 13.
  • the second ventilation opening 13 is also an example of a ventilation hole.
  • a central connection member 16 is attached to the central ventilation opening 11.
  • the central connection member 16 is formed in a hollow shape and is connected to the lower surface of the seat surface portion 51 in the seat 50.
  • the seat surface portion 51 of the seat 50 has a cushion portion made of a porous material such as urethane on the upper portion thereof, and the elasticity thereof reduces the impact generated by contact with the occupant. Yes.
  • the seat surface part 51 has air permeability by the cushion part which consists of this porous material.
  • the seat air conditioner 1 can move air between the space above the seat surface portion 51 having air permeability through the central ventilation opening 11 and the central connection member 16, and It is possible to inhale from the space. That is, the center connecting member 16 is an example of a connecting member.
  • a hollow first connection member 17 is attached to the first ventilation opening 12, and a hollow second connection member 18 is attached to the second ventilation opening 13.
  • the first connecting member 17 and the second connecting member 18 are respectively connected to an air conditioning air supply port 58 of a seat frame 53 described later or a main air to be described later via an air conditioning air supply mechanism (not shown) disposed inside the seat surface portion 51.
  • the duct 21 and the end of the leg duct 23 are connected.
  • the seat air-conditioning apparatus 1 includes the air-conditioning air outlets 59 of the second seat frame 57, the main air vent 22 of the main duct 21, and the leg airflow of the leg duct 23.
  • the conditioned air adjusted by the refrigeration cycle 2 can be supplied to the passenger sitting on the seat 50 from the mouth 24. That is, the first connecting member 17 and the second connecting member 18 function as a part of the duct member and also function as a part of the cylindrical member.
  • a main duct 21 and leg ducts 23 are arranged on both side surfaces of the seat 50, respectively.
  • the main duct 21 is formed in a flat hollow shape and extends to the middle part of the backrest portion 52 along the side surface of the seat 50.
  • One end portion of the main duct 21 is located in the middle of the backrest portion 52 and has a main vent 22.
  • the main vent 22 communicates with the inside of the main duct 21 and is formed to be slightly curved inward in the width direction at a position adjacent to the side surface of the seat 50.
  • the other end of the main duct 21 is connected to the first connection member 17, the first ventilation opening 12, the second connection member 18, and the second ventilation opening 13 through an unillustrated conditioned air supply mechanism. .
  • the seat air conditioner 1 supplies the conditioned air more efficiently to the trunk portion of the passenger sitting on the seat 50. be able to.
  • the leg duct 23 is formed in a hollow shape, and is bent upward after extending along the side surface of the seat surface portion 51 of the seat 50.
  • One end of the leg duct 23 is positioned slightly above the upper surface of the seat surface 51 and has a leg ventilation hole 24.
  • the leg ventilation opening 24 is formed at a position adjacent to the side surface of the seat 50 so as to be slightly curved inward in the width direction.
  • the other end of the leg duct 23 is connected to the first connection member 17, the first ventilation opening 12, the second connection member 18, and the second ventilation opening 13 via an air conditioning wind supply mechanism (not shown). ing.
  • the seat air conditioner 1 can be used with respect to a leg such as a thigh of an occupant sitting on the seat 50. Air-conditioned air can be supplied more efficiently.
  • the seat 50 is disposed for an occupant to sit in the electric vehicle, and includes a seat surface portion 51, a backrest portion 52, and a seat frame 53.
  • the seat surface portion 51 is a portion on which an occupant is seated, and has a porous cushion portion on the upper surface thereof.
  • the backrest part 52 comprises the part which supports the passenger
  • the seat 50 is configured by fixing the relative positions of the seat surface portion 51 and the backrest portion 52 with the seat frame 53.
  • the seat frame 53 is configured by combining metal pipes, and functions as an aggregate portion of the seat 50 and also functions as an air flow path by the seat air conditioner 1. As shown in FIG. 5, the seat frame 53 includes a first seat frame 54 and a second seat frame 57. The first seat frame 54 and the second seat frame 57 are connected by a reinforcing member (not shown), and the relative positional relationship is maintained.
  • the first seat frame 54 is disposed below the cushion portion of the seat surface portion 51 and inside the seat surface portion 51, and has a connection portion 55 and a plurality of vent holes 56.
  • the connecting portion 55 is formed at an end portion of the first seat frame 54 and is disposed so as to protrude from the lower surface of the seat surface portion 51.
  • An end of the central connection member 16 is connected to the connection portion 55.
  • the plurality of vent holes 56 are arranged at a plurality of locations on the upper surface of the first seat frame 54 and communicate with the inside of the hollow first seat frame 54. Therefore, the seat air conditioner 1 according to the first embodiment allows the air above the seat surface portion 51 to flow through the cushion portion of the seat surface portion 51, the first seat frame 54, the central connection member 16, and the central vent opening 11. Can be sucked into the body 10.
  • the second seat frame 57 is disposed behind the cushion portion of the backrest portion 52 and inside the backrest portion 52, and has an air-conditioning air supply port 58 and a plurality of air-conditioning air outlets 59.
  • the conditioned air supply port 58 is disposed at the lower end of the backrest 52 and is connected to the first connecting member 17 and the second connecting member 18 via an conditioned air supply mechanism unit (not shown).
  • the air-conditioning air outlet 59 is disposed at a plurality of locations on the front surface side of the second seat frame 57, and communicates with the inside of the hollow second seat frame 57. Therefore, the seat air-conditioning apparatus 1 according to the first embodiment uses the first connecting member to supply conditioned air such as warm air blown out through the first ventilation opening 12 or cold air blown out through the second ventilation opening 13. 17, the second connecting member 18, the air conditioning air supply mechanism (not shown), the second seat frame 57, and the cushion portion of the backrest 52 can be blown into the vehicle interior.
  • the cushion part of the seat surface part 51 and the backrest part 52 is porous, the temperature of the cushion part in the seat surface part 51 and the backrest part 52 can be adjusted by the flow of air by the seat air conditioner 1.
  • an air flow A indicated by an arrow indicates a typical air flow in the first embodiment, and is not limited to this flow.
  • the seat air conditioner 1 As described above, in the seat air conditioner 1 according to the first embodiment, when the blower 7 is operated to rotate the centrifugal multiblade fan, air is sucked along the rotation axis of the centrifugal multiblade fan. Therefore, in the seat air conditioner 1, the air above is sucked through the central ventilation opening 11 formed on the upper surface of the housing 10.
  • the connecting portion 55 of the first seat frame 54 is connected to the central vent opening 11 via the central connecting member 16. Further, the first seat frame 54 is disposed below the cushion portion of the seat surface portion 51 of the seat 50 and has a plurality of vent holes 56. Therefore, the seat air conditioner 1 can suck the air above the seat surface portion 51 into the interior of the housing 10 via the cushion portion of the seat surface portion 51 and the first seat frame 54.
  • the air sucked into the housing 10 is blown in the centrifugal direction of the blower 7 and is heat-exchanged with the refrigerant in the condenser 4 and the evaporator 6. Thereby, the air blown from the blower 7 is heated or cooled by the condenser 4 or the evaporator 6 and blown out from the first ventilation opening 12 and the second ventilation opening 13 as conditioned air.
  • the conditioned air supply mechanism unit (not shown) Through the main duct 21 and the leg duct 23. At this time, part of the conditioned air is supplied into the second seat frame 57 via the conditioned air supply mechanism.
  • the conditioned air that has flowed through the main duct 21 is blown forward and upward from the main ventilation openings 22 located on the left and right sides of the backrest 52.
  • each main vent 22 is bent inward in the width direction of the seat 50 on both the left and right sides of the backrest portion 52. Accordingly, the conditioned air is blown toward the trunk portion of the occupant sitting on the seat 50.
  • the conditioned air flowing through the leg duct 23 is blown forward and obliquely upward from the leg vent holes 24 located on the left and right sides of the seat surface 51.
  • the leg ventilation holes 24 are bent inward in the width direction of the seat 50 on both the left and right sides of the seat surface portion 51. Accordingly, the conditioned air is blown out toward the legs of the passenger sitting on the seat 50.
  • the conditioned air flowing through the second seat frame 57 is blown out from the conditioned air supply ports 58 formed in the second seat frame 57 toward the front of the seat 50 through the cushion portion of the backrest portion 52.
  • the conditioned air can be supplied to a certain range on the front side of the seat 50.
  • the range in which the conditioned air is supplied corresponds to a range in which an occupant sitting on the seat 50 is located. That is, according to the said seat air conditioner 1, the comfort of the passenger
  • the seat air conditioner 1 allows the air above the seat surface portion 51 to move from the central ventilation opening 11 through the cushion portion of the seat surface portion 51 and the like by the operation of the blower 7. 10 Inhale into the interior. Therefore, according to the seat air conditioner 1 which concerns on 1st Embodiment, the air flow A circulating between the seat air conditioner 1 and the space where the passenger
  • the case where cold air is supplied as conditioned air in the seat air conditioner 1 according to the first embodiment will be considered.
  • the air sucked from the central ventilation opening 11 is cooled by exchanging heat with the refrigerant in the evaporator 6, and then blown out from the second ventilation opening 13 to the outside of the housing 10 as cold air. Yes.
  • the air to be subjected to heat exchange in the evaporator 6 is the air above the seat surface portion 51 sucked from the central ventilation opening 11.
  • the air above the seat surface portion 51 is less affected by solar radiation and the like than the air near the passenger compartment floor surface F, and exhibits a lower temperature than the air near the passenger compartment floor surface F.
  • the seat air-conditioning apparatus 1 According to the seat air-conditioning apparatus 1 according to the first embodiment, air having a temperature lower than that of the air in the vicinity of the passenger compartment floor surface F can be sucked from above the seat surface portion 51. Compared to the case where air is sucked and heat exchange is performed by the evaporator 6, the temperature of the cold air after the heat exchange in the evaporator 6 can be lowered, and the efficiency at the time of cold air blowing can be improved.
  • the seat air-conditioning apparatus 1 is configured to suck air in the vicinity of the passenger compartment floor F, the seat air-conditioning apparatus 1 also has dust and dirt as the air is sucked due to the operation of the blower 7. 10 will be inhaled.
  • the dust or dirt sucked into the housing 10 may cause a failure of the blower 7 or the like, or may become a ventilation resistance in the condenser 4 or the evaporator 6 and reduce the heat exchange efficiency with the refrigerant. Can be considered.
  • the seat air conditioner 1 allows air above the seat surface portion 51 to pass through the central ventilation opening 11 formed in the upper surface of the housing 10 as shown in FIGS. Since it is configured to inhale, it does not inhale dust or dirt deposited on the passenger compartment floor F. That is, the seat air-conditioning apparatus 1 can suppress a decrease in the air-conditioning performance of the refrigeration cycle caused by dust or the like sucked into the housing 10 and can prevent a failure caused by dust or the like.
  • the air flow A circulates between the seat air conditioner 1 and the space where the occupant sitting on the seat 50 exists. Can be created. According to this circulating air flow A, a part of the cool air blown into the space where the occupant sitting on the seat 50 is present passes through the cushion portion of the seat surface portion 51 and the central ventilation opening 11, and the housing in the seat air conditioner 1. It will be sucked into the body 10.
  • the seat air conditioner 1 thereby, according to the seat air conditioner 1, at least a part of the air blown out as cold air can be used as the air to be heat exchanged in the evaporator 6. In other words, according to the seat air conditioner 1, the temperature of the air to be heat exchanged in the evaporator 6 can be lowered, and the air conditioning performance during cold air blowing can be improved.
  • the seat air conditioner 1 includes the refrigeration cycle 2 and the blower in the housing 10 disposed in the space between the seat surface portion 51 of the seat 50 and the passenger compartment floor surface F. 7 is housed.
  • the seat air conditioner 1 increases the comfort of the passenger sitting on the seat 50 by adjusting the temperature of the air blown by the blower 7 in the refrigeration cycle 2 and blowing the air.
  • the air blown as the conditioned air by the refrigeration cycle 2 uses air sucked through the central ventilation opening 11 formed on the upper surface of the housing 10. Generated. Since the central ventilation opening 11 is formed on the upper surface of the housing 10, the central ventilation opening 11 is configured to suck air above the upper surface of the housing 10.
  • the refrigeration cycle 2 uses air above the upper surface of the housing 10 instead of air in the vicinity of the passenger compartment floor F that is easily affected by solar radiation or the like. Therefore, the air conditioning performance of the seat air conditioner 1 can be improved.
  • the seat air conditioner 1 since air is sucked through the central ventilation opening 11 formed on the upper surface of the housing 10, compared with the case of sucking air near the passenger compartment floor F, Dust and dust suction can be suppressed. Thereby, the seat air-conditioning apparatus 1 can suppress the deterioration of the air-conditioning performance of the refrigeration cycle caused by dust and the like, and can prevent a failure of the seat air-conditioning apparatus 1 caused by dust and the like.
  • the center connection member 16 is attached with respect to the center ventilation opening 11, and the said center connection member 16 is arrange
  • the first seat frame 54 is disposed below the air-permeable cushion portion inside the seat surface portion 51 and has a plurality of air holes 56.
  • the seat surface portion 51 is interposed via the central connection member 16, the first seat frame 54, and the cushion portion of the seat surface portion 51.
  • the air above can be inhaled.
  • the air above the seat surface portion 51 is located further above the upper surface of the casing 10 with respect to the passenger compartment floor surface F, and is less affected by solar radiation and the like, so it is cooler and has less dust and dirt.
  • the air-conditioning performance can be further improved by sucking air from the central ventilation opening 11 through the seat surface portion 51 and the like, and the occurrence of a failure due to dust or dust. And deterioration of air conditioning performance can be prevented.
  • the 1st ventilation opening 12 and the 2nd ventilation opening 13 are formed in the upper surface of the housing
  • FIG. 6 and FIG. 7 the main vent 22 of the main duct 21 and the leg vent 24 of the leg duct 23 are respectively arranged on the side surfaces of the seat 50, and an occupant sits on the seat 50. It is comprised so that an air-conditioning wind may be blown off with respect to a part.
  • the conditioned air adjusted by the refrigeration cycle 2 can be efficiently supplied to the occupant sitting on the seat 50, and a comfortable environment can be efficiently realized. it can.
  • the conditioned air flows from the main vent 22 of the main duct 21 and the leg vent 24 of the leg duct 23 to the front portion of the seat 50. Is blown out.
  • the air in the front portion of the seat 50 is sucked into the housing 10 from the central ventilation opening 11 via the cushion portion of the seat surface portion 51, the first seat frame 54, and the like.
  • the seat air conditioner 1 can create an air flow A that passes through the seat air conditioner 1 and the front portion of the seat 50, and can circulate the air flow A. Thereby, the seat air conditioner 1 can improve the air conditioning performance of the seat air conditioner 1 when cold air is supplied.
  • the first ventilation opening 12 and the second ventilation opening 13 are connected to the second seat frame 57 via the first connection member 17 and the second connection member 18.
  • the second seat frame 57 has a plurality of air-conditioning air outlets 59 and is disposed behind the cushion portion having air permeability inside the backrest portion 52.
  • the seat air conditioner 1 can supply the conditioned air adjusted by the refrigeration cycle 2 through the cushion portion of the backrest 52, and provide a comfortable environment for the passenger sitting on the seat 50. it can.
  • the conditioned air is blown out from the plurality of conditioned air outlets 59 in the second seat frame 57 to the front portion of the seat 50 through the cushion portion of the backrest portion 52.
  • the air in the front portion of the seat 50 is sucked into the housing 10 from the central ventilation opening 11 via the cushion portion of the seat surface portion 51, the first seat frame 54, and the like.
  • the seat air conditioner 1 can create an air flow A that passes through the seat air conditioner 1 and the front portion of the seat 50, including the conditioned air blown from the cushion portion of the backrest 52.
  • the air flow A can be circulated.
  • the seat air conditioner 1 can improve the air conditioning performance of the seat air conditioner 1 when cold air is supplied.
  • the seat air conditioner 1 according to the second embodiment is applied to the air conditioning of an electric vehicle that runs on battery power, as in the first embodiment.
  • symbol as 1st Embodiment shows the same structure, Comprising: The previous description is referred.
  • the seat air conditioner 1 in the second embodiment is a small space between the seat surface portion 51 of the seat 50 of the electric vehicle and the passenger compartment floor surface F, as in the first embodiment. And the air flow A through the seat 50 is created to enhance the comfort of the passenger sitting on the seat 50.
  • the seat air conditioner 1 includes a vapor compression refrigeration cycle 2 and a blower 7 using a centrifugal multiblade fan in a box-like shape as in the first embodiment. Is housed in.
  • the refrigeration cycle 2 is configured by connecting a compressor 3, a condenser 4, an expansion valve 5, and an evaporator 6 with a refrigerant pipe.
  • the arrangement inside the casing 10 in the seat air-conditioning apparatus 1 according to the second embodiment is the same as that in the first embodiment, and the component device of the refrigeration cycle 2 and the blower 7 are accommodated in the arrangement shown in FIGS. 3 and 4. ing.
  • the central ventilation opening 11, the first ventilation opening 12, and the second ventilation opening 13 are formed on the upper surface of the housing 10 according to the second embodiment, as in the first embodiment. Similar to the first embodiment, a first connection member 17 and a second connection member 18 are attached to the first ventilation opening 12 and the second ventilation opening 13. The first connecting member 17 and the second connecting member 18 are connected to the main duct 21, the leg duct 23, and the second seat frame 57 through an air conditioning wind supply mechanism unit (not shown).
  • the central connection member 16 in the first embodiment is not connected to the central ventilation opening 11. Therefore, the central ventilation opening 11 communicates with the space between the lower surface of the seat surface portion 51 of the seat 50 and the upper surface of the housing 10. Therefore, in the second embodiment, the air between the upper surface of the housing 10 and the seating surface portion 51 is sucked into the housing 10 along with the operation of the blower 7.
  • the air flow A by the seat air conditioner 1 according to the second embodiment will be described in detail with reference to FIGS. 8 and 9.
  • the air flow A indicated by the arrow indicates a typical air flow in the second embodiment, and is not limited to this flow.
  • the seat air-conditioning apparatus 1 when the blower 7 is operated to rotate the centrifugal multiblade fan, air is sucked along the rotation axis of the centrifugal multiblade fan. Therefore, in the seat air conditioner 1, the air between the upper surface of the housing 10 and the seat surface portion 51 is sucked into the housing 10 through the central ventilation opening 11 formed on the upper surface of the housing 10.
  • the air sucked into the housing 10 is blown in the centrifugal direction of the blower 7 and is heat-exchanged with the refrigerant in the condenser 4 and the evaporator 6. Thereby, the air blown from the blower 7 is heated or cooled by the condenser 4 or the evaporator 6 and blown out from the first ventilation opening 12 and the second ventilation opening 13 as conditioned air.
  • the conditioned air supply mechanism unit (not shown) Through the main duct 21 and the leg duct 23. At this time, part of the conditioned air is supplied into the second seat frame 57 via the conditioned air supply mechanism.
  • the conditioned air that has flowed through the main duct 21 is blown forward and upward from the main ventilation openings 22 located on the left and right sides of the backrest 52.
  • each main vent 22 is bent inward in the width direction of the seat 50 on both the left and right sides of the backrest portion 52. Accordingly, also in the second embodiment, the conditioned air is blown toward the trunk portion of the occupant sitting on the seat 50.
  • the conditioned air flowing through the leg duct 23 is blown forward and obliquely upward from the leg vent holes 24 located on the left and right sides of the seat surface 51.
  • the leg ventilation holes 24 are bent inward in the width direction of the seat 50 on both the left and right sides of the seat surface portion 51. Accordingly, the conditioned air is blown out toward the legs of the passenger sitting on the seat 50.
  • the conditioned air flowing through the second seat frame 57 is blown out from the conditioned air supply ports 58 of the second seat frame 57 toward the front of the seat 50 through the cushion portion of the backrest portion 52.
  • conditioned air can be supplied to the space on the front side of the seat 50. That is, according to the said seat air conditioner 1, the comfort of the passenger
  • the conditioned air blown into the space on the front side of the seat 50 is not only directly supplied to the passenger sitting on the seat 50, but also functions as air conditioning around the seat 50. That is, the seat air-conditioning apparatus 1 according to the second embodiment has a lower ratio than the first embodiment, but the conditioned air adjusted in temperature by the refrigeration cycle 2 is sent between the upper surface of the housing 10 and the seat surface portion 51. The air can be sucked into the housing 10 again from the central ventilation opening 11 through the space.
  • the seat air conditioner 1 can use a part of the air blown out as cold air as the air to be heat exchanged in the evaporator 6.
  • the temperature of the air to be heat exchanged in the evaporator 6 can be lowered, and the air conditioning performance during cold air blowing can be improved.
  • the seat air conditioner 1 includes the refrigeration cycle 2 and the blower in the housing 10 disposed in the space between the seat surface portion 51 of the seat 50 and the passenger compartment floor surface F. 7 is housed.
  • the seat air conditioner 1 increases the comfort of the passenger sitting on the seat 50 by adjusting the temperature of the air blown by the blower 7 in the refrigeration cycle 2 and blowing the air.
  • the air blown as the conditioned air by the refrigeration cycle 2 passes through the central ventilation opening 11 formed on the upper surface of the housing 10 as in the first embodiment. It is generated using air sucked in through. Since the central ventilation opening 11 is formed on the upper surface of the housing 10, the central ventilation opening 11 is configured to suck air above the upper surface of the housing 10.
  • the refrigeration cycle 2 uses air above the upper surface of the housing 10 instead of air in the vicinity of the passenger compartment floor F that is easily affected by solar radiation. Air conditioning can be performed. Thereby, the sheet
  • the seat air-conditioning apparatus 1 can suppress the deterioration of the air-conditioning performance of the refrigeration cycle caused by dust and the like, and can prevent a failure of the seat air-conditioning apparatus 1 caused by dust and the like.
  • the conditioned air adjusted by the refrigeration cycle 2 is supplied to the passenger sitting on the seat 50 via the main duct 21 and the leg duct 23. It can be supplied efficiently.
  • the said seat air conditioner 1 is sitting by the seat 50 via the cushion part of the 2nd seat frame 57 and the backrest part 52 adjusted by the refrigerating cycle 2 similarly to 1st Embodiment. It can be efficiently supplied to passengers. That is, the seat air conditioner 1 according to the second embodiment can efficiently realize an environment in which a passenger sitting on the seat 50 is comfortable, as in the first embodiment.
  • the conditioned air blown through the main duct 21, the leg duct 23, the second seat frame 57, and the like is not limited to the passenger sitting on the seat 50. It also functions as air conditioning around the seat 50.
  • the seat air conditioner 1 allows a part of the conditioned air adjusted by the refrigeration cycle 2 to pass from the central ventilation opening 11 via the space between the upper surface of the housing 10 and the seat surface portion 51.
  • the air can be sucked into the housing 10.
  • the said seat air conditioner 1 can improve the air-conditioning performance of the seat air conditioner 1 at the time of cold wind supply.
  • the central ventilation opening 11 formed on the upper surface of the casing 10 is an opening for sucking air into the casing 10, but the present invention is not limited to this mode. Absent.
  • an auxiliary ventilation opening may be formed on the side surface of the housing 10, and air outside the housing 10 may be sucked into the inside from the auxiliary ventilation opening. .
  • the auxiliary ventilation opening is formed in the upper portion of the side surface of the housing 10. This is to prevent air, dust, and the like in the vicinity of the passenger compartment floor F from being sucked into the housing 10 as much as possible.
  • the air blower 7 was made into the air blower using a centrifugal multiblade fan, the form of the air blower 7 is not limited to this.
  • the blower 7 an axial flow blower, a mixed flow blower, or a once-through blower can be employed.
  • the air flow A accompanying the operation of the blower 7 of the seat air conditioner 1 is also sucked from the central ventilation opening 11 and blown out of the housing 10 through the first ventilation opening 12 and the second ventilation opening 13. If it is realizable, it will not be limited only to this air flow A. That is, the air flow A in the above-described embodiment can be configured to realize an air flow in the opposite direction.
  • the main duct 21 and the leg duct 23 may be sucked through the first ventilation opening 12 and the second ventilation opening 13 and blown out from the central ventilation opening 11.
  • the air blower 7 is changed to an axial flow type air blower, and the rectifying member is disposed at the central portion of the bottom surface of the housing 10.
  • the rectifying member in this case has a function of converting the air flow from the axial flow fan between the rotation axis direction of the impeller and the horizontal direction.
  • the main vent 22 of the main duct 21 and the leg vent 24 of the leg duct 23 are located above the seat surface 51, the main vent 21 is warmed by solar radiation or the like without sucking dust or the like. The influence of the air near the passenger compartment floor surface F can be suppressed.
  • the arrangement of the main ventilation openings 22 in the main duct 21 and the arrangement of the leg ventilation openings 24 in the leg duct 23 in the above-described embodiment are merely examples, and are not limited thereto.
  • the main vent 22 of the main duct 21 and the leg vent 24 of the leg duct 23 may be located on the side surface of the seat 50, and the specific arrangement thereof can be changed as appropriate.
  • the configuration may be such that air above the seat surface portion 51 and in front of the backrest portion 52 is sucked into the housing 10 from the central ventilation opening 11 via the cushion portion of the backrest portion 52 and the second seat frame 57.
  • this aspect can be realized by connecting the central connecting member 16 and the second seat frame 57.
  • the seat air conditioner 1 can be slid in the longitudinal direction of the vehicle together with the seat 50 by fixing the seat air conditioner 1 to the lower surface of the seat surface portion 51 of the seat 50.
  • the present invention is not limited to this mode.
  • the casing 10 of the seat air conditioner 1 is fixed at a predetermined position on the floor F of the passenger compartment, and the central connection member 16, the first connection member 17, and the second connection member 18 that are formed in a telescopic cylinder shape.
  • the central ventilation opening 11, the first ventilation opening 12, the second ventilation opening 13 of the housing 10 and the seat 50 side may be connected.
  • the central connection member 16 and the like can be configured by a flexible duct formed in a bellows shape, for example.

Landscapes

  • Engineering & Computer Science (AREA)
  • Mechanical Engineering (AREA)
  • Aviation & Aerospace Engineering (AREA)
  • Transportation (AREA)
  • Physics & Mathematics (AREA)
  • Thermal Sciences (AREA)
  • Air-Conditioning For Vehicles (AREA)
  • Chair Legs, Seat Parts, And Backrests (AREA)
PCT/JP2017/044462 2017-01-24 2017-12-12 シート空調装置 Ceased WO2018139080A1 (ja)

Priority Applications (3)

Application Number Priority Date Filing Date Title
CN201780081600.7A CN110121440B (zh) 2017-01-24 2017-12-12 座椅空调装置
DE112017006907.6T DE112017006907T5 (de) 2017-01-24 2017-12-12 Sitzklimaanlage
US16/439,890 US11091075B2 (en) 2017-01-24 2019-06-13 Seat air conditioner

Applications Claiming Priority (2)

Application Number Priority Date Filing Date Title
JP2017010520A JP6658570B2 (ja) 2017-01-24 2017-01-24 シート空調装置
JP2017-010520 2017-01-24

Related Child Applications (1)

Application Number Title Priority Date Filing Date
US16/439,890 Continuation US11091075B2 (en) 2017-01-24 2019-06-13 Seat air conditioner

Publications (1)

Publication Number Publication Date
WO2018139080A1 true WO2018139080A1 (ja) 2018-08-02

Family

ID=62978959

Family Applications (1)

Application Number Title Priority Date Filing Date
PCT/JP2017/044462 Ceased WO2018139080A1 (ja) 2017-01-24 2017-12-12 シート空調装置

Country Status (5)

Country Link
US (1) US11091075B2 (enExample)
JP (1) JP6658570B2 (enExample)
CN (1) CN110121440B (enExample)
DE (1) DE112017006907T5 (enExample)
WO (1) WO2018139080A1 (enExample)

Families Citing this family (5)

* Cited by examiner, † Cited by third party
Publication number Priority date Publication date Assignee Title
JP6772879B2 (ja) * 2017-02-14 2020-10-21 株式会社デンソー シート空調装置
JP6658679B2 (ja) * 2017-06-20 2020-03-04 株式会社デンソー シート空調装置
JP6766762B2 (ja) * 2017-06-22 2020-10-14 株式会社デンソー シート空調システム
US10773615B2 (en) * 2018-05-03 2020-09-15 Ford Global Technologies, Llc Vehicle seating assembly with ventilated cooling
JP7059783B2 (ja) * 2018-05-07 2022-04-26 株式会社デンソー 車室用空調システム

Citations (6)

* Cited by examiner, † Cited by third party
Publication number Priority date Publication date Assignee Title
JPS5344841U (enExample) * 1976-09-21 1978-04-17
JPH05286346A (ja) * 1991-11-14 1993-11-02 Nippondenso Co Ltd 座席用空調装置
JP2000504236A (ja) * 1995-09-14 2000-04-11 ワリノブ アクチボラゲット 車両の椅子に通気する装置
JP2005348997A (ja) * 2004-06-11 2005-12-22 Matsushita Electric Ind Co Ltd 車両用シート装置
JP2008529894A (ja) * 2005-02-17 2008-08-07 べー.エー.テー. オートモーティブ システムズ アーゲー 乗物シート用の能動換気システム
JP2016145015A (ja) * 2015-02-09 2016-08-12 株式会社デンソー シート空調装置

Family Cites Families (11)

* Cited by examiner, † Cited by third party
Publication number Priority date Publication date Assignee Title
CN2076939U (zh) * 1990-08-03 1991-05-15 郭长青 汽车调温椅垫
US5275017A (en) * 1992-07-22 1994-01-04 Clardy Manufacturing, Inc. Condenser apparatus
US5626387A (en) * 1995-02-27 1997-05-06 Yeh; Ching-Hsiu Cushion with cooling stubs
JP3633777B2 (ja) * 1997-06-03 2005-03-30 株式会社デンソー 車両用シート空調装置
US6105667A (en) * 1998-03-12 2000-08-22 Denso Corporation Air conditioning apparatus for vehicle seat
CN1285288A (zh) * 1999-08-23 2001-02-28 圣州企业股份有限公司 汽车内的冷热风供应装置
KR100868961B1 (ko) * 2007-11-02 2008-11-17 한국델파이주식회사 차량용 실내냉방장치
JP2011121461A (ja) * 2009-12-10 2011-06-23 Sanden Corp 車両用空調装置
US20120013153A1 (en) * 2010-07-16 2012-01-19 Southern Taiwan University Of Technology Air-conditioned chair
US9975394B2 (en) * 2011-12-23 2018-05-22 Faurecia Automotive Seating, Llc Airflow management system for vehicle seat
JP2017010520A (ja) 2015-06-25 2017-01-12 パナソニックIpマネジメント株式会社 エージェント制御方法、エージェント制御装置、及びマルチエージェントシステム

Patent Citations (6)

* Cited by examiner, † Cited by third party
Publication number Priority date Publication date Assignee Title
JPS5344841U (enExample) * 1976-09-21 1978-04-17
JPH05286346A (ja) * 1991-11-14 1993-11-02 Nippondenso Co Ltd 座席用空調装置
JP2000504236A (ja) * 1995-09-14 2000-04-11 ワリノブ アクチボラゲット 車両の椅子に通気する装置
JP2005348997A (ja) * 2004-06-11 2005-12-22 Matsushita Electric Ind Co Ltd 車両用シート装置
JP2008529894A (ja) * 2005-02-17 2008-08-07 べー.エー.テー. オートモーティブ システムズ アーゲー 乗物シート用の能動換気システム
JP2016145015A (ja) * 2015-02-09 2016-08-12 株式会社デンソー シート空調装置

Also Published As

Publication number Publication date
JP6658570B2 (ja) 2020-03-04
US20190291614A1 (en) 2019-09-26
CN110121440B (zh) 2022-03-15
US11091075B2 (en) 2021-08-17
JP2018118588A (ja) 2018-08-02
CN110121440A (zh) 2019-08-13
DE112017006907T5 (de) 2019-10-02

Similar Documents

Publication Publication Date Title
US11325441B2 (en) Seat air conditioner
JP2019006373A (ja) シート空調装置
WO2018139080A1 (ja) シート空調装置
JP7017120B2 (ja) 車室用空調システム
CN104884282B (zh) 车辆用送风装置
JP6699632B2 (ja) 車両用空調装置
WO2019216116A1 (ja) 車室用空調システム
JP2016137846A (ja) シート及びシート送風装置
CN111247012A (zh) 车辆用空调装置
CN110799364A (zh) 座椅空调系统
JP2010100139A (ja) 車両用空調装置
WO2018150783A1 (ja) 車両用空調装置
WO2024247616A1 (ja) 車両用空調装置
KR20180086014A (ko) 차량 시트 공조장치
KR20200119522A (ko) 암레스트 콘솔 및 이를 포함하는 차량
JP2018177190A (ja) 車両用空調装置
WO2018235551A1 (ja) シート空調装置
JP7147228B2 (ja) 空調装置
WO2020066383A1 (ja) 車両用空調装置
WO2018186125A1 (ja) 車両用空調装置
JP2018177191A (ja) 車両用空調装置
JP2019142412A (ja) 車両用空調装置
WO2020066382A1 (ja) 車両用空調装置
JP2020037308A (ja) 車両用空調システム

Legal Events

Date Code Title Description
121 Ep: the epo has been informed by wipo that ep was designated in this application

Ref document number: 17894647

Country of ref document: EP

Kind code of ref document: A1

122 Ep: pct application non-entry in european phase

Ref document number: 17894647

Country of ref document: EP

Kind code of ref document: A1