WO2018062163A1 - 端子台 - Google Patents

端子台 Download PDF

Info

Publication number
WO2018062163A1
WO2018062163A1 PCT/JP2017/034709 JP2017034709W WO2018062163A1 WO 2018062163 A1 WO2018062163 A1 WO 2018062163A1 JP 2017034709 W JP2017034709 W JP 2017034709W WO 2018062163 A1 WO2018062163 A1 WO 2018062163A1
Authority
WO
WIPO (PCT)
Prior art keywords
wiring member
leaf spring
terminal
housing
side wall
Prior art date
Legal status (The legal status is an assumption and is not a legal conclusion. Google has not performed a legal analysis and makes no representation as to the accuracy of the status listed.)
Ceased
Application number
PCT/JP2017/034709
Other languages
English (en)
French (fr)
Japanese (ja)
Inventor
圭介 大▲高▼
貞仁 大津
直紀 上野
修 吉武
孝仁 水江
Current Assignee (The listed assignees may be inaccurate. Google has not performed a legal analysis and makes no representation or warranty as to the accuracy of the list.)
Omron Corp
Otax Co Ltd
Original Assignee
Omron Corp
Otax Co Ltd
Omron Tateisi Electronics Co
Priority date (The priority date is an assumption and is not a legal conclusion. Google has not performed a legal analysis and makes no representation as to the accuracy of the date listed.)
Filing date
Publication date
Application filed by Omron Corp, Otax Co Ltd, Omron Tateisi Electronics Co filed Critical Omron Corp
Priority to US16/329,245 priority Critical patent/US10665968B2/en
Priority to CN201780053160.4A priority patent/CN109804507B/zh
Priority to EP17856113.0A priority patent/EP3522304B1/en
Publication of WO2018062163A1 publication Critical patent/WO2018062163A1/ja
Anticipated expiration legal-status Critical
Ceased legal-status Critical Current

Links

Images

Classifications

    • HELECTRICITY
    • H01ELECTRIC ELEMENTS
    • H01RELECTRICALLY-CONDUCTIVE CONNECTIONS; STRUCTURAL ASSOCIATIONS OF A PLURALITY OF MUTUALLY-INSULATED ELECTRICAL CONNECTING ELEMENTS; COUPLING DEVICES; CURRENT COLLECTORS
    • H01R9/00Structural associations of a plurality of mutually-insulated electrical connecting elements, e.g. terminal strips or terminal blocks; Terminals or binding posts mounted upon a base or in a case; Bases therefor
    • H01R9/22Bases, e.g. strip, block, panel
    • H01R9/24Terminal blocks
    • H01R9/2408Modular blocks
    • HELECTRICITY
    • H01ELECTRIC ELEMENTS
    • H01RELECTRICALLY-CONDUCTIVE CONNECTIONS; STRUCTURAL ASSOCIATIONS OF A PLURALITY OF MUTUALLY-INSULATED ELECTRICAL CONNECTING ELEMENTS; COUPLING DEVICES; CURRENT COLLECTORS
    • H01R9/00Structural associations of a plurality of mutually-insulated electrical connecting elements, e.g. terminal strips or terminal blocks; Terminals or binding posts mounted upon a base or in a case; Bases therefor
    • H01R9/22Bases, e.g. strip, block, panel
    • H01R9/24Terminal blocks
    • HELECTRICITY
    • H01ELECTRIC ELEMENTS
    • H01RELECTRICALLY-CONDUCTIVE CONNECTIONS; STRUCTURAL ASSOCIATIONS OF A PLURALITY OF MUTUALLY-INSULATED ELECTRICAL CONNECTING ELEMENTS; COUPLING DEVICES; CURRENT COLLECTORS
    • H01R4/00Electrically-conductive connections between two or more conductive members in direct contact, i.e. touching one another; Means for effecting or maintaining such contact; Electrically-conductive connections having two or more spaced connecting locations for conductors and using contact members penetrating insulation
    • H01R4/28Clamped connections, spring connections
    • H01R4/48Clamped connections, spring connections utilising a spring, clip, or other resilient member
    • HELECTRICITY
    • H01ELECTRIC ELEMENTS
    • H01RELECTRICALLY-CONDUCTIVE CONNECTIONS; STRUCTURAL ASSOCIATIONS OF A PLURALITY OF MUTUALLY-INSULATED ELECTRICAL CONNECTING ELEMENTS; COUPLING DEVICES; CURRENT COLLECTORS
    • H01R4/00Electrically-conductive connections between two or more conductive members in direct contact, i.e. touching one another; Means for effecting or maintaining such contact; Electrically-conductive connections having two or more spaced connecting locations for conductors and using contact members penetrating insulation
    • H01R4/28Clamped connections, spring connections
    • H01R4/48Clamped connections, spring connections utilising a spring, clip, or other resilient member
    • H01R4/4809Clamped connections, spring connections utilising a spring, clip, or other resilient member using a leaf spring to bias the conductor toward the busbar
    • H01R4/48185Clamped connections, spring connections utilising a spring, clip, or other resilient member using a leaf spring to bias the conductor toward the busbar adapted for axial insertion of a wire end
    • H01R4/4819Clamped connections, spring connections utilising a spring, clip, or other resilient member using a leaf spring to bias the conductor toward the busbar adapted for axial insertion of a wire end the spring shape allowing insertion of the conductor end when the spring is unbiased
    • H01R4/4821Single-blade spring
    • HELECTRICITY
    • H01ELECTRIC ELEMENTS
    • H01RELECTRICALLY-CONDUCTIVE CONNECTIONS; STRUCTURAL ASSOCIATIONS OF A PLURALITY OF MUTUALLY-INSULATED ELECTRICAL CONNECTING ELEMENTS; COUPLING DEVICES; CURRENT COLLECTORS
    • H01R4/00Electrically-conductive connections between two or more conductive members in direct contact, i.e. touching one another; Means for effecting or maintaining such contact; Electrically-conductive connections having two or more spaced connecting locations for conductors and using contact members penetrating insulation
    • H01R4/28Clamped connections, spring connections
    • H01R4/48Clamped connections, spring connections utilising a spring, clip, or other resilient member
    • H01R4/4809Clamped connections, spring connections utilising a spring, clip, or other resilient member using a leaf spring to bias the conductor toward the busbar
    • H01R4/484Spring housing details
    • H01R4/4842Spring housing details the spring housing being provided with a single opening for insertion of a spring-activating tool
    • HELECTRICITY
    • H01ELECTRIC ELEMENTS
    • H01RELECTRICALLY-CONDUCTIVE CONNECTIONS; STRUCTURAL ASSOCIATIONS OF A PLURALITY OF MUTUALLY-INSULATED ELECTRICAL CONNECTING ELEMENTS; COUPLING DEVICES; CURRENT COLLECTORS
    • H01R4/00Electrically-conductive connections between two or more conductive members in direct contact, i.e. touching one another; Means for effecting or maintaining such contact; Electrically-conductive connections having two or more spaced connecting locations for conductors and using contact members penetrating insulation
    • H01R4/28Clamped connections, spring connections
    • H01R4/48Clamped connections, spring connections utilising a spring, clip, or other resilient member
    • H01R4/4809Clamped connections, spring connections utilising a spring, clip, or other resilient member using a leaf spring to bias the conductor toward the busbar
    • H01R4/4846Busbar details

Definitions

  • This invention relates to the terminal block which can fix a wiring member to a terminal part using a leaf
  • Patent Document 1 As disclosed in Japanese Patent Laid-Open No. 2000-048875 (Patent Document 1), in the terminal block, a wiring member such as a single wire or a bar terminal is fixed to the terminal portion.
  • a structure for fixing the wiring member to the terminal portion a structure in which the wiring member is detachably fixed to the terminal portion using a leaf spring is known.
  • Such terminal blocks are used in various electronic devices such as circuit breakers and PLCs (Programmable Logic Controllers).
  • the leaf spring and the terminal portion are arranged to face each other inside the housing.
  • a wiring member is inserted between the leaf spring and the terminal portion, and the wiring member is fixed by being sandwiched between the leaf spring and the terminal portion.
  • the wiring member is hardly fixed in a direction intersecting with the direction in which the leaf spring and the terminal portion sandwich the wiring member (for example, a direction orthogonal). Therefore, for example, when a force that twists the wiring member is repeatedly applied to the wiring member, the wiring member repeatedly moves back and forth in the intersecting direction, and as a result, the wiring member is connected to the leaf spring. There was a possibility of slipping out of the position between the terminals.
  • the present invention is a structure that can reduce the possibility that the wiring member that is sandwiched between the leaf spring portion and the terminal portion will come out of the position between the leaf spring portion and the terminal portion as compared with the conventional case. It aims at providing the terminal block provided with.
  • the terminal block based on this invention has a front part, the accommodating part located in an inner side seeing from the said front part, and the through-hole formed so that it might reach
  • a side wall portion is formed, and a portion of the wiring member that is inserted into the housing portion is disposed between the first side wall portion and the second side wall portion.
  • the leaf spring portion includes a root portion that constitutes a fixed end of deflection deformation when the leaf spring portion is pressed by the wiring member inserted into the housing portion through the through hole. , And a distal end portion that constitutes a free end of bending deformation, and in a state where the wiring member is not inserted into the through hole, the first side wall portion and the second side wall portion are It is located on the opposite side of the through hole with respect to the tip.
  • a direction in which the leaf spring portion is bent and deformed when the wiring member is inserted into the housing portion is a downward direction, and a direction in which a restoring force of elastic deformation of the leaf spring portion acts is an upward direction.
  • the direction is set, an inner wall portion intersecting the axial direction of the through hole is formed in the housing portion, and the upper side is released and the lower side is closed on the inner wall portion.
  • a concave groove having a U-shape is formed, and the first side wall part and the second side wall part are formed in the concave groove.
  • FIG. 2 is a perspective view showing a control device 100.
  • FIG. It is a perspective view showing terminal block 20A. It is the 1st perspective view (perspective sectional view) showing the state where terminal block 20A was disassembled. It is a 2nd perspective view (perspective sectional view) which shows the state where terminal block 20A was disassembled. It is a perspective sectional view showing terminal block 20A. It is sectional drawing which shows 20 A of terminal blocks. It is sectional drawing for demonstrating the operation
  • FIG. 1 is a perspective view showing the control device 100.
  • the control device 100 includes a display panel 10P and terminal blocks 20A and 20B on the front side of the main unit 10, and can function as a PLC (Programmable Logic Controller).
  • PLC Protein Logic Controller
  • the terminal block 20A is a means for ensuring electrical connection between the control device 100 and an external device such as a sensor, for example, and the terminal block 20A is used for transmitting an input signal to the control device 100.
  • a plurality of wiring members (not shown) are connected.
  • the terminal block 20B is a means for ensuring an electrical connection between the control device 100 and an external device such as a personal computer.
  • the terminal block 20B has a plurality of wiring members for transmitting output signals (see FIG. Not shown) is connected.
  • Terminal block 20A Since terminal blocks 20A and 20B have substantially the same configuration, only terminal block 20A will be described below, and description of terminal block 20B will not be repeated. Specifically, the configuration of terminal block 20A in the embodiment will be described with reference to FIGS. The operation and effect of the terminal block 20A will be described later with reference to FIGS.
  • FIG. 2 is a perspective view showing the terminal block 20A.
  • 3 and 4 are perspective views (perspective cross-sectional views) showing an exploded state of the terminal block 20A.
  • 5 and 6 are a perspective sectional view and a sectional view showing the terminal block 20A, respectively.
  • the terminal block 20A includes a housing 30 (FIGS. 2 to 4), a terminal tool 70 (FIGS. 3 to 5), an electrode member 80 (FIGS. 3 to 5), and a leaf spring 90 (FIGS. 3 to 5). As a whole, it has a substantially rectangular parallelepiped shape (see FIG. 2).
  • the housing 30 (FIGS. 3 to 5) is configured by combining the front panel 40, the inner panel 50, and the rear panel 60.
  • the front panel 40 includes a front part 40A, a side part 40B (FIGS. 2 and 3), a top part 40C, a bottom part 40D, and an intermediate part 40E (FIGS. 4 and 5). ing.
  • the front part 40A has a plate-like shape and constitutes a front face 40S of the front panel 40.
  • the front part 40A is provided with a plurality of through holes 41, a plurality of through holes 42, and a pair of openings 40H (FIGS. 1 and 2) so as to penetrate the front part 40A. Screws (not shown) for fixing the entire terminal block 20A (FIG. 2) to the main unit 10 of the control device 100 (FIG. 1) are inserted through the openings 40H and 40H.
  • the plurality of through holes 41 are formed in two rows along a direction parallel to the longitudinal direction of the terminal block 20A.
  • the plurality of through holes 42 are arranged in two rows along a direction parallel to the longitudinal direction of the terminal block 20A so that one through hole 41 and one through hole 42 have a one-to-one correspondence. Formed.
  • One through hole 42 is located immediately below one through hole 41.
  • the plurality of through holes 41 are all formed in a circular shape, and the plurality of through holes 42 are all formed in a rectangular shape.
  • the upper surface portion 40C, the bottom surface portion 40D, and the intermediate portion 40E of the front panel 40 all have a plate shape (see FIG. 5), and the upper surface portion 40C, the bottom surface portion 40D, and the intermediate portion 40E are arranged in parallel to each other.
  • the 40 C of upper surface parts are provided so that it may extend toward the back side from the upper end of 40 A of front parts, and 40 D of bottom face parts are provided so that it may extend toward the back side from the lower end of 40 A of front parts.
  • the intermediate portion 40E is provided so as to extend from the middle position of the front portion 40A toward the back side.
  • a plurality of partition walls 45 are provided on the back side of the front portion 40A of the front panel 40.
  • the plurality of partition walls 45 are parallel to the side surface portion 40 ⁇ / b> B (FIG. 3) of the front panel 40.
  • the plurality of partition walls 45 are arranged so as to be orthogonal to the upper surface portion 40C, the bottom surface portion 40D, and the intermediate portion 40E.
  • the plurality of partition walls 45 are arranged at substantially equal intervals in the longitudinal direction of the terminal block 20A, partition the space formed between the upper surface portion 40C and the intermediate portion 40E into the plurality of accommodating portions 43, and the middle A space formed between the portion 40E and the bottom surface portion 40D is partitioned into a plurality of accommodating portions 43.
  • One accommodating portion 43 is partitioned and formed between a pair of adjacent partition walls 45, a front portion 40A, an upper surface portion 40C, an intermediate portion 40E, and an internal panel 50 (inner wall portion 52) (FIG. 5). Similarly, one other accommodating portion 43 is partitioned between a pair of adjacent partition walls 45, a front surface portion 40A, an intermediate portion 40E, a bottom surface portion 40D, and an internal panel 50 (inner wall portion 52). (FIG. 5).
  • the accommodating portions 43 that are partitioned and formed as described above are located on the inner side of the housing 30 when viewed from the front portion 40A (see FIG. 2), and one through hole 41 and one through hole 42 are provided.
  • the front panel 40 is formed so as to reach one housing portion 43 from the front surface 40A (front surface 40S) (see FIGS. 4 and 5).
  • a plurality of openings 46 are also provided in the upper surface portion 40C of the front panel 40.
  • FIG. The opening 46 engages with a convex portion 57 (FIGS. 3 to 5) provided on the upper surface 51U of the inner panel 50. By engaging the opening 46 with the convex portion 57, the front panel 40 and the inner panel 50 are fixed to each other.
  • the inner panel 50 is a member disposed between the front panel 40 and the rear panel 60, and includes a base 51, an inner wall 52 (see also FIG. 8), and a vertical wall. A portion 53, a longitudinal groove portion 54, ribs 55 and 56, and a convex portion 57 are provided.
  • the base portion 51 has a shape extending in a plate shape along the longitudinal direction of the inner panel 50, and openings 50 ⁇ / b> H (FIGS. 3 and 4) are provided near both ends in the longitudinal direction of the base portion 51. It has been. In a state where the front panel 40 and the inner panel 50 are fixed to each other, the openings 40H and 50H are arranged coaxially with each other, and the entire terminal block 20A (FIG. 2) is placed in the openings 40H and 50H. A screw (not shown) for fixing to the main unit 10 of FIG. 1 is inserted.
  • the inner wall portion 52 of the inner panel 50 is provided at a position that intersects (is orthogonal to here) the direction (axial direction) in which the axis 41 ⁇ / b> T of the through hole 41 extends. That is, the inner wall portion 52 defines a single accommodating portion 43 together with a pair of adjacent partition walls 45, the front portion 40A, the upper surface portion 40C, and the intermediate portion 40E. Similarly, the other inner wall portion 52 partitions and forms one other accommodating portion 43 together with a pair of adjacent partition walls 45, a front surface portion 40A, an intermediate portion 40E, and a bottom surface portion 40D.
  • the inner wall portion 52 is formed with a U-shaped concave groove 52U that is open on the upper side and closed on the lower side as a part of the components of the inner wall portion 52.
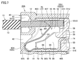
  • the downward direction referred to here corresponds to a direction in which a leaf spring portion 93 of a leaf spring 90 described later bends and deforms when the wiring member 11 (see FIG. 7) is inserted into the housing portion 43.
  • the upward direction corresponds to a direction in which a restoring force of elastic deformation of the leaf spring portion 93 of the leaf spring 90 acts.
  • the concave groove 52U having a U-shape includes a first side wall portion 52U1, a second side wall portion 52U2, and a curved surface portion that connects these lower ends.
  • the first side wall portion 52U1 and the second side wall portion 52U2 are formed in the recessed groove 52U.
  • the leaf spring portion 93 of the leaf spring 90 and the terminal portion 72 of the terminal tool 70 are arranged in the housing portion 43 and inserted into a position between the terminal portion 72 and the leaf spring portion 93.
  • the wiring member 11 (FIG. 7) is sandwiched.
  • the first side wall portion 52U1 and the second side wall portion 52U2 intersect with a direction (here, an arrow AR direction shown in FIG. 7) in which the terminal portion 72 and the leaf spring portion 93 sandwich the wiring member 11 (here. Then, they are opposed to each other in a direction perpendicular to the paper surface of FIG.
  • the first sidewall portion 52U1 and the second sidewall portion 52U2 are formed so as to be orthogonal to the top surface portion 40C, the bottom surface portion 40D, and the intermediate portion 40E.
  • a portion (electrode portion 12) inserted into the accommodating portion 43 of the wiring member 11 (FIG. 7) is disposed between the first sidewall portion 52U1 and the second sidewall portion 52U2.
  • the movement referred to here is a direction (here, on the paper surface of FIG. 7) in which the terminal portion 72 and the leaf spring portion 93 intersect the direction (here, the arrow AR direction shown in FIG. 7) between which the wiring member 11 is sandwiched. (Direction perpendicular to the movement).
  • the vertical wall portion 53 (FIGS. 3, 4, and 8) has a plate shape and is provided so as to extend from the base portion 51 toward the front side.
  • the vertical wall portion 53 is disposed so as to be orthogonal to the upper surface portion 40C, the bottom surface portion 40D, and the intermediate portion 40E of the front panel 40.
  • the vertical groove portion 54 is formed between the inner wall portion 52 and the vertical wall portion 53 and presents a concave space. In a state where the front panel 40 and the inner panel 50 are fixed to each other, the partition wall 45 (see FIG. 4) of the front panel 40 is disposed inside the vertical groove portion 54.
  • Each of the ribs 55 and 56 has a triangular prism shape and is provided so as to extend from the position of the inner wall portion 52 toward the front side.
  • the ribs 55 and 56 are spaced apart from each other in the longitudinal direction of the base portion 51.
  • the upper surfaces 55S and 56S of the ribs 55 and 56 have an inclined surface shape so that the upper portions of the upper surfaces 55S and 56S are located on the back side, and the lower portions of the upper surfaces 55S and 56S are located on the front side. It is inclined.
  • An opening 51 ⁇ / b> H is provided at a position between the ribs 55 and 56 of the base portion 51 so as to penetrate the base portion 51.
  • the L-shaped portion 74 of the terminal tool 70 is inserted into the opening 51H (see FIGS. 5 and 6).
  • a plurality of convex portions 57 are also provided on the upper surface 51U of the base portion 51.
  • FIG. The opening 46 provided in the upper surface portion 40C of the front panel 40 engages with the convex portion 57 provided in the base portion 51 (upper surface 51U) of the inner panel 50, whereby the front panel 40 and the inner panels 50 are connected to each other. Fixed to each other.
  • a recess 51E is provided on the front side of the base 51 (see also FIG. 4).
  • the recess 51E has a shape extending in a groove shape along the longitudinal direction of the base portion 51.
  • the recess 51E has a shape corresponding to the tip of the intermediate portion 40E of the front panel 40.
  • the intermediate portion 40E of the front panel 40 is a recess. It arrange
  • a plurality of plate-like portions 58 are provided on the back side of the base portion 51, and a recess 59 is formed between the adjacent plate-like portions 58 and 58.
  • the rear panel 60 is provided with a bulging portion 62 (FIGS. 3 and 4). When the inner panel 50 and the rear panel 60 are fixed to each other, the bulging portion 62 is disposed inside the recess 59. (See FIG. 5).
  • the back panel 60 is a member disposed on the back side of the internal panel 50 and includes a base portion 61, a bulging portion 62, and an opening 63.
  • the base portion 61 has a shape extending in a plate shape along the longitudinal direction of the back panel 60, and openings 60 ⁇ / b> H (FIGS. 3 and 4) are provided near both ends in the longitudinal direction of the base portion 61. It has been.
  • the openings 40H, 50H, 60H are arranged coaxially with each other, and the terminal blocks 20A (see FIG. A screw (not shown) for fixing 2) to the main unit 10 of the control device 100 (FIG. 1) is inserted.
  • the bulging portion 62 has a substantially rectangular parallelepiped shape, and is provided so as to extend from the base portion 61 toward the front side.
  • the bulging portion 62 has a hollow shape, and a portion on the tip side of the electrode member 80 described later is disposed inside the bulging portion 62 (see FIG. 5).
  • the opening 63 is provided so as to penetrate the front portion of the bulging portion 62. Although details will be described later, the L-shaped portion 74 of the terminal tool 70 is inserted into the opening 63 (see FIG. 5).
  • the terminal device 70 includes a standing wall portion 71, a terminal portion 72, a pedestal portion 73, and an L-shaped portion 74.
  • the terminal tool 70 is arrange
  • the standing wall portion 71, the terminal portion 72, and the pedestal portion 73 all have a substantially flat shape.
  • the terminal portion 72 extends from the upper end of the standing wall portion 71 in a direction substantially orthogonal to the standing wall portion 71, and the pedestal portion 73 extends from the lower end of the standing wall portion 71 in a direction substantially orthogonal to the standing wall portion 71.
  • the standing wall portion 71, the terminal portion 72, and the pedestal portion 73 have a substantially C shape as a whole, and the L-shaped portion 74 extends from the pedestal portion 73 toward the back side.
  • Convex portions 75 and 76 are provided on the surface of the pedestal portion 73. Although details will be described later, the base portion 91 of the leaf spring 90 is provided with openings 95 and 96 corresponding to the convex portions 75 and 76. When the base portion 91 of the leaf spring 90 is disposed on the pedestal portion 73 of the terminal tool 70, the convex portions 75 and 76 are disposed inside the openings 95 and 96, respectively (see FIG. 6). The positions of 90 terminals 70 are determined (defined).
  • the L-shaped portion 74 is connected to a portion on the back side of the pedestal portion 73, extends upward from a portion on the back side of the pedestal portion 73, and extends from the tip of the extending portion to the back side. It extends in a straight line toward the front and has a substantially L-shape as a whole.
  • the opening 51 ⁇ / b> H is provided at a position between the ribs 55 and 56 provided on the inner panel 50 so as to penetrate the base portion 51.
  • an opening 63 is provided in the bulging portion 62 of the back panel 60.
  • the L-shaped portion 74 of the terminal tool 70 is inserted into the openings 51H and 63 (see FIG. 5).
  • the electrode member 80 As shown in FIGS. 3 to 5, the electrode member 80 includes a flat plate portion 81, a U-shaped portion 82, and a pair of clamping pieces 83 and 84, and has a substantially rod-like shape as a whole.
  • the flat plate portion 81 has a shape extending linearly, and one end 81T (FIG. 5) of the flat plate portion 81 is electrically connected to a control board or the like disposed inside the main unit 10 of the control device 100 (FIG. 1).
  • the U-shaped portion 82 is provided at the other end 81 ⁇ / b> S of the flat plate portion 81.
  • the pair of sandwiching pieces 83 and 84 are provided on the opposite side of the flat plate portion 81 with respect to the U-shaped portion 82.
  • the rear panel 60 is provided with the bulging portion 62. Inside the bulging part 62, the U-shaped part 82 and the clamping pieces 83 and 84 of the electrode member 80 are disposed (see FIG. 5).
  • the L-shaped portion 74 of the terminal tool 70 is inserted into the openings 51H and 63, and the clamping pieces 83 and 84 of the electrode member 80 clamp the L-shaped portion 74 of the terminal tool 70, whereby the terminal tool. 70 and the electrode member 80 are electrically connected.
  • the pedestal portion 73 of the terminal tool 70 is disposed inside the gap S. Furthermore, the terminal part 72 of the terminal tool 70 will be arrange
  • the leaf spring 90 includes a base portion 91, a bending portion 92, and a leaf spring portion 93.
  • the leaf spring 90 is disposed in the accommodating portion 43 together with the terminal tool 70.
  • the base portion 91 and the leaf spring portion 93 have a substantially flat plate shape, and the curved portion 92 is provided between the base portion 91 and the leaf spring portion 93.
  • the base portion 91 of the leaf spring 90 is provided with openings 95 and 96 corresponding to the convex portions 75 and 76 of the terminal tool 70.
  • the convex portions 75 and 76 are disposed inside the openings 95 and 96, respectively (see FIG. 6).
  • the positions of 90 terminals 70 are determined (defined).
  • a housing portion 43 is defined between the front panel 40 and the inner panel 50 (between the upper surface portion 40C and the intermediate portion 40E).
  • a gap S is formed between the lower surface of the rib 56 (and the lower surface of the rib 55 (not shown)) and the upper surface of the intermediate portion 40E (see FIG. 5).
  • the base 91 of the leaf spring 90 is disposed inside the gap S together with the base 73 of the terminal tool 70.
  • the curved portion 92 has a substantially C-shape when viewed in cross section, and is connected to an end portion on the front side of the base portion 91.
  • the leaf spring portion 93 is connected to the upper end of the bending portion 92.
  • the leaf spring part 93 is inclined so that the upper part of the leaf spring part 93 is located on the back side and the lower part of the leaf spring part 93 is located on the front side.
  • One end of the leaf spring portion 93 is supported by the curved portion 92 and can be bent and deformed like a leaf spring.
  • the leaf spring portion 93 bends and deforms, for example, when the leaf spring portion 93 is pressed by the wiring member 11 (see the wiring member 11 in FIG. 7) inserted into the accommodating portion 43 through the through hole 41.
  • the leaf spring portion 93 bends and deforms when the leaf spring portion 93 is pressed by a tool (such as a flathead screwdriver) inserted into the housing portion 43 through the through hole 42.
  • the leaf spring portion 93 includes a root portion 93S (FIG. 6) that forms a fixed end of bending deformation and a tip portion 93T (FIG. 6) that forms a free end of bending deformation.
  • the leaf spring portion 93 is such that the tip portion 93T is located closer to the through hole 41 than the root portion 93S, and the root portion 93S is located closer to the through hole 42 than the tip portion 93T. Further, it is disposed in the accommodating portion 43.
  • the leaf spring portion 93 faces the upper surfaces 55S and 56S of the ribs 55 and 56 with a space therebetween (see FIG. 6).
  • the ribs 55, 56 (upper surfaces 55 ⁇ / b> S, 56 ⁇ / b> S) provided in the housing portion 43 can regulate the amount of deformation (maximum amount of deformation) of the leaf spring portion 93 of the leaf spring 90.
  • the distal end portion 93T of the leaf spring portion 93 is disposed so as to face the terminal portion 72 of the terminal tool 70, and a wiring member (see the wiring member 11 in FIG. 7) inserted into the accommodating portion 43 through the through hole 41. It can be sandwiched in cooperation with the terminal portion 72 (see FIG. 7).
  • the wiring member 11 (FIG. 7) is not inserted into the through hole 41 and the tool 14 (FIG. 8) is not inserted into the through hole 42, that is, the natural state of the leaf spring 90.
  • the distal end portion 93T of the leaf spring portion 93 is in contact with the terminal portion 72 of the terminal tool 70 (see FIG. 6).
  • the member constituting the terminal portion 72 (terminal tool 70) and the member constituting the leaf spring portion 93 (leaf spring 90) are composed of different members and assembled together. In this state, it is arranged in the accommodating portion 43.
  • the member constituting the terminal portion 72 and the member constituting the leaf spring portion 93 are not limited to such a configuration, and may be integrally configured from one member.
  • the wiring member 11 has an electrode part 12 and a covering part 13, and the electrode part 12 is fixed by being sandwiched between the leaf spring part 93 of the leaf spring 90 and the terminal part 72 of the terminal tool 70. .
  • the wiring member 11 is pressed against the terminal portion 72 of the terminal tool 70 by the elastic restoring force of the leaf spring 90 (leaf spring portion 93), whereby the wiring member 11 is electrically connected to the terminal tool 70.
  • the leaf spring portion 93 that presses the wiring member 11 against the terminal portion 72 is bent and deformed in a direction away from the wiring member 11 (terminal portion 72). It can be pulled out. Not only when the wiring member 11 is pulled out, but also when the wiring member 11 that is not highly rigid is inserted toward the terminal portion 72, the leaf spring portion 93 is bent and deformed in the direction away from the terminal portion 72, thereby the leaf spring portion.
  • the wiring member 11 can be easily arranged at a position between the terminal portion 93 and the terminal portion 72.
  • the leaf spring part 93 can be easily bent and deformed in a direction away from the terminal part 72 by inserting a tool (for example, a flathead screwdriver) into the accommodating part 43 through the through hole 42.
  • the part (electrode part 12) inserted in the accommodating part 43 of the wiring member 11 (FIG. 7) is disposed between the first side wall part 52U1 and the second side wall part 52U2, so that the wiring member 11
  • the movement of the part (electrode part 12) inserted in the accommodating part 43 is controlled.
  • the movement referred to here is a direction (here, on the paper surface of FIG. 7) in which the terminal portion 72 and the leaf spring portion 93 intersect the direction (here, the arrow AR direction shown in FIG. 7) between which the wiring member 11 is sandwiched. (Direction perpendicular to the movement).
  • the wiring member 11 when the wiring member 11 is inserted between the leaf spring portion 93 and the terminal portion 72, the wiring member 11 exerts a clamping force from the leaf spring portion 93 and the terminal portion 72.
  • the movement in the direction intersecting the direction in which the leaf spring portion 93 and the terminal portion 72 sandwich the wiring member 11 (the direction orthogonal here) is received by the first side wall portion 52U1 and the second side wall portion. It is regulated by the presence of 52U2.
  • the wiring member 11 Even when a force that twists the wiring member 11 (see arrow DR in FIG. 8) is repeatedly applied to the wiring member 11, the wiring member 11 includes the leaf spring portion 93 and the terminal portion 72 that cause the wiring member 11 to move. The wiring member 11 hardly moves in the sandwiched direction, and the wiring member 11 intersects the direction in which the leaf spring portion 93 and the terminal portion 72 sandwich the wiring member 11 (in this case, the orthogonal direction). There is little to move to.
  • the terminal block 20 ⁇ / b> A having such a configuration can exhibit high reliability as a means for connecting the control device 100 (FIG. 1) and another device via the wiring member 11.
  • FIG. 9 is a perspective view showing an internal panel 50 applied to the terminal block in the first modification of the embodiment.
  • the inner wall portion 52 that intersects the direction (axial direction) in which the axis 41T of the through hole 41 extends is formed in the accommodating portion 43, and the inner wall portion 52 has the upper side on the upper side.
  • a recessed groove 52U having a U-shape that is released and closed on the lower side is formed, and the first sidewall portion 52U1 and the second sidewall portion 52U2 are formed in the recessed groove 52U having a U-shape.
  • the first side wall portion 52U1 and the second side wall portion 52U2 may be formed in a concave groove 52U having a circular shape when viewed from the front. Also with this configuration, it is possible to obtain substantially the same operations and effects as in the above-described embodiment.
  • the concave groove 52U has a U shape.
  • the portion above the portion where the distal end portion of the wiring member 11 is disposed is a space in the embodiment (see FIG. 8). It has been released.
  • the wiring member 11 When the wiring member 11 is inserted between the leaf spring portion 93 and the terminal portion 72, the wiring member 11 receives a force resulting from the elastic restoring force of the leaf spring portion 93 and contacts the portion 52U4 shown in FIG. It's easy to do.
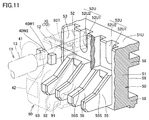
  • FIGS. 10 and 11 are a cross-sectional view and a perspective view, respectively, showing an internal panel 50 and the like applied to the terminal block in the second modification of the embodiment.
  • the leaf spring portion 93 is a base that constitutes a fixed end of deflection deformation when the leaf spring portion 93 is pressed by the wiring member 11 inserted into the accommodating portion 43 through the through hole 41.
  • the first side wall portion 52U1 and the second side wall portion 52U2 include a leaf spring in a state in which the wiring member 11 is not inserted into the through hole 41, including the portion 93S and a tip portion 93T that constitutes a free end of bending deformation. It is located on the opposite side of the through hole 41 with respect to the distal end portion 93T of the portion 93 (see FIG. 6).
  • the distal end portion 93T of the leaf spring portion 93 is located between the through hole 41 and the first side wall portion 52U1 and the second side wall portion 52U2 in a state where the wiring member 11 is not inserted into the through hole 41. ing.
  • the first side wall 40W1 (FIG. 11) and the second side wall 40W2 are provided to hang down on the lower surface of the upper surface 40C.
  • the first side wall portion 40W1 (FIG. 11) and the second side wall portion 40W2 are located on the side of the through hole 41 with respect to the distal end portion 93T of the leaf spring portion 93.
  • the first side wall portion 40W1 (FIG. 11) and the second side wall portion 40W2 are located in the housing portion 43, and the inner surface that defines the housing portion 43 in the front portion 40A of the front panel 40. It is located between 43U (FIG. 10) and the front-end
  • the portion (electrode portion 12) inserted into the housing portion 43 is disposed between the first side wall portion 40 ⁇ / b> W ⁇ b> 1 and the second side wall portion 40 ⁇ / b> W ⁇ b> 2.
  • the movement of the part (electrode part 12) inserted in the accommodating part 43 is controlled.
  • the movement referred to here is a movement in a direction (here, a direction perpendicular to the plane of FIG. 11) in which the terminal portion 72 and the leaf spring portion 93 intersect the direction in which the wiring member 11 is sandwiched.
  • the wiring member 11 includes the leaf spring portion 93 and the terminal portion 72 that cause the wiring member 11 to move.
  • the wiring member 11 has the leaf spring portion 93 and the terminal portion 72 sandwich the wiring member 11 due to the presence of the first side wall portion 40W1 and the second side wall portion 40W2. There is almost no movement in a direction intersecting with the direction in which the light travels (the direction orthogonal here).
  • the first side wall part 40W1 and the second side wall part 40W2 are provided in the accommodating part 43. Only 40W1 and the second side wall 40W2 may be provided in the accommodating portion 43. Also in this case, the same operation and effect as the above embodiment can be obtained.

Landscapes

  • Connections Arranged To Contact A Plurality Of Conductors (AREA)
PCT/JP2017/034709 2016-09-30 2017-09-26 端子台 Ceased WO2018062163A1 (ja)

Priority Applications (3)

Application Number Priority Date Filing Date Title
US16/329,245 US10665968B2 (en) 2016-09-30 2017-09-26 Terminal block
CN201780053160.4A CN109804507B (zh) 2016-09-30 2017-09-26 端子台
EP17856113.0A EP3522304B1 (en) 2016-09-30 2017-09-26 Terminal block

Applications Claiming Priority (2)

Application Number Priority Date Filing Date Title
JP2016-194249 2016-09-30
JP2016194249A JP6726074B2 (ja) 2016-09-30 2016-09-30 端子台

Publications (1)

Publication Number Publication Date
WO2018062163A1 true WO2018062163A1 (ja) 2018-04-05

Family

ID=61760397

Family Applications (1)

Application Number Title Priority Date Filing Date
PCT/JP2017/034709 Ceased WO2018062163A1 (ja) 2016-09-30 2017-09-26 端子台

Country Status (5)

Country Link
US (1) US10665968B2 (enExample)
EP (1) EP3522304B1 (enExample)
JP (1) JP6726074B2 (enExample)
CN (1) CN109804507B (enExample)
WO (1) WO2018062163A1 (enExample)

Cited By (1)

* Cited by examiner, † Cited by third party
Publication number Priority date Publication date Assignee Title
WO2020213498A1 (ja) * 2019-04-18 2020-10-22 Idec株式会社 端子ユニットおよび電気部品

Families Citing this family (7)

* Cited by examiner, † Cited by third party
Publication number Priority date Publication date Assignee Title
JP2018056076A (ja) * 2016-09-30 2018-04-05 オムロン株式会社 端子台
JP2020047464A (ja) 2018-09-19 2020-03-26 富士電機機器制御株式会社 電気機器の接続構造
JP7006575B2 (ja) * 2018-12-11 2022-01-24 オムロン株式会社 端子モジュールおよび端子台
DE102019126662A1 (de) * 2019-10-02 2021-04-08 Phoenix Contact Gmbh & Co. Kg Anschlusseinheit mit in zwei Reihen angeordneten Betätigungselementen und Leiteranschlussöffnungen
JP7322689B2 (ja) * 2019-12-12 2023-08-08 住友電装株式会社 端子台
CN112993633B (zh) * 2021-03-02 2025-07-25 厦门广泓工贸有限公司 一种用于安装连接端子的胶壳和连接端子
USD1037169S1 (en) * 2021-11-30 2024-07-30 Schweitzer Engineering Laboratories, Inc Terminal block connection device

Citations (3)

* Cited by examiner, † Cited by third party
Publication number Priority date Publication date Assignee Title
JPS57191966A (en) * 1981-05-20 1982-11-25 Kawaguchi Kinzoku Kogyo Kk Connecting terminal for single wire
JP2000048875A (ja) 1998-04-22 2000-02-18 Fuji Electric Co Ltd 回路遮断器の電線接続装置
JP4071174B2 (ja) * 2003-07-25 2008-04-02 松下電工株式会社 ランプソケット

Family Cites Families (18)

* Cited by examiner, † Cited by third party
Publication number Priority date Publication date Assignee Title
US4566748A (en) 1984-09-17 1986-01-28 Matsushita Electric Works, Ltd. Connector
GB9100135D0 (en) 1991-01-04 1991-02-20 Amp Great Britain Electrical connector and an electrical contact element
EP0616386A3 (en) * 1993-03-18 1996-03-13 Tadao Tozuka Plug-in connector.
DE19654611B4 (de) * 1996-12-20 2004-09-30 Wago Verwaltungsgesellschaft Mbh Federkraftklemmanschluß für elektrische Leiter
US6746286B2 (en) 2002-03-06 2004-06-08 Ideal Industries, Inc. Push-in wire connector
JP3855833B2 (ja) 2002-04-23 2006-12-13 オムロン株式会社 電線接続コネクタ
US6832938B2 (en) * 2002-12-13 2004-12-21 Tyco Electronics Corporation Electrical connector with integral wire release member
DE20308863U1 (de) * 2003-06-06 2003-08-21 Ria Btr Produktions Gmbh Anschlussklemme
US7410386B2 (en) * 2005-03-03 2008-08-12 Tyco Electronics Corporation Pluggable screwless wire connector system
CA2551086A1 (en) * 2005-06-21 2006-12-21 Ideal Industries, Inc. Electrical disconnect with push-in connectors
DE202006009460U1 (de) * 2005-10-29 2007-03-15 Weidmüller Interface GmbH & Co. KG Anschlussvorrichtung für Leiter
WO2007062327A2 (en) * 2005-11-18 2007-05-31 Ideal Industries, Inc. Releasable wire connector
CN101606293B (zh) * 2007-02-05 2013-11-13 菲尼克斯电气公司 用于太阳能模块的端子接线箱
US7722384B2 (en) * 2007-07-09 2010-05-25 Ideal Industries, Inc. In-line push-in wire connector
JP5249608B2 (ja) 2008-03-12 2013-07-31 株式会社ニチフ端子工業 電線接続器
US7785134B2 (en) * 2008-12-30 2010-08-31 General Electric Company Contact terminal for conductors
US8944843B2 (en) * 2012-03-09 2015-02-03 Ideal Industries, Inc. Electrical connector with a push-in type contact
JP2018056076A (ja) * 2016-09-30 2018-04-05 オムロン株式会社 端子台

Patent Citations (3)

* Cited by examiner, † Cited by third party
Publication number Priority date Publication date Assignee Title
JPS57191966A (en) * 1981-05-20 1982-11-25 Kawaguchi Kinzoku Kogyo Kk Connecting terminal for single wire
JP2000048875A (ja) 1998-04-22 2000-02-18 Fuji Electric Co Ltd 回路遮断器の電線接続装置
JP4071174B2 (ja) * 2003-07-25 2008-04-02 松下電工株式会社 ランプソケット

Non-Patent Citations (1)

* Cited by examiner, † Cited by third party
Title
See also references of EP3522304A4

Cited By (3)

* Cited by examiner, † Cited by third party
Publication number Priority date Publication date Assignee Title
WO2020213498A1 (ja) * 2019-04-18 2020-10-22 Idec株式会社 端子ユニットおよび電気部品
JP2020177800A (ja) * 2019-04-18 2020-10-29 Idec株式会社 端子ユニットおよび電気部品
JP7353062B2 (ja) 2019-04-18 2023-09-29 Idec株式会社 端子ユニットおよび電気部品

Also Published As

Publication number Publication date
CN109804507B (zh) 2020-10-23
JP6726074B2 (ja) 2020-07-22
EP3522304A1 (en) 2019-08-07
US10665968B2 (en) 2020-05-26
EP3522304A4 (en) 2019-11-27
US20190252807A1 (en) 2019-08-15
CN109804507A (zh) 2019-05-24
EP3522304B1 (en) 2021-08-18
JP2018056077A (ja) 2018-04-05

Similar Documents

Publication Publication Date Title
WO2018062163A1 (ja) 端子台
US7347720B2 (en) Flat cable electrical connector
WO2018062160A1 (ja) 端子台
JP6161409B2 (ja) コネクタ
US10297994B2 (en) Substrate holding structure, electronic component module, and electrical connection box
JP2001332358A (ja) コネクタ装置
JP6992621B2 (ja) 接続子およびソケット
JP6733368B2 (ja) 端子接続機構およびスイッチ
EP3261184B1 (en) Electrical contact limiter structure of wire connection terminal
JPH11500266A (ja) クランプ接触装置
JP2017117703A (ja) 分岐コネクタ
JP2008034217A (ja) 接続装置
JP6564286B2 (ja) プラグコネクタ、プラグコネクタユニット、および、コネクタ装置
KR20150079650A (ko) 압접 콘택트 및 커넥터
JP4746512B2 (ja) 分電盤
JP7001047B2 (ja) 端子台
KR20160053370A (ko) 케이블 접속용 전기커넥터
JP6147841B1 (ja) コンタクトモジュールの製造方法、及び、コネクタ
JP3205816U (ja) リレー架に接続される配線接続盤
JP4746513B2 (ja) 分電盤
KR20160033156A (ko) 전기 커넥터의 하우징, 및 전기 커넥터
JP2005310499A (ja) 電機機器の端子装置
JP2017517112A (ja) 電気接続装置
JP7294100B2 (ja) 端子接続ユニット
JP7006575B2 (ja) 端子モジュールおよび端子台

Legal Events

Date Code Title Description
121 Ep: the epo has been informed by wipo that ep was designated in this application

Ref document number: 17856113

Country of ref document: EP

Kind code of ref document: A1

NENP Non-entry into the national phase

Ref country code: DE

ENP Entry into the national phase

Ref document number: 2017856113

Country of ref document: EP

Effective date: 20190430