WO2018043081A1 - 回転子およびリラクタンスモータ - Google Patents

回転子およびリラクタンスモータ Download PDF

Info

Publication number
WO2018043081A1
WO2018043081A1 PCT/JP2017/028948 JP2017028948W WO2018043081A1 WO 2018043081 A1 WO2018043081 A1 WO 2018043081A1 JP 2017028948 W JP2017028948 W JP 2017028948W WO 2018043081 A1 WO2018043081 A1 WO 2018043081A1
Authority
WO
WIPO (PCT)
Prior art keywords
permanent magnet
barrier
rotor core
flux
magnetic flux
Prior art date
Legal status (The legal status is an assumption and is not a legal conclusion. Google has not performed a legal analysis and makes no representation as to the accuracy of the status listed.)
Ceased
Application number
PCT/JP2017/028948
Other languages
English (en)
French (fr)
Japanese (ja)
Inventor
活徳 竹内
真琴 松下
則雄 高橋
大輔 三須
寿郎 長谷部
Current Assignee (The listed assignees may be inaccurate. Google has not performed a legal analysis and makes no representation or warranty as to the accuracy of the list.)
Toshiba Corp
Toshiba Infrastructure Systems and Solutions Corp
Original Assignee
Toshiba Corp
Toshiba Infrastructure Systems and Solutions Corp
Priority date (The priority date is an assumption and is not a legal conclusion. Google has not performed a legal analysis and makes no representation as to the accuracy of the date listed.)
Filing date
Publication date
Family has litigation
First worldwide family litigation filed litigation Critical https://patents.darts-ip.com/?family=61300622&utm_source=google_patent&utm_medium=platform_link&utm_campaign=public_patent_search&patent=WO2018043081(A1) "Global patent litigation dataset” by Darts-ip is licensed under a Creative Commons Attribution 4.0 International License.
Application filed by Toshiba Corp, Toshiba Infrastructure Systems and Solutions Corp filed Critical Toshiba Corp
Priority to SG11201901268YA priority Critical patent/SG11201901268YA/en
Priority to EP17846090.3A priority patent/EP3509190B1/en
Priority to KR1020197003937A priority patent/KR102113055B1/ko
Priority to CN201780049625.9A priority patent/CN109565198B/zh
Publication of WO2018043081A1 publication Critical patent/WO2018043081A1/ja
Priority to US16/270,028 priority patent/US10530203B2/en
Anticipated expiration legal-status Critical
Ceased legal-status Critical Current

Links

Images

Classifications

    • HELECTRICITY
    • H02GENERATION; CONVERSION OR DISTRIBUTION OF ELECTRIC POWER
    • H02KDYNAMO-ELECTRIC MACHINES
    • H02K1/00Details of the magnetic circuit
    • H02K1/06Details of the magnetic circuit characterised by the shape, form or construction
    • H02K1/22Rotating parts of the magnetic circuit
    • H02K1/27Rotor cores with permanent magnets
    • H02K1/2706Inner rotors
    • H02K1/272Inner rotors the magnetisation axis of the magnets being perpendicular to the rotor axis
    • H02K1/274Inner rotors the magnetisation axis of the magnets being perpendicular to the rotor axis the rotor consisting of two or more circumferentially positioned magnets
    • H02K1/2753Inner rotors the magnetisation axis of the magnets being perpendicular to the rotor axis the rotor consisting of two or more circumferentially positioned magnets the rotor consisting of magnets or groups of magnets arranged with alternating polarity
    • H02K1/276Magnets embedded in the magnetic core, e.g. interior permanent magnets [IPM]
    • H02K1/2766Magnets embedded in the magnetic core, e.g. interior permanent magnets [IPM] having a flux concentration effect
    • HELECTRICITY
    • H02GENERATION; CONVERSION OR DISTRIBUTION OF ELECTRIC POWER
    • H02KDYNAMO-ELECTRIC MACHINES
    • H02K1/00Details of the magnetic circuit
    • H02K1/06Details of the magnetic circuit characterised by the shape, form or construction
    • H02K1/22Rotating parts of the magnetic circuit
    • H02K1/24Rotor cores with salient poles ; Variable reluctance rotors
    • H02K1/246Variable reluctance rotors
    • HELECTRICITY
    • H02GENERATION; CONVERSION OR DISTRIBUTION OF ELECTRIC POWER
    • H02KDYNAMO-ELECTRIC MACHINES
    • H02K1/00Details of the magnetic circuit
    • H02K1/06Details of the magnetic circuit characterised by the shape, form or construction
    • H02K1/22Rotating parts of the magnetic circuit
    • H02K1/24Rotor cores with salient poles ; Variable reluctance rotors
    • HELECTRICITY
    • H02GENERATION; CONVERSION OR DISTRIBUTION OF ELECTRIC POWER
    • H02KDYNAMO-ELECTRIC MACHINES
    • H02K19/00Synchronous motors or generators
    • H02K19/02Synchronous motors
    • H02K19/10Synchronous motors for multi-phase current
    • H02K19/103Motors having windings on the stator and a variable reluctance soft-iron rotor without windings
    • HELECTRICITY
    • H02GENERATION; CONVERSION OR DISTRIBUTION OF ELECTRIC POWER
    • H02KDYNAMO-ELECTRIC MACHINES
    • H02K7/00Arrangements for handling mechanical energy structurally associated with dynamo-electric machines, e.g. structural association with mechanical driving motors or auxiliary dynamo-electric machines
    • H02K7/04Balancing means
    • HELECTRICITY
    • H02GENERATION; CONVERSION OR DISTRIBUTION OF ELECTRIC POWER
    • H02KDYNAMO-ELECTRIC MACHINES
    • H02K1/00Details of the magnetic circuit
    • H02K1/06Details of the magnetic circuit characterised by the shape, form or construction
    • H02K1/22Rotating parts of the magnetic circuit
    • H02K1/27Rotor cores with permanent magnets
    • H02K1/2706Inner rotors
    • H02K1/272Inner rotors the magnetisation axis of the magnets being perpendicular to the rotor axis
    • H02K1/274Inner rotors the magnetisation axis of the magnets being perpendicular to the rotor axis the rotor consisting of two or more circumferentially positioned magnets
    • H02K1/2753Inner rotors the magnetisation axis of the magnets being perpendicular to the rotor axis the rotor consisting of two or more circumferentially positioned magnets the rotor consisting of magnets or groups of magnets arranged with alternating polarity
    • H02K1/276Magnets embedded in the magnetic core, e.g. interior permanent magnets [IPM]
    • HELECTRICITY
    • H02GENERATION; CONVERSION OR DISTRIBUTION OF ELECTRIC POWER
    • H02KDYNAMO-ELECTRIC MACHINES
    • H02K1/00Details of the magnetic circuit
    • H02K1/06Details of the magnetic circuit characterised by the shape, form or construction
    • H02K1/22Rotating parts of the magnetic circuit
    • H02K1/27Rotor cores with permanent magnets
    • H02K1/2706Inner rotors
    • H02K1/272Inner rotors the magnetisation axis of the magnets being perpendicular to the rotor axis
    • H02K1/274Inner rotors the magnetisation axis of the magnets being perpendicular to the rotor axis the rotor consisting of two or more circumferentially positioned magnets
    • H02K1/2753Inner rotors the magnetisation axis of the magnets being perpendicular to the rotor axis the rotor consisting of two or more circumferentially positioned magnets the rotor consisting of magnets or groups of magnets arranged with alternating polarity
    • H02K1/276Magnets embedded in the magnetic core, e.g. interior permanent magnets [IPM]
    • H02K1/2766Magnets embedded in the magnetic core, e.g. interior permanent magnets [IPM] having a flux concentration effect
    • H02K1/2773Magnets embedded in the magnetic core, e.g. interior permanent magnets [IPM] having a flux concentration effect consisting of tangentially magnetized radial magnets
    • HELECTRICITY
    • H02GENERATION; CONVERSION OR DISTRIBUTION OF ELECTRIC POWER
    • H02KDYNAMO-ELECTRIC MACHINES
    • H02K2213/00Specific aspects, not otherwise provided for and not covered by codes H02K2201/00 - H02K2211/00
    • H02K2213/03Machines characterised by numerical values, ranges, mathematical expressions or similar information
    • HELECTRICITY
    • H02GENERATION; CONVERSION OR DISTRIBUTION OF ELECTRIC POWER
    • H02KDYNAMO-ELECTRIC MACHINES
    • H02K3/00Details of windings
    • H02K3/04Windings characterised by the conductor shape, form or construction, e.g. with bar conductors
    • H02K3/12Windings characterised by the conductor shape, form or construction, e.g. with bar conductors arranged in slots

Definitions

  • Embodiments described herein relate generally to a rotor and a reluctance motor. This application claims priority on August 31, 2016 based on Japanese Patent Application No. 2016-170040 for which it applied to Japan, and uses the content for it here.
  • a technology for improving the saliency of a motor by providing a permanent magnet on the rotor of a reluctance motor is known.
  • the problem to be solved by the present invention is to provide a rotor and a reluctance motor capable of increasing the salient pole ratio without generating an induced voltage.
  • the rotor includes a shaft that rotates around an axis and a rotor iron core that is fixed to the shaft.
  • a plurality of flux barriers are formed side by side in the radial direction of the rotor core from one location on the outer peripheral surface of the rotor core to another location.
  • a plurality of bridge portions including a bridge portion forming a part of the outer peripheral surface of the rotor core are formed at both ends in the longitudinal direction of the flux barrier, and in the rotor core between the plurality of bridge portions.
  • One or a plurality of barrier regions having a lower magnetic permeability than portions other than the flux barrier are formed. At least one barrier region is provided with a permanent magnet.
  • the magnetization direction of the permanent magnet is oriented in a direction that intersects the longitudinal direction of the flux barrier at the position where the permanent magnet is provided.
  • ⁇ 0 Permeability of a region where no permanent magnet exists in the barrier region
  • S M Cross-sectional area of the permanent magnet in a plane orthogonal to the extending direction of the shaft
  • B r Residual magnetic flux density of the permanent magnet
  • ⁇ re Permanent magnet Recoil permeability
  • t FB minimum and maximum arithmetic mean of barrier region thickness
  • w B minimum and maximum arithmetic mean of bridge width
  • Sectional drawing orthogonal to the rotating shaft 8 which shows the structure for 1 pole of the 4-pole reluctance motor 1 in 1st Embodiment.
  • the figure which shows an example of the tendency of the magnetization characteristic of the rotor core. Shows the saturation magnetic flux density B s of the rotor core 9, and relative permeability of each bridge portion, an example of the relationship between the leakage flux amount.
  • FIG. 6 is a diagram showing another example of the arrangement position of the permanent magnet 100 in the barrier region 18.
  • the figure which shows an example of the external appearance of the reluctance motor.
  • Sectional drawing orthogonal to the rotating shaft 8 which shows the structure for 1 pole of the reluctance motor 1A in 2nd Embodiment. Shows the saturation magnetic flux density B s of the rotor core 9, and relative permeability of each bridge portion, another example of the relationship between the leakage flux amount interlinked to the armature winding 7.
  • Sectional drawing orthogonal to the rotating shaft 8 which shows the structure for 1 pole of the reluctance motor 1B in 3rd Embodiment.
  • Sectional drawing orthogonal to the rotating shaft 8 which shows the structure for 1 pole of the reluctance motor 1C in 4th Embodiment.
  • FIG. 6 is a diagram showing another example of the arrangement position of the permanent magnet 100 in the barrier region 18.
  • FIG. 1 is a cross-sectional view orthogonal to a rotating shaft 8 showing the configuration of one pole of the four-pole reluctance motor 1 in the first embodiment.
  • the rotation shaft 8 may be a shaft that is rotatably supported, extends in the axial direction about the rotation shaft 8, and rotates around the rotation shaft 8 center.
  • a reluctance motor 1 includes a substantially cylindrical stator 2, a rotor 3 provided radially inward of the stator 2, and rotatably provided with respect to the stator 2; It has. Note that the stator 2 and the rotor 3 are arranged in a state in which their respective central axes are located on a common axis.
  • the above-described common axis is referred to as a central axis O
  • a direction orthogonal to the central axis O is referred to as a radial direction
  • a direction around the central axis O is referred to as a circumferential direction.
  • the stator 2 has a substantially cylindrical stator core 4.
  • the stator iron core 4 can be formed by laminating a plurality of electromagnetic steel plates or press-molding soft magnetic powder.
  • a plurality of teeth 5 projecting toward the central axis O and arranged at equal intervals in the circumferential direction are integrally formed on the inner peripheral surface of the stator core 4.
  • the teeth 5 have a substantially rectangular cross section.
  • a slot 6 is formed between adjacent teeth 5.
  • An armature winding 7 is wound around each tooth 5 via these slots 6.
  • the stator core 4 may be provided with an insulating insulator, or the entire outer surface may be covered with an insulating coating (both not shown). Then, an armature winding 7 is wound on each tooth 5 from above the insulator and the insulating coating.
  • the rotor 3 includes a rotary shaft 8 extending along the central axis O and a substantially cylindrical rotor core 9 that is externally fixed to the rotary shaft 8.
  • the rotor core 9 can be formed by laminating a plurality of electromagnetic steel plates or press-molding soft magnetic powder.
  • the outer diameter of the rotor core 9 is set such that a predetermined air gap G is formed between each of the teeth 5 facing in the radial direction.
  • a through-hole 10 penetrating along the central axis O is formed at the radial center of the rotor core 9.
  • the rotary shaft 8 is press-fitted into the through hole 10. As a result, the rotating shaft 8 and the rotor core 9 rotate together.
  • the rotor core 9 includes a plurality of (for example, three in this embodiment) flux barriers 11 for each pole (ie, a circumferential angle region of 1 ⁇ 4 circumference), and the rotation axis of the rotor core 9. 8 are arranged side by side so as to pass through one diameter passing through 8. That is, these flux barriers 11 are formed between a plurality of magnetic paths through which the magnetic flux formed by the stator 2 passes from one place to another place on the outer peripheral surface of the rotor core 9. Divide the magnetic path.
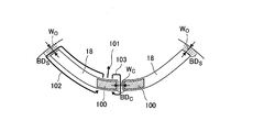
  • each flux barrier 11 has a plurality of (for example, two in this embodiment) barrier regions 18, which are distributed in a substantially hyperbolic shape. In FIG. 1, only the flux barrier 11 closest to the central axis O is provided with a symbol 18 indicating a barrier region and 100 indicating a permanent magnet, but the same applies to other flux barriers 11.
  • the direction in which the flow of magnetic flux is not hindered by the barrier region 18 is defined as the q axis. That is, a positive magnetic position (for example, the N pole of the magnet is brought closer) to a peripheral angular position A on the outer peripheral surface of the rotor, and a peripheral angular position B that is shifted by one pole (90 degrees in this embodiment). Is given a negative magnetic position (for example, the S pole of the magnet is made closer), and when the position of A is shifted in the circumferential direction, the direction from the central axis O to the position A when the most magnetic flux flows is the q axis. It is defined as In the present embodiment, the q axis is set in the longitudinal direction of the flux barrier 11 that separates the rotor core 9 into a region close to the central axis O and a region far from the central axis O.
  • a direction in which the flow of magnetic flux is blocked by the barrier region 18, that is, a direction magnetically orthogonal to the q axis is defined as a d axis.
  • the flux barrier 11 sets the d-axis in a direction parallel to the direction in which the two rotor core portions separated into a region close to the central axis O and a region far from the central axis O face each other.
  • the flux barrier 11 is formed in multiple layers (three layers in this embodiment), the overlapping direction of the layers is the d axis.
  • the flux barrier 11 is not limited to three layers, and may be formed as a single layer, two layers, or four or more layers.
  • the number of barrier regions 18 in each flux barrier 11 is not limited to two, but one or three or more. It may be.
  • Each barrier region 18 is curved in a convex shape from the outer peripheral side toward the central axis O on the radially inner side so that the central portion in the circumferential direction is located on the innermost radial direction along the q axis at least on the outer peripheral side.
  • the cross section is formed in a substantially arc shape.
  • the shape of each barrier region 18 is not limited to a circular arc, and may be a convex shape such as a U shape.
  • six substantially arc-shaped barrier regions 18 are formed in each circumferential angle region of the rotor core 9.
  • Outer circumferential bridge portion BD S is responsible for binding (connection) the separated rotor core 9 between the barrier region 18 of each flux barrier 11.
  • Width w o of the outer bridge portion BD S provided on both ends of the flux barriers 11 is the width with respect to the direction toward the rotating shaft 8 from the outer circumferential side of the rotor 3.
  • a plurality of barrier regions 18 are formed at intervals in the extending direction at an intermediate point between both ends along the extending direction of the flux barrier 11 (for example, a portion closest to the rotation axis 8 in the radial direction).
  • the barrier regions 18 are formed at intervals separated by a predetermined distance w C.
  • Predetermined distance w C may be the same as the predetermined distance w o, may be different.
  • center bridge BD C is an example of the "internal bridge unit”.
  • Center bridge BD C serves to bind (connect) the separated rotor core 9 between the barrier region 18 of each flux barrier 11. Even when the flux barrier 11 is formed by the bridge portion, the rotor core 9 is combined as one member without being separated at both ends and the intermediate point of the flux barrier 11.
  • the width w o of the outer bridge portion BD S at both ends of the plurality of flux barriers 11 formed in the radial direction may be different from each other, some or all may be the same.
  • center bridge BD C is formed with a plurality of the width w C of each of the center bridge portion BD C of a plurality of flux barriers 11 formed in the radial direction may be different from each other, a part Or all may be the same.
  • the permanent magnet 100 is inserted into each of the plurality of barrier regions 18.
  • the permanent magnet 100 in the present embodiment is a magnet that is not an electromagnet, and refers to an object that can continue to generate a substantially constant magnetic field when considering the service life (life) of the reluctance motor 1. .
  • Each permanent magnet 100 is, for example, a neodymium magnet, a ferrite magnet, or a samarium iron cobalt magnet.
  • the permanent magnet 100 inserted into the barrier region 18 may be magnetized so as to be magnetized in a substantially d-axis direction after the insertion, or the permanent magnet 100 previously magnetized in a predetermined direction has a magnetization direction of a substantially d-axis.
  • the magnetization directions of the magnets are not limited to being completely perpendicular to the q axis, but may intersect each other with a certain angle width (for example, about 10 degrees) from the perpendicular angle.
  • the magnetization direction of the permanent magnet 100 is directed in a direction crossing the longitudinal direction of the flux barrier 11 at the position where the permanent magnet is provided.
  • Each barrier region 18 may be filled with a nonmagnetic material such as an adhesive resin in order to fix the inserted permanent magnet 100, or a nonmagnetic material spacer or the like is inserted together with the permanent magnet 100. Also good.
  • the side surface of the permanent magnet 100 may be fixed by contacting the rotor core 9.
  • the non-magnetic material has a lower magnetic permeability than the rotor core 9.
  • the permanent magnet 100 has a part (preferably, 200b, 201a, 202a, 202b to be described later: FIG. 2) forming a contour (boundary) of the barrier region 18 in a cross section including the q axis and the d axis. All are arranged away from each other. That is, the permanent magnet 100 is arranged in the barrier region 18 so as not to be in direct contact with the rotor core 9. Such an arrangement can suppress local irreversible demagnetization that occurs at the corners of the permanent magnet 100. Of course, the permanent magnet 100 may be in contact with part or all of the surface forming the contour.
  • the magnetic effect expected from the present embodiment is mainly used. Are the same.
  • FIG. 2 is a diagram schematically showing a certain flux barrier 11 and the rotor core 9 in the vicinity thereof.
  • a permanent magnet 100 may be arranged unevenly in the center bridge BD C side.
  • Magnetic flux generated by the magnetomotive force of the permanent magnet 100, the magnetic flux 101 directed in a substantially d-axis direction is a direction of magnetization, a magnetic flux 102 passing through the outer peripheral bridge portion BD S, the magnetic flux 103 passing through the center bridge portion BD C Divided.
  • the magnetic flux generated from the permanent magnet 100 flows in each bridge portion in a substantially reverse direction in the d-axis direction, the magnetic flux flowing from the stator 2 side is in a substantially reverse direction in the d-axis direction in each bridge portion. It becomes difficult to flow.
  • Each bridge portion where the magnetic flux is saturated becomes a flux barrier 11 in a broad sense because it does not pass the magnetic flux any more.
  • the amount of magnetic flux flowing in the q-axis direction can be increased by reducing the amount of magnetic flux flowing in the substantially opposite direction of the d-axis direction out of the amount of magnetic flux flowing in from the stator 2.
  • the saliency can be improved.
  • the reluctance motor 1 of this embodiment is applied to a motor for high speed rotation or a large motor having a large diameter, the rotor core 9 is easily subjected to a large centrifugal force.
  • the permanent magnet 100 needs to be inserted into the barrier region 18.
  • the size of the permanent magnet 100 is determined according to the conditional expression shown in the following formula (1).
  • Equation (1) represents the total cross-sectional area of the permanent magnet 100 to be inserted into each of the barrier region 18 of each flux barrier 11.
  • T FB represents the thickness of the barrier region 18, and ⁇ re represents the recoil permeability of the permanent magnet 100.
  • ⁇ 0 represents the magnetic permeability of the object filled in the barrier region 18 excluding the permanent magnet 100, that is, the magnetic permeability of air.
  • the magnetic permeability ⁇ 0 is a magnetic permeability according to the physical properties of the nonmagnetic material.
  • B s represents saturation magnetic flux density of the rotor core 9 extending in the extension direction substantially orthogonal to the width direction (lateral direction) of the flux barriers 11, B r denotes the residual magnetic flux density of the permanent magnet 100.
  • w o , w o , t FB , and S M may be defined as follows:
  • FIG. 3 is a diagram for explaining the definition of the parameter of the formula (1).
  • the surface 200 b is an outer peripheral surface in the extending direction (longitudinal direction) of the flux barrier 11, and the surface 201 a is the extending direction of the flux barrier 11. This is the surface on the central axis O side.
  • the surface 202 a is a surface on the outer peripheral side in the width direction of the flux barrier 11, and the surface 202 b is a surface on the central axis O side in the width direction of the flux barrier 11.
  • the surface 200b, the surface 201a, the surface 202a, and the surface 202b will be referred to as a tip portion 200b, a tip portion 201a, an upper side surface 202a, and a lower side surface 202b, respectively.
  • Width w o of the outer bridge portion BD S takes the distance between the tip portion 200b of the outer peripheral surface 200a and the barrier region 18 of the rotor core 9.
  • the front end portion 200 b of the barrier region 18 is a part of the surface that forms the contour of the barrier region 18, and is the outer peripheral surface in the extending direction of the flux barrier 11.
  • the width w o of the outer bridge portion BD S, between the curves or line It is defined as the arithmetic mean value of the minimum distance and the maximum distance.
  • an arbitrary reference point is set on a curve or a polygonal line indicating the outer peripheral surface 200a of the rotor core 9.
  • a straight line having the shortest distance from this reference point to a curve or a broken line indicating the tip 200b that is the boundary surface on the outer peripheral side of the barrier region 18 is derived.
  • a plurality of straight lines indicating the shortest are derived while shifting the reference point on the curve or the polygonal line indicating the outer peripheral surface 200a.
  • the average length of the straight line in which a plurality of derived is defined as the width w o of the outer bridge portion BD S. That is, the width w o of the outer bridge portion BD S will distance the two surfaces facing.
  • the width w C of the center bridge portion BD C sandwiching the center bridge portion BD C, taking the distance between the center bridge portion BD C side surface 201a and 201b of the barrier region 18 forming a pair.
  • the width w C of the center bridge portion BD C the minimum distance between the curves or line It is defined as the arithmetic mean of the value and the maximum value.
  • the thickness t FB of the barrier region 18 is the minimum distance and the maximum distance of the curved line or the broken line constituting the upper side surface (side surface on the outer peripheral side) 202a and the lower side surface (side surface on the central axis O side) 202b.
  • an arbitrary reference point is set on a curve or a polygonal line indicating the upper side surface 202a of the barrier region 18.
  • a straight line having the shortest distance from the reference point to the curve or the broken line indicating the lower surface 202b is derived. Thereafter, a plurality of straight lines indicating the shortest are derived while shifting the reference point on the curve or the polygonal line indicating the upper side surface 202a.
  • the average of the lengths of the plurality of straight lines derived in this way is defined as the thickness t FB of the barrier region 18.
  • the width l FB of the barrier region 18 is defined as an arithmetic average value of the lengths of the curves or broken lines constituting the upper side surface 202a and the lower side surface 202b of the barrier region 202a.
  • an arbitrary reference point is set on a curve or a broken line indicating the upper side surface 202a.
  • a straight line having the shortest distance from the reference point to the curve or the broken line indicating the lower surface 202b is derived.
  • a plurality of straight lines having the shortest distance to the lower side surface 202b are derived while shifting the reference point on the curve or the broken line showing the upper side surface 202a.
  • the length of the curve passing through the midpoint of each of the plurality of straight lines thus derived is defined as the width l FB of the barrier region 18.
  • the total cross-sectional area S M of the permanent magnet 100 is determined by multiplying the width l M of the permanent magnet 100 by the thickness t M of the permanent magnet 100 in each flux barrier 11. It is defined as the product of the area and the number of permanent magnets 100 (two in the example of FIG. 3).
  • the thickness t M of the permanent magnet 100 is the upper surface (the outer peripheral surface in the width direction of the flux barrier 11) and the lower surface (the flux barrier 11). Defined as the arithmetic average value of the minimum distance and the maximum distance of the curved line or the broken line forming the surface of the central axis O in the width direction.
  • the width l M of the permanent magnet 100 is defined as an arithmetic average value of the lengths of the curves or broken lines constituting the upper side surface and the lower side surface of the permanent magnet 100 in the same manner as the definition of the width l FB of the barrier region 18. Is done.
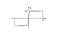
  • FIG. 4 is a diagram illustrating an example of the magnetic characteristics of the permanent magnet 100.
  • ⁇ re and B r can be expressed as magnetic characteristics of the permanent magnet 100 as follows.
  • the residual magnetic flux density B r of the permanent magnet 100 is in the linear region can be derived as a magnetic flux density (y intercept 150 of the graph) when the magnetic field strength H is about zero.
  • the recoil permeability ⁇ re can be derived as the slope of the straight line 151 representing the change of the magnetic flux density B with respect to the magnetic field strength H in the linear region.
  • FIG. 5 is a diagram illustrating an example of a magnetic circuit.
  • the magnetomotive force E M of the permanent magnet 100 can be handled as (t M ⁇ B r ) / ⁇ re .
  • the internal magnetic resistance r M of the permanent magnet 100 can be handled as t M / ( ⁇ re ⁇ l M ).
  • the magnetic circuit is operated in a linear region where irreversible demagnetization does not occur.
  • the magnetic flux of each bridge portion is saturated under the constraint that the magnetic flux does not leak to the outside. be able to. That is, the saliency of the reluctance motor 1 can be improved without generating an induced voltage.
  • the permanent magnet 100 is in contact with the upper right side surface of the barrier region 18.
  • the condition for not leaking the magnetic flux to the outside is as follows. It is represented by the formula (1). Also, the cross section of the permanent magnet in FIG.
  • FIG. 6 is a diagram illustrating an example of the tendency of the magnetization characteristics of the rotor core 9.
  • the magnetization characteristics of the rotor core 9 change gradually.
  • the parameter B s in Equation (1) cannot be uniquely determined. Accordingly, the saturation magnetic flux density B s of the rotor core 9 may be given a width in a certain numerical range. The numerical range will be described later.
  • FIG. 7 is a diagram illustrating an example of the relationship between the saturation magnetic flux density B s of the rotor core 9, the relative magnetic permeability of each bridge portion, and the amount of leakage magnetic flux interlinked with the armature winding 7.
  • the relative permeability of each bridge portion is the ratio of the permeability of the bridge portion to the vacuum permeability.
  • the leakage magnetic flux amount is a square value of the magnetic flux that passes through the gap G and leaks to the stator 2. In general, since no-load iron loss and loss in a short circuit accident are proportional to the square of the magnetic flux leaking to the stator 2, the square value of the magnetic flux leaking to the stator 2 also in this embodiment. Shall be evaluated. The result shown in FIG.
  • the rotor core 9 is a silicon steel plate (nonlinear magnetization characteristic)
  • the flux barriers 11 are three layers, and the flux barriers 11 in each flux barrier 11 in the cross section of one pole with respect to the rotating shaft 8 of the reluctance motor 1.
  • analysis of when assuming the inserted model neodymium magnet barrier region 18 sandwiched between the barrier region 18 3 Tsutoshi, each 2 center bridge portion BD C in flux barrier 11 Tsutoshi, the two centers bridge BD C The result (simulation result) is shown.
  • Such a model corresponds to a model assuming a reluctance motor 1C shown in FIG.
  • the saturation magnetic flux density B s in the figure is a value derived analytically by the following formula (2).
  • Each parameter in Equation (2) is the same as the parameter used in Equation (1) described above.
  • the relative magnetic permeability of each bridge portion tends to increase when the saturation magnetic flux density B s of the rotor core 9 is in the range from 0 to 1.2 T (Tesla). That is, the magnetic flux easily flows in each bridge portion.
  • the saturation magnetic flux density B s is in the range of more than 1.2 T, the relative permeability of each bridge portion has a tendency to decrease. That is, the magnetic flux hardly flows at each bridge portion. Therefore, when attention is paid only to the relative magnetic permeability of each bridge portion, the cross-sectional area and residual of the permanent magnet 100 are set so that the saturation magnetic flux density B s is equal to or greater than the maximum value of the relative magnetic permeability of each bridge portion, 1.2T. It is preferable to determine the magnetic flux density.
  • the amount of magnetic flux leaking to the stator 2 (the square value of the magnetic flux) is suppressed to about zero when the saturation magnetic flux density B s of the rotor core 9 is up to about 2T.
  • the saturation magnetic flux density B s of the rotor core 9 is in the range of up to about 2T, it is possible to suppress the occurrence of the induced voltage.
  • the saturation magnetic flux density B s of the rotor core 9 is 2T or more, the amount of magnetic flux leaking to the stator 2 increases exponentially, so that an induced voltage is likely to be generated.
  • the leakage magnetic flux amount is about 1000 mWb 2 or less, the influence of the leakage magnetic flux can be ignored.
  • the upper limit value of the saturation magnetic flux density B s of the rotor core 9 Specifically, to set the intersection of the asymptotes of the curve representing the square of the change in the magnetic flux leaking to the stator 2 to the upper limit of the saturation magnetic flux density B s of the rotor core 9.
  • the upper limit value is set to 3.0T as shown in the figure.
  • each bridge portion (rotor core 9)
  • the saturation magnetic flux density B s is about 5T.
  • the size of the permanent magnet 100 is determined so that the saturation magnetic flux density B s of each bridge portion falls within the range of 1.2T or more and 3.0T or less, the permanent magnet synchronization as a comparative example is performed.
  • the amount of magnetic flux leakage can be reduced to about 1/4. That is, it is possible to saturate the magnetic flux of each bridge portion by inserting the permanent magnet 100 in such a degree that does not hinder the driving of the reluctance motor 1 into the barrier region 18.
  • the saturation magnetic flux density B s of each bridge portion to determine the residual magnetic flux density and cross-sectional area of the permanent magnet 100 so that the above 1.2 T, saturated respective bridge portions Can be magnetically disabled.
  • the saliency of the reluctance motor 1 can be improved without generating an induced voltage, and the salient pole ratio can be increased.
  • the performance (torque, efficiency, power factor, etc.) of the motor is improved, and energy efficiency can be improved.
  • the magnetic flux 101 linked to the armature winding 7 is very small, and the generation of the induced voltage can be suppressed, so that it is not necessary to separately provide a protection circuit in case of a short circuit accident or the like.
  • no-load iron loss does not occur, energy efficiency as a system using this motor can be improved.
  • FIG. 8 is a diagram illustrating an example of an arrangement position of the permanent magnet 100 in the barrier region 18.
  • the magnetic path width in the iron core region excluding the bridge portion is sufficiently wider than the bridge width, and even if the bridge portion is saturated, the other iron core regions are not saturated. Therefore, even if the permanent magnet 100 is inserted, the relative magnetic permeability of the iron core region other than the bridge portion is as large as several thousands, which is a negligible resistance value when considered as a magnetic circuit.
  • the permanent magnet 100 when the permanent magnet 100, as shown, is disposed at a position closer to the outer peripheral bridge portion BD S than the center bridge portion BD C also, almost the same in the center bridge portion BD C and the outer bridge portion BD S A degree of magnetomotive force is added, and the saturation level is also equivalent. That is, the iron core of each bridge portion can be saturated no matter where the permanent magnet 100 is disposed in the barrier region 18.
  • the number of permanent magnets 100 to be inserted into the single barrier region 18 is not limited to one, and may be plural.
  • FIG. 9 is a diagram illustrating another example of the arrangement position of the permanent magnet 100 in the barrier region 18. As shown, for example, sandwiching the center bridge portion BD C, the number to one of the barrier region 18 forming a pair may be inserted two permanent magnets 100 such that the asymmetrical. At this time, the cross-sectional area of the permanent magnet 100 may be different in both the paired barrier regions 18 as long as it is within the above numerical range.
  • the reluctance motor 1 may have a skew structure.
  • FIG. 10 is a diagram illustrating an example of the appearance of the reluctance motor 1.
  • the flux barrier 11 has a v-axis orthogonal to the cross section composed of the d-axis and the q-axis.
  • the shape of the permanent magnet 100 may be a shape that matches the skew structure.
  • region 18 A barrier 11 may be formed. That is, the flux barrier 11 that reduces the leakage flux in the d-axis direction by saturating the magnetic flux of each bridge portion with the permanent magnet 100 and the flux barrier that simply reduces the leakage flux in the d-axis direction by the barrier region 18. 11 may be mixed.
  • the salient poles of the reluctance motor 1 have been described as four poles, but the present invention is not limited to this, and may be two poles, six poles, eight poles, or any other number.
  • FIG. 11 is a cross-sectional view orthogonal to the rotating shaft 8 showing the configuration of one pole of the reluctance motor 1A in the second embodiment.
  • sandwiching the center bridge portion BD C inserting the permanent magnet 100 either only barrier region 18 forming a pair, the other barrier region 18, comparable with the permanent magnets 100
  • a weight adjusting member WT having a mass is inserted. That is, the permanent magnet 100 is provided in the barrier region 18 that is biased to either side with respect to the central portion of the flux barrier 11 (for example, the same distance from each end in the longitudinal direction of the flux barrier 11).
  • the weight adjusting member WT is provided in the other barrier region 18 that is not biased to either side.
  • the weight adjustment member WT is a nonmagnetic material.
  • the barrier region 18 into which the weight adjusting member WT is inserted may be filled with a nonmagnetic material such as an adhesive resin to fix the weight adjusting member WT, or a nonmagnetic spacer together with the weight adjusting member WT. Etc. may be inserted.
  • a nonmagnetic material such as an adhesive resin to fix the weight adjusting member WT, or a nonmagnetic spacer together with the weight adjusting member WT. Etc. may be inserted.
  • FIG. 11 only the flux barrier 11 closest to the central axis O is denoted by 18 indicating a barrier region, 100 indicating a permanent magnet, and WT indicating a weight adjusting member. Is the same.
  • the divided barrier regions are indicated as 18a and 18b.
  • the total cross-sectional area S M of the permanent magnet 100 When inserting the weight adjusting member WT the barrier region 18, in the above equation (1) or (2), the total cross-sectional area S M of the permanent magnet 100, and shall not include the cross-sectional area of the weight adjustment member WT. That is, the saturation magnetic flux density B s of the rotor core 9 may be evaluated using only the cross-sectional area of the permanent magnet 100 inserted into one barrier region 18.
  • the weight adjusting member WT is inserted only on the right side of the d-axis.
  • the present invention is not limited to this, and the arrangement of the weight adjusting member WT may be changed for each flux barrier 11.
  • FIG. 12 is a diagram illustrating another example of the relationship among the saturation magnetic flux density B s of the rotor core 9, the relative magnetic permeability of each bridge portion, and the amount of leakage magnetic flux interlinked with the armature winding 7.
  • the relative permeability of each bridge portion is the ratio of the permeability of the bridge portion to the vacuum permeability.
  • the evaluation is based on the square value of the amount of magnetic flux leaking to the stator 2.
  • the result shown in FIG. 12 is an analysis result when a model of the configuration of the reluctance motor 1A shown in FIG. 11 is assumed.
  • the rotor core 9 is a silicon steel plate (nonlinear magnetization characteristic)
  • the flux barrier 11 is three layers
  • each flux barrier region 18 a 2 Tsutoshi in the barrier 11 the center bridge portion BD C contained in each of the flux barriers 11 has one.
  • the model used for the analysis, in both of the two barrier regions 18, are inserted permanent magnet 100 having a comparable cross-sectional area and remanence B r.
  • the saturation magnetic flux density B s in the figure is a value derived analytically by the above-described equation (2).
  • the result shown in FIG. 12 is similar to the result shown in FIG. 7 described above, when the saturation magnetic flux density B s of the rotor core 9 is from 0 to 1.2 T (Tesla) when focusing on the relative permeability of each bridge portion. In this range, the relative magnetic permeability of each bridge portion tends to increase.
  • the saturation magnetic flux density B s is in the range of more than 1.2 T, the relative permeability of each bridge portion has a tendency to decrease.
  • the amount of magnetic flux leaking to the stator 2 (the square value of the magnetic flux) is about zero when the saturation magnetic flux density B s of the rotor core 9 is up to about 2T, and the rotation When the saturation magnetic flux density B s of the core 9 is 2T or more, the amount of magnetic flux leaking to the stator 2 increases exponentially. Therefore, even if the number of the center bridge portion BD C is two, the cross-sectional area of the permanent magnet 100 as the saturation flux density B s of the bridge portion falls and 3.0T following range of 1.2T determined By doing so, the magnetic flux of each bridge part can be saturated, suppressing the increase in the amount of leakage magnetic flux.
  • the barrier region 18 is provided with the permanent magnet 100 that does not generate the induced voltage of the reluctance motor 1.
  • the saliency can be improved as compared to the reluctance motor 1 in which the permanent magnet 100 is not provided. As a result, energy efficiency can be improved.
  • the mechanical imbalance in the rotor 3 can be eliminated, and between the flux barriers 11
  • the stress generated in the rotor core 9 (including each bridge portion) can be dispersed with a good balance.
  • the mechanical strength of the rotor 3 can be improved.
  • FIG. 13 is a cross-sectional view orthogonal to the rotating shaft 8 showing the configuration of one pole of the reluctance motor 1B in the third embodiment.
  • each flux barrier 11 has one barrier region 18.
  • only the flux barrier 11 closest to the central axis O is provided with a symbol 18 indicating a barrier region and 100 indicating a permanent magnet, but the same applies to the other flux barriers 11.
  • the reluctance motor 1B shown in FIG. 13 may be present only center bridge portion BD C.
  • the reluctance motor 1B shown in FIG. 13 may be present only center bridge portion BD C.
  • it may determine the size of the permanent magnet 100.
  • the barrier area 18 is provided with the permanent magnet 100 that does not generate the induced voltage of the reluctance motor 1.
  • the saliency can be improved.
  • energy efficiency can be improved.
  • the permanent magnet 100 provided in the barrier region 18 can be reduced.
  • FIG. 14 is a cross-sectional view orthogonal to the rotating shaft 8 showing the configuration of one pole of the reluctance motor 1C in the fourth embodiment.
  • the flux barrier 11 closest to the central axis O is denoted by reference numeral 18 indicating a barrier region and 100 indicating a permanent magnet, but the same applies to the other flux barriers 11.
  • the divided barrier regions are indicated as 18a, 18b, and 18c.
  • the barrier region 18 is three formed in each flux barrier 11, at an intermediate point between the flux barrier 11 across the two center bridge portion BD C is formed.
  • the permanent magnet 100 is attached to the barrier area
  • FIG. 15 is a diagram illustrating another example of the arrangement position of the permanent magnet 100 in the barrier region 18.
  • the permanent magnet 100 is inserted into the barrier region 18 having the shortest distance from the rotating shaft 8 among the plurality of barrier regions 18.
  • the barrier region 18b In the illustrated example, the barrier region 18b.
  • the permanent magnets 100 instead of being inserted into the barrier region 18b sandwiched by two center bridge portion BD C, be inserted into the respective barrier regions 18a and 18c located on both sides of the barrier region 18b Good.
  • the magnetic flux of the permanent magnet 100 is easily flows substantially uniformly into two outer peripheral bridge portion BD S and two centers bridge BD C.
  • the permanent magnet 100 is inserted into the intermediate barrier region 18b of the three barrier regions 18 and the respective barrier regions 18a and 18c on both sides, the mechanical unbalance in the rotor 3 is eliminated.
  • the stress generated in the rotor core 9 (including each bridge portion) between the flux barriers 11 can be dispersed with a good balance.
  • the thickness t FB of the barrier region 18 for each flux barrier 11 is treated as the average of the thicknesses of all the barrier regions 18.
  • the width of each of the barrier regions 18a and 18c is defined as l OFB
  • the thickness is defined as t OFB
  • the width of the barrier region 18b is defined as l CFB
  • the thickness is defined as t CFB
  • t FB (2t OFB + t CFB ) / 3.
  • the total cross-sectional area S M of the permanent magnet 100 is the product of l M and t M since there is one permanent magnet 100.
  • the cross-sectional area and the residual magnetic flux density of the permanent magnet 100 are reduced so that the leakage magnetic flux passing through the gap G and interlinking with the armature winding 7 is reduced (that is, the induced voltage is reduced). Can be determined.
  • the barrier magnet 18 is provided with the permanent magnet 100 that does not generate the induced voltage of the reluctance motor 1.
  • the saliency can be improved.
  • energy efficiency can be improved.
  • each bridge portion can be magnetically invalidated while minimizing the induced voltage.
  • the saliency of the reluctance motor 1 can be improved and the salient pole ratio can be increased.
  • the performance (torque, efficiency, power factor, etc.) of the motor is improved, and energy efficiency can be improved.

Landscapes

  • Engineering & Computer Science (AREA)
  • Power Engineering (AREA)
  • Permanent Field Magnets Of Synchronous Machinery (AREA)
  • Iron Core Of Rotating Electric Machines (AREA)
  • Synchronous Machinery (AREA)
PCT/JP2017/028948 2016-08-31 2017-08-09 回転子およびリラクタンスモータ Ceased WO2018043081A1 (ja)

Priority Applications (5)

Application Number Priority Date Filing Date Title
SG11201901268YA SG11201901268YA (en) 2016-08-31 2017-08-09 Rotor and reluctance motor
EP17846090.3A EP3509190B1 (en) 2016-08-31 2017-08-09 Rotor and reluctance motor
KR1020197003937A KR102113055B1 (ko) 2016-08-31 2017-08-09 회전자 및 자기 저항 모터
CN201780049625.9A CN109565198B (zh) 2016-08-31 2017-08-09 转子以及磁阻马达
US16/270,028 US10530203B2 (en) 2016-08-31 2019-02-07 Rotor and reluctance motor

Applications Claiming Priority (2)

Application Number Priority Date Filing Date Title
JP2016170040A JP6702550B2 (ja) 2016-08-31 2016-08-31 回転子およびリラクタンスモータ
JP2016-170040 2016-08-31

Related Child Applications (1)

Application Number Title Priority Date Filing Date
US16/270,028 Continuation US10530203B2 (en) 2016-08-31 2019-02-07 Rotor and reluctance motor

Publications (1)

Publication Number Publication Date
WO2018043081A1 true WO2018043081A1 (ja) 2018-03-08

Family

ID=61300622

Family Applications (1)

Application Number Title Priority Date Filing Date
PCT/JP2017/028948 Ceased WO2018043081A1 (ja) 2016-08-31 2017-08-09 回転子およびリラクタンスモータ

Country Status (8)

Country Link
US (1) US10530203B2 (enExample)
EP (1) EP3509190B1 (enExample)
JP (1) JP6702550B2 (enExample)
KR (1) KR102113055B1 (enExample)
CN (1) CN109565198B (enExample)
SG (1) SG11201901268YA (enExample)
TW (1) TWI647897B (enExample)
WO (1) WO2018043081A1 (enExample)

Cited By (5)

* Cited by examiner, † Cited by third party
Publication number Priority date Publication date Assignee Title
US20210126514A1 (en) * 2018-07-13 2021-04-29 Siemens Aktiengesellschaft Robust material layers
WO2021171663A1 (ja) * 2020-02-27 2021-09-02 日本電産株式会社 ロータ、およびモータ
WO2021230056A1 (ja) * 2020-05-15 2021-11-18 日本電産株式会社 ロータ、モータ及び電気製品
CN113946946A (zh) * 2021-09-29 2022-01-18 浙江大学先进电气装备创新中心 一种考虑隔磁桥饱和的内置式永磁电机磁场解析方法
JP2025040678A (ja) * 2023-09-12 2025-03-25 本田技研工業株式会社 回転電機

Families Citing this family (16)

* Cited by examiner, † Cited by third party
Publication number Priority date Publication date Assignee Title
US12132354B2 (en) * 2020-10-01 2024-10-29 Hl Mando Corporation Electric motor having stacked different rotor segments and method for designing the same
JP6989458B2 (ja) * 2018-08-03 2022-01-05 株式会社東芝 回転電機の回転子
JP7034328B2 (ja) * 2018-10-30 2022-03-11 三菱電機株式会社 ロータ、モータ、圧縮機、及び冷凍空調装置
DE102019124095A1 (de) * 2019-09-09 2021-03-11 Schaeffler Technologies AG & Co. KG Rotor, Verfahren zum Auswuchten eines Rotors, Verfahren zum Auswuchten eines Rotors einer elektrischen Rotationsmaschine sowie elektrische Rotationsmaschine
EP4049357A4 (en) * 2019-10-22 2023-11-22 Milwaukee Electric Tool Corporation MACHINE TOOL WITH PERMANENT MAGNET SYNCHRONOUS RELUCTANCE MACHINE
EP4049361A1 (en) 2019-10-25 2022-08-31 Jacobi Motors LLC. Methods of magnetizing and controlling a variable-flux memory motor
WO2021106682A1 (ja) * 2019-11-25 2021-06-03 株式会社豊田自動織機 回転電機のロータ
WO2021142433A1 (en) * 2020-01-09 2021-07-15 Jacobi Motors LLC Curved magnets for a variable-flux memory motor
US11936256B2 (en) 2020-04-24 2024-03-19 Jacobi Motors, Llc Flux-mnemonic permanent magnet synchronous machine and magnetizing a flux-mnemonic permanent magnet synchronous machine
WO2022139501A1 (ko) * 2020-12-23 2022-06-30 엘지마그나 이파워트레인 주식회사 회전전기기계의 스테이터
BR112023019987A2 (pt) * 2021-03-31 2024-01-23 Nippon Steel Corp Núcleo de rotor, rotor, e, máquina elétrica rotativa
JP7572914B2 (ja) * 2021-05-28 2024-10-24 東芝産業機器システム株式会社 同期リラクタンスモータ及びポンプ装置
EP4443706A4 (en) * 2022-03-29 2025-04-09 Nippon Steel Corporation Rotating electric machine
EP4503391A4 (en) * 2022-03-29 2025-06-18 Nippon Steel Corporation Rotary electric machine
CN219458765U (zh) * 2023-02-10 2023-08-01 纬湃科技投资(中国)有限公司 一种同步磁阻电机转子
CN118801599A (zh) * 2023-04-12 2024-10-18 纬湃科技投资(中国)有限公司 转子和具有该转子的同步磁阻电机

Citations (3)

* Cited by examiner, † Cited by third party
Publication number Priority date Publication date Assignee Title
JPH1189144A (ja) * 1997-09-09 1999-03-30 Hitachi Ltd 永久磁石回転電機及びそれを用いた電動車両
JP2009153353A (ja) * 2007-12-21 2009-07-09 Aichi Elec Co 永久磁石回転機
JP2011147345A (ja) * 2011-04-25 2011-07-28 Denso Corp モータ

Family Cites Families (44)

* Cited by examiner, † Cited by third party
Publication number Priority date Publication date Assignee Title
IT1219228B (it) 1988-04-21 1990-05-03 Antonino Fratta Macchina elettrica sincrona a riluttanza dotata di mezzi di rifasamento intrinseco
IT1276487B1 (it) 1995-07-11 1997-10-31 Alfredo Vagati Motore elettrico sincrono a riluttanza con bassa ondulazione di coppia
JP2000050542A (ja) 1998-07-23 2000-02-18 Okuma Corp リラクタンスモータ
JP3411878B2 (ja) * 2000-03-06 2003-06-03 株式会社日立製作所 同期モータの回転子位置推定方法、位置センサレス制御方法及び制御装置
TW538578B (en) * 2000-09-13 2003-06-21 Sanyo Electric Co Synchronous motor with built-in type permanent magnet
WO2002031947A1 (en) 2000-10-12 2002-04-18 Matsushita Electric Industrial Co., Ltd. Electric motor
ITTO20010182A1 (it) 2001-03-02 2002-09-02 Fiat Ricerche Macchina elettrica di tipo sincrono.
JP2002291288A (ja) 2001-03-29 2002-10-04 Railway Technical Res Inst 永久磁石同期電動機及び多接点同時短絡接触器
US6684483B2 (en) * 2001-09-14 2004-02-03 General Motors Corporation Method of fabricating a rotor for an electric traction motor
TW561669B (en) * 2001-11-27 2003-11-11 Veutron Corp Step motor
JP3877620B2 (ja) * 2002-03-18 2007-02-07 三洋電機株式会社 集中巻式dcモータ及びそれを搭載したコンプレッサ
KR20050069055A (ko) 2003-12-30 2005-07-05 현대자동차주식회사 다층 매립형 영구자석 모터의 로터 구조
JP2005341655A (ja) 2004-05-24 2005-12-08 Denso Corp 磁石埋め込み式回転電機のロータ
KR100591338B1 (ko) 2004-08-26 2006-06-19 엘지전자 주식회사 영구자석 보조형 동기 릴럭턴스 모터 및 그 착자방법
JP4668721B2 (ja) * 2004-11-30 2011-04-13 日立オートモティブシステムズ株式会社 永久磁石式回転電機
CN100576701C (zh) * 2004-11-30 2009-12-30 株式会社日立制作所 永磁式旋转电机
US20070152527A1 (en) 2005-12-23 2007-07-05 Okuma Corporation Reluctance motor
JP2008136298A (ja) 2006-11-28 2008-06-12 Toyota Industries Corp 回転電機の回転子及び回転電機
JP4900132B2 (ja) 2007-08-08 2012-03-21 株式会社豊田自動織機 回転子及び回転電機
US20130181567A9 (en) 2007-08-28 2013-07-18 Brusa Elektronik Ag Hybrid synchronous motors and current-energized synchronous motors suitable for vehicle drives
WO2012004761A2 (en) 2010-07-09 2012-01-12 Brusa Elektronik Ag Laminated rotor for rotating electric machine, in particular for hybrid synchronous motor of vehicle drives
US8847522B2 (en) * 2008-11-14 2014-09-30 Denso Corporation Reluctance motor with improved stator structure
US7843100B2 (en) 2009-03-18 2010-11-30 Gm Global Technology Operations, Inc. Methods and apparatus for preventing demagnetization in interior permanent magnet machines
KR101021120B1 (ko) 2009-07-14 2011-03-14 한양대학교 산학협력단 고속모터용 회전자
JP2011083066A (ja) 2009-10-02 2011-04-21 Osaka Prefecture Univ 永久磁石補助形同期リラクタンスモータ
US20120181888A1 (en) * 2010-09-10 2012-07-19 Wisconsin Alumni Research Foundation Rotary electric machine rotor
JP5659031B2 (ja) 2011-02-02 2015-01-28 株式会社東芝 永久磁石式回転電機
JP2012178921A (ja) 2011-02-25 2012-09-13 Railway Technical Research Institute 永久磁石同期機
JP2012178922A (ja) 2011-02-25 2012-09-13 Railway Technical Research Institute 永久磁石同期機
KR101506417B1 (ko) * 2011-03-15 2015-03-26 미쓰비시덴키 가부시키가이샤 영구 자석식 회전 전기 기기
EP2509278B1 (en) * 2011-04-05 2018-09-19 BlackBerry Limited System and method for sip user agent identification and efficient binding
CN102780291A (zh) 2011-08-05 2012-11-14 珠海格力电器股份有限公司 电动机转子及具有其的电动机
JP5730736B2 (ja) * 2011-10-04 2015-06-10 日立オートモティブシステムズ株式会社 永久磁石式回転電機および永久磁石式回転電機を備えた車両
KR101251859B1 (ko) 2012-03-29 2013-04-10 한밭대학교 산학협력단 영구자석 매입형 동기 릴럭턴스 전동기의 설계 방법
US20140028139A1 (en) * 2012-07-26 2014-01-30 Colin Hamer Permanent magnet rotor with resin-covered magnet and lamination for thermal control
EP2752971B1 (en) 2013-01-03 2017-09-13 ABB Schweiz AG Rotor for an electric machine and electric machine including the same
JP5969946B2 (ja) * 2013-03-28 2016-08-17 東芝三菱電機産業システム株式会社 同期リラクタンスモータ
JP2014200150A (ja) 2013-03-29 2014-10-23 株式会社東芝 永久磁石式リラクタンス型回転電機
US10511198B2 (en) * 2013-05-01 2019-12-17 Hitachi Automotive Systems, Ltd. Rotary electrical machine, and rotor for rotary electrical machine
WO2015022803A2 (en) * 2013-08-14 2015-02-19 Yamaha Hatsudoki Kabushiki Kaisha Synchronous drive motor
US10205358B2 (en) 2014-04-12 2019-02-12 GM Global Technology Operations LLC Electric machine for a vehicle powertrain and the electric machine includes a permanent magnet
GB2529604B (en) 2014-05-23 2017-02-22 Technelec Ltd Synchronous reluctance machine
CN107852075B (zh) 2015-04-24 2019-07-02 株式会社东芝 同步磁阻电机
TW201728768A (zh) * 2016-02-10 2017-08-16 日新製鋼股份有限公司 永久磁鐵內嵌式馬達的轉子鐵芯用鋼板及其製造方法、永久磁鐵內嵌式馬達的轉子鐵芯以及永久磁鐵內嵌式馬達

Patent Citations (3)

* Cited by examiner, † Cited by third party
Publication number Priority date Publication date Assignee Title
JPH1189144A (ja) * 1997-09-09 1999-03-30 Hitachi Ltd 永久磁石回転電機及びそれを用いた電動車両
JP2009153353A (ja) * 2007-12-21 2009-07-09 Aichi Elec Co 永久磁石回転機
JP2011147345A (ja) * 2011-04-25 2011-07-28 Denso Corp モータ

Cited By (9)

* Cited by examiner, † Cited by third party
Publication number Priority date Publication date Assignee Title
US20210126514A1 (en) * 2018-07-13 2021-04-29 Siemens Aktiengesellschaft Robust material layers
US12046951B2 (en) * 2018-07-13 2024-07-23 Siemens Aktiengesellschaft Method for producing a magnetic material layer
WO2021171663A1 (ja) * 2020-02-27 2021-09-02 日本電産株式会社 ロータ、およびモータ
WO2021230056A1 (ja) * 2020-05-15 2021-11-18 日本電産株式会社 ロータ、モータ及び電気製品
CN113675968A (zh) * 2020-05-15 2021-11-19 日本电产株式会社 转子、马达和电气产品
CN113675968B (zh) * 2020-05-15 2023-10-31 日本电产株式会社 转子、马达和电气产品
US12445001B2 (en) 2020-05-15 2025-10-14 Nidec Corporation Rotor, motor, and electric product
CN113946946A (zh) * 2021-09-29 2022-01-18 浙江大学先进电气装备创新中心 一种考虑隔磁桥饱和的内置式永磁电机磁场解析方法
JP2025040678A (ja) * 2023-09-12 2025-03-25 本田技研工業株式会社 回転電機

Also Published As

Publication number Publication date
TW201826664A (zh) 2018-07-16
SG11201901268YA (en) 2019-03-28
EP3509190B1 (en) 2021-04-14
EP3509190A4 (en) 2020-04-08
CN109565198A (zh) 2019-04-02
TWI647897B (zh) 2019-01-11
EP3509190A1 (en) 2019-07-10
JP2018038181A (ja) 2018-03-08
US20190173336A1 (en) 2019-06-06
KR20190026017A (ko) 2019-03-12
KR102113055B1 (ko) 2020-05-20
US10530203B2 (en) 2020-01-07
JP6702550B2 (ja) 2020-06-03
CN109565198B (zh) 2020-10-23

Similar Documents

Publication Publication Date Title
JP6702550B2 (ja) 回転子およびリラクタンスモータ
KR102079486B1 (ko) 회전 전기
JP6781536B2 (ja) 永久磁石式回転子および永久磁石式回転電機
JP5757281B2 (ja) 回転電機のロータ
CN109716633B (zh) 转子以及磁阻马达
US8829758B2 (en) Rotary electric machine
JP5725202B2 (ja) 電動機
JP2015204715A (ja) 回転電機のロータ
JPWO2019215853A1 (ja) 回転電機の回転子構造
CN115336139A (zh) 旋转电机
JP2007068357A (ja) 回転電機の回転子及びそれを用いた回転電機
JP2016072995A (ja) 埋め込み磁石型ロータおよびそれを備えた電動機
JP7299531B2 (ja) 回転子、モータ
JP6357859B2 (ja) 永久磁石埋め込み式回転電機
JP2015073417A (ja) 磁石埋込式回転電機
WO2019181001A1 (ja) 回転電機
US20230179043A1 (en) Rotor and rotating electrical machine using same
JP6428458B2 (ja) 埋込磁石型モータ
JPWO2019102580A1 (ja) 永久磁石式回転電機
JP6440349B2 (ja) 回転電機
JP2012235608A (ja) 同期電動機
WO2025154392A1 (ja) スポーク型ロータおよびスポーク型モータ
KR20250154452A (ko) 로터 코어, 로터, 회전 전기 기계 및 로터 코어의 설계 방법
JP2023071285A (ja) 回転電機のロータ、及び回転電機

Legal Events

Date Code Title Description
121 Ep: the epo has been informed by wipo that ep was designated in this application

Ref document number: 17846090

Country of ref document: EP

Kind code of ref document: A1

ENP Entry into the national phase

Ref document number: 20197003937

Country of ref document: KR

Kind code of ref document: A

NENP Non-entry into the national phase

Ref country code: DE

ENP Entry into the national phase

Ref document number: 2017846090

Country of ref document: EP

Effective date: 20190401