WO2018016488A1 - 円筒状リング部材、軸受、クラッチ、車両、及び機械の製造方法 - Google Patents

円筒状リング部材、軸受、クラッチ、車両、及び機械の製造方法 Download PDF

Info

Publication number
WO2018016488A1
WO2018016488A1 PCT/JP2017/025975 JP2017025975W WO2018016488A1 WO 2018016488 A1 WO2018016488 A1 WO 2018016488A1 JP 2017025975 W JP2017025975 W JP 2017025975W WO 2018016488 A1 WO2018016488 A1 WO 2018016488A1
Authority
WO
WIPO (PCT)
Prior art keywords
chamfered
diameter cylindrical
manufacturing
cylindrical
regular
Prior art date
Legal status (The legal status is an assumption and is not a legal conclusion. Google has not performed a legal analysis and makes no representation as to the accuracy of the status listed.)
Ceased
Application number
PCT/JP2017/025975
Other languages
English (en)
French (fr)
Japanese (ja)
Inventor
浩平 森
俊一 唐澤
瑞希 渡邊
小林 一登
Current Assignee (The listed assignees may be inaccurate. Google has not performed a legal analysis and makes no representation or warranty as to the accuracy of the list.)
NSK Ltd
Original Assignee
NSK Ltd
Priority date (The priority date is an assumption and is not a legal conclusion. Google has not performed a legal analysis and makes no representation as to the accuracy of the date listed.)
Filing date
Publication date
Application filed by NSK Ltd filed Critical NSK Ltd
Priority to KR1020187032969A priority Critical patent/KR20180136487A/ko
Priority to CN201780032654.4A priority patent/CN109195726B/zh
Priority to US15/760,315 priority patent/US10213825B2/en
Priority to EP17831004.1A priority patent/EP3450046B1/en
Publication of WO2018016488A1 publication Critical patent/WO2018016488A1/ja
Anticipated expiration legal-status Critical
Ceased legal-status Critical Current

Links

Images

Classifications

    • BPERFORMING OPERATIONS; TRANSPORTING
    • B21MECHANICAL METAL-WORKING WITHOUT ESSENTIALLY REMOVING MATERIAL; PUNCHING METAL
    • B21KMAKING FORGED OR PRESSED METAL PRODUCTS, e.g. HORSE-SHOES, RIVETS, BOLTS OR WHEELS
    • B21K1/00Making machine elements
    • B21K1/04Making machine elements ball-races or sliding bearing races
    • BPERFORMING OPERATIONS; TRANSPORTING
    • B21MECHANICAL METAL-WORKING WITHOUT ESSENTIALLY REMOVING MATERIAL; PUNCHING METAL
    • B21KMAKING FORGED OR PRESSED METAL PRODUCTS, e.g. HORSE-SHOES, RIVETS, BOLTS OR WHEELS
    • B21K21/00Making hollow articles not covered by a single preceding sub-group
    • B21K21/08Shaping hollow articles with different cross-section in longitudinal direction, e.g. nozzles, spark-plugs
    • FMECHANICAL ENGINEERING; LIGHTING; HEATING; WEAPONS; BLASTING
    • F16ENGINEERING ELEMENTS AND UNITS; GENERAL MEASURES FOR PRODUCING AND MAINTAINING EFFECTIVE FUNCTIONING OF MACHINES OR INSTALLATIONS; THERMAL INSULATION IN GENERAL
    • F16CSHAFTS; FLEXIBLE SHAFTS; ELEMENTS OR CRANKSHAFT MECHANISMS; ROTARY BODIES OTHER THAN GEARING ELEMENTS; BEARINGS
    • F16C19/00Bearings with rolling contact, for exclusively rotary movement
    • F16C19/02Bearings with rolling contact, for exclusively rotary movement with bearing balls essentially of the same size in one or more circular rows
    • F16C19/04Bearings with rolling contact, for exclusively rotary movement with bearing balls essentially of the same size in one or more circular rows for radial load mainly
    • F16C19/06Bearings with rolling contact, for exclusively rotary movement with bearing balls essentially of the same size in one or more circular rows for radial load mainly with a single row or balls
    • FMECHANICAL ENGINEERING; LIGHTING; HEATING; WEAPONS; BLASTING
    • F16ENGINEERING ELEMENTS AND UNITS; GENERAL MEASURES FOR PRODUCING AND MAINTAINING EFFECTIVE FUNCTIONING OF MACHINES OR INSTALLATIONS; THERMAL INSULATION IN GENERAL
    • F16CSHAFTS; FLEXIBLE SHAFTS; ELEMENTS OR CRANKSHAFT MECHANISMS; ROTARY BODIES OTHER THAN GEARING ELEMENTS; BEARINGS
    • F16C33/00Parts of bearings; Special methods for making bearings or parts thereof
    • F16C33/30Parts of ball or roller bearings
    • F16C33/58Raceways; Race rings
    • F16C33/64Special methods of manufacture
    • BPERFORMING OPERATIONS; TRANSPORTING
    • B21MECHANICAL METAL-WORKING WITHOUT ESSENTIALLY REMOVING MATERIAL; PUNCHING METAL
    • B21JFORGING; HAMMERING; PRESSING METAL; RIVETING; FORGE FURNACES
    • B21J13/00Details of machines for forging, pressing, or hammering
    • B21J13/02Dies or mountings therefor
    • BPERFORMING OPERATIONS; TRANSPORTING
    • B21MECHANICAL METAL-WORKING WITHOUT ESSENTIALLY REMOVING MATERIAL; PUNCHING METAL
    • B21JFORGING; HAMMERING; PRESSING METAL; RIVETING; FORGE FURNACES
    • B21J5/00Methods for forging, hammering, or pressing; Special equipment or accessories therefor
    • B21J5/008Incremental forging
    • BPERFORMING OPERATIONS; TRANSPORTING
    • B21MECHANICAL METAL-WORKING WITHOUT ESSENTIALLY REMOVING MATERIAL; PUNCHING METAL
    • B21JFORGING; HAMMERING; PRESSING METAL; RIVETING; FORGE FURNACES
    • B21J5/00Methods for forging, hammering, or pressing; Special equipment or accessories therefor
    • B21J5/02Die forging; Trimming by making use of special dies ; Punching during forging
    • B21J5/025Closed die forging
    • BPERFORMING OPERATIONS; TRANSPORTING
    • B21MECHANICAL METAL-WORKING WITHOUT ESSENTIALLY REMOVING MATERIAL; PUNCHING METAL
    • B21KMAKING FORGED OR PRESSED METAL PRODUCTS, e.g. HORSE-SHOES, RIVETS, BOLTS OR WHEELS
    • B21K21/00Making hollow articles not covered by a single preceding sub-group
    • B21K21/12Shaping end portions of hollow articles
    • BPERFORMING OPERATIONS; TRANSPORTING
    • B23MACHINE TOOLS; METAL-WORKING NOT OTHERWISE PROVIDED FOR
    • B23PMETAL-WORKING NOT OTHERWISE PROVIDED FOR; COMBINED OPERATIONS; UNIVERSAL MACHINE TOOLS
    • B23P15/00Making specific metal objects by operations not covered by a single other subclass or a group in this subclass
    • B23P15/003Making specific metal objects by operations not covered by a single other subclass or a group in this subclass bearings
    • FMECHANICAL ENGINEERING; LIGHTING; HEATING; WEAPONS; BLASTING
    • F16ENGINEERING ELEMENTS AND UNITS; GENERAL MEASURES FOR PRODUCING AND MAINTAINING EFFECTIVE FUNCTIONING OF MACHINES OR INSTALLATIONS; THERMAL INSULATION IN GENERAL
    • F16CSHAFTS; FLEXIBLE SHAFTS; ELEMENTS OR CRANKSHAFT MECHANISMS; ROTARY BODIES OTHER THAN GEARING ELEMENTS; BEARINGS
    • F16C2220/00Shaping
    • F16C2220/40Shaping by deformation without removing material
    • F16C2220/46Shaping by deformation without removing material by forging

Definitions

  • the present invention relates to an improvement in a method of manufacturing a cylindrical ring member, a bearing, a clutch, a vehicle, and a machine.
  • the cylindrical ring member is a material for producing an inner ring and an outer ring constituting, for example, a radial rolling bearing or a one-way clutch.
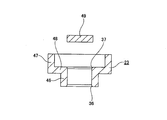
  • a radial ball bearing 1 as shown in FIG. 10 is incorporated in the rotation support portion of various rotating devices.
  • the radial ball bearing 1 is a single row deep groove type.
  • the radial ball bearing 1 includes an outer ring 2 and an inner ring 3 arranged concentrically with each other, and a plurality of balls 4 and 4 installed between the outer ring 2 and the inner ring 3.
  • a deep groove type outer ring raceway 5 is formed over the entire circumference in the axially intermediate portion of the inner circumferential surface of the outer ring 2.
  • a deep groove type inner ring raceway 6 is formed over the entire circumference in the axially intermediate portion of the outer circumferential surface of the inner ring 3.
  • Each ball 4, 4 is arranged between the outer ring raceway 5 and the inner ring raceway 6 so as to roll freely while being held by the cage 7. With this configuration, the outer ring 2 and the inner ring 3 can be freely rotated relative to each other.
  • Chamfered portions 75 and 75 having a circular arc shape or a linear cross-sectional shape are provided on both inner and outer peripheral edge portions of both axial end surfaces of the outer ring 2 and the inner ring 3 constituting the radial ball bearing 1.
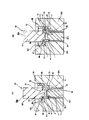
  • the race rings such as the outer ring 2 and the inner ring 3 constituting the radial ball bearing 1 as described above at a low cost.
  • an upsetting process for crushing the billet 8 in the axial direction is performed in a state where the outer diameter of the lower end portion of the billet 8 shown in FIG.
  • the first intermediate material 11 composed of the small diameter portion 9 and the large diameter portion 10 as shown in FIG. 11B is formed.
  • the third intermediate material 15 is punched, and the bottom plate portion 16 of the third intermediate material 15 is punched to obtain the fourth intermediate material 17 shown in FIG.
  • the fourth intermediate material 17 is punched, and a portion corresponding to the small diameter cylindrical portion 12 is punched out from the fourth intermediate material 17 to obtain the small diameter cylindrical ring member 18 and To do.
  • the inward flange portion 19 is punched out from the portion corresponding to the large diameter cylindrical portion 14 to obtain a large diameter cylindrical ring member 20.
  • the small-diameter cylindrical ring member 18 and the large-diameter cylindrical ring member 20 obtained by the above-described processes are materials for the outer ring 2 or the inner ring 3, and in this state, the inner diameter dimension, the outer diameter dimension, the shaft The direction dimension and the shape of the inner and outer peripheral surfaces are not the size and shape of the outer ring 2 or the inner ring 3. Accordingly, the outer ring 2 and the inner ring 3 are subjected to appropriate post-processing such as rolling, cutting, grinding, and appropriate heat treatment on the small-diameter cylindrical ring member 18 and the large-diameter cylindrical ring member 20. To do.
  • each R chamfered portion is formed on the peripheral edge (inner peripheral edge or outer peripheral edge) in the axial direction of the small diameter cylindrical portion 12 or the large diameter cylindrical portion 14. That is, in the case of the conventional method described in Patent Document 1, the peripheral edge, which is a sharp edge, of the axial end faces of the small diameter cylindrical portion 12 and the large diameter cylindrical portion 14 is the first to the R chamfered surface. There is a possibility of touching (pressing).
  • a sleeve as a movable member is arranged on the inner diameter side or outer diameter side of the mold provided with the R chamfered surface so that the intermediate material can be easily taken out from the mold apparatus.
  • a metal material may enter between the peripheral surfaces of the mold and the sleeve, and burrs may be formed in the portion.
  • the present invention was invented to realize a manufacturing method capable of improving the shape accuracy of the chamfered portion formed on the peripheral edge of the cylindrical portion in the axial direction.
  • the manufacturing method of the cylindrical ring member of the first aspect forms an intermediate material (including an intermediate material consisting only of the cylindrical portion) having a cylindrical portion by, for example, performing plastic working on a cylindrical material made of metal. And a chamfering process by cold forging. Specifically, the axial end portion of the cylindrical portion is pressed by pressing the radial end portion of the axial end surface of the cylindrical portion against an annular chamfering surface provided in a mold constituting the mold apparatus. A regular chamfer is formed at the periphery.
  • the width dimension in the radial direction is larger than the width dimension in the radial direction of the regular chamfered portion.
  • the mold apparatus may further include a second mold having an annular restraining surface arranged coaxially with the chamfered surface and adjacent in the radial direction. Then, in the chamfering process by cold forging, the radial end portion of the axial end surface of the cylindrical portion is pressed against the chamfered processing surface in the axial direction, and the radial end portion and the diameter of the axial end surface are pressed. You may carry out by pressing the part adjacent to a direction to an axial direction with respect to the said restraining surface. Then, when performing the chamfering process by cold forging, the holding surface is first brought into contact with the radial intermediate portion of the axial end surface of the cylindrical portion (the portion radially removed from the spare chamfered portion). You may let them.
  • the holding surface is closer to the axial end face of the cylindrical portion in the axial direction than the chamfered surface of the mold.
  • positioning you may make the said suppression surface contact the radial direction intermediate part of the axial direction end surface of the said cylindrical part first.
  • the axial position of the restraining surface and the axial end edge of the chamfered surface of the mold may coincide.
  • a process for forming the preliminary chamfered part and a process for forming another part performed in the process of obtaining the intermediate material are simultaneously performed by cold forging (in one step). You may go.
  • the regular chamfered portion and the spare chamfered portion may each be an R chamfered portion having an arc shape in cross section.
  • the radius of curvature of the spare chamfered portion may be larger than the radius of curvature of the regular chamfered portion.
  • the shape precision of the chamfering part (regular chamfering part) formed in the axial direction edge part periphery of a cylindrical part can be made favorable. That is, in the state in which a spare chamfered portion having a radial width dimension larger than a radial width dimension of a regular chamfered portion is formed on the peripheral edge of the axial end portion of the cylindrical portion, the shaft of the cylindrical portion is formed.
  • the regular chamfered portion is formed on the peripheral edge in the axial direction of the cylindrical portion by pressing the radial end portion of the directional end surface against the chamfered surface.
  • the restraining surface is first brought into contact with the radial intermediate portion of the axial end surface of the cylindrical portion. For this reason, the state that the metal material enters between the peripheral surfaces of the mold having the chamfered surface and the second mold having the restraining surface to form burrs, Can be difficult to generate.
  • the processing for forming the spare chamfered portion is performed simultaneously with the processing for forming another portion, the manufacturing cost by forming the spare chamfered portion is achieved. Can be suppressed.
  • FIG. 1A and 1B are cross-sectional views illustrating a first step of a first example of the embodiment.
  • 2A and 2B are cross-sectional views illustrating a second step of the first example of the embodiment.
  • 4A and 4B are cross-sectional views illustrating a fourth step of the first example of the embodiment.
  • 5A is an enlarged view of a portion A in FIG. 4A
  • FIG. 5B is an enlarged view of a portion B in FIG. 4B.
  • 6 (A) and 6 (B) are enlarged views similar to FIG. 5.
  • FIG. 6 (A) shows an intermediate stage of the fourth step relating to the comparative example
  • FIG. 6 (B) shows its end stage. (B) is shown.
  • Sectional drawing which shows the 1st process of the 2nd example of embodiment.
  • Sectional drawing which shows the 2nd process of the 2nd example of embodiment.
  • 9A and 9B are cross-sectional views illustrating a third step of the second example of the embodiment.
  • the partially cut perspective view which shows an example of the rolling bearing incorporating the outer ring and the inner ring.
  • FIGS. 11A to 11G are sectional views showing an example of a conventional method for forming a pair of cylindrical ring members having different diameters from a columnar billet in the order of steps.
  • FIGS. 1A A first example of an embodiment of the present invention will be described with reference to FIGS.
  • the columnar billet 8 as shown in FIG. 1A is used as the first intermediate material 21 as shown in FIG.
  • the first intermediate material 21 is changed to a second intermediate material 22 as shown in FIG.
  • the second intermediate material 22 is changed to a third intermediate material 23 as shown in FIG.
  • the fourth step the third intermediate material 23 is changed to a fourth intermediate material 24 as shown in FIG.
  • the fourth intermediate material 24 is punched as shown in FIG. 11 (F) ⁇ (G), for example, and each has a cylindrical shape with a different diameter.
  • the cylindrical ring member 18 and the large-diameter cylindrical ring member 20 are used.
  • the vertical direction means the vertical direction of FIGS.
  • the vertical direction in FIGS. 1 to 6 does not necessarily coincide with the vertical direction during processing.
  • the mold apparatus 25 includes a die 26, a die spin 27, and a punch 28.
  • the die 26 has a stepped cylindrical inner peripheral surface. That is, the inner peripheral surface of the die 26 is orthogonal to the central axes of the lower small-diameter cylindrical surface portion 29 and the upper large-diameter cylindrical surface portion 30, and the small-diameter cylindrical surface portion 29 and the large-diameter cylindrical surface portion 30 that are arranged coaxially with each other.
  • a stepped cylindrical shape having an annular step portion 31.
  • the small-diameter cylindrical surface portion 29 and the large-diameter cylindrical surface portion 30 are continuous by the step portion 31.
  • the inner diameter of the small-diameter cylindrical surface portion 29 is substantially the same size as the outer diameter of the billet 8 (a size that allows the billet 8 to be fitted inside without shaking in the radial direction).
  • the die spin 27 is cylindrical.
  • the die spin 27 is fitted from the lower end portion of the small-diameter cylindrical surface portion 29 of the center hole of the die 26 to the intermediate portion without any radial play.
  • the central portion in the radial direction of the upper end surface of the die spin 27 is a circular flat surface orthogonal to the central axis, and the outer radial end portion of the upper end surface of the die spin 27 is parallel to the circular flat surface and the circular shape. It is an annular flat surface arranged slightly below the flat surface. Further, a portion of the upper end surface of the die spin 27 located between the two flat surfaces in the radial direction is a first preliminary R chamfered surface 32.
  • the first preliminary R chamfered surface 32 is inclined in the upward direction as it goes radially inward, has an annular shape, and has a quarter concave arc shape in cross section.
  • the radius of curvature R 1 of the cross-sectional shape of the first preliminary R-chamfered surface 32 is larger than the radius of curvature r 1 of the cross-sectional shape of the first regular R-chamfered surface 55 described later (R 1 > r 1 ).
  • the punch 28 is formed in a cylindrical shape.
  • the punch 28 is inserted from above into the large-diameter cylindrical surface portion 30 of the center hole of the die 26, and is fitted into the large-diameter cylindrical surface portion 30 with no radial backlash.
  • the radially central portion of the lower end surface of the punch 28 is a circular flat surface orthogonal to the central axis, and the radially outer end portion of the lower end surface of the punch 28 is parallel to the circular flat surface and the circular shape. It is an annular flat surface disposed slightly above the flat surface.
  • a portion sandwiched between the two flat surfaces in the radial direction is a second preliminary R chamfered surface 33.
  • the second preliminary R chamfered surface 33 is inclined downward as it goes radially inward, has an annular shape, and has a quarter concave arc shape in cross section.
  • the curvature radius R 2 of the cross-sectional shape of the second preliminary R chamfering surface 33 is larger than the curvature radius r 2 of the cross-sectional shape of the second regular R chamfering surface 60 described later (R 2 > r 2 ).
  • the inner and outer diameters of the first and second spare R chamfered surfaces 32 and 33, and the curvature radii R 1 and R 2 of the cross-sectional shape are the first and second spare R chamfers.
  • the processing surfaces 32 and 33 have the same size.
  • the billet 8 is attached to the mold device 25 as shown in FIG. set. Specifically, before the punch 28 is inserted into the inside of the center hole of the die 26, the lower end portion of the billet 8 is inserted into the upper end portion of the small-diameter cylindrical surface portion 29 of the center hole of the die 26 without any radial backlash. By fitting, the outer diameter of the lower end part of the billet 8 is restrained. At the same time, the billet 8 is placed on the upper end surface of the die spin 27 (the lower end surface of the billet 8 is abutted against a flat surface provided at the center of the upper end surface of the die spin 27).
  • the punch 28 is inserted from above into the inside of the large-diameter cylindrical surface portion 30 of the center hole, and a flat surface provided at the center of the lower end surface of the punch 28 is abutted against the upper end surface of the billet 8. .
  • the punch 28 is further lowered, and the billet 8 is crushed in the axial direction between the lower end surface of the punch 28 and the upper end surface of the die spin 27. Then, the billet 8 is plastically deformed as shown in FIGS. 1A to 1B to become the first intermediate material 21 including the small diameter portion 34 and the large diameter portion 35.
  • the outer diameter of the small diameter portion 34 of the first intermediate material 21 is equal to the inner diameter of the small diameter cylindrical surface portion 29 of the center hole of the die 26, and the outer diameter of the large diameter portion 35 of the first intermediate material 21 is equal to that of the die 26. It is equal to the inner diameter of the large-diameter cylindrical surface portion 30 of the center hole.
  • the lower end surface of the small diameter portion 34 of the first intermediate material 21 is processed into a shape that matches the upper end surface of the die spin 27.
  • the portion of the first intermediate material 21 in the radial direction at the lower end surface of the small-diameter portion 34 that coincides with the first preliminary R chamfered surface 32 has a first preliminary R whose sectional shape is 1/4 convex arc shape.
  • a chamfer 36 is formed.
  • the radius of curvature of the cross-sectional shape of the first preliminary R chamfered portion 36 is also R 1 as with the first preliminary R chamfered surface 32.
  • the cross-sectional shape of the first preliminary R chamfered portion 36 is a 1 ⁇ 4 convex arc shape, the radial dimension (and the axial direction) of the first preliminary R chamfered portion 36 is also R 1 .
  • the upper end surface of the large diameter portion 35 of the first intermediate material 21 is processed into a shape that matches the lower end surface of the punch 28.
  • a portion of the intermediate portion in the radial direction of the upper end surface of the large-diameter portion 35 of the first intermediate material 21 that coincides with the second preliminary R chamfering surface 33 has a second preliminary arc shape having a quarter convex arc shape.
  • An R chamfer 37 is formed.
  • the radius of curvature of the cross-sectional shape of the second preliminary R chamfered portion 37 is also R 2 as with the second preliminary R chamfered surface 33.
  • the sectional shape of the second preliminary R chamfered portion 37 for a 1/4 convex circular arc shape, the width dimension in the radial direction of the second preliminary R chamfer 37 (and axial) are also R 2.
  • Such a first intermediate material 21 is taken out of the die 26 by, for example, raising the die spin 27 after raising the punch 28 and sending it to the next second step.
  • the first and second spare R chamfers 36 and 37 correspond to spare chamfers, respectively.
  • the mold apparatus 38 includes a floating die 39, a counter punch 40, and a punch 28a.
  • the floating die 39 has a stepped cylindrical inner peripheral surface. That is, the inner peripheral surface of the floating die 39 is orthogonal to the central axis of the lower small-diameter cylindrical surface portion 41 and the upper large-diameter cylindrical surface portion 42, and the small-diameter cylindrical surface portion 41 and the large-diameter cylindrical surface portion 42, which are arranged coaxially with each other. It is a stepped cylindrical shape having a ring-shaped stepped portion 43. The small-diameter cylindrical surface portion 41 and the large-diameter cylindrical surface portion 42 are continuous by the step portion 43. A stopper 44 is provided below the floating die 39 to limit the lowering amount of the floating die 39.
  • an elastic member 45 such as a compression coil spring or a disc spring is provided between the lower end surface of the floating die 39 and the upper surface of the stopper 44 to give the floating die 39 elasticity upward. This elasticity is smaller than the pressing force of the punch 28a, but is large enough to plastically deform a part of the first intermediate material 21.
  • the counter punch 40 is made in a columnar shape.
  • the counter punch 40 is provided coaxially with the small diameter cylindrical surface portion 41 inside the small diameter cylindrical surface portion 41 of the central hole of the floating die 39.
  • the outer diameter of the counter punch 40 is smaller than the inner diameter of the small-diameter cylindrical surface portion 41, and is substantially the same as the inner diameter of the first preliminary R chamfered portion 36 in the lower end surface of the small-diameter portion 34 of the first intermediate material 21. It has become.
  • the entire upper end surface of the counter punch 40 is a flat surface perpendicular to the central axis of the counter punch 40.
  • the punch 28a is made in a columnar shape.
  • the punch 28 a is inserted from above into the large-diameter cylindrical surface portion 42 of the central hole of the floating die 39, and is provided coaxially with the large-diameter cylindrical surface portion 42.
  • the outer diameter of the punch 28a is the inner diameter of the small-diameter cylindrical surface portion 41 of the center hole of the floating die 39 (and the outer diameter of the second preliminary R chamfered portion 37 provided on the upper end surface of the large-diameter portion 35 of the first intermediate material 21). Larger than the inner diameter of the large-diameter cylindrical surface portion 42 (and the outer diameter of the large-diameter portion 35 of the first intermediate material 21).
  • the lower end surface of the punch 28 a is a ring-shaped member provided on the radially outer end portion (the second preliminary R chamfered portion 37 on the radially outer side) of the upper end surface of the large-diameter portion 35 of the first intermediate material 21. It has a shape that substantially matches the portion excluding the radially outer half of the flat surface.
  • first intermediate material 21 is subjected to the front-rear extrusion process by the cold forging as described above by such a mold apparatus 38, as shown in FIG. 1st intermediate material 21 is set to. Specifically, before the punch 28 a is inserted inside the center hole of the floating die 39, the small diameter portion 34 of the first intermediate material 21 is radially bent against the small diameter cylindrical surface portion 41 of the center hole of the floating die 39. The large-diameter portion 35 of the first intermediate material 21 is fitted into the large-diameter cylindrical surface portion 42 of the center hole of the floating die 39 without rattling in the radial direction.
  • the first intermediate material 21 is placed on the step portion 43 of the center hole of the floating die 39 (the lower surface of the radially outer end portion of the large diameter portion 35 is abutted against the step portion 43).
  • a circular flat surface existing on the radially inner side of the first preliminary R chamfered portion 36 is abutted against the upper end surface of the counter punch 40.
  • the punch 28a is inserted from above into the large-diameter cylindrical surface portion 42 of the center hole of the floating die 39, and the lower end surface of the punch 28a is inserted into the upper surface of the large-diameter portion 35 of the first intermediate material 21. Of these, it abuts so as to match with the portion excluding the radially outer end.
  • the punch 28a is further lowered, and the radial central portion of the first intermediate material 21 is crushed in the axial direction between the lower end surface of the punch 28a and the upper end surface of the counter punch 40.
  • the metal material pushed outward in the radial direction by this crushing is the small diameter cylindrical surface portion 41 of the outer peripheral surface of the counter punch 40 and the central hole of the floating die 39.
  • the second intermediate material 22 as shown in FIG.
  • the second intermediate material 22 includes a lower small-diameter cylindrical portion 46, an upper large-diameter cylindrical portion 47, an upper end outer peripheral surface of the small-diameter cylindrical portion 46, and a lower-end portion of the large-diameter cylindrical portion 47 arranged coaxially with each other.
  • An annular connecting portion 48 that connects the peripheral surface and a disc-shaped bottom plate portion 49 that closes the upper end opening of the small-diameter cylindrical portion 46 are provided.
  • a first preliminary R chamfered portion 36 is disposed at the radially inner end of the lower end surface of the small diameter cylindrical portion 46, and a second preliminary R chamfered portion 37 is disposed at the radially inner end of the upper end surface of the small diameter cylindrical portion 46. Is done.
  • the second intermediate material 22 can be machined with high accuracy by lowering the punch 28a so that it does not fall any further (until the metal material fills the processing cavity).
  • the second intermediate material 22 is taken out of the floating die 39 by raising the counter punch 40, and sent to the next third step.
  • the second intermediate material 22 is punched, and the bottom plate portion 49 of the second intermediate material 22 is punched to obtain the third intermediate material 23 shown in FIG.
  • the punching direction of the bottom plate portion 49 is set upward, but the punching direction may be set downward.
  • the third intermediate material 23 as described above is taken out from the device for punching and sent to the next fourth step.
  • the third intermediate material 23 is processed by cold forging using a die device 50 as shown in FIGS. 4 to 5 to change the shape and dimensions of the small diameter cylindrical portion 46 of the final product.
  • the fourth intermediate material 24 is made close to the shape and size.
  • this fourth step corresponds to a chamfering step by cold forging.
  • the mold apparatus 50 used in the fourth step includes a die 26a, a sleeve 51, a die spin 27a, and a punch 28b.
  • the die 26a has a stepped cylindrical inner peripheral surface. That is, the inner peripheral surface of the die 26a is orthogonal to the central axes of the lower small-diameter cylindrical surface portion 29a and the upper large-diameter cylindrical surface portion 30a, and the small-diameter cylindrical surface portion 29a and the large-diameter cylindrical surface portion 30a, which are arranged coaxially.
  • a stepped cylindrical shape having an annular step portion 31a.
  • the small-diameter cylindrical surface portion 29a and the large-diameter cylindrical surface portion 30a are continuous by the step portion 31a.
  • the sleeve 51 corresponding to the second mold is made in a cylindrical shape.
  • the sleeve 51 is fitted in from the lower end portion of the small-diameter cylindrical surface portion 29a of the center hole of the die 26a to the intermediate portion without rattling in the radial direction.
  • the inner diameter of the sleeve 51 is larger than the inner diameter of the small diameter cylindrical portion 46 of the third intermediate material 23, and is larger than the outer diameter of the first preliminary R chamfered portion 36 provided at the inner peripheral edge of the lower end portion of the small diameter cylindrical portion 46. Is slightly smaller.
  • the upper end surface of the sleeve 51 is an annular holding surface 52 orthogonal to the central axis of the sleeve 51.
  • the die spin 27a which corresponds to a mold, is formed in a stepped column shape.
  • the die spin 27a is fitted into the sleeve 51 without any radial play.
  • the die spin 27a includes a small-diameter cylindrical portion 53 located at the upper end portion and a large-diameter cylindrical portion 54 located from the lower end portion to the intermediate portion, which are arranged coaxially with each other.
  • the outer peripheral surfaces of both the small-diameter and large-diameter cylindrical portions 53 and 54 are made continuous by a first regular R chamfered surface 55 corresponding to a chamfered surface.
  • the first regular R chamfered surface 55 is an annular surface that is inclined in the upward direction as it goes inward in the radial direction and has a 1/4 concave arc shape in cross section.
  • the curvature radius r 1 of the cross-sectional shape of the first regular R chamfering surface 55 is larger than the curvature radius R 1 of the cross-sectional shape of the first preliminary R chamfering surface 32 (first preliminary R chamfered portion 36). It becomes smaller (r 1 ⁇ R 1 ).
  • the cross-sectional shape of the first regular R chamfered surface 55 is a 1/4 concave arc shape
  • the radial dimension (and the axial direction) of the first regular R chamfered surface 55 is also r 1 . Therefore, in the case of this example, the radial dimension (and axial direction) R 1 of the first preliminary R chamfer 36 is also the radial dimension (and axial direction) of the first regular R chamfered surface 55. It is larger than 1 .
  • the first regular R chamfered surface 55 of the die spin 27 a is a restraining surface which is the upper end surface of the sleeve 51 in a state where the large-diameter cylindrical portion 54 of the die spin 27 a is fitted into the sleeve 51 without rattling in the radial direction. 52 is arranged adjacent to the inside in the radial direction.
  • the punch 28b corresponding to the mold constituting the mold apparatus is formed in a stepped columnar shape.
  • the punch 28b is inserted from above into the large-diameter cylindrical surface portion 30a of the center hole of the die 26a, and is provided coaxially with the large-diameter cylindrical surface portion 30a.
  • the punch 28b includes a small-diameter cylindrical portion 56 positioned at the lower end portion and a large-diameter cylindrical portion 57 positioned from the upper end portion to the intermediate portion, which are arranged coaxially with each other.
  • the outer peripheral surfaces of both the small-diameter and large-diameter cylindrical portions 56 and 57 are made continuous by the step portion 58.
  • a portion excluding the radially inner end portion of the stepped portion 58 is an annular pressing surface 59 that is orthogonal to the central axis.
  • the radially inner end of the stepped portion 58 is a second regular R chamfered surface 60 corresponding to the chamfered surface.
  • the second regular R chamfered surface 60 is an annular surface having a 1/4 concave arc shape in cross section, which is inclined downward as it goes radially inward.
  • the curvature radius r 2 of the cross-sectional shape of the second regular R chamfering surface 60 is larger than the curvature radius R 2 of the cross-sectional shape of the second preliminary R chamfering surface 33 (second preliminary R chamfered portion 37). It is smaller (r 2 ⁇ R 2 ).
  • the cross-sectional shape of the second regular R chamfered surface 60 for a 1/4 recessed circular shape, the width dimension in the radial direction of the second regular R chamfered surface 60 (and axial) are also r 2.
  • the radial dimension (and axial direction) width dimension R 2 of the second preliminary R chamfered portion 37 is also the radial dimension (and axial direction) width dimension r of the second regular R chamfered surface 60. It is larger than 2 . Further, the outer diameter of the large-diameter column portion 57 (the outer diameter of the pressing surface 59) is smaller than the large-diameter cylindrical surface portion 30a of the central hole, and is substantially the same as the inner diameter of the small-diameter cylindrical surface portion 29a of the central hole. It has become.
  • the third intermediate material 23 is set in the mold apparatus 50. Specifically, before inserting the punch 28b into the inside of the center hole of the die 26a, the small diameter cylindrical portion 46 of the third intermediate material 23 is swayed in the radial direction against the small diameter cylindrical surface portion 29a of the center hole of the die 26a. The large-diameter cylindrical portion 47 is fitted into the large-diameter cylindrical surface portion 30a of the center hole of the die 26a without any radial play, and the third intermediate material 23 is placed on the step portion 31a (step).
  • the lower surface of the large-diameter cylindrical portion 47 and the connecting portion 48 is abutted against the portion 31a).
  • a portion adjacent to the outer side in the radial direction with respect to the first preliminary R chamfered portion 36 is included in the holding surface 52 that is the upper end surface of the sleeve 51. , It is brought into contact with a portion closer to the inner end in the radial direction (a portion closer to the outer side in the radial direction than the inner edge in the radial direction).
  • the first regular R chamfered surface 55 provided on the die spin 27 a is not in contact with the first preliminary R chamfered portion 36 provided at the radially inner end of the lower end surface of the small diameter cylindrical portion 46. Instead, they are close to each other in the axial direction. Then, in this state, the punch 28b is inserted from above into the large-diameter cylindrical surface portion 30a of the center hole of the die spin 27a, and the small-diameter column portion 56 of the punch 28b is inserted radially into the upper end portion of the small-diameter cylindrical portion 46. It fits in without being rattled.
  • the pressing surface 59 is abutted against a portion of the upper end surface of the small diameter cylindrical portion 46 adjacent to the radially outer side of the second preliminary R chamfered portion 37.
  • the second regular R chamfered surface 60 of the stepped portion 58 is not in contact with the second preliminary R chamfered portion 37 provided at the radially inner end of the upper end surface of the small diameter cylindrical portion 46. Instead, they are close to each other in the axial direction.
  • the holding surface 52 that is the upper end surface of the sleeve 51 is slightly smaller than the lower end edge (radially outer end edge) of the first regular R chamfering surface 55 (dimension X It is located on the upper side.
  • the reason for this is as follows. That is, in the case of this example, after finishing the fourth process described below, after the punch 28b is raised, only the sleeve 51 out of the die 26a, the sleeve 51, and the die spin 27a is raised, The workpiece (fourth intermediate material 24) is discharged from the die 26a.
  • the sleeve 51 is separate from the die 26a and the die spin 27a and is a movable part that can be displaced in the vertical direction (axial direction) with respect to the die 26a and the die spin 27a.
  • the sleeve 51 which is such a movable part is slightly (dimension X) due to elastic deformation of the movable mechanism due to the downward pressure applied from the small diameter cylindrical portion 46 when the fourth process described below is performed. Is displaced downwards only.
  • the holding surface 52 is positioned above the lower end edge of the first regular R chamfering surface 55 by the amount of the downward displacement (dimension X). Thereby, the vertical position of the restraining surface 52 and the lower end edge of the first regular R chamfering surface 55 is made to coincide with each other at the completion stage of the fourth process described below.
  • the pressing surface 59 and the second regular R chamfering surface 60 are pressed against the upper end surface of the small diameter cylindrical portion 46 in the axial direction, and the holding surface 52 and the first regular R chamfering surface 55 are pressed against the small diameter cylindrical portion. Press axially against the lower end face of 46.
  • the second regular R chamfered portion 62 is formed at the radially inner end (inner peripheral edge), which is the portion where the second regular R chamfered surface 60 is pressed, of the upper end surface of the small diameter cylindrical portion 46.
  • the shape of the second regular R chamfered portion 62 matches the second regular R chamfered surface 60, and the cross-sectional shape thereof is a 1 ⁇ 4 convex arc shape. That is, the radius of curvature of the cross-sectional shape of the second regular R chamfered portion 62 is r 2 as with the second regular R chamfered surface 60.
  • the first regular R chamfered portion 61 is formed at the radially inner end (inner peripheral edge), which is the portion pressed against the first regular R chamfered surface 55 of the lower end surface of the small diameter cylindrical portion 46. To do.
  • the shape of the first regular R chamfered portion 61 matches the first regular R chamfered surface 55, and the cross-sectional shape thereof is a 1 ⁇ 4 convex arc shape. That is, the radius of curvature of the cross section of the first regular R chamfer 61 is r 1 as with the first regular R chamfered surface 55.
  • the restraining surface 52 is slightly displaced downward based on the downward pressure applied from the small diameter cylindrical portion 46 with the processing of the fourth step. Then, at the end of this processing, the vertical positions of the holding surface 52 and the lower edge of the first regular R chamfered processing surface 55 coincide.
  • the first and second regular R chamfers 61 and 62 correspond to regular chamfers, respectively.
  • the fourth intermediate material 24 obtained in this manner is punched for punching the small diameter cylindrical portion 46 (separating the small diameter and large diameter cylindrical portions 46 and 47), and punching for removing the connecting portion 48.
  • the outer ring 2 and the inner ring 3 (see FIG. 10) constituting the radial ball bearing 1 are manufactured by performing post-processing such as machining and grinding or cutting.
  • the width dimension R 1 (R 2 ) in the radial direction (and axial direction) is the first regular R chamfering process on the inner peripheral edge of both ends (upper and lower ends) of the small diameter cylindrical portion 46.
  • the fourth process as described above is performed. That is, by pressing the radially inner end of the lower end surface (upper end surface) of the small diameter cylindrical portion 46 against the first regular R chamfering surface 55 (second normal R chamfering surface 60), the shaft of the small diameter cylindrical portion 46 is pressed.
  • the first regular R chamfered portion 61 (second regular R chamfered portion 62) is formed on the inner peripheral edge of each direction end.
  • a sharp edge is a chamfered surface having a circular cross section (the first regular R chamfered surface 55 or the second regular R chamfered surface).
  • the first contact with the surface 60) can be avoided.
  • the first and second regular R chamfered portions 61 and 62 are formed by cold forging, the flow of the meat (material) of the third intermediate material 23 at the inner peripheral edges of both ends in the axial direction of the small-diameter cylindrical portion 46.
  • the first regular R chamfer 61 and the second regular R chamfer 62 formed on the inner peripheral edge of the upper and lower ends of the small diameter cylindrical portion 46 can be improved.
  • the portion closer to the radially inner end (the portion deviated from the radially inner end edge than the radially inner end edge).
  • the portion slightly closer to the outside in the radial direction first contacts the radial intermediate portion of the lower end surface of the small-diameter cylindrical portion 46 (the portion located radially outside the outer peripheral edge of the first preliminary R chamfer 36).
  • the first preliminary R chamfered portion 36 which is the portion facing the first regular R chamfered surface 55 in the axial direction, is more than the virtual plane including the restraining surface 52. Located on the upper side.
  • the restraining surface 52 is displaced downward based on the pressure applied from the small diameter cylindrical portion 46.
  • the inner peripheral edge of the lower end (the portion where the first preliminary R chamfered portion 36 is formed) can hardly flow toward the lower side of the virtual plane including the holding surface 52.
  • a part of this meat is inside the boundary between the restraining surface 52 and the first regular R chamfered surface 55 (the inner peripheral surface of the sleeve 51 and the large-diameter cylindrical portion 54 of the die spin 27a). It is possible to prevent the formation of burrs.
  • the entire lower end surface of the small diameter cylindrical portion 46a is orthogonal to the axial direction without forming the first preliminary R chamfered portion 36 in advance at the inner peripheral edge of the lower end portion of the small diameter cylindrical portion 46a.
  • the inner peripheral edge, which is a sharp edge, of the lower end surface of the small diameter cylindrical portion 46a may first come into contact with the first regular R chamfered processing surface 55. Then, as the processing of the fourth process described above progresses, the small diameter is reduced as shown in FIG. 6A in the process in which the holding surface 52 is displaced downward based on the pressure applied from the small diameter cylindrical portion 46a.
  • a stepped surface (between the first regular R chamfered surface 55 and the restraining surface 52) is formed on the inner peripheral edge of the lower end portion of the cylindrical portion 46a and flows below the virtual plane including the restraining surface 52. There is a possibility of contacting the upper end 63 of the inner peripheral surface of the sleeve 51.
  • the processing for forming both the first and second spare R chamfered portions 36 and 37 is the processing for forming the small diameter portion 34 and the large diameter portion 35 in the first step. Going at the same time. Therefore, an increase in manufacturing cost due to the formation of the first and second spare R chamfers 36 and 37 in advance can be suppressed.
  • FIGS. 7 to 9 A second example of the embodiment of the present invention will be described with reference to FIGS. This example will also be described below in the order of steps.
  • the vertical direction means the vertical direction of FIGS.
  • the vertical direction in FIGS. 7 to 9 does not necessarily coincide with the vertical direction during processing.
  • first step the fourth intermediate material 24 obtained in the fourth step of the first example of the embodiment described above is punched by a mold device 65 as shown in FIG. Then, a portion corresponding to the small diameter cylindrical portion 46 is punched out from the fourth intermediate material 24 to obtain a small diameter cylindrical ring member 18a.
  • the mold apparatus 65 used in such a first process includes a die 26b, a sleeve 51a, and a punch 28c.
  • the die 26b has a stepped cylindrical inner peripheral surface. That is, the inner peripheral surface of the die 26b is continuous with the lower small-diameter cylindrical surface portion 29b and the upper large-diameter cylindrical surface portion 30b, and the small-diameter cylindrical surface portion 29b and the upper large-diameter cylindrical surface portion 30b that are arranged coaxially with each other.
  • a stepped cylindrical shape having a stepped portion 31b.
  • the sleeve 51a is formed in a cylindrical shape.
  • the sleeve 51a is fitted into the small-diameter cylindrical surface portion 29b of the center hole of the die 26b without rattling in the radial direction.
  • the punch 28c is formed in a cylindrical shape, and is inserted from above into the center hole of the die 26b.
  • the small diameter of the fourth intermediate material 24 is inserted before the punch 28c is inserted into the center hole of the die 26b.
  • the cylindrical portion 46 is fitted into the small diameter cylindrical surface portion 29b of the center hole of the die 26b without rattling in the radial direction, and the large diameter cylindrical portion 47 of the fourth intermediate material 24 is fitted to the large diameter cylindrical surface portion 30b of the center hole of the die 26b. Fits in without radial play.
  • the lower end surfaces of the large diameter cylindrical portion 47 and the connecting portion 48 of the fourth intermediate material 24 are supported by the step portion 31b of the center hole of the die 26b and the upper end surface of the sleeve 51a.
  • the punch 28c is inserted into the center hole of the die 26b from above, and the small diameter cylindrical portion 46 is formed by the outer peripheral edge portion of the lower end surface of the punch 28c and the inner peripheral edge portion of the upper end surface of the sleeve 51a.
  • the part corresponding to is punched out.
  • the inner ring 3 (see FIG. 10) constituting the radial ball bearing 1 is obtained by subjecting the small-diameter cylindrical ring member 18a punched in this manner to post-processing such as cutting and grinding.
  • the step portion 31b is formed into a circular chamfered surface having a 1 ⁇ 4 concave arc shape in cross section, which is inclined upward as it goes radially outward.
  • the radial direction outer end part of the lower end surface of the large diameter cylindrical surface part 30b is pressed on the chamfering surface which is the step part 31b by the punching load in the axial direction.
  • the radially outer end portion is processed into a fourth regular R chamfered portion 66 having a 1 ⁇ 4 convex arc shape in cross section.
  • Step 2 In the second step, the portion corresponding to the small-diameter cylindrical portion 46 in the first step described above is separated, and the remaining fifth intermediate material 67 is cooled by a mold device 68 as shown in FIG. By performing processing by forging, the sixth intermediate material 71 having the third preliminary R chamfered portion 69 is formed.
  • the mold apparatus 68 used in such a second process includes a die 26c and a punch 28d.
  • the die 26c has a stepped cylindrical inner peripheral surface. That is, the inner peripheral surface of the die 26c is a stepped cylindrical shape having a lower small-diameter cylindrical surface portion 29c and an upper large-diameter cylindrical surface portion 30c that are arranged coaxially with each other, and a third preliminary R-chamfered surface 70. is there.
  • the third preliminary R chamfering surface 70 is inclined in the upward direction as it goes radially outward, has an annular shape, and has a quarter concave arc shape in cross section.
  • the radius of curvature R 3 of the cross-sectional shape of the third preliminary R-chamfered surface 70 is larger than the radius of curvature r 3 of the cross-sectional shape of the third regular R-chamfered surface 73 described later (R 3 > r 3 ).
  • the punch 28d is formed in a columnar shape.
  • the punch 28d is inserted from above into the large-diameter cylindrical surface portion 30c of the center hole of the die 26c, and is internally fitted without any radial play.
  • the fifth intermediate material 67 is inserted before the punch 28d is inserted into the center hole of the die 26c.
  • the large-diameter cylindrical portion of the fifth intermediate material 67 is fitted into the large-diameter cylindrical surface portion 30c of the center hole of the die 26c without rattling.
  • the radially outer end of the lower end surface of 47 (upper end surface in FIG. 7) is supported by a third preliminary R chamfering surface 70 of the center hole of the die 26c.
  • the punch 28d is inserted from above into the center hole of the die 26c, and the upper end surface of the fifth intermediate material 67 is pressed by the lower end surface of the punch 28d.
  • the cross-sectional shape is formed on the outer peripheral edge of the lower end portion of the large diameter cylindrical portion 47 by pressing the radially outer end portion of the lower end surface of the large diameter cylindrical portion 47 against the third preliminary R chamfering surface 70 in the axial direction.
  • a third preliminary R chamfer 69 having a 1/4 convex arc shape is formed.
  • the radius of curvature of the cross-sectional shape of the third preliminary R chamfered portion 69 is R 3 as with the third preliminary R chamfered surface 70.
  • the sectional shape of the third preliminary R chamfered portion 69 for a 1/4 convex circular arc shape, the width dimension in the radial direction of the third preliminary R chamfer 69 (and axial) are also R 3.
  • the third spare R chamfer 69 corresponds to a spare chamfer.
  • the sixth intermediate material 71 obtained in the second step described above is punched to remove the continuous portion 48 by a mold device 72 as shown in FIG.
  • the ring member 20a is obtained.
  • this third step corresponds to a chamfering step by cold forging.
  • the mold apparatus 72 used in such a third process includes a die 26d, a sleeve 51b, and a punch 28e.
  • the die 26d corresponds to a mold and has a stepped cylindrical inner peripheral surface. That is, the inner peripheral surface of the die 26d is coaxially arranged with the lower small-diameter cylindrical surface portion 29d and the upper large-diameter cylindrical surface portion 30d, the third regular R chamfering surface 73 corresponding to the chamfering surface, A stepped cylindrical shape having The small diameter cylindrical surface portion 29 d and the large diameter cylindrical surface portion 30 d are continuous by the third regular R chamfered surface 73.
  • the third regular R chamfered surface 73 is an annular surface that is inclined in the direction toward the upper side as it goes outward in the radial direction and the cross-sectional shape is a 1/4 concave arc shape. As described above, the curvature radius r 3 of the cross-sectional shape of the third regular R chamfering surface 73 is larger than the curvature radius R 3 of the cross-sectional shape of the third preliminary R chamfering surface 70 (third preliminary R chamfered portion 69). It is smaller (r 3 ⁇ R 3 ).
  • the cross-sectional shape of the third regular R chamfered surface 73 for a 1/4 recessed circular shape, the width dimension in the radial direction of the third regular R chamfered surface 73 (and axial) are also r 3. Therefore, in the case of this example, the radial dimension (and axial direction) width dimension R 3 of the third preliminary R chamfered portion 69 is equal to the radial dimension (and axial direction) width dimension of the third regular R chamfered surface 73. It is larger than 3 .
  • the sleeve 51b corresponds to the second mold and is formed in a cylindrical shape.
  • the upper end surface of the sleeve 51b is an annular holding surface 52a that is orthogonal to the axial direction.
  • the sleeve 51b is fitted into the small-diameter cylindrical surface portion 29d of the center hole of the die 26d without rattling in the radial direction.
  • the restraining surface 52a of the sleeve 51b is disposed adjacent to the inside of the third regular R chamfering surface 73 in the radial direction.
  • the punch 28e is formed in a columnar shape.
  • the outer diameter of the punch 28e is slightly larger than the inner diameter of the large-diameter cylindrical portion 47 of the sixth intermediate material 71, and is substantially the same as the inner diameter of the sleeve 51b.
  • the punch 28e is inserted from above into the center hole of the die 26d.
  • the sixth intermediate material 71 is inserted before the punch 28e is inserted into the center hole of the die 26d. 71 is fitted into the large-diameter cylindrical surface portion 30d of the center hole of the die 26d without rattling, with the connecting portion 48 being disposed on the upper side. At the same time, the lower end surface (the upper end surface in FIG. 7, the lower end surface in FIG. 8) of the large-diameter cylindrical portion 47 of the sixth intermediate material 71 is brought into contact with the holding surface 52a which is the upper end surface of the sleeve 51b.
  • a portion of the lower end surface of the large-diameter cylindrical portion 47 that is adjacent to the third preliminary R chamfer 69 on the radially inner side is a portion closer to the radially outer end of the restraining surface 52a (radial direction).
  • a portion that deviates from the outer end edge is brought into contact with a portion that is slightly inward in the radial direction from the radially outer end edge.
  • the third regular R chamfered surface 73 does not come into contact with the third preliminary R chamfer 69 provided at the radially outer end of the lower end surface of the large diameter cylindrical portion 47, but in the axial direction. Proximity and opposition.
  • the restraining surface 52a which is the upper end surface of the sleeve 51b, is slightly smaller than the lower end edge (radially inner end edge) of the third regular R chamfered surface 73 (dimension Y). It is located on the upper side.
  • the movable part (see FIG. 4) that can displace the sleeve 51b vertically with respect to the die 26d This is because the large-diameter cylindrical ring member 20a, which is a workpiece after machining, is used as a part from the die 26d.
  • the movable mechanism is elastically deformed by the downward pressure applied from the large-diameter cylindrical portion 47, etc. ) Is displaced downward. Therefore, in the case of this example, at the start of the processing of the third step described below, the holding surface 52a, which is the upper end surface of the sleeve 51b, is moved by the amount of the downward displacement (dimension X).
  • the third regular R chamfered surface 73 is positioned above the lower end edge. Thereby, the vertical position of the holding surface 52a and the lower end edge of the third regular R chamfering surface 73 is made to coincide with each other at the end stage of the processing of the third step described below.
  • the punch 28e is inserted into the center hole of the die 26d from above, and a large-diameter cylinder. Push into the inner diameter side of the portion 47. Accordingly, the connecting portion 48 is moved while being crushed from the top to the bottom (accordingly, the inner diameter portion of the large-diameter cylindrical portion 47 is handled from the top to the bottom) and punched downward.
  • the radially outer end portion of the lower end surface of the large diameter cylindrical portion 47 is pressed against the third regular R chamfering surface 73 in the axial direction, so that the large diameter cylindrical portion 47
  • a third regular R chamfer 74 having a 1 ⁇ 4 convex arc shape in cross section is formed on the outer periphery of the lower end.
  • the radius of curvature of the cross-sectional shape of the third regular R chamfered portion 74 is also r 3 as with the third regular R chamfered surface 73.
  • the third regular R chamfer 74 corresponds to a regular chamfer.
  • the outer ring 2 constituting the radial ball bearing 1 (see FIG. 10) is subjected to post-processing such as cutting and grinding on the large-diameter cylindrical ring member 20a thus obtained. Get.
  • the width dimension R 3 in the radial direction (and the axial direction) on the outer peripheral edge of the lower end portion of the large diameter cylindrical portion 47 is the radial direction of the third regular R chamfered surface 73.
  • the third process as described above is performed. That is, by pressing the radially outer end of the lower end surface of the large diameter cylindrical portion 47 against the third regular R chamfering surface 73, the third regular R chamfered portion 74 is formed on the outer peripheral edge of the lower end portion of the large diameter cylindrical portion 47.
  • the sharp edge first contacts the chamfered surface (third regular R chamfered surface 73) having an arc-shaped cross section. Can be avoided.
  • the third regular R chamfered portion 74 is formed by cold forging, the flow of the meat (material) of the sixth intermediate material 71 is smoothly performed at the outer peripheral edge of the lower end portion of the large diameter cylindrical portion 47.
  • the shape accuracy of the third regular R chamfered portion 74 formed on the outer periphery of the lower end portion of the large-diameter cylindrical portion 47 can be improved.
  • a portion of the restraining surface 52a that is closer to the radially outer end is a large-diameter cylindrical portion 47.
  • the third preliminary R chamfered portion 69 which is the portion facing the third regular R chamfered surface 73 in the axial direction, is from a virtual plane including the restraining surface 52a.
  • the large-diameter cylindrical portion 47 is in the process of the downward displacement of the holding surface 52a based on the pressure applied from the large-diameter cylindrical portion 47 as the third process described above proceeds.
  • the outer peripheral edge of the lower end portion (the portion where the third preliminary R chamfered portion 69 is formed) can hardly flow toward the lower side of the virtual plane including the restraining surface 52a.
  • a part of this meat is inside the boundary between the restraining surface 52a and the third regular R chamfered surface 73 (the outer peripheral surface of the sleeve 51b and the large-diameter cylindrical surface portion 30d of the die 26d). It is possible to prevent the formation of burrs by entering between the inner peripheral surface).
  • the cylindrical ring member that is the object of the manufacturing method of the present invention is not limited to the material for forming the inner ring and the outer ring constituting the radial ball bearing, but, for example, other types such as a radial cylindrical roller bearing and a radial tapered roller bearing. It can also be used as a material for making inner rings and outer rings constituting various one-way clutches such as radial rolling bearings, roller clutches and cam clutches. That is, when manufacturing a bearing including an outer ring and an inner ring, the outer ring and / or the inner ring are manufactured by the above-described method for manufacturing a cylindrical ring member.
  • the outer ring and / or the inner ring are manufactured by the above-described method for manufacturing a cylindrical ring member.
  • the vehicle provided with the said bearing or a clutch it manufactures with the manufacturing method of the said bearing or a clutch.
  • the machine provided with the said bearing or clutch it manufactures with the manufacturing method of the said bearing or clutch.
  • the regular chamfered portion and the spare chamfered portion are not limited to the R chamfered portion, but may be a C chamfered portion having a straight cross-sectional shape or a chamfered portion having a compound curved shape in cross-sectional shape. it can.
  • the arc that is the cross-sectional shape of the R chamfered portion is not necessarily a 1 ⁇ 4 arc.

Landscapes

  • Engineering & Computer Science (AREA)
  • Mechanical Engineering (AREA)
  • General Engineering & Computer Science (AREA)
  • Manufacturing & Machinery (AREA)
  • Forging (AREA)
  • Rolling Contact Bearings (AREA)
PCT/JP2017/025975 2016-07-19 2017-07-18 円筒状リング部材、軸受、クラッチ、車両、及び機械の製造方法 Ceased WO2018016488A1 (ja)

Priority Applications (4)

Application Number Priority Date Filing Date Title
KR1020187032969A KR20180136487A (ko) 2016-07-19 2017-07-18 원통상 링 부재, 베어링, 클러치, 차량, 및 기계의 제조 방법
CN201780032654.4A CN109195726B (zh) 2016-07-19 2017-07-18 圆筒状环部件、轴承、离合器、车辆及机器的制造方法
US15/760,315 US10213825B2 (en) 2016-07-19 2017-07-18 Method for manufacturing cylindrical ring member, bearing, clutch, vehicle, and machine
EP17831004.1A EP3450046B1 (en) 2016-07-19 2017-07-18 Method for manufacturing cylindrical ring member, bearing, clutch, vehicle, and machine

Applications Claiming Priority (2)

Application Number Priority Date Filing Date Title
JP2016141062A JP6689151B2 (ja) 2016-07-19 2016-07-19 円筒状リング部材の製造方法、ラジアル転がり軸受の製造方法、及び一方向クラッチの製造方法
JP2016-141062 2016-07-19

Publications (1)

Publication Number Publication Date
WO2018016488A1 true WO2018016488A1 (ja) 2018-01-25

Family

ID=60992563

Family Applications (1)

Application Number Title Priority Date Filing Date
PCT/JP2017/025975 Ceased WO2018016488A1 (ja) 2016-07-19 2017-07-18 円筒状リング部材、軸受、クラッチ、車両、及び機械の製造方法

Country Status (6)

Country Link
US (1) US10213825B2 (OSRAM)
EP (1) EP3450046B1 (OSRAM)
JP (1) JP6689151B2 (OSRAM)
KR (1) KR20180136487A (OSRAM)
CN (1) CN109195726B (OSRAM)
WO (1) WO2018016488A1 (OSRAM)

Families Citing this family (7)

* Cited by examiner, † Cited by third party
Publication number Priority date Publication date Assignee Title
EP3575012B1 (en) * 2018-02-14 2021-12-29 NSK Ltd. Conveyance system, rocking-die forging method, rocking-die forging apparatus, bearing manufacturing method, vehicle manufacturing method, and machinery manufacturing method
CN108465765A (zh) * 2018-03-02 2018-08-31 江苏保捷精锻有限公司 一种轴承内圈与外圈的一体式锻造方法及锻造模
CN109175189B (zh) * 2018-10-30 2023-12-22 嘉善坤利精密金属模具有限公司 一种正多边形六角螺头的切边模具的成型装置
KR102244127B1 (ko) 2020-04-28 2021-04-26 이동열 차량용 롤링부품 가공장치
EP4407202A3 (en) * 2020-07-07 2024-10-23 NSK Ltd. Method for manufacturing bearing element, method for manufacturing bearing, method for manufacturing machine, method for manufacturing vehicle
JP2022178039A (ja) * 2021-05-19 2022-12-02 トヨタ自動車株式会社 芯抜きパンチ
CN116441871A (zh) * 2021-05-31 2023-07-18 苏州典艺精密机械有限公司 一种异形内圈成型加工中的处理工艺

Citations (3)

* Cited by examiner, † Cited by third party
Publication number Priority date Publication date Assignee Title
JP2000176557A (ja) * 1998-12-11 2000-06-27 Nagara:Kk 深絞り成形法および深絞り成形機
JP2002243021A (ja) * 2001-02-16 2002-08-28 Koyo Seiko Co Ltd プーリユニットおよびそのセレーション加工方法
JP2009279611A (ja) * 2008-05-22 2009-12-03 Nsk Ltd 円筒状リング部材の製造方法

Family Cites Families (7)

* Cited by examiner, † Cited by third party
Publication number Priority date Publication date Assignee Title
SU1074652A1 (ru) * 1982-07-09 1984-02-23 Berlyavskij Viktor L Способ изготовлени заготовок колец подшипников
JP3942256B2 (ja) * 1998-01-23 2007-07-11 Ntn株式会社 軸受外輪及びその製造方法、並びにクラッチレリーズ軸受
JP2002349585A (ja) * 2001-05-25 2002-12-04 Ntn Corp 転がり軸受およびその製造方法
JP2006090407A (ja) * 2004-09-22 2006-04-06 Nsk Ltd ラジアル玉軸受用軌道輪及びその製造方法
JP5803127B2 (ja) * 2011-02-14 2015-11-04 株式会社ジェイテクト 転がり軸受の軌道輪用粗形材の製造方法
JP2013240819A (ja) * 2012-05-22 2013-12-05 Kotani:Kk 軸受素材の製造方法及び装置
CN105057556B (zh) * 2015-08-14 2017-03-29 浙江五洲新春集团股份有限公司 一种轴承套圈的锻造成型工艺

Patent Citations (3)

* Cited by examiner, † Cited by third party
Publication number Priority date Publication date Assignee Title
JP2000176557A (ja) * 1998-12-11 2000-06-27 Nagara:Kk 深絞り成形法および深絞り成形機
JP2002243021A (ja) * 2001-02-16 2002-08-28 Koyo Seiko Co Ltd プーリユニットおよびそのセレーション加工方法
JP2009279611A (ja) * 2008-05-22 2009-12-03 Nsk Ltd 円筒状リング部材の製造方法

Also Published As

Publication number Publication date
JP2018012109A (ja) 2018-01-25
US10213825B2 (en) 2019-02-26
CN109195726B (zh) 2020-09-22
CN109195726A (zh) 2019-01-11
JP6689151B2 (ja) 2020-04-28
EP3450046A1 (en) 2019-03-06
EP3450046A4 (en) 2019-06-26
KR20180136487A (ko) 2018-12-24
US20180257131A1 (en) 2018-09-13
EP3450046B1 (en) 2020-11-18

Similar Documents

Publication Publication Date Title
WO2018016488A1 (ja) 円筒状リング部材、軸受、クラッチ、車両、及び機械の製造方法
US8424208B2 (en) Manufacturing method for bearing outer ring
JP5966726B2 (ja) 軌道輪部材の製造方法
JP2008302403A (ja) 転がり軸受の内外輪の製造方法
JP2014024091A5 (OSRAM)
JP5737371B2 (ja) 車輪支持用転がり軸受ユニットの外輪の製造方法
JP2009039759A (ja) 転がり軸受の外輪の製造方法
JP5494275B2 (ja) 軌道輪部材の製造方法
JP5483822B2 (ja) 等速ジョイント
US20130205593A1 (en) Manufacturing method for bearing outer ring
CN113329831B (zh) 铆接装配件及其制造方法、轮毂单元轴承及其制造方法、和汽车及其制造方法
JP5834592B2 (ja) 外向フランジ部付金属製部材の製造方法
JP2008126286A (ja) 軌道輪部材の製造方法
JP5322451B2 (ja) 等速ジョイント、等速ジョイント外輪の製造方法およびその製造装置
JP5322450B2 (ja) 等速ジョイント、等速ジョイント外輪の外輪前素材、および等速ジョイント外輪の製造方法
JP2006341255A (ja) 高精度リングの製造方法
JP5322449B2 (ja) 等速ジョイントおよび等速ジョイント外輪の製造方法
JP5672181B2 (ja) 軌道輪部材の製造方法
JP2023161392A (ja) 軸受用保持器、及び軸受用保持器の製造方法
JPWO2019021551A1 (ja) 円柱状転動体製造用の金型装置、並びに、円柱状転動体の製造方法、転がり軸受の製造方法、車両の製造方法、および、機械装置の製造方法
JP6464946B2 (ja) 金属製円筒状部材の余肉部除去方法、軌道輪の製造方法、及び、ラジアル転がり軸受の製造方法
JP6311414B2 (ja) 外向フランジ部付金属製部材の製造方法、車輪支持用転がり軸受ユニットの製造方法、及び、自動車の製造方法
JP5042957B2 (ja) 円錐ころの製造方法、円錐ころ及び円錐ころ軸受
WO2017047327A1 (ja) 円すいころ軸受用保持器及びその製造方法
JP2017013111A5 (OSRAM)

Legal Events

Date Code Title Description
WWE Wipo information: entry into national phase

Ref document number: 15760315

Country of ref document: US

ENP Entry into the national phase

Ref document number: 20187032969

Country of ref document: KR

Kind code of ref document: A

WWE Wipo information: entry into national phase

Ref document number: 2017831004

Country of ref document: EP

121 Ep: the epo has been informed by wipo that ep was designated in this application

Ref document number: 17831004

Country of ref document: EP

Kind code of ref document: A1

ENP Entry into the national phase

Ref document number: 2017831004

Country of ref document: EP

Effective date: 20181126

NENP Non-entry into the national phase

Ref country code: DE