WO2018003545A1 - 断熱材およびその断熱材を用いた機器 - Google Patents

断熱材およびその断熱材を用いた機器 Download PDF

Info

Publication number
WO2018003545A1
WO2018003545A1 PCT/JP2017/022303 JP2017022303W WO2018003545A1 WO 2018003545 A1 WO2018003545 A1 WO 2018003545A1 JP 2017022303 W JP2017022303 W JP 2017022303W WO 2018003545 A1 WO2018003545 A1 WO 2018003545A1
Authority
WO
WIPO (PCT)
Prior art keywords
insulating material
heat insulating
nonwoven fabric
fiber
silica xerogel
Prior art date
Legal status (The legal status is an assumption and is not a legal conclusion. Google has not performed a legal analysis and makes no representation as to the accuracy of the status listed.)
Ceased
Application number
PCT/JP2017/022303
Other languages
English (en)
French (fr)
Japanese (ja)
Inventor
一摩 及川
慶 豊田
伸二 岡田
茂昭 酒谷
Current Assignee (The listed assignees may be inaccurate. Google has not performed a legal analysis and makes no representation or warranty as to the accuracy of the list.)
Panasonic Intellectual Property Management Co Ltd
Original Assignee
Panasonic Intellectual Property Management Co Ltd
Priority date (The priority date is an assumption and is not a legal conclusion. Google has not performed a legal analysis and makes no representation as to the accuracy of the date listed.)
Filing date
Publication date
Application filed by Panasonic Intellectual Property Management Co Ltd filed Critical Panasonic Intellectual Property Management Co Ltd
Priority to JP2018525053A priority Critical patent/JP6667083B2/ja
Priority to CN201780038705.4A priority patent/CN109328280B/zh
Priority to EP17819905.5A priority patent/EP3480507B1/en
Publication of WO2018003545A1 publication Critical patent/WO2018003545A1/ja
Priority to US16/228,742 priority patent/US20190145571A1/en
Anticipated expiration legal-status Critical
Ceased legal-status Critical Current

Links

Images

Classifications

    • FMECHANICAL ENGINEERING; LIGHTING; HEATING; WEAPONS; BLASTING
    • F16ENGINEERING ELEMENTS AND UNITS; GENERAL MEASURES FOR PRODUCING AND MAINTAINING EFFECTIVE FUNCTIONING OF MACHINES OR INSTALLATIONS; THERMAL INSULATION IN GENERAL
    • F16LPIPES; JOINTS OR FITTINGS FOR PIPES; SUPPORTS FOR PIPES, CABLES OR PROTECTIVE TUBING; MEANS FOR THERMAL INSULATION IN GENERAL
    • F16L59/00Thermal insulation in general
    • F16L59/02Shape or form of insulating materials, with or without coverings integral with the insulating materials
    • F16L59/028Compositions for or methods of fixing a thermally insulating material
    • FMECHANICAL ENGINEERING; LIGHTING; HEATING; WEAPONS; BLASTING
    • F16ENGINEERING ELEMENTS AND UNITS; GENERAL MEASURES FOR PRODUCING AND MAINTAINING EFFECTIVE FUNCTIONING OF MACHINES OR INSTALLATIONS; THERMAL INSULATION IN GENERAL
    • F16LPIPES; JOINTS OR FITTINGS FOR PIPES; SUPPORTS FOR PIPES, CABLES OR PROTECTIVE TUBING; MEANS FOR THERMAL INSULATION IN GENERAL
    • F16L59/00Thermal insulation in general
    • F16L59/02Shape or form of insulating materials, with or without coverings integral with the insulating materials
    • BPERFORMING OPERATIONS; TRANSPORTING
    • B32LAYERED PRODUCTS
    • B32BLAYERED PRODUCTS, i.e. PRODUCTS BUILT-UP OF STRATA OF FLAT OR NON-FLAT, e.g. CELLULAR OR HONEYCOMB, FORM
    • B32B5/00Layered products characterised by the non- homogeneity or physical structure, i.e. comprising a fibrous, filamentary, particulate or foam layer; Layered products characterised by having a layer differing constitutionally or physically in different parts
    • B32B5/02Layered products characterised by the non- homogeneity or physical structure, i.e. comprising a fibrous, filamentary, particulate or foam layer; Layered products characterised by having a layer differing constitutionally or physically in different parts characterised by structural features of a fibrous or filamentary layer
    • B32B5/022Non-woven fabric
    • BPERFORMING OPERATIONS; TRANSPORTING
    • B32LAYERED PRODUCTS
    • B32BLAYERED PRODUCTS, i.e. PRODUCTS BUILT-UP OF STRATA OF FLAT OR NON-FLAT, e.g. CELLULAR OR HONEYCOMB, FORM
    • B32B5/00Layered products characterised by the non- homogeneity or physical structure, i.e. comprising a fibrous, filamentary, particulate or foam layer; Layered products characterised by having a layer differing constitutionally or physically in different parts
    • B32B5/18Layered products characterised by the non- homogeneity or physical structure, i.e. comprising a fibrous, filamentary, particulate or foam layer; Layered products characterised by having a layer differing constitutionally or physically in different parts characterised by features of a layer of foamed material
    • BPERFORMING OPERATIONS; TRANSPORTING
    • B32LAYERED PRODUCTS
    • B32BLAYERED PRODUCTS, i.e. PRODUCTS BUILT-UP OF STRATA OF FLAT OR NON-FLAT, e.g. CELLULAR OR HONEYCOMB, FORM
    • B32B5/00Layered products characterised by the non- homogeneity or physical structure, i.e. comprising a fibrous, filamentary, particulate or foam layer; Layered products characterised by having a layer differing constitutionally or physically in different parts
    • B32B5/22Layered products characterised by the non- homogeneity or physical structure, i.e. comprising a fibrous, filamentary, particulate or foam layer; Layered products characterised by having a layer differing constitutionally or physically in different parts characterised by the presence of two or more layers which are next to each other and are fibrous, filamentary, formed of particles or foamed
    • B32B5/24Layered products characterised by the non- homogeneity or physical structure, i.e. comprising a fibrous, filamentary, particulate or foam layer; Layered products characterised by having a layer differing constitutionally or physically in different parts characterised by the presence of two or more layers which are next to each other and are fibrous, filamentary, formed of particles or foamed one layer being a fibrous or filamentary layer
    • B32B5/245Layered products characterised by the non- homogeneity or physical structure, i.e. comprising a fibrous, filamentary, particulate or foam layer; Layered products characterised by having a layer differing constitutionally or physically in different parts characterised by the presence of two or more layers which are next to each other and are fibrous, filamentary, formed of particles or foamed one layer being a fibrous or filamentary layer another layer next to it being a foam layer
    • CCHEMISTRY; METALLURGY
    • C01INORGANIC CHEMISTRY
    • C01BNON-METALLIC ELEMENTS; COMPOUNDS THEREOF; METALLOIDS OR COMPOUNDS THEREOF NOT COVERED BY SUBCLASS C01C
    • C01B33/00Silicon; Compounds thereof
    • C01B33/113Silicon oxides; Hydrates thereof
    • C01B33/12Silica; Hydrates thereof, e.g. lepidoic silicic acid
    • C01B33/16Preparation of silica xerogels
    • CCHEMISTRY; METALLURGY
    • C01INORGANIC CHEMISTRY
    • C01BNON-METALLIC ELEMENTS; COMPOUNDS THEREOF; METALLOIDS OR COMPOUNDS THEREOF NOT COVERED BY SUBCLASS C01C
    • C01B33/00Silicon; Compounds thereof
    • C01B33/113Silicon oxides; Hydrates thereof
    • C01B33/12Silica; Hydrates thereof, e.g. lepidoic silicic acid
    • C01B33/16Preparation of silica xerogels
    • C01B33/166Preparation of silica xerogels by acidification of silicate in the presence of an inert organic phase
    • CCHEMISTRY; METALLURGY
    • C04CEMENTS; CONCRETE; ARTIFICIAL STONE; CERAMICS; REFRACTORIES
    • C04BLIME, MAGNESIA; SLAG; CEMENTS; COMPOSITIONS THEREOF, e.g. MORTARS, CONCRETE OR LIKE BUILDING MATERIALS; ARTIFICIAL STONE; CERAMICS; REFRACTORIES; TREATMENT OF NATURAL STONE
    • C04B30/00Compositions for artificial stone, not containing binders
    • CCHEMISTRY; METALLURGY
    • C04CEMENTS; CONCRETE; ARTIFICIAL STONE; CERAMICS; REFRACTORIES
    • C04BLIME, MAGNESIA; SLAG; CEMENTS; COMPOSITIONS THEREOF, e.g. MORTARS, CONCRETE OR LIKE BUILDING MATERIALS; ARTIFICIAL STONE; CERAMICS; REFRACTORIES; TREATMENT OF NATURAL STONE
    • C04B38/00Porous mortars, concrete, artificial stone or ceramic ware; Preparation thereof
    • C04B38/0045Porous mortars, concrete, artificial stone or ceramic ware; Preparation thereof by a process involving the formation of a sol or a gel, e.g. sol-gel or precipitation processes
    • DTEXTILES; PAPER
    • D04BRAIDING; LACE-MAKING; KNITTING; TRIMMINGS; NON-WOVEN FABRICS
    • D04HMAKING TEXTILE FABRICS, e.g. FROM FIBRES OR FILAMENTARY MATERIAL; FABRICS MADE BY SUCH PROCESSES OR APPARATUS, e.g. FELTS, NON-WOVEN FABRICS; COTTON-WOOL; WADDING ; NON-WOVEN FABRICS FROM STAPLE FIBRES, FILAMENTS OR YARNS, BONDED WITH AT LEAST ONE WEB-LIKE MATERIAL DURING THEIR CONSOLIDATION
    • D04H1/00Non-woven fabrics formed wholly or mainly of staple fibres or like relatively short fibres
    • D04H1/40Non-woven fabrics formed wholly or mainly of staple fibres or like relatively short fibres from fleeces or layers composed of fibres without existing or potential cohesive properties
    • D04H1/413Non-woven fabrics formed wholly or mainly of staple fibres or like relatively short fibres from fleeces or layers composed of fibres without existing or potential cohesive properties containing granules other than absorbent substances
    • FMECHANICAL ENGINEERING; LIGHTING; HEATING; WEAPONS; BLASTING
    • F16ENGINEERING ELEMENTS AND UNITS; GENERAL MEASURES FOR PRODUCING AND MAINTAINING EFFECTIVE FUNCTIONING OF MACHINES OR INSTALLATIONS; THERMAL INSULATION IN GENERAL
    • F16LPIPES; JOINTS OR FITTINGS FOR PIPES; SUPPORTS FOR PIPES, CABLES OR PROTECTIVE TUBING; MEANS FOR THERMAL INSULATION IN GENERAL
    • F16L59/00Thermal insulation in general
    • F16L59/04Arrangements using dry fillers, e.g. using slag wool
    • FMECHANICAL ENGINEERING; LIGHTING; HEATING; WEAPONS; BLASTING
    • F25REFRIGERATION OR COOLING; COMBINED HEATING AND REFRIGERATION SYSTEMS; HEAT PUMP SYSTEMS; MANUFACTURE OR STORAGE OF ICE; LIQUEFACTION SOLIDIFICATION OF GASES
    • F25DREFRIGERATORS; COLD ROOMS; ICE-BOXES; COOLING OR FREEZING APPARATUS NOT OTHERWISE PROVIDED FOR
    • F25D23/00General constructional features
    • F25D23/06Walls
    • BPERFORMING OPERATIONS; TRANSPORTING
    • B32LAYERED PRODUCTS
    • B32BLAYERED PRODUCTS, i.e. PRODUCTS BUILT-UP OF STRATA OF FLAT OR NON-FLAT, e.g. CELLULAR OR HONEYCOMB, FORM
    • B32B2250/00Layers arrangement
    • B32B2250/022 layers
    • BPERFORMING OPERATIONS; TRANSPORTING
    • B32LAYERED PRODUCTS
    • B32BLAYERED PRODUCTS, i.e. PRODUCTS BUILT-UP OF STRATA OF FLAT OR NON-FLAT, e.g. CELLULAR OR HONEYCOMB, FORM
    • B32B2250/00Layers arrangement
    • B32B2250/033 layers
    • BPERFORMING OPERATIONS; TRANSPORTING
    • B32LAYERED PRODUCTS
    • B32BLAYERED PRODUCTS, i.e. PRODUCTS BUILT-UP OF STRATA OF FLAT OR NON-FLAT, e.g. CELLULAR OR HONEYCOMB, FORM
    • B32B2250/00Layers arrangement
    • B32B2250/40Symmetrical or sandwich layers, e.g. ABA, ABCBA, ABCCBA
    • BPERFORMING OPERATIONS; TRANSPORTING
    • B32LAYERED PRODUCTS
    • B32BLAYERED PRODUCTS, i.e. PRODUCTS BUILT-UP OF STRATA OF FLAT OR NON-FLAT, e.g. CELLULAR OR HONEYCOMB, FORM
    • B32B2260/00Layered product comprising an impregnated, embedded, or bonded layer wherein the layer comprises an impregnation, embedding, or binder material
    • B32B2260/02Composition of the impregnated, bonded or embedded layer
    • B32B2260/021Fibrous or filamentary layer
    • BPERFORMING OPERATIONS; TRANSPORTING
    • B32LAYERED PRODUCTS
    • B32BLAYERED PRODUCTS, i.e. PRODUCTS BUILT-UP OF STRATA OF FLAT OR NON-FLAT, e.g. CELLULAR OR HONEYCOMB, FORM
    • B32B2260/00Layered product comprising an impregnated, embedded, or bonded layer wherein the layer comprises an impregnation, embedding, or binder material
    • B32B2260/04Impregnation, embedding, or binder material
    • B32B2260/044Water-setting substance, e.g. concrete, plaster
    • BPERFORMING OPERATIONS; TRANSPORTING
    • B32LAYERED PRODUCTS
    • B32BLAYERED PRODUCTS, i.e. PRODUCTS BUILT-UP OF STRATA OF FLAT OR NON-FLAT, e.g. CELLULAR OR HONEYCOMB, FORM
    • B32B2262/00Composition or structural features of fibres which form a fibrous or filamentary layer or are present as additives
    • B32B2262/02Synthetic macromolecular fibres
    • B32B2262/0246Acrylic resin fibres
    • BPERFORMING OPERATIONS; TRANSPORTING
    • B32LAYERED PRODUCTS
    • B32BLAYERED PRODUCTS, i.e. PRODUCTS BUILT-UP OF STRATA OF FLAT OR NON-FLAT, e.g. CELLULAR OR HONEYCOMB, FORM
    • B32B2262/00Composition or structural features of fibres which form a fibrous or filamentary layer or are present as additives
    • B32B2262/10Inorganic fibres
    • B32B2262/106Carbon fibres, e.g. graphite fibres
    • BPERFORMING OPERATIONS; TRANSPORTING
    • B32LAYERED PRODUCTS
    • B32BLAYERED PRODUCTS, i.e. PRODUCTS BUILT-UP OF STRATA OF FLAT OR NON-FLAT, e.g. CELLULAR OR HONEYCOMB, FORM
    • B32B2266/00Composition of foam
    • B32B2266/04Inorganic
    • B32B2266/049Water-setting material, e.g. concrete, plaster or asbestos cement
    • BPERFORMING OPERATIONS; TRANSPORTING
    • B32LAYERED PRODUCTS
    • B32BLAYERED PRODUCTS, i.e. PRODUCTS BUILT-UP OF STRATA OF FLAT OR NON-FLAT, e.g. CELLULAR OR HONEYCOMB, FORM
    • B32B2266/00Composition of foam
    • B32B2266/04Inorganic
    • B32B2266/057Silicon-containing material, e.g. glass
    • BPERFORMING OPERATIONS; TRANSPORTING
    • B32LAYERED PRODUCTS
    • B32BLAYERED PRODUCTS, i.e. PRODUCTS BUILT-UP OF STRATA OF FLAT OR NON-FLAT, e.g. CELLULAR OR HONEYCOMB, FORM
    • B32B2266/00Composition of foam
    • B32B2266/12Gel
    • B32B2266/122Hydrogel, i.e. a gel containing an aqueous composition
    • BPERFORMING OPERATIONS; TRANSPORTING
    • B32LAYERED PRODUCTS
    • B32BLAYERED PRODUCTS, i.e. PRODUCTS BUILT-UP OF STRATA OF FLAT OR NON-FLAT, e.g. CELLULAR OR HONEYCOMB, FORM
    • B32B2266/00Composition of foam
    • B32B2266/12Gel
    • B32B2266/128Xerogel, i.e. an air dried gel
    • BPERFORMING OPERATIONS; TRANSPORTING
    • B32LAYERED PRODUCTS
    • B32BLAYERED PRODUCTS, i.e. PRODUCTS BUILT-UP OF STRATA OF FLAT OR NON-FLAT, e.g. CELLULAR OR HONEYCOMB, FORM
    • B32B2307/00Properties of the layers or laminate
    • B32B2307/30Properties of the layers or laminate having particular thermal properties
    • B32B2307/304Insulating
    • BPERFORMING OPERATIONS; TRANSPORTING
    • B32LAYERED PRODUCTS
    • B32BLAYERED PRODUCTS, i.e. PRODUCTS BUILT-UP OF STRATA OF FLAT OR NON-FLAT, e.g. CELLULAR OR HONEYCOMB, FORM
    • B32B2307/00Properties of the layers or laminate
    • B32B2307/30Properties of the layers or laminate having particular thermal properties
    • B32B2307/306Resistant to heat
    • B32B2307/3065Flame resistant or retardant, fire resistant or retardant
    • BPERFORMING OPERATIONS; TRANSPORTING
    • B32LAYERED PRODUCTS
    • B32BLAYERED PRODUCTS, i.e. PRODUCTS BUILT-UP OF STRATA OF FLAT OR NON-FLAT, e.g. CELLULAR OR HONEYCOMB, FORM
    • B32B2457/00Electrical equipment
    • CCHEMISTRY; METALLURGY
    • C04CEMENTS; CONCRETE; ARTIFICIAL STONE; CERAMICS; REFRACTORIES
    • C04BLIME, MAGNESIA; SLAG; CEMENTS; COMPOSITIONS THEREOF, e.g. MORTARS, CONCRETE OR LIKE BUILDING MATERIALS; ARTIFICIAL STONE; CERAMICS; REFRACTORIES; TREATMENT OF NATURAL STONE
    • C04B2111/00Mortars, concrete or artificial stone or mixtures to prepare them, characterised by specific function, property or use
    • C04B2111/00474Uses not provided for elsewhere in C04B2111/00
    • C04B2111/00612Uses not provided for elsewhere in C04B2111/00 as one or more layers of a layered structure
    • CCHEMISTRY; METALLURGY
    • C04CEMENTS; CONCRETE; ARTIFICIAL STONE; CERAMICS; REFRACTORIES
    • C04BLIME, MAGNESIA; SLAG; CEMENTS; COMPOSITIONS THEREOF, e.g. MORTARS, CONCRETE OR LIKE BUILDING MATERIALS; ARTIFICIAL STONE; CERAMICS; REFRACTORIES; TREATMENT OF NATURAL STONE
    • C04B2111/00Mortars, concrete or artificial stone or mixtures to prepare them, characterised by specific function, property or use
    • C04B2111/20Resistance against chemical, physical or biological attack
    • C04B2111/28Fire resistance, i.e. materials resistant to accidental fires or high temperatures
    • DTEXTILES; PAPER
    • D10INDEXING SCHEME ASSOCIATED WITH SUBLASSES OF SECTION D, RELATING TO TEXTILES
    • D10BINDEXING SCHEME ASSOCIATED WITH SUBLASSES OF SECTION D, RELATING TO TEXTILES
    • D10B2401/00Physical properties
    • D10B2401/04Heat-responsive characteristics

Definitions

  • the present invention relates to a heat insulating material and a device using the heat insulating material.
  • it is related with a flame-retardant heat insulating material and the apparatus using the heat insulating material.
  • silica airgel A heat insulating material called silica airgel is known.
  • Silica airgel is produced by sol-gel reaction using alkoxysilane such as water glass (sodium silicate aqueous solution) or tetramethoxysilane (TEOS) as a raw material.
  • alkoxysilane such as water glass (sodium silicate aqueous solution) or tetramethoxysilane (TEOS) as a raw material.
  • TEOS tetramethoxysilane
  • silica aerogel made of alkoxysilane and having a thermal conductivity of 23 mW / mK is sprayed on a fiber material composed of two components of a low-melting fiber and a high-melting fiber, and the composite material is heated at a high temperature.
  • a silica airgel / fiber composite material produced by compression is known (Patent Document 1). In this method, the silica airgel and the fiber are bonded by heating and compressing the low melting point fiber to a temperature higher than the melting point, and it has succeeded in mitigating the falling off of the airgel than before.
  • a low-density powder material containing a porous powder such as silica airgel, a heat-insulating coating material containing a water-soluble polymer solution, and a thin heat-insulating material coated on the base material have been reported.
  • a low-density powder (silica airgel) and a PVA aqueous solution of several tens of weight% are mixed to prepare a heat insulating paint, and this is applied to a copy paper so that the thickness of the paint layer is 10 ⁇ m.
  • Another copy sheet is stacked on top of each other and adhered and dried to produce a heat insulating material (Patent Document 2).
  • the strength of the silica airgel is improved by any method, it does not have high heat insulation and flame retardancy.
  • an object of the present application is to provide a heat insulating material having both high heat insulating property that can effectively block heat flow and flame retardance that can prevent similar burning even in a narrow space, and a device using the heat insulating material.
  • a heat insulating material including silica xerogel and a nonwoven fiber capable of generating carbon dioxide by reacting with oxygen in the atmosphere at a temperature of 300 ° C. or higher is used.
  • the apparatus which has arrange
  • the heat insulating material of the present invention since the thermal conductivity is lower than that of the conventional heat insulating material, the heat insulating effect can be sufficiently exerted even in a narrow space in electronic equipment, in-vehicle equipment, and industrial equipment, and from the heat generating component to the housing. Heat transfer can be effectively reduced. Moreover, since the heat insulating material of this invention has a flame retardance, in addition to the heat insulation effect, it has the kind-of-fire prevention effect which prevents a kind-of-burning at the time of emergency thermal runaway and ignition.
  • FIG. 1A is a cross-sectional view of a heat insulating material according to Embodiment 1.
  • FIG. 1B is a cross-sectional view of the heat insulating material according to Embodiment 1.
  • FIG. 2 is a perspective view of the silica xerogel of the embodiment.
  • FIG. 3A is a diagram illustrating a chemical formula of the flame-retardant nonwoven fabric material according to the embodiment.
  • FIG. 3B is a diagram illustrating a chemical formula of the flame-retardant nonwoven fabric material according to the embodiment.
  • FIG. 4 is a diagram illustrating a chemical structure of the fiber surface according to the embodiment.
  • FIG. 5A is a diagram illustrating a physical structure of the fiber according to the embodiment.
  • FIG. 5B is a diagram illustrating a physical structure of the fiber according to the embodiment.
  • Drawing 6 is a figure showing the manufacturing method of the flame-retardant heat insulating material of an embodiment.
  • FIG. 7 is a diagram illustrating a state in which the heat insulating material manufactured in Example 1 is in contact with flame.
  • FIG. 8 is a diagram illustrating a state in which the heat insulating material manufactured in Comparative Example 1 is in contact with flame.
  • FIG. 9 is an SEM image of the cross section of the heat insulating material produced in Example 1 and Comparative Example 2.
  • FIG. 10 is a diagram showing the relationship between the silica xerogel filling rate and the thermal conductivity of the embodiment.
  • FIG. 10 is a diagram showing the relationship between the silica xerogel filling rate and the thermal conductivity of the embodiment.
  • FIG. 11 is a diagram illustrating the relationship between the fiber diameter and the thermal conductivity in the embodiment.
  • FIG. 12A is a cross-sectional view of the flame-retardant heat insulating material of the embodiment.
  • Drawing 12B is a figure of a manufacturing method of a flame-retardant heat insulating material of an embodiment.
  • the heat insulating material 103a of the embodiment is shown in the cross-sectional view of FIG. 1A.
  • the heat insulating material 103 a is a single layer composed of the nonwoven fiber 119 and the silica xerogel 104.
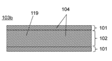
  • the heat insulating material 103b of the embodiment is shown in the cross-sectional view of FIG. 1B.
  • the heat insulating material 103b has a three-layer structure including a composite layer 102 composed of nonwoven fabric fibers 119 and silica xerogel 104, and a silica xerogel layer 101 composed of silica xerogel 104 that does not contain nonwoven fabric fibers on its upper and lower surfaces.
  • the silica xerogel 104 and the nonwoven fabric fiber 119 are of the same type.
  • the heat insulating material 103a is equivalent to the composite layer 102.
  • the filling rate of the silica xerogel 104 in the composite layer 102 can be increased to ensure heat insulating properties.
  • the thermal conductivity described later falls within a desired range.
  • the thermal conductivity of the nonwoven fabric fiber 119 is 0.030 to 0.060 W / mK.
  • the thermal conductivity of the silica xerogel 104 is 0.010 to 0.015 W / mK.
  • the thermal conductivity of the heat insulating materials 103b and 103a is 0.014 to 0.024 W / mK.
  • FIG. 2 shows the microstructure 111 of the silica xerogel 104 of the embodiment.
  • Silica xerogel 104 is a porous structure in which silica secondary particles 109 formed by aggregation of silica primary particles 108 are connected by point contact and have pores 110 on the order of several tens of nm.
  • the fine structure 111 of the silica xerogel 104 exists in the composite layer 102 or the silica xerogel layer 101 and the inorganic binder layer 105 on the upper and lower surfaces thereof.
  • the thickness of the heat insulating materials 103a and 103b is in the range of 0.03 mm to 3.0 mm, preferably in the range of 0.05 mm to 1.0 mm.
  • the heat insulating effect in the thickness direction of the heat insulating material 103b is lowered.
  • the thickness of the heat insulating material 103b is 0.05 mm or more, the heat insulating effect in the thickness direction of the heat insulating material 103b can be secured.
  • the thickness of the heat insulating materials 103a and 103b is greater than 1.0 mm, it is difficult to incorporate the heat insulating materials 103a and 103b into devices that are becoming thinner and smaller in recent years.
  • ⁇ Content of silica xerogel 104 in the heat insulating material> The ratio of the weight of the silica xerogel 104 to the total weight of the heat insulating materials 103a and 103b varies depending on the basis weight, bulk density, and thickness of the nonwoven fabric fiber 119. For this reason, although it cannot generally be said, at least 30% by weight or more is sufficient. When the ratio of the weight of the silica xerogel 104 is less than 30% by weight, it is difficult to reduce the thermal conductivity. Moreover, the ratio of the weight of the silica xerogel 104 should just be 70 weight% or less.
  • the ratio of the weight of the silica xerogel 104 is higher than 70% by weight, the heat conductivity of the heat insulating material 103b decreases, but the heat insulating material 103b lacks flexibility and strength, and the heat insulating material 103b is repeatedly used due to repeated use of the heat insulating material 103b.
  • the silica xerogel 104 may fall off from
  • the basis weight of the nonwoven fabric fiber 119 5 g / m 2 or more and 350 g / m 2 or less is used. The numerical values will also be described in the following examples.
  • the basis weight is the weight per unit area.
  • the bulk density of the nonwoven fabric fibers 119 is preferably in the range of 100 kg / m 3 to 500 kg / m 3 .
  • the bulk density of the nonwoven fabric needs to be at least 100 kg / m 3 . Further, when the bulk density of the nonwoven fabric is larger than 500 kg / m 3 , the space volume in the nonwoven fabric is reduced, so that the silica xerogel 104 that can be filled is relatively reduced and the thermal conductivity is increased.
  • the numerical values will also be described in the following examples.
  • the material of the nonwoven fabric fiber 119 is preferably a nonwoven fabric fiber 119 containing a carbon component that can generate carbon dioxide by reacting with oxygen in the atmosphere at a high temperature of 300 ° C. or higher.
  • a carbon component that can generate carbon dioxide by reacting with oxygen in the atmosphere at a high temperature of 300 ° C. or higher.
  • the nonwoven fabric fiber 119 is preferably an acrylic oxide 113 in which a nitrile group partially remains, or a fully cyclized acrylic oxide 114.
  • Acrylic oxide can be obtained by heating polyacrylonitrile (PAN) 112 at 200 to 300 ° C. in the atmosphere.
  • PAN polyacrylonitrile
  • PAN 112 itself burns when heated at a higher temperature. It is not preferable as a fiber used in the above.
  • 3B is preferable from the viewpoint of efficiently generating carbon dioxide.
  • the nonwoven fabric fibers 119 need to be included as a main component in the nonwoven fabric fibers.
  • the nonwoven fabric fiber 119 is contained in an amount of 50% by volume or more in the nonwoven fabric fiber.
  • the nonwoven fabric fibers may include a plurality of types.
  • the fiber diameter of the nonwoven fabric fiber 119 used in the present embodiment is preferably 1 to 30 ⁇ m from the viewpoint of achieving both thermal conductivity, flame retardancy, and productivity.
  • the fiber diameter of the nonwoven fabric fiber 119 is preferably 1 to 30 ⁇ m from the viewpoint of achieving both thermal conductivity, flame retardancy, and productivity of the heat insulating materials 103a and 103b.
  • the non-woven fiber 119 As the non-woven fiber 119, as described above, from the viewpoint of efficiently generating carbon dioxide, the acryl oxide 113 in which the nitrile group partially remains, the fully cyclized acryl oxide 114, the carbon fiber 115, and the graphite fiber 116 are used. Etc. are used. An acid is used in the process of compounding these non-woven fibers 119 and silica xerogel 104 (described in the following production method, (7) Hydrophobization 1 (hydrochloric acid immersion step)).
  • the surface of the nonwoven fabric fiber 119 is modified with carboxyl (—COOH) 117 by acid.
  • carboxyl (—COOH) 117 the density of the carboxyl group 117 varies depending on the conditions (acid concentration, time, temperature) when the nonwoven fabric fiber 119 is immersed in a strong acid.
  • the functional group density tends to increase as the concentration increases for a long time and for a long time.
  • a dehydration condensation reaction mainly by heating proceeds in the formation process (hydrophobization and drying) of the silica xerogel 104.
  • the formation of a double strand having a large diameter of the nonwoven fabric fiber 119 is not preferable from the viewpoint of the heat insulating material design because it forms a heat conduction path.
  • the hairpin loop structure 120 having a gentle curve is partially formed.
  • FIG. 5A shows a fiber having the hairpin loop structure 120. Since the nonwoven fabric fibers 119 are not in contact with each other, binding between them can be inhibited. It is also preferable that a pseudoknot structure 121 in which the hairpin loop structure 120 is continuous is also formed.
  • FIG. 5B shows a fiber having the pseudoknot structure 121.
  • the hairpin loop structure 120 and the pseudoknot structure 121 are used to reinforce the fragile structure of the silica xerogel 104 that is not suitable as a structural material, although the diameter of the nonwoven fabric fiber 119 is not changed but is light and has a low elastic modulus. It is effective.
  • the hairpin loop structure 120 refers to a structure in which one fiber is arranged symmetrically about one point as an axis and has one bent portion (line symmetry).
  • the pseudo-knot structure 121 indicates a structure in which one fiber is bent and arranged around two points as an axis and has two bent portions (rotation symmetry).
  • the bulk density and basis weight of the nonwoven fabric fiber 119 are not increased because of the above reasons.
  • hairpin loop structure an internal loop, a bulge loop, or a branch loop may be used. It is sufficient that at least a part has a loop structure (annular or ring-shaped structure), in other words, at least a part has a curved portion.
  • the flame retarding mechanism of the heat insulating materials 103a and 103b of the present embodiment will be described below.
  • the heat insulating materials 103 a and 103 b include silica xerogel 104 and non-woven fiber 119.
  • the silica particle surface constituting the silica xerogel 104 is organically modified and exhibits hydrophobicity. However, when heated for a long time at a high temperature of 300 ° C. or higher, this organic modification group is thermally decomposed, and trimethylsilanol or the like becomes a combustible gas. Desorbs in large quantities. This combustible gas may act as a combustion aid.
  • glass paper made of C glass does not burn the base material itself, but when this glass paper is combined with silica xerogel 104 (800 m 2 /g.about.) Having a large specific surface area, a large amount of combustibility generated from silica xerogel 104. In some cases, the gas is ignited and the glass paper made of C glass burns.
  • C glass has lower heat resistance than E glass, and depending on the basis weight, it shrinks and deforms when heated to 750 ° C. or higher.
  • the nonwoven fabric fibers 119 such as acrylic oxide, carbon fiber, and graphite fiber of the present embodiment, oxygen and nonwoven fabric in the atmosphere at a high temperature of 300 ° C.
  • the carbon in the fiber 119 reacts to generate and release a large amount of carbon dioxide, thereby preventing the combustible gas desorbed from the silica xerogel 104 from burning.
  • Raw material mixing 1.4 parts by weight of concentrated hydrochloric acid as a catalyst is added to a high molar silicic acid aqueous solution (Tosoh Sangyo Co., Ltd., SiO 2 concentration 14 wt%) and stirred to prepare a sol solution.
  • a high molar silicic acid aqueous solution Tosoh Sangyo Co., Ltd., SiO 2 concentration 14 wt%
  • the raw material species of silica is not limited to high molar sodium silicate, and alkoxysilane or water glass (low molar ratio) may be used.
  • the types of acids used include hydrochloric acid, nitric acid, sulfuric acid, hydrofluoric acid, sulfurous acid, phosphoric acid, phosphorous acid, hypophosphorous acid, chloric acid, chlorous acid, hypochlorous acid and other inorganic acids, acidic phosphoric acid
  • examples thereof include acidic phosphates such as aluminum, acidic magnesium phosphate and acidic zinc phosphate, and organic acids such as acetic acid, propionic acid, oxalic acid, succinic acid, citric acid, malic acid, adipic acid and azelaic acid.
  • hydrochloric acid is preferable.
  • Gelation of the sol solution prepared by adding the above acid catalyst to a high molar silicic acid aqueous solution is preferably performed in a closed container where the liquid solvent does not volatilize.
  • the pH value at that time is preferably 4.0 to 8.0.
  • the pH is less than 4.0 or greater than 8.0, the high molar silicic acid aqueous solution may not be gelled depending on the temperature at that time.
  • the sol solution is poured into the nonwoven fabric fiber 119 (material: acrylic oxide, thickness specification 400 um, basis weight 53 g / m 2 , size 12 cm ⁇ ), and the sol solution is pushed into the nonwoven fabric with a hand roll and impregnated.
  • the impregnation amount of the sol solution is used in excess with respect to the theoretical space volume in the nonwoven fabric fiber 119 (> 100%).
  • the theoretical space volume in the nonwoven fabric is calculated from the bulk density of the nonwoven fabric fiber 119.
  • the nonwoven fabric material, thickness, and bulk density are not limited to the above as described above.
  • the impregnation method may be a method of immersing a nonwoven fabric roll in a sol solution for each roll or a method of applying a sol solution from a dispenser or spray nozzle while feeding the nonwoven fabric at a constant speed by Roll to Roll. To Roll to Roll method is preferable.
  • the impregnated nonwoven fabric is passed through the biaxial roll with the gap set to 190 um (film thickness included), the excess gel is squeezed out from the nonwoven fabric, and the thickness is regulated for 100 um.
  • the thickness regulation method is not limited to the above, and the thickness may be regulated by a method such as squeegee or press.
  • the curing temperature is preferably 50 to 100 ° C., more preferably 60 to 90 ° C. under normal pressure.
  • the curing temperature is less than 50 ° C.
  • the heat necessary for the silicic acid monomer, which is the active species of the reaction is not transmitted as in the gelation process, the growth of the silica particles is not promoted, and it takes time until the curing proceeds sufficiently.
  • the strength of the generated wet gel is low and may shrink greatly during drying, and the desired silica xerogel 104 may not be obtained.
  • the curing temperature exceeds 100 ° C.
  • water is volatilized in the container and a phenomenon of separation from the gel is observed, thereby reducing the volume of the wet gel obtained,
  • the desired silica xerogel 104 may not be obtained.
  • the temperature is in the range of 60 to 90 ° C.
  • moderate growth of silica particles can be promoted without impairing productivity, and the neck portion where the silica particles are connected by point contact can be strengthened.
  • curing can be performed without volatilizing the moisture of the wet gel.
  • the curing time depends on the curing temperature, but is preferably 0.5 to 6 hours, more preferably 1 to 3 hours. If the curing time is less than 0.5 hours, the gel wall strength may not be sufficiently improved. If the curing time is longer than 6 hours, the effect of curing in improving the gel wall strength will be poor. It may be damaged. If it is 1 to 3 hours, the strength of the gel wall can be sufficiently improved without impairing the productivity.
  • the gelation temperature or curing temperature is increased within the above range, or the total time of gelation time and curing time is increased within the above range. It is preferable. Further, in order to reduce the pore volume of silica xerogel 104 or to reduce the average pore diameter, the gelation temperature and the curing temperature are reduced within the above ranges, or the total time of the gelation time and the curing time is set as described above. It is preferable to shorten within the range.
  • Hydrophobization 1 (hydrochloric acid immersion process) After immersing the gel sheet in hydrochloric acid (4 to 12N), leave it at room temperature at 23 ° C. for 15 minutes or longer to incorporate hydrochloric acid into the gel sheet.
  • Hydrophobization 2 siloxane treatment process
  • the gel sheet is immersed in a mixed solution of octamethyltrisiloxane, which is a silylating agent, and 2-propanol (IPA) as an alcohol, and placed in a constant temperature bath at 55 ° C. for 2 hours.
  • IPA 2-propanol
  • hydrochloric acid water is discharged from the gel sheet and separated into two liquids (siloxane in the upper layer, hydrochloric acid in the lower layer, 2-propanol).
  • a heat flow meter HFM 436 Lamda (manufactured by NETZCH) and TIM tester (manufactured by Analysys Tech) were used for measuring the thermal conductivity of the heat insulating material 103b.
  • ⁇ Digimatic indicator H0530 (Mitutoyo) was used for thickness measurement.
  • the measurement pressure was 7.4 kPa.
  • the measurement location measured 15 points
  • the thermal conductivity of the heat insulating material is 0.024 W / mK or less, and it shall be acceptable if it does not burn even when flame contacted. However, a condition that satisfies both conditions was accepted as a comprehensive evaluation.
  • the thermal conductivity of still air at room temperature is about 0.026 W / mK. Therefore, in order to cut off the heat flow effectively, the heat conductivity of the heat insulating material 103b needs to be smaller than that of still air.
  • the acceptance criterion for the thermal conductivity of the heat insulating material 103b was set to 0.024 W / mK or less, which is about 10% lower than the thermal conductivity of still air. If it is greater than 0.024 W / mK, the thermal conductivity of still air is not much different, and the superiority to air insulation is impaired.
  • Examples 1 to 4 and Comparative Examples 1 to 4 are composed of the heat insulating material 103b (the composite layer 102 and the silica xerogel layer 101) shown in FIGS. 1A and 1B. In Comparative Examples 5 and 6, only the nonwoven fabric fiber 119 is used.
  • Comparative Example 1 is a heat insulating material in which the nonwoven fabric fiber 119 is made of polyester.
  • flame retardant acrylic oxide is used as the nonwoven fabric fiber 119, but fibers having a fiber diameter larger than 30 ⁇ m are evaluated.
  • Comparative Examples 5 and 6 show the evaluation results of only the flame-retardant nonwoven fabric not containing silica xerogel 104. The concentration below is% by weight.
  • Example 1 To a high molar silicic acid aqueous solution (Tosoh Sangyo Co., Ltd., SiO 2 concentration 14%), 1.4 parts by weight of concentrated hydrochloric acid was added as a catalyst and stirred to prepare a sol solution. Subsequently, the non-woven fabric was impregnated with the sol solution by pouring the sol solution onto the non-woven fabric fiber 119 (material: acrylic oxide, thickness 0.241 mm, basis weight 53 g / m 2 ). The nonwoven fabric impregnated with the sol solution was sandwiched between PP films (thickness 50 um ⁇ 2 sheets) and left at room temperature for 23 minutes to gel the sol.
  • PP films thickness 50 um ⁇ 2 sheets
  • the impregnated non-woven fabric was passed through the biaxial roll with the gap set to 0.3 mm (film thickness included), and the excess gel was squeezed out from the non-woven fabric and regulated for a thickness of 0.30 mm.
  • the gel sheet is placed in a container with a film and placed in a constant temperature and humidity chamber set at a temperature of 85 ° C. and a humidity of 85% for 3 hours to grow silica particles (silanol dehydration condensation reaction) and to be porous. A structure was formed. After taking out the curing container from the thermostat and allowing it to cool at room temperature, the sample after curing was taken out and the film was peeled off.
  • the gel sheet was allowed to stand for 60 minutes at a room temperature of 23 ° C. to incorporate hydrochloric acid into the gel sheet.
  • the gel sheet was immersed in a mixed solution of octamethyltrisiloxane, which is a silylating agent, and 2-propanol (IPA), placed in a constant temperature bath at 55 ° C., and reacted for 2 hours.
  • IPA 2-propanol
  • hydrochloric acid water was discharged from the gel sheet, and two liquids were separated (siloxane in the upper layer, hydrochloric acid in the lower layer, 2-pronol).
  • the gel sheet was transferred to a thermostat set at 150 ° C. and dried in an air atmosphere for 2 hours to obtain a sheet.
  • FIG. 7 shows a state in which the heat insulating material produced in Example 1 is in contact with flame, but it was found that it did not burn at all.
  • FIG. 9 is a scanning electron microscope observation image of the flame-retardant heat insulating material (composite of nonwoven fiber 119 made of acrylic oxide and silica xerogel 104) produced in Example 1 and Comparative Example 2.
  • Example 1 is a fiber treated with a hydrochloric acid concentration of 6 N
  • Comparative Example 2 is a fiber treated with a hydrochloric acid concentration of 12 N.
  • the cross-sectional structure (150 times) of the heat insulating material produced in Example 1 had a hairpin loop structure, each fiber was independent, and the fiber diameter was 15 ⁇ m.
  • Example 2 A sheet was produced under the same process conditions as in Example 1 except that the specification of the nonwoven fabric fiber 119 was changed to an average thickness of 0.108 mm and a basis weight of 20 g / m 2 and the amount of raw material used was changed to 1/2. did.
  • a heat insulating material 103b having an average thickness of 0.246 mm and a thermal conductivity of 0.0180 W / mK was obtained.
  • the filling rate of the silica xerogel 104 at this time was 66.9 wt%. As in Example 1, even if the heat insulating material was in contact with flame, it did not burn at all.
  • Example 3 As the nonwoven fabric fiber 119, Example 1 is used except that 20% of PET is contained, carbon fiber is changed to 80%, average thickness is 0.450 mm, basis weight is 30 g / m 2, and the amount of raw material used is doubled accordingly. Sheets were produced under similar process conditions. Since carbon fibers are not easily entangled with each other, the carbon fiber base material to which 20% of PET is added as a binder is used in the present invention in order to obtain a self-supporting nonwoven fabric base material.
  • a heat insulating material 103b having an average thickness of 0.503 mm and a thermal conductivity of 0.019 W / mK was obtained.
  • the filling rate of the silica xerogel 104 at this time was 67.1 wt%. As in Example 1, even if the heat insulating material was in contact with flame, it did not burn at all.
  • Example 4 Example 1 except that 20% PVA, carbon fiber 80%, average thickness 0.130 mm, basis weight 10 g / m 2 were changed as the nonwoven fabric fiber 119, and the amount of raw material used was changed to 1/2 accordingly.
  • a sheet was produced under the same process conditions as in Example 1. Since carbon fibers are not easily entangled with each other, the carbon fiber base material added with 20% PVA as a binder is used in the present invention in order to obtain a self-supporting nonwoven fabric base material.
  • a heat insulating material 103b having an average thickness of 0.200 mm and a thermal conductivity of 0.017 W / mK was obtained.
  • the filling rate of the silica xerogel 104 at this time was 69.6 wt%. As in Example 1, even if the heat insulating material was in contact with flame, it did not burn at all.
  • Example 1 A sheet was produced under the same process conditions as in Example 1 except that the nonwoven fabric fiber 119 was changed to PET (thickness 0.902 mm, basis weight 105 g / m 2 ).
  • FIG. 8 shows a state where the heat insulating material produced in Comparative Example 1 is in contact with flame, but it was found that it easily burns.
  • ⁇ Comparative example 2> A sheet was prepared under the same process conditions as in Example 1 except that the gel sheet was immersed in 12N hydrochloric acid and then allowed to stand at room temperature for 23 hours for 72 hours to incorporate hydrochloric acid into the gel sheet.
  • a heat insulating material 103b having an average thickness of 0.656 mm and a thermal conductivity of 0.02626 W / mK was obtained.
  • the filling rate of silica xerogel 104 at this time was 49.2 wt%.
  • Example 3 A sheet was produced under the same process conditions as in Example 1 except that the gel sheet was immersed in 12N hydrochloric acid and then allowed to stand at room temperature at 23 ° C. for 24 hours to incorporate hydrochloric acid into the gel sheet.
  • Example 4 A sheet was prepared under the same process conditions as in Example 1 except that the gel sheet was immersed in 12N hydrochloric acid and then allowed to stand at room temperature at 23 ° C. for 60 minutes to incorporate hydrochloric acid into the gel sheet.
  • a heat insulating material 103b having an average thickness of 0.538 mm and a thermal conductivity of 0.02663 W / mK was obtained.
  • the filling rate of the silica xerogel 104 at this time was 46.4 wt%.
  • it did not burn at all even if it contacted the heat insulating material it did not satisfy the standard of thermal conductivity of 0.024 W / mK or less.
  • the fibers were fused to become two, and there were some portions where the fiber diameter was thick.
  • the nonwoven fabric fiber 119 contains 20% polyester, carbon fiber is 80%, average thickness is 0.130 mm, basis weight is 10 g / m 2 , and the thermal conductivity is measured without making silica xerogel 104 complex. 0.034 W / mK.
  • FIG. 9 shows a scanning type of a heat insulating material (composite of nonwoven fiber 119 made of acrylic oxide and silica xerogel 104) produced in Example 1 and Comparative Example 2. It is an observation image of an electron microscope. In Example 1, the fiber was treated with a hydrochloric acid concentration of 6N, and in Comparative Example 2, the fiber was treated with a hydrochloric acid concentration of 12N. Although the comparative example 2 did not burn at all even if it contacted a heat insulating material like Example 1, it did not satisfy
  • FIG. 10 shows the relationship between the filling rate (% by weight) of the silica xerogel 104 and the thermal conductivity of the heat insulating material. There is a correlation between the filling rate of the silica xerogel 104 and the thermal conductivity, and the filling rate of the silica xerogel 104 is required to be 30% by weight or more under preferable conditions for satisfying the thermal conductivity of 0.024 W / mK or less. It was found that there was (FIG. 10).
  • the filling rate of the silica xerogel 104 when the filling rate of the silica xerogel 104 is higher than 80%, the silica xerogel layer 101 that is not effectively reinforced by the nonwoven fabric fiber 119 is partially formed. There is a demerit that the destruction or dropout is likely to occur.
  • Table 2 summarizes the relationship between the filling rate of the silica xerogel 104, the thermal conductivity, and the gel desorption amount.
  • the filling rate of silica xerogel 104 is 30% by weight and 80% by weight, which is critical.
  • an appropriate range of the filling rate of the silica xerogel 104 that satisfies both is defined, it is preferably 30% by weight or more and 80% by weight or less.
  • FIG. 11 shows the relationship between the maximum fiber diameter of the non-woven fiber 119 constituting the heat insulating material and the thermal conductivity of the heat insulating material.
  • the fiber diameter is preferably 30 ⁇ m or less.
  • the fiber diameter of the nonwoven fabric fiber 119 is preferably 30 ⁇ m or less and the filling rate of the silica xerogel 104 is preferably 30% by weight or more and 80% by weight or less.
  • the heat insulating material 107 is a three-layer structure including a non-woven fiber layer 106 that includes non-woven fiber 119 and does not include silica xerogel 104, and an inorganic binder layer 105 in which silica xerogel 104 on both surfaces thereof is bound with an inorganic binder. . Matters not described are the same as those in the first embodiment. Silica xerogel 104 and non-woven fiber 119 are not in direct contact with each other, but are in the same heat insulating material 107 and have the same effect as in the first embodiment.
  • This structure is easier to manufacture than the heat insulating material 103b of the first embodiment. It is only necessary to apply a mixture of an inorganic binder and silica xerogel 104 to the nonwoven fabric fiber 119. Moreover, in this structure, since the silica xerogel 104 and the nonwoven fabric fiber 119 were isolate
  • the thickness, components, and silica xerogel 104 concentration of the heat insulating material 107 are the same as those of the heat insulating material 103b.
  • a heat insulating material 107 is obtained by mixing a low-density powder material containing a porous powder such as silica xerogel 104 and an inorganic binder, applying the mixture to a flame-retardant nonwoven fabric fiber 119, and drying.
  • the inorganic binder is a binder that binds the low-density powder material and the nonwoven fabric fiber 119, and is generally composed of a main component, a curing agent, and a filler, but a known inorganic binder can be used.
  • the mixture is applied to both sides of the nonwoven fabric fiber 119 so as to have a predetermined thickness, and is dried.
  • the heat insulating material 107 can be manufactured.
  • Silica xerogel 104 preferably has a thermal conductivity of 0.010 to 0.015 W / mK and an average particle size of 5 to 50 ⁇ m. At this time, it may be simultaneously applied to both surfaces of the nonwoven fabric fiber 119, or may be prepared by sequentially applying and drying one surface at a time, but is not limited thereto.
  • the nonwoven fabric fiber 119 and the silica xerogel 104 are the same as those in the first embodiment. Other matters not described are the same as those in the first embodiment.
  • Embodiments 1 and 2 can be combined.
  • Silica xerogel 104 and non-woven fiber 119 do not need to be located in the same layer, and may exist in the same heat insulating material.
  • the heat insulating material of the invention of the present application is preferably arranged as a part of a heat insulating or cold insulating structure in a variety of devices, or between a part that generates heat and a housing.
  • the heat insulating material of the present embodiment is widely used because it can sufficiently exhibit a heat insulating effect even in a narrow space in electronic equipment, in-vehicle equipment, and industrial equipment. It is applied to all products related to heat, such as information equipment, portable equipment, displays, and electrical components.

Landscapes

  • Engineering & Computer Science (AREA)
  • Chemical & Material Sciences (AREA)
  • General Engineering & Computer Science (AREA)
  • Organic Chemistry (AREA)
  • Ceramic Engineering (AREA)
  • Mechanical Engineering (AREA)
  • Dispersion Chemistry (AREA)
  • Textile Engineering (AREA)
  • Structural Engineering (AREA)
  • Materials Engineering (AREA)
  • Inorganic Chemistry (AREA)
  • Combustion & Propulsion (AREA)
  • Physics & Mathematics (AREA)
  • Thermal Sciences (AREA)
  • Thermal Insulation (AREA)
  • Laminated Bodies (AREA)
  • Nonwoven Fabrics (AREA)
  • Silicon Compounds (AREA)
  • Chemical Or Physical Treatment Of Fibers (AREA)
PCT/JP2017/022303 2016-07-01 2017-06-16 断熱材およびその断熱材を用いた機器 Ceased WO2018003545A1 (ja)

Priority Applications (4)

Application Number Priority Date Filing Date Title
JP2018525053A JP6667083B2 (ja) 2016-07-01 2017-06-16 断熱材およびその断熱材を用いた機器
CN201780038705.4A CN109328280B (zh) 2016-07-01 2017-06-16 绝热材料以及使用该绝热材料的设备
EP17819905.5A EP3480507B1 (en) 2016-07-01 2017-06-16 Insulating material and equipment using insulating material
US16/228,742 US20190145571A1 (en) 2016-07-01 2018-12-20 Insulating material and device using insulating material

Applications Claiming Priority (2)

Application Number Priority Date Filing Date Title
JP2016131180 2016-07-01
JP2016-131180 2016-07-01

Related Child Applications (1)

Application Number Title Priority Date Filing Date
US16/228,742 Continuation US20190145571A1 (en) 2016-07-01 2018-12-20 Insulating material and device using insulating material

Publications (1)

Publication Number Publication Date
WO2018003545A1 true WO2018003545A1 (ja) 2018-01-04

Family

ID=60785336

Family Applications (1)

Application Number Title Priority Date Filing Date
PCT/JP2017/022303 Ceased WO2018003545A1 (ja) 2016-07-01 2017-06-16 断熱材およびその断熱材を用いた機器

Country Status (5)

Country Link
US (1) US20190145571A1 (enExample)
EP (1) EP3480507B1 (enExample)
JP (2) JP6667083B2 (enExample)
CN (1) CN109328280B (enExample)
WO (1) WO2018003545A1 (enExample)

Cited By (6)

* Cited by examiner, † Cited by third party
Publication number Priority date Publication date Assignee Title
WO2019188159A1 (ja) * 2018-03-30 2019-10-03 パナソニックIpマネジメント株式会社 断熱体およびその製造方法
WO2019188158A1 (ja) * 2018-03-30 2019-10-03 パナソニックIpマネジメント株式会社 断熱体およびこれを用いた断熱シート、ならびに断熱体の製造方法
JP2020056504A (ja) * 2016-07-01 2020-04-09 パナソニックIpマネジメント株式会社 断熱材およびその断熱材を用いた機器
CN111547728A (zh) * 2019-02-08 2020-08-18 松下知识产权经营株式会社 绝热片及其制造方法、电子设备和电池单元
WO2020188867A1 (ja) * 2019-03-19 2020-09-24 パナソニックIpマネジメント株式会社 断熱シートの製造方法
JP2021187694A (ja) * 2020-05-27 2021-12-13 パナソニックIpマネジメント株式会社 エアロゲル構造体およびその製造方法

Families Citing this family (9)

* Cited by examiner, † Cited by third party
Publication number Priority date Publication date Assignee Title
JP7119916B2 (ja) * 2018-11-05 2022-08-17 トヨタ自動車株式会社 内燃機関の遮熱コーティングおよび遮熱コーティングの形成方法
JP7304509B2 (ja) * 2019-03-28 2023-07-07 パナソニックIpマネジメント株式会社 断熱材およびその製造方法
JP7426553B2 (ja) 2019-05-29 2024-02-02 パナソニックIpマネジメント株式会社 断熱シートおよびその製造方法、ならびに電子機器および電池ユニット
US20220227100A1 (en) * 2019-06-25 2022-07-21 3M Innovative Properties Company Nonwoven fibrous web
CN111188188A (zh) * 2020-01-14 2020-05-22 南京工业大学 疏水沉淀二氧化硅复合材料的制备方法
US12381221B2 (en) 2020-12-30 2025-08-05 Aspen Aerogels, Inc. Fibrous carbon aerogels coated with nano-thin silicon as lithium battery anodes
WO2022144736A1 (en) * 2020-12-30 2022-07-07 Aspen Aerogels, Inc. Fibrous carbon aerogels coated with nano-thin silicon as lithium battery anodes
CN119099179A (zh) * 2023-06-07 2024-12-10 欧文斯科宁知识产权资产有限公司 一种二氧化硅气凝胶复合无纺布隔热片材
CN118441409A (zh) * 2024-07-08 2024-08-06 成都硕屋科技有限公司 一种气凝胶绝热复合材料的制备方法

Citations (8)

* Cited by examiner, † Cited by third party
Publication number Priority date Publication date Assignee Title
JP2004340420A (ja) * 2003-05-13 2004-12-02 Toshiba Corp 冷蔵庫
JP2009275857A (ja) * 2008-05-15 2009-11-26 Nichias Corp 断熱体
JP2009299893A (ja) * 2008-05-15 2009-12-24 Nichias Corp 断熱材、これを用いた断熱構造及びその製造方法
JP2011136859A (ja) * 2009-12-28 2011-07-14 Asahi Fiber Glass Co Ltd 繊維系断熱材及びその製造方法
JP2012211697A (ja) * 2012-05-31 2012-11-01 Nichias Corp 断熱体
JP2014035042A (ja) * 2012-08-09 2014-02-24 Panasonic Corp 断熱材
WO2014132652A1 (ja) * 2013-02-28 2014-09-04 パナソニック株式会社 エアロゲルを用いた断熱構造体
JP2014529519A (ja) * 2011-08-15 2014-11-13 イー・アイ・デュポン・ドウ・ヌムール・アンド・カンパニーE.I.Du Pont De Nemours And Company 大量保護輸送およびコールドチェーン用途の通気性製品

Family Cites Families (7)

* Cited by examiner, † Cited by third party
Publication number Priority date Publication date Assignee Title
DE4437424A1 (de) * 1994-10-20 1996-04-25 Hoechst Ag Aerogelhaltige Zusammensetzung, Verfahren zu ihrer Herstellung sowie ihre Verwendung
US7118801B2 (en) * 2003-11-10 2006-10-10 Gore Enterprise Holdings, Inc. Aerogel/PTFE composite insulating material
US20090258180A1 (en) * 2008-02-15 2009-10-15 Chapman Thermal Products, Inc. Layered thermally-insulating fabric with an insulating core
CN101619797B (zh) * 2009-06-09 2013-06-05 深圳市金士康实业有限公司 隔热膜及其制备方法
CA2876691C (en) * 2012-06-26 2018-06-12 Cabot Corporation Flexible insulating structures and methods of making and using same
JP6738990B2 (ja) * 2014-08-26 2020-08-12 パナソニックIpマネジメント株式会社 断熱シートおよびその製造方法
WO2018003545A1 (ja) * 2016-07-01 2018-01-04 パナソニックIpマネジメント株式会社 断熱材およびその断熱材を用いた機器

Patent Citations (8)

* Cited by examiner, † Cited by third party
Publication number Priority date Publication date Assignee Title
JP2004340420A (ja) * 2003-05-13 2004-12-02 Toshiba Corp 冷蔵庫
JP2009275857A (ja) * 2008-05-15 2009-11-26 Nichias Corp 断熱体
JP2009299893A (ja) * 2008-05-15 2009-12-24 Nichias Corp 断熱材、これを用いた断熱構造及びその製造方法
JP2011136859A (ja) * 2009-12-28 2011-07-14 Asahi Fiber Glass Co Ltd 繊維系断熱材及びその製造方法
JP2014529519A (ja) * 2011-08-15 2014-11-13 イー・アイ・デュポン・ドウ・ヌムール・アンド・カンパニーE.I.Du Pont De Nemours And Company 大量保護輸送およびコールドチェーン用途の通気性製品
JP2012211697A (ja) * 2012-05-31 2012-11-01 Nichias Corp 断熱体
JP2014035042A (ja) * 2012-08-09 2014-02-24 Panasonic Corp 断熱材
WO2014132652A1 (ja) * 2013-02-28 2014-09-04 パナソニック株式会社 エアロゲルを用いた断熱構造体

Cited By (14)

* Cited by examiner, † Cited by third party
Publication number Priority date Publication date Assignee Title
JP2020056504A (ja) * 2016-07-01 2020-04-09 パナソニックIpマネジメント株式会社 断熱材およびその断熱材を用いた機器
JP7241263B2 (ja) 2018-03-30 2023-03-17 パナソニックIpマネジメント株式会社 断熱体およびその製造方法
WO2019188158A1 (ja) * 2018-03-30 2019-10-03 パナソニックIpマネジメント株式会社 断熱体およびこれを用いた断熱シート、ならびに断熱体の製造方法
WO2019188159A1 (ja) * 2018-03-30 2019-10-03 パナソニックIpマネジメント株式会社 断熱体およびその製造方法
JP7340734B2 (ja) 2018-03-30 2023-09-08 パナソニックIpマネジメント株式会社 断熱体およびこれを用いた断熱シート、ならびに断熱体の製造方法
CN111868432A (zh) * 2018-03-30 2020-10-30 松下知识产权经营株式会社 绝热体、使用该绝热体的绝热片以及绝热体的制造方法
US20210018135A1 (en) * 2018-03-30 2021-01-21 Panasonic Intellectual Property Management Co., Ltd. Heat-insulating body, heat-insulating sheet using same, and method for manufacturing heat-insulating body
JPWO2019188158A1 (ja) * 2018-03-30 2021-04-01 パナソニックIpマネジメント株式会社 断熱体およびこれを用いた断熱シート、ならびに断熱体の製造方法
JPWO2019188159A1 (ja) * 2018-03-30 2021-04-08 パナソニックIpマネジメント株式会社 断熱体およびその製造方法
CN111547728A (zh) * 2019-02-08 2020-08-18 松下知识产权经营株式会社 绝热片及其制造方法、电子设备和电池单元
CN111547728B (zh) * 2019-02-08 2024-03-08 松下知识产权经营株式会社 绝热片及其制造方法、电子设备和电池单元
WO2020188867A1 (ja) * 2019-03-19 2020-09-24 パナソニックIpマネジメント株式会社 断熱シートの製造方法
JP2021187694A (ja) * 2020-05-27 2021-12-13 パナソニックIpマネジメント株式会社 エアロゲル構造体およびその製造方法
JP7422346B2 (ja) 2020-05-27 2024-01-26 パナソニックIpマネジメント株式会社 エアロゲル構造体およびその製造方法

Also Published As

Publication number Publication date
EP3480507A1 (en) 2019-05-08
JP6967709B2 (ja) 2021-11-17
JPWO2018003545A1 (ja) 2019-04-11
JP2020056504A (ja) 2020-04-09
CN109328280A (zh) 2019-02-12
US20190145571A1 (en) 2019-05-16
CN109328280B (zh) 2021-03-09
JP6667083B2 (ja) 2020-03-18
EP3480507B1 (en) 2021-03-03
EP3480507A4 (en) 2019-07-10

Similar Documents

Publication Publication Date Title
JP6967709B2 (ja) 断熱材およびその断熱材を用いた機器
JP7603213B2 (ja) 断熱シートおよびその製造方法、ならびに電子機器および電池ユニット
JP6064149B1 (ja) 断熱シートとそれを用いた電子機器、および断熱シートの製造方法
US20210180244A1 (en) Thermal insulation sheet and method for producing the same, and electronic device and battery unit
JP7065412B2 (ja) 断熱シートおよびその製造方法、ならびに電子機器および電池ユニット
JP2017155402A (ja) 可撓性絶縁構造体ならびにその作成および使用方法
JP6934593B2 (ja) 断熱材とその製造方法
JP2017523584A (ja) 受動的断熱材
JP2024144134A (ja) カバープロテクタ及びその製造方法、並びに電池モジュール
WO2015182768A1 (ja) 真空断熱材
WO2017159438A1 (ja) 断熱シートとその製造方法
JP6998504B2 (ja) 断熱材およびその断熱材を用いた機器
WO2009093002A2 (en) Liquid formulation of microporous thermal insulation material, method of manufacture, and use thereof
US11760646B2 (en) Low-dust silica aerogel blanket and method for manufacturing same
JPWO2019069492A1 (ja) 塗液、塗膜の製造方法及び塗膜
CN106739383A (zh) 一种纳米多孔二氧化硅气凝胶保冷毡的制备方法
CN107640955B (zh) 绝热材及其制造方法
CN108822873A (zh) 一种新型纳米级微孔隔热材料及其制备方法
JP2019138436A (ja) 断熱シートとその製造方法、および、それを用いた機器
JP2025522646A (ja) 断熱用エアロゲル組成物
CN108859282A (zh) 新能源汽车锂离子动力电池用疏拒电池液又耐高温隔热的板及其制备方法
US12110414B2 (en) Method for suppressing corrosion under heat-insulating material, and paste for suppressing corrosion under heat-insulating material
RU2731479C1 (ru) Теплоизоляционный материал на основе аэрогеля
WO2024203355A1 (ja) カバープロテクタ及びその製造方法、並びに電池モジュール
US20180156550A1 (en) Heat insulation material and device using same

Legal Events

Date Code Title Description
ENP Entry into the national phase

Ref document number: 2018525053

Country of ref document: JP

Kind code of ref document: A

121 Ep: the epo has been informed by wipo that ep was designated in this application

Ref document number: 17819905

Country of ref document: EP

Kind code of ref document: A1

NENP Non-entry into the national phase

Ref country code: DE

ENP Entry into the national phase

Ref document number: 2017819905

Country of ref document: EP

Effective date: 20190201