WO2017204194A1 - 蒸着マスク、フレーム付き蒸着マスク、有機半導体素子の製造方法、及び有機elディスプレイの製造方法 - Google Patents

蒸着マスク、フレーム付き蒸着マスク、有機半導体素子の製造方法、及び有機elディスプレイの製造方法 Download PDF

Info

Publication number
WO2017204194A1
WO2017204194A1 PCT/JP2017/019130 JP2017019130W WO2017204194A1 WO 2017204194 A1 WO2017204194 A1 WO 2017204194A1 JP 2017019130 W JP2017019130 W JP 2017019130W WO 2017204194 A1 WO2017204194 A1 WO 2017204194A1
Authority
WO
WIPO (PCT)
Prior art keywords
mask
vapor deposition
metal
metal mask
resin
Prior art date
Legal status (The legal status is an assumption and is not a legal conclusion. Google has not performed a legal analysis and makes no representation as to the accuracy of the status listed.)
Ceased
Application number
PCT/JP2017/019130
Other languages
English (en)
French (fr)
Japanese (ja)
Inventor
博司 川崎
武田 利彦
Current Assignee (The listed assignees may be inaccurate. Google has not performed a legal analysis and makes no representation or warranty as to the accuracy of the list.)
Dai Nippon Printing Co Ltd
Original Assignee
Dai Nippon Printing Co Ltd
Priority date (The priority date is an assumption and is not a legal conclusion. Google has not performed a legal analysis and makes no representation as to the accuracy of the date listed.)
Filing date
Publication date
Application filed by Dai Nippon Printing Co Ltd filed Critical Dai Nippon Printing Co Ltd
Priority to KR1020187036874A priority Critical patent/KR102365037B1/ko
Priority to US16/302,302 priority patent/US20190203338A1/en
Priority to CN201780030895.5A priority patent/CN109154064A/zh
Priority to CN202210442665.2A priority patent/CN114959565A/zh
Publication of WO2017204194A1 publication Critical patent/WO2017204194A1/ja
Anticipated expiration legal-status Critical
Ceased legal-status Critical Current

Links

Images

Classifications

    • CCHEMISTRY; METALLURGY
    • C23COATING METALLIC MATERIAL; COATING MATERIAL WITH METALLIC MATERIAL; CHEMICAL SURFACE TREATMENT; DIFFUSION TREATMENT OF METALLIC MATERIAL; COATING BY VACUUM EVAPORATION, BY SPUTTERING, BY ION IMPLANTATION OR BY CHEMICAL VAPOUR DEPOSITION, IN GENERAL; INHIBITING CORROSION OF METALLIC MATERIAL OR INCRUSTATION IN GENERAL
    • C23CCOATING METALLIC MATERIAL; COATING MATERIAL WITH METALLIC MATERIAL; SURFACE TREATMENT OF METALLIC MATERIAL BY DIFFUSION INTO THE SURFACE, BY CHEMICAL CONVERSION OR SUBSTITUTION; COATING BY VACUUM EVAPORATION, BY SPUTTERING, BY ION IMPLANTATION OR BY CHEMICAL VAPOUR DEPOSITION, IN GENERAL
    • C23C14/00Coating by vacuum evaporation, by sputtering or by ion implantation of the coating forming material
    • C23C14/04Coating on selected surface areas, e.g. using masks
    • C23C14/042Coating on selected surface areas, e.g. using masks using masks
    • CCHEMISTRY; METALLURGY
    • C23COATING METALLIC MATERIAL; COATING MATERIAL WITH METALLIC MATERIAL; CHEMICAL SURFACE TREATMENT; DIFFUSION TREATMENT OF METALLIC MATERIAL; COATING BY VACUUM EVAPORATION, BY SPUTTERING, BY ION IMPLANTATION OR BY CHEMICAL VAPOUR DEPOSITION, IN GENERAL; INHIBITING CORROSION OF METALLIC MATERIAL OR INCRUSTATION IN GENERAL
    • C23CCOATING METALLIC MATERIAL; COATING MATERIAL WITH METALLIC MATERIAL; SURFACE TREATMENT OF METALLIC MATERIAL BY DIFFUSION INTO THE SURFACE, BY CHEMICAL CONVERSION OR SUBSTITUTION; COATING BY VACUUM EVAPORATION, BY SPUTTERING, BY ION IMPLANTATION OR BY CHEMICAL VAPOUR DEPOSITION, IN GENERAL
    • C23C14/00Coating by vacuum evaporation, by sputtering or by ion implantation of the coating forming material
    • C23C14/04Coating on selected surface areas, e.g. using masks
    • CCHEMISTRY; METALLURGY
    • C23COATING METALLIC MATERIAL; COATING MATERIAL WITH METALLIC MATERIAL; CHEMICAL SURFACE TREATMENT; DIFFUSION TREATMENT OF METALLIC MATERIAL; COATING BY VACUUM EVAPORATION, BY SPUTTERING, BY ION IMPLANTATION OR BY CHEMICAL VAPOUR DEPOSITION, IN GENERAL; INHIBITING CORROSION OF METALLIC MATERIAL OR INCRUSTATION IN GENERAL
    • C23CCOATING METALLIC MATERIAL; COATING MATERIAL WITH METALLIC MATERIAL; SURFACE TREATMENT OF METALLIC MATERIAL BY DIFFUSION INTO THE SURFACE, BY CHEMICAL CONVERSION OR SUBSTITUTION; COATING BY VACUUM EVAPORATION, BY SPUTTERING, BY ION IMPLANTATION OR BY CHEMICAL VAPOUR DEPOSITION, IN GENERAL
    • C23C14/00Coating by vacuum evaporation, by sputtering or by ion implantation of the coating forming material
    • C23C14/06Coating by vacuum evaporation, by sputtering or by ion implantation of the coating forming material characterised by the coating material
    • C23C14/12Organic material
    • CCHEMISTRY; METALLURGY
    • C23COATING METALLIC MATERIAL; COATING MATERIAL WITH METALLIC MATERIAL; CHEMICAL SURFACE TREATMENT; DIFFUSION TREATMENT OF METALLIC MATERIAL; COATING BY VACUUM EVAPORATION, BY SPUTTERING, BY ION IMPLANTATION OR BY CHEMICAL VAPOUR DEPOSITION, IN GENERAL; INHIBITING CORROSION OF METALLIC MATERIAL OR INCRUSTATION IN GENERAL
    • C23CCOATING METALLIC MATERIAL; COATING MATERIAL WITH METALLIC MATERIAL; SURFACE TREATMENT OF METALLIC MATERIAL BY DIFFUSION INTO THE SURFACE, BY CHEMICAL CONVERSION OR SUBSTITUTION; COATING BY VACUUM EVAPORATION, BY SPUTTERING, BY ION IMPLANTATION OR BY CHEMICAL VAPOUR DEPOSITION, IN GENERAL
    • C23C14/00Coating by vacuum evaporation, by sputtering or by ion implantation of the coating forming material
    • C23C14/22Coating by vacuum evaporation, by sputtering or by ion implantation of the coating forming material characterised by the process of coating
    • C23C14/24Vacuum evaporation
    • HELECTRICITY
    • H05ELECTRIC TECHNIQUES NOT OTHERWISE PROVIDED FOR
    • H05BELECTRIC HEATING; ELECTRIC LIGHT SOURCES NOT OTHERWISE PROVIDED FOR; CIRCUIT ARRANGEMENTS FOR ELECTRIC LIGHT SOURCES, IN GENERAL
    • H05B33/00Electroluminescent light sources
    • H05B33/10Apparatus or processes specially adapted to the manufacture of electroluminescent light sources
    • HELECTRICITY
    • H10SEMICONDUCTOR DEVICES; ELECTRIC SOLID-STATE DEVICES NOT OTHERWISE PROVIDED FOR
    • H10KORGANIC ELECTRIC SOLID-STATE DEVICES
    • H10K50/00Organic light-emitting devices
    • H10K50/10OLEDs or polymer light-emitting diodes [PLED]
    • H10K50/11OLEDs or polymer light-emitting diodes [PLED] characterised by the electroluminescent [EL] layers
    • HELECTRICITY
    • H10SEMICONDUCTOR DEVICES; ELECTRIC SOLID-STATE DEVICES NOT OTHERWISE PROVIDED FOR
    • H10KORGANIC ELECTRIC SOLID-STATE DEVICES
    • H10K71/00Manufacture or treatment specially adapted for the organic devices covered by this subclass
    • H10K71/10Deposition of organic active material
    • H10K71/16Deposition of organic active material using physical vapour deposition [PVD], e.g. vacuum deposition or sputtering
    • H10K71/164Deposition of organic active material using physical vapour deposition [PVD], e.g. vacuum deposition or sputtering using vacuum deposition
    • HELECTRICITY
    • H10SEMICONDUCTOR DEVICES; ELECTRIC SOLID-STATE DEVICES NOT OTHERWISE PROVIDED FOR
    • H10KORGANIC ELECTRIC SOLID-STATE DEVICES
    • H10K71/00Manufacture or treatment specially adapted for the organic devices covered by this subclass
    • H10K71/10Deposition of organic active material
    • H10K71/16Deposition of organic active material using physical vapour deposition [PVD], e.g. vacuum deposition or sputtering
    • H10K71/166Deposition of organic active material using physical vapour deposition [PVD], e.g. vacuum deposition or sputtering using selective deposition, e.g. using a mask
    • HELECTRICITY
    • H10SEMICONDUCTOR DEVICES; ELECTRIC SOLID-STATE DEVICES NOT OTHERWISE PROVIDED FOR
    • H10KORGANIC ELECTRIC SOLID-STATE DEVICES
    • H10K50/00Organic light-emitting devices

Definitions

  • Embodiments of the present disclosure relate to a deposition mask, a deposition mask with a frame, a method for manufacturing an organic semiconductor element, and a method for manufacturing an organic EL display.
  • Formation of a vapor deposition pattern using a vapor deposition mask is usually performed by bringing a vapor deposition mask provided with an opening corresponding to a pattern to be vapor-deposited and an object to be vapor-deposited, and allowing a vapor deposition material released from a vapor deposition source to pass through the opening. It is performed by adhering to a vapor deposition object.
  • a metal mask having a resin mask opening having a resin mask opening corresponding to the pattern to be vapor deposited and a metal mask opening (sometimes referred to as a slit).
  • a vapor deposition mask (for example, Patent Document 1) formed by laminating and is known.
  • the embodiment of the present disclosure enables formation of a higher-definition vapor deposition pattern in a vapor deposition mask in which a resin mask and a metal mask are laminated, or in a vapor deposition mask with a frame in which the vapor deposition mask is fixed to a frame.
  • a deposition mask includes a resin mask having a plurality of resin mask openings corresponding to a pattern to be deposited and a metal mask having a metal mask opening, and the resin mask opening and the metal mask.
  • a vapor deposition mask that is laminated so as to overlap with an opening, wherein the metal mask partially reduces the rigidity of the metal mask at a position that does not overlap the resin mask opening of the resin mask.
  • One or a plurality of rigidity adjusting portions are provided.
  • the rigidity adjusting portion may be a through-hole penetrating the metal mask or a recess provided in the metal mask.
  • the vapor deposition mask is placed on the metal mask side. 3% or more of the total area of the opening regions of the rigidity adjusting portion when viewed from above.
  • the opening area of one said rigidity adjustment part may be smaller than the opening area of one said metal mask opening part.
  • the opening width of one said rigidity adjustment part may be smaller than the opening width of one said metal mask opening part.
  • the rigidity adjusting portion may be positioned so as to surround the metal mask opening.
  • the rigidity adjusting part may be located between any of the adjacent metal mask openings.
  • the thickness of the metal mask may be in the range of 5 ⁇ m to 35 ⁇ m.
  • the cross-sectional shape of the said metal mask may be a shape which spreads toward the vapor deposition source side.
  • the thickness of the resin mask may be in the range of 3 ⁇ m or more and less than 10 ⁇ m.
  • the cross-sectional shape of the said resin mask may be a shape which spreads toward the vapor deposition source side.
  • the cross-sectional shape of the resin mask may be an outwardly convex curved shape.
  • the opening space of the metal mask opening may be partitioned by a bridge.
  • the vapor deposition mask of one embodiment of the present disclosure includes a resin mask having a plurality of resin mask openings corresponding to a pattern to be vapor-deposited, and a metal mask having a metal mask opening, and the resin mask openings A vapor deposition mask that is laminated so as to overlap with a metal mask opening, wherein the metal mask partially has a rigidity of the metal mask at a position that does not overlap the resin mask opening of the resin mask.
  • One or a plurality of rigidity adjusting portions to be increased is provided, and the rigidity adjusting portion is a metal reinforcement provided on the surface of the metal mask on the side not in contact with the resin mask.
  • the vapor deposition mask with a frame is configured by fixing the above-described vapor deposition mask to the frame. Moreover, the said several vapor deposition mask may be fixed to the said flame
  • the manufacturing method of the organic-semiconductor element of one Embodiment of this indication includes the vapor deposition pattern formation process of forming a vapor deposition pattern in a vapor deposition target object using a vapor deposition mask, The said vapor deposition mask used by the said vapor deposition pattern formation process The above-described vapor deposition mask.
  • the organic semiconductor element manufactured by said manufacturing method is used for the manufacturing method of the organic electroluminescent display of one Embodiment of this indication.
  • a high-definition vapor deposition pattern can be formed.
  • an organic-semiconductor element can be manufactured accurately.
  • an organic EL display of this indication an organic EL display can be manufactured accurately.
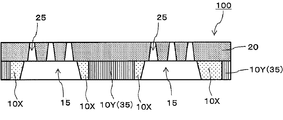
  • (A) is a schematic sectional drawing which shows an example of the vapor deposition mask which concerns on embodiment of this indication
  • (b) is when the vapor deposition mask which concerns on embodiment of this indication is planarly viewed from the metal mask side
  • FIG. 6 is an example of a schematic cross-sectional view along AA in FIG.
  • FIG. 6 is an example of an AA schematic cross-sectional view of FIG. It is an example of the AA schematic sectional drawing of FIG.5 (c).
  • FIG. 1 It is a figure which shows the state which divided the magnitude
  • a vapor deposition mask 100 includes a plurality of resin mask openings corresponding to a pattern to be formed by vapor deposition.
  • the resin mask 20 having the portion 25 and the metal mask 10 having the metal mask opening 15 are laminated such that the resin mask opening 25 and the metal mask opening 15 overlap each other.
  • 1A is a schematic cross-sectional view illustrating an example of the vapor deposition mask 100 of the present disclosure
  • FIG. 1B is a front view of the vapor deposition mask 100 of the present disclosure viewed from the metal mask side. In the form shown in FIG. 1, the description of the rigidity adjusting unit 35 described later is omitted.
  • Formation of the vapor deposition pattern on the vapor deposition object using the vapor deposition mask 100 having a laminated structure in which the resin mask 20 and the metal mask 10 are laminated includes disposing the vapor deposition mask 100 on one surface side of the vapor deposition object, After the resin mask 20 of the vapor deposition mask 100 and the vapor deposition object are brought into close contact with each other, the vapor deposition material released from the vapor deposition source and passed through the vapor deposition mask opening 25 of the resin mask 20 is attached to the vapor deposition object. .
  • the adhesion is high. It is desirable that the resin mask 20 of the vapor deposition mask 100 and the vapor deposition object are in close contact with each other to such an extent that it does not occur or the occurrence of the problem can be sufficiently suppressed.
  • a magnetic material is disposed on the other surface side of the vapor deposition object, and vapor deposition is performed using the magnetic force of the magnetic material. Examples include a method of attracting the mask 100 and the vapor deposition object, a method of pressing the vapor deposition object from the other surface side of the vapor deposition object, and pushing the vapor deposition object to the vapor deposition mask 100 side. Can do.
  • vapor deposition is performed by stress applied to the vapor deposition mask when the vapor deposition mask and the vapor deposition object are attracted by a magnetic force, a pushing member, or the like. Due to the stress applied to the vapor deposition mask when the object is pushed toward the vapor deposition mask (hereinafter, these stresses may be simply referred to as stress or stress applied to the vapor deposition mask). It is necessary to deform the shape so as to follow the shape of the deposition object. For example, when the deposition mask 100 is warped, it is necessary to eliminate the warp and to deform the resin mask 20 so that the deposition mask 100 becomes flat.
  • the metal mask 10 made of a metal material has higher rigidity than the resin mask 20 made of a resin material, and the degree of deformation of the metal mask 10 when stress or the like is applied depends on the resin mask 20.
  • the degree of deformation is small.
  • the degree of deformation of the resin mask 20 is governed by the degree of deformation of the metal mask 10. If it cannot be deformed, even if the vapor deposition mask 100 and the vapor deposition object are attracted to each other or the vapor deposition object is pushed into the vapor deposition mask 100 as described above, it follows the shape of the vapor deposition object. Therefore, the shape of the resin mask 20 cannot be deformed, and as a result, it becomes difficult to sufficiently improve the adhesion between the resin mask 20 of the vapor deposition mask 100 and the vapor deposition object.
  • the vapor deposition mask 100 is warped (referred to as curl) due to the difference in thermal expansion coefficient. If the metal mask 10 cannot be sufficiently deformed by stress, it is difficult to sufficiently improve the adhesion between the resin mask 20 of the vapor deposition mask 100 and the vapor deposition object.
  • FIGS. 2 to 13 show a rigidity adjusting portion arrangement region 30 (hereinafter, sometimes referred to as an arrangement region) in which the rigidity adjusting portion 35 is arranged. 2 to 4, the description of the rigidity adjusting unit 35 is omitted, but in the same figure, one or a plurality of rigidity adjusting units 35 are arranged in the arrangement region 30.
  • the vapor deposition mask 100 of the present disclosure it is possible to impart flexibility (sometimes referred to as flexibility or stretchability) to the metal mask 10 by partially reducing the rigidity of the metal mask 10.
  • the metal mask 10 can be easily deformed by stress or the like. Therefore, according to the vapor deposition mask 100 of the present disclosure, when the rigidity of the metal mask 10 is partially reduced, the resin mask 20 of the vapor deposition mask 100 and the vapor deposition object are brought into close contact using various methods. In addition, the shape of the resin mask 20 can be deformed so as to follow the shape of the deposition object.
  • FIGS. 10 to 13 are plan views illustrating examples of the vapor deposition mask 100 of the present disclosure when viewed from the metal mask 10 side.
  • each configuration of the vapor deposition mask 100 of the present disclosure will be described with an example.
  • the resin mask 20 is provided with a plurality of resin mask openings 25.
  • the opening shape of the resin mask opening 25 is rectangular, but the opening shape of the resin mask opening 25 is not particularly limited, and any shape can be used as long as it corresponds to the pattern to be deposited. It may be a shape.
  • the opening shape of the resin mask opening 25 may be a diamond shape or a polygonal shape, or may be a shape having a curvature such as a circle or an ellipse.
  • the rectangular or polygonal opening shape is a preferable opening shape of the resin mask opening 25 in that the light emission area can be increased as compared with the opening shape having a curvature such as a circle or an ellipse.
  • a high-definition resin mask opening 25 can be formed by laser processing or the like, and a lightweight material with a small dimensional change rate and moisture absorption rate over time is used. It is preferable.
  • Such materials include polyimide resin, polyamide resin, polyamideimide resin, polyester resin, polyethylene resin, polyvinyl alcohol resin, polypropylene resin, polycarbonate resin, polystyrene resin, polyacrylonitrile resin, ethylene vinyl acetate copolymer resin, ethylene- Examples thereof include vinyl alcohol copolymer resin, ethylene-methacrylic acid copolymer resin, polyvinyl chloride resin, polyvinylidene chloride resin, cellophane, and ionomer resin.
  • a resin material having a moisture absorption rate of 1.0% or less is preferable, and a resin material having both conditions is particularly preferable. .
  • this resin material By using this resin material as a resin mask, the dimensional accuracy of the resin mask opening 25 can be improved, and the dimensional change rate and moisture absorption rate with heat and time can be reduced.
  • the thickness of the resin mask 20 is not particularly limited, but in the case of further improving the effect of suppressing the generation of shadows, the thickness of the resin mask 20 is preferably 25 ⁇ m or less, and more preferably less than 10 ⁇ m. Although there is no particular limitation on the preferable range of the lower limit value, when the thickness of the resin mask 20 is less than 3 ⁇ m, defects such as pinholes are likely to occur, and the risk of deformation and the like increases. In particular, by setting the thickness of the resin mask 20 to 3 ⁇ m or more and less than 10 ⁇ m, more preferably 4 ⁇ m or more and 8 ⁇ m or less, it is possible to more effectively prevent the influence of shadows when forming a high-definition pattern exceeding 400 ppi. .
  • the resin mask 20 and the metal mask 10 to be described later may be bonded directly or via an adhesive layer, but the resin mask 20 and the metal mask via an adhesive layer. 10 is bonded, it is preferable that the total thickness of the resin mask 20 and the pressure-sensitive adhesive layer is within the range of the preferable thickness.
  • the shadow means that a part of the vapor deposition material released from the vapor deposition source collides with the metal mask opening of the metal mask or the inner wall surface of the resin mask opening of the resin mask and does not reach the vapor deposition target. This refers to a phenomenon in which an undeposited portion having a film thickness thinner than the target deposition film thickness occurs.
  • the cross-sectional shape of the resin mask opening 25 is not particularly limited, and the end faces of the resin mask that form the resin mask opening 25 may be substantially parallel to each other. However, as shown in FIG. It is preferable that the cross-sectional shape of the mask opening 25 is a shape that expands toward the vapor deposition source. In other words, it is preferable to have a tapered surface that expands toward the metal mask 10 side.
  • the taper angle can be appropriately set in consideration of the thickness of the resin mask 20 and the like, but the bottom bottom tip in the resin mask opening of the resin mask and the top bottom tip in the resin mask opening of the resin mask are also used.
  • the angle formed by the connected straight line and the bottom surface of the resin mask in other words, in the cross section in the thickness direction of the inner wall surface constituting the resin mask opening 25 of the resin mask 20, the inner wall surface of the resin mask opening 25 and the resin mask 20.
  • the angle formed with the surface on the side not in contact with the metal mask 10 is preferably in the range of 5 ° to 85 °, and in the range of 15 ° to 75 °. It is more preferable that it is within the range of 25 ° or more and 65 ° or less. In particular, within this range, an angle smaller than the vapor deposition angle of the vapor deposition machine to be used is preferable.
  • the end face forming the resin mask opening 25 has a linear shape, but is not limited to this, and has an outwardly convex curved shape, that is, the resin mask opening.
  • the entire shape of 25 may be a bowl shape.
  • a metal mask 10 is laminated on one surface of the resin mask 20.
  • the metal mask 10 is made of metal, and a metal mask opening 15 extending in the vertical direction or the horizontal direction is disposed as shown in FIG.
  • the arrangement example of the metal mask openings 15 is not particularly limited, and the metal mask openings 15 extending in the vertical direction and the horizontal direction may be arranged in a plurality of rows in the vertical direction and the horizontal direction, and the metal extending in the vertical direction.
  • the mask openings 15 may be arranged in a plurality of rows in the horizontal direction, and the metal mask openings extending in the horizontal direction may be arranged in a plurality of rows in the vertical direction.
  • the plurality of metal mask openings 15 may be randomly arranged. Further, the number of metal mask openings 15 may be one.
  • vertical direction and “lateral direction” refer to the vertical and horizontal directions of the drawing, and are any of the longitudinal direction and the width direction of the vapor deposition mask, resin mask, and metal mask. May be.
  • the longitudinal direction of the vapor deposition mask, the resin mask, and the metal mask may be “vertical direction”
  • the width direction may be “vertical direction”.
  • the shape of the vapor deposition mask when viewed in plan is a rectangular shape is described as an example, but other shapes, for example, a circular shape, a polygonal shape such as a rhombus shape, etc. It is good.
  • the longitudinal direction, the radial direction, or an arbitrary direction of the diagonal line is defined as a “longitudinal direction”, and a direction orthogonal to the “longitudinal direction” is referred to as a “width direction (sometimes referred to as a short direction)”. do it.
  • the metal mask 10 has one or more rigidity adjusting portions that partially reduce the rigidity of the metal mask 10 at a position that does not overlap the resin mask opening 25 of the resin mask 20. 35. Specifically, one or a plurality of rigidity adjusting portions 35 for partially lowering the rigidity of the metal mask 10 are located in the arrangement region 30 shown in FIGS. 2 to 4 and 10 to 13. ing.
  • the rigidity of the metal mask referred to in the specification of the present application means that when a certain load is applied to the vapor deposition mask, the metal mask is easily deformed (displacement or displacement amount) in an area where the load is applied. In other words, as the rigidity decreases, in other words, as the displacement increases, the rigidity of the metal mask decreases.
  • the rigidity of the metal mask can be calculated by the following formula (1). Specifically, the rigidity of the metal mask is measured by applying a vertical load (F) to a predetermined area of the deposition mask 100 and measuring the displacement ( ⁇ ) of the metal mask in the area where the vertical load (F) is applied. (K) can be calculated.
  • the displacement amount ( ⁇ ) of the metal mask can be measured using, for example, a laser displacement meter.
  • a method of applying a vertical load for example, a method of placing a weight having a predetermined mass on a predetermined region, a device for applying a load, or the like can be used.
  • k F / ⁇ (1)
  • the rigidity of the metal mask 10 in the arrangement region 30 is made lower than the rigidity of the region where the rigidity adjusting unit 35 is not arranged. be able to. That is, by using the metal mask 10 having the rigidity adjusting portion 35, flexibility can be imparted to the metal mask. According to the vapor deposition mask 100 of the present disclosure, due to the flexibility imparted to the metal mask 10, the vapor deposition mask 100 and the vapor deposition object are brought into close contact with each other using the stress so that the resin mask 20 and the vapor deposition object are opposed to each other.
  • the shape of the resin mask 20 can be deformed to such an extent that no gap is generated between the resin mask 20 and the deposition target.
  • the shape of the resin mask 20 can be made to follow the shape of the vapor deposition object. That is, the adhesion between the vapor deposition mask 100 and the vapor deposition object can be improved.
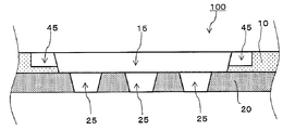
  • the method of partially reducing the rigidity of the metal mask 10 by the rigidity adjusting unit 35 is not particularly limited, and can be realized by various methods exemplified below. Further, the rigidity of the metal mask can be partially reduced by other methods.
  • the through-hole 40 means a hole that penetrates only the metal mask 10.
  • the method for forming the through hole 40 is not particularly limited, and etching, cutting, or the like can be selected as appropriate.
  • the method for forming the recess 45 is not particularly limited, and etching, cutting, or the like can be selected as appropriate.
  • the depth of the recess 45 is not particularly limited, and can be appropriately set in consideration of the thickness of the metal mask 10 and the degree of reduction in rigidity. As an example, it exists in the range of 1 micrometer or more and 100 micrometers or less.
  • the term “rigidity adjusting portion 35” includes the through hole 40 and the concave portion 45 as the rigidity adjusting portion 35.
  • the shape of the through hole 40 or the concave portion 45 is no particular limitation on the shape of the through hole 40 or the concave portion 45 as the rigidity adjusting portion 35.
  • the shape when the vapor deposition mask 100 is viewed in plan from the metal mask 10 side is triangular, rectangular, rhombus, trapezoid,
  • a polygonal shape such as a pentagonal shape and a hexagonal shape, a circular shape, an elliptical shape, or a shape in which a corner of the polygonal shape has a curvature can be given.
  • it can also be set as the shape which combined these.
  • FIG. 26 is a diagram illustrating an example of the assembly of the “rigidity adjusting unit” when viewed in plan from the metal mask 10 side.
  • the closed region may be the rigidity adjusting portion 35, and the closed region may be a non-through hole or a non-recessed portion.
  • the size of the through hole 40 or the concave portion 45 as the rigidity adjusting portion 35 there is no particular limitation on the size of the through hole 40 or the concave portion 45 as the rigidity adjusting portion 35, and it may be set as appropriate according to the location where the rigidity adjusting portion 35 is located.
  • the area of the opening area of the rigidity adjusting portion 35 when viewed from the metal mask side may be larger, smaller, or the same as the area of the opening area of the metal mask opening 15. Good.
  • the area of the opening area of one rigidity adjusting portion 35 is smaller than the area of the opening area of the metal mask opening 15.
  • the area of the opening area of one rigidity adjusting portion 35 in other words, the area of the opening area of one through hole 40 or one recess 45 is in the range of 1 ⁇ m 2 or more and 1 ⁇ 10 12 ⁇ m 2 or less. It is.
  • the opening width of the through hole 40 or the recess 45 is no particular limitation on the opening width of the through hole 40 or the recess 45 as the rigidity adjusting portion 35, and for example, each of the rigidity adjusting portions 35 in the vapor deposition mask longitudinal direction and the width direction when viewed from the metal mask side.
  • the opening width may be larger, smaller, or the same width as the respective opening widths of the metal mask opening 15 in the vapor deposition mask longitudinal direction and the width direction.
  • the opening width of the rigidity adjusting portion 35 may be appropriately set according to the location where the through hole 40 is located.
  • the metal mask 10 has a plurality of metal mask openings 15 and the length of the vapor deposition mask is long.
  • the opening width in the longitudinal direction when the rigidity adjusting portion 35 is viewed in plan from the metal mask 10 side is the adjacent metal mask opening. What is necessary is just to make it smaller than the space
  • the total area of the through holes 40 as the rigidity adjusting portion 35 and the opening area of the recess 45 when the vapor deposition mask 100 of the present disclosure is viewed from the metal mask 10 side does not have the rigidity adjusting portion 35. It is preferably 3% or more when the area of the effective area of the metal mask is 100% when the metal mask assumed to be, that is, the metal mask having only the metal mask opening 15 is viewed from the metal mask side, It is preferably 10% or more, and particularly preferably 30% or more.
  • the area of the effective area of the metal mask referred to here means the surface area of the portion where the metal portion exists when the vapor deposition mask is viewed in plan from the metal mask 10 side.
  • the metal mask 10 can be sufficiently flexible while maintaining the rigidity of the metal mask 10 as a whole. Therefore, the adhesion between the resin mask 20 of the vapor deposition mask 100 and the vapor deposition object can be further improved.
  • the upper limit of the total area of the opening area of the rigidity adjusting portion 35 considering the rigidity of the metal mask, it is preferably 95% or less, more preferably 90% or less, and 70%. It is particularly preferred that
  • the rigidity adjusting portion 35 described above that is, the positions and pitches of the through holes 40 as the rigidity adjusting portions and the recesses 45 and the pitch are not particularly limited, and may be arranged with regularity. May be arranged. Further, as an example of the pitch between the adjacent rigidity adjusting portions 35, a range of 1 ⁇ m or more and 2 ⁇ 10 6 ⁇ m or less can be exemplified.
  • the areas of the opening regions of the respective rigidity adjusting portions 35 may be the same or different. The same applies to the pitch. Further, the through hole 40 as the rigidity adjusting portion 35 and the concave portion 45 can be used in combination.
  • a preferred embodiment of the metal mask 10 has an arrangement region 30 around the metal mask opening 15, and one or more A rigidity adjusting unit 35 is disposed.
  • the adhesion between the resin mask 20 of the vapor deposition mask 100 and the vapor deposition object can be made extremely good, and further high definition can be achieved.
  • a vapor deposition pattern can be formed.
  • the metal mask 10 has a plurality of metal mask openings 15, and the arrangement region 30 is positioned so as to surround the metal mask openings 15.
  • the arrangement region 30 is positioned so as to surround the metal mask opening 15 and the outer edge of the metal mask opening 15 and the outer edge of the arrangement region 30 overlap.
  • the arrangement region surrounds at least one metal mask opening 15 of the plurality of metal mask openings 15 and the outer edge of the metal mask opening 15 and the outer edge of the arrangement region 30 overlap each other. 30 is located.
  • the metal mask opening 15 is surrounded and the outer edge of the metal mask opening 15 and the outer edge of the arrangement region 30 do not overlap, in other words, the outer edge of the metal mask opening 15.
  • region 30 is located at predetermined intervals.
  • FIGS. 5 and 9 are enlarged front views (an enlarged front view showing an example of a region indicated by a symbol X in FIG. 1B) showing an example of the arrangement of the stiffness adjusting unit 35 arranged in the arrangement region 30.
  • FIG. 6 is an example of the AA schematic cross-sectional view of FIG. 5A
  • FIGS. 7A and 7B are examples of the AA schematic cross-sectional view of FIG. 5B
  • FIGS. 8A and 8B are examples of the AA schematic cross-sectional view of FIG. 5C.
  • the outer edge of the metal mask opening 15 and the outer edge of the rigidity adjusting portion 35 are overlapped so that one metal mask opening 15 is used as one continuous rigidity adjusting portion 35.
  • one metal mask opening 15 is connected to a plurality of rigidity adjusting portions 35 so that the outer edge of the metal mask opening 15 and the outer edge of the rigidity adjusting portion 35 do not overlap. Surrounded by an aggregate. 5B may be any of the through hole 40 and the recess 45.
  • one metal mask opening 15 is connected to one continuous rigidity adjusting portion so that the outer edge of the metal mask opening 15 and the outer edge of the rigidity adjusting portion 35 do not overlap. Surrounded by 35.
  • the rigidity adjusting part 35 shown in FIG. 5C may be one continuous through hole 40 or one continuous concave part 45. Moreover, it is good also as a structure which combined these forms.
  • the vapor deposition mask 100 of the preferred embodiment is configured so that the outer edge of the metal mask opening 15 and the outer edge of the arrangement region 30 do not overlap, in other words, the outer edge of the metal mask opening 15 and the outer edge of the rigidity adjusting portion 35 do not overlap. In this way, the metal mask opening 15 is surrounded by one or a plurality of rigidity adjusting portions 35 (the forms shown in FIGS. 5B and 5C).
  • the metal mask opening is formed. The adhesion between the vapor deposition mask 100 and the vapor deposition object at a position overlapping the outer peripheral end of the portion 15 can be further improved.
  • FIG. 9A shows a form in which one rigidity adjusting section 35 shown in FIG. 5A is divided into a plurality of rigidity adjusting sections 35
  • FIG. 9B is shown in FIG. This is a configuration in which one rigidity adjusting portion 35 shown is divided into a plurality of rigidity adjusting portions 35.
  • the form shown in each figure can also be combined suitably.
  • the metal mask 10 has a plurality of metal mask openings 15, and the plurality of metal mask openings.
  • the arrangement region 30 is located so as to surround the portion 15 together.
  • the outer edge of the metal mask opening 15 and the outer edge of the arrangement region 30 are overlapped.
  • a predetermined interval is provided from the outer edge of the metal mask opening 15.
  • the outer edge of the arrangement region 30 is located.
  • the plurality of rigidity adjusting portions 35 are arranged in the arrangement area 30.
  • the entire arrangement area 30 may be the recess 45.
  • the entire arrangement region 30 may be the through hole 40 or the recess 45.
  • the metal mask 10 has a plurality of metal mask openings 15, and the arrangement region 30 is located at least partly between the adjacent metal mask openings 15.
  • the plurality of rigidity adjusting portions 35 are arranged in the arrangement area 30.
  • the entire arrangement area 30 may be the through hole 40 or the recess 45.
  • the metal mask 10 has only one metal mask opening 15, and is disposed so as to surround the one metal mask opening 15. 30 is located.
  • the outer edge of the metal mask opening 15 and the outer edge of the arrangement region 30 overlap each other.
  • region 30 is located at intervals. Normally, the frame and the vapor deposition mask are fixed on the outer periphery of the vapor deposition mask. Therefore, considering this point, it is preferable that the outer edge of the metal mask 10 does not overlap the outer edge of the arrangement region 30.
  • the recess 45 is not located in a portion overlapping with the outer edge of the metal mask.
  • the plurality of stiffness adjusting portions 35 are arranged in the arrangement area 30.
  • the entire arrangement area 30 may be the recess 45, and FIG. In the embodiment shown in FIG. 4, the entire arrangement region 30 may be the through hole 40 or the recess 45.
  • the entire arrangement region is set as the rigidity adjusting portion 35, that is, one metal mask opening 15 may be surrounded by one continuous through-hole 40 or recess 45 (FIG. 5A, ( c)).
  • the rigidity adjusting unit 35 may be disposed only in a part of the arrangement region 30, for example, in the vicinity of the corner of the metal mask (not shown).
  • the vapor deposition mask 100 of a preferred form surrounds the one metal mask opening 15 and has a predetermined width from the outer edge of the metal mask opening 15.
  • the arrangement area 30 is located at an interval, and the whole arrangement area is a single rigidity adjusting unit 35 (not shown), or a plurality of rigidity adjustments are performed along the arrangement area 30.
  • the part 35 is arranged (not shown).
  • the metal mask opening is formed. The adhesion between the vapor deposition mask 100 and the vapor deposition object can be further improved at a position overlapping the outer peripheral end of the portion 15.
  • FIG. 16 shows a case where the metal mask 10 has a plurality of metal mask openings 15 and the rigidity adjustment portion 35 is not positioned on the metal mask 10, which may occur between the resin mask 20 of the vapor deposition mask 100 and the vapor deposition target.
  • FIG. 6 is a front view showing a state in which the sizes of gaps that can be generated are divided into levels, and the gaps tend to be generated in the order of “C”> “B”> “A”.
  • the vapor deposition mask 100 of a preferable form has the rigidity adjusting portion 35 in the peripheral region of the metal mask opening 15 corresponding to the location (level “C”) where the generation of the gap shown in FIG. It is preferable to locate the rigidity adjusting portion 35 in the peripheral region of the metal mask opening 15 corresponding to the level “C” and the level “B”, and the peripheral region of all the metal mask openings 15 It is particularly preferable that the rigidity adjusting portion 35 is positioned in the middle.
  • the rigidity of the metal mask 10 can be changed stepwise by changing the area of the opening region of the rigidity adjusting unit 35, the ratio of the rigidity adjusting unit, and the like for each region.
  • a peripheral region including level “C” is a first region
  • a peripheral region including level “B” is a second region
  • a peripheral region including level “A” is a third region
  • the first to third regions are
  • the rigidity of the metal mask can be adjusted for each region by changing the ratio of the rigidity adjusting unit 35 in each region.
  • the ratio of the rigidity adjusting unit 35 occupying the first region is made larger than the ratio of the rigidity adjusting unit occupying the second region, and the rigidity adjusting unit 35 is not positioned in the third region, or
  • the rigidity of the metal mask can be adjusted for each region by reducing the ratio of the rigidity adjusting unit 35.
  • the material of the metal mask 10 is not particularly limited, and any conventionally known material can be appropriately selected and used in the field of the evaporation mask, and examples thereof include metal materials such as stainless steel, iron-nickel alloy, and aluminum alloy. . Among them, an invar material that is an iron-nickel alloy can be suitably used because it is less deformed by heat.
  • the thickness of the metal mask 10 is not particularly limited, it is preferably 100 ⁇ m or less, more preferably 50 ⁇ m or less, and more preferably 35 ⁇ m or less in order to more effectively prevent the occurrence of shadows. Particularly preferred. When the thickness is less than 5 ⁇ m, the risk of breakage and deformation increases and handling tends to be difficult.
  • the shape of the opening of the metal mask opening 15 when viewed in plan is a rectangular shape, but the opening shape is not particularly limited, and the opening shape of the metal mask opening 15 is Any shape such as a trapezoidal shape or a circular shape may be used.
  • the cross-sectional shape of the metal mask opening 15 formed in the metal mask 10 is not particularly limited, but may have a shape that expands toward the vapor deposition source as shown in FIG. preferable. More specifically, the bottom of the metal mask 10 is formed by a straight line connecting the lower bottom tip of the metal mask opening 15 of the metal mask 10 and the upper bottom tip of the metal mask opening 15 of the metal mask 10.
  • the angle formed with the upper surface of the metal mask is preferably in the range of 5 ° to 85 °, more preferably in the range of 15 ° to 80 °, and more preferably 25 ° to 65 °. More preferably within the following range. In particular, within this range, an angle smaller than the vapor deposition angle of the vapor deposition machine to be used is preferable.
  • the opening space of the metal mask opening 15 may be partitioned by a bridge (not shown).
  • the method for laminating the metal mask 10 on the resin mask is not particularly limited, and the resin mask 20 and the metal mask 10 may be bonded together using various adhesives, or a resin mask having self-adhesiveness may be used. . Resin mask 20 and metal mask 10 may have the same size or different sizes. If the resin mask 20 is made smaller than the metal mask 10 and the outer peripheral portion of the metal mask 10 is exposed in consideration of the optional fixing to the frame thereafter, the metal mask 10 The frame and the frame can be easily fixed.
  • Embodiment (A) and Embodiment (B) will be described as examples.
  • the description of the rigidity adjusting unit 35 and the arrangement region 30 is omitted, but the configuration described above can be applied as appropriate to the rigidity adjusting unit 35 and the arrangement region 30. it can.
  • the vapor deposition mask 100 of the embodiment (A) is a vapor deposition mask for simultaneously forming vapor deposition patterns for a plurality of screens, and a plurality of metal masks are formed on one surface of the resin mask 20.
  • the metal mask 10 provided with the opening 15 is laminated, and the resin mask 20 is provided with a resin mask opening 25 necessary for forming a plurality of screens, and each metal mask opening 15 includes at least one. It is provided at a position that overlaps the entire screen.
  • the metal mask 10 of the vapor deposition mask 100 according to the embodiment (A) has one or a plurality of metal masks 10 that partially reduce the rigidity of the metal mask 10 at a position that does not overlap the resin mask opening 25 of the resin mask 20. It has the rigidity adjustment part 35, and when the vapor deposition mask of embodiment (A) and the vapor deposition target object are closely_contact
  • the metal mask 10 of the vapor deposition mask 100 of the embodiment (A) includes at least one screen between the screens, a position surrounding at least one screen, a position surrounding a plurality of screens, or all screens. It is preferable that the rigidity adjusting portion 35 is located at the position.
  • the vapor deposition mask 100 of the embodiment (A) is a vapor deposition mask used for simultaneously forming vapor deposition patterns for a plurality of screens, and the vapor deposition patterns corresponding to a plurality of products are simultaneously formed with one vapor deposition mask 100. Can do.
  • the “resin mask opening” referred to in the vapor deposition mask of the embodiment (A) means a pattern to be produced using the vapor deposition mask 100 of the embodiment (A).
  • the vapor deposition mask is used in an organic EL display.
  • the shape of the resin mask opening 25 is the shape of the organic layer.
  • “one screen” consists of an assembly of resin mask openings 25 corresponding to one product.
  • one organic EL display is formed.
  • An aggregate of necessary organic layers that is, an aggregate of resin mask openings 25 serving as an organic layer is “one screen”.
  • the “one screen” is arranged on the resin mask 20 for a plurality of screens at predetermined intervals. Yes. That is, the resin mask 20 is provided with a resin mask opening 25 necessary for forming a plurality of screens.
  • a metal mask 10 provided with a plurality of metal mask openings 15 is provided on one surface of a resin mask, and each metal mask opening has at least one entire screen. It is provided at the overlapping position.
  • the length in the vertical direction of the metal mask openings 15 is the same.
  • the length of the metal mask opening 15 is the same as the horizontal length. There are no metal wire portions having the same thickness.
  • the length of the metal mask opening 15 is the same as the length in the vertical direction, and the length of the metal line having the same thickness as the metal mask 10 and the length of the metal mask opening 15 in the horizontal direction are the same.
  • the metal line portions having the same thickness as the metal mask 10 may be collectively referred to simply as metal line portions.
  • the vapor deposition mask 100 of the embodiment (A) when the size of the resin mask openings 25 necessary for configuring one screen and the pitch between the resin mask openings 25 configuring one screen are narrowed, for example, Even when the size of the resin mask openings 25 and the pitch between the resin mask openings 25 are extremely small in order to form a screen exceeding 400 ppi, interference due to the metal line portion can be prevented. High-definition images can be formed.
  • one screen is divided by a plurality of metal mask openings, in other words, a metal line portion having the same thickness as the metal mask 10 exists between the resin mask openings 25 constituting one screen.
  • the metal line portion existing between the resin mask openings 25 forms a deposition pattern on the deposition target. This makes it difficult to form a high-definition vapor deposition pattern.
  • the metal line portion when the vapor deposition mask with a frame is used A shadow is generated and it is difficult to form a high-definition screen.
  • a region closed by a broken line is one screen.
  • a small number of resin mask openings 25 are aggregated as one screen for convenience of explanation.
  • the present invention is not limited to this form.
  • one resin mask opening 25 is one pixel.
  • a resin mask opening 25 of several million pixels may exist on one screen.
  • one screen is constituted by an aggregate of resin mask openings 25 in which a plurality of resin mask openings 25 are provided in the vertical and horizontal directions.
  • one screen is constituted by an assembly of resin mask openings 25 in which a plurality of resin mask openings 25 are provided in the horizontal direction.
  • one screen is constituted by an aggregate of resin mask openings 25 in which a plurality of resin mask openings 25 are provided in the vertical direction. 17 to 19, a metal mask opening 15 is provided at a position overlapping the entire screen.
  • the metal mask opening 15 may be provided at a position overlapping only one screen, and as illustrated in FIGS. 20A and 20B, a position overlapping two or more entire screens. May be provided. 20A, in the resin mask 20 shown in FIG. 17, a metal mask opening 15 is provided at a position overlapping the entire two screens that are continuous in the horizontal direction. In FIG. 20B, a metal mask opening 15 is provided at a position that overlaps the entire three screens continuous in the vertical direction.
  • the pitch between resin mask openings 25 constituting one screen and the pitch between screens will be described.
  • the horizontal pitch (P1) and the vertical pitch (P2) of the resin mask openings 25 adjacent to each other in the resin mask openings 25 constituting one screen. ) Is about 60 ⁇ m.
  • the size of the resin mask opening as an example is in the range of 500 ⁇ m 2 or more and 1000 ⁇ m 2 or less.
  • one resin mask opening 25 is not limited to corresponding to one pixel. For example, depending on the pixel arrangement, a plurality of pixels may be combined into one resin mask opening 25. it can.
  • the horizontal pitch (P3) and the vertical pitch (P4) between the screens there is no particular limitation on the horizontal pitch (P3) and the vertical pitch (P4) between the screens, but, as shown in FIG. 17, one metal mask opening 15 is provided at a position overlapping the entire screen. In this case, a metal line portion exists between the screens. Accordingly, the vertical pitch (P4) and the horizontal pitch (P3) between the screens are larger than the vertical pitch (P2) and the horizontal pitch (P1) of the resin mask openings 25 provided in one screen. Are smaller or substantially equivalent, the metal wire portions existing between the screens are easily broken. In particular, when the rigidity adjusting portion 35 is positioned between the screens, the risk of disconnection of the metal wire portion increases.
  • the pitch (P3, P4) between the screens is wider than the pitch (P1, P2) between the resin mask openings 25 constituting one screen.
  • An example of the pitch (P3, P4) between the screens is in the range of 1 mm to 100 mm.
  • the pitch between screens means the pitch between adjacent resin mask openings in one screen and another screen adjacent to the one screen. The same applies to the pitch between the resin mask openings 25 and the pitch between the screens in the vapor deposition mask of the embodiment (B) described later.
  • the pitch between two or more screens provided at a position overlapping one metal mask opening 15 may be substantially equal to the pitch between the resin mask openings 25 constituting one screen. Good.
  • grooves (not shown) extending in the vertical direction or the horizontal direction of the resin mask 20 may be formed in the resin mask 20.
  • the resin mask 20 may thermally expand, which may cause changes in the size and position of the resin mask opening 25, but the expansion of the resin mask is absorbed by forming a groove.
  • the resin mask 20 may prevent the resin mask 20 from expanding in a predetermined direction as a whole due to accumulation of thermal expansion occurring at various portions of the resin mask, thereby changing the size and position of the resin mask opening 25.
  • the groove may be provided between the resin mask openings 25 constituting one screen or at a position overlapping the resin mask openings 25, but is preferably provided between the screens.
  • the groove may be provided only on one surface of the resin mask, for example, the surface in contact with the metal mask, or may be provided only on the surface not in contact with the metal mask. Alternatively, it may be provided on both surfaces of the resin mask 20.
  • a groove extending in the vertical direction between adjacent screens may be formed, or a groove extending in the horizontal direction may be formed between adjacent screens. Furthermore, it is possible to form the grooves in a combination of these.
  • the depth and width of the groove are not particularly limited. However, when the depth of the groove is too deep or too wide, the rigidity of the resin mask 20 tends to decrease, so this point is taken into consideration. It is necessary to set it. Further, the cross-sectional shape of the groove is not particularly limited, and may be arbitrarily selected in consideration of a processing method such as a U shape or a V shape. The same applies to the vapor deposition mask of the embodiment (B).
  • the vapor deposition mask of embodiment (B) has one metal mask opening on one surface of the resin mask 20 provided with a plurality of resin mask openings 25 corresponding to the pattern to be deposited.
  • the plurality of resin mask openings 25 are provided at positions that overlap one metal mask opening 15 provided in the metal mask 10.
  • the metal mask 10 of the vapor deposition mask 100 according to the embodiment (B) has one or a plurality of metal masks 10 that partially reduce the rigidity of the metal mask 10 at a position that does not overlap the resin mask opening 25 of the resin mask 20.
  • the rigidity adjustment part 35 when the vapor deposition mask of embodiment (A) and the vapor deposition target object are closely_contact
  • the rigidity adjusting unit 35 is located at a position surrounding one metal mask opening 15.
  • the resin mask opening 25 referred to in the vapor deposition mask of the embodiment (B) means a resin mask opening necessary for forming the vapor deposition pattern on the vapor deposition target, and for forming the vapor deposition pattern on the vapor deposition target.
  • the unnecessary resin mask opening may be provided at a position that does not overlap with one metal mask opening 15.
  • FIG. 21 is a front view when the vapor deposition mask which shows an example of the vapor deposition mask of embodiment (B) is planarly viewed from the metal mask side.
  • the metal mask 10 having one metal mask opening 15 is provided on the resin mask 20 having the plurality of resin mask openings 25, and the plurality of resin masks are provided. All of the openings 25 are provided at positions overlapping the one metal mask opening 15.
  • the metal line portion thicker than the thickness of the metal mask or the same thickness as the metal mask does not exist between the resin mask openings 25.
  • a high-definition vapor deposition pattern is formed according to the dimensions of the resin mask opening 25 provided in the resin mask 20 without being interfered by the metal line portion. Is possible.
  • the thickness of the metal mask 10 is The thickness can be increased until the durability and handling properties can be sufficiently satisfied, and the durability and handling properties can be improved while enabling the formation of a high-definition deposition pattern.
  • the resin mask 20 in the vapor deposition mask of the embodiment (B) is made of resin, and as shown in FIG. 21, a resin mask opening 25 corresponding to a pattern to be vapor deposited is formed at a position overlapping with one metal mask opening 15. A plurality are provided.
  • the resin mask opening 25 corresponds to the pattern to be produced by vapor deposition, and the vapor deposition material discharged from the vapor deposition source passes through the resin mask opening 25, so that the vapor deposition object corresponds to the resin mask opening 25.
  • a vapor deposition pattern is formed.
  • the resin mask openings are arranged in a plurality of rows in the vertical and horizontal directions is described. However, the resin mask openings may be arranged only in the vertical or horizontal direction.
  • “One screen” in the vapor deposition mask 100 of the embodiment (B) means an aggregate of the resin mask openings 25 corresponding to one product, and when the one product is an organic EL display, 1 An aggregate of organic layers necessary to form one organic EL display, that is, an aggregate of resin mask openings 25 serving as an organic layer is “one screen”.
  • the vapor deposition mask of the embodiment (B) may be composed of only “one screen” or may be a plurality of “one screen” arranged for a plurality of screens. When the screens are arranged, it is preferable that the resin mask openings 25 are provided with a predetermined interval for each screen unit (see FIG. 17 of the vapor deposition mask of the embodiment (A)).
  • the metal mask 10 in the vapor deposition mask 100 of the embodiment (B) is made of metal and has one metal mask opening 15.
  • the one metal mask opening 15 overlaps with all the resin mask openings 25 when viewed from the front of the metal mask 10, in other words, the resin mask.
  • the resin mask openings 25 are arranged at positions where all the resin mask openings 25 can be seen.
  • a metal portion constituting the metal mask 10, that is, a portion other than one metal mask opening 15 may be provided along the outer edge of the vapor deposition mask 100 as shown in FIG. 21, and the metal portion as shown in FIG.
  • the size of the mask 10 may be made smaller than the resin mask 20 to expose the outer peripheral portion of the resin mask 20. Further, the size of the metal mask 10 may be made larger than that of the resin mask 20, and a part of the metal portion may protrude outward in the horizontal direction or in the vertical direction of the resin mask. In any case, the size of one metal mask opening 15 is smaller than the size of the resin mask 20.
  • W1 and W2 have widths that can sufficiently satisfy durability and handling properties.
  • an appropriate width can be appropriately set according to the thickness of the metal mask 10, as an example of a preferable width, both W1 and W2 are 1 mm or more and 100 mm or less as in the metal mask of the vapor deposition mask of the embodiment (A). Within range.
  • the through hole 40 or the recess 45 is provided in the metal mask 10 as the rigidity adjusting unit 35, and thereby the metal mask in the peripheral region including the through hole 40 or the recess 45.
  • the metal reinforcement 17 as the rigidity adjusting portion 35 is formed on the surface of the metal mask 10 that does not overlap the resin mask opening 25 in the thickness direction.
  • the rigidity of the metal mask 10 in the peripheral region including the metal reinforcement can be increased.
  • the vapor deposition mask according to the embodiment described above reduces the rigidity of the metal mask in the peripheral region including the rigidity adjusting portion by the through hole 40 or the concave portion 45 as the rigidity adjusting portion 35.
  • the metal reinforcement 17 as the rigidity adjusting portion 35 is used to increase the rigidity of the metal mask in the peripheral region including the rigidity adjusting portion 35. This is different from the vapor deposition mask according to the embodiment described above.
  • the vapor deposition mask according to the other embodiment (i) can be used by appropriately selecting the configuration of the vapor deposition mask according to the above-described embodiment.
  • Examples of the metal reinforcement 17 include a metal plate provided on the metal mask 10 and a metal plating layer formed on the metal mask.
  • the arrangement position of the metal reinforcement 17 is not particularly limited.
  • the metal reinforcement 17 may be appropriately arranged in a region indicated by reference numeral 10 in FIGS. 2 to 4 and 10 to 13.
  • the thickness of the metal reinforcement 17 is not particularly limited, and can be set as appropriate according to the degree of increasing the rigidity of the metal mask 10. As an example, it exists in the range of 1 micrometer or more and 30 micrometers or less. Further, when a plurality of metal reinforcements 17 are arranged, the heights of the metal reinforcements 17 may be varied in order to change the rigidity of the metal mask 10. Moreover, you may vary the material of the metal reinforcement 17, respectively.
  • a reinforcement including a material different from the metal material can be used.
  • the rigidity of the metal mask 10 can be partially varied. Specifically, one metal plate (10X) including a metal material having high rigidity and another metal including a metal material having lower rigidity than the metal material contained in the one metal plate (10X).
  • the rigidity of the metal mask 10 can also be partially reduced by combining the plate (10Y) and disposing the other metal plate (10Y) at a location where the rigidity of the metal mask 10 is desired to be reduced. In this case, the other metal plate (10 ⁇ / b> Y) having low rigidity functions as the rigidity adjusting unit 35.
  • the vapor deposition mask 200 with a frame according to the present disclosure has a configuration in which the vapor deposition mask 100 of various forms described above is fixed to the frame 60.
  • the frame-equipped vapor deposition mask 200 may be one in which one vapor deposition mask 100 is fixed to the frame 60. As illustrated in FIG. May be fixed.
  • the frame 60 is a substantially rectangular frame member, and has a through hole for exposing the resin mask opening 25 provided in the resin mask 20 of the vapor deposition mask 100 to be finally fixed to the vapor deposition source side.
  • the frame material include a metal material, a glass material, and a ceramic material.
  • the thickness of the frame is not particularly limited, but is preferably in the range of 10 mm to 30 mm from the viewpoint of rigidity and the like.
  • the width between the inner peripheral end face of the opening of the frame and the outer peripheral end face of the frame is not particularly limited as long as the frame and the metal mask of the vapor deposition mask can be fixed, for example, 10 mm or more and 70 mm or less. Within range.
  • a frame 60 in which a reinforcing frame 65 or the like is provided in the region of the through hole of the frame may be used.
  • the opening of the frame 60 may be divided by a reinforcing frame or the like.
  • the vapor deposition method used for forming the vapor deposition pattern using the vapor deposition mask of the present disclosure is not particularly limited.
  • a physical vapor phase such as reactive sputtering, vacuum vapor deposition, ion plating, and electron beam vapor deposition.
  • Examples thereof include a growth method (Physical Vapor Deposition), a chemical vapor deposition method such as thermal CVD, plasma CVD, and photo-CVD method.
  • the vapor deposition pattern can be formed using a conventionally known vacuum vapor deposition apparatus or the like.
  • the manufacturing method of the organic semiconductor element of this indication includes the process of forming a vapor deposition pattern in a vapor deposition target object using a vapor deposition mask, and the vapor deposition mask of this indication demonstrated above is used in the process of forming a vapor deposition pattern.
  • a vapor deposition pattern is formed using the vapor deposition pattern forming method of the present disclosure described above.
  • the deposition pattern forming method of the present disclosure described above is applied to each of the R (red), G (green), and B (blue) light emitting layer forming steps of the organic EL device, The vapor deposition pattern of each color light emitting layer is formed.
  • the manufacturing method of the organic-semiconductor element of this indication is not limited to these processes, It is applicable to the arbitrary processes in manufacture of a conventionally well-known organic-semiconductor element.
  • an organic semiconductor element of the present disclosure According to the method for manufacturing an organic semiconductor element of the present disclosure described above, it is possible to perform vapor deposition for forming an organic semiconductor element in a state where the vapor deposition mask and the vapor deposition object are closely adhered to each other, and a high-definition organic semiconductor An element can be manufactured.
  • the organic semiconductor element manufactured with the manufacturing method of the organic semiconductor element of this indication the organic layer, light emitting layer, cathode electrode, etc. of an organic EL element can be mentioned, for example.
  • the method of manufacturing an organic semiconductor element of the present disclosure is preferably used for manufacturing R (red), G (green), and B (blue) light emitting layers of organic EL devices that require high-definition pattern accuracy. it can.
  • Organic EL Display Manufacturing Method uses the organic semiconductor element manufactured by the manufacturing method of the organic semiconductor element of the present disclosure described above in the manufacturing process of the organic EL display.
  • Examples of the organic EL display using the organic semiconductor element manufactured by the organic semiconductor element manufacturing method of the present disclosure include a notebook personal computer (see FIG. 27A) and a tablet terminal (see FIG. 27B).
  • Mobile phones see FIG. 27C
  • smartphones see FIG. 27D
  • video cameras see FIG. 27E
  • digital cameras see FIG. 28F
  • smart watches see FIG. Examples thereof include organic EL displays used in g).

Landscapes

  • Chemical & Material Sciences (AREA)
  • Engineering & Computer Science (AREA)
  • Chemical Kinetics & Catalysis (AREA)
  • Materials Engineering (AREA)
  • Mechanical Engineering (AREA)
  • Metallurgy (AREA)
  • Organic Chemistry (AREA)
  • Manufacturing & Machinery (AREA)
  • Physics & Mathematics (AREA)
  • Optics & Photonics (AREA)
  • Electroluminescent Light Sources (AREA)
  • Physical Vapour Deposition (AREA)
PCT/JP2017/019130 2016-05-26 2017-05-23 蒸着マスク、フレーム付き蒸着マスク、有機半導体素子の製造方法、及び有機elディスプレイの製造方法 Ceased WO2017204194A1 (ja)

Priority Applications (4)

Application Number Priority Date Filing Date Title
KR1020187036874A KR102365037B1 (ko) 2016-05-26 2017-05-23 증착 마스크, 프레임 구비 증착 마스크, 유기 반도체 소자의 제조 방법 및 유기 el 디스플레이의 제조 방법
US16/302,302 US20190203338A1 (en) 2016-05-26 2017-05-23 Vapor deposition mask, frame-equipped vapor deposition mask, method for producing organic semiconductor element, and method for producing organic el display
CN201780030895.5A CN109154064A (zh) 2016-05-26 2017-05-23 蒸镀掩模、带框架的蒸镀掩模、有机半导体元件的制造方法、及有机el显示器的制造方法
CN202210442665.2A CN114959565A (zh) 2016-05-26 2017-05-23 蒸镀掩模、带框架的蒸镀掩模、有机半导体元件的制造方法及有机el显示器的制造方法

Applications Claiming Priority (2)

Application Number Priority Date Filing Date Title
JP2016105178A JP6465075B2 (ja) 2016-05-26 2016-05-26 蒸着マスク、フレーム付き蒸着マスク、有機半導体素子の製造方法、及びに有機elディスプレイの製造方法
JP2016-105178 2016-05-26

Publications (1)

Publication Number Publication Date
WO2017204194A1 true WO2017204194A1 (ja) 2017-11-30

Family

ID=60411763

Family Applications (1)

Application Number Title Priority Date Filing Date
PCT/JP2017/019130 Ceased WO2017204194A1 (ja) 2016-05-26 2017-05-23 蒸着マスク、フレーム付き蒸着マスク、有機半導体素子の製造方法、及び有機elディスプレイの製造方法

Country Status (6)

Country Link
US (1) US20190203338A1 (enExample)
JP (1) JP6465075B2 (enExample)
KR (1) KR102365037B1 (enExample)
CN (2) CN109154064A (enExample)
TW (1) TWI747908B (enExample)
WO (1) WO2017204194A1 (enExample)

Families Citing this family (23)

* Cited by examiner, † Cited by third party
Publication number Priority date Publication date Assignee Title
CN109072411B (zh) * 2016-02-10 2021-04-06 鸿海精密工业股份有限公司 蒸镀掩模的制造方法、蒸镀掩模及有机半导体元件的制造方法
TWI664876B (zh) * 2018-01-17 2019-07-01 友達光電股份有限公司 遮罩、遮罩的製造方法及應用此遮罩之有機電激發光元件的蒸鍍方法
US11655536B2 (en) * 2018-03-20 2023-05-23 Sharp Kabushiki Kaisha Film forming mask and method of manufacturing display device using same
CN116024523A (zh) * 2018-03-30 2023-04-28 昆山国显光电有限公司 掩膜板及其制备方法
JP7187883B2 (ja) * 2018-08-09 2022-12-13 大日本印刷株式会社 蒸着マスクの製造方法
WO2020044547A1 (ja) * 2018-08-31 2020-03-05 シャープ株式会社 蒸着マスク
KR102642138B1 (ko) * 2018-09-04 2024-03-04 엘지이노텍 주식회사 증착용 마스크 및 이의 제조 방법
EP4016658A1 (en) * 2019-01-31 2022-06-22 Dai Nippon Printing Co., Ltd. Deposition mask group, manufacturing method of electronic device, and electronic device
CN110331377B (zh) * 2019-07-24 2021-10-29 京东方科技集团股份有限公司 掩膜片及其制作方法、开口掩膜板及其使用方法、薄膜沉积设备
WO2021036067A1 (zh) * 2019-08-28 2021-03-04 京东方科技集团股份有限公司 掩模板及制备方法、精细金属掩模板、掩模装置及使用方法
CN112501558B (zh) 2019-08-28 2024-12-13 京东方科技集团股份有限公司 掩膜版、掩膜装置及掩膜版的设计优化方法
JP2021066949A (ja) * 2019-10-28 2021-04-30 大日本印刷株式会社 蒸着マスクおよび蒸着マスクの製造方法
CN110993790A (zh) * 2019-11-14 2020-04-10 武汉华星光电半导体显示技术有限公司 金属掩模板及柔性oled面板
CN110777328A (zh) * 2019-11-21 2020-02-11 昆山国显光电有限公司 一种掩膜版、蒸镀系统及掩膜版的制备方法
CN110838565B (zh) * 2019-11-26 2022-07-29 京东方科技集团股份有限公司 金属掩模版、显示面板和显示装置
CN110911466B (zh) 2019-11-29 2022-08-19 京东方科技集团股份有限公司 一种基板及其制备方法、母板的制备方法、掩膜版和蒸镀装置
KR20210091382A (ko) 2020-01-13 2021-07-22 삼성디스플레이 주식회사 마스크, 이의 제조 방법, 및 표시 패널 제조 방법
KR20220078007A (ko) * 2020-12-02 2022-06-10 삼성디스플레이 주식회사 표시 장치의 제조장치 및 표시 장치의 제조방법
US12239006B2 (en) * 2020-12-28 2025-02-25 Dai Nippon Printing Co., Ltd. Organic device having a first display area, and a second display area including a second electrode surrounding each of first and second adjacent transmission areas
TWI825405B (zh) * 2021-03-31 2023-12-11 達運精密工業股份有限公司 金屬遮罩檢測方法
US11939658B2 (en) * 2021-04-09 2024-03-26 Dai Nippon Printing Co., Ltd. Deposition mask, deposition mask apparatus, deposition apparatus, and manufacturing method for organic device
KR20230026586A (ko) * 2021-08-17 2023-02-27 삼성디스플레이 주식회사 마스크 조립체
CN114540787B (zh) * 2021-11-23 2024-08-09 京东方科技集团股份有限公司 一种掩膜板、其制作方法及显示面板

Citations (3)

* Cited by examiner, † Cited by third party
Publication number Priority date Publication date Assignee Title
JP2014194062A (ja) * 2013-03-29 2014-10-09 Sony Corp マスクフレームユニット、マスク装置及び処理方法
JP2014208899A (ja) * 2013-03-26 2014-11-06 大日本印刷株式会社 蒸着マスク、蒸着マスク準備体、蒸着マスクの製造方法、及び有機半導体素子の製造方法
WO2015053250A1 (ja) * 2013-10-11 2015-04-16 株式会社ブイ・テクノロジー 成膜マスク及びその製造方法

Family Cites Families (10)

* Cited by examiner, † Cited by third party
Publication number Priority date Publication date Assignee Title
KR101117645B1 (ko) * 2009-02-05 2012-03-05 삼성모바일디스플레이주식회사 마스크 조립체 및 이를 이용한 평판표시장치용 증착 장치
KR20120094112A (ko) * 2010-02-03 2012-08-23 샤프 가부시키가이샤 증착 마스크, 증착장치 및 증착 방법
US9108216B2 (en) * 2012-01-12 2015-08-18 Dai Nippon Printing Co., Ltd. Vapor deposition mask, method for producing vapor deposition mask device and method for producing organic semiconductor element
JP5825139B2 (ja) * 2012-02-21 2015-12-02 大日本印刷株式会社 蒸着マスクの製造方法
JP5976527B2 (ja) * 2012-12-27 2016-08-23 株式会社ブイ・テクノロジー 蒸着マスク及びその製造方法
CN109554663B (zh) * 2013-03-26 2020-03-17 大日本印刷株式会社 蒸镀掩模、带框架的蒸镀掩模、及它们的制造方法
WO2014167989A1 (ja) * 2013-04-12 2014-10-16 大日本印刷株式会社 蒸着マスク、蒸着マスク準備体、蒸着マスクの製造方法、及び有機半導体素子の製造方法
JP6197423B2 (ja) * 2013-07-11 2017-09-20 大日本印刷株式会社 蒸着マスク、蒸着マスクの製造方法、及び有機半導体素子の製造方法
JP6394877B2 (ja) * 2013-09-30 2018-09-26 大日本印刷株式会社 蒸着マスク、蒸着マスクの製造方法、蒸着マスク準備体、フレーム付き蒸着マスク、及び有機半導体素子の製造方法
JP6409701B2 (ja) * 2013-11-14 2018-10-24 大日本印刷株式会社 蒸着マスク、フレーム付き蒸着マスク、及び有機半導体素子の製造方法

Patent Citations (3)

* Cited by examiner, † Cited by third party
Publication number Priority date Publication date Assignee Title
JP2014208899A (ja) * 2013-03-26 2014-11-06 大日本印刷株式会社 蒸着マスク、蒸着マスク準備体、蒸着マスクの製造方法、及び有機半導体素子の製造方法
JP2014194062A (ja) * 2013-03-29 2014-10-09 Sony Corp マスクフレームユニット、マスク装置及び処理方法
WO2015053250A1 (ja) * 2013-10-11 2015-04-16 株式会社ブイ・テクノロジー 成膜マスク及びその製造方法

Also Published As

Publication number Publication date
TW201809326A (zh) 2018-03-16
US20190203338A1 (en) 2019-07-04
JP2017210657A (ja) 2017-11-30
CN109154064A (zh) 2019-01-04
JP6465075B2 (ja) 2019-02-06
TWI747908B (zh) 2021-12-01
KR102365037B1 (ko) 2022-02-18
KR20190013852A (ko) 2019-02-11
CN114959565A (zh) 2022-08-30

Similar Documents

Publication Publication Date Title
JP6465075B2 (ja) 蒸着マスク、フレーム付き蒸着マスク、有機半導体素子の製造方法、及びに有機elディスプレイの製造方法
US11404640B2 (en) Vapor deposition mask, frame-equipped vapor deposition mask, and method for producing organic semiconductor element
CN109328242B (zh) 蒸镀掩膜、有机半导体元件的制造方法以及有机el显示屏的制造方法
JP6163586B2 (ja) 蒸着パターンの形成方法、押さえ板一体型の押し込み部材、蒸着装置及び有機半導体素子の製造方法
JP2019163543A (ja) 蒸着マスクの製造方法、有機半導体素子の製造方法、及び有機elディスプレイの製造方法
WO2018003766A1 (ja) 蒸着マスク、有機半導体素子の製造方法、および有機elディスプレイの製造方法
JP6791226B2 (ja) 蒸着マスク、フレーム付き蒸着マスク、有機半導体素子の製造方法、及び有機elディスプレイの製造方法
JP6597863B2 (ja) 蒸着マスク、フレーム付き蒸着マスク、有機半導体素子の製造方法、及び蒸着マスクの製造方法
JP6922179B2 (ja) 蒸着マスク、有機半導体素子の製造方法、及び有機elディスプレイの製造方法
JP2018066053A (ja) 蒸着マスク、フレーム付き蒸着マスク、蒸着マスク準備体、蒸着マスクの製造方法、有機半導体素子の製造方法、及び有機elディスプレイの製造方法

Legal Events

Date Code Title Description
NENP Non-entry into the national phase

Ref country code: DE

121 Ep: the epo has been informed by wipo that ep was designated in this application

Ref document number: 17802780

Country of ref document: EP

Kind code of ref document: A1

ENP Entry into the national phase

Ref document number: 20187036874

Country of ref document: KR

Kind code of ref document: A

122 Ep: pct application non-entry in european phase

Ref document number: 17802780

Country of ref document: EP

Kind code of ref document: A1