WO2017175584A1 - 給電制御装置 - Google Patents

給電制御装置 Download PDF

Info

Publication number
WO2017175584A1
WO2017175584A1 PCT/JP2017/011413 JP2017011413W WO2017175584A1 WO 2017175584 A1 WO2017175584 A1 WO 2017175584A1 JP 2017011413 W JP2017011413 W JP 2017011413W WO 2017175584 A1 WO2017175584 A1 WO 2017175584A1
Authority
WO
WIPO (PCT)
Prior art keywords
semiconductor switch
voltage
power supply
gate
control device
Prior art date
Legal status (The legal status is an assumption and is not a legal conclusion. Google has not performed a legal analysis and makes no representation as to the accuracy of the status listed.)
Ceased
Application number
PCT/JP2017/011413
Other languages
English (en)
French (fr)
Japanese (ja)
Inventor
佑樹 杉沢
Current Assignee (The listed assignees may be inaccurate. Google has not performed a legal analysis and makes no representation or warranty as to the accuracy of the list.)
Sumitomo Wiring Systems Ltd
AutoNetworks Technologies Ltd
Sumitomo Electric Industries Ltd
Original Assignee
Sumitomo Wiring Systems Ltd
AutoNetworks Technologies Ltd
Sumitomo Electric Industries Ltd
Priority date (The priority date is an assumption and is not a legal conclusion. Google has not performed a legal analysis and makes no representation as to the accuracy of the date listed.)
Filing date
Publication date
Application filed by Sumitomo Wiring Systems Ltd, AutoNetworks Technologies Ltd, Sumitomo Electric Industries Ltd filed Critical Sumitomo Wiring Systems Ltd
Priority to CN201780017479.1A priority Critical patent/CN108781078B/zh
Priority to US16/090,427 priority patent/US10411696B2/en
Priority to DE112017001921.4T priority patent/DE112017001921B4/de
Publication of WO2017175584A1 publication Critical patent/WO2017175584A1/ja
Anticipated expiration legal-status Critical
Ceased legal-status Critical Current

Links

Images

Classifications

    • HELECTRICITY
    • H02GENERATION; CONVERSION OR DISTRIBUTION OF ELECTRIC POWER
    • H02JELECTRIC POWER NETWORKS; CIRCUIT ARRANGEMENTS OR SYSTEMS FOR SUPPLYING OR DISTRIBUTING ELECTRIC POWER; SYSTEMS FOR STORING ELECTRIC ENERGY
    • H02J1/00Circuit arrangements for DC mains or DC distribution networks
    • H02J1/001Hot plugging or unplugging of load or power modules to or from power distribution networks
    • HELECTRICITY
    • H03ELECTRONIC CIRCUITRY
    • H03KPULSE TECHNIQUE
    • H03K17/00Electronic switching or gating, i.e. not by contact-making and –breaking
    • H03K17/51Electronic switching or gating, i.e. not by contact-making and –breaking characterised by the components used
    • H03K17/56Electronic switching or gating, i.e. not by contact-making and –breaking characterised by the components used by the use, as active elements, of semiconductor devices
    • H03K17/687Electronic switching or gating, i.e. not by contact-making and –breaking characterised by the components used by the use, as active elements, of semiconductor devices the devices being field-effect transistors
    • HELECTRICITY
    • H02GENERATION; CONVERSION OR DISTRIBUTION OF ELECTRIC POWER
    • H02JELECTRIC POWER NETWORKS; CIRCUIT ARRANGEMENTS OR SYSTEMS FOR SUPPLYING OR DISTRIBUTING ELECTRIC POWER; SYSTEMS FOR STORING ELECTRIC ENERGY
    • H02J1/00Circuit arrangements for DC mains or DC distribution networks
    • H02J1/10Parallel operation of DC sources
    • H02J1/102Parallel operation of DC sources being switching converters
    • HELECTRICITY
    • H02GENERATION; CONVERSION OR DISTRIBUTION OF ELECTRIC POWER
    • H02JELECTRIC POWER NETWORKS; CIRCUIT ARRANGEMENTS OR SYSTEMS FOR SUPPLYING OR DISTRIBUTING ELECTRIC POWER; SYSTEMS FOR STORING ELECTRIC ENERGY
    • H02J7/00Circuit arrangements for charging or discharging batteries or for supplying loads from batteries
    • HELECTRICITY
    • H02GENERATION; CONVERSION OR DISTRIBUTION OF ELECTRIC POWER
    • H02JELECTRIC POWER NETWORKS; CIRCUIT ARRANGEMENTS OR SYSTEMS FOR SUPPLYING OR DISTRIBUTING ELECTRIC POWER; SYSTEMS FOR STORING ELECTRIC ENERGY
    • H02J7/00Circuit arrangements for charging or discharging batteries or for supplying loads from batteries
    • H02J7/40Circuit arrangements for charging or discharging batteries or for supplying loads from batteries characterised by the exchange of charge or discharge related data
    • H02J7/443Circuit arrangements for charging or discharging batteries or for supplying loads from batteries characterised by the exchange of charge or discharge related data using passive battery identification means, e.g. resistors or capacitors
    • H02J7/448Circuit arrangements for charging or discharging batteries or for supplying loads from batteries characterised by the exchange of charge or discharge related data using passive battery identification means, e.g. resistors or capacitors using switches, contacts or markings, e.g. optical, magnetic or barcode
    • HELECTRICITY
    • H02GENERATION; CONVERSION OR DISTRIBUTION OF ELECTRIC POWER
    • H02MAPPARATUS FOR CONVERSION BETWEEN AC AND AC, BETWEEN AC AND DC, OR BETWEEN DC AND DC, AND FOR USE WITH MAINS OR SIMILAR POWER SUPPLY SYSTEMS; CONVERSION OF DC OR AC INPUT POWER INTO SURGE OUTPUT POWER; CONTROL OR REGULATION THEREOF
    • H02M3/00Conversion of DC power input into DC power output
    • H02M3/02Conversion of DC power input into DC power output without intermediate conversion into AC
    • H02M3/04Conversion of DC power input into DC power output without intermediate conversion into AC by static converters
    • H02M3/10Conversion of DC power input into DC power output without intermediate conversion into AC by static converters using discharge tubes with control electrode or semiconductor devices with control electrode
    • H02M3/145Conversion of DC power input into DC power output without intermediate conversion into AC by static converters using discharge tubes with control electrode or semiconductor devices with control electrode using devices of a triode or transistor type requiring continuous application of a control signal
    • H02M3/155Conversion of DC power input into DC power output without intermediate conversion into AC by static converters using discharge tubes with control electrode or semiconductor devices with control electrode using devices of a triode or transistor type requiring continuous application of a control signal using semiconductor devices only
    • HELECTRICITY
    • H03ELECTRONIC CIRCUITRY
    • H03KPULSE TECHNIQUE
    • H03K17/00Electronic switching or gating, i.e. not by contact-making and –breaking
    • H03K17/08Modifications for protecting switching circuit against overcurrent or overvoltage
    • H03K17/082Modifications for protecting switching circuit against overcurrent or overvoltage by feedback from the output to the control circuit
    • H03K17/0822Modifications for protecting switching circuit against overcurrent or overvoltage by feedback from the output to the control circuit in field-effect transistor switches
    • HELECTRICITY
    • H03ELECTRONIC CIRCUITRY
    • H03KPULSE TECHNIQUE
    • H03K17/00Electronic switching or gating, i.e. not by contact-making and –breaking
    • H03K17/16Modifications for eliminating interference voltages or currents
    • H03K17/161Modifications for eliminating interference voltages or currents in field-effect transistor switches

Definitions

  • the present invention relates to a power supply control device that controls power supply via a switch.
  • the drain and source of an N-channel FET are connected to the positive electrode of the battery and one end of the load, and the negative electrode of the battery is the load.
  • the FET functions as a semiconductor switch. The FET is turned on by raising the gate voltage above the on threshold, and turned off by lowering the gate voltage below the off threshold. When the FET is on, power is supplied from the battery to the load. When the FET is off, power supply from the battery to the load is stopped.
  • a parasitic diode is formed between the drain and source of the FET.
  • the cathode and anode of a parasitic diode are connected to the drain and source, respectively.
  • Patent Document 1 discloses a power supply control device that can prevent a current from flowing to a load when a battery is incorrectly connected.
  • the power supply control device described in Patent Document 1 includes two N-channel FETs, and the drain of one FET is connected to the drain of the other FET.
  • the positive electrode of the battery is connected to the source of one FET, and one end of the load is connected to the source of the other FET.
  • the negative electrode of the battery is connected to the other end of the load.
  • the power supply from the battery to the load is controlled by switching the two FETs on or off together.
  • the cathode of the parasitic diode formed in one FET is connected to the cathode of the parasitic diode formed in the other FET. Therefore, when the two FETs are off, no current flows from the battery to the load regardless of the connection state of the battery.
  • a power supply control device including two N-channel FETs
  • a power supply control device that switches two FETs on or off by one drive circuit
  • the gates of the two FETs are directly connected to the output terminal of the drive circuit.
  • the drive circuit raises the voltage output from the output terminal, thereby raising the voltage of the gates of the two FETs from zero V and switching the two FETs on.
  • the drive circuit lowers the voltage output from the output terminal, thereby lowering the gate voltage of each of the two FETs to zero V and switching the two FETs off.
  • the power supply control device in which the output terminal of the drive circuit is directly connected to the gates of the two FETs is manufactured at low cost because there is one drive circuit.
  • this power supply control device since two FETs must be switched on or off with one drive circuit, it takes a long time to switch on and off, and there is a problem that switching loss is large. is there.
  • the present invention has been made in view of such circumstances, and an object of the present invention is to provide an inexpensive power supply control device with small switching loss.
  • a power supply control device includes a switching unit that switches on or off a first semiconductor switch and a second semiconductor switch having a current input terminal connected to a current output terminal of the first semiconductor switch, In the power supply control device that controls power supply through the second semiconductor switch by switching the switching unit, each of the first semiconductor switch and the second semiconductor switch is turned on when the voltage at the control terminal is equal to or higher than the on threshold.
  • the switch When the voltage of the control terminal is less than the off threshold, the switch is turned off, the resistor connected between the current input terminal and the control terminal of the first semiconductor switch, and the cathode of the first semiconductor switch A diode connected to the control end and having an anode connected to the control end of the second semiconductor switch, and the switching unit includes the second semiconductor switch And performing switching said by adjusting the voltage of the control terminal.
  • the current output terminal of the first semiconductor switch is connected to the current input terminal of the second semiconductor switch, and a resistor is connected between the current input terminal and the control terminal of the first semiconductor switch.
  • the cathode and anode of the diode are connected to the control terminals of the first semiconductor switch and the second semiconductor switch, respectively.
  • the positive electrode of the battery is connected to the current input terminal of the first semiconductor switch
  • one end of the load is connected to the current output terminal of the second semiconductor switch
  • the negative electrode of the battery is connected to the other end of the load.
  • the switching unit supplies current to the parasitic capacitors connected to the control terminals of the first semiconductor switch and the second semiconductor switch in order to switch on the first semiconductor switch and the second semiconductor switch. Increase the voltage at the control end.
  • the switching unit supplies current only to the parasitic capacitance connected to the control terminal of the second semiconductor switch, The voltage at the control end of the semiconductor switch is increased. Further, when the voltage at the control terminal of the second semiconductor switch becomes equal to or higher than the output voltage of the battery, the switching unit supplies current to the parasitic capacitance connected to the control terminal of each of the first semiconductor switch and the second semiconductor switch. Then, the voltages at the control terminals of the first semiconductor switch and the second semiconductor switch are increased. Thereby, the first semiconductor switch and the second semiconductor switch are turned on. Since the voltage at the control terminal of the first semiconductor switch is previously maintained at the output voltage of the battery, the first semiconductor switch and the second semiconductor switch are switched on in a short period of time, and the switching loss is small.
  • the switching unit connects the control end of the second semiconductor switch to the negative electrode of the battery via the internal resistance, thereby discharging the parasitic capacitance connected to the control end of each of the second semiconductor switches, to the second The voltage at the control end of the semiconductor switch is lowered to switch off the second semiconductor switch.
  • the control terminal of the second semiconductor switch is connected to the negative electrode of the battery, the parasitic capacitance connected to the control terminal of the first semiconductor switch is discharged through the resistor, and the voltage at the control terminal of the first semiconductor switch is lowered. Then, the first semiconductor switch is turned off.
  • the switching unit Since the parasitic capacitance connected to the control end of the first semiconductor switch is discharged through the resistor, the switching unit only needs to discharge only the parasitic capacitance connected to the control end of the second semiconductor switch. For this reason, the first semiconductor switch and the second semiconductor switch are switched off in a short period of time, and the switching loss is small.
  • the manufacturing cost is low.
  • the power supply control device includes a parasitic diode whose cathode and anode are connected to the current output end and the current input end of the first semiconductor switch, the control end of the first semiconductor switch, and the second And a capacitor connected between the current output terminals of the semiconductor switch.
  • the positive electrode of the battery is connected to the current input terminal of the first semiconductor switch, one end of the load is connected to the current output terminal of the second semiconductor switch, and the negative electrode of the battery is connected to the other end of the load.
  • the capacitor is charged by the battery.
  • the switching unit increases the voltage at the control terminal of the second semiconductor switch, the current flowing through the load through the second semiconductor switch increases, and the voltage at the current output terminal of the second semiconductor switch increases.
  • the voltage at one end of the capacitor on the battery side exceeds the output voltage of the battery and is connected to the control end of the first semiconductor switch.
  • the number of the second semiconductor switches and the diodes is two or more and the same, and the current input terminal of each of the plurality of second semiconductor switches is the first semiconductor switch.
  • the cathodes of the plurality of diodes are connected to the control end of the first semiconductor switch, and the anodes of the plurality of diodes are connected to the control ends of the plurality of second semiconductor switches,
  • the switching unit adjusts voltages of the control terminals of the plurality of second semiconductor switches separately.
  • the current input terminals of the plurality of second semiconductor switches are connected to the current output terminals of the first semiconductor switch.
  • a cathode of each of the plurality of diodes is connected to a control end of the first semiconductor switch, and an anode of each of the plurality of diodes is connected to a control end of the plurality of second semiconductor switches.
  • a cathode and an anode are connected to the current output terminal and the current input terminal of the first semiconductor switch, and a cathode is connected to the control terminal of the first semiconductor switch.
  • a plurality of capacitors connected to the anodes of each of the plurality of second diodes, and the number of each of the second diode, the third diode and the capacitor is the same as the number of the second semiconductor switches, The other end of each of the plurality of capacitors is connected to the current output terminal of the plurality of second semiconductor switches.
  • the positive electrode of the battery is connected to the current input terminal of the first semiconductor switch, one end of the load is connected to the current output terminal of the second semiconductor switch, and the negative electrode of the battery is connected to the other end of the load.
  • the first semiconductor switch and the second semiconductor switch are off, each of the plurality of capacitors is charged through the third diode.
  • the switching unit increases the voltage at the control end of one second semiconductor switch while the first semiconductor switch and the second semiconductor switch are off, the voltage at the current output end of the one second semiconductor switch increases. .
  • the first semiconductor switch is switched on or off based on the voltage of the control terminal based on the potential of the current input terminal, and the second semiconductor switch is connected to the current output terminal. It is switched on or off based on the voltage of the control terminal with reference to the potential of
  • each of the first semiconductor switch and the second semiconductor switch is, for example, an N-channel FET, and the drain of the first semiconductor switch is connected to the drain of the second semiconductor switch.
  • the power supply control device is connected between the current input terminal and the control terminal of the first semiconductor switch, and the current input terminal of the first semiconductor switch is based on the potential of the current output terminal of the second semiconductor switch.
  • the first semiconductor switch is turned off when the voltage between the current input terminal and the control terminal is substantially zero V.
  • the switch is turned on when a negative voltage is applied to the first semiconductor switch. .
  • the switch when a negative voltage is applied to the current input terminal of the first semiconductor switch with reference to the potential of the current output terminal of the second semiconductor switch, the switch is turned on, and the first semiconductor switch The voltage between the current input terminal and the control terminal becomes substantially zero V, and the first semiconductor switch is turned off. Accordingly, even when the first semiconductor switch and the second semiconductor switch are on, a negative voltage is applied to the current input terminal of the first semiconductor switch with reference to the potential of the current output terminal of each of the second semiconductor switches. The first semiconductor switch is forcibly switched off. This reliably prevents a current from flowing from the second semiconductor switch to the first semiconductor switch.
  • the switching loss is small and the manufacturing cost is low.
  • FIG. 1 is a block diagram illustrating a configuration of a main part of a power supply system according to Embodiment 1.
  • FIG. It is a circuit diagram of an electric power feeding control device. It is a timing chart for explaining change to ON of the 2nd semiconductor switch.
  • 6 is a circuit diagram of a power supply control device in Embodiment 2.
  • FIG. It is a timing chart for demonstrating the effect of a capacitor.
  • FIG. 10 is a block diagram illustrating a main configuration of a power supply system according to a third embodiment. It is a circuit diagram of an electric power feeding control device. It is a circuit diagram of a control circuit.
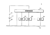
  • FIG. 1 is a block diagram illustrating a main configuration of a power supply system 1 according to the first embodiment.
  • the power supply system 1 is suitably mounted on a vehicle and includes a power supply control device 10, a battery 11, a conductor 12, and a load A1.
  • the conductor 12 is, for example, a vehicle body.
  • the power supply control device 10 is connected to the conductor 12, one end of the load A1, and the positive terminal T1 separately. The other end of the load A1 and the negative terminal T2 are also connected to the conductor 12.
  • the battery 11 is detachably connected between the positive terminal T1 and the negative terminal T2.
  • the normal connection state of the battery 11 is a state in which the positive electrode and the negative electrode of the battery 11 are connected to the positive electrode terminal T1 and the negative electrode terminal T2, respectively.
  • the erroneous connection state of the battery 11 is a state in which the positive electrode and the negative electrode of the battery 11 are connected to the negative electrode terminal T2 and the positive electrode terminal T1, respectively.
  • the power supply control device 10 controls power supply from the battery 11 to the load A1.
  • the load A1 is an electric device mounted on the vehicle and operates when power is supplied, and stops operating when power supply is stopped.
  • the power supply control device 10 prevents a current from flowing from the negative terminal T2 to the load A1.
  • FIG. 2 is a circuit diagram of the power supply control device 10.
  • the power supply control device 10 includes a first semiconductor switch 20, a switch 21, a microcomputer (hereinafter referred to as a microcomputer) 22, a control circuit B1, a diode D1, and resistors R1, R2, and R3.
  • the first semiconductor switch 20 is an N-channel FET. Accordingly, the power supply control device 10 further includes a parasitic diode Dp1 and parasitic capacitances Cs1 and Cd1 that are formed when the first semiconductor switch 20 is manufactured.
  • the parasitic diode Dp1 is connected between the drain and source of the first semiconductor switch 20, and the cathode and anode of the parasitic diode Dp1 are connected to the drain and source of the first semiconductor switch 20, respectively.
  • the parasitic capacitance Cs1 is connected between the gate and the source of the first semiconductor switch 20, and the parasitic capacitance Cd1 is connected between the gate and the drain of the first semiconductor switch 20.
  • the switch 21 is an
  • the control circuit B1 includes a second semiconductor switch 30, a drive unit 31, and a diode D2.
  • the second semiconductor switch 30 is an N-channel type FET. Therefore, the control circuit B1 further includes a parasitic diode Dp2 and parasitic capacitances Cs2 and Cd2 that are formed when the second semiconductor switch 30 is manufactured.
  • the parasitic diode Dp2 is connected between the drain and source of the second semiconductor switch 30, and the cathode and anode of the parasitic diode Dp2 are connected to the drain and source of the second semiconductor switch 30, respectively.
  • the parasitic capacitance Cs2 is connected between the gate and the source of the second semiconductor switch 30, and the parasitic capacitance Cd2 is connected between the gate and the drain of the second semiconductor switch 30.
  • the source of the first semiconductor switch 20 is connected to the positive terminal T1.
  • the drain of the first semiconductor switch 20 is connected to the drain of the second semiconductor switch 30 of the control circuit B1.
  • the source of the second semiconductor switch 30 is connected to one end of the load A1.
  • the gate of the first semiconductor switch 20 is connected to the cathode of the diode D2 of the control circuit B1.
  • the anode of the diode D2 is connected to the gate of the second semiconductor switch 30.
  • a drive unit 31 is further connected to the gate of the second semiconductor switch 30.
  • a microcomputer 22 is further connected to the drive unit 31.
  • the source of the first semiconductor switch 20 is further connected to the emitter of the switch 21 and one end of each of the resistors R1 and R2.
  • the collector of the switch 21 and the other end of the resistor R1 are connected to the gate of the first semiconductor switch 20.
  • each of the switch 21 and the resistor R1 is connected between the source and gate of the first semiconductor switch 20.
  • the other end of the resistor R2 is connected to the base of the switch 21 and one end of the resistor R3.
  • the other end of the resistor R3 is connected to the cathode of the diode D1.
  • the anode of the diode D1 is connected to the conductor 12.
  • the first semiconductor switch 20 when the gate voltage relative to the source potential is equal to or higher than the ON threshold value Vn1, the resistance value between the source and the drain is approximately zero ⁇ . At this time, the first semiconductor switch 20 is turned on. In addition, regarding the first semiconductor switch 20, when the gate voltage relative to the source potential is less than the off threshold Vf1, the resistance value between the source and the drain is sufficiently large, and a current flows between the source and the drain. There is almost no. Thus, in the first semiconductor switch 20, when the gate voltage with respect to the source potential becomes less than the off threshold Vf1, the first semiconductor switch 20 is switched off. The off threshold value Vf1 is positive and is less than the on threshold value Vn1.
  • the second semiconductor switch 30 when the gate voltage with respect to the source potential becomes equal to or higher than the ON threshold value Vn2, the resistance value between the source and the drain is substantially zero ⁇ . At this time, the second semiconductor switch 30 is switched on. In addition, regarding the second semiconductor switch 30, when the gate voltage relative to the source potential is less than the off threshold Vf2, the resistance value between the source and the drain is sufficiently large, and a current flows between the source and the drain. Almost no. Thus, in the second semiconductor switch 30, when the gate voltage with respect to the source potential becomes less than the off threshold Vf2, the second semiconductor switch 30 is switched off. The off threshold value Vf2 is positive and is less than the on threshold value Vn2.
  • the switch 21 when the base voltage with respect to the emitter potential becomes equal to or higher than the ON threshold value Vn3, the resistance value between the emitter and the collector is substantially zero ⁇ . At this time, the switch 21 is turned on. Further, regarding the switch 21, when the base voltage based on the emitter potential is less than the off threshold Vf3, the resistance value between the emitter and the collector is sufficiently large, and current hardly flows between the emitter and the collector. Thus, in the switch 21, when the gate voltage with respect to the emitter potential becomes less than the off threshold value Vf3, the switch 21 is turned off. The off threshold value Vf3 is positive and is less than the on threshold value Vn3.
  • the switch 21 is turned on and the first semiconductor switch 20 is turned off.
  • the cathode of the parasitic diode Dp1 is connected to the drain of the first semiconductor switch 20
  • the electric power feeding control apparatus 10 in case the battery 11 is connected normally is demonstrated.
  • the width of the forward voltage drop of each of the parasitic diodes Dp1, Dp2 and the diode D2 is sufficiently small.
  • the first semiconductor switch 20 current is supplied from the gate to the parasitic capacitors Cs1 and Cd1, and the gate voltage with reference to the source potential is increased to the on threshold value Vn1 or more.
  • the first semiconductor switch 20 is switched on.
  • the gate voltage with respect to the source potential is lowered to less than the off threshold value Vf1.
  • the first semiconductor switch 20 is switched off.
  • the second semiconductor switch 30 current is supplied from the gate to the parasitic capacitors Cs2 and Cd2, and the gate voltage with reference to the source potential is increased to the on threshold value Vn2 or more. As a result, the second semiconductor switch 30 is switched on. Further, by discharging the parasitic capacitances Cs2 and Cd2, the gate voltage with respect to the source potential is lowered to less than the off threshold value Vf2. As a result, the second semiconductor switch 30 is switched off.
  • a drive signal for instructing driving of the load A1 and a stop signal for instructing stop of driving of the load A1 are input from the microcomputer 22 to the driving unit 31 of the control circuit B1.
  • the drive unit 31 applies a drive voltage higher than the output voltage Vb of the battery 11 via an internal resistor (not shown) to the gate of the second semiconductor switch 30 and the gate of the first semiconductor switch 20. And output.
  • the drive unit 31 outputs a drive voltage to the gate of the first semiconductor switch 20 via the internal resistor and the diode D2.
  • the drive unit 31 When the drive unit 31 outputs a drive voltage, current is supplied from the gate of the second semiconductor switch 30 to the parasitic capacitors Cs2 and Cd2, and current is supplied from the gate of the first semiconductor switch 20 to the parasitic capacitors Cs1 and Cd1. Is done. As a result, the parasitic capacitances Cs1, Cd1, Cs2, and Cd2 are charged, and the gate voltage with respect to the source potential is increased in each of the first semiconductor switch 20 and the second semiconductor switch 30.
  • the gate voltage with the source potential as a reference in the first semiconductor switch 20 becomes equal to or higher than the ON threshold value Vn1
  • the second semiconductor switch 30 has the gate voltage with the source potential as a reference.
  • the voltage is equal to or higher than the ON threshold value Vn2.
  • the second semiconductor switch 30 When the second semiconductor switch 30 is on, the current flows from the positive terminal T1 in the order of the source and drain of the first semiconductor switch 20, and the drain and source of the second semiconductor switch 30. For this reason, the source of the first semiconductor switch 20 and the drain of the second semiconductor switch 30 function as a current input terminal, and the drain of the first semiconductor switch 20 and the source of the second semiconductor switch 30 function as a current output terminal. Function.
  • the gates of the first semiconductor switch 20 and the second semiconductor switch 30 function as control terminals.
  • the drive unit 31 connects the gate of the second semiconductor switch 30 to the conductor 12 via the internal resistance.
  • the parasitic capacitances Cs2 and Cd2 are discharged, the voltage of the gate of the second semiconductor switch 30 becomes less than the off threshold Vf2, and the second semiconductor switch 30 is turned off. Switch to.
  • the second semiconductor switch 30 is switched off, power supply to the load A1 is stopped, and the load A1 stops operating.
  • the voltage of the drain of the second semiconductor switch 30 substantially matches the output voltage Vb of the battery 11, and the second The voltages of the gate and the source of the semiconductor switch 30 are substantially zero volts.
  • the microcomputer 22 When the microcomputer 22 outputs a stop signal to the drive unit 31 and the drive unit 31 connects the gate of the second semiconductor switch 30 to the conductor 12, the voltage output from the drive unit 31 to the gate of the first semiconductor switch 20 is Stop. For this reason, in each of the parasitic capacitors Cs1 and Cd1, a current flows from one end on the gate side of the first semiconductor switch 20 via the resistor R1, and each of the parasitic capacitors Cs1 and Cd1 of the first semiconductor switch 20 is discharged. As a result, in the first semiconductor switch 20, the gate voltage relative to the source potential becomes less than the off threshold Vf1, and the first semiconductor switch 20 is switched off.
  • the microcomputer 22 controls the operation of the control circuit B1 by outputting a drive signal or a stop signal to the drive unit 31.
  • the discharge of the parasitic capacitors Cs1 and Cd1 is completed in a state where the gate of the second semiconductor switch 30 is connected to the conductor 12 via the internal resistance of the driving unit 31, the voltage between both ends of the parasitic capacitors Cs1 and Cd1. Is substantially zero V, and the power stored in the parasitic capacitances Cs1 and Cd1 is substantially zero W.
  • the drive unit 31 outputs the drive voltage via the internal resistor, or connects the gate of the second semiconductor switch 30 to the conductor 12 via the internal resistor, whereby the second semiconductor switch 30 is output.
  • the first semiconductor switch 20 and the second semiconductor switch 30 are switched on or off. Thereby, the power supply to the load A1 via the second semiconductor switch 30 is controlled.
  • the drive unit 31 functions as a switching unit.
  • the power supply control device 10 the speed at which the drive unit 31 switches the first semiconductor switch 20 and the second semiconductor switch 30 from off to on is high.
  • the power supply control device to be compared is a power supply control device in which the resistor R1 is not provided and the gate of the first semiconductor switch 20 is connected to the gate of the second semiconductor switch 30 without going through the diode D2. . Even in the power supply control device to be compared, the first semiconductor switch 20 and the second semiconductor switch 30 can be switched from OFF to ON by the drive unit 31 outputting the drive voltage. As a matter of course, the power supplied by the drive unit 31 is the same in each of the power supply control device 10 and the power supply control device to be compared.
  • FIG. 3 is a timing chart for explaining switching of the second semiconductor switch 30 to ON.
  • FIG. 3 shows changes in the source voltage Vs2 and the gate voltage Vg2 in the second semiconductor switch 30.
  • the source voltage Vs2 and the gate voltage Vg2 are referred to as a source voltage Vs2 and a gate voltage Vg2, respectively.
  • Each of the source voltage Vs2 and the gate voltage Vg2 is a voltage based on the potential of the conductor 12.
  • the transitions of the gate voltage Vg2 and the source voltage Vs2 are shown by thick lines and thin lines. A portion where the transitions of the gate voltage Vg2 and the source voltage Vs2 overlap is indicated by a thick line. For each of the power supply control device 10 and the power supply control device to be compared, the transition trends of the source voltage Vs2 and the gate voltage Vg2 are not changed.
  • a period from when the drive unit 31 starts outputting the drive voltage to when the gate voltage Vg2 reaches the off threshold Vf2 is referred to as a first period, and after the gate voltage reaches the off threshold Vf2, the source voltage A period until Vs2 reaches the output voltage Vb of the battery 11 is referred to as a second period. Furthermore, a period from when the source voltage Vs2 reaches the output voltage Vb of the battery 11 to when the gate voltage Vg2 reaches the drive voltage is described as a third period.
  • the lengths of the first period and the second period in the power supply control device 10 are shorter than the lengths of the first period and the second period in the power supply control device to be compared.
  • the length of the third period in the power supply control device 10 is substantially the same as the length of the third period in the power supply control device to be compared.
  • the switch-on in the power supply control device to be compared will be described.
  • the first semiconductor switch 20 and the second semiconductor switch 30 are off, the current flows in the order from the positive terminal T1 to the parasitic capacitance Cs1 and the drive unit 31, and further, the current flows from the terminal T1.
  • the parasitic diode Dp1, the parasitic capacitance Cd1, and the drive unit 31 flow in this order.
  • the source and drain voltages with the gate potential as a reference substantially match the output voltage Vb of the battery 11. Therefore, in the first semiconductor switch 20, the gate voltage with reference to the potentials of the source and drain is negative.
  • the parasitic capacitors Cs1 and Cs2 are charged.
  • a current is supplied from the gate of the first semiconductor switch 20 to the parasitic capacitance Cs1, and a current is supplied from the gate of the second semiconductor switch 30 to the parasitic capacitance Cs2.
  • the gate voltage Vg2 increases due to the charging of the parasitic capacitance Cs2.
  • the source voltage Vs2 is maintained at zero V until the difference between the gate voltage Vg2 and the source voltage Vs2 reaches the off threshold value Vf2.
  • the source voltage Vs2 increases as the gate voltage Vg2 increases while maintaining the difference between the source voltage Vs2 and the gate voltage Vg2 at the off threshold Vf2 until the output voltage Vb of the battery 11 is reached.
  • the source voltage Vs2 is maintained at the output voltage Vb of the battery 11 after reaching the output voltage Vb of the battery 11.
  • the parasitic capacitors Cs1, Cd1, Cs2, and Cd2 are charged.
  • the gate voltage Vg2 rises to the drive voltage while the source voltage Vs2 is maintained at the output voltage Vb of the battery 11.
  • the second semiconductor switch 30 of the control circuit B1 is turned on.
  • the gate voltage of the first semiconductor switch 20 based on the potential of the conductor 12 changes in the same way as the gate voltage Vg2, and the source voltage of the first semiconductor switch 20 based on the potential of the conductor 12 is the output voltage of the battery 11. It is approximately the same as Vb.
  • the gate voltage relative to the source potential rises from a negative voltage.
  • the first semiconductor switch 20 is turned on when the gate voltage relative to the source potential becomes equal to or higher than the on threshold value Vn1.
  • the parasitic capacitance Cs1 is discharged through the resistor R1, and the parasitic capacitance Cd1 is discharged through the resistor R1 and the diode Dp1.
  • the gate voltage based on the source voltage and the gate voltage based on the drain voltage are substantially zero V.
  • the voltage of the gate of the first semiconductor switch 20 with respect to the potential of the conductor 12 is substantially equal to the output voltage Vb of the battery 11.
  • the drive unit 31 starts the drive voltage output until the gate voltage Vg2 of the second semiconductor switch 30 becomes equal to or higher than the output voltage Vb of the battery 11 until the gate voltage Vg2 of the battery 11 is equal to or higher than the output voltage Vb of the battery 11. No voltage is output to the gate.
  • the drive unit 31 In the first period, all power of the drive unit 31 is supplied to the parasitic capacitance Cs2, and only the parasitic capacitance Cs2 is charged. A current is supplied from the gate of the second semiconductor switch 30 to the parasitic capacitance Cs2.
  • the gate voltage Vg2 increases due to the charging of the parasitic capacitance Cs2.
  • the source voltage Vs2 is maintained at zero V until the difference between the gate voltage Vg2 and the source voltage Vs2 reaches the off threshold value Vf2.
  • the off threshold value Vf2 is less than the output voltage Vb of the battery 11.
  • the capacitance of the parasitic capacitance Cd1 is, for example, one tenth of the capacitance of the parasitic capacitance Cs1, and is sufficiently small, so that the power supplied to the parasitic capacitance Cd1 in the first period is negligible. small.
  • the source voltage Vs2 maintains the difference between the source voltage Vs2 and the gate voltage Vg2 at the off threshold value Vf2 until the source voltage Vs2 becomes the output voltage Vb of the battery 11, as in the power supply control device to be compared. It rises with the rise of the gate voltage Vg2. The source voltage Vs2 is maintained at the output voltage Vb of the battery 11 after reaching the output voltage Vb of the battery 11.
  • the parasitic capacitors Cs1, Cd1, Cs2, and Cd2 are charged in the same manner as the power supply control device to be compared.
  • the gate voltage Vg2 rises to the drive voltage while the source voltage Vs2 is maintained at the output voltage Vb of the battery 11.
  • the second semiconductor switch 30 of the control circuit Bk is turned on.
  • the voltage of the gate of the first semiconductor switch 20 with respect to the potential of the conductor 12 is maintained at the output voltage Vb of the battery 11 while the gate voltage Vg2 is less than the output voltage Vb of the battery 11, and the gate voltage Vg2 is After the output voltage Vb becomes equal to or higher than the output voltage Vb, the same transition as the gate voltage Vg2 occurs.
  • the voltage of the source of the first semiconductor switch 20 with respect to the potential of the conductor 12 is substantially equal to the output voltage Vb of the battery 11.
  • the gate voltage with reference to the source potential rises from zero V.
  • the first semiconductor switch 20 is turned on when the gate voltage relative to the source potential becomes equal to or higher than the on threshold value Vn1.
  • the parasitic capacitors Cs1, Cs2 are charged in the first period, and the parasitic capacitors Cs1, Cd1, Cd2 are charged in the second period.
  • the parasitic capacitors Cs1, Cd1, Cs2, and Cs2 are charged.
  • the gate voltage with reference to the potentials of the source and drain is negative. For this reason, the parasitic capacitance Cs1 is charged in the first period, and the parasitic capacitances Cs1 and Cd1 are charged in the second period.
  • the parasitic capacitance Cs2 is charged in the first period, the parasitic capacitance Cd2 is charged in the second period, and the parasitic capacitance Cs1 in the third period. , Cd1, Cs2, and Cs2 are charged.
  • the voltage of the gate of the second semiconductor switch 30 is less than the output voltage Vb of the battery 11.
  • the voltage of the gate of the second semiconductor switch 30 is lower than the output voltage Vb of the battery 11
  • the voltage of the gate of the first semiconductor switch 20 is maintained at the output voltage Vb and is a voltage based on the potentials of the source and drain. Is zero volts. For this reason, it is not necessary to charge the parasitic capacitance Cs1 in the first period, and it is not necessary to charge the parasitic capacitances Cs1 and Cd1 in the second period.
  • the period from when the drive unit 31 outputs the drive voltage to when the first semiconductor switch 20 and the second semiconductor switch 30 are switched on is short. For this reason, the switching loss generated when the first semiconductor switch 20 and the second semiconductor switch 30 are switched from OFF to ON is small. Furthermore, the period during which current flows through the parasitic diode Dp1 of the first semiconductor switch 20 is short, and power consumption is small.
  • the drive unit 31 is also fast in switching the first semiconductor switch 20 and the second semiconductor switch 30 from on to off.
  • the drive unit 31 connects the gate of the second semiconductor switch 30 to the conductor 12 via the internal resistance
  • current is supplied from the parasitic capacitors Cs1, Cd1, Cs2, and Cd2 to the drive unit 31.
  • the parasitic capacitances Cs1, Cd1, Cs2, and Cd2 are discharged.
  • the gate voltage with respect to the source potential in the first semiconductor switch 20 becomes less than the off threshold value Vf1
  • the first semiconductor switch 20 is turned off.
  • the second semiconductor switch 30 when the gate voltage based on the source potential becomes less than the off threshold value Vf2, the second semiconductor switch 30 is switched off.
  • the drive unit 31 when the drive unit 31 connects the gate of the second semiconductor switch 30 to the conductor 12 via the internal resistance, a current flows from the parasitic capacitances Cs2 and Cd2 to the drive unit 31, and the parasitic capacitance Cs2 , Cd2 are discharged.
  • the parasitic capacitors Cs1 and Cd1 are discharged through the resistor R1. Therefore, in the second semiconductor switch 30, the period from when the driving unit 31 is connected to the conductor 12 via the internal resistance until the gate voltage with respect to the source potential becomes less than the off threshold Vf2 is short. For this reason, the switching loss which occurs when the first semiconductor switch 20 and the second semiconductor switch 30 are switched from on to off is also small. Further, in the power supply control device 10, the drive unit 31 switches the first semiconductor switch 20 and the second semiconductor switch 30 on or off by adjusting the voltage of the gate of the second semiconductor switch 30. Is cheap.
  • FIG. 4 is a circuit diagram of power supply control device 10 according to the second embodiment.
  • the differences between the second embodiment and the first embodiment will be described. Since the configuration other than the configuration described later is the same as that in the first embodiment, the same reference numerals as those in the first embodiment are given to the components common to the first embodiment, and the description thereof is omitted. To do.
  • the power supply control device 10 In the power supply system 1 according to the second embodiment, the power supply control device 10, the battery 11, the conductor 12, and the load A1 are connected in the same manner as in the first embodiment.
  • the control circuit B1 further includes a capacitor C1.
  • the capacitor C ⁇ b> 1 is connected between the gate of the first semiconductor switch 20 and the source of the second semiconductor switch 30. For this reason, when the drive part 31 outputs a drive voltage to the gate of the 2nd semiconductor switch 30, the 1st semiconductor switch 20 switches from OFF to ON faster.
  • the electric power feeding control apparatus 10 in case the battery 11 is connected normally is demonstrated.
  • FIG. 5 is a timing chart for explaining the effect of the capacitor C1. 5, similarly to FIG. 3, the gate voltage Vg2 and the source voltage Vs2 of the second semiconductor switch 30 are indicated by thick lines and thin lines, respectively. Also in the power supply control device 10 according to the second embodiment, when the drive unit 31 starts outputting the drive voltage, the gate voltage Vg2 and the source voltage Vs2 change in the same manner as in the first embodiment.
  • FIG. 5 further shows transitions of the source voltage Vs1 and the gate voltage Vg1 in the first semiconductor switch 20.
  • the source voltage Vs1 and the gate voltage Vg1 are referred to as a source voltage Vs1 and a gate voltage Vg1, respectively.
  • the source voltage Vs1 and the gate voltage Vg1 are voltages based on the potential of the conductor 12.
  • the transitions of the gate voltage Vg1 and the source voltage Vs1 are indicated by thick lines and thin lines.
  • the portion where the transitions of the gate voltage Vg1 and the source voltage Vs1 overlap is indicated by a thick line.
  • the gate voltage Vg2 is less than the output voltage Vb of the battery 11 and the source voltage Vs2 is substantially zero V
  • the gate voltage Vg1 and the source voltage Vs1 are respectively equal to the output voltage Vb of the battery 11. Maintained.
  • the source voltage Vs2 that is, the voltage at one end of the capacitor C1 on the load A1 side increases.
  • the voltage across the capacitor C1 substantially matches the output voltage Vb of the battery 11
  • the voltage at one end on the resistor R1 side of the capacitor C1 exceeds the output voltage Vb of the battery 11, and the first voltage from the capacitor C1.
  • a current is supplied to the parasitic capacitors Cd1 and Cs1 of the semiconductor switch 20, and the parasitic capacitors Cd1 and Cs1 are charged.
  • the gate voltage Vg2 is lower than the output voltage Vb of the battery 11
  • the gate voltage Vg1 increases with the increase of the gate voltage Vg2.
  • the source voltage Vs1 of the first semiconductor switch 20 is maintained at the output voltage Vb of the battery 11.
  • the first semiconductor switch 20 is turned on. Thereafter, the gate voltage Vg1 is maintained at the drive voltage output by the drive unit 31 and is stabilized.
  • the period from when the drive unit 31 outputs the drive voltage to when the first semiconductor switch 20 is turned on is further shorter.
  • the first semiconductor switch 20 is turned on more quickly, the period in which the current flows through the parasitic diode Dp1 in the first semiconductor switch 20 is further shortened, and the power consumed by the first semiconductor switch 20 Is even smaller.
  • the source voltage Vs2 of the second semiconductor switch 30 substantially matches the output voltage Vb of the battery 11
  • the gate voltage Vg1 of the first semiconductor switch 20 is The drive voltage is substantially the same as the drive voltage output by the drive unit 31.
  • the drive unit 31 connects the gate of the second semiconductor switch 30 via the internal resistance.
  • the first semiconductor switch 20 switches from on to off faster.
  • the drive unit 31 connects the gate of the second semiconductor switch 30 to the conductor 12 via an internal resistor, the parasitic capacitances Cd2 and Cs2 are discharged as described in the first embodiment, and the second semiconductor switch 30 is discharged.
  • the gate voltage Vg2 decreases.
  • the resistance value between the drain and source of the second semiconductor switch 30 increases, the current flowing through the load A1 decreases, and the source voltage Vg2 of the second semiconductor switch 30 decreases.
  • the source voltage Vs2 decreases, the voltage at one end of the capacitor C1 on the resistor R1 side also decreases.
  • the parasitic capacitances Cd1 and Cs1 are discharged via the resistor R1 as in the first embodiment. Furthermore, in the power supply control device 10 according to the second embodiment, the voltage at one end of the capacitor C1 on the resistor R1 side decreases, so that a current also flows from the parasitic capacitors Cd1 and Cs1 to the capacitor C1. Thereby, the parasitic capacitances Cd1 and Cs1 are discharged, and the capacitor C1 is charged.
  • the parasitic capacitances Cd1 and Cs1 are discharged through the resistor R1 and discharged to the capacitor C1, the voltage of the gate of the first semiconductor switch 20 decreases more quickly, and the first semiconductor switch 20 becomes faster. Switch from on to off.
  • the power supply control device 10 according to the second embodiment has all the components included in the power supply control device 10 according to the first embodiment, the same effects as the power supply control device 10 according to the first embodiment can be obtained.
  • the number of loads that the power supply control device 10 controls the power supply is one.
  • the number of loads that the power supply control device 10 controls the power supply may be two or more.
  • the differences between the third embodiment and the second embodiment will be described. Since the configuration other than the configuration described later is the same as that of the second embodiment, the same reference numerals as those of the second embodiment are assigned to the same components as those of the second embodiment, and the description thereof is omitted. To do.
  • FIG. 6 is a block diagram showing a main configuration of the power supply system 1 according to the third embodiment.
  • the power supply system 1 in the third embodiment includes the power supply control device 10, the battery 11, the conductor 12, and the load A1 as in the second embodiment. These are connected in the same manner as in the second embodiment.
  • the power supply system 1 according to the third embodiment further includes (n ⁇ 1) (n: an integer of 2 or more) loads A2, A3,. One end of each of the loads A2, A3,..., An is connected to the power supply control apparatus 10, and the other end of each of the loads A2, A3,.
  • the power supply control device 10 controls power supply from the battery 11 to the n loads A1, A2,.
  • Each of the loads A2, A3,..., An is an electric device mounted on the vehicle, like the load A1, and operates when power is supplied and stops operating when power supply is stopped. ing.
  • the power supply control device 10 prevents current from flowing from the negative terminal T2 to the n loads A1, A2,.
  • FIG. 7 is a circuit diagram of the power supply control device 10.
  • the power supply control device 10 in the third embodiment includes the first semiconductor switch 20, the switch 21, the microcomputer 22, the control circuit B1, the parasitic capacitances Cd1 and Cs1, the parasitic diode Dp1, It has a diode D1 and resistors R1, R2, and R3. These are connected in the same manner as in the second embodiment.
  • the power supply control device 10 in the third embodiment further includes (n ⁇ 1) control circuits B2, B3,..., Bn.
  • Each of the control circuits B2, B3,..., Bn is connected to the gate and drain of the first semiconductor switch 20 and the microcomputer 22 separately.
  • Each of the control circuits B2, B3,..., Bn is further connected to one end of the loads A2, A3,.
  • the second semiconductor switch 30, the drive unit 31, the parasitic capacitors Cs2 and Cd2, the parasitic diode Dp2, and the diode D2 are connected in the same manner as in the second embodiment except for the connection destination of the source of the second semiconductor switch 30. Therefore, the drain of the second semiconductor switch 30 of the control circuit Bk is connected to the drain of the first semiconductor switch 20. Further, the cathode of the diode D2 of the control circuit Bk is connected to the gate of the first semiconductor switch 20, and the anode of the diode D2 of the control circuit Bk is connected to the gate of the second semiconductor switch 30 of the control circuit Bk.
  • the source of the second semiconductor switch 30 included in the control circuit Bk is connected to one end of the load Ak.
  • the control circuit Bk further includes diodes D3 and D4.
  • the cathode of the diode D3 is connected to the gate of the first semiconductor switch 20.
  • the anode of the diode D3 is connected to the cathode of the diode D4 and one end of the capacitor C1.
  • the anode of the diode D4 is connected to the drain of the first semiconductor switch 20.
  • the other end of the capacitor C1 is connected to the source of the second semiconductor switch 30.
  • the forward voltage drop widths of the parasitic diodes Dp1 and Dp2 and the diode D2 the forward voltage drop widths of the diodes D3 and D4 are considered to be sufficiently small.
  • the diode D3 functions as a second diode, and the diode D4 functions as a third diode.
  • the drive unit 31 of the control circuit Bk sends the drive voltage to the second semiconductor switch 30 of the control circuit Bk via an internal resistor (not shown). Output to the gate and the gate of the first semiconductor switch 20.
  • the gate voltage of each of the first semiconductor switch 20 and the second semiconductor switch 30 of the control circuit Bk increases, and the first semiconductor switch 20 and the second semiconductor switch 30 of the control circuit Bk are turned on. Change.
  • the current flows from the positive terminal T1 in the order of the source and drain of the first semiconductor switch 20 and the drain and source of the second semiconductor switch 30 of the control circuit Bk. Flowing.
  • the first semiconductor switch 20 and the second semiconductor switch 30 of the control circuit Bk are on, power is supplied to the load Ak and the load Ak is activated.
  • the gate of the second semiconductor switch 30 of the control circuit Bk is connected to the conductor 12 via the internal resistance, as in the drive unit 31 in the second embodiment. Connect.
  • the parasitic capacitances Cs2 and Cd2 of the control circuit Bk are discharged, the voltage of the gate of the second semiconductor switch 30 of the control circuit Bk becomes less than the off threshold value Vf2, and the second semiconductor switch 30 is switched off.
  • the microcomputer 22 outputs a drive signal or a stop signal to each of the n control circuits B1, B2,..., Bn, so that the n control circuits B1, B2,. Control the operation separately.
  • the microcomputer 22 outputs a stop signal to the drive units 31 of the n control circuits B1, B2,..., Bn, and the drive units 31 of the n control circuits B1, B2,. 2
  • the gate of the semiconductor switch 30 is connected to the conductor 12
  • the output of the voltage to the gate of the first semiconductor switch 20 is stopped.
  • the parasitic capacitors Cs1 and Cd1 are discharged through the resistor R1.
  • the gate voltage relative to the source potential becomes less than the off threshold Vf1, and the first semiconductor switch 20 is switched off.
  • the drive unit 31 of the n control circuits B1, B2,..., Bn adjusts the voltage of the gates of the n second semiconductor switches 30, and the n second semiconductor switches. 30 is switched on or off individually. Thus, power supply to the loads A1, A2,..., An via the n second semiconductor switches 30 is controlled.
  • n drive units 31 function as switching units.
  • the first semiconductor switch 20 When at least one of the n drive units 31 outputs a drive voltage, that is, when at least one of the n second semiconductor switches 30 is turned on, the first semiconductor switch 20 is turned on. Further, when all of the n drive units 31 connect the gate of the second semiconductor switch 30 to the conductor 12 via the internal resistance, that is, when all of the n second semiconductor switches 30 are switched off. The first semiconductor switch 20 is turned off.
  • the drive unit 31 of the control circuit Bk When the drive unit 31 of the control circuit Bk outputs a drive voltage in a state where the first semiconductor switch 20 and the n second semiconductor switches 30 are off, the function of the capacitor C1 is the same as in the second embodiment. Thus, the first semiconductor switch 20 is turned on more quickly.
  • the second semiconductor switch 30 of the control circuit Bk when the first semiconductor switch 20 is off, a current flows from the positive terminal T1 to the capacitor C1 via the parasitic diode Dp1 and the diode D4, and the capacitor C1. Is charged. In the same case, when the first semiconductor switch 20 is on, a current flows from the positive terminal T1 to the capacitor C1 through the first semiconductor switch 20 and the diode D4, and the capacitor C1 is charged.
  • the second semiconductor switch 30 of the control circuit Bk regardless of whether or not the first semiconductor switch 20 is on, the voltage across the capacitor C1 is equal to the output voltage Vb of the battery 11. It is charged until it almost matches.
  • the operation of the power supply control device 10 when the drive unit 31 of the control circuit Bk outputs a drive voltage in a state where the first semiconductor switch 20 and the n second semiconductor switches 30 are off will be described.
  • the voltage of the gate of the second semiconductor switch 30 is less than the output voltage Vb of the battery 11 and the voltage of the source of the second semiconductor switch 30 is substantially zero V, as in the second embodiment, the first semiconductor The gate and source voltages of the switch 20 are maintained at the output voltage Vb of the battery 11.
  • the voltage across the capacitor C1 is the output of the battery 11 as in the second embodiment. Since it substantially matches the voltage Vb, the voltage at one end of the capacitor C1 on the resistor R1 side exceeds the output voltage Vb of the battery 11. As a result, current is supplied from the capacitor C1 to the parasitic capacitors Cd1 and Cs1 of the first semiconductor switch 20 via the diode D3, and the parasitic capacitors Cd1 and Cs1 are charged. As a result, although the gate voltage Vg2 is lower than the output voltage Vb of the battery 11, the gate voltage Vg1 increases with the increase of the gate voltage Vg2.
  • the source voltage of the first semiconductor switch 20 is maintained at the output voltage Vb of the battery 11.
  • the difference between the gate voltage Vg1 and the source voltage Vs1 of the first semiconductor switch 20 becomes equal to or higher than the on threshold value Vn1
  • the first semiconductor switch 20 is switched on. Thereafter, the gate voltage Vg1 is maintained at the output voltage Vb of the battery 11 and is stabilized.
  • the period from when the drive unit 31 outputs the drive voltage to when the first semiconductor switch 20 is turned on is further shorter.
  • the period during which the current flows through the parasitic diode Dp1 in the first semiconductor switch 20 is short, and the power consumed by the first semiconductor switch 20 is small. small.
  • the diode D3 prevents the first semiconductor switch 20 from being switched off at the same time that one of the plurality of second semiconductor switches 30 that are turned on is switched off. To do.
  • the parasitic capacitance Cs2 is the same as in the second embodiment.
  • Cd2 are discharged, and the gate voltage of the second semiconductor switch 30 is lowered.
  • the current flowing through the load Ak decreases, so the voltage at the source of the second semiconductor switch 30, that is, the voltage across the load Ak decreases.
  • the switch 21 may be any switch that switches from off to on when the battery 11 is incorrectly connected. Therefore, the switch 21 is not limited to an NPN bipolar transistor, and is not limited to a PNP bipolar. It may be a transistor or FET.

Landscapes

  • Engineering & Computer Science (AREA)
  • Power Engineering (AREA)
  • Electronic Switches (AREA)
  • Charge And Discharge Circuits For Batteries Or The Like (AREA)
  • Direct Current Feeding And Distribution (AREA)
PCT/JP2017/011413 2016-04-05 2017-03-22 給電制御装置 Ceased WO2017175584A1 (ja)

Priority Applications (3)

Application Number Priority Date Filing Date Title
CN201780017479.1A CN108781078B (zh) 2016-04-05 2017-03-22 供电控制装置
US16/090,427 US10411696B2 (en) 2016-04-05 2017-03-22 Power supply control device
DE112017001921.4T DE112017001921B4 (de) 2016-04-05 2017-03-22 Energieversorgungs-Steuereinrichtung

Applications Claiming Priority (2)

Application Number Priority Date Filing Date Title
JP2016-075885 2016-04-05
JP2016075885A JP6668897B2 (ja) 2016-04-05 2016-04-05 給電制御装置

Publications (1)

Publication Number Publication Date
WO2017175584A1 true WO2017175584A1 (ja) 2017-10-12

Family

ID=60001139

Family Applications (1)

Application Number Title Priority Date Filing Date
PCT/JP2017/011413 Ceased WO2017175584A1 (ja) 2016-04-05 2017-03-22 給電制御装置

Country Status (5)

Country Link
US (1) US10411696B2 (enExample)
JP (1) JP6668897B2 (enExample)
CN (1) CN108781078B (enExample)
DE (1) DE112017001921B4 (enExample)
WO (1) WO2017175584A1 (enExample)

Families Citing this family (9)

* Cited by examiner, † Cited by third party
Publication number Priority date Publication date Assignee Title
JP6668897B2 (ja) * 2016-04-05 2020-03-18 株式会社オートネットワーク技術研究所 給電制御装置
JP6740709B2 (ja) * 2016-05-20 2020-08-19 株式会社オートネットワーク技術研究所 給電制御装置
JP6891835B2 (ja) * 2018-02-22 2021-06-18 株式会社オートネットワーク技術研究所 制御装置
JP7026016B2 (ja) * 2018-07-20 2022-02-25 ルネサスエレクトロニクス株式会社 半導体装置および電子制御装置
JP7596736B2 (ja) 2020-11-17 2024-12-10 株式会社オートネットワーク技術研究所 給電制御装置、給電制御方法及びコンピュータプログラム
CN112994436B (zh) * 2021-02-04 2022-06-03 重庆先进光电显示技术研究院 一种栅极开启电压产生电路、显示面板驱动装置及显示装置
JP7552471B2 (ja) 2021-03-25 2024-09-18 株式会社オートネットワーク技術研究所 ラッチ回路及び給電制御装置
CN113708467B (zh) * 2021-10-29 2022-02-22 苏州浪潮智能科技有限公司 一种上电电路、电池备份单元及存储服务器系统
US20230216402A1 (en) * 2022-01-04 2023-07-06 Nuvolta Technologies (Hefei) Co., Ltd. Gate Drive Voltage Regulation Apparatus and Control Method

Citations (3)

* Cited by examiner, † Cited by third party
Publication number Priority date Publication date Assignee Title
JP2002528938A (ja) * 1998-10-20 2002-09-03 ローベルト ボツシユ ゲゼルシヤフト ミツト ベシユレンクテル ハフツング 少なくとも1つのハイサイド半導体スイッチを有する電力出力段のための誤極性保護回路
WO2008108330A1 (ja) * 2007-03-05 2008-09-12 Bosch Corporation グロープラグ駆動装置
JP2014072596A (ja) * 2012-09-28 2014-04-21 Auto Network Gijutsu Kenkyusho:Kk 電力供給制御装置

Family Cites Families (19)

* Cited by examiner, † Cited by third party
Publication number Priority date Publication date Assignee Title
JPH0998567A (ja) * 1995-07-27 1997-04-08 Toshiyasu Suzuki 絶縁給電手段と変圧手段
JP4149778B2 (ja) * 2002-10-28 2008-09-17 矢崎総業株式会社 車両用電力制御装置
JP4150297B2 (ja) * 2003-06-30 2008-09-17 ソニー株式会社 電界効果トランジスタのドライブ回路
JP2006108568A (ja) * 2004-10-08 2006-04-20 Sanyo Electric Co Ltd スイッチング素子およびそれを用いた保護回路
JP2006158185A (ja) * 2004-10-25 2006-06-15 Toshiba Corp 電力用半導体装置
CN1909325A (zh) * 2005-08-01 2007-02-07 三洋电机株式会社 具有保护电路的电池组
JP2008109349A (ja) * 2006-10-25 2008-05-08 Matsushita Electric Ind Co Ltd 逆流電流防止回路
JP4536108B2 (ja) * 2007-12-12 2010-09-01 Okiセミコンダクタ株式会社 負荷駆動回路
JP5217849B2 (ja) * 2008-09-29 2013-06-19 サンケン電気株式会社 電気回路のスイッチング装置
DE102010015096A1 (de) * 2010-04-15 2011-10-20 Continental Automotive Gmbh Treiberschaltung für eine Last
JP2014003514A (ja) * 2012-06-20 2014-01-09 Renesas Electronics Corp 半導体装置及び通信システム
JP5502216B1 (ja) * 2013-02-28 2014-05-28 三菱電機株式会社 電気負荷の分岐給電制御装置及び分岐給電制御方法
JP6157752B2 (ja) * 2014-09-09 2017-07-05 三菱電機株式会社 多相交流モータ駆動用インバータ装置
WO2017009990A1 (ja) * 2015-07-15 2017-01-19 株式会社 東芝 半導体装置
JP6566355B2 (ja) * 2015-09-11 2019-08-28 パナソニックIpマネジメント株式会社 電力変換装置
US10069439B2 (en) * 2015-12-22 2018-09-04 Renesas Electronics Corporation Power conversion system, power module, and semiconductor device with diode coupling
CN109104896B (zh) * 2016-03-04 2022-04-05 日本电产株式会社 电力转换装置、马达驱动单元和电动助力转向装置
JP6668897B2 (ja) * 2016-04-05 2020-03-18 株式会社オートネットワーク技術研究所 給電制御装置
CN117175565A (zh) * 2017-03-29 2023-12-05 太阳能安吉科技有限公司 旁路电路和在电力系统中旁通电力模块的方法

Patent Citations (3)

* Cited by examiner, † Cited by third party
Publication number Priority date Publication date Assignee Title
JP2002528938A (ja) * 1998-10-20 2002-09-03 ローベルト ボツシユ ゲゼルシヤフト ミツト ベシユレンクテル ハフツング 少なくとも1つのハイサイド半導体スイッチを有する電力出力段のための誤極性保護回路
WO2008108330A1 (ja) * 2007-03-05 2008-09-12 Bosch Corporation グロープラグ駆動装置
JP2014072596A (ja) * 2012-09-28 2014-04-21 Auto Network Gijutsu Kenkyusho:Kk 電力供給制御装置

Also Published As

Publication number Publication date
US10411696B2 (en) 2019-09-10
JP6668897B2 (ja) 2020-03-18
DE112017001921T5 (de) 2018-12-13
US20190123739A1 (en) 2019-04-25
JP2017188773A (ja) 2017-10-12
CN108781078A (zh) 2018-11-09
CN108781078B (zh) 2021-11-16
DE112017001921B4 (de) 2025-10-30

Similar Documents

Publication Publication Date Title
JP6668897B2 (ja) 給電制御装置
JP6341224B2 (ja) 給電制御装置
US10944392B2 (en) Switch circuit and power supply system
CN111756085B (zh) 供电控制装置
CN110190840B (zh) 控制装置
CN108701989A (zh) 供电控制装置
JP6104391B2 (ja) バッファ回路
JP2017188772A5 (enExample)
JP6740709B2 (ja) 給電制御装置
CN108292851B (zh) 供电控制装置
JP7413860B2 (ja) 給電制御装置
JP7697348B2 (ja) 制御装置
US20190363705A1 (en) Switch circuit and power source apparatus
WO2021230051A1 (ja) 給電制御装置
US10135434B2 (en) Electronic circuit for controlling a half H-bridge
JP2025035188A (ja) 点灯回路
WO2021131698A1 (ja) 給電制御装置

Legal Events

Date Code Title Description
121 Ep: the epo has been informed by wipo that ep was designated in this application

Ref document number: 17778963

Country of ref document: EP

Kind code of ref document: A1

122 Ep: pct application non-entry in european phase

Ref document number: 17778963

Country of ref document: EP

Kind code of ref document: A1

WWG Wipo information: grant in national office

Ref document number: 112017001921

Country of ref document: DE