WO2017026232A1 - 支持部材 - Google Patents

支持部材 Download PDF

Info

Publication number
WO2017026232A1
WO2017026232A1 PCT/JP2016/071115 JP2016071115W WO2017026232A1 WO 2017026232 A1 WO2017026232 A1 WO 2017026232A1 JP 2016071115 W JP2016071115 W JP 2016071115W WO 2017026232 A1 WO2017026232 A1 WO 2017026232A1
Authority
WO
WIPO (PCT)
Prior art keywords
plate
main body
support member
automatic transmission
elastic lock
Prior art date
Legal status (The legal status is an assumption and is not a legal conclusion. Google has not performed a legal analysis and makes no representation as to the accuracy of the status listed.)
Ceased
Application number
PCT/JP2016/071115
Other languages
English (en)
French (fr)
Japanese (ja)
Inventor
康介 曽根
治 中山
田中 徹児
光俊 森田
Current Assignee (The listed assignees may be inaccurate. Google has not performed a legal analysis and makes no representation or warranty as to the accuracy of the list.)
Sumitomo Wiring Systems Ltd
AutoNetworks Technologies Ltd
Sumitomo Electric Industries Ltd
Original Assignee
Sumitomo Wiring Systems Ltd
AutoNetworks Technologies Ltd
Sumitomo Electric Industries Ltd
Priority date (The priority date is an assumption and is not a legal conclusion. Google has not performed a legal analysis and makes no representation as to the accuracy of the date listed.)
Filing date
Publication date
Application filed by Sumitomo Wiring Systems Ltd, AutoNetworks Technologies Ltd, Sumitomo Electric Industries Ltd filed Critical Sumitomo Wiring Systems Ltd
Priority to US15/747,652 priority Critical patent/US10215207B2/en
Priority to CN201680045674.0A priority patent/CN108027042B/zh
Publication of WO2017026232A1 publication Critical patent/WO2017026232A1/ja
Anticipated expiration legal-status Critical
Ceased legal-status Critical Current

Links

Images

Classifications

    • FMECHANICAL ENGINEERING; LIGHTING; HEATING; WEAPONS; BLASTING
    • F16ENGINEERING ELEMENTS AND UNITS; GENERAL MEASURES FOR PRODUCING AND MAINTAINING EFFECTIVE FUNCTIONING OF MACHINES OR INSTALLATIONS; THERMAL INSULATION IN GENERAL
    • F16BDEVICES FOR FASTENING OR SECURING CONSTRUCTIONAL ELEMENTS OR MACHINE PARTS TOGETHER, e.g. NAILS, BOLTS, CIRCLIPS, CLAMPS, CLIPS OR WEDGES; JOINTS OR JOINTING
    • F16B5/00Joining sheets or plates, e.g. panels, to one another or to strips or bars parallel to them
    • F16B5/02Joining sheets or plates, e.g. panels, to one another or to strips or bars parallel to them by means of fastening members using screw-thread
    • F16B5/025Joining sheets or plates, e.g. panels, to one another or to strips or bars parallel to them by means of fastening members using screw-thread specially designed to compensate for misalignement or to eliminate unwanted play
    • FMECHANICAL ENGINEERING; LIGHTING; HEATING; WEAPONS; BLASTING
    • F16ENGINEERING ELEMENTS AND UNITS; GENERAL MEASURES FOR PRODUCING AND MAINTAINING EFFECTIVE FUNCTIONING OF MACHINES OR INSTALLATIONS; THERMAL INSULATION IN GENERAL
    • F16BDEVICES FOR FASTENING OR SECURING CONSTRUCTIONAL ELEMENTS OR MACHINE PARTS TOGETHER, e.g. NAILS, BOLTS, CIRCLIPS, CLAMPS, CLIPS OR WEDGES; JOINTS OR JOINTING
    • F16B43/00Washers or equivalent devices; Other devices for supporting bolt-heads or nuts
    • F16B43/02Washers or equivalent devices; Other devices for supporting bolt-heads or nuts with special provisions for engaging surfaces which are not perpendicular to a bolt axis or do not surround the bolt
    • F16B43/025Washers or equivalent devices; Other devices for supporting bolt-heads or nuts with special provisions for engaging surfaces which are not perpendicular to a bolt axis or do not surround the bolt for surfaces not surrounding the bolt, e.g. hook adaptors for bolts
    • FMECHANICAL ENGINEERING; LIGHTING; HEATING; WEAPONS; BLASTING
    • F16ENGINEERING ELEMENTS AND UNITS; GENERAL MEASURES FOR PRODUCING AND MAINTAINING EFFECTIVE FUNCTIONING OF MACHINES OR INSTALLATIONS; THERMAL INSULATION IN GENERAL
    • F16BDEVICES FOR FASTENING OR SECURING CONSTRUCTIONAL ELEMENTS OR MACHINE PARTS TOGETHER, e.g. NAILS, BOLTS, CIRCLIPS, CLAMPS, CLIPS OR WEDGES; JOINTS OR JOINTING
    • F16B5/00Joining sheets or plates, e.g. panels, to one another or to strips or bars parallel to them
    • F16B5/02Joining sheets or plates, e.g. panels, to one another or to strips or bars parallel to them by means of fastening members using screw-thread
    • FMECHANICAL ENGINEERING; LIGHTING; HEATING; WEAPONS; BLASTING
    • F16ENGINEERING ELEMENTS AND UNITS; GENERAL MEASURES FOR PRODUCING AND MAINTAINING EFFECTIVE FUNCTIONING OF MACHINES OR INSTALLATIONS; THERMAL INSULATION IN GENERAL
    • F16BDEVICES FOR FASTENING OR SECURING CONSTRUCTIONAL ELEMENTS OR MACHINE PARTS TOGETHER, e.g. NAILS, BOLTS, CIRCLIPS, CLAMPS, CLIPS OR WEDGES; JOINTS OR JOINTING
    • F16B5/00Joining sheets or plates, e.g. panels, to one another or to strips or bars parallel to them
    • F16B5/02Joining sheets or plates, e.g. panels, to one another or to strips or bars parallel to them by means of fastening members using screw-thread
    • F16B5/0216Joining sheets or plates, e.g. panels, to one another or to strips or bars parallel to them by means of fastening members using screw-thread the position of the plates to be connected being adjustable
    • FMECHANICAL ENGINEERING; LIGHTING; HEATING; WEAPONS; BLASTING
    • F16ENGINEERING ELEMENTS AND UNITS; GENERAL MEASURES FOR PRODUCING AND MAINTAINING EFFECTIVE FUNCTIONING OF MACHINES OR INSTALLATIONS; THERMAL INSULATION IN GENERAL
    • F16BDEVICES FOR FASTENING OR SECURING CONSTRUCTIONAL ELEMENTS OR MACHINE PARTS TOGETHER, e.g. NAILS, BOLTS, CIRCLIPS, CLAMPS, CLIPS OR WEDGES; JOINTS OR JOINTING
    • F16B5/00Joining sheets or plates, e.g. panels, to one another or to strips or bars parallel to them
    • F16B5/02Joining sheets or plates, e.g. panels, to one another or to strips or bars parallel to them by means of fastening members using screw-thread
    • F16B5/0241Joining sheets or plates, e.g. panels, to one another or to strips or bars parallel to them by means of fastening members using screw-thread with the possibility for the connection to absorb deformation, e.g. thermal or vibrational
    • FMECHANICAL ENGINEERING; LIGHTING; HEATING; WEAPONS; BLASTING
    • F16ENGINEERING ELEMENTS AND UNITS; GENERAL MEASURES FOR PRODUCING AND MAINTAINING EFFECTIVE FUNCTIONING OF MACHINES OR INSTALLATIONS; THERMAL INSULATION IN GENERAL
    • F16BDEVICES FOR FASTENING OR SECURING CONSTRUCTIONAL ELEMENTS OR MACHINE PARTS TOGETHER, e.g. NAILS, BOLTS, CIRCLIPS, CLAMPS, CLIPS OR WEDGES; JOINTS OR JOINTING
    • F16B5/00Joining sheets or plates, e.g. panels, to one another or to strips or bars parallel to them
    • F16B5/06Joining sheets or plates, e.g. panels, to one another or to strips or bars parallel to them by means of clamps or clips
    • FMECHANICAL ENGINEERING; LIGHTING; HEATING; WEAPONS; BLASTING
    • F16ENGINEERING ELEMENTS AND UNITS; GENERAL MEASURES FOR PRODUCING AND MAINTAINING EFFECTIVE FUNCTIONING OF MACHINES OR INSTALLATIONS; THERMAL INSULATION IN GENERAL
    • F16BDEVICES FOR FASTENING OR SECURING CONSTRUCTIONAL ELEMENTS OR MACHINE PARTS TOGETHER, e.g. NAILS, BOLTS, CIRCLIPS, CLAMPS, CLIPS OR WEDGES; JOINTS OR JOINTING
    • F16B5/00Joining sheets or plates, e.g. panels, to one another or to strips or bars parallel to them
    • F16B5/06Joining sheets or plates, e.g. panels, to one another or to strips or bars parallel to them by means of clamps or clips
    • F16B5/0607Joining sheets or plates, e.g. panels, to one another or to strips or bars parallel to them by means of clamps or clips joining sheets or plates to each other
    • F16B5/0621Joining sheets or plates, e.g. panels, to one another or to strips or bars parallel to them by means of clamps or clips joining sheets or plates to each other in parallel relationship
    • F16B5/0635Joining sheets or plates, e.g. panels, to one another or to strips or bars parallel to them by means of clamps or clips joining sheets or plates to each other in parallel relationship fastened over the edges of the sheets or plates
    • FMECHANICAL ENGINEERING; LIGHTING; HEATING; WEAPONS; BLASTING
    • F16ENGINEERING ELEMENTS AND UNITS; GENERAL MEASURES FOR PRODUCING AND MAINTAINING EFFECTIVE FUNCTIONING OF MACHINES OR INSTALLATIONS; THERMAL INSULATION IN GENERAL
    • F16HGEARING
    • F16H61/00Control functions within control units of change-speed- or reversing-gearings for conveying rotary motion ; Control of exclusively fluid gearing, friction gearing, gearings with endless flexible members or other particular types of gearing
    • FMECHANICAL ENGINEERING; LIGHTING; HEATING; WEAPONS; BLASTING
    • F16ENGINEERING ELEMENTS AND UNITS; GENERAL MEASURES FOR PRODUCING AND MAINTAINING EFFECTIVE FUNCTIONING OF MACHINES OR INSTALLATIONS; THERMAL INSULATION IN GENERAL
    • F16BDEVICES FOR FASTENING OR SECURING CONSTRUCTIONAL ELEMENTS OR MACHINE PARTS TOGETHER, e.g. NAILS, BOLTS, CIRCLIPS, CLAMPS, CLIPS OR WEDGES; JOINTS OR JOINTING
    • F16B2200/00Constructional details of connections not covered for in other groups of this subclass
    • F16B2200/97Constructional details of connections not covered for in other groups of this subclass having differing thermal expansion coefficients
    • FMECHANICAL ENGINEERING; LIGHTING; HEATING; WEAPONS; BLASTING
    • F16ENGINEERING ELEMENTS AND UNITS; GENERAL MEASURES FOR PRODUCING AND MAINTAINING EFFECTIVE FUNCTIONING OF MACHINES OR INSTALLATIONS; THERMAL INSULATION IN GENERAL
    • F16BDEVICES FOR FASTENING OR SECURING CONSTRUCTIONAL ELEMENTS OR MACHINE PARTS TOGETHER, e.g. NAILS, BOLTS, CIRCLIPS, CLAMPS, CLIPS OR WEDGES; JOINTS OR JOINTING
    • F16B41/00Measures against loss of bolts, nuts, or pins; Measures against unauthorised operation of bolts, nuts or pins
    • F16B41/002Measures against loss of bolts, nuts or pins
    • FMECHANICAL ENGINEERING; LIGHTING; HEATING; WEAPONS; BLASTING
    • F16ENGINEERING ELEMENTS AND UNITS; GENERAL MEASURES FOR PRODUCING AND MAINTAINING EFFECTIVE FUNCTIONING OF MACHINES OR INSTALLATIONS; THERMAL INSULATION IN GENERAL
    • F16BDEVICES FOR FASTENING OR SECURING CONSTRUCTIONAL ELEMENTS OR MACHINE PARTS TOGETHER, e.g. NAILS, BOLTS, CIRCLIPS, CLAMPS, CLIPS OR WEDGES; JOINTS OR JOINTING
    • F16B5/00Joining sheets or plates, e.g. panels, to one another or to strips or bars parallel to them
    • F16B5/06Joining sheets or plates, e.g. panels, to one another or to strips or bars parallel to them by means of clamps or clips
    • F16B5/0607Joining sheets or plates, e.g. panels, to one another or to strips or bars parallel to them by means of clamps or clips joining sheets or plates to each other
    • F16B5/0621Joining sheets or plates, e.g. panels, to one another or to strips or bars parallel to them by means of clamps or clips joining sheets or plates to each other in parallel relationship
    • F16B5/065Joining sheets or plates, e.g. panels, to one another or to strips or bars parallel to them by means of clamps or clips joining sheets or plates to each other in parallel relationship the plates being one on top of the other and distanced from each other, e.g. by using protrusions to keep contact and distance
    • FMECHANICAL ENGINEERING; LIGHTING; HEATING; WEAPONS; BLASTING
    • F16ENGINEERING ELEMENTS AND UNITS; GENERAL MEASURES FOR PRODUCING AND MAINTAINING EFFECTIVE FUNCTIONING OF MACHINES OR INSTALLATIONS; THERMAL INSULATION IN GENERAL
    • F16LPIPES; JOINTS OR FITTINGS FOR PIPES; SUPPORTS FOR PIPES, CABLES OR PROTECTIVE TUBING; MEANS FOR THERMAL INSULATION IN GENERAL
    • F16L3/00Supports for pipes, cables or protective tubing, e.g. hangers, holders, clamps, cleats, clips, brackets
    • F16L3/22Supports for pipes, cables or protective tubing, e.g. hangers, holders, clamps, cleats, clips, brackets specially adapted for supporting a number of parallel pipes at intervals
    • F16L3/23Supports for pipes, cables or protective tubing, e.g. hangers, holders, clamps, cleats, clips, brackets specially adapted for supporting a number of parallel pipes at intervals for a bundle of pipes or a plurality of pipes placed side by side in contact with each other
    • F16L3/233Supports for pipes, cables or protective tubing, e.g. hangers, holders, clamps, cleats, clips, brackets specially adapted for supporting a number of parallel pipes at intervals for a bundle of pipes or a plurality of pipes placed side by side in contact with each other by means of a flexible band
    • HELECTRICITY
    • H02GENERATION; CONVERSION OR DISTRIBUTION OF ELECTRIC POWER
    • H02GINSTALLATION OF ELECTRIC CABLES OR LINES, OR OF COMBINED OPTICAL AND ELECTRIC CABLES OR LINES
    • H02G3/00Installations of electric cables or lines or protective tubing therefor in or on buildings, equivalent structures or vehicles
    • H02G3/30Installations of cables or lines on walls, floors or ceilings

Definitions

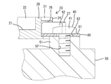
  • the support member 10 includes a main body portion 20 made of synthetic resin as a wiring board mounted on an automatic transmission of an automobile, and a main body portion 20 via a bolt 40.
  • the body 50 (including a case) of the automatic transmission.
  • a metal plate 60 for attaching to the metal plate.
  • the vertical direction is based on a state where the vehicle is mounted on an automobile.

Landscapes

  • Engineering & Computer Science (AREA)
  • General Engineering & Computer Science (AREA)
  • Mechanical Engineering (AREA)
  • Connection Of Plates (AREA)
  • Control Of Transmission Device (AREA)
  • General Details Of Gearings (AREA)
PCT/JP2016/071115 2015-08-07 2016-07-19 支持部材 Ceased WO2017026232A1 (ja)

Priority Applications (2)

Application Number Priority Date Filing Date Title
US15/747,652 US10215207B2 (en) 2015-08-07 2016-07-19 Support member
CN201680045674.0A CN108027042B (zh) 2015-08-07 2016-07-19 支承部件

Applications Claiming Priority (2)

Application Number Priority Date Filing Date Title
JP2015-156746 2015-08-07
JP2015156746A JP6481860B2 (ja) 2015-08-07 2015-08-07 支持部材

Publications (1)

Publication Number Publication Date
WO2017026232A1 true WO2017026232A1 (ja) 2017-02-16

Family

ID=57983154

Family Applications (1)

Application Number Title Priority Date Filing Date
PCT/JP2016/071115 Ceased WO2017026232A1 (ja) 2015-08-07 2016-07-19 支持部材

Country Status (4)

Country Link
US (1) US10215207B2 (enExample)
JP (1) JP6481860B2 (enExample)
CN (1) CN108027042B (enExample)
WO (1) WO2017026232A1 (enExample)

Families Citing this family (4)

* Cited by examiner, † Cited by third party
Publication number Priority date Publication date Assignee Title
JP7004197B2 (ja) * 2017-09-22 2022-01-21 株式会社オートネットワーク技術研究所 電気接続部材
JP7144159B2 (ja) * 2018-03-12 2022-09-29 トヨタ自動車株式会社 電気機器
EP4055287A4 (en) * 2019-11-07 2023-07-12 Fresenius Medical Care Deutschland GmbH Fall-proof component for screw, fall-proof screw assembly, fall-proof screw-nut assembly and corresponding part, combination structure and assembly
JP7207275B2 (ja) * 2019-11-20 2023-01-18 豊田合成株式会社 部材の取付構造

Citations (5)

* Cited by examiner, † Cited by third party
Publication number Priority date Publication date Assignee Title
JPH10313520A (ja) * 1997-05-09 1998-11-24 Sumitomo Wiring Syst Ltd 電気接続箱
JP2000078721A (ja) * 1998-09-01 2000-03-14 Sumitomo Wiring Syst Ltd 電気接続箱の取付構造
JP2003092817A (ja) * 2001-07-11 2003-03-28 Yazaki Corp ケース取付構造
JP2004208429A (ja) * 2002-12-25 2004-07-22 Sumitomo Wiring Syst Ltd 電気接続箱のアース接続構造
JP2008001225A (ja) * 2006-06-22 2008-01-10 Sumitomo Wiring Syst Ltd 金属プレート付き樹脂成形品

Family Cites Families (25)

* Cited by examiner, † Cited by third party
Publication number Priority date Publication date Assignee Title
US4518138A (en) * 1981-04-08 1985-05-21 Ford Motor Company Fastening device
JPH0342311Y2 (enExample) * 1985-05-23 1991-09-04
US4790204A (en) * 1987-07-16 1988-12-13 Automotive Products, Plc Electric shift apparatus
US5534665A (en) * 1994-04-29 1996-07-09 General Motors Corporation Wiring harness shroud
US5804770A (en) * 1995-09-19 1998-09-08 Sumitomo Wiring Systems, Ltd. Cover equipped electrical connection device and a cover for an electrical connection device
JPH1113941A (ja) * 1997-06-19 1999-01-22 Sumitomo Wiring Syst Ltd ブラケット係止用のクランプ
JP2003002817A (ja) * 2001-06-20 2003-01-08 Ge Toshiba Silicones Co Ltd 染毛剤
JP4341513B2 (ja) * 2004-09-10 2009-10-07 住友電装株式会社 ハーネスプロテクタ
US6903275B1 (en) * 2004-10-22 2005-06-07 Yazaki North America, Inc. Mounting device for a wire harness shield
JP4458123B2 (ja) * 2007-07-10 2010-04-28 住友電装株式会社 自動車用の電気接続箱
DE102009026873A1 (de) * 2009-06-10 2010-12-16 Robert Bosch Gmbh Leitungssatz aus Kunststoffmaterial
JP5657959B2 (ja) * 2010-09-02 2015-01-21 矢崎総業株式会社 ワイヤハーネスの取付構造
JP5785727B2 (ja) * 2011-02-14 2015-09-30 矢崎総業株式会社 物品の取付部構造
JP5798777B2 (ja) * 2011-04-04 2015-10-21 矢崎総業株式会社 ワッシャ保持用ブラケット構造
JP5585846B2 (ja) * 2011-07-05 2014-09-10 株式会社オートネットワーク技術研究所 電池配線モジュール
US8991774B2 (en) * 2011-12-22 2015-03-31 Panduit Corp. Cable tie mount
JP5952062B2 (ja) * 2012-04-06 2016-07-13 矢崎総業株式会社 樹脂成型品の取付構造
JP5582204B2 (ja) * 2013-02-01 2014-09-03 株式会社オートネットワーク技術研究所 配線モジュール
JP6041211B2 (ja) * 2013-03-29 2016-12-07 住友電装株式会社 自動変速機用保持プレート、およびこれを備えた配線ユニット
JP6048364B2 (ja) * 2013-10-17 2016-12-21 住友電装株式会社 ハーネス装置
US9653901B2 (en) * 2014-10-22 2017-05-16 Daiwa Kasei Industry Co., Ltd. Holding component for vehicle
EP3015317B1 (de) * 2014-10-30 2018-12-05 Nexans Anordnung zum Befestigen eines langgestreckten Gegenstands in einem Kraftfahrzeug
JP6390906B2 (ja) * 2014-12-03 2018-09-19 株式会社オートネットワーク技術研究所 ワイヤハーネスの取り付け構造および配線ユニット
JP6551216B2 (ja) * 2015-12-18 2019-07-31 住友電装株式会社 クリップ装置
JP6531672B2 (ja) * 2016-02-25 2019-06-19 住友電装株式会社 固定部材付きワイヤハーネス

Patent Citations (5)

* Cited by examiner, † Cited by third party
Publication number Priority date Publication date Assignee Title
JPH10313520A (ja) * 1997-05-09 1998-11-24 Sumitomo Wiring Syst Ltd 電気接続箱
JP2000078721A (ja) * 1998-09-01 2000-03-14 Sumitomo Wiring Syst Ltd 電気接続箱の取付構造
JP2003092817A (ja) * 2001-07-11 2003-03-28 Yazaki Corp ケース取付構造
JP2004208429A (ja) * 2002-12-25 2004-07-22 Sumitomo Wiring Syst Ltd 電気接続箱のアース接続構造
JP2008001225A (ja) * 2006-06-22 2008-01-10 Sumitomo Wiring Syst Ltd 金属プレート付き樹脂成形品

Also Published As

Publication number Publication date
US20180216643A1 (en) 2018-08-02
CN108027042A (zh) 2018-05-11
US10215207B2 (en) 2019-02-26
CN108027042B (zh) 2020-06-12
JP6481860B2 (ja) 2019-03-13
JP2017036753A (ja) 2017-02-16

Similar Documents

Publication Publication Date Title
EP2978289B1 (en) Electronic control device
JP6481860B2 (ja) 支持部材
JP5765636B2 (ja) 付設ボックス付電気接続箱
JP6432866B2 (ja) 付設ボックス付電気接続箱
WO2011004650A1 (ja) 電気接続箱及びリレーモジュール
CN110892598B (zh) 外装体与保护器的连接结构及线束
US20180205210A1 (en) Wire housing protector
JP6804107B2 (ja) ガタツキ防止構造、電子部品モジュール、電気接続箱、及び、ワイヤハーネス
JP2015153661A (ja) コネクタ
JP6021481B2 (ja) ヒューズホルダとヒューズカバーとの固定構造
JP5878140B2 (ja) モールのクリップ締結構造
JP5950712B2 (ja) 部品の結合構造
CN109565162B (zh) 车载部件
US8314331B2 (en) Electrical junction box
JP6580527B2 (ja) ハーネスクランプ
JP5999509B2 (ja) カードエッジコネクタ
JP5798845B2 (ja) 組み付け部材
JP5186288B2 (ja) ワイヤハーネス保持クリップ
JP2009090801A (ja) 車両用ドアミラーカバー
JP5760805B2 (ja) 車両用プロテクタ
JP6105534B2 (ja) 電気接続箱
JP2010166660A (ja) 減速装置付きモータ
JP6256189B2 (ja) コネクタ
JP2011225104A (ja) 車両用組付部品
JP2016126926A (ja) パネル取付型コネクタ

Legal Events

Date Code Title Description
121 Ep: the epo has been informed by wipo that ep was designated in this application

Ref document number: 16834929

Country of ref document: EP

Kind code of ref document: A1

WWE Wipo information: entry into national phase

Ref document number: 15747652

Country of ref document: US

NENP Non-entry into the national phase

Ref country code: DE

122 Ep: pct application non-entry in european phase

Ref document number: 16834929

Country of ref document: EP

Kind code of ref document: A1