WO2017013914A1 - 両面粘着テープ、当該両面粘着テープを備える電子機器、前記両面粘着テープを備えた解体構造、接着構造 - Google Patents

両面粘着テープ、当該両面粘着テープを備える電子機器、前記両面粘着テープを備えた解体構造、接着構造 Download PDF

Info

Publication number
WO2017013914A1
WO2017013914A1 PCT/JP2016/062477 JP2016062477W WO2017013914A1 WO 2017013914 A1 WO2017013914 A1 WO 2017013914A1 JP 2016062477 W JP2016062477 W JP 2016062477W WO 2017013914 A1 WO2017013914 A1 WO 2017013914A1
Authority
WO
WIPO (PCT)
Prior art keywords
adhesive
layer
adhesive layer
double
adhesive tape
Prior art date
Legal status (The legal status is an assumption and is not a legal conclusion. Google has not performed a legal analysis and makes no representation as to the accuracy of the status listed.)
Ceased
Application number
PCT/JP2016/062477
Other languages
English (en)
French (fr)
Japanese (ja)
Inventor
正彦 三星
Current Assignee (The listed assignees may be inaccurate. Google has not performed a legal analysis and makes no representation or warranty as to the accuracy of the list.)
Sony Corp
Original Assignee
Sony Corp
Priority date (The priority date is an assumption and is not a legal conclusion. Google has not performed a legal analysis and makes no representation as to the accuracy of the date listed.)
Filing date
Publication date
Application filed by Sony Corp filed Critical Sony Corp
Priority to US15/554,165 priority Critical patent/US11306223B2/en
Priority to CN202410402673.3A priority patent/CN118325510A/zh
Priority to JP2017529476A priority patent/JP6264509B2/ja
Priority to CN201680012920.2A priority patent/CN107835844A/zh
Priority to DE112016003292.7T priority patent/DE112016003292B4/de
Publication of WO2017013914A1 publication Critical patent/WO2017013914A1/ja
Anticipated expiration legal-status Critical
Ceased legal-status Critical Current

Links

Images

Classifications

    • CCHEMISTRY; METALLURGY
    • C09DYES; PAINTS; POLISHES; NATURAL RESINS; ADHESIVES; COMPOSITIONS NOT OTHERWISE PROVIDED FOR; APPLICATIONS OF MATERIALS NOT OTHERWISE PROVIDED FOR
    • C09JADHESIVES; NON-MECHANICAL ASPECTS OF ADHESIVE PROCESSES IN GENERAL; ADHESIVE PROCESSES NOT PROVIDED FOR ELSEWHERE; USE OF MATERIALS AS ADHESIVES
    • C09J7/00Adhesives in the form of films or foils
    • C09J7/30Adhesives in the form of films or foils characterised by the adhesive composition
    • C09J7/38Pressure-sensitive adhesives [PSA]
    • BPERFORMING OPERATIONS; TRANSPORTING
    • B32LAYERED PRODUCTS
    • B32BLAYERED PRODUCTS, i.e. PRODUCTS BUILT-UP OF STRATA OF FLAT OR NON-FLAT, e.g. CELLULAR OR HONEYCOMB, FORM
    • B32B5/00Layered products characterised by the non- homogeneity or physical structure, i.e. comprising a fibrous, filamentary, particulate or foam layer; Layered products characterised by having a layer differing constitutionally or physically in different parts
    • B32B5/18Layered products characterised by the non- homogeneity or physical structure, i.e. comprising a fibrous, filamentary, particulate or foam layer; Layered products characterised by having a layer differing constitutionally or physically in different parts characterised by features of a layer of foamed material
    • B32B5/20Layered products characterised by the non- homogeneity or physical structure, i.e. comprising a fibrous, filamentary, particulate or foam layer; Layered products characterised by having a layer differing constitutionally or physically in different parts characterised by features of a layer of foamed material foamed in situ
    • CCHEMISTRY; METALLURGY
    • C08ORGANIC MACROMOLECULAR COMPOUNDS; THEIR PREPARATION OR CHEMICAL WORKING-UP; COMPOSITIONS BASED THEREON
    • C08JWORKING-UP; GENERAL PROCESSES OF COMPOUNDING; AFTER-TREATMENT NOT COVERED BY SUBCLASSES C08B, C08C, C08F, C08G or C08H
    • C08J9/00Working-up of macromolecular substances to porous or cellular articles or materials; After-treatment thereof
    • C08J9/32Working-up of macromolecular substances to porous or cellular articles or materials; After-treatment thereof from compositions containing microballoons, e.g. syntactic foams
    • CCHEMISTRY; METALLURGY
    • C09DYES; PAINTS; POLISHES; NATURAL RESINS; ADHESIVES; COMPOSITIONS NOT OTHERWISE PROVIDED FOR; APPLICATIONS OF MATERIALS NOT OTHERWISE PROVIDED FOR
    • C09JADHESIVES; NON-MECHANICAL ASPECTS OF ADHESIVE PROCESSES IN GENERAL; ADHESIVE PROCESSES NOT PROVIDED FOR ELSEWHERE; USE OF MATERIALS AS ADHESIVES
    • C09J201/00Adhesives based on unspecified macromolecular compounds
    • CCHEMISTRY; METALLURGY
    • C09DYES; PAINTS; POLISHES; NATURAL RESINS; ADHESIVES; COMPOSITIONS NOT OTHERWISE PROVIDED FOR; APPLICATIONS OF MATERIALS NOT OTHERWISE PROVIDED FOR
    • C09JADHESIVES; NON-MECHANICAL ASPECTS OF ADHESIVE PROCESSES IN GENERAL; ADHESIVE PROCESSES NOT PROVIDED FOR ELSEWHERE; USE OF MATERIALS AS ADHESIVES
    • C09J5/00Adhesive processes in general; Adhesive processes not provided for elsewhere, e.g. relating to primers
    • C09J5/06Adhesive processes in general; Adhesive processes not provided for elsewhere, e.g. relating to primers involving heating of the applied adhesive
    • CCHEMISTRY; METALLURGY
    • C09DYES; PAINTS; POLISHES; NATURAL RESINS; ADHESIVES; COMPOSITIONS NOT OTHERWISE PROVIDED FOR; APPLICATIONS OF MATERIALS NOT OTHERWISE PROVIDED FOR
    • C09JADHESIVES; NON-MECHANICAL ASPECTS OF ADHESIVE PROCESSES IN GENERAL; ADHESIVE PROCESSES NOT PROVIDED FOR ELSEWHERE; USE OF MATERIALS AS ADHESIVES
    • C09J7/00Adhesives in the form of films or foils
    • C09J7/20Adhesives in the form of films or foils characterised by their carriers
    • CCHEMISTRY; METALLURGY
    • C09DYES; PAINTS; POLISHES; NATURAL RESINS; ADHESIVES; COMPOSITIONS NOT OTHERWISE PROVIDED FOR; APPLICATIONS OF MATERIALS NOT OTHERWISE PROVIDED FOR
    • C09JADHESIVES; NON-MECHANICAL ASPECTS OF ADHESIVE PROCESSES IN GENERAL; ADHESIVE PROCESSES NOT PROVIDED FOR ELSEWHERE; USE OF MATERIALS AS ADHESIVES
    • C09J7/00Adhesives in the form of films or foils
    • C09J7/30Adhesives in the form of films or foils characterised by the adhesive composition
    • CCHEMISTRY; METALLURGY
    • C09DYES; PAINTS; POLISHES; NATURAL RESINS; ADHESIVES; COMPOSITIONS NOT OTHERWISE PROVIDED FOR; APPLICATIONS OF MATERIALS NOT OTHERWISE PROVIDED FOR
    • C09JADHESIVES; NON-MECHANICAL ASPECTS OF ADHESIVE PROCESSES IN GENERAL; ADHESIVE PROCESSES NOT PROVIDED FOR ELSEWHERE; USE OF MATERIALS AS ADHESIVES
    • C09J9/00Adhesives characterised by their physical nature or the effects produced, e.g. glue sticks
    • C09J9/02Electrically-conducting adhesives
    • CCHEMISTRY; METALLURGY
    • C08ORGANIC MACROMOLECULAR COMPOUNDS; THEIR PREPARATION OR CHEMICAL WORKING-UP; COMPOSITIONS BASED THEREON
    • C08KUse of inorganic or non-macromolecular organic substances as compounding ingredients
    • C08K3/00Use of inorganic substances as compounding ingredients
    • C08K3/02Elements
    • C08K3/08Metals
    • CCHEMISTRY; METALLURGY
    • C08ORGANIC MACROMOLECULAR COMPOUNDS; THEIR PREPARATION OR CHEMICAL WORKING-UP; COMPOSITIONS BASED THEREON
    • C08KUse of inorganic or non-macromolecular organic substances as compounding ingredients
    • C08K9/00Use of pretreated ingredients
    • C08K9/10Encapsulated ingredients
    • CCHEMISTRY; METALLURGY
    • C09DYES; PAINTS; POLISHES; NATURAL RESINS; ADHESIVES; COMPOSITIONS NOT OTHERWISE PROVIDED FOR; APPLICATIONS OF MATERIALS NOT OTHERWISE PROVIDED FOR
    • C09JADHESIVES; NON-MECHANICAL ASPECTS OF ADHESIVE PROCESSES IN GENERAL; ADHESIVE PROCESSES NOT PROVIDED FOR ELSEWHERE; USE OF MATERIALS AS ADHESIVES
    • C09J2203/00Applications of adhesives in processes or use of adhesives in the form of films or foils
    • C09J2203/326Applications of adhesives in processes or use of adhesives in the form of films or foils for bonding electronic components such as wafers, chips or semiconductors
    • CCHEMISTRY; METALLURGY
    • C09DYES; PAINTS; POLISHES; NATURAL RESINS; ADHESIVES; COMPOSITIONS NOT OTHERWISE PROVIDED FOR; APPLICATIONS OF MATERIALS NOT OTHERWISE PROVIDED FOR
    • C09JADHESIVES; NON-MECHANICAL ASPECTS OF ADHESIVE PROCESSES IN GENERAL; ADHESIVE PROCESSES NOT PROVIDED FOR ELSEWHERE; USE OF MATERIALS AS ADHESIVES
    • C09J2301/00Additional features of adhesives in the form of films or foils
    • C09J2301/10Additional features of adhesives in the form of films or foils characterized by the structural features of the adhesive tape or sheet
    • C09J2301/12Additional features of adhesives in the form of films or foils characterized by the structural features of the adhesive tape or sheet by the arrangement of layers
    • C09J2301/124Additional features of adhesives in the form of films or foils characterized by the structural features of the adhesive tape or sheet by the arrangement of layers the adhesive layer being present on both sides of the carrier, e.g. double-sided adhesive tape
    • CCHEMISTRY; METALLURGY
    • C09DYES; PAINTS; POLISHES; NATURAL RESINS; ADHESIVES; COMPOSITIONS NOT OTHERWISE PROVIDED FOR; APPLICATIONS OF MATERIALS NOT OTHERWISE PROVIDED FOR
    • C09JADHESIVES; NON-MECHANICAL ASPECTS OF ADHESIVE PROCESSES IN GENERAL; ADHESIVE PROCESSES NOT PROVIDED FOR ELSEWHERE; USE OF MATERIALS AS ADHESIVES
    • C09J2301/00Additional features of adhesives in the form of films or foils
    • C09J2301/20Additional features of adhesives in the form of films or foils characterized by the structural features of the adhesive itself
    • C09J2301/204Additional features of adhesives in the form of films or foils characterized by the structural features of the adhesive itself the adhesive coating being discontinuous
    • CCHEMISTRY; METALLURGY
    • C09DYES; PAINTS; POLISHES; NATURAL RESINS; ADHESIVES; COMPOSITIONS NOT OTHERWISE PROVIDED FOR; APPLICATIONS OF MATERIALS NOT OTHERWISE PROVIDED FOR
    • C09JADHESIVES; NON-MECHANICAL ASPECTS OF ADHESIVE PROCESSES IN GENERAL; ADHESIVE PROCESSES NOT PROVIDED FOR ELSEWHERE; USE OF MATERIALS AS ADHESIVES
    • C09J2301/00Additional features of adhesives in the form of films or foils
    • C09J2301/30Additional features of adhesives in the form of films or foils characterized by the chemical, physicochemical or physical properties of the adhesive or the carrier
    • C09J2301/302Additional features of adhesives in the form of films or foils characterized by the chemical, physicochemical or physical properties of the adhesive or the carrier the adhesive being pressure-sensitive, i.e. tacky at temperatures inferior to 30°C
    • CCHEMISTRY; METALLURGY
    • C09DYES; PAINTS; POLISHES; NATURAL RESINS; ADHESIVES; COMPOSITIONS NOT OTHERWISE PROVIDED FOR; APPLICATIONS OF MATERIALS NOT OTHERWISE PROVIDED FOR
    • C09JADHESIVES; NON-MECHANICAL ASPECTS OF ADHESIVE PROCESSES IN GENERAL; ADHESIVE PROCESSES NOT PROVIDED FOR ELSEWHERE; USE OF MATERIALS AS ADHESIVES
    • C09J2301/00Additional features of adhesives in the form of films or foils
    • C09J2301/40Additional features of adhesives in the form of films or foils characterized by the presence of essential components
    • C09J2301/408Additional features of adhesives in the form of films or foils characterized by the presence of essential components additives as essential feature of the adhesive layer
    • CCHEMISTRY; METALLURGY
    • C09DYES; PAINTS; POLISHES; NATURAL RESINS; ADHESIVES; COMPOSITIONS NOT OTHERWISE PROVIDED FOR; APPLICATIONS OF MATERIALS NOT OTHERWISE PROVIDED FOR
    • C09JADHESIVES; NON-MECHANICAL ASPECTS OF ADHESIVE PROCESSES IN GENERAL; ADHESIVE PROCESSES NOT PROVIDED FOR ELSEWHERE; USE OF MATERIALS AS ADHESIVES
    • C09J2301/00Additional features of adhesives in the form of films or foils
    • C09J2301/40Additional features of adhesives in the form of films or foils characterized by the presence of essential components
    • C09J2301/41Additional features of adhesives in the form of films or foils characterized by the presence of essential components additives as essential feature of the carrier layer
    • CCHEMISTRY; METALLURGY
    • C09DYES; PAINTS; POLISHES; NATURAL RESINS; ADHESIVES; COMPOSITIONS NOT OTHERWISE PROVIDED FOR; APPLICATIONS OF MATERIALS NOT OTHERWISE PROVIDED FOR
    • C09JADHESIVES; NON-MECHANICAL ASPECTS OF ADHESIVE PROCESSES IN GENERAL; ADHESIVE PROCESSES NOT PROVIDED FOR ELSEWHERE; USE OF MATERIALS AS ADHESIVES
    • C09J2301/00Additional features of adhesives in the form of films or foils
    • C09J2301/40Additional features of adhesives in the form of films or foils characterized by the presence of essential components
    • C09J2301/412Additional features of adhesives in the form of films or foils characterized by the presence of essential components presence of microspheres
    • CCHEMISTRY; METALLURGY
    • C09DYES; PAINTS; POLISHES; NATURAL RESINS; ADHESIVES; COMPOSITIONS NOT OTHERWISE PROVIDED FOR; APPLICATIONS OF MATERIALS NOT OTHERWISE PROVIDED FOR
    • C09JADHESIVES; NON-MECHANICAL ASPECTS OF ADHESIVE PROCESSES IN GENERAL; ADHESIVE PROCESSES NOT PROVIDED FOR ELSEWHERE; USE OF MATERIALS AS ADHESIVES
    • C09J2301/00Additional features of adhesives in the form of films or foils
    • C09J2301/50Additional features of adhesives in the form of films or foils characterized by process specific features
    • C09J2301/502Additional features of adhesives in the form of films or foils characterized by process specific features process for debonding adherents
    • CCHEMISTRY; METALLURGY
    • C09DYES; PAINTS; POLISHES; NATURAL RESINS; ADHESIVES; COMPOSITIONS NOT OTHERWISE PROVIDED FOR; APPLICATIONS OF MATERIALS NOT OTHERWISE PROVIDED FOR
    • C09JADHESIVES; NON-MECHANICAL ASPECTS OF ADHESIVE PROCESSES IN GENERAL; ADHESIVE PROCESSES NOT PROVIDED FOR ELSEWHERE; USE OF MATERIALS AS ADHESIVES
    • C09J2400/00Presence of inorganic and organic materials
    • C09J2400/10Presence of inorganic materials
    • C09J2400/16Metal
    • C09J2400/163Metal in the substrate
    • HELECTRICITY
    • H05ELECTRIC TECHNIQUES NOT OTHERWISE PROVIDED FOR
    • H05KPRINTED CIRCUITS; CASINGS OR CONSTRUCTIONAL DETAILS OF ELECTRIC APPARATUS; MANUFACTURE OF ASSEMBLAGES OF ELECTRICAL COMPONENTS
    • H05K1/00Printed circuits
    • H05K1/18Printed circuits structurally associated with non-printed electric components
    • H05K1/181Printed circuits structurally associated with non-printed electric components associated with surface mounted components
    • HELECTRICITY
    • H05ELECTRIC TECHNIQUES NOT OTHERWISE PROVIDED FOR
    • H05KPRINTED CIRCUITS; CASINGS OR CONSTRUCTIONAL DETAILS OF ELECTRIC APPARATUS; MANUFACTURE OF ASSEMBLAGES OF ELECTRICAL COMPONENTS
    • H05K2201/00Indexing scheme relating to printed circuits covered by H05K1/00
    • H05K2201/10Details of components or other objects attached to or integrated in a printed circuit board
    • H05K2201/10007Types of components
    • H05K2201/10037Printed or non-printed battery
    • HELECTRICITY
    • H05ELECTRIC TECHNIQUES NOT OTHERWISE PROVIDED FOR
    • H05KPRINTED CIRCUITS; CASINGS OR CONSTRUCTIONAL DETAILS OF ELECTRIC APPARATUS; MANUFACTURE OF ASSEMBLAGES OF ELECTRICAL COMPONENTS
    • H05K2201/00Indexing scheme relating to printed circuits covered by H05K1/00
    • H05K2201/10Details of components or other objects attached to or integrated in a printed circuit board
    • H05K2201/10007Types of components
    • H05K2201/10053Switch
    • YGENERAL TAGGING OF NEW TECHNOLOGICAL DEVELOPMENTS; GENERAL TAGGING OF CROSS-SECTIONAL TECHNOLOGIES SPANNING OVER SEVERAL SECTIONS OF THE IPC; TECHNICAL SUBJECTS COVERED BY FORMER USPC CROSS-REFERENCE ART COLLECTIONS [XRACs] AND DIGESTS
    • Y02TECHNOLOGIES OR APPLICATIONS FOR MITIGATION OR ADAPTATION AGAINST CLIMATE CHANGE
    • Y02EREDUCTION OF GREENHOUSE GAS [GHG] EMISSIONS, RELATED TO ENERGY GENERATION, TRANSMISSION OR DISTRIBUTION
    • Y02E60/00Enabling technologies; Technologies with a potential or indirect contribution to GHG emissions mitigation
    • Y02E60/10Energy storage using batteries

Definitions

  • the present technology relates to a technology for bonding or peeling adherends. Concerning structure.
  • an adhesive tape disclosed in Patent Document 1 is known as an adhesive tape for bonding adherends to each other.
  • the pressure-sensitive adhesive tape disclosed in Patent Document 1 includes at least a thermal foaming agent-containing pressure-sensitive adhesive layer, and the thermal foaming agent is foamed by heating the heat-foaming agent-containing pressure-sensitive adhesive layer. It is the structure which peels from.
  • Such an adhesive tape is used, for example, in an electronic device such as a personal computer or a mobile phone, to bond an internal power source such as a battery of the electronic device and a housing in which the internal power source is accommodated. Yes.
  • Patent Document 1 When an adhesive tape as disclosed in Patent Document 1 is used for an adhesive structure between an internal power supply of an electronic device and its housing, the product reliability of the internal power supply when peeling the internal power supply from the housing When the adhesive tape is heated at a temperature higher than the guaranteed condition, the internal power supply may be deteriorated. As a result, the internal power supply may not be reused. Such an event occurs not only in a bonding structure in an electronic apparatus but also in a scene where adherends that cause product deterioration due to environmental temperature are bonded together.
  • the main object of the present technology is to provide a technique capable of peeling the adherend on the premise of reuse of the adherend while satisfying the reliability guarantee temperature condition of the adherend. To do.
  • the present technology includes a pair of adhesive layers and a conductive heat generating layer provided between the pair of adhesive layers, and at least one of the pair of adhesive layers includes a thermal foaming agent, An end surface provides the double-sided adhesive tape which protrudes from the end surface of at least one adhesive layer.
  • the foaming start temperature of the thermal foaming agent is set higher than the guaranteed temperature of the adherend bonded to the pressure-sensitive adhesive layer, and the heat generation temperature of the conductive heat generation layer is the same as the foaming start temperature. Alternatively, it may be set higher.
  • each pressure-sensitive adhesive layer may contain a thermal foaming agent.
  • the present technology is an electronic device including at least an internal power source that drives the electronic device, an adherend that adheres to the internal power source, and a double-sided adhesive tape that adheres the internal power source and the adherend.
  • the double-sided pressure-sensitive adhesive tape includes a first pressure-sensitive adhesive layer bonded to the internal power source, a second pressure-sensitive adhesive layer bonded to the adherend, and a space between the first pressure-sensitive adhesive layer and the second pressure-sensitive adhesive layer.
  • a conductive heating layer provided, and either one of the first adhesive layer or the second adhesive layer contains a thermal foaming agent, and the end face of the conductive heating layer is formed by the first adhesive layer or the second adhesive layer.
  • an electronic device that protrudes from an end face of one of the adhesive layers.
  • the foaming start temperature of the thermal foaming agent contained in the double-sided pressure-sensitive adhesive tape is set higher than the guaranteed temperature of the internal power supply, and the heat generation temperature of the conductive heat generation layer is the same as the foaming start temperature or It may be set high.
  • the end face of the conductive heat generating layer may protrude from the end face of the second adhesive layer and be disposed on the same plane as the end face of the first adhesive layer.
  • the first adhesive layer may contain a thermal foaming agent.
  • the first adhesive layer may be bonded to the inner surface of the internal power source facing the adherend and the outer surface of the internal power source facing the covering covering the internal power source. .
  • the electronic device may further include a switching unit that supplies electric energy supplied from the internal power source to the electronic device to the conductive heat generation layer.
  • the present technology includes a double-sided pressure-sensitive adhesive tape and a pair of adherends bonded via the double-sided pressure-sensitive adhesive tape, and the double-sided pressure-sensitive adhesive tape is provided between the pair of pressure-sensitive adhesive layers and the pair of pressure-sensitive adhesive layers.
  • a conductive heat generating layer, and at least one of the pair of adhesive layers includes a thermal foaming agent, The end face of the conductive heat generating layer protrudes from the end face of at least one adhesive layer, and the end face of the conductive heat generating layer is heated to foam the adhesive layer containing the thermal foaming agent to disassemble the pair of adherends.
  • a dismantling structure is also provided.
  • the present technology is an adhesive structure having an adhesive layer that bonds the first adhesive body and the second adhesive body, and the adhesive layer is at least one of the first adhesive body or the second adhesive body.
  • an adhesive structure having a self-decomposing adhesive layer in contact with the adhesive In this adhesion structure, a jig insertion hole communicating with the self-decomposing adhesive layer may be formed in at least one of the first adhesive body or the second adhesive body.
  • the adherend can be peeled on the premise of reuse of the adherend while satisfying the reliability guarantee temperature condition of the adherend.
  • the effect described here is not necessarily limited, and may be any effect described in the present technology.
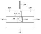
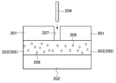
  • Double-sided adhesive tape 1 (1) Adhesive layer 11 (2) Thermal foaming agent 13 (3) Conductive heating layer 12 (4) Adherent Electronic device 101 (1) Internal power supply 102 (2) Substrate 103 (3) Double-sided adhesive tape 104 (4) Drive circuit 105 (5) Switching unit 106 (6) Evaluation of double-sided adhesive tape Demolition structure 4.
  • Adhesive structure (1) First adhesive body 201 and second adhesive body 202 (2) Adhesive layer 203 (3) Jig 204
  • FIG. 1 is a schematic conceptual view schematically showing the concept of a double-sided pressure-sensitive adhesive tape 1 according to the present technology (hereinafter also referred to as “pressure-sensitive adhesive tape 1”).
  • the double-sided pressure-sensitive adhesive tape 1 according to the present technology is used for bonding a pair of adherends to each other, and peels off from the adherend by generating heat by heating.
  • At least a conductive heat generating layer 12 provided between the adhesive layers 11 is provided.
  • each layer will be described in detail.
  • the pressure-sensitive adhesive tape 1 according to the present technology includes a pair of pressure-sensitive adhesive layers 11 bonded to an adherend such as an internal power source such as a battery built in an electronic device or a housing in which the internal power source is stored.
  • the pressure-sensitive adhesive tape 1 according to the present technology is disposed between a pair of adherends, and a first pressure-sensitive adhesive layer 11a bonded to one adherend and a second pressure-sensitive adhesive bonded to the other adherend.
  • a layer 11b is disposed between a pair of adherends, and a first pressure-sensitive adhesive layer 11a bonded to one adherend and a second pressure-sensitive adhesive bonded to the other adherend.
  • each of the adhesive layers 11a and 11b a known material which is usually used for producing a double-sided adhesive tape can be used, for example, an acrylic adhesive having an alkyl (meth) acrylate as a main component. Is mentioned.
  • a thermoplastic pressure-sensitive adhesive from the viewpoint of peeling by heating.
  • each adhesive layer 11a, 11b is not particularly limited and can be appropriately selected according to the arrangement environment of the adherend bonded by the adhesive tape 1 according to the present technology.
  • the lower limit is preferably 30 ⁇ m or more, and more preferably 100 ⁇ m or more.
  • the upper limit is preferably 500 ⁇ m or less, and more preferably 300 ⁇ m or less.
  • the pressure-sensitive adhesive layer 11 contains a thermal foaming agent 13.
  • the thermal foaming agent 13 is foamed by heating, the pressure-sensitive adhesive tape 1 can be peeled off from the adherend. At this time, the foamed thermal foaming agent 13 also functions as a heat insulating material, and prevents heat from propagating from the adhesive layer 11 to the adherend.
  • the thermal foaming agent 13 is preferably contained in at least one of the pair of adhesive layers 11. In the adhesive tape 1 shown in FIG. 1, each adhesive layer 11a, 11b An example in which the thermal foaming agent 13 is contained is shown. When the thermal foaming agent 13 is contained in one of the pair of adhesive layers 11a and 11b, the thermal foaming agent 13 is preferably contained in the adhesive layer 11 bonded to the adherend to be positively peeled off.
  • the thermal foaming agent 13 is not particularly limited, and for example, a known thermal foaming agent can be appropriately selected and used.
  • a known thermal foaming agent can be appropriately selected and used.
  • microencapsulated foaming agents various inorganic foaming agents, and organic foaming agents can be used.
  • Agents examples of microencapsulated foaming agents are those in which liquefied hydrocarbons are filled into a shell made of polyvinyl chloride, polyvinylidene, etc., and the liquefied hydrocarbons are easily gasified and expanded by heating. Is mentioned.
  • representative examples of the inorganic foaming agent include ammonium carbonate, ammonium hydrogen carbonate, sodium hydrogen carbonate, and the like.
  • organic foaming agent examples include chlorofluorinated alkanes such as dichloromonofluoromethane; Examples thereof include azo compounds such as isobutyronitrile.
  • the expanded thermal foaming agent 13 prevents heat from propagating to the adherend bonded by the pressure-sensitive adhesive tape 1. Microencapsulated blowing agents are preferred.
  • the foaming start temperature of the thermal foaming agent 13 is set higher than the temperature (hereinafter referred to as “guaranteed temperature”) equal to or higher than the product reliability guarantee condition of the adherends to be joined by the adhesive tape 1 according to the present technology. It is preferable. In addition, since the foaming start temperature of the thermal foaming agent 13 must ensure the product reliability guarantee condition of the adherend, the foamed thermal foaming agent 13 needs to function as a heat insulating material. It is preferable to set the temperature as low as possible while ensuring a margin for the guaranteed temperature of the body. More specifically, it is preferably set higher in the range of 10 to 50 ° C. than the guaranteed temperature of the adherend, and more preferably set in the range of 10 to 30 ° C. Within the numerical range, when the guaranteed temperature of the adherend is 85 ° C., the foaming start temperature of the thermal foaming agent 13 is preferably set to 100 ° C.
  • the pressure-sensitive adhesive tape 1 according to the present technology includes a conductive heating layer 12 between the pair of pressure-sensitive adhesive layers 11.
  • heat is transmitted to the pressure-sensitive adhesive layer 11 and the thermal foaming agent 13 is foamed by heating the conductive heat-generating layer 12 to generate heat.
  • the interface between the adhesive layer 11 and the adherend is easily peeled off.
  • the length of the conductive heat generating layer 12 in the longitudinal direction is the length of the pressure-sensitive adhesive layers 11a and 11b in the longitudinal direction. It is set larger than this. That is, both end surfaces in the longitudinal direction of the conductive heat generating layer 12 protrude from both end surfaces in the longitudinal direction of the adhesive layers 11a and 11b, and the front and back surfaces of the conductive heat generating layer 12 facing in the direction perpendicular to the longitudinal direction are exposed to the external atmosphere. It has been configured.
  • the longitudinal length of the conductive heat generation layer 12 is set to be the same as the longitudinal length of the second adhesive layer 11 b, and both end surfaces of the conductive heat generation layer 12 are the adhesive layers. While it arrange
  • the conductive heat generating layer 12 is not particularly limited, and examples thereof include a metal film and a resin film including a conductive member 12a inside.
  • Examples of the conductive member 12a include heating wire, metal foil, carbon nanotube, carbon powder, and metal powder.
  • the metal constituting the metal foil or metal powder is preferably aluminum, copper or the like because of its good conductivity.
  • the heating wire is preferably a metal wire having a high electrical resistance, such as a nichrome wire (nickel-chromium alloy metal wire) or an iron-chromium alloy metal wire.
  • the method of heating the conductive heat generating layer 12 is not particularly limited, and examples thereof include a method of directly energizing and generating heat using a jig such as a mouth clip and a contact pin, and a method using electromagnetic induction by high frequency. It is done.
  • a method of heating the conductive heat generating layer 12 by supplying electric energy directly from the internal power source of the electronic device to the conductive heat generating layer 12. And so on.
  • the heat generation temperature of the conductive heat generation layer 12 is preferably set equal to or higher than the foaming start temperature of the thermal foaming agent 13.
  • the thermal foaming agent 13 contained in the pressure-sensitive adhesive layer 11 as the heat of the conductive heat generation layer 12 propagates to the pressure-sensitive adhesive layer 11. Therefore, in order to reliably foam the thermal foaming agent 13, it is preferable to set the heat generation temperature of the conductive heat generation layer 12 higher in the range of 10 to 50 ° C. than the foaming start temperature of the thermal foaming agent 13, More preferably, it is set high in the range of 10 to 30 ° C.
  • the thickness of the conductive heat generating layer 12 is not particularly limited, and can be appropriately selected according to the arrangement environment of the adherend bonded by the pressure-sensitive adhesive tape 1 according to the present technology.
  • the adherend according to the present technology is not particularly limited as long as it is bonded by a double-sided adhesive tape such as the adhesive tape 1 according to the present technology.
  • a combination of a pair of adherends in an electronic device such as a personal computer or a mobile phone, a combination of an internal power source such as a battery and a housing or substrate of the electronic device that contacts the internal power source, an optical element, a lens, a prism, Conclude parts and devices that are highly reusable for cost and environmental considerations, such as LCD screens and housings, housings and LCD screens and backlights, housings and substrates and flexible wiring boards, and substrates or housings and film antennas. The part etc. can be considered.
  • the adhesive tape 1 is used to bond a pair of adherends to each other.
  • the adhered adherend is peeled off and reused, or when the adhered adherend is peeled and repaired, the conductive heating layer 12 protruding from the end face of the adhesive layer 11 is heated.
  • the conductive heat generating layer 12 is caused to generate heat.
  • the heat of the conductive heat generating layer 12 is propagated to the adhesive layer 11, and the thermal foaming agent 13 contained in the adhesive layer 11 is foamed.
  • the interface between the adhesive layer 11 and the adherend can be separated from each other or the contact area of each adhesive layer 11 with respect to the adherend can be reduced. Therefore, the propagation of heat to the adherend is suppressed, and the temperature rise of the adherend can be stopped, thereby preventing the quality of the adherend from deteriorating.
  • the heat generation temperature of the conductive heat generation layer 12 is set to be equal to or higher than the foaming start temperature of the thermal foaming agent 13, and the foaming start temperature of the thermal foaming agent 13 is It is set higher than the guaranteed temperature of the kimono. For this reason, by heating the conductive heat generating layer 12, the thermal foaming agent 13 contained in the adhesive layer 11 can be surely foamed, so that the interface between the adhesive layer 11 and the adherend is separated from each other. The contact area of each adhesion layer 11 with respect to a to-be-adhered body can be narrowed.
  • the foaming start temperature of the thermal foaming agent 13 is set higher than the guaranteed temperature of the adherend, the thermal foaming is caused by heat being propagated to the adhesive layer 11 due to the heat generation of the conductive heating layer 12.
  • the agent 13 is foamed.
  • the foamed thermal foaming agent 13 functions as a heat insulating material.
  • the temperature rise of the adherend can be stopped, and thus the quality of the adherend can be prevented from deteriorating.
  • the conductive heating layer 12 is directly energized using a jig such as a contact pin.
  • a jig such as a contact pin.
  • the electronic device 101 includes an internal power source 102 for driving the electronic device 101, an adherend 103 to which the internal power source 102 is bonded, the internal power source 102 and the adherend 103, and the like. And a double-sided pressure-sensitive adhesive tape 104 for adhering. Further, as necessary, the electronic device 101 according to the present technology includes a driving circuit 105 of the electronic device 101 and a switching unit 106 for supplying electric energy of the internal power supply 102 to the driving circuit 105 or the double-sided adhesive tape 104. And a covering that covers the internal power supply 102 in a state where the internal power supply 102 is accommodated in the adherend 103. The drive circuit 105 and the switching unit 106 will be described later with reference to FIG.
  • the electronic device 101 to which the present technology can be applied is not particularly limited and includes known devices such as a notebook personal computer, a PDA (personal digital assistant), a mobile phone, a cordless phone, a video movie, and a digital still camera.
  • a notebook personal computer a PDA (personal digital assistant)
  • PDA personal digital assistant
  • mobile phone a cordless phone
  • video movie a digital still camera
  • digital still camera Electronic book, electronic dictionary, music player, radio, headphones, game console, navigation system, memory card, pacemaker, hearing aid, electric tool, electric shaver, refrigerator, air conditioner, TV, stereo, water heater, microwave oven, dishwasher, Examples include washing machines, dryers, lighting equipment, toys, medical equipment, robots, road conditioners, traffic lights, and the like.
  • the internal power supply 102 included in the electronic device 101 is a battery that uses the electronic device 101 as a drive source.
  • the type of the battery is not particularly limited, and examples thereof include a primary battery such as a dry battery, a secondary battery such as a lithium ion secondary battery and a lithium ion polymer secondary battery, and the like.
  • Substrate 103 The adherend 103 provided in the electronic device 101 according to the present technology is bonded to the internal power supply 102 via the double-sided adhesive tape 104.
  • the internal power supply 102 is fitted and the skeleton of the electronic device 101 is fitted. And a substrate that comes into contact with the internal power supply 102.
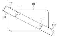
  • Double-sided adhesive tape 104 The double-sided adhesive tape 104 provided in the electronic device 101 according to the present technology includes a first adhesive layer 111a that is bonded to the internal power supply 102, a second adhesive layer 111b that is bonded to the adherend 103, and a first adhesive layer 111b.
  • the conductive heating layer 112 sandwiched between the adhesive layer 111a and the second adhesive layer 111b.
  • the basic configuration of the first adhesive layer 111a and the second adhesive layer 111b is the same as that of the adhesive layer 11 included in the adhesive tape 1 according to the present technology, and thus the description thereof is omitted here.
  • the thermal foaming agent 113 is contained in at least one of the first adhesive layer 111a and the second adhesive layer 111b, and the quality deterioration of the internal power supply 102 is prevented.
  • the thermal foaming agent 113 is contained in the first adhesive layer 111 a that adheres to the internal power supply 102.
  • the foaming start temperature of the thermal foaming agent 113 is preferably set higher than the guaranteed temperature of the internal power supply 102.
  • the foaming start temperature of the thermal foaming agent 113 must ensure the product reliability guarantee condition of the internal power supply 102, the foamed thermal foaming agent 113 needs to function as a heat insulating agent. It is preferable to set the temperature as low as possible while ensuring a margin with respect to the guaranteed temperature of 102.
  • the basic configuration of the conductive heat generating layer 112 is the same as the configuration of the conductive heat generating layer 12 provided in the pressure-sensitive adhesive tape 1 according to the present technology, and the description thereof is omitted here.
  • the conductive heat generating layer 112 may include a conductive member 112a. Since the conductive member 112a is the same as the conductive member 12a included in the conductive heat generating layer 12, the description thereof is omitted here.
  • the heat generation temperature of the conductive heat generation layer 112 is preferably set equal to or higher than the foaming start temperature of the thermal foaming agent 113.
  • the double-sided adhesive tape 104 is disposed between the internal power source 102 and the adherend 103, and the first adhesive layer 111 a is connected to the internal power source 102.
  • the second adhesive layer 111 b is used so as to adhere to the adherend 103.
  • both end surfaces of the conductive heat generating layer 112 protrude from both end surfaces of the adhesive layers 111a and 111b, and the surface of the conductive heat generating layer 112 facing the direction perpendicular to the longitudinal direction is the internal power source.
  • the back surface faces the adherend 103.
  • the longitudinal length of the conductive heat generating layer 112 is set to be the same as the longitudinal length of the first adhesive layer 111a, as shown in FIG.
  • the both ends of the conductive heat generating layer 112 are arranged on the same plane as the both ends of the first adhesive layer 111a, but may protrude from the end surface of the second adhesive layer 111b.
  • the first adhesive layer 111a faces the adherend 103, the inner side surface 102a of the internal power source 102, a part of both side surfaces 102b of the internal power source 102, and the inner power source 102 that faces the covering. It is preferable to adhere to the outer side surface 102c.
  • the conductive heat generating layer 112 since the longitudinal length of the conductive heat generating layer 112 is set to be the same as the longitudinal length of the first adhesive layer 111a, the conductive heat generating layer 112 includes the inner side surface 102a of the internal power source 102, It bends so as to cover both side surfaces 102b and the outer surface 102c, and is exposed on the outer surface 102c side of the internal power supply 102.
  • two double-sided adhesive tapes 104 can be bonded along the longitudinal direction of the internal power supply 102 and arranged in parallel to each other.
  • two internal power sources 102 can be bonded in a direction perpendicular to the longitudinal direction and arranged in parallel to each other.
  • the double-sided pressure-sensitive adhesive tape 104 can be adhered to the internal power supply 102 while being inclined with respect to the longitudinal direction.
  • the double-sided pressure-sensitive adhesive tape 104 shown in FIG. 7 has the form shown in FIG. 4, and the conductive heat generation layer 112 is exposed on the outer side surface 102 c side of the internal power supply 102.
  • the electronic device 101 may include a drive circuit 105 for driving the electronic device 101.
  • the drive circuit 105 is a normal drive circuit mounted on the electronic device 101, and a known configuration can be adopted.
  • the electronic device 101 may include a switching unit 106 that switches a supply destination of the electrical energy stored in the internal power source 102.
  • the switching unit 106 is configured to supply the electric energy of the internal power supply 102 to the driving circuit 105 when the electronic device 101 is driven (arrows A and B).
  • the electric energy of the internal power source 102 is supplied to the conductive heat generating layer 112 of the double-sided adhesive tape 104 (arrow line). C and D).
  • the configuration of the switching unit 106 is not particularly limited, and a known unit used when switching the supply destination of electrical energy in the circuit board can be applied.
  • a mechanical switch such as a slide switch or a push switch can be used.
  • a short land is installed in the substrate pattern portion constituting the switching unit 106, and when the electronic device 101 is driven, the short lands on the drive circuit 105 side are short-circuited with solder and electric energy is supplied, while the internal power supply 102 is peeled off. In this case, the short land solder on the drive circuit 105 side may be removed and soldered to the short land on the conductive heat generating layer 112 side.
  • the inventor of the present technology manufactures an electronic device including a double-sided pressure-sensitive adhesive tape having a conductive heat generating layer between a pair of pressure-sensitive adhesive layers and a pair of pressure-sensitive adhesive layers, and heats the conductive pressure-sensitive adhesive layer.
  • an evaluation was made as to whether or not the double-sided pressure-sensitive adhesive tape was peeled off from the adherend.
  • a thermal foaming agent having a foaming start temperature of 100 ° C. and a thermal foaming agent contained in each adhesive layer were produced.
  • thermocouple was provided in the interface of the said battery and the adhesion layer, and the interface of the said adhesion layer and a conductive heat generating layer, and the temperature change in each interface according to progress of heating time was measured.
  • FIG. 10 The measurement results are shown in FIG. In FIG. 10, the vertical axis represents temperature, and the horizontal axis represents energization heating time (seconds). Moreover, the dashed-dotted line in FIG. 10 shows the foaming start temperature of a thermal foaming agent, and a dashed-two dotted line shows the guarantee temperature of a battery. Further, a square plot indicates the temperature at the interface between the battery and the adhesive layer, and a circle plot indicates the temperature at the interface between the adhesive layer and the conductive heat generating layer. As shown in FIG. 10, even when the conductive heat generating layer is heated and the temperature at the interface between the adhesive layer and the conductive heat generating layer becomes higher than the foaming start temperature 100 ° C.
  • the temperature at the interface with the adhesive layer was lower than the guaranteed battery temperature of 85 ° C. That is, in the double-sided pressure-sensitive adhesive tape according to the present technology, it was confirmed that the battery can be peeled from the copper substrate in a temperature state where the temperature of the battery is lower than the foaming start temperature of the thermal foaming agent. Moreover, it was confirmed that the thermal foaming agent contained in the adhesive layer functions as a heat insulating agent, and the heat propagated from the conductive heat generating layer to the adhesive layer is not transmitted to the battery.
  • the electronic device 101 when the internal power supply 102 is peeled off from the adherend 103, the conductive heat generating layer 112 protruding from the end face of the adhesive layer 111 is heated, thereby The heat generating layer 112 generates heat. Thereby, the heat of the conductive heat generating layer 112 is propagated to the adhesive layer 111 and the thermal foaming agent 113 contained in the adhesive layer 111 is foamed. For this reason, the interface between the adhesive layer 111 and the internal power source 102 is separated, or the contact area of each adhesive layer 111 with respect to the internal power source 102 can be reduced.
  • the thermal foaming agent 113 is foamed, the heat of the conductive heat generating layer 112 can be prevented from propagating to the internal power source 102.
  • the temperature rise of the internal power supply 102 can be stopped, and quality deterioration of the internal power supply 102 can be prevented.
  • the electronic device 101 by providing the switching unit 106, it is not necessary to supply electric energy from the outside of the electronic device 101, and the electronic device 101 has a simple configuration correspondingly. be able to.
  • one adhesive layer 111 is provided on one surface of the conductive heat generating layer 112.
  • the number of layers 111 is not particularly limited, and a plurality of layers 111 can be provided.
  • two adhesive layers 111 may be provided on one surface of the conductive heat generating layer 112.
  • Disassembly structure The present technology also provides a structure for disassembling a pair of adhered adherends.
  • This dismantling structure includes a double-sided pressure-sensitive adhesive tape and a pair of adherends bonded via the double-sided pressure-sensitive adhesive tape.
  • the double-sided adhesive tape includes a pair of adhesive layers and a conductive heat generating layer provided between the pair of adhesive layers, and at least one of the pair of adhesive layers includes a thermal foaming agent, The end face of the conductive heating layer protrudes from the end face of at least one adhesive layer.
  • the adhesive layer containing the said thermal foaming agent can be foam-expanded by heating the end surface of the said conductive heat generating layer, and a pair of adherend can be disassembled.
  • the structure of the double-sided pressure-sensitive adhesive tape included in the disassembly structure according to the present technology is the same as the structure of the double-sided pressure-sensitive adhesive tape 1 described above, the description thereof is omitted here.
  • the adherend with which the disassembly structure which concerns on this technique is provided is the same as the adherend in which the double-sided adhesive tape 1 mentioned above is used, the description is omitted here.
  • Adhesive structure Conventionally, in the adhesive structure in which the first adhesive body and the second adhesive body are bonded, when peeling the first adhesive body or the second adhesive body, using a thermostatic bath or a dryer, Means for heating the entire adhesive structure is employed. In recent years, there has been a tendency to increase the demand for reuse of recycled resources. In electronic devices including an internal power source such as a battery as an adhesive or a cover glass constituting an image display surface, the manufactured battery, cover glass, etc. It is disassembled and collected for each component material. However, in the conventional heating means, the first adhesive body and / or the second adhesive body is damaged by heating, and the first adhesive body and / or the second adhesive body cannot be reused. There was a problem.
  • the present technology is capable of peeling the first adhesive body and / or the second adhesive body without damaging the first adhesive body and / or the second adhesive body.
  • a structure having an adhesive layer for adhering one adhesive and a second adhesive will be described with reference to FIGS.
  • the bonding structure includes a first bonding body 201, a second bonding body 202 bonded to the first bonding body, and an adhesive layer 203 that bonds the first bonding body 201 and the second bonding body 202. And at least.
  • This adhesive structure may include a jig 204 for peeling the adhesive layer 203 from the first adhesive body 201 or the second adhesive body 202 as necessary.
  • First adhesive body 201 and second adhesive body 202 It does not specifically limit as the 1st adhesive body 201 and the 2nd adhesive body 202 which concern on this technique, A well-known adhesive body can be used.
  • a well-known adhesive body can be used as a combination of the first adhesive body 201 and the second adhesive body 202.
  • Adhesive layer 203 The adhesive structure according to the present technology includes an adhesive layer 203 for adhering the first adhesive body 201 and the second adhesive body 202. It does not specifically limit as an adhesive agent for shape
  • the self-disassembling adhesive layer 205 refers to an adhesive layer that peels itself from the first adhesive body 201 and / or the second adhesive body 202, for example, an adhesive layer containing a thermal foaming agent 206. It is done.
  • the thermal foaming agent 206 is not particularly limited, and for example, a known thermal foaming agent can be appropriately selected and used.
  • microencapsulated foaming agents, various inorganic foaming agents, and organic foaming agents can be used.
  • Agents examples of microencapsulated foaming agents are those in which liquefied hydrocarbons are filled in a shell made of polyvinyl chloride, polyvinylidene, etc., and the liquefied carbon hydrogen expands easily by gasification by heating. Is mentioned.
  • representative examples of the inorganic foaming agent include ammonium carbonate, ammonium hydrogen carbonate, sodium hydrogen carbonate, and the like.
  • Representative examples of the organic foaming agent include chlorofluorinated alkanes such as dichloromonofluoromethane; Examples thereof include azo compounds such as isobutyronitrile.
  • the foaming start temperature of the thermal foaming agent 206 is set to be higher than the temperature (hereinafter referred to as “guaranteed temperature”) equal to or higher than the product reliability guarantee condition of the first adhesive body 201 and / or the second adhesive body 202. It is preferable that the foaming start temperature of the thermal foaming agent 13 is such that the thermal foaming agent 206 serves as a heat insulating agent while ensuring the product reliability guarantee conditions of the first adhesive body 201 and / or the second adhesive body 202. Since it is necessary to make it function, it is preferable to set the temperature as low as possible while ensuring a margin with respect to the guaranteed temperature of the adherend. More specifically, it is preferably set higher in the range of 10 to 50 ° C. than the guaranteed temperature of the first adhesive body 201 and / or the second adhesive body 202, more preferably 10 to 30 ° C. Set higher in range.
  • the thermal foaming agent 206 contained in the self-disassembling adhesive layer 205 is foamed, and the adhesive layer 203 itself is the first adhesive body. 201 and / or the second adhesive 202 is peeled off.
  • the method for heating the self-decomposing adhesive layer 205 is not particularly limited, and examples thereof include a method of generating heat by directly energizing using a jig, a method using electromagnetic induction by high frequency, and the like.
  • the adhesive structure according to the present technology may include a jig 204 for heating the self-decomposing adhesive layer 205.
  • the jig 204 is not particularly limited as long as it is a jig that applies heat to the object, and a known jig can be used.
  • Examples of the jig 204 according to the present technology include a tool provided with at least a heating part inserted into the self-decomposing adhesive layer 205 and an internal power source for supplying electric energy to the heating part.
  • the heating unit is made of, for example, a thin rod-like or needle-like metal material, and is configured to be supplied with electrical energy from the internal power source.
  • the heating unit generates heat by electric energy supplied from the internal power source.
  • a metal member that forms such a heating unit it is preferable to use a material having high thermal conductivity, and examples thereof include copper, brass, and aluminum.
  • examples of the structure for heating the heating unit include a structure in which an energized heating material such as a nichrome wire is wound around the heating unit, and a structure in which the heating unit is burned with gas.
  • the tip of the heating part formed in a thin rod shape or needle shape may be configured so as to heat the self-disassembling adhesive layer 205, for example, when heating only the surface of the self-disassembling adhesive layer 205.
  • the tip portion may be formed in a planar shape. Or when inserting and heating a front-end
  • the tip portion is pointed and a heating part is inserted into the self-dismantling adhesive layer 205. Is preferred.
  • the adhesive structure according to the present technology configured as described above, by heating the self-dismantling adhesive layer 205, the thermal foaming agent 206 contained in the self-dismantling adhesive layer 205 foams, and the adhesive layer 203 peels itself from the first adhesive body 201 and / or the second adhesive body 202. Therefore, unlike the conventional case, it is not necessary to heat the entire bonding structure, and the first bonding body 201 and / or the second bonding body 202 is not damaged without damaging the first bonding body 201 and / or the second bonding body 202. Alternatively, the second adhesive 202 can be peeled off. As a result, the first adhesive 201 and / or the second adhesive 202 can be reused.
  • the entire adhesive layer 203 is formed as the self-disassembling adhesive layer 205, but the configuration of the adhesive layer 203 is not limited to this. That is, it is sufficient that the first adhesive body 201 and / or the second adhesive body 202 can be provided with an opportunity to peel the adhesive layer 203 by itself, and as described above, a part of the adhesive layer 203 is removed by the self-disassembly.
  • the adhesive layer 205 can be formed. In such a case, the strength of the adhesive layer 203 as a whole can be improved by using an adhesive other than the self-disassembling adhesive layer 205 having a high hardness.
  • an adhesive other than the self-decomposing adhesive layer 205 as a known adhesive, the entire adhesive layer 203 can be manufactured at low cost.
  • the bonding structure according to the second embodiment is different from the first bonding body according to the first embodiment in the structure of the first bonding body 201.
  • the other configurations are common, description on the other configurations is omitted here. That is, in the bonding structure according to the second embodiment, a jig insertion hole 207 into which the jig 204 is inserted is formed in the first adhesive body 201. All the jig insertion holes 207 are opened toward the adhesive layer 203 which is the self-disassembling adhesive layer 205.
  • the jig 204 is inserted into the jig insertion hole 207, and the adhesive layer 203 (self-decomposing adhesive layer 205) is heated using the jig 204. Can do.
  • the thermal foaming agent 206 contained in the self-disassembling adhesive layer 205 foams, and the adhesive layer 203 peels itself from the first adhesive body 201 and / or the second adhesive body 202. . For this reason, it is not necessary to heat the whole adhesion structure like the past, and it can peel without damaging to the 1st adhesion body 201 and / or the 2nd adhesion body 202.
  • the first adhesive 201 and / or the second adhesive 202 can be reused.
  • the present technology when the present technology is applied as an adhesive structure in an electronic device such as a mobile phone, it may be difficult to heat the self-disassembling adhesive layer 205 from the left and right of the adhesive structure as shown in FIG. In such a case, the self-disassembling adhesive layer 205 can be heated by providing the jig insertion hole 207.
  • the jig insertion hole 207 is formed in the first bonding body 201, and the jig insertion hole 207 corresponds to the first bonding body 201 or the second bonding body 201. If it is formed on at least one of the bodies 202, it does not matter. Further, in the bonding structure shown in FIG. 12, one jig insertion hole 207 is formed in the first bonding body 201, but the number of the jig insertion holes 207 is not limited, and the bonding body 201, A plurality may be formed for 202. Furthermore, in the adhesive structure shown in FIG.
  • the entire adhesive layer 203 is formed as a self-disassembling adhesive layer 205, but the adhesive layer 203 is attached to the first adhesive 201 and / or the second adhesive 202.
  • a part of the adhesive layer 203 continuous with the jig insertion hole 207 may be formed as the self-disassembling adhesive layer 205 as long as it can provide an opportunity to peel off itself.
  • the arrangement of the adhesive layer 203 is different from the arrangement of the adhesive layer according to the first embodiment shown in FIG.
  • the adhesive layers 203 are provided on both end faces of the first adhesive body 201 and both end faces of the second adhesive body 202, and the first adhesive body 201 and The second adhesive 202 is so-called potting bonded.
  • Each adhesive layer 203 is formed as a self-disassembling adhesive layer 205.
  • the thermal foaming agent 206 contained in the self-decomposing adhesive layer 205 is foamed, and the adhesive layer 203 is heated. Is peeled off from the first adhesive body 201 and / or the second adhesive body 202 itself. For this reason, it is not necessary to heat the whole adhesion structure like the past, and it can peel without damaging to the 1st adhesion body 201 and / or the 2nd adhesion body 202. As a result, the first adhesive 201 and / or the second adhesive 202 can be reused.
  • the entire adhesive layer 203 is formed as a self-disassembling adhesive layer 205, but the configuration of the adhesive layer 203 is not limited to this, and the first adhesive 201 In addition, it is only necessary to provide an opportunity for the adhesive layer 203 to be peeled from the second adhesive body 202, and a part of the adhesive layer 203 may be used as the self-disassembling adhesive layer 205.
  • the first bonding body 201 and the second bonding body 202 are so-called potting bonded.
  • the self-disassembling adhesive layer 205 is separated from the first adhesive 201 and the second adhesive 202 with certainty. As shown in FIG. 15, it is preferably disposed on the interface between the first adhesive body 201 and the second adhesive body 202. In such a configuration, the first adhesive body 201 and the second adhesive body 202 can be reliably peeled off. Moreover, the strength of the adhesive layer 203 as a whole can be improved by using an adhesive other than the self-disassembling adhesive layer 205 having a high hardness. In addition, by using an adhesive other than the self-decomposing adhesive layer 205 as a known adhesive, the entire adhesive layer 203 can be manufactured at low cost.
  • the bonding method between the first bonding body 201 and the second bonding body 202 and the structure of the first bonding body 201 are different from the bonding structure shown in FIG.
  • symbol is attached
  • the first bonding body 201 and the second bonding body 202 are bonded via the bonding layer 203 and the self-disassembling bonding layer 205.
  • Adhesive layers 203 are provided on both end faces of the first adhesive body 201 and both end faces of the second adhesive body 202, and the first adhesive body 201 and the second adhesive body 202 are so-called potted. .
  • an adhesive layer 203 is provided on the interface between the first adhesive body 201 and the second adhesive body 202, and the adhesive layer 203 is formed as a self-disassembling adhesive layer 205.
  • a jig insertion hole 207 communicating with the self-decomposing adhesive layer 205 is formed in the first adhesive body 201, and the jig 204 is inserted into the jig insertion hole 207. It has become.
  • the thermal foaming agent 206 contained in the self-decomposing adhesive layer 205 is foamed, and the first The adhesive 201 and the second adhesive 202 can be peeled from each other. For this reason, it is not necessary to heat the whole adhesion structure like the past, and it can peel without damaging to the 1st adhesion body 201 and / or the 2nd adhesion body 202. As a result, the first adhesive 201 and / or the second adhesive 202 can be reused.
  • This technology can also take the following composition.
  • An end surface of the conductive heat generating layer is a double-sided pressure-sensitive adhesive tape protruding from an end surface of at least one adhesive layer.
  • the foaming start temperature of the thermal foaming agent is set higher than the guaranteed temperature of the adherend bonded to the adhesive layer,
  • An electronic device comprising at least an internal power source that drives the electronic device, an adherend that adheres to the internal power source, and a double-sided adhesive tape that adheres the internal power source and the adherend,
  • the double-sided pressure-sensitive adhesive tape is provided between the first pressure-sensitive adhesive layer bonded to the internal power source, the second pressure-sensitive adhesive layer bonded to the adherend, and the first pressure-sensitive adhesive layer and the second pressure-sensitive adhesive layer.
  • An electrically conductive heating layer Either one of the first adhesive layer or the second adhesive layer contains a thermal foaming agent, The electronic device, wherein an end face of the conductive heat generating layer protrudes from an end face of one of the first adhesive layer and the second adhesive layer.
  • the foaming start temperature of the thermal foaming agent contained in the double-sided pressure-sensitive adhesive tape is set higher than the guaranteed temperature of the internal power supply
  • the end face of the conductive heat generating layer projects from the end face of the second adhesive layer, and is disposed on the same plane as the end face of the first adhesive layer.
  • the first adhesive layer is bonded to the inner surface of the internal power source facing the adherend and the outer surface of the internal power source facing the covering covering the internal power source.
  • the electronic device according to any one of (10) The electronic device according to any one of (5) to (9), further including a switching unit that supplies electric energy supplied from the internal power source to the electronic device to the conductive heat generation layer.
  • Double-sided adhesive tape A pair of adherends bonded via the double-sided adhesive tape
  • the double-sided pressure-sensitive adhesive tape comprises a pair of adhesive layers and a conductive heat generating layer provided between the pair of adhesive layers, At least one of the pair of adhesive layers includes a thermal foaming agent, The end face of the conductive heating layer protrudes from the end face of at least one adhesive layer, A disassembly structure in which a pair of adherends are disassembled by heating and foaming the adhesive layer containing the thermal foaming agent by heating an end face of the conductive heat generating layer.
  • An adhesive structure having an adhesive layer that bonds the first adhesive body and the second adhesive body, The adhesive structure has a self-disassembling adhesive layer in contact with at least one of the first adhesive body or the second adhesive body.
  • a jig insertion hole communicating with the self-disassembling adhesive layer is formed in at least one of the first adhesive body or the second adhesive body.

Landscapes

  • Chemical & Material Sciences (AREA)
  • Organic Chemistry (AREA)
  • Engineering & Computer Science (AREA)
  • Materials Engineering (AREA)
  • Health & Medical Sciences (AREA)
  • Chemical Kinetics & Catalysis (AREA)
  • Medicinal Chemistry (AREA)
  • Polymers & Plastics (AREA)
  • Adhesive Tapes (AREA)
  • Adhesives Or Adhesive Processes (AREA)
  • Laminated Bodies (AREA)
PCT/JP2016/062477 2015-07-21 2016-04-20 両面粘着テープ、当該両面粘着テープを備える電子機器、前記両面粘着テープを備えた解体構造、接着構造 Ceased WO2017013914A1 (ja)

Priority Applications (5)

Application Number Priority Date Filing Date Title
US15/554,165 US11306223B2 (en) 2015-07-21 2016-04-20 Double-sided adhesive tape, electronic instrument provided with double-sided adhesive tape, disassembly structure provided with double-sided adhesive tape, and adhered structure
CN202410402673.3A CN118325510A (zh) 2015-07-21 2016-04-20 双面粘合带,具有双面粘合带的电子设备,具有双面粘合带的拆卸结构和粘合结构
JP2017529476A JP6264509B2 (ja) 2015-07-21 2016-04-20 両面粘着テープ、当該両面粘着テープを備える電子機器、前記両面粘着テープを備えた解体構造、接着構造
CN201680012920.2A CN107835844A (zh) 2015-07-21 2016-04-20 双面粘合带,具有双面粘合带的电子设备,具有双面粘合带的拆卸结构和粘合结构
DE112016003292.7T DE112016003292B4 (de) 2015-07-21 2016-04-20 Doppelseitiges Klebeband und Verwendung

Applications Claiming Priority (2)

Application Number Priority Date Filing Date Title
JP2015-144213 2015-07-21
JP2015144213 2015-07-21

Publications (1)

Publication Number Publication Date
WO2017013914A1 true WO2017013914A1 (ja) 2017-01-26

Family

ID=57834286

Family Applications (1)

Application Number Title Priority Date Filing Date
PCT/JP2016/062477 Ceased WO2017013914A1 (ja) 2015-07-21 2016-04-20 両面粘着テープ、当該両面粘着テープを備える電子機器、前記両面粘着テープを備えた解体構造、接着構造

Country Status (5)

Country Link
US (1) US11306223B2 (enExample)
JP (2) JP6264509B2 (enExample)
CN (2) CN118325510A (enExample)
DE (1) DE112016003292B4 (enExample)
WO (1) WO2017013914A1 (enExample)

Cited By (4)

* Cited by examiner, † Cited by third party
Publication number Priority date Publication date Assignee Title
WO2020023138A1 (en) * 2018-07-23 2020-01-30 Microsoft Technology Licensing, Llc Pressure sensitive adhesive with thermally conductive release tab
CN111630698A (zh) * 2017-12-18 2020-09-04 三星Sdi株式会社 终止带及包括其的二次电池
US11611125B2 (en) * 2018-01-17 2023-03-21 Lg Energy Solution, Ltd. Battery module housing having easily reusable, recyclable, and reworkable adhesion structure and battery module comprising same
JP2023095525A (ja) * 2021-12-24 2023-07-06 積水化学工業株式会社 半導体加工用粘着テープ、及び、電子部品の製造方法

Families Citing this family (6)

* Cited by examiner, † Cited by third party
Publication number Priority date Publication date Assignee Title
CN111344874B (zh) * 2017-11-13 2024-10-22 株式会社朝日精细橡胶研究所 热电转换装置
CN109971387B (zh) * 2017-12-28 2021-01-22 清华大学 碳纳米管结构作为双面胶的应用
CN112787033A (zh) * 2021-01-29 2021-05-11 东莞新能德科技有限公司 热减粘保护膜及应用其的电子装置
JP7743867B2 (ja) * 2021-07-09 2025-09-25 Dic株式会社 粘着テープ、物品、及び物品の解体方法
JPWO2024142297A1 (enExample) * 2022-12-27 2024-07-04
EP4663713A1 (en) * 2024-06-13 2025-12-17 Henkel AG & Co. KGaA Bonded structure comprising an thermally debondable adhesive film

Citations (3)

* Cited by examiner, † Cited by third party
Publication number Priority date Publication date Assignee Title
JP2012117041A (ja) * 2010-11-12 2012-06-21 Nitto Denko Corp 粘着剤組成物、粘着剤層、及び、粘着テープ又はシート
JP2013045036A (ja) * 2011-08-26 2013-03-04 Seiko Instruments Inc 粘着ラベル及びラベル発行装置
JP2015074764A (ja) * 2013-10-11 2015-04-20 アキレス株式会社 熱剥離性粘着フィルム

Family Cites Families (17)

* Cited by examiner, † Cited by third party
Publication number Priority date Publication date Assignee Title
SE439599B (sv) * 1981-01-14 1985-06-24 Kema Nord Ab Sett att torka och expandera i vetska dispergerade, termoplastiska mikrosferer innehallande, flyktiga, flytande jesmedel
JPH04198289A (ja) 1990-11-26 1992-07-17 Sekisui Chem Co Ltd 片面または両面接着発泡体テープの製造方法
JP3452972B2 (ja) 1994-04-08 2003-10-06 三福工業株式会社 フッ素ゴム発泡体の製造方法
JPH11293207A (ja) 1998-04-03 1999-10-26 Nitto Denko Corp 加熱消失性粘着シート
JP2001323228A (ja) * 2000-05-15 2001-11-22 Nitto Denko Corp 加熱剥離型粘着シート
JP2004099758A (ja) 2002-09-10 2004-04-02 Nitto Denko Corp 両面粘着テープおよび接着方法
JP2005101094A (ja) 2003-09-22 2005-04-14 Sekisui Chem Co Ltd 表面に回路パターンが形成された基板及び焼結性を有するセラミックグリーンシート及び多層セラミック基板の製造方法
JP4704017B2 (ja) * 2004-12-09 2011-06-15 日東電工株式会社 被着物の加熱剥離方法及び被着物加熱剥離装置
JP2007023113A (ja) 2005-07-14 2007-02-01 Asahi Kasei Chemicals Corp 両面接着フィルム、接着方法及び接着構造体
JP5171425B2 (ja) * 2007-10-22 2013-03-27 日東電工株式会社 加熱発泡型再剥離性アクリル系粘着テープ又はシート、及び剥離方法
JP5173753B2 (ja) 2008-11-11 2013-04-03 日東電工株式会社 解体構造、解体構造を有する電気機器および非電気機器、並びに解体方法
JP5546985B2 (ja) * 2010-07-28 2014-07-09 日東電工株式会社 半導体装置製造用フィルム、半導体装置製造用フィルムの製造方法、及び、半導体装置の製造方法。
JP2013133464A (ja) 2011-12-27 2013-07-08 Nitto Denko Corp ガラス板用粘着シート
JP2013159743A (ja) 2012-02-07 2013-08-19 Nitto Denko Corp 粘着剤積層物の剥離方法およびそれに用いる粘着剤層
US20140287299A1 (en) 2013-03-25 2014-09-25 Apple Inc. Heat-Debonding Adhesives
JP2015034265A (ja) * 2013-08-09 2015-02-19 日東電工株式会社 易解体型両面粘着シート、及びその貼付方法
CN103474596B (zh) 2013-09-16 2016-01-13 惠州Tcl移动通信有限公司 一种移动终端软包电池的固定装置、固定方法及移动终端

Patent Citations (3)

* Cited by examiner, † Cited by third party
Publication number Priority date Publication date Assignee Title
JP2012117041A (ja) * 2010-11-12 2012-06-21 Nitto Denko Corp 粘着剤組成物、粘着剤層、及び、粘着テープ又はシート
JP2013045036A (ja) * 2011-08-26 2013-03-04 Seiko Instruments Inc 粘着ラベル及びラベル発行装置
JP2015074764A (ja) * 2013-10-11 2015-04-20 アキレス株式会社 熱剥離性粘着フィルム

Cited By (6)

* Cited by examiner, † Cited by third party
Publication number Priority date Publication date Assignee Title
CN111630698A (zh) * 2017-12-18 2020-09-04 三星Sdi株式会社 终止带及包括其的二次电池
US11611125B2 (en) * 2018-01-17 2023-03-21 Lg Energy Solution, Ltd. Battery module housing having easily reusable, recyclable, and reworkable adhesion structure and battery module comprising same
US12176504B2 (en) * 2018-01-17 2024-12-24 Lg Energy Solution, Ltd. Battery module housing having easily reusable recyclable, and reworkable adhesion structure and battery module comprising same
WO2020023138A1 (en) * 2018-07-23 2020-01-30 Microsoft Technology Licensing, Llc Pressure sensitive adhesive with thermally conductive release tab
US11084955B2 (en) 2018-07-23 2021-08-10 Microsoft Technology Licensing, Llc Pressure sensitive adhesive with thermally conductive release tab
JP2023095525A (ja) * 2021-12-24 2023-07-06 積水化学工業株式会社 半導体加工用粘着テープ、及び、電子部品の製造方法

Also Published As

Publication number Publication date
JP6973032B2 (ja) 2021-11-24
DE112016003292B4 (de) 2024-03-28
DE112016003292T5 (de) 2018-04-12
JP2018087335A (ja) 2018-06-07
JPWO2017013914A1 (ja) 2017-12-07
JP6264509B2 (ja) 2018-01-24
US11306223B2 (en) 2022-04-19
CN118325510A (zh) 2024-07-12
CN107835844A (zh) 2018-03-23
US20180291237A1 (en) 2018-10-11

Similar Documents

Publication Publication Date Title
JP6264509B2 (ja) 両面粘着テープ、当該両面粘着テープを備える電子機器、前記両面粘着テープを備えた解体構造、接着構造
US20140287299A1 (en) Heat-Debonding Adhesives
US9019710B2 (en) Devices having flexible printed circuits with bent stiffeners
EP3128503A1 (en) Display device, display module and display member
JP5175746B2 (ja) 多層フレキシブル回路基板
JP5173753B2 (ja) 解体構造、解体構造を有する電気機器および非電気機器、並びに解体方法
US20150289358A1 (en) Heat radiation printed circuit board, method of manufacturing the same, backlight unit including the same, and liquid crystal display device
CN109870837B (zh) 显示组件、显示器、终端及显示器拆卸方法
CN109799876B (zh) 终端设备和控制该终端设备的方法
CN103906357A (zh) 显示模组的印刷电路板及其固定方法、显示装置
JP6204020B2 (ja) 熱拡散部材および熱拡散部材を備える電子機器
CN113692130A (zh) 一种fpc结构及其制作方法
KR101156647B1 (ko) 다층 엠시시엘 기판 제조 방법
CN108242517B (zh) 移动终端
CN209676599U (zh) 一种可焊接串联的软性线路板
KR100599741B1 (ko) 플라즈마 디스플레이 장치
WO2020026661A1 (ja) 表示装置及び放熱方法
JP2009246081A (ja) フレキシブル回路基板を用いた端子構造
JP2006173224A (ja) フレキシブルプリント基板
JP2010175867A (ja) Itoヒーター及びitoヒーター付液晶表示装置
JP2005119344A (ja) 車両用インストルメントパネル
JP6008777B2 (ja) 電子部品ユニットの製造方法、電子部品ユニット、及び電子部品ユニットを備えた加熱調理器
KR20060006257A (ko) 열을 발생시키는 전자장치용 그래파이트 방열시트
JP2014154810A (ja) 筺体の接着構造及びそれを用いた情報端末
JPH06230404A (ja) 液晶装置

Legal Events

Date Code Title Description
121 Ep: the epo has been informed by wipo that ep was designated in this application

Ref document number: 16827478

Country of ref document: EP

Kind code of ref document: A1

ENP Entry into the national phase

Ref document number: 2017529476

Country of ref document: JP

Kind code of ref document: A

WWE Wipo information: entry into national phase

Ref document number: 15554165

Country of ref document: US

WWE Wipo information: entry into national phase

Ref document number: 112016003292

Country of ref document: DE

122 Ep: pct application non-entry in european phase

Ref document number: 16827478

Country of ref document: EP

Kind code of ref document: A1