WO2016208521A1 - 多連一体型マニホールドバルブ - Google Patents
多連一体型マニホールドバルブ Download PDFInfo
- Publication number
- WO2016208521A1 WO2016208521A1 PCT/JP2016/068197 JP2016068197W WO2016208521A1 WO 2016208521 A1 WO2016208521 A1 WO 2016208521A1 JP 2016068197 W JP2016068197 W JP 2016068197W WO 2016208521 A1 WO2016208521 A1 WO 2016208521A1
- Authority
- WO
- WIPO (PCT)
- Prior art keywords
- hole
- valve
- manifold
- fluid supply
- fluid
- Prior art date
- Legal status (The legal status is an assumption and is not a legal conclusion. Google has not performed a legal analysis and makes no representation as to the accuracy of the status listed.)
- Ceased
Links
Images
Classifications
-
- F—MECHANICAL ENGINEERING; LIGHTING; HEATING; WEAPONS; BLASTING
- F16—ENGINEERING ELEMENTS AND UNITS; GENERAL MEASURES FOR PRODUCING AND MAINTAINING EFFECTIVE FUNCTIONING OF MACHINES OR INSTALLATIONS; THERMAL INSULATION IN GENERAL
- F16K—VALVES; TAPS; COCKS; ACTUATING-FLOATS; DEVICES FOR VENTING OR AERATING
- F16K11/00—Multiple-way valves, e.g. mixing valves; Pipe fittings incorporating such valves
- F16K11/10—Multiple-way valves, e.g. mixing valves; Pipe fittings incorporating such valves with two or more closure members not moving as a unit
- F16K11/20—Multiple-way valves, e.g. mixing valves; Pipe fittings incorporating such valves with two or more closure members not moving as a unit operated by separate actuating members
- F16K11/22—Multiple-way valves, e.g. mixing valves; Pipe fittings incorporating such valves with two or more closure members not moving as a unit operated by separate actuating members with an actuating member for each valve, e.g. interconnected to form multiple-way valves
-
- F—MECHANICAL ENGINEERING; LIGHTING; HEATING; WEAPONS; BLASTING
- F15—FLUID-PRESSURE ACTUATORS; HYDRAULICS OR PNEUMATICS IN GENERAL
- F15B—SYSTEMS ACTING BY MEANS OF FLUIDS IN GENERAL; FLUID-PRESSURE ACTUATORS, e.g. SERVOMOTORS; DETAILS OF FLUID-PRESSURE SYSTEMS, NOT OTHERWISE PROVIDED FOR
- F15B13/00—Details of servomotor systems ; Valves for servomotor systems
- F15B13/02—Fluid distribution or supply devices characterised by their adaptation to the control of servomotors
- F15B13/06—Fluid distribution or supply devices characterised by their adaptation to the control of servomotors for use with two or more servomotors
- F15B13/08—Assemblies of units, each for the control of a single servomotor only
- F15B13/0803—Modular units
- F15B13/0832—Modular valves
- F15B13/0842—Monoblock type valves, e.g. with multiple valve spools in a common housing
-
- F—MECHANICAL ENGINEERING; LIGHTING; HEATING; WEAPONS; BLASTING
- F15—FLUID-PRESSURE ACTUATORS; HYDRAULICS OR PNEUMATICS IN GENERAL
- F15B—SYSTEMS ACTING BY MEANS OF FLUIDS IN GENERAL; FLUID-PRESSURE ACTUATORS, e.g. SERVOMOTORS; DETAILS OF FLUID-PRESSURE SYSTEMS, NOT OTHERWISE PROVIDED FOR
- F15B13/00—Details of servomotor systems ; Valves for servomotor systems
- F15B13/02—Fluid distribution or supply devices characterised by their adaptation to the control of servomotors
- F15B13/06—Fluid distribution or supply devices characterised by their adaptation to the control of servomotors for use with two or more servomotors
- F15B13/08—Assemblies of units, each for the control of a single servomotor only
- F15B13/0803—Modular units
- F15B13/0807—Manifolds
-
- F—MECHANICAL ENGINEERING; LIGHTING; HEATING; WEAPONS; BLASTING
- F15—FLUID-PRESSURE ACTUATORS; HYDRAULICS OR PNEUMATICS IN GENERAL
- F15B—SYSTEMS ACTING BY MEANS OF FLUIDS IN GENERAL; FLUID-PRESSURE ACTUATORS, e.g. SERVOMOTORS; DETAILS OF FLUID-PRESSURE SYSTEMS, NOT OTHERWISE PROVIDED FOR
- F15B13/00—Details of servomotor systems ; Valves for servomotor systems
- F15B13/02—Fluid distribution or supply devices characterised by their adaptation to the control of servomotors
- F15B13/06—Fluid distribution or supply devices characterised by their adaptation to the control of servomotors for use with two or more servomotors
- F15B13/08—Assemblies of units, each for the control of a single servomotor only
- F15B13/0803—Modular units
- F15B13/0807—Manifolds
- F15B13/0814—Monoblock manifolds
-
- F—MECHANICAL ENGINEERING; LIGHTING; HEATING; WEAPONS; BLASTING
- F15—FLUID-PRESSURE ACTUATORS; HYDRAULICS OR PNEUMATICS IN GENERAL
- F15B—SYSTEMS ACTING BY MEANS OF FLUIDS IN GENERAL; FLUID-PRESSURE ACTUATORS, e.g. SERVOMOTORS; DETAILS OF FLUID-PRESSURE SYSTEMS, NOT OTHERWISE PROVIDED FOR
- F15B13/00—Details of servomotor systems ; Valves for servomotor systems
- F15B13/02—Fluid distribution or supply devices characterised by their adaptation to the control of servomotors
- F15B13/06—Fluid distribution or supply devices characterised by their adaptation to the control of servomotors for use with two or more servomotors
- F15B13/08—Assemblies of units, each for the control of a single servomotor only
- F15B13/0803—Modular units
- F15B13/0807—Manifolds
- F15B13/0817—Multiblock manifolds
-
- F—MECHANICAL ENGINEERING; LIGHTING; HEATING; WEAPONS; BLASTING
- F15—FLUID-PRESSURE ACTUATORS; HYDRAULICS OR PNEUMATICS IN GENERAL
- F15B—SYSTEMS ACTING BY MEANS OF FLUIDS IN GENERAL; FLUID-PRESSURE ACTUATORS, e.g. SERVOMOTORS; DETAILS OF FLUID-PRESSURE SYSTEMS, NOT OTHERWISE PROVIDED FOR
- F15B13/00—Details of servomotor systems ; Valves for servomotor systems
- F15B13/02—Fluid distribution or supply devices characterised by their adaptation to the control of servomotors
- F15B13/06—Fluid distribution or supply devices characterised by their adaptation to the control of servomotors for use with two or more servomotors
- F15B13/08—Assemblies of units, each for the control of a single servomotor only
- F15B13/0803—Modular units
- F15B13/0871—Channels for fluid
-
- F—MECHANICAL ENGINEERING; LIGHTING; HEATING; WEAPONS; BLASTING
- F16—ENGINEERING ELEMENTS AND UNITS; GENERAL MEASURES FOR PRODUCING AND MAINTAINING EFFECTIVE FUNCTIONING OF MACHINES OR INSTALLATIONS; THERMAL INSULATION IN GENERAL
- F16K—VALVES; TAPS; COCKS; ACTUATING-FLOATS; DEVICES FOR VENTING OR AERATING
- F16K11/00—Multiple-way valves, e.g. mixing valves; Pipe fittings incorporating such valves
- F16K11/02—Multiple-way valves, e.g. mixing valves; Pipe fittings incorporating such valves with all movable sealing faces moving as one unit
- F16K11/06—Multiple-way valves, e.g. mixing valves; Pipe fittings incorporating such valves with all movable sealing faces moving as one unit comprising only sliding valves, i.e. sliding closure elements
- F16K11/065—Multiple-way valves, e.g. mixing valves; Pipe fittings incorporating such valves with all movable sealing faces moving as one unit comprising only sliding valves, i.e. sliding closure elements with linearly sliding closure members
- F16K11/07—Multiple-way valves, e.g. mixing valves; Pipe fittings incorporating such valves with all movable sealing faces moving as one unit comprising only sliding valves, i.e. sliding closure elements with linearly sliding closure members with cylindrical slides
-
- F—MECHANICAL ENGINEERING; LIGHTING; HEATING; WEAPONS; BLASTING
- F16—ENGINEERING ELEMENTS AND UNITS; GENERAL MEASURES FOR PRODUCING AND MAINTAINING EFFECTIVE FUNCTIONING OF MACHINES OR INSTALLATIONS; THERMAL INSULATION IN GENERAL
- F16K—VALVES; TAPS; COCKS; ACTUATING-FLOATS; DEVICES FOR VENTING OR AERATING
- F16K27/00—Construction of housing; Use of materials therefor
- F16K27/003—Housing formed from a plurality of the same valve elements
-
- F—MECHANICAL ENGINEERING; LIGHTING; HEATING; WEAPONS; BLASTING
- F16—ENGINEERING ELEMENTS AND UNITS; GENERAL MEASURES FOR PRODUCING AND MAINTAINING EFFECTIVE FUNCTIONING OF MACHINES OR INSTALLATIONS; THERMAL INSULATION IN GENERAL
- F16K—VALVES; TAPS; COCKS; ACTUATING-FLOATS; DEVICES FOR VENTING OR AERATING
- F16K27/00—Construction of housing; Use of materials therefor
- F16K27/04—Construction of housing; Use of materials therefor of sliding valves
-
- F—MECHANICAL ENGINEERING; LIGHTING; HEATING; WEAPONS; BLASTING
- F16—ENGINEERING ELEMENTS AND UNITS; GENERAL MEASURES FOR PRODUCING AND MAINTAINING EFFECTIVE FUNCTIONING OF MACHINES OR INSTALLATIONS; THERMAL INSULATION IN GENERAL
- F16K—VALVES; TAPS; COCKS; ACTUATING-FLOATS; DEVICES FOR VENTING OR AERATING
- F16K27/00—Construction of housing; Use of materials therefor
- F16K27/04—Construction of housing; Use of materials therefor of sliding valves
- F16K27/041—Construction of housing; Use of materials therefor of sliding valves cylindrical slide valves
-
- F—MECHANICAL ENGINEERING; LIGHTING; HEATING; WEAPONS; BLASTING
- F16—ENGINEERING ELEMENTS AND UNITS; GENERAL MEASURES FOR PRODUCING AND MAINTAINING EFFECTIVE FUNCTIONING OF MACHINES OR INSTALLATIONS; THERMAL INSULATION IN GENERAL
- F16K—VALVES; TAPS; COCKS; ACTUATING-FLOATS; DEVICES FOR VENTING OR AERATING
- F16K27/00—Construction of housing; Use of materials therefor
- F16K27/04—Construction of housing; Use of materials therefor of sliding valves
- F16K27/048—Electromagnetically actuated valves
-
- F—MECHANICAL ENGINEERING; LIGHTING; HEATING; WEAPONS; BLASTING
- F16—ENGINEERING ELEMENTS AND UNITS; GENERAL MEASURES FOR PRODUCING AND MAINTAINING EFFECTIVE FUNCTIONING OF MACHINES OR INSTALLATIONS; THERMAL INSULATION IN GENERAL
- F16K—VALVES; TAPS; COCKS; ACTUATING-FLOATS; DEVICES FOR VENTING OR AERATING
- F16K3/00—Gate valves or sliding valves, i.e. cut-off apparatus with closing members having a sliding movement along the seat for opening and closing
- F16K3/30—Details
- F16K3/314—Forms or constructions of slides; Attachment of the slide to the spindle
-
- F—MECHANICAL ENGINEERING; LIGHTING; HEATING; WEAPONS; BLASTING
- F16—ENGINEERING ELEMENTS AND UNITS; GENERAL MEASURES FOR PRODUCING AND MAINTAINING EFFECTIVE FUNCTIONING OF MACHINES OR INSTALLATIONS; THERMAL INSULATION IN GENERAL
- F16K—VALVES; TAPS; COCKS; ACTUATING-FLOATS; DEVICES FOR VENTING OR AERATING
- F16K31/00—Actuating devices; Operating means; Releasing devices
- F16K31/12—Actuating devices; Operating means; Releasing devices actuated by fluid
- F16K31/122—Actuating devices; Operating means; Releasing devices actuated by fluid the fluid acting on a piston
Definitions
- the present invention relates to a multiple integral type manifold valve in which a plurality of valve mechanisms are integrally incorporated in one manifold.
- a plurality of valves are often mounted in a collective state on a movable part such as an industrial robot or an article conveying device.
- the manifold valve is used.
- the conventional manifold valve is quite large and heavy, so that not only a large installation space is required, but also the mechanical and energy burdens on the movable part are large. there were. For this reason, the appearance of a manifold valve that is as small and light as possible is desired from the viewpoint of reducing the mechanical burden on the movable part and saving energy.
- Patent Document 2 discloses a valve system in which a plurality of valve elements are incorporated in one valve body.
- the valve element is mounted in a mounting hole formed in the valve body, which can be said to be smaller and lighter than the manifold valve disclosed in Patent Document 1.
- this valve system forms an oil passage between the valve body and the oil passage forming member by fixing an oil passage forming member separate from the valve body on both sides of the valve body.
- the lid body is overlapped and fixed on the outer surface of one oil passage forming member, and a joint for pipe connection is formed on the lid body, the formation method of the oil passage and the joint is complicated. It is hard to say that it is sufficiently small and lightweight.
- the technical problem of the present invention is to form a multi-unit integrated manifold valve that is smaller and lighter than conventional products by integrating a plurality of valve mechanisms into one manifold.
- the fluid supply hole and the fluid discharge hole are formed of an extruded material penetrating the inside, and the vertical direction which is the penetration direction of the fluid supply hole and the fluid discharge hole,
- a manifold having a lateral direction perpendicular to the direction and a vertical direction perpendicular to both the longitudinal direction and the lateral direction, penetrating the interior of the manifold in the lateral direction, and directly with both the fluid supply hole and the fluid discharge hole
- An output port a spool that is slidably inserted into the valve hole, and that switches a flow path connecting the output port with the fluid supply hole and the fluid discharge hole, and the spool.
- a pilot valve of an electromagnetic type which is mounted individually to one or both ends of each valve hole is provided.
- the fluid supply hole and the fluid discharge hole are formed at different positions in the vertical direction of the manifold, have a noncircular cross-sectional shape, and have a constant hole width in a part of the cross section.
- An elongated hole portion, and the elongated hole portion of the fluid supply hole and the elongated hole portion of the fluid discharge hole extend in opposite directions toward the vertical direction of the manifold, and It is desirable to cross each other from the upside down direction.
- the vertical length of the portion where the elongated hole portion of the fluid supply hole and the fluid discharge hole intersects each valve hole is smaller than the inner diameter of the valve hole, and the elongated hole portion of the fluid supply hole and the fluid discharge hole is An arc-shaped recess having a diameter larger than the inner diameter of the valve hole is formed concentrically with the valve hole at a position intersecting with each valve hole.
- the pilot valve is attached to a side surface of the manifold via an adapter plate, and the adapter plate includes a drive piston that abuts one end of the spool;
- a driving pressure chamber is provided for causing a pilot fluid to act on the driving piston, and the driving pressure chamber is connected to the fluid supply hole via the pilot valve.
- an end plate is attached to the other end of the valve hole in which the pilot valve is attached to only one end, and the other end of the spool is attached to the end plate.
- a return pressure chamber for causing a pilot fluid to act on the return piston, wherein the return piston has a smaller diameter than the drive piston, and the return pressure chamber is It always communicates with the fluid supply hole.
- a plurality of valve holes are formed in one manifold through which a fluid supply hole and a fluid discharge hole pass so as to cross the fluid supply hole and the fluid discharge hole directly, and a spool is inserted into each valve hole.
- a pilot valve or the like for driving the spool is attached to the manifold, it is possible to obtain a multiple integrated manifold valve that is smaller and lighter than the conventional product.
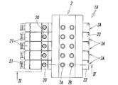
- FIG. 1 is a perspective view showing a first embodiment of a multiple integrated manifold valve according to the present invention, with a part of a valve mechanism disassembled. It is a top view of the completed product of the manifold valve of FIG.
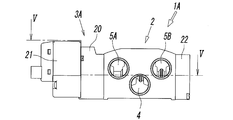
- FIG. 3 is a front view of FIG. 2.
- FIG. 4 is a sectional view taken along line IV-IV in FIG. 2.
- FIG. 5 is a sectional view taken along line VV in FIG. 3.
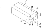
- It is a perspective view of the block body before forming a manifold. It is sectional drawing of FIG. It is a perspective view of the manifold formed by processing the block body of FIG. It is sectional drawing of FIG.
- FIGS. 1 to 5 show a first embodiment of a multi-unit integrated manifold valve according to the present invention.
- the manifold valve 1A of the first embodiment is formed as shown in FIGS.
- a plurality of valve mechanisms 3 ⁇ / b> A for controlling a pressure fluid such as compressed air are integrally incorporated in one manifold 2.
- the illustrated example is a five-unit manifold valve in which five sets of valve mechanisms 3A are incorporated in the manifold 2, and the five sets of valve mechanisms 3A are all single solenoid type five-port valves and have the same configuration. have.
- the manifold 2 is formed by performing necessary processing on a block body 2 ′ as shown in FIGS. 6 and 7, and the block body 2 ′ is made of an extruded metal (for example, an aluminum alloy). Manufactured) is cut to a length necessary to incorporate the required number of valve mechanisms 3A.
- the block body 2 ′ is preliminarily formed with fluid supply holes 4 and fluid discharge holes 5A and 5B. As shown in FIGS. 8 and 9, the block body 2 ′ includes a valve mechanism 3A to be incorporated.
- the manifold 2 is formed by forming a plurality of valve holes 6, output ports 7A and 7B, pilot supply holes 8a and 8b, pipe connection ports 9a and 9b, screw holes 10 and the like corresponding to the number.
- the block body 2 ′ includes a vertical direction (X direction) which is an extrusion direction of the extruded material, a horizontal direction (Y direction) orthogonal to the vertical direction, the vertical direction and the horizontal direction.
- the fluid supply hole 4 for supplying pressure fluid to all the valve mechanisms 3A and all the valves inside the block body 2 '.
- the two fluid discharge holes 5A and 5B for discharging the fluid discharged from the mechanism 3A to the outside penetrate straightly in the vertical direction.
- the fluid supply hole 4 is disposed at the lateral center of the block body 2 ′, and the two fluid discharge holes 5 ⁇ / b> A and 5 ⁇ / b> B are provided on both sides of the fluid supply hole 4. It is arranged.
- the fluid supply hole 4 and the fluid discharge holes 5A and 5B are formed at different positions in the vertical direction of the block body 2 ′, and the fluid supply hole 4 includes the two fluid discharge holes 5A. , 5B, and the two fluid discharge holes 5A, 5B are formed at the same position.
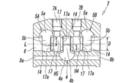
- the fluid supply hole 4 and the fluid discharge holes 5A and 5B are non-circular holes and have main hole portions 4a and 5a and long hole portions 4b and 5b.
- the cross-sectional shapes of the fluid discharge holes 5A and 5B are the same or symmetrical with each other.
- the main hole portion 4a of the fluid supply hole 4 is surrounded by an arc-shaped wall 11a that is a part of the virtual cylindrical surface C1 and two side walls 11b that extend radially from both ends of the arc-shaped wall 11a.
- the elongated hole portion 4b has a constant hole width W4 surrounded by an arcuate wall 11c that is a part of the virtual cylindrical surface C1 and two parallel side walls 11d. This is an elongated slot-like part.
- the arc-shaped wall 11a and the arc-shaped wall 11c are portions located on opposite sides of the virtual cylindrical surface C1 in the diametrical direction. Therefore, the main hole portion 4a and the long hole portion 4b are the virtual cylinder surfaces.
- the straight hole is continuous in the diameter direction of the surface C1, and the hole width W4 of the long hole portion 4b is narrower than the maximum hole width of the main hole portion 4a.
- the main hole portion 5a of the fluid discharge holes 5A and 5B is a portion surrounded by an arcuate wall 12a that is a part of the virtual cylindrical surface C2 and left and right side walls 12b that are connected to both ends of the arcuate wall 12a.
- the elongated hole portion 5b is an elongated elongated hole shape having a certain hole width W5 surrounded by an arcuate wall 12c that is a part of the virtual cylindrical surface C2 and two parallel side walls 12d. It is the part which did.
- the main hole portion 5a and the long hole portion 5b are continuous in the diameter direction of the virtual cylindrical surface C2.
- the arc-shaped wall 12a and the arc-shaped wall 12c are located on opposite sides of the virtual cylindrical surface C2 in the diameter direction.
- the virtual cylindrical surfaces C1 and C2 have the same diameter, the hole width W5 of the long hole portion 5b of the two fluid discharge holes 5A and 5B is equal to each other, and the hole width W4 of the long hole portion 4b of the fluid supply hole 4 Is formed to be equal to or smaller than the hole width W5 of the long hole portion 5b of the fluid discharge holes 5A and 5B.
- the long hole portion 4b of the fluid supply hole 4 and the long hole portion 5b of the fluid discharge holes 5A and 5B extend in the opposite direction and parallel to each other with the inside of the block body 2 'directed vertically. . That is, the long hole portion 4b of the fluid supply hole 4 extends upward in the block body 2 ', and the long hole portion 5b of the fluid discharge holes 5A and 5B extends in the block body 2'.
- the front end (lower end) of the long hole portion 4b of the fluid supply hole 4 and the front end (upper end) of the long hole portion 5b of the fluid discharge holes 5A and 5B extend upward and downward of the block body 2 ′. Occupies almost the same position in the direction.
- a plurality of the valve holes 6 are formed in the manifold 2 so as to penetrate the inside of the manifold 2 in the lateral direction.
- the plurality of valve holes 6 are arranged in parallel with each other at a predetermined interval at the same position in the vertical direction of the manifold 2, and the long hole portions 4 b of the fluid supply holes 4 and the fluid discharge holes 5 A and 5 B are provided.
- the fluid supply hole 4 and the fluid discharge holes 5A and 5B communicate with each other.
- the long hole portion 4b of the fluid supply hole 4 and the long hole portion 5b of the fluid discharge holes 5A and 5B intersect with the valve hole 6 from opposite directions.
- the long hole portion 4b of the fluid supply hole 4 intersects the valve hole 6 from the lower side of the valve hole 6, and the long hole portion 5b of the fluid discharge holes 5A and 5B is connected to the valve hole 6 by the valve. It intersects from the upper side of the hole 6.
- the length H5 in the vertical direction is smaller than the inner diameter D of the valve hole 6. Therefore, the position where the elongated hole portions 4b and 5b intersect with each valve hole 6 is larger than the inner diameter of the valve hole 6.
- the arc-shaped recess 14 is formed concentrically with the valve hole 6.
- valve hole 6 is formed at a position that directly intersects with the fluid supply hole 4 and the fluid discharge holes 5A and 5B, so that the valve hole 6 is formed with the fluid supply hole 4 and the fluid discharge holes 5A and 5B.
- the height of the manifold 2, that is, the width in the vertical direction can be significantly reduced compared to the case where it is formed at a position away from 5B in the vertical direction and communicated with each flow path through the communication hole.
- 1A can be miniaturized. Compared to connecting separately formed manifolds and valves, not only the overall size can be significantly reduced, but also there is no need for gaskets or connecting bolts, resulting in significant weight savings. Can be planned.
- valve hole 6 is formed so as to cross the long hole portions 4b and 5b of the fluid supply hole 4 and the fluid discharge holes 5A and 5B, so that the inside of the valve hole 6 as shown in FIGS.
- the side edge 17a of the valve seat 17 on which each of the seal members 16a-16d rides can be formed on a plane orthogonal to the central axis L of the valve hole 6 when the spool 15 inserted in the valve 15 is switched.
- valve holes 6 are provided.
- the number of valve holes 6 is not limited to five, and may be appropriately increased or decreased according to the number of valve mechanisms 3A to be incorporated. .
- a plurality of the output ports 7 ⁇ / b> A and 7 ⁇ / b> B that individually communicate with the plurality of valve holes 6 are provided.
- two output ports 7A and 7B are arranged for each valve hole 6 so as to be adjacent to the lateral direction of the manifold 2 along the valve hole 6, and one of the first output ports 7A is , Communicating with the valve hole 6 at a position between the fluid supply hole 4 and the first fluid discharge hole 5A, and the other second output port 7B is formed between the fluid supply hole 4 and the second fluid discharge hole 5B. It communicates with the valve hole 6 at a position in between.
- the output ports 7A and 7B may be formed on the lower surface of the manifold 2, or may be formed on both the upper surface and the lower surface. When the output ports 7A and 7B are formed on both the upper surface and the lower surface, the output ports 7A and 7B on one surface are selectively used, and the output ports 7A and 7B on the other surface are plugs or the like. It is blocked.
- the pipe connection ports 9a and 9b formed of circular screw holes for connecting pipes to both ends of the fluid supply hole 4 and the fluid discharge holes 5A and 5B are provided at both ends in the vertical direction of the manifold 2. Is formed concentrically with the virtual cylindrical surfaces C1 and C2, and is configured to be screwed into and connected to the pipe connection ports 9a and 9b. When a pipe is not connected to the pipe connection port 9a or 9b on one end side of the fluid supply hole 4 and the fluid discharge holes 5A and 5B, the pipe connection port 9a or 9b is closed with a plug.
- the inner diameters of the pipe connection ports 9a and 9b are the same as or larger than the diameters of the virtual cylindrical surfaces C1 and C2.
- the pilot supply holes 8 a and 8 b extend laterally in the manifold 2 starting from the fluid supply hole 4, and the tip of one of the first pilot supply holes 8 a is one of the manifolds 2. It opens to the side surface, and the tip of the other second pilot supply hole 8 b opens to the other side surface of the manifold 2.
- the spool 15 is slidably inserted into the valve hole 6 as shown in FIGS.
- a pilot valve 21 is attached to one end side of the valve hole 6 via an adapter plate 20, and an end plate 22 is attached to the other end side of the valve hole 6.
- the spool 15 has a first seal member 16a for opening and closing a flow path connecting the fluid supply hole 4 and the first output port 7A, and a flow path connecting the fluid supply hole 4 and the second output port 7B.
- a second seal member 16b that opens and closes
- a third seal member 16c that opens and closes a flow path connecting the first output port 7A and the first fluid discharge hole 5A, and the second output port 7B and the second fluid discharge. It has the 4th seal member 16d which opens and closes the flow path which connects hole 5B, and the 5th seal member 16e and the 6th seal member 16f which always close the both ends of the valve hole 6.
- the adapter plate 20 is a member having a block shape elongated in the vertical direction of the manifold 2, and has a drive piston 24 and a manual operation mechanism 25, and is screwed into the screw hole 10 on the side surface of the manifold 2.
- the pilot valve 21 is fixed on the outer surface of the adapter plate 20 with an attachment screw 28 screwed into a screw hole 27 of the adapter plate 20.
- the drive piston 24 is disposed in the piston chamber 30 of the adapter plate 20 so as to be slidable in the direction of the axis L via a lip-shaped seal member 31 attached to the outer periphery of the drive piston 24.
- a leg portion 24 a formed on an end surface facing the spool 15 abuts on the end surface of the spool 15, and the back surface of the driving piston 24 faces a driving pressure chamber 32 formed in the piston chamber 30. is doing.
- the driving pressure chamber 32 is operated from the pilot communication hole 33 through the lower half 34b of the operation element hole 34 of the manual operation mechanism 25, the pilot output hole 35, the pilot valve 21, the pilot input hole 36, and the operation of the manual operation mechanism 25.
- the sub-hole 34 is connected to the first pilot supply hole 8 a through the upper half 34 a and the pilot relay hole 37.
- a space 38 between the driving piston 24 and the end face of the spool 15 is open to the atmosphere through a through hole (not shown).
- the pilot valve 21 is a three-port solenoid valve.
- the pilot valve 21 When the pilot valve 21 is energized, the pilot input hole 36 and the pilot output hole 35 communicate with each other, so that the pilot valve 21 is connected to the first pilot supply hole 8a.
- the pilot fluid flows into the driving pressure chamber 32 from the pilot communication hole 33, the driving piston 24 moves rightward as shown in FIG. 4, and the spool 15 is switched to the first position.
- the fluid supply hole 4 and the first output port 7A communicate with each other
- the second output port 7B and the second fluid discharge hole 5B communicate with each other
- the fluid supply hole 4 and the second output port communicate with each other.
- the flow path connecting 7B is blocked by the second seal member 16b, and the flow path connecting the first output port 7A and the first fluid discharge hole 5A is blocked by the third seal member 16c.
- the pilot valve 21 When the pilot valve 21 is de-energized, the pilot fluid in the driving pressure chamber 32 is discharged through the pilot valve 21, so that the spool 15 and the driving piston 24 are provided on the end plate 22. It is pushed by the return piston 40 and moves to the left in FIG. 4 to occupy the return position. Details of this point will be described later.
- the manual operation mechanism 25 realizes the same state as when the pilot valve 21 is energized by manual operation of the operation element 41 at the time of a power failure or maintenance, and the operation element 41 is connected to the operation element hole 34. Is housed in such a manner that it can be pushed down, and is always urged upward by the force of the return spring 42 and normally occupies the non-operating position shown. At this time, the lower half portion 34b and the upper half portion 34a of the operating element hole 34 are blocked by an O-ring 43 attached to the outer periphery of the operating element 41. When the operating element 41 is pushed down from this state, the O-ring 43 moves downward through the pilot communication hole 33, so that the lower half part 34b and the upper half part 34a communicate with each other. The pilot fluid from the pilot supply hole 8a flows directly into the driving pressure chamber 32 from the pilot communication hole 33 through the operation hole 34, and the driving piston 24 operates.
- the end plate 22 attached to the other end side of the valve hole 6 is a block-like member which is vertically long like the adapter plate 20, and is similar to the adapter plate 20 on the side surface of the manifold 2.
- the mounting screw 45 is screwed into the screw hole to be fixed to the manifold 2.
- the return piston 40 is slidably disposed in the direction of the axis L via a lip-shaped seal member 47 attached to the outer periphery thereof.
- a leg portion 40 a formed on the end surface facing the spool 15 contacts the end surface of the spool 15, and the back surface of the return piston 40 faces a return pressure chamber 48 formed in the piston chamber 46.
- the return pressure chamber 48 is always in communication with the second pilot supply hole 8 b of the manifold 2 through a pilot relay hole 49 formed in the end plate 22, and the pilot fluid is always supplied from the fluid supply hole 4. It is like that.
- the space 50 between the return piston 40 and the end face of the spool 15 is open to the atmosphere through a through hole (not shown).
- the return piston 40 has a smaller diameter than the drive piston 24. Therefore, when the pilot valve 21 is energized and the pilot fluid is supplied to the driving pressure chamber 32 and acting on the driving piston 24, the fluid pressure based on the pressure receiving area difference between the pistons 24, 40 is obtained. The spool 15 moves to the switching position shown in FIG. 4 due to the difference in acting force, and maintains that position. When the pilot valve 21 is de-energized, the pilot fluid in the driving pressure chamber 32 is discharged to the outside through the pilot valve 21, so that the spool 15 is driven by the acting force of the return piston 40. 4 is pushed toward the left of 4 and moved to the return position. This state is shown by the second valve mechanism 3A from the bottom in FIG.
- the fluid supply hole 4 and the second output port 7B communicate with each other
- the first output port 7A and the first fluid discharge hole 5A communicate with each other
- the fluid supply hole 4 and the first output port 7A communicate with each other. Is blocked by the first seal member 16a, and the flow path connecting the second output port 7B and the second fluid discharge hole 5B is blocked by the fourth seal member 16d.
- each valve mechanism 3A switches the spool 15 between the first position and the return position by energizing the one pilot valve 21 or canceling the energization, and the communication state of each port. Can be switched.
- adapter plates 20 and pilot valves 21 of all valve mechanisms 3A are attached to one side surface of the manifold 2, and end plates 22 of all valve mechanisms 3A are attached to the other side surface.
- the arrangement of the adapter plate 20, the pilot valve 21, and the end plate 22 may be reversed between a part of the valve mechanisms 3A and the other valve mechanisms 3A.
- the valve hole 6 pilot supply holes 8a, 8b, screw holes 10 in the manifold 20
- the left side surface and the right side surface are identical to each other, and the arrangement of the mounting screw 26 and the pilot relay hole 37 in the adapter plate 20 and the mounting screw 45 in the end plate 22 are configured.
- the pilot relay holes 49 are also arranged in the same manner.
- the manifold valve 1A of the first embodiment is a single solenoid type in which all the valve mechanisms 3A are provided with one pilot valve 21, but like the manifold valve 1B of the second embodiment shown in FIG.
- the single solenoid type valve mechanism 3A and the double solenoid type valve mechanism 3B having two pilot valves 21 may be incorporated in the manifold 2 in a mixed form, or all the valve mechanisms may be It may be a double solenoid type.
- the double solenoid type valve mechanism 3B has pilot valves 21 attached to both lateral sides of the manifold 2 via adapter plates 20, respectively.
- the adapter plate 20 and the pilot valve 21 attached to the side surface of the first and the adapter plates 20 and the pilot valve 21 attached to the other side surface have the same configuration.
- the configuration of the manifold 2 and the spool 15 is substantially the same as that of the first embodiment of FIG. 4, and therefore, the same reference numerals as those of FIG. The description is omitted.
- the double solenoid type valve mechanism 3A is configured to switch the spool 15 by alternately controlling the two pilot valves 21 on and off.
- the double solenoid type valve mechanism 3B ′ incorporated at the upper left of the manifold 2 is a three-position valve having a spool having three switching positions.
- the valve mechanism 3B ′ when the two pilot valves 21 are both off, the spool is returned to the neutral position by a return spring (not shown) provided in the adapter plate 20 ′ of one pilot valve 21. It is formed. Since the configuration of such a three-position valve is known, the description thereof is omitted here.
- the valve mechanisms 3A and 3B other than the valve mechanism 3B ′ are two-position valves whose spools have two switching positions.
- FIGS. 12 and 13 show a third embodiment of a manifold valve according to the present invention.
- the manifold valve 1C of the third embodiment has a fluid supply hole 4 in the manifold 2 and two fluid discharges.
- the holes 5A and 5B are formed so as to occupy higher positions in the vertical direction. Accordingly, in the manifold valve 1C, the long hole portion 4b of the fluid supply hole 4 intersects the valve hole 6 from above the valve hole 6, and the long hole portion 5b of the two fluid discharge holes 5A and 5B is The pilot hole 8a, 8b intersects with the valve hole 6 from the lower side of the valve hole 6 and is formed at a position higher than the valve hole 6 inside the manifold 2. Since the configuration of the third embodiment other than the above is substantially the same as that of the first embodiment, the same reference numerals as those of the first embodiment are given to portions corresponding to the first embodiment. The description is omitted.
- the valve mechanism is a 5-port valve, but the valve mechanism may be a 4-port valve or a 3-port valve.
- the valve mechanism is a 4-port valve, the two fluid discharge holes 5A and 5B are communicated with each other inside the manifold 2, and both ends of the one fluid discharge holes 5A and 5B are closed with plugs. Only the other fluid discharge holes 5A, 5B are used.
- the valve mechanisms 3A and 3B are three-port valves, the fluid discharge hole and the output port are each one.
Landscapes
- Engineering & Computer Science (AREA)
- General Engineering & Computer Science (AREA)
- Mechanical Engineering (AREA)
- Physics & Mathematics (AREA)
- Fluid Mechanics (AREA)
- Electromagnetism (AREA)
- Valve Housings (AREA)
- Multiple-Way Valves (AREA)
- Fluid-Pressure Circuits (AREA)
- Fluid-Driven Valves (AREA)
Priority Applications (7)
| Application Number | Priority Date | Filing Date | Title |
|---|---|---|---|
| CN201680036656.6A CN107709861B (zh) | 2015-06-24 | 2016-06-20 | 多联一体型歧管阀 |
| US15/735,221 US10823299B2 (en) | 2015-06-24 | 2016-06-20 | Integrated multiple valve manifold |
| RU2018102545A RU2708753C2 (ru) | 2015-06-24 | 2016-06-20 | Интегрированный многоклапанный коллектор |
| BR112017028158-9A BR112017028158A2 (pt) | 2015-06-24 | 2016-06-20 | coletor de válvulas múltiplas integrado |
| MX2017016362A MX2017016362A (es) | 2015-06-24 | 2016-06-20 | Colector integrado de multiples valvulas. |
| KR1020177037380A KR102647039B1 (ko) | 2015-06-24 | 2016-06-20 | 다연 일체형 매니폴드 밸브 |
| DE112016002877.6T DE112016002877B4 (de) | 2015-06-24 | 2016-06-20 | Integrierter Mehrfachventilverteiler |
Applications Claiming Priority (2)
| Application Number | Priority Date | Filing Date | Title |
|---|---|---|---|
| JP2015-126841 | 2015-06-24 | ||
| JP2015126841A JP6467711B2 (ja) | 2015-06-24 | 2015-06-24 | 多連一体型マニホールドバルブ |
Publications (1)
| Publication Number | Publication Date |
|---|---|
| WO2016208521A1 true WO2016208521A1 (ja) | 2016-12-29 |
Family
ID=57585678
Family Applications (1)
| Application Number | Title | Priority Date | Filing Date |
|---|---|---|---|
| PCT/JP2016/068197 Ceased WO2016208521A1 (ja) | 2015-06-24 | 2016-06-20 | 多連一体型マニホールドバルブ |
Country Status (10)
| Country | Link |
|---|---|
| US (1) | US10823299B2 (enExample) |
| JP (1) | JP6467711B2 (enExample) |
| KR (1) | KR102647039B1 (enExample) |
| CN (1) | CN107709861B (enExample) |
| BR (1) | BR112017028158A2 (enExample) |
| DE (1) | DE112016002877B4 (enExample) |
| MX (1) | MX2017016362A (enExample) |
| RU (1) | RU2708753C2 (enExample) |
| TW (1) | TWI708026B (enExample) |
| WO (1) | WO2016208521A1 (enExample) |
Cited By (2)
| Publication number | Priority date | Publication date | Assignee | Title |
|---|---|---|---|---|
| IT201700072532A1 (it) * | 2017-06-28 | 2018-12-28 | Metal Work Spa | Elettrovalvola sezionatrice di circuito per un sistema di elettrovalvole e sistema di elettrovalvole comprendente tale elettrovalvola sezionatrice. |
| EP3822523A4 (en) * | 2018-09-07 | 2022-04-27 | SMC Corporation | SPOOL VALVE |
Families Citing this family (24)
| Publication number | Priority date | Publication date | Assignee | Title |
|---|---|---|---|---|
| US10613553B2 (en) * | 2013-07-09 | 2020-04-07 | Deka Products Limited Partnership | Modular valve apparatus and system |
| TWI650500B (zh) * | 2018-04-02 | 2019-02-11 | 奇鼎科技股份有限公司 | 多流道閥塊 |
| CN115628306A (zh) * | 2018-05-23 | 2023-01-20 | 固瑞克明尼苏达有限公司 | 混合歧管和阀密封件组件 |
| JP1653727S (enExample) | 2018-11-22 | 2020-02-25 | ||
| CN109323018A (zh) * | 2018-12-13 | 2019-02-12 | 李海源 | 一种分流阀门 |
| JP1659524S (enExample) * | 2019-06-14 | 2020-05-18 | ||
| JP1659525S (enExample) * | 2019-09-03 | 2020-05-18 | ||
| JP1659421S (enExample) * | 2019-09-03 | 2020-05-18 | ||
| JP7439423B2 (ja) * | 2019-09-09 | 2024-02-28 | Smc株式会社 | サーボバルブ |
| JP7382205B2 (ja) * | 2019-10-28 | 2023-11-16 | 川崎重工業株式会社 | マルチ制御弁ユニット |
| JP7023268B2 (ja) * | 2019-12-06 | 2022-02-21 | 川崎重工業株式会社 | マルチコントロール弁装置 |
| RU197362U1 (ru) * | 2019-12-09 | 2020-04-23 | Акционерное общество "Промышленная группа "Метран" (АО "ПГ "Метран") | Интегральный клапанный блок для подключения датчиков копланарного типа к линиям подачи рабочей среды |
| JP1720711S (ja) * | 2020-07-29 | 2022-07-26 | 電磁弁 | |
| JP1722618S (ja) * | 2020-11-13 | 2022-08-17 | 電磁駆動パイロット弁 | |
| JP1722617S (ja) * | 2020-11-13 | 2022-08-17 | 電磁駆動パイロット弁 | |
| DE102021208493A1 (de) | 2021-08-05 | 2023-02-09 | Festo Se & Co. Kg | Mehrwegeventil |
| US12072020B2 (en) * | 2021-12-15 | 2024-08-27 | Ford Global Technologies, Llc | Unitized valve body having annulus |
| JP7664191B2 (ja) * | 2022-01-25 | 2025-04-17 | Ckd株式会社 | 電磁弁マニホールド |
| DE102022106225A1 (de) * | 2022-03-17 | 2023-09-21 | Festo Se & Co. Kg | Ventilmodulsystem |
| WO2024105551A1 (en) * | 2022-11-14 | 2024-05-23 | Rotex Automation Limited | A modular valve manifold |
| CN118088734A (zh) * | 2022-11-16 | 2024-05-28 | 法雷奥热系统公司 | 阀组件和热管理组件 |
| JP2024143619A (ja) * | 2023-03-30 | 2024-10-11 | ヤンマーホールディングス株式会社 | 油圧制御装置及びこれを備える作業機械 |
| USD1112640S1 (en) | 2024-05-29 | 2026-02-10 | Gilbert Rodriquez | Gas manifold system |
| CN119982971A (zh) * | 2024-09-29 | 2025-05-13 | 西安增材制造国家研究院有限公司 | 一种轻型液压阀体结构及其制造方法 |
Citations (2)
| Publication number | Priority date | Publication date | Assignee | Title |
|---|---|---|---|---|
| JPH0522803U (ja) * | 1991-09-06 | 1993-03-26 | 株式会社トキメツク | マニホールドブロツク |
| JPH09229226A (ja) * | 1996-02-28 | 1997-09-05 | Ckd Corp | 電磁弁マニホールド及び電磁弁マニホールド用配線カバー |
Family Cites Families (36)
| Publication number | Priority date | Publication date | Assignee | Title |
|---|---|---|---|---|
| SU424999A1 (ru) * | 1972-03-13 | 1974-04-25 | В. А. Койро , В. М. Резниченко | МНОГОЗОЛОТНИКОВЫЙ СЕКЦИОННЫЙ РАСПРЕДЕЛИТЕЛЬВ П т ь^(^•It-^ О^-^^чТ^-ЙЦ!ФшД с ^^.v.ui- -1-* |
| DE2244493A1 (de) * | 1972-09-11 | 1974-04-04 | Bosch Gmbh Robert | Wegeventil |
| US3771565A (en) * | 1972-11-06 | 1973-11-13 | Skinner Precision Ind Inc | Fluidic directional control valve assembly |
| US4406307A (en) * | 1981-03-31 | 1983-09-27 | Double A Products Company | Directional valve with spool transfer loop |
| JPH05203076A (ja) * | 1991-05-27 | 1993-08-10 | Koganei:Kk | マニホールドバルブ |
| DE4305608A1 (de) * | 1993-02-24 | 1994-08-25 | Bosch Gmbh Robert | Ventilblock |
| JP2804227B2 (ja) | 1994-01-21 | 1998-09-24 | 株式会社コガネイ | マニホールド電磁弁 |
| US5771918A (en) * | 1994-04-18 | 1998-06-30 | Smc Kabushiki Kaisha | Device for connecting output pipe to valve |
| DE4413657C1 (de) * | 1994-04-20 | 1995-11-02 | Festo Kg | Ventilanordnung |
| JP3437265B2 (ja) * | 1994-06-17 | 2003-08-18 | Smc株式会社 | パイロット形電磁弁の給電装置 |
| JP3486238B2 (ja) * | 1994-09-21 | 2004-01-13 | Smc株式会社 | 切換弁 |
| DE4444024A1 (de) * | 1994-12-10 | 1996-06-13 | Festo Kg | Steuereinrichtung, insbesondere zur Ansteuerung von Ventilen |
| SE9501794L (sv) * | 1995-05-15 | 1996-08-19 | Nordwin Ab | Hydraulisk riktningsventil |
| JPH0942525A (ja) * | 1995-07-26 | 1997-02-14 | Smc Corp | パイロット形切換弁 |
| JP3616475B2 (ja) | 1997-05-23 | 2005-02-02 | 株式会社クボタ | バルブシステム |
| JP4045366B2 (ja) * | 1997-08-11 | 2008-02-13 | Smc株式会社 | 流体圧機器用配管継手 |
| JP4016151B2 (ja) * | 1997-08-14 | 2007-12-05 | Smc株式会社 | 5ポート電磁弁ボディを利用した2ポート電磁弁 |
| JP4072738B2 (ja) * | 1997-08-21 | 2008-04-09 | Smc株式会社 | 5ポート電磁弁ボディを利用した3ポート電磁弁 |
| JP3941025B2 (ja) * | 1998-01-06 | 2007-07-04 | Smc株式会社 | レール取付形流体圧機器 |
| JP2000074246A (ja) * | 1998-08-27 | 2000-03-14 | Ckd Corp | 電磁弁及び電磁弁マニホールド |
| JP3468454B2 (ja) * | 1999-07-12 | 2003-11-17 | Smc株式会社 | 位置検出機能付き切換弁 |
| JP3590772B2 (ja) * | 2001-01-16 | 2004-11-17 | Smc株式会社 | センサ付き電磁弁 |
| ITMI20020338A1 (it) | 2002-02-20 | 2003-08-20 | Camozzi S P A | Gruppo di valvole pneumatiche ad installazione e manutenzione facilitata |
| JP3816020B2 (ja) * | 2002-04-30 | 2006-08-30 | Smc株式会社 | インターロック用バルブ |
| JP4258812B2 (ja) * | 2004-04-22 | 2009-04-30 | Smc株式会社 | 連接形電磁弁 |
| CN100497963C (zh) * | 2005-06-20 | 2009-06-10 | Smc株式会社 | 汇流型电磁阀集合体 |
| JP4919002B2 (ja) * | 2005-06-20 | 2012-04-18 | Smc株式会社 | マニホールド形電磁弁集合体 |
| US8322367B2 (en) * | 2007-10-05 | 2012-12-04 | Hydra-Flex Inc. | Chemical delivery system |
| US7827785B2 (en) * | 2007-12-03 | 2010-11-09 | Deere & Company | Hydraulic system with warm up circuit |
| WO2010051821A1 (en) * | 2008-11-05 | 2010-05-14 | Norgren Gmbh | Modular valve assembly |
| DE102010005229A1 (de) * | 2010-01-21 | 2011-07-28 | Hydac Fluidtechnik GmbH, 66280 | Ventilvorrichtung |
| BR112013006041A2 (pt) * | 2010-10-04 | 2016-06-07 | Subsea Company | válvula lançadeira. |
| JP5505843B2 (ja) * | 2011-04-07 | 2014-05-28 | Smc株式会社 | パイロット式3位置切換弁 |
| JP5991288B2 (ja) * | 2013-08-28 | 2016-09-14 | Smc株式会社 | 残圧排出弁付き5ポート切換弁 |
| JP5938839B2 (ja) * | 2014-02-10 | 2016-06-22 | Smc株式会社 | 電磁パイロット式スプール弁 |
| JP6327418B2 (ja) * | 2014-09-04 | 2018-05-23 | Smc株式会社 | デュアル4ポート電磁弁 |
-
2015
- 2015-06-24 JP JP2015126841A patent/JP6467711B2/ja active Active
-
2016
- 2016-06-16 TW TW105119003A patent/TWI708026B/zh not_active IP Right Cessation
- 2016-06-20 KR KR1020177037380A patent/KR102647039B1/ko active Active
- 2016-06-20 BR BR112017028158-9A patent/BR112017028158A2/pt not_active Application Discontinuation
- 2016-06-20 RU RU2018102545A patent/RU2708753C2/ru active
- 2016-06-20 WO PCT/JP2016/068197 patent/WO2016208521A1/ja not_active Ceased
- 2016-06-20 CN CN201680036656.6A patent/CN107709861B/zh active Active
- 2016-06-20 US US15/735,221 patent/US10823299B2/en active Active
- 2016-06-20 MX MX2017016362A patent/MX2017016362A/es unknown
- 2016-06-20 DE DE112016002877.6T patent/DE112016002877B4/de active Active
Patent Citations (2)
| Publication number | Priority date | Publication date | Assignee | Title |
|---|---|---|---|---|
| JPH0522803U (ja) * | 1991-09-06 | 1993-03-26 | 株式会社トキメツク | マニホールドブロツク |
| JPH09229226A (ja) * | 1996-02-28 | 1997-09-05 | Ckd Corp | 電磁弁マニホールド及び電磁弁マニホールド用配線カバー |
Cited By (3)
| Publication number | Priority date | Publication date | Assignee | Title |
|---|---|---|---|---|
| IT201700072532A1 (it) * | 2017-06-28 | 2018-12-28 | Metal Work Spa | Elettrovalvola sezionatrice di circuito per un sistema di elettrovalvole e sistema di elettrovalvole comprendente tale elettrovalvola sezionatrice. |
| US10753502B2 (en) | 2017-06-28 | 2020-08-25 | Metal Work S.P.A. | Circuit shut-off solenoid valve for a solenoid valve system and solenoid valve system comprising said shut-off solenoid valve |
| EP3822523A4 (en) * | 2018-09-07 | 2022-04-27 | SMC Corporation | SPOOL VALVE |
Also Published As
| Publication number | Publication date |
|---|---|
| JP6467711B2 (ja) | 2019-02-13 |
| US10823299B2 (en) | 2020-11-03 |
| KR20180020176A (ko) | 2018-02-27 |
| DE112016002877T5 (de) | 2018-03-08 |
| RU2018102545A3 (enExample) | 2019-10-21 |
| RU2708753C2 (ru) | 2019-12-11 |
| MX2017016362A (es) | 2018-03-02 |
| KR102647039B1 (ko) | 2024-03-14 |
| BR112017028158A2 (pt) | 2018-08-28 |
| CN107709861A (zh) | 2018-02-16 |
| TWI708026B (zh) | 2020-10-21 |
| JP2017009073A (ja) | 2017-01-12 |
| RU2018102545A (ru) | 2019-07-25 |
| US20180135766A1 (en) | 2018-05-17 |
| TW201713887A (zh) | 2017-04-16 |
| DE112016002877B4 (de) | 2024-08-08 |
| CN107709861B (zh) | 2020-05-01 |
Similar Documents
| Publication | Publication Date | Title |
|---|---|---|
| JP6467711B2 (ja) | 多連一体型マニホールドバルブ | |
| EP0703391B1 (en) | Rail-mounted aggregate valve | |
| KR102601408B1 (ko) | 스풀 밸브 | |
| CN111656021B (zh) | 阀装置和控制方法 | |
| KR100216973B1 (ko) | 파일럿형 변환밸브 | |
| US9062693B2 (en) | Fluid operated actuator | |
| CN113167298B (zh) | 缸驱动装置及流路单元 | |
| JP2001263506A (ja) | マルチウェイバルブ | |
| CN209943015U (zh) | 增压泵 | |
| EP3374679B1 (en) | Multifunctional sanitary valve and method of operating such | |
| JP6345013B2 (ja) | 空気圧シリンダ装置 | |
| CN107023690B (zh) | 换向阀和空调系统 | |
| US20110005623A1 (en) | Hydraulic Valve Device | |
| US9709180B2 (en) | Directional poppet valve | |
| JPWO2020049870A1 (ja) | スプール弁 | |
| CN112443525B (zh) | 控制阀、液压回路、液压设备以及施工机械 | |
| JP6103930B2 (ja) | パワーヘッド組立 | |
| JP2002524697A (ja) | パルス制御された空圧式の4ポート2位置方向制御弁 | |
| JP2020045957A (ja) | 四方切換弁 | |
| US9897115B2 (en) | Hydraulic system | |
| JP2023174496A (ja) | 電磁弁マニホールド | |
| HK1156677B (en) | Valve body for pumps |
Legal Events
| Date | Code | Title | Description |
|---|---|---|---|
| 121 | Ep: the epo has been informed by wipo that ep was designated in this application |
Ref document number: 16814291 Country of ref document: EP Kind code of ref document: A1 |
|
| WWE | Wipo information: entry into national phase |
Ref document number: 15735221 Country of ref document: US |
|
| WWE | Wipo information: entry into national phase |
Ref document number: MX/A/2017/016362 Country of ref document: MX |
|
| ENP | Entry into the national phase |
Ref document number: 20177037380 Country of ref document: KR Kind code of ref document: A |
|
| WWE | Wipo information: entry into national phase |
Ref document number: 112016002877 Country of ref document: DE |
|
| WWE | Wipo information: entry into national phase |
Ref document number: 2018102545 Country of ref document: RU |
|
| REG | Reference to national code |
Ref country code: BR Ref legal event code: B01A Ref document number: 112017028158 Country of ref document: BR |
|
| 122 | Ep: pct application non-entry in european phase |
Ref document number: 16814291 Country of ref document: EP Kind code of ref document: A1 |
|
| ENP | Entry into the national phase |
Ref document number: 112017028158 Country of ref document: BR Kind code of ref document: A2 Effective date: 20171226 |