WO2016103754A1 - セパレータ製造方法及びスリット方法 - Google Patents

セパレータ製造方法及びスリット方法 Download PDF

Info

Publication number
WO2016103754A1
WO2016103754A1 PCT/JP2015/065009 JP2015065009W WO2016103754A1 WO 2016103754 A1 WO2016103754 A1 WO 2016103754A1 JP 2015065009 W JP2015065009 W JP 2015065009W WO 2016103754 A1 WO2016103754 A1 WO 2016103754A1
Authority
WO
WIPO (PCT)
Prior art keywords
separator
slit
roller
separators
slitting
Prior art date
Legal status (The legal status is an assumption and is not a legal conclusion. Google has not performed a legal analysis and makes no representation as to the accuracy of the status listed.)
Ceased
Application number
PCT/JP2015/065009
Other languages
English (en)
French (fr)
Japanese (ja)
Inventor
渡辺 耕一郎
達哉 片岡
浄 野村
Current Assignee (The listed assignees may be inaccurate. Google has not performed a legal analysis and makes no representation or warranty as to the accuracy of the list.)
Sumitomo Chemical Co Ltd
Original Assignee
Sumitomo Chemical Co Ltd
Priority date (The priority date is an assumption and is not a legal conclusion. Google has not performed a legal analysis and makes no representation as to the accuracy of the date listed.)
Filing date
Publication date
Family has litigation
First worldwide family litigation filed litigation Critical https://patents.darts-ip.com/?family=56149801&utm_source=google_patent&utm_medium=platform_link&utm_campaign=public_patent_search&patent=WO2016103754(A1) "Global patent litigation dataset” by Darts-ip is licensed under a Creative Commons Attribution 4.0 International License.
Application filed by Sumitomo Chemical Co Ltd filed Critical Sumitomo Chemical Co Ltd
Priority to JP2015527710A priority Critical patent/JP5951900B1/ja
Priority to CN201580000444.8A priority patent/CN105917491B/zh
Priority to KR1020177005902A priority patent/KR20170089435A/ko
Priority to US14/780,570 priority patent/US9931756B2/en
Priority to KR1020157026468A priority patent/KR101717392B1/ko
Publication of WO2016103754A1 publication Critical patent/WO2016103754A1/ja
Anticipated expiration legal-status Critical
Priority to US15/897,281 priority patent/US10307925B2/en
Ceased legal-status Critical Current

Links

Images

Classifications

    • BPERFORMING OPERATIONS; TRANSPORTING
    • B26HAND CUTTING TOOLS; CUTTING; SEVERING
    • B26DCUTTING; DETAILS COMMON TO MACHINES FOR PERFORATING, PUNCHING, CUTTING-OUT, STAMPING-OUT OR SEVERING
    • B26D1/00Cutting through work characterised by the nature or movement of the cutting member or particular materials not otherwise provided for; Apparatus or machines therefor; Cutting members therefor
    • B26D1/01Cutting through work characterised by the nature or movement of the cutting member or particular materials not otherwise provided for; Apparatus or machines therefor; Cutting members therefor involving a cutting member which does not travel with the work
    • B26D1/02Cutting through work characterised by the nature or movement of the cutting member or particular materials not otherwise provided for; Apparatus or machines therefor; Cutting members therefor involving a cutting member which does not travel with the work having a stationary cutting member
    • BPERFORMING OPERATIONS; TRANSPORTING
    • B26HAND CUTTING TOOLS; CUTTING; SEVERING
    • B26DCUTTING; DETAILS COMMON TO MACHINES FOR PERFORATING, PUNCHING, CUTTING-OUT, STAMPING-OUT OR SEVERING
    • B26D1/00Cutting through work characterised by the nature or movement of the cutting member or particular materials not otherwise provided for; Apparatus or machines therefor; Cutting members therefor
    • B26D1/01Cutting through work characterised by the nature or movement of the cutting member or particular materials not otherwise provided for; Apparatus or machines therefor; Cutting members therefor involving a cutting member which does not travel with the work
    • B26D1/02Cutting through work characterised by the nature or movement of the cutting member or particular materials not otherwise provided for; Apparatus or machines therefor; Cutting members therefor involving a cutting member which does not travel with the work having a stationary cutting member
    • B26D1/025Cutting through work characterised by the nature or movement of the cutting member or particular materials not otherwise provided for; Apparatus or machines therefor; Cutting members therefor involving a cutting member which does not travel with the work having a stationary cutting member for thin material, e.g. for sheets, strips or the like
    • BPERFORMING OPERATIONS; TRANSPORTING
    • B26HAND CUTTING TOOLS; CUTTING; SEVERING
    • B26DCUTTING; DETAILS COMMON TO MACHINES FOR PERFORATING, PUNCHING, CUTTING-OUT, STAMPING-OUT OR SEVERING
    • B26D1/00Cutting through work characterised by the nature or movement of the cutting member or particular materials not otherwise provided for; Apparatus or machines therefor; Cutting members therefor
    • B26D1/01Cutting through work characterised by the nature or movement of the cutting member or particular materials not otherwise provided for; Apparatus or machines therefor; Cutting members therefor involving a cutting member which does not travel with the work
    • B26D1/02Cutting through work characterised by the nature or movement of the cutting member or particular materials not otherwise provided for; Apparatus or machines therefor; Cutting members therefor involving a cutting member which does not travel with the work having a stationary cutting member
    • B26D1/03Cutting through work characterised by the nature or movement of the cutting member or particular materials not otherwise provided for; Apparatus or machines therefor; Cutting members therefor involving a cutting member which does not travel with the work having a stationary cutting member with a plurality of cutting members
    • BPERFORMING OPERATIONS; TRANSPORTING
    • B26HAND CUTTING TOOLS; CUTTING; SEVERING
    • B26DCUTTING; DETAILS COMMON TO MACHINES FOR PERFORATING, PUNCHING, CUTTING-OUT, STAMPING-OUT OR SEVERING
    • B26D1/00Cutting through work characterised by the nature or movement of the cutting member or particular materials not otherwise provided for; Apparatus or machines therefor; Cutting members therefor
    • B26D1/01Cutting through work characterised by the nature or movement of the cutting member or particular materials not otherwise provided for; Apparatus or machines therefor; Cutting members therefor involving a cutting member which does not travel with the work
    • B26D1/02Cutting through work characterised by the nature or movement of the cutting member or particular materials not otherwise provided for; Apparatus or machines therefor; Cutting members therefor involving a cutting member which does not travel with the work having a stationary cutting member
    • B26D1/03Cutting through work characterised by the nature or movement of the cutting member or particular materials not otherwise provided for; Apparatus or machines therefor; Cutting members therefor involving a cutting member which does not travel with the work having a stationary cutting member with a plurality of cutting members
    • B26D1/035Cutting through work characterised by the nature or movement of the cutting member or particular materials not otherwise provided for; Apparatus or machines therefor; Cutting members therefor involving a cutting member which does not travel with the work having a stationary cutting member with a plurality of cutting members for thin material, e.g. for sheets, strips or the like
    • BPERFORMING OPERATIONS; TRANSPORTING
    • B26HAND CUTTING TOOLS; CUTTING; SEVERING
    • B26DCUTTING; DETAILS COMMON TO MACHINES FOR PERFORATING, PUNCHING, CUTTING-OUT, STAMPING-OUT OR SEVERING
    • B26D3/00Cutting work characterised by the nature of the cut made; Apparatus therefor
    • BPERFORMING OPERATIONS; TRANSPORTING
    • B26HAND CUTTING TOOLS; CUTTING; SEVERING
    • B26DCUTTING; DETAILS COMMON TO MACHINES FOR PERFORATING, PUNCHING, CUTTING-OUT, STAMPING-OUT OR SEVERING
    • B26D7/00Details of apparatus for cutting, cutting-out, stamping-out, punching, perforating, or severing by means other than cutting
    • B26D7/18Means for removing cut-out material or waste
    • BPERFORMING OPERATIONS; TRANSPORTING
    • B26HAND CUTTING TOOLS; CUTTING; SEVERING
    • B26DCUTTING; DETAILS COMMON TO MACHINES FOR PERFORATING, PUNCHING, CUTTING-OUT, STAMPING-OUT OR SEVERING
    • B26D7/00Details of apparatus for cutting, cutting-out, stamping-out, punching, perforating, or severing by means other than cutting
    • B26D7/26Means for mounting or adjusting the cutting member; Means for adjusting the stroke of the cutting member
    • B26D7/2614Means for mounting the cutting member
    • BPERFORMING OPERATIONS; TRANSPORTING
    • B65CONVEYING; PACKING; STORING; HANDLING THIN OR FILAMENTARY MATERIAL
    • B65HHANDLING THIN OR FILAMENTARY MATERIAL, e.g. SHEETS, WEBS, CABLES
    • B65H18/00Winding webs
    • B65H18/02Supporting web roll
    • B65H18/021Multiple web roll supports
    • BPERFORMING OPERATIONS; TRANSPORTING
    • B65CONVEYING; PACKING; STORING; HANDLING THIN OR FILAMENTARY MATERIAL
    • B65HHANDLING THIN OR FILAMENTARY MATERIAL, e.g. SHEETS, WEBS, CABLES
    • B65H35/00Delivering articles from cutting or line-perforating machines; Article or web delivery apparatus incorporating cutting or line-perforating devices, e.g. adhesive tape dispensers
    • B65H35/02Delivering articles from cutting or line-perforating machines; Article or web delivery apparatus incorporating cutting or line-perforating devices, e.g. adhesive tape dispensers from or with longitudinal slitters or perforators
    • HELECTRICITY
    • H01ELECTRIC ELEMENTS
    • H01MPROCESSES OR MEANS, e.g. BATTERIES, FOR THE DIRECT CONVERSION OF CHEMICAL ENERGY INTO ELECTRICAL ENERGY
    • H01M10/00Secondary cells; Manufacture thereof
    • H01M10/05Accumulators with non-aqueous electrolyte
    • H01M10/052Li-accumulators
    • H01M10/0525Rocking-chair batteries, i.e. batteries with lithium insertion or intercalation in both electrodes; Lithium-ion batteries
    • HELECTRICITY
    • H01ELECTRIC ELEMENTS
    • H01MPROCESSES OR MEANS, e.g. BATTERIES, FOR THE DIRECT CONVERSION OF CHEMICAL ENERGY INTO ELECTRICAL ENERGY
    • H01M50/00Constructional details or processes of manufacture of the non-active parts of electrochemical cells other than fuel cells, e.g. hybrid cells
    • H01M50/40Separators; Membranes; Diaphragms; Spacing elements inside cells
    • H01M50/403Manufacturing processes of separators, membranes or diaphragms
    • H01M50/406Moulding; Embossing; Cutting
    • HELECTRICITY
    • H01ELECTRIC ELEMENTS
    • H01MPROCESSES OR MEANS, e.g. BATTERIES, FOR THE DIRECT CONVERSION OF CHEMICAL ENERGY INTO ELECTRICAL ENERGY
    • H01M50/00Constructional details or processes of manufacture of the non-active parts of electrochemical cells other than fuel cells, e.g. hybrid cells
    • H01M50/40Separators; Membranes; Diaphragms; Spacing elements inside cells
    • H01M50/409Separators, membranes or diaphragms characterised by the material
    • H01M50/411Organic material
    • H01M50/414Synthetic resins, e.g. thermoplastics or thermosetting resins
    • HELECTRICITY
    • H01ELECTRIC ELEMENTS
    • H01MPROCESSES OR MEANS, e.g. BATTERIES, FOR THE DIRECT CONVERSION OF CHEMICAL ENERGY INTO ELECTRICAL ENERGY
    • H01M50/00Constructional details or processes of manufacture of the non-active parts of electrochemical cells other than fuel cells, e.g. hybrid cells
    • H01M50/40Separators; Membranes; Diaphragms; Spacing elements inside cells
    • H01M50/409Separators, membranes or diaphragms characterised by the material
    • H01M50/449Separators, membranes or diaphragms characterised by the material having a layered structure
    • HELECTRICITY
    • H01ELECTRIC ELEMENTS
    • H01MPROCESSES OR MEANS, e.g. BATTERIES, FOR THE DIRECT CONVERSION OF CHEMICAL ENERGY INTO ELECTRICAL ENERGY
    • H01M50/00Constructional details or processes of manufacture of the non-active parts of electrochemical cells other than fuel cells, e.g. hybrid cells
    • H01M50/40Separators; Membranes; Diaphragms; Spacing elements inside cells
    • H01M50/489Separators, membranes, diaphragms or spacing elements inside the cells, characterised by their physical properties, e.g. swelling degree, hydrophilicity or shut down properties
    • H01M50/491Porosity
    • BPERFORMING OPERATIONS; TRANSPORTING
    • B65CONVEYING; PACKING; STORING; HANDLING THIN OR FILAMENTARY MATERIAL
    • B65HHANDLING THIN OR FILAMENTARY MATERIAL, e.g. SHEETS, WEBS, CABLES
    • B65H2301/00Handling processes for sheets or webs
    • B65H2301/40Type of handling process
    • B65H2301/41Winding, unwinding
    • B65H2301/412Roll
    • B65H2301/4128Multiple rolls
    • B65H2301/41282Multiple rolls coaxially arranged
    • BPERFORMING OPERATIONS; TRANSPORTING
    • B65CONVEYING; PACKING; STORING; HANDLING THIN OR FILAMENTARY MATERIAL
    • B65HHANDLING THIN OR FILAMENTARY MATERIAL, e.g. SHEETS, WEBS, CABLES
    • B65H2301/00Handling processes for sheets or webs
    • B65H2301/40Type of handling process
    • B65H2301/41Winding, unwinding
    • B65H2301/414Winding
    • B65H2301/4148Winding slitting
    • BPERFORMING OPERATIONS; TRANSPORTING
    • B65CONVEYING; PACKING; STORING; HANDLING THIN OR FILAMENTARY MATERIAL
    • B65HHANDLING THIN OR FILAMENTARY MATERIAL, e.g. SHEETS, WEBS, CABLES
    • B65H2801/00Application field
    • B65H2801/72Fuel cell manufacture
    • YGENERAL TAGGING OF NEW TECHNOLOGICAL DEVELOPMENTS; GENERAL TAGGING OF CROSS-SECTIONAL TECHNOLOGIES SPANNING OVER SEVERAL SECTIONS OF THE IPC; TECHNICAL SUBJECTS COVERED BY FORMER USPC CROSS-REFERENCE ART COLLECTIONS [XRACs] AND DIGESTS
    • Y02TECHNOLOGIES OR APPLICATIONS FOR MITIGATION OR ADAPTATION AGAINST CLIMATE CHANGE
    • Y02EREDUCTION OF GREENHOUSE GAS [GHG] EMISSIONS, RELATED TO ENERGY GENERATION, TRANSMISSION OR DISTRIBUTION
    • Y02E60/00Enabling technologies; Technologies with a potential or indirect contribution to GHG emissions mitigation
    • Y02E60/10Energy storage using batteries
    • YGENERAL TAGGING OF NEW TECHNOLOGICAL DEVELOPMENTS; GENERAL TAGGING OF CROSS-SECTIONAL TECHNOLOGIES SPANNING OVER SEVERAL SECTIONS OF THE IPC; TECHNICAL SUBJECTS COVERED BY FORMER USPC CROSS-REFERENCE ART COLLECTIONS [XRACs] AND DIGESTS
    • Y02TECHNOLOGIES OR APPLICATIONS FOR MITIGATION OR ADAPTATION AGAINST CLIMATE CHANGE
    • Y02PCLIMATE CHANGE MITIGATION TECHNOLOGIES IN THE PRODUCTION OR PROCESSING OF GOODS
    • Y02P70/00Climate change mitigation technologies in the production process for final industrial or consumer products
    • Y02P70/50Manufacturing or production processes characterised by the final manufactured product

Definitions

  • the present invention relates to a separator used for a lithium ion secondary battery, and more particularly to a separator manufacturing method and a slit method.
  • JP 2002-273684 A (published on September 25, 2002)”
  • the separator raw material constituted by such a film-like material is porous, if vibration occurs at the time of slitting, an extra force acts on the slit portion, and the separator is torn in an unexpected direction. There was a problem of high fear.
  • An object of the present invention is to provide a separator manufacturing method and a slitting method in which the separator is unlikely to tear.
  • a separator manufacturing method is a separator manufacturing method in which a plurality of separators are formed by slitting the separator raw material in the transport direction of the porous separator raw material, It includes a conveying step of conveying the separator original in contact with the roller, and a slitting step of slitting the separator original at a portion where the separator original contacts the roller.
  • a separator manufacturing method includes a slit process in which a plurality of separators are formed by slitting the separator raw film in a transport direction of the porous separator original, and the slit process.
  • a slitting method is a slitting method for manufacturing a plurality of separators by slitting the separator raw in the transport direction of the porous separator raw, It includes a transporting process for transporting the substrate in a state of being in contact with the roller, and a slitting process for slitting the separator in a state where the separator original is in contact with the roller.
  • a slitting method is formed by a slit process in which the separator raw fabric is slit to form a plurality of separators in the transport direction of the porous separator raw material, and the slit step.
  • the present invention has an effect that it is possible to provide a separator manufacturing method and a slit method in which the separator is unlikely to tear.
  • FIG. 1 is a schematic diagram illustrating a cross-sectional configuration of a lithium ion secondary battery according to Embodiment 1.
  • FIG. It is a schematic diagram which shows the detailed structure of the lithium ion secondary battery shown by FIG.
  • FIG. It is a schematic diagram which shows the other structure of the lithium ion secondary battery shown by FIG.
  • It is a top view which shows the said slit apparatus, the said separator raw fabric, and the said separator.
  • (A) is a side view which shows the structure of the cutting part of the slit apparatus shown by FIG. 4,
  • (b) is the front view.
  • (A) is a schematic diagram for demonstrating the position which slits the said separator raw material
  • (b) is sectional drawing along surface AA shown to (a). It is a front view which shows the structure of the slit apparatus which concerns on Embodiment 2.
  • FIG. It is a schematic diagram for demonstrating the slit position and separation position of the said slit apparatus.
  • Non-aqueous electrolyte secondary batteries represented by lithium ion secondary batteries have high energy density, and are therefore currently used for mobile devices such as personal computers, mobile phones, personal digital assistants, automobiles, airplanes, etc.
  • a battery it is widely used as a stationary battery that contributes to the stable supply of electric power.
  • FIG. 1 is a schematic diagram showing a cross-sectional configuration of a lithium ion secondary battery 1.
  • the lithium ion secondary battery 1 includes a cathode 11, a separator 12, and an anode 13.
  • An external device 2 is connected between the cathode 11 and the anode 13 outside the lithium ion secondary battery 1. Then, electrons move in the direction A when the lithium ion secondary battery 1 is charged, and in the direction B when the lithium ion secondary battery 1 is discharged.
  • the separator 12 is disposed between the cathode 11 that is the positive electrode of the lithium ion secondary battery 1 and the anode 13 that is the negative electrode thereof so as to be sandwiched between them.
  • the separator 12 allows the lithium ions to move between the cathode 11 and the anode 13 while separating them.
  • the separator 12 includes, for example, polyolefin such as polyethylene and polypropylene as its material.
  • FIG. 2 is a schematic diagram showing a detailed configuration of the lithium ion secondary battery 1 shown in FIG. 1, where (a) shows a normal configuration, and (b) shows a temperature rise of the lithium ion secondary battery 1. (C) shows a state when the temperature of the lithium ion secondary battery 1 is rapidly increased.
  • the separator 12 is provided with a large number of holes P.
  • the lithium ions 3 of the lithium ion secondary battery 1 can come and go through the holes P.
  • the lithium ion secondary battery 1 may be heated due to an overcharge of the lithium ion secondary battery 1 or a large current caused by a short circuit of an external device.
  • the separator 12 is melted or softened, and the hole P is closed. Then, the separator 12 contracts. Thereby, since the movement of the lithium ion 3 stops, the above-mentioned temperature rise also stops.
  • the separator 12 when the temperature of the lithium ion secondary battery 1 is rapidly increased, the separator 12 is rapidly contracted. In this case, as shown in FIG. 2C, the separator 12 may be broken. And since the lithium ion 3 leaks from the destroyed separator 12, the movement of the lithium ion 3 does not stop. Therefore, the temperature rise continues.
  • FIG. 3 is a schematic diagram showing another configuration of the lithium ion secondary battery 1 shown in FIG. 1, where (a) shows a normal configuration, and (b) shows that the lithium ion secondary battery 1 is abruptly changed. The state when the temperature is raised is shown.
  • the lithium ion secondary battery 1 may further include a heat resistant layer 4.
  • the heat-resistant layer 4 and the separator 12 form a heat-resistant separator 12a (separator).
  • the heat-resistant layer 4 is laminated on one surface of the separator 12 on the cathode 11 side.
  • the heat-resistant layer 4 may be laminated on one surface of the separator 12 on the anode 13 side, or may be laminated on both surfaces of the separator 12.
  • the heat-resistant layer 4 is also provided with holes similar to the holes P.
  • the lithium ions 3 come and go through the holes P and the holes of the heat-resistant layer 4.
  • the heat resistant layer 4 includes, for example, wholly aromatic polyamide (aramid resin) as a material thereof.
  • the heat-resistant layer 4 assists the separator 12.
  • the shape of is maintained. Therefore, the separator 12 is melted or softened, and the hole P is only blocked. Thereby, since the movement of the lithium ion 3 is stopped, the above-described overdischarge or overcharge is also stopped. Thus, destruction of the separator 12 is suppressed.
  • the manufacture of the heat-resistant separator 12a of the lithium ion secondary battery 1 is not particularly limited, and can be performed using a known method. In the following description, it is assumed that the separator 12 mainly contains polyethylene as its material. However, even when the separator 12 includes other materials, the separator 12 can be manufactured by the same manufacturing process.
  • the separator 12 can be manufactured by the following method.
  • This method includes (1) a kneading step of kneading ultrahigh molecular weight polyethylene and an inorganic filler such as calcium carbonate to obtain a polyethylene resin composition, and (2) a rolling step of forming a film using the polyethylene resin composition. And (3) a removal step of removing the inorganic filler from the film obtained in step (2), and (4) a stretching step of obtaining the separator 12 by stretching the film obtained in step (3). .
  • a large number of micropores are provided in the film by the removing process.
  • the micropores of the film stretched by the stretching process become the above-described holes P.
  • the separator 12 which is a polyethylene microporous film having a predetermined thickness and air permeability is formed.
  • 100 parts by weight of ultrahigh molecular weight polyethylene, 5 to 200 parts by weight of a low molecular weight polyolefin having a weight average molecular weight of 10,000 or less, and 100 to 400 parts by weight of an inorganic filler may be kneaded.
  • the heat-resistant layer 4 is formed on the surface of the separator 12 in the coating process.
  • an aramid / NMP (N-methyl-pyrrolidone) solution (coating solution) is applied to the separator 12 to form the heat-resistant layer 4 which is an aramid heat-resistant layer.
  • the heat-resistant layer 4 may be provided only on one side of the separator 12 or on both sides. Moreover, you may apply the liquid mixture containing fillers, such as an alumina / carboxymethylcellulose, as the heat-resistant layer 4.
  • the method of applying the coating liquid to the separator 12 is not particularly limited as long as it is a method that enables uniform wet coating, and a conventionally known method can be employed.
  • a capillary coating method, a spin coating method, a slit die coating method, a spray coating method, a dip coating method, a roll coating method, a screen printing method, a flexographic printing method, a bar coater method, a gravure coater method, a die coater method, etc. Can do.
  • the thickness of the heat-resistant layer 4 can be controlled by the thickness of the coating wet film and the solid content concentration in the coating solution.
  • a resin film, a metal belt, a drum, or the like can be used as a support for fixing or conveying the separator 12 during coating.
  • separator original fabric 12b As described above, it is possible to manufacture a heat-resistant separator original fabric 12b (hereinafter simply referred to as “separator original fabric 12b”), which is a separator raw material on which the heat-resistant layer 4 is laminated (formation step).
  • the manufactured separator blank 12b is wound around a cylindrical core 53.
  • the object manufactured with the above manufacturing method is not limited to the separator raw fabric 12b. This manufacturing method does not need to include a coating process.
  • an object to be manufactured is a separator raw material corresponding to the separator 12.
  • FIG. 4 is a schematic diagram showing the configuration of the slit device 6 that slits the separator raw 12b for manufacturing the separator 12 provided in the lithium ion secondary battery 1 shown in FIG.
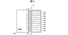
  • FIG. 5 is a plan view showing the slit device 6, the separator original fabric 12b, and the separator 12a.
  • the slit device 6 includes a cylindrical unwinding roller 61 that is rotatably supported.
  • the unwinding roller 61 is fitted with a cylindrical core 53 around which the separator raw fabric 12b is wound.
  • the separator web 12 b is unwound from the core 53 to the path U or L.
  • the unrolled separator blank 12b is conveyed to the roller 77 at a maximum speed of 100 m / min through the rollers 62, 63, 75, and 76, and is wound around the roller 77.
  • the slit device 6 includes a cutting part 7 (slit mechanism).
  • the cutting section 7 forms a plurality of separators 12a by slitting the separator original fabric 12b in the longitudinal direction (conveying direction (MD)) at the portion where the separator original fabric 12b is in contact with the roller 77.
  • the winding rollers 69a and 69b (first and second winding portions) are provided in the slit device 6 so as to have a vertical positional relationship with each other.
  • the plurality of separators 12a slit by the cutting unit 7 are conveyed to a roller 64 (separation mechanism) via a roller 78 (another roller).
  • the odd-numbered separators 12a (a part of the plurality of separators) of the plurality of separators 12a conveyed to the roller 64 and the even-numbered separators 12a (the other part of the plurality of separators) are:
  • the roller 64 separates it up and down and conveys it in different directions.
  • the odd-numbered separators 12a are wound around a plurality of cores 81a fitted on the winding roller 69a via the roller 65.
  • Each of the plurality of cores 81a corresponds to the odd-numbered separator 12a.
  • the even-numbered separator 12a is wound from the roller 64 to the plurality of cores 81b fitted to the winding roller 69b.
  • Each of the plurality of cores 81b corresponds to the even-numbered separator 12a.
  • the plurality of separators 12a When conveying the plurality of separators 12a slit by the cutting unit 7, the plurality of separators 12a are conveyed through one roll 78 to the rollers 64 near the take-up rollers 69a and 69b and separated by the rollers 64. Separating a plurality of separators 12a is preferable to separating the separators 12a by rollers 77 because the transport mechanism is simplified and space can be saved.
  • the odd-numbered separator 12a is wound around the upper winding roller 69a, and the even-numbered separator 12a is wound around the lower winding roller 69b. It is not limited. The odd-numbered separators 12a may be wound around the lower winding roller 69b, and the even-numbered separators 12a may be wound around the upper winding roller 69a.
  • the take-up rollers 69a and 69b can be divided into upper and lower parts, so that the installation area can be reduced as compared with the front and rear parts.
  • the roller 78 When the roller 78 is provided, even if a force due to vibration acts on the separator at a position where the roller 64 is separated, the force due to the vibration is absorbed by the roller 78 and the influence of the force due to the vibration on the cutting portion 7 is suppressed. be able to.
  • separator 12 a may be directly conveyed from the roller 77 to the roller 64 without providing the roller 78.
  • the separator 12a only needs to be separated and conveyed in different directions.
  • the unwinding roller 61, rollers 62, 63, 75, 76, 77, 78, 64, and 65, and the winding roller 69a which are horizontally disposed by rotating the slit device 6 shown in FIG. 4 by 90 degrees, are arranged.
  • 69b may be arranged vertically, and the separator 12a may be separated into left and right and wound around the winding rollers 69a and 69b.
  • FIG. 6A is a side view showing the configuration of the cutting section 7 of the slit device 6 shown in FIG. 4, and FIG. 6B is a front view thereof.
  • the cutting unit 7 includes a holder 71 and a blade 72 (slit blade).
  • the holder 71 is fixed to a housing or the like provided in the slit device 6.
  • the holder 71 holds the blade 72 so that the positional relationship between the blade 72 and the separator original fabric 12b to be conveyed is fixed.
  • the blade 72 slits the separator web 12b with a sharp edge.
  • FIG. 7A is a schematic diagram for explaining a position where the separator raw fabric 12b is slit
  • FIG. 7B is a cross-sectional view taken along a plane AA shown in FIG.
  • the separator web 12b is conveyed along the arrow direction A1 at a position L1, a position L2 (center position), or a position L3 corresponding to a portion (contacted portion) wound around the roller 77.
  • the separator web 12b is slit by the blade 72 (FIG. 6) of the cutting part 7.
  • the position L2 corresponds to an intermediate point on the circumferential surface of the roller 77 corresponding to the midpoint of a straight line connecting the position L7 at the moment when winding starts and the position L6 at the moment when winding ends.
  • the separator web 12b is stretched without wrinkles due to the frictional force generated between the back surface of the separator web 12b and the peripheral surface of the roller 77.
  • the separator web 12b can be slit stably.
  • the separator web 12b is slit at a position L1 downstream of the midpoint position L2. Further, if the separator web 12b is slit at the position L1 downstream of the position L2, the separator web 12b is slit after being transported for a longer distance while being in contact with the roller 77. After being held for a long time, the separator blank 12b is slit. For this reason, the separator original fabric 12b can be slit more stably, and the separator is further less likely to be torn.
  • grooves 77g are formed at positions corresponding to the plurality of blades 72 of the cutting portion 7, respectively.
  • the diameter of the roller 77 is about 80 mm.
  • the width of the separator web 12b in the transverse direction (TD: Transverse ⁇ ⁇ ⁇ ⁇ ⁇ Direction) is, for example, 300 mm to 2000 mm, and the thickness is, for example, 5 ⁇ m to 30 ⁇ m.
  • the pitch of the grooves 77g is, for example, 33 mm to 300 mm, the width of the grooves 77g is, for example, 0.8 mm, and the depth of the grooves 77g is, for example, 5 mm.
  • the winding angle ⁇ 1 of the separator web 12b / separator 12a with respect to the roller 77 is from the viewpoint of stability of holding the separator, suppression of tearing in an unexpected direction, and prevention of wrinkling of the separator. It is preferable that it is 60 degree
  • the winding angle ⁇ 1 is preferably 225 degrees or less from the viewpoint of suppressing the contamination of the separator by chips and the like and from the viewpoint of easy handling of the separator transport path. From the viewpoint of suppressing the vibration of the upstream separator web 12b from being transmitted to the slit position, the winding angle on the upstream side of the slit position by the blade 72 of the cutting portion 7 is preferably 30 degrees or more.
  • the winding angle on the downstream side of the slit position is preferably 30 degrees or more, and 90 from the viewpoint of easy handling of the transport path. Or less.
  • the heat-resistant layer 4 (FIG. 3) is applied on one side of the separator original fabric 12b, it is wound so that the heat-resistant layer 4 is in contact with the roller 77 and the blade of the cutting part 7 is cut from the side opposite to the heat-resistant layer 4 It is preferable to slit by 72. This is because the heat-resistant layer 4 may be peeled off when the blade 72 is slit from the heat-resistant layer 4 side. That is, the surface of the separator original fabric 12b on which the heat resistant layer 4 is formed is in contact with the roller 77, and the surface of the separator original fabric 12b on which the heat resistant layer 4 is not formed. It is preferable to slit the separator web 12b on the roller 77 by a blade 72 provided on the side.
  • the unwinding method by the path U from the core 53 is called an upper unwinding method
  • the unwinding method by the path L is called a lower unwinding method.
  • the separator raw material wound on the core 53 and the separator (product) wound on the cores 81a and 81b are the same, but the lower unwinding method and the upper winding method are the same.
  • the separator (product) is wound up around the cores 81 a and 81 b by turning over the separator raw material wound around the core 53.
  • FIG. 8 is a front view showing the configuration of the slit device 6a according to the second embodiment.
  • the same components as those described above are denoted by the same reference numerals, and detailed description thereof will not be repeated.
  • the separation position (roller 64) of the plurality of separators 12a of the slit device 6 according to the first embodiment is two rolls after the slit position (roller 77).
  • the process from the slit of the separator web 12b to the separation of the plurality of separators 12a is completed on the same roller (roller 77).
  • FIG. 9 is a schematic diagram for explaining the slit position and separation position of the slit device 6a.
  • the separator web 12 b is slit into the plurality of separators 12 a by the blades 72 of the cutting portion 7 at the slit position P ⁇ b> 1 on the roller 77 (separation mechanism).
  • An odd-numbered separator 12a (a part of the plurality of separators) of the plurality of separators 12a is separated from the even-numbered separator 12a at the separation position P2 on the roller 77 and passes through the rollers 65a and 65b. It is wound around a plurality of cores 81a fitted to winding rollers 69a corresponding to the odd-numbered separators 12a.
  • the even-numbered separator 12a (the other part of the plurality of separators) of the plurality of separators 12a is fitted to the winding roller 69b corresponding to the even-numbered separator 12a via the rollers 64a and 64b.
  • Each of the plurality of cores 81b is wound up.
  • the odd-numbered separator 12a is wound around the upper winding roller 69a, and the even-numbered separator 12a is wound around the lower winding roller 69b. It is not limited. The odd-numbered separators 12a may be wound around the lower winding roller 69b, and the even-numbered separators 12a may be wound around the upper winding roller 69a.
  • the angle ⁇ 2 formed by the straight line connecting the center of the roller 77 and the slit position P1 and the straight line connecting the center of the roller 77 and the separation position P2 is about 75 degrees.
  • the winding angle from the starting position P0 where the separator raw 12b starts to wind around the roller 77 to the slit position P1 is defined as ⁇ a.
  • the winding angle from the separation position P2 to the end position P3 where the even-numbered separator 12a finishes winding is defined as ⁇ c.
  • the winding angle ⁇ a is preferably 30 degrees or more from the viewpoint of suppressing the vibration of the upstream separator raw 12b from being transmitted to the slit position.
  • the winding angle ⁇ a is preferably 135 degrees or less from the viewpoint of easy handling of the transport path.
  • the winding angle ⁇ b is determined from the viewpoint of the stability of holding the separator 12a, the viewpoint of suppressing the separator 12a from tearing in an unexpected direction by holding the separator 12a, and the odd-numbered separator 12a on the downstream side. From the viewpoint of suppressing vibration from being transmitted to the slit position, it is preferably 30 degrees or more.
  • the winding angle ⁇ c is preferably 15 degrees or more from the viewpoint of suppressing interference between adjacent separators 12a.
  • the winding angle ( ⁇ b + ⁇ c) is preferably 90 degrees or less from the viewpoint of easy handling of the transport path. Therefore, the winding angle ⁇ b is preferably 75 degrees or less. From the viewpoint of suppressing contamination of the separator 12a due to chips and the like, and from the viewpoint of easy handling of the transport path, the winding angle ( ⁇ a + ⁇ b + ⁇ c) of the separator is preferably 225 degrees or less. In addition, from the viewpoint of preventing wrinkles in the separator, the winding angle ( ⁇ a + ⁇ b + ⁇ c) is preferably 75 degrees or more.
  • the distance from the slit position P1 to the separation position P2 is shorter than when the separation position P2 is provided on a roller downstream of the roller at the slit position P1. .
  • the distance for conveying the plurality of separators 12a slit at the slit position P1 as they are adjacent to each other is shortened. Therefore, for example, when one of the plurality of separators 12a meanders, the possibility of being conveyed while overlapping with the adjacent separator 12a can be suppressed.
  • a separator manufacturing method is a separator manufacturing method in which a plurality of separators are formed by slitting the separator raw in the transport direction of the porous separator raw, and the separator raw is used as a roller.
  • separatator raw material means a wide separator before slitting.
  • the “separator feed direction” corresponds to the longitudinal direction (MD, Machine Direction) of the separator roll, and corresponds to the direction in which the manufacturing object is conveyed in the separator manufacturing process.
  • slitting is performed in a state in which the separator is held by the roller by slitting at a portion where the separator raw material is in contact with the roller. For this reason, since the behavior of the separator in the slit part is stabilized and it is possible to suppress an extra force from acting on the slit part, it is possible to suppress the occurrence of tearing in the unexpected direction of the porous separator. As a result, it is possible to provide a separator manufacturing method in which tearing of the separator is unlikely to occur.
  • the said slit process slits with the slit blade provided in the other side of the said roller with respect to the said separator original fabric
  • the said roller is a position corresponding to the said slit blade. It is preferable to have a groove formed on the surface.
  • separator manufacturing method it is preferable that a part of the plurality of separators and the other part are separated in different directions.
  • a plurality of separators can be wound in different directions, and adjacent winding devices can be provided at positions that do not interfere with each other.
  • a part of the plurality of separators and the other part are separated on the downstream side of the position slit by the slit process.
  • a roller is preferably arranged.
  • the part and the other part of the plurality of separators are separated on the roller.
  • a part of the plurality of separators and the other part are formed by first and second winding portions provided so as to have a vertical positional relationship with each other.
  • the upper and lower parts are preferably wound up separately.
  • the first and second winding parts (winding rollers 69a and 69b) can be arranged separately in the upper and lower parts, so that the installation area can be reduced as compared with the front and rear (horizontal) arrangement. .
  • a heat-resistant layer is formed on one surface of the separator original fabric, and in the slit step, the one surface of the separator original fabric is in contact with the roller, and
  • the separator raw sheet is preferably slit by a slit blade provided on the other side of the separator original sheet where the heat-resistant layer is not formed.
  • the slit process corresponds to a midpoint of a straight line connecting a start position at which the separator raw material starts to wind around the roller and an end position at which the separator finishes winding around the roller. It is preferable that the separator raw material is slit on the end position side of the center position on the peripheral surface of the roller.
  • the separator web since the separator web is slit after being held by the roller for a longer time, the separator web can be slit more stably, and the separator is more unlikely to tear.
  • the separator manufacturing method which concerns on 1 aspect of this invention is a slit process which slits the said separator original fabric in the conveyance direction of a porous separator original fabric, and forms several separators, The several separator formed by the said slit process And a separation step of separating a part of the second portion and the other portion on the downstream side of the position slit by the slit step.
  • a slitting method is a slitting method for manufacturing a plurality of separators by slitting the separator raw in a conveying direction of a porous separator original, and the separator original is in contact with a roller A conveying step of conveying in a state, and a slitting step of slitting the separator original at a portion where the separator original comes into contact with the roller.
  • a slitting method includes a slitting step of slitting the separator raw material in the transport direction of the porous separator raw material to form a plurality of separators, and a plurality of separators formed by the slitting step.
  • the present invention can be used for a separator slitting method and a separator manufacturing method used in a lithium ion secondary battery.

Landscapes

  • Engineering & Computer Science (AREA)
  • Life Sciences & Earth Sciences (AREA)
  • Forests & Forestry (AREA)
  • Mechanical Engineering (AREA)
  • Chemical & Material Sciences (AREA)
  • Chemical Kinetics & Catalysis (AREA)
  • Electrochemistry (AREA)
  • General Chemical & Material Sciences (AREA)
  • Manufacturing & Machinery (AREA)
  • Materials Engineering (AREA)
  • Cell Separators (AREA)
  • Secondary Cells (AREA)
PCT/JP2015/065009 2014-12-25 2015-05-26 セパレータ製造方法及びスリット方法 Ceased WO2016103754A1 (ja)

Priority Applications (6)

Application Number Priority Date Filing Date Title
JP2015527710A JP5951900B1 (ja) 2014-12-25 2015-05-26 リチウムイオン二次電池用セパレータ製造方法及びリチウムイオン二次電池用セパレータスリット方法
CN201580000444.8A CN105917491B (zh) 2014-12-25 2015-05-26 锂离子二次电池用分离器制造方法及锂离子二次电池用分离器切开方法
KR1020177005902A KR20170089435A (ko) 2014-12-25 2015-05-26 세퍼레이터 제조 방법 및 슬릿 방법
US14/780,570 US9931756B2 (en) 2014-12-25 2015-05-26 Method for producing separator and method for slitting
KR1020157026468A KR101717392B1 (ko) 2014-12-25 2015-05-26 세퍼레이터 제조 방법 및 슬릿 방법
US15/897,281 US10307925B2 (en) 2014-12-25 2018-02-15 Method for producing separator and method for slitting separator original sheet

Applications Claiming Priority (2)

Application Number Priority Date Filing Date Title
JP2014-263593 2014-12-25
JP2014263593 2014-12-25

Related Child Applications (2)

Application Number Title Priority Date Filing Date
US14/780,570 A-371-Of-International US9931756B2 (en) 2014-12-25 2015-05-26 Method for producing separator and method for slitting
US15/897,281 Continuation US10307925B2 (en) 2014-12-25 2018-02-15 Method for producing separator and method for slitting separator original sheet

Publications (1)

Publication Number Publication Date
WO2016103754A1 true WO2016103754A1 (ja) 2016-06-30

Family

ID=56149801

Family Applications (1)

Application Number Title Priority Date Filing Date
PCT/JP2015/065009 Ceased WO2016103754A1 (ja) 2014-12-25 2015-05-26 セパレータ製造方法及びスリット方法

Country Status (5)

Country Link
US (2) US9931756B2 (OSRAM)
JP (2) JP5951900B1 (OSRAM)
KR (2) KR20170089435A (OSRAM)
CN (2) CN105917491B (OSRAM)
WO (1) WO2016103754A1 (OSRAM)

Cited By (2)

* Cited by examiner, † Cited by third party
Publication number Priority date Publication date Assignee Title
US20170361283A1 (en) * 2016-06-21 2017-12-21 Sk Innovation Co., Ltd. Ultra large-width and consecutive coating device and method for manufacturing membrane using the same
US12451509B2 (en) * 2022-09-23 2025-10-21 Jiangsu Contemporary Amperex Technology Limited Cutting-off apparatus and battery assembly line production equipment

Families Citing this family (3)

* Cited by examiner, † Cited by third party
Publication number Priority date Publication date Assignee Title
CN110872021A (zh) * 2018-08-30 2020-03-10 广州倬粤动力新能源有限公司 卷绕防干涉方法
JP7623112B2 (ja) * 2020-07-17 2025-01-28 住友化学株式会社 非水電解液二次電池用積層体
CN114335888B (zh) * 2021-12-22 2023-04-28 江苏神力电源科技有限公司 一种储能电池用pe隔膜裁切装置及其使用方法

Citations (5)

* Cited by examiner, † Cited by third party
Publication number Priority date Publication date Assignee Title
JPH11180605A (ja) * 1997-12-22 1999-07-06 Hagiwara Kogyo Kk スリッタ装置押さえロール
JP2002273684A (ja) * 2001-03-14 2002-09-25 Sumitomo Chem Co Ltd 電池セパレーター用樹脂フィルム状物のスリット方法および電池セパレーター用樹脂フィルム状物
JP2005230968A (ja) * 2004-02-19 2005-09-02 Toray Ind Inc 溝付ローラおよびスリッタ
WO2008143005A1 (ja) * 2007-05-10 2008-11-27 Hitachi Maxell, Ltd. 電気化学素子およびその製造方法
JP3164798U (ja) * 2010-10-05 2010-12-16 株式会社不二鉄工所 シート切断装置

Family Cites Families (30)

* Cited by examiner, † Cited by third party
Publication number Priority date Publication date Assignee Title
US4123954A (en) * 1977-09-08 1978-11-07 Kolosov Ivan A Device for longitudinal cutting of thermo-softening materials into strips
JPH0725050B2 (ja) * 1988-12-02 1995-03-22 東レ株式会社 プラスチックフィルム
EP0705785A3 (en) * 1994-10-07 1996-11-13 Eastman Kodak Co Method and device for preventing wrinkles in thin webs
US5667911A (en) * 1994-11-17 1997-09-16 Hoechst Celanese Corporation Methods of making cross-ply microporous membrane battery separator, and the battery separators made thereby
DE69932364T2 (de) * 1998-10-14 2006-11-16 FUJI PHOTO FILM CO., LTD., Minamiashigara Bahnverarbeitungssystem
JP2002037491A (ja) 2000-07-21 2002-02-06 Nakamura Slitter Co Ltd スリッタの巻取装置
JP2002298924A (ja) * 2001-03-30 2002-10-11 Toray Eng Co Ltd 二次電池および二次電池製造方法ならびに二次電池製造装置
JP2003080489A (ja) * 2001-09-07 2003-03-18 Sony Corp テープ裁断機
JP2005066796A (ja) * 2003-08-27 2005-03-17 Konica Minolta Medical & Graphic Inc 広幅帯状感光材料の裁断方法及び広幅帯状感光材料用裁断装置
TW200616782A (en) * 2004-07-12 2006-06-01 Sumitomo Chemical Co Method for producing thermoplastic resin laminated sheet
CN100367559C (zh) * 2004-09-03 2008-02-06 松下电器产业株式会社 锂离子二次电池
US20060225831A1 (en) * 2005-04-08 2006-10-12 Herong Lei Process for forming polarizer plate
CN101495552B (zh) * 2006-07-25 2012-02-08 旭化成电子材料株式会社 聚烯烃制微多孔膜卷绕物及其制造方法
JP5183342B2 (ja) * 2008-07-25 2013-04-17 株式会社Ihi 固体高分子型燃料電池用セパレータ製造方法及び設備
WO2010119527A1 (ja) 2009-04-15 2010-10-21 株式会社西村製作所 スリッタ
JP5301387B2 (ja) * 2009-08-06 2013-09-25 新明和工業株式会社 プリプレグテープの切断方法及びスリッタ装置
JP2011148035A (ja) 2010-01-21 2011-08-04 Hitachi Maxell Ltd スリット装置及びこれを用いた磁気テープの製造方法
JP2011159434A (ja) * 2010-01-29 2011-08-18 Toyota Motor Corp セパレータとその製造方法
JP5158984B2 (ja) 2010-03-02 2013-03-06 株式会社西村製作所 巻取装置
JP5827456B2 (ja) 2010-03-24 2015-12-02 住友化学株式会社 スリッター機
JP2011212773A (ja) * 2010-03-31 2011-10-27 Fujifilm Corp 被裁断物の裁断装置及びインクジェット用紙の製造装置。
WO2013080701A1 (ja) 2011-12-02 2013-06-06 三菱樹脂株式会社 積層多孔フィルムロール及びその製造方法
KR20140107256A (ko) 2011-12-27 2014-09-04 도레이 카부시키가이샤 미다공 플라스틱 필름롤의 제조 장치 및 제조 방법
JP2013212673A (ja) * 2012-04-04 2013-10-17 Japan Steel Works Ltd:The セパレータフィルムの湿式製造装置及び方法
JP5742784B2 (ja) * 2012-05-21 2015-07-01 トヨタ自動車株式会社 塗工装置、塗装済材の製造方法、耐熱皮膜付セパレータ原反の製造方法、耐熱皮膜付セパレータの製造方法及び電池の製造方法
CN102658992B (zh) * 2012-05-23 2014-12-03 深圳市赢合科技股份有限公司 一种隔膜袋的输送分切装置
JP5980578B2 (ja) * 2012-06-05 2016-08-31 株式会社ヒラノテクシード ウエブの製造装置及びその製造方法
CN102962858B (zh) * 2012-10-25 2015-07-08 东莞市鸿宝锂电科技有限公司 一种锂电池隔膜滚切机构
ITMI20130092A1 (it) * 2013-01-23 2014-07-24 Mobert Srl Dispositivo e metodo per l'avvolgimento di una pluralita' di rotoli di sacchi pretagliati su un unico asse
JP2014200875A (ja) 2013-04-03 2014-10-27 日立化成株式会社 樹脂フィルムのスリット加工方法

Patent Citations (5)

* Cited by examiner, † Cited by third party
Publication number Priority date Publication date Assignee Title
JPH11180605A (ja) * 1997-12-22 1999-07-06 Hagiwara Kogyo Kk スリッタ装置押さえロール
JP2002273684A (ja) * 2001-03-14 2002-09-25 Sumitomo Chem Co Ltd 電池セパレーター用樹脂フィルム状物のスリット方法および電池セパレーター用樹脂フィルム状物
JP2005230968A (ja) * 2004-02-19 2005-09-02 Toray Ind Inc 溝付ローラおよびスリッタ
WO2008143005A1 (ja) * 2007-05-10 2008-11-27 Hitachi Maxell, Ltd. 電気化学素子およびその製造方法
JP3164798U (ja) * 2010-10-05 2010-12-16 株式会社不二鉄工所 シート切断装置

Cited By (3)

* Cited by examiner, † Cited by third party
Publication number Priority date Publication date Assignee Title
US20170361283A1 (en) * 2016-06-21 2017-12-21 Sk Innovation Co., Ltd. Ultra large-width and consecutive coating device and method for manufacturing membrane using the same
US11020710B2 (en) * 2016-06-21 2021-06-01 Sk Innovation Co., Ltd. Ultra large-width and consecutive coating device and method for manufacturing membrane using the same
US12451509B2 (en) * 2022-09-23 2025-10-21 Jiangsu Contemporary Amperex Technology Limited Cutting-off apparatus and battery assembly line production equipment

Also Published As

Publication number Publication date
US10307925B2 (en) 2019-06-04
KR20160098026A (ko) 2016-08-18
CN105917491A (zh) 2016-08-31
JPWO2016103754A1 (ja) 2017-04-27
KR101717392B1 (ko) 2017-03-16
JP5951900B1 (ja) 2016-07-13
JP2016157704A (ja) 2016-09-01
JP6499997B2 (ja) 2019-04-10
CN109659472B (zh) 2021-07-30
CN109659472A (zh) 2019-04-19
CN105917491B (zh) 2019-01-15
US20180169881A1 (en) 2018-06-21
KR20170089435A (ko) 2017-08-03
US20160325446A1 (en) 2016-11-10
US9931756B2 (en) 2018-04-03

Similar Documents

Publication Publication Date Title
JP6059390B2 (ja) セパレータ捲回体の製造方法およびセパレータ捲回体の製造装置
JP6499997B2 (ja) リチウムイオン二次電池用セパレータ製造方法及びリチウムイオン二次電池用セパレータスリット方法
US10714729B2 (en) Core and separator roll
JP5885888B1 (ja) セパレータ製造方法及びスリット方法
KR101717004B1 (ko) 세퍼레이터 제조 방법 및 슬릿 방법
JP5886480B1 (ja) スリット装置及びセパレータ捲回体の製造方法
KR20170056408A (ko) 세퍼레이터의 제조 방법 및 세퍼레이터의 제조 장치
JP6618951B2 (ja) セパレータ巻芯及びセパレータ捲回体
JP2016124100A (ja) スリット装置及びセパレータ捲回体の製造方法
KR20170100073A (ko) 슬릿 장치 및 세퍼레이터 권회체의 제조 방법
JP6549192B2 (ja) 巻芯、セパレータ捲回体

Legal Events

Date Code Title Description
ENP Entry into the national phase

Ref document number: 2015527710

Country of ref document: JP

Kind code of ref document: A

ENP Entry into the national phase

Ref document number: 20157026468

Country of ref document: KR

Kind code of ref document: A

WWE Wipo information: entry into national phase

Ref document number: 14780570

Country of ref document: US

121 Ep: the epo has been informed by wipo that ep was designated in this application

Ref document number: 15872323

Country of ref document: EP

Kind code of ref document: A1

NENP Non-entry into the national phase

Ref country code: DE

122 Ep: pct application non-entry in european phase

Ref document number: 15872323

Country of ref document: EP

Kind code of ref document: A1