WO2016098550A1 - シートパッドおよびシートパッドの製造方法 - Google Patents

シートパッドおよびシートパッドの製造方法 Download PDF

Info

Publication number
WO2016098550A1
WO2016098550A1 PCT/JP2015/083144 JP2015083144W WO2016098550A1 WO 2016098550 A1 WO2016098550 A1 WO 2016098550A1 JP 2015083144 W JP2015083144 W JP 2015083144W WO 2016098550 A1 WO2016098550 A1 WO 2016098550A1
Authority
WO
WIPO (PCT)
Prior art keywords
ventilation member
seat pad
pad
seat
mold
Prior art date
Legal status (The legal status is an assumption and is not a legal conclusion. Google has not performed a legal analysis and makes no representation as to the accuracy of the status listed.)
Ceased
Application number
PCT/JP2015/083144
Other languages
English (en)
French (fr)
Japanese (ja)
Inventor
戸畑 秀夫
淳平 吉川
潤 高野
和男 野口
健司 熊谷
Current Assignee (The listed assignees may be inaccurate. Google has not performed a legal analysis and makes no representation or warranty as to the accuracy of the list.)
Bridgestone Corp
Tachi S Co Ltd
Original Assignee
Bridgestone Corp
Tachi S Co Ltd
Priority date (The priority date is an assumption and is not a legal conclusion. Google has not performed a legal analysis and makes no representation as to the accuracy of the date listed.)
Filing date
Publication date
Application filed by Bridgestone Corp, Tachi S Co Ltd filed Critical Bridgestone Corp
Priority to CN201580068308.2A priority Critical patent/CN106998921B/zh
Priority to US15/536,053 priority patent/US10470577B2/en
Priority to EP15869758.1A priority patent/EP3235404B1/en
Publication of WO2016098550A1 publication Critical patent/WO2016098550A1/ja
Anticipated expiration legal-status Critical
Ceased legal-status Critical Current

Links

Images

Classifications

    • AHUMAN NECESSITIES
    • A47FURNITURE; DOMESTIC ARTICLES OR APPLIANCES; COFFEE MILLS; SPICE MILLS; SUCTION CLEANERS IN GENERAL
    • A47CCHAIRS; SOFAS; BEDS
    • A47C7/00Parts, details, or accessories of chairs or stools
    • A47C7/62Accessories for chairs
    • A47C7/72Adaptations for incorporating lamps, radio sets, bars, telephones, ventilation, heating or cooling arrangements or the like
    • A47C7/74Adaptations for incorporating lamps, radio sets, bars, telephones, ventilation, heating or cooling arrangements or the like for ventilation, heating or cooling
    • AHUMAN NECESSITIES
    • A47FURNITURE; DOMESTIC ARTICLES OR APPLIANCES; COFFEE MILLS; SPICE MILLS; SUCTION CLEANERS IN GENERAL
    • A47CCHAIRS; SOFAS; BEDS
    • A47C27/00Spring, stuffed or fluid mattresses or cushions specially adapted for chairs, beds or sofas
    • A47C27/14Spring, stuffed or fluid mattresses or cushions specially adapted for chairs, beds or sofas with foamed material inlays
    • BPERFORMING OPERATIONS; TRANSPORTING
    • B29WORKING OF PLASTICS; WORKING OF SUBSTANCES IN A PLASTIC STATE IN GENERAL
    • B29CSHAPING OR JOINING OF PLASTICS; SHAPING OF MATERIAL IN A PLASTIC STATE, NOT OTHERWISE PROVIDED FOR; AFTER-TREATMENT OF THE SHAPED PRODUCTS, e.g. REPAIRING
    • B29C43/00Compression moulding, i.e. applying external pressure to flow the moulding material; Apparatus therefor
    • B29C43/02Compression moulding, i.e. applying external pressure to flow the moulding material; Apparatus therefor of articles of definite length, i.e. discrete articles
    • B29C43/18Compression moulding, i.e. applying external pressure to flow the moulding material; Apparatus therefor of articles of definite length, i.e. discrete articles incorporating preformed parts or layers, e.g. compression moulding around inserts or for coating articles
    • BPERFORMING OPERATIONS; TRANSPORTING
    • B29WORKING OF PLASTICS; WORKING OF SUBSTANCES IN A PLASTIC STATE IN GENERAL
    • B29CSHAPING OR JOINING OF PLASTICS; SHAPING OF MATERIAL IN A PLASTIC STATE, NOT OTHERWISE PROVIDED FOR; AFTER-TREATMENT OF THE SHAPED PRODUCTS, e.g. REPAIRING
    • B29C44/00Shaping by internal pressure generated in the material, e.g. swelling or foaming ; Producing porous or cellular expanded plastics articles
    • B29C44/02Shaping by internal pressure generated in the material, e.g. swelling or foaming ; Producing porous or cellular expanded plastics articles for articles of definite length, i.e. discrete articles
    • B29C44/12Incorporating or moulding on preformed parts, e.g. inserts or reinforcements
    • B29C44/1271Incorporating or moulding on preformed parts, e.g. inserts or reinforcements the preformed parts being partially covered
    • BPERFORMING OPERATIONS; TRANSPORTING
    • B60VEHICLES IN GENERAL
    • B60NSEATS SPECIALLY ADAPTED FOR VEHICLES; VEHICLE PASSENGER ACCOMMODATION NOT OTHERWISE PROVIDED FOR
    • B60N2/00Seats specially adapted for vehicles; Arrangement or mounting of seats in vehicles
    • B60N2/56Heating or ventilating devices
    • B60N2/5607Heating or ventilating devices characterised by convection
    • B60N2/5621Heating or ventilating devices characterised by convection by air
    • B60N2/5642Heating or ventilating devices characterised by convection by air with circulation of air through a layer inside the seat
    • BPERFORMING OPERATIONS; TRANSPORTING
    • B60VEHICLES IN GENERAL
    • B60NSEATS SPECIALLY ADAPTED FOR VEHICLES; VEHICLE PASSENGER ACCOMMODATION NOT OTHERWISE PROVIDED FOR
    • B60N2/00Seats specially adapted for vehicles; Arrangement or mounting of seats in vehicles
    • B60N2/56Heating or ventilating devices
    • B60N2/5607Heating or ventilating devices characterised by convection
    • B60N2/5621Heating or ventilating devices characterised by convection by air
    • B60N2/5657Heating or ventilating devices characterised by convection by air blown towards the seat surface
    • BPERFORMING OPERATIONS; TRANSPORTING
    • B60VEHICLES IN GENERAL
    • B60NSEATS SPECIALLY ADAPTED FOR VEHICLES; VEHICLE PASSENGER ACCOMMODATION NOT OTHERWISE PROVIDED FOR
    • B60N2/00Seats specially adapted for vehicles; Arrangement or mounting of seats in vehicles
    • B60N2/56Heating or ventilating devices
    • B60N2/5607Heating or ventilating devices characterised by convection
    • B60N2/5621Heating or ventilating devices characterised by convection by air
    • B60N2/5664Heating or ventilating devices characterised by convection by air with unforced air circulation, i.e. not using a fan or the like
    • BPERFORMING OPERATIONS; TRANSPORTING
    • B29WORKING OF PLASTICS; WORKING OF SUBSTANCES IN A PLASTIC STATE IN GENERAL
    • B29KINDEXING SCHEME ASSOCIATED WITH SUBCLASSES B29B, B29C OR B29D, RELATING TO MOULDING MATERIALS OR TO MATERIALS FOR MOULDS, REINFORCEMENTS, FILLERS OR PREFORMED PARTS, e.g. INSERTS
    • B29K2023/00Use of polyalkenes or derivatives thereof as moulding material
    • B29K2023/10Polymers of propylene
    • B29K2023/12PP, i.e. polypropylene
    • BPERFORMING OPERATIONS; TRANSPORTING
    • B29WORKING OF PLASTICS; WORKING OF SUBSTANCES IN A PLASTIC STATE IN GENERAL
    • B29KINDEXING SCHEME ASSOCIATED WITH SUBCLASSES B29B, B29C OR B29D, RELATING TO MOULDING MATERIALS OR TO MATERIALS FOR MOULDS, REINFORCEMENTS, FILLERS OR PREFORMED PARTS, e.g. INSERTS
    • B29K2067/00Use of polyesters or derivatives thereof, as moulding material
    • B29K2067/003PET, i.e. poylethylene terephthalate
    • BPERFORMING OPERATIONS; TRANSPORTING
    • B29WORKING OF PLASTICS; WORKING OF SUBSTANCES IN A PLASTIC STATE IN GENERAL
    • B29KINDEXING SCHEME ASSOCIATED WITH SUBCLASSES B29B, B29C OR B29D, RELATING TO MOULDING MATERIALS OR TO MATERIALS FOR MOULDS, REINFORCEMENTS, FILLERS OR PREFORMED PARTS, e.g. INSERTS
    • B29K2105/00Condition, form or state of moulded material or of the material to be shaped
    • B29K2105/04Condition, form or state of moulded material or of the material to be shaped cellular or porous
    • BPERFORMING OPERATIONS; TRANSPORTING
    • B29WORKING OF PLASTICS; WORKING OF SUBSTANCES IN A PLASTIC STATE IN GENERAL
    • B29KINDEXING SCHEME ASSOCIATED WITH SUBCLASSES B29B, B29C OR B29D, RELATING TO MOULDING MATERIALS OR TO MATERIALS FOR MOULDS, REINFORCEMENTS, FILLERS OR PREFORMED PARTS, e.g. INSERTS
    • B29K2995/00Properties of moulding materials, reinforcements, fillers, preformed parts or moulds
    • B29K2995/0037Other properties
    • B29K2995/0065Permeability to gases
    • BPERFORMING OPERATIONS; TRANSPORTING
    • B29WORKING OF PLASTICS; WORKING OF SUBSTANCES IN A PLASTIC STATE IN GENERAL
    • B29LINDEXING SCHEME ASSOCIATED WITH SUBCLASS B29C, RELATING TO PARTICULAR ARTICLES
    • B29L2031/00Other particular articles
    • B29L2031/771Seats

Definitions

  • the present invention relates to a seat pad for a vehicle seat and a manufacturing method thereof.
  • Vehicle seats such as automobile seats have various requirements for seating comfort such as breathability and cushion durability in addition to the basic performance of vehicle seats such as safety, boarding and exiting properties, and holdability.
  • Patent Document 1 states that “a cushion pad for a vehicle seat on which a seated person is seated, and a soft foamed resin body that occupies an area of seating load and a central portion of the area of action within the foamed resin body. And a cushion pad for a vehicle seat provided with three-dimensional net-like elastic bodies arranged at opposite side positions.
  • the cushion pad of the vehicle seat it is possible to provide a cushion pad that is comfortable even if it is thin.
  • foamed urethane made by foaming a foamed resin material in a mold cavity is generally used as a cushioning material.
  • Patent Document 1 has a higher elastic modulus than polyurethane foam (foamed urethane) because a C-shaped three-dimensional net-like elastic body that is disposed in an impregnated state inside the polyurethane foam and is released is provided.
  • the cushion sags during long-distance driving, and the sag is difficult to recover. In terms of durability of the cushion, it is insufficient to satisfy the required performance.
  • an object of the present invention is to provide a seat pad that improves the breathability and the durability of a cushion and is excellent in comfort when seated in a seat pad of a vehicle seat.
  • Another object of the present invention is to provide a method for manufacturing a seat pad for a vehicle seat that improves the breathability and the durability of the cushion and is excellent in the comfort at the time of sitting.
  • the present invention relates to a seat pad that is provided with a ventilation member having a ventilation function with respect to the outside and is integrally foam-molded with a foamed resin material in a state where the ventilation member is introduced, and is located at a portion closest to the ventilation member The surface of the ventilation member protrudes from the surface of the pad.
  • a ventilation member is disposed in a cavity of a mold, a foamed resin material is injected into the cavity of the mold, and (b) the ventilation member is compressed by closing the mold. And a step of foaming a foamed resin material in the cavity in a state in which the ventilation member is compressed.
  • the present invention in the seat pad of the vehicle seat, it is possible to improve the breathability and the durability of the cushion, and to realize a seat pad excellent in comfort at the time of sitting.
  • the present invention it is possible to improve the breathability and the durability of the cushion, and to realize a method for manufacturing a seat pad for a vehicle seat that is excellent in comfort at the time of sitting.
  • 1 is a partially cutaway perspective sectional view of a vehicle seat according to an embodiment of the present invention.
  • 1 is a partial cross-sectional view of a vehicle seat according to an embodiment of the present invention.
  • 1 is a perspective view of a vehicle seat according to an embodiment of the present invention.
  • 1 is a perspective view of a vehicle seat according to an embodiment of the present invention.
  • 1 is a perspective view of a vehicle seat according to an embodiment of the present invention.
  • 1 is a perspective view of a vehicle seat according to an embodiment of the present invention. It is a figure which shows the manufacturing process of the vehicle seat which concerns on one Embodiment of this invention. It is a figure which shows the manufacturing process of the vehicle seat which concerns on one Embodiment of this invention.
  • FIG. 12 shows the general outline of a general vehicle seat.
  • the vehicular seat 1 is provided as a main part of the cushion pad 2 serving as a seating surface portion of the seat, the back side of the cushion pad 2, the back pad 3 serving as the backrest portion of the seat, and the upper portion of the back pad. It has a headrest 4 that protects the head and neck of the occupant.
  • side supports 5 are provided to support the side portions of the seat surface portion.
  • FIG. 10 is a perspective view of a seat pad 8, that is, a urethane pad, which becomes a base of a cushion in which a seat cover (trim cover) is removed in a conventional cushion pad 2 for a vehicle seat.
  • Conventional vehicle seats use urethane foam, which is generally made by foaming a foamed resin material in a cavity of a mold as a cushioning material.
  • urethane foam has poor breathability and is easily stuffy.
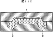
  • the ventilation member 6 is attached to the upper portion of the upper mold 10 on the cavity side (FIG. 11A), and urethane foam resin 9 is injected into the mold cavity (FIG. 11B).
  • urethane foam resin 9 is injected into the mold cavity (FIG. 11B).
  • the ventilation member 6 when used as a vehicle seat, is an elastic body, that is, the back surface side (lower surface side) of the seat pad 8, and therefore cannot exhibit ventilation performance.
  • FIG. 1 is a partially cutaway perspective sectional view of a cushion pad of a vehicle seat in the present embodiment.
  • FIG. 1 shows a state in which the seat cover (trim cover) of the cushion pad 2 is removed.
  • the cushion pad 2 of the vehicle seat of the present embodiment is provided with a plurality of apertures penetrating from the upper surface to the lower surface in a part of the seat pad 8 (urethane pad) serving as the base of the cushion.
  • a covering member 7 made of a cloth material ⁇ woven fabric (nylon half), non-woven fabric ⁇ is provided along the inner wall of the opening.
  • the ventilation member 6 compressed through the covering member 7 is filled in the opening.
  • FIG. 2 shows an A-A ′ cross section in FIG.
  • the surface of the ventilation member 6 filled in the opening is more convex than the surface of the seat pad 8 in the vicinity of the opening on the upper surface side of the urethane pad, that is, the seat pad 8. Protrusively provided.
  • the ventilation member 6 whose side surface is covered with a covering member 7 made of a cloth material ⁇ woven fabric (nylon half), non-woven fabric ⁇ is filled in the opening of the seat pad 8 in a compressed state.
  • a covering member 7 made of a cloth material ⁇ woven fabric (nylon half)
  • non-woven fabric ⁇ is filled in the opening of the seat pad 8 in a compressed state.
  • the opening portion on the upper surface side of 8 protrudes from the surface of the seat pad 8 due to a restoring force for returning the ventilation member 6 from the compressed state to the original state.
  • the ventilation member 6 is more than the urethane surface near the opening. It protrudes and the durability of the cushion of the cushion pad 2 is improved. Further, since the ventilation member 6 has higher air permeability than the seat pad 8, the use of the cushion pad 2 described in the present embodiment can improve the air permeability of the vehicle seat and the durability of the cushion. Become.
  • the material of the ventilation member 6 that is filled in the compressed state in the opening of the seat pad 8 is polyethylene terephthalate (PET), polypropylene (Polypropylene: PP), or the like.
  • PET polyethylene terephthalate
  • PP polypropylene
  • This ventilation member 6 can obtain elasticity by using a core-sheath structure fiber and compression-molding the fiber.
  • the ventilation member 6 has higher air permeability than the seat pad 8, and can improve the air permeability and the durability of the cushion, that is, the comfort at the time of sitting.
  • the vehicle seat of the first embodiment it is possible to improve the breathability of the vehicle seat and the durability of the cushion, and to realize a vehicle seat excellent in comfort at the time of sitting.
  • the shape of the plurality of openings provided in the seat pad 8, that is, the shape of the ventilation member 6 filled in the openings, is substantially cylindrical (FIGS. 1 and 2 are partially cutaway perspective sectional views). For this reason, an example of a substantially cylindrical half is shown), but it may be provided in a substantially rectangular shape when viewed from the upper surface of the urethane pad 8, and the arrangement of the openings in the seat pad 8 according to the vehicle type and application of the vehicle And the number of apertures can be appropriately designed.
  • FIGS. 3 and 4 show a state in which the seat cover (trim cover) of the cushion pad 2 is removed for easy understanding of the features of the present invention, as in FIG.
  • the cushion pad 2 of the vehicle seat shown in FIGS. 3 and 4 is provided with at least one or more apertures penetrating from the upper surface to the lower surface in a part of the seat pad 8 (urethane pad) serving as a base of the cushion. .
  • the seat pad 8 urethane pad
  • FIG. 3 two openings are provided, and in FIG. 4, one large opening is formed such that the two openings in FIG. 3 are connected.
  • 3 and 4 is provided with a covering member 7 made of a cloth material ⁇ woven fabric (nylon half), non-woven fabric ⁇ along the inner wall, and the cloth material ⁇ woven fabric in the opening. (Nylon half), non-woven fabric ⁇ , that is, similar to the cushion pad 2 described in the first embodiment, in that the compressed ventilation member 6 is filled through the covering member 7.
  • each seat pad 8 of FIGS. 3 and 4 The position of the opening provided in each seat pad 8 of FIGS. 3 and 4 is provided near the front surface of the cushion pad 2 so that the thigh of the occupant rests on the ventilation member 6 when the occupant is seated. However, it differs from the cushion pad of Example 1.
  • the shape of the opening provided in the seat pad 8, that is, the shape of the ventilation member 6, is different from the cushion pad of the first embodiment in that it is provided in a substantially rectangular shape when viewed from the upper surface side of the seat pad 8. ing.
  • the ventilation member 6 in the seat pad 8 closer to the front surface of the cushion pad 2, the occupant's thigh can be placed on the ventilation member 6 when seated.
  • the air permeability between the thigh of the occupant and the cushion pad 2 can be improved, and furthermore, the surface of the ventilation member 6 protrudes from the urethane surface in the vicinity of the opening. Even when the thigh is placed on the cushion pad 2, the cushion performance can be maintained.
  • the air permeability of the vehicle seat and the durability of the cushion can be improved, and a vehicle seat excellent in comfort at the time of sitting can be realized.
  • FIGS. 5 and 6 show a state in which the seat cover (trim cover) of the back pad 3 is removed for easy understanding of the features of the present invention, as in the other embodiments.
  • the back pad 3 of the vehicle seat shown in FIG. 5 and FIG. 6 is a back pad from the upper surface to the lower surface, that is, the surface of the back pad 3 where the occupant's back is in contact with a part of the seat pad 8 (urethane pad) serving as the base of the cushion. 3 is provided with at least one or more apertures penetrating through the back side. In FIG. 5, two openings are provided, and in FIG. 6, one large opening is formed such that the two openings in FIG. 5 are connected.
  • the opening provided in the back pad 3 is filled with a compressed ventilation member 6 through a covering member 5 made of a cloth material ⁇ woven fabric (nylon half), non-woven fabric ⁇ . Has been.
  • the opening provided in the seat pad 8, that is, the urethane pad is close to the lower side of the back pad 3 so that the occupant's back straddles the ventilation member 6 when the occupant is seated. Is provided.
  • the surface of the ventilation member 6 protrudes from the urethane surface in the vicinity of the opening in the upper surface of the seat pad 8, that is, the surface with which the occupant's back contacts, the occupant's back during long-distance driving.
  • the cushion performance can be maintained even when leaning against the back pad 3 for a long time.
  • the vehicle seat of the third embodiment it is possible to improve the breathability of the vehicle seat and the durability of the cushion, and to realize a vehicle seat having excellent comfort when seated.
  • a ventilation member whose side surface is covered with a covering member 7 made of a cloth material ⁇ woven fabric (nylon half), non-woven fabric ⁇ in a cavity of a die made of an upper die 10 and a lower die 11. At least one 6 is arranged.
  • the ventilation member 6 is disposed on the lower mold 11 in the cavity of the mold.
  • the side surface is covered with the covering member 7 disposed in the cavity of the mold.
  • the ventilation member 6 covered with the shape formed in a substantially cylindrical shape is used.
  • the opening provided in the seat pad 8 of the cushion pad 2 or the back pad 3, that is, the shape of the ventilation member 6, is desired to be a substantially rectangular shape, it is disposed in the cavity of the mold.
  • the ventilation member 6 whose side surface is covered with the covering member 7 to be formed is formed in a substantially rectangular shape.
  • the ventilation member 6 whose side surface is covered with the covering member 7 arranged in the cavity of this mold. Change placement and number as needed.
  • the ventilation member 6 When the side surface of the ventilation member 6 covered with the covering member 7 is formed in a substantially cylindrical shape, the ventilation member 6 is relatively easily formed by covering the side surface with a cloth material ⁇ woven fabric (nylon half), non-woven fabric ⁇ . Since it can be made cylindrical, the ventilation member 6 whose side surface is covered with the covering member 7 can be easily formed.
  • the ventilation member 6 whose side surface is covered with the covering member 7 is formed in a substantially rectangular shape, steps and jigs for processing the substantially rectangular shape are required.
  • the ventilation member 6 can be arranged in a wider range in the pad 8.
  • the ventilation member 6 disposed in the cavity of the mold is compressed together with the covering member 7 by the mold.
  • the ventilation member 6 is provided on the upper die 10, that is, the upper die 10 and compressed together with the ventilation member 6 disposed on the lower die 11 as in the conventional manufacturing method. Also good.
  • FIG. 8 shows the relationship between the dimensions of the mold and the ventilation member 6 when the ventilation member 6 is compressed by the mold.
  • the compression by the mold is performed by bringing the upper mold 10 and the lower mold 11 into close contact, and the dimension in the cavity of the mold when compressed is a.
  • the dimension of the ventilation member 6 in the compressed state is the same as the dimension in the cavity of the mold.
  • the dimension of the ventilation member 6 arranged on the lower mold 11 in FIG. 7A described above is formed longer than the dimension a in the cavity of the mold by b as shown in FIG. That is, by setting the dimension of the ventilation member 6 arranged on the lower mold 11 to c, the ventilation member 6 can be reliably compressed when the ventilation member 6 is compressed by the mold.
  • urethane foam resin 9 is injected into the mold cavity by a conventional method while maintaining the compressed state of the ventilation member 6 disposed in the mold cavity. Then, as shown in FIG. 7D, the urethane foam resin 9 is foamed so that the ventilation member 6, the covering member 7 and the seat pad 8 are bonded in the cavity of the mold.
  • the urethane foam resin 9 uses an isocyanate solution, a polyol solution, or the like as a main raw material, is poured into a mold cavity while being mixed, and is foamed by a chemical reaction of the mixed solution.
  • the urethane foam resin 9 injected into the mold cavity is impregnated into a cloth material ⁇ woven fabric (nylon half), non-woven fabric ⁇ covering the side surface of the ventilation member 6, that is, the covering member 7.
  • a cloth material ⁇ woven fabric (nylon half), non-woven fabric ⁇ covering the side surface of the ventilation member 6, that is, the covering member 7.
  • urethane foam is formed inside the covering member 7 including the urethane component, and the covering member 7 fulfills the bonding function between the seat pad 8 and the ventilation member 6. Therefore, the seat pad 8 and the ventilation member 6 are coupled by the covering member 7 provided on the boundary surface.
  • the cloth material ⁇ woven fabric (nylon half), non-woven fabric ⁇ that is, the covering member 7 prevents the urethane foam resin 9 from entering the ventilation member 6 too much in the mold cavity and impairing the air permeability and elasticity of the ventilation member. It also plays a role. That is, it is preferable that the covering member 7 is made of an impregnation suppressing material having a higher function of suppressing the intrusion of the urethane foam resin 9 than at least the ventilation member 6. Thereby, the amount of the pad member, that is, the urethane foam resin 9 impregnated in the ventilation member 6 can be adjusted, and the ventilation property and durability characteristics of the ventilation member 6 can be sufficiently exhibited.
  • a trim cover (seat cover) made of a skin material and wadding (filling) is attached to a seat pad 8 filled with a ventilation member 6 through a foamed urethane pad, that is, a covering member 7, and placed on the seat frame. Installation of the vehicle completes the vehicle seat.
  • FIG. 9 shows the relationship between the compression rate of the ventilation member 6 and the protruding amount of the ventilation member 6 from the urethane surface (the protruding amount of the fiber material).
  • a sample in which a fiber material (diameter 70 mm, thickness 50 mm) is inserted in the center of a urethane of 140 mm ⁇ 140 mm ⁇ thickness 50 mm was used as a sample.
  • the sample was compressed to a half thickness and left at 70 ° C. for 22 hours.
  • the measurement of the convex amount of the fiber material was defined as the difference in the fiber material convex amount from the average of the four corners of the sample at 25 ° C. and 50%.
  • the fiber material convex amount became 0 mm or less within 6 hours after the durability test, it was determined as NG.
  • the compression rate of the ventilation member 6 compressed by the mold By setting the compression rate of the ventilation member 6 compressed by the mold to about 20% to 30%, the amount of protrusion from the surface of the ventilation member 6 near the opening of the seat pad 8 feels comfortable. Can be. That is, if the dimension c of the ventilation member 6 before being compressed is thicker than the dimension a of the ventilation member 6 after compression by the dimension b, that is, 20% to 30% thicker than the dimension a, the ventilation member 6 is formed. The amount of protrusion can be within an appropriate range.
  • the amount of protrusion of the surface of the ventilation member 6 from the surface of the seat pad 8 in the vicinity of the opening is 0 mm or more and 5 mm or less in consideration of passenger comfort. As described above, this is achieved by setting the compression rate of the ventilation member 6 to about 20% to 30%, and avoids excessively projecting and impairing the appearance of the seat. This is to ensure a comfortable protruding amount.
  • the method for manufacturing a vehicle seat of the fourth embodiment it is possible to improve the breathability and the durability of the cushion and to manufacture the vehicle seat excellent in comfort at the time of sitting.
  • this invention is not limited to the above-mentioned Example, Various modifications are included.
  • the above-described embodiments have been described in detail for easy understanding of the present invention, and are not necessarily limited to those having all the configurations described.
  • a part of the configuration of one embodiment can be replaced with the configuration of another embodiment, and the configuration of another embodiment can be added to the configuration of one embodiment.

Landscapes

  • Engineering & Computer Science (AREA)
  • Mechanical Engineering (AREA)
  • Aviation & Aerospace Engineering (AREA)
  • Transportation (AREA)
  • Casting Or Compression Moulding Of Plastics Or The Like (AREA)
  • Mattresses And Other Support Structures For Chairs And Beds (AREA)
  • Moulding By Coating Moulds (AREA)
  • Molding Of Porous Articles (AREA)
  • Seats For Vehicles (AREA)
PCT/JP2015/083144 2014-12-15 2015-11-26 シートパッドおよびシートパッドの製造方法 Ceased WO2016098550A1 (ja)

Priority Applications (3)

Application Number Priority Date Filing Date Title
CN201580068308.2A CN106998921B (zh) 2014-12-15 2015-11-26 座椅垫以及座椅垫的制造方法
US15/536,053 US10470577B2 (en) 2014-12-15 2015-11-26 Seat pad and method for manufacturing seat pad
EP15869758.1A EP3235404B1 (en) 2014-12-15 2015-11-26 Seat pad and method for manufacturing seat pad

Applications Claiming Priority (2)

Application Number Priority Date Filing Date Title
JP2014-253238 2014-12-15
JP2014253238A JP6425988B2 (ja) 2014-12-15 2014-12-15 シートパッドおよびシートパッドの製造方法

Publications (1)

Publication Number Publication Date
WO2016098550A1 true WO2016098550A1 (ja) 2016-06-23

Family

ID=56126447

Family Applications (1)

Application Number Title Priority Date Filing Date
PCT/JP2015/083144 Ceased WO2016098550A1 (ja) 2014-12-15 2015-11-26 シートパッドおよびシートパッドの製造方法

Country Status (5)

Country Link
US (1) US10470577B2 (enExample)
EP (1) EP3235404B1 (enExample)
JP (1) JP6425988B2 (enExample)
CN (1) CN106998921B (enExample)
WO (1) WO2016098550A1 (enExample)

Families Citing this family (9)

* Cited by examiner, † Cited by third party
Publication number Priority date Publication date Assignee Title
CN108367695A (zh) * 2015-12-22 2018-08-03 株式会社塔捷斯 车辆用座椅
EP3501890B1 (en) * 2016-08-17 2022-04-13 Sekisui Plastics Co., Ltd. Vehicular seat member and method for manufacturing same
US10471870B2 (en) * 2017-10-06 2019-11-12 GM Global Technology Operations LLC Multi-zone seat suspension
CN109050362B (zh) * 2018-08-07 2021-03-30 福州联泓交通器材有限公司 一种座椅椅背结构及其制造方法
JP2020081171A (ja) * 2018-11-20 2020-06-04 株式会社ブリヂストン シートパッド、及び、シートパッドの製造方法
JP7364450B2 (ja) * 2019-12-13 2023-10-18 株式会社アーケム クッション材およびクッション材の製造方法
CN112936705B (zh) * 2021-01-25 2022-06-21 襄阳市俭鼎玻璃钢有限责任公司 一种高性能的环保型航空座椅垫的制备方法
EP4547526A1 (en) * 2022-06-28 2025-05-07 Freudenberg Performance Materials LP Non-woven porous three-dimensional matrix structure for vehicle applications
WO2025128085A1 (en) * 2023-12-12 2025-06-19 Freudenberg Performance Materials Lp Ventilated vehicular seat

Citations (5)

* Cited by examiner, † Cited by third party
Publication number Priority date Publication date Assignee Title
JP2012100910A (ja) * 2010-11-11 2012-05-31 Achilles Corp クッション材
JP2014079318A (ja) * 2012-10-15 2014-05-08 Toyo Tire & Rubber Co Ltd シートパッドの製造方法
JP2014104051A (ja) * 2012-11-26 2014-06-09 Toyo Tire & Rubber Co Ltd シートパッドの製造方法
JP2015198760A (ja) * 2014-04-08 2015-11-12 株式会社ブリヂストン シートパッド
JP2015217146A (ja) * 2014-05-19 2015-12-07 株式会社ブリヂストン 目止め部材及び該目止め部材を用いたシートパッドの製造方法

Family Cites Families (15)

* Cited by examiner, † Cited by third party
Publication number Priority date Publication date Assignee Title
US4571763A (en) * 1984-06-29 1986-02-25 Tachikawa Spring Co., Ltd. Cushion member for a vehicle seat
CN1090239A (zh) * 1993-01-20 1994-08-03 安顺企业股份有限公司 一种弹性透气材料及其制法
JP3658642B2 (ja) * 1995-11-20 2005-06-08 帝人ファイバー株式会社 クッション構造物
JP5017816B2 (ja) * 2005-08-18 2012-09-05 株式会社ブリヂストン 車両用シートパッド
EP2002760B1 (en) * 2006-03-31 2012-08-15 TS Tech Co., Ltd. Cushion body, sitting seat and process for manufacturing them
US8815383B2 (en) * 2007-01-18 2014-08-26 Johnson Controls Technology Company Component having a cushioned region and method for making a component having a cushioned region
EP2404530A4 (en) * 2009-03-02 2015-04-22 Bridgestone Corp SEAT PAD
DE102010005994B4 (de) * 2010-01-27 2022-07-28 Tianjin Shenglong Fibre Co., Ltd. Verfahren zur Hestellung eines Hybrid-Polsterelements, insbesondere eines Sitz- und Lehnenpolsterelements zur Verwendung in einem Kraftfahrzeug, ein Polsterelement und ein Fahrzeugsitz mit einem Polsterelement.
JP5729603B2 (ja) * 2011-07-06 2015-06-03 アイシン精機株式会社 クッション構造体
JP5985411B2 (ja) 2012-02-22 2016-09-06 トヨタ紡織株式会社 車両用シートのクッションパッド
JP6015492B2 (ja) * 2013-02-27 2016-10-26 トヨタ紡織株式会社 シート構成部材及びその製造法
JP6094323B2 (ja) * 2013-03-29 2017-03-15 トヨタ紡織株式会社 乗物用シート
JP6113617B2 (ja) * 2013-09-26 2017-04-12 株式会社タチエス 通気性シート
JP2015112231A (ja) * 2013-12-11 2015-06-22 東洋ゴム工業株式会社 シート用パッドの製造方法
JP5693769B2 (ja) * 2014-04-14 2015-04-01 株式会社イノアックコーポレーション ダクト入りシートパッド

Patent Citations (5)

* Cited by examiner, † Cited by third party
Publication number Priority date Publication date Assignee Title
JP2012100910A (ja) * 2010-11-11 2012-05-31 Achilles Corp クッション材
JP2014079318A (ja) * 2012-10-15 2014-05-08 Toyo Tire & Rubber Co Ltd シートパッドの製造方法
JP2014104051A (ja) * 2012-11-26 2014-06-09 Toyo Tire & Rubber Co Ltd シートパッドの製造方法
JP2015198760A (ja) * 2014-04-08 2015-11-12 株式会社ブリヂストン シートパッド
JP2015217146A (ja) * 2014-05-19 2015-12-07 株式会社ブリヂストン 目止め部材及び該目止め部材を用いたシートパッドの製造方法

Non-Patent Citations (1)

* Cited by examiner, † Cited by third party
Title
See also references of EP3235404A4 *

Also Published As

Publication number Publication date
EP3235404B1 (en) 2020-10-14
CN106998921B (zh) 2020-06-05
JP2016112203A (ja) 2016-06-23
US20170354261A1 (en) 2017-12-14
US10470577B2 (en) 2019-11-12
EP3235404A1 (en) 2017-10-25
JP6425988B2 (ja) 2018-11-21
CN106998921A (zh) 2017-08-01
EP3235404A4 (en) 2018-07-25

Similar Documents

Publication Publication Date Title
WO2016098550A1 (ja) シートパッドおよびシートパッドの製造方法
JP5976511B2 (ja) シートパッド
US20140077550A1 (en) Vehicle seat
JP2009291537A (ja) クッションパッド
EP3020600B1 (en) Vehicle seat
US20140292043A1 (en) Conveyance seat
JP6154296B2 (ja) シートパッド及びその製造方法
US20180339616A1 (en) Vehicle seat
JP5964198B2 (ja) シートパッドの製造方法
JP2019201955A (ja) シートパッド
JP2023168592A (ja) シートクッション及び該シートクッションを備える乗物用シート
JP2014104051A (ja) シートパッドの製造方法
JP2019187712A (ja) 車両用シートパッド及びその製造方法
JP6825941B2 (ja) 車両用シートパッド
JP2004174762A (ja) シート用パッドの製造方法
JP2015080502A (ja) シートクッションパッド
JP6847707B2 (ja) 車両用シートパッド
JP2005178147A (ja) シートパッドの製造方法
JP2019188973A (ja) 乗物用シート構成部材の製造方法
JP6102560B2 (ja) 乗物用シートのクッション体
JP2010012093A (ja) シートバック構造
JP6084531B2 (ja) 表皮一体発泡成形品
JP2019142458A (ja) 車両用バックパッド
JP2025122607A (ja) 乗物用シート及び乗物用シートの製造方法
JP2015098294A (ja) 乗物用シート

Legal Events

Date Code Title Description
121 Ep: the epo has been informed by wipo that ep was designated in this application

Ref document number: 15869758

Country of ref document: EP

Kind code of ref document: A1

REEP Request for entry into the european phase

Ref document number: 2015869758

Country of ref document: EP

WWE Wipo information: entry into national phase

Ref document number: 15536053

Country of ref document: US

NENP Non-entry into the national phase

Ref country code: DE