WO2015194144A1 - Image forming apparatus, cartridge, and frame body used for the cartridge - Google Patents

Image forming apparatus, cartridge, and frame body used for the cartridge Download PDF

Info

Publication number
WO2015194144A1
WO2015194144A1 PCT/JP2015/002952 JP2015002952W WO2015194144A1 WO 2015194144 A1 WO2015194144 A1 WO 2015194144A1 JP 2015002952 W JP2015002952 W JP 2015002952W WO 2015194144 A1 WO2015194144 A1 WO 2015194144A1
Authority
WO
WIPO (PCT)
Prior art keywords
support member
frame body
developing
blade
axial direction
Prior art date
Legal status (The legal status is an assumption and is not a legal conclusion. Google has not performed a legal analysis and makes no representation as to the accuracy of the status listed.)
Ceased
Application number
PCT/JP2015/002952
Other languages
English (en)
French (fr)
Inventor
Akira Suzuki
Hiroomi Matsuzaki
Kazunori Suzuki
Toshiteru YAMASAKI
Shigeo Miyabe
Takahito Ueno
Shogo Satomura
Masatomi Yoshida
Nobuharu Hoshi
Current Assignee (The listed assignees may be inaccurate. Google has not performed a legal analysis and makes no representation or warranty as to the accuracy of the list.)
Canon Inc
Original Assignee
Canon Inc
Priority date (The priority date is an assumption and is not a legal conclusion. Google has not performed a legal analysis and makes no representation as to the accuracy of the date listed.)
Filing date
Publication date
Application filed by Canon Inc filed Critical Canon Inc
Priority to CN201580032327.XA priority Critical patent/CN106462099B/zh
Priority to US15/319,057 priority patent/US10048646B2/en
Publication of WO2015194144A1 publication Critical patent/WO2015194144A1/en
Anticipated expiration legal-status Critical
Ceased legal-status Critical Current

Links

Images

Classifications

    • GPHYSICS
    • G03PHOTOGRAPHY; CINEMATOGRAPHY; ANALOGOUS TECHNIQUES USING WAVES OTHER THAN OPTICAL WAVES; ELECTROGRAPHY; HOLOGRAPHY
    • G03GELECTROGRAPHY; ELECTROPHOTOGRAPHY; MAGNETOGRAPHY
    • G03G21/00Arrangements not provided for by groups G03G13/00 - G03G19/00, e.g. cleaning, elimination of residual charge
    • G03G21/16Mechanical means for facilitating the maintenance of the apparatus, e.g. modular arrangements
    • G03G21/18Mechanical means for facilitating the maintenance of the apparatus, e.g. modular arrangements using a processing cartridge, whereby the process cartridge comprises at least two image processing means in a single unit
    • G03G21/1803Arrangements or disposition of the complete process cartridge or parts thereof
    • G03G21/1814Details of parts of process cartridge, e.g. for charging, transfer, cleaning, developing
    • GPHYSICS
    • G03PHOTOGRAPHY; CINEMATOGRAPHY; ANALOGOUS TECHNIQUES USING WAVES OTHER THAN OPTICAL WAVES; ELECTROGRAPHY; HOLOGRAPHY
    • G03GELECTROGRAPHY; ELECTROPHOTOGRAPHY; MAGNETOGRAPHY
    • G03G15/00Apparatus for electrographic processes using a charge pattern
    • G03G15/06Apparatus for electrographic processes using a charge pattern for developing
    • G03G15/08Apparatus for electrographic processes using a charge pattern for developing using a solid developer, e.g. powder developer
    • G03G15/0806Apparatus for electrographic processes using a charge pattern for developing using a solid developer, e.g. powder developer on a donor element, e.g. belt, roller
    • G03G15/0812Apparatus for electrographic processes using a charge pattern for developing using a solid developer, e.g. powder developer on a donor element, e.g. belt, roller characterised by the developer regulating means, e.g. structure of doctor blade
    • GPHYSICS
    • G03PHOTOGRAPHY; CINEMATOGRAPHY; ANALOGOUS TECHNIQUES USING WAVES OTHER THAN OPTICAL WAVES; ELECTROGRAPHY; HOLOGRAPHY
    • G03GELECTROGRAPHY; ELECTROPHOTOGRAPHY; MAGNETOGRAPHY
    • G03G21/00Arrangements not provided for by groups G03G13/00 - G03G19/00, e.g. cleaning, elimination of residual charge
    • G03G21/0005Arrangements not provided for by groups G03G13/00 - G03G19/00, e.g. cleaning, elimination of residual charge for removing solid developer or debris from the electrographic recording medium
    • G03G21/0011Arrangements not provided for by groups G03G13/00 - G03G19/00, e.g. cleaning, elimination of residual charge for removing solid developer or debris from the electrographic recording medium using a blade; Details of cleaning blades, e.g. blade shape, layer forming
    • G03G21/0029Details relating to the blade support
    • GPHYSICS
    • G03PHOTOGRAPHY; CINEMATOGRAPHY; ANALOGOUS TECHNIQUES USING WAVES OTHER THAN OPTICAL WAVES; ELECTROGRAPHY; HOLOGRAPHY
    • G03GELECTROGRAPHY; ELECTROPHOTOGRAPHY; MAGNETOGRAPHY
    • G03G21/00Arrangements not provided for by groups G03G13/00 - G03G19/00, e.g. cleaning, elimination of residual charge
    • G03G21/16Mechanical means for facilitating the maintenance of the apparatus, e.g. modular arrangements
    • G03G21/18Mechanical means for facilitating the maintenance of the apparatus, e.g. modular arrangements using a processing cartridge, whereby the process cartridge comprises at least two image processing means in a single unit
    • G03G21/1803Arrangements or disposition of the complete process cartridge or parts thereof
    • G03G21/181Manufacturing or assembling, recycling, reuse, transportation, packaging or storage
    • GPHYSICS
    • G03PHOTOGRAPHY; CINEMATOGRAPHY; ANALOGOUS TECHNIQUES USING WAVES OTHER THAN OPTICAL WAVES; ELECTROGRAPHY; HOLOGRAPHY
    • G03GELECTROGRAPHY; ELECTROPHOTOGRAPHY; MAGNETOGRAPHY
    • G03G2221/00Processes not provided for by group G03G2215/00, e.g. cleaning or residual charge elimination
    • G03G2221/16Mechanical means for facilitating the maintenance of the apparatus, e.g. modular arrangements and complete machine concepts
    • G03G2221/1606Mechanical means for facilitating the maintenance of the apparatus, e.g. modular arrangements and complete machine concepts for the photosensitive element
    • GPHYSICS
    • G03PHOTOGRAPHY; CINEMATOGRAPHY; ANALOGOUS TECHNIQUES USING WAVES OTHER THAN OPTICAL WAVES; ELECTROGRAPHY; HOLOGRAPHY
    • G03GELECTROGRAPHY; ELECTROPHOTOGRAPHY; MAGNETOGRAPHY
    • G03G2221/00Processes not provided for by group G03G2215/00, e.g. cleaning or residual charge elimination
    • G03G2221/16Mechanical means for facilitating the maintenance of the apparatus, e.g. modular arrangements and complete machine concepts
    • G03G2221/18Cartridge systems

Definitions

  • a cassette 3 is attached in a lower portion of the main body A.
  • the cassette 3 contains a recording medium 2 or recording media 2.
  • the recording medium 2 or each of the recording media 2 is a sheet of, for example, paper.
  • a recording medium conveying device is provided so that the recording media 2 is conveyed to an upper portion of the main body A through a transfer roller 4 and a fixing device 5. More specifically, a feed roller 3c, a conveying roller pair 3d, and a registration roller pair 3e are provided.
  • the feed roller 3c separates one sheet after another from the recording media 2 in the cassette 3 and feeds each sheet.
  • the conveying roller pair 3d conveys each of the recording media 2 having been fed thereto.
  • the registration roller pair 3e synchronizes the latent image formed on the photosensitive drum 7 with the recording medium 2.
  • the fixing device 5 that fixes the image formed on the recording medium 2 is provided.
  • the cleaning blade 10a is in contact with the surface of the photosensitive drum 7 while the cleaning blade 10a is inclined in a rotational direction of the photosensitive drum 7 relative to a normal to the photosensitive drum 7.
  • This cleaning blade 10a causes residual toner removed from the surface of the photosensitive drum 7 to drop into the waste toner chamber 13a.
  • the anti-leakage sheet 13b is in contact with the photosensitive drum 7.
  • the photosensitive drum 7 is rotated in accordance with image forming operation by transmitting a drive force from the main body A to the cleaning unit C.
  • the charging roller 8 is rotatably attached to the cleaning unit C and pressed against the photosensitive drum 7, thereby being rotated by the photosensitive drum 7.
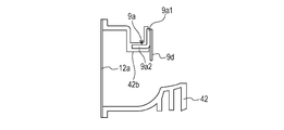
  • a laser light L is radiated so as to secured the developing blade 9d to the first support member 9a.
  • a developing container lid 12a is joined to the developing container 12 by, for example, ultrasonic welding.
  • the shaft of the developing roller 9c is supported by the bearing members (not illustrated) provided at both the ends of the developing container 12 in the longitudinal direction N such that the tip end of the developing blade 9d is disposed on the developing roller 9c, which is the rotating member.
  • the developing unit D is thus formed.
  • bearing portions may be provided in the developing container 12, so that both the ends of the shaft of the developing roller 9c in the longitudinal direction N are supported by the bearing portions of the developing container 12.
  • the movement of the first support member 9a relative to the developing container 12 is regulated in the lateral direction and permitted in the longitudinal direction N by the exposed portions 9A in the developing unit D produced by the method according to the present embodiment. Accordingly, bending or deformation of the first support member 9a, the developing blade 9d secured to the first support member 9a, and the developing container 12 caused by changes in room temperature can be suppressed.
  • the developing blade 9d may be secured to the first plate portion 9a1 of the first support member 9a such that the developing blade 9d projects from the side opposite to the side where the first plate portion 9a1 and the second plate portion 9a2 of the first support member 9a are connected to each other toward the side where the first plate portion 9a1 and the second plate portion 9a2 are connected to each other.
  • the exposed portion 9A may be formed by exposing an end surface in the longitudinal direction N.
  • the end portion or the end portions of the first support member 9a do not necessarily project in the longitudinal direction N as described in the first or second embodiment. With this structure, the effects similar to those of the first embodiment can be obtained.
  • the invention according to the present embodiment can be produced in a method similar to that of the first embodiment, and the effects similar to those in the first embodiment can be obtained.
  • the cleaning blade 10a and the photosensitive drum 7 are in contact with each other, the occurrence of the difference in contact pressure at which the cleaning blade 10a and the photosensitive drum 7 are in contact with each other in the longitudinal direction N of the photosensitive drum 7 can be suppressed.
  • the likelihood of being affected by heat can be easily reduced with a small number of components instead of increasing the number of components.
  • the notch portion is provided in the part of the second support member 10c embedded in the cleaning container 13.
  • the resin that forms the cleaning container 13 has flowed from the main body side or the securing portion side of the cleaning container 13 into the notch portion of the second support member 10c.
  • the second support member 10c can be positioned relative to the cleaning container 13 in the longitudinal direction N.
  • the developing blade 9d is directly secured to the first support member 9a according to the above-described embodiments, this is not limiting.
  • the first support member 9a may be disposed as a reinforcing member in the resin that forms the developing container 52, and the developing blade 9d may be secured to the developing container 52.

Landscapes

  • Physics & Mathematics (AREA)
  • General Physics & Mathematics (AREA)
  • Engineering & Computer Science (AREA)
  • Computer Vision & Pattern Recognition (AREA)
  • Life Sciences & Earth Sciences (AREA)
  • Manufacturing & Machinery (AREA)
  • Sustainable Development (AREA)
  • Dry Development In Electrophotography (AREA)
  • Electrophotography Configuration And Component (AREA)
  • Cleaning In Electrography (AREA)
PCT/JP2015/002952 2014-06-17 2015-06-12 Image forming apparatus, cartridge, and frame body used for the cartridge Ceased WO2015194144A1 (en)

Priority Applications (2)

Application Number Priority Date Filing Date Title
CN201580032327.XA CN106462099B (zh) 2014-06-17 2015-06-12 成像设备、盒以及用于所述盒的框架本体
US15/319,057 US10048646B2 (en) 2014-06-17 2015-06-12 Image forming apparatus with frame body and detachable cartridge with integrated photosensitive drum

Applications Claiming Priority (4)

Application Number Priority Date Filing Date Title
JP2014124748 2014-06-17
JP2014-124748 2014-06-17
JP2015-095772 2015-05-08
JP2015095772A JP6576093B2 (ja) 2014-06-17 2015-05-08 画像形成装置、カートリッジ及びそれに用いられる枠体

Publications (1)

Publication Number Publication Date
WO2015194144A1 true WO2015194144A1 (en) 2015-12-23

Family

ID=53546677

Family Applications (1)

Application Number Title Priority Date Filing Date
PCT/JP2015/002952 Ceased WO2015194144A1 (en) 2014-06-17 2015-06-12 Image forming apparatus, cartridge, and frame body used for the cartridge

Country Status (4)

Country Link
US (1) US10048646B2 (enExample)
JP (1) JP6576093B2 (enExample)
CN (1) CN106462099B (enExample)
WO (1) WO2015194144A1 (enExample)

Families Citing this family (3)

* Cited by examiner, † Cited by third party
Publication number Priority date Publication date Assignee Title
JP6918473B2 (ja) * 2016-11-30 2021-08-11 キヤノン株式会社 現像装置
US10761452B2 (en) * 2017-09-07 2020-09-01 Canon Kabushiki Kaisha Developing device including a resin regulating blade
JP7135674B2 (ja) * 2018-09-28 2022-09-13 ブラザー工業株式会社 現像カートリッジ

Citations (5)

* Cited by examiner, † Cited by third party
Publication number Priority date Publication date Assignee Title
JPH11282251A (ja) 1998-03-30 1999-10-15 Canon Inc 現像装置及びプロセスカートリッジ
WO2006098343A1 (en) * 2005-03-14 2006-09-21 Ricoh Company, Limited Unit, image forming apparatus, and method of manufacturing unit frame
EP2216691A1 (en) * 2007-11-14 2010-08-11 Bridgestone Corporation Die for developing blade and production method of developing blade
WO2013094167A1 (en) * 2011-12-21 2013-06-27 Canon Kabushiki Kaisha Developing device and process cartridge
US20140133893A1 (en) * 2012-11-13 2014-05-15 Oki Data Corporation Cleaning device, image forming unit and image forming apparatus

Family Cites Families (19)

* Cited by examiner, † Cited by third party
Publication number Priority date Publication date Assignee Title
JPH01140174A (ja) * 1987-11-27 1989-06-01 Mitsubishi Petrochem Co Ltd 電子写真装置用ブレード
JPH09190146A (ja) * 1996-01-09 1997-07-22 Canon Inc プロセスカートリッジ
JP2000132039A (ja) * 1998-10-26 2000-05-12 Canon Inc クリーニング枠体及びプロセスカートリッジ及び電子写真画像形成装置
JP2001005285A (ja) * 1999-06-24 2001-01-12 Canon Inc 現像装置及びクリーニング装置及びプロセスカートリッジ及び画像形成装置
JP2001198945A (ja) * 2000-01-18 2001-07-24 Canon Inc インサート成形方法及び成形用金型及び電子写真用現像ブレード
JP3188440B1 (ja) * 2000-03-07 2001-07-16 キヤノン株式会社 プロセスカートリッジの再生産方法
JP4180349B2 (ja) * 2002-10-29 2008-11-12 株式会社ブリヂストン 現像ブレードの取出し方法及び現像ブレード成形用金型
JP3966257B2 (ja) * 2003-08-25 2007-08-29 村田機械株式会社 画像形成装置
JP4335046B2 (ja) * 2004-03-23 2009-09-30 株式会社ブリヂストン 現像剤量規制ブレードの製造方法および現像剤量規制ブレード成型用金型
KR100579514B1 (ko) * 2005-01-21 2006-05-15 삼성전자주식회사 카트리지의 샤프트를 고정하기 위한 장치 및 그것을 구비한 화상형성장치
JP4746369B2 (ja) * 2005-07-13 2011-08-10 藤倉ゴム工業株式会社 現像ブレードの製造方法
JP4746370B2 (ja) * 2005-07-13 2011-08-10 藤倉ゴム工業株式会社 現像ブレードの製造方法
JP5044245B2 (ja) * 2006-12-15 2012-10-10 藤倉ゴム工業株式会社 現像ブレードおよびその製造方法
JP2008233368A (ja) * 2007-03-19 2008-10-02 Ricoh Co Ltd マグネットローラ、現像剤担持体、現像装置、プロセスカートリッジ及び画像形成装置
JP5312626B2 (ja) * 2008-03-31 2013-10-09 キヤノン株式会社 枠体ユニット、現像装置及びプロセスカートリッジ
JP5097683B2 (ja) * 2008-11-14 2012-12-12 株式会社ブリヂストン Oa用ブレード
JP2012022111A (ja) * 2010-07-14 2012-02-02 Canon Inc 現像装置、クリーニング装置、プロセスカートリッジ、画像形成装置
JP5350455B2 (ja) * 2010-12-16 2013-11-27 キヤノン株式会社 電子写真画像形成装置
JP6128780B2 (ja) * 2012-09-05 2017-05-17 キヤノン株式会社 現像装置及びカートリッジ

Patent Citations (5)

* Cited by examiner, † Cited by third party
Publication number Priority date Publication date Assignee Title
JPH11282251A (ja) 1998-03-30 1999-10-15 Canon Inc 現像装置及びプロセスカートリッジ
WO2006098343A1 (en) * 2005-03-14 2006-09-21 Ricoh Company, Limited Unit, image forming apparatus, and method of manufacturing unit frame
EP2216691A1 (en) * 2007-11-14 2010-08-11 Bridgestone Corporation Die for developing blade and production method of developing blade
WO2013094167A1 (en) * 2011-12-21 2013-06-27 Canon Kabushiki Kaisha Developing device and process cartridge
US20140133893A1 (en) * 2012-11-13 2014-05-15 Oki Data Corporation Cleaning device, image forming unit and image forming apparatus

Also Published As

Publication number Publication date
JP6576093B2 (ja) 2019-09-18
CN106462099B (zh) 2019-12-10
CN106462099A (zh) 2017-02-22
JP2016021050A (ja) 2016-02-04
US10048646B2 (en) 2018-08-14
US20180046136A1 (en) 2018-02-15

Similar Documents

Publication Publication Date Title
US10401762B2 (en) Cartridge and unit
US8879954B2 (en) Cartridge with member for fixing a member-to-be-energized
CN103069346B (zh) 盒和成像设备
US8831487B2 (en) Regulating device, image bearing member cleaning device, developing device, cleaning device, process cartridge and image forming apparatus
US9581933B2 (en) Regulating member, developing device and process cartridge
US20060067725A1 (en) Cartridge, process cartridge, and electrophotographic image forming apparatus
US11287772B2 (en) Development device, process cartridge, and image forming apparatus
US10048646B2 (en) Image forming apparatus with frame body and detachable cartridge with integrated photosensitive drum
JP6376841B2 (ja) カートリッジ及び画像形成装置
JP2016021050A5 (enExample)
KR102128342B1 (ko) 현상 장치의 재생산 방법
US9804555B2 (en) Positioning member and image forming apparatus
US20050013635A1 (en) Developer supply container
JP2018086765A (ja) 露光装置及び画像形成装置
JP7073205B2 (ja) 現像装置の製造方法
JP7484218B2 (ja) 現像装置および画像形成装置
JP7618622B2 (ja) 現像装置の製造方法
JP6370335B2 (ja) カートリッジ及びユニットの製造方法
JP6590570B2 (ja) 現像装置の組み立ての方法
KR101978390B1 (ko) 감광체용 클리닝 블레이드 및 그 제조방법
JP5976151B2 (ja) カートリッジ、及び画像形成装置
JP2025084507A (ja) 金型成形品、押圧装置、シート搬送装置及び画像形成装置
JP2020134885A (ja) 剥離シート、定着装置及び剥離シートの製造方法
JP2013134354A (ja) カートリッジ
JP2001356624A (ja) 像加熱装置および画像形成装置

Legal Events

Date Code Title Description
121 Ep: the epo has been informed by wipo that ep was designated in this application

Ref document number: 15738145

Country of ref document: EP

Kind code of ref document: A1

WWE Wipo information: entry into national phase

Ref document number: 15319057

Country of ref document: US

NENP Non-entry into the national phase

Ref country code: DE

122 Ep: pct application non-entry in european phase

Ref document number: 15738145

Country of ref document: EP

Kind code of ref document: A1