WO2015068662A1 - 光学式エンコーダユニット及び光学式エンコーダ - Google Patents

光学式エンコーダユニット及び光学式エンコーダ Download PDF

Info

Publication number
WO2015068662A1
WO2015068662A1 PCT/JP2014/079131 JP2014079131W WO2015068662A1 WO 2015068662 A1 WO2015068662 A1 WO 2015068662A1 JP 2014079131 W JP2014079131 W JP 2014079131W WO 2015068662 A1 WO2015068662 A1 WO 2015068662A1
Authority
WO
WIPO (PCT)
Prior art keywords
light
light receiving
unit
optical
optical sensor
Prior art date
Legal status (The legal status is an assumption and is not a legal conclusion. Google has not performed a legal analysis and makes no representation as to the accuracy of the status listed.)
Ceased
Application number
PCT/JP2014/079131
Other languages
English (en)
French (fr)
Japanese (ja)
Inventor
寿明 小口
Current Assignee (The listed assignees may be inaccurate. Google has not performed a legal analysis and makes no representation or warranty as to the accuracy of the list.)
NSK Ltd
Original Assignee
NSK Ltd
Priority date (The priority date is an assumption and is not a legal conclusion. Google has not performed a legal analysis and makes no representation as to the accuracy of the date listed.)
Filing date
Publication date
Application filed by NSK Ltd filed Critical NSK Ltd
Priority to US15/034,076 priority Critical patent/US10156459B2/en
Priority to CN201480059252.XA priority patent/CN105683718B/zh
Priority to EP14860233.7A priority patent/EP3067668B1/en
Priority to JP2015546627A priority patent/JP6369474B2/ja
Publication of WO2015068662A1 publication Critical patent/WO2015068662A1/ja
Anticipated expiration legal-status Critical
Ceased legal-status Critical Current

Links

Images

Classifications

    • GPHYSICS
    • G01MEASURING; TESTING
    • G01DMEASURING NOT SPECIALLY ADAPTED FOR A SPECIFIC VARIABLE; ARRANGEMENTS FOR MEASURING TWO OR MORE VARIABLES NOT COVERED IN A SINGLE OTHER SUBCLASS; TARIFF METERING APPARATUS; MEASURING OR TESTING NOT OTHERWISE PROVIDED FOR
    • G01D5/00Mechanical means for transferring the output of a sensing member; Means for converting the output of a sensing member to another variable where the form or nature of the sensing member does not constrain the means for converting; Transducers not specially adapted for a specific variable
    • G01D5/26Mechanical means for transferring the output of a sensing member; Means for converting the output of a sensing member to another variable where the form or nature of the sensing member does not constrain the means for converting; Transducers not specially adapted for a specific variable characterised by optical transfer means, i.e. using infrared, visible, or ultraviolet light
    • G01D5/32Mechanical means for transferring the output of a sensing member; Means for converting the output of a sensing member to another variable where the form or nature of the sensing member does not constrain the means for converting; Transducers not specially adapted for a specific variable characterised by optical transfer means, i.e. using infrared, visible, or ultraviolet light with attenuation or whole or partial obturation of beams of light
    • G01D5/34Mechanical means for transferring the output of a sensing member; Means for converting the output of a sensing member to another variable where the form or nature of the sensing member does not constrain the means for converting; Transducers not specially adapted for a specific variable characterised by optical transfer means, i.e. using infrared, visible, or ultraviolet light with attenuation or whole or partial obturation of beams of light the beams of light being detected by photocells
    • G01D5/347Mechanical means for transferring the output of a sensing member; Means for converting the output of a sensing member to another variable where the form or nature of the sensing member does not constrain the means for converting; Transducers not specially adapted for a specific variable characterised by optical transfer means, i.e. using infrared, visible, or ultraviolet light with attenuation or whole or partial obturation of beams of light the beams of light being detected by photocells using displacement encoding scales
    • G01D5/3473Circular or rotary encoders
    • GPHYSICS
    • G01MEASURING; TESTING
    • G01DMEASURING NOT SPECIALLY ADAPTED FOR A SPECIFIC VARIABLE; ARRANGEMENTS FOR MEASURING TWO OR MORE VARIABLES NOT COVERED IN A SINGLE OTHER SUBCLASS; TARIFF METERING APPARATUS; MEASURING OR TESTING NOT OTHERWISE PROVIDED FOR
    • G01D5/00Mechanical means for transferring the output of a sensing member; Means for converting the output of a sensing member to another variable where the form or nature of the sensing member does not constrain the means for converting; Transducers not specially adapted for a specific variable
    • G01D5/26Mechanical means for transferring the output of a sensing member; Means for converting the output of a sensing member to another variable where the form or nature of the sensing member does not constrain the means for converting; Transducers not specially adapted for a specific variable characterised by optical transfer means, i.e. using infrared, visible, or ultraviolet light
    • G01D5/32Mechanical means for transferring the output of a sensing member; Means for converting the output of a sensing member to another variable where the form or nature of the sensing member does not constrain the means for converting; Transducers not specially adapted for a specific variable characterised by optical transfer means, i.e. using infrared, visible, or ultraviolet light with attenuation or whole or partial obturation of beams of light
    • G01D5/34Mechanical means for transferring the output of a sensing member; Means for converting the output of a sensing member to another variable where the form or nature of the sensing member does not constrain the means for converting; Transducers not specially adapted for a specific variable characterised by optical transfer means, i.e. using infrared, visible, or ultraviolet light with attenuation or whole or partial obturation of beams of light the beams of light being detected by photocells
    • G01D5/344Mechanical means for transferring the output of a sensing member; Means for converting the output of a sensing member to another variable where the form or nature of the sensing member does not constrain the means for converting; Transducers not specially adapted for a specific variable characterised by optical transfer means, i.e. using infrared, visible, or ultraviolet light with attenuation or whole or partial obturation of beams of light the beams of light being detected by photocells using polarisation
    • GPHYSICS
    • G01MEASURING; TESTING
    • G01DMEASURING NOT SPECIALLY ADAPTED FOR A SPECIFIC VARIABLE; ARRANGEMENTS FOR MEASURING TWO OR MORE VARIABLES NOT COVERED IN A SINGLE OTHER SUBCLASS; TARIFF METERING APPARATUS; MEASURING OR TESTING NOT OTHERWISE PROVIDED FOR
    • G01D5/00Mechanical means for transferring the output of a sensing member; Means for converting the output of a sensing member to another variable where the form or nature of the sensing member does not constrain the means for converting; Transducers not specially adapted for a specific variable
    • G01D5/26Mechanical means for transferring the output of a sensing member; Means for converting the output of a sensing member to another variable where the form or nature of the sensing member does not constrain the means for converting; Transducers not specially adapted for a specific variable characterised by optical transfer means, i.e. using infrared, visible, or ultraviolet light
    • G01D5/32Mechanical means for transferring the output of a sensing member; Means for converting the output of a sensing member to another variable where the form or nature of the sensing member does not constrain the means for converting; Transducers not specially adapted for a specific variable characterised by optical transfer means, i.e. using infrared, visible, or ultraviolet light with attenuation or whole or partial obturation of beams of light
    • G01D5/34Mechanical means for transferring the output of a sensing member; Means for converting the output of a sensing member to another variable where the form or nature of the sensing member does not constrain the means for converting; Transducers not specially adapted for a specific variable characterised by optical transfer means, i.e. using infrared, visible, or ultraviolet light with attenuation or whole or partial obturation of beams of light the beams of light being detected by photocells
    • G01D5/344Mechanical means for transferring the output of a sensing member; Means for converting the output of a sensing member to another variable where the form or nature of the sensing member does not constrain the means for converting; Transducers not specially adapted for a specific variable characterised by optical transfer means, i.e. using infrared, visible, or ultraviolet light with attenuation or whole or partial obturation of beams of light the beams of light being detected by photocells using polarisation
    • G01D5/345Polarising encoders
    • GPHYSICS
    • G01MEASURING; TESTING
    • G01DMEASURING NOT SPECIALLY ADAPTED FOR A SPECIFIC VARIABLE; ARRANGEMENTS FOR MEASURING TWO OR MORE VARIABLES NOT COVERED IN A SINGLE OTHER SUBCLASS; TARIFF METERING APPARATUS; MEASURING OR TESTING NOT OTHERWISE PROVIDED FOR
    • G01D5/00Mechanical means for transferring the output of a sensing member; Means for converting the output of a sensing member to another variable where the form or nature of the sensing member does not constrain the means for converting; Transducers not specially adapted for a specific variable
    • G01D5/26Mechanical means for transferring the output of a sensing member; Means for converting the output of a sensing member to another variable where the form or nature of the sensing member does not constrain the means for converting; Transducers not specially adapted for a specific variable characterised by optical transfer means, i.e. using infrared, visible, or ultraviolet light
    • G01D5/32Mechanical means for transferring the output of a sensing member; Means for converting the output of a sensing member to another variable where the form or nature of the sensing member does not constrain the means for converting; Transducers not specially adapted for a specific variable characterised by optical transfer means, i.e. using infrared, visible, or ultraviolet light with attenuation or whole or partial obturation of beams of light
    • G01D5/34Mechanical means for transferring the output of a sensing member; Means for converting the output of a sensing member to another variable where the form or nature of the sensing member does not constrain the means for converting; Transducers not specially adapted for a specific variable characterised by optical transfer means, i.e. using infrared, visible, or ultraviolet light with attenuation or whole or partial obturation of beams of light the beams of light being detected by photocells
    • G01D5/347Mechanical means for transferring the output of a sensing member; Means for converting the output of a sensing member to another variable where the form or nature of the sensing member does not constrain the means for converting; Transducers not specially adapted for a specific variable characterised by optical transfer means, i.e. using infrared, visible, or ultraviolet light with attenuation or whole or partial obturation of beams of light the beams of light being detected by photocells using displacement encoding scales
    • G01D5/34707Scales; Discs, e.g. fixation, fabrication, compensation
    • GPHYSICS
    • G01MEASURING; TESTING
    • G01DMEASURING NOT SPECIALLY ADAPTED FOR A SPECIFIC VARIABLE; ARRANGEMENTS FOR MEASURING TWO OR MORE VARIABLES NOT COVERED IN A SINGLE OTHER SUBCLASS; TARIFF METERING APPARATUS; MEASURING OR TESTING NOT OTHERWISE PROVIDED FOR
    • G01D5/00Mechanical means for transferring the output of a sensing member; Means for converting the output of a sensing member to another variable where the form or nature of the sensing member does not constrain the means for converting; Transducers not specially adapted for a specific variable
    • G01D5/26Mechanical means for transferring the output of a sensing member; Means for converting the output of a sensing member to another variable where the form or nature of the sensing member does not constrain the means for converting; Transducers not specially adapted for a specific variable characterised by optical transfer means, i.e. using infrared, visible, or ultraviolet light
    • G01D5/32Mechanical means for transferring the output of a sensing member; Means for converting the output of a sensing member to another variable where the form or nature of the sensing member does not constrain the means for converting; Transducers not specially adapted for a specific variable characterised by optical transfer means, i.e. using infrared, visible, or ultraviolet light with attenuation or whole or partial obturation of beams of light
    • G01D5/34Mechanical means for transferring the output of a sensing member; Means for converting the output of a sensing member to another variable where the form or nature of the sensing member does not constrain the means for converting; Transducers not specially adapted for a specific variable characterised by optical transfer means, i.e. using infrared, visible, or ultraviolet light with attenuation or whole or partial obturation of beams of light the beams of light being detected by photocells
    • G01D5/347Mechanical means for transferring the output of a sensing member; Means for converting the output of a sensing member to another variable where the form or nature of the sensing member does not constrain the means for converting; Transducers not specially adapted for a specific variable characterised by optical transfer means, i.e. using infrared, visible, or ultraviolet light with attenuation or whole or partial obturation of beams of light the beams of light being detected by photocells using displacement encoding scales
    • G01D5/34707Scales; Discs, e.g. fixation, fabrication, compensation
    • G01D5/34715Scale reading or illumination devices

Definitions

  • the present invention relates to an optical encoder unit and an optical encoder that detect an absolute angle using an optical scale.
  • Encoders are used in various mechanical devices to detect the position and angle of movable elements. In general, there are encoders that detect relative positions or angles and encoders that detect absolute positions or angles. There are optical and magnetic encoders, but the optical encoder is easily affected by foreign matter and the like, and is easily affected by fluctuations in the amount of detected light.
  • Patent Document 1 describes a technique that can reduce the influence of fluctuations in the amount of detected light and increase the resolution.
  • the present invention has been made in view of the above, and it is an object of the present invention to provide an optical encoder unit and an optical encoder that can reduce the influence of fluctuations in the amount of detected light and relax precise optical axis adjustment.
  • an optical encoder unit includes a light source having a predetermined light distribution and a polarization direction of a polarizer in a plane facing a predetermined direction, and the polarization direction.
  • An optical scale that changes due to rotation, and a first light receiving portion, a second light receiving portion, a third light receiving portion, and a fourth light receiving portion that receive incident light that is incident upon transmission or reflection of light from the light source to the optical scale.
  • the light output surface of the light source and the optical sensor unit are arranged at a position capable of receiving a predetermined intensity or more of the light intensity corresponding to the dark current of the optical sensor unit.
  • the optical encoder unit can improve the SN ratio and increase the measurement accuracy. Further, the positional relationship between the light source and the optical sensor unit can alleviate the required precise optical axis adjustment. For this reason, the optical encoder unit can be reduced in size.
  • the emission surface of the light source and the optical sensor unit are arranged at a position capable of receiving at least 100 times the light intensity corresponding to the dark current of the optical sensor unit.
  • the optical encoder unit can improve the SN ratio and increase the measurement accuracy.
  • the emission surface of the light source and the optical sensor unit are arranged at a position capable of receiving 1000 times or more of the light intensity corresponding to the dark current of the optical sensor unit.
  • the optical encoder unit can improve the SN ratio and increase the measurement accuracy.
  • the first light receiving unit, the second light receiving unit, the third light receiving unit, and the fourth light receiving unit are arranged at an equal distance from the arrangement center, and the first light receiving unit, It is preferable that the second light receiving unit, the third light receiving unit, and the fourth light receiving unit are disposed within a uniform range of light distribution of the light source to receive light.
  • the optical sensor unit can be arranged in a range where light can be received while reducing the influence of light diffused by the light source.
  • the optical encoder unit suppresses the influence of the light intensity of the light source light, and reduces the influence of the distance between the optical sensor unit and the optical scale, the light intensity variation of the light source, etc. on the output of the optical encoder unit. Can do.
  • the first light receiving unit, the second light receiving unit, the third light receiving unit, and the fourth light receiving unit receive the incident light through polarization layers that separate the different polarization directions, respectively. It is preferable. With this configuration, the polarization angle can be easily calculated.
  • the apparatus further comprises a cylindrical cover and a rotatable shaft supported by a bearing attached to the inside of the cover, and the cover includes the optical scale attached to the shaft; It is preferable to surround the light source and the optical sensor unit. With this configuration, external optical noise can be suppressed inside the cover.
  • a first bare chip including the first light receiving unit, the second light receiving unit, the third light receiving unit, and the fourth light receiving unit, the first light receiving unit, the second light receiving unit, An amplifying circuit for amplifying the signals of the third light receiving part and the fourth light receiving part, and the first bare chip and the amplifying circuit are fixed and electrically connected at a position overlapping in plan view. Is preferred. With this configuration, the size can be reduced and signal noise can be reduced. Note that, when the amplifier circuit is the second bare chip, the amplifier circuit becomes smaller and signal noise can be reduced.
  • the light receiving unit includes the first light receiving unit, the second light receiving unit, the third light receiving unit, and the fourth light receiving unit, and the first light receiving unit, the second light receiving unit, and the third light receiving unit. It is preferable that the light receiving unit and the amplification circuit for amplifying the signals of the fourth light receiving unit are integrated into a bare chip. With this configuration, the size can be reduced and signal noise can be reduced.
  • the optical encoder includes the optical encoder unit described above, and the light intensity detected by the first light receiving unit, the second light receiving unit, the third light receiving unit, and the fourth light receiving unit. It is preferable that a calculation means for calculating a relative movement amount between the optical scale and the optical sensor unit. With this configuration, the optical encoder can have high-resolution angle measurement accuracy.
  • an arithmetic means for storing in a storage device whether the rotational position of the optical scale is in a range of 0 ° or more and less than 180 °, or in a range of 180 ° or more and less than 360 °, and reading out at startup. It is preferable to calculate an absolute movement amount between the optical scale and the optical sensor unit.
  • the encoder can be an absolute encoder capable of calculating the absolute position of the rotor.
  • an optical encoder unit and an optical encoder that can reduce the influence of fluctuations in the amount of detected light and relax precise optical axis adjustment.
  • FIG. 1 is a configuration diagram of an optical encoder unit according to the first embodiment.
  • FIG. 2 is an external perspective view of the optical encoder unit according to the first embodiment.
  • FIG. 3 is an explanatory diagram for explaining an example of the arrangement of the optical scale and the optical sensor unit.
  • FIG. 4 is a block diagram of the optical encoder according to the first embodiment.
  • FIG. 5 is an explanatory diagram illustrating an example of an optical scale pattern according to the first embodiment.
  • FIG. 6 is an explanatory diagram for explaining an example of the optical sensor unit according to the first embodiment.
  • FIG. 7 is an explanatory diagram for explaining an example of the first light receiving unit of the optical sensor according to the first embodiment.
  • FIG. 8 is an explanatory diagram for describing an example of a third light receiving unit of the optical sensor according to the first embodiment.
  • FIG. 9 is an explanatory diagram for explaining separation of polarization components of the optical sensor according to the first embodiment.
  • FIG. 10 is an explanatory diagram for explaining separation of polarization components of the optical sensor according to the first embodiment.
  • FIG. 11 is an explanatory diagram for explaining separation of polarization components of the optical sensor according to the first embodiment.
  • FIG. 12 is a functional block diagram of the optical encoder according to the first embodiment.
  • FIG. 13 is an explanatory diagram for explaining the rotation angle of the optical scale according to the first embodiment and the light intensity change of the polarization component of each light receiving unit.
  • FIG. 9 is an explanatory diagram for explaining separation of polarization components of the optical sensor according to the first embodiment.
  • FIG. 10 is an explanatory diagram for explaining separation of polarization components of the optical sensor according to the first embodiment.
  • FIG. 11 is an explanatory diagram for explaining separation
  • FIG. 14 is an explanatory diagram for explaining the relationship between the rotation angle and the Lissajous angle of the optical scale according to the first embodiment.
  • FIG. 15 is an explanatory diagram for explaining a position where light can be received by a predetermined multiple of the light intensity corresponding to the dark current of the optical sensor according to the first embodiment.
  • FIG. 16 is a plan view for explaining the light source according to the first embodiment.
  • FIG. 17 is an explanatory diagram illustrating a measurement example in which the light distribution of the light source according to the first embodiment is measured as a circular graph.
  • FIG. 18 is an explanatory diagram showing an example of the light distribution of the light source obtained by converting the circular graph of FIG. 17 into an orthogonal coordinate between the angle and the light intensity.
  • FIG. 15 is an explanatory diagram for explaining a position where light can be received by a predetermined multiple of the light intensity corresponding to the dark current of the optical sensor according to the first embodiment.
  • FIG. 16 is a plan view for explaining the light source according to
  • FIG. 19 is an explanatory diagram for explaining the influence of the positional deviation between the light source and the optical sensor unit on the light distribution of the light source.
  • FIG. 20 is an explanatory diagram showing an example of the orientation distribution in which the orientation distribution of FIG. 18 is corrected by the positional deviation between the light source and the optical sensor unit.
  • FIG. 21 is an explanatory diagram for explaining the position of the light receiving unit within a uniform range of the light distribution of the light source of the optical sensor according to the first embodiment.
  • FIG. 22 is a configuration diagram of an optical encoder unit according to the second embodiment.
  • FIG. 23 is an explanatory diagram illustrating an example of the arrangement of the optical scale and the optical sensor unit according to the second embodiment.
  • FIG. 24 is a configuration diagram of an optical encoder unit according to the third embodiment.
  • FIG. 25 is a configuration diagram of an optical encoder unit according to the fourth embodiment.
  • FIG. 26 is a configuration diagram of an optical encoder unit according to the fifth embodiment.
  • FIG. 27 is a configuration diagram of an optical sensor unit according to the fifth embodiment.
  • FIG. 28 is a plan view of the optical sensor unit of FIG.
  • FIG. 29 is a configuration diagram of an optical sensor unit according to Modification 1 of Embodiment 5.
  • FIG. 30 is a plan view of the optical sensor unit of FIG.
  • FIG. 31 is a configuration diagram of an optical sensor unit according to Modification 2 of Embodiment 5.
  • 32 is a plan view of the optical sensor unit of FIG.
  • FIG. 33 is a configuration diagram of an optical sensor unit according to Modification 3 of Embodiment 5.
  • FIG. 34 is a plan view of the optical sensor unit of FIG.
  • FIG. 35 is a configuration diagram of an optical sensor unit according to Modification 4 of Embodiment 5.
  • 36 is a plan view of the optical sensor unit of FIG.
  • FIG. 1 is a configuration diagram of an optical encoder unit according to the first embodiment.
  • FIG. 2 is an external perspective view of the optical encoder unit according to the first embodiment.
  • FIG. 1 is a schematic cross-sectional view of FIG.
  • FIG. 3 is an explanatory diagram for explaining an example of the arrangement of the optical scale and the optical sensor unit.
  • FIG. 4 is a block diagram of the optical encoder according to the first embodiment.
  • FIG. 5 is an explanatory diagram illustrating an example of an optical scale pattern according to the first embodiment.
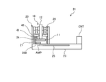
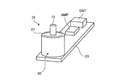
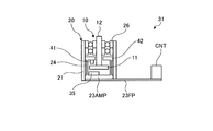
  • the optical encoder unit 31 includes a rotor 10 having a shaft 12 connected to a rotary machine such as a motor, a stator 20, and an optical sensor unit 35 capable of reading a signal pattern.
  • the rotor 10 has an optical scale 11 that is a disk-shaped or polygonal member shown in FIG.
  • the optical scale 11 is made of, for example, silicon, glass, a polymer material, or the like.
  • the optical scale 11 may be annular or hollow.
  • the optical scale 11 shown in FIG. 5 has a signal track T1 on one plate surface.
  • the rotor 10 has a shaft 12 attached to the other plate surface with respect to the plate surface to which the optical scale 11 is attached. Even if the optical scale 11 is tilted, it does not affect the polarization separation function when the tilt angle is small. That is, even if the optical scale 11 is inclined with respect to a plane orthogonal to the rotation center Zr, it functions as a polarization separation element.
  • the stator 20 includes a cylindrical cover 21 and a substrate 23.
  • the cylindrical cover 21 is fixed to the surface of the substrate 23 independently of the rotor 10, and the rotor 10 can rotate relative to the stator 20.
  • the cover 21 is made of a light-shielding member that surrounds the bearing 26, the shaft 12, the optical scale 11 attached to the end of the shaft 12, and the optical sensor unit 35. For this reason, the inside of the cover 21 can suppress extraneous optical noise.
  • the cover 21 supports the shaft 12 through a bearing 26 so as to be rotatable.
  • the inner periphery of the cover 21 is fixed to the outer ring of the bearing 26, and the outer periphery of the shaft 12 is fixed to the inner ring of the bearing 26.
  • the optical scale 11 When the shaft 12 is rotated by rotation from a rotary machine such as a motor, the optical scale 11 is rotated about the rotation center Zr in conjunction with the shaft 12.
  • the optical sensor unit 35 is fixed to the substrate 23.
  • the signal track T1 of the optical scale 11 moves relative to the optical sensor unit 35.
  • the optical encoder unit 31 includes a connector CNT that is an input / output terminal and a preamplifier AMP that is an amplifier, which are fixed to a substrate 23.
  • the light source 41 is fixed to the surface of the light source substrate 42.
  • the conductor wiring 25 provided on the surface or inside of the substrate 23 and the wiring 24 provided along the inside of the cover 21 appropriately connect the connector CNT, the preamplifier AMP, the optical sensor unit 35, and the light source 41. ing.
  • the optical scale 11 moves relative to the optical sensor unit 35 in the R direction, for example, as shown in FIG.
  • the polarization direction Pm of the polarizer in the plane is in a predetermined direction, and the polarization direction Pm is changed by rotation.
  • the optical sensor unit 35 can receive incident light (transmitted light) 73 that is incident after the light source light 71 of the light source 41 passes through the optical scale 11 and can read the signal track T1 of the optical scale 11 shown in FIG. .
  • the optical encoder unit 31 according to the first embodiment is not limited to the arrangement of the transmissive optical scale and the optical sensor described above, and may be the arrangement of the reflective optical scale and the optical sensor unit as in the embodiments described later. Good.
  • the light source 41 is, for example, a light emitting diode or a semiconductor laser light source, and details will be described later.
  • the optical encoder 2 includes the optical encoder unit 31 and the arithmetic device 3 described above, and the optical encoder unit 31 and the arithmetic device 3 are connected as shown in FIG.
  • the arithmetic device 3 is connected to a control unit 5 of a rotating machine such as a motor.
  • the optical encoder 2 uses the optical sensor unit 35 to detect incident light 73 that is incident on the optical scale 11 when the light source light 71 is transmitted or reflected.
  • the arithmetic device 3 calculates the relative position between the rotor 10 of the optical encoder unit 31 and the optical sensor unit 35 from the detection signal of the optical sensor unit 35, and controls the rotating machine such as a motor using the relative position information as a control signal. Output to unit 5.
  • the computing device 3 is a computer such as a personal computer (PC), and includes an input interface 4a, an output interface 4b, a CPU (Central Processing Unit) 4c, a ROM (Read Only Memory) 4d, and a RAM (Random Access Memory). 4e and an internal storage device 4f.
  • the input interface 4a, output interface 4b, CPU 4c, ROM 4d, RAM 4e, and internal storage device 4f are connected by an internal bus.
  • the arithmetic device 3 may be configured by a dedicated processing circuit.
  • the input interface 4a receives an input signal from the optical sensor unit 35 of the optical encoder unit 31 and outputs it to the CPU 4c.
  • the output interface 4 b receives a control signal from the CPU 4 c and outputs it to the control unit 5.
  • the ROM 4d stores programs such as BIOS (Basic Input Output System).
  • BIOS Basic Input Output System
  • the internal storage device 4f is, for example, an HDD (Hard Disk Drive) or a flash memory, and stores an operating system program and application programs.
  • the CPU 4c implements various functions by executing programs stored in the ROM 4d and the internal storage device 4f while using the RAM 4e as a work area.
  • the internal storage device 4f which is a storage unit, stores a database in which a polarization axis (to be described later) in the optical scale 11 and an output of a sensor of the optical sensor unit 35 are associated with each other. Further, the internal storage device 4f stores a database in which values of parameter azimuth angle ⁇ and inclination angle (zenith angle) ⁇ , which will be described later, are associated with position information of the optical scale 11. Alternatively, the internal storage device 4f stores a database in which a value of distance D described later is associated with position information of the optical scale 11.
  • an array of fine metal wires (wires) g called a wire grid pattern is formed on the optical scale 11 shown in FIG.
  • the optical scale 11 linearly arranges adjacent fine metal wires g as signal tracks T1 in parallel. For this reason, the optical scale 11 has the same polarization axis regardless of the position where the light source light 71 is irradiated, and the polarization direction of the polarizer in the plane is in one direction.
  • the optical scale 11 having the fine metal wires g called wire grid pattern can improve the heat resistance compared to the light-induced polarizing plate. Further, since the optical scale 11 is a line pattern having no intersecting portions locally, the optical scale 11 can be an optical scale with high accuracy and few errors. Moreover, since the optical scale 11 can be stably manufactured by batch exposure or nanoimprint technology, the optical scale 11 can be an optical scale with high accuracy and less error.
  • the optical scale 11 may be a light-induced polarizing plate.
  • the plurality of fine metal wires g are arranged without intersecting. Between adjacent metal thin wires g is a transmission region w through which all or part of the light source light 71 can be transmitted.
  • a transmission region w Between adjacent metal thin wires g is a transmission region w through which all or part of the light source light 71 can be transmitted.
  • the polarization axis of incident light incident on the optical sensor unit 35 changes according to the rotation of the optical scale 11.
  • the change of the polarization axis repeats the increase / decrease twice for one rotation of the optical scale 11.
  • the optical scale 11 does not need to be finely divided into segments having different polarization directions. And since the optical scale 11 has the uniform polarization axis Pm, there is no boundary of the area
  • the optical encoder 2 of Embodiment 1 can reduce the possibility of causing false detection or noise.
  • FIG. 6 is an explanatory diagram for explaining an example of the optical sensor unit according to the first embodiment.
  • FIG. 7 is an explanatory diagram for explaining an example of the first light receiving unit of the optical sensor according to the first embodiment.
  • FIG. 8 is an explanatory diagram for describing an example of a third light receiving unit of the optical sensor according to the first embodiment.
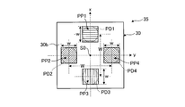
  • the optical sensor unit 35 includes, on the surface 30b of the unit substrate 30, a first light receiving part PD1 having a polarizing layer PP1, a second light receiving part PD2 having a polarizing layer PP2, A third light receiving part PD3 having a polarizing layer PP3 and a fourth light receiving part PD4 having a polarizing layer PP4 are included.
  • the first light receiving part PD1, the second light receiving part PD2, the third light receiving part PD3, and the fourth light receiving part PD4 are equidistant from the arrangement center S0 of the surface 30b of the unit base member 30 in plan view. Has been placed.
  • the light source light 71 emitted from the light source 41 passes through the optical scale 11 described above, and passes through the polarizing layer PP1, the polarizing layer PP2, the polarizing layer PP3, and the polarizing layer PP4 as incident light 73. Then, the light enters the first light receiving part PD1, the second light receiving part PD2, the third light receiving part PD3, and the fourth light receiving part PD4.
  • the distances from the first light receiving part PD1, the second light receiving part PD2, the third light receiving part PD3, and the fourth light receiving part PD4 to the arrangement center S0 are equal. With this structure, it is possible to reduce the calculation load on the CPU 4c which is the calculation means.
  • first light receiving part PD1 is arranged at a point-symmetrical position with respect to the third light receiving part PD3 via the arrangement center S0, and the second light receiving part PD2 is point-symmetrical with the fourth light receiving part PD4 via the arrangement center S0. Is arranged.
  • the first light receiving unit PD1 is arranged at a distance W from the third light receiving unit PD3 via the arrangement center S0, and the second light receiving unit PD2 is arranged at a distance W from the fourth light receiving unit PD4 through the arrangement center S0. Has been.
  • the virtual axis on the surface 30b of the unit base material 30 passing through the first light receiving part PD1, the placement center S0, and the third light receiving part PD3 is defined as the x axis
  • the virtual axis on the surface 30b of the unit base material 30 passing through the four light receiving parts PD4 is taken as the y axis.
  • the x axis is orthogonal to the y axis on the surface of the unit substrate 30.
  • D be the distance between the exit surface of the light source 41 and the arrangement center S0.
  • An xy plane formed by the x-axis and the y-axis is orthogonal to the z-axis connecting the emission surface of the light source 41 and the arrangement center S0.
  • each of the first light receiving part PD1, the second light receiving part PD2, the third light receiving part PD3, and the fourth light receiving part PD4 is disposed around the light source 41 when viewed in plan from the z-axis direction. ing. It is preferable that the distances from the first light receiving part PD1, the second light receiving part PD2, the third light receiving part PD3, and the fourth light receiving part PD4 to the arrangement center S0 are equal. With this structure, it is possible to reduce the calculation load on the CPU 4c which is the calculation means.
  • the first light receiving portion PD1 includes a silicon substrate 34, a light receiving portion 37, and a first polarizing layer 39a.
  • the third light receiving part PD3 includes a silicon substrate 34, a light receiving part 37, and a second polarizing layer 39b.
  • the silicon substrate 34 is an n-type semiconductor
  • the light receiving portion 37 is a p-type semiconductor
  • a photodiode formed by a PN junction with the silicon substrate 34 and the light receiving portion 37 can be configured.
  • the first polarizing layer 39a and the second polarizing layer 39b can be formed of a light-induced polarizing layer or a wire grid pattern in which fine metal wires are arranged in parallel.
  • the first polarizing layer 39a separates the incident light 73 incident from the light source light 71 into the optical scale 11 shown in FIG. 3 in the first polarization direction, and the second polarizing layer 39b separates the incident light into the second polarization direction.
  • the polarization axis of the first separated light and the polarization axis of the second separated light are relatively different by 90 °. With this configuration, the CPU 4c of the arithmetic device 3 can easily calculate the polarization angle.
  • the second light receiving unit PD2 includes a silicon substrate 34, a light receiving unit 37, and a first polarizing layer 39a.
  • the fourth light receiving portion PD4 includes a silicon substrate 34, a light receiving portion 37, and a second polarizing layer 39b.
  • the silicon substrate 34 is an n-type semiconductor
  • the light receiving portion 37 is a p-type semiconductor
  • a photodiode formed by a PN junction with the silicon substrate 34 and the light receiving portion 37 can be configured.
  • the first polarizing layer 39a and the second polarizing layer 39b can be formed of a light-induced polarizing layer or a wire grid pattern in which fine metal wires are arranged in parallel.
  • the first polarizing layer 39a separates the incident light 73 incident from the light source light 71 into the optical scale 11 shown in FIG. 3 in the first polarization direction
  • the second polarizing layer 39b separates the incident light into the second polarization direction.
  • the polarization axis of the first separated light and the polarization axis of the second separated light are relatively different by 90 °. With this configuration, the CPU 4c of the arithmetic device 3 can easily calculate the polarization angle.
  • the first light receiving unit PD1, the second light receiving unit PD2, the third light receiving unit PD3, and the fourth light receiving unit PD4 receive the incident light 73 through the polarization layers PP1, PP2, PP3, and PP4 that separate the different polarization directions, respectively. .
  • the polarization axis separated by the polarizing layer PP1 and the polarization axis separated by the polarizing layer PP2 are relatively different by 45 °.
  • the polarization axis separated by the polarizing layer PP2 and the polarization axis separated by the polarizing layer PP3 are relatively different by 45 °.
  • the polarization axis separated by the polarizing layer PP3 and the polarization axis separated by the polarizing layer PP4 are relatively different by 45 °. It is preferable that the polarization axis separated by the polarization layer PP4 and the polarization axis separated by the polarization layer PP1 are relatively different by 45 °. With this configuration, the CPU 4c of the arithmetic device 3 can easily calculate the polarization angle.
  • FIG. 10 and FIG. 11 are explanatory diagrams for explaining the separation of polarization components of the angle sensor according to the first embodiment.
  • incident light polarized in the polarization direction Pm is incident by the signal track T ⁇ b> 1 of the optical scale 11.
  • the sensing range includes foreign matter D1 and foreign matter D2.
  • the polarization direction Pm of incident light can be expressed by the light intensity PI ( ⁇ ) of the first polarization direction component and the light intensity PI (+) of the second polarization direction component.
  • the first polarization direction and the second polarization direction are preferably different from each other by 90 °, and are, for example, a + 45 ° component and a ⁇ 45 ° component with respect to the reference direction.
  • the axial direction of the wire grid is shown parallel to the paper surface.
  • the wire grid is inclined at the same angle with respect to the paper surface, it is polarized when the inclination angle is small.
  • the separation function is not affected. That is, even if the optical scale 11 is inclined with respect to the rotation axis, it functions as a polarization separation element.
  • the first light receiving unit PD1 detects the incident light through the first polarizing layer 39a that separates the incident light in the first polarization direction, so that the light intensity PI ( ⁇ ) Is detected.
  • the third light receiving unit PD3 detects incident light through the second polarizing layer 39b that separates the incident light in the second polarization direction, the light intensity PI (+ of the component in the second polarization direction) ) Is detected.
  • the second light receiving unit PD2 since the second light receiving unit PD2 detects incident light through the first polarizing layer 39a that separates the incident light in the first polarization direction, the light intensity of the component in the first polarization direction is detected.
  • PI (-) is detected.
  • the fourth light receiving unit PD4 detects incident light via the second polarizing layer 39b that separates the incident light in the second polarization direction, and thus the light intensity PI (+ of the component in the second polarization direction) ) Is detected.
  • FIG. 12 is a functional block diagram of the optical encoder according to the first embodiment.
  • FIG. 13 is an explanatory diagram for explaining the rotation angle of the optical scale according to the first embodiment and the light intensity change of the polarization component of each light receiving unit.
  • the light source 41 emits light based on the reference signal and irradiates the optical scale 11 with the light source light 71.
  • Incident light 73 that is transmitted light (may be incident light 72 that is reflected light described later) is received by the optical sensor unit 35 that is a light receiving unit.
  • the light reception signal amplified by the preamplifier AMP is subjected to differential arithmetic processing by the differential arithmetic circuit DS.
  • the differential arithmetic circuit DS detects the light intensity PI ( ⁇ ) of the first polarization direction component (first separation light) and the second polarization direction component (second separation), which are detection signals of the optical sensor unit 35.
  • the light intensity PI (+) of (light) is acquired.
  • the outputs of the first light receiving part PD1, the second light receiving part PD2, the third light receiving part PD3, and the fourth light receiving part PD4 corresponding to the light intensity PI ( ⁇ ) and the light intensity PI (+) are, for example, As shown in FIG. 13, the light intensities I1, I2, I3, and I4 are out of phase according to the rotation of the optical scale 11.
  • the differential arithmetic circuit DS calculates the optical intensity from the light intensity PI ( ⁇ ) of the first polarization direction component and the light intensity PI (+) of the second polarization direction component according to the expressions (1) and (2).
  • the differential signals Vc and Vs depending on the rotation of the scale 11 are calculated.
  • the differential operation circuit DS calculates the light intensity sum [I1 + I3] and the light intensity difference [I1-I3] based on the light intensity I1 and the light intensity I3, and the light intensity difference [I1 -I3] is divided by the sum of light intensities [I1 + I3] to calculate a differential signal Vc. Further, the differential operation circuit DS calculates the light intensity sum [I2 + I4] and the light intensity difference [I2-I4] based on the light intensity I2 and the light intensity I4, and the light intensity difference [I2-I4]. ] Is calculated by dividing the light intensity by the sum [I2 + I4] of the light intensity.
  • the differential signals Vc and Vs calculated by the equations (1) and (2) do not include parameters affected by the light intensity of the light source light 71, and the output of the optical encoder unit 31 is an optical sensor.
  • the influence of the distance between the unit 35 and the optical scale 11, the variation in the light intensity of the light source 41, and the like can be reduced.
  • the differential signal Vc is a function of the rotation angle ⁇ of the polarization axis of the optical scale 11 (hereinafter referred to as the polarization angle) ⁇ , which is the rotation angle of the optical scale 11.
  • the above division is not necessary when an automatic power control (APC) that controls the light quantity of the light source to be constant is provided.
  • APC automatic power control
  • the differential signals Vc and Vs are input to the filter circuit NR and noise is removed.
  • the multiplication circuit AP can calculate the Lissajous pattern shown in FIG. 14 from the differential signals Vc and Vs, and can specify the absolute angle of the rotation angle of the rotor 10 rotated from the initial position. Since the differential signals Vc and Vs are differential signals having a phase shift of ⁇ / 4, a Lissajous pattern with the cosine curve of the differential signal Vc on the horizontal axis and the sine curve of the differential signal Vs on the vertical axis is used. The Lissajous angle is determined according to the calculation and the rotation angle. For example, the Lissajous pattern shown in FIG.
  • the arithmetic device 3 has a function of storing whether the rotation position of the optical scale 11 is in the range of 0 ° or more and less than 180 ° or in the range of 180 ° or more and less than 360 °.
  • the optical encoder 2 can be an absolute encoder capable of calculating the absolute position of the rotor 10.
  • the optical encoder unit 31 may include the optical sensor unit 35 and the preamplifier AMP.
  • FIG. 15 is an explanatory diagram for explaining a position at which a predetermined multiple or more of the light intensity corresponding to the dark current of the optical sensor according to the first embodiment can be received.
  • the vertical axis in FIG. 15 is the distance from the z-axis light source
  • FIG. 16 is a plan view for explaining the light source according to the first embodiment.
  • FIG. 17 is an explanatory diagram illustrating a measurement example in which the light distribution of the light source according to the first embodiment is measured as a circular graph.
  • FIG. 18 is an explanatory diagram showing an example of the light distribution of the light source obtained by converting the circular graph of FIG. 17 into an orthogonal coordinate between the angle and the light intensity.
  • FIG. 19 is an explanatory diagram for explaining the influence of the positional deviation between the light source and the optical sensor unit on the light distribution of the light source.
  • the light source 41 emits through a lens, it can irradiate parallel light source light, so that the optical axis can be easily adjusted.
  • the light source 41 without a lens is inexpensive, but has a tendency to have a poor SN ratio because it uses diffused light.
  • the inventor of the present application has revealed that the S / N ratio depends on the dark current of the optical encoder unit 31 not receiving light and the light distribution of the light source 41. For this reason, as shown in FIG.
  • the optical encoder unit 31 can function within the detectable range Addet of FIG. 15. As a result, the positional relationship between the light source 41 and the optical sensor unit 35 can alleviate the required precise optical axis adjustment. More preferably, the distance D between the light source 41 and the optical sensor unit 35 is such that the optical encoder unit 31 receives a light intensity equal to or greater than 1000 times the light intensity corresponding to the dark current of the optical encoder unit 31 not receiving light. As described above, when the light source 41 and the optical sensor unit 35 are arranged, the detectable range Adet becomes narrow, but the SN ratio of the output of the optical sensor unit 35 is further improved.
  • the light source 41 shown in FIG. 16 is obtained by packaging a light source such as a light emitting diode, a vertical cavity surface emitting laser, and a light emitting device 41U such as a filament. The light emitting device 41U uses a surface emitting light source.
  • the light source 41 includes a base substrate 41F, a through conductive layer 41H embedded in the through hole SH, an external electrode 41P electrically connected to the through conductive layer 41H, a light emitting device 41U mounted on the base substrate 41F, A bonding wire 41W that electrically connects the light emitting device 41U and the through conductive layer 41H, a sealing resin 41M that protects the light emitting device 41U, and a light shielding film 41R are provided.
  • the light shielding film 41R of the light source 41 has a function of a diaphragm of the light source light 71 that narrows the light source light 71 emitted from the light emitting device 41U to the range of the emission surface 41T.
  • the exit surface 41T has no lens surface, and the exit surface 41T is a flat surface.
  • a bare chip of a light emitting diode (LED) can be used.
  • the light distribution that is the light intensity distribution in each direction emitted from the light source 41 can be measured by a light distribution distribution measuring device such as a goniophotometer.
  • the light distribution distribution measuring apparatus measures the intensity of light while the light receiver rotates on a circumference or a spherical surface centering on the light source 41 while the light receiving surface of the light receiver is directed toward the center of the light source 41.
  • the light distribution distribution measuring apparatus can store a circular graph, which is information of the light intensity dli for each angle around the light source 41 in the circumferential direction.
  • the bell shape shown in FIG. 17 When the circular graph shown in FIG. 17 is developed in an orthogonal coordinate system in which the angle in the circumferential direction of the circular graph is on the horizontal axis and the light intensity (radius length) of the circular graph is on the vertical axis, the bell shape shown in FIG. The light distribution becomes Rdli.
  • the vertical axis represents the light intensity (radius length) of the circular graph at the angle of the circumferential direction where the light intensity is strongest as 100.
  • the ratio of light intensity is shown.
  • the positional relationship between the light source 41 and the optical sensor unit 35 be adjusted to the optical axis and coincide with the z axis parallel to the rotation center Zr.
  • a positional shift due to assembly or the like occurs.
  • FIG. 19 when the positional relationship between the light source 41 and the optical sensor unit 35 in the xz plane has an optical axis shift of ⁇ by a positional shift component FA with respect to the z axis, FIG.
  • FIG. 20 is an explanatory diagram showing an example of the orientation distribution in which the orientation distribution of FIG. 18 is corrected by the positional deviation between the light source and the optical sensor unit.
  • the orientation distribution in FIG. 20 is the orientation distribution obtained by correcting the misalignment shown in FIG. 19 in the orientation distribution in FIG. 18, and the light intensity (radius length) of the circular graph with the circumferential angle of the circular graph as the horizontal axis. Is redrawn in the Cartesian coordinate system with the vertical axis.
  • FIG. 20 is an explanatory diagram showing an example of the orientation distribution in which the orientation distribution of FIG. 18 is corrected by the positional deviation between the light source and the optical sensor unit.
  • the orientation distribution in FIG. 20 is the orientation distribution obtained by correcting the misalignment shown in FIG. 19 in the orientation distribution in FIG. 18, and the light intensity (radius length) of the circular graph with the circumferential angle of the circular graph as the horizontal axis. Is redrawn in the Cartesian coordinate system with the vertical axi
  • an angle + ⁇ O and an angle ⁇ O are circumferential angles indicating a predetermined light intensity Is (for example, 50%).
  • the predetermined light intensity Is is not limited to 50% and may be another value.
  • the predetermined light intensity Is suddenly changes with a certain light intensity of the sensor (light receiving element) of the optical sensor unit 35, the influence of the measurement accuracy can be suppressed by selecting a value as a changing point. .
  • the range from the angle ⁇ O to the angle + ⁇ O will be described as the predetermined angle 2 ⁇ O. Since the graph of the light distribution shown in FIG.
  • the circumferential angle indicating the predetermined light intensity Is (for example, 50%) is the angle + ⁇ 1 and the angle ⁇ . 2 and the predetermined angle 2 ⁇ O may be in the range of the angle ⁇ 2 or more and the angle + ⁇ 1 or less (the angle + ⁇ 1 and the angle ⁇ 2 are not shown).
  • Light distribution of the light source light 71 shows the light distribution of a predetermined angle 2 [Theta] o with respect to the cross section of the exit surface 41T.
  • FIG. 21 is an explanatory diagram for explaining the position of the light receiving unit within a uniform range of the light distribution of the light source of the optical sensor according to the first embodiment.
  • the above-described angle ⁇ ⁇ O is projected on the xz plane, and the value of the distance D and the distance W are obtained as described below. Note that the angle ⁇ o of the light distribution is dependent on the light source 41, but is 45 ° even if the angle ⁇ o is narrowed.
  • the parameter line IDC shown in FIG. 21 satisfies the relationship of the following formula (3).
  • the first light receiving part PD1 is arranged at a distance W from the third light receiving part PD3 via the arrangement center S0, and the second light receiving part PD2 is arranged to be the fourth light receiving via the arrangement center S0. It is arranged at a distance W from the part PD4. Note that there is a width w that the first light receiving part PD1, the third light receiving part PD3, the second light receiving part PD2, and the fourth light receiving part PD4 have, and there is a restriction that the distance W is not smaller than the width 2w.
  • the distance W from the arrangement center S0 to each of the first light receiving part PD1, the second light receiving part PD2, the third light receiving part PD3, and the fourth light receiving part PD4 is within a uniform range of the light distribution of the light source 41, that is, the parameter Between line IDCs. Then, from the equation (3), the maximum value Dzmax and the minimum value Dzmin of the distance D between the emission surface of the light source 41 and the arrangement center S0 (optical sensor unit 35) are expressed by the following equation (4) with respect to the distance W. Meet.
  • the optical encoder unit 31 can use a light source 41 without a lens.
  • the S / N ratio can be improved by bringing the distance D between the emission surface of the light source 41 and the arrangement center S0 (optical sensor unit 35) closer.
  • the distance W to each of the first light receiving part PD1, the second light receiving part PD2, the third light receiving part PD3, and the fourth light receiving part PD4 can be arranged within a range where light can be received by reducing the influence of light diffused by the light source 41. . Therefore, the measurement accuracy of the optical encoder unit 31 and the optical encoder 2 is improved.
  • FIG. 22 is a configuration diagram of an optical encoder unit according to the second embodiment.
  • FIG. 23 is an explanatory diagram illustrating an example of the arrangement of the optical scale and the optical sensor unit according to the second embodiment.
  • symbol is attached
  • the optical encoder unit 31 the light source light 71 of the light source 41 is reflected on the optical scale 11, and the reflected light thus reflected is used as the incident light 72.
  • the distance D between the emission surface of the light source 41 and the arrangement center S0 (optical sensor unit 35) is half that of the first embodiment as specular reflection.
  • the optical encoder unit 31 according to the second embodiment includes an annular light shielding plate 17. Thereby, since the unnecessary reflection by the light shielding plate 17 can be suppressed, the measurement accuracy can be improved.
  • FIG. 24 is a configuration diagram of an optical encoder unit according to the third embodiment.
  • symbol is attached
  • the optical encoder unit 31 according to the third embodiment has the same transmissive optical scale and optical sensor arrangement as in the first embodiment, but unlike the first embodiment, the substrate 23 is a flexible substrate 23FP.
  • the optical sensor unit 35A is directly laminated on the amplifier of the package product. Since the preamplifier AMP is built in the cover 21, durability can be improved.
  • the preamplifier AMP may be mounted on the bare chip with a light receiving element and an amplifier circuit. In the preamplifier AMP, the light receiving element and the amplifier circuit may be integrally formed by a semiconductor process.
  • FIG. 25 is a configuration diagram of an optical encoder unit according to the fourth embodiment.
  • symbol is attached
  • the optical encoder unit 31 according to the fourth embodiment has the same reflective optical scale and optical sensor arrangement as those of the second embodiment.
  • the substrate 23 is a flexible substrate 23FP.
  • the optical sensor unit 35 is laminated directly on the amplifier of the package product. Since the preamplifier AMP is built in the cover 21, durability can be improved.
  • the preamplifier AMP may be mounted on the bare chip with a light receiving element and an amplifier circuit. In the preamplifier AMP, the light receiving element and the amplifier circuit may be integrally formed by a semiconductor process.
  • FIG. 26 is a configuration diagram of an optical encoder unit according to the fifth embodiment.
  • symbol is attached
  • the optical encoder unit 31 according to the fifth embodiment has the same transmissive optical scale and optical sensor arrangement as those of the first embodiment, but unlike the first embodiment, the preamplifier AMP is packaged with an integrated circuit of an amplifier circuit.
  • the optical sensor unit 35B is directly laminated on the packaged amplifier.
  • FIG. 27 is a configuration diagram of an optical sensor unit according to the fifth embodiment.
  • FIG. 28 is a plan view of the optical sensor unit of FIG.
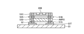
  • the optical sensor unit 35B includes a first light receiving part PD1 having a polarizing layer PP1, a second light receiving part PD2 having a polarizing layer PP2, and a third light receiving part PD3 having a polarizing layer PP3. And a bare chip of a light receiving element including the fourth light receiving portion PD4 having the polarizing layer PP4. Since the optical sensor unit 35B is a bare chip, it is not packaged.
  • the optical sensor unit 35B is fixed on the preamplifier AMP via an adhesive layer 51.
  • the substrate 23 has a surface mounted with a preamplifier AMP on the surface thereof, and bonding of conductive molten metal such as solder or conductive resin connected to the wiring 24 of the substrate 23 shown in FIG.
  • the land of the member 52 and the preamplifier AMP are electrically connected. Accordingly, the preamplifier AMP is easily fixed on the substrate 23 by electrically melting the ball-shaped or paste-like conductive molten metal sandwiched between the substrate 23 and the like by a reflow apparatus. Connected.
  • the bonding apparatus connects the terminal 23T connected to the wiring 24 of the substrate 23 described above and each terminal of the optical sensor unit 35B with a conductive metal wire 53 such as Au.
  • the optical sensor unit 35B is integrated on the preamplifier AMP, and even if the outer shape of the cover 21 is small, the preamplifier AMP and the optical sensor unit 35B are built in the cover 21 (see FIG. 26).
  • the optical encoder unit 31 according to the fifth embodiment is reduced in size.
  • the optical encoder unit 31 according to the fifth embodiment can automate at least a part of processes using a reflow apparatus, a bonding apparatus, and the like, and can reduce costs. Since the connection distance of the signal wiring between the preamplifier AMP and the optical sensor unit 35B is shortened, the optical sensor unit 35B according to the fifth embodiment can reduce the signal noise and increase the accuracy.
  • FIG. 29 is a configuration diagram of an optical sensor unit according to Modification 1 of Embodiment 5.
  • FIG. 30 is a plan view of the optical sensor unit of FIG.
  • the optical sensor unit 35B according to the first modification of the fifth embodiment does not package the preamplifier AMP1, but remains as a bare chip, and the optical sensor unit 35B is disposed on the preamplifier AMP1 and has an adhesive layer. It is fixed via 51B.
  • the bonding apparatus connects the terminal 23T connected to the wiring 24 of the substrate 23 and each terminal 55 of the preamplifier AMP1 with a conductive metal wire 53B such as Au.
  • a conductive metal wire 53B such as Au.
  • An adhesive layer 51A is interposed between the substrate 23 and the preamplifier AMP1
  • an adhesive layer 51B is interposed between the preamplifier AMP1 and the optical sensor unit 35B, so that the substrate 23, the preamplifier AMP1 and the optical sensor unit 35B are interposed. The position of is fixed.
  • the bonding apparatus connects each terminal 54 of the preamplifier AMP1 and each terminal of the optical sensor unit 35B with a conductive metal wire 53A such as Au.
  • Each terminal 54 of the preamplifier AMP1 and each terminal of the optical sensor unit 35B need to expose each terminal 54 of the lower preamplifier AMP1, so that the bare chip of the preamplifier AMP1 is an optical sensor unit.
  • the chip size is larger than the 35B bare chip.
  • the optical sensor unit 35B is integrated on the preamplifier AMP1, and the preamplifier AMP1 and the optical sensor unit 35B are built in the cover 21 even if the outer shape of the cover 21 is small.
  • both the preamplifier AMP1 and the optical sensor unit 35B are bare chips, they are thin, and the optical encoder unit 31 according to the first modification of the fifth embodiment is small. Further, the optical encoder unit 31 according to the first modification of the fifth embodiment can automate at least a part of the process using a bonding apparatus or the like, and can reduce the cost. Since the connection distance of the signal wiring between the preamplifier AMP1 and the optical sensor unit 35B is shortened, the optical sensor unit 35B according to the first modification of the fifth embodiment can reduce signal noise and increase accuracy.
  • FIG. 31 is a configuration diagram of an optical sensor unit according to Modification 2 of Embodiment 5.
  • 32 is a plan view of the optical sensor unit of FIG.
  • the optical sensor unit 35B according to the second modification of the fifth embodiment does not package the preamplifier AMP2, but remains as a bare chip, and the optical sensor unit 35B is disposed on the preamplifier AMP2. It is fixed via 51A.
  • the bare chip of the optical sensor unit 35B is provided with a conductive through wiring 53C that penetrates the upper surface and the back surface.
  • the bare chip of the preamplifier AMP2 also includes a conductive through wiring 53D that penetrates the top surface and the back surface.
  • the through wiring 53C and the through wiring 53D are arranged in each bare chip so that the through wiring 53C and the through wiring 53D overlap each other in plan view.
  • the reflow apparatus includes a bonding member 52 made of a conductive metal such as solder and the terminal 23T connected to the wiring 24 of the substrate 23 and the through wiring 53D of the preamplifier AMP2. Connect with.
  • the through wiring 53D of the preamplifier AMP2 and the through wiring 53C of the optical sensor unit 35B are connected by a bonding member 52A made of conductive metal such as solder.
  • An adhesive layer 51A is interposed between the substrate 23 and the preamplifier AMP2, and an adhesive layer 51B is interposed between the preamplifier AMP2 and the optical sensor unit 35B, so that the substrate 23, the preamplifier AMP2 and the optical sensor unit 35B are interposed. The position of is fixed.
  • the optical sensor unit according to Modification 2 of Embodiment 5 it is not necessary to expose the external shape of the preamplifier AMP2 when the through wiring 53D of the preamplifier AMP2 and the through wiring 53C of the optical sensor unit 35B are overlapped. For this reason, the bare chip of the preamplifier AMP2 may be smaller than the chip size of the bare chip of the optical sensor unit 35B. As described above, the optical sensor unit 35B is integrated on the preamplifier AMP2, and even if the outer shape of the cover 21 is small, the preamplifier AMP2 and the optical sensor unit 35B are built in the cover 21.
  • both the preamplifier AMP2 and the optical sensor unit 35B are bare chips, they are thinner and smaller, and the optical encoder unit 31 according to the second modification of the fifth embodiment is small. Moreover, the optical encoder unit 31 according to the second modification of the fifth embodiment can automate at least a part of the process using a reflow apparatus or the like, and can reduce the cost. Since the connection distance of the signal wiring between the preamplifier AMP2 and the optical sensor unit 35B is shortened, the optical sensor unit 35B according to the second modification of the fifth embodiment can reduce the signal noise and increase the accuracy.
  • FIG. 33 is a configuration diagram of an optical sensor unit according to Modification 3 of Embodiment 5.
  • FIG. 34 is a plan view of the optical sensor unit of FIG. As shown in FIGS. 33 and 34, the optical sensor unit 35C according to the third modification of the fifth embodiment and the preamplifier AMP3 are integrated and left as a bare chip on the substrate 23 via an adhesive layer 51A. It is fixed.
  • the optical sensor unit 35C includes a first light receiving unit PD1 having a polarizing layer PP1, a second light receiving unit PD2 having a polarizing layer PP2, and a third light receiving unit PD3 having a polarizing layer PP3.
  • a light receiving element including the fourth light receiving part PD4 having the polarizing layer PP4 and the preamplifier AMP3 are bare chips formed of a semiconductor integrated circuit. Since the optical sensor unit 35C is a bare chip, it is not packaged.
  • Each of the light receiving portions PD1 to PD4 of the optical sensor unit 35C is connected to the preamplifier AMP3 in the integrated circuit (inside the bare chip).
  • An optical sensor unit 35C is surface-mounted on the surface of the substrate 23.
  • the terminal 23T connected to the wiring 24 of the substrate 23 described above and each preamplifier AMP3 of the optical sensor unit 35C are electrically conductive such as Au.
  • the metal wire 53 is electrically connected.
  • the optical sensor unit 35C and the preamplifier AMP3 are integrated and integrated. Therefore, even if the outer shape of the cover 21 is small, the optical sensor unit 35C and the preamplifier AMP3 are , Built in the cover 21. Since the optical sensor unit 35C is one bare chip, it is thinner and smaller. As a result, the optical encoder unit 31 according to the third modification of the fifth embodiment can be reduced in size. Further, the optical encoder unit 31 according to the third modification of the fifth embodiment can automate at least a part of the process using a bonding apparatus or the like, and can reduce the cost. Since the connection distance of the signal wiring between the preamplifier AMP3 and the optical sensor unit 35B is shortened, the optical sensor unit 35B according to the modified example 3 of the fifth embodiment can reduce signal noise and increase accuracy.
  • FIG. 35 is a configuration diagram of an optical sensor unit according to Modification 4 of Embodiment 5.
  • 36 is a plan view of the optical sensor unit of FIG.
  • the optical sensor unit 35B according to the fourth modification of the fifth embodiment does not package the preamplifier AMP2, but remains as a bare chip, and the optical sensor unit 35B is placed on the preamplifier AMP2. It is fixed via 52A.
  • the arithmetic circuit ACB is not packaged, and the preamplifier AMP2 is fixed on the arithmetic circuit ACB via the bonding member 52B, with the bare chip remaining as it is.
  • the joining member 52A and the joining member 52B are the same conductive material as the joining member 52 described above.
  • the arithmetic circuit ACB is an integrated circuit having the function of the differential arithmetic circuit DS described in the first embodiment.
  • the arithmetic circuit ACB may be an integrated circuit having the functions of the filter circuit NR and the multiplier circuit AP in addition to the differential arithmetic circuit DS described in the first embodiment.
  • the bare chip of the optical sensor unit 35B is provided with a conductive through wiring 53C that penetrates the upper surface and the back surface.
  • the bare chip of the preamplifier AMP2 also includes a conductive through wiring 53D that penetrates the top surface and the back surface.
  • the bare chip of the arithmetic circuit ACB also includes a conductive through wiring 53E that penetrates the upper surface and the back surface.
  • a conductive through wiring 53E that penetrates the upper surface and the back surface.
  • the reflow device includes a conductive metal bonding member such as a solder that connects the terminal 23T connected to the wiring 24 of the substrate 23 and the through wiring 53E of the arithmetic circuit ACB. Connect at 52.
  • a conductive metal bonding member such as a solder that connects the terminal 23T connected to the wiring 24 of the substrate 23 and the through wiring 53E of the arithmetic circuit ACB. Connect at 52.
  • the through wiring 53E of the arithmetic circuit ACB and the through wiring 53D of the preamplifier AMP2 are connected by a conductive metal joining member 52B such as solder.
  • the through wiring 53D of the preamplifier AMP2 and the through wiring 53C of the optical sensor unit 35B are connected by a conductive metal bonding member 52A such as solder.
  • An adhesive layer 51A is interposed between the substrate 23 and the arithmetic circuit ACB, and the positions of the substrate 23 and the arithmetic circuit ACB are fixed.
  • the bare chip of the arithmetic circuit ACB and the preamplifier AMP2 may be smaller than the chip size of the bare chip of the optical sensor unit 35B.
  • the optical sensor unit 35B is integrated on the arithmetic circuit ACB and the preamplifier AMP2, and the arithmetic circuit ACB, the preamplifier AMP2, and the optical sensor unit 35B are built in the cover 21 even if the cover 21 has a small outer shape. Since the arithmetic circuit ACB, the preamplifier AMP2, and the optical sensor unit 35B are all bare chips, they are thinner and smaller.
  • the optical encoder unit 31 according to the fourth modification of the fifth embodiment can be reduced in size.
  • the optical encoder unit 31 according to the fourth modification of the fifth embodiment can automate at least a part of the process using a reflow apparatus or the like, and can reduce the cost. Since the connection distance of the signal wiring between the preamplifier AMP2 and the optical sensor unit 35B is shortened, the optical sensor unit 35B according to the fourth modification of the fifth embodiment can reduce the signal noise and increase the accuracy.
  • Embodiment 5 and the optical sensor unit 35B according to each modification can be appropriately combined with the other components described above.
  • the substrate 23 may be the flexible substrate 23FP described in the second embodiment.
  • Optical Encoder 3 Arithmetic Unit 5
  • Control Unit 10 Rotor 11
  • Optical Scale 12 Shaft 17 Shading Plate 20
  • Stator 21 Cover 23
  • Bearing 30 Unit Base Material 30b
  • Surface 31 Optical Encoder Units 35, 35A, 35B
  • Light source light 72, 73 Incident light AMP Preamplifier AP Multiplier circuit
  • CNT Connector D Distance Vc Differential signal
  • Vs Differential signal Vs Differential signal

Landscapes

  • Physics & Mathematics (AREA)
  • General Physics & Mathematics (AREA)
  • Optical Transform (AREA)
PCT/JP2014/079131 2013-11-05 2014-10-31 光学式エンコーダユニット及び光学式エンコーダ Ceased WO2015068662A1 (ja)

Priority Applications (4)

Application Number Priority Date Filing Date Title
US15/034,076 US10156459B2 (en) 2013-11-05 2014-10-31 Optical encoder unit, and optical encoder
CN201480059252.XA CN105683718B (zh) 2013-11-05 2014-10-31 光学式编码器单元以及光学式编码器
EP14860233.7A EP3067668B1 (en) 2013-11-05 2014-10-31 Optical encoder unit and optical encoder
JP2015546627A JP6369474B2 (ja) 2013-11-05 2014-10-31 光学式エンコーダユニット及び光学式エンコーダ

Applications Claiming Priority (2)

Application Number Priority Date Filing Date Title
JP2013229565 2013-11-05
JP2013-229565 2013-11-05

Publications (1)

Publication Number Publication Date
WO2015068662A1 true WO2015068662A1 (ja) 2015-05-14

Family

ID=53041439

Family Applications (1)

Application Number Title Priority Date Filing Date
PCT/JP2014/079131 Ceased WO2015068662A1 (ja) 2013-11-05 2014-10-31 光学式エンコーダユニット及び光学式エンコーダ

Country Status (5)

Country Link
US (1) US10156459B2 (enExample)
EP (1) EP3067668B1 (enExample)
JP (2) JP6369042B2 (enExample)
CN (1) CN105683718B (enExample)
WO (1) WO2015068662A1 (enExample)

Cited By (1)

* Cited by examiner, † Cited by third party
Publication number Priority date Publication date Assignee Title
CN107095644A (zh) * 2016-02-19 2017-08-29 光宝光电(常州)有限公司 光感测器模组及具有该光感测器模组的穿戴装置

Families Citing this family (6)

* Cited by examiner, † Cited by third party
Publication number Priority date Publication date Assignee Title
CN109073423A (zh) * 2016-02-25 2018-12-21 日本精工株式会社 传感器
JP2018100837A (ja) * 2016-12-19 2018-06-28 セイコーエプソン株式会社 エンコーダー、ロボットおよびプリンター
JP7080129B2 (ja) * 2018-08-01 2022-06-03 株式会社トプコン 角度検出システムおよび角度検出方法
CN111024225B (zh) * 2019-12-02 2021-12-31 西北核技术研究院 一种激光远场桶中功率分布曲线的绝对测量方法
EP4394332A1 (de) * 2023-01-01 2024-07-03 POLDI microelectronics GmbH Verfahren zur iterativen erzeugung einer matrix aus grundelementen
EP4394461B1 (de) * 2023-01-01 2025-07-16 POLDI microelectronics GmbH Integrierte schaltung zur messung der polarisation von licht

Citations (9)

* Cited by examiner, † Cited by third party
Publication number Priority date Publication date Assignee Title
JPS61225626A (ja) * 1985-03-29 1986-10-07 Mitsubishi Electric Corp 光計測装置
JPH06174494A (ja) * 1992-12-09 1994-06-24 Oki Electric Ind Co Ltd エンコーダ
JP2000022196A (ja) * 1998-04-28 2000-01-21 Canare Electric Co Ltd 量子波干渉層を有した受光素子
JP2002208725A (ja) * 2000-11-13 2002-07-26 Mitsutoyo Corp 受光素子アレイとこれを用いた光学式エンコーダ及び受光素子アレイの製造方法
JP2008243869A (ja) * 2007-03-26 2008-10-09 Tdk Corp 受光装置
JP2009086609A (ja) * 2007-10-01 2009-04-23 Zero Rabo Kk 回転位置検出回路及びプロジェクタ装置
JP2009238792A (ja) * 2008-03-26 2009-10-15 Nec Corp 光増幅装置および入力光レベル計算方法ならびに光増幅器制御装置
JP2012168167A (ja) * 2011-01-27 2012-09-06 Mitsutoyo Corp 光電式エンコーダ及びそのアライメント調整方法
WO2013065737A1 (ja) 2011-10-31 2013-05-10 日本精工株式会社 光学スケール、光学スケールの製造方法及び光学式エンコーダ

Family Cites Families (17)

* Cited by examiner, † Cited by third party
Publication number Priority date Publication date Assignee Title
JPH01216213A (ja) * 1988-02-25 1989-08-30 Mitsutoyo Corp 光学式変位検出器
US4922095A (en) 1989-05-11 1990-05-01 Conoco Inc. Method and apparatus for sensing disturbance using fiber-optic polarization rotation
JP3349343B2 (ja) * 1996-05-08 2002-11-25 山洋電気株式会社 光電式エンコーダ
US5981941A (en) 1996-05-20 1999-11-09 Matsushita Electric Industrial Co., Ltd. Optical encorder for detection having a moving reference point
US5844673A (en) * 1998-04-17 1998-12-01 Cambridge Technology, Inc. Axial led position detector for determining the angular position of a rotatable element
EP0954034A3 (en) 1998-04-28 2000-01-26 Canare Electric Co., Ltd. Light receiving device with quantum-wave interference layers
DE60009171T2 (de) * 2000-06-15 2004-10-14 Scanlab Ag Ein positionsdetektor für eine abtastvorrichtung
JP3695398B2 (ja) 2002-01-30 2005-09-14 富士ゼロックス株式会社 光学式エンコーダ及びエンコーダ用スケール
JP4476682B2 (ja) 2003-05-16 2010-06-09 株式会社ミツトヨ 光電式エンコーダ
CN100346138C (zh) 2004-03-17 2007-10-31 台达电子工业股份有限公司 旋转光学编码器、编码盘和旋转光学编码器的编码方法
JP4364711B2 (ja) 2004-04-14 2009-11-18 シャープ株式会社 光学式エンコーダおよびそれを備えた電子機器
JP4857785B2 (ja) * 2006-01-27 2012-01-18 ミツミ電機株式会社 エンコーダ付モータ及びその組立方法
US7777879B2 (en) 2007-02-01 2010-08-17 Stmicroelectronics (Research & Development) Ltd. Rotary encoders
JP2010230409A (ja) * 2009-03-26 2010-10-14 Olympus Corp 光学式エンコーダ
JP5562077B2 (ja) * 2010-03-10 2014-07-30 キヤノン株式会社 光学式エンコーダ、エンコーダ、干渉計測装置、計測方法
US8760852B2 (en) 2012-04-24 2014-06-24 Avx Corporation Solid electrolytic capacitor containing multiple sinter bonded anode leadwires
EP2657652B1 (de) * 2012-04-27 2015-10-28 SICK STEGMANN GmbH Vorrichtung zur Messung des Drehwinkels zweier relativ zueinander um eine Drehachse rotierender Objekte

Patent Citations (9)

* Cited by examiner, † Cited by third party
Publication number Priority date Publication date Assignee Title
JPS61225626A (ja) * 1985-03-29 1986-10-07 Mitsubishi Electric Corp 光計測装置
JPH06174494A (ja) * 1992-12-09 1994-06-24 Oki Electric Ind Co Ltd エンコーダ
JP2000022196A (ja) * 1998-04-28 2000-01-21 Canare Electric Co Ltd 量子波干渉層を有した受光素子
JP2002208725A (ja) * 2000-11-13 2002-07-26 Mitsutoyo Corp 受光素子アレイとこれを用いた光学式エンコーダ及び受光素子アレイの製造方法
JP2008243869A (ja) * 2007-03-26 2008-10-09 Tdk Corp 受光装置
JP2009086609A (ja) * 2007-10-01 2009-04-23 Zero Rabo Kk 回転位置検出回路及びプロジェクタ装置
JP2009238792A (ja) * 2008-03-26 2009-10-15 Nec Corp 光増幅装置および入力光レベル計算方法ならびに光増幅器制御装置
JP2012168167A (ja) * 2011-01-27 2012-09-06 Mitsutoyo Corp 光電式エンコーダ及びそのアライメント調整方法
WO2013065737A1 (ja) 2011-10-31 2013-05-10 日本精工株式会社 光学スケール、光学スケールの製造方法及び光学式エンコーダ

Non-Patent Citations (1)

* Cited by examiner, † Cited by third party
Title
See also references of EP3067668A4 *

Cited By (1)

* Cited by examiner, † Cited by third party
Publication number Priority date Publication date Assignee Title
CN107095644A (zh) * 2016-02-19 2017-08-29 光宝光电(常州)有限公司 光感测器模组及具有该光感测器模组的穿戴装置

Also Published As

Publication number Publication date
EP3067668B1 (en) 2019-01-30
JP6369042B2 (ja) 2018-08-08
US10156459B2 (en) 2018-12-18
EP3067668A4 (en) 2017-10-04
CN105683718A (zh) 2016-06-15
JPWO2015068662A1 (ja) 2017-03-09
US20160282149A1 (en) 2016-09-29
JP2015111089A (ja) 2015-06-18
JP6369474B2 (ja) 2018-08-08
CN105683718B (zh) 2018-05-15
EP3067668A1 (en) 2016-09-14

Similar Documents

Publication Publication Date Title
JP6369474B2 (ja) 光学式エンコーダユニット及び光学式エンコーダ
US10670430B2 (en) Sensor
JP5999147B2 (ja) センサ及びセンサの製造方法
JP6036761B2 (ja) センサ
JP6044599B2 (ja) センサ
JP6446792B2 (ja) 光学式エンコーダユニット及び光学式エンコーダ
JP6380589B2 (ja) 光学式エンコーダユニット
JP2016114590A (ja) センサの製造方法及びセンサ
JP6717352B2 (ja) センサ
US10139252B2 (en) Optical sensor
JP6361377B2 (ja) センサ
JP6736887B2 (ja) ロータリエンコーダ及び光センサの製造方法
JP2018072099A (ja) 光センサの製造方法
WO2016021635A1 (ja) 光センサ及び光学式エンコーダユニット
JP6354202B2 (ja) 光学式エンコーダユニット及び光学式エンコーダ
JP6421577B2 (ja) センサ
JP2016057127A (ja) センサ及びセンサの製造方法
JP2019035774A (ja) 光学式エンコーダユニット及び光学式エンコーダ
WO2017022260A1 (ja) センサの製造方法及びセンサ
WO2016021647A1 (ja) センサ及びセンサの製造方法
JP2016114420A (ja) センサ、センサの基板及びセンサの製造方法
WO2017145344A1 (ja) センサ、センサの基板及びセンサの製造方法

Legal Events

Date Code Title Description
121 Ep: the epo has been informed by wipo that ep was designated in this application

Ref document number: 14860233

Country of ref document: EP

Kind code of ref document: A1

ENP Entry into the national phase

Ref document number: 2015546627

Country of ref document: JP

Kind code of ref document: A

REEP Request for entry into the european phase

Ref document number: 2014860233

Country of ref document: EP

WWE Wipo information: entry into national phase

Ref document number: 2014860233

Country of ref document: EP

WWE Wipo information: entry into national phase

Ref document number: 15034076

Country of ref document: US

NENP Non-entry into the national phase

Ref country code: DE