WO2015049817A1 - シート製造装置およびシートの製造方法 - Google Patents
シート製造装置およびシートの製造方法 Download PDFInfo
- Publication number
- WO2015049817A1 WO2015049817A1 PCT/JP2014/003388 JP2014003388W WO2015049817A1 WO 2015049817 A1 WO2015049817 A1 WO 2015049817A1 JP 2014003388 W JP2014003388 W JP 2014003388W WO 2015049817 A1 WO2015049817 A1 WO 2015049817A1
- Authority
- WO
- WIPO (PCT)
- Prior art keywords
- unit
- opening
- defibrated material
- defibrated
- sorting
- Prior art date
- Legal status (The legal status is an assumption and is not a legal conclusion. Google has not performed a legal analysis and makes no representation as to the accuracy of the status listed.)
- Ceased
Links
Images
Classifications
-
- D—TEXTILES; PAPER
- D21—PAPER-MAKING; PRODUCTION OF CELLULOSE
- D21H—PULP COMPOSITIONS; PREPARATION THEREOF NOT COVERED BY SUBCLASSES D21C OR D21D; IMPREGNATING OR COATING OF PAPER; TREATMENT OF FINISHED PAPER NOT COVERED BY CLASS B31 OR SUBCLASS D21G; PAPER NOT OTHERWISE PROVIDED FOR
- D21H5/00—Special paper or cardboard not otherwise provided for
- D21H5/26—Special paper or cardboard manufactured by dry method; Apparatus or processes for forming webs by dry method from mainly short-fibre or particle material, e.g. paper pulp
- D21H5/2607—Pretreatment and individualisation of the fibres, formation of the mixture fibres-gas and laying the fibres on a forming surface
-
- B—PERFORMING OPERATIONS; TRANSPORTING
- B07—SEPARATING SOLIDS FROM SOLIDS; SORTING
- B07B—SEPARATING SOLIDS FROM SOLIDS BY SIEVING, SCREENING, SIFTING OR BY USING GAS CURRENTS; SEPARATING BY OTHER DRY METHODS APPLICABLE TO BULK MATERIAL, e.g. LOOSE ARTICLES FIT TO BE HANDLED LIKE BULK MATERIAL
- B07B1/00—Sieving, screening, sifting, or sorting solid materials using networks, gratings, grids, or the like
- B07B1/18—Drum screens
-
- B—PERFORMING OPERATIONS; TRANSPORTING
- B07—SEPARATING SOLIDS FROM SOLIDS; SORTING
- B07B—SEPARATING SOLIDS FROM SOLIDS BY SIEVING, SCREENING, SIFTING OR BY USING GAS CURRENTS; SEPARATING BY OTHER DRY METHODS APPLICABLE TO BULK MATERIAL, e.g. LOOSE ARTICLES FIT TO BE HANDLED LIKE BULK MATERIAL
- B07B1/00—Sieving, screening, sifting, or sorting solid materials using networks, gratings, grids, or the like
- B07B1/18—Drum screens
- B07B1/22—Revolving drums
-
- B—PERFORMING OPERATIONS; TRANSPORTING
- B07—SEPARATING SOLIDS FROM SOLIDS; SORTING
- B07B—SEPARATING SOLIDS FROM SOLIDS BY SIEVING, SCREENING, SIFTING OR BY USING GAS CURRENTS; SEPARATING BY OTHER DRY METHODS APPLICABLE TO BULK MATERIAL, e.g. LOOSE ARTICLES FIT TO BE HANDLED LIKE BULK MATERIAL
- B07B13/00—Grading or sorting solid materials by dry methods, not otherwise provided for; Sorting articles otherwise than by indirectly controlled devices
-
- B—PERFORMING OPERATIONS; TRANSPORTING
- B07—SEPARATING SOLIDS FROM SOLIDS; SORTING
- B07B—SEPARATING SOLIDS FROM SOLIDS BY SIEVING, SCREENING, SIFTING OR BY USING GAS CURRENTS; SEPARATING BY OTHER DRY METHODS APPLICABLE TO BULK MATERIAL, e.g. LOOSE ARTICLES FIT TO BE HANDLED LIKE BULK MATERIAL
- B07B13/00—Grading or sorting solid materials by dry methods, not otherwise provided for; Sorting articles otherwise than by indirectly controlled devices
- B07B13/14—Details or accessories
- B07B13/16—Feed or discharge arrangements
-
- B—PERFORMING OPERATIONS; TRANSPORTING
- B07—SEPARATING SOLIDS FROM SOLIDS; SORTING
- B07B—SEPARATING SOLIDS FROM SOLIDS BY SIEVING, SCREENING, SIFTING OR BY USING GAS CURRENTS; SEPARATING BY OTHER DRY METHODS APPLICABLE TO BULK MATERIAL, e.g. LOOSE ARTICLES FIT TO BE HANDLED LIKE BULK MATERIAL
- B07B9/00—Combinations of apparatus for screening or sifting or for separating solids from solids using gas currents; General arrangement of plant, e.g. flow sheets
-
- B—PERFORMING OPERATIONS; TRANSPORTING
- B29—WORKING OF PLASTICS; WORKING OF SUBSTANCES IN A PLASTIC STATE IN GENERAL
- B29C—SHAPING OR JOINING OF PLASTICS; SHAPING OF MATERIAL IN A PLASTIC STATE, NOT OTHERWISE PROVIDED FOR; AFTER-TREATMENT OF THE SHAPED PRODUCTS, e.g. REPAIRING
- B29C41/00—Shaping by coating a mould, core or other substrate, i.e. by depositing material and stripping-off the shaped article; Apparatus therefor
- B29C41/24—Shaping by coating a mould, core or other substrate, i.e. by depositing material and stripping-off the shaped article; Apparatus therefor for making articles of indefinite length
- B29C41/26—Shaping by coating a mould, core or other substrate, i.e. by depositing material and stripping-off the shaped article; Apparatus therefor for making articles of indefinite length by depositing flowable material on a rotating drum
-
- B—PERFORMING OPERATIONS; TRANSPORTING
- B29—WORKING OF PLASTICS; WORKING OF SUBSTANCES IN A PLASTIC STATE IN GENERAL
- B29D—PRODUCING PARTICULAR ARTICLES FROM PLASTICS OR FROM SUBSTANCES IN A PLASTIC STATE
- B29D7/00—Producing flat articles, e.g. films or sheets
- B29D7/01—Films or sheets
-
- D—TEXTILES; PAPER
- D21—PAPER-MAKING; PRODUCTION OF CELLULOSE
- D21B—FIBROUS RAW MATERIALS OR THEIR MECHANICAL TREATMENT
- D21B1/00—Fibrous raw materials or their mechanical treatment
- D21B1/04—Fibrous raw materials or their mechanical treatment by dividing raw materials into small particles, e.g. fibres
- D21B1/06—Fibrous raw materials or their mechanical treatment by dividing raw materials into small particles, e.g. fibres by dry methods
- D21B1/08—Fibrous raw materials or their mechanical treatment by dividing raw materials into small particles, e.g. fibres by dry methods the raw material being waste paper; the raw material being rags
-
- D—TEXTILES; PAPER
- D21—PAPER-MAKING; PRODUCTION OF CELLULOSE
- D21D—TREATMENT OF THE MATERIALS BEFORE PASSING TO THE PAPER-MAKING MACHINE
- D21D1/00—Methods of beating or refining; Beaters of the Hollander type
- D21D1/20—Methods of refining
-
- D—TEXTILES; PAPER
- D21—PAPER-MAKING; PRODUCTION OF CELLULOSE
- D21D—TREATMENT OF THE MATERIALS BEFORE PASSING TO THE PAPER-MAKING MACHINE
- D21D5/00—Purification of the pulp suspension by mechanical means; Apparatus therefor
- D21D5/02—Straining or screening the pulp
-
- D—TEXTILES; PAPER
- D21—PAPER-MAKING; PRODUCTION OF CELLULOSE
- D21F—PAPER-MAKING MACHINES; METHODS OF PRODUCING PAPER THEREON
- D21F9/00—Complete machines for making continuous webs of paper
-
- D—TEXTILES; PAPER
- D21—PAPER-MAKING; PRODUCTION OF CELLULOSE
- D21H—PULP COMPOSITIONS; PREPARATION THEREOF NOT COVERED BY SUBCLASSES D21C OR D21D; IMPREGNATING OR COATING OF PAPER; TREATMENT OF FINISHED PAPER NOT COVERED BY CLASS B31 OR SUBCLASS D21G; PAPER NOT OTHERWISE PROVIDED FOR
- D21H17/00—Non-fibrous material added to the pulp, characterised by its constitution; Paper-impregnating material characterised by its constitution
- D21H17/20—Macromolecular organic compounds
- D21H17/33—Synthetic macromolecular compounds
- D21H17/46—Synthetic macromolecular compounds obtained otherwise than by reactions only involving carbon-to-carbon unsaturated bonds
- D21H17/53—Polyethers; Polyesters
-
- B—PERFORMING OPERATIONS; TRANSPORTING
- B27—WORKING OR PRESERVING WOOD OR SIMILAR MATERIAL; NAILING OR STAPLING MACHINES IN GENERAL
- B27N—MANUFACTURE BY DRY PROCESSES OF ARTICLES, WITH OR WITHOUT ORGANIC BINDING AGENTS, MADE FROM PARTICLES OR FIBRES CONSISTING OF WOOD OR OTHER LIGNOCELLULOSIC OR LIKE ORGANIC MATERIAL
- B27N3/00—Manufacture of substantially flat articles, e.g. boards, from particles or fibres
- B27N3/08—Moulding or pressing
- B27N3/10—Moulding of mats
- B27N3/14—Distributing or orienting the particles or fibres
-
- Y—GENERAL TAGGING OF NEW TECHNOLOGICAL DEVELOPMENTS; GENERAL TAGGING OF CROSS-SECTIONAL TECHNOLOGIES SPANNING OVER SEVERAL SECTIONS OF THE IPC; TECHNICAL SUBJECTS COVERED BY FORMER USPC CROSS-REFERENCE ART COLLECTIONS [XRACs] AND DIGESTS
- Y02—TECHNOLOGIES OR APPLICATIONS FOR MITIGATION OR ADAPTATION AGAINST CLIMATE CHANGE
- Y02W—CLIMATE CHANGE MITIGATION TECHNOLOGIES RELATED TO WASTEWATER TREATMENT OR WASTE MANAGEMENT
- Y02W30/00—Technologies for solid waste management
- Y02W30/50—Reuse, recycling or recovery technologies
- Y02W30/64—Paper recycling
Definitions
- the present invention relates to a sheet manufacturing apparatus and a sheet manufacturing method.
- a so-called wet method in which a raw material containing fibers is put into water, disaggregated mainly by mechanical action, and re-made.
- a wet type sheet manufacturing apparatus requires a large amount of water, and the apparatus becomes large. Furthermore, it takes time and effort to maintain the water treatment facility, and energy related to the drying process increases.
- Patent Document 1 a piece of paper is defibrated in a dry defibrating machine, the fiber is deinked in a cyclone, and the deinked fiber is passed through a small hole screen on the surface of the forming drum, on a mesh belt. And forming a paper.
- the present invention has been made to solve at least a part of the above-described problems, and can be realized as the following aspects or application examples.
- a sorting unit having a first opening for sorting the defibrated material that has been defibrated; A second opening having a size equal to or larger than that of the first opening, and a defibrating unit for passing the defibrated material that has passed through the selection unit through the second opening.
- a depositing portion on which the defibrated material that has passed through the loosening portion is deposited.
- the defibrated material passes through the first opening of the sorting unit.
- a part of the first opening may be in a state where the defibrated material that has passed through the sorting portion is deposited unevenly, for example, due to clogging or the like. Therefore, the defibrated material that has passed through the sorting section is further passed through the second opening. Since the second opening is larger than the size of the first opening, the defibrated material passes through without clogging. Therefore, it can deposit uniformly.
- the defibrated material that has passed through the sorting unit is further sent to the loosening unit, the defibrated material may stick together and become a lump, but the defibrated material that has become a lump by passing through the second opening is loosened. be able to.
- the loosening part can deposit the defibrated material with good uniformity on the accumulation part, and such a sheet manufacturing apparatus can manufacture a sheet having strength and good texture.
- the size of the second opening may be larger than the size of the first opening.
- a plurality of the second openings of the loosening portion are provided, The plurality of second openings may have the same size.
- the plurality of second openings have the same size, they can be uniformly deposited on the deposition portion by passing through the second openings.
- a plurality of the first openings of the sorting unit are provided, The plurality of first openings may have the same size.
- the size of the defibrated material passing through the first openings of the sorting unit can be set to a certain range.
- the sorting section is movable;
- the loosening portion is movable;
- the sorting unit may move faster than the unwinding unit.
- the sorting unit is more likely to be clogged than the loosening unit. For this reason, the fiber having a size passing through the first opening may be caught by the clogged portion and may not pass.
- the centrifugal force becomes large and the first opening can be passed. Moreover, it can suppress that the quantity per unit time of the defibrated material which passes 1st opening by clogging reduces.
- the sorting section is movable;
- the sorting unit may move faster than the unwinding unit.
- the sorting unit is more likely to be clogged than the loosening unit. For this reason, the fiber having a size passing through the first opening may be caught by the clogged portion and may not pass.
- the centrifugal force becomes large and the first opening can be passed.
- the loosening portion can pass the fiber from the inside of the second opening using an airflow or the like without moving.
- the resin When supplying the resin to the transport unit connected to the sorting unit on the upstream side in the transport direction of the defibrated material, the resin is applied to the unsorted product (residue that has not passed through the first opening) that has not been sorted in the sorting unit. May adhere. Then, the resin adhering to the unsorted material is not used for the subsequent production of the sheet, and the amount of the resin is wasted. Moreover, even if it supplies resin to the defibrated material after passing through the loosening part, it does not mix uniformly. By supplying the resin between the sorting unit and the unwinding unit, it becomes possible to mix the fiber and the resin in the middle of conveying to the unwinding unit or at the unwinding unit, and the resin is not discarded.
- a defibrating unit for defibrating an object to be defibrated And a return channel that returns the defibrated material that has not passed through the sorting unit to the defibrating unit.
- a residue that has not passed through the sorting unit (for example, a residue including undefibrated pieces and a defibrated material larger than the opening of the sorting unit) is defibrated in the defibrating unit. Can be processed. That is, undefibrated pieces can be used for sheet production without being discarded.
- a sorting section that sorts the defibrated material that has been defibrated through the first opening; A loosening part for loosening the defibrated material that has passed through the sorting part; A depositing portion on which the defibrated material that has passed through the loosening portion is deposited.
- the defibrated material passes through the first opening of the sorting unit. At this time, a part of the first opening is in a state in which the defibrated material that has passed through the sorting unit is deposited unevenly, for example, due to clogging or the like. Therefore, the defibrated material can be leveled and made uniform by disposing the defibrated material that has passed through the sorting unit. As a result, a sheet having strength and good texture can be produced.
- One aspect of the sheet manufacturing method according to the present invention is as follows. Selecting the defibrated material that has been defibrated by the first opening; Passing the defibrated material that has passed through the first opening through the second opening having a size equal to or larger than the size of the first opening; And a step of depositing the defibrated material that has passed through the second opening.
- Such a sheet manufacturing method can manufacture a sheet with good texture.
- One aspect of the sheet manufacturing method according to the present invention is as follows. There are a plurality of the first openings and the second openings, The plurality of first openings have the same size. The plurality of second openings may have the same size.
- the sorting portion having the first opening and the loosening portion having the second opening are movable,
- the sorting unit may be moved faster than the unwinding unit.
- the defibrated material is bound between the step of selecting the defibrated material that has been defibrated by the first opening and the step of allowing the defibrated material that has passed through the first opening to pass through the second opening. You may provide the process of supplying resin.
- One aspect of the sheet manufacturing method according to the present invention is as follows. You may provide the process of returning the defibrated material which did not pass the said 1st opening to the defibrating part which defibrated the to-be-defibrated material.
- the figure which shows a defibrated material typically.
- the figure which shows a defibrated material typically.
- the figure which shows a non-defibrated piece typically.
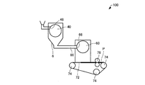
- FIG. 1 is a diagram schematically illustrating a sheet manufacturing apparatus 100 according to the present embodiment.
- the sorting unit 40 and the unwinding unit 60 are simplified.
- the sheet manufacturing apparatus 100 includes a crushing unit 10, a defibrating unit 20, a classification unit 30, a sorting unit 40, a resin supply unit 50, a loosening unit 60, and a sheet forming unit 70. And including.
- the crushing unit 10 cuts raw materials such as a pulp sheet and a charged sheet (for example, A4-size waste paper) into pieces into pieces.
- a pulp sheet and a charged sheet for example, A4-size waste paper
- the shape and size of the strip are not particularly limited, for example, it is a strip of several cm square.
- the crushing unit 10 has a crushing blade 11, and the charged raw material can be cut by the crushing blade 11.
- the crushing unit 10 may be provided with an automatic input unit (not shown) for continuously supplying raw materials.
- the strips cut by the crushing unit 10 are received by the hopper 5 and then conveyed to the defibrating unit 20 via the first conveying unit 81.
- the first transport unit 81 communicates with the introduction port 21 of the defibrating unit 20.
- the shapes of the first transport unit 81 and second to sixth transport units 82 to 86 to be described later are, for example, tubular.
- the defibrating unit 20 performs a defibrating process on the fine pieces (defibrated material).
- the defibrating unit 20 generates the fibers 2 that have been unraveled into a fibrous shape by defibrating the strip.
- FIG. 2 and FIG. 3 are diagrams schematically showing the unraveled fiber 2.
- defibration treatment refers to unraveling a strip formed by binding a plurality of fibers into individual fibers. What has passed through the defibrating unit 20 is referred to as “defibrated material”.
- resin resin for binding multiple fibers
- ink resin for binding multiple fibers
- bleeding prevention It may also contain ink particles such as materials.
- the “defibrated material” is at least a part of what has passed through the defibrating unit 20, and what is added after passing through the defibrating unit 20 may be mixed.
- the shape of the unraveled fiber 2 is a string shape or a ribbon shape. However, the unraveled fiber 2 exists in an untangled state (independent state) with other unraveled fibers as shown in FIG. 2, but other unraveling fibers as shown in FIG. In some cases, the fiber 2 is entangled with the fibers 2 to form a lump (a so-called “dama” is formed).
- the length of the unraveled fiber 2 (the length in the longitudinal direction of the unraveled fiber 2, hereinafter also referred to as “fiber length”) is, for example, 50 ⁇ m or more and 10 mm or less.
- the “fiber length” is a distance between both ends of a single independent fiber that is pulled as necessary without breaking, and placed in a substantially linear state in that state.
- the cross-sectional shape of the unraveled fiber 2 is not particularly limited, and may be polygonal, circular, or elliptical.
- the description of “fiber” mainly refers to the unraveled fiber.
- the “defibrated material” may include “undefibrated pieces”. As shown schematically in FIG. 4, the “undefibrated pieces” are pieces that are not defibrated in a fibrous form and are broken into pieces introduced into the defibrating unit 20. That is, the undefibrated pieces 4 are fine pieces that have been defibrated in the defibrating unit 20 but have not been defibrated.
- the shape of the undefined piece 4 is not particularly limited, and the size of the undefined piece 4 is, for example, 1 mm or more and 10 mm or less when represented by an opening of a test sieve measured by a sieving method.
- “defibrating treatment” means introducing and discharging the defibrated material (strips) into the defibrating unit 20 that is being driven. The case where the defibrated pieces 4 are generated is also included.
- the defibrating unit 20 separates resin particles and ink particles such as ink, toner, and a bleeding prevention material adhering to the strip from the fiber.
- the resin particles and the ink particles are discharged from the discharge port 22 together with the defibrated material.
- the defibrating unit 20 performs a defibrating process on the strip introduced from the inlet 21 with a rotary blade.
- the defibrating unit 20 performs defibration in a dry manner in the air.
- the rotational speed of the defibrating unit 20 is 3000 rpm or more and 10,000 rpm or less. When the rotational speed is smaller than 3000 rpm, the ratio of the undefibrated pieces 4 may be increased. If the rotational speed is greater than 10,000 rpm, the proportion of relatively short fibers may increase, causing a reduction in the strength of the manufactured sheet.
- the defibrating unit 20 preferably has a mechanism for generating an air flow.
- the defibrating unit 20 can suck the fine pieces together with the airflow from the introduction port 21 by the airflow generated by itself, perform the defibrating process, and convey the strip to the discharge port 22.
- the defibrated material discharged from the discharge port 22 is introduced into the classification unit 30 via the second transport unit 82 as shown in FIG.
- the classifying unit 30 separates and removes resin particles and ink particles from the defibrated material.
- an airflow classifier is used as the classification unit 30.
- the airflow classifier generates a swirling airflow and separates it by centrifugal force and the size and density of what is classified, and the classification point can be adjusted by adjusting the speed of the airflow and the centrifugal force.
- a cyclone, an elbow jet, an eddy classifier, or the like is used as the classification unit 30.
- the structure of the cyclone is simple, it can be suitably used as the classification unit 30. Below, the case where a cyclone is used as the classification part 30 is demonstrated.
- the classification unit 30 includes an inlet 31, a cylindrical part 32 to which the inlet 31 is connected, an inverted conical part 33 located below the cylindrical part 32 and continuing to the cylindrical part 32, and a lower part of the inverted conical part 33.
- a lower discharge port 34 provided at the center and an upper discharge port 35 provided at the upper center of the cylindrical portion 32 are provided.
- centrifugal force is applied to the introduced defibrated material, and the first classified material (fiber 2 and undefibrated piece 4) and the second classified material (resin that is smaller than the first classified material and has a lower density). Grains, ink grains).
- the first classified product is discharged from the lower discharge port 34 and is introduced to the introduction port 46 of the sorting unit 40 through the third transport unit 83.
- the second classified product is discharged from the upper discharge port 35 to the outside of the classification unit 30 through the fourth transport unit 84.
- the resin particles are discharged to the outside by the classification unit 30, even when the resin is supplied by the resin supply unit 50 described later, it is possible to prevent the resin from being excessive with respect to the defibrated material. .
- a relatively small or low density of the first classified product may be discharged to the outside together with the second classified product.
- those having a relatively high density and those entangled with the first classified product may be introduced into the sorting unit 40 together with the first classified product.
- the classification unit 30 may not be provided as a sheet manufacturing apparatus. Therefore, what is introduced into the sorting unit 40 is not limited to what is classified by the classifying unit 30.
- the sorting unit 40 sorts the defibrated material that has been defibrated in the air into a “passage” that passes through the first opening 42 of the sorting unit 40 and a “residue” that does not pass through the first opening 42. .
- the sorting unit 40 will be described more specifically.
- FIG. 5 is a perspective view schematically showing the selection unit 40.
- FIG. 6 is a plan view (development view) in which the mesh portion 41 of the sorting unit 40 is developed.
- the sorting unit 40 includes a net part 41, disk parts 44 and 45, an introduction port 46, and a discharge port 47.
- the sorting unit 40 is a rotary sieve in which the mesh unit 41 is rotated around the rotation axis Q by a motor (not shown). When the mesh part 41 rotates, the defibrated material in the mesh part 41 passes through the first opening 42 and does not pass through the first opening 42.
- the mesh part 41 of the sorting part 40 has a plurality of first openings 42.
- the mesh part 41 is composed of a wire mesh such as a plain weave wire mesh or a welded wire mesh.
- the net part 41 is a metal net formed in a cylindrical shape, and the inside of the cylinder is hollow. In addition, since it is difficult to make a perfect circle with a cylindrical shape, it is not an accurate circle but includes an ellipse and a polygon.
- the selection part 40 instead of the net part 41 composed of a metal net, an expanded metal obtained by extending a cut metal plate may be used, or a punching metal in which a hole is formed in the metal plate by a press machine or the like. May be used.
- the first opening 42 is a hole formed by extending a cut formed in a metal plate.
- the 1st opening 42 is a hole formed in the metal plate with the press.
- the member having the first opening 42 may be made of a material other than metal.
- the first opening 42 provided in the net 41 of the sorting unit 40 is the mesh of the net 41.
- the net part 41 has a plurality of linear line parts 43 made of metal, and the first opening 42 is a part surrounded by the line parts 43.
- the shape of the first opening 42 is not particularly limited as long as the sorting unit 40 functions as a sieve, and may be a polygon, a circle, an ellipse, or the like, but in the example shown in FIG. 6, it is a square.
- the shapes and sizes of the plurality of first openings 42 are preferably the same.
- the plurality of first openings 42 are preferably arranged with good uniformity.
- the “shape of the first opening” refers to the planar shape of the first opening 42 when the mesh portion 41 is cylindrical when the mesh portion 41 is cylindrical.
- the above description regarding the first opening is the same for the “second opening” described later.
- the mesh opening of the mesh part 41 of the sorting part 40 is preferably 300 ⁇ m or more and 2000 ⁇ m or less.
- the mesh opening is smaller than 300 ⁇ m, the fiber length is short, so that the number of intersections between the fibers increases. Since the number of fibers that bind the fibers to each other is limited, there may be places where the fibers are not bound to each other, and the strength of the manufactured sheet may be reduced. If the mesh opening is larger than 2000 ⁇ m, there is a high possibility that undefibrated pieces 4 that have not been defibrated pass through the first opening 42, and the texture of the manufactured sheet may deteriorate.
- “mesh” is a size A between adjacent line portions 43 when the net portion 41 is developed.
- the mesh opening is the length of one side of the square.
- the disc parts 44 and 45 of the sorting part 40 are arranged in two openings formed at the end parts by making the net part 41 cylindrical.
- the disc portion 44 is provided with an inlet 46 for introducing the defibrated material
- the disc portion 45 is provided with an outlet 47 for discharging the residue.
- the disc parts 44 and 45 are in contact with the end part of the net part 41 so that the net part 41 can rotate.
- the disc parts 44 and 45 and the net part 41 are in contact with each other without any gap, thereby preventing the defibrated material in the net part 41 from leaking outside.
- the positions of the introduction port 46 and the discharge port 47 are not particularly limited, but in the example shown in FIG. 5, the introduction port 46 and the discharge port 47 are provided at positions shifted from the rotation axis Q of the sorting unit 40. Specifically, in the example shown in FIG. 5, the introduction port 46 is provided vertically above the rotation axis Q and below the uppermost vertical portion of the net 41. The discharge port 47 is provided below the rotation axis Q in the vertical direction and above the lowermost part of the net 41 in the vertical direction. Inside the net 41, defibrated material that does not pass through the first opening 42 is accumulated.
- the defibrated material can be supplied to the space where the defibrated material is not accumulated, so that the defibrated material does not stagnate at the introduction port 46. .
- the defibrated material that cannot pass through the first opening 42 accumulates in the lower part in the vertical direction, so that it is easy to discharge by providing the discharge port 47 below the rotation axis Q in the vertical direction.
- the diameters of the introduction port 46 and the discharge port 47 are smaller than the radius of the cylinder of the net part 41. Thereby, there is not too much defibrated material supplied from the inlet 46, and the inside of the net part 41 is not filled with the defibrated material. In addition, the defibrated material is also prevented from being discharged from the discharge port 47 without being sufficiently selected.
- the net unit 41 of the sorting unit 40 is movable.
- the net 41 can rotate around the rotation axis Q.
- the rotation speed of the net part 41 is, for example, 50 rpm or more and 800 rpm or less. It is preferable that the moving / swinging speed of the mesh part 41 of the sorting part 40 is larger than the moving speed of the mesh part 61 of the loosening part 60. That is, the net 41 of the sorting unit 40 rotates faster than the net 61 of the loosening unit 60.
- “movement speed” can be rephrased as the rotation speed (rotation speed) of the net portions 41 and 61 when the net portions 41 and 61 rotate.
- the rotation speed (rotation speed) of the mesh section 41 of the sorting section 40 is larger than the rotation speed (rotation speed) of the mesh section 61 of the loosening section 60.
- network part 41 may move not only in rotation but in a horizontal direction or a vertical direction. Therefore, “movement” includes rotation, linear movement, pendulum-like reciprocation, and the like, and “movement speed” includes movement speed, frequency, and frequency in each direction. The description regarding “movement” is the same for “second opening” described later.
- the defibrated material that has been defibrated is introduced into the sorting unit 40 from the introduction port 46.
- network part 41 rotates, what passed the 1st opening 42 is discharged
- the passing material fibers shorter than the size of the opening of the first opening 42 are mainly used.
- what did not pass the 1st opening 42 is discharged
- the residue is a fiber having a length that cannot pass through the first opening 42, an undefined piece 4, or a dama.
- the sorting unit 40 can sort fibers (passed material) shorter than a certain length from the defibrated material that has been defibrated by the mesh unit 41 having the first opening 42.
- the residue that has not passed through the first opening 42 of the sorting unit 40 is discharged from the discharge port 47 and transferred to the hopper 5 via the fifth transfer unit 85 as a return flow path. Then, it is returned to the defibrating unit 20 again.
- the passing material that has passed through the first opening 42 of the sorting unit 40 is received by the hopper 5 and then transferred to the introduction port 66 of the loosening unit 60 via the sixth transfer unit 86.
- the sixth transport unit 86 is provided with a supply port 51 for supplying a resin that binds fibers (bonds defibrated materials).
- the resin supply unit 50 supplies resin in the air from the supply port 51 to the sixth transport unit 86. That is, the resin supply unit 50 supplies the resin to the path (from between the selection unit 40 and the loosening unit 60) where the passing material that has passed through the first opening 42 travels from the selection unit 40 to the loosening unit 60.
- the resin supply part 50 if resin can be supplied to the 6th conveyance part 86, A screw feeder, a circle feeder, etc. are used.
- the mechanism for mixing the defibrated material and the resin is not limited to the turbo blower, and may be agitated by a blade rotating at high speed like a juicer mixer, or the container may be rotated like a V-type mixer. It may be used.
- the resin supplied from the resin supply unit 50 is a resin for binding a plurality of fibers.
- the resin is supplied to the sixth transport unit 86, the plurality of fibers are not bound.
- the resin is cured when passing through a sheet forming portion 70 described later, and binds a plurality of fibers.
- the resin supplied from the resin supply unit 50 is a thermoplastic resin or a thermosetting resin, and is an AS resin, ABS resin, polypropylene, polyethylene, polyvinyl chloride, polystyrene, acrylic resin, polyester resin, polyethylene terephthalate, polyphenylene ether, Examples include polybutylene terephthalate, nylon, polyamide, polycarbonate, polyacetal, polyphenylene sulfide, and polyetheretherketone. These resins may be used alone or in combination.
- Resin supplied from the resin supply unit 50 may be fibrous or powdery.
- the fiber length of the resin is preferably equal to or less than the fiber length of the fiber 2.
- the fiber length of the resin is 3 mm or less, more preferably 2 mm or less. If the fiber length of the resin is greater than 3 mm, it may not be possible to pass through the second opening 62 of the loosening portion 60 and it may be difficult to mix with the fibers 2 with good uniformity.
- the particle size of the resin is 1 ⁇ m or more and 50 ⁇ m or less, more preferably 2 ⁇ m or more and 20 ⁇ m or less.
- the particle size of the resin When the particle size of the resin is smaller than 1 ⁇ m, the binding force for binding the fibers 2 may be reduced. If the particle size of the resin is larger than 20 ⁇ m, it may be difficult to mix with the fibers 2 with good uniformity, and the adhesion to the fibers 2 may be reduced and the fibers 2 may be separated.
- the amount of resin supplied from the resin supply unit 50 is appropriately set according to the type of sheet to be manufactured.
- a colorant for coloring the fibers 2 and an aggregation preventing material for preventing the aggregation of the fibers 2 are supplied according to the type of sheet to be produced. Also good.
- the supplied resin is mixed with the passing material that has passed through the first opening 42 by a mixing unit (not shown) provided in the sixth transport unit 86.
- the mixing unit generates an air flow for conveying the passing material and the resin to the loosening unit 60 while mixing the passing material and the resin.
- the loosening unit 60 loosens tangled passing objects. Furthermore, the loosening part 60 loosens the entangled resin when the resin supplied from the resin supply part 50 is fibrous. Further, the loosening unit 60 uniformly deposits the passing material and the resin on the deposition unit 72 described later. In other words, the term “unwind” includes the action of breaking up intertwined things and the action of depositing them uniformly. If there is no entanglement, the film is uniformly deposited.
- FIG. 7 is a perspective view schematically showing the loosening portion 60.
- the loosening unit 60 is a rotary sieve that can be rotated by a motor (not shown).
- the “sieving” used as the loosening unit 60 may not have a function of selecting a specific object. That is, the “sieving” used as the loosening part 60 means that the mesh part 61 having a plurality of second openings 62 is provided.
- the loosening part 60 is a defibrated material introduced into the loosening part 60. All of the resin may be discharged to the outside from the second opening 62.
- the loosening part 60 has a net part 61, disk parts 64 and 65, and an introduction port 66.
- the difference in configuration between the loosening unit 60 and the sorting unit 40 is that it does not have a discharge port (a portion corresponding to the discharge port 47 of the sorting unit 40).
- the description of the portion having the same shape as the sorting unit 40 is omitted.
- the net part 61 of the loosening part 60 has a plurality of second openings 62.
- the size of the second opening 62 is greater than or equal to the size of the first opening 42. That is, the size of the second opening 62 is the same as the size of the first opening 42 or larger than the size of the first opening 42. However, the upper limit of the size of the second opening 62 is 5 mm. By setting the size of the second opening 62 to 5 mm or less, it is possible to loosen and allow the fibers to get entangled without passing them.
- the second opening 62 Since the passing material that has passed through the first opening 42 can pass through the second opening 62, the second opening 62 is not clogged. In addition, even if there are fibers or resin entangled in the sixth transport unit 86 after passing through the first opening 42, they are loosened when passing through the second opening 62. Therefore, the fibers and the resin that have passed through the second opening 62 are deposited on the deposition section 72 described later with a uniform thickness and density. In addition, when the 1st opening 42 and the 2nd opening 62 are made into the same magnitude
- the loosening part 60 does not have a portion corresponding to the discharge port 47 of the sorting part 40 and does not have a flow path for returning the defibrated material that does not pass through the loosening part 60 to the defibrating part 20. That is, it does not have a flow path which connects the loosening part 60 and the defibrating part 20.
- the “size of the opening” is the area of the opening in a state in which the nets 41 and 61 are unfolded when the nets 41 and 61 are cylindrical as shown in FIGS.
- the “size of the opening” means the nets 41 and 61. It may be an opening of.
- the “size of the opening” may be the diameter of the openings 42 and 62. In the case of other than a square or circle, the dimension of the largest dimension may be used. Note that “more than the size of the opening” means that the size of the opening is the same or larger.
- the net part 61 of the loosening part 60 is movable. Specifically, the net 61 is cylindrical as shown in FIG. 7 and rotates about the rotation axis Q. As the net 61 rotates, the second opening 62 also rotates.
- the rotation speed (rotation speed) of the net 61 is, for example, 30 rpm or more and 600 rpm or less. That is, the rotation speed (movement speed) of the mesh unit 41 is higher than the rotation speed (movement speed) of the mesh unit 61. Since the net
- the mesh portion 41 it is easier for the mesh portion 41 to pass through the first opening 42 when the rotation speed is higher.
- the size of the opening of the mesh portion 61 is equal to or larger than the size of the opening of the mesh portion 41, the defibrated material easily passes through the second opening 62 even if the rotational speed is slower than that of the mesh portion 41.
- the mixture of the passing material (fiber) and the resin that has passed through the sorting part 40 is introduced into the loosening part 60 from the introduction port 66.
- the mixture introduced into the loosening part 60 moves to the mesh part 61 side by centrifugal force.
- the mixture introduced into the loosening part 60 may contain entangled fibers and resin, and the entangled fibers and resin are loosened in the air by the rotating mesh part 61. Then, the loosened fiber or resin passes through the second opening 62.
- the fibers and the resin that have passed through the second opening 62 pass through the air and are uniformly deposited on the deposition portion 72 described later.
- “untangling the entangled fibers” means a case where the entangled fibers are completely unraveled (when all the fibers are unraveled) and an entangled fiber that can pass through the second opening 62. To loosen a part of The same applies to the meaning of “releasing entangled resin”.
- size of the opening of the 2nd opening 62 even if the defibrated material which passes through it is intertwined, it does not become a problem as a texture.
- “uniformly deposited” refers to a state in which deposited deposits are deposited with the same thickness and the same density. However, since not all the deposits are manufactured as a sheet, it is sufficient that the portion to be a sheet is uniform.
- “Non-uniform deposition” refers to a state in which deposition is not uniform.
- the sheet forming unit 70 includes a stacking unit 72, a stretching roller 74, a heater roller 76, a tension roller 77, and a take-up roller 78.
- the sheet forming unit 70 forms a sheet using the defibrated material and the resin that have passed through the loosening unit 60.
- the sheet forming unit 70 will be specifically described.
- the deposition part 72 of the sheet forming part 70 receives and deposits the defibrated material and the resin that have passed through the second opening 62 of the loosening part 60.
- the deposition part 72 is located below the loosening part 60.
- the accumulation part 72 receives the defibrated material and the resin that have passed through the second opening 62, and is, for example, a mesh belt.
- a mesh stretched by a stretch roller 74 is formed on the mesh belt.
- the deposition unit 72 moves as the stretching roller 74 rotates.
- a web having a uniform thickness is formed on the deposition portion 72 by the defibrated material and the resin continuously falling from the loosening portion 60 while the deposition portion 72 continuously moves.
- a suction device may be provided that is located below the unwinding unit 60 via the deposition unit 72 and generates a downward airflow (an airflow from the unwinding unit 60 toward the deposition unit 72). .
- the suction device can form a downflow in the defibrated material and the resin dropping path, and can prevent the defibrated material and the resin from being entangled during the dropping.
- the material of the mesh belt used as the accumulation portion 72 of the sheet forming portion 70 is metal, resin, nonwoven fabric, or the like.
- the hole diameter (diameter) of the mesh belt is, for example, not less than 60 ⁇ m and not more than 250 ⁇ m. If the hole diameter of the mesh belt is smaller than 60 ⁇ m, it may be difficult to form a stable airflow by the suction device. If the hole diameter of the mesh belt is larger than 250 ⁇ m, fibers may enter between the meshes, and the surface of the manufactured sheet may become uneven.
- the defibrated material and the resin deposited on the deposition part 72 of the sheet molding part 70 are heated and pressurized by passing through the heater roller 76 as the deposition part 72 moves.
- the resin functions as a binder to bind the fibers together, is thinned by pressurization, and further passes through a calendar roller (not shown) to smooth the surface, whereby the sheet P is formed.
- the sheet P is wound up by a winding roller 78.
- the sheet P can be manufactured.
- the sheet manufacturing apparatus 100 has the following effects.
- the defibrated material passes through the first opening 42 of the sorting unit 40, the defibrated material that cannot pass through the first opening 42 is selected. Then, the defibrated material having a size passing through the first opening 42 is arranged. However, since the first opening 42 is clogged and has a portion that cannot pass through, the defibrated material that has passed passes therethrough, and the thickness and density are deposited unevenly. Therefore, the second opening 62 of the loosening part 60 is passed. Since the opening size of the second opening 62 is equal to or larger than the opening size of the first opening 42, the defibrated material that has passed through the first opening 42 is not clogged by the second opening 62.
- the defibrated material that has passed through the second opening 62 can be deposited on the deposition portion 72 with a uniform thickness and density. Further, the defibrated material gathered in the process of being conveyed from the sorting unit 40 to the loosening unit 60 can be loosened by passing through the second opening 62. As a result, the sheet manufacturing apparatus 100 can manufacture a sheet having high strength and good texture. In addition, the effect of this application becomes a particularly favorable effect in the paper mentioned later. In the conventional paper manufacturing apparatus, it is impossible to deposit with a uniform thickness and density, and thus it has been impossible to manufacture a thin and high-strength molded product required for paper.
- Patent Document 1 has only one of the selection unit 40 or the loosening unit 60 of the present application. If there is only one, it is in a state of passing through the sorting section 40 of the present application, and non-uniform deposition occurs due to clogging of the openings. Therefore, a sheet having a better configuration can be manufactured.
- Patent Document 1 there are two forming drums, but those that pass through one opening are not sent to the other, and each does not have a function of a sorting part and a loosening part.
- the “texture” refers to the geology of the sheet. Specifically, as shown in the following experimental example, the degree (degree) of the shade difference seen when light is applied from the back of the sheet. That means. That is, the “sheet with good texture” refers to a sheet having a small difference in shading.
- the “sheet strength” is the tensile strength of the sheet, and specifically, the strength evaluated using a tensile strength tester as shown in the following experimental example.
- the loosening portion 60 can be prevented from being clogged and deposited with a uniform thickness and density.
- the plurality of first openings 42 have the same size, and the plurality of second openings 62 have the same size.
- the sizes of the plurality of first openings 42 are the same, the passing materials that pass through the first openings 42 are selected under the same conditions, and therefore the sizes of the passing materials are less varied. It is desirable that the shapes of the plurality of first openings 42 be the same, but they may be the same size even if they are different.
- the size of the plurality of second openings 62 By making the size of the plurality of second openings 62 the same, fibers and resins passing through the second openings 62 can be uniformly deposited on the deposition portion 72. If the plurality of second openings 62 are arranged at equal intervals, they can be deposited more uniformly.
- the moving speed of the sorting unit 40 is higher than the moving speed of the loosening unit 60.
- the amount of defibrated material discharged through the first opening 42 of the sorting unit 40 per unit time and the amount of defibrated material discharged through the second opening 62 of the loosening unit 60 per unit time In order to make the discharge amount the same (closer), it is preferable to increase the processing speed of the sorting unit 40 by increasing the moving speed of the sorting unit 40.
- the size of the second opening 62 is larger than the size of the first opening 42, it is more preferable to make the moving speed of the sorting unit 40 larger than the moving speed of the loosening unit 60.
- the sorting unit 40 can be easily sorted by moving.
- the loosening portion 60 is intended to loosen or deposit uniformly by allowing the fibers to pass therethrough, and does not need to move. In that case, the fiber passes through the second opening 62 using, for example, an air flow.
- the sheet manufacturing apparatus 100 includes a resin supply unit 50 that supplies resin to the sixth transport unit 86 that connects the sorting unit 40 and the loosening unit 60. Therefore, even if the defibrated material and the resin are entangled in the sixth transport unit 86, the defibrated material and the resin entangled by the unraveling unit 60 can be loosened, and the defibrated material and the resin are uniformly distributed on the deposition unit 72. It can be deposited with good quality.
- the resin is supplied to the third transport unit 83 upstream of the sorting unit 40, the resin adhering to the residue that has not passed through the first opening 42 in the sorting unit 40 is not used for manufacturing the sheet. Therefore, not only is the resin wasted, but the amount of resin used for manufacturing the sheet is reduced and the strength of the sheet is insufficient.
- a defibrating unit 20 that defibrates the material to be defibrated
- a fifth transport unit (return channel) 85 that returns the residue that has not passed through the sorting unit 40 to the defibrating unit 20, It has. Accordingly, the defibrated material that has not passed through the first opening 42 in the sorting unit 40 can be defibrated in the defibrating unit 20. That is, the residue can be used for sheet production without being discarded.
- the sheet manufacturing apparatus 100 may not have the flow path 85 for returning the defibrated material that does not pass through the loosening unit 60 to the defibrating unit 20.
- the flow path to return to the defibrating unit 20 can be eliminated, and the sheet manufacturing apparatus 100 can be downsized.
- sample Example 1 As the raw material, A4-size PPC (Plain Paper Copier) paper was used. As the sheet manufacturing apparatus, a sheet manufacturing apparatus 100 as shown in FIG. 1 was used.
- the defibrating unit 20 Before the PPC paper was put into the defibrating unit 20, it was cut into a 6 mm ⁇ 14 mm piece of paper in the crushing unit (shredder) 10.
- an impeller mill 250 manufactured by Seishin Enterprise Co., Ltd.
- the rotational speed of the impeller mill 250 was set to 5000 rpm, and the cut paper piece was defibrated to generate a defibrated material.
- the defibrated material was conveyed to the sorting unit 40 through the classification unit (cyclone) 30.
- Rotating sieve was used as the sorting unit 40.
- the mesh part 41 of the sorting part 40 the mesh opening was 970 ⁇ m, the wire diameter was 300 ⁇ m, the outer diameter was 220 mm, and the rotation speed was 220 rpm.
- the loosening part 60 As the loosening part 60, a rotary sieve having the same shape and size as the sieve used as the sorting part 40 was used except that the discharge port 47 was not provided. That is, the mesh portion 61 of the loosening portion 60 has an opening of 970 ⁇ m, a wire diameter of 300 ⁇ m, and an outer diameter of 220 mm. The rotation speed was 150 rpm.
- the defibrated material and the resin that passed through the loosening unit 60 and were deposited on the deposition unit 72 were heated and pressed by the heater roller 76 to form a thin layer sheet (paper).
- the temperature of the paper after passing through the heater roller 76 was 140 ° C., and the pressure applied by the heater roller 76 was about 30 kgf / cm 2 .
- the thickness of the formed paper was about 90 ⁇ m.
- Example 2 Paper was manufactured in the same process as in Example 1 (with the same sheet manufacturing apparatus) except that the paper manufactured in Example 1 was used as a raw material.
- Comparative Example 1 Paper was manufactured using a sheet manufacturing apparatus that does not include the sorting unit 40. The other parts (except that the selection unit 40 is not provided) are the same as those in the sheet manufacturing apparatus used in Example 1.
- Comparative Example 2 Paper was manufactured in the same process as Comparative Example 1 (with the same sheet manufacturing apparatus) except that the rotational speed of the defibrating unit 20 was set to 12000 rpm.
- the papers of Examples 1 and 2 were found to have almost uniform density and good texture in the texture evaluation. Moreover, the tensile strength of the paper of Examples 1 and 2 was 45 MPa or more, and it was found that the paper had high strength. Further, in Examples 1 and 2, clogging of the net 61 of the loosening part 60 did not occur. From the results of Example 2, the paper made from the paper produced by this sheet manufacturing apparatus also satisfies the performance as paper. Therefore, the paper created by this apparatus can be used repeatedly without using commercially available paper.
- Comparative Example 2 clogging occurred in the loosening part while the operation of the apparatus was continued. However, the degree of clogging was lighter than that of Comparative Example 1. Similar to Comparative Example 1, it was confirmed that paper produced after clogging was deteriorated in texture. However, the degree of shading unevenness was better than that of Comparative Example 1.
- the tensile strength of the paper of Comparative Example 2 was as low as 11 MPa. This is considered to be because in Comparative Example 2, the rate at which the defibrated portion was high and the defibrated material with a short fiber length was generated increased.
- Table 2 shows the fiber length distribution of the defibrated material after passing through the defibrating part and before being introduced into the loosening part. Specifically, Table 2 shows the fiber length distribution of 20,000 defibrated material having a fiber length of 50 ⁇ m or more, as measured by Fiber Tester (L & W). From Table 2, it was found that in Comparative Example 2, the fiber length of the defibrated material was shorter than that in Example 1.
- the present invention includes substantially the same configuration (configuration with the same function, method and result, or configuration with the same purpose and effect) as the configuration described in the embodiment.
- the invention includes a configuration in which a non-essential part of the configuration described in the embodiment is replaced.
- the present invention includes a configuration that exhibits the same operational effects as the configuration described in the embodiment or a configuration that can achieve the same object.
- the invention includes a configuration in which a known technique is added to the configuration described in the embodiment.
- the sheet manufactured by the sheet manufacturing apparatus 100 mainly indicates a sheet shape. However, it is not limited to a sheet shape, and may be a board shape or a web shape.
- the sheet in this specification is divided into paper and non-woven fabric.
- the paper includes a mode in which pulp or used paper is used as a raw material and is formed into a thin sheet, and includes recording paper for writing and printing, wallpaper, wrapping paper, colored paper, drawing paper, Kent paper, and the like.
- Nonwoven fabric is thicker than paper or low in strength, and includes general nonwoven fabric, fiber board, tissue paper, kitchen paper, cleaner, filter, liquid absorbent material, sound absorber, cushioning material, mat, and the like.
- the raw material may be plant fibers such as cellulose, chemical fibers such as PET (polyethylene terephthalate) and polyester, and animal fibers such as wool and silk.
- the net part 41 of the sorting part 40 and the net part 61 of the loosening part 60 are cylindrical, but may be planar. You may open a some opening in a flat plate, or you may make it a planar mesh.
- a moisture sprayer for spraying and adding moisture to the deposit deposited in the deposition unit 72 may be provided.
- seat P can be made high.
- the spray addition of moisture is performed on the deposit before passing through the heater roller 76.
- Starch, PVA (polyvinyl alcohol), or the like may be added to the moisture sprayed by the moisture sprayer. Thereby, the strength of the sheet P can be further increased.
- the sheet P may be cut into a desired size by a cutting machine (not shown) and stacked on a stacker or the like.
- the sheet manufacturing apparatus 100 may not include the crushing unit 10 as shown in FIG. For example, if the material is roughly crushed with an existing shredder or the like, the crushing unit 10 is not necessary.
- the sheet manufacturing apparatus 100 may not include the crushing unit 10 and the defibrating unit 20 as shown in FIG. If a defibrated material that has been defibrated by a defibrating device different from the sheet manufacturing apparatus 100 is used as a raw material, the crushing unit 10 and the defibrating unit 20 are not necessary. Therefore, the “defibrated material subjected to the defibrating process” includes a defibrated material processed in a defibrating unit that is not mounted on the sheet manufacturing apparatus 100.
- the 5th conveyance part 85 as a return channel may not be.
- the residue may be collected and discarded without returning to the defibrating unit 20. Further, if the defibrating unit 20 has a performance such that no residue is produced, the fifth transport unit 85 may be omitted.
- used paper when used paper is a material, a defibrating unit for defibrating the used paper, a sorting unit having a first opening for sorting the defibrated material that has been defibrated by the defibrating unit, and the first opening A second opening having a size greater than or equal to the size of the defibrated material that passes through the defibrated material and loosens the defibrated material, and a deposited portion on which the defibrated material that has passed through the deflated material is deposited.
- the used paper recycling apparatus is provided.
- the waste paper mainly refers to printed paper, but may include paper that has not been printed but has passed through a printing apparatus.
Landscapes
- Engineering & Computer Science (AREA)
- Mechanical Engineering (AREA)
- Life Sciences & Earth Sciences (AREA)
- Wood Science & Technology (AREA)
- Chemical & Material Sciences (AREA)
- Chemical Kinetics & Catalysis (AREA)
- Dry Formation Of Fiberboard And The Like (AREA)
- Nonwoven Fabrics (AREA)
- Combined Means For Separation Of Solids (AREA)
- Paper (AREA)
- Separation Of Solids By Using Liquids Or Pneumatic Power (AREA)
Priority Applications (6)
| Application Number | Priority Date | Filing Date | Title |
|---|---|---|---|
| BR112016006827A BR112016006827A2 (pt) | 2013-10-01 | 2014-06-24 | dispositivo de fabricação de folha e método para fabricação de folha |
| EP21187473.0A EP3933086A1 (en) | 2013-10-01 | 2014-06-24 | Sheet manufacturing apparatus |
| US15/023,008 US9790642B2 (en) | 2013-10-01 | 2014-06-24 | Sheet manufacturing apparatus and sheet manufacturing method |
| EP14850961.5A EP3054044B1 (en) | 2013-10-01 | 2014-06-24 | Sheet manufacturing device and method for manufacturing sheet |
| CN201480051741.0A CN105556015B (zh) | 2013-10-01 | 2014-06-24 | 薄片制造装置以及薄片的制造方法 |
| US15/673,810 US9951473B2 (en) | 2013-10-01 | 2017-08-10 | Sheet manufacturing apparatus |
Applications Claiming Priority (2)
| Application Number | Priority Date | Filing Date | Title |
|---|---|---|---|
| JP2013206155A JP6127882B2 (ja) | 2013-10-01 | 2013-10-01 | シート製造装置およびシートの製造方法 |
| JP2013-206155 | 2013-10-01 |
Related Child Applications (2)
| Application Number | Title | Priority Date | Filing Date |
|---|---|---|---|
| US15/023,008 A-371-Of-International US9790642B2 (en) | 2013-10-01 | 2014-06-24 | Sheet manufacturing apparatus and sheet manufacturing method |
| US15/673,810 Continuation US9951473B2 (en) | 2013-10-01 | 2017-08-10 | Sheet manufacturing apparatus |
Publications (1)
| Publication Number | Publication Date |
|---|---|
| WO2015049817A1 true WO2015049817A1 (ja) | 2015-04-09 |
Family
ID=52778424
Family Applications (1)
| Application Number | Title | Priority Date | Filing Date |
|---|---|---|---|
| PCT/JP2014/003388 Ceased WO2015049817A1 (ja) | 2013-10-01 | 2014-06-24 | シート製造装置およびシートの製造方法 |
Country Status (7)
| Country | Link |
|---|---|
| US (2) | US9790642B2 (enExample) |
| EP (2) | EP3054044B1 (enExample) |
| JP (1) | JP6127882B2 (enExample) |
| CN (2) | CN107254792B (enExample) |
| BR (1) | BR112016006827A2 (enExample) |
| TW (3) | TWI667389B (enExample) |
| WO (1) | WO2015049817A1 (enExample) |
Cited By (3)
| Publication number | Priority date | Publication date | Assignee | Title |
|---|---|---|---|---|
| WO2016139885A1 (ja) * | 2015-03-04 | 2016-09-09 | セイコーエプソン株式会社 | シート製造装置およびシート製造方法 |
| JP2017122763A (ja) * | 2016-01-05 | 2017-07-13 | セイコーエプソン株式会社 | シート処理装置およびシート処理方法 |
| WO2018043047A1 (ja) * | 2016-08-31 | 2018-03-08 | セイコーエプソン株式会社 | シート製造装置 |
Families Citing this family (24)
| Publication number | Priority date | Publication date | Assignee | Title |
|---|---|---|---|---|
| JP6065864B2 (ja) * | 2014-03-20 | 2017-01-25 | セイコーエプソン株式会社 | シート製造装置およびシートの製造方法 |
| JP6361209B2 (ja) * | 2014-03-25 | 2018-07-25 | セイコーエプソン株式会社 | シート製造装置、シート製造方法及びシート |
| JP6269235B2 (ja) * | 2014-03-26 | 2018-01-31 | セイコーエプソン株式会社 | シート製造装置 |
| JP6511839B2 (ja) | 2015-02-02 | 2019-05-15 | セイコーエプソン株式会社 | シート製造装置およびシート製造方法 |
| US9771685B2 (en) | 2015-03-18 | 2017-09-26 | Seiko Epson Corporation | Sheet manufacturing apparatus and sheet manufacturing method |
| EP3378981B1 (en) | 2015-11-20 | 2021-01-13 | Seiko Epson Corporation | Sheet manufacturing method, and resin powder |
| CN108699741B (zh) | 2016-02-18 | 2021-07-30 | 精工爱普生株式会社 | 薄片制造装置 |
| EP3508634A4 (en) * | 2016-08-31 | 2020-05-20 | Seiko Epson Corporation | SHEET MANUFACTURING DEVICE, AND CONTROL METHOD OF SHEET MANUFACTURING DEVICE |
| EP3508635A4 (en) * | 2016-08-31 | 2020-05-20 | Seiko Epson Corporation | Sheet manufacturing device, and control method of sheet manufacturing device |
| JP6855904B2 (ja) * | 2017-04-24 | 2021-04-07 | セイコーエプソン株式会社 | 処理装置およびシート製造装置 |
| JP6855903B2 (ja) * | 2017-04-24 | 2021-04-07 | セイコーエプソン株式会社 | 処理装置およびシート製造装置 |
| JP6957957B2 (ja) * | 2017-04-24 | 2021-11-02 | セイコーエプソン株式会社 | 処理装置、シート製造装置、処理方法およびシートの製造方法 |
| JP6919476B2 (ja) * | 2017-09-29 | 2021-08-18 | セイコーエプソン株式会社 | 結合素材、シート製造装置、シート製造方法およびシート |
| JP7006293B2 (ja) * | 2018-01-18 | 2022-01-24 | セイコーエプソン株式会社 | 繊維処理装置 |
| CN110093805A (zh) * | 2018-01-30 | 2019-08-06 | 精工爱普生株式会社 | 薄片制造装置以及薄片制造方法 |
| CN108686952B (zh) * | 2018-06-06 | 2023-09-12 | 辽宁科技大学 | 用于颗粒运动规律研究的装置 |
| CN109024025B (zh) * | 2018-09-12 | 2020-10-16 | 王晨宇 | 一种废纸再生工艺方法 |
| JP7211022B2 (ja) * | 2018-11-07 | 2023-01-24 | セイコーエプソン株式会社 | ウェブ製造装置およびシート製造装置 |
| JP2021085129A (ja) * | 2019-11-29 | 2021-06-03 | セイコーエプソン株式会社 | 繊維体成形方法、繊維体成形装置、およびシート |
| JP7516770B2 (ja) * | 2020-02-07 | 2024-07-17 | セイコーエプソン株式会社 | 繊維体堆積装置および繊維構造体製造装置 |
| JP7676883B2 (ja) | 2021-03-31 | 2025-05-15 | セイコーエプソン株式会社 | シート製造方法及びシート製造装置 |
| JP7676882B2 (ja) | 2021-03-31 | 2025-05-15 | セイコーエプソン株式会社 | シート製造方法およびシート製造装置 |
| JP7613284B2 (ja) * | 2021-06-18 | 2025-01-15 | セイコーエプソン株式会社 | ウェブ形成装置、成形体製造装置 |
| DK182152B1 (en) * | 2024-05-29 | 2025-09-17 | Andritz Dan Web As | Method of dry defibrating pulp sheets, intermediate product, and system therefore |
Citations (2)
| Publication number | Priority date | Publication date | Assignee | Title |
|---|---|---|---|---|
| JPH11147209A (ja) * | 1997-11-17 | 1999-06-02 | Kimura Chem Plants Co Ltd | 繊維板及び繊維板の製造方法 |
| JP2012144819A (ja) | 2011-01-12 | 2012-08-02 | Seiko Epson Corp | 紙再生装置及び紙再生方法 |
Family Cites Families (20)
| Publication number | Priority date | Publication date | Assignee | Title |
|---|---|---|---|---|
| NL7513121A (nl) | 1975-11-10 | 1977-05-12 | Elisabet Catharina Appels Teke | Werkwijze en inrichting voor het vervaardigen van vezelvliezen langs de natte weg. |
| US4674966A (en) * | 1984-04-02 | 1987-06-23 | Winkler & Dunnebier | Apparatus for forming fibrous pads |
| US4640810A (en) * | 1984-06-12 | 1987-02-03 | Scan Web Of North America, Inc. | System for producing an air laid web |
| AU3380395A (en) * | 1994-09-30 | 1996-04-26 | Niro Separation A/S | A plant and a process for dry-producing a web-formed product |
| US6726461B2 (en) * | 1999-05-27 | 2004-04-27 | Bki Holding Corporation | Screen pipe for dry forming web material |
| JP2003535230A (ja) * | 2000-05-31 | 2003-11-25 | エム ウンド イエ フィブルテク アー/エス | 短繊維および長繊維の不織繊維ウェブを乾式製造するプラントおよび方法、綿リンターパルプ(clp)を含む綿繊維ウェブ |
| US6709613B2 (en) * | 2001-12-21 | 2004-03-23 | Kimberly-Clark Worldwide, Inc. | Particulate addition method and apparatus |
| US7138023B2 (en) * | 2003-10-17 | 2006-11-21 | Owens-Corning Fiberglas Technology, Inc. | Development of thermoplastic composites using wet use chopped strand (WUCS) |
| EP1680264B1 (en) * | 2003-11-07 | 2009-03-25 | Formfiber Denmark ApS | A fibre distribution device for dry forming a fibrous product |
| CN2751054Y (zh) * | 2004-12-28 | 2006-01-11 | 张�杰 | 带有限料装置的转鼓式疏解机 |
| CN101204825B (zh) * | 2006-12-18 | 2011-08-17 | 上海嘉翰轻工机械有限公司 | 一种气流法成网干法纸机 |
| PL2212072T3 (pl) * | 2007-10-09 | 2014-01-31 | 3M Innovative Properties Co | Sposób wytwarzania mat mocujących do mocowania elementu kontroli zanieczyszczenia |
| CN101570944A (zh) * | 2008-04-30 | 2009-11-04 | 傅承祖 | 一种废纸再生工艺及其设备 |
| CN102834558A (zh) * | 2010-04-13 | 2012-12-19 | 3M创新有限公司 | 无机纤维幅材及制备和使用方法 |
| WO2011130056A2 (en) * | 2010-04-13 | 2011-10-20 | 3M Innovative Properties Company | Inorganic fiber webs and methods of making and using |
| JP5720258B2 (ja) * | 2011-01-14 | 2015-05-20 | セイコーエプソン株式会社 | 紙再生装置及び紙再生方法 |
| WO2012095928A1 (ja) | 2011-01-12 | 2012-07-19 | セイコーエプソン株式会社 | 紙再生装置及び紙再生方法 |
| CN102605664A (zh) | 2011-01-20 | 2012-07-25 | 侯俊民 | 一种环保造纸工艺及设备 |
| JP2013147772A (ja) | 2012-01-20 | 2013-08-01 | Oji Holdings Corp | 古紙解繊物の製造方法 |
| JP6263931B2 (ja) * | 2013-10-01 | 2018-01-24 | セイコーエプソン株式会社 | シート製造装置およびシートの製造方法 |
-
2013
- 2013-10-01 JP JP2013206155A patent/JP6127882B2/ja active Active
-
2014
- 2014-06-24 CN CN201710258044.8A patent/CN107254792B/zh active Active
- 2014-06-24 US US15/023,008 patent/US9790642B2/en active Active
- 2014-06-24 CN CN201480051741.0A patent/CN105556015B/zh active Active
- 2014-06-24 WO PCT/JP2014/003388 patent/WO2015049817A1/ja not_active Ceased
- 2014-06-24 EP EP14850961.5A patent/EP3054044B1/en active Active
- 2014-06-24 BR BR112016006827A patent/BR112016006827A2/pt not_active Application Discontinuation
- 2014-06-24 EP EP21187473.0A patent/EP3933086A1/en not_active Withdrawn
- 2014-09-26 TW TW107130892A patent/TWI667389B/zh active
- 2014-09-26 TW TW107130893A patent/TWI711741B/zh active
- 2014-09-26 TW TW103133662A patent/TWI638074B/zh active
-
2017
- 2017-08-10 US US15/673,810 patent/US9951473B2/en active Active
Patent Citations (2)
| Publication number | Priority date | Publication date | Assignee | Title |
|---|---|---|---|---|
| JPH11147209A (ja) * | 1997-11-17 | 1999-06-02 | Kimura Chem Plants Co Ltd | 繊維板及び繊維板の製造方法 |
| JP2012144819A (ja) | 2011-01-12 | 2012-08-02 | Seiko Epson Corp | 紙再生装置及び紙再生方法 |
Non-Patent Citations (1)
| Title |
|---|
| See also references of EP3054044A4 |
Cited By (7)
| Publication number | Priority date | Publication date | Assignee | Title |
|---|---|---|---|---|
| WO2016139885A1 (ja) * | 2015-03-04 | 2016-09-09 | セイコーエプソン株式会社 | シート製造装置およびシート製造方法 |
| US10464232B2 (en) | 2015-03-04 | 2019-11-05 | Seiko Epson Corporation | Sheet manufacturing apparatus and sheet manufacturing method |
| JP2017122763A (ja) * | 2016-01-05 | 2017-07-13 | セイコーエプソン株式会社 | シート処理装置およびシート処理方法 |
| WO2018043047A1 (ja) * | 2016-08-31 | 2018-03-08 | セイコーエプソン株式会社 | シート製造装置 |
| JPWO2018043047A1 (ja) * | 2016-08-31 | 2018-10-25 | セイコーエプソン株式会社 | シート製造装置 |
| CN109983168A (zh) * | 2016-08-31 | 2019-07-05 | 精工爱普生株式会社 | 薄片制造装置 |
| CN109983168B (zh) * | 2016-08-31 | 2021-10-19 | 精工爱普生株式会社 | 薄片制造装置 |
Also Published As
| Publication number | Publication date |
|---|---|
| US9951473B2 (en) | 2018-04-24 |
| EP3054044A4 (en) | 2017-09-06 |
| JP6127882B2 (ja) | 2017-05-17 |
| US9790642B2 (en) | 2017-10-17 |
| TWI638074B (zh) | 2018-10-11 |
| JP2015066932A (ja) | 2015-04-13 |
| TW201514359A (zh) | 2015-04-16 |
| CN105556015B (zh) | 2019-02-05 |
| CN105556015A (zh) | 2016-05-04 |
| EP3933086A1 (en) | 2022-01-05 |
| US20170335516A1 (en) | 2017-11-23 |
| CN107254792B (zh) | 2020-09-22 |
| CN107254792A (zh) | 2017-10-17 |
| EP3054044B1 (en) | 2021-09-15 |
| TW201842259A (zh) | 2018-12-01 |
| BR112016006827A2 (pt) | 2017-08-01 |
| TW201842260A (zh) | 2018-12-01 |
| EP3054044A1 (en) | 2016-08-10 |
| TWI711741B (zh) | 2020-12-01 |
| US20160230338A1 (en) | 2016-08-11 |
| TWI667389B (zh) | 2019-08-01 |
Similar Documents
| Publication | Publication Date | Title |
|---|---|---|
| JP6127882B2 (ja) | シート製造装置およびシートの製造方法 | |
| JP6263931B2 (ja) | シート製造装置およびシートの製造方法 | |
| JP6269235B2 (ja) | シート製造装置 | |
| JP6269181B2 (ja) | シート製造装置 | |
| JP6264986B2 (ja) | シート製造装置 | |
| JP6248690B2 (ja) | シート製造装置およびシートの製造方法 | |
| JP6361209B2 (ja) | シート製造装置、シート製造方法及びシート | |
| JP6252232B2 (ja) | シート製造装置およびシートの製造方法 | |
| JP2015168904A (ja) | シート製造装置 | |
| JP6065864B2 (ja) | シート製造装置およびシートの製造方法 | |
| JP2015178206A (ja) | シート製造装置及びシート製造方法 | |
| JP6414153B2 (ja) | シート製造装置およびシートの製造方法 | |
| JP6361772B2 (ja) | シート製造装置およびシートの製造方法 | |
| JP6481749B2 (ja) | シート製造装置およびシートの製造方法 | |
| JP6414154B2 (ja) | シート製造装置およびシートの製造方法 | |
| JP2017094525A (ja) | シート製造装置 | |
| JP2015178686A (ja) | シート製造装置及びシート製造方法 | |
| JP2016065339A (ja) | シート製造装置、シート製造方法 |
Legal Events
| Date | Code | Title | Description |
|---|---|---|---|
| WWE | Wipo information: entry into national phase |
Ref document number: 201480051741.0 Country of ref document: CN |
|
| 121 | Ep: the epo has been informed by wipo that ep was designated in this application |
Ref document number: 14850961 Country of ref document: EP Kind code of ref document: A1 |
|
| REEP | Request for entry into the european phase |
Ref document number: 2014850961 Country of ref document: EP |
|
| WWE | Wipo information: entry into national phase |
Ref document number: 2014850961 Country of ref document: EP |
|
| WWE | Wipo information: entry into national phase |
Ref document number: 15023008 Country of ref document: US |
|
| NENP | Non-entry into the national phase |
Ref country code: DE |
|
| REG | Reference to national code |
Ref country code: BR Ref legal event code: B01A Ref document number: 112016006827 Country of ref document: BR |
|
| ENP | Entry into the national phase |
Ref document number: 112016006827 Country of ref document: BR Kind code of ref document: A2 Effective date: 20160328 |