WO2015040805A1 - 点灯装置及び点灯装置を備えた灯具 - Google Patents

点灯装置及び点灯装置を備えた灯具 Download PDF

Info

Publication number
WO2015040805A1
WO2015040805A1 PCT/JP2014/004486 JP2014004486W WO2015040805A1 WO 2015040805 A1 WO2015040805 A1 WO 2015040805A1 JP 2014004486 W JP2014004486 W JP 2014004486W WO 2015040805 A1 WO2015040805 A1 WO 2015040805A1
Authority
WO
WIPO (PCT)
Prior art keywords
lighting device
heat
circuit
heat sink
light source
Prior art date
Legal status (The legal status is an assumption and is not a legal conclusion. Google has not performed a legal analysis and makes no representation as to the accuracy of the status listed.)
Ceased
Application number
PCT/JP2014/004486
Other languages
English (en)
French (fr)
Japanese (ja)
Inventor
加藤 公一
Current Assignee (The listed assignees may be inaccurate. Google has not performed a legal analysis and makes no representation or warranty as to the accuracy of the list.)
Denso Corp
Original Assignee
Denso Corp
Priority date (The priority date is an assumption and is not a legal conclusion. Google has not performed a legal analysis and makes no representation as to the accuracy of the date listed.)
Filing date
Publication date
Application filed by Denso Corp filed Critical Denso Corp
Priority to US14/889,169 priority Critical patent/US10054301B2/en
Priority to DE112014004286.2T priority patent/DE112014004286B4/de
Publication of WO2015040805A1 publication Critical patent/WO2015040805A1/ja
Anticipated expiration legal-status Critical
Ceased legal-status Critical Current

Links

Images

Classifications

    • FMECHANICAL ENGINEERING; LIGHTING; HEATING; WEAPONS; BLASTING
    • F21LIGHTING
    • F21VFUNCTIONAL FEATURES OR DETAILS OF LIGHTING DEVICES OR SYSTEMS THEREOF; STRUCTURAL COMBINATIONS OF LIGHTING DEVICES WITH OTHER ARTICLES, NOT OTHERWISE PROVIDED FOR
    • F21V23/00Arrangement of electric circuit elements in or on lighting devices
    • F21V23/003Arrangement of electric circuit elements in or on lighting devices the elements being electronics drivers or controllers for operating the light source, e.g. for a LED array
    • F21V23/004Arrangement of electric circuit elements in or on lighting devices the elements being electronics drivers or controllers for operating the light source, e.g. for a LED array arranged on a substrate, e.g. a printed circuit board
    • F21V23/005Arrangement of electric circuit elements in or on lighting devices the elements being electronics drivers or controllers for operating the light source, e.g. for a LED array arranged on a substrate, e.g. a printed circuit board the substrate is supporting also the light source
    • FMECHANICAL ENGINEERING; LIGHTING; HEATING; WEAPONS; BLASTING
    • F21LIGHTING
    • F21VFUNCTIONAL FEATURES OR DETAILS OF LIGHTING DEVICES OR SYSTEMS THEREOF; STRUCTURAL COMBINATIONS OF LIGHTING DEVICES WITH OTHER ARTICLES, NOT OTHERWISE PROVIDED FOR
    • F21V29/00Protecting lighting devices from thermal damage; Cooling or heating arrangements specially adapted for lighting devices or systems
    • F21V29/50Cooling arrangements
    • F21V29/502Cooling arrangements characterised by the adaptation for cooling of specific components
    • F21V29/503Cooling arrangements characterised by the adaptation for cooling of specific components of light sources
    • FMECHANICAL ENGINEERING; LIGHTING; HEATING; WEAPONS; BLASTING
    • F21LIGHTING
    • F21VFUNCTIONAL FEATURES OR DETAILS OF LIGHTING DEVICES OR SYSTEMS THEREOF; STRUCTURAL COMBINATIONS OF LIGHTING DEVICES WITH OTHER ARTICLES, NOT OTHERWISE PROVIDED FOR
    • F21V29/00Protecting lighting devices from thermal damage; Cooling or heating arrangements specially adapted for lighting devices or systems
    • F21V29/50Cooling arrangements
    • F21V29/70Cooling arrangements characterised by passive heat-dissipating elements, e.g. heat-sinks
    • HELECTRICITY
    • H05ELECTRIC TECHNIQUES NOT OTHERWISE PROVIDED FOR
    • H05BELECTRIC HEATING; ELECTRIC LIGHT SOURCES NOT OTHERWISE PROVIDED FOR; CIRCUIT ARRANGEMENTS FOR ELECTRIC LIGHT SOURCES, IN GENERAL
    • H05B45/00Circuit arrangements for operating light-emitting diodes [LED]
    • H05B45/30Driver circuits
    • H05B45/37Converter circuits
    • H05B45/3725Switched mode power supply [SMPS]
    • FMECHANICAL ENGINEERING; LIGHTING; HEATING; WEAPONS; BLASTING
    • F21LIGHTING
    • F21VFUNCTIONAL FEATURES OR DETAILS OF LIGHTING DEVICES OR SYSTEMS THEREOF; STRUCTURAL COMBINATIONS OF LIGHTING DEVICES WITH OTHER ARTICLES, NOT OTHERWISE PROVIDED FOR
    • F21V29/00Protecting lighting devices from thermal damage; Cooling or heating arrangements specially adapted for lighting devices or systems
    • F21V29/50Cooling arrangements
    • F21V29/60Cooling arrangements characterised by the use of a forced flow of gas, e.g. air
    • FMECHANICAL ENGINEERING; LIGHTING; HEATING; WEAPONS; BLASTING
    • F21LIGHTING
    • F21YINDEXING SCHEME ASSOCIATED WITH SUBCLASSES F21K, F21L, F21S and F21V, RELATING TO THE FORM OR THE KIND OF THE LIGHT SOURCES OR OF THE COLOUR OF THE LIGHT EMITTED
    • F21Y2115/00Light-generating elements of semiconductor light sources
    • F21Y2115/10Light-emitting diodes [LED]
    • HELECTRICITY
    • H01ELECTRIC ELEMENTS
    • H01LSEMICONDUCTOR DEVICES NOT COVERED BY CLASS H10
    • H01L2224/00Indexing scheme for arrangements for connecting or disconnecting semiconductor or solid-state bodies and methods related thereto as covered by H01L24/00
    • H01L2224/01Means for bonding being attached to, or being formed on, the surface to be connected, e.g. chip-to-package, die-attach, "first-level" interconnects; Manufacturing methods related thereto
    • H01L2224/42Wire connectors; Manufacturing methods related thereto
    • H01L2224/47Structure, shape, material or disposition of the wire connectors after the connecting process
    • H01L2224/48Structure, shape, material or disposition of the wire connectors after the connecting process of an individual wire connector
    • H01L2224/4805Shape
    • H01L2224/4809Loop shape
    • H01L2224/48091Arched
    • HELECTRICITY
    • H01ELECTRIC ELEMENTS
    • H01LSEMICONDUCTOR DEVICES NOT COVERED BY CLASS H10
    • H01L2924/00Indexing scheme for arrangements or methods for connecting or disconnecting semiconductor or solid-state bodies as covered by H01L24/00
    • H01L2924/10Details of semiconductor or other solid state devices to be connected
    • H01L2924/11Device type
    • H01L2924/13Discrete devices, e.g. 3 terminal devices
    • H01L2924/1304Transistor
    • H01L2924/1306Field-effect transistor [FET]
    • H01L2924/13091Metal-Oxide-Semiconductor Field-Effect Transistor [MOSFET]
    • YGENERAL TAGGING OF NEW TECHNOLOGICAL DEVELOPMENTS; GENERAL TAGGING OF CROSS-SECTIONAL TECHNOLOGIES SPANNING OVER SEVERAL SECTIONS OF THE IPC; TECHNICAL SUBJECTS COVERED BY FORMER USPC CROSS-REFERENCE ART COLLECTIONS [XRACs] AND DIGESTS
    • Y02TECHNOLOGIES OR APPLICATIONS FOR MITIGATION OR ADAPTATION AGAINST CLIMATE CHANGE
    • Y02BCLIMATE CHANGE MITIGATION TECHNOLOGIES RELATED TO BUILDINGS, e.g. HOUSING, HOUSE APPLIANCES OR RELATED END-USER APPLICATIONS
    • Y02B20/00Energy efficient lighting technologies, e.g. halogen lamps or gas discharge lamps
    • Y02B20/30Semiconductor lamps, e.g. solid state lamps [SSL] light emitting diodes [LED] or organic LED [OLED]

Definitions

  • the present disclosure relates to a lighting device and a lamp provided with the lighting device.
  • a lighting device disclosed in Patent Document 1.
  • a light source for example, an LED
  • a drive circuit for example, an LED drive unit and a control unit
  • the heat sink radiates heat generated when the light source is turned on and also radiates heat generated in the drive circuit.
  • the lighting device can dissipate not only the heat generated when the light source is lit but also the heat generated in the drive circuit by the heat sink.
  • the light source and the drive circuit are attached to the same heat sink. For this reason, in the lighting device, heat generated when the light source is turned on is transmitted to the circuit elements constituting the drive circuit via the heat sink. Therefore, in the lighting device, there is a possibility that the heat dissipation of the circuit element is lowered.
  • the present disclosure is intended to provide a lighting device and a lamp equipped with the lighting device that can suppress a decrease in heat dissipation of circuit elements while dissipating heat generated from a light source.
  • the lighting device is a light source, drives the light source to emit light, and includes a circuit element, a drive circuit including the circuit element and the circuit board on which the light source is mounted, A case that covers the drive circuit.
  • the circuit board is disposed at a site where the light source is mounted, and a heat radiating member for radiating heat generated from the light source is provided.
  • the case radiates heat generated from the circuit element, and the circuit element is connected to the case.
  • both the light source and the circuit element are mounted on the circuit board.
  • the light source is mounted in the heat radiating member provided in the circuit board. For this reason, the heat generated from the light source can be radiated through the heat radiating member.
  • the circuit element is connected to the case. For this reason, the heat generated from the circuit element can be dissipated through the case.
  • the present disclosure separates the heat dissipation path of heat generated from the light source and the heat dissipation path of heat generated from the circuit element. Therefore, this indication can control that the heat emitted from the light source is transmitted to a circuit element. Therefore, this indication can control the fall of the heat dissipation of a circuit element, radiating the heat emitted from the light source.
  • a lamp in the second aspect of the present disclosure, includes the lighting device according to the first aspect and the heat sink.
  • the heat sink an air-cooled heat sink to which wind is supplied from a heat radiating fan is provided.
  • the air-cooled heat sink is provided with a ventilation hole through which the wind supplied from the heat dissipation fan passes at a position facing the circuit element, and a gap communicating with the ventilation hole is provided between the lighting device and the lighting device. Has been placed.
  • FIG. 1 is an upper plan view showing a schematic configuration of a lighting device in an embodiment
  • FIG. 2 is a lower plan view showing a schematic configuration of the lighting device in the embodiment
  • 3 is a cross-sectional view taken along line III-III in FIG.
  • FIG. 4 is a cross-sectional view of the lighting device in the embodiment attached to a heat sink
  • FIG. 5 is a circuit diagram illustrating a schematic configuration of a driving circuit and a light emitting unit of the lighting device in the embodiment.
  • FIG. 6 is an upper plan view showing a schematic configuration of a lighting device in Modification 1.
  • FIG. 7 is a cross-sectional view taken along line VII-VII in FIG.
  • FIG. 8 is a cross-sectional view taken along line VIII-VIII in FIG.
  • FIG. 9 is an upper plan view showing a schematic configuration of the lighting device in Modification 1.
  • FIG. 10 is an upper plan view showing a schematic configuration of a lighting device in Modification 2.
  • FIG. 11 is a lower plan view showing a schematic configuration of a lighting device in Modification 2.
  • 12 is a cross-sectional view taken along line XII-XII in FIG.
  • FIG. 13 is a cross-sectional view of a state in which the lighting device in Modification 3 is attached to a heat sink
  • FIG. 14 is a cross-sectional view of a state in which the lighting device in Modification 4 is attached to a heat sink
  • FIG. 15 is a cross-sectional view of a state in which the lighting device in Modification 5 is attached to a heat sink.
  • the lighting device 100 includes a circuit unit 10, a light emitting unit 20, a case 60, a cover 70, and the like.
  • the present disclosure can achieve the object even if the cover 70 is not provided.
  • the circuit unit 10 corresponds to a drive circuit. As shown in FIG. 5, the circuit unit 10 is electrically connected to the light emitting unit 20, and drives the LED 21 of the light emitting unit 20 to emit light.
  • the circuit unit 10 includes a plurality of circuit components such as an input filter 11, a DCDC converter 12, an output filter 13, a detection resistor 14, and a control IC 15.
  • Each circuit component includes a circuit element such as a switching element (for example, MOSFET), a resistance element, a diode, a coil 16, and a capacitor.
  • a switching element for example, MOSFET
  • a resistance element for example, a resistance element
  • a diode for example, a diode
  • a coil 16 for example, a capacitor
  • the control IC 15 which is a part of the circuit configuration unit is a chip-like integrated circuit, and thus the control IC 15 itself can be regarded as a circuit element. Since the circuit configuration and operation of the circuit unit 10 are well-known techniques, detailed description thereof is omitted. LED stands for Light Emitting Diode.
  • the circuit unit 10 includes a circuit element that constitutes each circuit component and a circuit board 30 on which the circuit element is mounted.
  • This circuit element is, for example, the control IC 15 or the coil 16. That is, in other words, the circuit board 30 is mounted with the input filter 11, the DCDC converter 12, the output filter 13, the detection resistor 14, and the control IC 15.
  • a control IC 15 and a coil 16 are illustrated as circuit elements. In the following, circuit elements such as the control IC 15 and the coil 16 may be simply referred to as circuit elements.
  • the circuit board 30 includes an insulating substrate base 32 made of resin or ceramics, a conductor pattern made of metal provided on the substrate base 32, and the like.
  • the conductor pattern includes a circuit pattern, a pad, a mounting land, and the like. The circuit patterns, pads, and mounting lands are not shown.
  • the LED 21 is mounted on the circuit board 30. That is, the circuit element and the LED 21 are mounted on the same circuit board 30. In other words, the circuit element and the LED 21 are mounted on one circuit board 30. More specifically, the circuit element and the LED 21 are mounted on the same surface of the circuit board 30. Therefore, the circuit board 30 has the circuit element and the LED 21 mounted on one surface side. For this reason, the lighting device 100 can be rephrased as a device in which the LED 21 and the circuit element are mounted on one circuit board 30 and the LED 21 and the circuit unit 10 are integrated.
  • mounting the circuit element and the LED 21 on the same surface of the circuit board 30 makes it easier to mount the circuit element and the LED 21 than when mounting the circuit element and the LED 21 on different surfaces of the circuit board 30.
  • the circuit element and LED 21 mounting process on the circuit board 30 can be simplified.
  • the LED 21 is mounted on the heat radiating member 31 via an insulating member 40 having better heat conductivity than the substrate base 32. That is, the insulating member 40 is provided on the heat dissipation member 31.
  • the LED 21 is mounted on the insulating member 40.
  • the insulating member 40 for example, aluminum nitride can be employed.
  • each of the surface where LED21 is mounted, and the surface facing the circuit board 30 are partially metallized.
  • the insulating member 40 is connected to the LED 21 and the heat radiating member 31 through a connecting member such as solder.
  • the insulating member 40 is provided with a pad made of metal although not shown.
  • the LED 21 and the protection element 22 are electrically connected to the pad of the insulating member 40.
  • a lead 50 is electrically connected to the pad of the insulating member 40.
  • the reason why the LED 21 is mounted on the heat dissipation member 31 through the insulating member 40 is to electrically insulate the LED 21 from the heat dissipation member 31.
  • the LED 21 is provided with an electrode on the surface facing the circuit board 30. For this reason, when LED21 is directly mounted in the heat radiating member 31, LED21 and the heat radiating member 31 will be electrically connected.
  • the LED 21 mounted on the insulating member 40 is mounted on the circuit board 30 while being electrically insulated from the heat dissipation member 31 by the insulating member 40. Thus, the LED 21 can be mounted on the heat radiating member 31 even when an electrode is provided on the surface facing the circuit board 30.
  • the insulating member 40 is made of a material having better heat conductivity than the substrate base 32 such as aluminum nitride. Thereby, the insulating member 40 can electrically insulate the LED 21 from the heat radiating member 31 while suppressing the heat dissipation of the LED 21 from being lowered.
  • the present disclosure is not limited to this. If LED21 is not electrically connected to the heat radiating member 31, it may be mounted in the heat radiating member 31 without the insulating member 40 interposed.
  • circuit elements are electrically connected to each other via a circuit pattern provided on the circuit board 30. Further, as shown in FIG. 3 and the like, the circuit unit 10 is electrically connected to the LED 21 and the protection element 22 via the lead 50. As a result, the circuit unit 10 and the light emitting unit 20 are configured as shown in FIG.
  • the circuit board 30 is a part where the LED 21 is mounted, and a heat radiating member 31 for radiating heat generated from the LED 21 is provided.
  • the circuit board 30 has the heat radiating member 31 embedded in the board base 32.
  • the heat radiating member 31 is made of a metal such as copper or aluminum.
  • copper is adopted as a constituent material of the heat dissipation member 31.
  • the heat dissipation member 31 is not limited to copper or aluminum.
  • the heat dissipating member 31 may be any metal that has better heat conduction (in other words, higher heat conductivity) than the material constituting the substrate base 32.
  • the heat radiating member 31 is a material containing a metal, it is employable.
  • the heat dissipation member 31 may be formed using a conductive paste containing conductive particles.
  • the heat dissipating member 31 is provided so as to reach the surface opposite to the mounting surface from the mounting surface on which the LED 21 and the control IC 15 on the circuit board 30 are mounted.
  • the heat radiating member 31 can be embedded in the substrate base 32 by, for example, pressing copper inserted into a hole provided in the substrate base 32.
  • the circuit part 10 has an input / output connector for connecting itself and the external apparatus of the lighting device 100.
  • the external device is, for example, a body-type electronic control device.
  • an input / output connector is mounted on the circuit board 30, and a power ground (not shown) provided on the circuit board 30 is connected to the circuit pattern and the case 60 via the input / output connector. May be. By doing in this way, it can be set as the EMC countermeasure of the lighting device 100.
  • the light emitting unit 20 includes an LED 21, a protection element 22 for the LED 21, and the like.
  • the LED 21 corresponds to a light source. Since the LED 21 and the protection element 22 are well-known techniques, detailed description thereof is omitted.
  • the case 60 covers the circuit unit 10. More specifically, the case 60 partially covers the circuit unit 10.
  • the case 60 is made of metal or a material containing metal, that is, the case 60 may be made of metal such as copper or aluminum, or conductive woven material obtained by metal plating a resin woven cloth. It may be a molded body made of cloth.
  • FIG. 1 is an upper plan view of the lighting device 100.
  • This upper side is the upper side in FIG. That is, FIG. 1 is a plan view of the lighting device 100 on the side where the LED 21 is mounted.
  • FIG. 2 is a lower plan view of the lighting device 100.
  • This lower side is the lower side of the drawing in FIG. That is, FIG. 2 is a plan view of the side of the lighting device 100 where the LED 21 is not mounted, in other words, the side facing the heat sink 200.
  • the case 60 is a box-shaped member having a bottom surface and an annular side wall provided so as to protrude from the end of the bottom surface.
  • the case 60 is opened at a position facing the bottom surface.
  • the case 60 has an opening at a position facing the bottom surface.
  • the bottom surface of the case 60 is, for example, a portion above the paper surface in FIG. Therefore, the part illustrated in FIG. 1 is the opposite surface of the bottom surface.
  • the case 60 is provided with an irradiation window 63 through which light emitted from the LED 21 passes.
  • the lighting device 100 can irradiate the light emitted from the LED 21 from the irradiation window 63 even when the circuit board 30 on which the LED 21 is mounted is covered with the case 60.
  • the irradiation window 63 may be a hole that penetrates the case 60 in the thickness direction, or may be a part where a transparent member is attached to the hole.
  • LED21 may be arrange
  • the case 60 has a convex portion 61 and a concave portion 62 formed according to the height of the circuit element.
  • the convex portion 61 is a portion that protrudes with respect to the concave portion 62. Therefore, the concave portion 62 is a portion recessed with respect to the convex portion 61.
  • the recess 62 faces a region of the circuit board 30 where no circuit element is mounted.
  • the convex portion 61 faces the circuit element mounted on the circuit board 30.
  • the case 60 radiates heat generated from the circuit element, and the circuit element is connected thereto.
  • the control IC 15, coil 16, capacitor, diode, switching element, etc., which are circuit elements, may generate heat during operation.
  • the lighting device 100 can dissipate heat generated from the circuit element by connecting the circuit element to the case 60.
  • the case 60 functions as a heat dissipation path for circuit elements. It should be noted that the present disclosure does not have to be connected to the case 60 in all circuit elements, and the object can be achieved even if some circuit elements are connected to the case 60. In the present embodiment, as shown in FIG. 3, an example in which circuit elements are connected to the bottom surface of the case 60 is employed. However, the present disclosure is not limited to this. The present disclosure can achieve the object even when the circuit element is connected to the side wall of the case 60.
  • the case 60 is thermally separated from the heat radiating member 31.
  • the case 60 is not in contact with the heat dissipation member 31 and is separated. Therefore, a space is provided between the case 60 and the heat dissipation member 31.
  • the case 60 and the heat dissipation member 31 are provided separately. Thereby, it is possible to suppress the heat transmitted from the LED 21 to the heat dissipation member 31 from being transmitted to the circuit element via the case 60.
  • the circuit heat radiation agent 80 is composed of heat radiation grease, heat radiation gel, or the like.
  • the circuit heat dissipation agent 80 fills a gap between the circuit element and the case 60 to lower the thermal resistance reaching the case 60 from the circuit element.
  • the circuit heat dissipation agent 80 is provided so as to completely cover the surface of the circuit element that faces the bottom surface of the case 60.
  • the present disclosure is not limited to this.
  • the present disclosure can achieve the object even when the case 60 and the circuit element are directly connected.
  • the cover 70 is provided with a connection window 71 on the cover base 72. As shown in FIGS. 2 and 3, the cover 70 is attached to the case 60 and covers the opening of the case 60.
  • the connection window 71 is provided at a position facing the heat radiating member 31 in a state where the cover 70 is attached to the case 60. That is, the cover 70 is provided with a hole penetrating in its thickness direction as the connection window 71.
  • the connection window 71 is a hole for connecting the heat dissipation member 31 and a heat sink 200 described later.
  • the cover base portion 72 can be made of, for example, a resin having lower thermal conductivity than metal. However, the constituent material of the cover base 72 is not limited to resin.
  • the lighting device 100 configured in this manner is suitable for being attached to a heat sink 200 as shown in FIGS.
  • the lighting device 100 attached to the heat sink 200 is employed.
  • the present disclosure is not limited to this. Even if the lighting device 100 is not attached to the heat sink 200, the object of the present disclosure can be achieved.
  • the heat sink 200 is made of a metal such as copper or aluminum, and is provided with a heat sink base 201 and a connection projection 202 protruding from the periphery.
  • the connection convex part 202 is a part connected to the heat radiating member 31. Therefore, the connection convex portion 202 is inserted into the connection window 71 in a state where the lighting device 100 is attached to the heat sink 200, and is configured to be connectable to the heat dissipation member 31. For this reason, it can be paraphrased that the heat dissipation member 31 is connected to the heat sink 200 through the connection window 71.
  • the heat radiating member 31 should just contact the connection convex part 202, and can transfer the heat transmitted from LED21 to the heat sink 200.
  • the lighting device 100 can improve the heat dissipation of the LED 21.
  • the lighting device 100 is attached to the heat sink 200 with the cover 70 facing the heat sink 200. Therefore, the cover 70 is disposed between the circuit board 30 and the heat sink 200 in a state where the lighting device 100 is attached to the heat sink 200. That is, the cover 70 is disposed between the lighting device 100 and the heat sink 200.
  • the circuit element mounted on the circuit board 30 has the cover 70 disposed in a region facing the heat sink 200.
  • the connection window 71 is provided on the cover 70. For this reason, the lighting device 100 can connect the heat sink 200 and the heat dissipation member 31 with the cover 70 interposed between the circuit element and the heat sink 200.
  • the cover 70 is disposed between the heat sink 200 and the circuit board 30, so that the heat transmitted from the LED 21 to the heat sink 200 is transmitted to the circuit element via the circuit board 30. This can be suppressed. Therefore, the cover 70 functions as a heat shield member between the circuit element and the heat sink 200.
  • connection convex portion 202 is inserted into the connection window 71 and connected to the heat dissipation member 31.
  • the present disclosure is not limited to this. It is sufficient that at least one of the heat dissipation member 31 and the heat sink 200 is inserted into the connection window 71 and connected.
  • the LED 21 and the circuit element are both mounted on the circuit board 30.
  • the LED 21 is mounted on a heat dissipation member 31 provided on the circuit board 30. For this reason, the heat generated from the LED 21 can be radiated through the heat radiating member 31.
  • the circuit element is connected to the case 60. For this reason, the heat generated from the circuit element can be dissipated through the case 60.
  • the lighting device 100 divides the heat radiation path of the heat generated from the LED 21 and the heat radiation path of the heat generated from the circuit element. In other words, the lighting device 100 divides the heat dissipation path into a heat dissipation path for heat generated from the LED 21 and a heat dissipation path for heat generated from the circuit element.
  • the lighting device 100 can suppress the heat generated from the LED 21 from being transmitted to the circuit element. Therefore, the lighting device 100 can suppress a decrease in heat dissipation of the circuit elements while dissipating the heat generated from the LEDs 21. Moreover, since the lighting device 100 can suppress a decrease in heat dissipation of the circuit element, it can be expected to improve the life of the circuit element. In particular, the lighting device 100 can be expected to improve the life of circuit elements when used at high temperatures. Further, since the lighting device 100 separates the heat dissipation member 31 and the case 60, an improvement in the effect can be expected.
  • the lighting device 100 can reduce harnesses and connector parts for connecting the LED 21 and the circuit unit 10 by integrating the LED 21 and the circuit unit 10. That is, the lighting device 100 can connect the LED 21 and the circuit unit 10 with the lead 50 or the conductor pattern instead of the harness or the connector part. Therefore, the lighting device 100 can save a mounting space as compared with the lighting device having a harness or a connector part for connecting the LED and the circuit unit.
  • the LED 21 can be applied to a vehicle headlamp.
  • a vehicle headlamp may require higher brightness than lighting in a house. Therefore, when the LED 21 is applied to a vehicle headlamp, it applies power of about several tens of watts, but most of it is consumed as heat.
  • the circuit part 10 is a case where LED21 is applied to a vehicle headlamp, only about several w of electric power loss generate
  • the lighting device 100 can suppress a decrease in heat dissipation of the circuit elements while dissipating the heat generated from the LEDs 21. For this reason, the lighting device 100 is suitable when the LED 21 is applied to a vehicle headlamp.
  • each of the lighting device 100 and the lighting devices 110 to 150 described below may include heat sinks 200 to 220 and 240. That is, each of the lighting device 100 and the lighting devices 110 to 150 described below may include the heat sinks 200 to 220 and 240 as one of the constituent requirements.
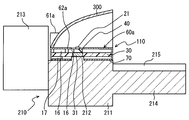
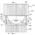
  • the lighting device 110 of Modification 1 is applied to a vehicle headlight.
  • a vehicle headlight distributes light by reflecting light emitted from a light source to a reflector. Therefore, the lighting device 110 is attached with a reflector 300 for reflecting the light emitted from the LED 21, as shown in FIGS. In FIG. 7 and the like, the lead 50 is omitted.
  • the reflector 300 is a well-known one, and the inner surface is configured as a reflecting surface.
  • the reflector 300 is shaped like a sphere cut into a quarter. Therefore, as shown in FIG. 6, the reflector 300 has a semicircular shape when viewed from above in a state where the reflector 300 is attached to the lighting device 110. That is, in the reflector 300, the planar shape of the attachment portion with respect to the lighting device 110 is a semicircular shape.
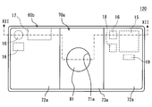
  • the lighting device 110 includes the circuit unit 10, the light emitting unit 20, the cover 70 and the like, similarly to the lighting device 100. However, the lighting device 110 is different from the lighting device 100 in the shape of the case 60a. As shown in FIGS. 7 and 9, the lighting device 110 has a connector 17 that is an input / output connector of the lighting device 110 attached to the opposite surface of the circuit board 30.
  • the lighting device 110 is attached to the heat sink 210 as shown in FIGS.
  • the heat sink 210 is provided with a heat sink base 211 and a connection convex portion 212. Furthermore, the heat sink 210 is provided with heat radiating fins 213, protrusions 214, and heat radiating protrusions 215 for improving heat dissipation.
  • the heat sink 210 is provided with a plurality of heat radiation fins 213 protruding from the heat sink base 211.
  • the heat sink 210 is provided with a protrusion 214 formed with a plurality of heat dissipation protrusions 215 protruding from the heat sink base 211.
  • the constituent material of the heat sink 210 is the same as that of the heat sink 200.
  • the case 60a is formed with a convex portion 61a, a concave portion 62a, and an irradiation window 63a.
  • the irradiation window 63a is the same as the irradiation window 63, and a description thereof will be omitted.
  • the reflector 300 is attached to the case 60a. Specifically, the reflector 300 is attached to the opposite surface of the case 60a to the bottom surface to which the circuit elements are connected.
  • the reflector 300 is attached on the recess 62a of the case 60a.
  • the case 60 a is formed so that the convex portion 61 a is disposed on the opposite side of the reflecting surface of the reflector 300. Therefore, as shown in FIGS. 6 and 9, the circuit element is mounted on the circuit board 30 so as to be disposed on the opposite side of the reflecting surface of the reflector 300 in a state where the reflector 300 is attached to the case 60a. Yes.
  • the reflector 300 is attached on the case 60a.
  • the planar shape of the mounting portion with respect to the lighting device 110 is a semicircular shape.
  • the lighting device 110 in a state where the reflector 300 is attached, a region opposite to the reflecting surface of the reflector 300 becomes a dead space. Therefore, the lighting device 110 is formed so that the convex portion 61 a is disposed on the opposite side of the reflecting surface of the reflector 300. Therefore, the lighting device 110 can achieve the same effect as the lighting device 100 while effectively using the dead space.
  • the convex portion of the case may be arranged on the opposite side of the reflecting surface of the reflector.
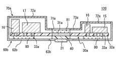
  • the lighting device 120 includes the circuit unit 10, the light emitting unit 20, and the like. However, the lighting device 120 differs from the lighting device 100 in the configuration of the circuit board 30a, the shape of the case 60a, and the shape of the cover 70a. Furthermore, the lighting device 120 is different from the lighting device 100 in that a circuit element is mounted on the opposite surface of the circuit board 30a on which the LED 21 is mounted. As shown in FIG. 11, in the lighting device 120, the diode 18 and the resistor 19 which are circuit elements are mounted on the opposite surface of the circuit board 30a.
  • the circuit board 30a includes a heat radiating member 31a, a board base 32a, and a through hole 33a. That is, the circuit board 30 a is different from the circuit board 30 in that the through hole 33 a is provided, and the other points are the same as the circuit board 30.
  • the through hole 33a is provided so as to reach the surface opposite to the mounting surface from the mounting surface on which the LED 21 of the substrate base 32a is mounted.
  • a circuit element is mounted on the opposite surface of the substrate base 32a.
  • the through hole 33a is made of a metal such as copper or aluminum similarly to the heat radiating member 31a.
  • the through hole 33a is not limited to copper or aluminum.
  • the through hole 33a may be any metal that has better thermal conductivity (in other words, higher thermal conductivity) than the material constituting the substrate base 32a.
  • the through hole 33a may be formed using a conductive paste containing conductive particles.
  • the through hole 33a is connected to the circuit heat radiation agent 80 on the mounting surface side of the substrate base 32a, and is connected to the circuit element on the opposite surface side of the substrate base 32a.
  • the through hole 33a is a member that connects the circuit element and the circuit heat dissipation agent 80. Therefore, the heat generated by the circuit element is transferred to the circuit heat radiation agent 80 through the through hole 33a.
  • the circuit heat dissipation agent 80 is connected to the case 60b as in the above-described embodiment. As a result, the heat generated by the circuit element is transmitted to the case 60b through the through hole 33a and the circuit heat radiation agent 80.
  • the circuit element is mounted on the surface opposite to the mounting surface on which the LED 21 is mounted on the circuit board 30a. Therefore, unlike the case 60, the case 60b does not need to be provided with the convex portion 61 and the concave portion 62.
  • the case 60b includes a bottom 62b and an irradiation window 63b. More specifically, the case 60b is a box-like member having a flat bottom 62b and an annular side wall provided so as to protrude from the end of the bottom, as shown in FIGS.
  • the case 60 is open at a position facing the bottom 62b. In other words, the case 60 has an opening at a position facing the bottom 62b.
  • the irradiation window 63b is the same as the irradiation window 63, and a description thereof will be omitted.
  • the bottom 62b of the case 60b is a part to which the reflector 300 is attached.
  • the bottom 62b is formed flat as described above.
  • the case 60b has a flat periphery around the irradiation window 63b.
  • the cover 70a has a convex portion 72a formed in a region facing the circuit element and a concave portion 73a formed in the other region. That is, the cover 70a is formed with a convex portion 72a and a concave portion 73a according to the height of the circuit element.
  • the convex part 72a is a part protruding with respect to the concave part 73a. Therefore, the recessed part 73a is a site
  • the cover 70 a is provided with a contact window 71 a.
  • the constituent material of the cover 70 a is the same as that of the cover 70.
  • the lighting device 120 configured as described above can achieve the same effects as the lighting device 100. Furthermore, since the lighting device 120 can flatten the periphery of the irradiation window 63b in the case 60b, the mounting property (in other words, the mounting property) of the reflector 300 can be improved. That is, the lighting device 120 can be attached to the case 60b without devising the shape of the reflector 300, the shape of the reflector 300, and the attaching process.
  • the heat sink is not shown.
  • the lighting device 120 may be attached to a heat sink as in the above-described embodiment and other modifications.
  • the heat radiating member 31a may be connected to the heat sink via the light source heat radiation agent 81.
  • the light source heat radiation agent 81 is provided so as to completely cover the surface of the heat radiation member 31a facing the heat sink.
  • the lighting device 120 can improve the heat dissipation of the LED 21 by using the heat radiation agent 81 for the light source.
  • the present disclosure is not limited to this.
  • the heat radiation agent 81 for light sources is the same as the heat radiation agent 80 for circuits, description is abbreviate
  • the heat radiation agent for light sources is applicable also to the above-mentioned embodiment and other modifications.
  • the heat radiating member 31 may be connected to the connection convex portion 202 of the heat sink 200 via a light source heat radiating agent.
  • Modification 3 Next, the lighting device 130 of Modification 3 will be described with reference to FIG. Unlike the lighting device 100, the lighting device 130 does not have a cover.
  • the case 60 c is provided with a convex portion 61 c, a concave portion 62 c, and an irradiation window 63 c, as with the case 60, and a flange 64 c that is an attachment portion to the circuit board 30. Therefore, the case 60 c is attached to the circuit board 30 by connecting the flange 64 to the circuit board 30.
  • the flange 64c can be connected to the circuit board 30 by a screw, an adhesive, or the like.
  • the lighting device 130 does not have a cover.
  • the heat sink 220 to which the lighting device 130 is attached does not have to be provided with a connection convex portion with respect to the heat sink base 221.
  • the constituent material of the heat sink 220 is the same as that of the heat sink 200.
  • the lighting device 130 configured as described above can achieve the same effects as the lighting device 100. Furthermore, since the lighting device 130 does not have a cover, the number of parts can be reduced as compared with the lighting device 100. Note that the cover can be omitted also in the above-described embodiment and other modifications. For example, the lighting device 110 can achieve the object even if it does not have the cover 70.
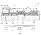
  • the lamp is configured to include a lighting device 140 and a heat sink 230. Note that the lighting device 140 is the same as the lighting device 100, and thus the description thereof is omitted.
  • the heat sink 230 is supplied with wind from the heat radiating fan 400.
  • the heat sink 230 corresponds to an air-cooled heat sink. Similar to the heat sink 200, the heat sink 230 includes a heat sink base 231 and a connection convex portion 232. The constituent material of the heat sink 230 is the same as that of the heat sink 200.
  • the heat sink 230 is provided with an air blowing hole 233 penetrating in its own thickness direction.
  • the ventilation hole 233 is a hole through which air supplied from the heat dissipation fan 400 passes.
  • the air blowing hole 233 is provided at a position facing the circuit element of the lighting device 140 in a state where the lighting device 140 is attached to the heat sink 230.
  • the heat sink 230 is disposed with a gap c1 communicating with the air blowing hole 233 formed between the heat sink 230 and the lighting device 140 in a state where the lighting device 140 is attached.
  • the lighting device 140 includes a cover 70. For this reason, a gap c ⁇ b> 1 is formed between the heat sink 230 and the cover 70. Therefore, the wind from the heat radiating fan 400 is supplied to the heat sink 230 and also supplied to the periphery of the electronic circuit through the gap c1 and the air blowing hole 233.
  • the positional relationship between the heat sink 230 and the heat radiating fan 400 and the position of the air blowing hole 233 in the heat sink 230 are not limited to this.
  • the positional relationship between the heat sink 230 and the heat radiating fan 400 only needs to be able to supply wind from the heat radiating fan 400 to the heat sink 230.
  • the position of the air blowing hole 233 in the heat sink 230 is not limited as long as the wind supplied from the heat dissipation fan 400 can be supplied to the lighting device 140.
  • the lamp lighting device 140 configured as described above can achieve the same effects as the lighting device 100.
  • the lamp is supplied with wind blown from the heat dissipation fan 400 to the heat sink 230, the heat dissipation of the LED 21 connected to the heat sink 230 can be improved.
  • the wind blown from the heat dissipation fan 400 is supplied to the periphery of the circuit element through the gap c1 and the blower hole 233 provided in the heat sink 230.
  • a lamp can also improve the heat dissipation of a circuit element. Therefore, the lamp is suitable when the LED 21 is required to have a brightness comparable to that of an HID lamp (High Intensity Discharge lamp) or an incandescent lamp.
  • the purpose of the lamp can be achieved even when the lighting devices 100 to 130, 150 are attached to the heat sink 230. Note that, in the lamp in which the lighting device 130 is attached to the heat sink 230, a gap c1 is formed between the heat sink 230 and the circuit board 30.
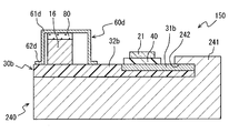
  • Modification 5 Next, the lighting device 150 of Modification 5 will be described with reference to FIG. Unlike the lighting device 100, the lighting device 150 does not have the cover 70. Furthermore, the lighting device 150 is different from the lighting device 100 in the structure of the circuit board 30b.
  • the circuit board 30b has the LEDs 21 and circuit elements mounted on the same surface. Further, the circuit board 30b is provided with a heat dissipation member 31b on the board base 32b. As with the heat radiating member 31, the heat radiating member 31 b is mounted with the LED 21 via the insulating member 40.
  • the circuit board 30b is provided with the heat radiating member 31b without penetrating the board base 32b in the thickness direction. That is, the heat radiating member 31b is embedded in the substrate base 32b and is exposed on the mounting surface on which the LED 21 of the substrate base 32b is mounted. Therefore, the heat radiating member 31b is not exposed on the surface opposite to the mounting surface of the substrate base 32b.
  • the case 60d is not provided with the concave portion 62 and the irradiation window 63.
  • the case 60d includes a convex portion 61d corresponding to the height of the circuit element, and a flange 62d that is a mounting portion for the circuit board 30b. That is, the case 60d is provided mainly to cover the circuit element.
  • the case 60d can also be used in the lighting devices 100, 130, and 140. Further, the case 60 d can be adopted even if the irradiation window 63 is provided in the same manner as the case 60.
  • the lighting device 150 is preferably attached to the heat sink 240.
  • the heat sink 240 is provided with a heat sink base 241 and a mounting portion 242 that is a portion to which the lighting device 150 is attached and that is in contact with the heat dissipation member 31d.
  • the lighting device 150 is mounted on the heat sink base 241 while being partly sandwiched between the mounting portions 242. As described above, the lighting device 150 is sandwiched between the mounting portions 242 so that the heat radiating member 31 d is in contact with the heat sink 240. In other words, the lighting device 150 is press-fitted into the mounting portion 242 and fixed to the heat sink 240.
  • the lighting device 150 configured as described above can achieve the same effects as the lighting device 100 and the lighting device 130. Furthermore, the lighting device 150 can be easily attached to the heat sink 240. That is, the lighting device 150 can be attached to the heat sink 240 while the heat radiating member 31 d is in contact with the heat sink 240 only by press-fitting into the attachment portion 242.

Landscapes

  • Engineering & Computer Science (AREA)
  • General Engineering & Computer Science (AREA)
  • Microelectronics & Electronic Packaging (AREA)
  • Arrangement Of Elements, Cooling, Sealing, Or The Like Of Lighting Devices (AREA)
  • Non-Portable Lighting Devices Or Systems Thereof (AREA)
PCT/JP2014/004486 2013-09-18 2014-09-02 点灯装置及び点灯装置を備えた灯具 Ceased WO2015040805A1 (ja)

Priority Applications (2)

Application Number Priority Date Filing Date Title
US14/889,169 US10054301B2 (en) 2013-09-18 2014-09-02 Lighting device and lighting appliance having the lighting device
DE112014004286.2T DE112014004286B4 (de) 2013-09-18 2014-09-02 Beleuchtungsvorrichtung und Beleuchtungsgerät mit dieser Beleuchtungsvorrichtung

Applications Claiming Priority (2)

Application Number Priority Date Filing Date Title
JP2013-193395 2013-09-18
JP2013193395A JP6098457B2 (ja) 2013-09-18 2013-09-18 点灯装置及び点灯装置を備えた灯具

Publications (1)

Publication Number Publication Date
WO2015040805A1 true WO2015040805A1 (ja) 2015-03-26

Family

ID=52688476

Family Applications (1)

Application Number Title Priority Date Filing Date
PCT/JP2014/004486 Ceased WO2015040805A1 (ja) 2013-09-18 2014-09-02 点灯装置及び点灯装置を備えた灯具

Country Status (4)

Country Link
US (1) US10054301B2 (enExample)
JP (1) JP6098457B2 (enExample)
DE (1) DE112014004286B4 (enExample)
WO (1) WO2015040805A1 (enExample)

Cited By (1)

* Cited by examiner, † Cited by third party
Publication number Priority date Publication date Assignee Title
JP7603916B2 (ja) 2021-09-21 2024-12-23 東芝ライテック株式会社 車両用照明装置、および車両用灯具

Families Citing this family (1)

* Cited by examiner, † Cited by third party
Publication number Priority date Publication date Assignee Title
JP7016054B2 (ja) * 2018-01-12 2022-02-04 パナソニックIpマネジメント株式会社 電源装置、前照灯、及び移動体

Citations (6)

* Cited by examiner, † Cited by third party
Publication number Priority date Publication date Assignee Title
JP2002304902A (ja) * 2001-04-04 2002-10-18 Matsushita Electric Works Ltd 光源装置
JP2007035788A (ja) * 2005-07-25 2007-02-08 Toyoda Gosei Co Ltd Ledランプユニット
JP2008135235A (ja) * 2006-11-27 2008-06-12 Matsushita Electric Works Ltd 放電灯点灯装置
JP2010049830A (ja) * 2008-08-19 2010-03-04 Toyoda Gosei Co Ltd Led照明装置
JP2012123924A (ja) * 2010-12-06 2012-06-28 Citizen Holdings Co Ltd 照明ユニット及び照明装置
JP2012174436A (ja) * 2011-02-18 2012-09-10 Toshiba Corp 照明ユニット及び照明装置

Family Cites Families (9)

* Cited by examiner, † Cited by third party
Publication number Priority date Publication date Assignee Title
SG63572A1 (en) 1993-11-12 1999-03-30 Seiko Epson Corp Structure and method for mounting semiconductor devices and liquid crystal display
JP2003304026A (ja) 2002-04-09 2003-10-24 Sumitomo Electric Ind Ltd 光モジュール
JP2007012856A (ja) 2005-06-30 2007-01-18 Toyoda Gosei Co Ltd Led装置及びled装置用筐体
JP2009231135A (ja) 2008-03-24 2009-10-08 Toshiba Lighting & Technology Corp 照明装置
DE102008031256A1 (de) 2008-07-02 2010-01-07 Osram Gesellschaft mit beschränkter Haftung Beleuchtungseinheit für Fahrzeugscheinwerfer und Fahrzeugscheinwerfer
JP5549583B2 (ja) 2010-12-27 2014-07-16 株式会社デンソー 点灯装置および灯具
DE102011004746B4 (de) 2011-02-25 2023-09-28 Osram Gmbh Halbleiter-Leuchtmodul und Fahrzeugleuchte
US9134003B2 (en) 2011-06-13 2015-09-15 Koito Manufacturing Co., Ltd. Automotive headlamp, heat radiating mechanism, light-emitting apparatus and light source fixing member
JP2013193395A (ja) 2012-03-22 2013-09-30 Fuji Xerox Co Ltd 印刷システム、及び、印刷プログラム

Patent Citations (6)

* Cited by examiner, † Cited by third party
Publication number Priority date Publication date Assignee Title
JP2002304902A (ja) * 2001-04-04 2002-10-18 Matsushita Electric Works Ltd 光源装置
JP2007035788A (ja) * 2005-07-25 2007-02-08 Toyoda Gosei Co Ltd Ledランプユニット
JP2008135235A (ja) * 2006-11-27 2008-06-12 Matsushita Electric Works Ltd 放電灯点灯装置
JP2010049830A (ja) * 2008-08-19 2010-03-04 Toyoda Gosei Co Ltd Led照明装置
JP2012123924A (ja) * 2010-12-06 2012-06-28 Citizen Holdings Co Ltd 照明ユニット及び照明装置
JP2012174436A (ja) * 2011-02-18 2012-09-10 Toshiba Corp 照明ユニット及び照明装置

Cited By (1)

* Cited by examiner, † Cited by third party
Publication number Priority date Publication date Assignee Title
JP7603916B2 (ja) 2021-09-21 2024-12-23 東芝ライテック株式会社 車両用照明装置、および車両用灯具

Also Published As

Publication number Publication date
DE112014004286B4 (de) 2019-04-25
US10054301B2 (en) 2018-08-21
JP6098457B2 (ja) 2017-03-22
JP2015060709A (ja) 2015-03-30
US20160131349A1 (en) 2016-05-12
DE112014004286T5 (de) 2016-06-09

Similar Documents

Publication Publication Date Title
US9301385B2 (en) Electronic unit
JP5029822B2 (ja) 光源および照明装置
JP6052573B2 (ja) 光半導体光源及び車両用照明装置
CN204611579U (zh) 发光装置及车辆用照明装置
JP5508113B2 (ja) ランプ及び照明装置
JP2008034140A (ja) Led照明装置
CN103470984A (zh) 发光元件灯以及照明设备
JP2004055800A (ja) Led点灯装置
JP2003100110A (ja) 照明装置および電球形ledランプ
JP2015220034A (ja) Ledモジュール及びこれを備えた車両用灯具
CN203023912U (zh) 照明装置
JP2017168207A (ja) 車両用照明装置および車両用灯具
JP6631192B2 (ja) 車両用照明装置、および車両用灯具
JP7091839B2 (ja) 車両用照明装置、および車両用灯具
JP6098457B2 (ja) 点灯装置及び点灯装置を備えた灯具
CN114517905B (zh) 车辆用灯具用光源单元和车辆用灯具
JP2011181252A (ja) 照明器具
JP5561477B2 (ja) 発光モジュールおよび照明器具
WO2021117489A1 (ja) 灯具ユニット、及びそれを備えた車両用灯具
CN114811520B (zh) 车辆用灯具用光源单元及车辆用灯具
KR101611391B1 (ko) 절연 방열판이 구비된 led등
JP7440825B2 (ja) 車両用照明装置、および車両用灯具
JP2019106263A (ja) 車両用照明装置、および車両用灯具
JP5582365B2 (ja) 照明装置
JP5660410B2 (ja) ランプ装置および照明装置

Legal Events

Date Code Title Description
121 Ep: the epo has been informed by wipo that ep was designated in this application

Ref document number: 14846038

Country of ref document: EP

Kind code of ref document: A1

WWE Wipo information: entry into national phase

Ref document number: 14889169

Country of ref document: US

WWE Wipo information: entry into national phase

Ref document number: 112014004286

Country of ref document: DE

Ref document number: 1120140042862

Country of ref document: DE

122 Ep: pct application non-entry in european phase

Ref document number: 14846038

Country of ref document: EP

Kind code of ref document: A1