WO2014156403A1 - 塗布装置 - Google Patents
塗布装置 Download PDFInfo
- Publication number
- WO2014156403A1 WO2014156403A1 PCT/JP2014/054214 JP2014054214W WO2014156403A1 WO 2014156403 A1 WO2014156403 A1 WO 2014156403A1 JP 2014054214 W JP2014054214 W JP 2014054214W WO 2014156403 A1 WO2014156403 A1 WO 2014156403A1
- Authority
- WO
- WIPO (PCT)
- Prior art keywords
- varnish
- manifold
- discharge direction
- static mixer
- nozzle
- Prior art date
- Legal status (The legal status is an assumption and is not a legal conclusion. Google has not performed a legal analysis and makes no representation as to the accuracy of the status listed.)
- Ceased
Links
Images
Classifications
-
- B—PERFORMING OPERATIONS; TRANSPORTING
- B05—SPRAYING OR ATOMISING IN GENERAL; APPLYING FLUENT MATERIALS TO SURFACES, IN GENERAL
- B05C—APPARATUS FOR APPLYING FLUENT MATERIALS TO SURFACES, IN GENERAL
- B05C5/00—Apparatus in which liquid or other fluent material is projected, poured or allowed to flow on to the surface of the work
- B05C5/02—Apparatus in which liquid or other fluent material is projected, poured or allowed to flow on to the surface of the work the liquid or other fluent material being discharged through an outlet orifice by pressure, e.g. from an outlet device in contact or almost in contact, with the work
- B05C5/0254—Coating heads with slot-shaped outlet
-
- B—PERFORMING OPERATIONS; TRANSPORTING
- B05—SPRAYING OR ATOMISING IN GENERAL; APPLYING FLUENT MATERIALS TO SURFACES, IN GENERAL
- B05C—APPARATUS FOR APPLYING FLUENT MATERIALS TO SURFACES, IN GENERAL
- B05C11/00—Component parts, details or accessories not specifically provided for in groups B05C1/00 - B05C9/00
- B05C11/10—Storage, supply or control of liquid or other fluent material; Recovery of excess liquid or other fluent material
- B05C11/1002—Means for controlling supply, i.e. flow or pressure, of liquid or other fluent material to the applying apparatus, e.g. valves
Definitions
- the present invention relates to a coating apparatus, and more particularly, to a coating apparatus for coating a varnish containing particles and a resin.
- a slurry coating apparatus including a slurry tank, a die coater disposed on the downstream side in the discharge direction, and a static mixer interposed in a pipe connecting them is proposed (for example, see Patent Document 1 below). ).
- the slurry supplied from the slurry tank passes through the static mixer and is then discharged from the die coater, thereby eliminating the non-uniformity when discharged from the die coater. The flatness of the formed coating film is ensured.
- the manifold formed on the die coater usually has a substantially rectangular shape in front view extending in the width direction (direction orthogonal to the discharge direction), and the varnish is formed at both ends in the width direction of the upstream portion of the manifold in the discharge direction.
- the flow of water becomes slow, and therefore the varnish tends to stay.
- grains is relatively large, particle
- An object of the present invention is to provide a coating apparatus capable of ensuring the uniformity of particles in a coating film.
- a coating apparatus of the present invention is a coating apparatus for coating a varnish containing particles and a resin, and a static mixer for stirring the varnish, and a downstream side in the discharge direction of the static mixer Provided with a nozzle, and the nozzle includes a manifold for spreading a varnish discharged while stirring by the static mixer in a first direction orthogonal to the discharge direction, and the manifold includes the first An enlarged portion is provided in which the direction length is gradually increased toward the downstream side in the discharge direction.
- the varnish before being supplied to the nozzle can be stirred by a static mixer. Therefore, the uniformity of particles and resin in the varnish can be ensured.
- the varnish that passes through the manifold is gradually spread outward in the first direction toward the downstream side in the discharge direction at the enlarged portion. Therefore, it is possible to prevent the discharge flow of the varnish from becoming slow and prevent the varnish from staying. As a result, the non-uniformity of particles in the varnish can be eliminated in the manifold. Therefore, sufficient uniformity of particles in the obtained coating film can be ensured.
- the manifold is supplied with varnish discharged by the static mixer, and an inflow portion in which an opening cross-sectional area along a direction orthogonal to the discharge direction expands toward the downstream side in the discharge direction. And an outflow portion provided downstream of the inflow portion in the discharge direction, the varnish being discharged from the inflow portion, and an opening cross-sectional area along the orthogonal direction being reduced toward the discharge direction, and the enlargement It is preferable that the portion is provided in the inflow portion.
- the static mixer includes six or more torsion blades that are twisted in the discharge direction.
- the static mixer since the static mixer includes six or more torsion blades, the uniformity of particles and resin in the varnish can be more sufficiently ensured.
- an attachment member that can be attached to and detached from the manifold for partitioning the enlarged portion is provided at the end in the first direction on the upstream side in the discharge direction of the manifold. It is preferable that
- the attachment member can be attached to and detached from the manifold, it can be replaced with an attachment member having a desired shape according to the characteristics of the varnish.
- the nozzle includes a transparent member that can visually observe a varnish that passes through the enlarged portion.
- the uniformity of particles in the obtained coating film can be sufficiently ensured.
- FIG. 1 shows a perspective view of an embodiment of a coating apparatus of the present invention.
- FIG. 2 shows a partially cutaway front view of the static mixer of the coating apparatus of FIG.
- FIG. 3 shows a plan view of the nozzle of the coating apparatus of FIG.
- FIG. 4 shows a bottom view of the nozzle of FIG.
- FIG. 5 shows a side view of the nozzle of FIG.
- FIG. 6 shows a side sectional view of the nozzle of FIG. 3 along the line AA.
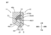
- FIG. 7 shows a side sectional view of the nozzle of FIG. 3 along the line BB.
- FIG. 8 shows a front sectional view of the nozzle of FIG.
- FIG. 9 shows an exploded perspective view of the nozzle of FIG. 10 shows an exploded side cross-sectional view of the nozzle of FIG.
- FIG. 11 shows a state where the varnish is applied by the nozzle shown in FIG.
- FIG. 12 shows an image processing diagram of a photograph of the state of the varnish of the nozzle of the coating apparatus of Example 1.
- 13 shows an image processing diagram of a photograph of the state of the varnish of the nozzle of the coating apparatus of Comparative Example 1.
- FIG. 14 shows an image processing diagram of a photograph of the state of the nozzle varnish of the coating apparatus of Comparative Example 2.
- the left-right direction on the paper surface is “left-right direction” (first direction or width direction)
- the up-down direction on the paper surface is “front-rear direction” (second direction or thickness direction)
- the thickness direction is “up-down direction” (first direction).
- the second block 12 (described later) is omitted in order to clearly show the relative arrangement of the manifold 21 (described later), the shim 13 (described later), and the attachment member 25 (described later). Further, in FIG. 9, the attachment member 25 is omitted in order to clearly show the relative arrangement of the shim 13, the first block 11, and the second block 12.
- the coating device 1 is a coating device for coating a varnish containing particles and a resin (described in detail later).
- the coating apparatus 1 includes a tank 2, a pump 3, a static mixer 4, and a nozzle 5.
- the tank 2, the pump 3, the static mixer 4 and the nozzle 5 are sequentially arranged from the upstream side toward the downstream side in the varnish discharge direction.
- the tank 2 is a reservoir for storing the varnish, and is provided in the upper part of the coating apparatus 1.
- the pump 3 is connected to the tank 2 via the pipe 61, and specifically, is disposed on the rear side of the tank 2.
- the pump 3 is not particularly limited as long as the pump can discharge the varnish stored in the tank 2 by applying pressure to the static mixer 4.
- the pump 3 can be a MONO pump (specifically, Haysin MONO pump (manufactured by Hyojin Equipment Co., Ltd.). ) And other commercially available pumps).
- the static mixer 4 is disposed so as to extend along the vertical direction.
- the static mixer 4 is disposed below the pump 3 and is connected to the lower end of the pump 3.
- the static mixer 4 is not particularly limited.
- Kenics mixer type Sulzer SMV type, Sulzer SMX type, Ray Hi-mixer type, Komax mixer Type, Lightnin mixer type, Ross ISG type, Bran & Lub mixer type static mixer.
- the Kenics mixer type shown in FIG. 2 is used.
- the Kenics mixer-type static mixer 4 includes a straight pipe 6 extending in the vertical direction and a torsion blade 7 accommodated in the straight pipe 6.
- the twisting blade 7 is twisted 180 degrees clockwise (clockwise) as it goes downstream in the discharge direction, and twisted 180 degrees counterclockwise (counterclockwise) as it goes downstream in the discharge direction.
- Each of the right twist blade 8 and the left twist blade 9 is provided in plural (nine in FIG. 2), and is alternately arranged along the discharge direction. Further, the discharge direction downstream end edge of the right twist blade 8 and the discharge direction upstream end edge of the left twist blade 9 are joined so as to be orthogonal when projected in the discharge direction. Further, the upstream edge in the discharge direction of the right twist blade 8 and the downstream edge in the discharge direction of the left twist blade 9 are joined so as to be orthogonal when projected in the discharge direction (vertical direction). .
- the tube length is, for example, 10 mm or more, preferably 30 mm or more, and, for example, 400 mm or less, preferably 350 mm or less.
- an internal diameter is 3 mm or more, for example, Preferably, it is 5 mm or more, for example, is 30 mm or less, Preferably, it is 15 mm or less.
- the tube length / inner diameter ratio is, for example, 3 or more, preferably 5 or more, and for example, 30 or less, preferably 25 or less.
- each right twist blade 8 and each left twist blade 9 is, for example, 3 mm or more, preferably 5 mm or more. It is 50 mm or less, preferably 30 mm or less.
- the nozzle 5 is, for example, a slot die coater. Specifically, as shown in FIG. 1, the nozzle 5 is disposed below the static mixer 4 and connected to the lower end of the static mixer 4. The nozzle 5 is formed in a thick plate shape extending in the vertical direction and the horizontal direction.
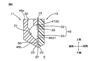
- the nozzle 5 includes a first block 11, a second block 12 disposed to face the front side of the first block 11, and a shim 13 interposed between the first block 11 and the second block 12.
- the first block 11 is made of, for example, a metal such as stainless steel or a resin such as acrylic resin.
- the first block 11 is preferably made of metal from the viewpoint of durability.
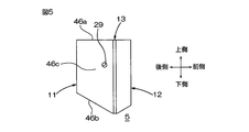
- the first block 11 has a thick flat plate shape extending in the up-down direction and the left-right direction.
- the first block 11 is formed in a substantially rectangular shape in a plan view and a front view, and has a side surface.
- the upper part is formed in a substantially rectangular shape
- the lower part is formed in a substantially triangular shape whose length in the front-rear direction becomes shorter toward the lower side.
- the 1st block 11 is formed in the bottomed frame shape where the center part of the front surface is dented in the back side.
- the first block 11 integrally includes an upper wall 46a, a lower wall 46b, and a pair of side walls 46c.
- the upper wall 46a is formed in a substantially rectangular shape in plan view extending in the left-right direction and in a substantially rectangular shape in front view. Further, as shown in FIGS. 6 and 7, the upper wall 46a is formed so that the upper portion is substantially rectangular in a side view and the lower surface 47 of the lower portion is a curved surface. Specifically, the lower surface 47 of the upper wall 46a is formed in an arc shape that gradually curves downward as it goes rearward.
- the lower wall 46b is provided adjacent to the lower end of the upper wall 46a.
- the lower wall 46b is formed in a substantially rectangular shape in bottom view extending in the left-right direction and in a substantially rectangular shape in front view.
- the lower wall 46b is formed as an inclined surface that is linearly inclined downward as the lower surface thereof is directed toward the front side, and the upper surface 48 thereof is directed toward the front side, as shown in FIGS. Accordingly, it is formed as an inclined surface inclined linearly downward.
- the upper end edge of the upper surface 48 of the lower wall 46b is formed to be continuous with the lower end edge of the lower surface 47 of the upper wall 46a.
- the pair of side walls 46c are continuous to both ends in the left-right direction of the upper wall 46a and the lower wall 46b, and are formed in a substantially rectangular shape in plan view extending in the up-down direction. Further, the side wall 46c is formed in a substantially triangular shape in which the upper part has a substantially rectangular shape in a side view and the lower part has a length in the front-rear direction that decreases toward the lower side.
- the front surfaces of the upper wall 46a, the lower wall 46b, and the pair of side walls 46c are formed in a substantially rectangular frame shape when viewed from the front.
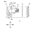
- the manifold 21 includes a lower surface 47 of the upper wall 46a, an upper surface 48 of the lower wall 46b, and an inner surface (inner surface) of the pair of side walls 46c. Is formed.
- the manifold 21 is provided to spread a varnish supplied from a supply hole 20 described later in the left-right direction.
- the manifold 21 includes an inflow portion 50 and an outflow portion 51.
- the inflow portion 50 is formed by the lower surface 47 of the upper wall 46a and the inner surfaces (inner surfaces) of the pair of side walls 46c.
- the inflow portion 50 is formed such that the opening cross-sectional area along the left-right direction and the front-rear direction (the direction orthogonal to the discharge direction) increases as it goes downward (downstream in the discharge direction).
- the inflow space 52 is partitioned by the inflow portion 50.
- the outflow portion 51 is formed by the upper surface 48 of the lower wall 46b and the inner surfaces (inner surfaces) of the pair of side walls 46c.
- the outflow portion 51 is formed such that the opening cross-sectional area along the left-right direction and the front-rear direction (the direction orthogonal to the discharge direction) decreases as it goes toward the discharge direction.
- the outflow space 53 is partitioned by the outflow portion 51 so as to communicate with the inflow space 52.
- This manifold 21 partitions the manifold space.
- the manifold space is formed by an inflow space 52 and an outflow space 53.
- the supply hole 20 penetrating the upper wall 46a in the vertical direction is formed in the upper wall 46a.
- the supply hole 20 is formed in the upper wall 46a in order to guide the varnish supplied from the static mixer 4 (see FIGS. 1 and 2) to the cavity 49 (described later), and has a substantially cylindrical shape.
- the supply hole 20 is provided at a substantially central portion in the left-right direction of the upper wall 46 a in plan view.
- the lower end portion of the supply hole 20 is bent obliquely forward to the lower side and opened on the lower surface 47 of the upper wall 46a.
- the upper wall 46a and the pair of side walls 46c are formed with first fixing holes 28 that are perforated backward from the front surface thereof.
- a plurality of first fixing holes 28 are provided at intervals.
- the first fixing holes 28 are formed at equal intervals in the left-right direction on the front surface of the upper wall 46a.
- the first fixing holes 28 are formed at equal intervals in the vertical direction on the front surfaces of the pair of side walls 46c.
- the pair of side walls 46c are formed with second fixing holes 29 penetrating in the left-right direction.
- the second fixing hole 29 is provided at a position communicating with the inflow space 52 (see FIG. 6) on the side wall 46c.
- an attachment member 25 is attached to the manifold 21.
- the two attachment members 25 are provided on the upper side (upstream side in the discharge direction) of the manifold 21 at intervals in the left-right direction.
- each attachment member 25 has a substantially rectangular shape in plan view extending in the left-right direction, and the outer side surface in the left-right direction is formed in a flat shape extending in the up-down direction. Further, the attachment member 25 has a fan shape when viewed from the side, the lower surface is formed as a flat surface, and the upper surface is formed in an arc shape that gradually curves downward as it goes rearward. As shown by the thick and thin hatching in FIG. 8, the attachment member 25 is formed in a substantially triangular shape (specifically, a right triangle shape) when viewed from the front. In addition, the lower surfaces of the two attachment members 25 are formed as inclined surfaces that are inclined downwardly toward the outer side in the left-right direction when viewed from the front, and are disposed so as to face each other in the left-right direction.
- the attachment member 25 is formed with a protruding portion that slightly protrudes forward from the first block 11 when projected in the vertical direction and the horizontal direction.
- the left and right outer end edges of the lower surface of the attachment member 25 are arranged so as to overlap the lower end edge of the lower surface 47 of the upper wall 46a when projected in the front-rear direction.
- the left and right inner end edges of the lower surface of the attachment member 25 are adjacent to both left and right ends of the supply hole 20 and adjacent to both outer sides of the lower end of the supply hole 20 so as to expose the supply hole 20. Has been placed.
- an enlarged portion 33 is formed in the inflow space 52 of the cavity 49 that gradually increases in length in the left-right direction toward the lower side.
- the enlarged portion 33 is formed in a substantially inverted V shape so that the length in the left-right direction with respect to the supply hole 20 gradually increases as it goes downward.
- the second block 12 is a transparent member formed of a transparent material such as an acrylic resin (specifically, polymethyl methacrylate) or a transparent resin such as a silicone resin.
- a transparent material such as an acrylic resin (specifically, polymethyl methacrylate) or a transparent resin such as a silicone resin.
- the second block 12 has a flat plate shape extending in the left-right direction, and the lower end portion is formed in a substantially triangular shape whose length in the front-rear direction becomes shorter toward the lower side.
- the second block 12 is formed so as to overlap the first block 11 when projected in the front-rear direction.
- the upper surface and both side surfaces of the second block 12 are formed flush with the upper surface and both side surfaces of the first block 11, and the lower end portion of the second block 12 is in the front-rear direction with the lower end portion of the first block 11. When projected, they are placed at the same position.
- the second block 12 is formed with a plurality of first fixing holes 28 (see FIG. 8) having the same arrangement and size as the first block 11 in a front view.
- the shim 13 is made of the same material as that of the first block 11, for example.
- the shim 13 is a thin plate having a substantially inverted U shape when viewed from the front. As the thin line hatching in FIG. 8 is referred to, the shim 13 overlaps the front surface of the upper wall 46a and the front surface of the pair of side walls 46c when projected in the front-rear direction. And is interposed between the second blocks 12.
- the shim 13 is formed with a plurality of first fixing holes 28 having the same arrangement and size as the first block 11 in a front view.
- each of the first block 11, the attachment member 25, the shim 13, and the second block 12 is prepared.
- the attachment member 25 is mounted on the manifold 21 of the first block 11, and the shim 13 is disposed on the front surface of the upper wall 46a and the front surface of the pair of side walls 46c.
- a fixing member (not shown) (not shown, for example, a screw or a bolt) is inserted into the second fixing hole 29 (FIGS. 5 and 8). And the attachment member 25 is fixed to the manifold 21.
- the shim 13 is brought into contact with the front surface of the upper wall 46a and the front surfaces of the pair of side walls 46c.
- the rear surface of the second block 12 is brought into contact with the front surface of the shim 13 and the front surface of the attachment member 25.
- a fixing member (not shown) is inserted into the first fixing hole 28 (see FIG. 8) of the first block 11, the shim 13, and the second block 12 and fixed.
- the shim 13 is sandwiched between the first block 11 and the second block 12 and the nozzle 5 is assembled.
- the nozzle 5 is formed with a cavity 49 partitioned by the manifold 21 of the first block 11, the inner surface of the shim 13, and the rear surface of the second block 12.
- a slit 56 is formed which is partitioned by the front surface of the lower wall 46b of the first block 11, the inner surface of the shim 13, and the rear surface of the second block 12. As shown in FIG. 8, the slit 56 is opened in a substantially rectangular shape in plan view extending in the left-right direction, and is opened in a substantially rectangular shape in side view extending in the vertical direction as shown in FIG.
- the slot 57 is opened at the lower end (discharge port) of the slit 56.
- the slot 57 is formed at a discharge port of a substantially rectangular varnish extending in the left-right direction when viewed from the bottom.
- the lower wall 46 b, the shim 13, and the second block 12 that partition the slit 56 serve as the discharge unit 23.
- the lower surface of the lower end portion of the lower wall 46b of the first block 11 and the lower surface of the lower end portion of the second block 12 are both flat surfaces and are used as the doctor 26.
- the dimensions of the nozzle 5 are appropriately set according to the physical properties (including viscosity) of the varnish, the shape and / or thickness of the coating film 60 (see FIG. 11), and are not particularly limited.
- the width (length in the left-right direction) of the nozzle 5 is, for example, 30 mm or more, preferably 50 mm or more, and, for example, 500 mm or less, preferably 200 mm or less.
- the internal diameter of the supply hole 20 is 2 mm or more, for example, Preferably, it is 5 mm or more, for example, is 30 mm or less, Preferably, it is 15 mm or less.
- the width (length in the left-right direction) of the cavity 49, the slit 56, and the slot 57 is, for example, 10 mm or more, preferably 30 mm or more, and, for example, 450 mm or less, preferably 150 mm or less.
- the length of the inflow space 52 in the vertical direction is, for example, 3 mm or more, preferably 5 mm or more, for example, 80 mm or less, preferably 50 mm or less, and the length in the front-rear direction is, for example, 3 mm or more.
- the thickness is preferably 5 mm or more, and for example, 50 mm or less, preferably 30 mm or less.
- the vertical length of the outflow space 53 is, for example, 3 mm or more, preferably 5 mm or more, and for example, 80 mm or less, preferably 50 mm or less.
- the width (length in the left-right direction) of the attachment member 25 is, for example, 5 mm or more, preferably 15 mm or more, and for example, 200 mm or less, preferably 70 mm or less.
- the vertical length of the attachment member 25 is, for example, 3 mm or more, preferably 5 mm or more, and for example, 80 mm or less, preferably 50 mm or less.
- the length in the front-rear direction of the attachment member 25 is, for example, 3 mm or more, preferably 5 mm or more, and, for example, 50 mm or less, preferably 30 mm or less.
- the length of the slit 56 in the front-rear direction and the length of the slot 57 (discharge port) in the front-rear direction are substantially the same as the length of the shim 13 in the front-rear direction, for example, 0.1 mm or more, preferably 0.5 mm or more. Also, for example, 3 mm or less, preferably 2 mm or less.
- the coating device 1 is provided with a moving device 55 that can move the nozzle 5 in the front-rear direction, the left-right direction, and / or the up-down direction, adjacent to the upper side of the pump 3. .
- the varnish contains particles and resin as essential components.
- the particles are appropriately set according to the application and purpose of the coating, and examples thereof include phosphors and fillers.
- the phosphor has a wavelength conversion function, and examples thereof include a yellow phosphor capable of converting blue light into yellow light, and a red phosphor capable of converting blue light into red light.
- yellow phosphor examples include silicate phosphors such as (Ba, Sr, Ca) 2 SiO 4 ; Eu, (Sr, Ba) 2 SiO 4 : Eu (barium orthosilicate (BOS)), for example, Y 3 Al Garnet-type phosphors having a garnet-type crystal structure such as 5 O 12 : Ce (YAG (yttrium, aluminum, garnet): Ce), Tb 3 Al 3 O 12 : Ce (TAG (terbium, aluminum, garnet): Ce) Examples thereof include oxynitride phosphors such as Ca- ⁇ -SiAlON.
- silicate phosphors such as (Ba, Sr, Ca) 2 SiO 4 ; Eu, (Sr, Ba) 2 SiO 4 : Eu (barium orthosilicate (BOS)
- Y 3 Al Garnet-type phosphors having a garnet-type crystal structure such as 5 O 12 : Ce (YAG (yttrium, aluminum, garnet): Ce
- red phosphor examples include nitride phosphors such as CaAlSiN 3 : Eu and CaSiN 2 : Eu.
- Examples of the shape of the phosphor include a spherical shape, a plate shape, and a needle shape.
- spherical shape is mentioned from a fluid viewpoint.
- the average value of the maximum length of the phosphor (in the case of a sphere, the average particle diameter) is, for example, 0.1 ⁇ m or more, preferably 1 ⁇ m or more, and for example, 200 ⁇ m or less, preferably 100 ⁇ m or less. But there is.
- the specific gravity of the phosphor is, for example, 2.0 or more, and, for example, 9.0 or less.
- Fluorescent substances can be used alone or in combination.
- the blending ratio of the phosphor is, for example, 0.1 parts by mass or more, preferably 0.5 parts by mass or more, for example, 80 parts by mass or less, preferably 50 parts by mass or less with respect to 100 parts by mass of the resin. But there is.
- the filler is blended into the varnish to improve the toughness of the coating film, and examples thereof include organic fine particles such as silicone particles, and inorganic fine particles such as silica, talc, alumina, aluminum nitride, and silicon nitride.
- the specific gravity of the filler is, for example, 0.5 or more, and, for example, 7.0 or less.
- the average value of the maximum length of the filler (in the case of a spherical shape, the average particle diameter) is, for example, 0.1 ⁇ m or more, preferably 0.5 ⁇ m or more, and, for example, 200 ⁇ m or less, preferably It is also 100 ⁇ m or less.
- ⁇ Fillers can be used alone or in combination.
- the blending ratio of the filler is, for example, 0.1 parts by mass or more, preferably 0.5 parts by mass or more, and, for example, 70 parts by mass or less, preferably 50 parts by mass with respect to 100 parts by mass of the resin. It is also below the department.
- the total amount of the phosphor and the filler is, for example, 0.1 parts by mass or more, preferably 0.5 parts by mass with respect to 100 parts by mass of the resin. For example, 80 parts by mass or less, preferably 60 parts by mass or less.
- the resin examples include curable resins such as silicone resin, epoxy resin, polyimide resin, phenol resin, urea resin, melamine resin, and unsaturated polyester resin.
- the resin examples include polyolefin (eg, polyethylene, polypropylene, ethylene-propylene copolymer), acrylic resin (eg, polymethyl methacrylate), polyvinyl acetate, ethylene-vinyl acetate copolymer, polychlorinated resin.
- the resin is preferably a curable resin, more preferably a curable silicone resin.
- curable silicone resin examples include a two-stage curable silicone resin and a one-stage curable silicone resin.
- the two-stage curable silicone resin has a two-stage reaction mechanism, and is curable by B-stage (semi-curing) by the first-stage reaction and C-stage (full-curing) by the second-stage reaction. Silicone resin.
- the B stage is a state in which the two-stage curable silicone resin is between the A stage soluble in the solvent and the fully cured C stage, and the curing and gelation progresses slightly, and the solvent swells. However, it is not completely dissolved and is softened by heating but not melted.
- the one-step curable silicone resin has a one-step reaction mechanism and is a curable silicone resin that is completely cured by the first-step reaction.
- the curable silicone resin examples include a thermosetting silicone resin that is cured by heating, such as an active energy ray-curable silicone resin that is cured by irradiation with active energy rays (for example, ultraviolet rays and electron beams). .
- a thermosetting silicone resin is used.
- the specific gravity of the resin is, for example, lighter than the specific gravity of the phosphor and / or filler, specifically, for example, 0.5 or more, and, for example, 2.0 or less.
- the blending ratio of the resin is, for example, 0.1% by mass or more, preferably 0.5% by mass or more, and for example, less than 100% by mass, preferably 99.5% by mass or less with respect to the varnish. It is.
- arbitrary components such as a solvent and an additive, can be mix
- the solvent include aliphatic hydrocarbons such as hexane, aromatic hydrocarbons such as xylene, and siloxanes such as vinylmethyl cyclic siloxane and both-end vinyl polydimethylsiloxane.
- additives examples include dispersants, silane coupling agents, leveling agent surface conditioners, and the like.
- a varnish is prepared by blending the above components and stirring and mixing them.
- the viscosity of the varnish at 25 ° C. and 1 atm is, for example, 1,000 mPa ⁇ s or more, preferably 4,000 mPa ⁇ s or more, and, for example, 1,000,000 mPa ⁇ s or less, preferably , 100,000 mPa ⁇ s or less.
- the viscosity is measured at a rotational speed of 99 s -1 by adjusting the temperature of the varnish to 25 ° C. and using an E-type cone.
- the base material 54 is prepared.
- the base material 54 is formed in a sheet shape, and the outer shape thereof is not particularly limited.
- the base material 54 is formed in a substantially rectangular shape in plan view (including a strip shape and a long shape). ing.
- the base material 54 is arrange
- the base material 54 is formed in a sheet shape from a resin such as a polyester resin such as polyethylene terephthalate (PET), for example, a polyolefin resin such as polypropylene. Moreover, the base material 54 can also be formed from a metal, for example. The surface of the substrate 54 can be subjected to a peeling treatment or the like.
- a resin such as a polyester resin such as polyethylene terephthalate (PET), for example, a polyolefin resin such as polypropylene.
- PET polyethylene terephthalate
- the base material 54 can also be formed from a metal, for example.
- the surface of the substrate 54 can be subjected to a peeling treatment or the like.
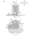
- the discharge portion 23 (slot 57) of the nozzle 5 is opposed to the base material 54, and the discharge portion 23 is brought close to the base material 54.
- the vertical length of the doctor 26 and the base material 54 is set to, for example, a desired thickness of the coating film 60 (see FIG. 10) or more, for example, the same thickness. It is 10 ⁇ m or more, preferably 30 ⁇ m or more, and is set to, for example, 3000 ⁇ m or less, preferably 2800 ⁇ m or less.
- the pump 3 is driven and the nozzle 5 is horizontally moved forward by the moving device 55.
- the varnish reaches the static mixer 4 from the tank 2 through the pump 3. Then, the particles in the varnish and the resin are guided into the cavity 49 through the supply holes 20 as shown in FIG. 11 while being uniformly mixed.
- the varnish flows into the inflow space 52 and is gradually expanded in the left-right direction in the enlarged portion 33 as shown in FIG. 8, and flows out into the outflow space 53 by driving the pump 3 and / or gravity.
- the varnish flows downward and reaches the slit 56 while being narrowed in the front-rear direction.
- the ink is discharged from the slot 57 toward the base material 54.
- the thickness of the varnish discharged to the base material 54 is adjusted by the doctor 26 of the first block 11 of the nozzle 5 moving forward as shown in FIG.
- the varnish is dried to form the coating film 60.
- the coating film 60 can be formed in a single wafer type by intermittently applying the varnish to the base material 54, or by continuously discharging the varnish to the base material 54, The coating film 60 can also be formed continuously. After that, the continuous coating film 60 can be made into a single wafer type by external processing such as cutting.
- the resin contains a curable resin
- a curing treatment is performed by heat or active energy rays. Thereby, the coating film 60 after the curing (or after the semi-curing) is formed.
- the resin contains a thermoplastic resin
- a heater is provided in the coating apparatus 1 and the above-described treatment is performed while the resin is melted or softened.
- the varnish before being supplied to the nozzle 5 can be stirred by the static mixer 4. Therefore, the uniformity of particles and resin in the varnish can be ensured.
- the varnish passing through the manifold 21 is gradually spread outward in the left-right direction (first direction) as it goes downward (downstream in the discharge direction) in the enlarged portion 33. Therefore, the discharge flow of the varnish becomes slow and it is possible to prevent the varnish from staying based thereon. As a result, the non-uniformity of particles in the varnish can be eliminated in the manifold 21. Therefore, sufficient uniformity of particles in the obtained coating film can be ensured.
- the discharge flow of the varnish described above tends to be slow in the inflow portion 50 compared to the outflow portion 51, and the varnish is likely to stay due to the discharge flow.
- the number of twisting blades 7 in the static mixer 4 is not particularly limited as long as it is plural, and is preferably 6 or more (specifically, the number of left twisting blades 9 is 3 or more and the number of right twisting blades 8 is 3 or more), for example, 30 or less (specifically, the number of left twist blades 9 is 15 or less, and the number of right twist blades 8 is 15 or less).
- the static mixer 4 since the static mixer 4 includes six or more torsion blades 7, the uniformity of particles and resin in the varnish can be more sufficiently ensured.
- the attachment member 25 is configured to be detachable from the manifold 21.
- the attachment member 25 may be configured integrally with the manifold 21.
- the attachment member 25 is configured to be detachable from the manifold 21.
- it can be replaced with an attachment member 25 having a desired shape according to the characteristics of the varnish. Specifically, the inclination angle of the lower surface (inclined surface) of the attachment member 25 is changed according to the viscosity of the varnish.
- the inclination angle of the (inclined surface) of the attachment member 25 described above is determined according to the type of particles, the mixing ratio, the shape, the average particle diameter, the type of resin, the mixing ratio, the viscosity, etc. It is possible to easily prevent the varnish from staying as described above.
- the second block 12 is a transparent member, it can also be an opaque member made of metal, for example.
- the second block 12 is a transparent member. According to such a coating apparatus 1, since the varnish which passes the cavity 49 containing the enlarged part 33 can be visually observed through the 2nd block 12 which is a transparent member, the state of the particle
- the part (for example, window part) facing the enlarged part 33 ) May be formed of a transparent material, and the other part may be an opaque member.
- the nozzle 5 is moved with respect to the base material 54.
- the base material 54 and the nozzle 5 only need to move relative to each other.
- the substrate 54 can also be moved.
- the nozzle 5 is provided so that the slot 57 faces downward, but it can also be directed sideways or upward, for example.
- the nozzle 5 is moved forward, but the moving direction is not limited to this, and for example, the nozzle 5 can be moved backward. In this case, as shown in FIG. 11, the thickness of the coating film 60 is adjusted by the doctor 26 of the second block 12.
- each component in the static mixer 4 and / or the nozzle 5 can be subjected to processing such as chamfering.
- Example 1 Preparation of varnish> 80 parts by mass of liquid silicone resin (LR7665 A solution, one-step curable silicone resin, specific gravity 1.0, manufactured by Shin-Etsu Chemical Co., Ltd.), silicone particles (Tospearl 2000B, specific gravity 1.32, Momentive Performance Materials, 20 parts by mass of Japan) and 15 parts by mass of YAG: Ce (Y-468, specific gravity 4.5, yellow phosphor, manufactured by Nemoto Lumi Materials) are added, and these are stirred and mixed. A varnish was prepared.
- liquid silicone resin LR7665 A solution, one-step curable silicone resin, specific gravity 1.0, manufactured by Shin-Etsu Chemical Co., Ltd.
- silicone particles Tospearl 2000B, specific gravity 1.32, Momentive Performance Materials, 20 parts by mass of Japan
- YAG: Ce Y-468, specific gravity 4.5, yellow phosphor, manufactured by Nemoto Lumi Materials
- the viscosity of the varnish at 25 ° C. and 1 atm was 40,000 mPa ⁇ s.
- a coating apparatus including a tank, a pump, a static mixer, a nozzle (with an attachment member), and a moving device was prepared.
- the model and dimensions of the static mixer and nozzle are shown below.
- the nozzle slot was made to face the substrate so that the vertical length of the doctor and the substrate was 400 ⁇ m by the moving device.
- the pump was driven and the nozzle was moved horizontally by 140 mm forward by the moving device.
- Comparative Example 1 A coating film was produced in the same manner as in Example 1 except that the attachment member was not attached to the nozzle.
- Comparative Example 2 In the coating apparatus, a coating film was produced in the same manner as in Example 1 except that a straight pipe was provided instead of the static mixer.
- Example 1 Compared with Comparative Examples 1 and 2, in Example 1, a dilute portion of YAG: Ce (yellow phosphor) was not confirmed in the varnish, and it was found that YAG: Ce (yellow phosphor) was uniform.
- the coating device is used in a method for producing a coating film used for various purposes.
Landscapes
- Coating Apparatus (AREA)
- Engineering & Computer Science (AREA)
- Manufacturing & Machinery (AREA)
- Chemical & Material Sciences (AREA)
- Chemical Kinetics & Catalysis (AREA)
- Electrochemistry (AREA)
- General Chemical & Material Sciences (AREA)
Priority Applications (1)
| Application Number | Priority Date | Filing Date | Title |
|---|---|---|---|
| KR1020157026624A KR20150135317A (ko) | 2013-03-27 | 2014-02-21 | 도포 장치 |
Applications Claiming Priority (2)
| Application Number | Priority Date | Filing Date | Title |
|---|---|---|---|
| JP2013-066024 | 2013-03-27 | ||
| JP2013066024A JP5791649B2 (ja) | 2013-03-27 | 2013-03-27 | 塗布装置 |
Publications (1)
| Publication Number | Publication Date |
|---|---|
| WO2014156403A1 true WO2014156403A1 (ja) | 2014-10-02 |
Family
ID=51591815
Family Applications (1)
| Application Number | Title | Priority Date | Filing Date |
|---|---|---|---|
| PCT/JP2014/054214 Ceased WO2014156403A1 (ja) | 2013-03-27 | 2014-02-21 | 塗布装置 |
Country Status (5)
| Country | Link |
|---|---|
| JP (1) | JP5791649B2 (enExample) |
| KR (1) | KR20150135317A (enExample) |
| CN (4) | CN204234272U (enExample) |
| TW (1) | TW201438294A (enExample) |
| WO (1) | WO2014156403A1 (enExample) |
Cited By (1)
| Publication number | Priority date | Publication date | Assignee | Title |
|---|---|---|---|---|
| CN109865636A (zh) * | 2019-03-06 | 2019-06-11 | 中国船舶重工集团公司第七一一研究所 | 利用双组份分配的高精度点胶装置 |
Families Citing this family (10)
| Publication number | Priority date | Publication date | Assignee | Title |
|---|---|---|---|---|
| WO2015009033A1 (ko) | 2013-07-16 | 2015-01-22 | 주식회사 엘지화학 | 슬롯 다이 코터용 부재, 슬롯 다이 코터용 가동 부재, 및 이를 적용한 전극 생산용 슬롯 다이 코터 |
| JP6038325B2 (ja) * | 2013-07-16 | 2016-12-07 | エルジー・ケム・リミテッド | スロットダイコータ用部材、スロットダイコータ用可動部材、及びこれを適用した電極生産用スロットダイコータ |
| CN107138358A (zh) * | 2017-07-11 | 2017-09-08 | 苏州城邦达力材料科技有限公司 | 一种供胶装置及其组成的涂布机 |
| CN107377308A (zh) * | 2017-08-08 | 2017-11-24 | 河南富拓光电科技有限公司 | 狭缝式挤压涂布机头 |
| JP6425776B1 (ja) * | 2017-08-10 | 2018-11-21 | 東レエンジニアリング株式会社 | 塗工装置及び塗工方法 |
| KR102282253B1 (ko) * | 2021-02-09 | 2021-07-27 | 안창근 | 전기차용 배터리팩의 배터리모듈 교환용 이액형 접착제 도포장치 |
| CN113210201B (zh) * | 2021-05-11 | 2022-10-28 | 浙江星煜机电科技股份有限公司 | 一种光伏板生产用新型粘合机及光伏板生产工艺 |
| CN113798130B (zh) * | 2021-10-13 | 2022-05-17 | 江苏集萃新型药物制剂技术研究所有限公司 | 一种热熔胶制备及涂布一体化设备及方法 |
| KR20230067201A (ko) * | 2021-11-09 | 2023-05-16 | 주식회사 엘지에너지솔루션 | 전극 슬러리 제공 장치, 코팅 장치 및 다이 코터 |
| CN114653535B (zh) * | 2022-03-03 | 2023-05-23 | 台州市邦盈纸品有限公司 | 一种涂布头角度精调机构 |
Citations (4)
| Publication number | Priority date | Publication date | Assignee | Title |
|---|---|---|---|---|
| JP2003200096A (ja) * | 2002-01-08 | 2003-07-15 | Tohoku Ricoh Co Ltd | エマルション塗布装置及び感熱孔版印刷用マスターの製造法 |
| JP2007098186A (ja) * | 2005-09-06 | 2007-04-19 | Dainippon Printing Co Ltd | 塗工・乾燥装置及び塗工・乾燥方法 |
| JP2008140825A (ja) * | 2006-11-30 | 2008-06-19 | Toppan Printing Co Ltd | スケルトンスピンレスノズル及びスケルトンスピンレスノズルを装備したレジスト塗布装置 |
| JP2009273997A (ja) * | 2008-05-14 | 2009-11-26 | Panasonic Corp | 塗布装置および塗布方法 |
Family Cites Families (12)
| Publication number | Priority date | Publication date | Assignee | Title |
|---|---|---|---|---|
| JPH10146556A (ja) * | 1996-11-18 | 1998-06-02 | Hitachi Maxell Ltd | エクストルージョン型のコータヘッド |
| US6057000A (en) * | 1998-10-29 | 2000-05-02 | Xerox Corporation | Extrusion coating process |
| JP2001122992A (ja) * | 1999-10-25 | 2001-05-08 | Hitachi Chem Co Ltd | プリプレグの製造方法およびプリプレグの製造に用いるノズル並びにプリプレグの製造装置 |
| JP4852808B2 (ja) * | 2001-08-31 | 2012-01-11 | 大日本印刷株式会社 | 塗工装置 |
| JP2003145004A (ja) * | 2001-11-12 | 2003-05-20 | Three Bond Co Ltd | ノズルの位置ずれ検出装置及びこれを用いた材料塗布装置 |
| JP3946526B2 (ja) * | 2002-01-09 | 2007-07-18 | 富士フイルム株式会社 | 多層膜の製造方法及び装置 |
| JP4403802B2 (ja) * | 2004-01-07 | 2010-01-27 | 株式会社日立プラントテクノロジー | ペースト塗布機 |
| JP2006102598A (ja) * | 2004-10-01 | 2006-04-20 | Matsushita Electric Ind Co Ltd | 塗布ノズル |
| JP2007044643A (ja) * | 2005-08-11 | 2007-02-22 | Inoue Kinzoku Kogyo Co Ltd | ダイ塗工装置 |
| JP4377904B2 (ja) * | 2006-10-31 | 2009-12-02 | 株式会社東芝 | 電極の製造方法及び非水電解質電池の製造方法 |
| JP4872634B2 (ja) * | 2006-12-05 | 2012-02-08 | パナソニック株式会社 | 接着剤塗布機ユニット |
| JP3161694U (ja) * | 2010-05-27 | 2010-08-05 | 旭有機材工業株式会社 | 塗工装置 |
-
2013
- 2013-03-27 JP JP2013066024A patent/JP5791649B2/ja not_active Expired - Fee Related
-
2014
- 2014-02-21 WO PCT/JP2014/054214 patent/WO2014156403A1/ja not_active Ceased
- 2014-02-21 KR KR1020157026624A patent/KR20150135317A/ko not_active Withdrawn
- 2014-03-24 TW TW103110925A patent/TW201438294A/zh unknown
- 2014-03-27 CN CN201420519274.7U patent/CN204234272U/zh not_active Expired - Fee Related
- 2014-03-27 CN CN201420518346.6U patent/CN204234279U/zh not_active Expired - Fee Related
- 2014-03-27 CN CN201410119319.6A patent/CN104069982A/zh active Pending
- 2014-03-27 CN CN201420142404.XU patent/CN203853230U/zh not_active Expired - Fee Related
Patent Citations (4)
| Publication number | Priority date | Publication date | Assignee | Title |
|---|---|---|---|---|
| JP2003200096A (ja) * | 2002-01-08 | 2003-07-15 | Tohoku Ricoh Co Ltd | エマルション塗布装置及び感熱孔版印刷用マスターの製造法 |
| JP2007098186A (ja) * | 2005-09-06 | 2007-04-19 | Dainippon Printing Co Ltd | 塗工・乾燥装置及び塗工・乾燥方法 |
| JP2008140825A (ja) * | 2006-11-30 | 2008-06-19 | Toppan Printing Co Ltd | スケルトンスピンレスノズル及びスケルトンスピンレスノズルを装備したレジスト塗布装置 |
| JP2009273997A (ja) * | 2008-05-14 | 2009-11-26 | Panasonic Corp | 塗布装置および塗布方法 |
Cited By (1)
| Publication number | Priority date | Publication date | Assignee | Title |
|---|---|---|---|---|
| CN109865636A (zh) * | 2019-03-06 | 2019-06-11 | 中国船舶重工集团公司第七一一研究所 | 利用双组份分配的高精度点胶装置 |
Also Published As
| Publication number | Publication date |
|---|---|
| CN104069982A (zh) | 2014-10-01 |
| JP2014188436A (ja) | 2014-10-06 |
| JP5791649B2 (ja) | 2015-10-07 |
| CN204234279U (zh) | 2015-04-01 |
| KR20150135317A (ko) | 2015-12-02 |
| TW201438294A (zh) | 2014-10-01 |
| CN204234272U (zh) | 2015-04-01 |
| CN203853230U (zh) | 2014-10-01 |
Similar Documents
| Publication | Publication Date | Title |
|---|---|---|
| JP5791649B2 (ja) | 塗布装置 | |
| JP6080919B2 (ja) | 塗布装置 | |
| WO2014156404A1 (ja) | 塗布装置 | |
| CN103154146B (zh) | 含荧光体片材、使用其的led发光装置及其制造方法 | |
| TWI745346B (zh) | 熱傳導性樹脂成型品 | |
| CN104756265A (zh) | 含荧光体树脂片材及发光装置 | |
| JP2006043617A (ja) | マイクロ流体チップ | |
| CN102563405A (zh) | 包括光致发光板的照明装置 | |
| CN109261036B (zh) | 一种用于高粘流体混合的微结构混合器 | |
| CN101178398A (zh) | 微型综合分析芯片及微型综合分析系统 | |
| JP6806555B2 (ja) | 波長変換フィルムおよび波長変換フィルムの製造方法 | |
| US20160011354A1 (en) | Backlight device | |
| US8603412B2 (en) | Microchannel structure, and methods for producing emulsion and solid spherical particles | |
| US7485266B2 (en) | Micro fluid chip | |
| RU2633567C2 (ru) | Микрожидкостное устройство и относящийся к нему способ | |
| Takehara et al. | Implementation of tetra-poly (ethylene glycol) hydrogel with high mechanical strength into microfluidic device technology | |
| KR20150023304A (ko) | 롤 형상 시트 | |
| CN109999739A (zh) | 一种均匀混合的微流控反应合成材料装置 | |
| CN205461949U (zh) | 浆料混匀设备 | |
| JP4366124B2 (ja) | 撹拌混合装置及び撹拌混合方法 | |
| CN108889150B (zh) | 一种乳化装置 | |
| KR101761387B1 (ko) | 광 여기 판 | |
| CN104093532A (zh) | 填充物的分散方法及微分散混合器 | |
| JP2020136418A (ja) | ウェハーレベル光半導体デバイス用樹脂組成物及び該組成物を用いたウェハーレベル光半導体デバイス | |
| JP2017113734A (ja) | 塗布工具 |
Legal Events
| Date | Code | Title | Description |
|---|---|---|---|
| 121 | Ep: the epo has been informed by wipo that ep was designated in this application |
Ref document number: 14775404 Country of ref document: EP Kind code of ref document: A1 |
|
| ENP | Entry into the national phase |
Ref document number: 20157026624 Country of ref document: KR Kind code of ref document: A |
|
| NENP | Non-entry into the national phase |
Ref country code: DE |
|
| 122 | Ep: pct application non-entry in european phase |
Ref document number: 14775404 Country of ref document: EP Kind code of ref document: A1 |