WO2013094167A1 - Developing device and process cartridge - Google Patents

Developing device and process cartridge Download PDF

Info

Publication number
WO2013094167A1
WO2013094167A1 PCT/JP2012/008012 JP2012008012W WO2013094167A1 WO 2013094167 A1 WO2013094167 A1 WO 2013094167A1 JP 2012008012 W JP2012008012 W JP 2012008012W WO 2013094167 A1 WO2013094167 A1 WO 2013094167A1
Authority
WO
WIPO (PCT)
Prior art keywords
developing
agent
bearing member
regulating portion
toner
Prior art date
Legal status (The legal status is an assumption and is not a legal conclusion. Google has not performed a legal analysis and makes no representation as to the accuracy of the status listed.)
Ceased
Application number
PCT/JP2012/008012
Other languages
English (en)
French (fr)
Inventor
Daisuke Baba
Makoto TOKUDOME
Masao Uyama
Yuichiro Hirata
Kodai HAYASHI
Keisuke Mochizuki
Norihito Naito
Current Assignee (The listed assignees may be inaccurate. Google has not performed a legal analysis and makes no representation or warranty as to the accuracy of the list.)
Canon Inc
Original Assignee
Canon Inc
Priority date (The priority date is an assumption and is not a legal conclusion. Google has not performed a legal analysis and makes no representation as to the accuracy of the date listed.)
Filing date
Publication date
Application filed by Canon Inc filed Critical Canon Inc
Priority to US14/366,660 priority Critical patent/US9213257B2/en
Publication of WO2013094167A1 publication Critical patent/WO2013094167A1/en
Anticipated expiration legal-status Critical
Ceased legal-status Critical Current

Links

Images

Classifications

    • GPHYSICS
    • G03PHOTOGRAPHY; CINEMATOGRAPHY; ANALOGOUS TECHNIQUES USING WAVES OTHER THAN OPTICAL WAVES; ELECTROGRAPHY; HOLOGRAPHY
    • G03GELECTROGRAPHY; ELECTROPHOTOGRAPHY; MAGNETOGRAPHY
    • G03G15/00Apparatus for electrographic processes using a charge pattern
    • G03G15/06Apparatus for electrographic processes using a charge pattern for developing
    • G03G15/08Apparatus for electrographic processes using a charge pattern for developing using a solid developer, e.g. powder developer
    • G03G15/0806Apparatus for electrographic processes using a charge pattern for developing using a solid developer, e.g. powder developer on a donor element, e.g. belt, roller
    • G03G15/081Apparatus for electrographic processes using a charge pattern for developing using a solid developer, e.g. powder developer on a donor element, e.g. belt, roller characterised by the developer handling means after the supply and before the regulating, e.g. means for preventing developer blocking
    • GPHYSICS
    • G03PHOTOGRAPHY; CINEMATOGRAPHY; ANALOGOUS TECHNIQUES USING WAVES OTHER THAN OPTICAL WAVES; ELECTROGRAPHY; HOLOGRAPHY
    • G03GELECTROGRAPHY; ELECTROPHOTOGRAPHY; MAGNETOGRAPHY
    • G03G15/00Apparatus for electrographic processes using a charge pattern
    • G03G15/06Apparatus for electrographic processes using a charge pattern for developing
    • G03G15/08Apparatus for electrographic processes using a charge pattern for developing using a solid developer, e.g. powder developer
    • G03G15/0806Apparatus for electrographic processes using a charge pattern for developing using a solid developer, e.g. powder developer on a donor element, e.g. belt, roller
    • G03G15/0812Apparatus for electrographic processes using a charge pattern for developing using a solid developer, e.g. powder developer on a donor element, e.g. belt, roller characterised by the developer regulating means, e.g. structure of doctor blade

Definitions

  • the present invention relates to a developing device, a process cartridge, and an image forming apparatus.
  • an image forming apparatus forms an image on a recording medium.
  • image forming apparatuses are an electrophotographic copying machine, an electrophotographic printer (e.g., an LED printer or a laser beam printer), and an electrophotographic facsimile machine.
  • a process cartridge is formed by integrating at least an image bearing member and a developing device into a cartridge, and is removably mounted in an apparatus body of the image forming apparatus.
  • a developing device develops an electrostatic latent image formed on an image bearing member.
  • an electrostatic image (electrostatic latent image) is formed by applying light corresponding to image data onto an electrophotographic photosensitive member (photosensitive member).
  • Toner serving as developing agent is supplied from a developing device to the electrostatic image to develop the electrostatic image into a visible toner image.
  • This toner image is transferred from the photosensitive member onto a recording medium, such as recording paper, by a transfer device, and is then fixed on the recording medium by a fixing device. Through the above procedure, a recorded image is obtained.
  • toner serving as one-component developing agent is stored in a developing container.
  • the toner is born on a developing roller rotatably fixed in the developing container, and a toner layer of a uniform thickness is formed by a developing-agent regulating member.
  • the developing roller bearing the toner layer is located close to or in contact with the photosensitive member and, for example, a developing bias voltage including an alternating-current component and a direct-current component is applied to the developing roller to generate a potential difference between the electrostatic image on the photosensitive member and a developing sleeve.
  • the toner is thereby transferred onto the electrostatic image to develop the electrostatic image.
  • a so-called cantilevered method is disclosed in Japanese Patent Laid-Open No. 5-142933.
  • an elastic regulation blade is used as a developing-agent regulating member, and is fixed to a developing container such as to contact with a developing-agent bearing member in a bent state. Since a pressure generated by bending the regulation blade is used as a regulation pressure for regulating the developing agent, a desired regulation pressure can be stably obtained even if mount positions of the developing-agent bearing member and the developing-agent regulating member vary.
  • Japanese Patent Laid-Open No. 9-211966 discloses a method in which a rigid body is used as a developing-agent regulating member and a spring member is provided between the developing-agent regulating member and a developing container.
  • the developing-agent regulating member is pressed against a developing-agent bearing member from above by the spring member. Since a biasing pressure of the spring member is used as a regulation pressure for the developing agent, a desired regulation pressure can be stably obtained even if mount positions of the developing-agent bearing member and the developing-agent regulating member vary.
  • the image forming apparatus has been required to have not only higher image quality but also smaller size, in particular, smaller thickness.
  • a space S2 storing a developing-agent regulating member 28 formed by a rigid body and a spring member 29 is needed to be formed above a developing-agent bearing member 24 and between a developing container 26 and a regulation position 27 for the developing agent.
  • the present invention provides a developing device and a process cartridge that are reduced in size and thickness, while maintaining a regulation pressure and a regulation position for developing agent.
  • a developing device develops a latent image formed on an image bearing member.
  • the developing device includes: a rotatable developing-agent bearing member configured to bear developing agent; a developing container configured to form a developing-agent storage chamber that stores the developing agent; a developing-agent regulating portion provided in the developing container to regulate an amount of the developing agent born on the developing-agent bearing member; a support portion configured to support the developing-agent bearing member movably relative to the developing-agent regulating portion; and a pressurizing member configured to press the developing-agent bearing member toward the developing-agent regulating portion.
  • a contact portion of the developing-agent regulating portion with the developing-agent bearing member is fixed to the developing container without forming a gap from the developing container on a downstream side in a pressurizing direction of the pressurizing member.
  • a process cartridge according to another aspect of the present invention is removably mounted in an apparatus body of an image forming apparatus.
  • the process cartridge includes: an image bearing member on which a latent image is to be formed; a rotatable developing-agent bearing member configured to bear developing agent for developing the latent image; a developing container configured to form a developing-agent storage chamber that stores the developing agent; a developing-agent regulating portion provided in the developing container to regulate an amount of the developing agent born on the developing-agent bearing member; a support portion configured to support the developing-agent bearing member movably relative to the developing-agent regulating portion; and a pressurizing member configured to press the developing-agent bearing member toward the developing-agent regulating portion.
  • a contact portion of the developing-agent regulating portion with the developing-agent bearing member is fixed to the developing container without forming a gap from the developing container on a downstream side in a pressurizing direction of the pressurizing member.
  • Fig. 1 is a cross-sectional view of an image forming apparatus.
  • Fig. 2 is a perspective view of a developing device.
  • Fig. 3 is a plan view of the developing device.
  • Fig. 4 is an internal plan view of the developing device.
  • Fig. 5 is a cross-sectional view of the developing device.
  • Fig. 6 is a cross-sectional view of the developing device.
  • Fig. 7 illustrates a structure for pressurizing a developing sleeve.
  • Fig. 8 is a cross-sectional view of the developing device.
  • Fig. 9 is a cross-sectional view of a developing device.
  • Fig. 10A is a cross-sectional view of a developing device.
  • Fig. 10B is an enlarged view of a developing-agent regulation region.
  • Fig. 11 is a cross-sectional view of the developing device.
  • Fig. 12 is a cross-sectional view of the developing device.
  • Fig. 13A is a cross-sectional view of the developing device.
  • Fig. 13B is a cross-sectional view of the developing device.
  • Fig. 14A illustrates insert molding.
  • Fig. 14B illustrates insert molding.
  • Fig. 14C illustrates insert molding.
  • Fig. 14D illustrates insert molding.
  • Fig. 15A illustrates double molding.
  • Fig. 15B illustrates double molding.
  • Fig. 15C illustrates double molding.
  • Fig. 15D illustrates double molding.
  • Fig. 15E illustrates double molding.
  • Fig. 15F illustrates double molding.
  • Fig. 16 illustrates a developing-agent regulating portion.
  • Fig. 16 illustrates a developing-agent regulating portion.
  • Fig. 16 illustrates a developing-agent regulating portion.
  • FIG. 17 illustrates the developing-agent regulating portion.
  • Fig. 18 is a cross-sectional view of a developing device.
  • Fig. 19 is a cross-sectional view of the developing device.
  • Fig. 20A illustrates a movement restricting portion.
  • Fig. 20B illustrates a magnet roller.
  • Fig. 21 illustrates a bearing member.
  • Fig. 22 is a cross-sectional view of the developing device.
  • Fig. 23 is a sectional view of the developing device.
  • Fig. 24 is a perspective view of movement restricting portions and a developing-agent regulating portion.
  • Fig. 25A illustrates the movement restricting portions.
  • Fig. 25B illustrates the movement restricting portions.
  • Fig. 25C illustrates the movement restricting portions.
  • Fig. 26 illustrates movement restricting portions.
  • Fig. 27 illustrates the related art.
  • Fig. 28 illustrates the related art.
  • Fig. 1 schematically illustrates a configuration of an image forming apparatus according to a first embodiment.
  • the image forming apparatus of the first embodiment is a monochrome laser beam printer that forms an image on a recording medium, such as paper, by an electrophotographic process.
  • a drum type photosensitive member 1 is provided as an image bearing member (hereinafter referred to as a photosensitive drum 1).
  • the photosensitive drum 1 is obtained by forming an organic photoconductor (OPC) sensitive layer on an outer peripheral surface of an electrically conductive drum base body of aluminum or the like.
  • OPC organic photoconductor
  • the photosensitive drum 1 is rotated in a direction of arrow R1 at a predetermined process speed (peripheral speed) of 200 mm/s.
  • a surface (peripheral surface) of the above-described photosensitive drum 1 is uniformly charged in predetermined polarity and potential by a charging roller 2 serving as a charging unit.
  • the charged surface of the photosensitive drum 1 is exposed by a laser beam output from a laser beam scanner 3 serving as an exposure unit.
  • the laser beam is modulated according to desired image information to form an electrostatic latent image on the photosensitive drum 1.
  • Toner 5 serving as a developing agent is stuck to the electrostatic latent image by a developing device 4 serving as a developing unit to develop the electrostatic latent image as a toner image.
  • a recording medium 9 is fed by a feeding roller, and is conveyed to a transfer nip between the photosensitive drum 1 and a transfer roller 10 in synchronization with the toner image written on the photosensitive drum 1, where the toner image is transferred onto the recording medium 9.
  • a transfer bias is applied from a transfer-bias application power supply (not illustrated) during transfer.
  • the recording medium 9, on which the toner image is transferred is separated from the surface of the photosensitive drum 1, and is conveyed to a fixing device 11 serving as a fixing unit, where the recording medium 9 is heated and pressurized to fix the toner image on a surface of the recording medium 9.
  • the photosensitive drum 1 is cleaned of the toner 5, which remains on the surface of the photosensitive drum 1 without being transferred on the recording medium 9, by a cleaning member 12 serving as a cleaning unit, and is then used for the next image forming operation.
  • process units namely, the photosensitive drum 1, the charging roller 2, the developing device 4, and the cleaning member 12 are integrated to form a process cartridge (process unit) 13, which is removably mounted in the apparatus body M.
  • Fig. 2 is an external perspective view of the developing device 4 in the first embodiment.
  • Fig. 3 is a plan view of the developing device 4.
  • Fig. 4 is an internal plan view of the developing device 4 from which a ceiling plate 14g of a developing container 14 illustrated in Fig. 3 is removed.
  • Fig. 5 illustrates the process cartridge 13 of the first embodiment.
  • a front side of the developing device 4 refers to a side where a developing sleeve opposes a photosensitive drum serving as an image bearing member.
  • a near side and a fore side are synonymous with the front side.
  • a back side of the developing device 4 refers to a side opposite the front side.
  • a depth side and a rear side are synonymous with the back side.
  • Right and left sides refer to right and left sides when viewed from the front side.
  • Upper and lower sides refer to upper and lower sides in a gravitational direction.
  • a longitudinal direction refers to an axial direction of a rotating body or a direction parallel to the axial direction.
  • a developing sleeve 6 serving as a developing-agent bearing member is provided in the developing device 4.
  • a gap of about 300 micrometers is provided between the developing sleeve 6 and the photosensitive drum 1.
  • a developing bias voltage serving as a superimposed voltage of a direct-current component and an alternating-current component is applied from a developing-bias power supply 7 to the developing sleeve 6.
  • a superimposed voltage in which an alternating-current component has a frequency of 2.5 kH and an amplitude of 1.6 kV and a direct-current component is -400 V, is applied.
  • the toner 5 is transferred from the developing sleeve 6 onto an electrostatic latent image formed on the photosensitive drum 1.
  • ring-shaped spacers 8L and 8R are concentrically attached to opposite ends of the developing sleeve 6.
  • the spacers 8L and 8R have a thickness of 300 micrometers, and keep the gap between the photosensitive drum 1 and the developing sleeve 6 at 300 micrometers by contact with the photosensitive drum 1.
  • a drum pressing direction B a direction in which the photosensitive drum 1 is pressed against the developing sleeve 6
  • the drum pressing direction B of the first embodiment is a direction connecting the centers of the photosensitive drum 1 and the developing sleeve 6.
  • the developing sleeve 6 is rotated by driving force from the unillustrated image forming apparatus body M that is received by a drive gear 17 provided at one end (drive side end) of the developing sleeve 6.
  • a side of the developing sleeve 6 in the longitudinal direction where the drive gear 17 is provided is sometimes referred to as a drive side, and a side opposite the drive side is sometimes referred to as a non-drive side.
  • the toner 5 serving as the developing agent is stored in a developing-agent storage chamber 14a formed by a developing container 14.
  • the developing container 14 is molded from high-impact polystyrene resin (HI-PS).
  • the toner 5 is magnetic toner, and a normal charging polarity thereof (normal polarity), that is, a polarity to which the toner 5 is charged for image formation is a negative polarity.
  • the developing sleeve 6 serving as the developing-agent bearing member is rotatably provided in an opening portion 14b (see Fig. 2) of the developing device 4 opposing the photosensitive drum 1.
  • a left inner side plate 14dL extends in a front-rear direction near a left side plate 14cL of the developing container 14 with a predetermined space therebetween.
  • a right inner side plate 14dR extends in the front-rear direction near a right side plate 14cR of the developing container 14 with a predetermined space therebetween.
  • the developing sleeve 6 is rotatably held by left and right bearing mechanisms 18 (18L, 18R) such that an axial direction of the developing sleeve 6 extends in a right-left direction.
  • an enclosed space surrounded by a bottom plate 14e, the left inner side plate 14dL, the right inner side plate 14dR, a rear plate 14f, the ceiling plate 14g of the developing container 14 and the developing sleeve 6 serves as the developing-agent storage chamber 14a.
  • an almost rear half of the bottom plate 14e is an inclined face that slopes downward and frontward from the rear plate 14f toward the developing sleeve 6 so that the toner 5 in the developing-agent storage chamber 14a is flowable toward the developing sleeve 6.
  • a paddle member toner agitating and conveying member
  • W6 represents an overall width of the developing sleeve 6 (a sleeve portion 6a) (overall length of the developing sleeve 6).
  • a distance between the left and right spacers 8L and 8R nearly corresponds to the overall width W6 of the developing sleeve 6.
  • W1 represents an overall width of the photosensitive drum 1 (overall length of the photosensitive drum 1), which is larger than the distance W6 between the spacers 8L and 8R.
  • W6d represents a developing-agent supply region width in the developing sleeve 6, and W6e represents a developing-agent non-supply region width.
  • the developing-agent supply region width W6d nearly corresponds to the maximum image forming region width on the photosensitive drum 1.
  • the developing-agent supply region width W6d is defined by the distance between the left inner side plate 14dL and the right inner side plate 14dR of the developing container 14.
  • An overall width of a developing-agent regulating portion 16 (overall length of the developing-agent regulating portion 16) W16 nearly corresponds to the developing-agent supply region width W6d.
  • the developing-agent non-supply region width W6e is a width of portions of the developing sleeve 6 outside the distance between the left inner side plate 14dL and the right inner side plate 14dR.
  • Elastic seal members 20 (20L and 20R) for preventing leakage of the toner 5 from gaps are provided between a front side of the left inner side plate 14dL and the developing sleeve 6 and between a front side of the right inner side plate 14dR and the developing sleeve 6.
  • the developing sleeve 6 of the first embodiment is obtained by forming an electrically conductive resin layer containing binding resin, conductive micropowder, and roughening particles on a cylindrical aluminum element tube having a diameter of 16 mm.
  • the developing sleeve 6 has a volume resistivity of 10 -2 to 10 4 ohm-cm.
  • Phenol resin is used as the binding resin
  • carbon black and graphite are used as the conductive micropowder
  • spherical carbonized particles are used as the roughening particles.
  • a magnet roller 15 serving as a magnetic-field generating member for generating a magnetic field is fixed in the developing sleeve 6.
  • the toner 5 is attracted and taken onto the developing sleeve 6 by magnetic force of the magnet roller 15.
  • the developing sleeve 6 is rotatably provided, and is rotated in a direction of arrow R1 so that the toner 5 attracted on the developing sleeve 6 is regulated by the developing-agent regulating portion 16.
  • the developing-agent regulating portion 16 is a part of the developing container 14. That is, the developing-agent regulating portion 16 is provided integrally with the developing container 14.
  • the amount of toner 5 on the developing sleeve 6 is regulated to a desired amount by rotating the developing sleeve 6 in pressing contact with the developing-agent regulating portion 16 of the developing container 14.
  • a surface of the developing-agent regulating portion 16 is substantially smooth, and has a surface roughness R of 0.15 micrometer.
  • the developing sleeve 6 has a surface roughness Ra of 1.2 micrometer.
  • the surface roughness R refers to an arithmetic average roughness (center line average roughness) specified by JIS-B0601-1994 (micrometer), and was measured with a contact-type surface roughness measuring instrument SE3500 (manufactured by Kosaka Laboratory Ltd.) under the following conditions: Reference length: 0.8 mm Evaluation length: 4.0 mm Measuring speed: 0.1 mm Filter: Gaussian filter
  • a contact pressure with which the developing sleeve 6 contacts with the developing-agent regulating portion 16 is 30 g/cm in a linear pressure.
  • the charge amount (charge amount per unit weight) of toner, which is born on the developing sleeve 6 after passing by the developing-agent regulating portion 16, is 10 microC (microcoulomb)/g.
  • the amount of toner (weight per unit area), which is born on the developing sleeve 6 after passing by the developing-agent regulating portion 16, is 15 g/m 2 .
  • the developing sleeve 6 is pressurized at ends in a longitudinal direction and pressed against the developing-agent regulating portion 16 as a part of the developing container 14 by elastic members (hereinafter referred to as spring members) 19 serving as pressurizing members.
  • the longitudinal direction of the developing sleeve 6 is a direction (axial direction) parallel to a rotation axis of the developing sleeve 6.
  • Fig. 6 is a cross-sectional view, taken along dotted line L of Fig. 5. As illustrated in Fig. 6, the developing sleeve 6 is pressurized at both ends in the longitudinal direction by the spring members 19.
  • the developing sleeve 6 is rotatably attached to bearing mechanisms 18.
  • Each of the bearing mechanisms 18 includes guide members 18b, and a bearing member 18a to be guided by the guide members 18b.
  • the bearing members 18a support shafts of the developing sleeve 6.
  • Each of the spring members 19 is attached at one ends 19a to the corresponding bearing members 18a. The other end 19b of the spring member 19 is abutted against the developing container 14.
  • the spring members 19 pressurize the developing sleeve 6 toward the developing-agent regulating portion 16 with the bearing members 18a being disposed therebetween.
  • the developing sleeve 6 includes a columnar sleeve portion (bearing portion) 6a that bears the toner and shaft portions 6c (6cL and 6cR) having a diameter smaller than that of the sleeve portion 6a.
  • the developing sleeve 6 further includes left and right end plate portions 6bL and 6bR that close left and right apertures of the sleeve portion 6a.
  • the shaft portions 6c are concentric with the sleeve portion 6a, and have an outer diameter smaller than an outer diameter of the sleeve portion 6a.
  • the bearing members 18a rotatably support the developing sleeve 6 at the shaft portions 6c.
  • the spring members 19 pressurize the developing sleeve 6 at the shaft portions 6c having a small diameter, the space necessary to mount the spring members 19 is reduced, and this can further reduce the size of the developing device 4.
  • the bearing members 18a are slidable along the guide members 18b provided in the developing container 14.
  • Fig. 7 illustrates one end (drive side end) of the developing sleeve 6, as viewed in a direction H of Fig. 6.
  • the bearing member 18a has guide grooves a that form recesses, and the recesses are fitted on projections b of the guide members 18b provided on the developing container 14. This structure allows the bearing member 18a to move along the guide members 18b in a direction of arrow A of Fig. 5. That is, the bearing member 18a can move the developing sleeve 6 in the direction of arrow A into contact with the developing-agent regulating portion 16.
  • the developing sleeve 6 is slidable only in the direction of arrow A of Fig. 5.
  • This moving direction of the developing sleeve 6 also corresponds to a pressurizing direction A of the spring members 19.
  • the pressurizing direction A is a direction that connects the center of the developing sleeve 6 and the developing-agent regulating portion 16, and forms an angle T (see Fig. 8) of 90 degrees with the above-described drum pressing direction B.
  • the other end (non-drive side end) of the developing sleeve 6 is also supported by a similar structure.
  • the developing sleeve 6 is pressed against the developing-agent regulating portion 16, which does not move relative to the developing container 14, by the pressure from the spring members 19 provided at opposite ends of the developing sleeve 6.
  • This structure stably maintains the regulation pressure for regulating the toner born on the developing sleeve 6 and the regulation position of the toner. That is, the amount of toner 5 born on the developing sleeve 6 and the thickness of a toner layer formed on the developing sleeve 6 can be kept constant while further reducing the size and thickness of the developing device 4.
  • the developing-agent regulating portion 16 is provided integrally with the developing container 14, and there is no gap between the developing-agent regulating portion 16 and the developing container 14.
  • the size of the developing container 14 can be reduced easily.
  • the regulation position 25 of the regulation blade 23 (see Fig. 27) in contact with the developing-agent bearing member 24 is provided apart from the developing container 22. That is, the contact portion of the regulation blade 23 in contact with the developing-agent bearing member 24 and the developing container 22 are spaced from each other to form a space where the regulation blade 23 deforms. For this reason, the regulation position 25 may be slightly moved by deformation of the regulation blade 23.
  • the developing-agent regulating portion 16 and the developing container 14 are integrally formed in the first embodiment illustrated in Fig. 8. For this reason, even when the developing-agent regulating portion 16 receives the pressure from the spring members 19 via the developing sleeve 6, the contact portion of the developing-agent regulating portion 16 with the developing sleeve 6 (position to regulate the developing agent) does not move relative to the developing container 14.
  • the developing-agent regulating portion 16 and the developing container 14 are not spaced from each other in the first embodiment.
  • On a downstream side of the contact portion between the developing-agent regulating portion 16 and the developing sleeve 6 in the pressurizing direction A there is no space that allows deformation of the developing-agent regulating portion 16 relative to the developing container 14.
  • the position of the contact portion of the developing-agent regulating portion 16 with the developing sleeve 6 is fixed relative to the developing container 14.
  • the developing-agent regulating portion 16 can stably regulate the amount of developing agent on the developing sleeve 6.
  • the regulation force for the developing agent can be increased, for example, by roughening the developing-agent regulating portion 16.
  • the amount of toner born on the developing sleeve 6 can be reduced by roughening the developing-agent regulating portion 16.
  • a surface of a mold used to mold the developing-agent regulating portion 16 can be blasted at random to form irregularities.
  • the amount of toner, which was born on the developing sleeve 6 after passing by the developing-agent regulating portion 16 was 12 g/m 2 .
  • the sleeve pressurizing direction A in which the developing sleeve 6 is pressed against the developing-agent regulating portion 16 by the spring members 19 is the direction that connects the center of the developing sleeve 6 and the developing-agent regulating portion 16.
  • the direction is not limited thereto as long as the developing sleeve 6 is pressed against the developing-agent regulating portion 16 in that direction.
  • the drum pressing direction B in which the photosensitive drum 1 presses the developing sleeve 6 forms an angle T of 90 degrees with the sleeve pressurizing direction A in which the developing sleeve 6 is pressed against the developing-agent regulating portion 16 by the spring members 19 in the first embodiment, as illustrated in Fig. 5, the angle is not limited thereto as long as the developing sleeve 6 and the developing-agent regulating portion 16 are not separated by the force of the photosensitive drum 1 for pressing the developing sleeve 6.
  • F1 represents a force with which the spring members 19 press the developing sleeve 6 against the developing-agent regulating portion 16.
  • F2 represents a force with which the photosensitive drum 1 presses the developing sleeve 6.
  • T represents an angle formed between an acting direction of F1 and an acting direction of F2 in a plane orthogonal to the axis of the developing sleeve 6 (Fig. 8).
  • F2cosT in the left side of Expression (1) represents a component of F2 acting in the pressurizing direction A of the spring members 19. This component takes a positive value when the angle T is smaller than 90 degrees and takes a negative value when the angle T is larger than 90 degrees.
  • the developing-agent bearing member is formed by the aluminum sleeve in the first embodiment, it is not limited thereto.
  • the developing-agent bearing member may be formed by a rubber roller, and the developing agent may be nonmagnetic toner.
  • a second embodiment will be described with reference to Fig. 9. While the developing-agent regulating portion 16 is a part of the developing container 14 and is provided integrally with the developing container 14 in the first embodiment, a sheet member 40 serving as a developing-agent regulating portion is attached to a developing container 14 in the second embodiment.
  • the sheet member 40 is formed by a urethane rubber sheet having a thickness of 0.5 mm and a surface roughness Ra of 0.1 micrometer.
  • the sheet member 40 has a JIS-A hardness of 65 and a Young's modulus E of 3*10 6 Pa.
  • One surface of the sheet member 40 is attached to a ceiling plate 14g of the developing container 14 with a double-sided adhesive tape having a thickness of 0.1 mm.
  • the other surface of the sheet member 40 is in contact with a developing sleeve 6 to regulate toner born on the developing sleeve 6.
  • the sheet member 40 serving as the developing-agent regulating portion is clamped between the fixed ceiling plate 14g of the developing container 14 and the developing sleeve 6 at a contact portion in contact with the developing sleeve 6. Structures other than the sheet member 40 are similar to those adopted in the developing device 4 of the first embodiment.
  • the sheet member 40 Since the sheet member 40 is fixed with the surface, which is opposite the surface in contact with the developing sleeve 6, being supported by the ceiling plate 14g, even when the sheet member 40 is pressed by the developing sleeve 6, it does not move relative to the developing container 14. That is, on a downstream side of the contact portion between the sheet member 40 and the developing sleeve 6 in the pressurizing direction of the spring members 19 (on a back side of the contact portion), the fixed portion (ceiling plate 14g) of the developing container 14 is provided at no distance from the sheet member 40.
  • the sheet member 40 can stably form a toner layer of a uniform thickness on the developing sleeve 6.
  • urethane rubber is more abrasion-resistant than HI-PS, durability of the process cartridge is enhanced. While urethane rubber is used as the material of the sheet member in the second embodiment, the material is not limited thereto when the developing-agent regulating portion is formed of a different material to increase abrasion resistance.
  • the sheet member 40 may be formed of a material that is different in chargeability to the toner from the material of the developing container 14.
  • the sheet member 40 can be formed of polyphenylene sulfide resin (PPS).
  • PPS is a material that is closer to the negative side in triboelectric series than HI-PS serving as the material of the developing container 14. That is, PPS is negatively charged when being rubbed against HI-PS. That is, PPS is less likely to charge the toner 5 to a negative polarity (normal polarity) than HI-PS.
  • the charge amount (charge amount of per unit weight) of toner, which was born on the developing sleeve 6 after passing between the sheet member 40 and the developing sleeve 6, was 7 microC/g. This value is smaller than the charge amount of toner in the first embodiment.
  • the developing-agent regulating portion is formed not only of PPS, but also of a material that is less likely to charge the toner than the material of the developing container 14, it is possible to suppress electrostatic cohesion and to avoid image failure. This applies not only to the case in which the developing-agent regulating portion is formed by the sheet member 40, but also to the case in which the developing-agent regulating portion is formed as a part of the developing container.
  • the sheet member 40 is formed of a material that more easily charges the toner than the material of the developing container 14. Such a structure will be described in detail in conjunction with third and subsequent embodiments described below.
  • a third embodiment of the present invention will be described with reference to the drawings.
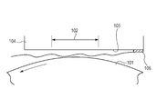
  • a developing device 100 adopted in the third embodiment will be described with reference to Figs. 10A and 10B.
  • the developing device 100 is integrated with a photosensitive drum 120 to form a process cartridge B1.
  • the process cartridge B1 is removably mounted in an apparatus body of an image forming apparatus.
  • the developing device 100 agitates toner stored in a developing container 110 by a rotating agitating member 109, and conveys the toner to a section near a developing roller 101 serving as a developing-agent bearing member.
  • the agitating member 109 includes a rotating support member 108 rotatably supported by the developing container 110, and a flexible sheet 107 attached to the rotating support member 108.
  • the flexible sheet 107 has a length such as to reach a bottom face of the developing container 110 so that toner does not accumulate on the bottom face.
  • the developing roller 101 is a developing sleeve formed by an aluminum pipe, and has a magnet roller therein.
  • the toner is magnetic toner, and is attracted onto the developing roller 101 by magnetic force generated by the magnet roller.
  • the amount of toner to be born on the developing roller 101 is uniformly regulated in a developing-agent regulating region 111, and a toner layer having a predetermined thickness is formed on the developing roller 101.
  • the developing-agent regulating region 111 is formed by a sheet bearing surface 104 provided on the developing container 110 and a sheet member 103 attached to the sheet bearing surface 104.
  • the sheet bearing surface 104 is a fixing member that fixes the sheet member 103.
  • the sheet member 103 is located at a position between the developing roller 101 and the sheet bearing surface 104, and is attached to the sheet bearing surface 104 with a double-sided adhesive tape 106.
  • the sheet member 103 is actually in contact with the developing roller 101 to form a developing-agent regulating portion.
  • the amount of toner born on the developing roller 101 is uniformly regulated, and a toner layer having a predetermined thickness is formed on the developing roller 101.
  • a regulation nip 102 where the developing roller 101 is in contact with the sheet member 103 a desired charge is imparted to the toner.
  • the charged toner on the developing roller 101 develops an electrostatic latent image formed on the photosensitive drum 120 in an opposing portion 121 where the photosensitive drum 120 opposes the developing roller 101.
  • a superimposed bias obtained by superimposing alternating-current voltage on direct-current voltage is applied to the developing roller 101.
  • the charged toner is flown by an electric field, which is generated between the developing roller 101 and the photosensitive drum 120, in the opposing portion 121 while being out of contact with the developing roller 101 and the photosensitive drum 120.
  • Shaft portions 101b of the developing roller 101 are rotatably supported by bearing members (support portions) 112.
  • the bearing members 112 are movable to change the distance between the developing roller 101 and the developing-agent regulating region 111.
  • Spring members (elastic members) 113 serving as biasing members (pressurizing members) are attached to the bearing members 112 to pressurize the developing roller 101 toward the developing-agent regulating region 111.
  • the toner regulation pressure and regulation position of the developing roller 101 can also be accurately maintained in the process cartridge B1 of the third embodiment.
  • HI-PS employing styrene resin is adopted from viewpoints of shock resistance, material cost, and workability.
  • the toner is obtained by granulating the same styrene resin as for the developing container 110 in order to restrict the toner from having unnecessary charge and electrostatically cohering in the developing container 110. This is to restrict conveyance performance of the toner from being reduced by cohesion of the toner in the developing container 110.
  • materials that are unlikely to charge the toner are selected as the materials of the developing container 110 and the toner in order to prevent the toner from electrostatically cohering in a developing-agent storage chamber 110a of the developing container 110.
  • materials that are unlikely to charge the toner are selected as the materials of the developing container 110 and the toner in order to prevent the toner from electrostatically cohering in a developing-agent storage chamber 110a of the developing container 110.
  • to develop a latent image with the toner during image formation there is a need to charge the toner born on the developing roller by the developing-agent regulating portion.
  • the toner may scatter from the developing roller and may contaminate the interior of the image forming apparatus.
  • the sheet member 103 provided in the developing-agent regulating region 111 is formed of a material that has a chargeability for the toner higher than that of the material of the developing-agent storage chamber 110a.
  • the toner to be born on the developing roller 101 is given an appropriate charge in order to suppress electrostatic cohesion of the toner and to prevent the toner from scattering from the developing roller 101.
  • the diameter of the developing roller 101 was set at 12 mm, and the diameter of the photosensitive drum 120 was set at 20 mm.
  • the spring members 113 were adjusted such that the contact pressure with which the developing roller 101 contacted with the developing-agent regulating region 111 in the regulation nip 102 became 30 g/cm in linear pressure.
  • the linear pressure was measured by the following method.
  • a toner of 100 g was filled in the developing container 110, and the developing roller 101 was rotated for one minute at a number of revolutions (number of revolutions per minute) of 30 rpm.
  • the charge amount per unit mass of the toner born on the developing roller 101 was measured with a coulomb meter and an electric balance. Further, to check the toner scattering in the apparatus, an OHP sheet 401 was stuck to the bottom of the developing container 110, and the presence or absence of toner falling down from the developing roller 101 was verified, as illustrated in Fig. 11.
  • a developing-agent regulating portion 304 is formed of the same HI-PS material as that for a developing container 307.
  • Other structures are similar to those adopted in the process cartridge B1 of the third embodiment.
  • Table 1 shows a result of the experiment conducted with the process cartridge B2.
  • the charge amount and fall of toner were checked in the following three typical temperature and humidity conditions: Condition 1: temperature 15 deg C (degrees Celsius), humidity 10%
  • Condition 2 temperature 23 deg C, humidity 60%
  • Condition 3 temperature 32 deg C, humidity 80%.
  • the unit of charge amount of toner is microC/g.
  • Condition 1 low temperature and low humidity: temperature 15 deg C, humidity 10%
  • Condition 2 normal temperature and normal humidity: temperature 23 deg C, humidity 60%
  • Condition 3 high temperature and high humidity: temperature 32 deg C, humidity 80%
  • the sheet member 103 serving as the developing-agent regulating portion in the process cartridge B1 of the third embodiment is formed of a material that more easily charges the toner to a negative polarity (normal polarity) than the material of the developing container 110, as described above. That is, the sheet member 103 is formed of a material that is closer to the positive polarity side than the material of the developing container 110 in triboelectric series, and has a property of being charged to a positive polarity when being rubbed against HI-PS that forms the developing container 110.
  • the positively charged sheet member 103 charges the toner born on the developing roller 101 to a negative polarity.
  • the sheet member 103 a sheet formed of polycarbonate (PC), a sheet formed of polyethylene terephthalate (PET), and a metallic sheet (formed of stainless steel (SUS) in the third embodiment) were used.
  • PC polycarbonate
  • PET polyethylene terephthalate
  • SUS stainless steel
  • Table 2 shows results of experiments conducted on the sheet members 103 formed of the above-described materials in the process cartridge B1 of the third embodiment. Comparison of Table 1 and Table 2 shows that the triboelectric charge amount of toner could be made larger than in the comparative example by setting the sheet member 103 that easily charges the toner in the developing-agent regulating portion. Further, it could be verified that a toner fall did not occur even in the high temperature and high humidity condition because the triboelectric charge amount was increased.
  • an appropriate charge could be imparted to the toner and toner scattering could be further suppressed by providing, in the developing-agent regulating portion, the sheet member that more easily charged the toner to a negative polarity (normal polarity of toner during image formation) than the developing container.
  • FIGs. 13A and 13B illustrate two modifications of the third embodiment.
  • a modification illustrated in Fig. 13A is characterized in that a developing-agent regulating member 114 serving as a developing-agent regulating portion is fixedly fitted in a bearing surface (fixing portion) 110b of a developing container 110.
  • a modification illustrated in Fig. 13B is characterized in that a developing-agent regulating portion 115 is fixed to a fixing portion 110b.
  • the developing-agent regulating member 114 is located at a position between a developing roller 101 and the bearing surface 110b. That is, the developing-agent regulating member 114 is supported by the fixing portion 110b on a side opposite a contact portion with the developing roller 101.
  • the developing-agent regulating portion 115 is fixed with a fixed portion 115b, which is provided on a side opposite a contact portion with the developing roller 101, being fitted in the fixing portion 110b.
  • the developing-agent regulating members 114 and 115 are formed of a material that is closer to the positive side in triboelectric series than the material of the developing container 110 (a material that is likely to be charged to a positive polarity), and easily charge the toner to a negative polarity (normal polarity of toner during image formation).
  • the developing-agent regulating members 114 and 115 provided as the developing-agent regulating portions in the modifications have rigidity, and positions where the developing-agent regulating members 114 and 115 regulate the developing agent is more stable than the position of the flexible sheet member 103 (see Fig. 10).
  • the sheet member 103 is formed of a material that easily charges the toner to a negative polarity in the third embodiment. This is because the image forming system used in the third embodiment forms an image while charging the toner to a negative polarity. In an image forming system that uses toner charged with a positive polarity for image formation, a similar advantage can be obtained by selecting a sheet member that more easily charges the toner to a positive polarity than the developing container.
  • the developing-agent regulating portion is more likely to be charged to a polarity opposite the normal polarity of the toner than the developing-agent storage chamber of the developing container. That is, it is satisfactory that the developing-agent regulating portion is formed of a material that is closer to the polarity side opposite the normal polarity of the toner than the material of the developing-agent storage chamber.
  • the sheet member or the like that easily applies a triboelectric charge amount to the toner is used in the developing-agent regulating portion. This can more efficiently charge the toner than when the toner is charged only by the contact between the frame of the developing container and the developing roller.
  • a developing-agent regulating portion and a developing container are integrally molded by two-color molding or insert molding, instead of fixing a member of a different material to the developing container.
  • This structure will be described.
  • the fourth embodiment can also provide a developing device and a process cartridge that properly charge toner in a developing-agent regulating portion.
  • Figs. 14A to 14D illustrate a molding method called insert molding.
  • an insert member 603 to be a developing-agent regulating portion is set on an inner side of a mold 601 and a mold 602.
  • an SUS sheet formed by a metal sheet is set as the insert member 603 as an example.
  • the mold 601 has an injection port 604 from which resin or the like is injected in the molds.
  • the position of the injection port 604 is not limited to a position illustrated in Figs. 14A to 14C.
  • the position and number of the injection port 604 can be optimized according to the viscosity of resin to be injected and the size of a member to be molded.
  • the insert member 603 is set, the mold 601 and the mold 602 are matched and heated to an extent such that resin to be injected can sufficiently flow in the molds, and the resin is injected from the injection port 604.
  • the mold 601 and the mold 602 are separated again while being cooled.
  • an insert-molded resin member is separated from the molds, so that a member to be a developing container and a developing-agent regulating portion can be obtained in a near net shape (Fig. 14D).
  • an unnecessary portion 605 such as a remaining portion corresponding to the injection port, is cut off, and a final molding is obtained.
  • the developing-agent regulating portion formed by the insert member 603 is molded integrally with a frame 607 of the developing container.
  • the developing-agent regulating portion can be molded by a molding method called two-color molding or double molding, as illustrated in Figs. 15A to 15F.
  • a mold 701 and a mold 702 are matched, as illustrated in Fig. 15A, and resin is injected from an injection port 710, as illustrated in Fig. 15B.
  • a first molding formed by the mold 701 and the mold 702 is obtained without a portion to be formed of a different material (a portion to be a developing-agent regulating portion) 703.
  • the mold 702 is removed, as illustrated in Fig. 15C, and a mold 704 that allows resin to be injected only in the portion to be the developing-agent regulating portion is matched with the mold 701, as illustrated in Fig. 15D.
  • a resin different from the resin injected from the injection port 710 is injected from an injection port 709, as illustrated in Fig. 15E.
  • a molding thus obtained is molded from two kinds of resins, that is, resin 705 that forms a developing-agent storage chamber of the developing container and resin 706 that forms the developing-agent regulating portion (see Fig. 15F).
  • the obtained molding can be given a net shape by cutting off unnecessary portions 707 and 708 remaining in the injection ports.
  • the developing-agent regulating portion (resin 706 of Fig. 15F) and the developing container (resin 705 of Fig. 15F) can also be integrally molded by two-color molding.
  • the injection port 709 is set at the position where a contact surface of the developing-agent regulating portion with a developing roller is to be formed.
  • the contact surface with the developing roller is an important portion for uniformly coating the developing roller with a toner layer, it requires high surface accuracy.
  • the setting position of the injection port 709 is provided apart from the contact surface of the developing-agent regulating portion.
  • the fourth embodiment will be described below by taking, as an example, a case in which a developing container and a developing-agent regulating portion are molded by two-color molding illustrated in Figs. 15A to 15F.
  • polyethylene terephthalate (PET) resin is selected as the resin 706 that forms the developing-agent regulating portion.
  • PET polyethylene terephthalate
  • HI-PS high-impact polystyrene
  • the developing-agent regulating portion of the developing container is formed of a material that is closer to the positive polarity side in triboelectric series and more easily charges toner to a negative polarity (normal polarity) than the developing-agent storage chamber.
  • Table 3 shows the charge amount of toner and the presence or absence of a toner fall in the fourth embodiment.
  • An experimental method in the fourth embodiment is similar to that adopted in the above-described third embodiment.
  • Table 3 also shows an experimental result of the structure using the sheet member of PET in the developing-agent regulating portion (structure of the third embodiment illustrated in Fig. 5), in addition to an experimental result of the fourth embodiment.
  • the fourth embodiment could obtain the result similar to that of the structure of the third embodiment (the structure using the sheet member of PET in the developing-agent regulating portion). That is, when the developing-agent regulating portion was formed by two-color molding, an advantage sufficient to properly subject the toner to triboelectric charging was also obtained.
  • the developing-agent regulating portion is compatibly fixed to the frame of the developing container in the fourth embodiment, it can be set stably.
  • the third and fourth embodiments obtain the above-described advantages and methods by changing the material of the developing-agent regulating portion to the material that easily charges the toner.
  • a fifth embodiment aims to reliably avoid image failure by suppressing excessive charging of toner.
  • toner may stick to end margins of the recording sheets. This is because the toner located at longitudinal end portions of a developing roller is rarely used for image formation, but continues to be charged. That is, when the toner is excessively charged at the end portions of the developing roller, it may be transferred from the developing roller to a non-image forming region on a photosensitive drum (a region where a toner image is not to be formed), and may finally stick to the recording sheets.
  • seal members are in contact with the end portions of the developing roller to fill a gap between the developing container and the developing roller so that developing agent does not leak out from the developing container.
  • the toner is rarely used for image formation on outer sides of positions where the seal members are in contact with the developing roller. That is, when the toner is born on the developing roller on the outer sides of the seal members, it continues to be born and is apt to be charged excessively.
  • regions of a developing-agent regulating portion in contact with the end portions of the developing roller are formed of a material that less easily charges toner than a material of a region of the developing-agent regulating portion in contact with the center portion of the developing roller. This properly controls the charge given to the toner by the developing-agent regulating portion and suppresses excessive charging of the toner born on the end portions of the developing roller.
  • a developing-agent regulating portion 804 in the fifth embodiment will be described below with reference to Fig. 16.
  • a center portion 804a of the developing-agent regulating portion 804 in a longitudinal direction of a developing roller 101 is formed of PET, and end portions 804b and 804c of the developing-agent regulating portion 804 in the longitudinal direction are formed of the same HI-PS as that for a developing-agent storage chamber.
  • a center region 803 of the developing roller 101 in the longitudinal direction serves as a toner supply region to which toner is supplied from the developing-agent storage chamber.
  • Seal members are in contact with opposite ends of the toner supply region 803 of the developing roller 101. Further, end regions 801 and 802 of the developing roller 101 are provided on outer sides of positions where the seal members are in contact with the developing roller 101.
  • Toner is not supplied from the developing container to the end regions 801 and 802 on the outer sides of the toner supply region 803, and little toner is born thereon. However, once toner is born on the end regions 801 and 802, it is sometimes charged excessively.
  • the center portion 804a of PET of the developing-agent regulating portion 804 is in contact with the toner supply region 803, while the end portions 804b and 804c of HI-PS of the developing-agent regulating portion 804 are in contact with the end regions 801 and 802, respectively.
  • HI-PS is closer to the negative polarity side than PET in triboelectric series. That is, HI-PS less easily charges the toner to a negative polarity than PET, and thus can restrict the toner from being excessively charged in the end regions of the developing roller. This suppresses a phenomenon in which the excessively charged toner sticks to ends of a recording sheet.
  • a process speed at which a photosensitive drum was rotated was set at a peripheral speed of 200 mm/sec, and an image print speed was set such that images were printed on 30 recording sheets per minute.
  • A4-sized sheets were used as the recording sheets, and the resolution of printed images was set at 600 dpi such that horizontal lines having a width of four dots were arranged at a pitch of 100 dots.
  • the ratio of an image print region to a recording sheet, that is, a printing rate was 4%.
  • Table 4 shows a result of determination whether or not toner stuck to end portions of successively printed recording sheets, which determination was performed every time a predetermined number of sheets were printed.
  • "A” indicates that toner sticking to the recording sheets was not found
  • "B” indicates that toner sticking to the recording sheets was found.
  • a test was conducted in a similar condition using a process cartridge in which a developing-agent regulating portion 904 is entirely formed of PET, as illustrated in Fig. 17.
  • Table 4 also shows a result of the test in addition to the test result of the fifth embodiment.
  • Table 5 shows charge amounts of toner born on the center and end portions of the developing roller that were measured before the test and after 1200 recording sheets are printed.
  • Table 5 shows that the charge amount of toner born on the end portions of the developing roller significantly increased by printing 1200 recording sheets in the comparative example.
  • the charge amount of toner born on the end portions of the developing roller hardly changed before the test and after 1200 recording sheets were printed. Further, it could be confirmed that the obtained charge amount in the end portions was equivalent to that in the center portion of the developing roller.
  • the structure of the fifth embodiment is just exemplary. While PET and HI-PS are used in combination as the materials of the developing-agent regulating portion, the present invention is not limited thereto.
  • the center portion of the developing-agent regulating portion is formed of PC in the developing container including the developing-agent storage chamber formed of HI-PS, it is also effective to form the end portions of the developing-agent regulating portion of PET that has a toner chargeability lower than that of PC.
  • the end portions of the developing-agent regulating portion can be formed of a material that is closer to the normal polarity side of toner in triboelectric series than the material of the center portion of the developing-agent regulating portion.
  • the material of the developing-agent regulating portion may be changed at any position that does not have any influence on images. While the positions of the center portion 804a and the end portions 804b and 804c are determined with reference to A4-sized recording sheets adopted in the fifth embodiment, the present invention is not limited thereto.
  • the developing-agent bearing member is movable relative to the developing container. Hence, there is a probability that the developing-agent bearing member will rock with rotation and an axis of the developing-agent bearing member will tilt relative to the designed direction. If the developing-agent bearing member thus rocks, the longitudinal end portions of the developing-agent bearing member shift from the positions where the developing-agent regulating portion is provided. As a result, stable regulation of the developing agent may become difficult in the end portions of the developing-agent bearing member, and fogging and image density unevenness sometimes occur in both ends of images.
  • the sixth embodiment adopts a movement restricting portion 30 that restricts rock of the developing-agent bearing member.
  • structures similar to those adopted in the first embodiment are denoted by similar reference numerals, and detailed descriptions thereof are skipped.
  • Fig. 18 is a sectional view (longitudinal sectional front view), taken along line XVIII-XVIII of Fig. 3, and Fig. 19 is a sectional view (transverse sectional left side view), taken along line XIX-XIX of Fig. 3.
  • Fig. 20A is a partly cutaway perspective view of an assembly of a developing sleeve 6 and a magnet roller 15, and Fig. 20B is an enlarged partial perspective view of the assembly of Fig. 20A.
  • the magnet roller 15 has an outer diameter slightly smaller than an inner diameter of a sleeve portion 6a.
  • Left and right axial end portions 15aL and 15aR of a shaft portion 15a of the magnet roller 15 extend through left and right shaft portions 6cL and 6cR of the developing sleeve 6, respectively.
  • An outer diameter of the axial end portions 15aL and 15aR is substantially equal to an inner diameter of the shaft portions 6cL and 6cR, and the shaft portions 6cL and 6cR are rotatably supported on the axial end portions 15aL and 15aR. That is, the developing sleeve 6 is coaxially rotatable around the magnet roller 15.
  • the left axial end portion 15aL of the shaft portion 15a protrudes outward from the left shaft portion 6cL.
  • the protruding end portion of the axial end potion 15aL is provided with a key 15bL.
  • the key 15bL of the axial end portion 15aL protruding outward from the left shaft portion 6cL is fitted in a key groove 14hL extending in the up-down direction and provided in an inner surface of a left side plate 14cL of a developing container 14.
  • the right shaft portion 6cR protrudes outward from a right side plate 14cR of the developing container 14 through a slot 14j (Fig. 18) extending in the up-down direction and provided in a right side plate 14cR.
  • a drive gear 17 is concentrically provided on the protruding shaft portion 6cR.
  • Fig. 21 is a perspective view of a right bearing mechanism 18R.
  • the key 15bL of the axial end portion 15aL protruding outward from the left shaft portion 6cL is fitted in the key groove 14hL extending in the up-down direction and provided in the inner surface of the left side plate 14cL of the developing container 14.
  • the right shaft portion 6cR protrudes outward from the right side plate 14cR of the developing container 14 through the slot 14j extending in the up-down direction and provided in the right side plate 14cR. Therefore, the developing sleeve 6 including the magnet roller 15 is allowed to move in the up-down direction in a state in which rotation of the magnet roller 15 is stopped. By rotating force transmitted to the drive gear 17, the developing sleeve 6 can be rotated around the magnet roller 15 that does not rotate.
  • both left and right end portions of the developing sleeve 6 extending in the axial direction are supported by left and right movable bearing members 18aL and 18aR that are slidable in the up-down direction along guide members 18bL and 18bR, respectively.
  • the developing sleeve 6 can be moved in a direction A to pressurize the developing sleeve 6 toward the developing-agent regulating portion 16.
  • the developing sleeve 6 sometimes rocks in X1- and X2- directions (directions intersecting the direction of arrow A in a plane orthogonal to the axis of the developing sleeve 6 (Fig. 22)) during rotation, as schematically illustrated in Fig. 22. If the developing sleeve 6 rocks, in particular, longitudinal end portions of the developing sleeve 6 move from the position where the developing-agent regulating portion 16 is provided. As a result, regulation of the toner 5 becomes unstable in the longitudinal end portions of the developing sleeve 6, and the amount of toner 5 on the developing sleeve 6 increases. This causes fogging and density unevenness in end portions of images, which sometimes deteriorates image quality.
  • movement restricting portions 30L and 30R for restricting the longitudinal end portions of the developing sleeve 6 from rocking (moving) are provided in the developing container 14 of the developing device 4, as illustrated in Figs. 18, 20, 21, and 23.
  • rock of the developing sleeve 6 can be suppressed.
  • the amount of toner 5 born on the developing sleeve 6 is stabilized.
  • the movement restricting portions 30L and 30R are located on outer sides of the developing-agent regulating portion 16 and within developing-agent non-supply region widths W6e in the end portions of the developing sleeve 6. As illustrated in Fig. 21, the movement restricting portions 30L and 30R are located on a downstream side of the developing sleeve 6 in the direction in which the spring members 19L and 19R pressurize the developing sleeve 6 (direction of arrow A), and the developing sleeve 6 is pressed against the movement restricting portions 30L and 30R by the spring members 19L and 19R. Fig.
  • FIG. 24 is a partial perspective view of an inner side of a ceiling plate 14g of the developing container 14 on which the developing-agent regulating portion 16 and the movement restricting portions 30L and 30R are provided.
  • the movement restricting portions 30L and 30R have developing-sleeve receiving surfaces 30a that receive upper sides of the end portions of the developing sleeve 6.
  • the developing-sleeve receiving surfaces 30a are arc-shaped in accordance with the curvature of the developing sleeve 6, as schematically illustrated in Fig. 25A. That is, the developing-sleeve receiving surfaces 30a are curved surfaces formed along a peripheral surface of the developing sleeve 6.
  • the developing sleeve 6 is biased upward (in the pressurizing direction A) by the left and right bearing mechanisms 18L and 18R so that a top face thereof is brought into contact with the developing-agent regulating portion 16 in the longitudinal direction with a predetermined pressing force. Further, the upper faces of the left and right end portions of the developing sleeve 6 are fitted and received in the arc-shaped developing-sleeve receiving surfaces 30a of the left and right movement restricting portions 30L and 30R on the left and right outer sides of the developing sleeve 6 in the longitudinal direction.
  • the upper faces of the left and right end portions of the developing sleeve 6 are fitted and received in the left and right movement restricting portions 30L and 30R having the developing-sleeve receiving surfaces 30a arc-shaped along the outer peripheral surface of the developing sleeve 6.
  • the developing sleeve 6 is thereby restricted from rocking in the front-rear direction illustrated in Figs. 25A and 25B, that is, rock of the longitudinal ends of the developing sleeve 6 is restricted to suppress rock of the developing sleeve 6. That is, the developing sleeve 6 can be restricted from moving in the directions (directions of arrows X1 and X2 in Fig. 22) intersecting the pressurizing direction of the spring members 19 (direction of arrow A in Fig. 22).
  • the movement restricting portions 30L and 30R are in sliding contact with the surface of the bearing portion 6a of the developing sleeve 6 during rotation of the developing sleeve 6, they are formed of a smooth material such that frictional force to be received at that time is small.
  • plastic such as polyacetal (POM), polyphenylene sulfide (PPS), or polytetrafluoroethylene (PTFE), is used.
  • rock of the developing sleeve 6 can be suppressed without any influence on the amount of toner 5 born on the developing sleeve 6.
  • rock of the developing sleeve 6 can be suppressed effectively.
  • a member formed of a material having a higher abrasion resistance may be molded by two-color molding, or may be attached as a separate member. This can support a long-life developing device.
  • the developing-sleeve receiving surfaces 30a of the movement restricting portions 30L and 30R are arc-shaped in accordance with the curvature of the developing sleeve 6.
  • the movement restricting portions 30L and 30R are in contact with the developing sleeve 6 at one point.
  • this structure can suppress rock of the developing sleeve 6, the axis of the developing sleeve 6 may slightly tilt relative to the extending direction of the developing-agent regulating portion 16 (longitudinal direction of the developing-agent regulating portion 16).
  • developing-sleeve receiving surfaces 30a of movement restricting portions 30L and 30R are V-shaped.
  • the movement restricting portions 30L and 30R are in contact with a developing sleeve 6 at two different points (two positions) P and Q in a plane orthogonal to the axis of the developing sleeve 6 (Fig. 26).
  • the point P is located on a downstream side of a contact portion between the developing-agent regulating portion 16 and the developing sleeve 6, and the point Q is located on an upstream side of the contact portion. This can more reliably prevent rock of the developing sleeve 6.
  • the positions of the longitudinal end portions of the developing sleeve 6 can be more reliably determined relative to the developing-agent regulating portion 16.
  • the amount of toner 5 born on the developing sleeve 6 in the longitudinal direction is further stabilized, and a higher quality image free from image unevenness in the longitudinal direction can be obtained.

Landscapes

  • Physics & Mathematics (AREA)
  • General Physics & Mathematics (AREA)
  • Dry Development In Electrophotography (AREA)
PCT/JP2012/008012 2011-12-21 2012-12-14 Developing device and process cartridge Ceased WO2013094167A1 (en)

Priority Applications (1)

Application Number Priority Date Filing Date Title
US14/366,660 US9213257B2 (en) 2011-12-21 2012-12-14 Small-sized developing device and process cartridge having stable developer regulation

Applications Claiming Priority (6)

Application Number Priority Date Filing Date Title
JP2011280093 2011-12-21
JP2011-280093 2011-12-21
JP2012-142030 2012-06-25
JP2012142030 2012-06-25
JP2012263254A JP6061653B2 (ja) 2011-12-21 2012-11-30 現像装置、プロセスカートリッジ
JP2012-263254 2012-11-30

Publications (1)

Publication Number Publication Date
WO2013094167A1 true WO2013094167A1 (en) 2013-06-27

Family

ID=47557432

Family Applications (1)

Application Number Title Priority Date Filing Date
PCT/JP2012/008012 Ceased WO2013094167A1 (en) 2011-12-21 2012-12-14 Developing device and process cartridge

Country Status (3)

Country Link
US (2) US9213257B2 (enExample)
JP (1) JP6061653B2 (enExample)
WO (1) WO2013094167A1 (enExample)

Cited By (2)

* Cited by examiner, † Cited by third party
Publication number Priority date Publication date Assignee Title
US20150043948A1 (en) * 2013-08-09 2015-02-12 Canon Kabushiki Kaisha Layer thickness regulating member, developing device and process cartridge
WO2015194144A1 (en) * 2014-06-17 2015-12-23 Canon Kabushiki Kaisha Image forming apparatus, cartridge, and frame body used for the cartridge

Families Citing this family (3)

* Cited by examiner, † Cited by third party
Publication number Priority date Publication date Assignee Title
JP6452353B2 (ja) * 2014-08-29 2019-01-16 キヤノン株式会社 多色成形部品及びカートリッジ
US10539598B2 (en) * 2015-06-03 2020-01-21 Siemens Canada Limited Access windows in horizontal bar section of an electrical meter center
JP2019066607A (ja) * 2017-09-29 2019-04-25 キヤノン株式会社 画像形成装置

Citations (8)

* Cited by examiner, † Cited by third party
Publication number Priority date Publication date Assignee Title
JPH05142933A (ja) 1991-11-25 1993-06-11 Canon Inc 現像装置
EP0723209A1 (en) * 1995-01-20 1996-07-24 Sharp Kabushiki Kaisha Development apparatus
JPH09211966A (ja) 1996-01-31 1997-08-15 Sharp Corp 現像装置
EP1162514A2 (en) * 2000-06-07 2001-12-12 Ricoh Company, Ltd. Method and apparatus for image developing capable of effectively forming an even development agent layer
JP2002148939A (ja) * 2001-11-05 2002-05-22 Canon Inc 現像装置及びプロセスカートリッジ及び画像形成装置
US20090003890A1 (en) * 2007-06-29 2009-01-01 Samsung Electronics Co., Ltd. Developing unit and an image forming apparatus having the same
US20090226220A1 (en) * 2008-03-04 2009-09-10 Hisashi Kunihiro Development apparatus and image forming apparatus including the same
JP2012142030A (ja) 2012-04-25 2012-07-26 King Jim Co Ltd 画像処理プログラム、携帯端末、及び画像処理方法

Family Cites Families (14)

* Cited by examiner, † Cited by third party
Publication number Priority date Publication date Assignee Title
US4563978A (en) * 1983-04-08 1986-01-14 Canon Kabushiki Kaisha Developing apparatus
JP2950566B2 (ja) * 1990-02-14 1999-09-20 株式会社東芝 現像装置
JPH05232792A (ja) * 1992-02-20 1993-09-10 Canon Inc 現像装置
JP3313900B2 (ja) * 1993-08-31 2002-08-12 キヤノン株式会社 プロセスカートリッジのフレーム及びプロセスカートリッジ及び電子写真画像形成装置
JPH07219401A (ja) 1994-01-31 1995-08-18 Sanyo Electric Co Ltd 画像形成装置
JPH07325531A (ja) * 1994-05-31 1995-12-12 Fuji Xerox Co Ltd 画像形成装置
JP3221292B2 (ja) 1995-08-23 2001-10-22 富士通株式会社 現像剤の層厚規制ブレードとその製造方法およびそれを用いた画像形成装置
JPH11231643A (ja) * 1998-02-18 1999-08-27 Fuji Xerox Co Ltd 現像装置
JP2001005285A (ja) * 1999-06-24 2001-01-12 Canon Inc 現像装置及びクリーニング装置及びプロセスカートリッジ及び画像形成装置
JP2002328525A (ja) * 2001-04-27 2002-11-15 Oki Data Corp 現像装置
US7655169B2 (en) * 2005-06-10 2010-02-02 Kabushiki Kaisha Bridgestone Metal mold for manufacturing a developing blade
US20070092291A1 (en) * 2005-10-07 2007-04-26 Canon Kabushiki Kaisha Cartridge and a process for manufacturing a cartridge
JP2008076697A (ja) * 2006-09-20 2008-04-03 Seiko Epson Corp 現像器
KR20080106693A (ko) * 2007-06-04 2008-12-09 삼성전자주식회사 현상장치 및 이를 갖춘 화상형성장치

Patent Citations (8)

* Cited by examiner, † Cited by third party
Publication number Priority date Publication date Assignee Title
JPH05142933A (ja) 1991-11-25 1993-06-11 Canon Inc 現像装置
EP0723209A1 (en) * 1995-01-20 1996-07-24 Sharp Kabushiki Kaisha Development apparatus
JPH09211966A (ja) 1996-01-31 1997-08-15 Sharp Corp 現像装置
EP1162514A2 (en) * 2000-06-07 2001-12-12 Ricoh Company, Ltd. Method and apparatus for image developing capable of effectively forming an even development agent layer
JP2002148939A (ja) * 2001-11-05 2002-05-22 Canon Inc 現像装置及びプロセスカートリッジ及び画像形成装置
US20090003890A1 (en) * 2007-06-29 2009-01-01 Samsung Electronics Co., Ltd. Developing unit and an image forming apparatus having the same
US20090226220A1 (en) * 2008-03-04 2009-09-10 Hisashi Kunihiro Development apparatus and image forming apparatus including the same
JP2012142030A (ja) 2012-04-25 2012-07-26 King Jim Co Ltd 画像処理プログラム、携帯端末、及び画像処理方法

Cited By (4)

* Cited by examiner, † Cited by third party
Publication number Priority date Publication date Assignee Title
US20150043948A1 (en) * 2013-08-09 2015-02-12 Canon Kabushiki Kaisha Layer thickness regulating member, developing device and process cartridge
US9348255B2 (en) * 2013-08-09 2016-05-24 Canon Kabushiki Kaisha Layer thickness regulating member, developing device and process cartridge
WO2015194144A1 (en) * 2014-06-17 2015-12-23 Canon Kabushiki Kaisha Image forming apparatus, cartridge, and frame body used for the cartridge
US10048646B2 (en) 2014-06-17 2018-08-14 Canon Kabushiki Kaisha Image forming apparatus with frame body and detachable cartridge with integrated photosensitive drum

Also Published As

Publication number Publication date
US20160062265A1 (en) 2016-03-03
JP6061653B2 (ja) 2017-01-18
US9766571B2 (en) 2017-09-19
JP2014029454A (ja) 2014-02-13
US20140348556A1 (en) 2014-11-27
US9213257B2 (en) 2015-12-15

Similar Documents

Publication Publication Date Title
US9766571B2 (en) Process cartridge with developing container for an image forming apparatus
US7346298B2 (en) Developing device, process cartridge, and electrophotographic image-forming apparatus
US8218997B2 (en) Cleaning member, charging device, process cartridge, and image forming apparatus
US8526850B2 (en) Image forming apparatus and process cartridge
US9256157B2 (en) Moving mechanism for a developing device, process cartridge and image forming apparatus that reduces or removes press-contact forces on a developer carrying member
JP4612697B2 (ja) 現像装置及び画像形成装置
US9658591B2 (en) Cleaning apparatus, process cartridge, and image forming apparatus
EP2657786B1 (en) Developing device, process cartridge, and image forming apparatus
JP7589483B2 (ja) 画像形成装置
US9910405B2 (en) Developing device, process cartridge, and image forming apparatus
US20130287453A1 (en) Developing apparatus and process cartridge
US8565648B2 (en) Charge element, process cartridge, and image forming apparatus
EP0636950A2 (en) Developing apparatus having rotatable developer supply member for developer carrying member
JP6242458B2 (ja) 現像装置、プロセスカートリッジ
JP2017173751A (ja) 画像形成装置
US12298696B2 (en) Image forming apparatus
JP4617199B2 (ja) 現像装置及び画像形成装置
JP5950713B2 (ja) 現像装置及び画像形成装置
US20250208532A1 (en) Cleaning device, process cartridge, and image forming apparatus
JP5376422B2 (ja) 画像形成装置
JP2025154737A (ja) 現像装置、カートリッジ、及び画像形成装置
JP6254914B2 (ja) 画像形成装置
JP5320707B2 (ja) 現像装置
KR20200078363A (ko) 크리닝 장치, 프로세스 카트리지 및 화상형성장치
JP2012128334A (ja) 現像方法、現像装置及び電子写真画像形成装置

Legal Events

Date Code Title Description
121 Ep: the epo has been informed by wipo that ep was designated in this application

Ref document number: 12813999

Country of ref document: EP

Kind code of ref document: A1

WWE Wipo information: entry into national phase

Ref document number: 14366660

Country of ref document: US

NENP Non-entry into the national phase

Ref country code: DE

122 Ep: pct application non-entry in european phase

Ref document number: 12813999

Country of ref document: EP

Kind code of ref document: A1