WO2013073692A1 - 電動リニアアクチュエータ - Google Patents
電動リニアアクチュエータ Download PDFInfo
- Publication number
- WO2013073692A1 WO2013073692A1 PCT/JP2012/079864 JP2012079864W WO2013073692A1 WO 2013073692 A1 WO2013073692 A1 WO 2013073692A1 JP 2012079864 W JP2012079864 W JP 2012079864W WO 2013073692 A1 WO2013073692 A1 WO 2013073692A1
- Authority
- WO
- WIPO (PCT)
- Prior art keywords
- housing
- linear actuator
- gear
- bearing
- nut
- Prior art date
- Legal status (The legal status is an assumption and is not a legal conclusion. Google has not performed a legal analysis and makes no representation as to the accuracy of the status listed.)
- Ceased
Links
Images
Classifications
-
- F—MECHANICAL ENGINEERING; LIGHTING; HEATING; WEAPONS; BLASTING
- F16—ENGINEERING ELEMENTS AND UNITS; GENERAL MEASURES FOR PRODUCING AND MAINTAINING EFFECTIVE FUNCTIONING OF MACHINES OR INSTALLATIONS; THERMAL INSULATION IN GENERAL
- F16H—GEARING
- F16H61/00—Control functions within control units of change-speed- or reversing-gearings for conveying rotary motion ; Control of exclusively fluid gearing, friction gearing, gearings with endless flexible members or other particular types of gearing
- F16H61/26—Generation or transmission of movements for final actuating mechanisms
- F16H61/28—Generation or transmission of movements for final actuating mechanisms with at least one movement of the final actuating mechanism being caused by a non-mechanical force, e.g. power-assisted
- F16H61/32—Electric motors , actuators or related electrical control means therefor
-
- F—MECHANICAL ENGINEERING; LIGHTING; HEATING; WEAPONS; BLASTING
- F16—ENGINEERING ELEMENTS AND UNITS; GENERAL MEASURES FOR PRODUCING AND MAINTAINING EFFECTIVE FUNCTIONING OF MACHINES OR INSTALLATIONS; THERMAL INSULATION IN GENERAL
- F16H—GEARING
- F16H25/00—Gearings comprising primarily only cams, cam-followers and screw-and-nut mechanisms
- F16H25/18—Gearings comprising primarily only cams, cam-followers and screw-and-nut mechanisms for conveying or interconverting oscillating or reciprocating motions
- F16H25/20—Screw mechanisms
-
- F—MECHANICAL ENGINEERING; LIGHTING; HEATING; WEAPONS; BLASTING
- F16—ENGINEERING ELEMENTS AND UNITS; GENERAL MEASURES FOR PRODUCING AND MAINTAINING EFFECTIVE FUNCTIONING OF MACHINES OR INSTALLATIONS; THERMAL INSULATION IN GENERAL
- F16H—GEARING
- F16H25/00—Gearings comprising primarily only cams, cam-followers and screw-and-nut mechanisms
- F16H25/18—Gearings comprising primarily only cams, cam-followers and screw-and-nut mechanisms for conveying or interconverting oscillating or reciprocating motions
- F16H25/20—Screw mechanisms
- F16H25/22—Screw mechanisms with balls, rollers, or similar members between the co-operating parts; Elements essential to the use of such members
- F16H25/2204—Screw mechanisms with balls, rollers, or similar members between the co-operating parts; Elements essential to the use of such members with balls
-
- F—MECHANICAL ENGINEERING; LIGHTING; HEATING; WEAPONS; BLASTING
- F16—ENGINEERING ELEMENTS AND UNITS; GENERAL MEASURES FOR PRODUCING AND MAINTAINING EFFECTIVE FUNCTIONING OF MACHINES OR INSTALLATIONS; THERMAL INSULATION IN GENERAL
- F16H—GEARING
- F16H1/00—Toothed gearings for conveying rotary motion
- F16H1/02—Toothed gearings for conveying rotary motion without gears having orbital motion
- F16H1/04—Toothed gearings for conveying rotary motion without gears having orbital motion involving only two intermeshing members
- F16H1/06—Toothed gearings for conveying rotary motion without gears having orbital motion involving only two intermeshing members with parallel axes
-
- F—MECHANICAL ENGINEERING; LIGHTING; HEATING; WEAPONS; BLASTING
- F16—ENGINEERING ELEMENTS AND UNITS; GENERAL MEASURES FOR PRODUCING AND MAINTAINING EFFECTIVE FUNCTIONING OF MACHINES OR INSTALLATIONS; THERMAL INSULATION IN GENERAL
- F16H—GEARING
- F16H25/00—Gearings comprising primarily only cams, cam-followers and screw-and-nut mechanisms
- F16H25/18—Gearings comprising primarily only cams, cam-followers and screw-and-nut mechanisms for conveying or interconverting oscillating or reciprocating motions
- F16H25/20—Screw mechanisms
- F16H2025/204—Axial sliding means, i.e. for rotary support and axial guiding of nut or screw shaft
-
- F—MECHANICAL ENGINEERING; LIGHTING; HEATING; WEAPONS; BLASTING
- F16—ENGINEERING ELEMENTS AND UNITS; GENERAL MEASURES FOR PRODUCING AND MAINTAINING EFFECTIVE FUNCTIONING OF MACHINES OR INSTALLATIONS; THERMAL INSULATION IN GENERAL
- F16H—GEARING
- F16H25/00—Gearings comprising primarily only cams, cam-followers and screw-and-nut mechanisms
- F16H25/18—Gearings comprising primarily only cams, cam-followers and screw-and-nut mechanisms for conveying or interconverting oscillating or reciprocating motions
- F16H25/20—Screw mechanisms
- F16H2025/2062—Arrangements for driving the actuator
- F16H2025/2081—Parallel arrangement of drive motor to screw axis
-
- F—MECHANICAL ENGINEERING; LIGHTING; HEATING; WEAPONS; BLASTING
- F16—ENGINEERING ELEMENTS AND UNITS; GENERAL MEASURES FOR PRODUCING AND MAINTAINING EFFECTIVE FUNCTIONING OF MACHINES OR INSTALLATIONS; THERMAL INSULATION IN GENERAL
- F16H—GEARING
- F16H63/00—Control outputs from the control unit to change-speed- or reversing-gearings for conveying rotary motion or to other devices than the final output mechanism
- F16H63/02—Final output mechanisms therefor; Actuating means for the final output mechanisms
- F16H63/30—Constructional features of the final output mechanisms
- F16H63/304—Constructional features of the final output mechanisms the final output mechanisms comprising elements moved by electrical or magnetic force
- F16H2063/3063—Constructional features of the final output mechanisms the final output mechanisms comprising elements moved by electrical or magnetic force using screw devices
-
- Y—GENERAL TAGGING OF NEW TECHNOLOGICAL DEVELOPMENTS; GENERAL TAGGING OF CROSS-SECTIONAL TECHNOLOGIES SPANNING OVER SEVERAL SECTIONS OF THE IPC; TECHNICAL SUBJECTS COVERED BY FORMER USPC CROSS-REFERENCE ART COLLECTIONS [XRACs] AND DIGESTS
- Y10—TECHNICAL SUBJECTS COVERED BY FORMER USPC
- Y10T—TECHNICAL SUBJECTS COVERED BY FORMER US CLASSIFICATION
- Y10T74/00—Machine element or mechanism
- Y10T74/18—Mechanical movements
- Y10T74/18568—Reciprocating or oscillating to or from alternating rotary
- Y10T74/18576—Reciprocating or oscillating to or from alternating rotary including screw and nut
Definitions
- the present invention relates to an electric linear actuator provided with a ball screw mechanism used in a drive unit of a general industrial electric motor or automobile, and more specifically, a rotational input from an electric motor is applied to the ball screw in an automobile transmission or a parking brake.
- the present invention relates to an electric linear actuator that converts a linear motion of a drive shaft through a mechanism.
- a gear mechanism such as a trapezoidal screw or a rack and pinion is generally used as a mechanism for converting the rotational motion of the electric motor into a linear motion in the axial direction. Since these conversion mechanisms involve a sliding contact portion, the power loss is large, and it is necessary to increase the size of the electric motor and increase the power consumption. Therefore, a ball screw mechanism has been adopted as a more efficient actuator.
- a ball screw shaft constituting a ball screw can be driven to rotate by an electric motor supported by a housing, and an output member coupled to a nut by rotating the ball screw shaft. Can be displaced in the axial direction. Since the ball screw mechanism has very low friction and the ball screw shaft easily rotates due to the thrust load acting on the output member side, it is necessary to hold the position of the output member when the electric motor is stopped.
- a brake means is provided in an electric motor, or a low-efficiency thing such as a worm gear is provided as a transmission means.
- an electric linear actuator as shown in FIG. It has been known.
- the electric linear actuator 50 includes an actuator main body 52 including a ball screw 51 that converts rotational motion into linear motion, a gear reduction mechanism 54 that transmits the rotational motion of the electric motor 53 to the actuator main body 52, and a gear reduction mechanism 54.
- a position holding mechanism 56 is provided that engages with the first gear 55 constituting the position and holds the position of the actuator main body 52.
- the ball screw 51 has a spiral thread groove 57a formed on the outer peripheral surface, and is externally fitted to the screw shaft 57 as an output shaft and the screw shaft 57, and a spiral thread groove 58a is formed on the inner peripheral surface.
- a nut 58 and a large number of balls 59 accommodated in a rolling path formed by opposing screw grooves 57a and 58a are provided.
- the actuator main body 52 includes a nut 58 rotatably supported on the inner periphery of the housing 60 via a pair of ball bearings 61 and 62, and a screw shaft 57 that cannot rotate relative to the housing 60. It is supported movably in the direction.
- the nut 58 is rotationally driven via the gear reduction mechanism 54, whereby the screw shaft 57 is converted into a linear motion.
- the gear reduction mechanism 54 is engaged with the first gear 55 made of a small-diameter spur gear fixed to the motor shaft 53 a of the electric motor 53, and the large diameter integrally formed on the outer periphery of the nut 58. And a second gear 63 composed of a spur gear.
- the position holding mechanism 56 is a shaft 64 as a lock member that is detachably attached to the first gear 55 and a drive unit that drives the shaft 64 in a direction to be engaged with and disengaged from the first gear 55.
- the solenoid 65 is provided.
- the shaft 64 has a rod shape, is linearly driven by a solenoid 65, and its tip is engaged with and disengaged from the receiving portion 66. In this way, by controlling the solenoid 65, the shaft 64 engages with the first gear 55 and is prevented from rotating. Therefore, even when a vibration load is applied, the engagement surface can be stably prevented from slipping.
- the position of the screw shaft 57 of the actuator body 52 can be held (see, for example, Patent Document 1).
- the electric linear actuator 50 in which the necessary operation can be obtained by this kind of electric control, it is considered that the electric linear actuator 50 cannot be controlled when the power supply cannot be performed due to the drop in the battery voltage. It is done.
- the solenoid 65 and the electric motor 53 become inoperable in the situation where the load on the side where the screw shaft 57 is pressed is received, the screw shaft 57 continues to rotate due to the moment of inertia around the nut 58. To do.
- the screw shaft 57 may collide with the inner wall of the housing 60 to be in an operation locked state, and the electric motor 53 may not be able to be restored.
- the solenoid 65 and the electric motor 53 are not inoperable, when the screw shaft 57 collides with the inner wall of the housing 60, the nut 58 is pressed to the right side in the figure by the reaction force (reverse thrust load).
- the reaction force reverse thrust load
- the ball bearing 62 may come into contact with the housing 60, and the frictional force may be increased and locked.
- the reduction ratio can be increased or the layout can be restricted. If there is, a method of providing a gear shaft between the motor shaft 53a and the screw shaft 57 and adopting a two-stage combination structure is adopted. In this case, there are problems such as increased processing costs, increased mass, and increased costs due to an increase in the number of parts. It is desirable for the intermediate shaft gear to have excellent rotational performance while minimizing such problems.
- the present invention has been made in view of such problems of the prior art, and an object thereof is to provide an electric linear actuator that avoids the operation lock of the ball screw and is excellent in rotational performance at low cost.
- the invention according to claim 1 of the present invention includes a housing, an electric motor attached to the housing, and a speed reduction mechanism that transmits the rotational force of the electric motor via a motor shaft.
- a ball screw mechanism that converts the rotational motion of the electric motor into a linear motion in the axial direction of the drive shaft via the speed reduction mechanism, and the ball screw mechanism rotates via a support bearing mounted on the housing.
- a nut that is supported so as not to move in the axial direction and has a spiral thread groove formed on the inner periphery, and is inserted into the nut via a number of balls and is coaxially integrated with the drive shaft.
- An electric linear actuator comprising a screw shaft that is formed on the outer periphery and has a helical screw groove corresponding to the screw groove of the nut, and is supported so as to be non-rotatable and axially movable with respect to the housing.
- the output gear that constitutes the speed reduction mechanism is fixed to the nut, the support bearings are disposed on both sides of the output gear, and the support bearings are connected via a washer made of a ring-shaped elastic member. Mounted on the housing.
- a reduction mechanism that transmits the rotational force of the electric motor and a ball screw mechanism that converts the rotational movement of the electric motor into the linear movement in the axial direction of the drive shaft via the reduction mechanism.
- a nut rotatably supported through a pair of support bearings mounted on the housing and not axially movable, and having a helical thread groove formed on the inner periphery, and a number of balls on the nut Screw that is interpolated and integrated coaxially with the drive shaft, and has a helical thread groove corresponding to the thread groove of the nut on the outer periphery, and is supported so as to be non-rotatable and axially movable with respect to the housing
- an electric linear actuator composed of a shaft, an output gear constituting a speed reduction mechanism is fixed to a nut, support bearings are disposed on both sides of the output gear, and the support bearing is a ring-shaped elastic member.
- the washer if the inner diameter of the washer is larger than the outer diameter of the inner ring of the support bearing, the washer abuts only on the outer ring of the support bearing, and the rotating wheel Since there is no interference in the axial direction between the inner ring and the housing, even if a reverse thrust load occurs and the nut is pressed against the housing, the inner ring of the support bearing contacts the housing and the frictional force increases. Can be prevented, and the locked state can be surely prevented.
- the said support bearing can load both the thrust load from the said drive shaft, and the radial load loaded via the said output gearwheel. If it is composed of rolling bearings, it is possible to simplify the confirmation work for preventing misassembly during assembly, and to improve the assembly workability.
- the housing comprises a first housing and a second housing abutted on an end surface thereof, and the electric motor is attached to the first housing.
- An accommodation hole for accommodating the screw shaft is formed in the first housing and the second housing, and the speed reduction mechanism is coupled to an input gear fixed to the motor shaft and an intermediate position engaged with the input gear.
- a gear and an output gear meshed with the intermediate gear and integrally fixed to the nut, wherein the intermediate gear has bearings on gear shafts respectively implanted in the first housing and the second housing. If the screw shaft collides with the wall surface of the housing, the support bearing on the first housing side is pushed to the second housing side as a result of the reaction when the screw shaft collides with the wall surface of the housing.
- one end portion of the end portion of the gear shaft is press-fitted into the housing, and the other end portion is inserted into the housing with a clearance fit.
- the bearing attached to the intermediate gear is accommodated so as to roll freely through a steel plate press-made outer ring press-fitted into the inner diameter of the intermediate gear and a cage. If it is constituted by a shell-type needle roller bearing provided with a plurality of needle rollers, the availability is high and the cost can be reduced.
- the width of the tooth portion of the intermediate gear is smaller than the tooth width
- the intermediate gear can be prevented from coming into direct contact with the housing, the contact area with the washer can be reduced, and the frictional resistance at the time of rotation can be suppressed to obtain smooth rotational performance.
- the washer may be formed of a steel plate, and as in the invention described in claim 9, the washer has a predetermined amount of fibrous reinforcing material. You may form with the filled thermoplastic synthetic resin. Thereby, an intensity
- the bearing attached to the intermediate gear is a sliding bearing
- the sliding bearing is composed of an oil-impregnated bearing made of a porous metal to which fine graphite powder is added, and If it is set to be larger than the tooth width of the intermediate gear, the intermediate gear can be prevented from coming into contact with the housing without wearing a washer, and the frictional resistance at the time of rotation can be suppressed to obtain smooth rotation performance.
- the cost can be reduced by suppressing the increase in the number of parts.
- An electric linear actuator includes a housing, an electric motor attached to the housing, a reduction mechanism that transmits the rotational force of the electric motor through a motor shaft, and the electric motor through the reduction mechanism.
- a ball screw mechanism that converts rotational motion into linear motion in the axial direction of the drive shaft, and this ball screw mechanism is supported by a support bearing mounted on the housing so as to be rotatable and not movable in the axial direction.
- An electric linear actuator comprising a screw shaft that is formed with a spiral thread groove and is supported so as to be non-rotatable and axially movable with respect to the housing.
- An output gear constituting a speed reduction mechanism is fixed to the nut, the support bearings are disposed on both sides of the output gear, and the support bearings are mounted on the housing via a washer made of a ring-shaped elastic member.
- an electric linear actuator is provided that can reduce the collision force while gradually weakening the inertial force of the nut by this elastic member, and can prevent induction of an operation lock caused by friction with the inner wall of the housing. be able to.
- An aluminum light alloy housing An electric motor attached to the housing, a reduction mechanism that transmits the rotational force of the electric motor via a motor shaft, and the rotational movement of the electric motor is driven via the reduction mechanism
- a nut formed with a helical thread groove, and a helical screw that is inserted into the nut via a large number of balls, is coaxially integrated with the drive shaft, and corresponds to the thread groove of the nut on the outer periphery
- An electric linear actuator comprising a screw shaft that is formed with a groove and is supported so as to be non-rotatable and axially movable with respect to the housing.
- a vehicle is fixed to the nut, the support bearings are disposed on both sides of the output gear, and the support bearing is both a thrust load from the drive shaft and a radial load loaded through the output gear.
- It is composed of a pair of rolling bearings of the same specification that can be loaded, and is attached to the housing via a washer made of a ring-shaped elastic member, and the inner diameter of the washer is larger than the inner ring outer diameter of the support bearing Is formed.
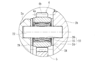
- FIG. 1 is a longitudinal sectional view showing a first embodiment of an electric linear actuator according to the present invention
- FIG. 2 is a longitudinal sectional view showing an actuator body of FIG. 1
- FIG. 3 is an intermediate gear portion of FIG.
- FIG. 4 is an enlarged view of a main part showing a modification of FIG. 3.
- the electric linear actuator 1 includes a housing 2 made of an aluminum light alloy, an electric motor (not shown) attached to the housing 2, and a motor shaft (not shown) of the electric motor.
- a speed reduction mechanism 6 comprising an intermediate gear 4 and an output gear 5 meshed with an input gear 3 attached to the motor, and a ball for converting the rotational motion of the electric motor into an axial linear motion of the drive shaft 7 via the speed reduction mechanism 6.
- a screw mechanism 8 and an actuator body 9 including the ball screw mechanism 8 are provided.
- the housing 2 includes a first housing 2a and a second housing 2b abutted on the end face thereof, and is integrally fixed by a fixing bolt (not shown).
- An electric motor is attached to the first housing 2a, and an accommodation hole (through hole) 11 and an accommodation hole (bag hole) for accommodating the screw shaft 10 are provided in the first housing 2a and the second housing 2b. ) 12 is formed.
- the motor shaft of the electric motor is rotatably supported by a rolling bearing 13 composed of a deep groove ball bearing mounted on the second housing 2b.
- the output gear 5 that meshes with the intermediate gear 4 that is a spur gear is integrally fixed to a nut 18 that constitutes a ball screw mechanism 8 described later via a key 14.
- the drive shaft 7 is configured integrally with a screw shaft 10 constituting the ball screw mechanism 8, and locking pins 15, 15 are implanted at one end portion (right end portion in the figure) of the drive shaft 7, so that the second housing By coming into contact with the retaining ring 16 attached to 2b, it is possible to prevent the screw shaft 10 from coming out, and to reliably prevent the screw shaft 10 from colliding with the inner wall of the housing 2 and being in an operation locked state.
- 19 is a guide member mounted in the bag hole 12 of the housing 2b. By engaging the locking pins 15 and 15 with the guide grooves 19a and 19a formed in the axial direction, the screw shaft 10 is It is supported so that it cannot rotate and can move in the axial direction.
- the ball screw mechanism 8 includes a screw shaft 10 and a nut 18 externally inserted through the ball 17 to the screw shaft 10 as shown in an enlarged view in FIG.
- the screw shaft 10 is formed with a helical screw groove 10a on the outer periphery, and is supported so as to be movable in the axial direction and not to rotate.
- the nut 18 is externally mounted on the screw shaft 10, and a helical screw groove 18 a corresponding to the screw groove 10 a of the screw shaft 10 is formed on the inner periphery, and a large number of screws 18 a and 18 a are provided between the nut 18.
- a ball 17 is housed so as to roll freely.
- the nut 18 is supported with respect to a housing (not shown) via two support bearings 20 and 20 so as to be rotatable and non-movable in the axial direction.
- Reference numeral 21 denotes a piece member that constitutes a circulation member by connecting the thread grooves 18a of the nut 18, and the piece member 21 allows an infinite circulation of a large number of balls 17.
- each of the thread grooves 10a and 18a may be a circular arc shape or a gothic arc shape, but here a gothic arc shape with a large contact angle with the ball 17 and a small axial clearance can be set. Is formed. Thereby, the rigidity with respect to an axial load becomes high and generation
- the nut 18 is made of case-hardened steel such as SCM415 or SCM420, and its surface is hardened in the range of 55 to 62HRC by vacuum carburizing and quenching. Thereby, the buffing etc. for the scale removal after the heat treatment can be omitted, and the cost can be reduced.
- the screw shaft 10 is made of medium carbon steel such as S55C or case-hardened steel such as SCM415 or SCM420, and its surface is hardened in the range of 55 to 62 HRC by induction hardening or carburizing hardening.
- the output gear 5 constituting the speed reduction mechanism 6 is integrally fixed to the outer peripheral surface 18b of the nut 18, and two support bearings 20 and 20 are press-fitted on both sides of the output gear 5 via a predetermined shimiro. .
- the two support bearings 20 and 20 are constituted by sealed deep groove ball bearings having shield plates 20a and 20a attached to both ends, and leakage of the lubricating grease enclosed in the bearings to the outside and from the outside This prevents wear powder from entering the bearing.
- the support bearing 20 that rotatably supports the nut 18 is composed of deep groove ball bearings having the same specifications, and thus is loaded from the drive shaft 7 through the thrust load and the output gear 5 described above. Both radial loads can be applied, and confirmation work for preventing misassembly during assembly can be simplified, and assembling workability can be improved.
- the outer peripheral surface of the nut 18 can be formed into a straight cylindrical shape without being stepped, enabling centerless grinding and reducing the number of processing steps.
- the rolling bearings of the same specification refer to bearings having the same inner diameter, outer diameter, width dimension, rolling element size, number, bearing internal clearance, and the like.
- one support bearing 20 of the pair of support bearings 20 is mounted on the housing 2a via a washer 27 made of a ring-shaped elastic member.
- This washer 27 is formed by press working from an austenitic stainless steel plate (JIS standard SUS304 type or the like) having high strength and wear resistance, or a rust-proof cold rolled steel plate (JIS standard SPCC type or the like). It consists of a wave washer.
- the inner diameter D is formed larger than the inner ring outer diameter d of the support bearing 20.
- the gear shaft 22 is implanted in the first and second housings 2 a and 2 b, and the intermediate gear 4 is rotatably supported on the gear shaft 22 via a rolling bearing 23. ing.
- the end portions of the gear shaft 22 for example, when the end portion on the first housing 2 a side is press-fitted, the end portion on the second housing 2 b side is set as a clearance fit, thereby misalignment (assembly error). And smooth rotation performance can be ensured.
- the rolling bearing 23 includes an outer ring 24 made of a steel plate press-fitted into the inner diameter 4 a of the intermediate gear 4, and a plurality of needle rollers 26 accommodated in the outer ring 24 via a cage 25 so as to be freely rollable. And so-called shell-type needle roller bearings. Thereby, availability is high and cost reduction can be achieved.
- the washer 28 is a flat washer formed by pressing from an austenitic stainless steel plate having high strength and high wear resistance, or a cold-rolled steel plate treated with rust prevention.
- a thermoplastic synthetic resin such as PA (polyamide) 66 filled with a predetermined amount of a fibrous reinforcing material such as brass, sintered metal, or GF (glass fiber). May be.
- the width of the rolling bearing 23 is set smaller than the tooth width of the intermediate gear 4. Therefore, wear and deformation of the bearing side surface due to friction can be prevented, and smooth rotation performance can be obtained.
- FIG. 4 shows a modification of FIG.
- the gear shaft 22 is implanted in the first and second housings 2 a and 2 b, and the intermediate gear 29 is rotatably supported on the gear shaft 22 via a slide bearing 30.
- the intermediate gear 29 is formed so that the width of the tooth portion 29b is the same as the tooth width, and the sliding bearing 30 is press-fitted into the inner diameter 29a of the intermediate gear 29 and added with fine graphite powder.
- the oil-impregnated bearing (NTN trade name; Bearfight) is made of, and is set larger than the tooth width of the intermediate gear 29.
- the sliding bearing 30 may be formed of, for example, a thermoplastic polyimide resin that enables injection molding.
- FIG. 5 is a longitudinal sectional view showing a second embodiment of the electric linear actuator according to the present invention. Note that this embodiment is basically the same as the above-described embodiment except that the configuration of the support bearing and each washer is different, and the same parts and parts having the same functions or the same functions as those of the above-described embodiments. Detailed description will be omitted with reference numerals.
- the electric linear actuator 31 includes a housing 2 made of an aluminum light alloy, an electric motor (not shown) attached to the housing 2, and an input gear 3 attached to a motor shaft (not shown) of the electric motor.
- a speed reduction mechanism 6 comprising an intermediate gear 4 and an output gear 5 meshing with each other, a ball screw mechanism 8 ′ for converting the rotational motion of the electric motor into a linear motion in the axial direction of the drive shaft 7 via the speed reduction mechanism 6,
- an actuator main body 9 ′ having a ball screw mechanism 8 ′.
- the ball screw mechanism 8 ′ includes a screw shaft 10 and a nut 32 that is externally attached to the screw shaft 10.
- the nut 32 is made of case-hardened steel such as SCM415 or SCM420, and is supported on the housings 2a and 2b via the two support bearings 33 and 20 so as to be rotatable and not movable in the axial direction.
- the output gear 5 constituting the speed reduction mechanism 6 is integrally fixed to the outer peripheral surface 18b of the nut 32 via a key 14, and two support bearings 33 and 20 are provided on both sides of the output gear 5 via a predetermined shimiro. It is press-fitted.
- the support bearing 33 mounted on the housing 2a side of the two support bearings 33 and 20 is a sealed deep groove ball bearing smaller in size than the support bearing 20 mounted on the other housing 2b side, and has an outer peripheral surface 32a.
- the positioning ring 34 is positioned and fixed in the axial direction. Thereby, even if a thrust load is applied from the drive shaft 7, it is possible to prevent the axial displacement between the support bearings 33 and 20 and the output gear 5, and it is possible to reduce the weight and size of the apparatus.
- the support bearing 33 is attached to the housing 2 a via the washer 35.
- the washer 35 is made of an elastic member made of an elastomer such as synthetic rubber, and has an inner diameter larger than the inner ring outer diameter of the support bearing 33.
- the gear shaft 22 is implanted in the first and second housings 2a and 2b, and the intermediate gear 4 is rotatably supported on the gear shaft 22 via a rolling bearing 23.
- Ring washers 36 and 36 are mounted on both sides of the intermediate gear 4 to prevent the intermediate gear 4 from directly contacting the first and second housings 2a and 2b.
- the width of the tooth portion 4b of the intermediate gear 4 is formed smaller than the tooth width.
- the washer 36 is formed from an austenitic stainless steel plate or a cold-rolled steel plate that has been rust-proofed by pressing to have a substantially L-shaped cross section, and has a flange 36a on its inner diameter. Further, when the flange portions 36a, 36a are locked in the recesses of the first and second housings 2a, 2b during assembly, the drop-off can be prevented and the assembly workability can be improved.
- An electric linear actuator according to the present invention is used in a drive unit of a general industrial electric motor, automobile, etc., and has a ball screw mechanism that converts rotational input from an electric motor into linear motion of a drive shaft via the ball screw mechanism. It can be applied to the provided electric linear actuator.
Landscapes
- Engineering & Computer Science (AREA)
- General Engineering & Computer Science (AREA)
- Mechanical Engineering (AREA)
- Transmission Devices (AREA)
- Gear Transmission (AREA)
Priority Applications (3)
| Application Number | Priority Date | Filing Date | Title |
|---|---|---|---|
| CN201280056132.5A CN103946587B (zh) | 2011-11-16 | 2012-11-16 | 电动线性致动器 |
| EP12849855.7A EP2781789A4 (en) | 2011-11-16 | 2012-11-16 | ELECTRICALLY DRIVEN LINEAR ACTUATOR |
| US14/278,360 US9631712B2 (en) | 2011-11-16 | 2014-05-15 | Electric linear actuator |
Applications Claiming Priority (2)
| Application Number | Priority Date | Filing Date | Title |
|---|---|---|---|
| JP2011-250570 | 2011-11-16 | ||
| JP2011250570A JP5918510B2 (ja) | 2011-11-16 | 2011-11-16 | 電動リニアアクチュエータ |
Related Child Applications (1)
| Application Number | Title | Priority Date | Filing Date |
|---|---|---|---|
| US14/278,360 Continuation US9631712B2 (en) | 2011-11-16 | 2014-05-15 | Electric linear actuator |
Publications (1)
| Publication Number | Publication Date |
|---|---|
| WO2013073692A1 true WO2013073692A1 (ja) | 2013-05-23 |
Family
ID=48429744
Family Applications (1)
| Application Number | Title | Priority Date | Filing Date |
|---|---|---|---|
| PCT/JP2012/079864 Ceased WO2013073692A1 (ja) | 2011-11-16 | 2012-11-16 | 電動リニアアクチュエータ |
Country Status (5)
| Country | Link |
|---|---|
| US (1) | US9631712B2 (enExample) |
| EP (1) | EP2781789A4 (enExample) |
| JP (1) | JP5918510B2 (enExample) |
| CN (1) | CN103946587B (enExample) |
| WO (1) | WO2013073692A1 (enExample) |
Cited By (3)
| Publication number | Priority date | Publication date | Assignee | Title |
|---|---|---|---|---|
| WO2014148514A1 (ja) * | 2013-03-19 | 2014-09-25 | Ntn株式会社 | 電動リニアアクチュエータ |
| CN104787021A (zh) * | 2014-01-17 | 2015-07-22 | 日信工业株式会社 | 电动致动器及车辆制动系统 |
| CN111354579A (zh) * | 2020-03-13 | 2020-06-30 | 山东泰开电器机构有限公司 | 一种电机直驱式大扭矩共箱用三工位电动机构 |
Families Citing this family (16)
| Publication number | Priority date | Publication date | Assignee | Title |
|---|---|---|---|---|
| JP5897874B2 (ja) * | 2011-11-11 | 2016-04-06 | Ntn株式会社 | 電動リニアアクチュエータ |
| JP5918510B2 (ja) * | 2011-11-16 | 2016-05-18 | Ntn株式会社 | 電動リニアアクチュエータ |
| JP2016098906A (ja) * | 2014-11-21 | 2016-05-30 | Ntn株式会社 | 歯車およびこれを備えた電動アクチュエータ |
| CN105650213B (zh) * | 2014-12-01 | 2019-04-12 | 株式会社电装 | 促动器 |
| JP6527705B2 (ja) * | 2015-02-02 | 2019-06-05 | Ntn株式会社 | 電動アクチュエータ |
| JP6779645B2 (ja) * | 2016-03-30 | 2020-11-04 | Ntn株式会社 | 電動アクチュエータ |
| FR3050523B1 (fr) * | 2016-04-20 | 2018-04-20 | Safran Electronics & Defense | Procede d'estimation du jeu d'un actionneur electro-mecanique |
| RU2630966C1 (ru) * | 2016-09-19 | 2017-09-15 | федеральное государственное бюджетное образовательное учреждение высшего образования "Уфимский государственный авиационный технический университет" | Электропривод летательного аппарата (варианты) |
| CN106641157B (zh) * | 2017-02-15 | 2023-11-17 | 广州弥优机床有限公司 | 一种螺旋传动式新型关节减速机 |
| KR101907397B1 (ko) * | 2017-04-26 | 2018-10-12 | 주식회사 세진아이지비 | 서보 실린더 |
| US10738866B2 (en) * | 2018-04-19 | 2020-08-11 | Robert Bosch Mexico Sistemas Automotrices S.A. de C.V. | Modular actuator for providing relative motion between two points |
| DE102018111128A1 (de) * | 2018-05-09 | 2019-11-14 | Ipgate Ag | Elektromotorisch angetriebenes Schraubgetriebe zum Antrieb eines Verstellelements |
| RU2700562C1 (ru) * | 2018-12-10 | 2019-09-20 | Владимир Ростиславович Борецкий | Линейный актуатор и линейный исполнительный механизм |
| CN111207194B (zh) * | 2020-03-10 | 2024-11-19 | 东莞孜升传动有限公司 | 一种丝杆滑动装置及其自动推杆 |
| US12031851B2 (en) | 2022-05-12 | 2024-07-09 | Dtl Linear, Llc | Actuator apparatus with light actuated position sensor and secure position verification |
| EP4667761A1 (en) * | 2024-06-20 | 2025-12-24 | Marelli Europe S.p.A. | Actuator for automotive applications and the manufacturing method thereof |
Citations (9)
| Publication number | Priority date | Publication date | Assignee | Title |
|---|---|---|---|---|
| JPS53104880U (enExample) * | 1977-01-31 | 1978-08-23 | ||
| JPH0480926U (enExample) * | 1990-11-22 | 1992-07-14 | ||
| JP2000062577A (ja) * | 1998-08-21 | 2000-02-29 | Asmo Co Ltd | ワイパピボット及びピボット駆動機構 |
| JP2005186781A (ja) * | 2003-12-25 | 2005-07-14 | Favess Co Ltd | 電動パワーステアリング装置 |
| JP2005263149A (ja) * | 2004-03-22 | 2005-09-29 | Nsk Ltd | 電動式パワーステアリング装置 |
| JP2008116037A (ja) * | 2006-10-10 | 2008-05-22 | Ntn Corp | 電動アクチュエータ |
| JP2009156416A (ja) | 2007-12-27 | 2009-07-16 | Ntn Corp | 電動リニアアクチュエータ |
| JP2010025350A (ja) * | 2009-11-04 | 2010-02-04 | Ntn Corp | シェル型針状ころ軸受 |
| JP2010190289A (ja) * | 2009-02-17 | 2010-09-02 | Aichi Mach Ind Co Ltd | 変速機およびその製造方法 |
Family Cites Families (37)
| Publication number | Priority date | Publication date | Assignee | Title |
|---|---|---|---|---|
| US1865842A (en) * | 1928-11-12 | 1932-07-05 | Emsco Derrick & Equip Co | Sheave assembly |
| US2403092A (en) * | 1943-02-19 | 1946-07-02 | Lear Inc | Linear actuator |
| FR951949A (fr) * | 1947-08-09 | 1949-11-07 | Auxiliaire Ind L | Vérin à vis, à moteur réversible, et sortie de secours de la tige |
| US3218109A (en) * | 1959-02-20 | 1965-11-16 | Sato Kenzo | Bearing holding mechanism of miniature air turbines for dental hand pieces |
| FR1588166A (enExample) * | 1967-07-06 | 1970-04-10 | ||
| JPS5755536Y2 (enExample) * | 1976-10-26 | 1982-12-01 | ||
| JPS5362548A (en) | 1976-11-16 | 1978-06-05 | Mitsubishi Electric Corp | Canned goods screening device |
| JPS53104880A (en) | 1977-02-25 | 1978-09-12 | Nippon Telegr & Teleph Corp <Ntt> | Coaxial cable |
| US4274292A (en) * | 1979-10-11 | 1981-06-23 | Arnett Jr Robert D | Compact starter assembly |
| US4998346A (en) * | 1989-04-12 | 1991-03-12 | Ina Bearing Company | Method of making a unitary, axially self-locating needle bearing |
| US5063808A (en) * | 1990-04-23 | 1991-11-12 | Emerson Electric Co. | Linear actuator improvement to prevent "back driving" |
| KR920005683Y1 (ko) * | 1990-06-28 | 1992-08-20 | 주식회사 비앤앨 | 자동차용 전동잭 |
| JP2945946B2 (ja) | 1990-07-24 | 1999-09-06 | 株式会社半導体エネルギー研究所 | 酸化物絶縁膜の作製方法 |
| GB2327652B (en) * | 1997-05-29 | 2001-04-18 | Nsk Ltd | Electric power assisted steering apparatus |
| US6317918B1 (en) | 1998-04-24 | 2001-11-20 | Honda Giken Kogyo Kabushiki Kaisha | Windshield wiper device for vehicle |
| JP2000145914A (ja) * | 1998-11-17 | 2000-05-26 | Tsubakimoto Chain Co | 逆転防止機構付直線作動機 |
| JP2003002219A (ja) * | 2001-06-27 | 2003-01-08 | Nsk Ltd | 電動パワーステアリング装置 |
| JP2004028169A (ja) * | 2002-06-24 | 2004-01-29 | Smc Corp | 電動アクチュエータ |
| JP2004263711A (ja) * | 2003-01-21 | 2004-09-24 | Nsk Ltd | アクチュエータ及びブレーキ装置 |
| DE10334880A1 (de) * | 2003-07-29 | 2005-03-03 | Ina-Schaeffler Kg | Anlaufscheibe für Planetengetriebe |
| KR20050065566A (ko) * | 2003-08-25 | 2005-06-29 | 히다찌 겐끼 가부시키가이샤 | 슬라이딩 베어링 조립체 및 슬라이딩 베어링 |
| US7703983B2 (en) * | 2004-06-10 | 2010-04-27 | Ntn Corporation | Sliding material and sliding bearing |
| JP2006125516A (ja) * | 2004-10-28 | 2006-05-18 | Ntn Corp | 含油焼結軸受 |
| JP2007032703A (ja) * | 2005-07-27 | 2007-02-08 | Ntn Corp | 電動リニアアクチュエータ |
| US7560888B2 (en) * | 2005-09-08 | 2009-07-14 | Honeywell International Inc. | Electromechanical actuator including redundant, dissimilar position feedback |
| ITTO20060110A1 (it) * | 2006-02-16 | 2007-08-17 | Skf Ab | Attuatore elettromeccanico lineare per un freno di stazionamento. |
| US8220153B2 (en) * | 2006-05-26 | 2012-07-17 | Hitachi Powdered Metals Co., Ltd. | Production method for complex bearing |
| JP4883349B2 (ja) * | 2006-06-27 | 2012-02-22 | 株式会社ジェイテクト | 電動パワーステアリング装置 |
| US8272284B2 (en) * | 2006-10-10 | 2012-09-25 | Ntn Corporation | Electronically driven linear actuator |
| JP2008257145A (ja) * | 2007-04-09 | 2008-10-23 | Nikon Corp | 制動機構用摩擦部材およびシャッタ機構 |
| JP5340561B2 (ja) * | 2007-06-15 | 2013-11-13 | Ntn株式会社 | 円すいころ軸受 |
| JP2009250316A (ja) * | 2008-04-03 | 2009-10-29 | Ntn Corp | 転がり軸受用保持器 |
| JP5324819B2 (ja) * | 2008-05-12 | 2013-10-23 | シマノコンポネンツ マレーシア エスディーエヌ.ビーエッチディー. | レバードラグリールの逆転防止機構 |
| KR101261093B1 (ko) * | 2009-06-22 | 2013-05-06 | 주식회사 만도 | 랙 구동식 전동 파워 스티어링 장치 |
| EP2520829B1 (en) * | 2010-04-26 | 2016-03-02 | NSK Ltd. | Linear actuator |
| EP2383480B1 (de) * | 2010-04-30 | 2012-10-03 | Winergy AG | Planetengetriebe für eine Windkraftanlage |
| JP5918510B2 (ja) * | 2011-11-16 | 2016-05-18 | Ntn株式会社 | 電動リニアアクチュエータ |
-
2011
- 2011-11-16 JP JP2011250570A patent/JP5918510B2/ja active Active
-
2012
- 2012-11-16 CN CN201280056132.5A patent/CN103946587B/zh not_active Expired - Fee Related
- 2012-11-16 WO PCT/JP2012/079864 patent/WO2013073692A1/ja not_active Ceased
- 2012-11-16 EP EP12849855.7A patent/EP2781789A4/en not_active Ceased
-
2014
- 2014-05-15 US US14/278,360 patent/US9631712B2/en active Active
Patent Citations (9)
| Publication number | Priority date | Publication date | Assignee | Title |
|---|---|---|---|---|
| JPS53104880U (enExample) * | 1977-01-31 | 1978-08-23 | ||
| JPH0480926U (enExample) * | 1990-11-22 | 1992-07-14 | ||
| JP2000062577A (ja) * | 1998-08-21 | 2000-02-29 | Asmo Co Ltd | ワイパピボット及びピボット駆動機構 |
| JP2005186781A (ja) * | 2003-12-25 | 2005-07-14 | Favess Co Ltd | 電動パワーステアリング装置 |
| JP2005263149A (ja) * | 2004-03-22 | 2005-09-29 | Nsk Ltd | 電動式パワーステアリング装置 |
| JP2008116037A (ja) * | 2006-10-10 | 2008-05-22 | Ntn Corp | 電動アクチュエータ |
| JP2009156416A (ja) | 2007-12-27 | 2009-07-16 | Ntn Corp | 電動リニアアクチュエータ |
| JP2010190289A (ja) * | 2009-02-17 | 2010-09-02 | Aichi Mach Ind Co Ltd | 変速機およびその製造方法 |
| JP2010025350A (ja) * | 2009-11-04 | 2010-02-04 | Ntn Corp | シェル型針状ころ軸受 |
Non-Patent Citations (1)
| Title |
|---|
| See also references of EP2781789A4 * |
Cited By (4)
| Publication number | Priority date | Publication date | Assignee | Title |
|---|---|---|---|---|
| WO2014148514A1 (ja) * | 2013-03-19 | 2014-09-25 | Ntn株式会社 | 電動リニアアクチュエータ |
| CN104787021A (zh) * | 2014-01-17 | 2015-07-22 | 日信工业株式会社 | 电动致动器及车辆制动系统 |
| CN104787021B (zh) * | 2014-01-17 | 2019-11-01 | 日本奥托立夫日信制动器系统株式会社 | 具有电动致动器的车辆用制动装置及车辆制动系统 |
| CN111354579A (zh) * | 2020-03-13 | 2020-06-30 | 山东泰开电器机构有限公司 | 一种电机直驱式大扭矩共箱用三工位电动机构 |
Also Published As
| Publication number | Publication date |
|---|---|
| US20140238168A1 (en) | 2014-08-28 |
| EP2781789A1 (en) | 2014-09-24 |
| US9631712B2 (en) | 2017-04-25 |
| JP5918510B2 (ja) | 2016-05-18 |
| EP2781789A4 (en) | 2016-08-31 |
| CN103946587B (zh) | 2017-03-29 |
| JP2013104525A (ja) | 2013-05-30 |
| CN103946587A (zh) | 2014-07-23 |
Similar Documents
| Publication | Publication Date | Title |
|---|---|---|
| JP5918510B2 (ja) | 電動リニアアクチュエータ | |
| JP5897874B2 (ja) | 電動リニアアクチュエータ | |
| JP6091149B2 (ja) | 電動リニアアクチュエータ | |
| JP5562795B2 (ja) | 電動アクチュエータ | |
| JP6111042B2 (ja) | 電動リニアアクチュエータ | |
| JP2013104525A5 (enExample) | ||
| JP2016098906A (ja) | 歯車およびこれを備えた電動アクチュエータ | |
| JP5924899B2 (ja) | 電動リニアアクチュエータ | |
| JP6312728B2 (ja) | 電動リニアアクチュエータ | |
| JP2012039765A (ja) | 電動アクチュエータ | |
| JP2016151332A (ja) | ボールねじおよびこれを備えた電動リニアアクチュエータ | |
| JP6039748B1 (ja) | 電動アクチュエータ | |
| JP6074192B2 (ja) | 電動リニアアクチュエータ | |
| JP6121760B2 (ja) | 電動リニアアクチュエータ | |
| JP2014037854A (ja) | 電動リニアアクチュエータ | |
| JP6111038B2 (ja) | 電動リニアアクチュエータ | |
| JP6111041B2 (ja) | 電動リニアアクチュエータ | |
| JP6130235B2 (ja) | 電動リニアアクチュエータ | |
| JP2016161087A (ja) | 電動リニアアクチュエータ | |
| JP2008069793A (ja) | 電動リニアアクチュエータ | |
| JP2016114118A (ja) | 電動アクチュエータ |
Legal Events
| Date | Code | Title | Description |
|---|---|---|---|
| 121 | Ep: the epo has been informed by wipo that ep was designated in this application |
Ref document number: 12849855 Country of ref document: EP Kind code of ref document: A1 |
|
| NENP | Non-entry into the national phase |
Ref country code: DE |
|
| WWE | Wipo information: entry into national phase |
Ref document number: 2012849855 Country of ref document: EP |