WO2013042350A1 - Imprint apparatus and article manufacturing method using same - Google Patents
Imprint apparatus and article manufacturing method using same Download PDFInfo
- Publication number
- WO2013042350A1 WO2013042350A1 PCT/JP2012/005938 JP2012005938W WO2013042350A1 WO 2013042350 A1 WO2013042350 A1 WO 2013042350A1 JP 2012005938 W JP2012005938 W JP 2012005938W WO 2013042350 A1 WO2013042350 A1 WO 2013042350A1
- Authority
- WO
- WIPO (PCT)
- Prior art keywords
- substrate
- gas
- mold
- recovery
- imprint apparatus
- Prior art date
- Legal status (The legal status is an assumption and is not a legal conclusion. Google has not performed a legal analysis and makes no representation as to the accuracy of the status listed.)
- Ceased
Links
Images
Classifications
-
- B—PERFORMING OPERATIONS; TRANSPORTING
- B29—WORKING OF PLASTICS; WORKING OF SUBSTANCES IN A PLASTIC STATE IN GENERAL
- B29C—SHAPING OR JOINING OF PLASTICS; SHAPING OF MATERIAL IN A PLASTIC STATE, NOT OTHERWISE PROVIDED FOR; AFTER-TREATMENT OF THE SHAPED PRODUCTS, e.g. REPAIRING
- B29C59/00—Surface shaping of articles, e.g. embossing; Apparatus therefor
- B29C59/002—Component parts, details or accessories; Auxiliary operations
-
- G—PHYSICS
- G03—PHOTOGRAPHY; CINEMATOGRAPHY; ANALOGOUS TECHNIQUES USING WAVES OTHER THAN OPTICAL WAVES; ELECTROGRAPHY; HOLOGRAPHY
- G03F—PHOTOMECHANICAL PRODUCTION OF TEXTURED OR PATTERNED SURFACES, e.g. FOR PRINTING, FOR PROCESSING OF SEMICONDUCTOR DEVICES; MATERIALS THEREFOR; ORIGINALS THEREFOR; APPARATUS SPECIALLY ADAPTED THEREFOR
- G03F7/00—Photomechanical, e.g. photolithographic, production of textured or patterned surfaces, e.g. printing surfaces; Materials therefor, e.g. comprising photoresists; Apparatus specially adapted therefor
- G03F7/0002—Lithographic processes using patterning methods other than those involving the exposure to radiation, e.g. by stamping
-
- B—PERFORMING OPERATIONS; TRANSPORTING
- B82—NANOTECHNOLOGY
- B82Y—SPECIFIC USES OR APPLICATIONS OF NANOSTRUCTURES; MEASUREMENT OR ANALYSIS OF NANOSTRUCTURES; MANUFACTURE OR TREATMENT OF NANOSTRUCTURES
- B82Y10/00—Nanotechnology for information processing, storage or transmission, e.g. quantum computing or single electron logic
-
- B—PERFORMING OPERATIONS; TRANSPORTING
- B82—NANOTECHNOLOGY
- B82Y—SPECIFIC USES OR APPLICATIONS OF NANOSTRUCTURES; MEASUREMENT OR ANALYSIS OF NANOSTRUCTURES; MANUFACTURE OR TREATMENT OF NANOSTRUCTURES
- B82Y40/00—Manufacture or treatment of nanostructures
-
- B—PERFORMING OPERATIONS; TRANSPORTING
- B29—WORKING OF PLASTICS; WORKING OF SUBSTANCES IN A PLASTIC STATE IN GENERAL
- B29C—SHAPING OR JOINING OF PLASTICS; SHAPING OF MATERIAL IN A PLASTIC STATE, NOT OTHERWISE PROVIDED FOR; AFTER-TREATMENT OF THE SHAPED PRODUCTS, e.g. REPAIRING
- B29C33/00—Moulds or cores; Details thereof or accessories therefor
- B29C33/42—Moulds or cores; Details thereof or accessories therefor characterised by the shape of the moulding surface, e.g. ribs or grooves
- B29C33/424—Moulding surfaces provided with means for marking or patterning
- B29C2033/426—Stampers
-
- B—PERFORMING OPERATIONS; TRANSPORTING
- B29—WORKING OF PLASTICS; WORKING OF SUBSTANCES IN A PLASTIC STATE IN GENERAL
- B29C—SHAPING OR JOINING OF PLASTICS; SHAPING OF MATERIAL IN A PLASTIC STATE, NOT OTHERWISE PROVIDED FOR; AFTER-TREATMENT OF THE SHAPED PRODUCTS, e.g. REPAIRING
- B29C43/00—Compression moulding, i.e. applying external pressure to flow the moulding material; Apparatus therefor
- B29C43/02—Compression moulding, i.e. applying external pressure to flow the moulding material; Apparatus therefor of articles of definite length, i.e. discrete articles
- B29C43/021—Compression moulding, i.e. applying external pressure to flow the moulding material; Apparatus therefor of articles of definite length, i.e. discrete articles characterised by the shape of the surface
- B29C2043/023—Compression moulding, i.e. applying external pressure to flow the moulding material; Apparatus therefor of articles of definite length, i.e. discrete articles characterised by the shape of the surface having a plurality of grooves
- B29C2043/025—Compression moulding, i.e. applying external pressure to flow the moulding material; Apparatus therefor of articles of definite length, i.e. discrete articles characterised by the shape of the surface having a plurality of grooves forming a microstructure, i.e. fine patterning
-
- B—PERFORMING OPERATIONS; TRANSPORTING
- B29—WORKING OF PLASTICS; WORKING OF SUBSTANCES IN A PLASTIC STATE IN GENERAL
- B29C—SHAPING OR JOINING OF PLASTICS; SHAPING OF MATERIAL IN A PLASTIC STATE, NOT OTHERWISE PROVIDED FOR; AFTER-TREATMENT OF THE SHAPED PRODUCTS, e.g. REPAIRING
- B29C59/00—Surface shaping of articles, e.g. embossing; Apparatus therefor
- B29C59/02—Surface shaping of articles, e.g. embossing; Apparatus therefor by mechanical means, e.g. pressing
- B29C59/022—Surface shaping of articles, e.g. embossing; Apparatus therefor by mechanical means, e.g. pressing characterised by the disposition or the configuration, e.g. dimensions, of the embossments or the shaping tools therefor
- B29C2059/023—Microembossing
-
- B—PERFORMING OPERATIONS; TRANSPORTING
- B29—WORKING OF PLASTICS; WORKING OF SUBSTANCES IN A PLASTIC STATE IN GENERAL
- B29C—SHAPING OR JOINING OF PLASTICS; SHAPING OF MATERIAL IN A PLASTIC STATE, NOT OTHERWISE PROVIDED FOR; AFTER-TREATMENT OF THE SHAPED PRODUCTS, e.g. REPAIRING
- B29C33/00—Moulds or cores; Details thereof or accessories therefor
- B29C33/42—Moulds or cores; Details thereof or accessories therefor characterised by the shape of the moulding surface, e.g. ribs or grooves
- B29C33/424—Moulding surfaces provided with means for marking or patterning
-
- B—PERFORMING OPERATIONS; TRANSPORTING
- B29—WORKING OF PLASTICS; WORKING OF SUBSTANCES IN A PLASTIC STATE IN GENERAL
- B29C—SHAPING OR JOINING OF PLASTICS; SHAPING OF MATERIAL IN A PLASTIC STATE, NOT OTHERWISE PROVIDED FOR; AFTER-TREATMENT OF THE SHAPED PRODUCTS, e.g. REPAIRING
- B29C43/00—Compression moulding, i.e. applying external pressure to flow the moulding material; Apparatus therefor
- B29C43/02—Compression moulding, i.e. applying external pressure to flow the moulding material; Apparatus therefor of articles of definite length, i.e. discrete articles
- B29C43/021—Compression moulding, i.e. applying external pressure to flow the moulding material; Apparatus therefor of articles of definite length, i.e. discrete articles characterised by the shape of the surface
-
- B—PERFORMING OPERATIONS; TRANSPORTING
- B29—WORKING OF PLASTICS; WORKING OF SUBSTANCES IN A PLASTIC STATE IN GENERAL
- B29C—SHAPING OR JOINING OF PLASTICS; SHAPING OF MATERIAL IN A PLASTIC STATE, NOT OTHERWISE PROVIDED FOR; AFTER-TREATMENT OF THE SHAPED PRODUCTS, e.g. REPAIRING
- B29C59/00—Surface shaping of articles, e.g. embossing; Apparatus therefor
- B29C59/02—Surface shaping of articles, e.g. embossing; Apparatus therefor by mechanical means, e.g. pressing
- B29C59/022—Surface shaping of articles, e.g. embossing; Apparatus therefor by mechanical means, e.g. pressing characterised by the disposition or the configuration, e.g. dimensions, of the embossments or the shaping tools therefor
Definitions
- the present invention relates to an imprint apparatus and an article manufacturing method using the same.
- imprint technology by which a fine structure with dimensions of a few nanometers can be formed on a substrate.
- imprint technologies includes a photo-curing method. An imprint apparatus employing the photo-curing method first applies an ultraviolet curable resin (imprint material, photocurable resin) to a shot area (imprint area) on a substrate (wafer). Next, the resin (uncured resin) is molded by a mold. After the ultraviolet curable resin is irradiated with ultraviolet light for curing, the cured resin is released from the mold, whereby a resin pattern is formed on the substrate.
- an ultraviolet curable resin imprint material, photocurable resin
- Non-Patent Literature 1 discloses a method for supplying a specific gas (pentafluoropropane) to a gap between the mold and the resin on the wafer during imprint processing to thereby achieve improvement in filling property and mold-release property described above.
- a specific gas penentafluoropropane
- Patent Literature 1 discloses an immersion exposure apparatus in which a coplanar plate with a height (surface height) equivalent to the level of the surface of a wafer is disposed on the outside of the wafer placed on a wafer stage.
- Patent Literature 1 Japanese Patent Laid-Open No. 2008-218976
- Non-Patent Literature 1 Hiroshi Hiroshima, "Release force reduction in UV nano imprint by mold orientation control and by gas environment", JOURNAL OF VACUUM SCIENCE & TECHNOLOGY, Nov/Dec 2009, B27 (6), P. 2862-2865
- gas other than pentafluoropropane may be employed for the imprint apparatus as described above if both filling property and mold-release property are taken into account.
- gas employable herein include another fluorine gas, gas consisting of a resin solvent for reducing the viscosity of a resin, and the like.
- gas it is desired that the entire amount of such gas be recovered from the viewpoint of a global warming potential, environmental maintenance in an imprint apparatus, a safeguard against explosion in the case of employing flammable gas, and the like.
- the present invention provides an imprint apparatus that is advantageous for improving the uniformity of processing for the entire substrate even when using gas which is useful for the filling property and the mold-release property of the resin with respect to the mold.
- an imprint apparatus that molds an uncured resin on a substrate using a mold and cures the resin to thereby form a pattern of the cured resin on the substrate
- a gas supply mechanism configured to supply gas from the mold side toward the substrate and to recover the supplied gas at the mold side, when the mold is pressed against the uncured resin
- a substrate holding unit configured to be movable while holding the substrate and have a flat plate portion that has a surface height which is adjusted to the level of the surface of the held substrate and is disposed on the outside of the substrate holding unit so as to surround the substrate
- a gas recovery mechanism configured to recover the gas entrapped in a gap region which is present between the outer circumferential side of the substrate held by the substrate holding unit and the inner circumferential side of the flat plate portion toward the substrate.
- an imprint apparatus that is advantageous for improving uniformity of processing for the entire substrate even when using gas which is useful for the filling property and the mold-release property of the resin with respect to the mold may be provided.
- FIG. 1 is a diagram illustrating the configuration of an imprint apparatus according to one embodiment of the present invention.
- FIG. 2 is a diagram illustrating the surface of a mold as viewed from the wafer stage side.
- FIGs. 3A and 3B are diagrams illustrating the configuration of a coplanar plate on a wafer stage.
- FIGs. 3A and 3B are diagrams illustrating the configuration of a coplanar plate on a wafer stage.
- FIG. 4 is a diagram illustrating another exemplary configuration of a recovery pipe of a gas recovery mechanism.
- FIG. 5 is a diagram illustrating a state in which a gas recovery mechanism recovers gas in a gap region.
- FIGs. 6A and 6B are diagrams illustrating another state in which a gas recovery mechanism recovers gas in a gap region.
- FIGs. 6A and 6B are diagrams illustrating another state in which a gas recovery mechanism recovers gas in a gap region.
- FIGs. 7A and 7B are diagrams illustrating how the conventional gas supply mechanism supplies and recovers gas.
- FIGs. 7A and 7B are diagrams illustrating how the conventional gas supply mechanism supplies and recovers gas.
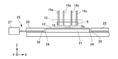
- FIG. 1 is a schematic diagram illustrating the configuration of an imprint apparatus 1 according to the present embodiment.
- the imprint apparatus 1 is an apparatus that molds an uncured resin on a wafer (on a substrate), i.e., a substrate to be treated, using a mold to thereby form a resin pattern on the wafer, which is used in the manufacture of devices such as semiconductor devices and the like as articles.
- the imprint apparatus of the present embodiment is an apparatus employing a photo-curing method.
- the imprint apparatus 1 includes a light irradiation unit 2, a mold holding mechanism 3, a gas supply mechanism 4, a wafer stage 5, an application unit 6, and a control unit 7.
- the light irradiation unit 2 irradiates a mold 8 with ultraviolet light 9 during imprint processing.
- the light irradiation unit 2 is constituted by a light source 10 and an optical element 11 that adjusts the ultraviolet light 9 emitted from the light source 10 to light suitable for imprinting.
- the light irradiation unit 2 is installed for employing a photo-curing method.
- a heat source unit for curing a thermosetting resin may be installed instead of the light irradiation unit 2.
- the outer peripheral shape of the mold 8 is rectangular and the mold 8 includes a pattern section (e.g., a convex portion having a fine concave and convex pattern of a circuit pattern or the like to be transferred on the surface thereof) 8a which is three-dimensionally formed on the surface opposed to a wafer 12.
- the material of the mold 8 is a material such as quartz or the like through which the ultraviolet light 9 can pass.
- the mold 8 may be of a shape in which a cavity (concave portion) of a circular planer shape having a certain depth is formed on the surface on which the ultraviolet light 9 is irradiated.
- the mold holding mechanism 3 has a mold chuck 13 that holds the mold 8 and a mold drive mechanism 14 that holds the mold chuck 13 and moves the mold 8 (the mold chuck 13).
- the mold chuck 13 may hold the mold 8 by suctioning/attracting the outer peripheral region of the surface of the mold 8 irradiated with the ultraviolet light 9 using a vacuum suction force/an electrostatic force.
- the mold chuck 13 is connected to an externally installed vacuum pump (not shown), and attachment/detachment of the mold 8 is switched by turning the vacuum pump ON/OFF.
- the mold drive mechanism 14 moves the mold 8 in the Z-axis direction so as to selectively press the mold 8 against a resin 15 on the wafer 12 or release the mold 8 from the resin 15.
- an actuator employable for the mold drive mechanism 14 include a linear motor, an air cylinder, and the like.
- the mold drive mechanism 14 may be constituted by a plurality of drive systems such as a coarse movement drive system, a fine movement drive system, and the like in order to accommodate positioning of the mold 8 with high accuracy.
- the mold drive mechanism 14 may have a position adjustment function for adjusting the position of the mold 8 not only in the Z-axis direction but also in the X-axis direction, the Y-axis direction, or the theta (rotation about the Z axis) direction, a tilt function for correcting the tilt of the mold 8, and the like.
- the pressing operation and the releasing operation performed by the imprint apparatus 1 may be realized by moving the mold 8 in the Z-axis direction, may be realized by moving the wafer stage 5 in the Z-axis direction, or may also be realized by moving both the mold 8 and the wafer stage 5 relative to each other.
- each of the mold chuck 13 and the mold drive mechanism 14 has an aperture region 16 at the central portion (the inside thereof) such that the ultraviolet light 9 emitted from the light irradiation unit 2 is irradiated toward the wafer 12.
- a light transmission member e.g. glass plate (not shown) is installed within the aperture region 16 such that a space circumscribed by a part of the aperture region 16 and the mold 8 is sealed, and the pressure in the space is adjusted by a pressure adjusting device including a vacuum pump or the like.
- the pressure adjusting device sets the pressure in the space higher than the external pressure during the pressing operation so that a pattern section 8a is deflected toward the wafer 12 in a convex shape and the pattern section 8a is brought into contact with the resin 15 from the central portion of the pattern section 8a.
- gas air
- the mold holding mechanism 3 has a magnification correction mechanism 17 that corrects the shape of the mold 8 (the pattern section 8a) by imparting an external force or displacement to the side surface of the mold 8.
- the magnification correction mechanism 17 is installed at the mold 8-holding side of the mold chuck 13.
- FIG. 2 is a schematic plan view illustrating the surface of the mold 8 as viewed from the wafer stage 5 side.
- the wafer 12 and the coplanar plate 22 on the wafer stage 5 (to be described below) corresponding to the position of the mold 8 are shown by the dotted lines.
- the gas supply mechanism 4 has a plurality of supply ports 18 that supply (discharge) gas to the wafer 12 placed on the wafer stage 5 and a plurality of recovery ports 19 that recover the gas supplied from the supply ports 18.
- the gas supply mechanism 4 includes a gas control unit 20 that is connected to each of the supply ports 18 and the recovery ports 19 and controls the supply/recovery of gas while adjusting a supply amount of gas as appropriate.
- the supply ports 18 (18a, 18b, 18c, and 18d) are disposed on four sides of the outer circumferential region of the pattern section 8a formed in the mold 8 as shown in FIG. 2.
- the recovery ports 19 (19a, 19b, 19c, and 19d) are disposed adjacent to four sides of the mold 8 as shown in FIG.
- the height of each of the gas discharge surfaces of the supply ports 18 is set to be equivalent to the level of the surface of the mold 8 facing toward the wafer 12.
- a preferred example of gas to be supplied by the gas supply mechanism 4 includes pentafluoropropane or the like.
- the wafer 12 is, for example, a single crystal silicon substrate or a SOI (Silicon on Insulator) substrate, and an ultraviolet curable resin (hereinafter referred to as "resin") 15, which is molded by the pattern section 8a formed in the mold 8, is applied on the treatment surface of the wafer 12.
- resin ultraviolet curable resin
- the wafer stage (substrate holding unit) 5 holds the wafer 12 and executes position matching between the mold 8 and the resin 15 during the pressing operation.
- the wafer stage 5 has a wafer chuck 21 that holds the wafer 12 by a suction force and a coplanar plate 22 that has a surface height equivalent to the level of the surface of the wafer 12 and is disposed on the outside (in the vicinity of the outer circumference) of the wafer 12.
- the wafer stage 5 has a stage drive mechanism 23 that holds the wafer chuck 21 by a mechanical unit and is movable in each axis direction.
- FIGs. 3A and 3B are schematic diagrams illustrating the configuration of the coplanar plate 22 on the wafer stage 5. In particular, FIG.
- 3A is a cross-sectional view illustrating the configuration of the coplanar plate 22 on the wafer stage 5 including the configuration of the mold 8 along section line A-A' shown in FIG. 2.
- the coplanar plate (flat plate portion) 22 maintains the filling of supply gas to the gap space between the pattern section 8a and the wafer 12 when imprint processing is performed for a shot region lying on a position away from the center of the wafer 12 as the subject for processing.
- the outer diameter of the wafer 12 fluctuates depending on each production lot. In order to accommodate such fluctuations, the inner diameter of the opening of the coplanar plate 22 facing the outer circumferential side of the wafer 12 is normally greater than the maximum outer diameter of the wafer 12.
- the imprint apparatus 1 includes a gas recovery mechanism 25 that is capable of recovering gas which is present in the gap region 24.
- the gas recovery mechanism 25 has a plurality of recovery pipes 26 provided internally in the coplanar plate 22 such that the suction ports face the gap region 24.
- FIG. 3B is a plan view illustrating the arrangement of the plurality of recovery pipes 26 provided internally in the coplanar plate 22. As shown in FIG.
- the plurality of recovery pipes 26 are radially arranged so as to be oriented in a circumferential direction from the center position where the wafer 12 is held. These recovery pipes 26 are independently connected to a gas recovery unit 27 constituting the gas recovery mechanism 25, and the gas recovery unit 27 independently recovers gas from the recovery pipes 26. Note that the plurality of recovery pipes 26 is not necessarily be directed toward the gap region 24 from the coplanar plate 22 as shown in FIG. 3. As shown in FIG. 4, the suction ports of the recovery pipes 26 may also be directed toward the gap region 24 from the wafer chuck 21 side.
- Examples of an actuator employable for the stage drive mechanism 23 include a linear motor.
- the stage drive mechanism 23 may also be constituted by a plurality of drive systems such as a coarse movement drive system, a fine movement drive system, and the like with respect to the X-axis and Y-axis directions.
- the stage drive mechanism 23 may have a drive system for adjusting the position of the wafer 12 in the Z-axis direction, a position adjustment function for adjusting the position of the wafer 12 in the theta direction, a tilt function for correcting the tilt of the wafer 12, and the like.
- the wafer stage 5 has a reference mark (not shown) that is used when the mold 8 is subjected to alignment on the surface thereof.
- the application unit 6 is installed near the mold holding mechanism 3 and applies the resin (uncured resin) 15 to the wafer 12.
- the resin 15 is a photocurable resin (imprint material) having the property of being cured by receiving irradiation of the ultraviolet light 9, and is appropriately selected depending on various conditions such as the manufacturing process of semiconductor devices or the like.
- the amount of the resin 15 to be ejected from the ejection nozzle 6a of the application unit 6 is also appropriately determined by a desired thickness of the resin 15 to be formed on the wafer 12, the density of the pattern to be formed, or the like.
- the control unit 7 may control the operation, adjustment, and the like of the components of the imprint apparatus 1.
- the control unit 7 is constituted by a computer or the like and is connected to the components of the imprint apparatus 1 through a line so as to execute control of the components by a program or the like.
- the control unit 7 of the present embodiment may control at least the gas supply mechanism 4 and the gas recovery mechanism 25.
- the control unit 7 may be integrated with the rest of the imprint apparatus 1 (provided in a common housing) or may be provided separately from the rest of the imprint apparatus 1 (provided in a separate housing).
- the imprint apparatus 1 includes an alignment measurement system (not shown) that measures a positional shift between an alignment mark formed on the wafer 12 and an alignment mark formed on the mold 8 in each direction of X-axis and Y-axis as wafer alignment.
- the control unit 7 calculates the pressing position (coordinates) based on the measurement result obtained by the alignment measurement system.
- the imprint apparatus 1 includes a base surface plate 28 on which the wafer stage 5 is placed, a bridge surface plate 29 that fixes the mold holding mechanism 3, and a strut 31 that is extended from the base surface plate 28 and supports the bridge surface plate 29 via a vibration isolator 30.
- the vibration isolator 30 removes the vibration transmitted from the floor to the bridge surface plate 29.
- the imprint apparatus 1 includes a mold conveyance mechanism (not shown) that conveys the mold 8 from the exterior of the apparatus to the mold holding mechanism 3 and a substrate conveyance mechanism 32 that conveys the wafer 12 from the exterior of the apparatus to the wafer stage 5.
- the control unit 7 causes the mold conveyance mechanism to convey the mold 8 to the mold chuck 13 and places the mold 8 on the mold chuck 13.
- the control unit 7 causes the alignment measurement system to measure a positional shift between a reference mark formed on the wafer stage 5 and an alignment mark formed on the mold 8 in each direction of X-axis, Y-axis, and theta.
- the control unit 7 executes position matching between the reference mark and the alignment mark formed on the mold 8 based on the measurement result as mold alignment.
- control unit 7 places and fixes the wafer 12 on the wafer chuck 21 of the wafer stage 5 using the substrate conveyance mechanism 32, and then moves the wafer stage 5 to the application position of the application unit 6.
- the application unit 6 applies the resin 15 to a shot region to be processed on the wafer 12.
- the control unit 7 executes wafer alignment by moving the wafer stage 5 such that the shot region is placed in a position directly below the pattern section 8a formed in the mold 8.
- the control unit 7 drives the mold drive mechanism 14 so as to press the mold 8 against the resin 15 on the wafer 12 (mold-pressing step).
- the control unit 7 executes determination whether or not the pressing operation has been completed, by a load sensor (not shown) provided internally in the mold holding mechanism 3.
- the resin 15 is filled in the convex and concave pattern of the pattern section 8a.
- the control unit 7 causes the light irradiation unit 2 to emit the ultraviolet light 9 from the top surface of the mold 8, and the resin 15 is cured by the ultraviolet light 9 that has been transmitted through the mold 8.
- the control unit 7 drives the mold drive mechanism 14 again to thereby release the mold 8 from the resin 15 (mold-releasing step).
- a three dimensionally shaped pattern (layer) of the resin 15 following the convex and concave pattern of the pattern section 8a is formed on the surface of the shot region on the wafer 12.
- Such a sequence of imprint operations is conducted two or more times while the shot region is changed under the drive of the wafer stage 5 to thereby be able to form a plurality of patterns of the resin 15 on one wafer 12.
- the control unit 7 causes the gas supply mechanism 4 to execute the supply/recovery of gas to/from the gap between the mold 8 and the wafer 12.
- the reason why the supply/recovery of gas are executed is because external leakage of pentafluoropropane, which is employed as supply gas, having a high global warming potential is not preferred and pentafluoropropane is re-purified for reuse after recovery.
- a description will be given of the supply/recovery of gas to/from the gap between the mold and the wafer using the conventional imprint apparatus. FIGs.
- FIG. 7A and 7B are schematic diagrams illustrating how the conventional imprint apparatus supplies and recovers gas.
- the same components as those of the imprint apparatus of the present embodiment are designated by the same reference numerals for ease of explanation.
- FIG. 7A is a cross-sectional view illustrating how gas is supplied and recovered when a shot region to be processed is present on the central portion of the wafer 12.
- the control unit 7 causes the stage drive mechanism 23 to move the wafer 12 with respect to the mold 8 from the minus direction to the plus direction of the X-axis and causes the gas supply mechanism 4 to supply a gas 100 from the supply port 18a toward the wafer 12.
- the supplied gas 100 passes the vicinity of the surface of the pattern section 8a while being dragged by the moving wafer 12, and is recovered by the recovery port 19c opposite to the supply port 18a with reference to the pattern section 8a. Specifically, since the supplied gas 100 in this case does not pass through the gap region 24, the supplied gas 100 does not stagnate in the gap region 24. Consequently, the gas 100 does not readily leaks out from the vicinity of the wafer 12.
- FIG. 7B is a cross-sectional view illustrating how gas is supplied and recovered when a shot region to be processed is present on the end of the wafer 12.
- the control unit 7 causes the gas supply mechanism 4 to perform the same operation as that shown in FIG. 7A in the vicinity of the end of the wafer 12
- the gas 100 enters into the interior of the gap region 24.
- the gas 100 entrapped in the gap region 24 passes along the circumferential shape of the gap region 24, which makes it difficult to recover the gas 100 by the recovery ports 19. Consequently, the gas 100 leaks out from the vicinity of the wafer 12.
- the gas recovery mechanism 25 recovers the gas entrapped in the gap region 24 so as to prevent leakage of the gas 100 from the vicinity of the wafer 12.
- FIG. 5 is a schematic plan view illustrating a state in which the gas recovery mechanism 25 of the present embodiment recovers gas present in the gap region 24 when imprint processing is performed for a shot region 40 which is located at the end of the wafer 12.
- a part of a plurality of recovery pipes 26 provided within the coplanar plate 22 that is located in the vicinity of the shot region 40 is shown, where among the recovery pipes 26, the recovery pipes 26a performing the recovery (discharge) operation are shown by black rectangles and the recovery pipes 26a not performing the recovery (discharge) operation are shown by white rectangles.
- the gas supply mechanism 4 starts the supply of gas at the position of the wafer 12, gas enters into the interior of the gap region 24 as described above.
- the control unit 7 causes the gas recovery mechanism 25 to recover the gas, which is present in the interior of the gap region 24, from the recovery pipes 26, so that leakage of the gas can be suppressed.
- the gas recovery mechanism 25 performs the recovery operation using all of the recovery pipes 26, gas present in the vicinity of the shot region 40 is also recovered, whereby the advantage of an improvement in filling property and mold-release property may not be obtained.
- the control unit 7 causes the gas recovery mechanism 25 to recover the gas at the end of the wafer 12, the recovery pipes 26b of which the suction ports are located in the vicinity of the shot region 40 refrain from performing the recovery operation as shown in FIG. 5.
- control unit 7 may determine the recovery pipes 26b not to be operated as those of which the suction ports are present between two supply ports 18b and 18d, which are located opposite to the gap region 24, of the gas supply mechanism 4. In this manner, in the imprint apparatus 1, the gas recovery mechanism 25 is operated as described above in synchronism with the operation of the gas supply mechanism 4, and thus, leakage of the supplied gas can be suppressed without degrading the filling property and mold-release property of the resin 15 with respect to the mold 8.
- FIGs. 6A and 6B correspond to FIG. 5 and are schematic plan views illustrating a state in which the number of recovery pipes 26a that perform the recovery operation has been reduced. Firstly, as in the state shown in FIG. 5, the control unit 7 determines the recovery pipes 26b not to be operated as those for which the suction ports are present between two supply ports 18b and 18d, which are located opposite to the gap region 24, of the gas supply mechanism 4.
- control unit 7 causes only two recovery pipes 26c and 26d, which are disposed adjacent to two recovery pipes 26b 1 and 26b 2 located at the outermost end of the recovery pipes 26b not to be operated, to perform the recovery operation and does not cause all of the recovery pipes 26e other than the recovery pipes 26c and 26d to perform the recovery operation as shown in FIG. 6A.
- pentafluoropropane which is employed as supply gas, is mixed with ambient gas (air) under lean mixture conditions when being recovered.
- pentafluoropropane is recovered at a high concentration so as to avoid an increase in size of a separately provided purification device.
- Pentafluoropropane can be recovered at high concentration by controlling the operation of the recovery pipes 26 as shown in FIGs. 6A and 6B. It is also contemplated that a shot region shifts from the shot region 40 which is located at the end of the wafer 12 to a shot region 41 (see FIG. 6B) to be processed during the next imprint processing. In this case, the control unit 7 can handle such situation by simply executing a sequence of switching the two recovery pipes 26c and 26d which perform the recovery operation in accordance with the position of the shot region 41 as shown in FIG. 6B.
- the imprint apparatus 1 can perform uniform imprint processing when a shot region to be processed is present on any position of the wafer 12 because the imprint apparatus 1 has the coplanar plate 22 on the wafer stage 5.
- gas such as pentafluoropropane
- leakage of gas from the gap region 24 can be suppressed without losing the advantages with regard to the filling property and the mold-release property of the resin 15 with respect to the mold 8.
- gas can be preferably recovered from the gap region 24, which may also be advantageous for re-purification and reuse of gas after recovery.
- the imprint apparatus 1 that is advantageous for improving the uniformity of imprint processing for the entire wafer 12 even when using gas that is useful for the filling property and the mold-release property of the resin 15 with respect to the mold 8 may be provided.
- a method for manufacturing a device (semiconductor integrated circuit element, liquid display element, or the like) as an article may include a step of forming a pattern on a substrate (wafer, glass plate, film-like substrate, or the like) using the imprint apparatus described above. Furthermore, the manufacturing method may include a step of etching the substrate on which a pattern has been formed. When other articles such as a patterned medium (storage medium), an optical element, or the like are manufactured, the manufacturing method may include other steps of processing the substrate on which a pattern has been formed instead of the etching step.
- the article manufacturing method of the present embodiment has an advantage, as compared with a conventional article manufacturing method, in at least one of performance, quality, productivity and production cost of an article.
Landscapes
- Engineering & Computer Science (AREA)
- Chemical & Material Sciences (AREA)
- Nanotechnology (AREA)
- Physics & Mathematics (AREA)
- Crystallography & Structural Chemistry (AREA)
- General Physics & Mathematics (AREA)
- Mathematical Physics (AREA)
- Theoretical Computer Science (AREA)
- Condensed Matter Physics & Semiconductors (AREA)
- Manufacturing & Machinery (AREA)
- Shaping Of Tube Ends By Bending Or Straightening (AREA)
- Exposure Of Semiconductors, Excluding Electron Or Ion Beam Exposure (AREA)
Priority Applications (1)
| Application Number | Priority Date | Filing Date | Title |
|---|---|---|---|
| US14/238,525 US9694535B2 (en) | 2011-09-21 | 2012-09-18 | Imprint apparatus and article manufacturing method using same |
Applications Claiming Priority (2)
| Application Number | Priority Date | Filing Date | Title |
|---|---|---|---|
| JP2011205432A JP5787691B2 (ja) | 2011-09-21 | 2011-09-21 | インプリント装置、それを用いた物品の製造方法 |
| JP2011-205432 | 2011-09-21 |
Publications (1)
| Publication Number | Publication Date |
|---|---|
| WO2013042350A1 true WO2013042350A1 (en) | 2013-03-28 |
Family
ID=47914138
Family Applications (1)
| Application Number | Title | Priority Date | Filing Date |
|---|---|---|---|
| PCT/JP2012/005938 Ceased WO2013042350A1 (en) | 2011-09-21 | 2012-09-18 | Imprint apparatus and article manufacturing method using same |
Country Status (3)
| Country | Link |
|---|---|
| US (1) | US9694535B2 (enExample) |
| JP (1) | JP5787691B2 (enExample) |
| WO (1) | WO2013042350A1 (enExample) |
Cited By (4)
| Publication number | Priority date | Publication date | Assignee | Title |
|---|---|---|---|---|
| CN104730860A (zh) * | 2013-12-20 | 2015-06-24 | 佳能株式会社 | 压印装置、异物去除方法及物品制造方法 |
| US20150360394A1 (en) * | 2014-06-13 | 2015-12-17 | Canon Kabushiki Kaisha | Imprint apparatus, imprint method, method of manufacturing article, and supply apparatus |
| CN105652591A (zh) * | 2014-12-02 | 2016-06-08 | 佳能株式会社 | 压印装置及物品的制造方法 |
| US20160327857A1 (en) * | 2014-01-21 | 2016-11-10 | Canon Kabushiki Kaisha | Imprint apparatus and method of manufacturing article |
Families Citing this family (17)
| Publication number | Priority date | Publication date | Assignee | Title |
|---|---|---|---|---|
| WO2015181924A1 (ja) * | 2014-05-29 | 2015-12-03 | キヤノン株式会社 | 塗布装置、インプリント装置および物品の製造方法 |
| JP6320183B2 (ja) * | 2014-06-10 | 2018-05-09 | キヤノン株式会社 | インプリント装置、インプリント方法、および物品製造方法 |
| EP3264180B1 (en) | 2015-02-23 | 2020-01-08 | Nikon Corporation | Substrate processing system and substrate processing method, and device manufacturing method |
| HK1246871A1 (en) | 2015-02-23 | 2018-09-14 | Nikon Corporation | Measurement device, lithography system and exposure device, and management method, superposition measurement method and device manufacturing method |
| WO2016136689A1 (ja) * | 2015-02-23 | 2016-09-01 | 株式会社ニコン | 計測装置、リソグラフィシステム及び露光装置、並びにデバイス製造方法 |
| JP6643048B2 (ja) * | 2015-11-09 | 2020-02-12 | キヤノン株式会社 | 基板を処理する装置、物品の製造方法、および気体供給経路 |
| WO2017134989A1 (ja) * | 2016-02-03 | 2017-08-10 | キヤノン株式会社 | インプリント装置および物品の製造方法 |
| JP6702753B2 (ja) * | 2016-02-17 | 2020-06-03 | キヤノン株式会社 | リソグラフィ装置、及び物品の製造方法 |
| WO2017145924A1 (ja) * | 2016-02-26 | 2017-08-31 | キヤノン株式会社 | インプリント装置およびその動作方法ならびに物品製造方法 |
| JP6603678B2 (ja) * | 2016-02-26 | 2019-11-06 | キヤノン株式会社 | インプリント装置およびその動作方法ならびに物品製造方法 |
| JP2017157641A (ja) * | 2016-02-29 | 2017-09-07 | キヤノン株式会社 | インプリント装置、インプリント方法、および物品の製造方法 |
| CN106228913B (zh) * | 2016-08-24 | 2022-12-30 | 京东方科技集团股份有限公司 | 转印设备及其转印方法 |
| JP7058951B2 (ja) * | 2017-05-24 | 2022-04-25 | キヤノン株式会社 | インプリント装置、および物品の製造方法 |
| US10895806B2 (en) * | 2017-09-29 | 2021-01-19 | Canon Kabushiki Kaisha | Imprinting method and apparatus |
| JP7262930B2 (ja) * | 2018-04-26 | 2023-04-24 | キヤノン株式会社 | 型を用いて基板上の組成物を成形する成形装置、成形方法、および物品の製造方法 |
| US12145308B2 (en) | 2019-11-12 | 2024-11-19 | Morphotonics Holding B.V. | Apparatus for a roll-to-plate imprinting process comprising a plate carrier with compensating material |
| JP7323937B2 (ja) * | 2020-05-22 | 2023-08-09 | アピックヤマダ株式会社 | 樹脂モールド装置 |
Citations (2)
| Publication number | Priority date | Publication date | Assignee | Title |
|---|---|---|---|---|
| JP2004103817A (ja) * | 2002-09-10 | 2004-04-02 | National Institute Of Advanced Industrial & Technology | インプリント方法及び装置 |
| WO2011102240A1 (ja) * | 2010-02-16 | 2011-08-25 | 東京エレクトロン株式会社 | インプリント方法 |
Family Cites Families (32)
| Publication number | Priority date | Publication date | Assignee | Title |
|---|---|---|---|---|
| US5997963A (en) * | 1998-05-05 | 1999-12-07 | Ultratech Stepper, Inc. | Microchamber |
| SE515607C2 (sv) * | 1999-12-10 | 2001-09-10 | Obducat Ab | Anordning och metod vid tillverkning av strukturer |
| US20080164638A1 (en) * | 2006-11-28 | 2008-07-10 | Wei Zhang | Method and apparatus for rapid imprint lithography |
| US7019819B2 (en) * | 2002-11-13 | 2006-03-28 | Molecular Imprints, Inc. | Chucking system for modulating shapes of substrates |
| US7641840B2 (en) * | 2002-11-13 | 2010-01-05 | Molecular Imprints, Inc. | Method for expelling gas positioned between a substrate and a mold |
| US7090716B2 (en) * | 2003-10-02 | 2006-08-15 | Molecular Imprints, Inc. | Single phase fluid imprint lithography method |
| JP4393244B2 (ja) * | 2004-03-29 | 2010-01-06 | キヤノン株式会社 | インプリント装置 |
| EP3285282A1 (en) * | 2004-12-15 | 2018-02-21 | Nikon Corporation | Exposure apparatus and device fabricating method |
| US7490547B2 (en) * | 2004-12-30 | 2009-02-17 | Asml Netherlands B.V. | Imprint lithography |
| US7377764B2 (en) * | 2005-06-13 | 2008-05-27 | Asml Netherlands B.V. | Imprint lithography |
| US7670534B2 (en) * | 2005-09-21 | 2010-03-02 | Molecular Imprints, Inc. | Method to control an atmosphere between a body and a substrate |
| JPWO2007094213A1 (ja) * | 2006-02-14 | 2009-07-02 | パイオニア株式会社 | インプリント装置及びインプリント方法 |
| JP4536148B2 (ja) * | 2006-04-03 | 2010-09-01 | モレキュラー・インプリンツ・インコーポレーテッド | リソグラフィ・インプリント・システム |
| US7755740B2 (en) * | 2007-02-07 | 2010-07-13 | Canon Kabushiki Kaisha | Exposure apparatus |
| JP2008218976A (ja) | 2007-02-07 | 2008-09-18 | Canon Inc | 露光装置 |
| KR101289337B1 (ko) * | 2007-08-29 | 2013-07-29 | 시게이트 테크놀로지 엘엘씨 | 양면 임프린트 리소그래피 장치 |
| JP4578517B2 (ja) * | 2007-12-26 | 2010-11-10 | Scivax株式会社 | インプリント装置およびインプリント方法 |
| JP5121549B2 (ja) * | 2008-04-21 | 2013-01-16 | 株式会社東芝 | ナノインプリント方法 |
| US20100096764A1 (en) * | 2008-10-20 | 2010-04-22 | Molecular Imprints, Inc. | Gas Environment for Imprint Lithography |
| JP2010149482A (ja) * | 2008-12-26 | 2010-07-08 | Toshiba Corp | インプリント用モールドおよびパターン形成方法 |
| JP5416420B2 (ja) * | 2009-01-22 | 2014-02-12 | 株式会社日立ハイテクノロジーズ | 微細構造転写装置 |
| NL2004685A (en) * | 2009-07-27 | 2011-01-31 | Asml Netherlands Bv | Imprint lithography apparatus and method. |
| US20110180964A1 (en) * | 2010-01-27 | 2011-07-28 | Molecular Imprints. Inc. | Systems and methods for substrate formation |
| JP5848263B2 (ja) * | 2010-02-09 | 2016-01-27 | モレキュラー・インプリンツ・インコーポレーテッド | ナノインプリントのためのプロセスガス閉じ込め |
| JP5618588B2 (ja) * | 2010-03-24 | 2014-11-05 | キヤノン株式会社 | インプリント方法 |
| JP2012039057A (ja) * | 2010-07-13 | 2012-02-23 | Canon Inc | インプリント装置及び物品の製造方法 |
| JP2012080015A (ja) * | 2010-10-05 | 2012-04-19 | Canon Inc | インプリント装置及び物品の製造方法 |
| JP5930622B2 (ja) * | 2010-10-08 | 2016-06-08 | キヤノン株式会社 | インプリント装置、及び、物品の製造方法 |
| JP5679850B2 (ja) * | 2011-02-07 | 2015-03-04 | キヤノン株式会社 | インプリント装置、および、物品の製造方法 |
| JP5647029B2 (ja) * | 2011-02-18 | 2014-12-24 | キヤノン株式会社 | インプリント装置及び物品の製造方法 |
| JP5289492B2 (ja) * | 2011-03-23 | 2013-09-11 | 株式会社東芝 | インプリント方法およびインプリント装置 |
| JP2013026573A (ja) * | 2011-07-25 | 2013-02-04 | Canon Inc | インプリント装置、および、物品の製造方法 |
-
2011
- 2011-09-21 JP JP2011205432A patent/JP5787691B2/ja not_active Expired - Fee Related
-
2012
- 2012-09-18 US US14/238,525 patent/US9694535B2/en not_active Expired - Fee Related
- 2012-09-18 WO PCT/JP2012/005938 patent/WO2013042350A1/en not_active Ceased
Patent Citations (2)
| Publication number | Priority date | Publication date | Assignee | Title |
|---|---|---|---|---|
| JP2004103817A (ja) * | 2002-09-10 | 2004-04-02 | National Institute Of Advanced Industrial & Technology | インプリント方法及び装置 |
| WO2011102240A1 (ja) * | 2010-02-16 | 2011-08-25 | 東京エレクトロン株式会社 | インプリント方法 |
Cited By (11)
| Publication number | Priority date | Publication date | Assignee | Title |
|---|---|---|---|---|
| CN104730860A (zh) * | 2013-12-20 | 2015-06-24 | 佳能株式会社 | 压印装置、异物去除方法及物品制造方法 |
| US10201927B2 (en) | 2013-12-20 | 2019-02-12 | Canon Kabushiki Kaisha | Imprint apparatus, foreign particle removal method, and method of manufacturing article |
| CN104730860B (zh) * | 2013-12-20 | 2019-06-28 | 佳能株式会社 | 压印装置、异物去除方法及物品制造方法 |
| US20160327857A1 (en) * | 2014-01-21 | 2016-11-10 | Canon Kabushiki Kaisha | Imprint apparatus and method of manufacturing article |
| US10197911B2 (en) * | 2014-01-21 | 2019-02-05 | Canon Kabushiki Kaisha | Imprint apparatus and method of manufacturing article |
| US20150360394A1 (en) * | 2014-06-13 | 2015-12-17 | Canon Kabushiki Kaisha | Imprint apparatus, imprint method, method of manufacturing article, and supply apparatus |
| CN105652591A (zh) * | 2014-12-02 | 2016-06-08 | 佳能株式会社 | 压印装置及物品的制造方法 |
| KR20160066499A (ko) * | 2014-12-02 | 2016-06-10 | 캐논 가부시끼가이샤 | 임프린트 장치 및 물품의 제조 방법 |
| KR102010620B1 (ko) | 2014-12-02 | 2019-08-13 | 캐논 가부시끼가이샤 | 임프린트 장치 및 물품의 제조 방법 |
| US10423064B2 (en) * | 2014-12-02 | 2019-09-24 | Canon Kabushiki Kaisha | Imprint apparatus and method of manufacturing article |
| CN105652591B (zh) * | 2014-12-02 | 2020-04-28 | 佳能株式会社 | 压印装置及物品的制造方法 |
Also Published As
| Publication number | Publication date |
|---|---|
| JP5787691B2 (ja) | 2015-09-30 |
| US20140191441A1 (en) | 2014-07-10 |
| US9694535B2 (en) | 2017-07-04 |
| JP2013069732A (ja) | 2013-04-18 |
Similar Documents
| Publication | Publication Date | Title |
|---|---|---|
| US9694535B2 (en) | Imprint apparatus and article manufacturing method using same | |
| US9285675B2 (en) | Imprint apparatus | |
| US10095117B2 (en) | Imprint apparatus | |
| KR101698253B1 (ko) | 임프린트 장치 및 임프린트 방법 그리고 물품 제조 방법 | |
| US8678808B2 (en) | Imprint apparatus and article manufacturing method | |
| US9770850B2 (en) | Imprint apparatus and article manufacturing method | |
| TWI627050B (zh) | 壓印方法、壓印設備、模具及製造半導體裝置的方法 | |
| JP5647029B2 (ja) | インプリント装置及び物品の製造方法 | |
| US8734702B2 (en) | Original and article manufacturing method using same | |
| KR102025975B1 (ko) | 임프린트 장치 및 물품의 제조 방법 | |
| JP6423641B2 (ja) | インプリント装置、物品の製造方法及びインプリント方法 | |
| JP2013254783A (ja) | インプリント方法およびインプリント装置、それを用いた物品の製造方法 | |
| JP5822597B2 (ja) | インプリント装置、及びそれを用いた物品の製造方法 | |
| JP2019021762A (ja) | インプリント装置、インプリント方法および、物品製造方法 | |
| JP2017112230A (ja) | インプリント装置および物品製造方法 | |
| JP6304921B2 (ja) | インプリント方法およびインプリント装置、それを用いた物品の製造方法 | |
| JP2013030639A (ja) | 型、それを用いたインプリント装置、インプリント方法および物品の製造方法 | |
| KR20190124643A (ko) | 몰드를 사용해서 기판 상의 조성물을 성형하는 성형 장치, 성형 방법 및 물품의 제조 방법 | |
| KR102459132B1 (ko) | 임프린트 방법 및 제조 방법 | |
| KR20170054455A (ko) | 임프린트 장치, 임프린트 방법, 및 물품 제조 방법 | |
| JP2019016648A (ja) | インプリント方法、インプリント装置および、物品製造方法 | |
| US10018923B2 (en) | Lithography apparatus, and method of manufacturing article | |
| JP2023179278A (ja) | 成形装置、インプリント装置及び物品の製造方法 | |
| JP2013062287A (ja) | 型、それを用いたインプリント方法および物品の製造方法 | |
| JP2019021797A (ja) | インプリント装置、インプリント方法および、物品製造方法 |
Legal Events
| Date | Code | Title | Description |
|---|---|---|---|
| 121 | Ep: the epo has been informed by wipo that ep was designated in this application |
Ref document number: 12833068 Country of ref document: EP Kind code of ref document: A1 |
|
| WWE | Wipo information: entry into national phase |
Ref document number: 14238525 Country of ref document: US |
|
| NENP | Non-entry into the national phase |
Ref country code: DE |
|
| 122 | Ep: pct application non-entry in european phase |
Ref document number: 12833068 Country of ref document: EP Kind code of ref document: A1 |