WO2013008621A1 - コイルの巻線方法及び巻線装置 - Google Patents

コイルの巻線方法及び巻線装置 Download PDF

Info

Publication number
WO2013008621A1
WO2013008621A1 PCT/JP2012/066327 JP2012066327W WO2013008621A1 WO 2013008621 A1 WO2013008621 A1 WO 2013008621A1 JP 2012066327 W JP2012066327 W JP 2012066327W WO 2013008621 A1 WO2013008621 A1 WO 2013008621A1
Authority
WO
WIPO (PCT)
Prior art keywords
winding
unit
coil
shaft
shaft body
Prior art date
Legal status (The legal status is an assumption and is not a legal conclusion. Google has not performed a legal analysis and makes no representation as to the accuracy of the status listed.)
Ceased
Application number
PCT/JP2012/066327
Other languages
English (en)
French (fr)
Japanese (ja)
Inventor
吉森 平
Current Assignee (The listed assignees may be inaccurate. Google has not performed a legal analysis and makes no representation or warranty as to the accuracy of the list.)
SHT Corp Ltd
Original Assignee
SHT Corp Ltd
Priority date (The priority date is an assumption and is not a legal conclusion. Google has not performed a legal analysis and makes no representation as to the accuracy of the date listed.)
Filing date
Publication date
Application filed by SHT Corp Ltd filed Critical SHT Corp Ltd
Priority to KR1020187024382A priority Critical patent/KR101948499B1/ko
Priority to KR1020147000739A priority patent/KR101910225B1/ko
Priority to CN201280033950.3A priority patent/CN103843088B/zh
Publication of WO2013008621A1 publication Critical patent/WO2013008621A1/ja
Priority to US14/149,778 priority patent/US20140184379A1/en
Anticipated expiration legal-status Critical
Priority to US15/268,358 priority patent/US10418173B2/en
Ceased legal-status Critical Current

Links

Images

Classifications

    • HELECTRICITY
    • H01ELECTRIC ELEMENTS
    • H01FMAGNETS; INDUCTANCES; TRANSFORMERS; SELECTION OF MATERIALS FOR THEIR MAGNETIC PROPERTIES
    • H01F41/00Apparatus or processes specially adapted for manufacturing or assembling magnets, inductances or transformers; Apparatus or processes specially adapted for manufacturing materials characterised by their magnetic properties
    • H01F41/02Apparatus or processes specially adapted for manufacturing or assembling magnets, inductances or transformers; Apparatus or processes specially adapted for manufacturing materials characterised by their magnetic properties for manufacturing cores, coils, or magnets
    • H01F41/04Apparatus or processes specially adapted for manufacturing or assembling magnets, inductances or transformers; Apparatus or processes specially adapted for manufacturing materials characterised by their magnetic properties for manufacturing cores, coils, or magnets for manufacturing coils
    • H01F41/06Coil winding
    • H01F41/064Winding non-flat conductive wires, e.g. rods, cables or cords
    • HELECTRICITY
    • H01ELECTRIC ELEMENTS
    • H01FMAGNETS; INDUCTANCES; TRANSFORMERS; SELECTION OF MATERIALS FOR THEIR MAGNETIC PROPERTIES
    • H01F27/00Details of transformers or inductances, in general
    • H01F27/28Coils; Windings; Conductive connections
    • H01F27/2823Wires
    • BPERFORMING OPERATIONS; TRANSPORTING
    • B21MECHANICAL METAL-WORKING WITHOUT ESSENTIALLY REMOVING MATERIAL; PUNCHING METAL
    • B21FWORKING OR PROCESSING OF METAL WIRE
    • B21F3/00Coiling wire into particular forms
    • B21F3/10Coiling wire into particular forms to spirals other than flat, e.g. conical
    • HELECTRICITY
    • H01ELECTRIC ELEMENTS
    • H01FMAGNETS; INDUCTANCES; TRANSFORMERS; SELECTION OF MATERIALS FOR THEIR MAGNETIC PROPERTIES
    • H01F41/00Apparatus or processes specially adapted for manufacturing or assembling magnets, inductances or transformers; Apparatus or processes specially adapted for manufacturing materials characterised by their magnetic properties
    • H01F41/02Apparatus or processes specially adapted for manufacturing or assembling magnets, inductances or transformers; Apparatus or processes specially adapted for manufacturing materials characterised by their magnetic properties for manufacturing cores, coils, or magnets
    • H01F41/04Apparatus or processes specially adapted for manufacturing or assembling magnets, inductances or transformers; Apparatus or processes specially adapted for manufacturing materials characterised by their magnetic properties for manufacturing cores, coils, or magnets for manufacturing coils
    • H01F41/06Coil winding
    • H01F41/082Devices for guiding or positioning the winding material on the former
    • H01F41/086Devices for guiding or positioning the winding material on the former in a special configuration on the former, e.g. orthocyclic coils or open mesh coils
    • HELECTRICITY
    • H01ELECTRIC ELEMENTS
    • H01FMAGNETS; INDUCTANCES; TRANSFORMERS; SELECTION OF MATERIALS FOR THEIR MAGNETIC PROPERTIES
    • H01F41/00Apparatus or processes specially adapted for manufacturing or assembling magnets, inductances or transformers; Apparatus or processes specially adapted for manufacturing materials characterised by their magnetic properties
    • H01F41/02Apparatus or processes specially adapted for manufacturing or assembling magnets, inductances or transformers; Apparatus or processes specially adapted for manufacturing materials characterised by their magnetic properties for manufacturing cores, coils, or magnets
    • H01F41/04Apparatus or processes specially adapted for manufacturing or assembling magnets, inductances or transformers; Apparatus or processes specially adapted for manufacturing materials characterised by their magnetic properties for manufacturing cores, coils, or magnets for manufacturing coils
    • H01F41/06Coil winding
    • H01F41/098Mandrels; Formers
    • HELECTRICITY
    • H01ELECTRIC ELEMENTS
    • H01FMAGNETS; INDUCTANCES; TRANSFORMERS; SELECTION OF MATERIALS FOR THEIR MAGNETIC PROPERTIES
    • H01F5/00Coils

Definitions

  • the present invention relates to a winding method and a winding device for a coil composed of a plurality of coil layers.
  • the applicant has developed a coil (2) in which unit coil portions (23) formed by winding a conducting wire (22) in a spiral shape are repeatedly arranged in the winding axis direction.
  • a first unit winding part (25) and a second unit having different inner circumferential lengths are obtained by winding a conducting wire in a spiral shape.
  • the winding part (26) and the third unit winding part (27) are formed continuously in the winding axis direction, and the unit coil part composed of the plurality of unit winding parts (25) (26) (27) is wound.
  • the intermediate product (20) of the air-core coil continuously formed in the axial direction the intermediate product (20) is compressed in the winding axis direction, and the third unit as shown in FIG.
  • Patent Document 1 a method for obtaining a finished product (21) of an air-core coil composed of a plurality of coil layers (three layers in the illustrated example) is known (Patent Document 1).
  • Patent Document 1 As a method for producing the intermediate product (20) of the air-core coil shown in FIG. 18 (a), a method using a stepped winding jig corresponding to the cavity shape of the intermediate product (20) (Patent Document 1). In addition, an automatic winding machine is known that winds a conductor around the core member while changing the form of the core member for each winding step of each unit winding part (Patent Document 2).
  • the method using a stepped winding jig has a problem of poor production efficiency because the winding work is a manual work.
  • an automatic winding machine that winds a conductor around the core member while changing the form of the core member for each winding process of each unit winding part, for each winding process of each unit winding part
  • the configuration for changing the form of the core member is complicated.
  • an object of the present invention is to form a plurality of unit winding portions having different inner peripheral lengths in a simple configuration, continuously in the winding axis direction, and to wind a unit coil portion composed of the plurality of unit winding portions. It is an object to provide a coil winding method and a winding apparatus capable of producing a coil continuously formed in the axial direction.
  • a plurality of unit winding portions having different inner peripheral lengths are continuously formed in the winding axis direction, and each unit winding portion is formed in a loop shape having a plurality of arc-shaped corner portions.
  • a coil unit is wound along the winding path, and a unit coil unit composed of the plurality of unit coil units is formed continuously in the winding axis direction.
  • the plurality of unit winding portions constituting each unit coil portion are formed in an arc shape in which a plurality of corner portions formed at the same phase angle with respect to the winding axis have a center of curvature at the same position. .
  • a plurality of unit winding portions having different inner peripheral lengths are continuously formed in the winding axis direction, and each unit winding portion has a plurality of arc-shaped corner portions.
  • a winding method of a coil wound along a loop-shaped winding path wherein a unit coil portion composed of the plurality of unit winding portions is continuously formed in a winding axis direction,
  • the pressing member (61) By rotating the pressing member (61) to press the conducting wire (22) along a circumferential path centering on the shaft body (5), the conducting wire (22) is placed on the outer peripheral surface of the shaft body (5).
  • a second step of forming an arcuate corner by winding a predetermined angle, and forming one unit winding by repeating the first step and the second step by the number of corners In the process of forming the unit winding part, by changing the outer diameter of the shaft body (5) at the time of forming each corner part, in the plurality of unit winding parts constituting each unit coil part, the same with respect to the winding axis A plurality of corner portions formed at the phase angle are formed in an arc shape having a center of curvature at the same position and different curvature radii.
  • each unit coil portion is multilayered at least partially.
  • a plurality of unit winding portions having different inner peripheral lengths are formed continuously in the winding axis direction, and each unit winding portion has a plurality of arc-shaped corner portions.
  • a coil winding device that is wound along a loop-shaped winding path, and in which a unit coil portion including the plurality of unit winding portions is continuously formed in a winding axis direction,
  • the shaft (5) A conductor transfer mechanism (4) for transferring the conductor (22) along a straight transition path intersecting with the shaft body (5) and for bringing the conductor (22) along the outer peripheral surface of the shaft body (5); , By rotating the pressing member (61) to press the conducting wire (22) along a circumferential path centering on the shaft body (5), the conducting wire (22) is placed on the outer peripheral surface of the shaft body (5). Bending mechanism to bend along (6) And has.
  • the shaft body (5) is composed of a plurality of shaft portions (51), (52), and (53) arranged on a concentric shaft with the winding shaft, and the shaft body (5)
  • the shaft portion (51) is connected to a reciprocating drive mechanism for reciprocally moving the other shaft portions (52) and (53) along the winding shaft.
  • a guide plate (9) is provided that surrounds the shaft (5) and guides the lead wire (22) bent in a loop shape by the bending mechanism (6).
  • the surface of the guide plate (9) has an inclination corresponding to the lead angle of the unit winding portion with respect to a plane orthogonal to the shaft body (5).
  • a plurality of unit windings constituting each unit coil unit are formed at a plurality of phase angles with respect to the winding axis. Since the corner portions are formed in an arc shape having the center of curvature at the same position, when each unit coil portion is multi-layered at least partially, the inner unit winding portion and the outer unit winding in the multi-layer portion. As a result, the space factor of the conducting wire increases.
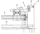
  • FIG. 1 is a plan view showing an entire coil winding device according to the present invention.
  • FIG. 2 is a front view showing the entire winding device.
  • FIG. 3 is a plan view of the first carriage.
  • FIG. 4 is a front view of the shaft body and its peripheral mechanism.
  • FIG. 5 is a cross-sectional view of the shaft body.
  • FIG. 6 is a plan view of the shaft body and its peripheral mechanism.
  • FIG. 7 is a front view of the bending mechanism.
  • FIG. 8 is a perspective view of the shaft body and the bending mechanism.
  • FIG. 9 is a perspective view for explaining the operation of the shaft body.
  • FIG. 10 is a cross-sectional view illustrating the dimensional relationship between the shaft body and the coil intermediate product.
  • FIG. 10 is a cross-sectional view illustrating the dimensional relationship between the shaft body and the coil intermediate product.
  • FIG. 11 is an enlarged plan view showing a corner of the coil intermediate product.
  • FIG. 12 is a series of plan views for explaining the first stage of the coil winding process.
  • FIG. 13 is a series of plan views for explaining the second stage of the coil winding process.
  • FIG. 14 is a series of plan views for explaining the third stage of the coil winding process.
  • FIG. 15 is a series of plan views for explaining the fourth stage of the coil winding process.
  • FIG. 16 is a series of plan views for explaining the fifth stage of the coil winding process.
  • FIG. 17 is a perspective view of the completed state of the coil.
  • FIG. 18 is a diagram illustrating a compression process for obtaining a finished product from an intermediate coil product.
  • the lead wire (22) is transferred from right to left along a straight line on a horizontal plane.
  • the winding device has a first carriage (slidable in the front-rear direction perpendicular to the transition path of the conductor (22) on a base (1) having a horizontal surface. 11) is provided, and on the left side of the first carriage (11), the shaft body (5) projecting vertically upward and the shaft body (5) can be rotated in an angular range exceeding 90 degrees.
  • a rotating table (12) is provided.
  • a second carriage (13) capable of sliding in the front-rear direction at the initial position of the turntable (12) shown in FIG.
  • a pressing member (61) capable of pressing the conducting wire (22) is attached to the end of the shaft (5) as shown in FIG.
  • the first carriage 11 has a pair of reciprocating guide mechanisms 71, 72 at the left and right ends, and is moved back and forth by an arbitrary distance by the first reciprocating drive mechanism 7. I can do it. Further, the second carriage 13 can be moved back and forth by an arbitrary distance by the second reciprocating drive mechanism 8 shown in FIG.
  • a motor (62) is linked to the turntable (12) via a belt mechanism (63) shown in FIG. Thereby, the bending mechanism (6) for winding the conducting wire (22) around the outer peripheral surface of the shaft body (5) is configured.
  • a lead wire feeding mechanism (3) for feeding the lead wire (22) from the upstream side toward the downstream side is connected to the first carriage (11) at the right end on the upstream side of the lead wire (22). .
  • the lead wire transfer mechanism (4) includes a first gripping mechanism (41) and a second gripping mechanism (42).
  • a motor (44) is connected to the first gripping mechanism (41) via a shaft (43) shown in FIG. 2, and when the motor (44) is driven, the first gripping mechanism (41) is connected to a lead wire (22). ) Reciprocate along the transition path.
  • the first gripping mechanism (41) moves the lead wire (22) according to the moving distance by moving from the downstream position to the upstream side while gripping the lead wire (22), and then grips the lead wire (22). It returns to the original downstream position in a state in which is released.
  • the second holding mechanism (42) releases the holding of the conducting wire (22) during the holding period of the conducting wire (22) by the first holding mechanism (41) and holds the conducting wire (22) by the first holding mechanism (41). During the release, the conductor (22) is gripped.
  • the shaft body (5) is disposed along the transition path of the conducting wire (22). As shown in FIG. 5, the shaft body (5) is coaxial with the winding shaft S as a center, and has a round shaft-shaped first shaft portion (51). And a cylindrical second shaft portion (52) and a cylindrical third shaft portion (53).
  • the first shaft portion (51) is connected to the first reciprocating drive mechanism (54) shown in FIG.
  • the second shaft portion (52) and the third shaft portion (53) are respectively connected to the second reciprocating drive mechanism (55) and the third reciprocating drive mechanism (56) shown in FIG.
  • the second shaft portion (52) of the shaft body (5) has an outer diameter obtained by adding twice the outer diameter of the conducting wire to the outer diameter of the first shaft portion (51).
  • the third shaft portion (53) has an outer diameter obtained by adding twice the outer diameter of the conducting wire to the outer diameter of the second shaft portion (52).
  • the turntable (12) constituting the bending mechanism (6) reciprocates along a circumferential line R around the winding axis S of the conducting wire.
  • the second carriage 13 on the turntable 12 reciprocates along a linear path P that approaches and separates from the winding axis S of the conducting wire. Accordingly, the pressing member (61) constituting the bending mechanism (6) approaches and separates from the shaft body (5) and rotates around the shaft body (5).
  • the pressing member (61) is formed with a concave groove (60) extending along the transition path of the conducting wire (22). Further, a U-shaped guide plate (9) is installed in the vicinity of the shaft body (5).
  • the first carriage (11) moves forward so that the lead wire (22) is connected to the first shaft portion (51) of the shaft body (5), While moving parallel to the position along the outer peripheral surface of the biaxial portion (52) or the third axial portion (53), the second carriage (13) moves forward so that the pressing member (61) moves the conductive wire (22).
  • the conducting wire (22) is transferred by a predetermined distance.
  • the transfer distance of the conducting wire (22) is set to a size corresponding to the length of each of the four sides of the unit winding portion to be formed.
  • the pressing member (61) is rotated by a predetermined rotation angle ⁇ exceeding 90 degrees from the initial position along the conducting wire (22), whereby the conducting wire (22) is turned into the first shaft portion of the shaft body (5). (51) It is bent by 90 degrees along the outer peripheral surface of the second shaft portion (52) or the third shaft portion (53).
  • the rotation angle ⁇ of the pressing member (61) is slightly larger than 90 degrees, the conductor (22) has a bending angle of 90 degrees due to the spring back.
  • the conducting wire (22) extending beyond the shaft body (5) slides along the surface of the guide plate (9).
  • the guide plate (9) has an inclination angle corresponding to the lead angle of the unit winding portion, and the conductive wire (22) slides along the surface of the guide plate (9). A predetermined lead angle is given to the conducting wire (22).
  • One unit winding part having four arcuate corners is formed by repeating the transfer process and bending process of the conducting wire (22) described above four times. Then, the shaft portion of the shaft body (5) around which the conducting wire (22) is to be wound is changed to another shaft portion having a different outer diameter, and the first carriage (11) and the first shaft are changed according to the outer diameter of the shaft portion. 2 With the carriage (13) moved back and forth, the next unit winding part having four arcuate corners can be obtained by repeating the transfer process and bending process of the conductor (22) four times. It is formed.
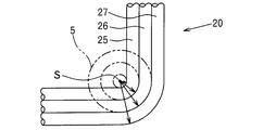
  • the corners of the first unit winding portion (25) formed by winding the conductive wire around the outer peripheral surface of the first shaft portion (51) of the shaft body (5), and the second shaft portion A corner portion of the second unit winding portion (26) formed by winding a conducting wire around the outer peripheral surface of (52) and a third unit winding portion formed by winding the conducting wire around the outer peripheral surface of the third shaft portion (53)
  • the corner of (27) has a common center of curvature coinciding with the winding axis S.
  • the first unit winding portion (25), the second unit winding portion (26) and the third unit winding portion (27) are formed into one unit as shown in FIG.
  • the coil part (23) an air core coil intermediate product (20) in which the unit coil part (23) is repeatedly formed is obtained.
  • step S1 of FIG. 12 the conducting wire (22) is placed along the outer peripheral surface of the first shaft portion (51), and the pressing member (61) is placed along the conducting wire (22).
  • step S3 the pressing member (61) is rotated to bend the lead wire (22).
  • step S4 the pressing member (61) is returned to the initial position.
  • step S5 the conductor (22) is transferred by a predetermined distance (the length of the short side of the unit winding portion), and in step S6, the pressing member (61) is rotated to bend the conductor (22). .
  • a second arc-shaped corner portion corresponding to the outer diameter of the first shaft portion (51) is formed.
  • step S7 the pressing member (61) is returned to the initial position. Then, in step S8 of FIG. 13, the conductor (22) is transferred by a predetermined distance (the length of the long side of the unit winding portion), and then in step S9, the pressing member (61) is rotated to conduct the conductor (22). Bend. As a result, a third arcuate corner portion corresponding to the outer diameter of the first shaft portion (51) is formed.
  • step S10 the pressing member (61) is returned to the initial position.
  • step S11 the conductive wire (22) is transferred by a predetermined distance (the length of the short side of the unit winding portion), and in step S12, the pressing member (61) is rotated to bend the conductive wire (22). .
  • a fourth arc-shaped corner portion corresponding to the outer diameter of the first shaft portion (51) is formed, and the first unit winding portion (25) is wound.
  • step S13 the pressing member (61) is returned to the initial position.
  • step S14 in FIG. 14 the conductor (22) is transferred by a predetermined distance (the length of the long side of the unit winding portion), and then in step S15, the first carriage (11) and the second carriage (13 ) Is retracted by a distance corresponding to the outer diameter of the conductor (22).
  • step S17 the pressing member (61) is rotated to bend the conducting wire (22). As a result, a first arc-shaped corner portion corresponding to the outer diameter of the second shaft portion (52) is formed.
  • step S18 the pressing member (61) is returned to the initial position.
  • step S19 the conductor (22) is transferred by a predetermined distance (the length of the short side of the unit winding portion), and then in step S20 of FIG. 15, the pressing member (61) is rotated to thereby conduct the conductor (22). Bend. As a result, a second arc-shaped corner corresponding to the outer diameter of the second shaft portion (52) is formed.
  • step S21 the pressing member (61) is returned to the initial position.
  • step S22 the conductor (22) is transferred by a predetermined distance (the length of the long side of the unit winding portion), and in step S23, the pressing member (61) is rotated to bend the conductor (22). .
  • a third arc-shaped corner corresponding to the outer diameter of the second shaft portion (52) is formed.
  • step S24 the pressing member (61) is returned to the initial position.
  • step S25 after the conducting wire (22) is transferred by a predetermined distance (the length of the short side of the unit winding portion), in step S26 in FIG. 16, the pressing member (61) is rotated to conduct the conducting wire (22). Bend.
  • a fourth arc-shaped corner portion corresponding to the outer diameter of the second shaft portion (52) is formed, and the second unit winding portion (26) is wound.
  • step S27 the pressing member (61) is returned to the initial position.
  • step S28 the conductor (22) is transferred by a predetermined distance (the length of the long side of the unit winding portion), and then in step S29, the first carriage (11) and the second carriage (13) are connected to the conductor. Retract by a distance corresponding to the outer diameter of (22).
  • step S31 the pressing member (61) is rotated to bend the conducting wire (22). As a result, a first arc-shaped corner portion corresponding to the outer diameter of the third shaft portion (53) is formed.
  • the third unit winding portion (27) is wound to form the first unit coil portion (23).
  • the winding shaft is changed in the order of the third shaft portion (53), the second shaft portion (52), and the first shaft portion (51), and the first carriage (11) and the second carriage (13 ) Is advanced by a distance corresponding to the outer diameter of the conductor (22), and the third unit winding part (27), the second unit winding part (26), and the first unit winding part (25) are wound in this order,
  • the air core coil intermediate product (20) shown in FIG. 10 is completed.
  • the guide plate (9) shown in FIG. 8 has an inclination angle corresponding to the lead angle of the unit winding portion. Therefore, each time the pressing member (61) is rotated, the guide wire ( 22) is provided with a lead angle, and each time one unit winding is formed, the unit winding is pushed up by one pitch, and the winding of the intermediate product (20) is moved vertically upward as shown in FIG. proceed.
  • the intermediate product (20) of the air-core coil obtained as described above is compressed in the direction of the winding axis as shown in FIGS. 18 (a) and 18 (b) to obtain a finished product (21) of the three-layer coil. obtain.
  • the second unit winding part (26) is pushed inside the third unit winding part (27), and the first unit winding part (26) is inserted inside the second unit winding part (26). 25) is pushed in.
  • the first unit winding part (25) and the second unit constituting each unit coil part are formed in an arc shape in which three corner portions formed at the same phase angle with respect to the winding axis S have the center of curvature at the same position S. . Therefore, the gap between the unit windings at each corner of the coil (2) as a finished product becomes zero, and the space factor of the conducting wire increases.
  • the coil (2) as a finished product functions as a reactor with a core (not shown) inserted in the central cavity, or used as a primary or secondary winding of a transformer. become.
  • the conducting wire (22) is not limited to a round wire but may be a square wire having a rectangular cross section.

Landscapes

  • Engineering & Computer Science (AREA)
  • Power Engineering (AREA)
  • Manufacturing & Machinery (AREA)
  • Mechanical Engineering (AREA)
  • Manufacture Of Motors, Generators (AREA)
  • Coil Winding Methods And Apparatuses (AREA)
  • Coils Of Transformers For General Uses (AREA)
  • Manufacturing Cores, Coils, And Magnets (AREA)
  • Coiling Of Filamentary Materials In General (AREA)
  • Wire Processing (AREA)
PCT/JP2012/066327 2011-07-08 2012-06-27 コイルの巻線方法及び巻線装置 Ceased WO2013008621A1 (ja)

Priority Applications (5)

Application Number Priority Date Filing Date Title
KR1020187024382A KR101948499B1 (ko) 2011-07-08 2012-06-27 코일의 권선 방법 및 권선 장치
KR1020147000739A KR101910225B1 (ko) 2011-07-08 2012-06-27 코일의 권선 방법 및 권선 장치
CN201280033950.3A CN103843088B (zh) 2011-07-08 2012-06-27 线圈的绕线方法及绕线装置
US14/149,778 US20140184379A1 (en) 2011-07-08 2014-01-07 Coil winding method and winding apparatus
US15/268,358 US10418173B2 (en) 2011-07-08 2016-09-16 Coil winding method and winding apparatus

Applications Claiming Priority (2)

Application Number Priority Date Filing Date Title
JP2011-151444 2011-07-08
JP2011151444A JP5535141B2 (ja) 2011-07-08 2011-07-08 空芯コイルの巻線方法及び巻線装置

Related Child Applications (1)

Application Number Title Priority Date Filing Date
US14/149,778 Continuation US20140184379A1 (en) 2011-07-08 2014-01-07 Coil winding method and winding apparatus

Publications (1)

Publication Number Publication Date
WO2013008621A1 true WO2013008621A1 (ja) 2013-01-17

Family

ID=47505918

Family Applications (1)

Application Number Title Priority Date Filing Date
PCT/JP2012/066327 Ceased WO2013008621A1 (ja) 2011-07-08 2012-06-27 コイルの巻線方法及び巻線装置

Country Status (6)

Country Link
US (2) US20140184379A1 (enExample)
JP (1) JP5535141B2 (enExample)
KR (2) KR101948499B1 (enExample)
CN (1) CN103843088B (enExample)
TW (1) TWI552177B (enExample)
WO (1) WO2013008621A1 (enExample)

Cited By (2)

* Cited by examiner, † Cited by third party
Publication number Priority date Publication date Assignee Title
CN104347263A (zh) * 2013-07-25 2015-02-11 安徽一变变压器制造有限公司 壳式变压器绕线机
WO2025087749A1 (de) * 2023-10-27 2025-05-01 Wafios Aktiengesellschaft Verfahren und umformmaschine zur herstellung von formteilen

Families Citing this family (5)

* Cited by examiner, † Cited by third party
Publication number Priority date Publication date Assignee Title
JP5490186B2 (ja) 2012-05-31 2014-05-14 株式会社エス・エッチ・ティ コイルの巻線方法及び変圧器
JP5499349B2 (ja) * 2012-11-02 2014-05-21 福井県 巻線構造及びそれを用いた電気機器
WO2015155899A1 (ja) * 2014-04-12 2015-10-15 福井県 巻線構造及びそれを用いた電気機器
CN110310821A (zh) * 2019-07-22 2019-10-08 成都玖锦科技有限公司 一种微型精密金丝线圈绕制装置
KR20250156298A (ko) 2024-04-25 2025-11-03 경북대학교 산학협력단 금속 나노입자가 전착된 초친수성 티타늄 산화물 나노튜브 전극, 이의 제조방법 및 이를 이용한 음이온 교환막 수전해 장치

Citations (3)

* Cited by examiner, † Cited by third party
Publication number Priority date Publication date Assignee Title
JP2006288025A (ja) * 2005-03-31 2006-10-19 San-Ei Electronic Industries Co Ltd 矩形状コイル、矩形状コイルの製造方法及び矩形状コイルの製造装置
JP2006339407A (ja) * 2005-06-02 2006-12-14 Sht Corp Ltd 自動巻線機及びこれを用いた空心コイルの製造方法
JP2009302245A (ja) * 2008-06-12 2009-12-24 Nittoku Eng Co Ltd エッジワイズコイルの巻線方法及び巻線装置

Family Cites Families (10)

* Cited by examiner, † Cited by third party
Publication number Priority date Publication date Assignee Title
US3787766A (en) * 1972-02-22 1974-01-22 Duncan Electric Co Inc Meter magnet with strip-wound current coil
US3989200A (en) * 1975-04-22 1976-11-02 Bachi, Inc. Non-circular perfect layer electrical coils
US4924201A (en) * 1988-08-29 1990-05-08 General Electric Company Core and coil assembly for a transformer having an amorphous steel core
JPH07183152A (ja) * 1993-12-22 1995-07-21 Toshiba Corp コイル巻線装置
JP3545390B2 (ja) * 2001-07-03 2004-07-21 株式会社エス・エッチ・ティ 空芯コイル、コイル装置及びそれらの製造方法
EP1414051B1 (en) * 2001-07-03 2013-02-13 SHT Corporation Limited Method for manufacturing coil device
JP3621676B2 (ja) * 2001-11-29 2005-02-16 昭和電線電纜株式会社 電気コイルの巻線加工装置
US7317372B2 (en) 2002-06-11 2008-01-08 Sht Corporation Limited Air-core coil and process for fabricating the same
JP5155732B2 (ja) * 2008-05-15 2013-03-06 株式会社日立産機システム 変圧器用多段コイル、並びにそれを製作するための巻線方法及び装置
JP5935478B2 (ja) * 2012-04-19 2016-06-15 株式会社豊田自動織機 コイル巻取り装置の芯金

Patent Citations (3)

* Cited by examiner, † Cited by third party
Publication number Priority date Publication date Assignee Title
JP2006288025A (ja) * 2005-03-31 2006-10-19 San-Ei Electronic Industries Co Ltd 矩形状コイル、矩形状コイルの製造方法及び矩形状コイルの製造装置
JP2006339407A (ja) * 2005-06-02 2006-12-14 Sht Corp Ltd 自動巻線機及びこれを用いた空心コイルの製造方法
JP2009302245A (ja) * 2008-06-12 2009-12-24 Nittoku Eng Co Ltd エッジワイズコイルの巻線方法及び巻線装置

Cited By (2)

* Cited by examiner, † Cited by third party
Publication number Priority date Publication date Assignee Title
CN104347263A (zh) * 2013-07-25 2015-02-11 安徽一变变压器制造有限公司 壳式变压器绕线机
WO2025087749A1 (de) * 2023-10-27 2025-05-01 Wafios Aktiengesellschaft Verfahren und umformmaschine zur herstellung von formteilen

Also Published As

Publication number Publication date
TW201308375A (zh) 2013-02-16
CN103843088B (zh) 2016-08-31
KR20140037211A (ko) 2014-03-26
JP5535141B2 (ja) 2014-07-02
KR101948499B1 (ko) 2019-02-14
KR20180098689A (ko) 2018-09-04
US10418173B2 (en) 2019-09-17
KR101910225B1 (ko) 2018-10-19
JP2013021041A (ja) 2013-01-31
TWI552177B (zh) 2016-10-01
US20170069424A1 (en) 2017-03-09
CN103843088A (zh) 2014-06-04
US20140184379A1 (en) 2014-07-03

Similar Documents

Publication Publication Date Title
JP5535141B2 (ja) 空芯コイルの巻線方法及び巻線装置
JP5131561B2 (ja) コイル製造方法、コイル製造装置、及びコイル
US20100229374A1 (en) Coil manufacturing method and coil manufacturing apparatus
US20130333432A1 (en) Winding device and winding method for edgewise coil
KR101715991B1 (ko) 자동 권선기, 공심 코일 및 그 권선 방법
WO2011111682A1 (ja) 回転電機のステータ、ステータの製造方法、及びステータにおけるコイル製造方法
JP5785117B2 (ja) 巻線装置および巻線方法
JP5369160B2 (ja) 空芯コイルの巻線装置
JP2019195845A (ja) コイル成形装置およびコイル成形方法
JP2013021041A5 (enExample)
US9242830B2 (en) Coil winding method and transformer
JP2009262210A (ja) 長尺素材折曲げ装置および長尺素材折り曲げ方法
JP5244223B2 (ja) 空芯コイル及びその巻線方法
JP5146778B2 (ja) 線材成形装置及びコイル製造装置
JP5402503B2 (ja) 回転電機の固定子又は回転子のコイル成形装置
JP2012015459A (ja) コイル製造方法、及びコイル製造装置
JP2015019439A (ja) 連続波型コイルの成形方法
CN102623168B (zh) 线圈绕线机
JP2016092028A (ja) 巻線装置
JP2016100514A (ja) 空芯コイル挿入装置
CN111525760A (zh) 电机绕组线圈的绕制工艺和电机绕组线圈

Legal Events

Date Code Title Description
121 Ep: the epo has been informed by wipo that ep was designated in this application

Ref document number: 12810819

Country of ref document: EP

Kind code of ref document: A1

DPE1 Request for preliminary examination filed after expiration of 19th month from priority date (pct application filed from 20040101)
NENP Non-entry into the national phase

Ref country code: DE

ENP Entry into the national phase

Ref document number: 20147000739

Country of ref document: KR

Kind code of ref document: A

122 Ep: pct application non-entry in european phase

Ref document number: 12810819

Country of ref document: EP

Kind code of ref document: A1