KR20180098689A - 코일의 권선 방법 및 권선 장치 - Google Patents

코일의 권선 방법 및 권선 장치 Download PDF

Info

Publication number
KR20180098689A
KR20180098689A KR1020187024382A KR20187024382A KR20180098689A KR 20180098689 A KR20180098689 A KR 20180098689A KR 1020187024382 A KR1020187024382 A KR 1020187024382A KR 20187024382 A KR20187024382 A KR 20187024382A KR 20180098689 A KR20180098689 A KR 20180098689A
Authority
KR
South Korea
Prior art keywords
winding
unit
shaft
coil
wire
Prior art date
Legal status (The legal status is an assumption and is not a legal conclusion. Google has not performed a legal analysis and makes no representation as to the accuracy of the status listed.)
Granted
Application number
KR1020187024382A
Other languages
English (en)
Other versions
KR101948499B1 (ko
Inventor
히토시 요시모리
Original Assignee
가부시끼가이샤 에스애취티
Priority date (The priority date is an assumption and is not a legal conclusion. Google has not performed a legal analysis and makes no representation as to the accuracy of the date listed.)
Filing date
Publication date
Application filed by 가부시끼가이샤 에스애취티 filed Critical 가부시끼가이샤 에스애취티
Publication of KR20180098689A publication Critical patent/KR20180098689A/ko
Application granted granted Critical
Publication of KR101948499B1 publication Critical patent/KR101948499B1/ko
Active legal-status Critical Current
Anticipated expiration legal-status Critical

Links

Images

Classifications

    • HELECTRICITY
    • H01ELECTRIC ELEMENTS
    • H01FMAGNETS; INDUCTANCES; TRANSFORMERS; SELECTION OF MATERIALS FOR THEIR MAGNETIC PROPERTIES
    • H01F41/00Apparatus or processes specially adapted for manufacturing or assembling magnets, inductances or transformers; Apparatus or processes specially adapted for manufacturing materials characterised by their magnetic properties
    • H01F41/02Apparatus or processes specially adapted for manufacturing or assembling magnets, inductances or transformers; Apparatus or processes specially adapted for manufacturing materials characterised by their magnetic properties for manufacturing cores, coils, or magnets
    • H01F41/04Apparatus or processes specially adapted for manufacturing or assembling magnets, inductances or transformers; Apparatus or processes specially adapted for manufacturing materials characterised by their magnetic properties for manufacturing cores, coils, or magnets for manufacturing coils
    • H01F41/06Coil winding
    • H01F41/064Winding non-flat conductive wires, e.g. rods, cables or cords
    • HELECTRICITY
    • H01ELECTRIC ELEMENTS
    • H01FMAGNETS; INDUCTANCES; TRANSFORMERS; SELECTION OF MATERIALS FOR THEIR MAGNETIC PROPERTIES
    • H01F27/00Details of transformers or inductances, in general
    • H01F27/28Coils; Windings; Conductive connections
    • H01F27/2823Wires
    • BPERFORMING OPERATIONS; TRANSPORTING
    • B21MECHANICAL METAL-WORKING WITHOUT ESSENTIALLY REMOVING MATERIAL; PUNCHING METAL
    • B21FWORKING OR PROCESSING OF METAL WIRE
    • B21F3/00Coiling wire into particular forms
    • B21F3/10Coiling wire into particular forms to spirals other than flat, e.g. conical
    • HELECTRICITY
    • H01ELECTRIC ELEMENTS
    • H01FMAGNETS; INDUCTANCES; TRANSFORMERS; SELECTION OF MATERIALS FOR THEIR MAGNETIC PROPERTIES
    • H01F41/00Apparatus or processes specially adapted for manufacturing or assembling magnets, inductances or transformers; Apparatus or processes specially adapted for manufacturing materials characterised by their magnetic properties
    • H01F41/02Apparatus or processes specially adapted for manufacturing or assembling magnets, inductances or transformers; Apparatus or processes specially adapted for manufacturing materials characterised by their magnetic properties for manufacturing cores, coils, or magnets
    • H01F41/04Apparatus or processes specially adapted for manufacturing or assembling magnets, inductances or transformers; Apparatus or processes specially adapted for manufacturing materials characterised by their magnetic properties for manufacturing cores, coils, or magnets for manufacturing coils
    • H01F41/06Coil winding
    • H01F41/082Devices for guiding or positioning the winding material on the former
    • H01F41/086Devices for guiding or positioning the winding material on the former in a special configuration on the former, e.g. orthocyclic coils or open mesh coils
    • HELECTRICITY
    • H01ELECTRIC ELEMENTS
    • H01FMAGNETS; INDUCTANCES; TRANSFORMERS; SELECTION OF MATERIALS FOR THEIR MAGNETIC PROPERTIES
    • H01F41/00Apparatus or processes specially adapted for manufacturing or assembling magnets, inductances or transformers; Apparatus or processes specially adapted for manufacturing materials characterised by their magnetic properties
    • H01F41/02Apparatus or processes specially adapted for manufacturing or assembling magnets, inductances or transformers; Apparatus or processes specially adapted for manufacturing materials characterised by their magnetic properties for manufacturing cores, coils, or magnets
    • H01F41/04Apparatus or processes specially adapted for manufacturing or assembling magnets, inductances or transformers; Apparatus or processes specially adapted for manufacturing materials characterised by their magnetic properties for manufacturing cores, coils, or magnets for manufacturing coils
    • H01F41/06Coil winding
    • H01F41/098Mandrels; Formers
    • HELECTRICITY
    • H01ELECTRIC ELEMENTS
    • H01FMAGNETS; INDUCTANCES; TRANSFORMERS; SELECTION OF MATERIALS FOR THEIR MAGNETIC PROPERTIES
    • H01F5/00Coils

Landscapes

  • Engineering & Computer Science (AREA)
  • Power Engineering (AREA)
  • Manufacturing & Machinery (AREA)
  • Mechanical Engineering (AREA)
  • Manufacture Of Motors, Generators (AREA)
  • Coil Winding Methods And Apparatuses (AREA)
  • Coils Of Transformers For General Uses (AREA)
  • Manufacturing Cores, Coils, And Magnets (AREA)
  • Coiling Of Filamentary Materials In General (AREA)
  • Wire Processing (AREA)

Abstract

서로 다른 내주 길이를 갖는 복수의 단위 권취부가 권취축 방향으로 연속해서 형성되는 동시에, 상기 복수의 단위 권취부로 이루어지는 단위 코일부가 권취축 방향으로 연속해서 형성되어 있는 코일을 제작할 수 있는, 간이한 구성의 권선 장치를 제공한다. 본 발명에 관한 코일의 권선 장치는, 축체(5)와, 축체(5)에 대해 교차하는 직선의 이행로를 따라 도선(22)을 이송하여, 축체(5)의 외주면에 도선(22)을 따르게 하는 도선 이송 기구와, 도선(22)을 압박해야 하는 압박 부재(61)를, 축체(5)를 중심으로 하는 원주 경로를 따라 회전시킴으로써, 도선(22)을 축체(5)의 외주면을 따라 굴곡시키는 굽힘 기구(6)를 구비하고 있다.

Description

코일의 권선 방법 및 권선 장치 {COIL WINDING METHOD AND WINDING APPARATUS}
본 발명은 복수의 코일층으로 이루어지는 코일의 권선 방법 및 권선 장치에 관한 것이다.
출원인은, 도 17에 도시한 바와 같이, 도선(22)을 소용돌이 형상으로 권회하여 이루어지는 단위 코일부(23)가 권취축 방향으로 반복해서 배열된 코일(2)을 개발하고 있다.
이와 같은 코일(2)의 제조 방법으로서, 도 18의 (a)와 같이, 도선을 소용돌이 형상으로 권회함으로써, 서로 다른 내주 길이를 갖는 제1 단위 권취부(25), 제2 단위 권취부(26) 및 제3 단위 권취부(27)를 권취축 방향으로 연속해서 형성하는 동시에, 이들 복수의 단위 권취부(25)(26)(27)로 이루어지는 단위 코일부를, 권취축 방향으로 연속해서 형성하여, 공심 코일의 중간 제품(20)을 제작한 후, 상기 중간 제품(20)을 권취축 방향으로 압축하여, 도 18의 (b)와 같이, 제3 단위 권취부(27)의 내측에 제2 단위 권취부(26)의 적어도 일부를 압입하고, 상기 제2 단위 권취부(26)의 내측에 제1 단위 권취부(25)의 적어도 일부를 압입함으로써, 복수의 코일층(도시하는 예에서는 3층)으로 이루어지는 공심 코일의 완성품(21)을 얻는 방법이 알려져 있다(특허문헌 1).
도 18의 (a)에 도시하는 공심 코일의 중간 제품(20)을 제작하는 방법으로서는, 상기 중간 제품(20)의 공동 형상에 따른 단차식 권선 지그를 사용하는 방법(특허문헌 1)이나, 각 단위 권취부의 권선 공정마다 코어 부재의 형태를 변화시키면서 상기 코어 부재의 주위에 도선을 권회하는 자동 권선기가 알려져 있다(특허문헌 2).
일본 특허 공개 제2003-86438호 공보 일본 특허 공개 제2006-339407호 공보
그러나 단차식 권선 지그를 사용하는 방법에서는, 권선 작업이 수작업으로 이루어지기 때문에, 생산 효율이 나쁜 문제가 있다.
또한, 각 단위 권취부의 권선 공정마다 코어 부재의 형태를 변화시키면서 상기 코어 부재의 주위에 도선을 권회하는 자동 권선기에 있어서는, 각 단위 권취부의 권선 공정마다 코어 부재의 형태를 변화시키기 위한 구성이 복잡해지는 문제가 있다.
따라서 본 발명의 목적은, 간이한 구성으로, 서로 다른 내주 길이를 갖는 복수의 단위 권취부로 이루어지는 단위 코일부가 권취축 방향으로 연속해서 형성되어 있는 코일을 제작할 수 있는, 코일의 권선 방법 및 권선 장치를 제공하는 것이다.
본 발명에 관한 코일에 있어서는, 권취축을 중심으로 하여 1개의 도선을 권회하여 형성되는 복수의 단위 코일부가, 상기 권취축 방향으로 배열되어 있고, 각 단위 코일부는, 서로 다른 내주 길이를 갖는 복수의 단위 권취부로 구성되고, 내주 길이가 큰 단위 권취부의 내측에 내주 길이가 작은 단위 권취부의 적어도 일부가 압입됨으로써, 각 단위 코일부가 적어도 일부에서 다층화되어 있고, 각 단위 권취부는, 각각 원호 형상의 복수의 코너부를 갖는 루프 형상의 권선 경로를 따라 권회되어 있다.
여기서, 각 단위 코일부를 구성하는 복수의 단위 권취부는, 상기 권취축에 대해 동일한 위상 각도로 형성되는 복수의 코너부가, 동일한 위치에 곡률 중심을 갖는 원호 형상으로 형성되어 있다.
본 발명에 관한 코일의 권선 방법은, 권취축을 중심으로 하여 1개의 도선을 권회하여 형성되는 복수의 단위 코일부가, 상기 권취축 방향으로 배열되어 있고, 각 단위 코일부는, 서로 다른 내주 길이를 갖는 복수의 단위 권취부로 구성되고, 내주 길이가 큰 단위 권취부의 내측에 내주 길이가 작은 단위 권취부의 적어도 일부가 압입됨으로써, 각 단위 코일부가 적어도 일부에서 다층화되어 있고, 각 단위 권취부는, 각각 원호 형상의 복수의 코너부를 갖는 루프 형상의 권선 경로를 따라 권회되어 있는 코일의 권선 방법이며,
축체(5)에 대해 교차하는 직선의 이행로를 따라 소정 거리만큼 도선(22)을 이송하여, 축체(5)의 외주면에 도선(22)을 따르게 하는 제1 공정과,
도선(22)을 압박해야 하는 압박 부재(61)를 축체(5)를 중심으로 하는 원주 경로를 따라 회전시킴으로써, 도선(22)을 축체(5)의 외주면에 소정 각도만큼 권취하여, 원호 형상의 코너부를 형성하는 제2 공정
을 갖고, 제1 공정과 제2 공정을 상기 코너부의 수만큼 반복함으로써 1개의 단위 권취부를 형성하고, 1개의 단위 코일부를 형성하는 과정에서, 각 단위 권취부의 형성시에 축체(5)의 외경을 변화시킴으로써, 각 단위 코일부를 구성하는 복수의 단위 권취부에 있어서, 상기 권취축에 대해 동일한 위상 각도로 형성되는 복수의 코너부를, 동일한 위치에 곡률 중심을 가지는 동시에 곡률 반경이 다른 원호 형상으로 형성한다.
구체적 형태에 있어서, 상기 복수의 단위 권취부로 이루어지는 단위 코일부가 권취축 방향으로 연속해서 형성되어 있는 코일이 제작된 후, 상기 코일을 권취축 방향으로 압축하여, 각 단위 코일을 구성하는 복수의 단위 권취부 중, 내주 길이가 큰 단위 권취부의 내측에 내주 길이가 작은 단위 권취부의 적어도 일부를 압입하는 제3 공정을 갖고 있다.
이에 의해, 각 단위 코일부가 적어도 일부에서 다층화되게 된다.
본 발명에 관한 코일의 권선 장치는, 권취축을 중심으로 하여 1개의 도선을 권회하여 형성되는 복수의 단위 코일부가, 상기 권취축 방향으로 배열되어 있고, 각 단위 코일부는, 서로 다른 내주 길이를 갖는 복수의 단위 권취부로 구성되고, 내주 길이가 큰 단위 권취부의 내측에 내주 길이가 작은 단위 권취부의 적어도 일부가 압입됨으로써, 각 단위 코일부가 적어도 일부에서 다층화되어 있고, 각 단위 권취부는, 각각 원호 형상의 복수의 코너부를 갖는 루프 형상의 권선 경로를 따라 권회되어 있는 코일의 권선 장치이며,
축체(5)와,
상기 축체(5)에 대해 교차하는 직선의 이행로를 따라 도선(22)을 이송하여, 축체(5)의 외주면에 도선(22)을 따르게 하는 도선 이송 기구(4)와,
도선(22)을 압박해야 하는 압박 부재(61)를 축체(5)를 중심으로 하는 원주 경로를 따라 회전시킴으로써, 도선(22)을 축체(5)의 외주면을 따라 굴곡시키는 굽힘 기구(6)
를 구비하고 있다.
구체적 형태에 있어서, 상기 축체(5)는 권취축과 동심 축상에 배치된 복수의 축부(51)(52)(53)로 구성되고, 상기 축체(5)는 중심의 축부(51)에 대해 다른 축부(52)(53)를 각각 권취축을 따라 왕복 이동시키는 왕복 구동 기구에 연결되어 있다.
또한, 다른 구체적 형태에 있어서는, 상기 축체(5)를 포위하여, 굽힘 기구(6)에 의해 루프 형상으로 굴곡된 도선(22)을 가이드하는 가이드판(9)이 설치되어 있다
더욱 구체적인 형태에 있어서, 상기 가이드판(9)의 표면은, 상기 축체(5)와 직교하는 면에 대해 단위 권취부의 리드 각도에 따른 경사를 갖고 있다.
본 발명에 관한 코일의 권선 방법 및 권선 장치에 의해 제조되는 코일에 의하면, 각 단위 코일부를 구성하는 복수의 단위 권취부에 있어서, 권취축에 대해 동일한 위상 각도로 형성되는 복수의 코너부가, 동일한 위치에 곡률 중심을 갖는 원호 형상으로 형성되어 있으므로, 각 단위 코일부를 적어도 일부에서 다층화하였을 때, 다층화부에서, 내측의 단위 권취부와 외측의 단위 권취부 사이의 간극이 가급적으로 제로에 접근하고, 이 결과, 도선의 점적률이 증대한다.
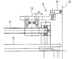
도 1은 본 발명에 관한 코일의 권선 장치의 전체를 도시하는 평면도이다.
도 2는 상기 권선 장치의 전체를 도시하는 정면도이다.
도 3은 제1 왕복대의 평면도이다.
도 4는 축체 및 그 주변 기구의 정면도이다.
도 5는 축체의 단면도이다.
도 6은 축체 및 그 주변 기구의 평면도이다.
도 7은 굽힘 기구의 정면도이다.
도 8은 축체 및 굽힘 기구의 사시도이다.
도 9는 축체의 동작을 설명하는 사시도이다.
도 10은 축체와 코일 중간 제품의 치수 관계를 설명하는 단면도이다.
도 11은 코일 중간 제품의 코너부를 확대하여 도시하는 평면도이다.
도 12는 코일의 권선 공정의 제1 단계를 설명하는 일련의 평면도이다.
도 13은 코일의 권선 공정의 제2 단계를 설명하는 일련의 평면도이다.
도 14는 코일의 권선 공정의 제3 단계를 설명하는 일련의 평면도이다.
도 15는 코일의 권선 공정의 제4 단계를 설명하는 일련의 평면도이다.
도 16은 코일의 권선 공정의 제5 단계를 설명하는 일련의 평면도이다.
도 17은 코일의 완성 상태의 사시도이다.
도 18은 코일의 중간 제품으로부터 완성품을 얻는 압축 공정을 도시하는 도면이다.
이하, 도 18의 (a)에 도시하는 공심 코일의 중간 제품(20)을 제작하기 위한 권선 방법 및 권선 장치에 대해, 도면을 따라 구체적으로 설명한다. 또한, 도 1에 있어서, 도선(22)은 수평면상을 직선을 따라 우측으로부터 좌측으로 이송된다.
본 발명에 관한 권선 장치는, 도 1에 도시한 바와 같이, 수평의 표면을 갖는 베이스(1) 상에 도선(22)의 이행로에 대해 직교하는 전후 방향으로 슬라이드 가능한 제1 왕복대(11)가 배치되는 동시에, 제1 왕복대(11)의 좌측에는, 연직 상방으로 돌출된 축체(5)와, 축체(5)를 중심으로 하여 90도를 초과하는 각도 범위에서 회전이 가능한 회전대(12)가 배치되어 있다.
회전대(12) 상에는, 도 1에 도시하는 회전대(12)의 초기 위치에서 전후 방향으로 슬라이드가 가능한 제2 왕복대(13)가 배치되어 있다.
제2 왕복대(13)에는, 도 6에 도시한 바와 같이 축체(5)측의 단부에, 도선(22)을 압박하는 것이 가능한 압박 부재(61)가 설치되어 있다.
제1 왕복대(11)는, 도 3에 도시한 바와 같이 좌우의 단부에 한 쌍의 왕복 가이드 기구(71)(72)를 구비하고, 제1 왕복 구동 기구(7)에 의해 전후로 임의 거리만큼 이동시킬 수 있다.
또한, 제2 왕복대(13)는 도 1에 도시하는 제2 왕복 구동 기구(8)에 의해 전후로 임의 거리만큼 이동시킬 수 있다.
회전대(12)에는, 도 4에 도시하는 벨트 기구(63)를 통해 모터(62)가 연계되어 있다.
이에 의해, 축체(5)의 외주면에 도선(22)을 권취하기 위한 굽힘 기구(6)가 구성된다.
제1 왕복대(11)에는, 도선(22)의 상류측으로 되는 우측의 단부에, 도선(22)을 상류측으로부터 하류측을 향해 조출하는 도선 조출 기구(3)가 연결되어 있다.
제1 왕복대(11) 상에는, 도선(22)의 이행로를 따라 도선 이송 기구(4)가 배치되어 있다. 도선 이송 기구(4)는 제1 파지 기구(41)와 제2 파지 기구(42)를 구비하고 있다. 제1 파지 기구(41)에는, 도 2에 도시하는 샤프트(43)를 통해 모터(44)가 연결되어 있고, 모터(44)의 구동에 의해, 제1 파지 기구(41)를 도선(22)의 이행로를 따라 왕복 이동시킨다.
제1 파지 기구(41)는 도선(22)을 파지한 상태에서 하류 위치로부터 상류측으로 이동함으로써 그 이동 거리에 따라 도선(22)을 이송하고, 그 후, 도선(22)의 파지를 해제한 상태에서 원래의 하류 위치로 복귀하는 것이다.
제2 파지 기구(42)는 제1 파지 기구(41)에 의한 도선(22)의 파지 기간 중에는 도선(22)의 파지를 해제하고, 제1 파지 기구(41)에 의한 도선(22)의 파지 해제 중에는 도선(22)을 파지하는 것이다.
축체(5)는 도선(22)의 이행로를 따라 배치되어 있고, 도 5에 도시한 바와 같이, 권취축(S)을 중심으로 하여 동축상에, 환축 형상의 제1 축부(51)와, 원통 형상의 제2 축부(52)와, 원통 형상의 제3 축부(53)를 구비하고, 제1 축부(51)는 도 4에 도시하는 제1 왕복 구동 기구(54)에 연결되고, 제2 축부(52) 및 제3 축부(53)는 도 5에 도시하는 제2 왕복 구동 기구(55) 및 제3 왕복 구동 기구(56)에 각각 연결되어 있다.
이에 의해, 도 9의 (a)와 같이 제1 축부(51)만을 돌출시킨 제1 상태와, 도 9의 (b)와 같이 제1 축부(51) 및 제2 축부(52)를 돌출시킨 제2 상태와, 도 9의 (c)와 같이 제1 축부(51), 제2 축부(52) 및 제3 축부(53)를 돌출시킨 제3 상태를 실현할 수 있다.
도 10 및 도 11에 도시한 바와 같이, 축체(5)의 제2 축부(52)는 제1 축부(51)의 외경에 대해 도선의 외경의 2배를 가산한 외경을 갖고, 제3 축부(53)는 제2 축부(52)의 외경에 대해 도선의 외경의 2배를 가산한 외경을 갖고 있다.
굽힘 기구(6)를 구성하는 회전대(12)는 도 6 및 도 8에 도시한 바와 같이, 도선의 권취축(S)을 중심으로 하는 원주선(R)을 따라 왕복 이동한다.
회전대(12) 상의 제2 왕복대(13)는 도 7 및 도 8에 도시한 바와 같이, 도선의 권취축(S)에 대해 접근 이격하는 직선 경로(P)를 따라 왕복 이동한다.
이에 의해, 굽힘 기구(6)를 구성하는 압박 부재(61)는 축체(5)에 대해 접근 이격하는 동시에, 축체(5)를 중심으로 하여 회전하게 된다.
압박 부재(61)에는, 도 8에 도시한 바와 같이, 도선(22)의 이행로를 따라 연장되는 오목 홈(60)이 형성되어 있다.
또한, 축체(5)의 근방 위치에는, U자 형상의 가이드판(9)이 설치되어 있다.
상기 권선 장치에 의한 권선 공정에 있어서는, 도 8에 도시한 바와 같이, 제1 왕복대(11)가 전진함으로써, 도선(22)이 축체(5)의 제1 축부(51), 제2 축부(52) 또는 제3 축부(53)의 외주면을 따르는 위치까지 평행 이동하는 동시에, 제2 왕복대(13)가 전진함으로써, 압박 부재(61)가 도선(22)을 압박하는 것이 가능한 위치까지 전진한 상태에서, 우선, 도선(22)이 소정 거리만큼 이송된다. 상기 도선(22)의 이송 거리는, 형성하기 위한 단위 권취부에 있어서의 4변의 각 변의 길이에 따른 크기로 설정된다.
이어서, 압박 부재(61)가 도선(22)을 따른 초기 위치로부터 90도를 초과하는 소정의 회전 각도 θ만큼 회전함으로써, 도선(22)을 축체(5)의 제1 축부(51), 제2 축부(52) 또는 제3 축부(53)의 외주면을 따르게 하여 90도만큼 굴곡시킨다.
또한, 압박 부재(61)의 회전 각도 θ를 90도보다도 약간 크게 설정함으로써, 도선(22)은 스프링백에 의해 90도의 굴곡 각도를 갖게 된다.
이 도선(22)의 굴곡 과정에서, 축체(5)보다도 앞으로 연장되어 있는 도선(22)은 가이드판(9)의 표면을 따라 미끄럼 이동한다.
여기서, 가이드판(9)은 단위 권취부의 리드 각에 따른 경사 각도를 갖고 있고, 상기 가이드판(9)의 표면을 따라 도선(22)이 미끄럼 이동함으로써, 상기 도선(22)에 대해 소정의 리드 각이 부여된다.
상술한 도선(22)의 이송 공정과 절곡 공정을 4회 반복함으로써, 4개의 원호 형상의 코너부를 갖는 1개의 단위 권취부가 형성된다.
그리고 도선(22)을 권취해야 하는 축체(5)의 축부를 외경이 상이한 다른 축부로 변경하는 동시에, 상기 축부의 외경에 따라, 제1 왕복대(11)와 제2 왕복대(13)를 전후로 이동시킨 상태에서, 마찬가지로 도선(22)의 이송 공정과 절곡 공정을 4회 반복함으로써, 4개의 원호 형상의 코너부를 갖는 다음의 단위 권취부가 형성된다.
이와 같이 하여, 내주 길이가 다른 3개의 단위 권취부가 권회되고, 이에 의해 1개의 단위 코일부가 형성된다.
여기서, 도 10에 도시한 바와 같이, 제1 단위 권취부(25)를 형성할 때에는, 축체(5)의 제1 축부(51)만을 돌출시켜 그 외주면에 도선을 권취하고, 제2 단위 권취부(26)를 형성할 때에는, 제2 축부(52)를 돌출시켜 그 외주면에 도선을 권취하고, 제3 단위 권취부(27)를 형성할 때에는, 제3 축부(53)를 돌출시켜 그 외주면에 도선을 권취한다.
이에 의해, 도 11에 도시한 바와 같이, 축체(5)의 제1 축부(51)의 외주면에 도선을 권취하여 형성되는 제1 단위 권취부(25)의 코너부와, 제2 축부(52)의 외주면에 도선을 권취하여 형성되는 제2 단위 권취부(26)의 코너부와, 제3 축부(53)의 외주면에 도선을 권취하여 형성되는 제3 단위 권취부(27)의 코너부가, 권취축(S)과 일치하는 공통의 곡률 중심을 갖게 된다.
또한, 상술한 단위 코일부의 형성 공정을 반복함으로써, 도 10에 도시한 바와 같이 제1 단위 권취부(25), 제2 단위 권취부(26) 및 제3 단위 권취부(27)를 1개의 단위 코일부(23)로 하여, 상기 단위 코일부(23)를 반복해서 형성한 공심 코일의 중간 제품(20)이 얻어지게 된다.
도 12∼도 16은, 본 발명에 관한 권선 장치의 일련의 동작을 도시하고 있다.
도 12의 스텝 S1에서는, 도선(22)을 제1 축부(51)의 외주면을 따르게 하는 동시에, 상기 도선(22)에 압박 부재(61)를 따르게 한다.
이어서, 스텝 S2에서 도선(22)을 소정 거리(단위 권취부의 긴 변의 길이)만큼 이송한 후, 스텝 S3에서는, 압박 부재(61)를 회전시켜, 도선(22)을 굴곡시킨다.
이에 의해, 제1 축부(51)의 외경을 따른 첫번째 원호 형상의 코너부가 형성되게 된다.
이어서, 스텝 S4와 같이, 압박 부재(61)를 초기 위치까지 복귀시킨다. 그리고 스텝 S5에서는, 도선(22)을 소정 거리(단위 권취부의 짧은 변의 길이)만큼 이송한 후, 스텝 S6에서는, 압박 부재(61)를 회전시켜, 도선(22)을 굴곡시킨다.
이에 의해, 제1 축부(51)의 외경을 따른 두번째 원호 형상의 코너부가 형성되게 된다.
이어서, 스텝 S7과 같이, 압박 부재(61)를 초기 위치까지 복귀시킨다. 그리고 도 13의 스텝 S8에서는, 도선(22)을 소정 거리(단위 권취부의 긴 변의 길이)만큼 이송한 후, 스텝 S9에서는, 압박 부재(61)를 회전시켜, 도선(22)을 굴곡시킨다.
이에 의해, 제1 축부(51)의 외경에 따른 세번째 원호 형상의 코너부가 형성되게 된다.
계속해서, 스텝 S10과 같이, 압박 부재(61)를 초기 위치까지 복귀시킨다. 그리고 스텝 S11에서는, 도선(22)을 소정 거리(단위 권취부의 짧은 변의 길이)만큼 이송한 후, 스텝 S12에서는, 압박 부재(61)를 회전시켜, 도선(22)을 굴곡시킨다.
이에 의해, 제1 축부(51)의 외경에 따른 네번째의 원호 형상의 코너부가 형성되고, 제1 단위 권취부(25)가 권회되게 된다.
계속해서, 스텝 S13과 같이, 압박 부재(61)를 초기 위치까지 복귀시킨다. 그리고 도 14의 스텝 S14에서는, 도선(22)을 소정 거리(단위 권취부의 긴 변의 길이)만큼 이송한 후, 스텝 S15에서는, 제1 왕복대(11)와 제2 왕복대(13)를 도선(22)의 외경에 따른 거리만큼 후퇴시킨다.
이어서, 스텝 S16과 같이, 제2 축부(52)를 상승시킨 후, 스텝 S17에서는 압박 부재(61)를 회전시켜, 도선(22)을 굴곡시킨다.
이에 의해, 제2 축부(52)의 외경에 따른 첫번째 원호 형상의 코너부가 형성되게 된다.
계속해서, 스텝 S18과 같이, 압박 부재(61)를 초기 위치까지 복귀시킨다. 그리고 스텝 S19에서는, 도선(22)을 소정 거리(단위 권취부의 짧은 변의 길이)만큼 이송한 후, 도 15의 스텝 S20에서는, 압박 부재(61)를 회전시켜, 도선(22)을 굴곡시킨다.
이에 의해, 제2 축부(52)의 외경에 따른 두번째 원호 형상의 코너부가 형성되게 된다.
계속해서, 스텝 S21과 같이, 압박 부재(61)를 초기 위치까지 복귀시킨다. 그리고 스텝 S22에서는, 도선(22)을 소정 거리(단위 권취부의 긴 변의 길이)만큼 이송한 후, 스텝 S23에서는, 압박 부재(61)를 회전시켜, 도선(22)을 굴곡시킨다.
이에 의해, 제2 축부(52)의 외경에 따른 세번째 원호 형상의 코너부가 형성되게 된다.
계속해서, 스텝 S24와 같이, 압박 부재(61)를 초기 위치까지 복귀시킨다. 그리고 스텝 S25에서는, 도선(22)을 소정 거리(단위 권취부의 짧은 변의 길이)만큼 이송한 후, 도 16의 스텝 S26에서는, 압박 부재(61)를 회전시켜, 도선(22)을 굴곡시킨다.
이에 의해, 제2 축부(52)의 외경에 따른 네번째의 원호 형상의 코너부가 형성되고, 제2 단위 권취부(26)가 권회되게 된다.
계속해서, 스텝 S27과 같이, 압박 부재(61)를 초기 위치까지 복귀시킨다. 그리고 스텝 S28에서는, 도선(22)을 소정 거리(단위 권취부의 긴 변의 길이)만큼 이송한 후, 스텝 S29에서는, 제1 왕복대(11)와 제2 왕복대(13)를 도선(22)의 외경에 따른 거리만큼 후퇴시킨다.
이어서, 스텝 S30과 같이, 제3 축부(53)를 상승시킨 후, 스텝 S31에서는 압박 부재(61)를 회전시켜, 도선(22)을 굴곡시킨다.
이에 의해, 제3 축부(53)의 외경에 따른 첫번째 원호 형상의 코너부가 형성되게 된다.
이후, 동일한 동작을 반복함으로써, 제3 단위 권취부(27)가 권회되고, 첫번째 단위 코일부(23)가 형성되게 된다.
그리고 다음은 제3 축부(53), 제2 축부(52), 제1 축부(51)의 순서대로 권취축을 변경하는 동시에, 제1 왕복대(11)와 제2 왕복대(13)를 도선(22)의 외경에 따른 거리만큼 전진시키면서, 제3 단위 권취부(27), 제2 단위 권취부(26), 제1 단위 권취부(25)의 순서대로 권회하여, 다음의 단위 코일부(23)를 형성하고, 이 단위 코일부(23)의 형성을 반복함으로써, 도 10에 도시하는 공심 코일의 중간 제품(20)이 완성되게 된다.
상술한 권선 장치에 있어서는, 도 8에 도시하는 가이드판(9)이 단위 권취부의 리드 각에 따른 경사 각도를 갖고 있으므로, 압박 부재(61)를 회전시킬 때마다 도선(22)에 리드 각이 부여되고, 1개의 단위 권취부가 형성될 때마다 상기 단위 권취부가 1피치만큼 밀어올려지고, 도 10에 도시한 바와 같이 연직 상방을 향하여 중간 제품(20)의 권선이 진행된다. 즉, 각 단위 코일부(23)를 구성해야 하는 복수의 단위 권취부가 상기 도선(22)의 직경에 일치하는 피치로 권취축(S) 방향으로 어긋나면서 연속해서 형성되어 코일의 중간 제품(20)이 제작된다.
상술한 바와 같이 하여 얻어진 공심 코일의 중간 제품(20)을 도 18의 (a)(b)에 도시한 바와 같이 권취축 방향으로 압축함으로써, 3층 코일의 완성품(21)을 얻는다. 상기 완성품(21)에 있어서는, 제3 단위 권취부(27)의 내측에 제2 단위 권취부(26)가 압입되고, 상기 제2 단위 권취부(26)의 내측에 제1 단위 권취부(25)가 압입되어 있다.
상기한 권선 방법 및 권선 장치에 의해 제작된 공심 코일의 중간 제품(20)에 있어서는, 도 11에 도시한 바와 같이, 각 단위 코일부를 구성하는 제1 단위 권취부(25), 제2 단위 권취부(26) 및 제3 단위 권취부(27)는 권취축(S)에 대해 동일한 위상 각도로 형성되는 3개의 코너부가, 동일 위치(S)에 곡률 중심을 갖는 원호 형상으로 형성되어 있다.
따라서 완성품으로서의 코일(2)의 각 코너부에 있어서의 단위 권취부간의 간극이 제로로 되어, 도선의 점적률이 증대되게 된다.
완성품으로서의 코일(2)은 그 중앙 공동부에 코어(도시 생략)가 삽입된 상태에서, 리액터로서 기능하고, 또는, 변압기의 1차 권선 또는 2차 권선으로서 사용되게 된다.
또한, 본 발명의 각 부 구성은 상기 실시 형태로 한정되지 않고, 특허청구범위에 기재된 기술적 범위 내에서 다양한 변형이 가능하다. 예를 들어, 도선(22)은 환선으로 한정되지 않고, 단면 직사각형의 각선이어도 된다.
2 : 코일
20 : 중간 제품
21 : 완성품
22 : 도선
23 : 단위 코일부
25 : 제1 단위 권취부
26 : 제2 단위 권취부
27 : 제3 단위 권취부
1 : 베이스
11 : 제1 왕복대
12 : 회전대
13 : 제2 왕복대
3 : 도선 조출 기구
4 : 도선 이송 기구
5 : 축체
51 : 제1 축부
52 : 제2 축부
53 : 제3 축부
6 : 굽힘 기구
61 : 압박 부재
62 : 모터
7 : 제1 왕복 구동 기구
8 : 제2 왕복 구동 기구
9 : 가이드판
S : 권취축

Claims (1)

  1. 권취축을 중심으로 하여 1개의 도선을 권회하여 형성되는 복수의 단위 코일부가, 상기 권취축 방향으로 배열되어 있고, 각 단위 코일부는, 서로 다른 내주 길이를 갖는 복수의 단위 권취부로 구성되고, 내주 길이가 큰 단위 권취부의 내측에 내주 길이가 작은 단위 권취부의 적어도 일부가 압입됨으로써, 각 단위 코일부가 적어도 일부에서 다층화되어 있고, 각 단위 권취부는, 각각 원호 형상의 복수의 코너부를 갖는 루프 형상의 권선 경로를 따라 권회되어 있는 코일에 있어서,
    각 단위 코일부를 구성하는 복수의 단위 권취부에 있어서 상기 권취축에 대해 동일한 위상 각도로 형성되는 복수의 코너부는, 동일한 위치에 곡률 중심을 갖고 반경이 다른 복수의 원호선을 따라 연장되고, 내측의 단위 권취부의 코너부와 외측의 단위 권취부의 코너부가 서로 밀착하고 있는 것을 특징으로 하는, 코일.
KR1020187024382A 2011-07-08 2012-06-27 코일의 권선 방법 및 권선 장치 Active KR101948499B1 (ko)

Applications Claiming Priority (3)

Application Number Priority Date Filing Date Title
JP2011151444A JP5535141B2 (ja) 2011-07-08 2011-07-08 空芯コイルの巻線方法及び巻線装置
JPJP-P-2011-151444 2011-07-08
PCT/JP2012/066327 WO2013008621A1 (ja) 2011-07-08 2012-06-27 コイルの巻線方法及び巻線装置

Related Parent Applications (1)

Application Number Title Priority Date Filing Date
KR1020147000739A Division KR101910225B1 (ko) 2011-07-08 2012-06-27 코일의 권선 방법 및 권선 장치

Publications (2)

Publication Number Publication Date
KR20180098689A true KR20180098689A (ko) 2018-09-04
KR101948499B1 KR101948499B1 (ko) 2019-02-14

Family

ID=47505918

Family Applications (2)

Application Number Title Priority Date Filing Date
KR1020147000739A Active KR101910225B1 (ko) 2011-07-08 2012-06-27 코일의 권선 방법 및 권선 장치
KR1020187024382A Active KR101948499B1 (ko) 2011-07-08 2012-06-27 코일의 권선 방법 및 권선 장치

Family Applications Before (1)

Application Number Title Priority Date Filing Date
KR1020147000739A Active KR101910225B1 (ko) 2011-07-08 2012-06-27 코일의 권선 방법 및 권선 장치

Country Status (6)

Country Link
US (2) US20140184379A1 (ko)
JP (1) JP5535141B2 (ko)
KR (2) KR101910225B1 (ko)
CN (1) CN103843088B (ko)
TW (1) TWI552177B (ko)
WO (1) WO2013008621A1 (ko)

Families Citing this family (7)

* Cited by examiner, † Cited by third party
Publication number Priority date Publication date Assignee Title
JP5490186B2 (ja) * 2012-05-31 2014-05-14 株式会社エス・エッチ・ティ コイルの巻線方法及び変圧器
JP5499349B2 (ja) * 2012-11-02 2014-05-21 福井県 巻線構造及びそれを用いた電気機器
CN104347263A (zh) * 2013-07-25 2015-02-11 安徽一变变压器制造有限公司 壳式变压器绕线机
WO2015155899A1 (ja) * 2014-04-12 2015-10-15 福井県 巻線構造及びそれを用いた電気機器
CN110310821A (zh) * 2019-07-22 2019-10-08 成都玖锦科技有限公司 一种微型精密金丝线圈绕制装置
DE102023129768A1 (de) * 2023-10-27 2025-04-30 Wafios Aktiengesellschaft Verfahren und Umformmaschine zur Herstellung von Formteilen
KR20250156298A (ko) 2024-04-25 2025-11-03 경북대학교 산학협력단 금속 나노입자가 전착된 초친수성 티타늄 산화물 나노튜브 전극, 이의 제조방법 및 이를 이용한 음이온 교환막 수전해 장치

Citations (2)

* Cited by examiner, † Cited by third party
Publication number Priority date Publication date Assignee Title
JP2003086438A (ja) 2001-07-03 2003-03-20 Sht:Kk 空芯コイル、コイル装置及びそれらの製造方法
JP2006339407A (ja) 2005-06-02 2006-12-14 Sht Corp Ltd 自動巻線機及びこれを用いた空心コイルの製造方法

Family Cites Families (11)

* Cited by examiner, † Cited by third party
Publication number Priority date Publication date Assignee Title
US3787766A (en) * 1972-02-22 1974-01-22 Duncan Electric Co Inc Meter magnet with strip-wound current coil
US3989200A (en) * 1975-04-22 1976-11-02 Bachi, Inc. Non-circular perfect layer electrical coils
US4924201A (en) * 1988-08-29 1990-05-08 General Electric Company Core and coil assembly for a transformer having an amorphous steel core
JPH07183152A (ja) * 1993-12-22 1995-07-21 Toshiba Corp コイル巻線装置
CN1258782C (zh) * 2001-07-03 2006-06-07 Sht有限公司 线圈装置的制造方法
JP3621676B2 (ja) * 2001-11-29 2005-02-16 昭和電線電纜株式会社 電気コイルの巻線加工装置
WO2003105165A1 (ja) * 2002-06-11 2003-12-18 株式会社エス・エッチ・ティ 空芯コイル及びその製造方法
JP4059888B2 (ja) * 2005-03-31 2008-03-12 三映電子工業株式会社 矩形状コイルの製造方法及び矩形状コイルの製造装置
JP5155732B2 (ja) * 2008-05-15 2013-03-06 株式会社日立産機システム 変圧器用多段コイル、並びにそれを製作するための巻線方法及び装置
JP4278700B1 (ja) * 2008-06-12 2009-06-17 日特エンジニアリング株式会社 エッジワイズコイルの巻線方法及び巻線装置
JP5935478B2 (ja) * 2012-04-19 2016-06-15 株式会社豊田自動織機 コイル巻取り装置の芯金

Patent Citations (2)

* Cited by examiner, † Cited by third party
Publication number Priority date Publication date Assignee Title
JP2003086438A (ja) 2001-07-03 2003-03-20 Sht:Kk 空芯コイル、コイル装置及びそれらの製造方法
JP2006339407A (ja) 2005-06-02 2006-12-14 Sht Corp Ltd 自動巻線機及びこれを用いた空心コイルの製造方法

Also Published As

Publication number Publication date
KR20140037211A (ko) 2014-03-26
CN103843088B (zh) 2016-08-31
JP5535141B2 (ja) 2014-07-02
WO2013008621A1 (ja) 2013-01-17
US20170069424A1 (en) 2017-03-09
US10418173B2 (en) 2019-09-17
JP2013021041A (ja) 2013-01-31
CN103843088A (zh) 2014-06-04
TW201308375A (zh) 2013-02-16
KR101910225B1 (ko) 2018-10-19
KR101948499B1 (ko) 2019-02-14
TWI552177B (zh) 2016-10-01
US20140184379A1 (en) 2014-07-03

Similar Documents

Publication Publication Date Title
KR101948499B1 (ko) 코일의 권선 방법 및 권선 장치
JP5131560B2 (ja) コイル製造方法及びコイル製造装置
JP5131561B2 (ja) コイル製造方法、コイル製造装置、及びコイル
KR101715991B1 (ko) 자동 권선기, 공심 코일 및 그 권선 방법
JP4600580B2 (ja) 固定子コイルの製造方法
CN105934871A (zh) 定子绕组用线圈的制造方法
CN112020818A (zh) 电气设备用线圈的制造方法及制造装置
US9242830B2 (en) Coil winding method and transformer
JP2019195845A (ja) コイル成形装置およびコイル成形方法
JP5369160B2 (ja) 空芯コイルの巻線装置
JP6741148B2 (ja) コイルの形成方法およびステータの製造方法
JP6476472B2 (ja) 巻線装置
JP5499349B2 (ja) 巻線構造及びそれを用いた電気機器
JP5146778B2 (ja) 線材成形装置及びコイル製造装置
JP5244223B2 (ja) 空芯コイル及びその巻線方法
JP2015019439A (ja) 連続波型コイルの成形方法
JP2019057975A (ja) コイルの製造方法およびコイルの製造装置
CN102859848A (zh) 定子及其制造方法
KR20250116358A (ko) 모터의 헤어핀 성형장치 및 성형방법
CN120770109A (zh) 用于制造电机的转子或定子的绕组垫的弯曲装置

Legal Events

Date Code Title Description
A107 Divisional application of patent
PA0104 Divisional application for international application

St.27 status event code: A-0-1-A10-A18-div-PA0104

St.27 status event code: A-0-1-A10-A16-div-PA0104

PG1501 Laying open of application

St.27 status event code: A-1-1-Q10-Q12-nap-PG1501

A201 Request for examination
PA0201 Request for examination

St.27 status event code: A-1-2-D10-D11-exm-PA0201

E902 Notification of reason for refusal
PE0902 Notice of grounds for rejection

St.27 status event code: A-1-2-D10-D21-exm-PE0902

T11-X000 Administrative time limit extension requested

St.27 status event code: U-3-3-T10-T11-oth-X000

R17-X000 Change to representative recorded

St.27 status event code: A-3-3-R10-R17-oth-X000

P11-X000 Amendment of application requested

St.27 status event code: A-2-2-P10-P11-nap-X000

P13-X000 Application amended

St.27 status event code: A-2-2-P10-P13-nap-X000

E701 Decision to grant or registration of patent right
PE0701 Decision of registration

St.27 status event code: A-1-2-D10-D22-exm-PE0701

PR0701 Registration of establishment

St.27 status event code: A-2-4-F10-F11-exm-PR0701

PR1002 Payment of registration fee

St.27 status event code: A-2-2-U10-U12-oth-PR1002

Fee payment year number: 1

PG1601 Publication of registration

St.27 status event code: A-4-4-Q10-Q13-nap-PG1601

PR1001 Payment of annual fee

St.27 status event code: A-4-4-U10-U11-oth-PR1001

Fee payment year number: 4

PN2301 Change of applicant

St.27 status event code: A-5-5-R10-R13-asn-PN2301

St.27 status event code: A-5-5-R10-R11-asn-PN2301

PR1001 Payment of annual fee

St.27 status event code: A-4-4-U10-U11-oth-PR1001

Fee payment year number: 7

R18 Changes to party contact information recorded

Free format text: ST27 STATUS EVENT CODE: A-5-5-R10-R18-OTH-X000 (AS PROVIDED BY THE NATIONAL OFFICE)

R18-X000 Changes to party contact information recorded

St.27 status event code: A-5-5-R10-R18-oth-X000

PR1001 Payment of annual fee

St.27 status event code: A-4-4-U10-U11-oth-PR1001

Fee payment year number: 8

U11 Full renewal or maintenance fee paid

Free format text: ST27 STATUS EVENT CODE: A-4-4-U10-U11-OTH-PR1001 (AS PROVIDED BY THE NATIONAL OFFICE)

Year of fee payment: 8