WO2012164858A1 - Stereoscopic video imaging system and synchronous control method - Google Patents
Stereoscopic video imaging system and synchronous control method Download PDFInfo
- Publication number
- WO2012164858A1 WO2012164858A1 PCT/JP2012/003294 JP2012003294W WO2012164858A1 WO 2012164858 A1 WO2012164858 A1 WO 2012164858A1 JP 2012003294 W JP2012003294 W JP 2012003294W WO 2012164858 A1 WO2012164858 A1 WO 2012164858A1
- Authority
- WO
- WIPO (PCT)
- Prior art keywords
- imaging apparatus
- imaging
- signal
- main
- sub
- Prior art date
- Legal status (The legal status is an assumption and is not a legal conclusion. Google has not performed a legal analysis and makes no representation as to the accuracy of the status listed.)
- Ceased
Links
Images
Classifications
-
- H—ELECTRICITY
- H04—ELECTRIC COMMUNICATION TECHNIQUE
- H04N—PICTORIAL COMMUNICATION, e.g. TELEVISION
- H04N13/00—Stereoscopic video systems; Multi-view video systems; Details thereof
- H04N13/20—Image signal generators
- H04N13/296—Synchronisation thereof; Control thereof
-
- G—PHYSICS
- G03—PHOTOGRAPHY; CINEMATOGRAPHY; ANALOGOUS TECHNIQUES USING WAVES OTHER THAN OPTICAL WAVES; ELECTROGRAPHY; HOLOGRAPHY
- G03B—APPARATUS OR ARRANGEMENTS FOR TAKING PHOTOGRAPHS OR FOR PROJECTING OR VIEWING THEM; APPARATUS OR ARRANGEMENTS EMPLOYING ANALOGOUS TECHNIQUES USING WAVES OTHER THAN OPTICAL WAVES; ACCESSORIES THEREFOR
- G03B35/00—Stereoscopic photography
- G03B35/08—Stereoscopic photography by simultaneous recording
-
- H—ELECTRICITY
- H04—ELECTRIC COMMUNICATION TECHNIQUE
- H04N—PICTORIAL COMMUNICATION, e.g. TELEVISION
- H04N13/00—Stereoscopic video systems; Multi-view video systems; Details thereof
- H04N13/20—Image signal generators
- H04N13/204—Image signal generators using stereoscopic image cameras
- H04N13/239—Image signal generators using stereoscopic image cameras using two 2D image sensors having a relative position equal to or related to the interocular distance
-
- G—PHYSICS
- G03—PHOTOGRAPHY; CINEMATOGRAPHY; ANALOGOUS TECHNIQUES USING WAVES OTHER THAN OPTICAL WAVES; ELECTROGRAPHY; HOLOGRAPHY
- G03B—APPARATUS OR ARRANGEMENTS FOR TAKING PHOTOGRAPHS OR FOR PROJECTING OR VIEWING THEM; APPARATUS OR ARRANGEMENTS EMPLOYING ANALOGOUS TECHNIQUES USING WAVES OTHER THAN OPTICAL WAVES; ACCESSORIES THEREFOR
- G03B2206/00—Systems for exchange of information between different pieces of apparatus, e.g. for exchanging trimming information, for photo finishing
-
- H—ELECTRICITY
- H04—ELECTRIC COMMUNICATION TECHNIQUE
- H04N—PICTORIAL COMMUNICATION, e.g. TELEVISION
- H04N23/00—Cameras or camera modules comprising electronic image sensors; Control thereof
- H04N23/60—Control of cameras or camera modules
- H04N23/66—Remote control of cameras or camera parts, e.g. by remote control devices
Definitions
- the present disclosure relates to a stereoscopic video imaging system and a synchronous control method that are suitable for use in the case where, for example, a stereoscopic video (3D video) is generated from videos captured with two cameras.
- a stereoscopic video (3D video) is generated from videos captured with two cameras.
- the stereoscopic video imaging system there is a system in which videos of reflected light and transmitted light are captured with right and left cameras through a half mirror mounted to a mount called rig.
- a stereoscopic video is captured using a rig, it is necessary for the two cameras used to coincide with each other in settings thereof and to be synchronized with each other in order to prevent generation of a difference between videos captured with the right and left cameras.
- two cameras are connected to each other through a cable for transmitting a genlock (generator lock) signal (synchronization signal) that is used for synchronizing the two cameras.
- the two cameras synchronize processing frames of video signals thereof on the basis of the genlock signal.
- the two cameras are connected to each other through a cable for transmitting a time code signal that is used for synchronizing time codes of the two cameras.
- the time code is used for editing a moving image and the like.
- the time code is information on a time (hour, minute, and number of frames) from the start of shooting.
- the cable for the genlock signal and the cable for the time code signal each include two signal lines for input and output.
- a camera 101 and a genlock signal generator 103 are connected to each other by a cable 104A, a camera 102 and the genlock signal generator 103 are connected to each other by a cable 104B, and the camera 101 and the camera 102 are connected to each other by a time code signal cable 105.
- a genlock signal (Genlock in) generated in the genlock signal generator 103 is input to each of the cameras 101 and 102 so that the two cameras are synchronized with each other.
- an input and an output (TC in, TC out) of the time code signal are transmitted and received through the cable 105.
- a configuration file containing a setting value of one camera is stored in a memory card, and then the configuration file is called from the memory card by the other camera so that the settings of the two cameras are matched with each other.
- a camera operator needs to match the settings of the two cameras while comparing them with use of a menu or a remote operation apparatus (remote controller).
- remote controller remote operation apparatus
- a recording button of the camera main body or remote controller needs to be pressed at the same time in the two cameras.
- Patent Literature 1 proposes the following technique.
- a shooting parameter value set for the main imaging apparatus is transferred to the other imaging apparatus so that a common shooting parameter value is also set for the other imaging apparatus automatically.
- Patent Literature 1 discloses a technique of, when the camera operator operates a second operation switch (presses a release button all the way down), transmitting a shooting command to the other imaging apparatus and taking images at the same timing between those imaging apparatuses. With this technique, a shooting operation in a connection destination can be automatically performed almost at the same time as when a shooting operation with use of a main camera is performed.
- a stereoscopic video imaging system including a first imaging apparatus, a second imaging apparatus coupled to the first imaging apparatus and arranged to take a 3D image.
- a single cable connects the first imaging apparatus to the second imaging apparatus.
- a switching device selects one of the first and second imaging apparatuses to be a main imaging apparatus and the remaining imaging apparatus to be a sub imaging apparatus.
- the main imaging apparatus is enabled to generate a synchronization signal, the synchronization signal being communicated to the sub imaging apparatus through the single cable.
- the main imaging apparatus is enabled to generate a time code signal for matching a time code for the main imaging apparatus with a time code of the sub imaging apparatus, the time code signal being communicated to the sub imaging apparatus through the single cable.
- the main imaging apparatus is enabled to generate a data signal containing a shooting parameter, the data signal being communicated to the sub imaging apparatus through the single cable.
- an imaging device having single cable, a receiver to receive signals from a main imaging apparatus through the single cable and a transmitter to transmit signals to a sub imaging apparatus through the single cable.
- a switching device can switch the imaging device to either a main imaging apparatus mode or a sub imaging apparatus mode and generate a 3D image in communication with a second imaging apparatus.
- the imaging apparatus in the main imaging apparatus mode the imaging device is enabled to generate a synchronization code, the synchronization signal being communicated to the second imaging apparatus through the single cable and when in the sub imaging apparatus mode the imaging device is enabled to receive a synchronization code, the synchronization signal being communicated from the second imaging apparatus through the single cable.
- the imaging device when in the main imaging apparatus mode the imaging device is enabled to generate a time code signal for matching a time code for the imaging apparatus with a time code of the sub imaging apparatus, the time code signal being communicated to the second imaging apparatus through the single cable and when in the sub imaging apparatus mode the imaging device is enabled to receive a time code signal, the time code signal being communicated from the second imaging apparatus through the single cable.
- the imaging device when in the main imaging apparatus mode the imaging device is enabled to generate a data signal containing a shooting parameter, the data signal being communicated to the second imaging apparatus through the single cable and when in the sub imaging apparatus mode the imaging device is enabled to receive a data signal, the data signal being communicated from the second imaging apparatus through the single cable. According to the present disclosure, it is possible to save time and effort for shooting preparation of two imaging apparatuses that take a stereoscopic video.
- FIG. 1 is a block diagram showing an example of an external structure of a stereoscopic video imaging system according to an embodiment of the present disclosure.
- FIG. 2 is a schematic diagram showing a structure of a dedicated cable according to the embodiment of the present disclosure.
- FIG. 3 is an explanatory diagram showing an example of an internal structure of an input circuit and an output circuit in an imaging apparatus according to the embodiment of the present disclosure.
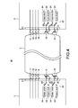
- FIG. 4 is an explanatory diagram showing the input circuit and the output circuit in the imaging apparatus according to an embodiment of the present disclosure.
- FIG. 5 is a block diagram showing an example of an internal structure of the stereoscopic video imaging system according to the embodiment of the present disclosure.
- FIG. 6 is a block diagram showing an example of an internal structure of a main controller according to the embodiment of the present disclosure.
- FIG. 7 is a flowchart showing a processing example up to completion of shooting preparation of two imaging apparatuses connected to each other by a dedicated cable according to the embodiment of the present disclosure.
- FIG. 8 is an explanatory diagram showing a transition example of a menu screen of a viewfinder according to the embodiment of the present disclosure.
- FIG. 9 is an explanatory diagram showing a display example of a viewfinder of the imaging apparatus on a main apparatus side according to the embodiment of the present disclosure.
- FIG. 10 is an explanatory diagram showing a display example of a viewfinder of the imaging apparatus on a sub-apparatus side according to the embodiment of the present disclosure.
- FIG. 11 is an explanatory diagram showing a display example of the viewfinder (on the main apparatus side), in which a setting value is being reflected, according to the embodiment of the present disclosure.
- FIG. 12 is an explanatory diagram showing an example of a method of connecting two imaging apparatuses in related the art.
- FIG. 1 is a block diagram showing an example of an external structure of a stereoscopic video imaging system according to an embodiment of the present disclosure.
- the stereoscopic video imaging system 10 includes a first imaging apparatus 1 and a second imaging apparatus 2 installed on a rig 4 as imaging apparatuses that capture two-dimensional videos with the same number of frames and the same image size in one second. Incident light from a subject is split into transmitted light and reflected light through a half mirror 5, and enters an optical system 6 of each of the imaging apparatus 1 and the imaging apparatus 2.
- the imaging apparatus 1 and the imaging apparatus 2 include a common terminal and are connected to each other by a single dedicated cable 3, which has been developed by the applicant of this application.
- the imaging apparatus 1 and the imaging apparatus 2 can transmit and receive a genlock (or generator lock) signal (synchronization signal) for controlling synchronization of video recording or reproducing processing in a unit of frames between those apparatuses, a time code signal used for editing a moving image, and the like.
- a genlock (or generator lock) signal synchronization signal
- first imaging apparatus 1 and the second imaging apparatus 2 each include an operation unit with which a camera operator instructs each unit to operate by inputting an operation.
- FIG. 1 illustrates, as an example of the operation unit, an assignable button 7 and a recording button 8.
- the imaging apparatus 1 and the imaging apparatus 2 each include a slot 9 for loading a memory card.
- FIG. 2 is a schematic diagram showing a structure of the dedicated cable 3.
- FIG. 3 is an explanatory diagram showing an example of an internal structure of an input circuit and an output circuit in an imaging apparatus.
- FIG. 4 is an explanatory diagram showing the input circuit and the output circuit in the imaging apparatus.
- the dedicated cable 3 includes, in a cylindrical protective covering 3a (see FIG. 3), a coaxial wire 12 for a genlock signal, a coaxial wire 13 for a time code signal, and four conductive wires 14 to 17 for data signals. Characteristic impedances of the coaxial wires 12 and 13 are 75ohm or 50ohm, for example.
- Male connectors 11A and 11B are provided to both ends of the dedicated cable 3. The connectors 11A and 11B each have the same structure and each include eight terminals (pins). Conduction between corresponding terminals of the two connectors 11A and 11B is established by those signal lines.
- Table 1 shows names of signals that are input and output to and from the terminals of the connectors 11A and 11B of the dedicated cable 3.
- first pins of the connectors 11A and 11B of the dedicated cable 3 are assigned to a reference potential (Genlock(GND)) of a genlock signal
- second pins thereof are assigned to the genlock signal (Genlock)
- third pins are assigned to a reference potential (TC(GND)) of a time code signal
- fourth pins are assigned to the time code signal (TC)
- fifth to eighth pins are assigned to a data signal.
- the fifth pins are assigned to reception data (RX)
- the sixth pins are assigned to transmission data (TX)
- the seventh pins are assigned to a clock signal (CLK)
- the eighth pins are assigned to a chip select signal (CS).
- Information items included in the reception data (RX) and the transmission data (TX) are an input operation signal of a recording start, a recording stop, or the like of the imaging apparatus 1 or the imaging apparatus 2, a control signal based thereon, a camera setting value (shooting parameter), and the like.
- the clock signal (CLK) is a signal that is used for a plurality of blocks in the imaging apparatus 1 or the imaging apparatus 2 to synchronize timings of operation.
- the chip select signal (CS) is a signal representing which hardware module (IC etc.) of the imaging apparatus 1 and the imaging apparatus 2 is enabled. When the chip select signal is active, read and write of the hardware module can be performed.
- the connector 11A (male) of the dedicated cable 3 and a connector 21 (female) of the imaging apparatus 1 are connected to each other and the connector 11B (male) of the dedicated cable 3 and a connector 21 (female) of the imaging apparatus 2 are connected to each other so that the imaging apparatus 1 and the imaging apparatus 2 are physically and electrically connected to each other.
- the two imaging apparatuses 1 and 2 are connected to each other by the single dedicated cable 3, and a genlock signal, a time code signal, and a data signal are transmitted by the single cable so that settings of the cameras, synchronization, recording start/stop, and the like can be performed.
- a genlock signal, a time code signal, and a data signal are transmitted by the single cable so that settings of the cameras, synchronization, recording start/stop, and the like can be performed.
- the imaging apparatus 1 and the imaging apparatus 2 are connected to each other by a single dedicated cable 3, it is necessary to set an input side (main apparatus side) and an output side (sub-apparatus side) for the imaging apparatus 1 and the imaging apparatus 2.
- the imaging apparatus 1 is set to be an input side
- the imaging apparatus 2 is set to be an output side.
- the setting of those two imaging apparatuses 1 and 2 may be reversed between the input side and the output side depending on a shooting condition or the intention of the camera operator.
- an internal structure of the imaging apparatus for switching the setting will be described.
- the imaging apparatus 1 and the imaging apparatus 2 have the same structure, and therefore the imaging apparatus 1 will be described here.
- a center core (inner conductor) of the coaxial wire 12 of the dedicated cable 3 is connected to the second terminal (second pin) of the connector 21, and an outer conductor thereof is connected to the first terminal (first pin) of the connector 21.
- the outer conductor is basically a reference of a zero-volt potential. Therefore, the first terminal is connected to an electronic circuit of the imaging apparatus connected via an outer metallic part of the connector 21 or to a ground wire of a casing of the imaging apparatus.
- the second terminal of the connector 21 is connected to a connector interface 22 (hereinafter, also referred to as "connector I/F" or “input and output I/F").
- connector I/F also referred to as "connector I/F” or "input and output I/F”
- the connector I/F 22 includes an input circuit 23, an output circuit 24, and a switching unit 25.
- the input circuit 23 and the output circuit 24 are connected to an electronic circuit (not shown) of the imaging apparatus.
- the fifth to eighth terminals of the connector 21 are also connected to the electronic circuit of the imaging apparatus.
- the input circuit 23 can be structured by a buffer amplifier (amplifier circuit) in which an input terminal thereof is connected to the switching unit 25 and an output terminal thereof is connected to the electronic circuit of the imaging apparatus, and a resistor (termination resistor) in which one terminal is connected between the switching unit 25 and the buffer amplifier and the other terminal is connected to the ground wire.
- a resistance value of 75ohm or 50ohm is used in accordance with an impedance of the coaxial wire for the purpose of impedance matching.
- the output circuit 24 can be structured by a buffer amplifier (amplifier circuit) in which an input terminal thereof is connected to the electronic circuit of the imaging apparatus, and a resistor (output resistor) in which one terminal is connected to an output terminal of the buffer amplifier and the other terminal is connected to the switching unit 25.
- a resistance value of 75ohm or 50ohm is used in accordance with an impedance of the coaxial wire for the purpose of impedance matching.
- the switching unit 25 switches connection between the input circuit 23 and the output circuit 24 according to an instruction from the main controller 37. Accordingly, the imaging apparatus can be switched between the input side (main apparatus side) and the output side (sub-apparatus side).
- the connector I/F 22 includes another input circuit 23, another output circuit 24, and another switching unit 25.
- the input circuit 23 and the output circuit 24 are connected to the electronic circuit of the imaging apparatus.
- the switching unit 25 is connected to the fourth terminal. Connection is switched between the input circuit 23 and the output circuit 24 by the switching unit 25.
- the present disclosure is not limited to this example showing the structure in which switching between the input circuit 23 and the output circuit 24 is performed by using a single switching unit 25.
- the following structure may be adopted, in which a buffer amplifier and a resistor are shared between the input circuit 23 and the output circuit 24, a plurality of switching units are provided, and connection is switched among the plurality of switching units in accordance with a setting so that the orientation of the buffer amplifier and the function of the resistor (output resistor and termination resistor) are selected.
- FIG. 5 is a block diagram showing an example of an internal structure of the stereoscopic video imaging system 10 according to the embodiment of the present disclosure. Since the imaging apparatus 1 and the imaging apparatus 2 that are connected to each other by the dedicated cable 3 have the same functional blocks, an example of an internal structure of the imaging apparatus 1 will be described here. In the following description, the imaging apparatus set on the input side (main apparatus side) is referred to as “main apparatus” and the imaging apparatus set on the output side (sub-apparatus side) is referred to as "different apparatus" in some cases.
- the imaging apparatus 1 includes an imaging unit 31 constituted of an image sensor, a circuit for reading out an imaging signal from the image sensor, and the like.
- the image sensor included in the imaging unit 31 converts image light that has entered via a lens of an optical system 6 mounted to the imaging apparatus 1 into an electric imaging signal.
- An imaging timing, an imaging cycle, an imaging operation in the imaging unit 31 are controlled by an imaging controller 39.
- the imaging controller 39 controls the imaging unit 31 so that imaging is performed based on a camera setting value (shooting parameter) stored in a memory 40 or an instruction from an operation unit 38 that is input via the main controller 37 (one example of controller).
- the camera setting value based on the operation of the operation unit 38 or the like is stored in the memory 40.
- the imaging signal output from the imaging unit 31 is input to a signal processing unit 32.
- the signal processing unit 32 performs various types of signal processing on the input imaging signal and outputs the resultant signal as a video signal to a recording/reproducing processing unit 34.
- a memory 33 is connected to the signal processing unit 32 and temporarily stores data of the video signal in order to perform signal processing in the signal processing unit 32.
- the recording/reproducing processing unit 34 converts the video signal input from the signal processing unit 32 into a video signal of a predetermined output format and outputs the obtained video signal to a large capacity storage 44 in the recording or to a display controller 35 in the reproduction.
- a large capacity storage a hard disk, a semiconductor memory, or the like is used.
- the imaging signal (raw data) output from the imaging unit 31 may be output as an output video signal as it is to the display controller 35, without performing format conversion of the video signal.
- a chroma burst signal in a video signal (VBS) with a chroma burst signal, which is generated in the recording/reproducing processing unit 34 is used as a synchronization reference signal, that is, a genlock signal (Genlock).
- a genlock signal (Genlock)
- TC time code signal
- a drive signal is generated from the supplied video signal in accordance with a display method, a resolution, and the like of a display panel 36, and then supplied to the display panel 36.
- the display panel 36 serving as a viewfinder displays a video on the screen on the basis of the supplied drive signal.
- a FPD Full Panel Display
- a liquid crystal display panel is used as the display panel 36.
- an operation switch for example, an operation switch (assignable button 7, recording button 8, etc.) provided to the camera main body, and a remote controller, a push button, a toggle switch, a touch panel display, and the like (that are not shown) are used.
- An input operation signal from the operation unit 38 is input to the main controller 37 via an interface unit (not shown).
- the memory card 43 is to record data of the camera setting value, captured video data, and the like.
- the main controller 37 stores the data of the camera setting value in the memory 40.
- a communication controller 41 controls communication between the main apparatus (imaging apparatus 1) and a different apparatus (imaging apparatus 2).
- the communication controller 41 transmits a genlock signal, a time code signal, and a data signal output from the main controller 37 of the main apparatus to the different apparatus, and conversely receives a genlock signal, a time code signal, and a data signal from the different apparatus to input those signals to the main controller 37.
- description on the communication controller 41 of each imaging apparatus may be omitted.
- the imaging apparatuses 1 and 2 each include a commercial power supply or a power supply unit (not shown) that receives power from a battery, and supply power to the blocks. Supply and stop of power with respect to the blocks are performed by pressing a power supply button (not shown) of the operation unit 38, for example.
- FIG. 6 is a block diagram showing an example of an internal structure of the main controller 37 according to the embodiment of the present disclosure.
- the main controller 37 includes a command analysis unit 51, a dedicated cable detection unit 52, a negotiation unit 53, an input/output switching controller 54, and a synchronization controller 55.
- an arithmetic control device such as an MPU (Micro-Processing Unit) can be used.
- the command analysis unit 51 analyzes a command contained in an operation input signal from the operation unit 38 and sends the result of analysis to the blocks. Further, based on the result of analysis, the command analysis unit 51 reads out data such as a camera setting value (shooting parameter) from the memory 40 to output a control signal to the imaging controller 39, or stores data in the memory 40. Further, the command analysis unit 51 exchanges data with the communication controller 41.
- the dedicated cable detection unit 52 detects whether the connector 11A of the dedicated cable 3 is inserted into the connector 21 of the imaging apparatus 1, and notifies the negotiation unit 53 of the result of the detection.
- a resistor is connected between predetermined terminals of the connector 11A of the dedicated cable 3
- the negotiation unit 53 exchanges information on a setting of the main apparatus (imaging apparatus 1) or the different apparatus (imaging apparatus 2) with the other negotiation unit 53, before performing negotiation processing between those imaging apparatuses, that is, starting communication therebetween.
- the information on the setting also contains setting information of a main imaging apparatus or a sub-imaging apparatus of each imaging apparatus, in addition to communication setting information of each imaging apparatus.
- the input/output switching controller 54 After receiving from the negotiation unit 53 the notification indicating that the negotiation is ended, the input/output switching controller 54 performs control such that the input circuit 23 and the output circuit 24 of the input and output I/F 22 (see FIGS. 3 and 4) are switched.
- the input/output switching controller 54 instructs switching between the input circuit 23 and the output circuit 24 of the main apparatus and also instructs switching between the input circuit 23 and the output circuit 24 of the different apparatus.
- the synchronization controller 55 After receiving from the input/output switching controller 54 the notification indicating that the switching between the input circuit 23 and the output circuit 24 is ended, the synchronization controller 55 performs control such that the main apparatus and the different apparatus are synchronized with each other.
- the synchronization controller 55 transmits and receives a genlock signal and a time code signal with respect to the different apparatus via the communication controller 41 to synchronize the generator lock signals and time code signals.
- the display controller 35 generates a drive signal in accordance with the analysis result of the operation input signal input from the command analysis unit 51 or an input from the synchronization controller 55 and supplies the drive signal to the display panel 36.
- the internal structure of the imaging apparatus 1 has been described above.
- the imaging apparatus 2 also has the same structure.
- a camera operator first presses a power supply button of the imaging apparatus 1 to turn on the imaging apparatus 1.
- the imaging apparatus 1 and the imaging apparatus 2 is a main imaging apparatus (input side) or a sub-imaging apparatus (output side).
- the imaging apparatus 1 is set to be a main imaging apparatus and the imaging apparatus 2 is set to be a sub-imaging apparatus.
- the camera operator selects a stereoscopic video imaging mode from a menu of the imaging apparatus 1 (Step S1). Then, the camera operator sets the imaging apparatus 1 to be an imaging apparatus on the main apparatus side, for example.
- the command analysis unit 51 of the main controller 37 of the imaging apparatus 1 analyzes an input operation signal from the operation unit 38, determines that the imaging apparatus 1 has been set to be a main imaging apparatus, and stores the details on the setting in the memory 40.
- the camera operator operates the operation unit 38 to display a menu screen as shown in FIG. 8, for example, on the display panel 36 and makes setting.
- the camera operator first displays a main menu on the screen and selects "camera” that is a menu item for shooting, to display a camera menu on the right-hand side of the main menu.
- the camera operator selects, from the camera menu, a "3D-Link Mode” that is a stereoscopic video imaging mode, and displays a 3D-Link Mode menu on the right-hand side of the camera menu.
- the camera operator selects "main” from a plurality of menu items of the 3D-Link Mode menu, to thereby set the imaging apparatus 1 to be an imaging apparatus on the main apparatus side (input side).
- the camera operator turns on the imaging apparatus 2, and then selects a stereoscopic video imaging mode from a menu of the imaging apparatus 2 (Step S2) and sets the imaging apparatus 2 to be an imaging apparatus on the sub-apparatus side (output side).
- the settings of a main apparatus and a sub-apparatus with respect to the two imaging apparatuses 1 and 2 are executed and stored in the memory 40 in advance, and when the imaging apparatuses 1 and 2 are turned on, those imaging apparatuses call the settings from the memory 40.
- the camera operator connects the connector 11A of the dedicated cable 3 to the connector 21 of the imaging apparatus 1, and connects the connector 11B of the dedicated cable 3 to the connector 21 of the imaging apparatus 2.
- the main controller 37 detects that the connector 11A of the dedicated cable 3 has been inserted into the connector 21 of the imaging apparatus 1 (Step S3).
- the main controller 37 detects that the connector 11B of the dedicated cable 3 has been inserted into the connector 21 of the imaging apparatus 2 (Step S4). It should be noted that the processing of selecting the stereoscopic video imaging mode in Steps S1 and S2 and the processing of connecting the dedicated cable 3 in Steps S3 and S4 may be performed in reverse order.
- the main controller 37 (negotiation unit 53) of the imaging apparatus 1 requests the imaging apparatus 2 to transmit information on the setting of the imaging apparatus (Step S5).
- the main controller 37 (negotiation unit 53) of the imaging apparatus 2 receives the request and sends back the information on the setting of the imaging apparatus 2 to the imaging apparatus 1 (Step S6).
- the main controller 37 (negotiation unit 53) of the imaging apparatus 1 receives the information sent back and stores the information on the setting of the imaging apparatus 2 in the memory 40 (Step S7).
- the main controller 37 (input/output switching controller 54) of the imaging apparatus 1 switches the switching unit 25 (first switching unit) of the input and output I/F 22 to the output circuit 24 side (Step S8). With this operation, an orientation of the buffer amplifier and the resistor (output resistor) are switched and a genlock circuit and a time code circuit are switched to the output side.
- the main controller 37 (input/output switching controller 54) of the imaging apparatus 1 transmits, to the imaging apparatus 2, a command for instructing switching of a genlock circuit and a time code circuit to the input side (Step S9).
- the main controller 37 (input/output switching controller 54) of the imaging apparatus 2 receives, from the imaging apparatus 1, the command for instructing switching of a genlock circuit and a time code circuit to the input side (Step S10).
- the main controller 37 (input/output switching controller 54) of the imaging apparatus 2 switches the switching unit 25 (second switching unit) of the input and output I/F 22 to the output circuit 24 side (Step S11). With this operation, an orientation of the buffer amplifier and the resistor (termination resistor) are switched and the genlock circuit and the time code circuit are switched to the input side.
- the main controller 37 (input/output switching controller 54) of the imaging apparatus 2 transmits, to the imaging apparatus 1, a command indicating that the switching of the genlock circuit and the time code circuit to the input side has been completed (Step S12).
- the main controller 37 (input/output switching controller 54) of the imaging apparatus 1 receives, from the imaging apparatus 2, the command indicating that the switching of the genlock circuit and the time code circuit to the input side has been completed (Step S13).
- Step S1 to S13 communication between the imaging apparatus 1 and the imaging apparatus 2 is performed using the conductive wire 14 (for reception signal (RX)) and the conductive wire 15 (for transmission signal (TX)) of the dedicated cable 3.
- the main controller 37 (synchronization controller 55) of the imaging apparatus 1 transmits a genlock signal to the imaging apparatus 2 through the coaxial wire 12 of the dedicated cable 3. Further, the main controller 37 (synchronization controller 55) of the imaging apparatus 1 transmits a time code signal to the imaging apparatus 2 through the coaxial wire 13 of the dedicated cable 3 (Step S14).
- the main controller 37 (synchronization controller 55) of the imaging apparatus 2 receives the genlock signal and the time code signal from the imaging apparatus 1 through the dedicated cable 3 for synchronization (Step S15).
- the main controller 37 (synchronization controller 55) of the imaging apparatus 2 transmits a command indicating that the synchronization has been completed to the imaging apparatus 1 through the conductive wire 15 of the dedicated cable 3 (Step S16).
- the main controller 37 (synchronization controller 55) of the imaging apparatus 1 receives, from the imaging apparatus 2, the command indicating that the synchronization of the genlock signal and the time code signal has been completed, through the conductive wire 15 of the dedicated cable 3 (Step S17).
- the main controller 37 of the imaging apparatus 1 instructs the display controller 35 to display a screen indicating that the imaging apparatus 1 is set on a main apparatus side (output side) (Step S18).
- the display controller 35 Upon reception of the instruction, the display controller 35 outputs a drive signal to the display panel 36 so that a screen 61 (see FIG. 9) indicating that the imaging apparatus 1 is the main apparatus is displayed on the viewfinder.
- a status as to whether the imaging apparatus 1 is on the left- or right-hand side is also displayed on the viewfinder.
- the imaging apparatus 1 is set so as to correspond to the left eye, and therefore "Left" is displayed together with "3D-Main".
- the main controller 37 of the imaging apparatus 2 instructs the display controller 35 to display a screen indicating that the imaging apparatus 2 is set on a sub-apparatus side (input side) (Step S19).
- the display controller 35 Upon reception of the instruction, the display controller 35 outputs a drive signal to the display panel 36 so that a screen 62 (see FIG. 10) indicating that the imaging apparatus 2 is the sub-apparatus is displayed on the viewfinder.
- the imaging apparatus 2 is set so as to correspond to the right eye, and therefore "Right" is displayed together with "3D-Sub".
- the imaging apparatus 1 and the imaging apparatus 2 enter the state in which the imaging apparatus 1 and the imaging apparatus 2 can capture a stereoscopic video.
- a structure in which, in the case where two imaging apparatuses are connected to each other by a dedicated cable and the two imaging apparatuses are set to be a main apparatus and a sub-apparatus, input circuits and output circuits provided to the respective input and output I/Fs of the imaging apparatuses are switched. Therefore, even if any of the two imaging apparatuses is set to be the main apparatus or the sub-apparatus, the two imaging apparatuses can be caused to function as a stereoscopic video imaging system.
- a single conductive wire (for example, coaxial wire) for transmitting a genlock signal and a single conductive wire (for example, coaxial wire) for transmitting a time code signal only need to be prepared in a single dedicated cable.
- one cable is connected between two imaging apparatuses, with the result that the two imaging apparatuses are synchronized with each other and the time codes are matched with each other. Therefore, a plurality of conductive wires for synchronizing the two imaging apparatuses and matching time codes are integrated into one cable, with the result that the number of cables can be reduced. Therefore, since it is unnecessary to connect the plurality of cables to the two imaging apparatuses of the stereoscopic video imaging system, time and effort for shooting preparation can be saved.
- a time required for an operation in which settings of two imaging apparatuses for capturing a stereoscopic video are matched with each other can be shortened significantly, with the result that time and effort for shooting preparation can be saved.
- the camera operator presses the assignable button to transmit the camera setting value from the main apparatus to the sub-apparatus.
- a dedicated button may be provided, or an item for transmitting setting data of the imaging apparatus 1 is selected from a menu so that the transmission function described above may be executed.
- a structure in which a camera setting value is automatically transmitted from the main apparatus to the sub-apparatus to share the camera setting value therebetween may be adopted.
- the processing of reflecting the camera setting value of the main imaging apparatus 1 on the sub-imaging apparatus 2 is assumed only when the camera operator executes an operation of transmitting the setting data as described above.
- the camera setting value of the main imaging apparatus 1 is reflected on the sub-imaging apparatus 2
- the camera setting values of the main imaging apparatus and the sub-imaging apparatus are not constantly in conjunction (synchronization) with each other, and setting values of the shooting parameters can be changed for each imaging apparatus.
- an individual difference is slightly caused in the imaging apparatuses due to, for example, a color of lens glass of an optical system and items whose setting values are desired to be slightly changed appear between the two imaging apparatuses.
- the imaging apparatus 1 and the imaging apparatus 2 can stop recording at the same time.
- the recording start and recording stop of two imaging apparatuses can be reliably executed by one operation.
- the imaging apparatus 1 is set to be a main apparatus and the imaging apparatus 2 is set to be a sub-apparatus, but they may be reversely set as a matter of course.
- the structure in which the coaxial wires are used for transmitting a genlock signal and a time code signal is adopted (see FIGS. 3 to 5), but it may be the same structure as that of the conductive wires for transmitting a data signal.
- a series of processing in the embodiment described above can be executed by hardware, but it may also be executed by software.
- the series of processing can be executed by a computer in which a program constituting the software is incorporated in dedicate hardware (or control apparatus such as CPU) or a computer in which programs for executing various functions are installed.
- a program constituting desired software may be installed in a general-purpose personal computer or the like for execution.
- a recording medium on which a program code of the software that achieves the function of the embodiment described above is recorded may be supplied to a system or an apparatus. Furthermore, it is needless to say that the function is also achieved when a computer of the system or apparatus reads out the program code stored in the recording medium and executes it.
- the recording media for supplying a program code for example, a flexible disc, a hard disk, an optical disc, an magneto-optical disc, a CD-ROM, a CD-R, a magnetic tape, a nonvolatile memory card, and a ROM can be used.
- processing steps describing time-series processing also include, in addition to processing that are performed in time series along the described order, processing that are executed in parallel or individually though not processed chronologically (for example, parallel processing or processing by object).
- the present disclosure is not limited to the embodiment described above and can take various modified examples and application examples without departing from the gist described in the Claims.
- a stereoscopic video imaging system comprising: a first imaging apparatus; a second imaging apparatus coupled to the first imaging apparatus and arranged to take a 3D image; a single cable to connect the first imaging apparatus to the second imaging apparatus; a switching device for selecting one of the first and second imaging apparatuses to be a main imaging apparatus and the remaining imaging apparatus to be a sub imaging apparatus, wherein the main imaging apparatus is enabled to generate a synchronization signal, the synchronization signal being communicated to the sub imaging apparatus through the single cable.
- each of the first imaging apparatus and the second imaging apparatus includes a circuit provided in the imaging apparatus, a first input circuit that is connected to the circuit of the imaging apparatus and receives an input of a synchronization signal of the second imaging apparatus via the single cable, a first output circuit that is connected to the circuit of the first imaging apparatus and outputs a synchronization signal of the imaging apparatus via the single cable, a second input circuit that is connected to the circuit of the first imaging apparatus and receives an input of a time code signal of the second imaging apparatus via the single cable, a second output circuit that is connected to the circuit of the first imaging apparatus and outputs a time code signal of the first imaging apparatus via the single cable, a first switching unit that is connected to the first conductive wire and switches between the first input circuit and the first output circuit in accordance with a setting of the
- the stereoscopic video imaging system comprising a controller configured to provide a first switching signal to the second imaging apparatus when the first imaging apparatus is selected to be the main apparatus, the first switching signal indicating the second imaging apparatus is to be switched to a sub imaging apparatus.
- the controller is configured to receive a second switching signal from the second imaging apparatus, the second switching signal causing the switching device to switch the first imaging apparatus to be a sub imaging apparatus.
- the first conductive wire and the second conductive wire of the cable are center cores of a coaxial wire.
- An imaging device comprising: a single cable; a receiver to receive signals from a main imaging apparatus through the single cable; a transmitter to transmit signals to a sub imaging apparatus through the single cable; and a switching device to switch the imaging device to either a main imaging apparatus mode or a sub imaging apparatus mode, wherein the imaging device is enabled to generate a 3D image in communication with a second imaging apparatus, wherein when in the main imaging apparatus mode the imaging device is enabled to generate a synchronization code, the synchronization signal being communicated to the second imaging apparatus through the single cable, wherein when in the sub imaging apparatus mode the imaging device is enabled to receive a synchronization code, the synchronization signal being communicated from the second imaging apparatus through the single cable.
- a stereoscopic video imaging method comprising: generating a first image in a first imaging apparatus; generating a second image in a second imaging apparatus coupled to the first imaging apparatus and arranged to take a 3D image; connecting the first imaging apparatus to the second imaging apparatus by a single cable; selecting one of the first and second imaging apparatuses to be a main imaging apparatus and the remaining imaging apparatus to be a sub imaging apparatus, wherein, when first imaging apparatus is selected to be the main imaging apparatus, the first imaging apparatus is enabled to generate a synchronization signal, the synchronization signal being communicated to the sub imaging apparatus through the single cable.
- An imaging method comprising: coupling between a main imaging apparatus and sub imaging apparatus through a single cable; receiving signals from the main imaging apparatus through the single cable when in the sub imaging apparatus mode; transmitting signals to the sub imaging apparatus through the single cable. when in the main imaging apparatus mode; and switching to either the main imaging apparatus mode or the sub imaging apparatus mode, wherein the main imaging apparatus and the sub imaging apparatus are enabled to generate a 3D image, wherein when in the main imaging apparatus mode, generating a synchronization code, the synchronization signal being communicated to an imaging apparatus in the sub imaging apparatus mode through the single cable, wherein when in the sub imaging apparatus mode, receiving a synchronization code, the synchronization signal being communicated from an imaging apparatus in the main imaging apparatus mode through the single cable.
- 1,2 imaging apparatus 3 dedicated cable 7 assignable button 8 recording button 10 stereoscopic video imaging system 11A, 11B connector (male) 12, 13 coaxial wire 14 to 17 conductive wire 21 connector (female) 22 input and output I/F 23 input circuit 24 output circuit 25 switching unit 31 imaging unit 32 signal processing unit 33 memory 34 recording/reproducing processing unit 35 display controller 36 display panel (viewfinder) 37 main controller 38 operation unit 39 imaging controller 40 memory 41 communication controller 51 command analysis unit 52 dedicated cable detection unit 53 negotiation unit 54 input/output switching controller 55 synchronization controller
Landscapes
- Engineering & Computer Science (AREA)
- Multimedia (AREA)
- Signal Processing (AREA)
- Physics & Mathematics (AREA)
- General Physics & Mathematics (AREA)
- Studio Devices (AREA)
- Testing, Inspecting, Measuring Of Stereoscopic Televisions And Televisions (AREA)
- Stereoscopic And Panoramic Photography (AREA)
Priority Applications (4)
| Application Number | Priority Date | Filing Date | Title |
|---|---|---|---|
| US14/119,102 US9967548B2 (en) | 2011-06-03 | 2012-05-21 | Stereoscopic video imaging system and synchronous control method |
| BR112013030399A BR112013030399A2 (pt) | 2011-06-03 | 2012-05-21 | sistema, dispositivo e método de formação de imagem |
| KR1020137030927A KR20140030204A (ko) | 2011-06-03 | 2012-05-21 | 입체 영상 촬상 시스템 및 동기 제어 방법 |
| CN201280025614.4A CN103782594A (zh) | 2011-06-03 | 2012-05-21 | 立体视频成像系统和同步控制方法 |
Applications Claiming Priority (2)
| Application Number | Priority Date | Filing Date | Title |
|---|---|---|---|
| JP2011-125188 | 2011-06-03 | ||
| JP2011125188A JP5970748B2 (ja) | 2011-06-03 | 2011-06-03 | 動画像撮影システム及び同期制御方法 |
Publications (1)
| Publication Number | Publication Date |
|---|---|
| WO2012164858A1 true WO2012164858A1 (en) | 2012-12-06 |
Family
ID=47258735
Family Applications (1)
| Application Number | Title | Priority Date | Filing Date |
|---|---|---|---|
| PCT/JP2012/003294 Ceased WO2012164858A1 (en) | 2011-06-03 | 2012-05-21 | Stereoscopic video imaging system and synchronous control method |
Country Status (7)
| Country | Link |
|---|---|
| US (1) | US9967548B2 (enExample) |
| JP (1) | JP5970748B2 (enExample) |
| KR (1) | KR20140030204A (enExample) |
| CN (1) | CN103782594A (enExample) |
| BR (1) | BR112013030399A2 (enExample) |
| TW (1) | TW201312996A (enExample) |
| WO (1) | WO2012164858A1 (enExample) |
Families Citing this family (9)
| Publication number | Priority date | Publication date | Assignee | Title |
|---|---|---|---|---|
| EP3264740B1 (en) * | 2016-06-30 | 2019-08-28 | Nokia Technologies Oy | Modular camera blocks for virtual reality capture |
| KR102502583B1 (ko) | 2017-09-01 | 2023-02-22 | 삼성전자주식회사 | 복수의 이미지 센서들의 동기화 제어 방법 및 이를 구현한 전자 장치 |
| KR102385844B1 (ko) * | 2017-09-15 | 2022-04-14 | 삼성전자 주식회사 | 제 1 이미지 센서에서 제공된 신호를 이용하여 제 2 이미지 센서에서 데이터를 획득하는 방법 및 전자 장치 |
| CN107613355B (zh) * | 2017-09-22 | 2019-09-03 | 北京嗨动视觉科技有限公司 | 视频处理系统及视频处理器 |
| JP7211835B2 (ja) * | 2019-02-04 | 2023-01-24 | i-PRO株式会社 | 撮像システムおよび同期制御方法 |
| JP7340957B2 (ja) | 2019-05-27 | 2023-09-08 | キヤノン株式会社 | 撮像装置及びその制御方法及びプログラム |
| JP7477993B2 (ja) | 2020-03-09 | 2024-05-02 | キヤノン株式会社 | 撮像装置及びその制御方法及びプログラム |
| US11381787B2 (en) | 2020-03-09 | 2022-07-05 | Canon Kabushiki Kaisha | Image capturing apparatus, method for controlling same, and non-transitory computer-readable storage medium |
| JP7602881B2 (ja) * | 2020-09-03 | 2024-12-19 | キヤノン株式会社 | 撮像装置、撮像装置の制御方法、システム、及び、プログラム |
Citations (7)
| Publication number | Priority date | Publication date | Assignee | Title |
|---|---|---|---|---|
| JPH05227532A (ja) * | 1992-02-13 | 1993-09-03 | Erubetsukusu Video Kk | ビデオ信号処理方法および装置 |
| JPH08172420A (ja) * | 1994-12-16 | 1996-07-02 | Matsushita Electric Ind Co Ltd | 通信方式および通信装置 |
| JP2002214350A (ja) * | 2001-01-19 | 2002-07-31 | Canon Inc | 撮像装置 |
| JP2003309759A (ja) * | 2002-04-16 | 2003-10-31 | Matsushita Electric Ind Co Ltd | 撮影システム、テレビジョンカメラ、および撮影システムに用いる同期調整装置 |
| JP2005148090A (ja) * | 2003-11-11 | 2005-06-09 | Canon Inc | 撮像装置、撮像システム、その制御方法及び記憶媒体 |
| JP2009094724A (ja) * | 2007-10-05 | 2009-04-30 | Fujifilm Corp | 撮像装置 |
| JP2011028438A (ja) * | 2009-07-23 | 2011-02-10 | Alpine Electronics Inc | アプリケーション検証システム及びコンピュータプログラム |
Family Cites Families (32)
| Publication number | Priority date | Publication date | Assignee | Title |
|---|---|---|---|---|
| US2413996A (en) * | 1944-02-05 | 1947-01-07 | Worcester Film Corp | Apparatus for making stereopictures |
| NL7509245A (nl) * | 1975-08-04 | 1977-02-08 | Philips Nv | Elektronische schakelaar voor gebruik bij tele- visie. |
| US4489348A (en) * | 1982-09-23 | 1984-12-18 | Gordon W. Hueschen | Video camera synchronizer |
| AU590236B2 (en) * | 1984-12-21 | 1989-11-02 | Sony Corporation | Communication system for video information apparatus |
| US5288248A (en) * | 1991-10-28 | 1994-02-22 | Foxconn International | Totally shielded DIN connector |
| US5518418A (en) * | 1994-02-14 | 1996-05-21 | Hjs & E Engineering | SCSI ID connector assembly |
| US5592257A (en) * | 1994-08-24 | 1997-01-07 | Nikon Corporation | Electronic flash device with slave emission function |
| US6188431B1 (en) * | 1996-02-17 | 2001-02-13 | Casio Computers Co., Ltd. | Electronic still camera and method for communication between electronic still cameras |
| TW448686B (en) * | 1998-09-14 | 2001-08-01 | Sony Corp | External synchronization system using composite synchronization signal, and camera system using the same |
| JP2001036893A (ja) * | 1999-07-19 | 2001-02-09 | Matsushita Electric Ind Co Ltd | 監視装置 |
| TW463437B (en) * | 2000-02-02 | 2001-11-11 | Hon Hai Prec Ind Co Ltd | Cable connector assembly and its manufacturing method |
| JP3812264B2 (ja) * | 2000-02-15 | 2006-08-23 | カシオ計算機株式会社 | 撮像装置 |
| JP4908667B2 (ja) * | 2000-04-17 | 2012-04-04 | 日立電線株式会社 | 電線加工品とその製造方法 |
| GB2371161B (en) * | 2001-01-12 | 2003-01-29 | Primary Image | Synchronising a plurality of independent video signal generators |
| JP2004040185A (ja) * | 2002-06-28 | 2004-02-05 | Canon Inc | 信号処理装置、信号処理システム、信号処理方法、記憶媒体、及びプログラム |
| JP3927874B2 (ja) * | 2002-07-02 | 2007-06-13 | キヤノン株式会社 | 画像処理装置およびその制御方法およびプログラムおよび記憶媒体 |
| JP4477313B2 (ja) * | 2003-04-08 | 2010-06-09 | オリンパス株式会社 | レンズ交換式カメラシステム |
| JP4270961B2 (ja) * | 2003-07-17 | 2009-06-03 | 株式会社リコー | デジタルカメラ |
| US7793137B2 (en) * | 2004-10-07 | 2010-09-07 | Cisco Technology, Inc. | Redundant power and data in a wired data telecommunincations network |
| JP2006311039A (ja) * | 2005-04-27 | 2006-11-09 | Matsushita Electric Ind Co Ltd | 複数のカメラレコーダを用いた撮影システム |
| US20070146478A1 (en) * | 2005-07-14 | 2007-06-28 | Butler-Smith Bernard J | Stereoscopic 3D rig calibration and viewing device |
| JP2007072210A (ja) | 2005-09-07 | 2007-03-22 | Canon Inc | 撮像装置、その制御方法およびプログラム |
| US20070188603A1 (en) * | 2005-10-21 | 2007-08-16 | Riederer Thomas P | Stereoscopic display cart and system |
| JP4730341B2 (ja) * | 2007-06-06 | 2011-07-20 | 株式会社日立製作所 | 撮像装置 |
| US7991535B2 (en) * | 2008-02-08 | 2011-08-02 | Gittere Robert J | Portable, palm-sized data acquisition system for use in internal combustion engines and industry |
| JP4983729B2 (ja) * | 2008-06-05 | 2012-07-25 | 株式会社島津製作所 | 撮影装置 |
| JP5265417B2 (ja) * | 2009-03-09 | 2013-08-14 | オリンパスイメージング株式会社 | 撮影装置及び撮影制御方法 |
| US8228373B2 (en) * | 2009-06-05 | 2012-07-24 | Hines Stephen P | 3-D camera rig with no-loss beamsplitter alternative |
| CN102033415B (zh) * | 2009-09-27 | 2013-01-30 | 深圳市掌网立体时代视讯技术有限公司 | 立体数码成像同步装置和方法 |
| JP5586925B2 (ja) * | 2009-11-26 | 2014-09-10 | キヤノン株式会社 | 撮像装置、その制御方法、プログラム |
| EP2389004B1 (en) * | 2010-05-20 | 2013-07-24 | Sony Computer Entertainment Europe Ltd. | 3D camera and imaging method |
| US20130021448A1 (en) * | 2011-02-24 | 2013-01-24 | Multiple Interocular 3-D, L.L.C. | Stereoscopic three-dimensional camera rigs |
-
2011
- 2011-06-03 JP JP2011125188A patent/JP5970748B2/ja active Active
-
2012
- 2012-05-21 WO PCT/JP2012/003294 patent/WO2012164858A1/en not_active Ceased
- 2012-05-21 KR KR1020137030927A patent/KR20140030204A/ko not_active Withdrawn
- 2012-05-21 US US14/119,102 patent/US9967548B2/en active Active
- 2012-05-21 BR BR112013030399A patent/BR112013030399A2/pt not_active IP Right Cessation
- 2012-05-21 CN CN201280025614.4A patent/CN103782594A/zh active Pending
- 2012-05-22 TW TW101118187A patent/TW201312996A/zh unknown
Patent Citations (7)
| Publication number | Priority date | Publication date | Assignee | Title |
|---|---|---|---|---|
| JPH05227532A (ja) * | 1992-02-13 | 1993-09-03 | Erubetsukusu Video Kk | ビデオ信号処理方法および装置 |
| JPH08172420A (ja) * | 1994-12-16 | 1996-07-02 | Matsushita Electric Ind Co Ltd | 通信方式および通信装置 |
| JP2002214350A (ja) * | 2001-01-19 | 2002-07-31 | Canon Inc | 撮像装置 |
| JP2003309759A (ja) * | 2002-04-16 | 2003-10-31 | Matsushita Electric Ind Co Ltd | 撮影システム、テレビジョンカメラ、および撮影システムに用いる同期調整装置 |
| JP2005148090A (ja) * | 2003-11-11 | 2005-06-09 | Canon Inc | 撮像装置、撮像システム、その制御方法及び記憶媒体 |
| JP2009094724A (ja) * | 2007-10-05 | 2009-04-30 | Fujifilm Corp | 撮像装置 |
| JP2011028438A (ja) * | 2009-07-23 | 2011-02-10 | Alpine Electronics Inc | アプリケーション検証システム及びコンピュータプログラム |
Also Published As
| Publication number | Publication date |
|---|---|
| BR112013030399A2 (pt) | 2016-12-13 |
| JP2012253599A (ja) | 2012-12-20 |
| JP5970748B2 (ja) | 2016-08-17 |
| TW201312996A (zh) | 2013-03-16 |
| KR20140030204A (ko) | 2014-03-11 |
| US9967548B2 (en) | 2018-05-08 |
| CN103782594A (zh) | 2014-05-07 |
| US20140085419A1 (en) | 2014-03-27 |
Similar Documents
| Publication | Publication Date | Title |
|---|---|---|
| US9967548B2 (en) | Stereoscopic video imaging system and synchronous control method | |
| US11445126B2 (en) | Image capture device with interchangeable integrated sensor-optical component assemblies | |
| US10455180B2 (en) | Electronic apparatus and method for conditionally providing image processing by an external apparatus | |
| JP4081541B2 (ja) | 撮像通信システム | |
| US9563245B2 (en) | Electronic device and computer readable medium | |
| US20200387048A1 (en) | Integrated sensor-optical component accessory for image capture device | |
| US8937647B2 (en) | Stereoscopic imaging system, recording control method, stereoscopic image reproduction system, and reproduction control method | |
| US20120242805A1 (en) | Imaging device, synchronization control method, reproduction device, and stereoscopic video imaging system | |
| CN103024272A (zh) | 移动终端的双摄像头控制装置、方法、系统以及移动终端 | |
| CN101860682B (zh) | 摄像设备 | |
| US20120062554A1 (en) | Reproducing apparatus | |
| JP2001100868A (ja) | 携帯機器 | |
| JP2009094663A (ja) | 撮像装置 | |
| JP2005148090A (ja) | 撮像装置、撮像システム、その制御方法及び記憶媒体 | |
| US20230057637A1 (en) | Method and system for auto-detection and auto-connection between a device and an accessory device | |
| KR101238965B1 (ko) | 스마트 기기 결합 카메라 | |
| JP2011101218A (ja) | 撮像素子一体型交換レンズ式のカメラシステムとその動画生成方法 | |
| CN102487444A (zh) | 使用cmos图像传感器的立体成像系统 | |
| US11039292B2 (en) | Image acquisition device capable of acquiring images regardless of communication state, image acquisition method, recording medium, image acquisition system, imaging device, and imaging | |
| JP7001141B2 (ja) | 撮像装置、撮像方法、プログラム、及び、画像取得システム | |
| JP6503619B2 (ja) | 電子機器およびプログラム | |
| JP2017199392A (ja) | 電子機器およびプログラム | |
| US20220377734A1 (en) | Communication apparatus wirelessly communicating with external apparatus, control method, and storage medium | |
| JP2005229538A (ja) | デジタルカメラシステム | |
| JP2008199307A (ja) | 撮像装置及びデータ通信方法 |
Legal Events
| Date | Code | Title | Description |
|---|---|---|---|
| 121 | Ep: the epo has been informed by wipo that ep was designated in this application |
Ref document number: 12791974 Country of ref document: EP Kind code of ref document: A1 |
|
| WWE | Wipo information: entry into national phase |
Ref document number: 14119102 Country of ref document: US |
|
| ENP | Entry into the national phase |
Ref document number: 20137030927 Country of ref document: KR Kind code of ref document: A |
|
| NENP | Non-entry into the national phase |
Ref country code: DE |
|
| 122 | Ep: pct application non-entry in european phase |
Ref document number: 12791974 Country of ref document: EP Kind code of ref document: A1 |
|
| REG | Reference to national code |
Ref country code: BR Ref legal event code: B01A Ref document number: 112013030399 Country of ref document: BR |
|
| ENP | Entry into the national phase |
Ref document number: 112013030399 Country of ref document: BR Kind code of ref document: A2 Effective date: 20131126 |