WO2012117778A1 - 半導体装置の製造方法および半導体装置 - Google Patents

半導体装置の製造方法および半導体装置 Download PDF

Info

Publication number
WO2012117778A1
WO2012117778A1 PCT/JP2012/051659 JP2012051659W WO2012117778A1 WO 2012117778 A1 WO2012117778 A1 WO 2012117778A1 JP 2012051659 W JP2012051659 W JP 2012051659W WO 2012117778 A1 WO2012117778 A1 WO 2012117778A1
Authority
WO
WIPO (PCT)
Prior art keywords
film
semiconductor film
metal oxide
semiconductor
etching
Prior art date
Legal status (The legal status is an assumption and is not a legal conclusion. Google has not performed a legal analysis and makes no representation as to the accuracy of the status listed.)
Ceased
Application number
PCT/JP2012/051659
Other languages
English (en)
French (fr)
Japanese (ja)
Inventor
哲史 河村
内山 博幸
裕紀 若菜
太亮 尾崎
Current Assignee (The listed assignees may be inaccurate. Google has not performed a legal analysis and makes no representation or warranty as to the accuracy of the list.)
Hitachi Ltd
Original Assignee
Hitachi Ltd
Priority date (The priority date is an assumption and is not a legal conclusion. Google has not performed a legal analysis and makes no representation as to the accuracy of the date listed.)
Filing date
Publication date
Application filed by Hitachi Ltd filed Critical Hitachi Ltd
Publication of WO2012117778A1 publication Critical patent/WO2012117778A1/ja
Anticipated expiration legal-status Critical
Ceased legal-status Critical Current

Links

Images

Classifications

    • HELECTRICITY
    • H10SEMICONDUCTOR DEVICES; ELECTRIC SOLID-STATE DEVICES NOT OTHERWISE PROVIDED FOR
    • H10DINORGANIC ELECTRIC SEMICONDUCTOR DEVICES
    • H10D30/00Field-effect transistors [FET]
    • H10D30/60Insulated-gate field-effect transistors [IGFET]
    • H10D30/67Thin-film transistors [TFT]
    • H10D30/674Thin-film transistors [TFT] characterised by the active materials
    • H10D30/6755Oxide semiconductors, e.g. zinc oxide, copper aluminium oxide or cadmium stannate
    • HELECTRICITY
    • H10SEMICONDUCTOR DEVICES; ELECTRIC SOLID-STATE DEVICES NOT OTHERWISE PROVIDED FOR
    • H10DINORGANIC ELECTRIC SEMICONDUCTOR DEVICES
    • H10D99/00Subject matter not provided for in other groups of this subclass

Definitions

  • the present invention relates to a method of manufacturing a semiconductor device and a semiconductor device, and more particularly to a technique effective when applied to a semiconductor device having a field effect transistor using a semiconductor film made of a metal oxide as a channel layer.
  • a thin film transistor which is a kind of field effect transistor, can be formed on an insulating substrate such as glass, and is a device that plays an important role in electronics technology.
  • amorphous silicon or polycrystalline silicon is widely used as a channel layer material for TFTs.
  • TFTs using a semiconductor film made of a metal oxide as a channel layer have attracted attention as an alternative material for these silicon materials. Collecting.
  • a semiconductor film made of a metal oxide has excellent characteristics as a channel layer, the use of the semiconductor film can improve the characteristics of the TFT.
  • Many semiconductor films made of metal oxide can be formed at room temperature. Therefore, it can be used when forming a TFT on a so-called flexible substrate such as a plastic film having low heat resistance, and is considered as one of the promising candidates for the channel layer material of the TFT.
  • Non-Patent Document 1 discloses a TFT using In—Ga—Zn—O as a channel layer.
  • this document discloses that a region having a thickness of about 30 nm where the underlying channel layer is damaged is removed by wet etching when the source electrode and the drain electrode are dry-etched.
  • Non-Patent Document 2 discloses a TFT using In—Ga—Zn—O as a channel layer.
  • the source and drain electrodes are dried by forming an etch stopper layer of Cu—In—Ga—Zn—O (high resistance semiconductor) on the In—Ga—Zn—O channel layer. The damage at the time of etching is prevented from reaching the channel layer.
  • the present inventor is engaged in research and development of a thin film transistor using a semiconductor film made of a metal oxide as described above as a channel layer.
  • processing by dry etching is excellent in processing accuracy and processing speed, and is therefore a method that has high mass productivity and is widely used industrially. Therefore, it is difficult to avoid using such a sputtering method or dry etching method. Therefore, examination of an effective method for removing the damaged layer is eagerly desired.
  • Non-Patent Document 1 discusses removing a damaged channel layer having a thickness of about 30 nm by wet etching as described above.
  • Patent Document 2 as described above, an etch stopper layer is formed so that damage during dry etching of the source electrode and the drain electrode does not reach the channel layer.
  • the thickness of the channel layer can vary if the region damaged by dry etching is simply removed by wet etching. That is, wet etching has low controllability, and when a large number of TFTs are formed in a large area, the thickness of the channel layer of each TFT varies. Since the thickness of the channel layer is an important parameter that affects the characteristics of the TFT, the variation in the TFT characteristics increases due to the variation in the thickness of the channel layer. As a result, there is a problem that the yield of the product decreases.
  • Non-Patent Document 2 has a problem that the on-current of the TFT is reduced because a Cu—In—Ga—Zn—O layer having a high resistance is inserted between the channel layer and the source / drain electrodes. is there.
  • an object of the present invention is to provide a method of manufacturing a semiconductor device having good characteristics.
  • Another object of the present invention is to provide a semiconductor device having good characteristics.
  • an object of the present invention is to provide a configuration of a semiconductor device capable of improving the characteristics of a top contact TFT which is easily damaged by etching during processing of a source / drain electrode.
  • a method for manufacturing a semiconductor device shown in a representative embodiment includes: (a) forming a first semiconductor film made of a semiconductor containing a first metal oxide above a substrate; (B) forming a second semiconductor film made of a semiconductor containing a second metal oxide on the first semiconductor film; (c) the first semiconductor film and the second semiconductor film; (D) After the step (c), a step of forming a first conductive film on the second semiconductor film, and (e) after the step (d), A step of removing the first conductive film in the first region on the second semiconductor film by etching; and (f) removing the second semiconductor film in the first region by etching after the step (e). Between the step (c) and the step (f) (g Subjected to heat treatment in the first semiconductor film, a step of crystallizing the first semiconductor film.
  • a method for manufacturing a semiconductor device shown in a representative embodiment includes (a) a step of forming a semiconductor layer above a substrate, and (b) on the semiconductor layer. Forming a first semiconductor film made of a semiconductor containing a first metal oxide; and (c) forming a second semiconductor film made of a semiconductor containing a second metal oxide on the first semiconductor film.
  • a semiconductor device shown in a representative embodiment includes: (a) a first semiconductor film made of a polycrystalline semiconductor containing a first metal oxide disposed above a substrate; (B) a source electrode and a drain electrode disposed above the first semiconductor film and spaced apart with a first region on the first semiconductor film interposed therebetween; (c) a gate electrode; d) a transistor having a gate insulating film, and (e) a second semiconductor film made of a semiconductor containing a second metal oxide, the first semiconductor film, the source electrode, and the first A second semiconductor film disposed between the semiconductor film and the drain electrode. Further, (f) a semiconductor layer may be provided below the first semiconductor film.
  • a semiconductor device with good characteristics can be manufactured.
  • the characteristics can be improved.
  • FIG. 7 is a fragmentary cross-sectional view showing the manufacturing process of the semiconductor device of First Embodiment;
  • FIG. 7 is a plan view of relevant parts showing a manufacturing step of the semiconductor device of First Embodiment;
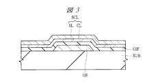
  • FIG. 3 is a main-portion cross-sectional view showing the manufacturing process of the semiconductor device in Embodiment 1, which is subsequent to FIG. 1;
  • FIG. 4 is a main-portion cross-sectional view showing the manufacturing process of the semiconductor device in Embodiment 1, which is subsequent to FIG. 3;
  • FIG. 3 is a plan view of relevant parts showing the manufacturing process of the semiconductor device of the first embodiment, and showing the process following FIG. 2;
  • FIG. 5 is a main-portion cross-sectional view showing the manufacturing process of the semiconductor device in Embodiment 1, which is subsequent to FIG. 4;
  • FIG. 7 is a cross-sectional view showing a main part of another manufacturing step of the semiconductor device in the first embodiment, following the step shown in FIG. 6;
  • FIG. 6 is a substantial part plan view showing a manufacturing process of the semiconductor device in the first embodiment, and is a relevant part plan view showing a process following FIG. 5;
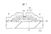
  • FIG. 8 is a cross-sectional view showing a main part of another manufacturing step of the semiconductor device in the first embodiment, following the step shown in FIG.
  • FIG. 10 is a main-portion cross-sectional view showing the manufacturing process of the semiconductor device of Embodiment 2;
  • FIG. 13 is a main-portion cross-sectional view showing the manufacturing process of the semiconductor device in Embodiment 2, which is subsequent to FIG. 12;
  • FIG. 10 is a main-portion cross-sectional view showing the manufacturing process of the semiconductor device in Embodiment 2, which is subsequent to FIG. 12;
  • FIG. 10 is a main-portion cross-sectional view showing the manufacturing process of the semiconductor device of Embodiment 2;
  • FIG. 13 is a main-portion cross-sectional view showing the manufacturing process of the semiconductor device in Embodiment 2, which is subsequent to FIG. 12;
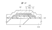
  • FIG. 14 is a main-portion cross-sectional view showing the manufacturing process of the semiconductor device in Embodiment 2, which is subsequent to FIG. 13;
  • FIG. 15 is a main-portion cross-sectional view showing the manufacturing process of the semiconductor device in Embodiment 2, which is subsequent to FIG. 14;
  • FIG. 16 is a main-portion cross-sectional view showing the manufacturing process of the semiconductor device in Embodiment 2, which is subsequent to FIG. 15;
  • FIG. 10 is a main-portion cross-sectional view showing the manufacturing process of the semiconductor device of Embodiment 3;
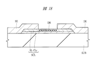
  • FIG. 18 is a main-portion cross-sectional view showing the manufacturing process of the semiconductor device in Embodiment 3, which is subsequent to FIG. 17;
  • FIG. 18 is a main-portion cross-sectional view showing the manufacturing process of the semiconductor device in Embodiment 3, which is subsequent to FIG. 17;
  • FIG. 19 is a main-portion cross-sectional view showing the manufacturing process of the semiconductor device in Embodiment 3, which is subsequent to FIG. 18;
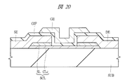
  • FIG. 20 is a main-portion cross-sectional view showing the manufacturing process of the semiconductor device in Embodiment 3, which is subsequent to FIG. 19;
  • FIG. 10 is a main-portion cross-sectional view showing the manufacturing process of the semiconductor device of Embodiment 4;
  • FIG. 22 is a main-portion cross-sectional view showing the manufacturing process of the semiconductor device in Embodiment 4, which is subsequent to FIG. 21;
  • FIG. 23 is a main-portion cross-sectional view showing the manufacturing process of the semiconductor device in Embodiment 4, which is subsequent to FIG. 22;
  • FIG. 24 is a main-portion cross-sectional view showing the manufacturing process of the semiconductor device in Embodiment 4, which is subsequent to FIG. 23; It is a circuit diagram which shows the structure of an active matrix substrate. It is a top view which shows the structure of an active matrix substrate. It is a block diagram which shows the structure of an RFID tag.
  • 28A and 28B are circuit diagrams illustrating a logic circuit, in which FIG. 28A illustrates an inverter circuit, FIG. 28B illustrates a NOR circuit, and FIG. 28C illustrates a NAND circuit.
  • the constituent elements are not necessarily indispensable unless otherwise specified or apparently indispensable in principle.
  • the shapes when referring to the shapes, positional relationships, etc. of the components, etc., the shapes are substantially the same unless otherwise specified, or otherwise apparent in principle. And the like are included. The same applies to the above numbers and the like (including the number, numerical value, quantity, range, etc.).
  • hatching may be omitted even in a cross-sectional view for easy understanding of the drawings. Further, even a plan view may be hatched to make the drawing easy to see.
  • FIG. 1 to 9 are main part sectional views or main part plan views showing manufacturing steps of the semiconductor device of the present embodiment.
  • the cross-sectional view of the main part corresponds to the AA part of the main part plan view.
  • FIG. 9 is one of main part sectional views showing the manufacturing process of the semiconductor device of the present embodiment.
  • the semiconductor device of this embodiment has a thin film transistor.
  • This thin film transistor is a so-called bottom gate / top contact transistor.
  • the bottom gate structure is a gate electrode below a semiconductor film that forms a channel (channel layer, here, a stacked film SCL of first and second metal oxide semiconductor films (conductive layer CLc and sacrificial layer SL)).
  • This refers to the structure in which the GE is arranged.
  • the top contact refers to a structure in which the source electrode SE and the drain electrode DE are disposed above the semiconductor film (here, the stacked film SCL).
  • the thin film transistor of the present embodiment is disposed on the main surface of the substrate SUB.
  • the thin film transistor of the present embodiment includes a gate electrode GE disposed on the substrate SUB, and the stacked film SCL that is a semiconductor film disposed on the gate electrode GE via the gate insulating film GIF; A source electrode SE and a drain electrode DE are disposed on the stacked film SCL.
  • the source electrode SE and the drain electrode DE are arranged at a predetermined interval on the overlapping region of the gate electrode GE and the laminated film SCL.
  • the portion having the predetermined interval becomes a channel region (first region).
  • the semiconductor film includes a first metal oxide semiconductor film (conductive layer CLc, first semiconductor film) and a second metal oxide semiconductor film (sacrificial layer SL, second semiconductor film) disposed thereon.
  • the upper second metal oxide semiconductor film (sacrificial layer SL) is removed.
  • the first metal oxide semiconductor film (conductive layer CLc) is disposed in the channel region, and the first and second layers are disposed on both sides of the channel region, that is, below the source electrode SE and the drain electrode DE.
  • a stacked film of metal oxide semiconductor films (conductive layer CLc and sacrificial layer SL) is disposed.
  • the semiconductor film is formed of a stacked film (conductive layer CLc and sacrificial layer SL) and the upper layer film (here, sacrificial layer SL) is removed in the channel region. Transistor characteristics are improved.
  • the sacrificial layer SL is removed from the semiconductor film in the channel region, damage is removed and the characteristics of the transistor can be improved.
  • the lower layer film (here, the conductive layer CLc) has an etching rate (etch rate) of the upper layer film (here, the sacrificial layer SL). ) Is selected to be lower than the etching rate.
  • the lower layer film (here, the conductive layer CLc) is crystallized (polycrystallized).
  • the average grain size of the crystals is 1 nm or more. Therefore, the etching rate is reduced due to crystallization, and the film thickness and variation of the lower layer film (here, the conductive layer CLc) are reduced during the wet etching of the upper layer film (here, the sacrificial layer SL) in the stacked film. Can do.
  • transistor characteristics can be improved.
  • the mobility of carriers (electrons and holes) can be improved and the transistor characteristics can be improved.
  • a glass substrate is prepared as the substrate SUB.
  • the substrate SUB for example, a substrate made of quartz, sapphire or the like in addition to glass can be used. Further, a substrate made of a plastic film or the like, that is, a so-called flexible substrate may be used. If necessary, a substrate in which an insulating film is coated on the surface on which the gate electrode GE is formed may be used.
  • the gate electrode material for example, a conductive film is deposited by sputtering or the like on the substrate SUB, and patterned into a predetermined shape (see FIG. 2), thereby forming the gate electrode GE.
  • the gate electrode material include molybdenum (Mo), chromium (Cr), tungsten (W), aluminum (Al), copper (Cu), titanium (Ti), nickel (Ni), silver (Ag), and gold ( Metal materials such as Au), platinum (Pt), tantalum (Ta), and zinc (Zn) can be used. These may be used alone, or among these, several metals may be used as an alloy. Alternatively, a film in which the metal single layer or alloy layer is laminated may be used.
  • a conductive metal oxide such as ITO (indium tin oxide, In—Sn—O, IndiumInTin Oxide) or aluminum zinc oxide (Al—Zn—O) may be used.
  • a conductive metal nitride such as titanium nitride (TiN) can be used.
  • a semiconductor containing impurities and having many carriers (electrons and holes) may be used.
  • a stacked body of the above metal compound (metal oxide, metal nitride) or semiconductor and a metal (including an alloy) may be used.
  • the gate electrode GE can be formed by vapor deposition or CVD (Chemical Vapor Deposition) as well as sputtering.
  • the patterning can be performed by forming a photoresist film having a predetermined shape using a photolithography technique and then etching using the photoresist film as a mask. As this etching, dry etching or wet etching can be used.
  • patterning may be performed by a so-called lift-off method in which the conductive film in a region other than the predetermined shape is removed together with the photoresist film. Good.
  • a molybdenum film (Mo) having a thickness of about 100 nm is formed by vapor deposition using an electron beam (EB), and patterned by reactive ion etching (RIE (Reactive Ion Etching)).
  • RIE reactive ion etching
  • the shape of the gate electrode GE (planar shape viewed from above) is formed in a substantially rectangular shape having long sides in the first direction (vertical direction in the drawing), for example, as shown in FIG.
  • a silicon oxide film (SiOx) is deposited on the gate electrode GE as a gate insulating film GIF by about 100 nm by a CVD method or the like.
  • another oxide film such as an aluminum oxide film may be used. It is preferable to use these oxide films.
  • an inorganic insulating film such as a silicon nitride film or an aluminum nitride film can be used. Further, an organic insulating film such as parylene may be used.
  • a sputtering method, a coating method, or the like may be used as the film formation method.
  • a first metal oxide semiconductor film is formed as a conductive layer (conductive film, semiconductor film, semiconductor layer) CL on the gate insulating film GIF.
  • the conductive layer CL is a film constituting a main channel region of the thin film transistor and has a semiconductor property.
  • an indium tin oxide (In—Sn—O, ITO: Indium ⁇ Tin ⁇ Oxide) film is deposited to a thickness of 5 nm or more by using, for example, an RF sputtering method.
  • indium oxide (In—O) may be used in addition to the indium tin oxide (In—Sn—O).
  • an oxide mainly composed of an oxide of In can be used.
  • the film forming method is a film forming method in which a target is irradiated with laser light and a target material is deposited on a substrate placed on the surface of the target.
  • the temperature at which the first metal oxide semiconductor film is formed is set to a temperature at which the metal oxide semiconductor film (conductive layer CL) does not crystallize (for example, 150 ° C. or less). That is, the metal oxide semiconductor film (conductive layer CL) is a non-crystalline (amorphous) film during film formation.
  • a second metal oxide semiconductor film is formed as a sacrificial layer (conductive film, semiconductor film, semiconductor layer) SL on the conductive layer CL.
  • This sacrificial layer SL is also a film having semiconductor properties.
  • an indium gallium zinc oxide (In—Ga—Zn—O) film is deposited as the second metal oxide semiconductor film (sacrificial layer SL) by using, for example, an RF sputtering method.
  • the thickness of the second metal oxide semiconductor film (sacrificial layer SL) is desirably set to 30 nm or more. This is because the depth of damage when the metal film MF described later is processed by dry etching is about 30 nm.
  • the second metal oxide semiconductor film in addition to the indium gallium zinc oxide, zinc oxide (Zn—O), gallium oxide (Ga—O), zinc tin oxide (Zn—Sn—O), indium zinc oxide (In Zn or Ga-based oxides such as —Zn—O), gallium zinc oxide (Ga—Zn—O), indium gallium oxide (In—Ga—O), aluminum zinc oxide (Al—Zn—O), and the like
  • other metal complex oxides can be used.
  • a CVD method, a PLD method, a coating method, a printing method, or the like can be used as the film formation method.
  • the temperature at which the second metal oxide semiconductor film is formed is such that the first metal oxide semiconductor film (conductive layer CL) is not crystallized at this time. ) Is preferably set to the above temperature at which crystallization does not occur (for example, 150 ° C. or lower).
  • the sacrificial layer SL is made of any one of In—Ga—Zn—O, Zn—O, Al—Zn—O, Ga—Zn—O, and Zn—Sn—O. A combination is preferred. The reason will be described below.
  • Indium tin oxide (In—Sn—O) has high practicality and versatility, and semiconductor characteristics can be easily realized by simply adjusting the oxygen content.
  • indium tin oxide (In—Sn—O)
  • a material containing about 10 wt% or less of Sn in In 2 O 3 is commercially available as a sputtering target for a transparent conductive film.
  • the oxygen partial pressure it is possible to control whether the conductivity or the semiconductor characteristic is manifested by controlling the oxygen partial pressure. That is, increasing the oxygen partial pressure increases the amount of oxygen in the film (thus reducing the amount of carrier electrons), and continuously shifts from conductivity to semiconductor properties.
  • the oxygen partial pressure is about 45 mPa
  • the carrier electron density is about 5 ⁇ 10 19 cm ⁇ 3
  • semiconductor characteristics begin to become apparent.
  • the oxygen partial pressure is about 20 mPa or less, the conductivity becomes remarkable, and it can be used as a material for the gate electrode GE, the source electrode SE, and the drain electrode DE described later.
  • each of In—Ga—Zn—O, Zn—O, Al—Zn—O, Ga—Zn—O, and Zn—Sn—O has an etching rate of polycrystalline.
  • the etching rate of indium tin oxide (In—Sn—O) is higher than 0.1 nm / min. Specifically, for In—Ga—Zn—O (amorphous state), 12 nm / min, Zn—O (crystalline state) For Zn—Sn—O (amorphous state) is 15 nm / min (see FIG. 11). Note that the above data is data when an oxalic acid-based etching solution (specifically, ITO-07N manufactured by Kanto Chemical Co., Inc.) is used as the etching solution.
  • the metal oxide is indicated by listing each element contained, and the composition ratio is not specified, but for these composition ratios, for example, desired characteristics, for example, If it is a semiconductor film, it may be a semiconductor characteristic, and if it is a conductive film, it may be a composition ratio having conductivity.
  • the laminated film SCL is processed into an island shape for element isolation.
  • a photoresist film (not shown) on a laminated film (laminated semiconductor film) SCL of first and second metal oxide semiconductor films (conductive layer CL and sacrificial layer SL), exposure / development processing (photolithography) )
  • photolithography photolithography
  • the laminated film having a desired shape is left by wet etching the laminated film using the photoresist film as a mask.
  • the conductive layer CL is not crystallized (in an amorphous state), and its etching rate is large, 12 nm / min. Therefore, it is easy to etch.
  • examples of the sacrificial layer SL include In—Ga—Zn—O, Zn—O, Al—Zn—O, Ga—Zn—O, and Zn—Sn—O, and others.
  • the difference from the etching rate of (-Sn-O) is small (all are 10 times or less), and it is suitable for use as the sacrificial layer SL.
  • the stacked film SCL of the first and second metal oxide semiconductor films has a shape (planar shape viewed from above) in the first direction (drawing), for example, as shown in FIG. It is formed in a substantially rectangular shape having a short side in the vertical direction).
  • the stacked film SCL is formed in a shape having a region overlapping with the gate electrode GE. Note that processing of a film using such photolithography and etching techniques is sometimes referred to as patterning.
  • the substrate SUB is subjected to heat treatment to crystallize the film below the stacked film SCL, that is, the first metal oxide semiconductor film (conductive layer CL).
  • the first metal oxide semiconductor film (conductive layer) after crystallization is denoted by CLc.
  • Crystallization here refers to polycrystallization so that the average particle diameter (diameter of crystal grains) is at least 1 nm or more.
  • the lower limit of the average particle size is 1 nm, but in a typical case, the average particle size is about 20 nm.
  • the average particle diameter (diameter of crystal grains) is a value measured using a transmission electron microscope or the like (the same applies to the following second to third embodiments).
  • the heat processing temperature is 100 degreeC or more and 300 degrees C or less.
  • the crystallization temperature of indium tin oxide (In—Sn—O) is about 150 ° C.
  • the etching rate by the inorganic acid or the organic acid is 1/100 (1/100) of that before crystallization (amorphous state).
  • the etching rate in the amorphous state is 12 nm / min.
  • the etching rate becomes 0.1 nm / min (1/120) (see FIG. 11).
  • the above data is data when an oxalic acid-based etching solution (specifically, ITO-07N manufactured by Kanto Chemical Co., Inc.) is used as the etching solution.
  • a metal film MF is formed as a conductive film on the second metal oxide semiconductor film (sacrificial layer SL).
  • the metal film MF includes, for example, molybdenum (Mo), chromium (Cr), tungsten (W), aluminum (Al), copper (Cu), titanium (Ti), nickel (Ni), tantalum (Ta), silver (Ag). ), Zinc (Zn), or other metal single layer films can be used.
  • An alloy film containing two or more kinds of metals among the plurality of metals can be used.
  • a laminated film of two or more kinds of films can be used among the metal film and the alloy film.
  • a metal compound such as a conductive film made of a metal oxide such as ITO (Indium Tin Oxide, In-Sn-O, Indium Tin Oxide), or a conductive film made of a metal nitride such as titanium nitride (TiN).
  • a conductive film may be used.
  • a laminated film of a conductive film made of such a metal compound and the above metal film or alloy film may be used.
  • a semiconductor film in which impurities are contained in a semiconductor film such as a polycrystalline silicon film and carriers (electrons, holes) are increased may be used.
  • a stacked film of a semiconductor film such as a polycrystalline silicon film and the above metal film or alloy film may be used.
  • the metal film or the alloy film can be formed using, for example, a sputtering method or a vapor deposition method.
  • the semiconductor film can be formed using a CVD method or the like.
  • the source electrode SE and the drain electrode DE are formed by patterning the metal film MF.
  • This patterning can be performed by dry etching using the photoresist film as a mask by leaving the photoresist film in the formation region of the source electrode SE and the drain electrode DE using a photolithography technique.
  • the second metal oxide semiconductor film (sacrificial layer SL) exposed from between the source electrode SE and the drain electrode DE is exposed to plasma and accelerated particles, so that a damaged region DR is formed.
  • the source electrode SE and the drain electrode DE have a substantially rectangular shape as shown in FIG. 8, and are arranged at predetermined intervals on the overlapping region. ing. The portion having the predetermined interval becomes a channel region.
  • the damage region DR described above is formed in a channel region that affects the characteristics of the thin film transistor.
  • the lower second metal oxide semiconductor film (sacrificial layer SL) is formed using the lower source electrode SE and drain electrode DE as a mask. Remove by wet etching.
  • an etchant containing an inorganic acid or an organic acid is used.
  • the above-described oxalic acid-based etching solution ITO-07N manufactured by Kanto Chemical Co., Inc.
  • the damaged region DR of the second metal oxide semiconductor film (sacrificial layer SL) is removed, and the lower first metal oxide semiconductor film (conductive layer CLc) is exposed from the channel region.
  • the first metal oxide semiconductor film (conductive layer CLc) is difficult to be etched due to the crystallization, and the wet etching is automatically performed on the surface of the first metal oxide semiconductor film (conductive layer CLc). Almost stops. Further, even if the film thickness of the conductive layer CLc is reduced by wet etching, it is extremely small. In this process, since wet etching is used instead of dry etching, the first metal oxide semiconductor film (conductive layer CLc) is not exposed to plasma or acceleration particles generated during dry etching. Damage to the channel region of one metal oxide semiconductor film (conductive layer CLc) due to plasma or accelerated particles can be avoided.
  • the thin film transistor of this embodiment is almost completed.
  • the first metal oxide semiconductor film (conductive layer CL) is crystallized after patterning the stacked film SCL of the first and second metal oxide semiconductor films (conductive layer CL and sacrificial layer SL). Thereafter, the formation of the metal film MF and the patterning of the metal film MF are performed.
  • the crystallization of the first metal oxide semiconductor film (conductive layer CL) is performed after the patterning step of the stacked film SCL, after the damage region DR (the first layer). The process may be performed until the removal step of the two-metal oxide semiconductor film (sacrificial layer SL)).
  • the first metal oxide semiconductor film (conductive layer CL) may be crystallized after the formation process of the metal film MF or the dry etching process of the metal film MF.
  • the semiconductor film is the stacked film SCL of the first and second metal oxide semiconductor films (the conductive layer CLc and the sacrificial layer SL), the damaged region DR can be removed. it can. Therefore, the characteristics of the thin film transistor can be improved by removing the damaged region DR.
  • the etching rate of the lower first metal oxide semiconductor film (conductive layer CLc) decreases due to crystallization. Therefore, film loss due to the wet etching can be reduced.
  • the film loss of the first metal oxide semiconductor film (conductive layer CLc) can be reduced.
  • variations in the thickness of the lower first metal oxide semiconductor film (conductive layer CLc) serving as a main channel region can be suppressed, and variations in characteristics of the thin film transistor such as a threshold potential can be reduced.
  • deterioration in characteristics of the thin film transistor can be reduced and the manufacturing yield of the semiconductor device can be improved.
  • the semiconductor film is the stacked film SCL of the first and second metal oxide semiconductor films (the conductive layer CL and the sacrificial layer SL)
  • the metal film MF constituting the source electrode SE and the drain electrode DE is formed, Even if damage due to plasma or accelerated particles is applied, the damage remains in the upper sacrificial layer SL, and damage applied to the first metal oxide semiconductor film (conductive layer CL) serving as a main channel layer can be reduced. .
  • the characteristics of the thin film transistor can be improved.
  • the second metal oxide semiconductor film (sacrificial layer SL) remains between the source electrode SE, the drain electrode DE, and the first metal oxide semiconductor film (conductive layer CLc).
  • the second metal oxide semiconductor film (sacrificial layer SL) also has a semiconductor property and has a relatively low resistance during operation of the thin film transistor, the second metal oxide semiconductor film (sacrificial layer SL) has little influence on the operation characteristics of the thin film transistor.
  • various semiconductors exemplified as the second metal oxide semiconductor film (sacrificial layer SL) are not high-resistance semiconductors such as Cu—In—Ga—Zn—O. Thus, reduction in on-state current of the thin film transistor can be suppressed.
  • the carrier mobility is improved by crystallization of the first metal oxide semiconductor film (conductive layer CLc) as compared with the amorphous state, the on-state current of the thin film transistor can be improved.
  • FIG. 10 shows the etching amount of the first metal oxide semiconductor film (conductive layer CLc) relative to the etch rate ratio between the first metal oxide semiconductor film (conductive layer CLc) and the second metal oxide semiconductor film (sacrificial layer SL). It is a graph which shows the variation of.
  • FIG. 11 is a table showing etch rates of various oxide materials with respect to the oxalic acid-based etching solution (specifically, ITO-07N manufactured by Kanto Chemical Co., Inc.).
  • the allowable range of film thickness variation in the film forming process is about ⁇ 5%. Therefore, for example, when the film thickness of the second metal oxide semiconductor film (sacrificial layer SL) is 30 nm or more, there is a variation of 3 nm or more.
  • the etching rate ratio (etch rate ratio) is 1, that is, the etching rate Er2 of the second metal oxide semiconductor film (sacrificial layer SL) and the first metal oxide semiconductor film (conductive layer).
  • the etching rate Er1 of CLc is the same (Er2 / Er1 is 1), the thickness of the first metal oxide semiconductor film (conductive layer CLc) varies by 3 nm or more.
  • the variation amount becomes 1/10 (1/10) 0.3 nm or more.
  • the etching rate ratio is 100, that is, Er2 / Er1 is 100, the variation amount is 0.03 nm or more of 1/100 (1/100), and the variation amount is substantially close to 0 (zero). Value.
  • an oxide material having an etching rate ratio (Er2 / Er1) of greater than 1, more preferably, 10 or greater is selected from the second metal oxide semiconductor film (sacrificial By selecting the layer SL), the amount of variation in the thickness of the first metal oxide semiconductor film (the conductive layer CLc, here, polycrystalline In—Sn—O) can be reduced.
  • the first metal oxide semiconductor film (conductive layer CLc, here, polycrystalline In—Sn—O) has been described as an example.
  • the first metal oxide semiconductor film is used.
  • indium oxide (In—O) may be used.
  • This indium oxide is also suitable for use as the first metal oxide semiconductor film (conductive layers CL and CLc) because the etching rate is lower in the polycrystalline state than in the amorphous state. Note that the crystallization temperature of indium oxide (In—O) is about 150 ° C.
  • the second metal oxide semiconductor film (sacrificial layer SL) shown in FIG. 12, specifically, In—Ga—Zn—O, Zn—O, and Zn—Sn—O are examples, and the etching rate Er2
  • another film may be used as long as it is a metal oxide semiconductor film that satisfies the relationship of greater than Er1 (Er2> Er1).
  • Er1a a metal oxide semiconductor that satisfies Er1a> Er1 when the etching rate in the amorphous state is Er1a and the etching rate after crystallization is Er1.
  • Other films may be used as long as they are films. Further, it is preferable that the difference between Er1a and Er2 is small.
  • FIG. 11 the etching rate for ITO-07N manufactured by Kanto Chemical Co., Inc. is illustrated, but the same tendency is shown in the etching with inorganic acid or organic acid.
  • the etchant besides ITO-07N manufactured by Kanto Chemical Co., Inc., hydrofluoric acid, hydrochloric acid, nitric acid, sulfuric acid, acetic acid, oxalic acid, or a mixture thereof can be used.
  • the semiconductor film is a stacked film of two types of semiconductor films (conductive layer CL and sacrificial layer SL), but this semiconductor film may be a stacked film of three types of semiconductor films.
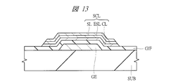
  • 12 to 16 are main-portion cross-sectional views showing the manufacturing process of the semiconductor device of the present embodiment. Since the configuration of the laminated film SCL is different from that of the first embodiment, the configuration of the laminated film SCL and the manufacturing process thereof will be described in detail.
  • FIG. 16 is one of main part cross-sectional views showing a manufacturing process of the semiconductor device of the present embodiment.
  • the semiconductor device of this embodiment has a thin film transistor.
  • This thin film transistor is a so-called bottom gate / top contact transistor.
  • the thin film transistor of the present embodiment is disposed on the main surface of the substrate SUB.
  • the thin film transistor of the present embodiment includes a gate electrode GE disposed on the substrate SUB, and the stacked film SCL that is a semiconductor film disposed on the gate electrode GE via the gate insulating film GIF; A source electrode SE and a drain electrode DE are disposed on the stacked film SCL.
  • the source electrode SE and the drain electrode DE are arranged at a predetermined interval on the overlapping region of the gate electrode GE and the laminated film SCL.
  • the portion having the predetermined interval becomes a channel region.
  • the semiconductor film includes a metal oxide semiconductor film (conductive layer CL, semiconductor layer, main channel layer) and a first metal oxide semiconductor film (etching stopper layer ESLc, first semiconductor film) disposed thereon. ) And a second metal oxide semiconductor film (sacrificial layer SL, second semiconductor film) disposed thereon.
  • the uppermost second metal oxide semiconductor film (sacrificial layer SL) is removed from the channel region.
  • a two-layered film of the first metal oxide semiconductor film (etching stopper layer ESLc) and the metal oxide semiconductor film (conductive layer CL) is disposed, and both sides of the channel region, that is, A laminated film of three metal oxide semiconductor films (conductive layer CL, etching stopper layer ESLc, and sacrificial layer SL) is disposed below the source electrode SE and the drain electrode DE.
  • the semiconductor film is formed of the three-layered film (conductive layer CL, etching stopper layer ESLc, and sacrificial layer SL) SCL, and the uppermost layer film (here, the sacrificial layer in the channel region). Since the layer SL) is removed, the transistor characteristics are improved.
  • the sacrificial layer SL since the uppermost layer film (here, the sacrificial layer SL) is removed from the semiconductor film in the channel region, damage can be removed and the characteristics of the transistor can be improved. it can.
  • the middle layer film (here, the etching stopper layer ESLc) is selected so that the etching rate is lower than the etching rate of the uppermost layer film (here, the sacrificial layer SL). Yes.
  • the middle layer film (here, the etching stopper layer ESLc) is crystallized (polycrystallized) in the three-layered film SCL constituting the semiconductor film.
  • the average grain size of the crystals is 1 nm or more. Accordingly, the etching rate is reduced by crystallization, and the middle layer film (here, the etching stopper layer ESLc) can function as an etching stopper when the upper layer film (here, the sacrificial layer SL) in the stacked film is wet etched.
  • the selectivity of the lowermost layer film (here, the conductive layer CL) constituting the main channel layer is improved.
  • the film having better semiconductor characteristics than the middle layer film (here, the etching stopper layer ESLc), for example, carrier A film having high mobility can be selected as appropriate and disposed in the lowermost layer. Thereby, the mobility of carriers (electrons and holes) can be improved and transistor characteristics can be improved.
  • the gate insulating film GIF is formed on the gate electrode GE, as in the first embodiment. Since the formation method and materials of the gate electrode GE and the gate insulating film GIF are the same as those in the first embodiment, detailed description thereof is omitted.
  • a metal oxide semiconductor film is formed as a conductive layer (conductive film, semiconductor film, semiconductor layer) CL on the gate insulating film GIF.
  • the conductive layer CL is a film constituting a main channel region of the thin film transistor and has a semiconductor property.
  • the metal oxide semiconductor film the metal compound semiconductor film described in Embodiment 1 (films exemplified as the conductive layer CL and the sacrificial layer SL in Embodiment 1), that is, indium oxide (In—O ), Indium zinc oxide (In—Zn—O), zinc oxide (Zn—O), gallium oxide (Ga—O), indium gallium zinc oxide (In—Ga—Zn—O), zinc tin oxide (Zn—Sn) —O), gallium zinc oxide (Ga—Zn—O), indium gallium oxide (In—Ga—O), aluminum zinc oxide (Al—Zn—O), tin oxide (Sn—O), etc. It can be selected and used.
  • These film forming methods are as described in the first embodiment.
  • the conductive layer CL is a film that constitutes the main channel region of the thin film transistor
  • a metal oxide semiconductor film with good semiconductor characteristics may be selected as appropriate.
  • the transistor characteristics can be improved by selecting a film having a semiconductor characteristic (for example, carrier mobility) that is at least better than that of an etching stopper (etch stopper) layer ESLc described later.
  • a film having good film forming properties may be selected.
  • transistor characteristics can be improved.
  • a low cost film may be used. In this case, the manufacturing cost of the thin film transistor can be reduced.
  • the conductive layer CL disposed in the lowermost layer of the stacked film SCL can be appropriately selected according to required performance and application.
  • a first metal oxide semiconductor film is formed as an etching stopper layer ESL on the conductive layer CL.
  • the etching stopper layer ESL has a semiconductor property.
  • an indium tin oxide (In—Sn—O, ITO: Indium ⁇ Tin ⁇ Oxide) film is deposited to a thickness of 5 nm or more by using, for example, an RF sputtering method.
  • indium oxide (In—O) may be used in addition to the indium tin oxide (In—Sn—O).
  • an oxide mainly composed of an oxide of In can be used.
  • the temperature at which the first metal oxide semiconductor film is formed is, for example, a temperature at which the metal oxide semiconductor film (conductive layer CL) does not crystallize (for example, 150 ° C. or less). That is, the metal oxide semiconductor film (conductive layer CL) is a non-crystalline (amorphous) film during film formation.
  • a second metal oxide semiconductor film is formed as a sacrificial layer (conductive film, semiconductor film, semiconductor layer) SL on the etching stopper layer ESL.
  • This sacrificial layer SL is also a film having semiconductor properties.
  • the second metal oxide semiconductor film (sacrificial layer SL) for example, indium gallium zinc oxide (In—Ga—Zn—O) is deposited using, for example, an RF sputtering method.
  • the thickness of the second metal oxide semiconductor film (sacrificial layer SL) is desirably set to 30 nm or more. This is because the depth of damage when the metal film MF described later is processed by dry etching is about 30 nm.
  • the second metal oxide semiconductor film in addition to zinc oxide, zinc oxide (Zn—O), gallium oxide (Ga—O), zinc tin oxide (Zn—Sn—O), indium zinc oxide (In—Zn oxide) Zn or Ga-based oxides such as —O), gallium zinc oxide (Ga—Zn—O), indium gallium oxide (In—Ga—O), aluminum zinc oxide (Al—Zn—O), and others It is possible to use a composite oxide of these metals. In addition to the sputtering method, a CVD method, a PLD method, a coating method, a printing method, or the like can be used as the film formation method.
  • the temperature at the time of forming the second metal oxide semiconductor film is such that the first metal oxide semiconductor film (etching stopper ESL) is not crystallized at this time.
  • the temperature is such that the layer ESL) does not crystallize (for example, 150 ° C. or lower).
  • the first metal oxide semiconductor film (etching stopper layer ESL) and the second metal oxide semiconductor film (sacrificial layer SL) various combinations of the above materials are conceivable.
  • the ESL is made of In—Sn—O
  • the sacrificial layer SL is made of any one of In—Ga—Zn—O, Zn—O, Al—Zn—O, Ga—Zn—O, and Zn—Sn—O. Such combinations are preferred.
  • the reason is as described in the first embodiment (see FIG. 11 and the like).
  • the laminated film SCL is processed into an island shape for element isolation.
  • a photoresist film (not shown) is formed on the laminated film (laminated semiconductor film) SCL of the metal oxide semiconductor film, the first and second metal oxide semiconductor films (conductive layer CL, etching stopper layer ESL, and sacrificial layer SL).
  • exposure / development processing photolithography
  • the laminated film having a desired shape is left by wet etching the laminated film using the photoresist film as a mask.
  • the etching stopper layer ESL is not crystallized (in an amorphous state), and the etching rate is high. Therefore, it is easy to etch.
  • the sacrificial layer SL include In—Ga—Zn—O, Zn—O, Al—Zn—O, Ga—Zn—O, and Zn—Sn—O, and others.
  • the difference from the etching rate of (-Sn-O) is small (both are 10 times or less) and is suitable for use as the sacrificial layer SL (see FIG. 11).
  • the shape of the laminated film SCL (planar shape viewed from above) is formed in a substantially rectangular shape having a short side in the first direction (vertical direction in the drawing), as in the first embodiment (see FIG. 5).
  • the stacked film SCL is formed in a shape having a region overlapping with the gate electrode GE.
  • the substrate SUB is subjected to heat treatment to crystallize the lower layer film of the stacked film SCL, that is, the first metal oxide semiconductor film (etching stopper layer ESL).
  • the first metal oxide semiconductor film (etching stopper layer ESL) after crystallization is indicated by ESLc.
  • Crystallization here refers to polycrystallization so that the average particle diameter (diameter of crystal grains) is at least 1 nm or more.
  • the lower limit of the average particle size is 1 nm, but in a typical case, the average particle size is about 20 nm.
  • the heat processing temperature is 100 degreeC or more and 300 degrees C or less.
  • the etching rate by the inorganic acid or the organic acid is 1/100 (1 / 100th of that before crystallization (amorphous state)).
  • the etching rate in the amorphous state is 12 nm / min.
  • the etching rate becomes 0.1 nm / min (1/120) (see FIG. 11).
  • a metal film MF is formed as a conductive film on the second metal oxide semiconductor film (sacrificial layer SL).
  • the metal film MF can be formed using, for example, the material described in Embodiment 1 by the film formation method described in Embodiment 1.
  • the metal film MF is patterned in the same manner as in the first embodiment to form the source electrode SE and the drain electrode DE.
  • the second metal oxide semiconductor film (sacrificial layer SL) exposed from between the source electrode SE and the drain electrode DE is exposed to plasma and accelerated particles, so that a damaged region DR is formed.
  • the shape of the source electrode SE and the drain electrode DE (planar shape seen from the top surface) is substantially rectangular as in the first embodiment (see FIG. 8), and has a predetermined interval on the overlapping region. It is placed and placed. The portion having the predetermined interval becomes a channel region.
  • the damage region DR described above is formed in a channel region that affects the characteristics of the thin film transistor.
  • the lower second metal oxide semiconductor film (sacrificial layer SL) is removed by wet etching.
  • the etchant an etchant containing an inorganic acid or an organic acid is used.
  • the above-described oxalic acid-based etching solution ITO-07N manufactured by Kanto Chemical Co., Inc.
  • the damaged region DR of the second metal oxide semiconductor film (sacrificial layer SL) is removed, and the lower first metal oxide semiconductor film (etching stopper layer ESLc) is exposed from the channel region.
  • the first metal oxide semiconductor film (etching stopper layer ESLc) is difficult to be etched due to the crystallization, and the wet etching is automatically performed on the surface of the first metal oxide semiconductor film (etching stopper layer ESLc). Almost stop. Further, even if the thickness of the etching stopper layer ESLc is reduced by wet etching, it is very small.
  • the first metal oxide semiconductor film (etching stopper layer ESLc) plays a role as an etching stopper, the lower metal oxide semiconductor film (conductive layer CL) is not affected by etching.
  • the thin film transistor of this embodiment is almost completed.
  • the first metal oxide semiconductor film (etching stopper layer ESL) was crystallized, and then the formation of the metal film MF and the patterning of the metal film MF were performed.
  • the crystallization of the first metal oxide semiconductor film (etching stopper layer ESL) The process may be performed after the patterning process of the film SCL and before the process of removing the damaged region DR (second metal oxide semiconductor film (sacrificial layer SL)).
  • the first metal oxide semiconductor film (etching stopper layer ESL) may be crystallized after the formation process of the metal film MF or the dry etching process of the metal film MF.
  • the semiconductor film is a metal oxide semiconductor film, the stacked film SCL of the first and second metal oxide semiconductor films (the conductive layer CL, the etching stopper layer ESLc, and the sacrificial layer SL).
  • the damaged region DR can be removed. Therefore, the characteristics of the thin film transistor can be improved by removing the damaged region DR.
  • the etching rate of the lower first metal oxide semiconductor film is decreased by crystallization even when wet etching, which is generally considered to have low controllability, is used.
  • it plays the role of an etching stopper, it reduces the film loss of itself and protects the underlying metal oxide semiconductor film (conductive layer CL).
  • the first metal oxide semiconductor film is reduced in film thickness, and the lower layer The metal oxide semiconductor film (conductive layer CL) can be protected.
  • the semiconductor film is a laminated film SCL of three layers (conductive layer CL, etching stopper layer ESLc, sacrificial layer SL), plasma and acceleration are performed when the metal film MF constituting the source electrode SE and the drain electrode DE is formed. Even if the damage due to the particles is applied, the damage remains in the uppermost sacrificial layer SL, and the metal oxide semiconductor film (conductive layer CL) or the first metal oxide semiconductor film (etching stopper layer ESLc) which becomes the main channel layer. ) Can be reduced. Thus, the characteristics of the thin film transistor can be improved.
  • the first and second metal oxide semiconductor films are provided between the source electrode SE and drain electrode DE and the metal oxide semiconductor film (conductive layer CL).
  • these films also have semiconductor properties and have a relatively low resistance during operation of the thin film transistor, there is little influence on the operation characteristics of the thin film transistor.
  • various semiconductors exemplified as the first and second metal oxide semiconductor films (etching stopper layer ESLc and sacrificial layer SL) are not high resistance semiconductors such as Cu—In—Ga—Zn—O. . Thus, reduction in on-state current of the thin film transistor can be suppressed.
  • the selection range of the lowermost metal oxide semiconductor is increased. That is, regardless of the etching rate, by selecting a desired semiconductor film, the semiconductor characteristics can be improved and the productivity can be improved.
  • the two-layer semiconductor film (the conductive layer CL and the sacrificial layer SL) has been described using a so-called bottom gate / top contact transistor as an example.
  • the sacrificial layer SL may be applied to a transistor having a top gate / top contact structure.
  • 17 to 20 are main-portion cross-sectional views showing the manufacturing process of the semiconductor device of the present embodiment. Detailed description of the configuration and manufacturing process common to the first embodiment will be omitted.
  • FIG. 20 is one of main part cross-sectional views showing a manufacturing process of the semiconductor device of the present embodiment.
  • the semiconductor device of this embodiment has a thin film transistor.
  • This thin film transistor is a so-called top gate / top contact transistor.
  • the top gate structure is a gate electrode formed above a semiconductor film that forms a channel (channel layer, here, a stacked film SCL of first and second metal oxide semiconductor films (conductive layer CLc and sacrificial layer SL)). This refers to the structure in which the GE is arranged.
  • the top contact refers to a structure in which the source electrode SE and the drain electrode DE are disposed above the semiconductor film (here, the conductive layer CLc and the sacrificial layer SL).
  • the thin film transistor of the present embodiment is disposed on the main surface of the substrate SUB.
  • the thin film transistor of this embodiment includes the stacked film SCL that is a semiconductor film disposed on the substrate SUB, the source electrode SE and the drain electrode DE disposed on the stacked film SCL, and the source electrode SE. And a gate electrode GE disposed between the drain electrode DE via a gate insulating film GIF.
  • the source electrode SE and the drain electrode DE are arranged at a predetermined interval on the laminated film SCL.
  • a gate electrode GE is disposed on the predetermined interval via a gate insulating film GIF, and a portion of the predetermined interval becomes a channel region.
  • the semiconductor film includes a first metal oxide semiconductor film (conductive layer CLc, first semiconductor film) and a second metal oxide semiconductor film (sacrificial layer SL, second semiconductor film) disposed thereon.
  • the upper second metal oxide semiconductor film (sacrificial layer SL) is removed.
  • the first metal oxide semiconductor film (conductive layer CLc) is disposed in the channel region, and the first and second layers are disposed on both sides of the channel region, that is, below the source electrode SE and the drain electrode DE.
  • a stacked film of metal oxide semiconductor films (conductive layer CLc and sacrificial layer SL) is disposed.
  • the semiconductor film is formed of a stacked film (conductive layer CLc and sacrificial layer SL) and the upper layer film (here, sacrificial layer SL) is removed in the channel region. Transistor characteristics are improved.
  • the sacrificial layer SL is removed from the semiconductor film in the channel region, damage is removed and the characteristics of the transistor can be improved.
  • the lower layer film (here, the conductive layer CLc) has an etching rate of the upper layer film (here, the sacrificial layer SL). Selected to be lower.
  • the lower layer film (here, the conductive layer CLc) is crystallized (polycrystallized).
  • the average grain size of the crystals is 1 nm or more. Therefore, the etching rate is reduced due to crystallization, and the film thickness and variation of the lower layer film (here, the conductive layer CLc) are reduced during the wet etching of the upper layer film (here, the sacrificial layer SL) in the stacked film. Can do.
  • transistor characteristics can be improved.
  • the mobility of carriers (electrons and holes) can be improved and the transistor characteristics can be improved.
  • a substrate SUB is prepared as in the first embodiment.
  • a first metal oxide semiconductor film is formed as a conductive layer (conductive film, semiconductor film, semiconductor layer) CL over the substrate SUB.
  • the conductive layer CL is a film constituting a main channel region of the thin film transistor and has a semiconductor property.
  • an indium tin oxide (In—Sn—O, ITO: Indium ⁇ Tin ⁇ Oxide) film is deposited to a thickness of 5 nm or more by using, for example, an RF sputtering method.
  • indium oxide (In—O) may be used in addition to the indium tin oxide (In—Sn—O).
  • an oxide mainly composed of an oxide of In can be used.
  • the film forming method in addition to the sputtering method, a CVD method, a PLD method, a coating method, a printing method, and the like can be used.
  • the temperature at which the first metal oxide semiconductor film is formed is set to a temperature at which the metal oxide semiconductor film (conductive layer CL) does not crystallize (for example, 150 ° C. or less). That is, the metal oxide semiconductor film (conductive layer CL) is a non-crystalline (amorphous) film during film formation.
  • a second metal oxide semiconductor film is formed as a sacrificial layer (conductive film, semiconductor film, semiconductor layer) SL on the conductive layer CL.
  • This sacrificial layer SL is also a film having semiconductor properties.
  • an indium gallium zinc oxide (In—Ga—Zn—O) film is deposited as the second metal oxide semiconductor film (sacrificial layer SL) by using, for example, an RF sputtering method.
  • the thickness of the second metal oxide semiconductor film (sacrificial layer SL) is desirably set to 30 nm or more. This is because the depth of damage when the metal film MF described later is processed by dry etching is about 30 nm.
  • the second metal oxide semiconductor film in addition to the indium gallium zinc oxide, zinc oxide (Zn—O), gallium oxide (Ga—O), zinc tin oxide (Zn—Sn—O), indium zinc oxide (In Zn or Ga-based oxides such as —Zn—O), gallium zinc oxide (Ga—Zn—O), indium gallium oxide (In—Ga—O), aluminum zinc oxide (Al—Zn—O), and the like
  • other metal complex oxides can be used.
  • a CVD method, a PLD method, a coating method, a printing method, or the like can be used as the film formation method.
  • the temperature at which the second metal oxide semiconductor film is formed is such that the first metal oxide semiconductor film (conductive layer CL) is not crystallized at this time. ) Is preferably set to the above temperature at which crystallization does not occur (for example, 150 ° C. or lower).
  • the sacrificial layer SL is made of any one of In—Ga—Zn—O, Zn—O, Al—Zn—O, Ga—Zn—O, and Zn—Sn—O. A combination is preferred. The reason is as described in the first embodiment.
  • the laminated film SCL is processed into an island shape for element isolation.
  • a photoresist film (not shown) on a laminated film (laminated semiconductor film) SCL of first and second metal oxide semiconductor films (conductive layer CL and sacrificial layer SL), exposure / development processing (photolithography) )
  • photolithography photolithography
  • the laminated film having a desired shape is left by wet etching the laminated film using the photoresist film as a mask.
  • the conductive layer CL is not crystallized (in an amorphous state), and the etching rate is high. Therefore, it is easy to etch.
  • examples of the sacrificial layer SL include In—Ga—Zn—O, Zn—O, Al—Zn—O, Ga—Zn—O, and Zn—Sn—O, and others.
  • the difference from the etching rate of (-Sn-O) is small (all are 10 times or less), and it is suitable for use as the sacrificial layer SL.
  • the shape (planar shape seen from the top surface) of the laminated film SCL of the first and second metal oxide semiconductor films (the conductive layer CL and the sacrificial layer SL) is, for example, in the first direction ( It is formed in a substantially rectangular shape having a short side in the longitudinal direction (see FIG. 5).
  • the substrate SUB is subjected to heat treatment to crystallize the film below the stacked film SCL, that is, the first metal oxide semiconductor film (conductive layer CL).
  • the first metal oxide semiconductor film (conductive layer) after crystallization is denoted by CLc.
  • Crystallization here refers to polycrystallization so that the average particle diameter (diameter of crystal grains) is at least 1 nm or more.
  • the lower limit of the average particle size is 1 nm, but in a typical case, the average particle size is about 20 nm.
  • the heat processing temperature is 100 degreeC or more and 300 degrees C or less.
  • the etching rate by the inorganic acid or the organic acid is 1/100 (1/100) of that before crystallization (amorphous state).
  • the etching rate in the amorphous state is 12 nm / min.
  • the etching rate becomes 0.1 nm / min (1/120).
  • a metal film MF is formed as a conductive film on the second metal oxide semiconductor film (sacrificial layer SL).
  • the metal film MF can be formed using, for example, various materials such as the metal film and the alloy film described in detail in the first embodiment and the film formation method described in detail in the first embodiment.
  • the metal film MF is patterned to form the source electrode SE and the drain electrode DE.
  • This patterning can be performed by dry etching using the photoresist film as a mask by leaving the photoresist film in the formation region of the source electrode SE and the drain electrode DE using a photolithography technique.
  • the second metal oxide semiconductor film (sacrificial layer SL) exposed from between the source electrode SE and the drain electrode DE is exposed to plasma and accelerated particles, so that a damaged region DR is formed.
  • the shape of the source electrode SE and the drain electrode DE can be substantially rectangular (see FIG. 8), for example, as in the first embodiment. Are arranged at predetermined intervals. The portion having the predetermined interval becomes a channel region.
  • the damage region DR described above is formed in a channel region that affects the characteristics of the thin film transistor.
  • the underlying second metal oxide semiconductor film (sacrificial layer SL) is formed using the underlying source electrode SE and drain electrode DE as a mask. Remove by wet etching.
  • an etchant containing an inorganic acid or an organic acid is used.
  • the above-described oxalic acid-based etching solution ITO-07N manufactured by Kanto Chemical Co., Inc.
  • the damaged region DR of the second metal oxide semiconductor film (sacrificial layer SL) is removed, and the lower first metal oxide semiconductor film (conductive layer CLc) is exposed from the channel region.
  • the first metal oxide semiconductor film (conductive layer CLc) is difficult to be etched due to the crystallization, and the wet etching is automatically performed on the surface of the first metal oxide semiconductor film (conductive layer CLc). Almost stops. Further, even if the film thickness of the conductive layer CLc is reduced by wet etching, it is extremely small. In this process, since wet etching is used instead of dry etching, the first metal oxide semiconductor film (conductive layer CLc) is not exposed to plasma or acceleration particles generated during dry etching. Damage to the channel region of one metal oxide semiconductor film (conductive layer CLc) due to plasma or accelerated particles can be avoided.
  • a silicon oxide film (SiOx) is deposited to a thickness of about 100 nm as the gate insulating film GIF by the CVD method or the like on the source electrode SE, the drain electrode DE, and between them (channel region).
  • the gate insulating film GIF in addition to the silicon oxide film, various materials described in Embodiment 1 can be formed by the film formation method described in Embodiment 1.
  • a gate electrode material for example, a conductive film is deposited by a sputtering method or the like, and patterned into a predetermined shape (see FIG. 2) to form the gate electrode GE.
  • a gate electrode material for example, various materials described in detail in Embodiment 1 can be formed using the film formation method described in detail in Embodiment 1.
  • the gate electrode GE has a long side in the first direction (vertical direction in the drawing), for example, in the same manner as in the first embodiment (see FIG. 2), on the channel region. It is formed in a substantially rectangular shape.
  • the thin film transistor of this embodiment is almost completed.
  • the first metal oxide semiconductor film (conductive layer CL) is crystallized after patterning the stacked film SCL of the first and second metal oxide semiconductor films (conductive layer CL and sacrificial layer SL). Thereafter, the formation of the metal film MF and the patterning of the metal film MF are performed.
  • the crystallization of the first metal oxide semiconductor film (conductive layer CL) is performed after the patterning step of the stacked film SCL, after the damage region DR (the first layer). The process may be performed until the removal step of the two-metal oxide semiconductor film (sacrificial layer SL)).
  • the first metal oxide semiconductor film (conductive layer CL) may be crystallized after the formation process of the metal film MF or the dry etching process of the metal film MF.
  • the semiconductor film is the stacked film SCL of the first and second metal oxide semiconductor films (the conductive layer CLc and the sacrificial layer SL), the damaged region DR can be removed. Therefore, the characteristics of the thin film transistor can be improved by removing the damaged region DR.
  • the etching rate of the lower first metal oxide semiconductor film (conductive layer CLc) decreases due to crystallization. Therefore, film loss due to the wet etching can be reduced.
  • the film loss of the first metal oxide semiconductor film (conductive layer CLc) can be reduced.
  • variations in the thickness of the lower first metal oxide semiconductor film (conductive layer CLc) serving as a main channel region can be suppressed, and variations in characteristics of the thin film transistor such as a threshold potential can be reduced.
  • deterioration in characteristics of the thin film transistor can be reduced and the manufacturing yield of the semiconductor device can be improved.
  • the semiconductor film is the stacked film SCL of the first and second metal oxide semiconductor films (the conductive layer CLc and the sacrificial layer SL)
  • the metal film MF constituting the source electrode SE and the drain electrode DE is formed, Even if damage due to plasma or accelerated particles is applied, the damage remains in the upper sacrificial layer SL, and damage applied to the first metal oxide semiconductor film (conductive layer CLc) serving as a main channel layer can be reduced. .
  • the characteristics of the thin film transistor can be improved.
  • the second metal oxide semiconductor film (sacrificial layer SL) remains between the source electrode SE, the drain electrode DE, and the first metal oxide semiconductor film (conductive layer CLc).
  • the second metal oxide semiconductor film (sacrificial layer SL) also has a semiconductor property and has a relatively low resistance during operation of the thin film transistor, the second metal oxide semiconductor film (sacrificial layer SL) has little influence on the operation characteristics of the thin film transistor.
  • various semiconductors exemplified as the second metal oxide semiconductor film (sacrificial layer SL) are not high-resistance semiconductors such as Cu—In—Ga—Zn—O. Thus, reduction in on-state current of the thin film transistor can be suppressed.
  • the carrier mobility is improved by crystallization of the first metal oxide semiconductor film (conductive layer CL) as compared with the amorphous state, the on-state current of the thin film transistor can be improved.
  • the three-layer semiconductor film (the conductive layer CL, the etching stopper layer ESLc, and the sacrificial layer SL) has been described using a so-called bottom-gate / top-contact transistor as an example.
  • Conductive layer CL, etching stopper layer ESLc, and sacrificial layer SL may be applied to a transistor having a top gate / top contact structure.
  • 21 to 24 are fragmentary cross-sectional views showing the manufacturing steps of the semiconductor device of the present embodiment. Detailed description of the configuration and manufacturing process common to the first embodiment will be omitted.
  • FIG. 24 is one of main part sectional views showing the manufacturing process of the semiconductor device of the present embodiment.
  • the semiconductor device of this embodiment includes a thin film transistor.
  • This thin film transistor is a so-called top gate / top contact transistor.
  • the thin film transistor of the present embodiment is disposed on the main surface of the substrate SUB.
  • the thin film transistor of this embodiment includes the stacked film SCL that is a semiconductor film disposed on the substrate SUB, the source electrode SE and the drain electrode DE disposed on the stacked film SCL, and the source electrode SE. And a gate electrode GE disposed between the drain electrode DE via a gate insulating film GIF.
  • the source electrode SE and the drain electrode DE are arranged at a predetermined interval on the laminated film SCL.
  • a gate electrode GE is disposed on the predetermined interval via a gate insulating film GIF, and a portion of the predetermined interval becomes a channel region.
  • the semiconductor film includes a metal oxide semiconductor film (conductive layer CL, semiconductor layer, main channel layer) and a first metal oxide semiconductor film (etching stopper layer ESLc, first semiconductor film) disposed thereon. ) And a second metal oxide semiconductor film (sacrificial layer SL, second semiconductor film) disposed thereon.
  • the uppermost second metal oxide semiconductor film (sacrificial layer SL) is removed from the channel region.
  • a two-layered film of the first metal oxide semiconductor film (etching stopper layer ESLc) and the metal oxide semiconductor film (conductive layer CL) is disposed, and both sides of the channel region, that is, A laminated film of three metal oxide semiconductor films (conductive layer CL, etching stopper layer ESLc, and sacrificial layer SL) is disposed below the source electrode SE and the drain electrode DE.
  • the semiconductor film is formed of the three-layered film (conductive layer CL, etching stopper layer ESLc, and sacrificial layer SL) SCL, and the uppermost layer film (here, the sacrificial layer in the channel region). Since the layer SL) is removed, the transistor characteristics are improved.
  • the sacrificial layer SL since the uppermost layer film (here, the sacrificial layer SL) is removed from the semiconductor film in the channel region, damage can be removed and the characteristics of the transistor can be improved. it can.
  • the middle layer film (here, the etching stopper layer ESLc) is selected so that the etching rate is lower than the etching rate of the uppermost layer film (here, the sacrificial layer SL). Yes.
  • the middle layer film (here, the etching stopper layer ESLc) is crystallized (polycrystallized) in the three-layered film SCL constituting the semiconductor film.
  • the average grain size of the crystals is 1 nm or more. Accordingly, the etching rate is reduced by crystallization, and the middle layer film (here, the etching stopper layer ESLc) can function as an etching stopper when the upper layer film (here, the sacrificial layer SL) in the stacked film is wet etched.
  • the selectivity of the lowermost layer film (here, the conductive layer CL) constituting the main channel layer is improved.
  • the film having better semiconductor characteristics than the middle layer film (here, the etching stopper layer ESLc), for example, carrier A film having high mobility can be selected as appropriate and disposed in the lowermost layer. Thereby, the mobility of carriers (electrons and holes) can be improved and transistor characteristics can be improved.
  • a substrate SUB is prepared as in the first embodiment.
  • a metal oxide semiconductor film is formed over the substrate SUB as a conductive layer (conductive film, semiconductor film, semiconductor layer) CL.
  • the conductive layer CL is a film constituting a main channel region of the thin film transistor and has a semiconductor property.
  • the metal oxide semiconductor film the metal compound semiconductor film described in Embodiment 1 (films exemplified as the conductive layer CL and the sacrificial layer SL in Embodiment 1), that is, indium oxide (In—O ), Indium zinc oxide (In—Zn—O), zinc oxide (Zn—O), gallium oxide (Ga—O), indium gallium zinc oxide (In—Ga—Zn—O), zinc tin oxide (Zn—Sn) —O), gallium zinc oxide (Ga—Zn—O), indium gallium oxide (In—Ga—O), aluminum zinc oxide (Al—Zn—O), tin oxide (Sn—O), etc. It can be selected and used.
  • These film forming methods are as described in the first embodiment.
  • the conductive layer CL is a film that constitutes the main channel region of the thin film transistor
  • a metal oxide semiconductor film with good semiconductor characteristics may be selected as appropriate.
  • the transistor characteristics can be improved by selecting a film having at least semiconductor characteristics (for example, carrier mobility) higher than that of an etching stopper layer ESLc described later.
  • a film having good film forming properties may be selected.
  • transistor characteristics can be improved.
  • a low cost film may be used. In this case, the manufacturing cost of the thin film transistor can be reduced.
  • the conductive layer CL disposed in the lowermost layer of the stacked film SCL can be appropriately selected according to required performance and application.
  • a first metal oxide semiconductor film is formed as an etching stopper layer ESL on the conductive layer CL.
  • the etching stopper layer ESL has a semiconductor property.
  • an indium tin oxide (In—Sn—O, ITO: Indium ⁇ Tin ⁇ Oxide) film is deposited to a thickness of 5 nm or more by using, for example, an RF sputtering method.
  • indium oxide (In—O) may be used in addition to the indium tin oxide (In—Sn—O).
  • an oxide mainly composed of an oxide of In can be used.
  • the temperature at which the first metal oxide semiconductor film is formed is, for example, a temperature at which the metal oxide semiconductor film (conductive layer CL) does not crystallize (for example, 150 ° C. or less). That is, the metal oxide semiconductor film (conductive layer CL) is a non-crystalline (amorphous) film during film formation.
  • a second metal oxide semiconductor film is formed as a sacrificial layer (conductive film, semiconductor film, semiconductor layer) SL on the etching stopper layer ESL.
  • This sacrificial layer SL is also a film having semiconductor properties.
  • an indium gallium zinc oxide (In—Ga—Zn—O) film is deposited as the second metal oxide semiconductor film (sacrificial layer SL) by using, for example, an RF sputtering method.
  • the thickness of the second metal oxide semiconductor film (sacrificial layer SL) is desirably set to 30 nm or more. This is because the depth of damage when the metal film MF described later is processed by dry etching is about 30 nm.
  • the second metal oxide semiconductor film in addition to zinc oxide, zinc oxide (Zn—O), gallium oxide (Ga—O), zinc tin oxide (Zn—Sn—O), indium zinc oxide (In—Zn oxide) Zn or Ga-based oxides such as —O), gallium zinc oxide (Ga—Zn—O), indium gallium oxide (In—Ga—O), aluminum zinc oxide (Al—Zn—O), and others It is possible to use a composite oxide of these metals. In addition to the sputtering method, a CVD method, a PLD method, a coating method, a printing method, or the like can be used as the film formation method.
  • the temperature at the time of forming the second metal oxide semiconductor film is such that the first metal oxide semiconductor film (etching stopper ESL) is not crystallized at this time.
  • the temperature is such that the layer ESL) does not crystallize (for example, 150 ° C. or lower).
  • the first metal oxide semiconductor film (etching stopper layer ESL) and the second metal oxide semiconductor film (sacrificial layer SL) various combinations of the above materials are conceivable.
  • the ESL is made of In—Sn—O
  • the sacrificial layer SL is made of any one of In—Ga—Zn—O, Zn—O, Al—Zn—O, Ga—Zn—O, and Zn—Sn—O. Such combinations are preferred.
  • the reason is as described in the first embodiment (see FIG. 11 and the like).
  • the laminated film SCL is processed into an island shape for element isolation.
  • a photoresist film (not shown) is formed on the laminated film (laminated semiconductor film) SCL of the metal oxide semiconductor film, the first and second metal oxide semiconductor films (conductive layer CL, etching stopper layer ESL, and sacrificial layer SL).
  • exposure / development processing photolithography
  • the laminated film having a desired shape is left by wet etching the laminated film using the photoresist film as a mask.
  • the etching stopper layer ESL is not crystallized (in an amorphous state), and the etching rate is high.
  • examples of the sacrificial layer SL include In—Ga—Zn—O, Zn—O, Al—Zn—O, Ga—Zn—O, and Zn—Sn—O, and others.
  • the difference from the etching rate of (-Sn-O) is small (both are 10 times or less) and is suitable for use as the sacrificial layer SL (see FIG. 11).
  • the shape of the laminated film SCL (planar shape viewed from above) is formed in a substantially rectangular shape having a short side in the first direction (vertical direction in the drawing), as in the first embodiment (see FIG. 5).
  • the stacked film SCL is formed in a shape having a region overlapping with the gate electrode GE.
  • the substrate SUB is subjected to heat treatment to crystallize the intermediate film of the stacked film SCL, that is, the first metal oxide semiconductor film (etching stopper layer ESL).
  • the first metal oxide semiconductor film (etching stopper layer ESL) after crystallization is indicated by ESLc.
  • Crystallization here refers to polycrystallization so that the average particle diameter (diameter of crystal grains) is at least 1 nm or more. The lower limit of the average particle size is 1 nm, but in a typical case, the average particle size is about 20 nm.
  • the heat processing temperature is 100 degreeC or more and 300 degrees C or less.
  • the etching rate by the inorganic acid or the organic acid is 1/100 (1 / 100th of that before crystallization (amorphous state)).
  • the etching rate in the amorphous state is 12 nm / min.
  • the etching rate becomes 0.1 nm / min (1/120) (see FIG. 11).
  • a metal film MF is formed as a conductive film on the second metal oxide semiconductor film (sacrificial layer SL).
  • the metal film MF can be formed using, for example, various materials such as the metal film and the alloy film described in detail in the first embodiment and the film formation method described in detail in the first embodiment.
  • the source electrode SE and the drain electrode DE are formed by patterning the metal film MF.
  • This patterning can be performed by dry etching using the photoresist film as a mask by leaving the photoresist film in the formation region of the source electrode SE and the drain electrode DE using a photolithography technique.
  • the second metal oxide semiconductor film (sacrificial layer SL) exposed from between the source electrode SE and the drain electrode DE is exposed to plasma and accelerated particles, so that a damaged region DR is formed.
  • the shape of the source electrode SE and the drain electrode DE can be substantially rectangular (see FIG. 8), for example, as in the first embodiment. Are arranged at predetermined intervals. The portion having the predetermined interval becomes a channel region.
  • the damage region DR described above is formed in a channel region that affects the characteristics of the thin film transistor.
  • the lower second metal oxide semiconductor film (sacrificial layer SL) is formed using the lower source electrode SE and drain electrode DE as a mask. Remove by wet etching.
  • an etchant containing an inorganic acid or an organic acid is used.
  • the above-described oxalic acid-based etching solution ITO-07N manufactured by Kanto Chemical Co., Inc.
  • the damaged region DR of the second metal oxide semiconductor film (sacrificial layer SL) is removed, and the lower first metal oxide semiconductor film (etching stopper layer ESLc) is exposed from the channel region.
  • the first metal oxide semiconductor film (etching stopper layer ESLc) is difficult to be etched due to the crystallization, and the wet etching is automatically performed on the surface of the first metal oxide semiconductor film (etching stopper layer ESLc). Almost stop. Further, even if the thickness of the etching stopper layer ESLc is reduced by wet etching, it is very small. Further, since the first metal oxide semiconductor film (etching stopper layer ESL) plays a role as an etching stopper, the lower metal oxide semiconductor film (conductive layer CL) is not affected by etching.
  • the thin film transistor of this embodiment is almost completed.
  • the first metal oxide semiconductor film (etching stopper layer ESL) was crystallized, and then the formation of the metal film MF and the patterning of the metal film MF were performed.
  • the crystallization of the first metal oxide semiconductor film (etching stopper layer ESL) The process may be performed after the patterning process of the film SCL and before the process of removing the damaged region DR (second metal oxide semiconductor film (sacrificial layer SL)).
  • the first metal oxide semiconductor film (etching stopper layer ESL) may be crystallized after the formation process of the metal film MF or the dry etching process of the metal film MF.
  • the semiconductor film is the stacked film SCL of the metal oxide semiconductor film, the first and second metal oxide semiconductor films (the conductive layer CL, the etching stopper layer ESLc, and the sacrificial layer SL).
  • the damage region DR can be removed. Therefore, the characteristics of the thin film transistor can be improved by removing the damaged region DR.
  • the etching rate of the lower first metal oxide semiconductor film is decreased by crystallization even when wet etching, which is generally considered to have low controllability, is used.
  • it plays the role of an etching stopper, it reduces the film loss of itself and protects the underlying metal oxide semiconductor film (conductive layer CL).
  • the first metal oxide semiconductor film is reduced in film thickness, and the lower layer The metal oxide semiconductor film (conductive layer CL) can be protected.
  • the semiconductor film is the laminated film SCL (conductive layer CL, etching stopper layer ESLc, sacrificial layer SL), it is caused by plasma or acceleration particles when forming the metal film MF constituting the source electrode SE and the drain electrode DE. Even if damage is applied, the damage remains in the uppermost sacrificial layer SL, and is applied to the metal oxide semiconductor film (conductive layer CL) and the first metal oxide semiconductor film (etching stopper layer ESLc) which are the main channel layers. Damage applied can be reduced. Thus, the characteristics of the thin film transistor can be improved.
  • the first and second metal oxide semiconductor films are provided between the source electrode SE and drain electrode DE and the metal oxide semiconductor film (conductive layer CL).
  • these films also have semiconductor properties and have a relatively low resistance during operation of the thin film transistor, there is little influence on the operation characteristics of the thin film transistor.
  • various semiconductors exemplified as the first and second metal oxide semiconductor films (etching stopper layer ESLc and sacrificial layer SL) are not high resistance semiconductors such as Cu—In—Ga—Zn—O. . Thus, reduction in on-state current of the thin film transistor can be suppressed.
  • the selection range of the lowermost metal oxide semiconductor is increased. That is, regardless of the etching rate, by selecting a desired semiconductor film, the semiconductor characteristics can be improved and the productivity can be improved.
  • the etching stopper layer ESLc and the sacrificial layer SL of the thin film transistor of the second embodiment correspond to the conductive layer CLc and the sacrificial layer SL of the thin film transistor of the first embodiment.
  • the configuration of Form 2 can be said to be a structure having another semiconductor film below the conductive layer CLc of Embodiment 1.
  • the etching stopper layer ESLc and sacrificial layer SL of the thin film transistor of the fourth embodiment correspond to the conductive layer CLc and sacrificial layer SL of the thin film transistor of the third embodiment, and the configuration of the fourth embodiment is the same as that of the third embodiment. It can be said that this structure has another semiconductor film below the conductive layer CLc.
  • FIG. 25 is a circuit diagram showing the configuration of the active matrix substrate.
  • FIG. 26 is a plan view showing the configuration of the active matrix substrate.
  • the array substrate has a plurality of data lines DL (source lines) arranged in the Y direction and a plurality of gate lines GL arranged in the X direction in the display unit (display region). . Further, a plurality of pixels are arranged in a matrix at intersections of the data lines DL and the gate lines GL.
  • This pixel has a pixel electrode PE and a thin film transistor T.
  • the data line DL is driven by a data line drive circuit DDC (X driver)
  • the gate line GL is driven by a gate line drive circuit GDC (Y driver).
  • the gate electrode portion of the thin film transistor T is connected to the gate line GL extending in the X direction.
  • the gate electrode and the gate line GL are integrated.
  • a semiconductor film is disposed above the gate electrode portion via a gate insulating film.
  • a source electrode is disposed on the left side of the semiconductor film in the drawing, and a drain electrode is disposed on the right side in the drawing.
  • a thin film transistor T having a bottom gate structure is shown.
  • the source electrode is connected to the data line DL extending in the Y direction, and the drain electrode is connected to the pixel electrode PE. Note that the data line DL and the source electrode may be integrated.
  • FIG. 26 is a plan view of a bottom-gate thin film transistor; however, a top-gate thin film transistor may be used. In this case, the gate electrode is positioned above the semiconductor film.
  • a liquid crystal display device is formed by sealing liquid crystal between such an array substrate and a counter substrate on which a counter electrode is formed.
  • the thin film transistor T when a scanning signal is supplied to the gate line GL, the thin film transistor T is turned on, and the video signal from the data line DL extending in the Y direction in the drawing is passed through the turned on thin film transistor T to the pixel electrode. Supplied to PE. Therefore, the pixel portion selected by the gate line GL and the data line DL is in a display state.
  • the thin film transistors of the first to fourth embodiments are applied to the thin film transistors T constituting the pixels.
  • the logic circuits in the data line driving circuit DDC and the gate line driving circuit GDC the above embodiments are described.
  • One to four thin film transistors may be used.
  • the data line driving circuit DDC and the gate line driving circuit GDC described above include a plurality of logic circuits. Therefore, these logic circuits (for example, an inverter, a NOR circuit, a NAND circuit, and the like) may be formed using the thin film transistors of the first to fourth embodiments.
  • the array substrate is widely applicable not only to the liquid crystal display device but also to other display devices such as an organic EL (Electro-Luminescence) display device.
  • the pixel electrode PE may be a storage element (for example, a capacitor), and the thin film transistors of Embodiments 1 to 4 may be used as selection transistors of the storage device.
  • Embodiment 6 The application example of the thin film transistor described in Embodiments 1 to 4 is not limited, but can be applied to, for example, an RFID (Radio Frequency IDentification) tag.
  • RFID Radio Frequency IDentification
  • FIG. 27 is a block diagram showing the configuration of the RFID tag.
  • the RFID tag includes an antenna resonance circuit AR, a rectifier RCT, a modulator MOD, and a digital circuit DGC.
  • the RFID tag configured as described above exchanges transmission / reception signals having a frequency of 13.56 MHz, for example, with the reader RD and the writer WR.
  • a transmission signal transmitted from the writer WR is received by the antenna resonance circuit AR of the RFID tag and then converted into a DC signal by the rectifier RCT.
  • the DC signal converted by the rectifier RCT is processed by the digital circuit DGC, and the result processed by the digital circuit DGC is stored in a memory circuit (not shown) or the like.
  • the antenna resonance circuit AR, the rectifier RCT, the modulator MOD, the digital circuit DGC, and the like of this RFID tag can be configured using the thin film transistors described in the first to fourth embodiments.
  • the characteristics of the thin film transistor used in each component are improved, and the characteristics of the RFID tag can be improved.
  • FIG. 28 is a circuit diagram showing a logic circuit
  • FIG. 28A is an inverter circuit.
  • transistors T1 and T2 are connected in series between a power supply terminal (VDD) and a ground terminal (VSS).
  • the gate electrode of the transistor T1 is connected to a connection node of the two transistors, and this connection node becomes an output terminal (OUT).
  • the gate electrode of the transistor T2 is connected to the input terminal (IN).
  • the transistors T1 and T2 are n-channel transistors. As described above, the thin film transistors described in the first to fourth embodiments can be applied as the transistors T1 and T2.
  • FIG. 28B shows a NOR circuit.
  • transistors T3 and T4 are connected in series between a power supply terminal (VDD) and a ground terminal (VSS).
  • the gate electrode of the transistor T3 is connected to a connection node between the two transistors T3 and T4, and this connection node serves as an output terminal (OUT).
  • a transistor T5 is connected between the output terminal (OUT) and the ground terminal (VSS).
  • the gate electrode of the transistor T4 is connected to the first input terminal (IN1).
  • the gate electrode of the transistor T5 is connected to the second input terminal (IN2).
  • the transistors T3, T4 and T5 are n-channel transistors. As described above, the thin film transistors described in the first to fourth embodiments can be applied as the transistors T3, T4, and T5.
  • FIG. 28C shows a NAND circuit.
  • transistors T6, T7, and T8 are connected in series between the power supply terminal (VDD) and the ground terminal (VSS).
  • the gate electrode of the transistor T6 is connected to a connection node between the two transistors T6 and T7, and this connection node serves as an output terminal (OUT).
  • the gate electrode of the transistor T7 is connected to the first input terminal (IN1).
  • the gate electrode of the transistor T8 is connected to the second input terminal (IN2).
  • the transistors T6, T7 and T8 are n-channel transistors. As described above, the thin film transistors described in the first to fourth embodiments can be applied as the transistors T6, T7, and T8.
  • the metal compound semiconductor films described in Embodiments 1 to 4 have good characteristics when used as n-channel transistors. That is, the characteristics are improved when electrons are used as carriers. Therefore, as described above, the thin film transistor described in any of Embodiments 1 to 4 is preferably applied to a logic circuit using only n-channel transistors.
  • the present invention relates to a method of manufacturing a semiconductor device and a semiconductor device, and is particularly effective when applied to a semiconductor device having a field effect transistor using a semiconductor film made of a metal oxide as a channel layer.
  • AR antenna resonance circuit CL conductive layer CLc conductive layer
  • DDC data line driving circuit DE drain electrode
  • DGC digital circuit DL data line DR damage region
  • ESL etching stopper layer ESLc etching stopper layer
  • GDC gate line driving circuit GE gate electrode
  • GIF gate insulating film GL gate line MF metal film MOD modulator PE pixel electrode
  • RCT rectifier RD reader SCL stacked film SE source electrode SL sacrificial layer SUB substrate T thin film transistor T1 transistor T2 transistor T3 transistor T4 transistor T5 transistor T6 transistor T7 transistor T8 transistor WR writer

Landscapes

  • Thin Film Transistor (AREA)
  • Devices For Indicating Variable Information By Combining Individual Elements (AREA)
  • Physical Deposition Of Substances That Are Components Of Semiconductor Devices (AREA)
PCT/JP2012/051659 2011-02-28 2012-01-26 半導体装置の製造方法および半導体装置 Ceased WO2012117778A1 (ja)

Applications Claiming Priority (2)

Application Number Priority Date Filing Date Title
JP2011041219A JP2012178493A (ja) 2011-02-28 2011-02-28 半導体装置の製造方法および半導体装置
JP2011-041219 2011-02-28

Publications (1)

Publication Number Publication Date
WO2012117778A1 true WO2012117778A1 (ja) 2012-09-07

Family

ID=46757720

Family Applications (1)

Application Number Title Priority Date Filing Date
PCT/JP2012/051659 Ceased WO2012117778A1 (ja) 2011-02-28 2012-01-26 半導体装置の製造方法および半導体装置

Country Status (2)

Country Link
JP (1) JP2012178493A (enExample)
WO (1) WO2012117778A1 (enExample)

Cited By (2)

* Cited by examiner, † Cited by third party
Publication number Priority date Publication date Assignee Title
CN105702740A (zh) * 2014-12-10 2016-06-22 三星显示有限公司 具有改善的电气特性的薄膜晶体管
US10128384B2 (en) 2013-05-20 2018-11-13 Semiconductor Energy Laboratory Co., Ltd. Semiconductor device

Families Citing this family (7)

* Cited by examiner, † Cited by third party
Publication number Priority date Publication date Assignee Title
JP6236792B2 (ja) * 2013-02-07 2017-11-29 凸版印刷株式会社 薄膜トランジスタとその製造方法及び画像表示装置
JP6025595B2 (ja) * 2013-02-15 2016-11-16 三菱電機株式会社 薄膜トランジスタの製造方法
US9276128B2 (en) * 2013-10-22 2016-03-01 Semiconductor Energy Laboratory Co., Ltd. Semiconductor device, method for manufacturing the same, and etchant used for the same
KR101500175B1 (ko) * 2013-10-25 2015-03-06 희성금속 주식회사 고밀도 산화물 소결체 및 이를 포함하는 신규 박막 트랜지스터 소자
WO2015186354A1 (ja) * 2014-06-03 2015-12-10 株式会社Joled 薄膜トランジスタ及びその製造方法
JP6494184B2 (ja) * 2014-06-12 2019-04-03 三菱電機株式会社 薄膜トランジスタ、アクティブマトリックス基板、薄膜トランジスタの製造方法およびアクティブマトリックス基板の製造方法
TW202535229A (zh) * 2024-02-22 2025-09-01 日商半導體能源研究所股份有限公司 半導體裝置的製造方法及半導體裝置

Citations (4)

* Cited by examiner, † Cited by third party
Publication number Priority date Publication date Assignee Title
WO2007063966A1 (ja) * 2005-12-02 2007-06-07 Idemitsu Kosan Co., Ltd. Tft基板及びtft基板の製造方法
JP2009004787A (ja) * 2007-06-22 2009-01-08 Samsung Electronics Co Ltd Zn酸化物系薄膜トランジスタとその製造方法、及びZn酸化物のエッチング溶液とその製造方法
JP2010123758A (ja) * 2008-11-19 2010-06-03 Nec Corp 薄膜デバイス及びその製造方法
JP2010205923A (ja) * 2009-03-03 2010-09-16 Fujifilm Corp 電界効果型トランジスタの製造方法

Patent Citations (4)

* Cited by examiner, † Cited by third party
Publication number Priority date Publication date Assignee Title
WO2007063966A1 (ja) * 2005-12-02 2007-06-07 Idemitsu Kosan Co., Ltd. Tft基板及びtft基板の製造方法
JP2009004787A (ja) * 2007-06-22 2009-01-08 Samsung Electronics Co Ltd Zn酸化物系薄膜トランジスタとその製造方法、及びZn酸化物のエッチング溶液とその製造方法
JP2010123758A (ja) * 2008-11-19 2010-06-03 Nec Corp 薄膜デバイス及びその製造方法
JP2010205923A (ja) * 2009-03-03 2010-09-16 Fujifilm Corp 電界効果型トランジスタの製造方法

Cited By (8)

* Cited by examiner, † Cited by third party
Publication number Priority date Publication date Assignee Title
US10128384B2 (en) 2013-05-20 2018-11-13 Semiconductor Energy Laboratory Co., Ltd. Semiconductor device
US10411136B2 (en) 2013-05-20 2019-09-10 Semiconductor Energy Laboratory Co., Ltd. Semiconductor device
US10720532B2 (en) 2013-05-20 2020-07-21 Semiconductor Energy Laboratory Co., Ltd. Semiconductor device
US11217704B2 (en) 2013-05-20 2022-01-04 Semiconductor Energy Laboratory Co., Ltd. Semiconductor device
US11646380B2 (en) 2013-05-20 2023-05-09 Semiconductor Energy Laboratory Co., Ltd. Semiconductor device
US11949021B2 (en) 2013-05-20 2024-04-02 Semiconductor Energy Laboratory Co., Ltd. Semiconductor device
US12402360B2 (en) 2013-05-20 2025-08-26 Semiconductor Energy Laboratory Co., Ltd. Semiconductor device
CN105702740A (zh) * 2014-12-10 2016-06-22 三星显示有限公司 具有改善的电气特性的薄膜晶体管

Also Published As

Publication number Publication date
JP2012178493A (ja) 2012-09-13

Similar Documents

Publication Publication Date Title
WO2012117778A1 (ja) 半導体装置の製造方法および半導体装置
KR101126905B1 (ko) 박막 트랜지스터 및 그 제조 방법
TWI452698B (zh) Oxide semiconductor device and manufacturing method thereof
US9570483B2 (en) Flat panel display device with oxide thin film transistor and method of fabricating the same
JP5305630B2 (ja) ボトムゲート型薄膜トランジスタの製造方法及び表示装置の製造方法
TWI559553B (zh) 氧化物半導體薄膜電晶體、製造其之方法及包含其之有機電致發光裝置
JP5400019B2 (ja) 薄膜トランジスタ、その製造方法及び薄膜トランジスタを具備した有機電界発光装置
JP2016146422A (ja) 表示装置
KR101896975B1 (ko) 반도체 장치 및 반도체 장치의 제조 방법
CN108550590B (zh) 主动元件基板及其制法
JP5819138B2 (ja) 半導体装置
JP2007123698A (ja) 薄膜トランジスタおよびその製造方法
US20150194530A1 (en) Thin film transistor and method of manufacturing the same
JP2008171990A (ja) 電界効果型トランジスタとその製造方法
JP2007123699A (ja) 薄膜トランジスタとその製造方法
JP2013115111A (ja) 酸化物半導体装置およびその製造方法
CN107026208B (zh) 半导体装置和半导体装置的制造方法
WO2012056933A1 (ja) 酸化物半導体装置およびその製造方法
JP6501385B2 (ja) 薄膜トランジスタおよびその製造方法
US20250228004A1 (en) Thin film transistor substrate, manufacturing method thereof and display apparatus comprising the same
CN105655294A (zh) 阵列基板的制造方法、阵列基板和显示装置
JP2024163719A (ja) 半導体装置及びその製造方法
CN106796959A (zh) 半导体装置及其制造方法
JP2011061098A (ja) 有機発光表示装置およびその製造方法
JP2008171991A (ja) 電界効果型トランジスタ及びその製造方法

Legal Events

Date Code Title Description
121 Ep: the epo has been informed by wipo that ep was designated in this application

Ref document number: 12752141

Country of ref document: EP

Kind code of ref document: A1

NENP Non-entry into the national phase

Ref country code: DE

122 Ep: pct application non-entry in european phase

Ref document number: 12752141

Country of ref document: EP

Kind code of ref document: A1