WO2012101938A1 - モータユニットおよびこれを用いた回転電機、回転電機装置 - Google Patents

モータユニットおよびこれを用いた回転電機、回転電機装置 Download PDF

Info

Publication number
WO2012101938A1
WO2012101938A1 PCT/JP2011/079522 JP2011079522W WO2012101938A1 WO 2012101938 A1 WO2012101938 A1 WO 2012101938A1 JP 2011079522 W JP2011079522 W JP 2011079522W WO 2012101938 A1 WO2012101938 A1 WO 2012101938A1
Authority
WO
WIPO (PCT)
Prior art keywords
unit
motor
electrical machine
rotating electrical
shaft
Prior art date
Legal status (The legal status is an assumption and is not a legal conclusion. Google has not performed a legal analysis and makes no representation as to the accuracy of the status listed.)
Ceased
Application number
PCT/JP2011/079522
Other languages
English (en)
French (fr)
Japanese (ja)
Inventor
榎本 裕治
卓男 王
正木 良三
Current Assignee (The listed assignees may be inaccurate. Google has not performed a legal analysis and makes no representation or warranty as to the accuracy of the list.)
Hitachi Industrial Equipment Systems Co Ltd
Original Assignee
Hitachi Industrial Equipment Systems Co Ltd
Priority date (The priority date is an assumption and is not a legal conclusion. Google has not performed a legal analysis and makes no representation as to the accuracy of the date listed.)
Filing date
Publication date
Application filed by Hitachi Industrial Equipment Systems Co Ltd filed Critical Hitachi Industrial Equipment Systems Co Ltd
Priority to CN201180066127.8A priority Critical patent/CN103339841B/zh
Priority to US13/981,846 priority patent/US20130328429A1/en
Publication of WO2012101938A1 publication Critical patent/WO2012101938A1/ja
Anticipated expiration legal-status Critical
Ceased legal-status Critical Current

Links

Images

Classifications

    • HELECTRICITY
    • H02GENERATION; CONVERSION OR DISTRIBUTION OF ELECTRIC POWER
    • H02KDYNAMO-ELECTRIC MACHINES
    • H02K16/00Machines with more than one rotor or stator
    • H02K16/02Machines with one stator and two or more rotors
    • HELECTRICITY
    • H02GENERATION; CONVERSION OR DISTRIBUTION OF ELECTRIC POWER
    • H02KDYNAMO-ELECTRIC MACHINES
    • H02K1/00Details of the magnetic circuit
    • H02K1/06Details of the magnetic circuit characterised by the shape, form or construction
    • H02K1/22Rotating parts of the magnetic circuit
    • H02K1/27Rotor cores with permanent magnets
    • H02K1/2793Rotors axially facing stators
    • H02K1/2795Rotors axially facing stators the rotor consisting of two or more circumferentially positioned magnets
    • HELECTRICITY
    • H02GENERATION; CONVERSION OR DISTRIBUTION OF ELECTRIC POWER
    • H02KDYNAMO-ELECTRIC MACHINES
    • H02K16/00Machines with more than one rotor or stator
    • HELECTRICITY
    • H02GENERATION; CONVERSION OR DISTRIBUTION OF ELECTRIC POWER
    • H02KDYNAMO-ELECTRIC MACHINES
    • H02K21/00Synchronous motors having permanent magnets; Synchronous generators having permanent magnets
    • H02K21/12Synchronous motors having permanent magnets; Synchronous generators having permanent magnets with stationary armatures and rotating magnets
    • H02K21/24Synchronous motors having permanent magnets; Synchronous generators having permanent magnets with stationary armatures and rotating magnets with magnets axially facing the armatures, e.g. hub-type cycle dynamos

Definitions

  • the present invention relates to an axial gap type motor unit having a gap in the axial direction, and a rotating electrical machine and a rotating electrical machine apparatus using the motor unit.
  • Another measure for improving efficiency is to use a permanent magnet with high magnetic force.
  • the loss (copper loss) due to Joule heat of the conductor due to the current is reduced by increasing the magnet torque per predetermined current so that the required torque can be obtained at a low current.
  • Patent Document 1 proposes a high efficiency method for a permanent magnet motor.
  • a low-loss amorphous material is used as a soft magnetic material used for a permanent magnet motor, and an axial gap type motor is used.
  • the motor has a configuration in which two axial surfaces are rotors.
  • a possible structure for increasing the capacity of this axial gap motor is to increase the diameter as a means for increasing the area that the stator and the rotor are opposed to each other by the gap.
  • the axial gap type motor since the axial length is short, if the diameter is increased, it becomes a considerably flat shape, resulting in poor usability.
  • Patent Document 2 has been proposed as a method for solving the above problems.
  • a structure is shown in which the output is increased by arranging the stator in a plurality of stages in the axial direction and arranging the rotor corresponding to the stator in the axial direction.
  • the rotation shafts of the plurality of rotors in the axial direction are coupled to one output shaft and output a combined torque, so that it is possible to output a multiple of the torque.
  • Patent Document 2 The problem in Patent Document 2 is that all rotors must be coupled to the output shaft of the rotor.
  • the axial gap motor since the rotor exists while sandwiching the stator in the axial direction, it cannot be combined with the stator after the rotor is assembled in advance. Therefore, after assembling a part of the rotor on the shaft, combining it while maintaining the positional relationship with the stator, then assembling the next rotor on the shaft, and further adjusting the positional relationship of the next stator It is necessary to take a combination method.
  • the axial gap type magnet rotor is very difficult to position in the axial direction because the magnet attracting force is very large. Also, on the stator side, axial stress is generated by a very large axial suction force during assembly. Therefore, the stator must be assembled while being firmly fixed. Fixed assembly becomes difficult.
  • the present invention provides a low-cost and high-performance motor unit, and a rotary electric machine and a rotary electric machine device using the same, which achieves both large capacity without increasing the radial direction of the axial gap motor and assembly. For the purpose.
  • a rotating electrical machine of the present invention includes a shaft in a unit, a stator provided in the circumferential direction of the shaft in the unit, and the shaft in the unit, and is opposed to both circumferential surfaces of the stator.
  • the two rotors provided on the opposite side of the rotor and the engaging portions provided on both sides of the rotor constitute a motor unit, and the plurality of motor units are locked at the engaging portions and rotate as a unit. .
  • brackets provided on both axial ends of the plurality of motor units, a housing covering the circumferential direction of the plurality of motor units, and the brackets and shafts disposed between the brackets on the both ends in the axial direction and the plurality of motor units.
  • the shaft unit is configured to hold the shaft portion of the shaft unit rotatably on the bracket, and the locking portion is provided on the surface of the disk portion facing the motor unit, so that the shaft unit can be locked to a plurality of motor units. It is locked at the part and rotates as a unit.
  • the locking portion includes holes set in the surface, and the holes on the opposing surfaces are coupled by a connecting pin.
  • the positions of the holes for locking between the plurality of motor units are arranged so as to maintain the coaxiality with the rotating shaft.
  • the plurality of motor units are formed with a recessed spigot portion on one surface that is locked at the locking portion, and formed with a protruding spigot portion on the other surface that is locked at the locking portion. And a fitting part in which the convex part is fitted.
  • the engaging portion includes a concave structure spigot portion formed on one surface where a plurality of motor units face each other and a convex structure spigot portion formed on the other surface facing each other. D-cup bond.
  • the plurality of motor units are manufactured in the same slot and the same number of poles, and the shift angle of the position where the plurality of motor units are locked by the locking portion is an angle that cancels the cogging torque generated by the motor unit. .
  • the shift angle from the central axis of the position where the plurality of motor units are locked by the locking portion is 360 degrees / (6 ⁇ number of pole pairs).
  • the rotating electrical machine apparatus configured to drive the mechanical mechanism provided with the rotating shaft by the rotating electrical machine, by providing a locking portion on the surface facing the motor unit rotor of the circumferential end surface of the mechanical mechanism, The mechanical mechanism is locked with the plurality of motor units at the locking portion and rotates as a unit.
  • the mechanical mechanism and the plurality of motor units are arranged in the order of the mechanical mechanism and the plurality of motor units in the axial direction.
  • the mechanical mechanism is arranged at a position sandwiched between a plurality of motor units in the axial direction.
  • a motor unit includes a unit inner shaft, a first rotor fixed to one end of the unit inner shaft and having a plurality of permanent magnets in the circumferential direction, and the other of the unit inner shafts.
  • a stator attached from the end through a bearing, and a second rotor fixed to the other end of the inner shaft of the unit and having a plurality of permanent magnets in the circumferential direction.
  • the first rotor and the second rotor A locking portion is provided on the opposite side of the rotor from the stator.
  • the first rotor is attached to one end of the unit internal shaft, and after the stator is attached to the other end of the unit internal shaft via a bearing, the second rotor is fixed to the other end of the unit internal shaft. To do.
  • a plurality of motor units are locked at the locking portion and rotate as a unit.
  • a rotating electrical machine of the present invention is a rotating electrical machine apparatus that drives a mechanical mechanism having a rotating shaft by a motor unit, and the motor unit includes a shaft in the unit and a periphery of the shaft in the unit.
  • the stator provided in the direction, two rotors that rotate together with the shaft in the unit and are opposed to both sides of the stator in the circumferential direction, and the locking portions provided on both sides of the rotor opposite to the stator
  • the mechanical mechanism having a rotating shaft includes a locking portion on the circumferential end surface of the rotating shaft, and the locking mechanism of the mechanical mechanism and the locking portion of the motor unit are locked. And the motor unit rotate as a unit.
  • the mechanical mechanism is a flywheel fastened using a locking part of the motor unit.
  • the mechanical mechanism is a sensor means for detecting the rotation angle of the motor unit.
  • the mechanical mechanism is a transmission means having two shafts, and a locking portion of a circumferential end surface of each shaft of the transmission means and a locking portion of the motor unit are locked to rotate integrally with each other.
  • the motor unit that drives the shaft is a motor unit having a different number of poles and operates at a constant rotation speed ratio.
  • the mechanical mechanism is a connection control mechanism such as a clutch mechanism provided between the plurality of motor units via a locking portion, and the axial disconnection and re-engagement can be controlled.
  • the mechanical mechanism is a vehicle drive shaft.
  • multiple motor units are driven by multiple inverters.
  • the rotor shaft is not integrated as in the above-mentioned known literature, there is an effect that the assembly process of the motor itself can be simplified, and only by manufacturing a large number of identical motor units, The advantage that an output motor can be configured can be enjoyed.
  • the structure can be expected to increase the output density because the assembly method is simple and the cost can be reduced and the windings and the stator core can be mounted at a high density.
  • the disassembled perspective view of the stator 5 of FIG. The figure which shows the example of the latching
  • the figure which shifted the fastening position of the motor unit comprised identically.
  • the figure which shows cogging torque when a fastening position is shifted.
  • the figure which shows the modification of the rotary electric machine apparatus comprised with a motor unit and a drive target object The figure which shows the modification of the rotary electric machine apparatus comprised with a motor unit and a drive target object.
  • FIG. 1 is a perspective exploded view showing the structure of a rotating electrical machine having two axial gap motor units in the axial direction.
  • 16 is a motor housing, and an output shaft side bracket 13 and a rear end side bracket 14 are attached to both left and right ends thereof.
  • holes 13b and 14b are provided in the mounting portions 13a and 14a of the brackets 13 and 14, and the other side of the housing 16 is screwed and fixed between the holes 16b.
  • an output shaft 11 in this example, two sets of motor units 1A and 1B and a rear end shaft 12 are arranged.
  • These members are provided with a locking portion on a surface perpendicular to the rotation axis, and the members are stacked and fixed by the locking portion to form an integral rotation structure.
  • There are several methods to fix the structure using the locking part which will be introduced later with reference to FIG. 3.
  • holes are provided on both sides of the stacked members, and pins are fitted in the holes.
  • the two sets of motor units 1A and 1B shown in the central portion in the axial direction of FIG. 1 constitute an axial gap type motor having disk-shaped rotors on both axial sides.
  • the motor units 1A and 1B shown in the figure have holes for arranging connecting pins at a plurality of locations (three locations at equal angular pitches) in the rotational direction at both axial ends of the respective rotors (the back of the rotor yoke).
  • Connection pins 15A and 15B are arranged in the holes.
  • holes are provided on both surfaces of the motor units 1A and 1B, and connecting pins are arranged between these holes and are connected by fitting.
  • the connecting pin 15B on the left side in the axial direction of the motor unit 1B on the right side in the drawing is connected to a connecting pin arrangement hole (not shown) on the back of the rotor yoke shown on the right side in the axial direction of the motor unit 1A on the left side in the drawing.
  • the rotors of the motor unit 1A and the motor unit 1B are coupled together so as to be rotatable.
  • the example provided with 2 sets of motor units 1A and 1B was shown in FIG. 1, 3 units or more can be connected similarly.
  • the shaft includes an output shaft 11 and a rear end shaft 12.
  • the output shaft 11 is comprised from the axial part 11a and the disk part 11d, and has a structure which has the disk part 11d in the one side edge part of the axial part 11a.
  • the disk portion 11d is positioned on the side facing the motor portion 1A, and has a connection hole on the back surface thereof, similarly to the back surface of the motor unit rotor.
  • a connecting pin 15A disposed on the surface of the motor unit 1A is fitted into the connecting hole, and is rotatable integrally with the rotor of the motor.
  • the shaft portion 11 a of the output shaft 11 is rotatably attached to the rotation locking hole 13 c of the output shaft side bracket 13 when it is incorporated in the motor housing 16.
  • the rear end shaft 12 which is another shaft, is also composed of a shaft portion and a disk portion 12d, and it can be considered that the output shaft 11 is inverted.
  • the disk portion 12d is positioned on the side facing the motor portion 1B, and a hole is provided on the surface thereof, like the motor unit rotor surface, and a connecting pin 15c is fitted therein, It can rotate together with the rotor of the motor.
  • the shaft portion of the rear end shaft 12 is rotatably attached to the rotation locking hole 14 c of the rear end side bracket 14 when incorporated in the motor housing 16.
  • the stator is fixed and the rotating shaft rotates.
  • the output shaft 11 and the rear end shaft 12 are arranged symmetrically and the basic structure is the same, but the shaft lengths of the shaft portions are different.
  • the shaft portion of the rear end shaft 12 may be long enough to be rotatably attached to the rear end side bracket 14, but the shaft portion 11 a of the output shaft 11 is rotatably attached to the output shaft side bracket 13, In addition, it requires a length to transmit the shaft output to the outside.
  • the output shaft 11, the rear end shaft 12, and the motor units 1 ⁇ / b> A and 1 ⁇ / b> B are integrated with each other and disposed in the motor housing 16.
  • the outer periphery of the stator is structured to be fixed to the motor housing 16 using the fixing hole 16d.
  • a bearing is disposed on the shaft of the rear end shaft 12 and a bearing is disposed on the output shaft 11, and the bearing is held by the output shaft side bracket 13 and the rear end side bracket 14 which are rotatably supported.
  • the motor is configured. As a result, a motor structure in which only the output shaft 11a is rotatably arranged from the assembled housing 16 and brackets 13 and 14 is obtained.
  • FIG. 2 is a perspective view showing the structure of the axial gap motor constituting the motor units 1A and 1B.
  • the axial gap motor itself is configured as one unit.
  • an axial gap motor having rotors on both sides of 15 slots and 10 poles is shown.
  • the main members constituting the axial gap motor unit in FIG. 2 are a stator 5, two rotors 8 at both ends of the stator, an in-unit shaft 4, and the like. Among these, the detailed structure of the stator 5 will be described in detail later with reference to FIGS. These main members are further composed of several members. The structure of the main member will be described including suitable materials and characteristics for each member.
  • the stator core 2 constituting the stator 5 is 15 iron cores having a substantially fan shape or a substantially trapezoidal shape.
  • the iron core 2 is made of a magnetic material such as an electromagnetic steel plate, a high magnetic permeability, such as amorphous, a dust core, or metallic glass.
  • a structure is adopted in which thin sheets are stacked (the stacking direction is the radial direction or the circumferential direction) in order to suppress eddy currents caused by changes in magnetic flux. Is done.
  • FIG. 3 is a diagram showing the arrangement of the stator core, the coil, and the bearing holding portion.
  • a stator coil 3 having a shape similar to the outer shape of the stator core is disposed around the substantially iron-shaped or trapezoidal stator core 2. Since the stator coil is circumferentially arranged around the bearing holding portion 10, it is structured to be mounted in a region of a predetermined angle (24 degrees for 15 slots in the drawing). In the example of FIG. 3, fifteen stator coils 3 are installed around the bearing holder 10.
  • FIG. 4 is an exploded perspective view of the stator 5 of FIG. 2, in which 15 stator cores 2 are arranged in the circumferential direction of the bearing holder 10, and the stator coil 3 is wound around each stator core 2. Has been.
  • the bearing holding part 10 arranged at the center part where the stator core 2 and the stator coil 3 are arranged in the circumferential direction is made of metal such as aluminum or stainless steel.
  • the bearing holding portion 10 has a function of holding the bearings at both ends in the axial direction on the inside, and has a stepped structure that determines and secures the position of the bearing in the axial direction.
  • stator holding plates 5a and 5b As shown in FIG. 4, in order to hold the stator 5 from both sides, a structure is adopted in which the coil 3 and the stator core 2 are held by the stator holding plates 5a and 5b.
  • the stator holding plates 5a and 5b are in contact with the coil 3 through insulation, function to transmit heat generated from the coil 3 to the housing 16, and hold the coil 3 and the iron core 2 to maintain strength as a structure.
  • FIG. 2 shows the arrangement after being assembled to the stator.
  • the stator holding plate 5b When attention is paid to the stator holding plate 5b, it can be seen that there are a portion that protrudes greatly from the circumferential portion and a portion that does not. The portion that protrudes greatly from the circumferential portion contacts the housing 16 and fixes the stator to the housing. When fixing, the fixing hole 16d of the housing 16 is used.
  • the housing when the housing is made of a non-conductive material, all the end portions may be in contact with each other.
  • the stator holding plates 5a and 5b are made of reinforced plastic, silica, ceramics, etc. for the purpose of giving strength as a reinforcing bar. It can be configured in contact.
  • stator core 2 stator coil 3 bearing holder 10 and stator holding plates 5a and 5b are held together, they are integrated by resin impregnation, resin molding in a mold, or the like.
  • stator 5 is configured.
  • Rotator yokes 8a and 8b are arranged facing both surfaces of the stator 5 in the direction perpendicular to the stator axis. As shown in the feature of the rotor yoke 8b in FIG. 2, ten permanent magnets 7b are arranged radially from the central axis on the side facing the stator 5. Thus, an axial gap motor unit having 15 slots and 10 poles is formed. Further, as shown in the feature of the rotor yoke 8a of FIG. 2, a hole 19 constituting a locking portion is provided on the surface side not facing the stator 5. Further, as is apparent from the above description, a connecting pin is disposed in this hole to constitute a locking portion.
  • the two sets of rotor yokes 8a and 8b produced and manufactured as described above and the molded stator 5 are coupled by the shaft 4 in the motor unit at the center shaft portion. Both end portions of the motor unit inner shaft 4 have key grooves 17a and 17b for determining the position in the rotational direction.
  • a key groove is shown, but a D-cut structure or a positioning pin hole structure may be used as long as it is a means for positioning in the rotational direction.
  • the motor unit inner bearing 6b assembled from the right side is arranged on the right side in the axial direction of the motor unit inner shaft 4 shown here.
  • the axial position of the motor unit inner bearing 6 b is positioned according to the dimension of the thick shaft portion at the axial central portion of the motor unit inner shaft 4.
  • a rotor yoke 8b having a key groove 18b is assembled on the right side of the motor unit inner bearing 6b and fastened by an end cap 9b.
  • the motor unit inner shaft 4 assembled with the rotor yoke 8b is assembled by holding a bearing from the right side on the inner peripheral portion of the bearing holding portion 10 of the stator.
  • the rotor yoke 8a having the same bearing 6a in the motor unit and the key groove 18a that is a positioning function in the rotational direction is assembled.
  • the motor unit inner shaft 4 and the rotor yoke 8a are fastened by the end cap 9a.
  • the rotor yokes 8a and 8b have a structure having a plurality of connecting pin arrangement holes 19 in the rotational direction, as shown in the drawing.
  • FIG. 5 shows some detailed explanatory views regarding the locking portion structure for fastening a member such as a rotor in the axial direction.
  • FIG. 5a shows an example of a locking portion structure between the axial gap motor units 1A and 1B.
  • This example shows a structure in which the connecting pin shown in FIG. 1 and FIG.
  • Holes 19 with a pitch of 120 degrees are provided at three locations.
  • the rotors having the same structure can be rotated around the rotation axis of the shaft 4 in the motor unit by arranging the fastening pin 15 in the rotor yoke back hole 19 so that the rotors are synchronized with each other. Constitute.
  • FIG. 5b shows a modified example of the locking portion structure for fastening the rotor in the axial direction.
  • the axial gap motor unit 1B is provided with a convex inlay portion 24 having the same degree of coaxiality as the same axis as the shaft 4 in the motor unit.
  • the disc on the left side of the figure is provided with a concave inlay portion 23 having a coaxial degree so as to be the same axis as the shaft 4 in the motor unit. It has a shape that maintains the coaxiality. This is provided with a hole 19 in which the fastening pin is disposed so that the rotational force can be transmitted.
  • the connecting pin arrangement hole 19 can be rotationally fastened with a configuration that maintains an equiangular pitch on the rotational circumference without defining the coaxiality. Therefore, the connecting pin arrangement hole 19 may be a long hole (oval shape) long in the radial direction.
  • FIG. 5c shows an example of a connection structure that does not use a connection pin.
  • the figure shows a structure in which a convex inlay portion 21 for maintaining the coaxiality is provided, and a part of the inlay portion is notched to form a D-cut convex portion 21.
  • the disk connected to the opposite side has a concave inlay portion combined with the disk, and realizes rotational fastening while maintaining the coaxiality.
  • FIG. 5 d shows an example of fastening between the output shaft unit 11 and the rotor yoke 8.
  • the fastening pin 18 is used. Similar to the structure shown in detail in FIG. 5 a, a structure is shown in which the fastening pin 18 is disposed in the hole 19 that is disposed with the coaxiality maintained, and the output shaft unit 11 is fastened. Further, in this drawing, it is shown that the output side bearing 22 is arranged on the output shaft unit 11 thus fastened and the bearing 22 is held by the bearing holding portion 25 of the output side bracket 23. ing.
  • FIG. 6a shows the fastening relationship of the first embodiment. Paying attention to the relationship between the position of the key groove arranged in the insertion hole of the central motor unit inner shaft 4 and the arrangement of the fastening pin arrangement hole 19, the two axial gap motor units 1A and 1B are identical to the key groove. It can be seen that 19A and 19B are arranged at the locations.
  • FIG. 6c shows what the cogging torque at this time will be.
  • the motor unit 1A and the motor unit 1B have the same cogging torque characteristics.
  • the cogging torque of each motor unit is indicated by a thin line (characteristic having a peak of 45 mNm) shown in FIG.
  • peak is a characteristic of 90 mNm
  • the peak value of the cogging torque when n motor units are combined has the basic unit It appears as n times the cogging torque peak value.
  • the arrangement location of the fastening pin arrangement hole 19 is arranged with an angle of 6 degrees with respect to the key groove.
  • the motor unit 1A and the motor unit 1B operate by overlapping at a mechanical angle of 6 degrees.
  • the cogging torque cycle is 12 degrees, and by superimposing the half of the cogging torque at 6 degrees, the cogging torques cancel each other and the fluctuation in torque is zero. be able to.
  • the basic period of cogging torque is often 6th order per period of electrical angle. Therefore, by setting the basic arrangement angle to 360 / (6 ⁇ number of pole pairs), the cogging torque can be reduced from the design time. It is possible to set the angle pitch in consideration. In this embodiment, the number of pole pairs is 10 so that they are shifted by 6 degrees.
  • FIG. 6d shows the result, and the cogging torque obtained by synthesizing the cogging torque (solid line) of the motor unit 1A and the cogging torque (dotted line) of the motor unit 1B having the same characteristic shifted by 6 degrees has a pulsation as shown by a bold line. Zero cogging torque without.
  • the cogging torque can be reduced by setting half to 0 degrees and 6 degrees. Further, in the case of combining with an odd number n, the cogging torque can be reduced by arranging each of them to overlap each other by 1 / (n ⁇ 1) degrees of the basic period of the cogging torque.
  • the deviation of the angle and the order of superposition may be arbitrary.
  • FIG. 1 a rotating electrical machine apparatus configured by combining a plurality of axial gap motor units and a driving object will be described.
  • FIG. 5 shows a combination (rotary electric machine device) that takes into account even a driving object driven by a motor.
  • reference numeral 41 denotes a mechanical mechanism such as a pulley, a gear, a pump impeller, and a fan.
  • the motor unit 1A, 1B is connected in the axial direction with the connecting pin 15, and the mechanical mechanism 41 driven by the motor is also packaged by fastening with the connecting pin 15 in the same manner as the rotor of the motor.
  • a rotating electrical machine is used. According to this packaged rotating electrical machine apparatus, it is possible to configure without exposing the shaft joint or the rotating object. In addition, it becomes easy to add a motor unit on the right side depending on the output capacity.
  • J indicated by a one-dot difference line indicates a rotation axis.
  • a locking portion such as a hole is formed on the circumferential surface of the rotation axis of the mechanical mechanism 41, and the portion is locked with a pin so that it can rotate integrally with the motor unit.
  • FIG. 7b shows an example in which the mechanical mechanism 42 is sandwiched between the motor unit 1A and the motor unit 1B, and similarly, the connecting pin 15 is rotationally fastened.
  • the basic motor units 1A and 1B can be fastened, but are advantageous when they must be arranged apart from each other in the axial direction due to the arrangement space, or when power is required evenly from both sides.
  • FIG. 7c is a drawing showing an arrangement in which the basic motor unit 1A and another basic motor unit 1B are not on the same axis.
  • the mechanical mechanism is composed of 43a and 43b, and each is driven by the basic motor unit 1A and another basic motor unit 1B. This example is advantageous when the arrangement space is limited.
  • FIG. 7d shows an example in which a power transmission cutting mechanism such as a clutch mechanism, which is rotationally fastened, is provided between the motor unit A and the motor unit B.
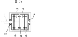
  • FIG. 7e shows a conceptual diagram when configured as a motor.
  • a sensor unit for detecting the position of the rotor may be required.
  • FIG. 7e shows an example in which the rotational position detection unit 45 is disposed inside the motor, and the rotor portion of the rotational position detection sensor is integrated by connecting the rotor and a connection function such as a connection pin.
  • the rotational position detection unit 45 is an optical, magnetic encoder, resolver, Hall element, or the like, and is configured as a unit including a circuit board.
  • FIG. 7f shows a configuration in which a flywheel 46 is added to the configuration of the motor unit so that a large inertia can be connected.
  • the fly-hole effect (flywheel effect) is effective as a configuration that converts electric power into kinetic energy and stores it, and momentarily puts in and out a large amount of power.
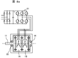
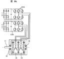
  • FIG. 8 is a drawing showing a combination method with a device (inverter) for controlling a motor having the configuration of the present invention. Since there are two or more axial gap type motors, various control methods can be considered.
  • FIG. 8 a is a method of controlling two motors 1 ⁇ / b> A and 1 ⁇ / b> B using one inverter 51.
  • a method is shown in which the respective terminals of the Y connection (same for ⁇ connection) of two motors are connected in parallel and controlled by one inverter 51. Since the motors have the same specifications, the same control can be performed with the same voltage because of the parallel connection.
  • FIG. 8b shows a method of controlling two basic motor units 1A and 1B with two inverters 51A and 51B.
  • the capacity of the inverters 51A and 51B can be small, and it is possible to control one motor as a motor and the other as a generator. What advantages are possible for energy saving operation by operating only one side.
  • 14 represents a rear side end bracket, and 22 represents an output side bearing.
  • FIG. 9 shows an example in which the motor of the present invention is used as an in-wheel motor 50 of an electric vehicle or a hybrid car. Since the output can be varied simply by increasing / decreasing the number of basic motor units, it is possible to cover motors with the same specifications from cars with large displacement to cars with small displacement. Thus, the present invention can be applied not only to automobiles but also to a wide range of areas such as industrial and household appliances.
  • the motor of the axial type multi-stage fastening structure of the present invention can be applied to a wide range of motors aimed at small size, high efficiency and low noise. Further, the system using the motor structure of the present invention can be widely applied to general motor systems such as miniaturization, a highly efficient fan, pump system, home appliance motor, automobile drive, and wind power generation.

Landscapes

  • Engineering & Computer Science (AREA)
  • Power Engineering (AREA)
  • Connection Of Motors, Electrical Generators, Mechanical Devices, And The Like (AREA)
  • Permanent Magnet Type Synchronous Machine (AREA)
PCT/JP2011/079522 2011-01-26 2011-12-20 モータユニットおよびこれを用いた回転電機、回転電機装置 Ceased WO2012101938A1 (ja)

Priority Applications (2)

Application Number Priority Date Filing Date Title
CN201180066127.8A CN103339841B (zh) 2011-01-26 2011-12-20 电机单元和使用它的旋转电机、旋转电机装置
US13/981,846 US20130328429A1 (en) 2011-01-26 2011-12-20 Motor Unit, and Dynamo-Electric Machine and Dynamo-Electric Machine Device that Use Same

Applications Claiming Priority (2)

Application Number Priority Date Filing Date Title
JP2011-013900 2011-01-26
JP2011013900A JP5635921B2 (ja) 2011-01-26 2011-01-26 モータユニットおよびこれを用いた回転電機、回転電機装置

Publications (1)

Publication Number Publication Date
WO2012101938A1 true WO2012101938A1 (ja) 2012-08-02

Family

ID=46580520

Family Applications (1)

Application Number Title Priority Date Filing Date
PCT/JP2011/079522 Ceased WO2012101938A1 (ja) 2011-01-26 2011-12-20 モータユニットおよびこれを用いた回転電機、回転電機装置

Country Status (4)

Country Link
US (1) US20130328429A1 (enExample)
JP (1) JP5635921B2 (enExample)
CN (1) CN103339841B (enExample)
WO (1) WO2012101938A1 (enExample)

Cited By (2)

* Cited by examiner, † Cited by third party
Publication number Priority date Publication date Assignee Title
JP2015070705A (ja) * 2013-09-30 2015-04-13 浩 竹村 発電モーター
WO2018016545A1 (ja) * 2016-07-20 2018-01-25 ナブテスコ株式会社 回転電機および非接触発電機

Families Citing this family (17)

* Cited by examiner, † Cited by third party
Publication number Priority date Publication date Assignee Title
JP5916591B2 (ja) * 2012-12-07 2016-05-11 株式会社日立製作所 アキシャルギャップモータ
CN104167894B (zh) * 2014-09-02 2018-02-09 莫春浩 双向电动机
JP2016077067A (ja) * 2014-10-06 2016-05-12 株式会社日立産機システム アキシャルギャップ型回転電機およびその製造方法
JP6319139B2 (ja) * 2015-03-02 2018-05-09 トヨタ自動車株式会社 電動モータ
JP6788958B2 (ja) * 2015-04-28 2020-11-25 日本電産株式会社 モータ
JP6688596B2 (ja) * 2015-11-02 2020-04-28 株式会社神戸製鋼所 電動ウインチ装置及び移動式クレーン
JP6653011B2 (ja) 2016-02-25 2020-02-26 株式会社日立製作所 アキシャルギャップ型回転電機
TWM549484U (zh) 2016-10-04 2017-09-21 Jiong-Hao Chen 多軸傳動之盤式發電機
WO2018168058A1 (ja) 2017-03-14 2018-09-20 株式会社日立製作所 アキシャルギャップ型回転電機
CN109728664B (zh) * 2017-10-31 2020-07-03 大银微系统股份有限公司 具防护机构的马达转子
FR3088506B1 (fr) * 2018-11-09 2021-06-25 Circor Ind Procede de reduction du couple de crantage produit par des moteurs electriques de type brushless utilises simultanement
USD908624S1 (en) * 2019-02-05 2021-01-26 Genesis Robotics And Motion Technologies, LP Electric motor
USD921585S1 (en) * 2019-02-05 2021-06-08 Genesis Robotics And Motion Technologies, LP Electric motor
WO2020168473A1 (zh) * 2019-02-20 2020-08-27 林清荣 双轴反向发电机
USD916019S1 (en) * 2019-03-26 2021-04-13 Genesis Robotics And Motion Technologies, LP Electric motor
US11313359B2 (en) * 2019-10-01 2022-04-26 St9 Gas And Oil, Llc Electric drive pump for well stimulation
GB2617647A (en) 2021-01-18 2023-10-18 Mitsubishi Heavy Ind Ltd Rotating electric machine and method for manufacturing rotating electric machine

Citations (13)

* Cited by examiner, † Cited by third party
Publication number Priority date Publication date Assignee Title
JPH0378454A (ja) * 1989-08-12 1991-04-03 Lucas Ind Plc 内燃機関用交流発電機
JPH06276770A (ja) * 1993-03-18 1994-09-30 Nasuka:Kk 結合型モータと駆動電気回路
JPH08251710A (ja) * 1995-01-10 1996-09-27 Nippondenso Co Ltd 車両用駆動装置
JP2000502874A (ja) * 1995-12-21 2000-03-07 ジューモン・アンデュストリ 円盤形の電気機械用の基本モジュールおよび電気機械
JP2003088068A (ja) * 2001-09-11 2003-03-20 Kago Han 側転式電動機又は発電機
JP2003134780A (ja) * 2001-10-25 2003-05-09 Tokyo Parts Ind Co Ltd ブラシレスモータのステータ支持構造とこのステータ支持構造の製造方法
JP2004215454A (ja) * 2002-12-20 2004-07-29 Tai-Her Yang 遠心力によって回転子の軸方向作動の調整制御を行う電機
WO2007105319A1 (ja) * 2006-03-10 2007-09-20 Shirakawa, Yoshiaki 発電機、発電方法及びモータ
WO2007141872A1 (ja) * 2006-06-09 2007-12-13 Elegance Energy Co., Ltd. 回転機およびその駆動方法
JP2008271641A (ja) * 2007-04-17 2008-11-06 Honda Motor Co Ltd アキシャルギャップ型モータ
JP2009038860A (ja) * 2007-07-31 2009-02-19 Nissan Motor Co Ltd 回転電機のロータ
JP2009540776A (ja) * 2006-06-08 2009-11-19 エクスロ テクノロジーズ インコーポレイテッド 多相複数コイル発電機
JP2010075013A (ja) * 2008-09-22 2010-04-02 Mitsuba Corp スイッチトリラクタンスモータ

Family Cites Families (10)

* Cited by examiner, † Cited by third party
Publication number Priority date Publication date Assignee Title
US4207487A (en) * 1969-12-29 1980-06-10 Hartwig Beyersdorf Electric machine
JP3929738B2 (ja) * 2001-10-11 2007-06-13 ヤマハモーターエレクトロニクス株式会社 永久磁石式回転電機
JP2006199471A (ja) * 2005-01-21 2006-08-03 Fuji Photo Film Co Ltd プリンタ及びプリント方法
US7471026B2 (en) * 2006-03-13 2008-12-30 Isca Innovatons, Llc Brushless electric motor
JP2008228390A (ja) * 2007-03-09 2008-09-25 Jtekt Corp ブラシレスモータおよびそれを備えた電動パワーステアリング装置
JP5052288B2 (ja) * 2007-06-28 2012-10-17 信越化学工業株式会社 アキシャルギャップ型回転機
JP2009033927A (ja) * 2007-07-30 2009-02-12 Jtekt Corp ブラシレスモータ
US7714479B2 (en) * 2007-09-19 2010-05-11 Light Engineering, Inc. Segmented composite rotor
JP4678549B2 (ja) * 2008-10-09 2011-04-27 本田技研工業株式会社 アキシャルギャップ型モータ
JP2010178451A (ja) * 2009-01-28 2010-08-12 Minebea Motor Manufacturing Corp 同軸モータ

Patent Citations (13)

* Cited by examiner, † Cited by third party
Publication number Priority date Publication date Assignee Title
JPH0378454A (ja) * 1989-08-12 1991-04-03 Lucas Ind Plc 内燃機関用交流発電機
JPH06276770A (ja) * 1993-03-18 1994-09-30 Nasuka:Kk 結合型モータと駆動電気回路
JPH08251710A (ja) * 1995-01-10 1996-09-27 Nippondenso Co Ltd 車両用駆動装置
JP2000502874A (ja) * 1995-12-21 2000-03-07 ジューモン・アンデュストリ 円盤形の電気機械用の基本モジュールおよび電気機械
JP2003088068A (ja) * 2001-09-11 2003-03-20 Kago Han 側転式電動機又は発電機
JP2003134780A (ja) * 2001-10-25 2003-05-09 Tokyo Parts Ind Co Ltd ブラシレスモータのステータ支持構造とこのステータ支持構造の製造方法
JP2004215454A (ja) * 2002-12-20 2004-07-29 Tai-Her Yang 遠心力によって回転子の軸方向作動の調整制御を行う電機
WO2007105319A1 (ja) * 2006-03-10 2007-09-20 Shirakawa, Yoshiaki 発電機、発電方法及びモータ
JP2009540776A (ja) * 2006-06-08 2009-11-19 エクスロ テクノロジーズ インコーポレイテッド 多相複数コイル発電機
WO2007141872A1 (ja) * 2006-06-09 2007-12-13 Elegance Energy Co., Ltd. 回転機およびその駆動方法
JP2008271641A (ja) * 2007-04-17 2008-11-06 Honda Motor Co Ltd アキシャルギャップ型モータ
JP2009038860A (ja) * 2007-07-31 2009-02-19 Nissan Motor Co Ltd 回転電機のロータ
JP2010075013A (ja) * 2008-09-22 2010-04-02 Mitsuba Corp スイッチトリラクタンスモータ

Cited By (2)

* Cited by examiner, † Cited by third party
Publication number Priority date Publication date Assignee Title
JP2015070705A (ja) * 2013-09-30 2015-04-13 浩 竹村 発電モーター
WO2018016545A1 (ja) * 2016-07-20 2018-01-25 ナブテスコ株式会社 回転電機および非接触発電機

Also Published As

Publication number Publication date
CN103339841A (zh) 2013-10-02
JP5635921B2 (ja) 2014-12-03
JP2012157157A (ja) 2012-08-16
US20130328429A1 (en) 2013-12-12
CN103339841B (zh) 2016-12-21

Similar Documents

Publication Publication Date Title
JP5635921B2 (ja) モータユニットおよびこれを用いた回転電機、回転電機装置
US7649298B2 (en) Claw teeth type electric rotary machine and manufacturing method for stators
JP5539191B2 (ja) 磁気誘導子型回転機およびそれを用いた流体移送装置
KR100899913B1 (ko) 모터
CN103430428B (zh) 非晶质分割铁芯定子以及利用该定子的轴向间隙型马达
JP4709775B2 (ja) 電磁カプラー
JP5751794B2 (ja) 電気式乗物のための牽引モータ
US8987963B2 (en) Double drive shaft motor of magnetic flux modulation type
EP2145378A2 (en) Motor having rotors arranged concentrically and driving apparatus having the motor
JP2012080692A (ja) マルチギャップ型回転電機
JP5920637B2 (ja) 回転電機の回転子
JP2015165750A (ja) アキシャルギャップモータ
WO2007061135A2 (en) Electrical machine having a flattened stator with inclined teeth
TWI474583B (zh) 磁性聯軸器與軸向氣隙永磁馬達之整合裝置
CN214480207U (zh) 碟式电机
TWI466416B (zh) 新型軸向氣隙直流無刷馬達與軸向式磁性聯軸器之一體式機電裝置
JPH09182211A (ja) 車両用駆動装置
JP7495527B2 (ja) 電気機械
CN120016785B (zh) 步进电机
JP2021151156A (ja) 回転電機
KR200424092Y1 (ko) 이중영구자석구조의 코어리스모터
JP2013223254A (ja) 電動パワーステアリングシステム用モータのロータ及び電動パワーステアリングシステム用モータ
WO2012086613A1 (ja) 回転電機
WO2012043446A1 (ja) 回転電機
JP4392417B2 (ja) 回転子側面にコイルを有した永久磁石式回転電機

Legal Events

Date Code Title Description
121 Ep: the epo has been informed by wipo that ep was designated in this application

Ref document number: 11856702

Country of ref document: EP

Kind code of ref document: A1

NENP Non-entry into the national phase

Ref country code: DE

WWE Wipo information: entry into national phase

Ref document number: 13981846

Country of ref document: US

122 Ep: pct application non-entry in european phase

Ref document number: 11856702

Country of ref document: EP

Kind code of ref document: A1