WO2012035867A1 - 電子体温計およびその製造方法 - Google Patents

電子体温計およびその製造方法 Download PDF

Info

Publication number
WO2012035867A1
WO2012035867A1 PCT/JP2011/065979 JP2011065979W WO2012035867A1 WO 2012035867 A1 WO2012035867 A1 WO 2012035867A1 JP 2011065979 W JP2011065979 W JP 2011065979W WO 2012035867 A1 WO2012035867 A1 WO 2012035867A1
Authority
WO
WIPO (PCT)
Prior art keywords
lead wire
assembly
electronic thermometer
extending
extension
Prior art date
Legal status (The legal status is an assumption and is not a legal conclusion. Google has not performed a legal analysis and makes no representation as to the accuracy of the status listed.)
Ceased
Application number
PCT/JP2011/065979
Other languages
English (en)
French (fr)
Japanese (ja)
Inventor
岳 長谷川
松本 直樹
山内 隆伸
篤志 河野
安生 藤田
Current Assignee (The listed assignees may be inaccurate. Google has not performed a legal analysis and makes no representation or warranty as to the accuracy of the list.)
Omron Healthcare Co Ltd
Original Assignee
Omron Healthcare Co Ltd
Priority date (The priority date is an assumption and is not a legal conclusion. Google has not performed a legal analysis and makes no representation as to the accuracy of the date listed.)
Filing date
Publication date
Application filed by Omron Healthcare Co Ltd filed Critical Omron Healthcare Co Ltd
Priority to DE112011103108T priority Critical patent/DE112011103108T5/de
Priority to CN201180044884.5A priority patent/CN103140744B/zh
Publication of WO2012035867A1 publication Critical patent/WO2012035867A1/ja
Priority to US13/791,003 priority patent/US9316544B2/en
Anticipated expiration legal-status Critical
Ceased legal-status Critical Current

Links

Images

Classifications

    • GPHYSICS
    • G01MEASURING; TESTING
    • G01KMEASURING TEMPERATURE; MEASURING QUANTITY OF HEAT; THERMALLY-SENSITIVE ELEMENTS NOT OTHERWISE PROVIDED FOR
    • G01K7/00Measuring temperature based on the use of electric or magnetic elements directly sensitive to heat ; Power supply therefor, e.g. using thermoelectric elements
    • GPHYSICS
    • G01MEASURING; TESTING
    • G01KMEASURING TEMPERATURE; MEASURING QUANTITY OF HEAT; THERMALLY-SENSITIVE ELEMENTS NOT OTHERWISE PROVIDED FOR
    • G01K1/00Details of thermometers not specially adapted for particular types of thermometer
    • G01K1/16Special arrangements for conducting heat from the object to the sensitive element
    • GPHYSICS
    • G01MEASURING; TESTING
    • G01KMEASURING TEMPERATURE; MEASURING QUANTITY OF HEAT; THERMALLY-SENSITIVE ELEMENTS NOT OTHERWISE PROVIDED FOR
    • G01K13/00Thermometers specially adapted for specific purposes
    • G01K13/20Clinical contact thermometers for use with humans or animals
    • YGENERAL TAGGING OF NEW TECHNOLOGICAL DEVELOPMENTS; GENERAL TAGGING OF CROSS-SECTIONAL TECHNOLOGIES SPANNING OVER SEVERAL SECTIONS OF THE IPC; TECHNICAL SUBJECTS COVERED BY FORMER USPC CROSS-REFERENCE ART COLLECTIONS [XRACs] AND DIGESTS
    • Y10TECHNICAL SUBJECTS COVERED BY FORMER USPC
    • Y10TTECHNICAL SUBJECTS COVERED BY FORMER US CLASSIFICATION
    • Y10T29/00Metal working
    • Y10T29/49Method of mechanical manufacture
    • Y10T29/49002Electrical device making
    • Y10T29/49117Conductor or circuit manufacturing

Definitions

  • the present invention relates to an electronic thermometer and a manufacturing method thereof, and more particularly to an electronic thermometer including a radial lead type temperature sensor and a manufacturing method of the electronic thermometer.
  • thermometer that measures body temperature by being sandwiched between measurement sites such as the armpit or the tongue
  • a sub case in which a liquid crystal display and a printed circuit board are fixed is disposed inside the main body housing.
  • a temperature measuring unit in which a temperature sensor is accommodated is provided at the front end of the housing.
  • a temperature sensing unit that senses the temperature of the part to be measured and a processing circuit formed by mounting various electronic components on a printed circuit board are connected by a lead wire having relatively low rigidity. The terminal portion of the lead wire is fixed to the printed circuit board, and the temperature sensing unit is electrically connected to the processing circuit via a lead wire extending long from the printed circuit board.
  • a conventional general so-called pencil-type electronic thermometer employs a structure in which a sub case is inserted from the rear end of a cylindrical main body housing to complete the electronic thermometer.
  • the temperature sensor cannot be inserted into the body housing, and the measurement accuracy due to the displacement of the temperature sensing part at the tip of the temperature sensor And a product variation (instrumental difference) between individual electronic thermometers occur. Therefore, in order to realize the automation of the assembly of the electronic thermometer, it is necessary to improve the process of inserting the temperature sensor extending from the sub case into the main body housing.
  • Patent Document 1 Japanese Patent Application Laid-Open No. 9-89680
  • the above-mentioned printed circuit board is extended to the temperature measuring unit, and a conductive wire is formed on the extended part of the printed circuit board so that the tip of the extended part is sensed.
  • An electronic thermometer is disclosed in which an electrical connection between a temperature sensor and a processing circuit is secured through a conductive wire by mounting a temperature unit.
  • the temperature sensor mounted on the front end of the printed circuit board is not a general radial lead type thermistor, but a special temperature sensor as shown in FIGS. To do.
  • the pattern formed on the printed circuit board constitutes the lead wire, and the lead wire part, the printed circuit board, and the temperature sensing part are integrated, if the electronic thermometer is stored in a low temperature environment, the lead The measurement time becomes longer due to the influence of the low temperature of the line part, the printed circuit board, and the temperature-sensitive part and the large difference from the body temperature of the site to be measured.
  • the heat applied to the temperature sensor during measurement escapes through the printed circuit board, slowing the thermal response of the electronic thermometer, making it difficult to measure accurately in a short time, and for high-speed measurement. Is disadvantageous.
  • the present invention has been made in view of the above problems, and its main purpose is to provide an electronic thermometer that suppresses bending and direction deviation of the lead wire of the temperature sensor during assembly, and is inexpensive and has a quick thermal response. is there.
  • the electronic thermometer includes a temperature sensor.
  • the temperature sensor includes a temperature sensing unit that measures the body temperature of the measurement subject and a lead wire having one end fixed to the temperature sensing unit.
  • the electronic thermometer also includes a hollow housing in which the temperature sensing unit is disposed on the distal end side and the lead wire is accommodated therein.
  • the electronic thermometer also includes a substrate to which the other end of the lead wire is fixed, and an assembly that is housed in the housing and includes the substrate.
  • the assembly includes an extending portion that extends toward the distal end side of the housing.
  • the extending portion has a guide portion that directs the extending direction of the lead wire.
  • the assembly may include a case that accommodates the substrate, and the extending portion may be formed such that the case extends to the front end side of the housing.
  • the assembly includes a sounding body that emits a cue sound and a sounding body fixing portion that fixes the sounding body, and the extending portion is formed such that the sounding body fixing portion extends toward the distal end side of the housing. Also good.
  • a contact reduction portion that reduces contact of the lead wire with the extension portion may be formed in the extension portion.
  • the guide portion may include a fixing material provided on the surface of the extension portion facing the lead wire and fixing the lead wire to the extension portion.
  • the guide portion may include a protruding portion that protrudes from the surface facing the lead wire of the extending portion.
  • the lead wire may be disposed in a non-contact state with respect to the extending portion.
  • An electronic thermometer manufacturing method includes a temperature sensor that includes a temperature sensing unit that measures a body temperature of a measurement subject, a lead wire having one end fixed to the temperature sensing unit, and the temperature sensing unit is disposed on the distal end side.
  • An electronic thermometer manufacturing method comprising: a hollow housing that accommodates a lead wire therein.
  • the method includes the steps of preparing an assembly including a substrate in which an extension portion having a guide portion capable of holding a lead wire is attached to an end portion, and arranging the lead wire so as to face the guide portion, A step of fixing the other end of the lead wire, a step of reducing the bending of the lead wire, a step of holding the lead wire in the guide portion in a state of reducing the bending of the lead wire, and holding the lead wire in the guide portion And inserting the assembly into the housing from the end side to which the extension is attached.
  • an electronic thermometer that is inexpensive and has a quick thermal response by suppressing the bending and direction deviation of the lead wire of the temperature sensor during assembly of the electronic thermometer.
  • FIG. 1 It is a perspective view which shows the external appearance structure of the electronic thermometer of Embodiment 1 of this invention. It is a figure which shows the structure of the functional block of an electronic thermometer. It is a disassembled perspective view which shows the assembly structure of an electronic thermometer. It is a disassembled perspective view which shows the assembly
  • FIG. 10 is a plan view showing the arrangement of extending portions and lead wires according to the third embodiment.
  • FIG. 12 is a cross-sectional view of the extending portion of the third embodiment along the line XII-XII shown in FIG. It is a figure which shows the modification of the cross section of the extension part shown in FIG.
  • FIG. 10 is a plan view showing the arrangement of extending portions and lead wires according to the fourth embodiment.
  • FIG. 10 is a plan view showing the arrangement of extending portions and lead wires according to the fifth embodiment. It is a perspective view which shows the internal structure of the electronic thermometer of Embodiment 6.
  • FIG. 25 is a plan view showing the arrangement of extending portions and lead wires according to the sixth embodiment. It is a top view which shows the modification of the planar shape of an extension part.
  • It is a flowchart which shows an example of the manufacturing method of an electronic thermometer. It is a schematic diagram which shows the state of the process (S30) of the manufacturing method shown in FIG. It is a schematic diagram which shows the state of the process (S40) of the manufacturing method shown in FIG. It is a schematic diagram which shows the state of the process (S50) of the manufacturing method shown in FIG. It is a flowchart which shows the other example of the manufacturing method of an electronic thermometer.
  • FIG. 1 is a perspective view showing an external structure of an electronic thermometer 1 according to Embodiment 1 of the present invention
  • FIG. 2 is a diagram showing a functional block configuration of the electronic thermometer 1 shown in FIG. First, with reference to these FIG. 1 and FIG. 2, schematic structure of the electronic thermometer 1 in this Embodiment is demonstrated.
  • the electronic thermometer 1 includes a main body housing 10, a cap 15 that forms a temperature measuring unit, and a closing member 16.
  • the main body housing 10 is a cylindrical hollow member made of a resin material such as ABS (Acrylonitrile Butadiene Styrene) resin.
  • the main body housing 10 has a nameplate attached to a predetermined position on the surface thereof, and has a display unit 4 and an operation unit 5 at predetermined positions on the surface thereof.
  • the cap 15 is a bottomed cylindrical member whose one end is closed.
  • the cap 15 is formed of an arbitrary material such as a metal material such as a stainless alloy or a resin material.
  • the closing member 16 is a block-shaped member made of a resin material such as ABS resin.
  • the cap 15 is attached to the distal end portion 11 (see FIG. 3) which is one end portion of the main body housing 10 in the axial direction (longitudinal direction).
  • the closing member 16 is attached to the rear end portion 12 (see FIG. 3) which is the other end portion of the main body housing 10 in the axial direction (longitudinal direction).
  • the housing of the electronic thermometer 1 of the present embodiment includes a main body housing 10, a cap 15 disposed at the front end of the main body housing 10, and a closing member 16 disposed at the rear end of the main body housing 10.
  • the electronic thermometer 1 in the present embodiment includes a control unit 2, a memory unit 3, a notification unit 6, a power supply unit 7, and a temperature measuring unit 8 in addition to the display unit 4 and the operation unit 5 described above.
  • the control part 2 is comprised by CPU (Central Processing Unit), for example, and is a means for controlling the electronic thermometer 1 whole.
  • the memory unit 3 is composed of, for example, a ROM (Read-Only Memory) or a RAM (Random-Access Memory), and stores a program for causing the control unit 2 or the like to execute a processing procedure for body temperature measurement, or a measurement. It is a means for storing results and the like.
  • the display unit 4 is configured by a display panel such as an LCD (Liquid Crystal Display), and is a means for displaying measurement results and the like.
  • the operation unit 5 is constituted by, for example, a push button, and is a means for accepting an operation by the user and inputting an external command to the control unit 2 and the power supply unit 7.
  • the notification unit 6 is configured by, for example, a buzzer, and is a means for notifying the user that the measurement has been completed or the user's operation has been accepted.
  • the power supply unit 7 is constituted by, for example, a button battery, and is means for supplying power as a power source to the control unit 2.
  • the temperature measuring unit 8 includes the cap 15 described above and a temperature sensing unit 73 (see FIG. 3 and the like) housed in the cap 15, and is sandwiched between measurement sites such as the armpit and the tongue. It is a part for detecting body temperature.
  • the control unit 2 includes a processing circuit for performing body temperature measurement, and measures body temperature based on a program read from the memory unit 3. In that case, the control part 2 calculates the body temperature as a measurement result by processing the temperature data input from the temperature measuring part 8. The control unit 2 further displays the calculated body temperature on the display unit 4, stores the calculated body temperature in the memory unit 3, and notifies the user that the measurement is completed using the notification unit 6. The electronic thermometer 1 is controlled.
  • FIG. 3 is an exploded perspective view showing the assembly structure of the electronic thermometer 1 shown in FIG.
  • the electronic thermometer 1 includes an assembly 18 as a subassembly in which the main body housing 10, the cap 15, and the closing member 16 as the casing described above and various internal components are assembled.
  • the main body housing 10 includes a hollow main body portion 10 a that houses the assembly 18, and a hollow probe portion 10 b that is disposed between the cap 15 and the main body portion 10 a that form the temperature measuring portion.
  • the cap 15 is fixed to the distal end portion 11 forming the front end of the main body housing 10 by, for example, adhesion.
  • the assembly 18 is accommodated in the hollow portion 13 inside the main body housing 10 by being inserted from an opening located at the rear end portion 12 of the main body housing 10.
  • the closing member 16 is fixed to the main body housing 10 by, for example, adhesion or ultrasonic welding so as to close the opening located at the rear end portion 12 of the main body housing 10 described above.
  • ultrasonic welding is employed for fixing the closing member 16 to the main body housing 10
  • processing in a shorter time can be achieved as compared with the case where adhesion is employed.
  • the cap 15 is not limited to the example formed as a member different from the main body housing 10 as shown in FIG.
  • the cap 15 may be made of a resin material, and the main body housing 10 and the cap 15 may be formed as one resin molded product in an integrated structure.
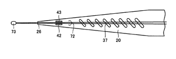
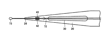
  • the assembly 18 includes an extension 20 that extends toward the distal end 11 of the main body housing 10.
  • the extension portion 20 is inserted into the main body housing 10 together with the assembly 18.
  • the extending portion 20 is disposed on the distal end portion 11 side of the main body housing 10 with respect to the assembly 18.
  • FIG. 4 is an exploded perspective view showing an assembly structure of the assembly 18 shown in FIG.
  • the exploded perspective view shown in FIG. 4 shows a state in which the assembly 18 shown in FIG.
  • the assembly 18 constitutes a sub case 50 as a holding member, a printed circuit board 70 to which a lead wire 72 is attached, a display unit assembly 61 constituting the display unit 4, and an operation unit 5.
  • the operation unit assembly 62, an elastic connector 63, a buzzer 65 as the notification unit 6, a buzzer cover 66 provided with terminals 67, and a fixing member 68 provided with terminals 69 are mainly provided.
  • the sub-case 50 is a base on which the above-described various internal components are assembled, and is a flat, substantially rectangular parallelepiped member having a lower end opening formed of a resin material such as ABS resin. At a predetermined position on the upper end surface of the sub case 50, an opening is provided to form a display unit window 51, and a part of the upper end surface is cut away to form an operation unit tongue 52. Yes.
  • a protrusion for positioning and fixing the operation unit assembly 62 is formed at a predetermined position of the operation unit tongue 52.
  • a buzzer accommodating portion 53 for accommodating a buzzer 65 is provided at a position near the front end of the sub case 50, and a fixing member for accommodating a fixing member 68 at a position near the rear end of the sub case 50.
  • a battery accommodating part 55 for accommodating the accommodating part 54 and the button battery is provided.
  • a plurality of support pins 56 for supporting the printed circuit board 70 are provided at predetermined positions on the upper end surface of the sub case 50.
  • the display unit assembly 61 is composed of a substantially plate-like assembly including the display panel described above, and the display panel faces the display unit window 51 at a position where the display unit window 51 of the sub case 50 is formed. By being placed in this manner, the sub case 50 is assembled.
  • the operation part assembly 62 is a substantially cylindrical assembly, and is assembled by being placed at a position where the operation part tongue part 52 of the sub case 50 is formed.
  • a concave portion is formed on the main surface of the operation unit assembly 62 on the sub case 50 side, and the concave portion is fitted to the protrusion provided on the operation unit tongue portion 52 described above.
  • the operation unit assembly 62 is positioned and fixed to the operation unit tongue 52.
  • a rubber sheet having elasticity is affixed to the back surface of the operation portion assembly 62 opposite to the main surface on which the concave portion is formed.
  • the rubber sheet is disposed so as to face the printed circuit board 70 with a predetermined gap after assembly, and comes into contact with the printed circuit board 70 when the user presses the operation unit 5.
  • the rubber sheet itself is made of conductive rubber, or has a conductive property by carbon printing on the surface thereof, and the contact provided on the printed circuit board 70 in accordance with the user's operation. Switch between conductive and non-conductive state.
  • the elastic connector 63 is placed at a predetermined position on the display unit assembly 61 assembled to the sub case 50.
  • the elastic connector 63 is a pressure contact type connector part including a cushioning material having elasticity, and is sandwiched and fixed between the display unit assembly 61 described above and a printed circuit board 70 described later, whereby the display unit assembly.
  • the display panel included in 61 and the printed circuit board 70 are electrically connected.
  • the buzzer 65 as a sounding body that emits a sound such as a signal sound is a thin disk-shaped electronic component in which a diaphragm and a piezoelectric plate are integrated.
  • the buzzer 65 is placed and assembled on the sub case 50 by being accommodated in the buzzer accommodating portion 53 provided in the sub case 50. Further, in addition to the buzzer 65 described above, a buzzer cover 66 as a sounding body fixing portion for fixing the buzzer 65 is assembled to the buzzer accommodating portion 53 of the sub case 50.
  • the buzzer cover 66 is a resin member formed by integrating the terminals 67.
  • the buzzer cover 66 is assembled to the sub case 50 by being placed on the buzzer housing 53 so as to cover the buzzer 65 placed on the sub case 50.
  • the terminal 67 is made of a conductive member having a leaf spring structure, and is a member for electrically connecting the buzzer 65 and the printed board 70.
  • techniques such as insert molding, adhesion, and fitting can be used.
  • the extending portion 20 is a resin molded product that is molded integrally with a buzzer cover 66 made of a resin material included in the assembly 18.
  • the fixing member 68 is made of a resin member in which the terminals 69 are integrated, and is placed on the sub case 50 and assembled by being accommodated in the fixing member accommodating portion 54 of the sub case 50. A part of the terminal 69 integrated with the fixing member 68 reaches the battery accommodating portion 55 by accommodating the fixing member 68 in the fixing member accommodating portion 54. Further, as described above, a button battery (not shown) is accommodated in the battery accommodating portion 55 of the sub case 50.
  • the terminal 69 is made of a conductive member having a leaf spring structure, and is a member for electrically connecting a button battery accommodated in the battery accommodating portion 55 and a printed board 70 described later. For the integration of the fixing member 68 and the terminal 69, techniques such as insert molding, adhesion, and fitting can be used.
  • the printed circuit board 70 is formed of a plate-shaped rigid wiring board having a substantially rectangular shape in plan view and having a conductive pattern having a predetermined pattern formed on the surface thereof.
  • Various electronic components are mounted on the surface of the printed circuit board 70, and various circuits such as a processing circuit for performing the body temperature measurement described above are formed on the printed circuit board 70.
  • the processing circuit provided on the printed circuit board 70 is electrically connected to the temperature sensing unit 73, which is a small temperature sensing element, via the lead wire 72 described above, and the printed circuit board via the lead wire 72. 70 is physically fixed.
  • the temperature sensing part 73 and the lead wire 72 form a radial lead type thermistor 74 in which the lead wire 72 extends in parallel in the same direction as the temperature sensor of the present embodiment (see FIG. 3).
  • the printed circuit board 70 is assembled on the sub case 50 in which the display unit assembly 61, the operation unit assembly 62, the elastic connector 63, the buzzer 65, the buzzer cover 66 with the terminal 67, and the fixing member 68 with the terminal 69 are assembled. Attached and accommodated in the subcase 50. At that time, the printed circuit board 70 is placed on the sub case 50 so that the support pin 56 provided in the sub case 50 is inserted into the through hole 71 provided in a predetermined position of the printed circuit board 70. The protruding support pin 56 is heat squeezed. Thereby, the printed circuit board 70 is assembled in a state of being pressed toward the sub case 50. In this state, various components such as the display unit assembly 61 described above are sandwiched and fixed between the sub case 50 and the printed circuit board 70.
  • a reference hole 58 used for positioning when the sub case 50 is placed on the assembly device for the electronic thermometer 1 is provided at a predetermined position on the upper end surface of the sub case 50 of the electronic thermometer 1 in the present embodiment.
  • a bulging portion 57 for inserting and fixing the assembly 18 including the sub case 50 into the hollow portion 13 of the main body housing 10 is provided at a predetermined position on the side surface of the sub case 50 of the electronic thermometer 1 in the present embodiment. Is provided.
  • FIG. 5 is an exploded perspective view of the thermistor 74.
  • the thermistor 74 as the temperature sensor of the present embodiment includes a temperature sensing unit 73 that measures the body temperature of the measurement subject and a lead wire 72.
  • the lead wire 72 has a pair of conducting wires 72a and 72b.
  • the thermistor 74 is a radial lead type thermistor in which a pair of conducting wires 72a and 72b extend in parallel in the same direction.
  • One end 75 of the lead wire 72 (the conducting wires 72 a and 72 b) is fixed to the temperature sensing unit 73.
  • the other end 76 of the lead wire 72 (conductive wires 72a and 72b) is fixed to the printed circuit board 70 shown in FIG.
  • FIG. 6 is a perspective view showing the internal structure of the electronic thermometer 1.
  • FIG. 7 is a cross-sectional view showing the internal structure of the electronic thermometer 1. 6 and 7, only the outer shape of the probe portion 10 b of the main body housing 10 and the cap 15 in the housing of the electronic thermometer 1 is shown by dotted lines, and the components arranged inside the housing of the electronic thermometer 1 are shown. Has been.
  • the temperature sensing portion 73 of the thermistor 74 is accommodated in the cap 15 disposed on the distal end portion 11 side of the main body housing 10 and is fixed inside the cap 15.
  • the lead wire 72 of the thermistor 74 is accommodated inside the probe portion 10 b of the main body housing 10.
  • the lead wire 72 is disposed so as to extend from the printed circuit board 70 toward the temperature sensing portion 73 beyond the buzzer cover 66 and further beyond the extension portion 20, and extends substantially linearly.
  • the extending portion 20 extends from the probe portion 10 b to the inside of the cap 15 by extending the hollow portion inside the probe portion 10 b toward the tip portion 11 along the axial direction (longitudinal direction) of the electronic thermometer 1.
  • the protruding end 26 of the extending portion 20 is disposed inside the cap 15.
  • the extending part 20 extends to the immediate vicinity of the temperature sensing part 73 of the thermistor 74.
  • the protrusion 26 forms the end of the extension 20 on the side away from the root portion fixed to the assembly 18.
  • the extending part 20 extends substantially parallel to the lead wire 72 extending from the printed circuit board 70 toward the temperature sensing part 73 in the probe part 10b.
  • the base part of the extension part 20 is fixed to the buzzer cover 66.
  • a notch is formed at an end portion in the extending direction of the sub case 50, and this notch extends from the buzzer cover 66 covering the buzzer 65 so that the extending portion 20 protrudes to the outside of the sub case 50. Allow.
  • the extending portion 20 is formed in a trapezoidal shape with a narrow planar shape, the width of which gradually decreases from the root portion toward the protruding end 26.
  • the extending portion 20 may be formed in a flat plate shape having a thickness of about 0.7 mm to 1.0 mm, for example. Further, it is possible to further reduce the thickness of the extending portion 20, and in this case, a rib for reinforcement may be formed on the extending portion 20. Since the extension part 20 is a resin molded product, the extension part 20 having an arbitrary shape can be easily formed by preparing a mold having an appropriate shape in advance.
  • the temperature sensitive portion 73 of the thermistor 74 is close to the inner surface of the cap 15 by appropriately adjusting the position of the extending portion 20 in the thickness direction of the assembly 18 and the thickness of the extending portion 20 itself.
  • the extending portion 20 can guide the thermistor 74 so as to be arranged as described above. If the temperature sensing part 73 is arranged near the wall instead of the central part of the internal space of the cap 15, the temperature of the measurement site when measuring the body temperature is easily transmitted to the temperature sensing part 73. Therefore, the thermal responsiveness of the electronic thermometer 1 can be improved, and the body temperature can be measured at a higher speed.
  • the extending portion 20 can be formed in any of various shapes. Therefore, if the extension part 20 is formed integrally with the buzzer cover 66, the assembly 18 is assembled halfway, and then any kind of buzzer cover 66 and extension according to the specifications of the electronic thermometer 1 to be produced.
  • the electronic thermometer 1 having the specifications can be produced by applying the integrally molded product of the outlet 20.
  • FIG. 8 is a cross-sectional view of the extending portion 20.
  • the extending portion 20 has a surface 21 that faces the lead wire 72 and a back surface 22 opposite to the surface 21.
  • the extension part 20 has a fixing material 41 provided on the surface 21 for fixing the lead wire 72 to the extension part 20.
  • the fixing material 41 may be an adhesive material having adhesiveness, which is applied or printed and attached to the surface 21 of the extending portion 20 facing the lead wire 72. Further, the fixing material 41 may be formed by applying an adhesive to the surface 21 or printing using screen printing, pad printing, or the like. In this case, the adhesive is an ultraviolet curable adhesive, and the lead wire 72 is used. After fixing the film, it may be cured and fixed by irradiation with ultraviolet rays.
  • the fixing material 41 may be formed by sticking a double-sided tape to the surface 21.
  • the fixing material 41 is provided on at least a part of the surface 21 of the extension part 20 facing the lead wire 72.
  • the lead wire 72 can be prevented from being bent or misaligned. Since the lead wire 72 is held by the fixing material 41, the lead wire 72 is not displaced relative to the extension portion 20, and the lead wire 72 is fixed to the extension portion 20.
  • the fixing material 41 positions the lead wire 72 adhered to the fixing material 41 with respect to the extending portion 20.
  • the fixing material 41 has a function as the guide portion 40 that directs the extending direction of the lead wire 72.
  • the fixing material 41 may be provided so as to extend in the longitudinal direction of the extending portion 20 and cover the surface 21 thereof.
  • the fixing material 41 may be provided so as to cover the surface 21 only at a part near the projecting end 26 of the extending portion 20.
  • the lead wire 72 can be reliably fixed by the extension part 20.
  • the fixing material 41 is provided only in the vicinity of the protrusion 26, the lead wire 72 can be fixed by the fixing material 41 existing only in the minimum necessary portion, and the necessary amount of the material for forming the fixing material 41 is reduced. Can be reduced.
  • the length of the lead wire 72 fixed to the extension part 20 becomes small, the amount of heat directly transmitted from the lead wire 72 to the extension part 20 by heat conduction can be reduced.
  • the material used as the fixing material 41 is a material having a low thermal conductivity.
  • the width direction of the extension part 20 (the short direction of the extension part 20, which will be described later with reference to FIGS.
  • the fixing material 41 may be provided on the surface 21 only in a range facing the lead wire 72 in the vertical direction in FIG. By providing the fixing material 41 only in a very narrow range of the surface 21 corresponding to just below the lead wire 72, the fixing material 41 can be formed with the minimum necessary adhesive material.
  • an adhesive material is the probe part 10b. This is desirable because it can be prevented from coming into contact with the inner wall surface and preventing the insertion of the extending portion 20.
  • the thermistor 74 can be positioned when the electronic thermometer 1 is assembled. Occurrence of direction deviation is prevented.
  • the assembly 18, the extending portion 20 extending from the assembly 18 to the distal end portion 11 side of the main body housing 10, and the thermistor 74 having the lead wire 72 attached to the extending portion 20 can be handled as an integral structure.
  • the structure can be easily inserted into the hollow portion 13 inside the main body housing 10. Therefore, when the electronic thermometer is assembled, the process of inserting the thermistor 74 and the assembly 18 into the main body housing 10 can be automated, and the electronic thermometer 1 can be manufactured at low cost.
  • the thermistor 74 By positioning the thermistor 74, the temperature sensing unit 73 and the lead wire 72 can be accurately arranged at predetermined positions. Thereby, the fall of the measurement precision of the electronic thermometer 1 by the position shift of the temperature sensing part 73 can be suppressed. And the dispersion
  • the lead wire 72 is fixed by using the extended portion 20 of the resin molded product, and it is not necessary to enlarge or change the shape of the printed circuit board as in the above-mentioned Patent Document 1, so that the electronic thermometer 1 Increase in material cost can be suppressed.
  • the thermistor 74 is a general radial lead type thermistor having a temperature sensing part 73 and a lead wire 72, and since a special-shaped temperature sensor is not required, an electronic thermometer can be manufactured at a lower cost.
  • FIG. 9 is a perspective view showing the internal structure of the electronic thermometer 1 of the second embodiment.
  • FIG. 10 is a cross-sectional view showing the internal structure of the electronic thermometer 1 of the second embodiment.
  • the electronic thermometer 1 of the second embodiment is different from the above-described first embodiment in that the subcase 50 of the assembly 18 extends to the distal end portion 11 side of the main body housing 10 to form the extending portion 20. Yes.
  • the buzzer cover 66 is formed in a shape that covers the buzzer 65 and is accommodated in the sub case 50.
  • the extending portion 20 is formed so as to extend from the outer surface at the front end portion in the longitudinal direction of the sub case 50.
  • the extending portion 20 is a resin molded product that is integrally formed with a sub case 50 made of a resin material included in the assembly 18.
  • the extending portion 20 is provided with a fixing material 41 for fixing the lead wire 72 to the extending portion 20 on the surface 21 of the extending portion 20 facing the lead wire 72.
  • the fixing material 41 functions as a guide portion 40 that directs the extending direction of the lead wire 72 of the thermistor 74.
  • the extending portion 20 extends from the hollow portion inside the probe portion 10b toward the distal end portion 11 along the axial direction (longitudinal direction) of the electronic thermometer 1, and the protruding end 26 thereof is the distal end portion 11 (see FIG. 3)).
  • the thermistor 74 can be positioned when the electronic thermometer 1 is assembled, and the bending or misalignment of the lead wire 72 can be prevented.
  • the extension part 20 is provided in the sub case 50, there is a problem that the total length of the sub case 50 becomes long and the outer shape of the member increases and becomes bulky.
  • the assembly of the buzzer cover 66 into the sub case 50 may be performed as usual. Since the buzzer cover 66 can be assembled more easily than in the first embodiment, productivity can be improved in this respect.
  • the lead wire 72 is gently inclined from the end portion of the assembly 18 toward the surface of the extension portion 20, and on the surface of the extension portion 20 at the intermediate portion in the longitudinal direction of the extension portion 20.
  • the extending portion 20 is a lead wire that extends from the assembly 18 to the internal space of the cap 15 if it is disposed on the side of the assembly 18 in the thickness direction near the surface on which the printed circuit board 70 is disposed (upper side in FIG. 10). This is desirable because the curvature of 72 can be reduced. It is not preferable that the lead wire 72 bends sharply from the end of the assembly 18 and the lead wire 72 abuts against the edge of the buzzer cover 66 or the sub case 50 and the lead wire 72 rubs. It is desirable to appropriately design the arrangement of the extension portion 20 and the position where the fixing material 41 is provided on the surface 21 of the extension portion 20 so that the degree of bending of the lead wire 72 can be reduced to such an extent that rubbing can be avoided. .
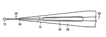
  • FIG. 11 is a plan view showing the arrangement of the extending portion 20 and the lead wire 72 according to the third embodiment.
  • FIG. 12 is a cross-sectional view of the extending portion 20 of the third embodiment along the line XII-XII shown in FIG.
  • a through hole 30 that penetrates the extending portion 20 in the thickness direction is formed in the extending portion 20 of the third embodiment.
  • the through hole 30 is formed so as to extend along the extending direction of the extending portion 20.
  • the lead wire 72 is disposed so as to exceed the through hole 30.
  • the fixing material 41 is provided on the surface 21 of the extending portion 20 located on the protruding end 26 side with respect to the through hole 30.
  • the fixing material 41 is disposed at a position facing the root portion where the extending portion 20 protrudes from the assembly 18 with the through hole 30 interposed therebetween.
  • the fixing material 41 is provided so as to cover the surface 21 over the entire extending portion 20 on the protruding end 26 side with respect to the through hole 30.
  • the fixing material 41 is provided so as to cover the surface 21 only at a part near the protruding end 26 of the extending part 20 on the side where the extending part 20 is away from the base part protruding from the assembly 18. May be.
  • FIG. 13 is a view showing a modification of the cross section of the extending portion 20 shown in FIG.
  • the contact portion becomes large the body temperature of the measurement site is transmitted and the heat applied to the temperature sensing portion 73 is conducted from the lead wire 72 to the extension portion 20, and as a result, the thermal response of the electronic thermometer 1 is slow. Become.
  • the through hole 30 is formed in a part of the extended portion 20 and the lead wire 72 is disposed so as to straddle the through hole 30, the contact between the extended portion 20 and the lead wire 72 is achieved. Is limited to a minimum range necessary for positioning the lead wire 72 on the extended portion 20 in the vicinity of the protruding end 26 of the extended portion 20. As a result, the contact area of the lead wire 72 to the surface 21 of the extending portion 20 can be reduced.
  • the through hole 30 formed in the extension part 20 functions as a contact reduction part that reduces the contact of the lead wire 72 with the surface 21 of the extension part 20.
  • thermometer 1 since the amount of heat that escapes through the extending portion 20 out of the heat applied to the thermistor 74 during body temperature measurement can be reduced, the thermal response of the electronic thermometer 1 can be improved. Therefore, it is possible to provide an electronic thermometer that can accurately measure the body temperature of the measurement site in a short time and is advantageous for high-speed measurement.
  • the through hole 30 formed as a long hole extending in the longitudinal direction of the extending portion 20 is formed so that the width of the hole decreases toward the protruding end 26. That is, as shown in FIG. 11, the planar shape of the extended portion 20 gradually decreases toward the protrusion 26 (the interval between the upper edge and the lower edge of the extended portion 20 in the vertical direction in FIG. 11).
  • the through hole 30 is also formed so as to narrow its width as the width of the extended portion 20 becomes smaller. In this way, the portion of the extension portion 20 that is punched out by forming the through hole 30 can be made smaller, so that the strength of the extension portion 20 can be prevented from being reduced, and the extension portion 20 It is preferable because strength can be secured.
  • FIG. 14 is a plan view showing the arrangement of the extending portion 20 and the lead wire 72 according to the fourth embodiment.
  • a large elongated hole-shaped through hole 30 extending in the longitudinal direction of the extending portion 20 was formed.
  • a plurality of small holes 31 to 34 are formed in the extending portion 20 of the fourth embodiment shown in FIG. 14, and the small holes 31 to 34 form the through holes 30.
  • the strength of the extension part 20 decreases as the thickness decreases.
  • the through hole 30 is formed by being divided into a plurality of small holes 31 to 34, the strength of the extending portion 20 can be made larger than that of forming one elongated hole shown in FIG.
  • the formation of the plurality of small holes 31 to 34 complicates the path of heat conducted through the extending portion 20, so that an effect of making it difficult for heat to escape via the extending portion 20 can be obtained. .
  • FIG. 15 is a plan view showing the arrangement of the extending portion 20 and the lead wire 72 according to the fifth embodiment.
  • the extension portion of the fifth embodiment is different from the embodiment shown in FIGS. 11 and 14 in that two elongated holes 35 and 36 are formed and these elongated holes 35 and 36 form the through holes 30. Is different.
  • the strength in the longitudinal direction of the extending portion 20 can be improved as compared with the case of forming one elongated hole shown in FIG.
  • the bending strength of the extending portion 20 at the portion where each of the small holes 31 to 34 is formed is reduced, but the elongated holes 35 having a certain width, If 36 is formed, such a fall of bending strength can be avoided and the extension part 20 with larger intensity
  • the lead wire 72 In the embodiments so far, the example in which the lead wire 72 is fixed to the surface 21 of the extension part 20 through the fixing material 41 provided on the surface 21 of the extension part 20 has been described. In a state where the assembly as the electronic thermometer 1 is completely completed, the lead wire 72 may be disposed in a non-contact state with respect to the extending portion 20.
  • the adhesive material of the fixing material 41 is formed of a material having a property that the adhesiveness is reduced by applying heat, and the adhesive material 41 is heated to reduce the adhesiveness after the assembly of the electronic thermometer 1 is completed.
  • the lead wire 72 can be peeled from the extending portion 20.
  • an adhesive material for example, an acrylic ultraviolet curable adhesive that is peeled off by heating at 90 to 100 ° C. may be used.
  • the extension portion 20 itself is deformed in a state where the adhesiveness of the fixing material 41 is lowered, so that the lead wire 72 can be more reliably not in contact with the extension portion 20.
  • the extension part 20 may be heated and deformed.
  • the lead wire 72 is attached to the fixing material 41 in a state where the extending portion 20 is elastically deformed, and when the adhesiveness of the fixing material 41 is reduced, the elastic force is released and the original shape is restored.
  • the extending part 20 may be deformed.
  • another member such as a leaf spring may be provided that acts on the extending portion 20 so that the extending portion 20 is elastically deformed when the adhesiveness of the fixing material 41 is lowered.
  • the thermal responsiveness of the electronic thermometer 1 can be further improved.
  • the product in which the lead wire 72 is in contact with the extending portion 20 and the product not in contact are mixed, product variation of the electronic thermometer 1 will occur, so in order to minimize the individual error of the electronic thermometer 1, It is more desirable to perform quality control so that the lead wire 72 and the extension portion 20 are not in contact with each other after the assembly of the electronic thermometer 1 is completed.
  • FIG. 16 is a perspective view showing the internal structure of the electronic thermometer 1 according to the sixth embodiment.
  • FIG. 17 is a cross-sectional view showing the internal structure of the electronic thermometer 1 of the sixth embodiment.
  • FIG. 18 is a plan view showing the arrangement of the extending portion 20 and the lead wire 72 according to the sixth embodiment.
  • the fixing material 41 that fixes the lead wire 72 to the extending portion 20 is opposed to the lead wire 72 of the extending portion 20 as the guide portion 40 that directs the extending direction of the lead wire 72.
  • the example provided on the surface 21 has been described.
  • the extending portion 20 of the sixth embodiment includes a first protrusion 42 and a second protrusion 43 that are protruding portions protruding from the surface 21 facing the lead wire 72 of the extending portion 20.
  • the first protrusion 42 and the second protrusion 43 are formed in a thin flat plate shape, and are arranged in parallel to each other so as to be along the longitudinal direction of the extending portion 20.
  • the lead wire 72 is disposed so as to be sandwiched between the first protrusion 42 and the second protrusion 43 that form a pair of protrusions.
  • the first protrusion 42 and the second protrusion 43 extend along the extending direction of the lead wire 72, and guide the lead wire 72 in the longitudinal direction of the extending portion 20 with the lead wire 72 interposed therebetween.
  • the guide portion 40 functions to direct the extending direction of the lead wire 72.
  • the first protrusion 42 and the second protrusion 43 may be formed integrally with the extending portion 20 by resin molding.
  • the extending portion 20 in the vicinity of the first protrusion 42 and the second protrusion 43 is You may form in the thin wall which has smaller thickness.
  • a thin plate-like member prepared separately from the extension portion 20 is fixed to the surface 21 of the extension portion 20 using any method typified by adhesion, welding or fitting, and the first protrusion 42 and The second protrusion 43 may be formed.
  • the dimension in the longitudinal direction of the extended portion 20 of the first protrusion 42 and the second protrusion 43 may be longer than the illustrated example, and in this case, the lead wire 72 can be more securely held. .
  • the extending direction of the lead wire 72 is oriented. Similar to the first embodiment, the thermistor 74 can be positioned when the electronic thermometer 1 is assembled, and the bending of the lead wire 72 and the occurrence of the direction deviation are prevented.
  • the lead wire 72 is sandwiched between the assembly 18, the extension portion 20 extending from the assembly 18 toward the distal end portion 11 side of the main body housing 10, and the first protrusion 42 and the second protrusion 43, so that the extension portion 20 holds the lead wire 72.
  • the thermistor 74 can be handled as an integral structure, and the structure can be easily inserted into the hollow portion 13 inside the main body housing 10. Therefore, when the electronic thermometer is assembled, the process of inserting the thermistor 74 and the assembly 18 into the main body housing 10 can be automated, and the electronic thermometer 1 can be manufactured at low cost.
  • the lead wire 72 is sandwiched between the first protrusion 42 and the second protrusion 43, but the first protrusion 42, the second protrusion 43, or the extension portion 20. It is not necessarily in contact with the surface 21. Therefore, it is considered that the contact between the lead wire 72 and the extension portion 20 can be further reduced as compared with the configuration in which the lead wire 72 is attached to the fixing material 41, and therefore the lead wire 72 to the surface 21 of the extension portion 20. The contact area can be reduced. Even if the lead wire 72 contacts the first protrusion 42, the second protrusion 43, or the extension part 20, the contact surface does not completely adhere to cause contact thermal resistance, and the extension part 20 extends from the lead wire 72. Heat is difficult to be transferred to. Therefore, since the amount of heat that escapes through the extending portion 20 out of the heat applied to the thermistor 74 during body temperature measurement can be reduced, the thermal response of the electronic thermometer 1 can be improved.
  • a part of the inner surface of the probe portion 10b of the main body housing 10 facing the surface 21 of the extending portion 20 may protrude to form a housing protrusion (not shown).
  • the housing protrusion may be disposed between the first protrusion 42 and the second protrusion 43 in a state where the assembly as the electronic thermometer 1 is completely completed.
  • the housing protrusion is installed so as to be inserted into the gap between the first protrusion 42 and the second protrusion 43 when the extension part 20 is inserted into the main body housing 10.
  • the first protrusion 42 and the second protrusion You may press the 1st protrusion 42 and the 2nd protrusion 43 so that the space
  • FIG. 19 is a plan view showing a modification of the planar shape of the extending portion 20.
  • a surface processing portion 37 such as a protrusion in which a part of the surface 21 of the extension part 20 protrudes or a recess in which a part of the surface 21 is recessed is formed by pressing or the like. May be formed.
  • the extending portion 20 is formed as a resin molded product that is integral with the buzzer cover 66 or the subcase 50 that is a component constituting the assembly 18. Therefore, by preparing an appropriate mold, it is possible to easily form the extended portion 20 in which the through hole 30 or the surface processed portion 37 having an arbitrary shape is formed without increasing the cost.
  • the surface processed portion 37 is not limited to the shape shown in FIG. 19.
  • the surface processed portion 37 is subjected to rough texture on a part or all of the surface 21 of the extended portion 20 facing the lead wire 72.
  • the processing part 37 may be formed.
  • FIG. 20 is a flowchart illustrating an example of a method for manufacturing the electronic thermometer 1.
  • FIG. 21 is a schematic diagram showing the state of the step (S30) of the manufacturing method shown in FIG.
  • FIG. 22 is a schematic diagram showing the state of the step (S40) of the manufacturing method shown in FIG.
  • FIG. 23 is a schematic diagram showing the state of the step (S50) of the manufacturing method shown in FIG.
  • An example of a method for manufacturing the electronic thermometer 1 will be described with reference to FIGS.
  • the assembly including the display unit assembly 61, the operation unit assembly 62, the button battery stored in the battery storage unit 55, the printed circuit board 70, and the like, and all of these components are assembled. 18 is prepared.
  • the assembly 18 has an extension 20 attached to the end of which any of the components of the assembly 18, such as the buzzer cover 66 or the subcase 50, extends from the end of the assembly 18.
  • the extending part 20 has a guide part 40 provided on its surface 21 so as to hold the lead wire 72 of the thermistor 74 in a later step.
  • the guide part 40 may include a fixing material 41 that fixes the lead wire 72 to the surface 21 of the extension part 20.
  • the guide portion 40 may include a first protrusion 42 and a second protrusion 43 that protrude from the surface 21.
  • the fixing material 41 may not be provided on the surface 21 of the extension part 20 at this time, and the fixing material 41 may be provided on the surface 21 in a later process.
  • a thermistor 74 as a temperature sensor including a temperature sensing part 73 for measuring the body temperature of the measurement subject and a lead wire 72 having one end 75 fixed to the temperature sensing part 73 is prepared.
  • the thermistor 74 is disposed so that the lead wire 72 faces the guide portion 40.
  • the other end 76 of the lead wire 72 is fixed to the printed circuit board 70.
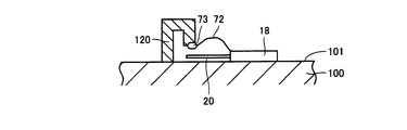
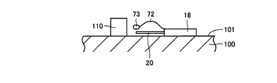
  • step (S30) the assembly 18 is installed on the surface 101 of the assembly table 100.
  • the metal debris on the surface 101 of the assembly table 100 is cleaned.
  • the assembly 18 is fixed to the surface 101 of the assembly table 100, but the temperature sensing part 73 and the lead wire 72 constituting the thermistor 74 are not fixed to the assembly table 100.
  • An electromagnet 110 is also provided on the surface 101 of the assembly table 100. The position and installation direction of the assembly 18 are adjusted so that the lead wire 72 protruding from the tip thereof faces the electromagnet 110 side, and is fixed to the surface 101 of the assembly table 100.
  • step (S40) the lead wire 72 is oriented in an appropriate direction to reduce the curvature of the lead wire 72, and the shape of the lead wire 72 is corrected so that the lead wire 72 can be brought closer straight.
  • the temperature sensing part 73 and the lead wire 72 included in the thermistor 74 are both made of a ferromagnetic material and can be magnetically attached to the magnet. Therefore, in a state where the assembly 18 shown in FIG. 21 is installed on the surface 101 of the assembly table 100, the electromagnet 110 is turned on to generate a magnetic force, so that the temperature sensing unit 73 is on the electromagnet 110 side as shown in FIG. Pulled on.
  • the lead wire 72 having a bent portion in FIG. 21 is extended by receiving a tensile force by moving to the electromagnet 110 side together with the temperature sensing portion 73.
  • the bending of the lead wire 72 is reduced, and the lead wire 72 is deformed into a more straight shape.
  • another electromagnet different from the electromagnet 110 may be embedded in the assembly table 100.
  • the other electromagnets are arranged in the assembly table 100 corresponding to the lower part of the lead wire 72 within a range longer than the total length of the lead wire 72 in a state where the lead wire 72 shown in FIG. May be. Then, in the state where the lead wire 72 shown in FIG. 22 is straightened, the other electromagnet is turned on to generate a magnetic force, so that the lead wire 72 can be reliably kept straightly stretched.
  • the lead wire 72 shown in FIG. 22 is straightened, and the lead wire 72 is installed on the surface 21 by moving in the direction close to the surface 21 of the extending portion 20.
  • the lead wire 72 is held by the guide unit 40.
  • the guide part 40 includes the fixing material 41, the lead wire 72 is fixed to the surface 21 of the extension part 20 through the fixing material 41.
  • the fixing material 41 is moved before the lead wire 72 is moved to the surface 21 side in this step (S50). Can be provided on the surface 21.
  • an ultraviolet curable adhesive is used as the fixing material 41, the adhesive is cured by irradiating ultraviolet rays in a state where the lead wire 72 is brought close to the extending portion 20 and in contact with the surface 21, The lead wire 72 can be fixed to the surface.
  • the guide portion 40 includes the first protrusion 42 and the second protrusion 43
  • the lead wire 72 is disposed so as to be sandwiched between the first protrusion 42 and the second protrusion 43. Thereby, the lead wire 72 is held by the guide portion 40, and the lead wire 72 is fixed on the surface 21 of the extending portion 20.
  • step (S60) the electromagnet 110 is turned off. Even if the electromagnet 110 is turned off, the lead wire 72 is held by the guide portion 40 in the previous step, so that the lead wire 72 extending straight is kept positioned with respect to the extension portion 20.
  • step (S70) the hollow body housing 10 is prepared, and the assembly 18 is connected to the body housing 10 from the end side to which the extension portion 20 is attached in a state where the lead wire 72 is held by the guide portion 40. Insert inside. Since the lead wire 72 is held by the guide portion 40 on the surface 21 of the extension portion 20, the lead wire 72 is not bent or misaligned, and the thermistor 74 extends from the end portion long. Can be easily moved into the main body housing 10.
  • step (S80) the cap 15 is bonded to the distal end portion 11 of the main body housing 10.
  • the temperature sensing portion 73 of the thermistor 74 is fixed in the cap 15 on the distal end portion 11 side, and the lead wire 72 is housed in the probe portion 10 b inside the main body housing 10.
  • the front end portion 11 side of the main body housing 10 is heated for a predetermined time.
  • the adhesive supplied between the cap 15 and the tip end portion 11 of the main body housing 10 in the previous step is solidified, so that the cap 15 is securely bonded to the main body housing 10.
  • the fixing material 41 is formed using an adhesive material whose adhesiveness decreases when heat is applied, the adhesive material decreases in adhesiveness due to this heating, and as a result, the lead wire 72 is fixed to the fixing material.
  • the lead wire 72 is separated from the extended portion 20.
  • the extension part 20 itself may be deformed by the action of heating or elastic force. In this case, a non-contact state in which the lead wire 72 is not in contact with the extension part 20 can be reliably obtained. In this way, heat conduction from the lead wire 72 to the extending portion 20 is no longer performed directly, so that the thermal response of the electronic thermometer 1 is improved and high-speed measurement is possible, and a measurement accuracy error for each individual electronic thermometer 1 is possible. Is desirable because it can be reduced.
  • the electronic thermometer 1 in which the guide portion 40 for directing the extending direction of the lead wire 72 is provided on the surface 21 of the extending portion 20 facing the lead wire 72 can be easily obtained. Can be manufactured.
  • the lead wire 72 of the thermistor 74 can be prevented from being bent or misaligned, so that the electronic thermometer 1 can be manufactured at low cost and the measurement accuracy of the electronic thermometer 1 can be reduced. It can suppress and can suppress the dispersion
  • the fixing material 41 (and the extending portion 20) may be heated by supplying warm air from the distal end portion 11 of the main body housing 10 before bonding the cap 15 to the main body housing 10.
  • FIG. 24 is a flowchart showing another example of the method for manufacturing the electronic thermometer 1.
  • FIG. 25 is a schematic diagram showing the state of the step (S30) of the manufacturing method shown in FIG.
  • FIG. 26 is a schematic diagram showing the state of the step (S140) of the manufacturing method shown in FIG.
  • FIG. 27 is a schematic diagram showing the state of the step (S50) of the manufacturing method shown in FIG.
  • FIGS. 24 to 27 another example of the method for manufacturing the electronic thermometer 1 will be described.
  • step (S30) the assembly 18 is installed on the surface 101 of the assembly table 100.
  • the temperature sensing part 73 of the thermistor 74 attached to the end of the assembly 18 is fixed to the holding part 120 provided on the surface 101 of the assembly table 100.
  • the lead wire 72 and the assembly 18 are not fixed to the assembly table 100.
  • step (S140) the lead wire 72 is oriented in an appropriate direction to reduce the curvature of the lead wire 72, and the shape of the lead wire 72 is corrected so that the lead wire 72 can be brought closer straight.
  • the assembly table 100 is inclined as shown in FIG. 26, whereby the assembly 18 is suspended from the assembly table 100, and the assembly 18 is moved vertically by the action of gravity. Move down.
  • the assembly table 100 is inclined such that the lead wire 72 and the assembly 18 are disposed below the holding unit 120 that holds the temperature sensing unit 73.
  • the lead wire 72 having a bent portion in FIG. 25 is stretched by receiving a tensile force as the assembly 18 moves downward.
  • the bending of the lead wire 72 is reduced, and the lead wire 72 is deformed into a more straight shape.
  • the angle at which the assembly table 100 is inclined may be arbitrary.
  • the assembly table 100 may be moved until the surface 101 of the assembly table 100 reaches the vertical direction so that the assembly 18 is positioned below the temperature sensing unit 73.
  • the assembly table 100 is appropriately It is desirable to incline at an appropriate angle.
  • the lead wire 72 is held by the guide portion 40 installed on the surface 21 of the extending portion 20 in the same manner as described with reference to FIG. Thereby, the lead wire 72 is held by the guide portion 40, and the lead wire 72 is fixed on the surface 21 of the extending portion 20.
  • the suspended state of the assembly 18 is released. Specifically, the assembly table 100 is moved to the original position so that the surface 101 is substantially horizontal. Even when the suspended state of the assembly 18 is released, since the lead wire 72 is held by the guide portion 40 in the previous process, the lead wire 72 that extends straight is kept positioned with respect to the extending portion 20. .
  • the subsequent steps (S70) to (S90) are the same as the steps (S70) to (S90) shown in FIG.
  • the electronic thermometer 1 in which the guide portion 40 for directing the extending direction of the lead wire 72 is provided on the surface 21 of the extending portion 20 facing the lead wire 72 is also obtained. It can be manufactured easily. When the thermistor 74 and the assembly 18 are inserted into the main body housing 10, the lead wire 72 of the thermistor 74 can be prevented from being bent or misaligned, so that the electronic thermometer 1 can be manufactured at low cost and the measurement accuracy of the electronic thermometer 1 can be reduced. It can suppress and can suppress the dispersion
  • thermometer 10 main body housing, 10a main body part, 10b probe part, 11 front-end

Landscapes

  • Physics & Mathematics (AREA)
  • General Physics & Mathematics (AREA)
  • Measuring Temperature Or Quantity Of Heat (AREA)
PCT/JP2011/065979 2010-09-17 2011-07-13 電子体温計およびその製造方法 Ceased WO2012035867A1 (ja)

Priority Applications (3)

Application Number Priority Date Filing Date Title
DE112011103108T DE112011103108T5 (de) 2010-09-17 2011-07-13 Elektronisches Thermometer und Verfahren zu seiner Herstellung
CN201180044884.5A CN103140744B (zh) 2010-09-17 2011-07-13 电子体温计及其制造方法
US13/791,003 US9316544B2 (en) 2010-09-17 2013-03-08 Electronic thermometer and method for manufacturing the same

Applications Claiming Priority (2)

Application Number Priority Date Filing Date Title
JP2010209226A JP5381943B2 (ja) 2010-09-17 2010-09-17 電子体温計およびその製造方法
JP2010-209226 2010-09-17

Related Child Applications (1)

Application Number Title Priority Date Filing Date
US13/791,003 Continuation US9316544B2 (en) 2010-09-17 2013-03-08 Electronic thermometer and method for manufacturing the same

Publications (1)

Publication Number Publication Date
WO2012035867A1 true WO2012035867A1 (ja) 2012-03-22

Family

ID=45831342

Family Applications (1)

Application Number Title Priority Date Filing Date
PCT/JP2011/065979 Ceased WO2012035867A1 (ja) 2010-09-17 2011-07-13 電子体温計およびその製造方法

Country Status (6)

Country Link
US (1) US9316544B2 (enExample)
JP (1) JP5381943B2 (enExample)
CN (1) CN103140744B (enExample)
DE (1) DE112011103108T5 (enExample)
TW (1) TWI484145B (enExample)
WO (1) WO2012035867A1 (enExample)

Cited By (1)

* Cited by examiner, † Cited by third party
Publication number Priority date Publication date Assignee Title
CN103284698A (zh) * 2013-05-13 2013-09-11 曾建新 微型快速体温感应装置

Families Citing this family (8)

* Cited by examiner, † Cited by third party
Publication number Priority date Publication date Assignee Title
JP5381942B2 (ja) * 2010-09-17 2014-01-08 オムロンヘルスケア株式会社 電子体温計およびその製造方法
JP6759615B2 (ja) * 2016-02-12 2020-09-23 株式会社ジェイテクト 回路基板組立体、インサート成形品及びインサート成形品の製造方法
USD852069S1 (en) * 2019-03-12 2019-06-25 Shenzhen Yingli Wannian Technology Co., Ltd. Thermometer
USD926056S1 (en) 2019-06-28 2021-07-27 Weber-Stephen Products Llc Temperature probe hub
US11300457B2 (en) * 2019-06-28 2022-04-12 Weber-Stephen Products Llc Temperature probe hubs
JP7341456B2 (ja) * 2019-07-22 2023-09-11 株式会社エム・システム技研 温度計測装置、及び、体温計
USD1060062S1 (en) * 2023-04-18 2025-02-04 Andon Health Co., Ltd. Thermometer
DE102023124584A1 (de) * 2023-09-12 2025-03-13 Tdk Electronics Ag Sensoranordnung und Verfahren zur Herstellung einer Sensoranordnung

Citations (6)

* Cited by examiner, † Cited by third party
Publication number Priority date Publication date Assignee Title
JPH0228417Y2 (enExample) * 1983-10-17 1990-07-31
JPH02210233A (ja) * 1989-09-29 1990-08-21 Terumo Corp 電子体温計およびその製造方法
JPH0367903U (enExample) * 1989-11-02 1991-07-03
JPH0625976Y2 (ja) * 1987-04-21 1994-07-06 テルモ株式会社 電子回路用基板接続体
JPH0989680A (ja) * 1995-09-20 1997-04-04 Terumo Corp 電子体温計用プリント基板、それを用いた電子体温計、及びその製造方法
JP2010032324A (ja) * 2008-07-28 2010-02-12 Omron Healthcare Co Ltd 電子体温計

Family Cites Families (24)

* Cited by examiner, † Cited by third party
Publication number Priority date Publication date Assignee Title
US1411396A (en) * 1921-03-10 1922-04-04 Wilson Maeulen Company Inc Electrical-resistance thermometer
NL6716811A (enExample) * 1966-12-23 1968-06-24
US4010351A (en) * 1976-03-03 1977-03-01 Rama Corporation Cartridge heater with improved thermocouple
JPS6177731A (ja) * 1984-09-25 1986-04-21 Omron Tateisi Electronics Co 電子温度計
JPS6184530A (ja) * 1984-10-02 1986-04-30 Citizen Watch Co Ltd 電子体温計
JPS61144529A (ja) * 1984-12-18 1986-07-02 Omron Tateisi Electronics Co 電子温度計
JPS61241631A (ja) * 1985-04-18 1986-10-27 Matsushita Electric Works Ltd 電子体温計
JPS62245122A (ja) * 1986-04-17 1987-10-26 Omron Tateisi Electronics Co 温度センサ
JPH01229922A (ja) * 1989-01-13 1989-09-13 Kyushu Hitachi Maxell Ltd 電子体温計
US5133606A (en) * 1989-07-28 1992-07-28 Becton, Dickinson And Company Electronic clinical thermometer
JPH03118432A (ja) * 1989-09-29 1991-05-21 Terumo Corp 電子体温計及びその製法
CN2244718Y (zh) * 1995-08-08 1997-01-08 北京极星电子有限公司 具有视听功能的电子体温计
DE19640058C2 (de) * 1996-09-30 1999-06-10 Heraeus Sensor Nite Gmbh Leiterplatte mit Zugentlastung für Anschluß-Kabel, Verfahren zu deren Herstellung und Verbindung sowie deren Verwendung
JP3067903U (ja) * 1999-10-04 2000-04-21 捷威科技股▲分▼有限公司 電子体温計
CN2441129Y (zh) * 2000-08-11 2001-08-01 捷威科技股份有限公司 电子体温计
US6957911B2 (en) * 2003-06-24 2005-10-25 Cosco Management, Inc. Infant thermometer
JP4627261B2 (ja) * 2003-09-30 2011-02-09 シチズンホールディングス株式会社 電子体温計
CN1880929A (zh) * 2005-06-15 2006-12-20 上海雷硕医疗器械有限公司 一种提高测温效率的电子体温计
CN1880931A (zh) * 2005-06-15 2006-12-20 上海雷硕医疗器械有限公司 一种适用于低温环境的电子体温表
TWM280475U (en) * 2005-07-01 2005-11-11 Li-Ching Chen Improved structure for clinical thermometer
US7293915B2 (en) * 2005-07-26 2007-11-13 Actherm, Inc. Assembly method and structure of an electronic clinical thermometer
US8556503B2 (en) * 2008-05-02 2013-10-15 K-Jump Health Co., Ltd. Electronic clinical thermometer
JP5513283B2 (ja) * 2010-06-30 2014-06-04 テルモ株式会社 電子体温計用の装着ユニット及びその制御方法
JP5523982B2 (ja) * 2010-08-16 2014-06-18 株式会社芝浦電子 温度センサ

Patent Citations (6)

* Cited by examiner, † Cited by third party
Publication number Priority date Publication date Assignee Title
JPH0228417Y2 (enExample) * 1983-10-17 1990-07-31
JPH0625976Y2 (ja) * 1987-04-21 1994-07-06 テルモ株式会社 電子回路用基板接続体
JPH02210233A (ja) * 1989-09-29 1990-08-21 Terumo Corp 電子体温計およびその製造方法
JPH0367903U (enExample) * 1989-11-02 1991-07-03
JPH0989680A (ja) * 1995-09-20 1997-04-04 Terumo Corp 電子体温計用プリント基板、それを用いた電子体温計、及びその製造方法
JP2010032324A (ja) * 2008-07-28 2010-02-12 Omron Healthcare Co Ltd 電子体温計

Cited By (1)

* Cited by examiner, † Cited by third party
Publication number Priority date Publication date Assignee Title
CN103284698A (zh) * 2013-05-13 2013-09-11 曾建新 微型快速体温感应装置

Also Published As

Publication number Publication date
TWI484145B (zh) 2015-05-11
CN103140744B (zh) 2015-07-22
DE112011103108T5 (de) 2013-06-27
US20130188666A1 (en) 2013-07-25
JP2012063301A (ja) 2012-03-29
US9316544B2 (en) 2016-04-19
TW201226870A (en) 2012-07-01
JP5381943B2 (ja) 2014-01-08
CN103140744A (zh) 2013-06-05

Similar Documents

Publication Publication Date Title
JP5381943B2 (ja) 電子体温計およびその製造方法
JP6110408B2 (ja) 温度センサ
US8887671B2 (en) Water heating systems and methods
US20070245980A1 (en) Water heating systems and methods
WO2003087747A1 (en) Semiconductor force sensor
US20070246557A1 (en) Water heating systems and methods
EP3287725B1 (en) Refrigerator having touch sensor assembly
JP5381942B2 (ja) 電子体温計およびその製造方法
JP2012063301A5 (enExample)
KR20070048123A (ko) 센서 위치를 갖는 전자 온도계
EP1857798A1 (en) Electronic thermometer
JP2009300310A (ja) 電子体温計
CN205215195U (zh) 体温计及其装配零件
JP6743712B2 (ja) 赤外線センサ実装部材
JP2011047811A (ja) 電子体温計の製造方法および電子体温計
JP2006199284A (ja) センサ配置
WO2012105110A1 (ja) 電子体温計
JP3206011U (ja) 電源スイッチを有さない体温計
JP3434010B2 (ja) 温度センサ
CN221829077U (zh) 一种骨传导耳机头及骨传导耳机
JP5696493B2 (ja) 電子体温計
JP5233818B2 (ja) パネル計器
JP2022502296A (ja) フロントガラス用感知デバイス
WO2011077621A1 (ja) 電子体温計
WO2012165090A1 (ja) 電子体温計

Legal Events

Date Code Title Description
WWE Wipo information: entry into national phase

Ref document number: 201180044884.5

Country of ref document: CN

121 Ep: the epo has been informed by wipo that ep was designated in this application

Ref document number: 11824876

Country of ref document: EP

Kind code of ref document: A1

WWE Wipo information: entry into national phase

Ref document number: 1120111031084

Country of ref document: DE

Ref document number: 112011103108

Country of ref document: DE

122 Ep: pct application non-entry in european phase

Ref document number: 11824876

Country of ref document: EP

Kind code of ref document: A1