WO2011129345A1 - 日射遮蔽装置の操作装置、ロールアップブラインドの昇降装置、操作プーリー - Google Patents
日射遮蔽装置の操作装置、ロールアップブラインドの昇降装置、操作プーリー Download PDFInfo
- Publication number
- WO2011129345A1 WO2011129345A1 PCT/JP2011/059113 JP2011059113W WO2011129345A1 WO 2011129345 A1 WO2011129345 A1 WO 2011129345A1 JP 2011059113 W JP2011059113 W JP 2011059113W WO 2011129345 A1 WO2011129345 A1 WO 2011129345A1
- Authority
- WO
- WIPO (PCT)
- Prior art keywords
- pulley
- cord
- shaft
- head box
- lifting
- Prior art date
- Legal status (The legal status is an assumption and is not a legal conclusion. Google has not performed a legal analysis and makes no representation as to the accuracy of the status listed.)
- Ceased
Links
Images
Classifications
-
- E—FIXED CONSTRUCTIONS
- E06—DOORS, WINDOWS, SHUTTERS, OR ROLLER BLINDS IN GENERAL; LADDERS
- E06B—FIXED OR MOVABLE CLOSURES FOR OPENINGS IN BUILDINGS, VEHICLES, FENCES OR LIKE ENCLOSURES IN GENERAL, e.g. DOORS, WINDOWS, BLINDS, GATES
- E06B9/00—Screening or protective devices for wall or similar openings, with or without operating or securing mechanisms; Closures of similar construction
- E06B9/56—Operating, guiding or securing devices or arrangements for roll-type closures; Spring drums; Tape drums; Counterweighting arrangements therefor
-
- E—FIXED CONSTRUCTIONS
- E06—DOORS, WINDOWS, SHUTTERS, OR ROLLER BLINDS IN GENERAL; LADDERS
- E06B—FIXED OR MOVABLE CLOSURES FOR OPENINGS IN BUILDINGS, VEHICLES, FENCES OR LIKE ENCLOSURES IN GENERAL, e.g. DOORS, WINDOWS, BLINDS, GATES
- E06B9/00—Screening or protective devices for wall or similar openings, with or without operating or securing mechanisms; Closures of similar construction
- E06B9/24—Screens or other constructions affording protection against light, especially against sunshine; Similar screens for privacy or appearance; Slat blinds
- E06B9/26—Lamellar or like blinds, e.g. venetian blinds
- E06B9/262—Lamellar or like blinds, e.g. venetian blinds with flexibly-interconnected horizontal or vertical strips; Concertina blinds, i.e. upwardly folding flexible screens
-
- E—FIXED CONSTRUCTIONS
- E06—DOORS, WINDOWS, SHUTTERS, OR ROLLER BLINDS IN GENERAL; LADDERS
- E06B—FIXED OR MOVABLE CLOSURES FOR OPENINGS IN BUILDINGS, VEHICLES, FENCES OR LIKE ENCLOSURES IN GENERAL, e.g. DOORS, WINDOWS, BLINDS, GATES
- E06B9/00—Screening or protective devices for wall or similar openings, with or without operating or securing mechanisms; Closures of similar construction
- E06B9/24—Screens or other constructions affording protection against light, especially against sunshine; Similar screens for privacy or appearance; Slat blinds
- E06B9/26—Lamellar or like blinds, e.g. venetian blinds
- E06B9/264—Combinations of lamellar blinds with roller shutters, screen windows, windows, or double panes; Lamellar blinds with special devices
-
- E—FIXED CONSTRUCTIONS
- E06—DOORS, WINDOWS, SHUTTERS, OR ROLLER BLINDS IN GENERAL; LADDERS
- E06B—FIXED OR MOVABLE CLOSURES FOR OPENINGS IN BUILDINGS, VEHICLES, FENCES OR LIKE ENCLOSURES IN GENERAL, e.g. DOORS, WINDOWS, BLINDS, GATES
- E06B9/00—Screening or protective devices for wall or similar openings, with or without operating or securing mechanisms; Closures of similar construction
- E06B9/24—Screens or other constructions affording protection against light, especially against sunshine; Similar screens for privacy or appearance; Slat blinds
- E06B9/26—Lamellar or like blinds, e.g. venetian blinds
- E06B9/28—Lamellar or like blinds, e.g. venetian blinds with horizontal lamellae, e.g. non-liftable
- E06B9/30—Lamellar or like blinds, e.g. venetian blinds with horizontal lamellae, e.g. non-liftable liftable
- E06B9/303—Lamellar or like blinds, e.g. venetian blinds with horizontal lamellae, e.g. non-liftable liftable with ladder-tape
-
- E—FIXED CONSTRUCTIONS
- E06—DOORS, WINDOWS, SHUTTERS, OR ROLLER BLINDS IN GENERAL; LADDERS
- E06B—FIXED OR MOVABLE CLOSURES FOR OPENINGS IN BUILDINGS, VEHICLES, FENCES OR LIKE ENCLOSURES IN GENERAL, e.g. DOORS, WINDOWS, BLINDS, GATES
- E06B9/00—Screening or protective devices for wall or similar openings, with or without operating or securing mechanisms; Closures of similar construction
- E06B9/24—Screens or other constructions affording protection against light, especially against sunshine; Similar screens for privacy or appearance; Slat blinds
- E06B9/26—Lamellar or like blinds, e.g. venetian blinds
- E06B9/28—Lamellar or like blinds, e.g. venetian blinds with horizontal lamellae, e.g. non-liftable
- E06B9/30—Lamellar or like blinds, e.g. venetian blinds with horizontal lamellae, e.g. non-liftable liftable
- E06B9/303—Lamellar or like blinds, e.g. venetian blinds with horizontal lamellae, e.g. non-liftable liftable with ladder-tape
- E06B9/304—Lamellar or like blinds, e.g. venetian blinds with horizontal lamellae, e.g. non-liftable liftable with ladder-tape with tilting bar and separate raising shaft
-
- E—FIXED CONSTRUCTIONS
- E06—DOORS, WINDOWS, SHUTTERS, OR ROLLER BLINDS IN GENERAL; LADDERS
- E06B—FIXED OR MOVABLE CLOSURES FOR OPENINGS IN BUILDINGS, VEHICLES, FENCES OR LIKE ENCLOSURES IN GENERAL, e.g. DOORS, WINDOWS, BLINDS, GATES
- E06B9/00—Screening or protective devices for wall or similar openings, with or without operating or securing mechanisms; Closures of similar construction
- E06B9/24—Screens or other constructions affording protection against light, especially against sunshine; Similar screens for privacy or appearance; Slat blinds
- E06B9/26—Lamellar or like blinds, e.g. venetian blinds
- E06B9/28—Lamellar or like blinds, e.g. venetian blinds with horizontal lamellae, e.g. non-liftable
- E06B9/30—Lamellar or like blinds, e.g. venetian blinds with horizontal lamellae, e.g. non-liftable liftable
- E06B9/32—Operating, guiding, or securing devices therefor
- E06B9/322—Details of operating devices, e.g. pulleys, brakes, spring drums, drives
-
- E—FIXED CONSTRUCTIONS
- E06—DOORS, WINDOWS, SHUTTERS, OR ROLLER BLINDS IN GENERAL; LADDERS
- E06B—FIXED OR MOVABLE CLOSURES FOR OPENINGS IN BUILDINGS, VEHICLES, FENCES OR LIKE ENCLOSURES IN GENERAL, e.g. DOORS, WINDOWS, BLINDS, GATES
- E06B9/00—Screening or protective devices for wall or similar openings, with or without operating or securing mechanisms; Closures of similar construction
- E06B9/24—Screens or other constructions affording protection against light, especially against sunshine; Similar screens for privacy or appearance; Slat blinds
- E06B9/26—Lamellar or like blinds, e.g. venetian blinds
- E06B9/28—Lamellar or like blinds, e.g. venetian blinds with horizontal lamellae, e.g. non-liftable
- E06B9/30—Lamellar or like blinds, e.g. venetian blinds with horizontal lamellae, e.g. non-liftable liftable
- E06B9/32—Operating, guiding, or securing devices therefor
- E06B9/326—Details of cords, e.g. buckles, drawing knobs
-
- E—FIXED CONSTRUCTIONS
- E06—DOORS, WINDOWS, SHUTTERS, OR ROLLER BLINDS IN GENERAL; LADDERS
- E06B—FIXED OR MOVABLE CLOSURES FOR OPENINGS IN BUILDINGS, VEHICLES, FENCES OR LIKE ENCLOSURES IN GENERAL, e.g. DOORS, WINDOWS, BLINDS, GATES
- E06B9/00—Screening or protective devices for wall or similar openings, with or without operating or securing mechanisms; Closures of similar construction
- E06B9/24—Screens or other constructions affording protection against light, especially against sunshine; Similar screens for privacy or appearance; Slat blinds
- E06B9/40—Roller blinds
- E06B9/42—Parts or details of roller blinds, e.g. suspension devices, blind boxes
-
- E—FIXED CONSTRUCTIONS
- E06—DOORS, WINDOWS, SHUTTERS, OR ROLLER BLINDS IN GENERAL; LADDERS
- E06B—FIXED OR MOVABLE CLOSURES FOR OPENINGS IN BUILDINGS, VEHICLES, FENCES OR LIKE ENCLOSURES IN GENERAL, e.g. DOORS, WINDOWS, BLINDS, GATES
- E06B9/00—Screening or protective devices for wall or similar openings, with or without operating or securing mechanisms; Closures of similar construction
- E06B9/56—Operating, guiding or securing devices or arrangements for roll-type closures; Spring drums; Tape drums; Counterweighting arrangements therefor
- E06B9/58—Guiding devices
-
- E—FIXED CONSTRUCTIONS
- E06—DOORS, WINDOWS, SHUTTERS, OR ROLLER BLINDS IN GENERAL; LADDERS
- E06B—FIXED OR MOVABLE CLOSURES FOR OPENINGS IN BUILDINGS, VEHICLES, FENCES OR LIKE ENCLOSURES IN GENERAL, e.g. DOORS, WINDOWS, BLINDS, GATES
- E06B9/00—Screening or protective devices for wall or similar openings, with or without operating or securing mechanisms; Closures of similar construction
- E06B9/56—Operating, guiding or securing devices or arrangements for roll-type closures; Spring drums; Tape drums; Counterweighting arrangements therefor
- E06B9/64—Operating, guiding or securing devices or arrangements for roll-type closures; Spring drums; Tape drums; Counterweighting arrangements therefor with lowerable roller
-
- E—FIXED CONSTRUCTIONS
- E06—DOORS, WINDOWS, SHUTTERS, OR ROLLER BLINDS IN GENERAL; LADDERS
- E06B—FIXED OR MOVABLE CLOSURES FOR OPENINGS IN BUILDINGS, VEHICLES, FENCES OR LIKE ENCLOSURES IN GENERAL, e.g. DOORS, WINDOWS, BLINDS, GATES
- E06B9/00—Screening or protective devices for wall or similar openings, with or without operating or securing mechanisms; Closures of similar construction
- E06B9/56—Operating, guiding or securing devices or arrangements for roll-type closures; Spring drums; Tape drums; Counterweighting arrangements therefor
- E06B9/66—Operating, guiding or securing devices or arrangements for roll-type closures; Spring drums; Tape drums; Counterweighting arrangements therefor with a roller situated at the bottom
-
- E—FIXED CONSTRUCTIONS
- E06—DOORS, WINDOWS, SHUTTERS, OR ROLLER BLINDS IN GENERAL; LADDERS
- E06B—FIXED OR MOVABLE CLOSURES FOR OPENINGS IN BUILDINGS, VEHICLES, FENCES OR LIKE ENCLOSURES IN GENERAL, e.g. DOORS, WINDOWS, BLINDS, GATES
- E06B9/00—Screening or protective devices for wall or similar openings, with or without operating or securing mechanisms; Closures of similar construction
- E06B9/24—Screens or other constructions affording protection against light, especially against sunshine; Similar screens for privacy or appearance; Slat blinds
- E06B2009/2423—Combinations of at least two screens
- E06B2009/2441—Screens joined one below the other
-
- E—FIXED CONSTRUCTIONS
- E06—DOORS, WINDOWS, SHUTTERS, OR ROLLER BLINDS IN GENERAL; LADDERS
- E06B—FIXED OR MOVABLE CLOSURES FOR OPENINGS IN BUILDINGS, VEHICLES, FENCES OR LIKE ENCLOSURES IN GENERAL, e.g. DOORS, WINDOWS, BLINDS, GATES
- E06B9/00—Screening or protective devices for wall or similar openings, with or without operating or securing mechanisms; Closures of similar construction
- E06B9/24—Screens or other constructions affording protection against light, especially against sunshine; Similar screens for privacy or appearance; Slat blinds
- E06B2009/2423—Combinations of at least two screens
- E06B2009/2447—Parallel screens
-
- E—FIXED CONSTRUCTIONS
- E06—DOORS, WINDOWS, SHUTTERS, OR ROLLER BLINDS IN GENERAL; LADDERS
- E06B—FIXED OR MOVABLE CLOSURES FOR OPENINGS IN BUILDINGS, VEHICLES, FENCES OR LIKE ENCLOSURES IN GENERAL, e.g. DOORS, WINDOWS, BLINDS, GATES
- E06B9/00—Screening or protective devices for wall or similar openings, with or without operating or securing mechanisms; Closures of similar construction
- E06B9/24—Screens or other constructions affording protection against light, especially against sunshine; Similar screens for privacy or appearance; Slat blinds
- E06B9/26—Lamellar or like blinds, e.g. venetian blinds
- E06B9/262—Lamellar or like blinds, e.g. venetian blinds with flexibly-interconnected horizontal or vertical strips; Concertina blinds, i.e. upwardly folding flexible screens
- E06B2009/2625—Pleated screens, e.g. concertina- or accordion-like
-
- E—FIXED CONSTRUCTIONS
- E06—DOORS, WINDOWS, SHUTTERS, OR ROLLER BLINDS IN GENERAL; LADDERS
- E06B—FIXED OR MOVABLE CLOSURES FOR OPENINGS IN BUILDINGS, VEHICLES, FENCES OR LIKE ENCLOSURES IN GENERAL, e.g. DOORS, WINDOWS, BLINDS, GATES
- E06B9/00—Screening or protective devices for wall or similar openings, with or without operating or securing mechanisms; Closures of similar construction
- E06B9/24—Screens or other constructions affording protection against light, especially against sunshine; Similar screens for privacy or appearance; Slat blinds
- E06B9/26—Lamellar or like blinds, e.g. venetian blinds
- E06B9/28—Lamellar or like blinds, e.g. venetian blinds with horizontal lamellae, e.g. non-liftable
- E06B9/30—Lamellar or like blinds, e.g. venetian blinds with horizontal lamellae, e.g. non-liftable liftable
- E06B9/32—Operating, guiding, or securing devices therefor
- E06B9/326—Details of cords, e.g. buckles, drawing knobs
- E06B2009/3265—Emergency release to prevent strangulation or excessive load
Definitions
- the present invention relates to an operating device and an elevating device having a fail-safe function, and more specifically, (1) solar radiation that operates an endless operation cord mounted on a pulley to raise or lower a solar shading material. Shielding device operating device, (2) Solar radiation shielding device operating device that supports the head box between the opposing wall surfaces, (3) The screen is wound by winding or unwinding the lower edge of the screen around the weight bar with a lifting cord.
- the present invention relates to a lifting device for a roll-up blind that can be moved up and down.
- Operation device with fail-safe function As one type of operation device for horizontal blinds, an endless operation cord is hung on a pulley that is rotatably supported by a head box. There are those that perform the lifting operation and angle adjustment operation.
- a pulley is rotatably supported on the front side of the head box, and the pulley is covered with a pulley case.
- the pulley is rotated, and the drive shaft is rotated via the gear box in the head box based on the rotation of the pulley.
- the bottom rail is pulled up or lowered via the lifting cord, and the slat is lifted and lowered. Further, the slat is rotated via the ladder cord.
- Patent Document 1 has a fail-safe function that prevents the behavior of residents, etc., from being caught by the operation cord by dropping the pulley and pulley case when excessive downward pulling force acts on the operation cord.
- An operating device is disclosed.
- a moving shaft can be projected and retracted at the end of the head box, and the head box is temporarily held between the wall surfaces by adjusting the protruding length of the moving shaft from the end of the head box by rotating the dial. Further, there is disclosed a fixing device that fixes the head box between the wall surfaces by pressing the moving shaft against the wall surfaces by rotating the operation lever.
- the slats can be lifted and adjusted by operating a ball chain (operation cord) suspended from one end of a head box supported between opposing wall surfaces.
- operation cord operation cord
- the roll-up blinds have the upper end of the screen attached to the head box and the lower end of the screen attached to a round bar-shaped weight bar.
- One end of the lifting cord for raising and lowering the screen is attached to the back surface of the head box, and the other end is attached to the winding shaft in the head box so as to be wound around the lower portion of the weight bar.
- the weight bar is supported by an elevating cord wound below the weight bar.
- the weight bar rises while winding the screen.
- the weight bar is lowered while the screen is rewound.
- Patent Document 3 discloses a roll-up blind using a warp bamboo as a screen.
- the object of the first aspect of the present invention is to provide a fail-safe function so as not to hinder the behavior of residents and the like, and during normal operation, can prevent unnecessary operation of the fail-safe function and improve operability.
- An object of the present invention is to provide an operating device for a solar radiation shielding device.
- An object of the second aspect of the present invention is to provide an operation device for a solar radiation shielding device that can prevent the head box from dropping or the operation device from being damaged due to the operation of an operation cord.
- Patent Document 4 discloses a blind in which a lifting / lowering cord is attached to a head box via a joint device.
- This joint device is configured such that when an excessive tensile force acts on the lifting / lowering cord, the coupled state of the lifting / lowering cord and the head box is released.
- An object of the third aspect of the present invention is to provide a lifting device for a roll-up blind that does not hinder the movement of a resident or the like due to being caught with the lifting / lowering cord and that can prevent the lifting / lowering cord from being divided when the screen is lifted / lowered. There is.
- the present invention provides an operation device in which movement of a resident or the like is prevented or the operation device or the lifting device is prevented from being damaged even when an excessive tensile force is applied to the operation cord or the lifting cord.
- a lifting device is provided.
- the above problem can be solved by at least one of the following first to fourth aspects of the present invention.
- the contents described in the following first to fourth viewpoints can be combined with each other, and more excellent effects can be obtained by combining them.
- the object and effect of the first aspect are achieved by the contents of the first aspect of the present invention
- the object and effect of the second aspect are achieved by the contents of the second aspect of the present invention.
- the purpose and effect of the third viewpoint are achieved depending on the contents of the viewpoint.
- the fourth aspect relates to an operation pulley that can be used in the first to third aspects of the present invention.
- an endless operation cord is suspended from a pulley rotatably supported by the head box, and the drive shaft is driven to rotate via the pulley based on the operation of the operation cord.
- the operation cord is connected to a connecting portion that is released by a preset first tensile force to be endless, and between the pulley and the drive shaft.
- a torque limiter that idles with a second rotational torque smaller than the first rotational torque applied to the pulley by the first tensile force is interposed.
- the torque limiter is interposed between the transmission shaft for transmitting the rotational torque of the pulley to the drive shaft, and between the pulley and the transmission shaft, and transmits the rotational torque of the pulley based on a frictional force.
- the urging means for transmitting to the shaft, and the urging means idle with respect to the transmission shaft by the second rotational torque.
- a torque ripple generating means for generating a torque ripple when idling with respect to the transmission shaft is provided between the biasing means and the transmission shaft.
- a clutch device for selecting a rotation direction of the drive shaft is provided between the transmission shaft and the drive shaft.
- the biasing means is formed of a torsion coil spring.
- a fixing device is provided at both ends of the head box, and the head box is fixed between the wall surfaces by a tension force of a shaft protruding from the fixing device toward the opposing wall surface
- a solar radiation shielding device that hangs an endless operation cord from an operation unit (operation device) provided in the head box and drives a solar radiation shielding material supported by the head box by operation of the operation cord
- the operation unit holds the sum of the tensile force acting on the head box based on the operation of the operation cord and the weight of the solar shading device acting on the head box by the tension force of the fixing device.
- an operating device for a solar shading device characterized in that it is provided with a torque limiter that limits the force to a range not exceeding the force.
- the operation cord is formed in an endless shape via a connecting portion, and the connecting portion is provided with a connection releasing means for releasing the connection with a pulling force smaller than a pulling force for dropping the head box.
- the torque limiter is interposed between a pulley that is rotated based on an operation of the operation cord, a drive gear that is rotated based on the rotation of the pulley, and the pulley and the drive gear.
- Torque absorbing means for limiting rotational torque acting on the pulley.
- the torque absorbing means is provided on a cam member that rotates integrally with the pulley, the cam member and the drive gear, respectively, and an uneven portion that engages with each other, and the engagement of the uneven portion is elastic. And an urging means for holding it.
- a fixing device is provided at both ends of the head box, and the head box is fixed between the wall surfaces by a tension force of a shaft protruding from the fixing device toward the opposing wall surface, and an operation unit provided in the head box
- the connecting portion includes the operation cord Connection releasing means is provided for limiting the sum of the tensile force acting on the head box and the weight of the solar shading device acting on the head box based on the operation to a range not exceeding the tension force of the fixing device.
- the fixing device includes a biasing unit that applies a constant biasing force as the tension force to the shaft, and a cam that can select a state in which the biasing force is applied to the shaft and a state in which the biasing force is not applied to the shaft. And a mechanism.
- the tensile force acting on the head box based on the operation of the operation cord, the weight of the solar radiation shielding device acting on the head box, and the tensile force for releasing the connection of the connection portion of the operation cord.
- the weight of the solar radiation shielding device acting on the head box and the tensile force for releasing the connection of the connection portion of the operation cord.
- the screen is suspended and supported from a head box, a weight bar is suspended and supported at the lower end of the screen, and one end of an elevating cord wound below the weight bar is connected to the head.
- the screen is fixed to a box, and the other end of the lifting / lowering cord is lifted / lowered by a winding device in the head box, so that the screen can be wound or unwound on a weight bar, and the head box has an operation cord.
- the lifting / lowering cord can be divided by a tensile force that exceeds the tensile force acting during normal operation.
- a cord joint is connected to the operating device prior to the cord joint being cut off when operating the cord.
- Rollup blind lifting device characterized in that a transmission torque limiting device for blocking the transmission of operation force to the serial drive shaft is provided.
- the operation device is provided with a pulley on which the operation cord is hung, and a torque limiter that prevents the cord joint from being divided by the operation of the operation cord is transmitted between the pulley and the drive shaft. Intervene as a torque limiting device.
- the operation device is provided with a pulley on which an operation cord is hung, the operation cord is provided with a connecting portion for connecting the operation cord in an endless manner, and the cord is operated when the operation cord is operated.
- the transmission torque limiting device is provided with a holding force to be divided prior to the division of the joint.
- the holding force of the connecting portion is set to a value higher than the holding force of the torque limiter.
- the cord joint elastically fits a pair of joint main bodies for attaching end portions of the elevating cord, a fitting protrusion provided on the joint main body, and a fitting protrusion of the joint main body. And a connecting member for connecting the joint body.
- an operation pulley that can be incorporated in an operation device of a solar radiation shielding device, and is engaged with the pulley, a cylindrical pulley, a ball chain that is hung on the pulley, and the pulley.
- a gear shaft or a transmission shaft wherein the ball chain is connected with a connecting portion that is released by a preset first pulling force to be endless, and the pulley is a recess for engaging the ball of the ball chain
- a flange is provided integrally with the outer peripheral surface in the inner diameter direction of the input side and formed in a cylindrical shape toward the output side, and the output shaft has friction with the gear shaft or the transmission shaft.
- a sliding torque between the pulley and the gear shaft or the transmission shaft is smaller than a first rotational torque applied to the pulley by a first tensile force.
- Operation pulley is provided.
- the gear shaft or the transmission shaft is rotatably supported by being engaged with the flange by forming the pulley side in a cylindrical shape and providing a concave groove or a snap portion at the tip of the peripheral surface.
- a frictional force is obtained by providing a torsion coil spring on the pulley-side cylindrical portion, and the end of the torsion coil spring is protruded in the outer diameter direction and engaged with the inner diameter of the pulley.
- a cylindrical cam member is provided so as to be rotatable and movable in the axial direction, and a disc spring or a coil spring is provided between the cam member and the pulley to be biased to obtain a frictional force.
- the operation device can be prevented from being prevented from moving by a resident or the like or from being damaged. Or a lifting device is provided. More specifically, according to the first to third aspects of the present invention, the following effects can be obtained.
- the solar radiation is provided with a fail-safe function so as not to disturb the behavior of a resident or the like and can improve the operability by preventing the unnecessary operation of the fail-safe function during normal operation.
- An operating device for the shielding device can be provided.
- an operation device for a solar radiation shielding device that can prevent the head box from dropping or the operation device from being damaged due to the operation of the operation cord.
- a lifting device for a roll-up blind that does not hinder the movement of a resident or the like due to being caught with a lifting cord and that can prevent the lifting cord from being divided during a lifting operation of the screen. Can do.
- FIG. 28 is a sectional view taken along the line DD in FIG. 27 of an embodiment according to the third aspect of the present invention.
- FIG. 28 is a sectional view taken along the line EE in FIG. 27 of an embodiment according to the third aspect of the present invention.
- FIG. 30 is a sectional view taken along line FF in FIG. 29 of an embodiment according to the third aspect of the present invention.
- FIGS. 1 and 2 In the pleated screen shown in FIGS. 1 and 2, an upper screen 2 is suspended and supported from a head box 1, and an intermediate rail 3 is attached to the lower end of the upper screen 2. A lower screen 4 is suspended from the intermediate rail 3 and a bottom rail 5 is attached to the lower end of the lower screen 4.
- the upper screen 2 is a semi-permeable fabric such as a lace fabric that can be folded in a zigzag shape
- the lower screen 4 is a light-shielding fabric that can be folded in a zigzag shape.
- the first and second elevating cords 6 and 7 are inserted on both sides of the upper screen 2 in the width direction, and the lower end of the first elevating cord 6 is attached to the intermediate rail 3.
- the second lifting / lowering cord 7 passes through the intermediate rail 3, is further inserted through the lower screen 4, and has a lower end attached to the bottom rail 5.
- first and second lifting / lowering cords 6 and 7 are wound around first and second winding shafts 9 and 10 that are rotatably supported by a support member 8 in the head box 1, respectively. ing. That is, as shown in FIG. 2, the first and second take-up shafts 9 and 10 are in a state of being parallel in the horizontal direction at a position above the first and second elevating cords 6 and 7 in the head box 1.
- the support member 8 is rotatably supported.
- the upper end part of the 1st raising / lowering cord 6 is wound around the 1st winding shaft 9
- the upper end part of the 2nd raising / lowering cord 7 is wound around the 2nd winding shaft 10
- the second lifting cords 6 and 7 are wound around the first and second winding shafts 9 and 10 in opposite directions. Further, the first and second elevating cords 6 and 7 are spirally wound or rewound based on the rotation of the first and second winding shafts 9 and 10.
- a hexagonal bar-shaped first drive shaft 11 is inserted into the first winding shaft 9 in a relatively non-rotatable manner.
- a second hexagonal bar-shaped second drive shaft 12 is relatively unrotatable in the second winding shaft 10. Is inserted.
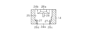
- An operating device 13 for rotating the first and second drive shafts 11 and 12 is attached to one end of the head box 1.
- a pulley 15 is rotatably supported on the base end side in the case 14 of the operating device 13, and an endless ball chain 16 is hung on the pulley 15 and suspended downward. ing.
- the pulley 15 can be driven to rotate by operating the ball chain 16.
- the pulley 15 is provided with a gear shaft 17 and a limit spring 18 composed of a torsion coil spring, and has a function as a torque limiter. That is, the gear shaft 17 is rotatably supported by the case 14, and the limit spring 18 is mounted on the outer peripheral surface of the gear shaft 17. Then, the gear shaft 17 is inserted into the cylindrical pulley 15, and both end portions of the limit spring 18 are engaged with a locking portion 15a formed on the inner peripheral surface of the pulley 15 as shown in FIG. .
- the pulley 15 and the gear shaft 17 are always rotated integrally based on the frictional force between the limit spring 18 and the gear shaft 17. Further, the limit spring 18 is idled with respect to the gear shaft 17 in a state where the load acting on the gear shaft 17 is increased and its rotation is inhibited.
- a gear 17a is formed integrally with the gear shaft 17, and a transmission gear 19 rotatably supported by the case 14 is engaged with the gear 17a. Therefore, when the pulley 15 is rotated, the transmission gear 19 is rotated.
- the transmission gear 19 is engaged with a pair of first and second clutch gears 20 and 21 that are rotatably supported by the case 14 on both radial sides of the transmission gear 19.
- first and second clutch gears 20 and 21 are rotated in the same direction.
- First and second transmission clutches (clutch devices) 22 and 23 having the same configuration are accommodated at the front end side of the case 14, and the input shafts 24 of the first and second transmission clutches 22 and 23 are connected to the first and second transmission clutches 22 and 23, respectively.
- the first and second clutch gears 20 and 21 are fitted at the center. Therefore, when the first and second clutch gears 20 and 21 are rotated, the input shafts 24 of the first and second transmission clutches 22 and 23 are rotated in the same direction.
- the first and second transmission clutches 22 and 23 have a known function of transmitting only rotation in one direction of the input shaft 24 to each output shaft 25, and the rotation directions to be transmitted are opposite to each other. Then, the end of the first drive shaft 11 is fitted to the output shaft 25 of the first transmission clutch 22, and the end of the second drive shaft 12 is connected to the output shaft 25 of the second transmission clutch 23. It is inserted.
- the first and second drive shafts 11 and 12 are inserted through a stopper device 26 at an intermediate portion of the head box 1.
- the stopper device 26 prevents the intermediate rail 3 and the bottom rail 5 from dropping their weight when the ball chain 16 is released after the intermediate rail 3 or the bottom rail 5 is lifted, and the intermediate rail 3 and the bottom rail.
- Each has a known function of selecting a state in which the weight is lowered.
- each governor device 27, 28 suppresses the rotational speed of the first and second drive shafts 11, 12 to a predetermined value or less, and lowers the lowering speed of the intermediate rail 3 and the bottom rail 5 when the weight is lowered to a predetermined speed or less. To suppress.
- a device 29 is provided.
- the ball chain 16 has synthetic resin balls 31 formed on a polyester cord 30 at equal intervals.
- Each ball 31 is formed by forming a long spherical solid body on the surface of the cord 30 with a molding machine, and each ball 31 is fixed to the cord 30 so as not to move.
- the connecting portion 32 has a configuration in which two first connecting members 33 having the same configuration are connected by a cylindrical second connecting member 34.
- a hemispherical portion 36 having a half shape of the ball 31 is outsert-molded at one end of a connecting cord 35 made of the same material as the cord 30, and a first fitting portion 37 is formed at the other end. Is formed.
- a ball 38 having the same shape as the ball 31 is fixed between the hemispherical portion 36 and the first fitting portion 37, the distance between the first fitting portion 37 and the ball 38, and the ball 38 and the hemispherical portion 36. Is the same as the interval between the balls 31.
- the hemispherical portion 36 and the first fitting portion 37 are formed at both ends of the connecting cord 35 with the same synthetic resin as the ball 31.
- the base end portion of the first fitting portion 37 is formed in a hemispherical shape similar to the end portion of the ball 31, and a round shaft-like fitting protrusion is formed at the distal end portion of the first fitting portion 37. 39 is outsert molded.
- an expanded diameter portion 40 is formed in line symmetry with respect to the center of the round shaft, and a concave strip having a semicircular cross section is formed in the middle of the expanded diameter portion 40. 41 are formed.
- a rotation restricting portion 42 protruding in the radial direction of the round shaft is formed in line symmetry with respect to the center.
- Each rotation restricting portion 42 is formed at a position 45 degrees away from the recess 41 in the circumferential direction with respect to the center of the fitting protrusion 39.
- the second connecting member 34 is formed into a cylindrical shape with the same synthetic resin as the first fitting portion 37 and the balls 31 and 38, and the opening portions 43 on both sides are the enlarged diameter portions of the fitting protrusion 39. It is formed in a bowl shape in which a tip including 40 can be inserted. Further, both openings 43 have shapes in which the direction of the bowl shape is rotated 90 degrees with respect to the center of the cylinder.
- the fitting protrusion 39 of the first fitting portion 37 is connected to one opening 43 of the second connecting member 34.
- the first fitting portion 37 is inserted and rotated 90 degrees clockwise with respect to the second connecting member 34.
- the fitting protrusion 39 of the first connecting member 33 is inserted into the other opening 43 of the second connecting member 34 and rotated 90 degrees for positioning. Then, as shown in FIG. 6, the first connecting member 33 is connected via the second connecting member 34.
- the rotation of the first drive shaft 11 or the second drive shaft 12 is hindered, and the tensile force for operating the ball chain 16 increases, and the rotational torque that this tensile force gives to the pulley 15 is increased.
- the torque limiter is activated.
- the pulley 15 and the gear shaft 17 run idle so that a large tensile force does not act on the ball chain 16.
- the maximum value of the slip torque of the torque limiter is 65 N ⁇ cm
- the radius of the pulley 15 is 10.2 mm
- the minimum value of the breaking force (corresponding to the first pulling force) of the ball chain is 65 N.
- the minimum torque applied to the pulley 15 from the ball chain 16 is 66.3 N ⁇ cm, which exceeds the maximum value (65 N ⁇ cm) of the slip torque of the torque limiter.
- action of a tensile force is prevented and the effect that the unnecessary disconnection of the connection part 32 at the time of normal operation is prevented is show
- first tensile force 65 N to 95 N in this embodiment
- the outer shape in a state where the first fitting portion 37 is fitted to both sides of the second connecting member 34 is formed to be the same shape as the ball 31.
- the hemispherical portion 36 of the first connecting member 33 is welded and fixed to a hemispherical portion 31 a that is outsert-molded at both ends of the cord 30 to form a ball having the same shape as the ball 31.
- an endless ball chain 16 is formed.
- balls having the same shape are formed at the same interval over the entire length of the cord 30 of the ball chain 16 and the connecting cord 35 of the connecting portion 32. Therefore, the ball chain 16 can go around the pulley 15 without limitation.
- the stopper device 26 will be released from its own weight drop prevention operation, and the bottom rail 5 will drop its own weight.
- the stopper device 26 When the other side of the ball chain 16 is pulled down, only the first drive shaft 11 is rotated, the first lifting / lowering cord 6 is wound around the first winding shaft 9, and the intermediate rail 3 is pulled up.
- the intermediate rail 3 is held at the desired height by the self-weight drop prevention operation of the stopper device 26.
- FIG. 8 and 9 show a second embodiment of the torque limiter.
- the torque limiter of this embodiment uses a disc spring instead of the limit spring 18 of the first embodiment.
- the left side (pulley 55 side) is the input side
- the right side (gear shaft 51 side) is the output side.
- the pulley 55 includes a large number of recesses 67 on the outer peripheral surface for engaging the balls of the ball chain 16.
- a flange 61 is provided integrally with the outer peripheral surface in the inner diameter direction of the end surface on the input side of the pulley 55.
- the pulley 55 is formed in a cylindrical shape toward the output side.
- the gear shaft 51 is engaged with the output side opening of the pulley 55 so as to be relatively rotatable with friction.
- the pulley side of the gear shaft 51 is formed in a cylindrical shape, and a concave groove 65 is formed at the tip of the peripheral surface.
- a convex portion 63 is provided on the flange 61.
- the gear shaft 51 is rotatably supported with respect to the pulley 55 by engaging the concave groove 65 with the convex portion 63.
- the gear shaft 51 is rotatably supported by the case 14 similar to that of the first embodiment, and the gear 51 a is meshed with the transmission gear 19.
- a cam member 52 is supported on the tip end side of the gear shaft 51 so as to be rotatable and movable in the axial direction of the gear shaft 51.
- Concave and convex portions 54 a and 54 b that can mesh with each other in the axial direction of the shaft 51 are formed in the circumferential direction.
- a cylindrical pulley 55 that covers the cam member 52 is rotatably fitted to the tip of the gear shaft 51. Then, the protrusions 56 formed at equal intervals on the outer peripheral surface of the cam member 52 engage with the recesses 57 formed on the inner peripheral surface of the pulley 55, so that the cam member 52 is rotated integrally with the pulley 55. At the same time, the pulley 55 is supported so as to be movable in the axial direction.
- a disc spring 58 is disposed between the cam member 52 and the pulley 55, and the cam member 52 is urged toward the flange portion 53 in the axial direction of the gear shaft 51 by the disc spring 58 having the pulley 55 as a fulcrum.
- the cam member 52 and the concave and convex portions 54 a and 54 b of the flange portion 53 are always engaged by the biasing force of the disc spring 58, so that the rotation of the pulley 55 is transmitted to the gear shaft 51 via the cam member 52. It has become.
- the cam member 52 idles with respect to the gear shaft 51 while the uneven portion 54 a of the cam member 52 gets over the uneven portion 54 b of the flange portion 53. Therefore, even if an excessive operating torque acts on the pulley 55, the operating torque is absorbed by the idle rotation of the cam member 52.
- the same operational effects as the torque limiter of the first embodiment can be obtained, and the following operational effects can be obtained.
- (1) When the cam member 52 idles with respect to the gear shaft 51, the uneven portion 54a of the cam member 52 rotates idly while getting over the uneven portion 54b of the flange portion 53 (torque ripple generating means). Therefore, the operator can recognize the idle rotation of the pulley 15 by the fluctuation of the operation force for rotating the pulley 15 and the collision sound generated continuously when the uneven portion 54a gets over the uneven portion 54b.
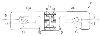
- a multi-stage slat (sunlight shielding material) 3 is supported by a ladder cord 2 suspended from a head box 1, and a bottom rail 4 is attached to the lower end of the ladder cord 2. It is worn.
- the elevating cord 5 is inserted into the slat 3 in the vicinity of the support position of the ladder cord 2, and the bottom rail 4 is suspended and supported at the lower end of the elevating cord 5.
- An upper end of the lifting / lowering cord 5 is wound around a winding shaft 7 rotatably supported by a support member 6 disposed in the head box 1.
- a hexagonal bar-shaped lifting shaft 8 is inserted into the winding shaft 7 so as not to be relatively rotatable.
- the lifting shaft 8 is rotated, the winding shaft 7 is rotated.
- the lifting cord 5 is spirally wound around the winding shaft 7. Then, the bottom rail 4 and the slat 3 are pulled up.
- the winding shaft 7 is rotated in the rewinding direction of the lifting / lowering cord 5, the lifting / lowering cord 5 is rewound and the bottom rail 4 and the slat 3 are lowered.
- the upper end of the ladder cord 2 is attached to a tilt drum 10 via a hook 9, and the tilt drum 10 is rotatably supported on one end of the support member 6.
- a spur gear 11 is integrally formed on one side of the tilt drum 10.
- a support cap 12 is fixed to the head box 1, and the lifting shaft 8 is inserted through the support cap 12.
- a hexagonal bar-shaped tilt shaft 13 is rotatably supported by the support cap 12 at a position obliquely below the elevating shaft 8, that is, at a lower corner in the head box 1.
- the tilt shaft 13 is engaged with the driven gear 11.
- the gear 14 is fitted so as not to be relatively rotatable. When the tilt shaft 13 is rotated, the tilt drum 10 is rotated via the drive gear 14 and the driven gear 11.
- One end of the elevating shaft 8 is connected to the first output shaft of the operation unit 15 attached to one end of the head box 1, and one end of the tilt shaft 13 is connected to the output shaft of the tilt unit 16. . Further, the input shaft of the tilt unit 16 is connected to the second output shaft of the operation unit 15.
- a pulley 17 is rotatably supported at the end of the operation unit 15, and a ball chain 18 is hooked on the pulley 17.
- the ball chain 18 is operated to rotate the pulley 17 in the forward and reverse directions, the lift shaft 8 and the tilt shaft 13 can be driven to rotate.
- the operation unit 15 decelerates the rotation of the pulley 17 and transmits it to the elevating shaft 8 and the tilt unit 16, and either the state of preventing or allowing the slat 3 and the bottom rail 4 from dropping its own weight. It has a clutch function for selecting either. In addition, when the tilt shaft 13 is rotated via the tilt unit 16, the elevator shaft 8 is not rotated.
- the tilt unit 16 rotates the tilt shaft 13 based on the rotation of the second output shaft of the operation unit 15, and when the tilt shaft 13 is rotated by a predetermined angle, that is, the slat 3 is fully closed or reverse fully closed.
- a function is provided to prevent the rotation of the second output shaft from being transmitted to the tilt shaft 13 when it is rotated to the state.
- the tilt drum 10 is rotated with the rotation of the tilt shaft 13, and the slat 3 is rotated via the ladder cord 2.
- the slat 3 is rotated so that the convex surface is on the indoor side.
- the tilt shaft 13 When the tilt shaft 13 is rotated by a predetermined angle, that is, when the slat 3 is rotated to a fully closed state in a substantially vertical direction, the ball chain 18 is continuously operated in the same direction by the operation of the tilt unit 16. Also, the rotation of the tilt shaft 13 is stopped.
- the elevating shaft 8 is not rotated by the operation of the operation unit 15 until the slat 3 is fully closed. After the slat 3 is turned to the fully closed state, when the ball chain 18 is further operated in the direction of arrow A, the lifting shaft 8 is rotated and the winding shaft 7 is rotated in the winding direction of the lifting cord 5. . And the raising / lowering cord 5 is wound up by the winding shaft 7, the bottom rail 4 is pulled up, and the slat 3 is pulled up by the bottom rail 4 one by one.
- the operation unit 15 prevents the lifting shaft 8 from rotating in the lifting / lowering cord rewinding direction, and the bottom rail 4 and the slat 3 are self-weighted. Descent is prevented and held at the desired height.
- the tilt drum 10 is rotated with the rotation of the tilt shaft 13, and the slat 3 is rotated via the ladder cord 2.
- the slat 3 is rotated so that the convex surface becomes the outdoor side.
- the tilt shaft 13 When the tilt shaft 13 is rotated by a predetermined angle, that is, when the slat 3 is rotated to the reverse fully closed state in a substantially vertical direction, the ball chain 18 is continuously operated in the same direction by the operation of the tilt unit 16. However, the rotation of the tilt shaft 13 is stopped.
- the elevating shaft 8 is not rotated by the operation of the operation unit 15 until the slat 3 is in the reverse fully closed state.
- the operation unit 15 is allowed to rotate in the lifting / lowering cord rewinding direction by the operation of the operation unit 15. 4 and the slat 3 are lowered by their own weight.
- Reference numeral 15 denotes a state in which the lifting shaft 8 is prevented from rotating in the lifting / lowering cord rewinding direction, and the bottom rail 4 and the slat 3 are held at a desired height.
- First and second fixing devices 19a and 19b are attached to both ends of the head box 1, and the head box 1 is supported between opposing wall surfaces 20 via the first and second fixing devices 19a and 19b. ing.
- the first fixing device 19a attached to the left end portion of the head box 1 has a generally known configuration.
- the adjustment dial 21 is rotated in the forward and reverse directions, the tension shaft 22 appears and disappears with respect to the head box 1. It has become.
- the second fixing device 19b includes an adjustment shaft 24 that is supported so as to protrude from the case of the operation unit 15 toward the wall surface 20, and a spacer 25 that adjusts the protruding length of the adjustment shaft 24. .
- the protruding length of the adjusting shaft 24 from the case of the operation unit 15 can be adjusted by sliding the spacer 25 in the vertical direction.
- a bearing portion 26 is adhered to the wall surface 20 to which the head box 1 is attached with a double-sided tape or the like, and the head box 1 is fixed between the bearing portions 26 by the first and second fixing devices 19a and 19b.
- the adjustment dial 21 and the adjustment shaft 24 are first held with the head box 1 held between the bearing portions 26.
- the head box 1 is temporarily held between the bearing portions 26 by adjusting the gap between the end portion of the slat 3 and the wall surface 20 to be substantially equal.
- the tension shaft 22 and the adjustment shaft 24 each have a constant value of about 60 N. It is set so as to be pressed against the bearing portion 26 by force.
- the force of 30N acting on the pressure contact surface between the tension shaft 22 and the adjustment shaft 24 and the bearing portion 26 acts when the window area that can be covered with the product, that is, the length and the number of steps of each slat 3 is set to the maximum value. Set as force.
- the rotation of the pulley 17 is transmitted to a drive gear 27 that rotates on the same rotation shaft as the pulley 17, and the output of the operation unit 15 is transmitted from the drive gear 27 through the speed reduction mechanism and the clutch mechanism. Transmitted to the shaft.
- a torque limiter is provided between the pulley 17 and the drive gear 27 to reduce the rotational torque transmitted from the pulley 17 to the drive gear 27 to a predetermined value or less.
- the specific configuration of the torque limiter will be described.
- the pulley 17 and the drive gear 27 shown in FIG. 14 are supported by the case of the operation unit 15 so as to be rotatable with the same rotation axis and not movable in the direction of the rotation axis.
- the pulley 17 side of the drive gear 27 is formed in a cylindrical shape, and a snap portion 91 is formed at the tip of the peripheral surface. Slits 93 are formed on both sides of the snap portion 91 in the circumferential direction.
- the snap portion 91 engages with a convex portion provided on the flange of the pulley 17, so that the drive gear 27 is rotatably supported with respect to the pulley 17.
- a cylindrical cam member 28 is supported on the base end side of the drive gear 27 so as to be rotatable and movable in the axial direction of the drive gear 27, and on a side surface of the drive gear 27 facing the flange portion 29 and the cam member 28.
- the pulley 17 is formed in a cylindrical shape that can accommodate the cam member 28.
- concave and convex portions 31a and 31b that mesh with each other are equally spaced in the circumferential direction. Is formed.
- the cam member 28 can move in the direction of the rotation axis of the drive gear 27 with respect to the pulley 17 and cannot rotate relative to the pulley 17 by the fitting of the concave and convex portions 31a and 31b.
- a coil spring 32 is disposed in the cam member 28. As shown in FIG. 15, one end of the coil spring 32 is in contact with the pulley 17, and the other end is in contact with the cam member 28.
- the cam member 28 is urged toward the flange portion 29 of the drive gear 27 by the urging force of the coil spring 32 with the pulley 17 as a fulcrum, and the concavo-convex portions 30b, 30a and the concavo-convex portions 30d, 30c mesh with each other. Retained. In this state, the pulley 17 and the drive gear 27 are rotated together.
- the disengagement of the uneven portions 30a to 30d is set so as to occur when the ball chain 18 is pulled downward with a force exceeding about 60N to 70N in consideration of the tolerance of the torque limiter.
- the ball chain 18 has synthetic resin balls 34 formed on a polyester cord 33 at equal intervals.
- Each ball 34 is formed by forming a long spherical solid body on the surface of the cord 33 with a molding machine, and each ball 34 is fixed to the cord 33 so as not to move.
- the connecting portion 35 includes a first connecting member 36 and a second connecting member 37.
- the first connecting member 36 has a hemispherical portion 39 that is slightly larger than half of the ball 34 at one end of a connecting cord 38 made of the same material as the cord 33, and the other end.
- the first fitting portion 40 is outsert molded so as to be a solid body up to its tip.
- the interval between the hemispherical portion 39 and the first fitting portion 40 is the same as the interval between the balls 34.
- the base end portion of the first fitting portion 40 is formed in a hemispherical shape similar to the end portion of the ball 34, and a round shaft-like fitting protrusion is formed at the distal end portion of the first fitting portion 40. 41 is formed.
- the fitting protrusion 41 is formed with a flange-like enlarged diameter portion 41a at the distal end, and the outer diameter of the enlarged diameter portion 41a is smaller than the maximum diameter of the hemispherical base end portion. Further, a chamfer 41b is formed at the corner on the tip side of the expanded diameter portion 41a.
- a hemispherical portion 43 having a half shape of the ball 34 is formed at one end of a connecting cord 42 made of the same material as the cord 33, and a second fitting portion 44 is formed at the other end.
- the interval between the hemispherical portion 43 and the second fitting portion 44 is the same as the interval between the balls 34.
- the hemispherical portion 43 and the second fitting portion 44 are outsert-molded at both ends of the cord 33 with the same material as the ball 34.
- the base end portion of the second fitting portion 44 is formed in a hemispherical shape similar to the end portion of the ball 34, and a fitting hole 45 is formed at the distal end portion of the second fitting portion 44. Yes.
- the diameter of the back part of the fitting hole 45 is formed larger than the diameter of an opening part, and the expanded diameter part 41a of the said fitting protrusion 41 can be elastically fitted, and it can hold
- the depth of the fitting hole 45 is less than half the length of the second fitting portion 44, and the fitting protrusion 41 protrudes with a length equal to the depth of the fitting hole 45. .
- the holding force of the fitting hole 45 for holding the fitting protrusion 41 is a normal pulling force acting on the ball chain 18 during a normal slat raising / lowering operation and a slat angle adjusting operation. Is set so as not to disengage.
- the fitting protrusion 41 and the fitting hole 45 are disengaged by the elasticity of the synthetic resin.
- the fitting protrusion 41 and the fitting hole 45 are set to be disengaged with a tensile force exceeding the range of about 80N to 90N.
- the hemispherical portions 39 and 43 of the first and second connecting members 36 and 37 are welded and fixed to the hemispherical portions 34 a formed at both ends of the cord 33 to form a ball having the same shape as the ball 34. .
- the endless ball chain 18 is formed.
- the horizontal blind configured as described above has the following settings. That is, the pulling force of the ball chain 18 at which the torque limiter starts to operate is T, the weight of the blind acting on the first and second fixing devices 19a and 19b is W, and the first and second fixing devices 19a and 19b
- T the pulling force of the ball chain 18 at which the torque limiter starts to operate
- W the weight of the blind acting on the first and second fixing devices 19a and 19b
- S the holding force for holding the head box 1 between the wall surfaces 20 by the tensile force
- T + W ⁇ S is set.
- T 70N and W is 30N
- the holding force S is set to a value exceeding 100N.
- C is set so that C + W ⁇ S, where C is the tensile force by which the connecting portion 35 of the ball chain 18 is divided.
- T ⁇ safety factor the safety factor in the pulling force T of the ball chain 18 at which the torque limiter starts to operate.
- the safety factor is, for example, “3”, “5” in anticipation of a decrease in the tensile force of the first and second fixing devices 19a and 19b, and “10” in anticipation of the ball chain 18 being pulled suddenly.
- the above safety factor may be set to T + W so that (T + W) ⁇ safety factor ⁇ S. If T is 70N, W is 30N, and the safety factor is 3, the holding force S is set to about 400N.
- T (70N) + W (30N) ⁇ S (110N), C (90N) + W (30N) ⁇ S (140N) may be set so as to satisfy simultaneously, and the above safety factor may be further expected.
- the operation of the operation unit 15 configured as described above will be described.
- the slat 3 is first rotated in the fully closed direction, and then the slat 3 is pulled up. Then, when the ball chain 18 is released after the slat 3 is pulled up to a desired height, the slat 3 and the bottom rail 4 are prevented from falling by their own weight, and the slat 3 is held at the desired height.
- the slat 3 When the ball chain 18 is operated in the direction of arrow B shown in FIG. 11, the slat 3 is rotated in the reverse fully closed direction. When the ball chain 18 is further operated in the same direction after the slat 3 is rotated to the reverse fully closed state, the slat 3 is lowered by its own weight.
- FIG. 19 shows another example of the connecting portion of the ball chain 18.
- the connecting portion 51 has a configuration in which two first connecting members 52 having the same configuration are connected by a cylindrical second connecting member 53.
- a hemispherical portion 55 having a half shape of the ball 34 is outsert-molded at one end of a connecting cord 54 made of the same material as the cord 33, and a first fitting portion 56 is formed at the other end. Is formed.
- a ball 57 having the same shape as the ball 34 is fixed between the hemispherical portion 55 and the first fitting portion 56, and the distance between the first fitting portion 56 and the ball 57 and the ball 57 and the hemispherical portion 55. Is the same as the distance between the balls 34.
- the hemispherical portion 55 and the first fitting portion 56 are formed at both ends of the connecting cord 54 with the same synthetic resin as the ball 34.
- the base end portion of the first fitting portion 56 is formed in a hemispherical shape similar to the end portion of the ball 34, and a round shaft-like fitting protrusion is formed at the distal end portion of the first fitting portion 56.
- 58 is outsert molded.
- an enlarged diameter portion 59 is formed in line symmetry with respect to the center of the round shaft. 60 is formed.
- a rotation restricting portion 61 protruding in the radial direction of the round shaft is formed at the base end portion of the fitting protrusion 58 so as to be symmetrical with respect to the center.
- Each rotation restricting portion 61 is formed at a position 45 degrees away from the recess 60 in the circumferential direction with respect to the center of the fitting protrusion 58.
- the second connecting member 53 is formed into a cylindrical shape with the same synthetic resin as the first fitting portion 56 and the balls 34 and 57, and the opening portions 62 on both sides are the enlarged diameter portions of the fitting protrusion 58. It is formed in a bowl shape in which a tip including 59 can be inserted. Further, the two opening portions 62 have shapes in which the direction of the bowl shape is rotated 90 degrees with respect to the center of the cylinder.
- the fitting protrusion 58 of the first fitting portion 56 is connected to one opening 62 of the second connecting member 53.
- the first fitting portion 56 is rotated 90 degrees clockwise with respect to the second connecting member 53.
- the fitting protrusion 58 of the first connecting member 52 is inserted into the other opening 62 of the second connecting member 53 and rotated 90 degrees for positioning. Then, the first connecting member 52 is connected via the second connecting member 53.
- the hemispherical portion 55 of the first connecting member 52 is welded and fixed to a hemispherical portion 34a that is outsert-molded at both ends of the cord 33, so that a ball having the same shape as the ball 34 is formed.
- the endless ball chain 18 is formed.
- the torque limiter incorporated in the pulley 17 operates. That is, the pulley 17 and the drive gear 27 are idled so that a large tensile force does not act on the ball chain 18.
- balls having the same shape are formed at the same interval over the entire length of the cord 33 of the ball chain 18 and the connecting cord 54 of the connecting portion 51. Therefore, the ball chain 18 can circulate around the pulley 17 without limitation.
- a weight bar 4 formed of a cylindrical shape is attached to the lower end of the screen 3.
- One end of a plurality of lifting cords 5 for lifting and lowering the weight bar 4 is attached to the back surface of the head box 1, and the other end passes below the weight bar 4 and is a winding shaft in the head box 1. 6 is attached so that it can be wound up in a spiral. Therefore, the weight bar 4 is supported by a plurality of lifting cords 5 wound below the weight bar 4.
- the winding shaft 6 is rotatably supported by a bearing member 7 disposed in the head box 1, and the other end of the lifting / lowering cord 5 is attached, and a hexagonal bar-shaped driving shaft 8 is disposed at the center thereof. Are inserted so that they cannot rotate relative to each other.
- An operating device 9 is attached to one end of the head box 1, and a ball chain 11 is hooked on a pulley 10 that is rotatably supported in the operating device 9.
- the ball chain 11 is operated to rotate the pulley 10 in the forward / reverse direction, the drive shaft 8 is rotated in the forward / reverse direction.
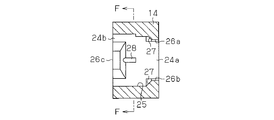
- a cord joint 12 is interposed in the vicinity of one end of the lifting cord 5. As shown in FIGS. 23 and 24, the cord joint 12 includes a pair of joint bodies 13a and 13b and a connecting member 14 that connects the joint bodies 13a and 13b.
- the joint bodies 13a and 13b are made of a synthetic resin having elasticity and are formed into a substantially cylindrical shape, and a receiving recess 15 is formed at the center of the joint body 13a and 13b.
- the housing recess 15 communicates with one end in the longitudinal direction of the joint bodies 13a and 13b through a communication hole 16.
- the end of the lifting / lowering cord 5 is guided by inserting the end of the lifting / lowering cord 5 from one end of the joint bodies 13a and 13b through the communication hole 16 into the receiving recess 15 and forming a knot 17 at the end.
- Joint bodies 13a and 13b are attached to the portions.
- a round shaft-like fitting projection 18 is integrally formed at the other end of the joint bodies 13a and 13b.
- an enlarged diameter portion 19 is formed in line symmetry with respect to the center of the round shaft, and a semicircular cross-section locking is provided in the middle of the expanded diameter portion 19.
- Recesses 20 are respectively formed. Further, chamfers 21 are formed on the distal end side and the proximal end side of the expanded diameter portion 19.
- a rotation restricting portion 22 that protrudes in the radial direction of the round shaft is formed on the proximal end portion of the fitting protrusion 18 so as to be symmetrical with respect to the center.
- Each rotation restricting portion 22 is formed at a position 45 degrees away from the locking recess 20 in the circumferential direction with respect to the center of the round shaft.
- the connecting member 14 is formed into a cylindrical shape with the same synthetic resin as the joint bodies 13a and 13b. As shown in FIGS. 27 and 28, the openings 24a and 24b on both sides are swelled on the fitting protrusion 18.
- the tip portion including the diameter portion 19 is formed in a bowl shape that allows insertion.
- the openings 24a and 24b have shapes in which the direction of the bowl shape is rotated 90 degrees with respect to the center of the cylinder.
- a chamfer 27 is provided at the boundary between the locking portions 26a to 26d and the circular hole 25, and when the fitting protrusion 18 is pulled out from the circular hole 25, the chamfering is performed. 21 and 27 prevent the locking portions 26a to 26d from being damaged.
- locking protrusions 28 that engage with the locking recesses 20 are formed on the inner peripheral surface of the circular hole 25 inside the locking portions 26a and 26c, respectively.
- the fitting protrusion 18 of the joint main body 13a is inserted into the opening 24a of the connecting member 14, and the joint main body 13a is connected to the connecting member 14 in the same manner. It is rotated 90 degrees clockwise toward the member 14. Then, the locking recess 20 of the fitting protrusion 18 engages with the locking protrusion 28 in the circular hole 25, and the rotation restricting part 22 moves from the bowl-shaped corner of the opening 24a to the adjacent corner. Then, the positioning is performed as shown in FIG.
- the fitting protrusion 18 of the joint member 13b is inserted into the other opening 24b of the connecting member 14 and rotated 90 degrees for positioning. Then, as shown in FIG. 23, the joint bodies 13a and 13b are connected via the connecting member 14.
- the enlarged diameter portion 19 of the fitting protrusion 18 of each joint body 13a, 13b engages with the engaging portions 26a to 26d of the connecting member 14 and is held in the circular hole 25 of the connecting member 14.
- the holding force is such that the fitting protrusion 18 does not come off the connecting member 14 with a normal tensile force acting on the lifting / lowering cord 5 based on the weight of the weight bar 4 and the screen 3 during a normal screen lifting / lowering operation.
- the maximum value is set to 85N (Newton), and the minimum value is set to 40N.
- the total holding force of the cord joint 12 of each lifting / lowering cord 5 is 85N, for example, if the number of the lifting / lowering cords 5 is n, the total holding force is (85 ⁇ n) N.
- the total holding force is set to be larger than half of the tensile force due to the total weight of the weight bar 4 and the screen 3.
- two lifting cords were used.
- the torque limiter 29 has a cylindrical pulley 10 rotatably supported by a transmission shaft 30, and the transmission shaft 30 is rotatably supported by a support shaft 31 provided in the case. ing.
- the pulley 10 side of the transmission shaft 30 is formed in a cylindrical shape, and a snap portion 91 is formed at the tip of the peripheral surface. The snap portion 91 is engaged with a convex portion provided on the flange of the pulley 10, so that the transmission shaft 30 is rotatably supported with respect to the pulley 10.
- the diameter of the portion of the pulley 10 with which the ball chain 11 is engaged (here, the radius is 10 mm) is formed to be the same as the diameter of the winding shaft 6.
- a limit spring 32 composed of a torsion coil spring is disposed between the transmission shaft 30 and the pulley 10. The limit spring 32 is fitted on the outer peripheral surface of the transmission shaft 30, and one end thereof is engaged with the inner peripheral surface of the pulley 10 so as to rotate integrally with the pulley 10.
- the pulley 10 and the transmission shaft 30 are rotated integrally by friction between the limit spring 32 and the transmission shaft 30, and the drive shaft 8 is rotated based on the rotation of the transmission shaft 30.
- the limit spring 32 rotates idly with respect to the transmission shaft 30 so as not to transmit a rotational torque of a predetermined value or more to the drive shaft 8. It has become.
- the rotational torque at which the limit spring 32 starts to idle with respect to the transmission shaft 30 is 170 N (the driving shaft 8 torque is 170 N ⁇ cm, and the minimum value is 80 N ⁇ cm). On the other hand, it is set to 75 N ⁇ cm.
- a one-way clutch 39 is disposed between the transmission shaft 30 and the drive shaft 8.
- the one-way clutch 39 is configured to transmit the rotation of the transmission shaft 30 in the lifting / lowering cord winding direction to the drive shaft 8 and not to transmit the rotation of the lifting / lowering cord unwinding direction to the driving shaft 8.
- the ball chain 11 is formed in an endless shape by a large number of balls 33 being outsert-molded at equal intervals on a cord and connected by a connecting portion 34.
- the connecting portion 34 is formed with a fitting portion 42 at one end portion of a connecting cord 41, and the fitting portion 18 has a fitting protrusion 18 similar to the joint main bodies 13a and 13b. Is formed.
- the fitting protrusion 18 is fitted to the connecting member 14 so as to be divided by a tensile force of a predetermined value or more, and the dividing force is set to 95 N, for example. Yes.
- the hemispherical portion 43 outsert-molded at the other end of the connecting cord 41 is welded to the hemispherical portion formed at the end of the ball chain 11 to form the endless ball chain 11.
- a front balance 35 for covering the head box 1 and the weight bar 4 raised to the upper limit is attached to the front surface of the head box 1 as shown in FIG.
- the balance 35 is composed of the same kind of treewood as the screen 3.
- a similar rear balance 36 is also attached to the back of the head box 1.
- the head box 1 has a known stopper device 37 for preventing the weight bar 4 from lowering its own weight, and the rotational speed of the drive shaft 8 is limited when the weight device 4 is lowered by releasing the operation of the stopper device 37.
- a governor device 38 for limiting the lowering speed of the weight bar 4 is provided.
- the weight bar 4 rises while winding the screen 3.
- the weight bar 4 is pulled up to the upper limit, as shown in FIG. 22, the weight bar 4 around which the screen 3 is wound is hidden behind the front balance 35 and is blocked from the view of the room.
- the stopper device 37 When the ball chain 11 is released with the weight bar 4 pulled up to a desired height, the stopper device 37 is actuated to prevent the weight bar 4 from falling by its own weight.
- the weight bar 4 When the weight bar 4 is suspended and supported at a desired height and the ball shaft 11 is operated to slightly rotate the drive shaft 8 in the lifting / lowering cord winding direction, the operation of the stopper device 37 is released, The winding shaft 6 can be freely rotated in the lifting / lowering cord rewinding direction. Then, the weight bar 4 descends while rewinding the screen 3 in a state where the descending speed is limited by the governor device 38.
- the cord joint 12 of the lifting / lowering cord 5 is not divided. If the holding force of the cord joint 12 of each lifting / lowering cord 5 is 85 N, there are actually a plurality of lifting / lowering cords 5, and when the number is n (85 ⁇ n) N ⁇ cm of torque Does not act on the winding shaft 6, the cord joint 12 is not divided.
- the joint member 14 is fitted to at least one of the joint members 13a and 13b. Is separated and divided.
- the roll-up blind lifting device configured as described above, the following effects can be obtained. (1) When a resident or the like is caught on the lifting / lowering cord 5, the joint bodies 13 a and 13 b are divided by the cord joint 12. Therefore, the lifting / lowering cord 5 can be provided with a fail-safe function. (2) Even when the lifting of the weight bar 4 is inhibited during the lifting operation of the screen 3, the torque limiter 29 starts to slide before the cord joint 12 is divided. Accordingly, it is possible to prevent the weight bar 4 from dropping due to the division of the cord joint 12 when the weight bar 4 is pulled up.
- the joint bodies 13a and 13b are reconnected by the connecting member 14, and the cord joint 12 can be easily restored.
- the ball chain 11 is divided by the connecting portion 34. Therefore, the ball chain 11 can be provided with a fail-safe function.
- the connecting portion 34 of the ball chain 11 may have the function of the torque limiter 29. That is, the torque limiter 29 of the above embodiment is omitted, and the holding force of the connecting portion 34 is set smaller than the holding force of the cord joint 12 of the lifting / lowering cord 5.
- the connecting portion 34 of the ball chain 11 is split before the cord joint 12 is split. Therefore, when the weight bar 4 is lifted, the weight bar due to the cord joint 12 being split is divided. The fall of 4 can be prevented beforehand.
- the third embodiment may be as follows.
Landscapes
- Engineering & Computer Science (AREA)
- Structural Engineering (AREA)
- Architecture (AREA)
- Civil Engineering (AREA)
- Blinds (AREA)
- Operating, Guiding And Securing Of Roll- Type Closing Members (AREA)
- Curtains And Furnishings For Windows Or Doors (AREA)
Priority Applications (10)
| Application Number | Priority Date | Filing Date | Title |
|---|---|---|---|
| HK13101164.3A HK1173759B (en) | 2010-04-12 | 2011-04-12 | Operation device for solar shading device, lifting device for roll-up shade, and operating pulley |
| KR1020127029244A KR101851747B1 (ko) | 2010-04-12 | 2011-04-12 | 일사차폐 장치의 조작 장치, 롤 업 블라인드의 승강 장치 및 조작 풀리 |
| JP2012510661A JP5877151B2 (ja) | 2010-04-12 | 2011-04-12 | 日射遮蔽装置の操作装置、ロールアップブラインドの昇降装置、操作プーリー |
| EP11768866.3A EP2559840B1 (en) | 2010-04-12 | 2011-04-12 | Operation device for solar shading device, lifting device for roll-up shade, and operating pulley |
| AU2011241577A AU2011241577B2 (en) | 2010-04-12 | 2011-04-12 | Operation device for solar shading device, lifting device for roll-up shade, and operating pulley |
| CN201180018706.5A CN102844517B (zh) | 2010-04-12 | 2011-04-12 | 日射遮蔽装置的操作装置,卷帘式百叶窗的升降装置,操作滑轮 |
| SG2012074910A SG184514A1 (en) | 2010-04-12 | 2011-04-12 | Operation apparatus of sunlight shielding apparatus, lifting apparatus of roll-up blind and operation pulley |
| BR112012026042-1A BR112012026042B1 (pt) | 2010-04-12 | 2011-04-12 | polia de operação, dispositivo de operação de um dispositivo de obstrução da luz solar e dispositivo de elevação de persiana de enrolar |
| CA2832714A CA2832714C (en) | 2010-04-12 | 2011-04-12 | Operation apparatus of sunlight shielding apparatus, lifting apparatus of roll-up blind and operation pulley |
| US13/641,060 US9151109B2 (en) | 2010-04-12 | 2011-04-12 | Operation apparatus of sunlight shielding apparatus, lifting apparatus of roll-up blind and operation pulley |
Applications Claiming Priority (6)
| Application Number | Priority Date | Filing Date | Title |
|---|---|---|---|
| JP2010091737 | 2010-04-12 | ||
| JP2010-091737 | 2010-04-12 | ||
| JP2010-244700 | 2010-10-29 | ||
| JP2010244700 | 2010-10-29 | ||
| JP2011011426 | 2011-01-21 | ||
| JP2011-011426 | 2011-01-21 |
Publications (1)
| Publication Number | Publication Date |
|---|---|
| WO2011129345A1 true WO2011129345A1 (ja) | 2011-10-20 |
Family
ID=44798716
Family Applications (1)
| Application Number | Title | Priority Date | Filing Date |
|---|---|---|---|
| PCT/JP2011/059113 Ceased WO2011129345A1 (ja) | 2010-04-12 | 2011-04-12 | 日射遮蔽装置の操作装置、ロールアップブラインドの昇降装置、操作プーリー |
Country Status (11)
| Country | Link |
|---|---|
| US (1) | US9151109B2 (enExample) |
| EP (1) | EP2559840B1 (enExample) |
| JP (4) | JP5877151B2 (enExample) |
| KR (1) | KR101851747B1 (enExample) |
| CN (1) | CN102844517B (enExample) |
| AU (1) | AU2011241577B2 (enExample) |
| BR (1) | BR112012026042B1 (enExample) |
| CA (1) | CA2832714C (enExample) |
| MY (1) | MY157245A (enExample) |
| SG (1) | SG184514A1 (enExample) |
| WO (1) | WO2011129345A1 (enExample) |
Cited By (8)
| Publication number | Priority date | Publication date | Assignee | Title |
|---|---|---|---|---|
| JP2013213391A (ja) * | 2012-03-09 | 2013-10-17 | Tachikawa Blind Mfg Co Ltd | ロールブラインドの操作装置及び巻取軸のパイプキャップ |
| JP2015001092A (ja) * | 2013-06-14 | 2015-01-05 | 立川ブラインド工業株式会社 | 日射遮蔽装置の駆動操作装置 |
| US20150007421A1 (en) * | 2013-07-04 | 2015-01-08 | Chen Tian Co., Ltd. | Safety assembly structure of curtain bead chain |
| CN106837141A (zh) * | 2016-12-31 | 2017-06-13 | 重庆大学 | 基于上下对开结构的单元组合式户外巨型幕墙系统 |
| CN106869743A (zh) * | 2016-12-31 | 2017-06-20 | 重庆大学 | 用于户外巨型墙幕系统中的缠绕式自平衡上下开合机构 |
| JP2018141342A (ja) * | 2017-02-28 | 2018-09-13 | 立川ブラインド工業株式会社 | 遮蔽装置および巻取装置 |
| WO2020209355A1 (ja) * | 2019-04-12 | 2020-10-15 | 立川ブラインド工業株式会社 | ボールチェーンおよび遮蔽装置 |
| JP2021067335A (ja) * | 2019-10-25 | 2021-04-30 | 立川ブラインド工業株式会社 | ボールチェーン |
Families Citing this family (22)
| Publication number | Priority date | Publication date | Assignee | Title |
|---|---|---|---|---|
| CN102597408B (zh) * | 2009-11-02 | 2014-12-17 | 立川窗饰工业株式会社 | 遮蔽装置及用于遮蔽装置的离合器 |
| JP5814273B2 (ja) * | 2010-03-10 | 2015-11-17 | インビド アクティエボラーグ | 柔軟性のあるベネチアン・ブラインド |
| BR112012026042B1 (pt) * | 2010-04-12 | 2021-03-16 | Tachikawa Corporation | polia de operação, dispositivo de operação de um dispositivo de obstrução da luz solar e dispositivo de elevação de persiana de enrolar |
| WO2015008799A1 (ja) * | 2013-07-18 | 2015-01-22 | 立川ブラインド工業 株式会社 | カーテンアクセサリー |
| DE102013107990A1 (de) * | 2013-07-26 | 2015-01-29 | Gerhard Geiger GmbH & Co. KG | Hebewinde für Rolläden, Jalousien und dgl. |
| US20150152681A1 (en) * | 2013-12-04 | 2015-06-04 | Tser Wen Chou | Curtain cord winder structure |
| CN203742411U (zh) * | 2014-01-24 | 2014-07-30 | 亿丰综合工业股份有限公司 | 百叶帘 |
| CN204126527U (zh) * | 2014-08-19 | 2015-01-28 | 亿丰综合工业股份有限公司 | 窗帘及其遮蔽结构的升降控制模块 |
| CN205532187U (zh) * | 2016-01-29 | 2016-08-31 | 亿丰综合工业股份有限公司 | 窗帘升降控制结构 |
| CN205400553U (zh) * | 2016-03-04 | 2016-07-27 | 关健民 | 一种窗帘 |
| TWI581740B (zh) * | 2016-07-15 | 2017-05-11 | 程田有限公司 | 窗簾控制器之安全裝置 |
| CN206545471U (zh) * | 2016-10-20 | 2017-10-10 | 亿丰综合工业股份有限公司 | 卷帘支撑结构 |
| JP6901282B2 (ja) * | 2017-02-28 | 2021-07-14 | 立川ブラインド工業株式会社 | ロールアップブラインド |
| TWI640280B (zh) * | 2017-11-02 | 2018-11-11 | Chen Tian Co., Ltd. | 窗簾安全控制器無螺絲組裝結構 |
| TWI670033B (zh) * | 2017-11-02 | 2019-09-01 | Chen Tian Co., Ltd. | 窗簾控制器無螺絲組裝結構 |
| US11643864B2 (en) | 2018-01-23 | 2023-05-09 | Pella Corporation | Screen edge retention and screen rethreading features for a hidden screen assembly and a fenestration assembly |
| US10612590B2 (en) * | 2018-01-24 | 2020-04-07 | New-Field Energy, LLC | Buoyancy-enhanced helical loop drive system |
| US20190242186A1 (en) * | 2018-02-06 | 2019-08-08 | Tser Wen Chou | Horizontal blind structure |
| JP7090457B2 (ja) * | 2018-04-05 | 2022-06-24 | 立川ブラインド工業株式会社 | 遮蔽装置、及び遮蔽材駆動装置 |
| US20230332461A1 (en) * | 2019-10-01 | 2023-10-19 | Union Winner International Co., Ltd. | Venetian blind |
| CA3107553C (en) | 2020-01-31 | 2023-08-22 | Pella Corporation | Integrated pleated screen assembly |
| TWI763561B (zh) * | 2021-07-20 | 2022-05-01 | 型態同步科技股份有限公司 | 機械式多段速阻尼器 |
Citations (9)
| Publication number | Priority date | Publication date | Assignee | Title |
|---|---|---|---|---|
| JPS6310198U (enExample) * | 1986-07-05 | 1988-01-23 | ||
| JPH035680Y2 (enExample) * | 1984-01-26 | 1991-02-13 | ||
| US6116325A (en) | 1997-04-02 | 2000-09-12 | Hunter Douglas Inc. | Break away operating cord system for retractable coverings for architectural openings |
| JP2001207754A (ja) | 2000-01-25 | 2001-08-03 | Tachikawa Blind Mfg Co Ltd | 日射遮蔽装置のヘッドボックス固定装置 |
| JP2003184456A (ja) * | 2001-12-20 | 2003-07-03 | Yokota:Kk | 日除け部材の操作コード |
| US6845803B1 (en) | 2003-07-30 | 2005-01-25 | Nien Made Enterprise Co., Ltd | Cord member safety connector for window blind |
| JP2006283320A (ja) | 2005-03-31 | 2006-10-19 | Tachikawa Blind Mfg Co Ltd | ロールアップブラインドの昇降装置 |
| JP2007177440A (ja) * | 2005-12-27 | 2007-07-12 | Tachikawa Blind Mfg Co Ltd | 操作コード接続具及び操作コード接続具の製造方法 |
| JP2009002121A (ja) * | 2007-06-25 | 2009-01-08 | Tachikawa Blind Mfg Co Ltd | 日射遮蔽装置の遮蔽材昇降方法及び遮蔽材昇降装置 |
Family Cites Families (60)
| Publication number | Priority date | Publication date | Assignee | Title |
|---|---|---|---|---|
| JPS6132076Y2 (enExample) * | 1980-08-29 | 1986-09-18 | ||
| SE8106945L (sv) * | 1981-11-23 | 1983-05-24 | Stig Jung | Anordning vid rullgardinhiss |
| FR2519063A1 (fr) * | 1981-12-30 | 1983-07-01 | Carpano & Pons | Dispositif auxiliaire de commande pour portes ou grilles enroulables, portes selectionnelles ou similaires |
| JPH0544479Y2 (enExample) * | 1988-05-11 | 1993-11-11 | ||
| JPH01168696U (enExample) * | 1988-05-13 | 1989-11-28 | ||
| JP2656147B2 (ja) * | 1990-10-13 | 1997-09-24 | 立川ブラインド工業株式会社 | ロールブラインドのスクリーン昇降装置 |
| JPH05295642A (ja) * | 1992-04-09 | 1993-11-09 | Yoshida Kogyo Kk <Ykk> | 長尺ボールチェーンと継ぎ具 |
| JP2695584B2 (ja) * | 1992-11-09 | 1997-12-24 | 株式会社ニチベイ | ブラインド取付装置 |
| DE4239507C2 (de) * | 1992-11-25 | 1995-03-23 | Benthin Management Gmbh | Rolloantrieb |
| US5566741A (en) * | 1993-06-02 | 1996-10-22 | Kabushiki Kaisha Nichibei | Roll screen apparatus |
| US5361822A (en) * | 1994-01-04 | 1994-11-08 | Nysan Shading Systems Ltd. | Shade operator |
| DE29514535U1 (de) * | 1995-09-09 | 1995-10-26 | MHZ Hachtel GmbH + Co, 97996 Niederstetten | Verbindungsschloß für Perlketten |
| US5669432A (en) * | 1996-03-28 | 1997-09-23 | Nisenson; Jules | Automatic-locking mechanical drive construction |
| US6123140A (en) * | 1997-05-20 | 2000-09-26 | Sunproject S.R.L. | Spring device for rolling up a roller curtain |
| US5875829A (en) * | 1997-08-23 | 1999-03-02 | Chou; Tser-Wen | Bearing structure for vertical blinds and roller shades |
| US6138740A (en) * | 1997-08-23 | 2000-10-31 | Chou; Tser-Wen | Bearing structure for vertical blinds and roller shades |
| CA2277603C (en) * | 1998-07-15 | 2007-01-09 | Konrad Welfonder | A winding and unwinding mechanism for blinds and or shades |
| DE19834082C2 (de) * | 1998-07-29 | 2002-06-20 | Trietex Antriebstechnik Gmbh | Antriebsvorrichtung für das Verschieben und Wenden der Lamellen einer Jalousie in einer Laufschiene |
| US6164428A (en) * | 1999-08-23 | 2000-12-26 | Joel Berman Associates, Inc. | Wrap spring shade operator |
| US6381903B1 (en) * | 2000-01-27 | 2002-05-07 | Eddy Desrochers | Auxiliary operating device for normally motor-driven closure |
| US6250359B1 (en) * | 2000-06-06 | 2001-06-26 | Eric W. Lorio | Beaded chain for blinds |
| US6237669B1 (en) * | 2000-07-18 | 2001-05-29 | Kuentin Ko | Tilt cord controller for venetian blinds |
| US20030085003A1 (en) * | 2001-10-23 | 2003-05-08 | Keng Mu Cheng | Rolled-up blind driving mechanism |
| US6901771B2 (en) * | 2002-02-21 | 2005-06-07 | Planet Co. | Jewel and personal ornament |
| US20040163774A1 (en) * | 2002-03-07 | 2004-08-26 | Ming Nien | Venetian blind having dual-drive mechanism |
| ES2306866T5 (es) * | 2002-03-20 | 2012-11-29 | Rollease, Inc. | Un embrague de toldo de rodillo con engranaje interno |
| US6860312B2 (en) * | 2002-09-27 | 2005-03-01 | Ren Judkins | Roll-up shade with cord capture |
| US6739373B1 (en) * | 2003-03-10 | 2004-05-25 | Tai-Ping Liu | Lift control device for a roller shade |
| TWM253301U (en) * | 2003-10-22 | 2004-12-21 | Nien Made Entpr Co Ltd | Magnetic curtain rope safety release device |
| US20070119552A1 (en) * | 2005-11-29 | 2007-05-31 | Wen-Ren Wang | Window curtain rolling device |
| TWM290529U (en) * | 2005-12-02 | 2006-05-11 | Ching Feng Home Fashions Co | Structure of bead chain controller for window covering |
| KR100658640B1 (ko) * | 2006-02-06 | 2006-12-19 | 곽재석 | 롤 스크린의 자동 승강 구동장치 |
| DE202006004867U1 (de) * | 2006-03-28 | 2006-06-01 | Marion Peplies E.K. Dekoprofiltechnik | Getriebe zum Heben und Senken einer Vorhangbahn |
| TWM301271U (en) * | 2006-04-25 | 2006-11-21 | Feng-Chin Liou | Beaded-chain wheel for curtain |
| KR100768403B1 (ko) * | 2006-07-05 | 2007-10-18 | 김정민 | 듀얼 롤 블라인드 시스템 |
| CA2661260C (en) * | 2006-09-01 | 2015-01-27 | Hunter Douglas Industries B.V. | Operating and mounting system for a window covering |
| GB0700706D0 (en) * | 2007-01-13 | 2007-02-21 | Mccormick Gregory R | Controlling a position of a hanging flexible covering |
| US7632018B2 (en) * | 2007-03-08 | 2009-12-15 | Hiwin Technologies Corp. | Synchronous chain for a linear guideway |
| JP2009062778A (ja) * | 2007-09-07 | 2009-03-26 | Nanik Japan Inc | ブラインド用安全装置及びブラインド |
| US20080251624A1 (en) * | 2007-04-10 | 2008-10-16 | Fraczek Richard R | Shade lifting mechanism |
| CA2710790C (en) * | 2008-01-04 | 2016-02-02 | Hunter Douglas Industries B.V. | Operating unit for architectural coverings |
| JP5193849B2 (ja) * | 2008-12-26 | 2013-05-08 | 立川ブラインド工業株式会社 | ブラインドの操作装置 |
| AT507095B1 (de) * | 2009-01-27 | 2010-02-15 | Kraler Franz | Antriebs- und wendevorrichtung für die lamellen einer jalousie |
| AU2010200306B2 (en) * | 2009-02-09 | 2014-08-28 | Hunter Douglas Industries B.V. | A covering for an architectural opening |
| NZ583118A (en) * | 2009-02-09 | 2010-06-25 | Carmelo Joseph Licciardi Di St | A winding mechanism for a window blind with open and closed positions for attaching the pull cord |
| CN102597408B (zh) * | 2009-11-02 | 2014-12-17 | 立川窗饰工业株式会社 | 遮蔽装置及用于遮蔽装置的离合器 |
| US20110108216A1 (en) * | 2009-11-10 | 2011-05-12 | Levin Steven J | Systems and Methods For Providing A Safety Cord For Window Covering Systems |
| US20110108215A1 (en) * | 2009-11-10 | 2011-05-12 | Levin Steven J | Systems and methods for providing a safety cord for window covering systems |
| US20110108205A1 (en) * | 2009-11-10 | 2011-05-12 | Levin Steven J | Systems And Methods For Providing A Safety Cord For Window Covering Systems |
| TWM400279U (en) * | 2010-02-05 | 2011-03-21 | Vikson Entpr Co Ltd | Safety docking components set used for curtain string |
| BR112012026042B1 (pt) * | 2010-04-12 | 2021-03-16 | Tachikawa Corporation | polia de operação, dispositivo de operação de um dispositivo de obstrução da luz solar e dispositivo de elevação de persiana de enrolar |
| JP5548013B2 (ja) * | 2010-04-14 | 2014-07-16 | 株式会社ニチベイ | ブラインド |
| US8898871B2 (en) * | 2010-04-30 | 2014-12-02 | Tachikawa Corporation | Operation cord, and operation apparatus for sunlight shielding apparatus |
| US9714539B2 (en) * | 2011-01-06 | 2017-07-25 | Hunter Douglas Industries Bv | Winding shaft drive for operating a retractable architectural covering and shaft brake module for use therein |
| JP5666965B2 (ja) * | 2011-04-08 | 2015-02-12 | トーソー株式会社 | 日射遮蔽装置 |
| US8336598B1 (en) * | 2011-11-10 | 2012-12-25 | Rising Sun Development Co., Ltd. | Safety device for a roller blind |
| TWM440739U (en) * | 2012-04-06 | 2012-11-11 | zhe-wen Zhou | Controller for roller curtain |
| TWM442105U (en) * | 2012-08-08 | 2012-12-01 | Uni Soleil Ent Co Ltd | Improved roller blind controller |
| US20140130989A1 (en) * | 2012-11-12 | 2014-05-15 | Louis Chan | Window dressing control device |
| US20140338847A1 (en) * | 2013-05-17 | 2014-11-20 | Uni-Soleil Ent. Co., Ltd. | Curtain control assembly |
-
2011
- 2011-04-12 BR BR112012026042-1A patent/BR112012026042B1/pt not_active IP Right Cessation
- 2011-04-12 AU AU2011241577A patent/AU2011241577B2/en active Active
- 2011-04-12 WO PCT/JP2011/059113 patent/WO2011129345A1/ja not_active Ceased
- 2011-04-12 SG SG2012074910A patent/SG184514A1/en unknown
- 2011-04-12 CA CA2832714A patent/CA2832714C/en not_active Expired - Fee Related
- 2011-04-12 MY MYPI2012004486A patent/MY157245A/en unknown
- 2011-04-12 JP JP2012510661A patent/JP5877151B2/ja active Active
- 2011-04-12 EP EP11768866.3A patent/EP2559840B1/en not_active Not-in-force
- 2011-04-12 US US13/641,060 patent/US9151109B2/en not_active Expired - Fee Related
- 2011-04-12 KR KR1020127029244A patent/KR101851747B1/ko not_active Expired - Fee Related
- 2011-04-12 CN CN201180018706.5A patent/CN102844517B/zh active Active
-
2015
- 2015-08-12 JP JP2015159430A patent/JP6073427B2/ja active Active
- 2015-08-12 JP JP2015159425A patent/JP6246162B2/ja not_active Expired - Fee Related
-
2017
- 2017-06-27 JP JP2017125086A patent/JP6346352B2/ja active Active
Patent Citations (10)
| Publication number | Priority date | Publication date | Assignee | Title |
|---|---|---|---|---|
| JPH035680Y2 (enExample) * | 1984-01-26 | 1991-02-13 | ||
| JPS6310198U (enExample) * | 1986-07-05 | 1988-01-23 | ||
| US6116325A (en) | 1997-04-02 | 2000-09-12 | Hunter Douglas Inc. | Break away operating cord system for retractable coverings for architectural openings |
| JP2001207754A (ja) | 2000-01-25 | 2001-08-03 | Tachikawa Blind Mfg Co Ltd | 日射遮蔽装置のヘッドボックス固定装置 |
| JP2003184456A (ja) * | 2001-12-20 | 2003-07-03 | Yokota:Kk | 日除け部材の操作コード |
| US6845803B1 (en) | 2003-07-30 | 2005-01-25 | Nien Made Enterprise Co., Ltd | Cord member safety connector for window blind |
| US20050022948A1 (en) * | 2003-07-30 | 2005-02-03 | Nien Made Enterprise Co., Ltd. | Cord member safety connector for window blind |
| JP2006283320A (ja) | 2005-03-31 | 2006-10-19 | Tachikawa Blind Mfg Co Ltd | ロールアップブラインドの昇降装置 |
| JP2007177440A (ja) * | 2005-12-27 | 2007-07-12 | Tachikawa Blind Mfg Co Ltd | 操作コード接続具及び操作コード接続具の製造方法 |
| JP2009002121A (ja) * | 2007-06-25 | 2009-01-08 | Tachikawa Blind Mfg Co Ltd | 日射遮蔽装置の遮蔽材昇降方法及び遮蔽材昇降装置 |
Cited By (12)
| Publication number | Priority date | Publication date | Assignee | Title |
|---|---|---|---|---|
| JP2013213391A (ja) * | 2012-03-09 | 2013-10-17 | Tachikawa Blind Mfg Co Ltd | ロールブラインドの操作装置及び巻取軸のパイプキャップ |
| JP2015001092A (ja) * | 2013-06-14 | 2015-01-05 | 立川ブラインド工業株式会社 | 日射遮蔽装置の駆動操作装置 |
| US20150007421A1 (en) * | 2013-07-04 | 2015-01-08 | Chen Tian Co., Ltd. | Safety assembly structure of curtain bead chain |
| US9416588B2 (en) * | 2013-07-04 | 2016-08-16 | Chen Tian Co., Ltd. | Safety assembly structure of curtain bead chain |
| CN106837141A (zh) * | 2016-12-31 | 2017-06-13 | 重庆大学 | 基于上下对开结构的单元组合式户外巨型幕墙系统 |
| CN106869743A (zh) * | 2016-12-31 | 2017-06-20 | 重庆大学 | 用于户外巨型墙幕系统中的缠绕式自平衡上下开合机构 |
| CN106869743B (zh) * | 2016-12-31 | 2018-11-27 | 重庆大学 | 用于户外巨型墙幕系统中的缠绕式自平衡上下开合机构 |
| CN106837141B (zh) * | 2016-12-31 | 2019-03-05 | 重庆大学 | 基于上下对开结构的单元组合式户外巨型幕墙系统 |
| JP2018141342A (ja) * | 2017-02-28 | 2018-09-13 | 立川ブラインド工業株式会社 | 遮蔽装置および巻取装置 |
| WO2020209355A1 (ja) * | 2019-04-12 | 2020-10-15 | 立川ブラインド工業株式会社 | ボールチェーンおよび遮蔽装置 |
| JP2021067335A (ja) * | 2019-10-25 | 2021-04-30 | 立川ブラインド工業株式会社 | ボールチェーン |
| JP7502013B2 (ja) | 2019-10-25 | 2024-06-18 | 立川ブラインド工業株式会社 | ボールチェーン |
Also Published As
| Publication number | Publication date |
|---|---|
| JP5877151B2 (ja) | 2016-03-02 |
| CA2832714C (en) | 2017-10-03 |
| EP2559840B1 (en) | 2018-03-21 |
| JP2016006291A (ja) | 2016-01-14 |
| JP6346352B2 (ja) | 2018-06-20 |
| KR20130038855A (ko) | 2013-04-18 |
| US9151109B2 (en) | 2015-10-06 |
| HK1173759A1 (zh) | 2013-05-24 |
| JP6073427B2 (ja) | 2017-02-01 |
| EP2559840A4 (en) | 2015-06-03 |
| CN102844517B (zh) | 2016-01-20 |
| JP2017160786A (ja) | 2017-09-14 |
| KR101851747B1 (ko) | 2018-04-24 |
| CN102844517A (zh) | 2012-12-26 |
| BR112012026042B1 (pt) | 2021-03-16 |
| AU2011241577B2 (en) | 2014-07-17 |
| JPWO2011129345A1 (ja) | 2013-07-18 |
| BR112012026042A2 (pt) | 2020-08-18 |
| CA2832714A1 (en) | 2011-10-20 |
| EP2559840A1 (en) | 2013-02-20 |
| SG184514A1 (en) | 2012-11-29 |
| MY157245A (en) | 2016-05-13 |
| US20130056164A1 (en) | 2013-03-07 |
| AU2011241577A1 (en) | 2012-11-08 |
| JP6246162B2 (ja) | 2017-12-13 |
| JP2016006292A (ja) | 2016-01-14 |
Similar Documents
| Publication | Publication Date | Title |
|---|---|---|
| JP6346352B2 (ja) | 日射遮蔽装置の操作装置 | |
| KR20170105568A (ko) | 윈도우 쉐이드 및 그 제어 시스템 | |
| JP4729595B2 (ja) | 日射遮蔽材昇降装置 | |
| JP2008231913A (ja) | 日射遮蔽材昇降装置 | |
| JP6077514B2 (ja) | 遮蔽装置 | |
| JP5650832B2 (ja) | 遮蔽装置 | |
| JP5859801B2 (ja) | 日射遮蔽装置 | |
| JP4119692B2 (ja) | 日射遮蔽材昇降装置 | |
| JP5214640B2 (ja) | 日射遮蔽材昇降装置 | |
| JP4474090B2 (ja) | 日射遮蔽材昇降装置 | |
| JP5421069B2 (ja) | 遮蔽装置 | |
| JP6313486B2 (ja) | 遮蔽装置 | |
| JP4729274B2 (ja) | 日射遮蔽装置の遮蔽材昇降装置 | |
| JP5309241B2 (ja) | 日射遮蔽材昇降装置 | |
| JP4516812B2 (ja) | 横型ブラインドのスラット駆動装置及び日射遮蔽装置の遮蔽材昇降装置 | |
| HK1173759B (en) | Operation device for solar shading device, lifting device for roll-up shade, and operating pulley | |
| JP5352705B2 (ja) | 日射遮蔽材昇降装置 |
Legal Events
| Date | Code | Title | Description |
|---|---|---|---|
| WWE | Wipo information: entry into national phase |
Ref document number: 201180018706.5 Country of ref document: CN |
|
| 121 | Ep: the epo has been informed by wipo that ep was designated in this application |
Ref document number: 11768866 Country of ref document: EP Kind code of ref document: A1 |
|
| WWE | Wipo information: entry into national phase |
Ref document number: 2012510661 Country of ref document: JP |
|
| NENP | Non-entry into the national phase |
Ref country code: DE |
|
| WWE | Wipo information: entry into national phase |
Ref document number: 13641060 Country of ref document: US |
|
| ENP | Entry into the national phase |
Ref document number: 20127029244 Country of ref document: KR Kind code of ref document: A |
|
| WWE | Wipo information: entry into national phase |
Ref document number: 9664/DELNP/2012 Country of ref document: IN |
|
| ENP | Entry into the national phase |
Ref document number: 2011241577 Country of ref document: AU Date of ref document: 20110412 Kind code of ref document: A |
|
| WWE | Wipo information: entry into national phase |
Ref document number: 2011768866 Country of ref document: EP |
|
| REG | Reference to national code |
Ref country code: BR Ref legal event code: B01A Ref document number: 112012026042 Country of ref document: BR |
|
| ENP | Entry into the national phase |
Ref document number: 2832714 Country of ref document: CA |
|
| ENP | Entry into the national phase |
Ref document number: 112012026042 Country of ref document: BR Kind code of ref document: A2 Effective date: 20121011 |