KR20180098656A - 기판 처리 방법 및 기판 처리 장치 - Google Patents

기판 처리 방법 및 기판 처리 장치 Download PDF

Info

Publication number
KR20180098656A
KR20180098656A KR1020187021935A KR20187021935A KR20180098656A KR 20180098656 A KR20180098656 A KR 20180098656A KR 1020187021935 A KR1020187021935 A KR 1020187021935A KR 20187021935 A KR20187021935 A KR 20187021935A KR 20180098656 A KR20180098656 A KR 20180098656A
Authority
KR
South Korea
Prior art keywords
substrate
inert gas
liquid
drying
head
Prior art date
Legal status (The legal status is an assumption and is not a legal conclusion. Google has not performed a legal analysis and makes no representation as to the accuracy of the status listed.)
Granted
Application number
KR1020187021935A
Other languages
English (en)
Other versions
KR102118274B1 (ko
Inventor
고지 하시모토
Original Assignee
가부시키가이샤 스크린 홀딩스
Priority date (The priority date is an assumption and is not a legal conclusion. Google has not performed a legal analysis and makes no representation as to the accuracy of the date listed.)
Filing date
Publication date
Application filed by 가부시키가이샤 스크린 홀딩스 filed Critical 가부시키가이샤 스크린 홀딩스
Publication of KR20180098656A publication Critical patent/KR20180098656A/ko
Application granted granted Critical
Publication of KR102118274B1 publication Critical patent/KR102118274B1/ko
Active legal-status Critical Current
Anticipated expiration legal-status Critical

Links

Images

Classifications

    • HELECTRICITY
    • H01ELECTRIC ELEMENTS
    • H01LSEMICONDUCTOR DEVICES NOT COVERED BY CLASS H10
    • H01L21/00Processes or apparatus adapted for the manufacture or treatment of semiconductor or solid state devices or of parts thereof
    • H01L21/02Manufacture or treatment of semiconductor devices or of parts thereof
    • H01L21/02041Cleaning
    • H01L21/02043Cleaning before device manufacture, i.e. Begin-Of-Line process
    • H01L21/02052Wet cleaning only
    • HELECTRICITY
    • H01ELECTRIC ELEMENTS
    • H01LSEMICONDUCTOR DEVICES NOT COVERED BY CLASS H10
    • H01L21/00Processes or apparatus adapted for the manufacture or treatment of semiconductor or solid state devices or of parts thereof
    • H01L21/67Apparatus specially adapted for handling semiconductor or electric solid state devices during manufacture or treatment thereof; Apparatus specially adapted for handling wafers during manufacture or treatment of semiconductor or electric solid state devices or components ; Apparatus not specifically provided for elsewhere
    • H01L21/67005Apparatus not specifically provided for elsewhere
    • H01L21/67011Apparatus for manufacture or treatment
    • H01L21/67017Apparatus for fluid treatment
    • H01L21/67028Apparatus for fluid treatment for cleaning followed by drying, rinsing, stripping, blasting or the like
    • H01L21/6704Apparatus for fluid treatment for cleaning followed by drying, rinsing, stripping, blasting or the like for wet cleaning or washing
    • H01L21/67051Apparatus for fluid treatment for cleaning followed by drying, rinsing, stripping, blasting or the like for wet cleaning or washing using mainly spraying means, e.g. nozzles
    • BPERFORMING OPERATIONS; TRANSPORTING
    • B08CLEANING
    • B08BCLEANING IN GENERAL; PREVENTION OF FOULING IN GENERAL
    • B08B3/00Cleaning by methods involving the use or presence of liquid or steam
    • B08B3/02Cleaning by the force of jets or sprays
    • B08B3/024Cleaning by means of spray elements moving over the surface to be cleaned
    • HELECTRICITY
    • H01ELECTRIC ELEMENTS
    • H01LSEMICONDUCTOR DEVICES NOT COVERED BY CLASS H10
    • H01L21/00Processes or apparatus adapted for the manufacture or treatment of semiconductor or solid state devices or of parts thereof
    • H01L21/02Manufacture or treatment of semiconductor devices or of parts thereof
    • H01L21/02041Cleaning
    • H01L21/02043Cleaning before device manufacture, i.e. Begin-Of-Line process
    • H01L21/02046Dry cleaning only
    • HELECTRICITY
    • H01ELECTRIC ELEMENTS
    • H01LSEMICONDUCTOR DEVICES NOT COVERED BY CLASS H10
    • H01L21/00Processes or apparatus adapted for the manufacture or treatment of semiconductor or solid state devices or of parts thereof
    • H01L21/02Manufacture or treatment of semiconductor devices or of parts thereof
    • H01L21/02041Cleaning
    • H01L21/02043Cleaning before device manufacture, i.e. Begin-Of-Line process
    • H01L21/02054Cleaning before device manufacture, i.e. Begin-Of-Line process combining dry and wet cleaning steps
    • HELECTRICITY
    • H01ELECTRIC ELEMENTS
    • H01LSEMICONDUCTOR DEVICES NOT COVERED BY CLASS H10
    • H01L21/00Processes or apparatus adapted for the manufacture or treatment of semiconductor or solid state devices or of parts thereof
    • H01L21/02Manufacture or treatment of semiconductor devices or of parts thereof
    • H01L21/02041Cleaning
    • H01L21/02057Cleaning during device manufacture
    • HELECTRICITY
    • H01ELECTRIC ELEMENTS
    • H01LSEMICONDUCTOR DEVICES NOT COVERED BY CLASS H10
    • H01L21/00Processes or apparatus adapted for the manufacture or treatment of semiconductor or solid state devices or of parts thereof
    • H01L21/02Manufacture or treatment of semiconductor devices or of parts thereof
    • H01L21/04Manufacture or treatment of semiconductor devices or of parts thereof the devices having potential barriers, e.g. a PN junction, depletion layer or carrier concentration layer
    • H01L21/18Manufacture or treatment of semiconductor devices or of parts thereof the devices having potential barriers, e.g. a PN junction, depletion layer or carrier concentration layer the devices having semiconductor bodies comprising elements of Group IV of the Periodic Table or AIIIBV compounds with or without impurities, e.g. doping materials
    • H01L21/30Treatment of semiconductor bodies using processes or apparatus not provided for in groups H01L21/20 - H01L21/26
    • H01L21/302Treatment of semiconductor bodies using processes or apparatus not provided for in groups H01L21/20 - H01L21/26 to change their surface-physical characteristics or shape, e.g. etching, polishing, cutting
    • H01L21/304Mechanical treatment, e.g. grinding, polishing, cutting
    • HELECTRICITY
    • H01ELECTRIC ELEMENTS
    • H01LSEMICONDUCTOR DEVICES NOT COVERED BY CLASS H10
    • H01L21/00Processes or apparatus adapted for the manufacture or treatment of semiconductor or solid state devices or of parts thereof
    • H01L21/67Apparatus specially adapted for handling semiconductor or electric solid state devices during manufacture or treatment thereof; Apparatus specially adapted for handling wafers during manufacture or treatment of semiconductor or electric solid state devices or components ; Apparatus not specifically provided for elsewhere
    • H01L21/67005Apparatus not specifically provided for elsewhere
    • H01L21/67011Apparatus for manufacture or treatment
    • H01L21/67017Apparatus for fluid treatment
    • H01L21/67028Apparatus for fluid treatment for cleaning followed by drying, rinsing, stripping, blasting or the like
    • HELECTRICITY
    • H01ELECTRIC ELEMENTS
    • H01LSEMICONDUCTOR DEVICES NOT COVERED BY CLASS H10
    • H01L21/00Processes or apparatus adapted for the manufacture or treatment of semiconductor or solid state devices or of parts thereof
    • H01L21/67Apparatus specially adapted for handling semiconductor or electric solid state devices during manufacture or treatment thereof; Apparatus specially adapted for handling wafers during manufacture or treatment of semiconductor or electric solid state devices or components ; Apparatus not specifically provided for elsewhere
    • H01L21/67005Apparatus not specifically provided for elsewhere
    • H01L21/67011Apparatus for manufacture or treatment
    • H01L21/67017Apparatus for fluid treatment
    • H01L21/67028Apparatus for fluid treatment for cleaning followed by drying, rinsing, stripping, blasting or the like
    • H01L21/67034Apparatus for fluid treatment for cleaning followed by drying, rinsing, stripping, blasting or the like for drying
    • HELECTRICITY
    • H01ELECTRIC ELEMENTS
    • H01LSEMICONDUCTOR DEVICES NOT COVERED BY CLASS H10
    • H01L21/00Processes or apparatus adapted for the manufacture or treatment of semiconductor or solid state devices or of parts thereof
    • H01L21/67Apparatus specially adapted for handling semiconductor or electric solid state devices during manufacture or treatment thereof; Apparatus specially adapted for handling wafers during manufacture or treatment of semiconductor or electric solid state devices or components ; Apparatus not specifically provided for elsewhere
    • H01L21/67005Apparatus not specifically provided for elsewhere
    • H01L21/67011Apparatus for manufacture or treatment
    • H01L21/6715Apparatus for applying a liquid, a resin, an ink or the like

Landscapes

  • Engineering & Computer Science (AREA)
  • Physics & Mathematics (AREA)
  • Condensed Matter Physics & Semiconductors (AREA)
  • General Physics & Mathematics (AREA)
  • Manufacturing & Machinery (AREA)
  • Computer Hardware Design (AREA)
  • Microelectronics & Electronic Packaging (AREA)
  • Power Engineering (AREA)
  • Cleaning Or Drying Semiconductors (AREA)

Abstract

기판의 상면에 저표면 장력 액체 공급 유닛으로부터 저표면 장력 액체가 공급되어 기판에 저표면 장력 액체의 액막이 형성된다. 유기 용제의 액막의 중앙 영역에 개구가 형성되고, 개구가 넓어짐으로써, 기판의 상면으로부터 액막이 배제된다. 저표면 장력 액체 공급 유닛으로부터 개구의 외측에 설정한 착액점을 향하여 저표면 장력 액체를 액막에 공급하면서, 개구의 넓어짐에 추종하도록 착액점을 이동시킨다. 개구의 내측에 설정된 건조 영역에 건조 헤드의 대향면을 대향시켜 대향면과 건조 영역의 사이의 공간에 그 공간 외보다도 저습도인 저습도 공간을 형성하면서, 건조 영역 및 대향면을 개구의 넓어짐에 추종하도록 이동시킨다.

Description

기판 처리 방법 및 기판 처리 장치
이 발명은, 액체로 기판을 처리하는 기판 처리 장치 및 기판 처리 방법에 관한 것이다. 처리 대상이 되는 기판에는, 예를 들어, 반도체 웨이퍼, 액정 표시 장치용 기판, 플라즈마 디스플레이용 기판, FED (Field Emission Display) 용 기판, 광 디스크용 기판, 자기 디스크용 기판, 광 자기 디스크용 기판, 포토마스크용 기판, 세라믹 기판, 태양 전지용 기판 등의 기판이 포함된다.
기판을 1 매씩 처리하는 매엽식의 기판 처리 장치에 의한 기판 처리에서는, 예를 들어, 스핀 척에 의해 거의 수평으로 유지된 기판에 대해 약액이 공급된다. 그 후, 린스액이 기판에 공급되고, 그것에 의해, 기판 상의 약액이 린스액으로 치환된다. 그 후, 기판 상의 린스액을 배제하기 위한 스핀 드라이 공정이 실시된다.
도 16 에 나타내는 바와 같이, 기판의 표면에 미세한 패턴이 형성되어 있는 경우, 스핀 드라이 공정에서는, 패턴 내부에 들어간 린스액을 제거할 수 없는 우려가 있고, 그것에 의해, 건조 불량이 생길 우려가 있다. 패턴 내부에 들어간 린스액의 액면 (공기와 액체의 계면) 은, 패턴 내에 형성되므로, 액면과 패턴의 접촉 위치에, 액체의 표면 장력이 작용한다. 이 표면 장력이 큰 경우에는, 패턴의 도괴가 일어나기 쉬워진다. 전형적인 린스액인 물은, 표면 장력이 크기 때문에, 스핀 드라이 공정에 있어서의 패턴의 도괴를 무시할 수 없다.
그래서, 물보다 표면 장력이 낮은 저표면 장력 액체인 이소프로필알코올 (Isopropyl Alcohol : IPA) 을 공급하는 수법이 제안되어 있다. 이 수법에서는, 패턴의 내부에 들어간 물을 IPA 로 치환하고, 그 후에 IPA 를 제거함으로써 기판의 상면을 건조시킨다.
예를 들어, 하기 특허문헌 1 의 웨이퍼 세정 장치는, IPA 토출 노즐과 질소 가스 토출 노즐이 선단에 형성된 노즐 헤드와, 기판의 상면의 거의 전체를 덮고, 저습도 가스를 토출 가능한 가스 토출 헤드를 가지고 있다. 스핀 드라이 공정에서는, 기판을 회전시킨 상태로 IPA 토출 노즐로부터 IPA 를 토출시킨 채로 노즐 헤드를 기판의 중심으로부터 둘레 가장자리를 향하여 이동시킴으로써, IPA 의 액막을 원심력에 의해 기판의 외측으로 밀어 낸다.
또, 원심력에 의해 액막이 밀려 나온 후에 기판의 상면에 남는 IPA 를 증발시켜 기판의 상면을 건조시키기 때문에, 노즐 헤드를 기판의 중심으로부터 둘레 가장자리를 향하여 이동시킬 때에 질소 가스 토출 노즐로부터 질소 가스를 토출시키거나, 노즐 헤드가 기판의 중심으로부터 둘레 가장자리를 향하여 이동하는 동안, 기판의 상면을 향하여 가스 토출 헤드로부터 저습도 가스를 토출시키거나 한다.
미국 특허 출원 공개 제2009/205684호 명세서
특허문헌 1 의 웨이퍼 세정 장치에서는, 기판의 상면에 약간 남는 IPA 를 신속하게 증발시키기 위해서는, 질소 토출 노즐로부터의 질소 가스를 기판의 상면에 강하게 분사할 필요가 있다. 그러나, 질소 가스가 강하게 분사되면, 기판 상의 패턴에 국부적인 외력이 작용하여, 패턴 도괴가 일어날 우려가 있다.
한편, 가스 토출 헤드는, 기판의 상면의 거의 전체를 덮는다. 그 때문에, 가스 토출 헤드와 기판의 상면의 사이에서 노즐 헤드를 이동시키지 않으면 안 되기 때문에, 가스 토출 헤드를 기판의 상면에 충분히 근접시킬 수 없다. 따라서, 기판을 신속하게 건조시킬 수 없는 우려가 있다.
또, 특허문헌 1 의 도 11 에는, 노즐 헤드와의 간섭을 피하면서 가스 토출 헤드를 기판의 상면에 근접시키기 위해서 가스 토출 헤드에 절결을 형성하는 구성도 개시되어 있다. 그러나, 이 구성에서는, 기판의 상면 전체에 가스 토출 헤드로부터 질소 가스가 계속 공급된다. 그 때문에, 원심력으로 IPA 의 액막을 제거하기 전에 국소적으로 IPA 가 다 증발하여 액막 균열이 발생한다. 그 결과, 기판이 노출된다. 이로써, 기판의 상면에 부분적으로 액적이 남는 경우가 있다. 이 액적은, 최종적으로 증발할 때까지, 기판 상의 패턴에 표면 장력을 계속 가한다. 이로써, 패턴 도괴가 일어날 우려가 있다.
그래서, 이 발명의 하나의 목적은, 저표면 장력 액체를 기판의 상면으로부터 양호하게 배제할 수 있는 기판 처리 방법 및 기판 처리 장치를 제공하는 것이다.
이 발명은, 기판을 수평으로 유지하는 기판 유지 공정과, 상기 수평으로 유지된 기판의 상면에, 물보다 표면 장력이 낮은 저표면 장력 액체의 액막을 형성하는 액막 형성 공정과, 상기 저표면 장력 액체의 액막의 중앙 영역에 개구를 형성하는 개구 형성 공정과, 상기 개구를 넓힘으로써, 상기 기판의 상면으로부터 상기 액막을 배제하는 액막 배제 공정과, 저표면 장력 액체를 공급하는 저표면 장력 액체 노즐로부터 상기 개구의 외측에 설정한 착액점을 향하여 저표면 장력 액체를 상기 액막에 공급하면서, 상기 개구의 넓어짐에 추종하도록 상기 착액점을 이동시키는 착액점 이동 공정과, 상기 개구의 내측에 설정된 건조 영역에, 상기 기판보다 평면에서 보아 사이즈가 작은 대향면을 갖는 건조 헤드의 상기 대향면을 대향시켜 상기 대향면과 상기 건조 영역의 사이의 공간에 그 공간 외보다도 저습도인 저습도 공간을 형성하면서, 상기 건조 영역 및 상기 대향면을 상기 개구의 넓어짐에 추종하도록 이동시키는 건조 영역 이동 공정을 포함하는, 기판 처리 방법을 제공한다.
이 방법에 의하면, 저표면 장력 액체의 액막의 개구의 내측에 설정된 건조 영역에 대향하는 대향면과 건조 영역의 사이의 공간에는, 그 공간 외보다도 저습도인 저습도 공간이 형성된다. 그 때문에, 건조 영역에 남은 저표면 장력 액체를 신속하게 증발시킬 수 있다.
건조 영역 및 대향면은, 액막의 개구의 넓어짐에 추종하여 이동한다. 그 때문에, 저표면 장력 액체의 액막이 배제된 후에 기판의 상면에 남은 저표면 장력 액체를 신속하게 증발시킬 수 있다. 게다가, 대향면이 대향하는 건조 영역은 비교적 넓기 때문에, 기판의 상면에 국부적인 외력이 작용하기 어렵다.
한편, 대향면은, 기판보다 평면에서 보아 사이즈가 작다. 그 때문에, 저표면 장력 액체 노즐을 회피한 위치, 즉 기판의 상면에 충분히 가까운 위치에 건조 헤드를 배치하면서 대향면을 이동시킬 수 있다. 이로써, 건조 영역에 남은 저표면 장력 액체를 한층 신속하게 증발시킬 수 있다.
건조 영역이 개구의 내측에 설정되어 있고, 착액점이 개구의 외측에 설정되어 있다. 그 때문에, 기판의 상면으로부터 액막이 배제될 때까지의 동안, 액막으로부터 저표면 장력 액체가 자연스럽게 증발하는 것을 억제하면서, 충분한 양의 저표면 장력 액체를 액막에 공급할 수 있다. 그 때문에, 개구의 넓어짐에 의해 액막이 배제되기 전에, 국소적인 액막의 증발에서 기인하여 액막 균열이 발생하는 것을 억제할 수 있다.
따라서, 저표면 장력 액체를 기판의 상면으로부터 양호하게 배제할 수 있다.
이 발명의 일 실시 형태에서는, 상기 건조 영역 이동 공정은, 상기 착액점의 이동에 추종하도록, 상기 착액점의 이동 궤적을 따라 상기 건조 영역을 이동시키는 공정을 포함한다. 그 때문에, 착액점에 착액한 저표면 장력 액체가 자연스럽게 증발하기 전에, 저표면 장력 액체를 건조 헤드에 의해 신속하게 증발시킬 수 있다.
이 발명의 일 실시 형태에서는, 상기 개구 형성 공정이, 상기 기판의 중앙 영역을 향하여 불활성 가스를 분사하는 불활성 가스 분사 공정을 포함한다. 또, 상기 불활성 가스 분사 공정이, 상기 액막 배제 공정이 완료될 때까지 계속된다.
이 방법에 의하면, 개구 형성 공정에 있어서, 액막의 중앙 영역을 향하여 불활성 가스를 분사시킴으로써, 개구를 효율적으로, 또한 확실하게 중앙 영역에 형성 할 수 있다. 또, 불활성 가스의 분사가, 액막 배제 공정이 완료될 때까지 계속된다. 이로써, 개구의 넓어짐이 촉진되어, 저표면 장력 액체를 보다 한층 신속하게 기판 외로 배제할 수 있다.
이 발명의 일 실시 형태에서는, 상기 기판 처리 방법이, 상기 액막 배제 공정과 병행하여 상기 기판을 회전시키는 기판 회전 공정을 추가로 포함한다.
이 방법에 의하면, 액막 배제 공정과 병행하여 기판을 회전시키므로, 기판의 회전에 의해 발생하는 원심력에 의해 개구의 넓어짐을 촉진할 수 있다. 이로써, 저표면 장력 액체를 한층 신속하게 기판 외로 배제할 수 있다. 또, 기판의 회전에 수반하여, 액막의 개구의 외측에서는, 저표면 장력 액체의 착액점이 기판을 주사하고, 개구의 내측에서는 건조 영역이 기판을 주사한다. 그것에 의해, 기판의 상면 전체에 대해, 균일한 건조 처리를 실시할 수 있다.
이 발명의 일 실시 형태에서는, 상기 기판 회전 공정이, 상기 기판의 회전을 서서히 감속시키는 회전 감속 공정을 포함한다.
액막 배제 공정의 초기 단계에서는, 액막의 개구가 작기 때문에, 건조 영역은, 기판의 상면의 중앙 영역 부근에 위치하고 있다. 한편, 액막 배제 공정의 종기 단계에서는, 액막의 개구가 커져 있으므로, 건조 영역은, 기판의 상면의 둘레 가장자리 부근에 위치하고 있다.
만일, 액막 배제 공정에 있어서의 기판의 회전 속도를 일정하게 하면, 액막 배제 공정의 종기 단계에 있어서 단위 시간당 기판 회전 방향으로 건조 영역이 기판의 상면을 상대 이동하는 거리는, 액막 배제 공정의 초기 단계에 있어서 단위 시간당 기판 회전 방향으로 건조 영역이 기판의 상면을 상대 이동하는 거리보다 커진다. 그 때문에, 액막 배제 공정의 종기 단계에서는, 액막 배제 공정의 초기 단계와 비교해서, 단위 면적당 기판 상면 건조 시간, 즉 건조 헤드의 대향면에 대향하는 시간이 짧다.
기판 회전 공정에 있어서 기판의 회전을 서서히 감속시킴으로써, 액막 배제 공정의 종기 단계에 있어서 단위 시간당 기판 회전 방향으로 건조 영역이 상대 이동하는 거리를 작게 하고, 단위 면적당 기판 상면 건조 시간을 길게 할 수 있다. 이로써, 액막 배제 공정의 초기 단계와 종기 단계에서, 단위 면적당 기판 상면 건조 시간의 차를 저감할 수 있다. 따라서, 이 방법에 의하면, 기판의 상면의 건조 불균일을 저감할 수 있다.
이 발명의 일 실시 형태에서는, 상기 건조 영역이, 상기 착액점에 대해 기판 회전 방향 하류측에 반보다 넓은 영역이 위치하도록 설정된다. 그 때문에, 착액점에 착액된 저표면 장력 액체가 자연스럽게 증발하기 전에 저표면 장력 액체를 한층 확실하게 증발시킬 수 있다.
이 발명의 일 실시 형태에서는, 상기 건조 영역이, 선형 (扇形) 의 평면 형상을 가지고 있고, 상기 선형의 사북 (要) 이 상기 착액점으로부터 먼 위치에 배치되고, 상기 선형의 호가 상기 착액점에 가깝게 또한 기판 회전 방향을 따르도록 배치되어 있다.
이 방법에 의하면, 선형의 평면 형상을 갖는 건조 영역에 있어서, 그 선형의 사북이 착액점으로부터 먼 위치에 배치되고, 그 선형의 호가 착액점의 근처에 배치되어 있다. 이로써, 선형의 호가 사북보다 기판의 둘레 가장자리측에 위치하므로, 기판 상면의 각 부가 건조 헤드의 대향면에 대향하는 시간, 즉 건조 시간의 차를 저감할 수 있다. 따라서, 기판의 상면의 건조 불균일을 저감할 수 있다.
이 발명의 일 실시 형태에서는, 상기 저표면 장력 액체 노즐과 상기 건조 헤드가 공통의 이동 부재에 지지되어 있고, 상기 착액점 이동 공정 및 상기 건조 영역 이동 공정이, 상기 이동 부재를 이동시키는 공정을 포함한다.
이 방법에 의하면, 착액점 이동 공정 및 건조 영역 이동 공정에 있어서, 저표면 장력 액체 노즐과 건조 헤드를 공통으로 지지하는 이동 부재를 이동시킴으로써, 저표면 장력 액체 노즐과 건조 헤드의 사이의 거리가 일정하게 유지된다. 따라서, 기판의 상면 전체를 균등한 조건으로 건조시킬 수 있으므로, 기판의 상면의 건조 불균일을 저감할 수 있다.
이 발명의 일 실시 형태에서는, 상기 건조 헤드가, 불활성 가스를 공급하는 불활성 가스 공급 헤드이다. 이로써, 저습도 공간의 습도를 불활성 가스에 의해 저감시킬 수 있다. 따라서, 기판의 상면으로부터 저표면 장력 액체를 신속하게 증발시킬 수 있으므로, 기판의 상면을 신속하게 건조시킬 수 있다.
이 발명의 일 실시 형태에서는, 상기 대향면이, 기판의 상면으로부터 상방으로 함몰되어 불활성 가스 저류 공간을 형성하고 있고, 상기 불활성 가스 공급 헤드가, 상기 불활성 가스 저류 공간에 불활성 가스를 공급하는 불활성 가스 도입구를 포함한다.
이 방법에 의하면, 대향면이, 기판의 상면으로부터 상방으로 함몰되어 불활성 가스 저류 공간을 형성하고 있다. 불활성 가스 저류 공간에는, 불활성 가스 도입구로부터 공급된 불활성 가스가 저류된다. 그 때문에, 불활성 가스 저류 공간에 저류된 불활성 가스에 의해 기판의 상면에 남은 저표면 장력 액체를 증발시킬 수 있다. 따라서, 건조 영역의 저표면 장력 액체를 보다 한층 신속하게 증발시킬 수 있다.
이 발명의 일 실시 형태에서는, 상기 불활성 가스 공급 헤드가, 상기 불활성 가스 저류 공간을 배기하는 배기구를 추가로 포함한다.
이 방법에 의하면, 배기구가 불활성 가스 저류 공간을 배기한다. 이로써, 기판의 상면으로부터 증발하여 증기가 된 저표면 장력 액체가, 불활성 가스 저류 공간을 통하여 저습도 공간으로부터 배제된다. 이로써, 저습도 공간을 보다 한층 저습도로 유지할 수 있으므로, 건조 영역의 저표면 장력 액체를 보다 한층 신속하게 증발시킬 수 있다.
이 발명의 일 실시 형태에서는, 상기 대향면이, 기판의 상면에 평행한 평탄면이며, 상기 대향면에 복수의 불활성 가스 토출구가 형성되어 있다. 또, 상기 불활성 가스 공급 헤드가, 상기 복수의 불활성 가스 토출구에 연통하는 불활성 가스 저류 공간과, 상기 불활성 가스 저류 공간에 불활성 가스를 공급하는 불활성 가스 도입구를 포함한다.
이 방법에 의하면, 불활성 가스 도입구로부터의 불활성 가스는 불활성 가스 저류 공간에 공급된다. 불활성 가스 저류 공간은, 기판의 상면에 평행한 평탄면인 대향면에 형성된 복수의 불활성 가스 토출구에 연통되어 있다. 그 때문에, 불활성 가스가 1 개의 토출구로부터 공급되는 경우와 비교해서, 넓은 범위에 균일하게 불활성 가스를 공급할 수 있기 때문에, 습도 불균일이 적은 저습도 공간을 형성할 수 있다. 따라서, 건조 영역의 저표면 장력 액체를 신속하게 증발시킬 수 있고, 또한, 기판의 상면의 건조 불균일을 저감할 수 있다. 또, 불활성 가스 토출구가 복수 있음으로써, 기판의 상면에 공급되는 불활성 가스의 기세를 저감할 수 있다. 그 때문에, 기판의 상면에 국부적으로 큰 외력이 작용하는 것을 억제할 수 있다.
이 발명의 일 실시 형태에서는, 상기 건조 헤드가, 상기 건조 영역을 가열하는 히터 유닛을 포함한다. 이로써, 건조 영역의 저표면 장력 액체의 증발을 한층 촉진할 수 있다.
이 발명의 일 실시 형태에서는, 상기 건조 헤드가, 상기 대향면과 상기 건조 영역의 사이의 공간을 배기하는 배기 유닛을 포함한다.
이 방법에 의하면, 대향면과 건조 영역의 사이의 공간을 배기하는 배기 유닛에 의해, 저표면 장력 액체의 증기를 저습도 공간으로부터 배제할 수 있다. 따라서, 건조 영역의 저표면 장력 액체를 한층 신속하게 증발시킬 수 있다.
이 발명의 일 실시 형태에서는, 기판 처리 장치는, 기판을 수평으로 유지하는 기판 유지 유닛과, 상기 기판 유지 유닛에 유지된 기판의 상면에 물보다 표면 장력이 낮은 저표면 장력 액체를 공급하는 저표면 장력 액체 공급 유닛과, 상기 기판 유지 유닛에 유지된 기판의 상면에 형성되는 상기 저표면 장력 액체의 액막의 중앙 영역에 개구를 형성하는 개구 형성 유닛과, 상기 기판 유지 유닛에 유지된 기판의 상면에 대향하고, 기판보다 평면에서 보아 사이즈가 작은 대향면을 가지며, 상기 대향면과 기판의 상면의 사이의 공간에 그 공간 외보다도 저습도인 저습도 공간을 형성함으로써 기판의 상면을 건조시키는 건조 헤드와, 상기 기판 유지 유닛에 유지된 기판의 상면을 따라 상기 건조 헤드를 이동시키는 건조 헤드 이동 유닛을 포함한다.
이 구성에 의하면, 기판 상에 저표면 장력 액체의 액막이 형성되고, 그 액막의 중앙 영역에 개구가 형성된다. 그 개구의 내측에 설정된 건조 영역에 대향하는 대향면과 건조 영역의 사이의 공간에는, 그 공간 외보다도 저습도인 저습도 공간이 형성된다. 그 때문에, 건조 영역에 남은 저표면 장력 액체를 신속하게 증발시킬 수 있다.
이 발명의 일 실시 형태에서는, 상기 기판 처리 장치가, 상기 저표면 장력 액체 공급 유닛, 상기 개구 형성 유닛, 상기 건조 헤드 및 상기 건조 헤드 이동 유닛을 제어하는 컨트롤러를 추가로 포함한다. 그리고, 상기 컨트롤러가, 상기 저표면 장력 액체 공급 유닛으로부터 기판의 상면에 저표면 장력 액체를 공급시키고, 상기 기판의 상면에 저표면 장력 액체의 액막을 형성하는 액막 형성 공정과, 상기 개구 형성 유닛에 의해 상기 액막의 중앙 영역에 개구를 형성하는 개구 형성 공정과, 상기 개구를 넓힘으로써 상기 기판의 상면으로부터 상기 액막을 배제하는 액막 배제 공정과, 상기 저표면 장력 액체 공급 유닛으로부터 공급되는 저표면 장력 액체의 착액점을 상기 개구의 외측에 설정하여 상기 개구의 넓어짐에 추종하도록 상기 착액점을 이동시키는 착액점 이동 공정과, 상기 개구의 내측에 설정한 건조 영역에 상기 건조 헤드의 상기 대향면을 대향시켜, 상기 개구의 넓어짐에 추종하도록 상기 건조 영역 및 상기 대향면을 이동시키는 건조 영역 이동 공정을 실행하도록 프로그램되어 있다.
이 구성에 의하면, 건조 영역 및 대향면은, 저표면 장력 액체의 액막의 개구의 넓어짐에 추종한다. 그 때문에, 저표면 장력 액체의 액막이 배제된 후에 기판의 상면에 남은 저표면 장력 액체를 신속하게 증발시킬 수 있다. 게다가, 대향면이 대향하는 건조 영역은 비교적 넓기 때문에, 기판의 상면에 국부적인 외력이 작용하기 어렵다.
한편, 대향면은, 기판보다 평면에서 보아 사이즈가 작다. 그 때문에, 저표면 장력 액체 노즐을 회피한 위치, 즉 기판의 상면에 충분히 가까운 위치에 건조 헤드를 배치하면서 대향면을 이동시킬 수 있다. 이로써, 건조 영역에 남은 저표면 장력 액체를 한층 신속하게 증발시킬 수 있다.
건조 영역이 개구의 내측에 설정되어 있고, 착액점이 개구의 외측에 설정되어 있으므로, 기판의 상면으로부터 액막이 배제될 때까지의 동안, 액막으로부터 저표면 장력 액체가 자연스럽게 증발하는 것을 억제하면서, 충분한 양의 저표면 장력 액체가 액막에 공급된다. 그 때문에, 개구의 넓어짐에 의해 액막이 배제되기 전에, 국소적인 액막의 증발에서 기인하여 액막 균열이 발생하는 것을 억제할 수 있다.
따라서, 저표면 장력 액체를 기판의 상면으로부터 양호하게 배제할 수 있다.
이 발명의 일 실시 형태에서는, 상기 컨트롤러가, 상기 건조 영역 이동 공정 에 있어서, 상기 착액점의 이동에 추종하도록, 상기 착액점의 이동 궤적을 따라 상기 건조 영역을 이동시키는 공정을 실행하도록 프로그램되어 있다. 그 때문에, 착액점에 착액한 저표면 장력 액체가 자연스럽게 증발하기 전에, 저표면 장력 액체를 건조 헤드에 의해 신속하게 증발시킬 수 있다.
이 발명의 일 실시 형태에서는, 상기 개구 형성 유닛이, 상기 기판 유지 유닛에 유지된 기판의 중앙 영역을 향하여 불활성 가스를 분사하는 불활성 가스 공급 유닛을 포함한다. 또, 상기 컨트롤러가, 상기 개구 형성 공정에 있어서, 상기 불활성 가스 공급 유닛으로부터 불활성 가스를 공급시키는 불활성 가스 분사 공정을 실행하고, 또한, 상기 액막 배제 공정이 완료될 때까지 상기 불활성 가스 분사 공정을 계속하도록 프로그램되어 있다.
이 구성에 의하면, 개구 형성 공정에 있어서, 액막의 중앙 영역을 향하여 불활성 가스를 분사함으로써, 개구를 효율적으로, 또한 확실하게 중앙 영역에 형성 할 수 있다. 또, 불활성 가스의 분사가, 액막 배제 공정이 완료될 때까지 계속된다. 이로써, 개구의 넓어짐이 촉진되어, 저표면 장력 액체를 보다 한층 신속하게 기판 외로 배제할 수 있다.
이 발명의 일 실시 형태에서는, 상기 기판 처리 장치가, 상기 기판 유지 유닛에 유지된 기판을 연직 방향을 따른 소정의 회전 축선 둘레로 회전시키는 기판 회전 유닛을 추가로 포함한다. 또, 상기 컨트롤러가, 상기 액막 배제 공정과 병행해서 상기 기판을 회전시키는 기판 회전 공정을 실행하도록 프로그램되어 있다.
이 구성에 의하면, 액막 배제 공정과 병행해서 기판을 회전시키므로, 기판의 회전에 의해 발생하는 원심력에 의해 개구의 넓어짐을 촉진할 수 있다. 이로써, 저표면 장력 액체를 한층 신속하게 기판 외로 배제할 수 있다. 또, 기판의 회전에 수반하여, 액막의 개구의 외측에서는, 저표면 장력 액체의 착액점이 기판을 주사하고, 개구의 내측에서는, 건조 영역이 기판을 주사한다. 그것에 의해, 기판의 상면 전체에 대해 균일한 건조 처리를 실시할 수 있다.
이 발명의 일 실시 형태에서는, 상기 컨트롤러가, 상기 기판 회전 공정에 있어서, 기판의 회전을 서서히 감속시키는 회전 감속 공정을 실행하도록 프로그램되어 있다.
이 구성에 의하면, 액막 배제 공정과 병행해서 실행되는 기판 회전 공정에 있어서, 기판의 회전을 서서히 감속시킴으로써, 기판의 상면의 건조 불균일을 저감 할 수 있다.
이 발명의 일 실시 형태에서는, 상기 컨트롤러는, 상기 착액점에 대해 기판 회전 방향 하류측에 반보다 넓은 영역이 위치하도록 상기 건조 영역을 설정하도록 프로그램되어 있다. 그 때문에, 착액점에 착액된 저표면 장력 액체가 자연스럽게 증발하기 전에 저표면 장력 액체를 한층 확실하게 증발시킬 수 있다.
이 발명의 일 실시 형태에서는, 상기 대향면이, 선형의 평면 형상을 가지고 있고, 상기 선형의 사북이 상기 착액점으로부터 먼 위치에 배치되고, 상기 선형의 호가 상기 착액점에 가깝게 또한 기판 회전 방향을 따르도록 배치되어 있다.
이 구성에 의하면, 선형의 평면 형상을 갖는 대향면에 있어서, 그 선형의 사북이 착액점으로부터 먼 위치에 배치되고, 그 선형의 호가 착액점의 근처에 배치되어 있다. 이로써, 사북보다 기판 회전 방향으로 큰 호를, 사북보다 기판의 둘레 가장자리측에 배치할 수 있다. 그 때문에, 선형의 호가 기판의 둘레 가장자리측에 위치하므로, 기판 상면의 각 부가 건조 헤드의 대향면에 대향하는 시간, 즉 건조 시간의 차를 저감할 수 있다. 따라서, 기판의 상면의 건조 불균일을 저감할 수 있다.
이 발명의 일 실시 형태에서는, 상기 저표면 장력 액체 공급 유닛이, 상기 기판 유지 유닛에 유지된 기판의 상면을 향하여 저표면 장력 액체를 공급하는 저표면 장력 액체 노즐을 포함한다. 또, 기판 처리 장치는, 상기 저표면 장력 액체 노즐과 상기 건조 헤드를 공통으로 지지하고, 상기 저표면 장력 액체 노즐 및 상기 건조 헤드를 상기 기판의 상방에서 이동시키는 이동 부재를 추가로 포함한다. 또, 상기 건조 헤드 이동 유닛이, 상기 이동 부재를 이동시킨다.
이 구성에 의하면, 저표면 장력 액체 노즐과 건조 헤드를 공통으로 지지하는 이동 부재를 이동시킴으로써, 저표면 장력 액체 노즐과 건조 헤드의 사이의 거리가 일정하게 유지된다. 따라서, 기판의 상면 전체를 균등한 조건으로 건조시킬 수 있으므로, 건조 불균일을 저감할 수 있다.
이 발명의 일 실시 형태에서는, 상기 건조 헤드가, 불활성 가스를 공급하는 불활성 가스 공급 헤드이다. 그 때문에, 저습도 공간의 습도를 불활성 가스에 의해 저감시킬 수 있다. 이로써, 기판의 상면으로부터 저표면 장력 액체를 신속하게 증발시킬 수 있으므로, 기판의 상면을 신속하게 건조시킬 수 있다.
이 발명의 일 실시 형태에서는, 상기 대향면이, 상기 기판 유지 유닛에 유지된 기판의 상면으로부터 상방으로 함몰되어 불활성 가스 저류 공간을 형성하고 있다. 또, 상기 불활성 가스 공급 헤드가, 상기 불활성 가스 저류 공간에 불활성 가스를 공급하는 불활성 가스 도입구를 포함한다.
이 구성에 의하면, 대향면이, 기판의 상면으로부터 상방으로 함몰되어 불활성 가스 저류 공간을 형성하고 있다. 불활성 가스 저류 공간에는, 불활성 가스 도입구로부터 공급된 불활성 가스가 저류된다. 그 때문에, 불활성 가스 저류 공간에 저류된 불활성 가스에 의해 기판의 상면에 남은 저표면 장력 액체를 증발시킬 수 있다. 따라서, 기판의 상면의 저표면 장력 액체를 보다 한층 신속하게 증발시킬 수 있다.
이 발명의 일 실시 형태에서는, 상기 불활성 가스 공급 헤드가, 상기 불활성 가스 저류 공간을 배기하는 배기구를 추가로 포함한다.
이 구성에 의하면, 불활성 가스 저류 공간을 배기하는 배기구에 의해, 기판의 상면으로부터 증발하여 증기가 된 저표면 장력 액체가, 불활성 가스 저류 공간을 통하여 저습도 공간으로부터 배제된다. 이로써, 저습도 공간을 보다 한층 저습도로 유지할 수 있으므로, 기판의 상면의 저표면 장력 액체를 보다 한층 신속하게 증발시킬 수 있다.
이 발명의 일 실시 형태에서는, 상기 대향면이, 기판의 상면에 평행한 평탄면이며, 상기 대향면에 복수의 불활성 가스 토출구가 형성되어 있다. 또, 상기 불활성 가스 공급 헤드는, 상기 복수의 불활성 가스 토출구에 연통하는 불활성 가스 저류 공간과, 상기 불활성 가스 저류 공간에 불활성 가스를 공급하는 불활성 가스 도입구를 포함한다.
이 구성에 의하면, 불활성 가스 도입구로부터의 불활성 가스는 불활성 가스 저류 공간에 공급된다. 불활성 가스 저류 공간은, 기판의 상면에 평행한 평탄면인 대향면에 형성된 복수의 불활성 가스 토출구에 연통되어 있다. 그 때문에, 불활성 가스가 1 개의 토출구로부터 공급되는 경우와 비교해서, 넓은 범위에 균일하게 불활성 가스를 공급할 수 있기 때문에, 습도 불균일이 적은 저습도 공간을 형성할 수 있다. 따라서, 기판의 상면의 저표면 장력 액체를, 불균일 없이, 또한 신속하게 증발시킬 수 있다. 또, 불활성 가스 토출구가 복수 있음으로써, 기판의 상면에 공급되는 불활성 가스의 기세를 저감할 수 있다. 그 때문에, 기판의 상면에 국부적으로 큰 외력이 작용하는 것을 억제할 수 있다.
이 발명의 일 실시 형태에서는, 상기 건조 헤드가, 상기 기판 유지 유닛에 유지된 기판의 상면을 가열하는 히터 유닛을 포함한다. 이로써, 기판의 상면의 저표면 장력 액체의 증발을 한층 촉진할 수 있다.
이 발명의 일 실시 형태에서는, 상기 건조 헤드가, 상기 대향면과 상기 기판 유지 유닛에 유지된 기판의 상면의 사이의 공간을 배기하는 배기 유닛을 포함한다.
이 구성에 의하면, 대향면과 기판의 상면의 사이의 공간을 배기하는 배기 유닛에 의해, 저표면 장력 액체의 증기를 저습도 공간으로부터 배제할 수 있다. 따라서, 기판의 상면의 저표면 장력 액체를 한층 신속하게 증발시킬 수 있다.
본 발명에 있어서의 상기 서술한, 또는 추가로 다른 목적, 특징 및 효과는, 첨부 도면을 참조하여 다음에 기술하는 실시 형태의 설명에 의해 밝혀진다.
도 1 은, 이 발명의 제 1 실시 형태에 관련된 기판 처리 장치의 내부의 레이아웃을 설명하기 위한 도해적인 평면도이다.
도 2 는, 상기 기판 처리 장치에 구비된 처리 유닛의 구성예를 설명하기 위한 도해적인 단면도이다.
도 3A 는, 상기 처리 유닛에 구비된 건조 헤드의 모식적인 종단면도이다.
도 3B 는, 도 3A 의 IIIb-IIIb 선을 따른 횡단면도이다.
도 4 는, 상기 기판 처리 장치의 주요부의 전기적 구성을 설명하기 위한 블록도이다.
도 5 는, 상기 기판 처리 장치에 의한 기판 처리의 일례를 설명하기 위한 흐름도이다.
도 6 은, 유기 용제 처리 (도 5 의 S4) 의 상세를 설명하기 위한 타임 차트이다.
도 7A 는, 유기 용제 처리 (도 5 의 S4) 의 모습을 설명하기 위한 도해적인 단면도이다.
도 7B 는, 유기 용제 처리 (도 5 의 S4) 의 모습을 설명하기 위한 도해적인 단면도이다.
도 7C 는, 유기 용제 처리 (도 5 의 S4) 의 모습을 설명하기 위한 도해적인 단면도이다.
도 7D 는, 유기 용제 처리 (도 5 의 S4) 의 모습을 설명하기 위한 도해적인 단면도이다.
도 8A 는, 도 7D 에 나타내는 구멍 넓힘 스텝에 있어서의 착액점 및 건조 영역의 이동 궤적을 모식적으로 나타낸 평면도이다.
도 8B 는, 도 8A 의 착액점 및 건조 영역의 주변의 확대도이다.
도 9 는, 제 1 실시 형태의 제 1 변형예에 관련된 처리 유닛에 구비된 건조 헤드를 나타낸 모식적인 단면도이다.
도 10 은, 제 1 실시 형태의 제 2 변형예에 관련된 처리 유닛에 구비된 건조 헤드를 나타낸 모식적인 단면도이다.
도 11 은, 제 1 실시 형태의 제 3 변형예에 관련된 처리 유닛에 구비된 건조 헤드를 나타낸 모식적인 단면도이다.
도 12 는, 제 1 실시 형태의 제 4 변형예에 관련된 처리 유닛에 구비된 건조 헤드를 나타낸 모식적인 단면도이다.
도 13 은, 제 1 실시 형태의 제 5 변형예에 관련된 처리 유닛에 구비된 건조 헤드를 나타낸 모식적인 단면도이다.
도 14 는, 본 발명의 제 2 실시 형태에 관련된 기판 처리 장치에 구비된 처리 유닛의 구성예를 설명하기 위한 도해적인 단면도이다.
도 15 는, 제 2 실시 형태에 있어서의 구멍 넓힘 스텝에 있어서의 착액점 및 건조 영역의 이동 궤적을 모식적으로 나타낸 평면도이다.
도 16 은, 표면 장력에 의한 패턴 도괴의 원리를 설명하기 위한 도해적인 단면도이다.
<제 1 실시 형태>
도 1 은, 이 발명의 제 1 실시 형태에 관련된 기판 처리 장치 (1) 의 내부의 레이아웃을 설명하기 위한 도해적인 평면도이다. 기판 처리 장치 (1) 는, 실리콘 웨이퍼 등의 기판 (W) 을 1 매씩 처리하는 매엽식의 장치이다. 이 실시 형태에서는, 기판 (W) 은, 원형상의 기판이다. 기판 (W) 의 직경은 예를 들어 300 mm 이다. 기판 (W) 의 표면에는, 미세한 패턴 (도 16 참조) 이 형성되어 있다. 기판 처리 장치 (1) 는, 처리액으로 기판 (W) 을 처리하는 복수의 처리 유닛 (2) 과, 처리 유닛 (2) 에서 처리되는 복수 매의 기판 (W) 을 수용하는 캐리어 (C) 가 재치되는 로드 포트 (LP) 와, 로드 포트 (LP) 와 처리 유닛 (2) 의 사이에서 기판 (W) 을 반송하는 반송 로봇 (IR 및 CR) 과, 기판 처리 장치 (1) 를 제어하는 컨트롤러 (3) 를 포함한다. 반송 로봇 (IR) 은, 캐리어 (C) 와 반송 로봇 (CR) 의 사이에서 기판 (W) 을 반송한다. 반송 로봇 (CR) 은, 반송 로봇 (IR) 과 처리 유닛 (2) 의 사이에서 기판 (W) 을 반송한다. 복수의 처리 유닛 (2) 은, 예를 들어, 동일한 구성을 가지고 있다.
도 2 는, 처리 유닛 (2) 의 구성예를 설명하기 위한 도해적인 단면도이다. 처리 유닛 (2) 은, 1 매의 기판 (W) 을 수평한 자세로 유지하면서, 기판 (W) 의 중심을 통과하는 연직인 회전 축선 (A1) 둘레로 기판 (W) 을 회전시키는 스핀 척 (5) 을 포함한다. 스핀 척 (5) 은, 도시되지 않은 벽면으로 외부로부터 격리되어 있다. 처리 유닛 (2) 은, 기판 (W) 을 하면 (하방측의 주면) 측으로부터 가열하는 히터 기구 (6) 와, 기판 (W) 의 상면 (상방측의 주면) 에 대향해서 기판 (W) 과의 사이의 분위기를 주위의 분위기로부터 차단하는 차단판 (7) 과, 스핀 척 (5) 을 둘러싸는 통형상의 컵 (8) 과, 기판 (W) 의 하면에 처리 유체를 공급하는 하면 노즐 (9) 을 추가로 포함한다.
처리 유닛 (2) 은, 기판 (W) 의 상면에 린스액으로서의 탈이온수 (DIW : Deionized Water) 를 공급하는 DIW 노즐 (10) 과, 기판 (W) 의 상면의 중앙 영역에 질소 가스 (N2) 등의 불활성 가스를 공급하는 불활성 가스 노즐 (11) 과, 기판 (W) 의 상방에서 이동 가능한 이동 노즐 (12) 을 추가로 포함한다. 기판 (W) 의 상면의 중앙 영역이란, 기판 (W) 의 상면에 있어서의 회전 축선 (A1) 과의 교차 위치를 포함하는 기판 (W) 의 상면의 중앙 및 그 근방의 영역이다.
처리 유닛 (2) 은, 물보다 표면 장력이 낮은 저표면 장력 액체로서의 유기 용제 (예를 들어 IPA) 를 기판 (W) 의 상면에 공급하는 유기 용제 노즐 (13) 과, 질소 가스 등의 불활성 가스를 기판 (W) 의 상면에 공급함으로써 기판 (W) 의 상면을 건조시키는 건조 헤드 (14) 를 추가로 포함한다. 본 실시 형태에서는, 건조 헤드 (14) 는, 불활성 가스를 공급하는 불활성 가스 공급 헤드이다.
처리 유닛 (2) 은, 컵 (8) 을 수용하는 챔버 (16) (도 1 참조) 를 추가로 포함한다. 도시는 생략하지만, 챔버 (16) 에는, 기판 (W) 을 반입/반출하기 위한 반입/반출구가 형성되어 있고, 이 반입/반출구를 개폐하는 셔터 유닛이 구비되어 있다.
스핀 척 (5) 은, 척 핀 (20) 과 스핀 베이스 (21) 와 회전축 (22) 과 기판 (W) 을 회전 축선 (A1) 둘레로 회전시키는 전동 모터 (23) 를 포함한다. 척 핀 (20) 및 스핀 베이스 (21) 는, 기판 (W) 을 수평으로 유지하는 기판 유지 유닛에 포함된다. 기판 유지 유닛은, 기판 홀더라고도 한다. 회전축 (22) 및 전동 모터 (23) 는, 척 핀 (20) 및 스핀 베이스 (21) 에 의해 유지된 기판 (W) 을 회전 축선 (A1) 둘레로 회전시키는 기판 회전 유닛에 포함된다.
회전축 (22) 은, 회전 축선 (A1) 을 따라 연직 방향으로 연장되어 있고, 이 실시 형태에서는, 중공축이다. 회전축 (22) 의 상단은, 스핀 베이스 (21) 의 하면의 중앙에 결합되어 있다. 스핀 베이스 (21) 는, 수평 방향을 따른 원반 형상을 가지고 있다. 스핀 베이스 (21) 의 상면의 둘레 가장자리부에는, 기판 (W) 을 파지하기 위한 복수의 척 핀 (20) 이 둘레 방향으로 간격을 두고 배치되어 있다.
히터 기구 (6) 는, 핫 플레이트의 형태를 가지고 있고, 원판상의 플레이트 본체 (45) 와 플레이트 본체 (45) 에 지지된 히터 (46) 를 포함한다. 히터 기구 (6) 는, 스핀 베이스 (21) 의 상방에 배치되어 있다. 히터 기구 (6) 의 하면에는, 회전 축선 (A1) 을 따라 연직 방향으로 연장되는 승강축 (24) 이 결합되어 있다. 승강축 (24) 은, 스핀 베이스 (21) 의 중앙부에 형성된 관통공과, 중공의 회전축 (22) 을 삽입 통과하고 있다. 승강축 (24) 의 하단은, 회전축 (22) 의 하단보다 더욱 하방으로까지 연장되어 있다. 이 승강축 (24) 의 하단에는, 히터 승강 기구 (26) 가 결합되어 있다. 히터 승강 기구 (26) 를 작동시킴으로써, 히터 기구 (6) 는, 스핀 베이스 (21) 의 상면에 가까운 하위치로부터, 기판 (W) 의 하면에 가까운 상위치까지의 사이에서 상하동한다.
히터 (46) 는, 플레이트 본체 (45) 에 내장되어 있는 저항체여도 된다. 히터 (46) 에 통전함으로써, 플레이트 본체 (45) 의 상면인 가열면 (45a) 이 실온 (예를 들어 20 ∼ 30 ℃) 보다 고온으로 가열된다. 히터 (46) 에 대한 급전선 (47) 은, 승강축 (24) 내로 통해지고 있다. 급전선 (47) 에는, 히터 (46) 에 전력을 공급하는 히터 통전 기구 (48) 가 접속되어 있다. 히터 통전 기구 (48) 는, 예를 들어, 전원 유닛을 포함한다.
하면 노즐 (9) 은, 중공의 승강축 (24) 을 삽입 통과하고 있다. 하면 노즐 (9) 은, 히터 기구 (6) 를 관통하고 있다. 하면 노즐 (9) 은, 기판 (W) 의 하면 중앙으로 향하는 토출구 (9a) 를 상단에 가지고 있다. 하면 노즐 (9) 에는, 온수 등의 가열 유체가, 가열 유체 공급관 (30) 을 통하여 가열 유체 공급원으로부터 공급되고 있다. 가열 유체 공급관 (30) 에는, 그 유로를 개폐하기 위한 가열 유체 밸브 (31) 가 끼워 장착되어 있다. 온수는, 실온보다 고온의 물이다. 온수는, 예를 들어 80 ℃ ∼ 85 ℃ 의 물이다. 가열 유체는, 온수에 한정하지 않고, 고온의 질소 가스 등의 기체여도 된다. 가열 유체는, 기판 (W) 을 가열할 수 있는 유체이면 된다.
차단판 (7) 은, 기판 (W) 과 거의 동일한 직경 또는 그 이상의 직경을 갖는 원판상으로 형성되어 있다. 차단판 (7) 은, 스핀 척 (5) 의 상방에서 거의 수평으로 배치되어 있다. 차단판 (7) 에 있어서 기판 (W) 의 상면과 대향하는 면과는 반대측의 면에는, 중공축 (27) 이 고정되어 있다.
중공축 (27) 에는, 연직 방향을 따라 중공축 (27) 을 승강시킴으로써, 중공축 (27) 에 고정된 차단판 (7) 을 승강시키는 차단판 승강 유닛 (28) 이 결합되어 있다. 차단판 승강 유닛 (28) 은, 하위치로부터 상위치까지의 임의의 위치 (높이) 에 차단판 (7) 을 위치시킬 수 있다. 차단판 승강 유닛 (28) 은, 예를 들어, 볼나사 기구 (도시 생략) 와, 그것에 구동력을 주는 전동 모터 (도시 생략) 를 포함한다.
불활성 가스 노즐 (11) 은, 기판 (W) 의 상면의 중심 영역을 향하여 질소 가스 (N2) 등의 불활성 가스를 공급할 수 있다. 불활성 가스란, 질소 가스에 한정하지 않고, 기판 (W) 의 표면 및 패턴에 대해 불활성인 가스이다. 불활성 가스는, 예를 들어 아르곤 등의 희가스류이다. 불활성 가스 노즐 (11) 에는, 질소 가스 등의 불활성 가스를 공급하는 제 1 불활성 가스 공급관 (43) 이 결합되어 있다. 제 1 불활성 가스 공급관 (43) 에는, 그 유로를 개폐하는 제 1 불활성 가스 밸브 (44) 가 끼워 장착되어 있다.
DIW 노즐 (10) 은, 이 실시 형태에서는, 기판 (W) 의 상면의 회전 중심을 향하여 DIW 를 토출하도록 배치된 고정 노즐이다. DIW 노즐 (10) 에는, DIW 공급원으로부터, DIW 공급관 (32) 을 통하여, DIW 가 공급된다. DIW 공급관 (32) 에는, 그 유로를 개폐하기 위한 DIW 밸브 (33) 가 끼워 장착되어 있다. DIW 노즐 (10) 은 고정 노즐일 필요는 없고, 적어도 수평 방향으로 이동하는 이동 노즐이어도 된다. 또, DIW 노즐 (10) 은, DIW 이외의 린스액을 공급하는 린스액 노즐이어도 된다. 린스액으로서는, 물 외에도, 탄산수, 전계 이온수, 오존수, 희석 농도 (예를 들어, 10 ∼ 100 ppm 정도) 의 염산수, 환원수 (수소수) 등을 예시할 수 있다.
이동 노즐 (12) 은, 노즐 이동 유닛 (29) 에 의해, 수평 방향 및 수직 방향으로 이동된다. 이동 노즐 (12) 은, 기판 (W) 의 상면의 회전 중심에 대향하는 위치와, 기판 (W) 의 상면에 대향하지 않는 홈 위치 (퇴피 위치) 의 사이에서 수평 방향으로 이동한다. 홈 위치는, 평면에서 보아, 스핀 베이스 (21) 의 외방의 위치이며, 보다 구체적으로는, 컵 (8) 의 외방의 위치여도 된다. 이동 노즐 (12) 은, 연직 방향으로의 이동에 의해, 기판 (W) 의 상면에 접근시키거나, 기판 (W) 의 상면으로부터 상방으로 퇴피시키거나 할 수 있다. 노즐 이동 유닛 (29) 은, 예를 들어, 연직 방향을 따른 회동축과, 회동축에 결합되어 수평으로 연장되는 아암과, 아암을 구동하는 아암 구동 기구를 포함한다.
이동 노즐 (12) 은, 이 실시 형태에서는, 산, 알칼리 등의 약액을 공급하는 약액 노즐로서의 기능을 가지고 있다. 보다 구체적으로는, 이동 노즐 (12) 은, 액체와 기체를 혼합해서 토출할 수 있는 2 류체 노즐의 형태를 가지고 있어도 된다. 2 류체 노즐은, 기체의 공급을 정지하여 액체를 토출하면 스트레이트 노즐로서 사용할 수 있다. 이동 노즐 (12) 에는, 약액 공급관 (34) 및 제 2 불활성 가스 공급관 (35) 이 결합되어 있다. 약액 공급관 (34) 에는, 그 유로를 개폐하는 약액 밸브 (36) 가 끼워 장착되어 있다. 제 2 불활성 가스 공급관 (35) 에는, 그 유로를 개폐하는 제 2 불활성 가스 밸브 (37) 가 끼워 장착되어 있다. 약액 공급관 (34) 에는, 약액 공급원으로부터, 산, 알칼리 등의 약액이 공급되고 있다. 제 2 불활성 가스 공급관 (35) 에는, 불활성 가스 공급원으로부터, 불활성 가스로서의 질소 가스가 공급되고 있다.
약액의 구체예는, 에칭액 및 세정액이다. 한층 더 구체적으로는, 약액은, 불산에 한정되지 않고, 황산, 아세트산, 질산, 염산, 불산, 암모니아수, 과산화수소 물, 유기산 (예를 들어, 시트르산, 옥살산 등), 유기 알칼리 (예를 들어, TMAH : 테트라메틸암모늄하이드로옥사이드 등), 계면 활성제, 부식 방지제 중 적어도 1 개를 포함하는 액이어도 된다. 이들을 혼합한 약액의 예로서는, SPM (sulfuric acid/hydrogen peroxide mixture : 황산과산화수소수 혼합액), SC1 (ammonia-hydrogen peroxide mixture : 암모니아 과산화수소수 혼합액) 등을 들 수 있다.
유기 용제 노즐 (13) 은, 기판 (W) 의 상면에 저표면 장력 액체를 공급하는 저표면 장력 액체 노즐의 일례이다. 저표면 장력 액체 노즐은, 기판 (W) 의 상면에 저표면 장력 액체를 공급하는 저표면 장력 액체 공급 유닛에 포함된다. 저표면 장력 액체로서는, IPA 에 한정하지 않고, 물보다 표면 장력이 작고, 또한, 기판 (W) 의 상면 및 기판 (W) 에 형성된 패턴 (도 16 참조) 과 화학 반응하지 않는 (반응성이 부족하다), IPA 이외의 유기 용제를 사용할 수 있다. 보다 구체적으로는, IPA, HFE (하이드로플루오로에테르), 메탄올, 에탄올, 아세톤 및 Trans-1,2디클로로에틸렌 중의 적어도 1 개를 포함하는 액을 저표면 장력 액체로서 사용할 수 있다. 또, 저표면 장력 액체는, 단체 성분만으로 이루어질 필요는 없고, 다른 성분과 혼합한 액체여도 된다. 예를 들어, IPA 액과 순수 (純水) 의 혼합액이어도 되고, IPA 액과 HFE 액의 혼합액이어도 된다.
처리 유닛 (2) 은, 건조 헤드 (14) 를 지지하는 이동 부재 (17) 와, 이동 부재 (17) 를 이동시키는 이동 유닛 (15) 을 추가로 포함한다. 이동 부재 (17) 는, 수평 방향으로 연장되는 아암을 포함한다. 이동 유닛 (15) 은, 연직 방향으로 연장되고, 이동 부재 (17) 에 연결된 회동축 (15a) 과, 회동축 (15a) 을 구동하는 회동축 구동 기구 (15b) 를 포함한다. 회동축 구동 기구 (15b) 는, 회동축 (15a) 을 연직인 회동 축선 둘레로 회동시킴으로써 기판 (W) 의 상면을 따라 이동 부재 (17) 를 요동시키고, 회동축 (15a) 을 연직 방향을 따라 승강함으로써, 이동 부재 (17) 를 상하동시킨다. 이동 부재 (17) 의 요동 및 승강에 따라, 건조 헤드 (14) 가 수평 방향 및 수직 방향으로 이동한다.
회동축 구동 기구 (15b) 는, 예를 들어, 볼나사 기구 (도시 생략) 와, 회동축 (15a) 을 승강시키기 위해서 당해 볼나사 기구에 구동력을 주는 제 1 전동 모터 (도시 생략) 와, 회동축 (15a) 을 회동 축선 둘레로 회동시키는 제 2 전동 모터 (도시 생략) 를 포함한다.
유기 용제 노즐 (13) 은, 건조 헤드 (14) 에 고정되어 있다. 상세하게는, 후술하는 도 3A 및 도 3B 도 참조하여, 유기 용제 노즐 (13) 은, 그 토출구 (13a) 를 기판 (W) 의 상면을 향한 상태로, 건조 헤드 (14) 를 상하로 관통하는 관통공 (14a) 내에서 고정되어 있다. 그 때문에, 건조 헤드 (14) 와 유기 용제 노즐 (13) 은, 공통의 이동 부재 (17) 에 의해 지지되어 있고, 이동 부재 (17) 에 의해 기판 (W) 의 상방에서 이동된다.
유기 용제 노즐 (13) 은, 기판 (W) 의 상면의 회전 중심에 대향하는 중앙 위치와, 기판 (W) 의 상면에 대향하지 않는 홈 위치 (퇴피 위치) 의 사이에서 이동 가능하다. 기판 (W) 의 상면의 회전 중심이란, 기판 (W) 의 상면에 있어서의 회전 축선 (A1) 과의 교차 위치이다. 홈 위치란, 평면에서 보아, 스핀 베이스 (21) 의 외방의 위치이다. 홈 위치란, 보다 구체적으로는, 컵 (8) 의 외방의 위치여도 된다. 동일하게, 건조 헤드 (14) 는, 기판 (W) 의 상면의 회전 중심에 대향하는 중앙 위치와, 기판 (W) 의 상면에 대향하지 않는 홈 위치 (퇴피 위치) 의 사이에서 이동 가능하다. 유기 용제 노즐 (13) 및 건조 헤드 (14) 는, 연직 방향으로의 이동에 의해, 기판 (W) 의 상면에 접근하거나 기판 (W) 의 상면으로부터 상방으로 퇴피하거나 할 수 있다.
유기 용제 노즐 (13) 에는, 유기 용제 노즐 (13) 에 저표면 장력 액체로서의 유기 용제 (본 실시 형태에서는 IPA) 를 공급하는 유기 용제 공급관 (38) 이 결합되어 있다. 유기 용제 공급관 (38) 에는, 그 유로를 개폐하는 유기 용제 밸브 (39) 가 끼워 장착되어 있다. 건조 헤드 (14) 에는, 건조 헤드 (14) 에 질소 가스 등의 불활성 가스를 공급하는 제 3 불활성 가스 공급관 (40) 이 결합되어 있다. 제 3 불활성 가스 공급관 (40) 에는, 그 유로를 개폐하는 제 3 불활성 가스 밸브 (41) 가 끼워 장착되어 있다. 또, 건조 헤드 (14) 에는, 건조 헤드 (14) 내 및 그 주변을 배기하는 배기관 (42) 이 결합되어 있다. 배기관 (42) 에는, 그 유로를 개폐하는 배기 밸브 (49) 가 끼워 장착되어 있다.
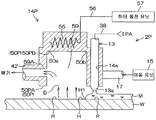
도 3A 는, 건조 헤드 (14) 의 모식적인 종단면도이며, 도 3B 는, 도 3A 의 IIIb-IIIb 선을 따른 횡단면도이다.
건조 헤드 (14) 는, 예를 들어 블록상의 형태를 가지고 있다. 건조 헤드 (14) 는, 수평 방향으로 길이 방향을 가지고 있고, 길이 방향의 크기가 90 mm 정도이다. 건조 헤드 (14) 는, 기판 (W) 의 상면에 대향하고, 기판 (W) 보다 평면에서 보아 사이즈가 작은 대향면 (50) 을 갖는다. 대향면 (50) 은, 기판 (W) 의 상면으로부터 상방으로 함몰되고, 불활성 가스 저류 공간 (51) 을 건조 헤드 (14) 내에 형성하고 있다. 대향면 (50) 은, 건조 헤드 (14) 의 하면에 의해 구성된 제 1 면 (50A) 과, 불활성 가스 저류 공간 (51) 의 천정면에 의해 구성된 제 2 면 (50B) 을 포함한다.
건조 헤드 (14) 는, 불활성 가스 저류 공간 (51) 을 배기하는 배기구 (52) 와, 불활성 가스 저류 공간 (51) 의 천정면에 형성된 복수의 불활성 가스 도입구 (53) 와, 복수의 불활성 가스 도입구 (53) 에 대해 불활성 가스 저류 공간 (51) 과는 반대측에 구획된 불활성 가스 공급실 (54) 을 포함한다.
배기구 (52) 에는, 전술한 배기관 (42) 이 연결되어 있다. 배기구 (52) 로부터 배출된 유기 용제나 불활성 가스 등의 기체는, 배기관 (42) 을 통하여 건조 헤드 (14) 의 외부로 보내진다. 불활성 가스 공급실 (54) 에는, 전술한 제 3 불활성 가스 공급관 (40) 이 연결되어 있다.
제 3 불활성 가스 공급관 (40) 으로부터 불활성 가스 공급실 (54) 에 공급된 불활성 가스는, 불활성 가스 공급실 (54) 내에서 확산되고, 복수의 불활성 가스 도입구 (53) 로부터 균일한 유량으로 불활성 가스 저류 공간 (51) 에 공급된다. 이 실시 형태에서는, 배기구 (52) 에 의한 불활성 가스 저류 공간 (51) 의 배기와, 불활성 가스 저류 공간 (51) 의 불활성 가스의 공급에 의해, 대향면 (50) 과 기판 (W) 의 상면의 사이의 공간의 유기 용제의 기체의 농도가 저감된다. 이로써, 대향면 (50) 과 기판 (W) 의 상면의 사이의 공간에 그 공간 외보다도 저습도인 저습도 공간 (B) 이 형성된다. 저습도 공간 (B) 은, 기판 (W) 의 상면의 유기 용제의 증발을 촉진하므로, 기판 (W) 의 상면의 유기 용제를 효율적으로 건조시킬 수 있다.
이와 같이, 건조 헤드 (14) 는, 기판 (W) 의 상면을 건조시키는 건조 헤드의 일례이다. 따라서, 이동 유닛 (15) 은, 기판 (W) 의 상면을 따라 건조 헤드 (14) 를 이동시키는 건조 헤드 이동 유닛으로서 기능한다.
대향면 (50) 의 제 2 면 (50B) 은, 대략 선형의 평면 형상을 가지고 있다. 상세하게는, 대향면 (50) 의 제 2 면 (50B) 이 형성하는 선형은, 유기 용제 노즐 (13) 이 삽입 통과된 관통공 (14a) 으로부터 먼 위치에 배치된 사북 (50a) 을 가지고 있다. 대향면 (50) 의 제 2 면 (50B) 이 형성하는 선형은, 사북 (50a) 보다 관통공 (14a) 에 가까운 위치에 배치된 호 (50b) 를 가지고 있다.
불활성 가스 저류 공간 (51) 은, 대략 선형의 평면 형상을 가지고 있다. 그 선형의 사북을 구성하는 부분 (51a) 은, 배기구 (52) 와 연통되어 있다. 당해 선형의 호를 구성하는 부분 (51b) 은, 유기 용제 노즐 (13) 보다 배기구 (52) 측에 위치하고 있다. 배기구 (52) 의 근처에 불활성 가스 저류 공간 (51) 의 선형의 사북을 구성하는 부분 (51a) 을 배치함으로써, 불활성 가스 저류 공간 (51) 내의 유기 용제의 증기를 집합시켜 배기구 (52) 로 유도할 수 있다. 이로써, 불활성 가스 저류 공간 (51) 을 효율적으로 배기할 수 있다.
도 4 는, 기판 처리 장치 (1) 의 주요부의 전기적 구성을 설명하기 위한 블록도이다. 컨트롤러 (3) 는, 마이크로 컴퓨터를 구비하고 있고, 소정의 제어 프로그램에 따라, 기판 처리 장치 (1) 에 구비된 제어 대상을 제어한다. 보다 구체적으로는, 컨트롤러 (3) 는, 프로세서 (CPU) (3A) 와, 제어 프로그램이 격납된 메모리 (3B) 를 포함하고, 프로세서 (3A) 가 제어 프로그램을 실행함으로써, 기판 처리를 위한 여러 가지 제어를 실행하도록 구성되어 있다. 특히, 컨트롤러 (3) 는, 반송 로봇 (IR, CR), 전동 모터 (23), 노즐 이동 유닛 (29), 이동 유닛 (15), 차단판 승강 유닛 (28), 히터 통전 기구 (48), 히터 승강 기구 (26), 밸브류 (31, 33, 36, 37, 39, 41, 44, 49) 등의 동작을 제어한다. 컨트롤러 (3) 는, 제 3 불활성 가스 밸브 (41) 및 배기 밸브 (49) 를 제어함으로써, 건조 헤드 (14) 를 제어한다.
도 5 는, 기판 처리 장치 (1) 에 의한 기판 처리의 일례를 설명하기 위한 흐름도이며, 주로, 컨트롤러 (3) 가 동작 프로그램을 실행함으로써 실현되는 처리가 나타나 있다. 미처리 기판 (W) 은, 반송 로봇 (IR, CR) 에 의해 캐리어 (C) 로부터 처리 유닛 (2) 에 반입되어 스핀 척 (5) 에 넘겨진다 (S1). 이 후, 기판 (W) 은, 반송 로봇 (CR) 에 의해 반출될 때까지, 스핀 척 (5) 에 수평으로 유지된다 (기판 유지 공정).
반송 로봇 (CR) 이 처리 유닛 (2) 외로 퇴피한 후, 약액 처리 (S2) 가 개시된다. 약액 처리 공정에서는, 먼저, 불활성 가스의 공급이 개시된다. 구체적으로는, 컨트롤러 (3) 는, 제 1 불활성 가스 밸브 (44) 를 열어, 기판 (W) 의 상면을 향하여 불활성 가스 노즐 (11) 로부터 불활성 가스를 공급시킨다. 이 때의 불활성 가스의 유량은 소유량이다. 소유량이란, 예를 들어 3 리터/min 미만의 유량이다.
컨트롤러 (3) 는, 전동 모터 (23) 를 구동하여, 스핀 베이스 (21) 를 소정의 약액 회전 속도로 회전시킨다. 컨트롤러 (3) 는, 차단판 승강 유닛 (28) 을 제어하여, 차단판 (7) 을 상위치로 위치시킨다. 그 한편으로, 컨트롤러 (3) 는, 노즐 이동 유닛 (29) 을 제어하여, 이동 노즐 (12) 을 기판 (W) 의 상방의 약액 처리 위치에 배치한다. 약액 처리 위치는, 이동 노즐 (12) 로부터 토출되는 약액이 기판 (W) 의 상면의 회전 중심에 착액하는 위치여도 된다. 그리고, 컨트롤러 (3) 는, 약액 밸브 (36) 를 연다. 그것에 의해, 회전 상태의 기판 (W) 의 상면을 향하여, 이동 노즐 (12) 로부터 약액이 공급된다. 공급된 약액은 원심력에 의해 기판 (W) 의 상면 전체에 널리 퍼진다.
일정 시간의 약액 처리 후, 기판 (W) 상의 약액을 DIW 로 치환함으로써, 기판 (W) 의 상면으로부터 약액을 배제하기 위한 DIW 린스 처리 (S3) 가 실행된다. 구체적으로는, 컨트롤러 (3) 는, 약액 밸브 (36) 를 닫고, 대신에, DIW 밸브 (33) 를 연다. 그것에 의해, 회전 상태의 기판 (W) 의 상면을 향하여 DIW 노즐 (10) 로부터 DIW 가 공급된다. 공급된 DIW 는 원심력에 의해 기판 (W) 의 상면 전체에 널리 퍼진다. 이 DIW 에 의해 기판 (W) 상의 약액이 씻겨진다. 이 동안에, 컨트롤러 (3) 는, 노즐 이동 유닛 (29) 을 제어하여, 이동 노즐 (12) 을 기판 (W) 의 상방으로부터 컵 (8) 의 측방으로 퇴피시킨다.
DIW 린스 처리에 있어서도, 불활성 가스 노즐 (11) 에 의한 불활성 가스의 공급과, 스핀 베이스 (21) 에 의한 기판 (W) 의 회전이 계속된다. DIW 린스 처리에 있어서도 불활성 가스는, 소유량으로 공급된다. 기판 (W) 은, 소정의 DIW 린스 회전 속도로 회전된다.
일정 시간의 DIW 린스 처리 후, 기판 (W) 상의 DIW 를, 물보다 표면 장력이 낮은 저표면 장력 액체인 유기 용제 (예를 들어 IPA) 로 치환하는 유기 용제 처리 (S4) 가 실행된다.
유기 용제 처리가 실행되는 동안, 기판 (W) 을 가열해도 된다. 구체적으로는, 컨트롤러 (3) 가, 히터 승강 기구 (26) 를 제어하여, 히터 기구 (6) 를 상위치로 위치시킨다. 그리고, 컨트롤러 (3) 는, 히터 통전 기구 (48) 를 제어하여, 히터 기구 (6) 에 통전시킨다. 이로써, 기판 (W) 이 가열된다. 기판 (W) 은, 반드시 히터 기구 (6) 에 의해 가열될 필요는 없다. 즉, 컨트롤러 (3) 가, 가열 유체 밸브 (31) 를 열어, 하면 노즐 (9) 로부터 가열 유체를 공급시킴으로써, 기판 (W) 이 가열되어도 된다.
컨트롤러 (3) 는, 이동 유닛 (15) 을 제어하여, 기판 (W) 의 상방의 유기 용제 린스 위치로 유기 용제 노즐 (13) 을 이동시킨다. 유기 용제 린스 위치는, 유기 용제 노즐 (13) 의 토출구 (13a) 로부터 토출되는 유기 용제 (예를 들어 IPA) 가 기판 (W) 의 상면의 회전 중심에 착액하는 위치여도 된다.
그리고, 컨트롤러 (3) 는, 차단판 승강 유닛 (28) 을 제어하여, 차단판 (7) 을 상위치와 하위치의 사이의 처리 위치에 위치시킨다. 처리 위치는, 유기 용제 노즐 (13) 및 건조 헤드 (14) 가 차단판 (7) 과 기판 (W) 의 사이에서 수평으로 이동할 수 있는 위치이다. 그리고, 컨트롤러 (3) 는, DIW 밸브 (33) 를 닫고, 유기 용제 밸브 (39) 를 연다. 그것에 의해, 회전 상태의 기판 (W) 의 상면을 향하여, 유기 용제 노즐 (13) 로부터 유기 용제가 공급된다. 공급된 유기 용제는, 원심력에 의해 기판 (W) 의 상면 전체에 널리 퍼져, 기판 (W) 상의 DIW 를 치환한다. 유기 용제에 의해 DIW 를 치환한 후, 기판 (W) 에 발수제를 공급하는 다른 노즐 (도시 생략) 을 사용하여 기판 (W) 의 상면에 발수제를 공급하고, 유기 용제를 발수제로 치환한 후, 발수제를 유기 용제에 의해 치환해도 된다.
유기 용제 처리에 있어서, 컨트롤러 (3) 는, 스핀 척 (5) 의 회전을 감속하고, 또한, 유기 용제의 공급을 정지한다. 그것에 의해, 기판 (W) 상에 유기 용제의 액막이 형성된다 (액막 형성 공정).
유기 용제 액막의 배제에 있어서, 컨트롤러 (3) 가 제 1 불활성 가스 밸브 (44) 를 제어함으로써, 기판 (W) 의 중앙 영역을 향하여 불활성 가스 노즐 (11) 로부터 불활성 가스가 분사된다 (불활성 가스 분사 공정).
이로써, 불활성 가스가 분사되는 위치, 즉, 기판 (W) 의 중앙 영역에 있어서, 유기 용제 액막이 불활성 가스에 의해 배제된다. 이로써, 유기 용제 액막의 중앙 영역에, 기판 (W) 의 표면을 노출시키는 개구가 형성된다 (개구 형성 공정). 이와 같이, 불활성 가스 노즐 (11) 은, 유기 용제 액막의 중앙 영역을 향하여 불활성 가스를 분사하는 불활성 가스 공급 유닛에 포함된다. 또, 불활성 가스 노즐 (11) 은, 유기 용제 액막의 중앙 영역에 개구를 형성하는 개구 형성 유닛에도 포함된다. 유기 용제 액막의 중앙 영역이란, 평면에서 보아 기판 (W) 의 상면의 중앙 영역과 겹치는 영역이다. 이 개구를 넓힘으로써, 기판 (W) 상의 유기 용제가 기판 (W) 외로 배출된다 (액막 배제 공정). 컨트롤러 (3) 는, 전동 모터 (23) 를 제어하여, 액막 배제 공정과 병행해서 기판 (W) 을 회전시킨다 (기판 회전 공정). 불활성 가스 분사 공정은, 액막 배제 공정이 완료될 때까지 계속된다.
불활성 가스의 분사에 의해 유기 용제 액막에 부가되는 힘과, 기판 (W) 의 회전에 의한 원심력에 의해 개구가 넓어진다. 개구의 넓어짐에 의해, 기판 (W) 의 상면으로부터 유기 용제 액막이 배제된다. 개구의 넓어짐에 수반하여, 컨트롤러 (3) 는, 이동 유닛 (15) 을 제어하여, 유기 용제 노즐 (13) 및 건조 헤드 (14) 를 기판 (W) 의 둘레 가장자리로 향하여 이동시킨다. 그 때, 컨트롤러 (3) 는, 유기 용제 밸브 (39) 를 열어, 유기 용제 액막에 유기 용제 노즐 (13) 로부터 유기 용제를 공급시키면서, 제 3 불활성 가스 밸브 (41) 를 열어 유기 용제 액막이 배제되어 노출된 기판 (W) 의 상면에 불활성 가스를 공급시켜 기판 (W) 의 상면을 건조시킨다. 또, 컨트롤러 (3) 는, 배기 밸브 (49) 를 열어, 불활성 가스 저류 공간 (51) 을 배기한다.
그리고, 유기 용제 처리를 끝낸 후, 컨트롤러 (3) 는, 유기 용제 밸브 (39), 제 3 불활성 가스 밸브 (41) 및 배기 밸브 (49) 를 닫는다. 그 후, 컨트롤러 (3) 는, 이동 유닛 (15) 을 제어하여, 유기 용제 노즐 (13) 및 건조 헤드 (14) 를 홈 위치로 퇴피시킨다. 또, 컨트롤러 (3) 는, 제 1 불활성 가스 밸브 (44) 를 닫아 불활성 가스 노즐 (11) 로부터의 불활성 가스의 공급을 정지시킨다. 그리고, 컨트롤러 (3) 는, 전동 모터 (23) 를 제어하여, 기판 (W) 을 건조 회전 속도로 고속 회전시킨다. 그것에 의해, 기판 (W) 상의 액 성분을 원심력에 의해 털어내기 위한 건조 처리 (S5 : 스핀 드라이) 가 실시된다.
스핀 드라이에서는, 컨트롤러 (3) 는, 전동 모터 (23) 를 제어하여, 기판 (W) 을 소정의 건조 회전 속도로 고속 회전시킨다. 건조 회전 속도는, 예를 들어 800 rpm 이다. 이로써, 기판 (W) 상의 액 성분을 원심력에 의해 털어낸다. 스핀 드라이는, 컨트롤러 (3) 가 차단판 승강 유닛 (28) 을 제어하여 차단판 (7) 을 하위치로 이동시킨 상태로 실시된다.
그 후, 전동 모터 (23) 를 제어하여 스핀 척 (5) 의 회전을 정지시킨다. 그리고, 컨트롤러 (3) 는, 차단판 승강 유닛 (28) 을 제어하여 차단판 (7) 을 상위치로 퇴피시킨다. 그리고, 컨트롤러 (3) 는, 제 1 불활성 가스 밸브 (44) 를 닫아 불활성 가스 노즐 (11) 에 의한 불활성 가스의 공급을 정지시킨다.
그 후, 반송 로봇 (CR) 이, 처리 유닛 (2) 에 진입하여, 스핀 척 (5) 으로부터 처리 완료된 기판 (W) 을 건져 올려, 처리 유닛 (2) 외로 반출한다 (S6). 그 기판 (W) 은, 반송 로봇 (CR) 으로부터 반송 로봇 (IR) 으로 넘겨지고, 반송 로봇 (IR) 에 의해, 캐리어 (C) 에 수납된다.
도 6 은, 유기 용제 처리 (도 5 의 S4) 의 상세를 설명하기 위한 타임 차트이다. 도 7A ∼ 도 7D 는, 유기 용제 처리 (도 5 의 S4) 의 모습을 설명하기 위한 처리 유닛 (2) 의 주요부의 도해적인 단면도이다.
유기 용제 처리는, 유기 용제 린스 스텝 T1 과 액막 형성 스텝 T2 와 천공 스텝 T3 과 구멍 넓힘 스텝 T4 를 포함하고, 이들이 순서대로 실행된다. 도 6 에 있어서 「IPA 노즐 위치」 는, 유기 용제 노즐 (13) 의 위치를 나타내고, 「IPA 토출」 은, 유기 용제 노즐 (13) 로부터의 유기 용제의 토출 상황을 나타낸다.
유기 용제 린스 스텝 T1 은, 기판 (W) 을 회전시키면서, 기판 (W) 의 상면에 저표면 장력 액체로서의 유기 용제를 공급하는 스텝 (저표면 장력 액체 공급 공정, 액막 형성 공정) 이다. 도 7A 에 나타내는 바와 같이, 기판 (W) 의 상면에 유기 용제 노즐 (13) 로부터 유기 용제 (예를 들어 IPA) 가 공급된다. 공급된 유기 용제는, 원심력을 받아 기판 (W) 의 상면의 중심 영역으로부터 둘레 가장자리로 향한다. 그 때문에, DIW 린스 처리 (도 5 의 S3) 로 기판 (W) 의 상면에 공급된 DIW (린스액) 가 모두 유기 용제로 치환된다.
유기 용제 린스 스텝 T1 에서는, 컨트롤러 (3) 는, 차단판 승강 유닛 (28) 을 제어하여 차단판 (7) 을 처리 위치에 위치시킨다. 기판 (W) 의 상면은, 처리 위치에 위치하는 차단판 (7) 에 의해 덮여 있다. 그 때문에, 차단판 (7) 과 기판 (W) 의 상면의 사이의 공간은 외부의 공간으로부터 차단되어 있다. 그 때문에, 처리 유닛 (2) 의 벽면으로부터 튀어오른 액적이나 분위기 중의 미스트 등이 기판 (W) 의 상면에 부착되는 것을 억제 또는 방지할 수 있다.
또, 유기 용제 린스 스텝 T1 에서는, 불활성 가스 노즐 (11) 로부터의 소유량으로의 불활성 가스의 공급이 계속된다.
유기 용제 린스 스텝 T1 의 기간 중, 기판 (W) 은, 스핀 척 (5) 에 의해, 소정의 유기 용제 린스 처리 속도로 회전된다. 유기 용제 린스 처리 속도는, 예를 들어 300 rpm 이다. 유기 용제 노즐 (13) 은, 중심 위치에 배치된다. 중심 위치란, 기판 (W) 의 회전 축선 (A1) 상에서 기판 (W) 에 상방으로부터 대향하는 위치이다. 유기 용제 밸브 (39) 는 개방 상태로 된다. 따라서, 유기 용제 (예를 들어 IPA) 가 기판 (W) 의 상면의 회전 중심을 향하여 상방으로부터 공급된다. 이동 노즐 (12) 은, 컵 (8) 의 측방의 홈 위치로 퇴피하고 있다. 약액 밸브 (36) 및 제 2 불활성 가스 밸브 (37) 는 폐쇄 상태로 제어된다.
액막 형성 스텝 T2 는, 도 7B 에 나타내는 바와 같이, 기판 (W) 의 회전을 감속시켜 기판 (W) 으로부터 비산하는 유기 용제의 양을 감소시킴으로써, 유기 용제의 액막 (M) 의 막두께를 성장시키는 스텝이다. 액막 형성 스텝 T2 에서는, 막두께가 큰 액막 (M) (예를 들어 막두께 1 mm) 이 기판 (W) 의 표면에 형성된다.
기판 (W) 의 회전은, 이 예에서는, 유기 용제 린스 처리 속도로부터 단계적 또는 연속적으로 감속된다. 보다 구체적으로는, 기판 (W) 의 회전 속도는, 300 rpm 으로부터, 50 rpm 으로 감속되어 소정 시간 (예를 들어 10 초) 유지되고, 그 후, 10 rpm 으로 감속되어 소정 시간 (예를 들어 30 초) 유지된다. 액막 형성 스텝 T2 에서는, 도 6 에 있어서의 「기판 회전 속도」 이외의 조건에 대해서는, 유기 용제 린스 스텝 T1 과 동일한 조건으로 유지된다. 유기 용제 노즐 (13) 은, 중심 위치에 유지되고, 계속해서, 기판 (W) 의 상면의 회전 중심을 향하여 유기 용제를 공급한다. 유기 용제 노즐 (13) 로부터의 유기 용제의 공급이, 액막 형성 스텝 T2 가 끝날 때까지 계속됨으로써, 기판 (W) 의 상면이 이르는 곳에서 유기 용제가 상실되는 일이 없다.
천공 스텝 T3 은, 도 7C 에 나타내는 바와 같이, 액막 (M) 의 중앙 영역에 작은 개구 (H) (예를 들어 직경 30 mm 정도) 를 엶으로써, 기판 (W) 의 상면의 중앙 영역을 노출시키는 스텝이다 (개구 형성 공정). 천공 스텝 T3 에서는, 불활성 가스 노즐 (11) 로부터 액막 (M) 의 중앙 영역을 향하여 수직으로 대유량 (예를 들어 3 리터/min) 으로 불활성 가스 (예를 들어 질소 가스) 가 분사됨으로써 액막 (M) 에 개구 (H) 가 형성된다 (불활성 가스 분사 공정).
천공 스텝 T3 에서는, 반드시 불활성 가스 분사 공정이 실행될 필요는 없다. 예를 들어, 기판 (W) 을 가열함으로써, 중앙 영역의 유기 용제를 증발시키고, 그것에 따라, 액막 (M) 의 중앙 영역에 개구 (H) 를 형성시켜도 된다 (개구 형성 공정). 컨트롤러 (3) 가, 가열 유체 밸브 (31) 를 열어, 하면 노즐 (9) 로부터 기판 (W) 의 하면의 중앙 영역으로 가열 유체를 공급시킴으로써, 기판 (W) 이 가열된다. 이 때, 불활성 가스는 기판 (W) 에 분사되지 않아도 된다. 이와 같이, 하면 노즐 (9) 은, 액막 (M) 의 중앙 영역에 개구 (H) 를 형성하는 개구 형성 유닛으로서 기능하는 것이 가능하다. 또, 기판 (W) 의 상면에 대한 불활성 가스의 분사와, 가열 유체에 의한 기판 (W) 의 하면의 중앙 영역의 가열의 양방에 의해 액막 (M) 에 개구 (H) 가 형성되어도 된다.
천공 스텝 T3 의 기간 중, 컨트롤러 (3) 는, 유기 용제 밸브 (39) 를 제어하여, 유기 용제 노즐 (13) 로부터의 유기 용제의 공급을 정지한다. 또, 천공 스텝 T3 의 기간 중, 차단판 (7) 은, 처리 위치에서 유지된다.
천공 스텝 T3 의 기간 중, 컨트롤러 (3) 는, 이동 유닛 (15) 을 제어함으로써, 유기 용제 노즐 (13) 및 건조 헤드 (14) 를 천공 위치에 위치시킨다. 천공 위치는, 기판 (W) 의 중앙 영역으로부터 기판 (W) 의 둘레 가장자리측으로 약간 어긋난 위치이다. 유기 용제 노즐 (13) 및 건조 헤드 (14) 가 천공 위치에 위치함으로써, 불활성 가스 노즐 (11) 은, 유기 용제 노즐 (13) 및 건조 헤드 (14) 에 의해 저해되는 일 없이, 액막 (M) 의 중앙 영역에 불활성 가스를 공급할 수 있다. 도 7C 에서는, 불활성 가스 노즐 (11) 의 하방에 건조 헤드 (14) 가 위치하지만, 실제로는, 천공 위치는, 불활성 가스 노즐 (11) 로부터 불활성 가스가 분사되는 기판 (W) 의 상면의 중앙 영역을 피한 위치이다.
천공 스텝 T3 에서는, 컨트롤러 (3) 는, 전동 모터 (23) 를 제어하여 스핀 베이스 (21) 의 회전을 서서히 가속시킨다. 구체적으로는, 스핀 베이스 (21) 의 회전은, 소정의 개구 형성 속도가 될 때까지 가속된다. 개구 형성 속도는, 예를 들어 30 rpm 이다. 개구 형성 속도는, 30 rpm 에 한정되지 않고, 10 rpm ∼ 50 rpm 의 범위에서 변경 가능하다.
구멍 넓힘 스텝 T4 는, 도 7D 에 나타내는 바와 같이, 기판 (W) 을 회전시킴으로써 액막 (M) 의 개구 (H) 를 넓힘으로써 기판 (W) 의 상면으로부터 액막 (M) 을 배제하는 스텝이다 (액막 배제 공정, 기판 회전 공정). 구멍 넓힘 스텝 T4 에서는, 기판 회전 공정은, 액막 배제 공정과 병행해서 실행된다. 즉, 기판 (W) 의 상면으로부터 액막 (M) 이 배제될 때까지의 동안, 기판 (W) 의 회전은 유지된다.
구멍 넓힘 스텝 T4 에서는, 컨트롤러 (3) 는, 전동 모터 (23) 를 제어하여, 스핀 베이스 (21) 의 회전이 소정의 액막 배제 속도가 될 때까지 서서히 감속시킨다 (회전 감속 공정). 액막 배제 속도는, 예를 들어 10 rpm 이다. 액막 배제 속도는, 10 rpm 에 한정되지 않고, 10 rpm ∼ 30 rpm 의 범위에서 변경 가능하다.
구멍 넓힘 스텝 T4 에서는, 불활성 가스 노즐 (11) 에 의한 기판 (W) 의 중앙 영역에 대한 불활성 가스의 분사가 유지된다 (불활성 가스 분사 공정). 불활성 가스 노즐 (11) 에 의한 불활성 가스의 분사는, 기판 (W) 의 상면으로부터 액막 (M) 이 배제될 때까지의 동안, 즉 액막 배제 공정이 완료될 때까지 계속된다.
구멍 넓힘 스텝 T4 에서는, 컨트롤러 (3) 는, 유기 용제 밸브 (39) 를 제어하여, 유기 용제 노즐 (13) 로부터 기판 (W) 의 상면에 대한 유기 용제의 공급을 재개한다. 유기 용제 노즐 (13) 로부터 공급되는 유기 용제의 온도 (유기 용제 온도) 는, 실온보다 높은 것이 바람직하고, 예를 들어 50 ℃ 이다. 그 때, 컨트롤러 (3) 는, 유기 용제 노즐 (13) 로부터 공급되는 유기 용제의 착액점 (P) 을 개구 (H) 의 외측에 설정한다. 착액점 (P) 이란, 유기 용제 노즐 (13) 로부터 공급되는 유기 용제가 기판 (W) 의 상면에 착액하는 점을 말한다. 유기 용제 노즐 (13) 은, 회전 축선 (A1) 둘레로는 회전하지 않기 때문에, 착액점 (P) 은, 기판 (W) 이 회전함으로써 기판 회전 방향 S 의 상류측으로 상대 이동하고 있는 것이 된다. 개구 (H) 의 외측이란, 개구 (H) 의 둘레 가장자리 (H1) 에 대해 회전 축선 (A1) 과는 반대측을 말한다.
구멍 넓힘 스텝 T4 에서는, 컨트롤러 (3) 는, 제 1 불활성 가스 밸브 (44) 를 열어, 건조 헤드 (14) 로부터 기판 (W) 에 대한 불활성 가스의 공급을 개시한다. 건조 헤드 (14) 로부터 공급되는 불활성 가스의 온도 (불활성 가스 온도) 는, 실온보다 높은 것이 바람직하고, 예를 들어 50 ℃ 이다. 동시에, 컨트롤러 (3) 는, 배기 밸브 (49) 를 열어, 불활성 가스 저류 공간 (51) 에 저류된 불활성 가스 및 유기 용제의 증기를 배기구 (52) 로부터 배출한다.
구멍 넓힘 스텝 T4 에서는, 컨트롤러 (3) 는, 개구 (H) 의 내측에 건조 영역 (R) 을 설정한다. 건조 영역 (R) 이란, 개구 (H) 의 내측에 있어서 기판 (W) 의 상면을 건조시켜야 할 영역이다. 건조 영역 (R) 이란, 구체적으로는, 기판 (W) 의 상면에 있어서 건조 헤드 (14) 의 대향면 (50) 과 대향하는 영역이다. 요컨대, 평면에서 보아 건조 헤드 (14) 가 기판 (W) 의 외주보다 내측에 위치하면, 건조 헤드 (14) 의 대향면 (50) 은 건조 영역 (R) 에 대향한다. 건조 영역 (R) 은, 평면에서 보아 건조 헤드 (14) 의 대향면 (50) 의 제 2 면 (50B) 과 겹치고 있다. 건조 헤드 (14) 는, 회전 축선 (A1) 둘레로는 회전하지 않기 때문에, 건조 영역 (R) 은, 기판 (W) 이 회전함으로써 기판 회전 방향 S 의 상류측으로 상대 이동하고 있는 것이 된다. 개구 (H) 의 내측이란, 개구 (H) 의 둘레 가장자리 (H1) 보다 회전 축선 (A1) 측을 말한다.
불활성 가스 도입구 (53) 로부터의 불활성 가스의 공급 유량과, 배기구 (52) 로부터의 기체의 배출 유량을 조정함으로써, 불활성 가스 저류 공간 (51) 내의 분위기의 제원 (예를 들어, 분위기 중의 유기 용제 가스의 농도) 이 제어된다. 이로써, 대향면 (50) 과 건조 영역 (R) 의 사이의 공간에 저습도 공간 (B) 이 형성된다. 이와 같이, 건조 영역 (R) 의 상방 분위기를 저습도로 함으로써, 액막 (M) 이 배제된 후에 건조 영역 (R) 에 남은 유기 용제가 증발하기 쉬워진다. 그 때문에, 기판 (W) 의 상면을 효율적으로 건조시킬 수 있다.
구멍 넓힘 스텝 T4 에서는, 컨트롤러 (3) 는, 이동 유닛 (15) 을 제어하여, 토출구 (13a) 로부터 유기 용제를 토출하고 있는 상태의 유기 용제 노즐 (13) 을 천공 위치로부터 외주 위치로 이동시킨다. 이로써, 개구 (H) 의 넓어짐에 추종하도록 착액점 (P) 을 이동시킨다 (착액점 이동 공정). 외주 위치란, 유기 용제 노즐 (13) 이 기판 (W) 의 둘레 가장자리와 대향하는 위치이다. 착액점 (P) 은, 개구 (H) 의 둘레 가장자리 (H1) 부근에서 개구 (H) 의 넓어짐에 추종하는 것이 바람직하다.
구멍 넓힘 스텝 T4 에서는, 컨트롤러 (3) 는, 이동 유닛 (15) 을 제어하여, 건조 헤드 (14) 를 천공 위치로부터 외주 위치로 이동시킨다. 이로써, 개구 (H) 의 넓어짐에 추종하도록 대향면 (50) 및 건조 영역 (R) 을 이동시킨다 (건조 영역 이동 공정). 전술한 바와 같이, 건조 헤드 (14) 는, 유기 용제 노즐 (13) 과 공통의 이동 부재 (17) 에 의해 지지되어 있기 때문에, 유기 용제 노즐 (13) 의 이동에 추종한다.
도 8A 는, 구멍 넓힘 스텝 T4 에 있어서의 착액점 (P) 및 건조 영역 (R) 의 이동 궤적을 모식적으로 나타낸 평면도이다. 도 8B 는, 도 8A 의 착액점 (P) 및 건조 영역 (R) 의 주변의 확대도이다. 도 8A 및 도 8B 그리고 후술하는 도 15 에서는, 명료화를 위해서, 유기 용제의 액막 (M), 착액점 (P) 및 건조 영역 (R) 에 사선이 쳐져 있다.
도 8A 에 나타내는 바와 같이, 건조 영역 (R) 은, 착액점 (P) 의 이동에 추종하도록, 착액점 (P) 의 이동 궤적 (도 8A 의 일점 쇄선 참조) 을 따라 이동한다 (도 8A 의 2 점 쇄선 참조). 건조 헤드 (14) 및 유기 용제 노즐 (13) 을 이동시킬 때, 건조 영역 (R) 은, 착액점 (P) 에 대해 기판 회전 방향 S 의 하류측에, 반보다 넓은 영역이 위치하도록 설정되어 있어도 된다.
또, 도 8A 의 확대도인 도 8B 를 참조하여, 평면에서 보아 제 2 면 (50B) 과 겹치는 영역인 건조 영역 (R) 은, 대향면 (50) 의 제 2 면 (50B) 과 마찬가지로, 대략 선형의 평면 형상을 가지고 있다. 건조 영역 (R) 이 형성하는 선형은, 착액점 (P) 으로부터 먼 위치에 사북 (Ra) 을 가지고 있다. 건조 영역 (R) 이 형성하는 선형은, 사북 (Ra) 보다 착액점 (P) 에 가까운 위치에 호 (Rb) 를 가지고 있다. 호 (Rb) 는, 반보다 넓은 영역이 사북 (Ra) 보다 기판 회전 방향 S 의 상류측에 배치되어 있다. 호 (Rb) 는, 사북 (Ra) 보다 기판 (W) 의 외측 (둘레 가장자리측) 에 위치하고 있다. 호 (Rb) 는, 기판 회전 방향 S 를 따라 배치되어 있다. 동일하게, 대향면 (50) 의 제 2 면 (50B) 의 선형의 사북 (50a) 은, 착액점 (P) 으로부터 멀리 배치되어 있다. 또, 제 2 면 (50B) 의 선형의 호 (50b) 는, 사북 (Ra) 보다 착액점 (P) 에 가깝게 배치되어 있고, 또한, 기판 회전 방향 S 를 따라 배치되어 있다. 설명의 편의 상, 건조 영역 (R) 의 사북 (Ra) 에는, 제 2 면 (50B) 의 사북을 나타내는 부호 (50a) 를 병기하고, 건조 영역 (R) 의 호 (Rb) 에는, 제 2 면 (50B) 의 호를 나타내는 부호 (50a) 를 병기한다.
이 실시 형태에 의하면, 개구 (H) 의 내측에 설정된 건조 영역 (R) 에 대향하는 대향면 (50) 과 건조 영역 (R) 의 사이의 공간에는, 그 공간 외보다도 저습도인 저습도 공간 (B) 이 형성된다. 그 때문에, 건조 영역 (R) 의 유기 용제를 신속하게 증발시킬 수 있다.
건조 영역 (R) 및 대향면 (50) 은, 개구 (H) 의 넓어짐에 추종한다. 그 때문에, 유기 용제의 액막 (M) 이 배제된 후에 기판 (W) 의 상면에 남은 유기 용제를 신속하게 증발시킬 수 있다. 게다가, 대향면 (50) 이 대향하는 건조 영역 (R) 은 비교적 넓기 때문에, 건조 헤드 (14) 로부터 공급되는 불활성 가스가 기판 (W) 의 상면에 국부적으로 큰 외력을 작용시키는 경우는 없다.
한편, 대향면 (50) 은, 기판 (W) 보다 평면에서 보아 사이즈가 작다. 그 때문에, 유기 용제 노즐 (13) 을 회피한 위치, 즉 기판 (W) 의 상면에 충분히 가까운 위치에 건조 헤드 (14) 를 배치하면서 대향면 (50) 을 이동시킬 수 있다. 이로써, 건조 영역 (R) 에 남은 유기 용제를 한층 신속하게 증발시킬 수 있다.
건조 영역 (R) 이 개구 (H) 의 내측에 설정되어 있고, 착액점 (P) 이 개구 (H) 의 외측에 설정되어 있다. 그 때문에, 기판 (W) 의 상면으로부터 액막 (M) 이 배제될 때까지의 동안, 액막 (M) 으로부터 유기 용제가 자연스럽게 증발하는 것을 억제하면서, 충분한 양의 유기 용제를 액막 (M) 에 공급할 수 있다. 그 때문에, 개구 (H) 의 넓어짐에 의해 액막 (M) 이 배제되기 전에, 국소적으로 액막 (M) 이 증발하여 액막 균열이 발생하는 것을 억제할 수 있다.
이와 같이 하여, 유기 용제를 기판 (W) 의 상면으로부터 양호하게 배제할 수 있다.
또, 건조 영역 (R) 이 착액점 (P) 의 이동에 추종하도록 착액점 (P) 의 이동 궤적을 따라 이동한다. 그 때문에, 착액점 (P) 에 착액한 유기 용제가 자연스럽게 증발하기 전에, 유기 용제를 건조 헤드 (14) 에 의해 확실하게 증발시킬 수 있다.
또, 개구 형성 공정에 있어서, 불활성 가스 노즐 (11) 이, 액막 (M) 의 중앙 영역을 향하여 불활성 가스를 분사함으로써, 개구 (H) 를 효율적으로, 또한 확실하게 중앙 영역에 형성할 수 있다.
또, 불활성 가스의 분사가, 액막 배제 공정이 완료될 때까지 계속된다. 이로써, 개구 (H) 의 넓어짐이 촉진되어 보다 한층 신속하게 유기 용제를 기판 (W) 외로 배제할 수 있다. 또한, 액막 배제 공정에서는, 차단판 (7) 이 처리 위치에 위치하고 있기 때문에, 기판 (W) 의 상방을 기판 (W) 의 중심으로부터 기판 (W) 의 둘레 가장자리를 향하는 기류를 형성할 수 있다. 이와 같은 기류가 형성됨으로써, 건조 헤드 (14) 로부터 공급되는 불활성 가스에 의해 액막 (M) 으로부터 유기 용제가 튀었다고 해도, 튄 유기 용제가 개구 (H) 의 내측에 떨어지는 것을 방지할 수 있다.
또, 액막 배제 공정과 병행해서 기판 (W) 을 회전시키는 기판 회전 공정이 실행되므로, 기판 (W) 의 회전에 의해 발생하는 원심력에 의해 개구 (H) 의 넓어짐을 촉진할 수 있다. 이로써, 한층 신속하게 액막 (M) 을 기판 (W) 외로 배제할 수 있다.
또, 기판 (W) 의 회전에 수반하여, 액막 (M) 의 개구 (H) 의 외측에서는 착액점 (P) 이 기판 (W) 을 주사하고, 개구 (H) 의 내측에서는 건조 영역 (R) 이 기판 (W) 을 주사한다. 그것에 의해, 기판 (W) 의 상면 전체에 대해 균일한 건조 처리를 실시할 수 있다.
액막 배제 공정의 초기 단계에서는, 액막 (M) 의 개구 (H) 가 작기 때문에, 건조 영역 (R) 은, 기판 (W) 의 상면의 중앙 영역 부근에 위치하고 있다. 한편, 액막 배제 공정의 종기 단계에서는, 액막 (M) 의 개구 (H) 가 커져 있으므로, 건조 영역 (R) 은, 기판 (W) 의 상면의 둘레 가장자리 부근에 위치하고 있다.
만일, 액막 배제 공정에 있어서의 기판 (W) 의 회전 속도를 일정하게 하면, 액막 배제 공정의 종기 단계에 있어서 단위 시간당 기판 회전 방향 S 에 건조 영역 (R) 이 기판 (W) 의 상면을 상대 이동하는 거리는, 액막 배제 공정의 초기 단계에 있어서 단위 시간당 기판 회전 방향 S 에 건조 영역 (R) 이 기판 (W) 의 상면을 상대 이동하는 거리보다 커진다. 그 때문에, 액막 배제 공정의 종기 단계에서는, 액막 배제 공정의 초기 단계와 비교해서, 단위 면적당 기판 상면 건조 시간, 즉 건조 헤드 (14) 의 대향면 (50) 에 대향하는 시간이 짧다.
기판 회전 공정에 있어서 기판 (W) 의 회전을 서서히 감속시킴으로써, 액막 배제 공정의 종기 단계에 있어서 단위 시간당 기판 회전 방향 S 로 건조 영역 (R) 이 상대 이동하는 거리를 작게 하고, 단위 면적당 기판 상면 건조 시간을 길게 할 수 있다. 이로써, 액막 배제 공정의 초기 단계와 종기 단계에서, 단위 면적당 기판 상면 건조 시간의 차를 저감할 수 있다. 따라서, 기판 (W) 의 상면의 건조 불균일을 저감할 수 있다.
본 실시 형태와 같이 건조 헤드 (14) 가 불활성 가스 공급 헤드인 경우, 기판 회전 공정에 있어서 기판 (W) 의 회전을 서서히 감속시킴으로써, 액막 배제 공정의 초기 단계와 액막 배제 공정의 종기 단계에서, 단위 면적당 기판 (W) 의 상면에 불활성 가스가 분사되는 시간의 차를 저감할 수 있다.
또, 건조 영역 (R) 은, 착액점 (P) 에 대해 기판 회전 방향 S 의 하류측에 반보다 넓은 영역이 위치하도록 설정된다. 그 때문에, 착액점 (P) 에 착액된 유기 용제가 자연스럽게 증발하기 전에 한층 확실하게 증발시킬 수 있다.
또, 대략 선형의 평면 형상을 갖는 건조 영역 (R) 에 있어서, 선형의 사북 (Ra) 이 착액점 (P) 으로부터 먼 위치에 배치되고, 선형의 호 (Rb) 가 착액점 (P) 의 근처에 또한 기판 회전 방향 S 를 따르도록 배치되어 있다. 이로써, 선형의 호 (Rb) 가 사북 (Ra) 보다 기판 (W) 의 둘레 가장자리측에 위치하므로, 기판 (W) 의 상면의 각 부가 건조 헤드 (14) 의 대향면 (50) 에 대향하는 시간, 즉 건조 시간의 차를 저감할 수 있다. 따라서, 기판 (W) 의 상면의 건조 불균일을 저감할 수 있다.
또, 착액점 이동 공정 및 건조 영역 이동 공정에 있어서, 유기 용제 노즐 (13) 과 건조 헤드 (14) 를 공통으로 지지하는 이동 부재 (17) 를 이동시킴으로써, 유기 용제 노즐 (13) 과 건조 헤드 (14) 의 사이의 거리가 일정하게 유지된다. 따라서, 기판 (W) 의 상면 전체를 균등한 조건으로 건조시킬 수 있으므로, 건조 불균일을 저감할 수 있다.
또, 건조 헤드 (14) 가 불활성 가스 공급 헤드이기 때문에, 저습도 공간 (B) 의 습도를 불활성 가스에 의해 저감시킬 수 있다. 이로써, 건조 영역 (R) 으로부터 유기 용제를 신속하게 증발시킬 수 있으므로, 기판 (W) 의 상면을 신속하게 건조시킬 수 있다.
또, 대향면 (50) 이, 기판 (W) 의 상면으로부터 상방으로 함몰되어 불활성 가스 저류 공간 (51) 을 형성하고 있다. 불활성 가스 저류 공간 (51) 에는, 불활성 가스 도입구 (53) 로부터 공급된 불활성 가스가 저류된다. 그 때문에, 불활성 가스 저류 공간 (51) 에 저류된 불활성 가스에 의해 기판 (W) 의 상면에 남은 유기 용제를 증발시킬 수 있다. 따라서, 보다 한층 신속하게 유기 용제를 증발시킬 수 있다.
또, 배기구 (52) 가 불활성 가스 저류 공간 (51) 을 배기한다. 이로써, 기판 (W) 의 상면으로부터 증발하여 증기가 된 유기 용제가, 불활성 가스 저류 공간 (51) 을 통하여 저습도 공간 (B) 으로부터 배제된다. 이로써, 저습도 공간 (B) 을 보다 한층 저습도로 유지할 수 있으므로, 건조 영역 (R) 의 유기 용제를 보다 한층 신속하게 증발시킬 수 있다.
다음으로, 제 1 실시 형태의 변형예에 대해 설명한다.
도 9 는, 제 1 실시 형태의 제 1 변형예에 관련된 처리 유닛 (2P) 에 구비된 건조 헤드 (14P) 를 나타낸 모식적인 단면도이다. 도 9 및 후술하는 도 11 ∼ 도 15 에서는, 지금까지 설명한 부재와 동일한 부재에는 동일한 참조 부호를 부여하고, 그 설명을 생략한다.
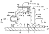
제 1 실시 형태의 제 1 변형예에 관련된 건조 헤드 (14P) 가 제 1 실시 형태에 관련된 건조 헤드 (14) (도 3A 및 도 3B 참조) 와 주로 상이한 점은, 건조 헤드 (14P) 가, 불활성 가스 도입구 (53) 및 불활성 가스 공급실 (54) 대신에, 기판 (W) 의 상면 (건조 영역 (R)) 을 가열하는 히터 유닛 (55) 을 포함하는 점이다.
대향면 (50P) 은, 기판 (W) 의 상면으로부터 상방으로 함몰되고, 불활성 가스 저류 공간 (51) (도 3A 참조) 대신에 건조실 (59) 을 형성하고 있다. 대향면 (50P) 은, 건조 헤드 (14P) 의 하면에 의해 구성된 제 1 면 (50PA) 과, 건조실 (59) 의 천정면에 의해 구성된 제 2 면 (50PB) 을 포함한다. 대향면 (50P) 의 제 2 면 (50PB) 은, 대략 선형의 평면 형상을 가지고 있어도 된다. 대향면 (50P) 의 제 2 면 (50PB) 이 형성하는 선형은, 관통공 (14a) 으로부터 먼 위치에 배치된 선형의 사북 (50a) 을 가지고 있다. 대향면 (50P) 의 제 2 면 (50PB) 이 형성하는 선형은, 사북 (50a) 보다 관통공 (14a) 에 가까운 위치에 배치된 호 (50b) 를 가지고 있다. 제 2 면 (50PB) 은, 평면에서 보아 건조 영역 (R) 과 겹치고 있다. 건조 헤드 (14P) 는, 건조실 (59) 내를 배기하는 배기구 (59A) 를 포함한다. 배기구 (59A) 는, 배기관 (42) 에 연결되어 있다.
히터 유닛 (55) 은, 예를 들어, 건조실 (59) 의 천정부에 배치되어 있다. 히터 유닛 (55) 의 하면은, 대향면 (50P) 의 제 2 면 (50PB) 의 일부를 구성하고 있어도 된다. 히터 유닛 (55) 은, 통전됨으로써 온도가 상승되는 저항체를 포함한다. 히터 유닛 (55) 에는, 급전선 (56) 에 의해 히터 통전 유닛 (57) 으로부터의 전력이 공급된다.
이 구성에 의하면, 히터 유닛 (55) 에 의한 기판 (W) 의 가열에 의해 건조 영역 (R) 의 유기 용제의 증발을 한층 촉진할 수 있다.
도 10 은, 제 1 실시 형태의 제 2 변형예에 관련된 처리 유닛 (2U) 에 구비된 건조 헤드 (14U) 를 나타낸 모식적인 단면도이다. 제 2 변형예의 건조 헤드 (14U) 가 제 1 변형예의 건조 헤드 (14P) 와 주로 상이한 점은, 건조 헤드 (14U) 의 대향면 (50U) 이 함몰되어 있지 않고, 건조실 (59) (도 9 참조) 을 형성하고 있지 않는 점이다. 대향면 (50U) 은, 히터 유닛 (55U) 의 하면에 의해 구성되어 있다. 대향면 (50U) 은, 유기 용제 노즐 (13) 이 삽입 통과된 관통공 (14a) 보다 히터 유닛 (55U) 측에서 건조 영역 (R) 과 대향하는 대향 부분 (50UB) 을 포함한다.
대향 부분 (50UB) 은, 대략 선형의 평면 형상을 가지고 있어도 된다. 대향 부분 (50UB) 이 형성하는 선형은, 관통공 (14a) 으로부터 먼 위치에 배치된 사북 (50a) 을 갖는다. 대향 부분 (50UB) 이 형성하는 선형은, 사북 (50a) 보다 관통공 (14a) 에 가까운 위치에 배치된 호 (50b) 를 가지고 있다. 대향 부분 (50UB) 은, 평면에서 보아 건조 영역 (R) 과 겹치고 있다. 이 구성에 의하면, 히터 유닛 (55U) 을 기판 (W) 의 상면보다 가까운 위치에 배치하여 기판 (W) 을 가열할 수 있고, 이로써 건조 영역 (R) 의 유기 용제의 증발을 한층 촉진할 수 있다.
도 11 은, 제 1 실시 형태의 제 3 변형예에 관련된 처리 유닛 (2Q) 이 구비하는 건조 헤드 (14Q) 를 나타낸 도면이다. 건조 헤드 (14Q) 는, 제 1 실시 형태에서 나타낸 복수의 불활성 가스 도입구 (53) 와, 불활성 가스 공급실 (54) 을 포함하고, 또한, 제 1 변형예에서 나타낸 히터 유닛 (55) 을 포함하고 있다. 바꾸어 말하면, 건조 헤드 (14Q) 는, 히터 유닛 (55) 을 갖는 불활성 가스 헤드이다. 이 구성에 의하면, 불활성 가스 저류 공간 (51) 의 불활성 가스에 의한 저습도 공간 (B) 의 습도의 저감과, 히터 유닛 (55) 에 의한 가열에 의해, 건조 영역 (R) 의 유기 용제의 증발을 한층 촉진할 수 있다.
도 12 는, 제 1 실시 형태의 제 4 변형예에 관련된 처리 유닛 (2R) 에 구비된 건조 헤드 (14R) 를 나타낸 모식적인 단면도이다. 제 1 실시 형태의 제 4 변형예에 관련된 건조 헤드 (14R) 가 제 1 실시 형태에 관련된 건조 헤드 (14) (도 3A 및 도 3B 참조) 와 주로 상이한 점은, 건조 헤드 (14R) 가, 배기구 (52), 불활성 가스 도입구 (53) 및 불활성 가스 공급실 (54) 대신에, 대향면 (50) 과 기판 (W) 의 상면 (건조 영역 (R)) 의 사이의 공간을 배기하는 배기 유닛 (58) 을 포함하는 점이다.
건조 헤드 (14R) 에는, 불활성 가스 저류 공간 (51) (도 3A 참조) 대신에 건조실 (59R) 이 형성되어 있다. 건조실 (59R) 은, 대향면 (50R) 이 기판 (W) 의 상면으로부터 상방으로 함몰됨으로써 형성되어 있다. 대향면 (50R) 은, 건조 헤드 (14R) 의 하면에 의해 구성된 제 1 면 (50RA) 과, 건조실 (59R) 의 천정면에 의해 구성된 제 2 면 (50RB) 을 포함한다. 대향면 (50R) 의 제 2 면 (50RB) 은, 대략 선형의 평면 형상을 가지고 있어도 된다. 대향면 (50R) 의 제 2 면 (50RB) 이 형성하는 선형은, 관통공 (14a) 으로부터 먼 위치에 배치된 사북 (50a) 을 가지고 있다. 대향면 (50R) 의 제 2 면 (50RB) 이 형성하는 선형은, 사북 (50a) 보다 관통공 (14a) 에 가까운 위치에 배치된 호 (50b) 를 가지고 있다. 제 2 면 (50RB) 은, 평면에서 보아 건조 영역 (R) 과 겹치고 있다.
건조 헤드 (14R) 는, 건조실 (59R) 내를 배기하는 배기구 (59RA) 를 포함한다. 배기구 (59RA) 는, 예를 들어, 제 2 면 (50RB) 에 형성되어 있다. 배기구 (59RA) 는, 배기관 (42) 에 연결되어 있다. 이 구성에 의하면, 대향면 (50R) 과 건조 영역 (R) 의 사이의 공간을 배기하는 배기 유닛 (58) 에 의해, 유기 용제의 증기를 저습도 공간 (B) 으로부터 배제할 수 있다. 따라서, 건조 영역 (R) 의 유기 용제를 한층 신속하게 증발시킬 수 있다.
도 13 은, 제 1 실시 형태의 제 5 변형예에 관련된 처리 유닛 (2S) 에 구비된 건조 헤드 (14S) 를 나타낸 모식적인 단면도이다. 제 1 실시 형태의 제 5 변형예에 관련된 건조 헤드 (14S) 가 제 1 실시 형태에 관련된 건조 헤드 (14) (도 3A 및 도 3B 참조) 와 주로 상이한 점은, 대향면 (50S) 이, 기판 (W) 의 상면에 평행한 평탄면이며, 대향면 (50S) 에 복수의 불활성 가스 토출구 (60) 가 형성되어 있는 점이다.
또, 건조 헤드 (14S) 는, 제 1 실시 형태에 관련된 건조 헤드 (14) 와는 상이하고, 배기구 (52), 불활성 가스 도입구 (53) 및 불활성 가스 공급실 (54) 을 포함하지 않고, 불활성 가스가 제 3 불활성 가스 공급관 (40) 으로부터 불활성 가스 저류 공간 (51) 에 직접 공급된다.
대향면 (50S) 은, 건조 헤드 (14S) 의 하면에 의해 구성되어 있다. 대향면 (50S) 은, 유기 용제 노즐 (13) 이 삽입 통과된 관통공 (14a) 보다 불활성 가스 토출구 (60) 측에서 건조 영역 (R) 과 대향하는 대향 부분 (50SB) 을 포함한다.
대향 부분 (50SB) 은, 대략 선형의 평면 형상을 가지고 있어도 된다. 대향 부분 (50SB) 이 형성하는 선형은, 관통공 (14a) 으로부터 먼 위치에 배치된 사북 (50a) 을 가지고 있다. 대향 부분 (50SB) 이 형성하는 선형은, 사북 (50a) 보다 관통공 (14a) 에 가까운 위치에 배치된 호 (50b) 를 가지고 있다. 대향 부분 (50SB) 은, 평면에서 보아 건조 영역 (R) 과 겹치고 있다.
이 구성에 의하면, 기판 (W) 의 상면에 평행한 평탄면인 대향면 (50S) 에 복수의 불활성 가스 토출구 (60) 가 형성되어 있다. 복수의 불활성 가스 토출구 (60) 에 연통하는 불활성 가스 저류 공간 (51) 에는, 불활성 가스 도입구 (53) 로부터 불활성 가스가 공급된다. 그 때문에, 불활성 가스가 1 개의 토출구로부터 공급되는 경우와 비교해서, 넓은 범위에 균일하게 불활성 가스를 공급할 수 있기 때문에, 저습도 공간 (B) 의 습도의 불균일을 저감할 수 있다. 따라서, 건조 영역 (R) 의 유기 용제를 신속하게 증발시킬 수 있고, 또한, 기판 (W) 의 상면의 건조 불균일을 저감할 수 있다. 또, 불활성 가스 토출구 (60) 가 복수 있음으로써, 기판 (W) 의 상면에 공급되는 불활성 가스의 기세를 저감할 수 있다. 그 때문에, 기판 (W) 의 상면에 작용하는 국부적인 외력을 저감할 수 있다.
<제 2 실시 형태>
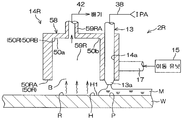
도 14 는, 본 발명의 제 2 실시 형태에 관련된 기판 처리 장치 (1T) 에 구비된 처리 유닛 (2T) 의 구성예를 설명하기 위한 도해적인 단면도이다. 도 15 는, 구멍 넓힘 스텝 T4 (도 6 및 도 7D 참조) 에 있어서의 착액점 (P) 및 건조 영역 (R) 의 이동 궤적을 모식적으로 나타낸 평면도이다. 제 2 실시 형태에 관련된 처리 유닛 (2T) 이 제 1 실시 형태에 관련된 처리 유닛 (2) 과 주로 상이한 점은, 유기 용제 노즐 (13T) 과 건조 헤드 (14T) 의 각각이, 독립적으로 수평 방향 및 수직 방향으로 이동 가능한 점이다.
상세하게는, 처리 유닛 (2) 은, 건조 헤드 (14T) 를 지지하는 이동 부재 (17T) 와, 이동 부재 (17T) 를 이동시키는 이동 유닛 (15T) 과, 유기 용제 노즐 (13T) 을 지지하여 유기 용제 노즐 (13T) 을 수평 방향 및 수직 방향으로 이동시키는 유기 용제 노즐 이동 유닛 (18) 을 포함한다. 유기 용제 노즐 (13T) 은, 기판 (W) 의 상면에 저표면 장력 액체를 공급하는 저표면 장력 액체 노즐의 일례이다. 건조 헤드 (14T) 를 지지하는 이동 부재 (17T) 를 이동시키는 이동 유닛 (15T) 은, 기판 (W) 의 상면을 따라 건조 헤드 (14T) 를 이동시키는 건조 헤드 이동 유닛으로서 기능한다.
유기 용제 노즐 (13T) 은, 유기 용제 노즐 이동 유닛 (18) 에 의해 수평 방향으로 이동함으로써, 기판 (W) 의 상면의 회전 중심에 대향하는 위치와, 기판 (W) 의 상면에 대향하지 않는 홈 위치 (퇴피 위치) 의 사이에서 이동할 수 있다. 홈 위치는, 평면에서 보아, 스핀 베이스 (21) 의 외방의 위치이며, 보다 구체적으로는, 컵 (8) 의 외방의 위치여도 된다. 이동 노즐 (12) 은, 연직 방향으로의 이동에 의해, 기판 (W) 의 상면에 접근시키거나 기판 (W) 의 상면으로부터 상방으로 퇴피시키거나 할 수 있다. 유기 용제 노즐 이동 유닛 (18) 은, 예를 들어, 연직 방향을 따른 회동축과, 회동축에 결합되어 수평으로 연장되는 아암과, 아암을 구동하는 아암 구동 기구를 포함한다.
건조 헤드 (14T) 는, 관통공 (14a) 이 형성되어 있지 않은 점을 제외하고는, 제 1 실시 형태의 건조 헤드 (14) (도 3A 및 도 3B 참조) 와 동일한 구성이다.
제 2 실시 형태의 기판 처리 장치 (1T) 에 의한 기판 처리는, 건조 헤드 (14T) 를 이동시키기 위해서 컨트롤러 (3) 가 이동 유닛 (15T) 을 제어하고, 유기 용제 노즐 (13T) 을 이동시키기 위해서 컨트롤러 (3) 가 유기 용제 노즐 이동 유닛 (18) 을 제어하는 점 (도 4 참조) 을 제외하고 제 1 실시 형태의 기판 처리 장치 (1) 에 의한 기판 처리와 거의 동일하다.
유기 용제 노즐 (13T) 과 건조 헤드 (14T) 의 각각은, 독립적으로 수평 방향 및 수직 방향으로 이동 가능하기 때문에, 제 2 실시 형태의 구멍 넓힘 스텝 T4 에서는, 제 1 실시 형태와는 달리, 건조 영역 (R) 이 착액점 (P) 의 이동에 추종하지 않도록 건조 영역 (R) 을 이동시키는 것도 가능하다 (도 15 참조).
즉, 컨트롤러 (3) 는, 유기 용제 노즐 이동 유닛 (18) 을 제어하여, 토출구 (13Ta) 로부터 유기 용제를 토출하고 있는 상태의 유기 용제 노즐 (13T) 을 천공 위치로부터 외주 위치로 이동시킴으로써, 개구 (H) 의 넓어짐에 추종하도록 착액점 (P) 을 이동시킨다 (착액점 이동 공정). 동시에, 컨트롤러 (3) 는, 이동 유닛 (15T) 을 제어하여, 건조 헤드 (14T) 를 천공 위치로부터 외주 위치로 이동시킴으로써, 대향면 (50) 및 건조 영역 (R) 이, 착액점 (P) 에는 추종하지 않고, 개구 (H) 의 넓어짐에 추종하도록 이동시킨다 (건조 영역 이동 공정).
한편, 제 1 실시 형태의 구멍 넓힘 스텝 T4 와 마찬가지로, 건조 영역 (R) 이 착액점 (P) 의 이동에 추종하도록, 착액점 (P) 의 이동 궤적을 따라 건조 영역 (R) 을 이동시키는 것도 가능하다 (도 8A 참조).
제 2 실시 형태에 의하면, 제 1 실시 형태와 동일한 효과를 발휘한다.
또, 제 2 실시 형태에 있어서도, 제 1 실시 형태와 동일한 변형예를 적용할 수 있다.
이 발명은, 이상에서 설명한 실시 형태로 한정되는 것이 아니고, 추가로 다른 형태로 실시할 수 있다.
예를 들어, 제 1 실시 형태의 기판 처리에서는, 액막 배제 공정이 완료될 때까지 불활성 가스 분사 공정을 계속한다고 했지만, 반드시 그럴 필요는 없다. 즉, 불활성 가스 노즐 (11) 이 기판 (W) 의 중앙 영역을 향하여 불활성 가스를 분사함으로써 액막 (M) 에 개구 (H) 를 형성한 후는, 컨트롤러 (3) 가 제 1 불활성 가스 밸브 (44) 를 닫아 불활성 가스 노즐 (11) 로부터의 불활성 가스의 공급을 정지시켜도 된다.
또, 제 1 실시 형태의 기판 처리에서는, 구멍 넓힘 스텝 T4 에 있어서, 기판 (W) 을 회전시킨다고 했지만, 반드시 기판 (W) 을 회전시킬 필요는 없다. 기판 (W) 을 회전시키는 것에 의한 원심력과, 하면 노즐 (9) 로부터의 온수의 공급에 의한 기판의 가열과, 불활성 가스 노즐 (11) 로부터의 불활성 가스의 공급에 의한 액막 (M) 의 압출과, 히터 기구 (6) 에 의한 기판 (W) 의 가열 중 어느 하나, 또는 이들의 조합에 의해 개구 (H) 를 넓히는 것이 가능하다.
또, 대향면 (50, 50P, 50R) 의 제 2 면 (50B, 50PB, 50RB) 과, 대향 부분 (50UB, 50SB) 은, 반드시 선형의 평면 형상을 가지고 있을 필요는 없고, 적절히 그 형상을 변경하는 것이 가능하다.
또, 건조 영역 (R) 은, 착액점 (P) 에 대해 기판 회전 방향 S 의 하류측에 반보다 넓은 영역이 위치하도록 설정된다고 했지만, 반드시 그럴 필요는 없고, 건조 영역 (R) 이 착액점 (P) 에 대해 기판 회전 방향 S 의 상류측에 반보다 넓은 영역이 위치하도록 설정되는 경우도 있을 수 있다.
또, 건조 헤드의 구성은, 건조 헤드 (14, 14P, 14U, 14Q, 14R, 14S, 14T) 에 한정되지 않고, 예를 들어, 건조 헤드 (14, 14P, 14Q) 가 배기구 (52) 를 포함하지 않는 구성이어도 된다.
본 발명의 실시 형태에 대해 상세하게 설명해 왔지만, 이들은 본 발명의 기술적 내용을 분명히 하기 위해서 이용된 구체예에 불과하고, 본 발명은 이들의 구체예로 한정하여 해석되어야 하는 것이 아니고, 본 발명의 범위는 첨부된 청구의 범위에 의해서만 한정된다.
이 출원은, 2016 년 3 월 8 일에 일본 특허청에 제출된 일본 특허출원 2016-044554호에 대응하고 있고, 이 출원의 전체 개시는 여기에 인용에 의해 삽입되는 것으로 한다.
1 : 기판 처리 장치
1T : 기판 처리 장치
3 : 제어 유닛
9 : 하면 노즐 (개구 형성 유닛)
11 : 이동 노즐 (개구 형성 유닛, 불활성 가스 공급 유닛)
13 : 유기 용제 노즐 (저표면 장력 액체 노즐, 저표면 장력 액체 공급 유닛)
13T : 유기 용제 노즐 (저표면 장력 액체 노즐, 저표면 장력 액체 공급 유닛)
14 : 건조 헤드 (불활성 가스 헤드)
14P : 건조 헤드
14Q : 건조 헤드 (불활성 가스 헤드)
14R : 건조 헤드
14S : 건조 헤드 (불활성 가스 헤드)
14T : 건조 헤드 (불활성 가스 헤드)
14U : 건조 헤드
15 : 이동 유닛 (건조 헤드 이동 유닛)
15T : 이동 유닛 (건조 헤드 이동 유닛)
17 : 이동 부재
17T : 이동 부재
20 : 척 핀 (기판 유지 유닛)
21 : 스핀 베이스 (기판 유지 유닛)
22 : 회전축 (기판 회전 유닛)
23 : 전동 모터 (기판 회전 유닛)
50 : 대향면
50a : 사북
50b : 호
50P : 대향면
50Q : 대향면
50R : 대향면
50S : 대향면
50T : 대향면
50U : 대향면
51 : 불활성 가스 저류 공간
52 : 배기구
53 : 불활성 가스 도입구
55 : 히터 유닛
58 : 배기 유닛
60 : 불활성 가스 토출구
A1 : 회전 축선
B : 저습도 공간
H : 개구
M : 액막

Claims (29)

  1. 기판을 수평으로 유지하는 기판 유지 공정과,
    상기 수평으로 유지된 기판의 상면에, 물보다 표면 장력이 낮은 저표면 장력 액체의 액막을 형성하는 액막 형성 공정과,
    상기 저표면 장력 액체의 액막의 중앙 영역에 개구를 형성하는 개구 형성 공정과,
    상기 개구를 넓힘으로써, 상기 기판의 상면으로부터 상기 액막을 배제하는 액막 배제 공정과,
    저표면 장력 액체를 공급하는 저표면 장력 액체 노즐로부터 상기 개구의 외측에 설정한 착액점을 향하여 저표면 장력 액체를 상기 액막에 공급하면서, 상기 개구의 넓어짐에 추종하도록 상기 착액점을 이동시키는 착액점 이동 공정과,
    상기 개구의 내측에 설정된 건조 영역에, 상기 기판보다 평면에서 보아 사이즈가 작은 대향면을 갖는 건조 헤드의 상기 대향면을 대향시켜 상기 대향면과 상기 건조 영역의 사이의 공간에 그 공간 외보다도 저습도인 저습도 공간을 형성하면서, 상기 건조 영역 및 상기 대향면을 상기 개구의 넓어짐에 추종하도록 이동시키는 건조 영역 이동 공정을 포함하는, 기판 처리 방법.
  2. 제 1 항에 있어서,
    상기 건조 영역 이동 공정은, 상기 착액점의 이동에 추종하도록, 상기 착액점의 이동 궤적을 따라 상기 건조 영역을 이동시키는 공정을 포함하는, 기판 처리 방법.
  3. 제 1 항 또는 제 2 항에 있어서,
    상기 개구 형성 공정이, 상기 기판의 중앙 영역을 향하여 불활성 가스를 분사하는 불활성 가스 분사 공정을 포함하고,
    상기 불활성 가스 분사 공정이, 상기 액막 배제 공정이 완료될 때까지 계속되는, 기판 처리 방법.
  4. 제 1 항 내지 제 3 항 중 어느 한 항에 있어서,
    상기 액막 배제 공정과 병행해서 상기 기판을 회전시키는 기판 회전 공정을 추가로 포함하는, 기판 처리 방법.
  5. 제 4 항에 있어서,
    상기 기판 회전 공정이, 상기 기판의 회전을 서서히 감속시키는 회전 감속 공정을 포함하는, 기판 처리 방법.
  6. 제 4 항 또는 제 5 항에 있어서,
    상기 건조 영역이, 상기 착액점에 대해 기판 회전 방향 하류측에 반보다 넓은 영역이 위치하도록 설정되는, 기판 처리 방법.
  7. 제 4 항 내지 제 6 항 중 어느 한 항에 있어서,
    상기 건조 영역이, 선형의 평면 형상을 가지고 있고, 상기 선형의 사북이 상기 착액점으로부터 먼 위치에 배치되고, 상기 선형의 호가 상기 착액점에 가깝게 또한 기판 회전 방향을 따르도록 배치되어 있는, 기판 처리 방법.
  8. 제 1 항 내지 제 7 항 중 어느 한 항에 있어서,
    상기 저표면 장력 액체 노즐과 상기 건조 헤드가 공통의 이동 부재에 지지되어 있고,
    상기 착액점 이동 공정 및 상기 건조 영역 이동 공정이, 상기 이동 부재를 이동시키는 공정을 포함하는, 기판 처리 방법.
  9. 제 1 항 내지 제 8 항 중 어느 한 항에 있어서,
    상기 건조 헤드가, 불활성 가스를 공급하는 불활성 가스 공급 헤드인, 기판 처리 방법.
  10. 제 9 항에 있어서,
    상기 대향면이, 기판의 상면으로부터 상방으로 함몰되어 불활성 가스 저류 공간을 형성하고 있고, 상기 불활성 가스 공급 헤드가, 상기 불활성 가스 저류 공간에 불활성 가스를 공급하는 불활성 가스 도입구를 포함하는, 기판 처리 방법.
  11. 제 10 항에 있어서,
    상기 불활성 가스 공급 헤드가, 상기 불활성 가스 저류 공간을 배기하는 배기구를 추가로 포함하는, 기판 처리 방법.
  12. 제 9 항에 있어서,
    상기 대향면이, 기판의 상면에 평행한 평탄면이며, 상기 대향면에 복수의 불활성 가스 토출구가 형성되어 있고,
    상기 불활성 가스 공급 헤드가, 상기 복수의 불활성 가스 토출구에 연통하는 불활성 가스 저류 공간과, 상기 불활성 가스 저류 공간에 불활성 가스를 공급하는 불활성 가스 도입구를 포함하는, 기판 처리 방법.
  13. 제 1 항 내지 제 12 항 중 어느 한 항에 있어서,
    상기 건조 헤드가, 상기 건조 영역을 가열하는 히터 유닛을 포함하는, 기판 처리 방법.
  14. 제 1 항 내지 제 13 항 중 어느 한 항에 있어서,
    상기 건조 헤드가, 상기 대향면과 상기 건조 영역의 사이의 공간을 배기하는 배기 유닛을 포함하는, 기판 처리 방법.
  15. 기판을 수평으로 유지하는 기판 유지 유닛과,
    상기 기판 유지 유닛에 유지된 기판의 상면에 물보다 표면 장력이 낮은 저표면 장력 액체를 공급하는 저표면 장력 액체 공급 유닛과,
    상기 기판 유지 유닛에 유지된 기판의 상면에 형성되는 상기 저표면 장력 액체의 액막의 중앙 영역에 개구를 형성하는 개구 형성 유닛과,
    상기 기판 유지 유닛에 유지된 기판의 상면에 대향하고, 기판보다 평면에서 보아 사이즈가 작은 대향면을 가지며, 상기 대향면과 기판의 상면의 사이의 공간에 그 공간 외보다도 저습도인 저습도 공간을 형성함으로써 기판의 상면을 건조시키는 건조 헤드와,
    상기 기판 유지 유닛에 유지된 기판의 상면을 따라 상기 건조 헤드를 이동시키는 건조 헤드 이동 유닛을 포함하는, 기판 처리 장치.
  16. 제 15 항에 있어서,
    상기 저표면 장력 액체 공급 유닛, 상기 개구 형성 유닛, 상기 건조 헤드 및 상기 건조 헤드 이동 유닛을 제어하는 컨트롤러를 추가로 포함하고,
    상기 컨트롤러가, 상기 저표면 장력 액체 공급 유닛으로부터 기판의 상면에 저표면 장력 액체를 공급시키고, 상기 기판의 상면에 저표면 장력 액체의 액막을 형성하는 액막 형성 공정과, 상기 개구 형성 유닛에 의해 상기 액막의 중앙 영역에 개구를 형성하는 개구 형성 공정과, 상기 개구를 넓힘으로써 상기 기판의 상면으로부터 상기 액막을 배제하는 액막 배제 공정과, 상기 저표면 장력 액체 공급 유닛으로부터 공급되는 저표면 장력 액체의 착액점을 상기 개구의 외측에 설정하여 상기 개구의 넓어짐에 추종하도록 상기 착액점을 이동시키는 착액점 이동 공정과, 상기 개구의 내측에 설정한 건조 영역에 상기 건조 헤드의 상기 대향면을 대향시켜, 상기 개구의 넓어짐에 추종하도록 상기 건조 영역 및 상기 대향면을 이동시키는 건조 영역 이동 공정을 실행하도록 프로그램되어 있는, 기판 처리 장치.
  17. 제 16 항에 있어서,
    상기 컨트롤러가, 상기 건조 영역 이동 공정에 있어서, 상기 착액점의 이동에 추종하도록, 상기 착액점의 이동 궤적을 따라 상기 건조 영역을 이동시키는 공정을 실행하도록 프로그램되어 있는, 기판 처리 장치.
  18. 제 16 항 또는 제 17 항에 있어서,
    상기 개구 형성 유닛이, 상기 기판 유지 유닛에 유지된 기판의 중앙 영역을 향하여 불활성 가스를 분사하는 불활성 가스 공급 유닛을 포함하고,
    상기 컨트롤러가, 상기 개구 형성 공정에 있어서, 상기 불활성 가스 공급 유닛으로부터 불활성 가스를 공급시키는 불활성 가스 분사 공정을 실행하고, 또한, 상기 액막 배제 공정이 완료될 때까지 상기 불활성 가스 분사 공정을 계속하도록 프로그램되어 있는, 기판 처리 장치.
  19. 제 16 항 내지 제 18 항 중 어느 한 항에 있어서,
    상기 기판 유지 유닛에 유지된 기판을 연직 방향을 따른 소정의 회전 축선 둘레로 회전시키는 기판 회전 유닛을 추가로 포함하고,
    상기 컨트롤러가, 상기 액막 배제 공정과 병행해서 상기 기판을 회전시키는 기판 회전 공정을 실행하도록 프로그램되어 있는, 기판 처리 장치.
  20. 제 19 항에 있어서,
    상기 컨트롤러가, 상기 기판 회전 공정에 있어서, 기판의 회전을 서서히 감속시키는 회전 감속 공정을 실행하도록 프로그램되어 있는, 기판 처리 장치.
  21. 제 19 항 또는 제 20 항에 있어서,
    상기 컨트롤러는, 상기 착액점에 대해 기판 회전 방향 하류측에 반보다 넓은 영역이 위치하도록 상기 건조 영역을 설정하도록 프로그램되어 있는, 기판 처리 장치.
  22. 제 19 항 내지 제 21 항 중 어느 한 항에 있어서,
    상기 대향면이, 선형의 평면 형상을 가지고 있고, 상기 선형의 사북이 상기 착액점으로부터 먼 위치에 배치되고, 상기 착액점에 가깝게 또한 기판 회전 방향을 따르도록 배치되어 있는, 기판 처리 장치.
  23. 제 15 항 내지 제 22 항 중 어느 한 항에 있어서,
    상기 저표면 장력 액체 공급 유닛이, 상기 기판 유지 유닛에 유지된 기판의 상면을 향하여 저표면 장력 액체를 공급하는 저표면 장력 액체 노즐을 포함하고,
    상기 저표면 장력 액체 노즐과 상기 건조 헤드를 공통으로 지지하고, 상기 저표면 장력 액체 노즐 및 상기 건조 헤드를 상기 기판의 상방에서 이동시키는 이동 부재를 추가로 포함하고,
    상기 건조 헤드 이동 유닛이, 상기 이동 부재를 이동시키는, 기판 처리 장치.
  24. 제 15 항 내지 제 23 항 중 어느 한 항에 있어서,
    상기 건조 헤드가, 불활성 가스를 공급하는 불활성 가스 공급 헤드인, 기판 처리 장치.
  25. 제 24 항에 있어서,
    상기 대향면이, 상기 기판 유지 유닛에 유지된 기판의 상면으로부터 상방으로 함몰되어 불활성 가스 저류 공간을 형성하고 있고, 상기 불활성 가스 공급 헤드가, 상기 불활성 가스 저류 공간에 불활성 가스를 공급하는 불활성 가스 도입구를 포함하는, 기판 처리 장치.
  26. 제 25 항에 있어서,
    상기 불활성 가스 공급 헤드가, 상기 불활성 가스 저류 공간을 배기하는 배기구를 추가로 포함하는, 기판 처리 장치.
  27. 제 24 항에 있어서,
    상기 대향면이, 기판의 상면에 평행한 평탄면이며, 상기 대향면에 복수의 불활성 가스 토출구가 형성되어 있고,
    상기 불활성 가스 공급 헤드는, 상기 복수의 불활성 가스 토출구에 연통하는 불활성 가스 저류 공간과, 상기 불활성 가스 저류 공간에 불활성 가스를 공급하는 불활성 가스 도입구를 포함하는, 기판 처리 장치.
  28. 제 15 항 내지 제 27 항 중 어느 한 항에 있어서,
    상기 건조 헤드가, 상기 기판 유지 유닛에 유지된 기판의 상면을 가열하는 히터 유닛을 포함하는, 기판 처리 장치.
  29. 제 15 항 내지 제 27 항 중 어느 한 항에 있어서,
    상기 건조 헤드가, 상기 대향면과 상기 기판 유지 유닛에 유지된 기판의 상면의 사이의 공간을 배기하는 배기 유닛을 포함하는, 기판 처리 장치.
KR1020187021935A 2016-03-08 2017-02-23 기판 처리 방법 및 기판 처리 장치 Active KR102118274B1 (ko)

Applications Claiming Priority (3)

Application Number Priority Date Filing Date Title
JP2016044554A JP6672023B2 (ja) 2016-03-08 2016-03-08 基板処理方法および基板処理装置
JPJP-P-2016-044554 2016-03-08
PCT/JP2017/006881 WO2017154599A1 (ja) 2016-03-08 2017-02-23 基板処理方法および基板処理装置

Publications (2)

Publication Number Publication Date
KR20180098656A true KR20180098656A (ko) 2018-09-04
KR102118274B1 KR102118274B1 (ko) 2020-06-02

Family

ID=59789423

Family Applications (1)

Application Number Title Priority Date Filing Date
KR1020187021935A Active KR102118274B1 (ko) 2016-03-08 2017-02-23 기판 처리 방법 및 기판 처리 장치

Country Status (6)

Country Link
US (2) US10964558B2 (ko)
JP (1) JP6672023B2 (ko)
KR (1) KR102118274B1 (ko)
CN (1) CN108604546B (ko)
TW (1) TWI687989B (ko)
WO (1) WO2017154599A1 (ko)

Families Citing this family (8)

* Cited by examiner, † Cited by third party
Publication number Priority date Publication date Assignee Title
JP6982433B2 (ja) * 2017-08-24 2021-12-17 株式会社Screenホールディングス 基板処理装置
JP6982434B2 (ja) * 2017-08-24 2021-12-17 株式会社Screenホールディングス 基板処理装置および基板処理方法
JP6982432B2 (ja) * 2017-08-24 2021-12-17 株式会社Screenホールディングス 基板処理装置
JP7034634B2 (ja) * 2017-08-31 2022-03-14 株式会社Screenホールディングス 基板処理方法および基板処理装置
JP2019054112A (ja) * 2017-09-15 2019-04-04 株式会社Screenホールディングス 基板乾燥方法および基板乾燥装置
KR102267912B1 (ko) * 2019-05-14 2021-06-23 세메스 주식회사 기판 처리 방법 및 기판 처리 장치
JP2021048336A (ja) * 2019-09-20 2021-03-25 三菱電機株式会社 処理液生成方法、処理液生成機構、半導体製造装置及び半導体製造方法
CN113053728B (zh) 2019-12-27 2024-08-27 株式会社斯库林集团 基板处理方法以及基板处理装置

Citations (3)

* Cited by examiner, † Cited by third party
Publication number Priority date Publication date Assignee Title
KR20070062457A (ko) * 2005-06-23 2007-06-15 동경 엘렉트론 주식회사 기판 처리 방법 및 기판 처리 장치
US20090205684A1 (en) 2008-02-15 2009-08-20 Tokyo Electron Limited Substrate processing apparatus, substrate processing method, and storage medium
KR20150005490A (ko) * 2012-11-08 2015-01-14 가부시키가이샤 스크린 홀딩스 기판 처리 방법 및 기판 처리 장치

Family Cites Families (21)

* Cited by examiner, † Cited by third party
Publication number Priority date Publication date Assignee Title
AT407586B (de) * 1997-05-23 2001-04-25 Sez Semiconduct Equip Zubehoer Anordnung zum behandeln scheibenförmiger gegenstände, insbesondere von siliziumwafern
JP2007081311A (ja) 2005-09-16 2007-03-29 Renesas Technology Corp 枚葉型ウェハ洗浄装置及び半導体装置の製造方法
TWI378502B (en) * 2006-06-12 2012-12-01 Semes Co Ltd Method and apparatus for cleaning substrates
JP4762098B2 (ja) * 2006-09-28 2011-08-31 大日本スクリーン製造株式会社 基板処理装置および基板処理方法
JP5019370B2 (ja) 2007-07-12 2012-09-05 ルネサスエレクトロニクス株式会社 基板の洗浄方法および洗浄装置
JP5153296B2 (ja) * 2007-10-31 2013-02-27 大日本スクリーン製造株式会社 基板処理装置および基板処理方法
JP4988510B2 (ja) 2007-10-31 2012-08-01 大日本スクリーン製造株式会社 基板処理装置および基板処理方法
JP5139844B2 (ja) 2008-03-04 2013-02-06 大日本スクリーン製造株式会社 基板処理方法および基板処理装置
JP5122371B2 (ja) 2008-05-26 2013-01-16 東京エレクトロン株式会社 基板処理装置、基板処理方法、プログラムならびに記憶媒体
US20110289795A1 (en) 2010-02-16 2011-12-01 Tomoatsu Ishibashi Substrate drying apparatus, substrate drying method and control program
JP5632860B2 (ja) * 2012-01-05 2014-11-26 東京エレクトロン株式会社 基板洗浄方法、基板洗浄装置及び基板洗浄用記憶媒体
JP6017922B2 (ja) 2012-10-29 2016-11-02 東京エレクトロン株式会社 基板乾燥方法、液処理システムおよび記憶媒体
JP5486708B2 (ja) * 2013-02-28 2014-05-07 大日本スクリーン製造株式会社 基板処理装置および基板処理方法
JP6224515B2 (ja) * 2013-06-07 2017-11-01 東京エレクトロン株式会社 基板処理装置及び基板処理方法並びに基板処理プログラムを記録したコンピュータ読み取り可能な記録媒体
JP5995881B2 (ja) * 2014-01-09 2016-09-21 東京エレクトロン株式会社 基板洗浄方法、基板洗浄装置、及びコンピュータ読み取り可能な記録媒体
JP6386769B2 (ja) * 2014-04-16 2018-09-05 株式会社荏原製作所 基板乾燥装置、制御プログラム、及び基板乾燥方法
JP6118758B2 (ja) * 2014-05-01 2017-04-19 東京エレクトロン株式会社 基板処理装置及び基板処理方法並びに基板処理プログラムを記録したコンピュータ読み取り可能な記録媒体
JP6410694B2 (ja) * 2014-10-21 2018-10-24 東京エレクトロン株式会社 基板液処理方法及び基板液処理装置並びに基板液処理プログラムを記憶したコンピュータ読み取り可能な記憶媒体
US20170084470A1 (en) * 2015-09-18 2017-03-23 Tokyo Electron Limited Substrate processing apparatus and cleaning method of processing chamber
JP6588819B2 (ja) * 2015-12-24 2019-10-09 株式会社Screenホールディングス 基板処理装置および基板処理方法
JP2017157800A (ja) * 2016-03-04 2017-09-07 東京エレクトロン株式会社 液処理方法、基板処理装置、及び記憶媒体

Patent Citations (3)

* Cited by examiner, † Cited by third party
Publication number Priority date Publication date Assignee Title
KR20070062457A (ko) * 2005-06-23 2007-06-15 동경 엘렉트론 주식회사 기판 처리 방법 및 기판 처리 장치
US20090205684A1 (en) 2008-02-15 2009-08-20 Tokyo Electron Limited Substrate processing apparatus, substrate processing method, and storage medium
KR20150005490A (ko) * 2012-11-08 2015-01-14 가부시키가이샤 스크린 홀딩스 기판 처리 방법 및 기판 처리 장치

Also Published As

Publication number Publication date
US20210151334A1 (en) 2021-05-20
JP6672023B2 (ja) 2020-03-25
JP2017162916A (ja) 2017-09-14
WO2017154599A1 (ja) 2017-09-14
CN108604546B (zh) 2022-12-02
TWI687989B (zh) 2020-03-11
US10964558B2 (en) 2021-03-30
US11501985B2 (en) 2022-11-15
US20190035652A1 (en) 2019-01-31
KR102118274B1 (ko) 2020-06-02
CN108604546A (zh) 2018-09-28
TW201802919A (zh) 2018-01-16

Similar Documents

Publication Publication Date Title
KR20180098656A (ko) 기판 처리 방법 및 기판 처리 장치
CN109427548B (zh) 基板处理方法以及基板处理装置
CN107871691B (zh) 基板处理方法和基板处理装置
JP6588819B2 (ja) 基板処理装置および基板処理方法
US10510528B2 (en) Substrate processing method
US10900127B2 (en) Substrate processing method and substrate processing apparatus
US8607807B2 (en) Liquid treatment apparatus and method
JP2017208435A (ja) 基板処理装置および基板処理方法
US12334366B2 (en) Substrate processing apparatus and substrate processing method
CN108666237B (zh) 基板处理方法及基板处理装置
KR20180025256A (ko) 기판 처리 방법
JP7713834B2 (ja) 基板処理方法および基板処理装置
JP2009267145A (ja) 基板処理装置および基板処理方法
JP6817821B2 (ja) 基板処理装置および基板処理方法
JP6771080B2 (ja) 基板処理装置および基板処理方法
JP2024064787A (ja) 基板処理装置、及び基板処理方法
WO2024090475A1 (ja) 基板処理装置、基板処理方法、及び、チャンバー洗浄方法

Legal Events

Date Code Title Description
A201 Request for examination
AMND Amendment
PA0105 International application

Patent event date: 20180727

Patent event code: PA01051R01D

Comment text: International Patent Application

PA0201 Request for examination
PG1501 Laying open of application
E902 Notification of reason for refusal
PE0902 Notice of grounds for rejection

Comment text: Notification of reason for refusal

Patent event date: 20190722

Patent event code: PE09021S01D

AMND Amendment
E601 Decision to refuse application
PE0601 Decision on rejection of patent

Patent event date: 20200110

Comment text: Decision to Refuse Application

Patent event code: PE06012S01D

Patent event date: 20190722

Comment text: Notification of reason for refusal

Patent event code: PE06011S01I

AMND Amendment
PX0901 Re-examination

Patent event code: PX09011S01I

Patent event date: 20200110

Comment text: Decision to Refuse Application

Patent event code: PX09012R01I

Patent event date: 20190917

Comment text: Amendment to Specification, etc.

Patent event code: PX09012R01I

Patent event date: 20180727

Comment text: Amendment to Specification, etc.

PX0701 Decision of registration after re-examination

Patent event date: 20200304

Comment text: Decision to Grant Registration

Patent event code: PX07013S01D

Patent event date: 20200211

Comment text: Amendment to Specification, etc.

Patent event code: PX07012R01I

Patent event date: 20200110

Comment text: Decision to Refuse Application

Patent event code: PX07011S01I

Patent event date: 20190917

Comment text: Amendment to Specification, etc.

Patent event code: PX07012R01I

Patent event date: 20180727

Comment text: Amendment to Specification, etc.

Patent event code: PX07012R01I

X701 Decision to grant (after re-examination)
GRNT Written decision to grant
PR0701 Registration of establishment

Comment text: Registration of Establishment

Patent event date: 20200527

Patent event code: PR07011E01D

PR1002 Payment of registration fee

Payment date: 20200527

End annual number: 3

Start annual number: 1

PG1601 Publication of registration
PR1001 Payment of annual fee

Payment date: 20230419

Start annual number: 4

End annual number: 4

PR1001 Payment of annual fee

Payment date: 20240429

Start annual number: 5

End annual number: 5