KR20180098554A - 꼰끈 형상 압전 소자, 꼰끈 형상 압전 소자를 사용한 포백 형상 압전 소자 및 그것들을 사용한 디바이스 - Google Patents

꼰끈 형상 압전 소자, 꼰끈 형상 압전 소자를 사용한 포백 형상 압전 소자 및 그것들을 사용한 디바이스 Download PDF

Info

Publication number
KR20180098554A
KR20180098554A KR1020187017585A KR20187017585A KR20180098554A KR 20180098554 A KR20180098554 A KR 20180098554A KR 1020187017585 A KR1020187017585 A KR 1020187017585A KR 20187017585 A KR20187017585 A KR 20187017585A KR 20180098554 A KR20180098554 A KR 20180098554A
Authority
KR
South Korea
Prior art keywords
piezoelectric element
braided
piezoelectric
fibers
fiber
Prior art date
Legal status (The legal status is an assumption and is not a legal conclusion. Google has not performed a legal analysis and makes no representation as to the accuracy of the status listed.)
Granted
Application number
KR1020187017585A
Other languages
English (en)
Other versions
KR102651217B1 (ko
Inventor
요시로 다지츠
?스케 가네마츠
유헤이 오노
스구루 오자와
도모요시 야마모토
사토코 요시자키
Original Assignee
데이진 가부시키가이샤
각코우호우진 간사이다이가쿠
Priority date (The priority date is an assumption and is not a legal conclusion. Google has not performed a legal analysis and makes no representation as to the accuracy of the date listed.)
Filing date
Publication date
Priority claimed from JP2015257504A external-priority patent/JP6635788B2/ja
Priority claimed from JP2016075437A external-priority patent/JP6689119B2/ja
Application filed by 데이진 가부시키가이샤, 각코우호우진 간사이다이가쿠 filed Critical 데이진 가부시키가이샤
Publication of KR20180098554A publication Critical patent/KR20180098554A/ko
Application granted granted Critical
Publication of KR102651217B1 publication Critical patent/KR102651217B1/ko
Active legal-status Critical Current
Anticipated expiration legal-status Critical

Links

Images

Classifications

    • HELECTRICITY
    • H10SEMICONDUCTOR DEVICES; ELECTRIC SOLID-STATE DEVICES NOT OTHERWISE PROVIDED FOR
    • H10NELECTRIC SOLID-STATE DEVICES NOT OTHERWISE PROVIDED FOR
    • H10N30/00Piezoelectric or electrostrictive devices
    • H10N30/702Piezoelectric or electrostrictive devices based on piezoelectric or electrostrictive fibres
    • H01L41/082
    • DTEXTILES; PAPER
    • D03WEAVING
    • D03DWOVEN FABRICS; METHODS OF WEAVING; LOOMS
    • D03D1/00Woven fabrics designed to make specified articles
    • DTEXTILES; PAPER
    • D03WEAVING
    • D03DWOVEN FABRICS; METHODS OF WEAVING; LOOMS
    • D03D1/00Woven fabrics designed to make specified articles
    • D03D1/0088Fabrics having an electronic function
    • DTEXTILES; PAPER
    • D03WEAVING
    • D03DWOVEN FABRICS; METHODS OF WEAVING; LOOMS
    • D03D15/00Woven fabrics characterised by the material, structure or properties of the fibres, filaments, yarns, threads or other warp or weft elements used
    • DTEXTILES; PAPER
    • D03WEAVING
    • D03DWOVEN FABRICS; METHODS OF WEAVING; LOOMS
    • D03D15/00Woven fabrics characterised by the material, structure or properties of the fibres, filaments, yarns, threads or other warp or weft elements used
    • D03D15/50Woven fabrics characterised by the material, structure or properties of the fibres, filaments, yarns, threads or other warp or weft elements used characterised by the properties of the yarns or threads
    • DTEXTILES; PAPER
    • D04BRAIDING; LACE-MAKING; KNITTING; TRIMMINGS; NON-WOVEN FABRICS
    • D04BKNITTING
    • D04B1/00Weft knitting processes for the production of fabrics or articles not dependent on the use of particular machines; Fabrics or articles defined by such processes
    • DTEXTILES; PAPER
    • D04BRAIDING; LACE-MAKING; KNITTING; TRIMMINGS; NON-WOVEN FABRICS
    • D04BKNITTING
    • D04B21/00Warp knitting processes for the production of fabrics or articles not dependent on the use of particular machines; Fabrics or articles defined by such processes
    • DTEXTILES; PAPER
    • D04BRAIDING; LACE-MAKING; KNITTING; TRIMMINGS; NON-WOVEN FABRICS
    • D04CBRAIDING OR MANUFACTURE OF LACE, INCLUDING BOBBIN-NET OR CARBONISED LACE; BRAIDING MACHINES; BRAID; LACE
    • D04C1/00Braid or lace, e.g. pillow-lace; Processes for the manufacture thereof
    • D04C1/02Braid or lace, e.g. pillow-lace; Processes for the manufacture thereof made from particular materials
    • DTEXTILES; PAPER
    • D04BRAIDING; LACE-MAKING; KNITTING; TRIMMINGS; NON-WOVEN FABRICS
    • D04CBRAIDING OR MANUFACTURE OF LACE, INCLUDING BOBBIN-NET OR CARBONISED LACE; BRAIDING MACHINES; BRAID; LACE
    • D04C1/00Braid or lace, e.g. pillow-lace; Processes for the manufacture thereof
    • D04C1/06Braid or lace serving particular purposes
    • D04C1/12Cords, lines, or tows
    • GPHYSICS
    • G01MEASURING; TESTING
    • G01LMEASURING FORCE, STRESS, TORQUE, WORK, MECHANICAL POWER, MECHANICAL EFFICIENCY, OR FLUID PRESSURE
    • G01L1/00Measuring force or stress, in general
    • G01L1/16Measuring force or stress, in general using properties of piezoelectric devices
    • GPHYSICS
    • G06COMPUTING OR CALCULATING; COUNTING
    • G06FELECTRIC DIGITAL DATA PROCESSING
    • G06F3/00Input arrangements for transferring data to be processed into a form capable of being handled by the computer; Output arrangements for transferring data from processing unit to output unit, e.g. interface arrangements
    • G06F3/01Input arrangements or combined input and output arrangements for interaction between user and computer
    • G06F3/03Arrangements for converting the position or the displacement of a member into a coded form
    • G06F3/041Digitisers, e.g. for touch screens or touch pads, characterised by the transducing means
    • H01L41/047
    • H01L41/1132
    • H01L41/193
    • HELECTRICITY
    • H10SEMICONDUCTOR DEVICES; ELECTRIC SOLID-STATE DEVICES NOT OTHERWISE PROVIDED FOR
    • H10NELECTRIC SOLID-STATE DEVICES NOT OTHERWISE PROVIDED FOR
    • H10N30/00Piezoelectric or electrostrictive devices
    • H10N30/30Piezoelectric or electrostrictive devices with mechanical input and electrical output, e.g. functioning as generators or sensors
    • HELECTRICITY
    • H10SEMICONDUCTOR DEVICES; ELECTRIC SOLID-STATE DEVICES NOT OTHERWISE PROVIDED FOR
    • H10NELECTRIC SOLID-STATE DEVICES NOT OTHERWISE PROVIDED FOR
    • H10N30/00Piezoelectric or electrostrictive devices
    • H10N30/30Piezoelectric or electrostrictive devices with mechanical input and electrical output, e.g. functioning as generators or sensors
    • H10N30/302Sensors
    • HELECTRICITY
    • H10SEMICONDUCTOR DEVICES; ELECTRIC SOLID-STATE DEVICES NOT OTHERWISE PROVIDED FOR
    • H10NELECTRIC SOLID-STATE DEVICES NOT OTHERWISE PROVIDED FOR
    • H10N30/00Piezoelectric or electrostrictive devices
    • H10N30/60Piezoelectric or electrostrictive devices having a coaxial cable structure
    • HELECTRICITY
    • H10SEMICONDUCTOR DEVICES; ELECTRIC SOLID-STATE DEVICES NOT OTHERWISE PROVIDED FOR
    • H10NELECTRIC SOLID-STATE DEVICES NOT OTHERWISE PROVIDED FOR
    • H10N30/00Piezoelectric or electrostrictive devices
    • H10N30/80Constructional details
    • H10N30/802Circuitry or processes for operating piezoelectric or electrostrictive devices not otherwise provided for, e.g. drive circuits
    • HELECTRICITY
    • H10SEMICONDUCTOR DEVICES; ELECTRIC SOLID-STATE DEVICES NOT OTHERWISE PROVIDED FOR
    • H10NELECTRIC SOLID-STATE DEVICES NOT OTHERWISE PROVIDED FOR
    • H10N30/00Piezoelectric or electrostrictive devices
    • H10N30/80Constructional details
    • H10N30/85Piezoelectric or electrostrictive active materials
    • H10N30/857Macromolecular compositions
    • HELECTRICITY
    • H10SEMICONDUCTOR DEVICES; ELECTRIC SOLID-STATE DEVICES NOT OTHERWISE PROVIDED FOR
    • H10NELECTRIC SOLID-STATE DEVICES NOT OTHERWISE PROVIDED FOR
    • H10N30/00Piezoelectric or electrostrictive devices
    • H10N30/80Constructional details
    • H10N30/87Electrodes or interconnections, e.g. leads or terminals
    • HELECTRICITY
    • H10SEMICONDUCTOR DEVICES; ELECTRIC SOLID-STATE DEVICES NOT OTHERWISE PROVIDED FOR
    • H10NELECTRIC SOLID-STATE DEVICES NOT OTHERWISE PROVIDED FOR
    • H10N30/00Piezoelectric or electrostrictive devices
    • H10N30/80Constructional details
    • H10N30/87Electrodes or interconnections, e.g. leads or terminals
    • H10N30/875Further connection or lead arrangements, e.g. flexible wiring boards, terminal pins
    • HELECTRICITY
    • H10SEMICONDUCTOR DEVICES; ELECTRIC SOLID-STATE DEVICES NOT OTHERWISE PROVIDED FOR
    • H10NELECTRIC SOLID-STATE DEVICES NOT OTHERWISE PROVIDED FOR
    • H10N30/00Piezoelectric or electrostrictive devices
    • H10N30/80Constructional details
    • H10N30/88Mounts; Supports; Enclosures; Casings
    • H10N30/883Additional insulation means preventing electrical, physical or chemical damage, e.g. protective coatings
    • DTEXTILES; PAPER
    • D10INDEXING SCHEME ASSOCIATED WITH SUBLASSES OF SECTION D, RELATING TO TEXTILES
    • D10BINDEXING SCHEME ASSOCIATED WITH SUBLASSES OF SECTION D, RELATING TO TEXTILES
    • D10B2401/00Physical properties
    • D10B2401/16Physical properties antistatic; conductive
    • DTEXTILES; PAPER
    • D10INDEXING SCHEME ASSOCIATED WITH SUBLASSES OF SECTION D, RELATING TO TEXTILES
    • D10BINDEXING SCHEME ASSOCIATED WITH SUBLASSES OF SECTION D, RELATING TO TEXTILES
    • D10B2403/00Details of fabric structure established in the fabric forming process
    • D10B2403/02Cross-sectional features
    • D10B2403/024Fabric incorporating additional compounds
    • D10B2403/0243Fabric incorporating additional compounds enhancing functional properties
    • D10B2403/02431Fabric incorporating additional compounds enhancing functional properties with electronic components, e.g. sensors or switches

Landscapes

  • Engineering & Computer Science (AREA)
  • Textile Engineering (AREA)
  • Physics & Mathematics (AREA)
  • Manufacturing & Machinery (AREA)
  • General Engineering & Computer Science (AREA)
  • General Physics & Mathematics (AREA)
  • Theoretical Computer Science (AREA)
  • Spectroscopy & Molecular Physics (AREA)
  • Human Computer Interaction (AREA)
  • Woven Fabrics (AREA)
  • Ropes Or Cables (AREA)

Abstract

압전성 섬유를 사용한 압전 소자의 신호 강도를 보다 높이는 기술을 제공한다. 도전성 섬유로 형성된 심부와, 그 심부를 피복하도록 꼰끈 형상의 압전성 섬유로 형성된 초부를 구비하고, 또한 그 심부에, 하기 A, B 어느 하나의 양태로 접속 고정된 금속제 단자를 구비한 꼰끈 형상 압전 소자.
A) 꼰끈 형상 압전 소자의 말단부를 구성하는 섬유 부분을, 금속제 단자의 일부가 파지하고, 그 파지부로부터 1 ㎜ 이내에 있어서, 그 심부와 금속제 단자가 전기 접속되고 고정된 양태
B) 금속제 단자의 일부가 포크상 또는 침상이고, 그 포크상 부분 또는 침상 부분이 그 초부에 접촉하면서 그 심부와 전기 접속되고, 그 전기 접속의 지점으로부터 10 ㎜ 이내에 있어서, 그 금속제 단자의 다른 부위 또는 그 금속제 단자에 고정된 부품에 의해 그 꼰끈 형상 압전 소자가 그 금속제 단자에 고정된 양태

Description

꼰끈 형상 압전 소자, 꼰끈 형상 압전 소자를 사용한 포백 형상 압전 소자 및 그것들을 사용한 디바이스
본 발명은, 압전성 섬유를 사용한 단자가 부착된 꼰끈 형상 압전 소자, 압전성 섬유를 사용한 꼰끈을 도전층으로 피복한 단자가 부착된 꼰끈 형상 압전 소자, 단자가 부착된 꼰끈 형상 압전 소자를 사용한 포백 형상 압전 소자 및 그것들을 사용한 디바이스에 관한 것이다.
최근, 이른바 웨어러블 센서가 주목을 받고 있으며, 안경형이나 손목시계와 같은 형상의 상품이 세상에 나오기 시작하였다. 그러나, 이들 디바이스는, 장착하고 있다는 감각이 있어, 궁극의 웨어러블인, 천 형상, 요컨대 의류와 같은 형상의 것이 요망되고 있다. 그러한 센서로서, 압전성 섬유의 압전 효과를 이용한 압전 소자가 알려져 있다. 예를 들어, 특허문헌 1 에는, 2 개의 도전성 섬유 및 1 개의 압전성 섬유를 포함하고, 이들이 서로 접점을 가지면서, 대략 동일 평면 상에 배치되어 있는 압전 단위를 포함하는 압전 소자가 개시되어 있다. 또, 특허문헌 2 에는, 압전 고분자로 이루어지는 섬유상물, 또는 성형물이고, 이것의 축 방향으로 부가되는 장력에 의해 압전성을 발생시키기 위해서, 이러한 장력의 부가 방향과 상이한 방향으로 비틀림을 가하여 구성한 것을 특징으로 하는 압전재가 개시되어 있다.
한편, 최근, 이른바 터치 패널 방식을 채용한 입력 장치, 즉 터치식 입력 장치가 대폭 증가하고 있다. 은행 ATM 이나 역의 매표기 뿐만 아니라, 스마트 폰, 휴대 전화기, 휴대 게임기, 휴대 음악 플레이어 등에 있어서, 박형 디스플레이 기술의 발전과 함께, 입력 인터페이스로서 터치 패널 방식을 채용한 기기가 대폭 증가하고 있다. 그러한 터치 패널 방식을 실현하는 수단으로서, 압전 시트나 압전성 섬유를 사용하는 방식이 알려져 있다. 예를 들어, 특허문헌 3 에는, 소정 방향으로 향하는 연신축을 갖는 L 형 폴리락트산으로 이루어지는 압전 시트를 사용하는 터치 패널이 개시되어 있다.
이들 웨어러블 센서나 터치 패널 방식의 센서에서는, 압전 재료에 인가되는 작은 변형에 의해 압전 재료 내에 발생하는 작은 응력에 대해서도, 큰 전기 신호를 취출하는 것이 요망된다. 예를 들어, 손가락을 접었다 펴는 동작이나 손가락 등으로 표면을 문지르는 행위에 의해 압전 재료에 발생하는 비교적 작은 응력에 의해서도 큰 전기 신호를 안정적으로 취출하는 것이 요망된다.
특허문헌 1 의 압전성 섬유는, 다양한 용도에 적용 가능한 우수한 소재이지만, 비교적 작은 변형으로 발생하는 응력에 대하여 큰 전기 신호를 출력할 수 있다고는 반드시 말할 수 없으며, 큰 전기 신호를 얻는 기술에 대해서도 명시하고 있지 않다. 또, 특허문헌 1 에 기재된 압전 소자는, 신호선이 되는 도전성 섬유가 노출되어 있고, 그 때문에 노이즈 신호를 억제하기 위해서는, 별도 노이즈 실드 구조를 구축할 필요가 있다. 따라서, 특허문헌 1 에 기재된 압전 소자에서는, 실용화에 대하여 여전히 개선의 여지가 있었다.
특허문헌 2 의 압전성 섬유는, 특수한 제조 방법으로 압전성 섬유를 미리 비틀어 둠으로써, 압전성 섬유에 대한 인장이나 압축에 대하여 전기 신호를 출력할 수 있다. 그러나, 특허문헌 2 에는, 압전성 섬유를 구부리거나 펴거나 하는 굴곡이나, 압전성 섬유의 표면을 문지르는 행위에 의한 전단 응력에 대하여 충분한 전기 신호를 발생시키는 기술은 개시되어 있지 않다. 따라서, 이와 같은 압전성 섬유를 사용한 경우, 표면을 문지르는 비교적 작은 변형으로 발생하는 응력만으로 충분한 전기 신호를 취출하는 것은 곤란하다.
특허문헌 3 의 압전 시트는, 압전 시트에 대한 변형 (응력) 에 의해 전기 신호를 출력할 수 있다. 그러나, 원래 시트상이기 때문에 유연성이 부족하여 천과 같이 자유롭게 굴곡할 수 있는 사용법은 불가능하다.
국제 공개 제2014/058077호 일본 특허공보 제3540208호 일본 공개특허공보 2011-253517호
본 발명의 목적은, 비교적 작은 변형으로 발생하는 응력에 의해서도, 큰 전기 신호를 취출하는 것이 가능한 섬유상의 압전 소자를 제공하게 된다. 또 본 발명의 목적은, 이와 같은 압전 소자로서, 노이즈 신호를 억제 가능한 섬유상의 압전 소자를 제공하는 것에 있다. 또한 본 발명의 목적은, 이와 같은 압전 소자를 신호 검출 회로에 효율적으로 접속하는 것을 가능하게 한 단자가 부착된 압전 소자를 제공하는 것에 있다.
본 발명자들은, 도전성 섬유와 압전성 섬유의 조합으로서, 심 (芯) 이 되는 도전성 섬유의 표면을 꼰끈 형상의 압전성 섬유로 피복한 꼰끈 형상 압전 소자에 의해 효율적으로 전기를 취출할 수 있는 것을 발견하였다. 본 발명자들은 또한, 그러한 꼰끈 형상 압전 소자의 주위에 도전층을 형성한 압전 소자에 의해, 또한 노이즈 신호를 억제할 수 있는 것을 발견하였다.
절연 피복 도선에 단자를 붙이는 기술은 여러 가지 개시되어 있지만, 압전성 섬유에 의해 꼰끈 형상으로 피복된 도전성 섬유에 단자를 접속하는 경우, 또한 그 압전성 섬유의 주위에 도전층을 형성한 도전성 섬유에 단자를 접속하는 경우, 종래의 기술을 그대로 적용하면, 피복 제거의 곤란함, 초부의 섬유에서 유래하는 특성 및 압전성 유래의 노이즈의 점에서 적용 곤란한 것이 판명되었다. 또, 회로의 그라운드 단자로부터 주위의 도전층에 단순히 배선을 하는 것만으로는, 단자부에서의 노이즈의 혼입을 방해할 수가 없을 뿐만 아니라, 번잡한 배선 작업에 수반하여 압전성 섬유가 풀려, 압전 소자로서의 기능이 상실되기 쉬운 것도 판명되었다. 그래서 접속부의 초부의 섬유를 고정하면서 심부와 단자의 전기적 접속을 확보할 수 있는 특정한 구조로 함으로써, 나아가서는 접속부의 초부의 섬유 및 주위의 도전층을 일괄하여 고정하면서 심부 도선 및 주위의 도전층의 각각에 접속된 단자의 전기적 접속을 확보할 수 있는 특정한 구조로 함으로써, 상기 서술한 문제를 해결할 수 있는 것을 밝혀내었다.
또한 웨어러블 디바이스에 적용할 때에, 꼰끈 형상 압전 소자의 단자부와 포백 등의 유연성 기재에 대한 고정부와의 거리를 줄임으로써, 꼰끈 형상의 압전성 섬유의 불안정함에서 유래하는 노이즈를 저감할 수 있는 것을 밝혀내었다.
또한 고기능의 웨어러블 디바이스로 하기 때문에, 꼰끈을 복수 구비한 디바이스를 효율적으로 제조할 수 있고, 또한 용이하게 회로와 접속·분리 가능하게 할 수 있는 방법을 발명하고, 본 발명을 완성시켰다.
즉, 본 발명은 이하의 발명을 포함한다.
1. 도전성 섬유로 형성된 심부와,
상기 심부를 피복하도록 꼰끈 형상의 압전성 섬유로 형성된 초부
를 구비한 꼰끈 형상 압전 소자로서, 그 꼰끈 형상 압전 소자의 심부에, 다음의 A, B 어느 하나의 양태로 접속 고정된 금속제 단자를 추가로 구비하고, 또한, 그 금속제 단자 또는 그 금속제 단자에 고정된 부품에 의해 고정된 그 꼰끈 형상 압전 소자의 부분의 단부 (端部) 에 있어서, 그 초부의 조직이 풀려 그 심부로부터 떨어진 압전성 섬유가, 그 초부의 압전성 섬유 전체의 20 % 미만인 부분을 갖는, 꼰끈 형상 압전 소자.
A) 그 꼰끈 형상 압전 소자의 말단 부분을 구성하는 섬유의 길이 0.5 ㎜ 이상의 부분을, 그 금속제 단자의 일부가 파지 (把持) 하고, 그 파지 부분 또는 그 파지 부분으로부터 1 ㎜ 이내의 장소에 있어서, 그 꼰끈 형상 압전 소자의 심부와 그 금속제 단자가 직접 혹은 도전성 재료를 통해서 간접적으로 전기 접속되고 고정된 양태
B) 그 금속제 단자의 일부가 포크상 혹은 침상 (針狀) 이고, 이 포크상 부분 또는 침상 부분이 그 꼰끈 형상 압전 소자의 그 초부에 접촉하면서 그 심부의 도전성 섬유와 직접 또는 도전성 재료를 통해서 간접적으로 접속되고, 이 접속 지점으로부터 10 ㎜ 이내의 장소에 있어서, 그 금속제 단자의 다른 부위 또는 그 금속제 단자에 고정된 부품에 의해 그 꼰끈 형상 압전 소자가 그 금속제 단자에 고정된 양태
2. 그 심부와 그 금속제 단자의 접속 부분으로부터 5 ㎜ 이내에 있는 그 초부의 압전성 섬유의 일부 또는 전부가 섬유 형상을 상실하고 융착한, 상기 1 기재의 꼰끈 형상 압전 소자.
3. 그 초부의 표면에 솔더 또는 도전 페이스트로 이루어지는, 그 심부와 전기적으로 접속된 도전성 재료를 구비하고 있고, 그 초부의 표면에 구비된 그 도전성 재료와 그 금속제 단자가 접촉함으로써 그 심부와 그 금속제 단자가 간접적으로 전기 접속되어 있는, 상기 1 또는 2 에 기재된 꼰끈 형상 압전 소자.
4. 상기 1 ∼ 3 중 어느 한 항에 기재된 꼰끈 형상 압전 소자를 포함하는 포백을 구비하는 포백 형상 압전 소자에 있어서, 그 금속제 단자가 그 꼰끈 형상 압전 소자에 고정된 부분으로부터 길이 10 ㎜ 이내의 범위에 있어서, 그 꼰끈 형상 압전 소자의 적어도 일부가 포백 형상 기재에 고정된, 포백 형상 압전 소자.
5. 상기 1 ∼ 3 중 어느 한 항에 기재된 꼰끈 형상 압전 소자가, 2 개 이상, 대략 평행하게 배치되고, 각각의 꼰끈 형상 압전 소자에 접속된 2 개 이상의 금속제 단자가 1 개의 커넥터 하우징에 정리되고, 일괄하여 다른 커넥터와 접속 가능하게 되어 있는, 상기 1 ∼ 4 중 어느 한 항에 기재된 꼰끈 형상 또는 포백 형상 압전 소자.
6. 직포 혹은 편지 (編地) 를 구성하는 실의 일부에, 상기 5 에 기재된 꼰끈 형상 압전 소자를 2 개 이상 대략 평행하게 배치한 포백 형상 압전 소자.
7. 압전성 섬유가 주성분으로서 폴리락트산을 포함하고, 상기 도전성 섬유에 대한 상기 압전성 섬유의 휘감기 각도는 15° 이상, 75° 이하인, 상기 1 ∼ 6 중 어느 한 항에 기재된 꼰끈 형상 또는 포백 형상 압전 소자.
8. 상기 압전성 섬유의 총 섬도는, 상기 도전성 섬유의 총 섬도의 1 배 이상, 20 배 이하인, 상기 1 ∼ 7 중 어느 한 항에 기재된 꼰끈 형상 또는 포백 형상 압전 소자.
9. 상기 압전성 섬유의 1 개당 섬도는, 상기 도전성 섬유의 총 섬도의 1/20 배 이상, 2 배 이하인, 상기 1 ∼ 8 중 어느 한 항에 기재된 꼰끈 형상 또는 포백 형상 압전 소자.
10. 상기 꼰끈 형상 압전 소자의 적어도 일부와 교차하여 접촉하는 도전성 섬유를 추가로 포함하는, 상기 4 ∼ 6 중 어느 한 항에 기재된 포백 형상 압전 소자.
11. 상기 도전성 섬유가, 상기 꼰끈 형상 압전 소자와 교차하는 섬유 중 30 % 이상을 구성하는, 상기 10 에 기재된 포백 형상 압전 소자.
12. 상기 1 ∼ 11 중 어느 한 항에 기재된 꼰끈 형상 또는 포백 형상 압전 소자와,
인가된 압력에 따라 상기 꼰끈 형상 또는 포백 형상 압전 소자로부터 출력되는 전기 신호를 증폭하는 증폭 수단과,
상기 증폭 수단으로 증폭된 전기 신호를 출력하는 출력 수단
을 구비하는 디바이스.
13. 도전성 섬유로 형성된 심부와,
그 심부를 피복하도록 꼰끈 형상의 압전성 섬유로 형성된 초부와,
그 초부의 주위에 형성된 도전층
을 구비한 압전 소자로서, 그 심부에 접속 고정된 신호용 금속제 단자와, 그 도전층에 접속 고정된 실드용 금속제 단자를 추가로 구비하고, 그 신호용 금속제 단자와 그 실드용 금속제 단자가 절연체를 통해서 서로 고정된, 압전 소자.
14. 상기 도전층에 의한 상기 초부의 피복률이 25 % 이상인, 상기 13 에 기재된 압전 소자.
15. 상기 도전층이 섬유로 형성되어 있는, 상기 13 또는 14 에 기재된 압전 소자.
16. 상기 실드용 금속제 단자가, 상기 신호용 금속제 단자를 절연체를 통해서 덮어 유지하고 있는, 상기 13 ∼ 15 중 어느 한 항에 기재된 압전 소자.
17. 상기 신호용 금속제 단자는, 다음의 A, B 어느 하나의 양태로 접속 고정되고, 또한, 그 신호용 금속제 단자 또는 그 신호용 금속제 단자에 고정된 부품에 의해 고정된 그 압전 소자의 부분의 단부에 있어서, 그 초부의 조직이 풀려 그 심부로부터 떨어진 압전성 섬유가, 그 초부의 압전성 섬유 전체의 20 % 미만인 부분을 갖는, 상기 13 ∼ 16 중 어느 한 항에 기재된 압전 소자.
A) 그 압전 소자의 말단 부분을 구성하는 섬유의 길이 0.5 ㎜ 이상의 부분을, 그 신호용 금속제 단자의 일부가 파지하고, 그 파지 부분 또는 그 파지 부분으로부터 1 ㎜ 이내의 장소에 있어서, 그 압전 소자의 심부와 그 신호용 금속제 단자가 직접 혹은 도전성 재료를 통해서 간접적으로 전기 접속되고 고정된 양태
B) 그 신호용 금속제 단자의 일부가 포크상 혹은 침상이고, 이 포크상 부분 또는 침상 부분이 그 압전 소자의 그 초부에 접촉하면서 그 심부의 도전성 섬유와 직접 또는 도전성 재료를 통해서 간접적으로 접속되고, 이 접속 지점으로부터 10 ㎜ 이내의 장소에 있어서, 그 신호용 금속제 단자의 다른 부위 또는 그 신호용 금속제 단자에 고정된 부품에 의해 그 압전 소자가 그 신호용 금속제 단자에 고정된 양태
18. 그 심부와 그 신호용 금속제 단자의 접속 부분으로부터 5 ㎜ 이내에 있는 그 초부의 압전성 섬유의 일부 또는 전부가 섬유 형상을 상실하고 융착한, 상기 13 ∼ 17 중 어느 한 항에 기재된 압전 소자.
19. 그 초부의 표면에 솔더 또는 도전 페이스트로 이루어지는, 그 심부와 전기적으로 접속된 도전성 재료를 구비하고 있고, 그 초부의 표면에 구비된 그 도전성 재료와 그 신호용 금속제 단자가 접촉함으로써 그 심부와 그 신호용 금속제 단자가 간접적으로 전기 접속되어 있는, 상기 13 ∼ 18 중 어느 한 항에 기재된 압전 소자.
20. 상기 13 ∼ 19 중 어느 한 항에 기재된 압전 소자를 포함하는 포백을 구비하는 압전 소자에 있어서, 그 신호용 금속제 단자 혹은 실드용 금속제 단자가 그 압전 소자에 고정된 부분으로부터 길이 10 ㎜ 이내의 범위에 있어서, 그 압전 소자의 적어도 일부가 포백 형상 기재에 고정된, 압전 소자.
21. 상기 13 ∼ 19 중 어느 한 항에 기재된 압전 소자가, 2 개 이상, 대략 평행하게 배치되고, 각각의 압전 소자에 접속된 2 개 이상의 신호용 금속제 단자가 1 개의 커넥터 하우징에 정리되고, 일괄하여 다른 커넥터와 접속 가능하게 되어 있는, 상기 13 ∼ 20 중 어느 한 항에 기재된 압전 소자.
22. 상기 13 ∼ 19 중 어느 한 항에 기재된 압전 소자가, 직포 혹은 편지를 구성하는 실의 일부로서 2 개 이상 대략 평행하게 배치된, 상기 21 에 기재된 압전 소자.
23. 압전성 섬유가 주성분으로서 폴리락트산을 포함하고,
상기 도전성 섬유에 대한 상기 압전성 섬유의 휘감기 각도는 15° 이상, 75° 이하인, 상기 13 ∼ 22 중 어느 한 항에 기재된 압전 소자.
24. 상기 압전성 섬유의 총 섬도는, 상기 도전성 섬유의 총 섬도의 1 배 이상, 20 배 이하인, 상기 13 ∼ 23 중 어느 한 항에 기재된 압전 소자.
25. 상기 압전성 섬유의 1 개당 섬도는, 상기 도전성 섬유의 총 섬도의 1/20 배 이상, 2 배 이하인, 상기 13 ∼ 24 중 어느 한 항에 기재된 압전 소자.
26. 상기 압전 소자의 적어도 일부와 교차하여 접촉하는 도전성 섬유를 추가로 포함하는, 상기 20 ∼ 22 중 어느 한 항에 기재된 압전 소자.
27. 상기 도전성 섬유가, 상기 압전 소자와 교차하는 섬유 중 30 % 이상을 구성하는, 상기 26 에 기재된 압전 소자.
28. 상기 13 ∼ 27 중 어느 한 항에 기재된 압전 소자와,
인가된 압력에 따라 상기 압전 소자로부터 출력되는 전기 신호를 증폭하는 증폭 수단과,
상기 증폭 수단으로 증폭된 전기 신호를 출력하는 출력 수단
을 구비하는 디바이스.
본 발명에 의해, 비교적 작은 변형으로 발생하는 응력에 의해서도, 큰 전기 신호를 취출하는 것이 가능한 섬유상의 단자가 부착된 압전 소자를 제공할 수 있다. 또 본 발명에 의해, 이와 같은 압전 소자로서, 또한 노이즈 신호를 억제할 수 있는 섬유상의 단자가 부착된 압전 소자를 제공할 수 있다.
도 1 은, 실시형태에 관련된 꼰끈 형상 압전 소자의 구성예를 나타내는 모식도이다.
도 2 는, 도전층을 포함하는 실시형태에 관련된 꼰끈 형상 압전 소자의 구성예를 나타내는 모식도이다.
도 3 은, 실시형태 (양태 A) 에 관련된 꼰끈 형상 압전 소자와 금속제 단자의 접속예를 나타내는 모식도이다.
도 4 는, 도전층을 포함하는 실시형태 (양태 A) 에 관련된 꼰끈 형상 압전 소자와 금속제 단자의 접속예를 나타내는 모식도이다.
도 5 는, 실시형태 (양태 B 포크상) 에 관련된 꼰끈 형상 압전 소자와 금속제 단자의 접속예를 나타내는 모식도이다.
도 6 은, 실시형태 (양태 B 침상) 에 관련된 꼰끈 형상 압전 소자와 금속제 단자의 접속예를 나타내는 모식도이다.
도 7 은, 도전층을 포함하는 실시형태 (양태 B 포크상) 에 관련된 꼰끈 형상 압전 소자와 금속제 단자의 접속예를 나타내는 모식도이다.
도 8 은, 도전층을 포함하는 실시형태 (양태 B 침상) 에 관련된 꼰끈 형상 압전 소자와 금속제 단자의 접속예를 나타내는 모식도이다.
도 9 는, 실시형태에 관련된 포백 형상 압전 소자의 구성예를 나타내는 모식도이다.
도 10 은, 도전층을 포함하는 실시형태에 관련된 포백 형상 압전 소자의 구성예를 나타내는 모식도이다.
도 11 은, 실시형태에 관련된 압전 소자를 구비하는 디바이스를 나타내는 블록도이다.
도 12 는, 실시형태에 관련된 포백 형상 압전 소자를 구비하는 디바이스의 구성예를 나타내는 모식도이다.
도 13 은, 실시형태에 관련된 포백 형상 압전 소자를 구비하는 디바이스의 구성예를 나타내는 모식도이다.
도 14 는, 실시형태에 관련된 포백 형상 압전 소자를 구비하는 디바이스의 다른 구성예를 나타내는 모식도이다.
도 15 는, 실시형태에 관련된 포백 형상 압전 소자를 구비하는 디바이스의 다른 구성예를 나타내는 모식도이다.
(꼰끈 형상 압전 소자)
도 1 은 실시형태에 관련된 꼰끈 형상 압전 소자의 구성예를 나타내는 모식도이다.
꼰끈 형상 압전 소자 (1) 는, 도전성 섬유 (B) 로 형성된 심부 (3) 와, 심부 (3) 를 피복하도록 꼰끈 형상의 압전성 섬유 (A) 로 형성된 초부 (2) 를 구비하고 있다. 압전성 섬유 (A) 는 주성분으로서 폴리락트산을 포함할 수 있다.
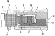
도 2 는, 도전층을 포함하는 실시형태에 관련된 꼰끈 형상 압전 소자의 구성예를 나타내는 모식도이다.
꼰끈 형상 압전 소자 (1) 는, 도전성 섬유 (B) 로 형성된 심부 (3) 와, 심부 (3) 를 피복하도록 꼰끈 형상의 압전성 섬유 (A) 로 형성된 초부 (2) 와, 초부 (2) 를 피복하는 도전층 (4) 을 구비하고 있다.
도전층 (4) 에 의한 초부 (2) 의 피복률은 25 % 이상이 바람직하다. 여기서 피복률이란, 도전층 (4) 을 초부 (2) 에 투영했을 때의 도전층 (4) 에 포함되는 도전성 영역의 면적과 초부 (2) 의 표면적의 비율이며, 그 값은 25 % 이상이 바람직하고, 50 % 이상이 보다 바람직하고, 75 % 이상인 것이 더욱 바람직하다. 도전층 (4) 의 피복률이 25 % 를 하회하면, 노이즈 신호의 억제 효과가 충분히 발휘되지 않는 경우가 있다. 도전성 영역이 도전층 (4) 의 표면에 노출되어 있지 않은 경우, 예를 들어 도전성 영역을 내포하는 섬유를 도전층 (4) 으로서 사용하여 초부 (2) 를 피복하고 있는 경우에는, 그 섬유의 초부 (2) 에 투영했을 때의 면적과 초부 (2) 의 표면적의 비율을 피복률로 할 수 있다.
도전성 영역이란, 도전층 (4) 에 포함되는 도전성을 담당하는 부분이며, 예를 들어, 도전층 (4) 을 도전성 섬유와 절연성 섬유로 구성한 경우의 도전성 섬유 부분을 가리킨다.
꼰끈 형상 압전 소자 (1) 에서는, 적어도 1 개의 도전성 섬유 (B) 의 외주면을 다수의 압전성 섬유 (A) 가 치밀하게 둘러싸고 있다. 특정한 이론에 속박되는 것은 아니지만, 꼰끈 형상 압전 소자 (1) 에 변형이 발생하면, 다수의 압전성 섬유 (A) 각각에 변형에 의한 응력이 발생하고, 그에 따라 다수의 압전성 섬유 (A) 각각에 전기장이 발생하고 (압전 효과), 그 결과, 도전성 섬유 (B) 를 둘러싸는 다수의 압전성 섬유 (A) 의 전기장을 중첩한 전압 변화가 도전성 섬유 (B) 에 발생하는 것으로 추측된다. 즉 압전성 섬유 (A) 의 꼰끈 형상의 초부 (2) 를 사용하지 않는 경우와 비교하여 도전성 섬유 (B) 로부터의 전기 신호가 증대한다. 그에 따라, 꼰끈 형상 압전 소자 (1) 에서는, 비교적 작은 변형으로 발생하는 응력에 의해서도, 큰 전기 신호를 취출하는 것이 가능해진다. 또한, 도전성 섬유 (B) 는 복수 개여도 된다.
여기서, 압전성 섬유 (A) 는 주성분으로서 폴리락트산을 포함하는 것이 바람직하다. 「주성분으로서」 란, 압전성 섬유 (A) 의 성분 중 가장 많은 성분이 폴리락트산이라는 의미이다. 폴리락트산 중의 락트산 유닛은 90 몰% 이상인 것이 바람직하고, 95 몰% 이상인 것이 보다 바람직하고, 98 몰% 이상이 더욱 바람직하다.
도전성 섬유 (B) 에 대한 압전성 섬유 (A) 의 휘감기 각도 (α) 는 15° 이상, 75° 이하인 것이 바람직하다. 즉, 도전성 섬유 (B) (심부 (3)) 의 중심축 (CL) 의 방향에 대하여, 압전성 섬유 (A) 의 휘감기 각도 (α) 는 15° 이상, 75° 이하인 것이 바람직하다. 단, 본 실시형태에서는, 도전성 섬유 (B) 의 중심축 (CL) 은, 압전성 섬유 (A) 의 꼰끈 (초부 (2)) 의 중심축 (이하, 「꼰끈축」 이라고도 한다.) 과 겹치기 때문에, 압전성 섬유 (A) 의 꼰끈축의 방향에 대하여, 압전성 섬유 (A) 의 휘감기 각도 (α) 는 15° 이상, 75° 이하인 것이 바람직하다고 할 수도 있다. 보다 큰 전기 신호를 취출하는 관점에서는, 각도 (α) 는 25° 이상, 65° 이하인 것이 보다 바람직하고, 35° 이상, 55° 이하인 것이 더욱 바람직하고, 40° 이상, 50° 이하인 것이 특히 바람직하다. 각도 (α) 가 이 각도 범위를 벗어나면, 압전성 섬유 (A) 에 발생하는 전계가 현저하게 저하되고, 그에 따라 도전성 섬유 (B) 로 얻어지는 전기 신호가 현저하게 저하되어 버리기 때문이다.
또한, 상기 각도 (α) 에 대해서는, 초부 (2) 를 형성하는 압전성 섬유 (A) 의 주방향과 도전성 섬유 (B) 의 중심축 (CL) 이 이루는 각이라고도 말할 수 있으며, 압전성 섬유 (A) 의 일부가 느슨해져 있거나, 보풀이 일어 있어도 된다.
여기서, 압전성 섬유 (A) 에 발생하는 전계가 현저하게 저하되는 이유는 이하와 같다. 압전성 섬유 (A) 는 폴리락트산을 주성분으로 하고, 압전성 섬유 (A) 의 섬유축의 방향으로 1 축 배향하고 있다. 여기서, 폴리락트산은, 그 배향 방향 (이 경우에는 압전성 섬유 (A) 의 섬유축의 방향) 에 대하여 전단 응력이 발생한 경우에 전계를 발생하지만, 그 배향 방향에 대하여 인장 응력이나 압축 응력이 발생한 경우에 전계를 그다지 발생하지 않는다. 따라서, 꼰끈축의 방향으로 평행하게 변형했을 때에 압전성 섬유 (A) 에 전단 응력이 발생하도록 하기 위해서는, 압전성 섬유 (A) (폴리락트산) 의 배향 방향이 꼰끈축에 대하여 소정의 각도 범위에 있는 것이 좋은 것으로 추측된다.
또한, 꼰끈 형상 압전 소자 (1) 에서는, 본 발명의 목적을 달성하는 한, 초부 (2) 에서는 압전성 섬유 (A) 이외의 다른 섬유와 조합하여 혼섬 등을 실시해도 되고, 심부 (3) 에서는 도전성 섬유 (B) 이외의 다른 섬유와 조합하여 혼섬 등을 실시해도 된다.
도전성 섬유 (B) 의 심부 (3) 와 꼰끈 형상의 압전성 섬유 (A) 의 초부 (2) 로 구성되는 꼰끈 형상 압전 소자, 또는 도전성 섬유 (B) 의 심부 (3) 와 꼰끈 형상의 압전성 섬유 (A) 의 초부 (2) 와, 초부 (2) 를 피복하는 도전층 (4) 으로 구성되는 꼰끈 형상 압전 소자의 길이는 특별히 한정은 없다. 예를 들어, 그 꼰끈 형상 압전 소자는 제조에 있어서 연속적으로 제조되고, 그 후에 필요한 길이로 절단하여 이용해도 된다. 꼰끈 형상 압전 소자의 길이는 1 ㎜ ∼ 10 m, 바람직하게는 5 ㎜ ∼ 2 m, 보다 바람직하게는 1 cm ∼ 1 m 이다. 길이가 지나치게 짧으면, 섬유 형상인 편리성이 상실되고, 또, 길이가 지나치게 길면, 도전성 섬유 (B) 의 저항값을 고려할 필요가 나올 것이다.
이하, 각 구성에 대해 상세하게 설명한다.
(도전성 섬유)
도전성 섬유 (B) 로는, 도전성을 나타내는 것이면 되고, 공지된 모든 것이 사용된다. 도전성 섬유 (B) 로는, 예를 들어, 금속 섬유, 도전성 고분자로 이루어지는 섬유, 탄소 섬유, 섬유상 혹은 입상 (粒狀) 의 도전성 필러를 분산시킨 고분자로 이루어지는 섬유, 혹은 섬유상물의 표면에 도전성을 갖는 층을 형성한 섬유를 들 수 있다. 섬유상물의 표면에 도전성을 갖는 층을 형성하는 방법으로는, 금속 코트, 도전성 고분자 코트, 도전성 섬유의 휘감기 등을 들 수 있다. 그 중에서도 금속 코트가 도전성, 내구성, 유연성 등의 관점에서 바람직하다. 금속을 코트하는 구체적인 방법으로는, 증착, 스퍼터, 전해 도금, 무전해 도금 등을 들 수 있지만, 생산성 등의 관점에서 도금이 바람직하다. 이와 같은 금속이 도금된 섬유는 금속 도금 섬유라고 할 수 있다.
금속이 코트되는 베이스 섬유로서, 도전성의 유무에 상관없이 공지된 섬유를 사용할 수 있으며, 예를 들어, 폴리에스테르 섬유, 나일론 섬유, 아크릴 섬유, 폴리에틸렌 섬유, 폴리프로필렌 섬유, 염화비닐 섬유, 아라미드 섬유, 폴리술폰 섬유, 폴리에테르 섬유, 폴리우레탄 섬유 등의 합성 섬유 외에, 면, 마, 견 등의 천연 섬유, 아세테이트 등의 반합성 섬유, 레이온, 큐프라 등의 재생 섬유를 사용할 수 있다. 베이스 섬유는 이들에 한정되는 것이 아니라, 공지된 섬유를 임의로 사용할 수 있으며, 이들 섬유를 조합하여 사용해도 된다.
베이스 섬유에 코트되는 금속은 도전성을 나타내고, 본 발명의 효과를 발휘하는 한, 어느 것을 사용해도 된다. 예를 들어, 금, 은, 백금, 구리, 니켈, 주석, 아연, 팔라듐, 산화인듐주석, 황화구리 등, 및 이들의 혼합물이나 합금 등을 사용할 수 있다.
도전성 섬유 (B) 에 굴곡 내성이 있는 금속 코트한 유기 섬유를 사용하면, 도전성 섬유가 접히는 일이 매우 적고, 압전 소자를 사용한 센서로서의 내구성이나 안전성이 우수하다.
도전성 섬유 (B) 는 필라멘트를 복수 개 묶은 멀티 필라멘트여도 되고, 또, 필라멘트 1 개로 이루어지는 모노 필라멘트여도 된다. 또 도전성 섬유 (B) 는, 1 개의 방적사여도 되고, 복수 개의 방적사를 묶은 실다발 형태 (연사 (撚絲) 를 포함한다) 로 해도 되고, 또한 필라멘트와 방적사를 조합한 장단 복합사로 해도 된다. 멀티 필라멘트 쪽이 전기 특성의 장척 (長尺) 안정성의 관점에서 바람직하다. 모노 필라멘트 또는 1 개의 방적사의 경우, 그 단사경 (單絲徑) 은 1 ㎛ ∼ 5000 ㎛ 이고, 바람직하게는 2 ㎛ ∼ 100 ㎛ 이다. 더욱 바람직하게는 3 ㎛ ∼ 50 ㎛ 이다. 멀티 필라멘트, 실다발 형태, 장단 복합사의 경우, 필라멘트 수 내지 실 수로는, 1 개 ∼ 100000 개가 바람직하고, 보다 바람직하게는 5 개 ∼ 500 개, 더욱 바람직하게는 10 개 ∼ 100 개이다. 단, 도전성 섬유 (B) 의 섬도·개수란, 꼰끈을 제조할 때에 사용하는 심부 (3) 의 섬도·개수이며, 복수 개의 단사 (모노 필라멘트) 로 형성되는 멀티 필라멘트도, 복수 개의 방적사를 묶은 실다발 형태 (연사를 포함한다) 도, 필라멘트와 방적사를 조합한 장단 복합사도, 모두 1 개의 도전성 섬유 (B) 로 세는 것으로 한다. 여기서 심부 (3) 란, 도전성 섬유 이외의 섬유를 사용한 경우이더라도, 그것을 포함한 전체의 양으로 한다.
섬유의 직경이 작으면, 강도가 저하되어 핸들링이 곤란해지고, 또, 직경이 큰 경우에는 플렉시블성이 희생된다. 도전성 섬유 (B) 의 단면 형상으로는 원 또는 타원인 것이, 압전 소자의 설계 및 제조의 관점에서 바람직하지만, 이것에 한정되지 않는다.
또, 압전성 고분자로부터의 전기 출력을 효율적으로 취출하기 위해서, 전기 저항은 낮은 것이 바람직하고, 체적 저항률로는 10-1 Ω·㎝ 이하인 것이 바람직하고, 보다 바람직하게는 10-2 Ω·㎝ 이하, 더욱 바람직하게는 10-3 Ω·㎝ 이하이다. 단, 전기 신호의 검출로 충분한 강도가 얻어지는 것이면 도전성 섬유 (B) 의 저항률은 이것에 한정되는 것은 아니다.
도전성 섬유 (B) 는, 본 발명의 용도로부터, 반복된 구부림이나 비틀림과 같은 움직임에 대하여 내성이 없으면 안 된다. 그 지표로는, 결절 강도가, 보다 큰 것이 선호된다. 결절 강도는 JIS L1013:2010 8.6 의 방법으로 측정할 수 있다. 본 발명에 적당한 결절 강도의 정도로는, 0.5 cN/dtex 이상인 것이 바람직하고, 1.0 cN/dtex 이상인 것이 보다 바람직하고, 1.5 cN/dtex 이상인 것이 더욱 바람직하고, 2.0 cN/dtex 이상인 것이 가장 바람직하다. 또, 다른 지표로는, 굽힘 강성이, 보다 작은 것이 선호된다. 굽힘 강성은, 카토텍 (주) 제조 KES-FB2 순굽힘 시험기 등의 측정 장치로 측정되는 것이 일반적이다. 본 발명에 적당한 굽힘 강성의 정도로는, 토호 테낙스 (주) 제조의 탄소 섬유 “테낙스” (등록상표) HTS40-3K 보다 작은 편이 바람직하다. 구체적으로는, 도전성 섬유의 굽힘 강성이 0.05 × 10-4 N·㎡/m 이하인 것이 바람직하고, 0.02 × 10-4 N·㎡/m 이하인 것이 보다 바람직하고, 0.01 × 10-4 N·㎡/m 이하인 것이 더욱 바람직하다.
(압전성 섬유)
압전성 섬유 (A) 의 재료인 압전성 고분자로는 폴리불화비닐리덴이나 폴리락트산과 같은 압전성을 나타내는 고분자를 이용할 수 있지만, 본 실시형태에서는 상기와 같이 압전성 섬유 (A) 는 주성분으로서 폴리락트산을 포함하는 것이 적합하다. 폴리락트산은, 예를 들어 용융 방사 후에 연신에 의해 용이하게 배향하여 압전성을 나타내고, 폴리불화비닐리덴 등으로 필요해지는 전계 배향 처리가 불필요한 점에서 생산성이 우수하다. 그러나 이것은, 본 발명을 실시할 때에 폴리불화비닐리덴 그 밖의 압전성 재료의 사용을 배제하는 것을 의도하는 것은 아니다.
폴리락트산으로는, 그 결정 구조에 의해, L-락트산, L-락티드를 중합하여 이루어지는 폴리-L-락트산, D-락트산, D-락티드를 중합하여 이루어지는 폴리-D-락트산, 또한, 그들의 하이브리드 구조로 이루어지는 스테레오 컴플렉스 폴리락트산 등이 있지만, 압전성을 나타내는 것이면 모두 이용할 수 있다. 압전율의 높이의 관점에서 바람직하게는, 폴리-L-락트산, 폴리-D-락트산이다. 폴리-L-락트산, 폴리-D-락트산은 각각, 동일한 응력에 대하여 분극이 반대가 되기 때문에, 목적에 따라 이들을 조합하여 사용하는 것도 가능하다.
폴리락트산의 광학 순도는 99 % 이상인 것이 바람직하고, 99.3 % 이상인 것이 보다 바람직하고, 99.5 % 이상인 것이 더욱 바람직하다. 광학 순도가 99 % 미만이면, 현저하게 압전율이 저하되는 경우가 있고, 압전성 섬유 (A) 의 형상 변화에 의해 충분한 전기 신호를 얻는 것이 어려워지는 경우가 있다. 특히, 압전성 섬유 (A) 는, 주성분으로서 폴리-L-락트산 또는 폴리-D-락트산을 포함하고, 이들의 광학 순도가 99 % 이상인 것이 바람직하다.
폴리락트산을 주성분으로 하는 압전성 섬유 (A) 는, 제조시에 연신되어, 그 섬유축 방향으로 1 축 배향하고 있다. 또한, 압전성 섬유 (A) 는, 그 섬유축 방향으로 1 축 배향하고 있을 뿐만 아니라, 폴리락트산의 결정을 포함하는 것인 것이 바람직하고, 1 축 배향한 폴리락트산의 결정을 포함하는 것인 것이 보다 바람직하다. 왜냐하면, 폴리락트산은 그 결정성이 높음 및 1 축 배향하고 있음으로써 보다 큰 압전성을 나타내기 때문이다.
결정성 및 1 축 배향성은 호모 PLA 결정화도 Xhomo (%) 및 결정 배향도 Ao (%) 로 구해진다. 본 발명의 압전성 섬유 (A) 로는, 호모 PLA 결정화도 Xhomo (%) 및 결정 배향도 Ao (%) 가 하기 식 (1) 을 만족하는 것이 바람직하다.
Xhomo × Ao × Ao ÷ 106 ≥ 0.26 (1)
상기 식 (1) 을 만족하지 않는 경우, 결정성 및/또는 1 축 배향성이 충분하지 않고, 동작에 대한 전기 신호의 출력값이 저하되거나, 특정 방향의 동작에 대한 신호의 감도가 저하되거나 할 우려가 있다. 상기 식 (1) 의 좌변의 값은, 0.28 이상이 보다 바람직하고, 0.3 이상이 더욱 바람직하다. 여기서, 각각의 값은 하기에 따라서 구한다.
호모 폴리락트산 결정화도 Xhomo
호모 폴리락트산 결정화도 Xhomo 에 대해서는, 광각 X 선 회절 분석 (WAXD) 에 의한 결정 구조 해석으로부터 구한다. 광각 X 선 회절 분석 (WAXD) 에서는, 리가쿠 제조 ultrax 18 형 X 선 회절 장치를 사용하여 투과법에 의해, 이하 조건으로 샘플의 X 선 회절 도형을 이미징 플레이트에 기록한다.
X 선원:Cu-Kα 선 (콘포컬 미러)
출력:45 ㎸ × 60 ㎃
슬릿:1 st:1 ㎜Φ, 2 nd:0.8 ㎜Φ
카메라 길이:120 ㎜
적산 시간:10 분
샘플:35 ㎎ 의 폴리락트산 섬유를 가지런히 모아 3 ㎝ 의 섬유 다발로 한다.
얻어지는 X 선 회절 도형에 있어서 방위각에 걸쳐서 전체 산란 강도 Itotal 을 구하고 여기서 2θ = 16.5°, 18.5°, 24.3° 부근에 나타나는 호모 폴리락트산 결정에서 유래하는 각 회절 피크의 적분 강도의 총합 ΣIHMi 를 구한다. 이들 값으로부터 하기 식 (2) 에 따라서, 호모 폴리락트산 결정화도 Xhomo 를 구한다.
호모 폴리락트산 결정화도 Xhomo (%) = ΣIHMi/Itotal × 100 (2)
또한, ΣIHMi 는, 전체 산란 강도에 있어서 백그라운드나 비정 (非晶) 에 의한 산만 산란을 공제함으로써 산출한다.
(2) 결정 배향도 Ao:
결정 배향도 Ao 에 대해서는, 상기의 광각 X 선 회절 분석 (WAXD) 에 의해 얻어지는 X 선 회절 도형에 있어서, 동경 (動徑) 방향의 2θ = 16.5° 부근에 나타나는 호모 폴리락트산 결정에서 유래하는 회절 피크에 대해, 방위각 (°) 에 대한 강도 분포를 취하고, 얻어진 분포 프로파일의 반치폭의 총계 ΣWi (°) 로부터 다음 식 (3) 으로부터 산출한다.
결정 배향도 Ao (%) = (360 ― ΣWi) ÷ 360 × 100 (3)
또한, 폴리락트산은 가수 분해가 비교적 빠른 폴리에스테르이기 때문에, 내습열성이 문제가 되는 경우에 있어서는, 공지된, 이소시아네이트 화합물, 옥사졸린 화합물, 에폭시 화합물, 카르보디이미드 화합물 등의 가수 분해 방지제를 첨가해도 된다. 또, 필요에 따라 인산계 화합물 등의 산화 방지제, 가소제, 광 열화 방지제 등을 첨가하여 물성 개량해도 된다.
또, 폴리락트산은 다른 폴리머와의 앨로이로서 사용해도 되지만, 폴리락트산을 주된 압전성 고분자로서 사용한다면, 앨로이의 전체 질량을 기준으로 하여 적어도 50 질량% 이상으로 폴리락트산을 함유하고 있는 것이 바람직하고, 더욱 바람직하게는 70 질량% 이상, 가장 바람직하게는 90 질량% 이상이다.
앨로이로 하는 경우의 폴리락트산 이외의 폴리머로는, 폴리부틸렌테레프탈레이트, 폴리에틸렌테레프탈레이트, 폴리에틸렌나프탈레이트 공중합체, 폴리메타크릴레이트 등을 적합한 예로서 들 수 있지만, 이들에 한정되는 것이 아니라, 본 발명에서 목적으로 하는 압전성을 나타내는 한, 어떠한 폴리머를 사용해도 된다.
압전성 섬유 (A) 는 필라멘트를 복수 개 묶은 멀티 필라멘트여도 되고, 또, 필라멘트 1 개로 이루어지는 모노 필라멘트여도 되고, 1 개의 방적사여도 되고, 복수 개의 방적사를 묶은 실다발 형태 (연사를 포함한다) 로 해도 되며, 또한, 필라멘트와 방적사를 조합한 장단 복합사로 해도 된다. 모노 필라멘트 또는 1 개의 방적사의 경우, 그 단사경은 1 ㎛ ∼ 5 ㎜ 이고, 바람직하게는 5 ㎛ ∼ 2 ㎜, 더욱 바람직하게는 10 ㎛ ∼ 1 ㎜ 이다. 멀티 필라멘트의 경우, 그 단사경은 0.1 ㎛ ∼ 5 ㎜ 이고, 바람직하게는 2 ㎛ ∼ 100 ㎛, 더욱 바람직하게는 3 ㎛ ∼ 50 ㎛ 이다. 멀티 필라멘트, 실다발 형태, 장단 복합사의 필라멘트 수 내지 실 수로는, 1 개 ∼ 100000 개가 바람직하고, 보다 바람직하게는 50 개 ∼ 50000 개, 더욱 바람직하게는 100 개 ∼ 20000 개이다. 단, 압전성 섬유 (A) 의 섬도나 개수에 대해서는, 꼰끈을 제조할 때의 캐리어 1 개당의 섬도, 개수이며, 복수 개의 단사 (모노 필라멘트) 로 형성되는 멀티 필라멘트도 1 개의 압전성 섬유 (A) 로 세는 것으로 한다. 여기서, 캐리어 1 개 중에, 압전성 섬유 이외의 섬유를 사용한 경우이더라도, 그것을 포함한 전체의 양으로 한다.
이와 같은 압전성 고분자를 압전성 섬유 (A) 로 하기 위해서는, 고분자로부터 섬유화하기 위한 공지된 수법을, 본 발명의 효과를 발휘하는 한 모두 채용할 수 있다. 예를 들어, 압전성 고분자를 압출 성형하여 섬유화하는 수법, 압전성 고분자를 용융 방사하여 섬유화하는 수법, 압전성 고분자를 건식 혹은 습식 방사에 의해 섬유화하는 수법, 압전성 고분자를 정전 방사에 의해 섬유화하는 수법, 필름을 형성한 후에 가늘게 컷하는 수법 등을 채용할 수 있다. 이들 방사 조건은, 채용하는 압전성 고분자에 따라 공지된 수법을 적용하면 되고, 통상적으로는 공업적으로 생산이 용이한 용융 방사법을 채용하면 된다. 또한, 섬유를 형성 후에는 형성된 섬유를 연신한다. 그에 따라 1 축 연신 배향하고 또한 결정을 포함하는 큰 압전성을 나타내는 압전성 섬유 (A) 가 형성된다.
또, 압전성 섬유 (A) 는, 상기와 같이 제조된 것을 꼰끈으로 하기 전에, 염색, 연사, 합사, 열 처리 등의 처리를 할 수 있다.
또한, 압전성 섬유 (A) 는, 꼰끈을 형성할 때에 섬유끼리가 스쳐 단사되거나, 보풀이 일거나 하는 경우가 있기 때문에, 그 강도와 내마모성은 높은 편이 바람직하며, 강도는 1.5 cN/dtex 이상인 것이 바람직하고, 2.0 cN/dtex 이상인 것이 보다 바람직하고, 2.5 cN/dtex 이상인 것이 더욱 바람직하고, 3.0 cN/dtex 이상인 것이 가장 바람직하다. 내마모성은, JIS L1095 9.10.2 B 법 등으로 평가할 수 있고, 마찰 횟수는 100 회 이상이 바람직하고, 1000 회 이상인 것이 보다 바람직하고, 5000 회 이상인 것이 더욱 바람직하고, 10000 회 이상인 것이 가장 바람직하다. 내마모성을 향상시키기 위한 방법은 특별히 한정되는 것이 아니라, 공지된 모든 방법을 이용할 수 있으며, 예를 들어, 결정화도를 향상시키거나, 미립자를 첨가하거나, 표면 가공하거나 할 수 있다. 또, 꼰끈으로 가공할 때에, 섬유에 윤활제를 도포하여 마찰을 저감시킬 수도 있다.
또, 압전성 섬유의 수축률은, 전술한 도전성 섬유의 수축률과의 차가 작은 것이 바람직하다. 수축률차가 크면, 꼰끈 제조 후나 포백 제조 후의 후처리 공정이나 실 사용시에 열이 가해졌을 때나 시간 경과적 변화에 의해 꼰끈이 구부러지거나, 포백의 평탄성이 나빠지거나, 압전 신호가 약해져 버리는 경우가 있다. 수축률을 후술하는 비수 (沸水) 수축률로 정량화한 경우, 압전성 섬유의 비수 수축률 S(p) 및 도전성 섬유의 비수 수축률 S(c) 가 하기 식 (4) 를 만족하는 것이 적합하다.
|S(p) ― S(c)| ≤ 10 (4)
상기 식 (4) 의 좌변은 5 이하인 것이 보다 바람직하고, 3 이하이면 더욱 바람직하다.
또, 압전성 섬유의 수축률은, 도전성 섬유 이외의 섬유, 예를 들어 절연성 섬유의 수축률과의 차도 작은 것이 바람직하다. 수축률차가 크면, 꼰끈 제조 후나 포백 제조 후의 후처리 공정이나 실 사용시에 열이 가해졌을 때나 시간 경과적 변화에 의해 꼰끈이 구부러지거나, 포백의 평탄성이 나빠지거나, 압전 신호가 약해져 버리는 경우가 있다. 수축률을 비수 수축률로 정량화한 경우, 압전성 섬유의 비수 수축률 S(p) 및 절연성 섬유의 비수 수축률 S(i) 가 하기 식 (5) 를 만족하는 것이 바람직하다.
|S(p) ― S(i) | ≤ 10 (5)
상기 식 (5) 의 좌변은 5 이하인 것이 보다 바람직하고, 3 이하이면 더욱 바람직하다.
또, 압전성 섬유의 수축률은 작은 편이 바람직하다. 예를 들어 수축률을 비수 수축률로 정량화한 경우, 압전성 섬유의 수축률은 15 % 이하인 것이 바람직하고, 보다 바람직하게는 10 % 이하, 더욱 바람직하게는 5 % 이하, 가장 바람직하게는 3 % 이하이다. 수축률을 낮추는 수단으로는, 공지된 모든 방법을 적용할 수 있으며, 예를 들어, 열 처리에 의해 비정부의 배향 완화나 결정화도를 올림으로써 수축률을 저감할 수 있고, 열 처리를 실시하는 타이밍은 특별히 한정되지 않고, 연신 후, 연사 후, 꼰끈화 후, 포백화 후 등을 들 수 있다. 또한, 상기 서술한 비수 수축률은 이하의 방법으로 측정하는 것으로 한다. 프레임 둘레 1.125 m 의 검척기로 감김 수 20 회의 실패를 만들고, 0.022 cN/dtex 의 하중을 걸어, 스케일판에 매달아 초기의 실패 길이 L0 를 측정하였다. 그 후, 이 실패를 100 ℃ 의 비등수 욕 중에서 30 분간 처리 후, 방랭하고 다시 상기 하중을 걸어 스케일판에 매달고 수축 후의 실패 길이 L 을 측정하였다. 측정된 L0 및 L 을 이용하여 하기 식 (6) 에 의해 비수 수축률을 계산한다.
비수 수축률 = (L0 ― L) /L0 × 100 (%) (6)
(피복)
도전성 섬유 (B), 즉 심부 (3) 는, 압전성 섬유 (A), 즉 꼰끈 형상의 초부 (2) 로 표면이 피복되어 있다. 도전성 섬유 (B) 를 피복하는 초부 (2) 의 두께는 1 ㎛ ∼ 10 ㎜ 인 것이 바람직하고, 5 ㎛ ∼ 5 ㎜ 인 것이 보다 바람직하고, 10 ㎛ ∼ 3 ㎜ 인 것이 더욱 바람직하다, 20 ㎛ ∼ 1 ㎜ 인 것이 가장 바람직하다. 지나치게 얇으면, 강도의 점에서 문제가 되는 경우가 있고, 또, 지나치게 두꺼우면, 꼰끈 형상 압전 소자 (1) 가 단단해져 변형하기 어려워지는 경우가 있다. 또한, 여기서 말하는 초부 (2) 란, 심부 (3) 에 인접하는 층을 가리킨다.
꼰끈 형상 압전 소자 (1) 에 있어서, 초부 (2) 의 압전성 섬유 (A) 의 총 섬도는, 심부 (3) 의 도전성 섬유 (B) 의 총 섬도의 1/2 배 이상, 20 배 이하인 것이 바람직하고, 1 배 이상, 15 배 이하인 것이 보다 바람직하고, 2 배 이상, 10 배 이하인 것이 더욱 바람직하다. 압전성 섬유 (A) 의 총 섬도가 도전성 섬유 (B) 의 총 섬도에 대하여 지나치게 작으면, 도전성 섬유 (B) 를 둘러싸는 압전성 섬유 (A) 가 지나치게 적어 도전성 섬유 (B) 가 충분한 전기 신호를 출력할 수 없고, 또한 도전성 섬유 (B) 가 근접하는 다른 도전성 섬유에 접촉할 우려가 있다. 압전성 섬유 (A) 의 총 섬도가 도전성 섬유 (B) 의 총 섬도에 대하여 지나치게 크면, 도전성 섬유 (B) 를 둘러싸는 압전성 섬유 (A) 가 지나치게 많아 꼰끈 형상 압전 소자 (1) 가 단단해져 변형하기 어려워진다. 즉, 어느 경우에도 꼰끈 형상 압전 소자 (1) 가 센서로서 충분히 기능하지 않게 된다.
여기서 말하는 총 섬도란, 초부 (2) 를 구성하는 압전성 섬유 (A) 모든 섬도의 합이며, 예를 들어, 일반적인 8 타 꼰끈의 경우에는, 8 개 섬유의 섬도의 총합이 된다.
또, 꼰끈 형상 압전 소자 (1) 에 있어서, 초부 (2) 의 압전성 섬유 (A) 의 1 개당 섬도는, 도전성 섬유 (B) 의 총 섬도의 1/20 배 이상, 2 배 이하인 것이 바람직하고, 1/15 배 이상, 1.5 배 이하인 것이 보다 바람직하고, 1/10 배 이상, 1 배 이하인 것이 더욱 바람직하다. 압전성 섬유 (A) 1 개당 섬도가 도전성 섬유 (B) 의 총 섬도에 대하여 지나치게 작으면, 압전성 섬유 (A) 가 지나치게 적어 도전성 섬유 (B) 가 충분한 전기 신호를 출력할 수 없고, 또한 압전성 섬유 (A) 가 절단될 우려가 있다. 압전성 섬유 (A) 1 개당 섬도가 도전성 섬유 (B) 의 총 섬도에 대하여 지나치게 크면, 압전성 섬유 (A) 가 지나치게 굵어 꼰끈 형상 압전 소자 (1) 가 단단해져 변형하기 어려워진다. 즉, 어느 경우에도 꼰끈 형상 압전 소자 (1) 가 센서로서 충분히 기능하지 않게 된다.
또한, 도전성 섬유 (B) 에 금속 섬유를 사용한 경우나, 금속 섬유를 도전성 섬유 (A) 혹은 압전성 섬유 (B) 에 혼섬한 경우에는, 섬도의 비율은 상기에 한정되는 것은 아니다. 본 발명에 있어서, 상기 비율은, 접촉 면적이나 피복률, 즉, 면적 및 체적의 관점에서 중요하기 때문이다. 예를 들어, 각각의 섬유의 비중이 2 를 초과하는 경우에는, 섬유의 평균 단면적의 비율이 상기 섬도의 비율인 것이 바람직하다.
압전성 섬유 (A) 와 도전성 섬유 (B) 는 가능한 한 밀착되어 있는 것이 바람직하지만, 밀착성을 개량하기 위해서, 도전성 섬유 (B) 와 압전성 섬유 (A) 사이에 앵커층이나 접착층 등을 형성해도 된다.
피복의 방법은 도전성 섬유 (B) 를 심사 (芯絲) 로 하여, 그 둘레에 압전성 섬유 (A) 를 꼰끈 형상으로 휘감는 방법이 취해진다. 한편, 압전성 섬유 (A) 의 꼰끈의 형상은, 인가된 하중으로 발생하는 응력에 대하여 전기 신호를 출력할 수 있으면 특별히 한정되는 것은 아니지만, 심부 (3) 를 갖는 8 타 꼰끈이나 16 타 꼰끈이 바람직하다.
도전성 섬유 (B) 와 압전성 섬유 (A) 의 형상으로는 특별히 한정되는 것은 아니지만, 가능한 한 동심원상에 가까운 것이 바람직하다. 또한, 도전성 섬유 (B) 로서 멀티 필라멘트를 사용하는 경우, 압전성 섬유 (A) 는, 도전성 섬유 (B) 의 멀티 필라멘트의 표면 (섬유 둘레면) 의 적어도 일부가 접촉하고 있도록 피복하고 있으면 되고, 멀티 필라멘트를 구성하는 모든 필라멘트 표면 (섬유 둘레면) 에 압전성 섬유 (A) 가 피복하고 있어도 되고, 피복하고 있지 않아도 된다. 도전성 섬유 (B) 의 멀티 필라멘트를 구성하는 내부의 각 필라멘트에 대한 압전성 섬유 (A) 의 피복 상태는, 압전성 소자로서의 성능, 취급성 등을 고려하여, 적절히 설정하면 된다.
본 발명의 꼰끈 형상 압전 소자 (1) 는, 그 표면에 전극을 존재시킬 필요가 없기 때문에, 꼰끈 형상 압전 소자 (1) 자체를 또한 피복할 필요가 없고, 또, 오동작하기 어렵다는 이점이 있다.
(도전층)
도전층 (4) 의 양태로는, 코팅 외에, 필름, 포백, 섬유 휘감기가 생각되며, 또 그것들을 조합해도 된다.
도전층 (4) 을 형성하는 코팅에는 도전성을 나타내는 물질을 포함하는 것이 사용되고 있으면 되고, 공지된 모든 것이 사용된다. 예를 들어, 금속, 도전성 고분자, 도전성 필러를 분산시킨 고분자를 들 수 있다.
도전층 (4) 을 필름의 휘감기에 의해 형성하는 경우에는, 도전성 고분자, 도전성 필러를 분산시킨 고분자를 제막 (製膜) 하여 얻어지는 필름이 사용되며, 또 표면에 도전성을 갖는 층을 형성한 필름이 사용되어도 된다.
도전층 (4) 을 포백의 휘감기에 의해 형성하는 경우에는, 후술하는 도전성 섬유 (6) 를 구성 성분으로 하는 포백이 사용된다.
도전층 (4) 을 섬유 휘감기에 의해 형성하는 경우, 그 수법으로는, 커버 링, 편물, 조물 (組物) 이 생각된다. 또, 사용하는 섬유는, 도전성 섬유 (6) 이며, 도전성 섬유 (6) 는, 상기 도전성 섬유 (B) 와 동일 종이어도 되고 이종의 도전성 섬유여도 된다. 도전성 섬유 (6) 로는, 예를 들어, 금속 섬유, 도전성 고분자로 이루어지는 섬유, 탄소 섬유, 섬유상 혹은 입상의 도전성 필러를 분산시킨 고분자로 이루어지는 섬유, 혹은 섬유상물의 표면에 도전성을 갖는 층을 형성한 섬유를 들 수 있다. 섬유상물의 표면에 도전성을 갖는 층을 형성하는 방법으로는, 금속 코트, 도전성 고분자 코트, 도전성 섬유의 휘감기 등을 들 수 있다. 그 중에서도 금속 코트가 도전성, 내구성, 유연성 등의 관점에서 바람직하다. 금속을 코트하는 구체적인 방법으로는, 증착, 스퍼터, 전해 도금, 무전해 도금 등을 들 수 있지만, 생산성 등의 관점에서 도금이 바람직하다. 이와 같은 금속이 도금된 섬유는 금속 도금 섬유라고 할 수 있다.
금속이 코트되는 베이스 섬유로서, 도전성의 유무에 상관없이 공지된 섬유를 사용할 수 있으며, 예를 들어, 폴리에스테르 섬유, 나일론 섬유, 아크릴 섬유, 폴리에틸렌 섬유, 폴리프로필렌 섬유, 염화비닐 섬유, 아라미드 섬유, 폴리술폰 섬유, 폴리에테르 섬유, 폴리우레탄 섬유 등의 합성 섬유 외에, 면, 마, 견 등의 천연 섬유, 아세테이트 등의 반합성 섬유, 레이온, 큐프라 등의 재생 섬유를 사용할 수 있다. 베이스 섬유는 이들에 한정되는 것이 아니라, 공지된 섬유를 임의로 사용할 수 있으며, 이들 섬유를 조합하여 사용해도 된다.
베이스 섬유에 코트되는 금속은 도전성을 나타내고, 본 발명의 효과를 발휘하는 한, 어느 것을 사용해도 된다. 예를 들어, 금, 은, 백금, 구리, 니켈, 주석, 아연, 팔라듐, 산화인듐주석, 황화구리 등, 및 이들의 혼합물이나 합금 등을 사용할 수 있다.
도전성 섬유 (6) 에 굴곡 내성이 있는 금속 코트한 유기 섬유를 사용하면, 도전성 섬유가 접히는 일이 매우 적고, 압전 소자를 사용한 센서로서의 내구성이나 안전성이 우수하다.
도전성 섬유 (6) 는 필라멘트를 복수 개 묶은 멀티 필라멘트여도 되고, 또, 필라멘트 1 개로 이루어지는 모노 필라멘트여도 되고, 1 개의 방적사여도 되고, 복수 개의 방적사를 묶은 실다발 형태 (연사를 포함한다) 로 해도 되며, 또한, 필라멘트와 방적사를 조합한 장단 복합사로 해도 된다. 멀티 필라멘트 쪽이 전기 특성의 장척 안정성의 관점에서 바람직하다. 모노 필라멘트 또는 1 개의 방적사의 경우, 그 단사경은 1 ㎛ ∼ 5000 ㎛ 이고, 바람직하게는 2 ㎛ ∼ 100 ㎛ 이다. 더욱 바람직하게는 3 ㎛ ∼ 50 ㎛ 이다. 멀티 필라멘트, 실다발 형태, 장단 복합사의 경우, 필라멘트 내지 실 수로는, 1 개 ∼ 100000 개가 바람직하고, 보다 바람직하게는 5 개 ∼ 500 개, 더욱 바람직하게는 10 개 ∼ 100 개이다.
섬유의 직경이 작으면, 강도가 저하되고 핸들링이 곤란해지고, 또, 직경이 큰 경우에는 플렉시블성이 희생된다. 도전성 섬유 (6) 의 단면 형상으로는 원 또는 타원인 것이, 압전 소자의 설계 및 제조의 관점에서 바람직하지만, 이것에 한정되지 않는다.
또, 노이즈 신호의 억제 효과를 높이기 위해서, 전기 저항은 낮은 것이 바람직하고, 체적 저항률로는 10-1 Ω·㎝ 이하인 것이 바람직하고, 보다 바람직하게는 10-2 Ω·㎝ 이하, 더욱 바람직하게는 10-3 Ω·㎝ 이하이다. 단, 노이즈 신호의 억제 효과가 얻어지는 것이면 저항률은 이것에 한정되는 것은 아니다.
도전성 섬유 (6) 는, 본 발명의 용도로부터, 반복된 구부림이나 비틀림과 같은 움직임에 대하여 내성이 없으면 안 된다. 그 지표로는, 결절 강도가, 보다 큰 것이 선호된다. 결절 강도는 JIS L1013 8.6 의 방법으로 측정할 수 있다. 본 발명에 적당한 결절 강도의 정도로는, 0.5 cN/dtex 이상인 것이 바람직하고, 1.0 cN/dtex 이상인 것이 보다 바람직하고, 1.5 cN/dtex 이상인 것이 더욱 바람직하고, 2.0 cN/dtex 이상인 것이 가장 바람직하다. 또, 다른 지표로는, 굽힘 강성이, 보다 작은 것이 선호된다. 굽힘 강성은, 카토텍 (주) 제조 KES-FB2 순굽힘 시험기 등의 측정 장치로 측정되는 것이 일반적이다. 본 발명에 적당한 굽힘 강성의 정도로는, 토호 테낙스 (주) 제조의 탄소 섬유 “테낙스” (등록상표) HTS40-3K 보다 작은 편이 바람직하다. 구체적으로는, 도전성 섬유의 굽힘 강성이 0.05 × 10-4 N·㎡/m 이하인 것이 바람직하고, 0.02 × 10-4 N·㎡/m 이하인 것이 보다 바람직하고, 0.01 × 10-4 N·㎡/m 이하인 것이 더욱 바람직하다.
(단자)
본 발명의 꼰끈 형상 압전 소자 (1) 는, 그 심부에, 다음의 A, B 어느 하나의 양태로 접속 고정된 금속제 단자를 추가로 구비하고 있다.
A) 꼰끈 형상 압전 소자의 말단 부분을 구성하는 섬유의 길이 0.5 ㎜ 이상의 부분을, 금속제 단자의 일부가 파지하고, 그 파지 부분 또는 그 파지 부분으로부터 1 ㎜ 이내의 장소에 있어서, 그 꼰끈 형상 압전 소자의 심부와 금속제 단자가 직접 혹은 도전성 재료를 통해서 간접적으로 접속 고정된 양태.
B) 금속제 단자의 일부가 포크상 혹은 침상이고, 이 포크상 부분 혹은 침상 부분이 꼰끈 형상 압전 소자의 초부에 접촉하면서 심부의 도전성 섬유와 직접 혹은 도전성 재료를 통해서 간접적으로 접속되고, 이 접속 지점으로부터 10 ㎜ 이내의 장소에 있어서, 금속제 단자의 다른 부위 혹은 금속제 단자에 고정된 부품에 의해 그 꼰끈 형상 압전 소자가 금속제 단자에 고정된 양태.
또한 본 발명의 꼰끈 형상 압전 소자 (1) 는, 그 심부에 접속 고정된 신호용 금속제 단자와, 초부의 주위에 형성된 도전층 (4) 에 접속 고정된 실드용 금속제 단자를 추가로 구비하고, 절연체를 통해서 신호용 금속제 단자와 실드용 금속제 단자가 서로 고정되어 있고, 이들 2 개의 금속제 단자를 일체의 커넥터 부품으로서 취급할 수 있기 때문에, 신호를 처리하는 회로에 대한 접속을 간편하고 또한 확실하게 실시할 수 있고, 안정적으로 노이즈를 저감할 수 있다.
또, 상기 실드용 금속제 단자는, 상기 신호용 금속제 단자를 절연체를 통해서 덮어 유지하고 있는 것이, 단자 부분에서 침입하는 노이즈의 저감의 관점에서, 바람직하다. 여기서 덮고 있다는 것은, 신호용 금속제 단자에 근접하여 실드용 금속제 단자가 배치되고, 그 상태에서 정면도, 배면도, 좌측면도, 우측면도, 평면도 및 저면도로 투영했을 때에, 각 도면에 있어서의 신호용 금속제 단자의 영역의 합계 면적 중 실드용 금속제 단자의 영역이 겹치는 면적의 비율이 50 % 이상인 경우를 가리킨다. 또한, 다른 단자와 신호용 금속제 단자를 접속하기 위해서 필요한 개구부나 절연체를 형성하고 있어도 된다.
본 발명의 꼰끈 형상 압전 소자 (1) 의 신호용 금속제 단자는, 그 심부에, 다음의 A, B 어느 하나의 양태로 접속 고정되어 있는 것이 바람직하다.
A) 꼰끈 형상 압전 소자의 말단 부분을 구성하는 섬유의 길이 0.5 ㎜ 이상의 부분을, 신호용 금속제 단자의 일부가 파지하고, 그 파지 부분 또는 그 파지 부분으로부터 1 ㎜ 이내의 장소에 있어서, 그 꼰끈 형상 압전 소자의 심부와 신호용 금속제 단자가 직접 혹은 도전성 재료를 통해서 간접적으로 접속 고정된 양태.
B) 신호용 금속제 단자의 일부가 포크상 혹은 침상이고, 이 포크상 부분 혹은 침상 부분이 꼰끈 형상 압전 소자의 초부에 접촉하면서 심부의 도전성 섬유와 직접 혹은 도전성 재료를 통해서 간접적으로 접속되고, 이 접속 지점으로부터 10 ㎜ 이내의 장소에 있어서, 신호용 금속제 단자의 다른 부위 혹은 신호용 금속제 단자에 고정된 부품에 의해 그 꼰끈 형상 압전 소자가 신호용 금속제 단자에 고정된 양태.
(양태 A 에 의한 접속)
도 3 (양태 A) 은 실시형태에 관련된 상기 A 의 접속 양태의 구성예를 나타내는 모식도이다.
꼰끈 형상 압전 소자 (1) 의 말단을 구성하는 압전성 섬유 및 도전성 섬유는, 금속제 단자 (20) 의 일부인 파지 부분 (21) 에 의해 파지되어 있다. 파지된 상태란, 금속제 단자 (20) 의 파지 부분 (21) 에 의해 꼰끈 형상 압전 소자 (1) 가 끼워 넣어지거나 혹은 말려 들어가 서로 고정되어 있는 상태를 가리킨다. 훅 형상으로 성형된 금속제 단자 (20) 가 공구에 의해 소성 변형되어 상기의 파지된 상태가 되는 구조가 바람직하게 채용된다. 금속제 단자는 도 3 의 우측 부분에 다른 단자와 접속할 수 있는 형상을 갖고 있다.
금속제 단자 (20) 의 파지 부분 (21) 은 길이 0.5 ㎜ 이상이고, 이것보다 짧은 경우에는, 꼰끈 형상 압전 소자 (1) 와 금속제 단자 (20) 의 고정이 약하고, 웨어러블 디바이스 용도 등에서 다양한 힘이 소자에 가해지는 경우, 꼰끈 형상 압전 소자 (1) 와 금속제 단자 (20) 가 떨어져 버리거나, 전기적 접속이 불안정해지는 경우가 있다. 파지 부분 (21) 의 길이는 바람직하게는 0.7 ㎜ 이상이고, 보다 바람직하게는 1.0 ㎜ 이상이다. 여기서 파지 부분 (21) 의 길이란, 꼰끈 형상 압전 소자 (1) 를 금속제 단자 (20) 가 파지하고 있는 길이로, 꼰끈 형상 압전 소자 (1) 의 길이 방향으로 측정한 길이이며, 금속제 단자 (20) 가 도 3 (양태 A) 과 같이 복수 지점에서 꼰끈 형상 압전 소자 (1) 를 파지하고 있는 경우에는, 그 각 파지 부분의 길이의 합계이다.
금속제 단자 (20) 의 파지 부분 (21) 또는 파지 부분 (21) 으로부터 1 ㎜ 이내의 장소에 있어서, 꼰끈 형상 압전 소자 (1) 의 심부 (3) 와 금속제 단자 (20) 는 직접 혹은 도전성 재료를 통해서 간접적으로 접속되어 있다. 도 3 (양태 A) 에는 특별히 나타내고 있지 않지만, 본 발명에서는 후술하는 바와 같이, 꼰끈 형상 압전 소자 (1) 의 초부 (2) 가 금속제 단자 (20) 와의 고정 부분에 있어서 풀려 있지 않은 것을 특징으로 하고 있고, 그 때문에 금속제 단자 (20) 의 파지 부분 (21) 에 있어서도 초부 (2) 의 피복은 완전하게는 제거되어 있지 않고, 초부 (2) 의 융해에 의한 부분적 제거나, 솔더나 도전 페이스트 등의 도전성 재료의 부여에 의해, 꼰끈 형상 압전 소자 (1) 의 심부와 금속제 단자 (20) 가 전기적으로 접속되는 것을 가능하게 하고 있다.
도 3 (양태 A) 에 나타내는 바와 같이, 금속제 단자 (20) 의 외장으로서 커넥터 하우징 (22) 을 구비하는 것이 바람직하고, 꼰끈 형상 압전 소자 (1) 를 파지한 금속제 단자 (20) 가, 커넥터 하우징 (22) 의 좌측의 개구부로부터 삽입되어 고정되고, 커넥터 하우징 (22) 의 우측의 개구부 (23) 로부터 다른 단자가 커넥터 하우징 내부의 금속제 단자 (20) 에 접속할 수 있는 상태로 되어 있다.
도 4 (양태 A) 는 도전층 (4) 을 포함하는 실시형태에 관련된 상기 A 의 접속 양태의 구성예를 나타내는 모식도이다. 꼰끈 형상 압전 소자 (1) 의 말단을 구성하는 압전성 섬유 및 도전성 섬유는, 신호용 금속제 단자 (30) 의 일부인 파지 부분 (31) 에 의해 파지되어 있다. 파지된 상태란, 신호용 금속제 단자 (30) 의 파지 부분 (31) 에 의해 꼰끈 형상 압전 소자 (1) 가 끼워 넣어지거나 혹은 말려 들어가 서로 고정되어 있는 상태를 가리킨다. 훅 형상으로 성형된 신호용 금속제 단자 (30) 가 공구에 의해 소성 변형되어 상기의 파지된 상태가 되는 구조나, 신호용 금속제 단자 (30) 혹은 절연부에 형성된 걸어맞춤부에 의해 걸어맞춰진 상태가 되는 구조가 바람직하게 채용된다. 신호용 금속제 단자 (30) 는 도 4 의 우측 부분에 다른 단자와 접속할 수 있는 형상을 갖고 있다. 신호용 금속제 단자 (30) 는 절연체 (32) 를 통해서 실드용 금속제 단자 (34) 에 고정되어 있고, 실드용 금속제 단자 (34) 는 신호용 금속제 단자 (30) 를 덮도록 배치되어 있다. 실드용 금속제 단자 (34) 는 파지 부분 (31) 을 갖고 있고, 이 파지 부분 (31) 에 의해 도전층 (4) 을 파지함으로써 도전층 (4) 과 전기적으로 접속되고 고정되어 있다.
도 4 의 예에서는 꼰끈 형상 압전 소자의 말단을 구성하는 압전성 섬유 및 도전성 섬유가 신호용 금속제 단자의 파지 부분에 의해 파지되어 있지만, 꼰끈 형상 압전 소자의 말단을 구성하는 압전성 섬유는 반드시 신호용 금속제 단자의 파지 부분에 의해 파지되어 있을 필요는 없다.
이와 같은 접속을 실시할 수 있는 커넥터 부품으로서, 일본 공개특허공보 평4-282580호, 일본 공개특허공보 2002-324636호, 일본 공개특허공보 2012-79652호 등에 개시되어 있는 동축 커넥터를 적합하게 사용할 수 있다.
신호용 금속제 단자 (30) 의 파지 부분 (31) 은 길이 0.5 ㎜ 이상인 것이 바람직하고, 이것보다 짧은 경우에는, 꼰끈 형상 압전 소자 (1) 와 신호용 금속제 단자 (30) 의 고정이 약하고, 웨어러블 디바이스 용도 등에서 다양한 힘이 소자에 가해지는 경우, 꼰끈 형상 압전 소자 (1) 와 신호용 금속제 단자 (30) 가 떨어져 버리거나, 전기적 접속이 불안정해지는 경우가 있다. 파지 부분 (31) 의 길이는 보다 바람직하게는 0.7 ㎜ 이상이고, 더욱 바람직하게는 1.0 ㎜ 이상이다. 여기서 파지 부분 (31) 의 길이란, 꼰끈 형상 압전 소자 (1) 를 신호용 금속제 단자 (30) 가 파지하고 있는 길이로, 꼰끈 형상 압전 소자 (1) 의 길이 방향으로 측정한 길이이며, 신호용 금속제 단자 (30) 가 도 4 와 같이 복수 지점에서 꼰끈 형상 압전 소자 (1) 를 파지하고 있는 경우에는, 그 각 파지 부분의 길이의 합계이다.
신호용 금속제 단자 (30) 의 파지 부분 (31) 또는 파지 부분 (31) 으로부터 1 ㎜ 이내의 장소에 있어서, 꼰끈 형상 압전 소자 (1) 의 심부 (3) 와 신호용 금속제 단자 (30) 는 직접 혹은 도전성 재료를 통해서 간접적으로 접속되어 있다. 도 4 에는 특별히 나타내고 있지 않지만, 본 발명에서는 후술하는 바와 같이, 꼰끈 형상 압전 소자 (1) 의 초부 (2) 가 신호용 금속제 단자 (30) 와의 고정 부분에 있어서 풀려 있지 않은 것이 바람직하고, 그 때문에 신호용 금속제 단자 (30) 의 파지 부분 (31) 에 있어서도 초부 (2) 의 피복은 완전하게는 제거되어 있지 않고, 초부 (2) 의 융해에 의한 부분적 제거나, 솔더나 도전 페이스트 등의 도전성 재료의 부여에 의해, 꼰끈 형상 압전 소자 (1) 의 심부 (3) 와 신호용 금속제 단자 (30) 가 전기적으로 접속되는 것을 가능하게 하고 있다. 단, 꼰끈 형상 압전 소자 (1) 의 말단에 있어서의 절단 작업이나 초부 (2) 의 제거 작업에 의해 초부 (2) 가 풀려 있는 경우에도, 신호용 금속제 단자 (30) 를 고정하는 절연체 (32) 가 충분히 초부 (2) 를 파지하고 있어, 실질적으로 초부 (2) 가 풀려 있지 않은 것으로 간주할 수 있는 경우, 즉 유해한 노이즈 발생원이 되지 않는 경우에는 이것에 한정되는 것은 아니다.
(양태 B 에 의한 접속)
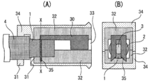
도 5 (양태 B 포크상) 는 실시형태에 관련된 상기 양태 B 의 포크상 부분 (25) 을 구비하는 금속제 단자 (20) 에 의한 접속 양태의 구성예를 나타내는 모식도이다. 도 6 (양태 B 침상) 은 실시형태에 관련된 상기 양태 B 의 침상 부분 (26) 을 구비하는 금속제 단자 (20) 에 의한 접속 양태의 구성예를 나타내는 모식도이다.
도 5 (양태 B 포크상) 및 도 6 (양태 B 침상) 에 있어서는, 각각의 단면도에 나타내는 바와 같이, 금속제 단자 (20) 의 일부인 포크상 부분 (25) 혹은 침상 부분 (26) 이, 꼰끈 형상 압전 소자 (1) 의 초부 (2) 에 접촉하면서 심부 (3) 의 도전성 섬유와 직접 혹은 도전성 재료를 통해서 간접적으로 접속되어 있다. 금속제 단자 (20) 는 각 도면의 우측 부분에 다른 단자와 접속할 수 있는 형상을 갖고 있다.
양태 B 에 있어서는 금속제 단자 (20) 의 포크상 부분 (25) 혹은 침상 부분 (26) 에 의해서만 꼰끈 형상 압전 소자 (1) 의 고정력이 약하기 때문에, 금속제 단자 (20) 의 다른 부위 혹은 금속제 단자 (20) 에 고정된 부품에 의해서도 꼰끈 형상 압전 소자 (1) 가 금속제 단자 (20) 에 고정되어 있고, 이 고정 부위가, 금속제 단자 (20) 와 심부 (3) 의 도전성 섬유의 접속 지점으로부터 10 ㎜ 이내의 장소에 필요하다. 접속 지점으로부터 10 ㎜ 를 초과하는 부분밖에 고정 부위가 없는 경우, 고정되어 있지 않은 꼰끈 형상 압전 소자 (1) 전체 및 금속제 단자 (20) 에 의해 풀린 초부 (2) 가 센서에 대한 충격 등에 의해 불안정하게 움직이고, 노이즈의 원인이 된다. 금속제 단자 (20) 의 다른 부위 혹은 금속제 단자 (20) 에 고정된 부품에 의해 꼰끈 형상 압전 소자 (1) 를 고정하려면, 양태 A 와 같이 금속제 단자 (20) 의 일부에서 꼰끈 형상 압전 소자 (1) 를 파지할 수 있지만, 금속제 단자 (20) 에 고정된 수지제 하우징 등의 부품에 의해 꼰끈 형상 압전 소자 (1) 를 끼워 넣고 파지하거나, 접착제에 의해 금속제 단자 (20) 나 금속제 단자 (20) 에 고정된 부품에 고정시키는 것이 보다 바람직하다.
도 5 (양태 B 포크상) 및 도 6 (양태 B 침상) 에 있어서는, 금속제 단자 (20) 의 외장으로서 커넥터 하우징 (22) 을 구비하고 있고, 도면의 커넥터 하우징 (22) 의 좌측의 부분에서 꼰끈 형상 압전 소자 (1) 를 사이에 끼워 파지하고, 금속제 단자 (20) 에 고정된 부품에 의한 고정 부위로 하고 있다. 커넥터 하우징 (22) 은 도 5 (양태 B 포크상) 및 도 6 (양태 B 침상) 의 각 단면도 (B) 에 나타내는 바와 같이, 상부와 하부의 2 부분으로 나뉘어져 있고, 커넥터 하우징 상부는 금속제 단자 (20) 에 미리 고정되어 있다. 꼰끈 형상 압전 소자 (1) 를 금속제 단자 (20) 에 접속 고정시킬 때에는, 커넥터 하우징 (22) 상부에 고정된 금속제 단자 (20) 와 커넥터 하우징 (22) 하부에 의해 꼰끈 형상 압전 소자 (1) 를 사이에 끼우고, 또한 상하로부터 힘을 가함으로써 금속제 단자 (20) 를 꼰끈 형상 압전 소자 (1) 에 삽입하고, 상부와 하부의 커넥터 하우징 (22) 이 접하여 고정되는 양태가 바람직하다. 그 때문에, 금속제 단자 (20) 의 포크상 부분 (25) 혹은 침상 부분 (26) 은 초부 (2) 의 압전성 섬유의 섬유간에 삽입되기 위해서 필요한 가늘음 혹은 얇음을 구비하고 있거나, 혹은 초부 (2) 의 압전성 섬유를 부분적으로 절단하기 위해서 필요한 예리함을 구비하고 있는 것이 바람직하다. 하나의 금속제 단자 (20) 는 복수의 포크상 부분 (25) 혹은 복수의 침상 부분 (26) 을 갖고 있어도 되고, 포크상 부분 (25) 과 침상 부분 (26) 을 동시에 구비하고 있어도 된다. 포크상 부분 (25) 을 갖는 금속제 단자 (20) 를 사용하는 경우에는, 초부 (2) 의 두께가 지나치게 두껍거나 심부의 총 섬도가 지나치게 낮으면, 심부 (3) 에 포크상 부분이 접촉하기 어려워지기 때문에, 초부 (2) 의 두께는 1 ㎜ 이하인 것이 바람직하고, 0.5 ㎜ 이하가 더욱 바람직하고, 심부 (3) 의 총 섬도는 50 dTex 이상이 바람직하고, 100 dTex 이상이 더욱 바람직하다.
도 5 (양태 B 포크상) 및 도 6 (양태 B 침상) 에 있어서는, 커넥터 하우징 (22) 의 우측의 개구부 (23) 로부터 다른 단자가 커넥터 하우징 (22) 내부의 금속제 단자 (20) 에 접속할 수 있는 상태로 되어 있다.
도 7 (양태 B 포크상) 은 도전층 (4) 을 포함하는 실시형태에 관련된 상기 양태 B 의 포크상 부분 (35) 을 구비하는 신호용 금속제 단자 (30) 에 의한 접속 양태의 구성예를 나타내는 모식도이다. 도 8 (양태 B 침상) 은 도전층 (4) 을 포함하는 실시형태에 관련된 상기 양태 B 의 침상 부분 (36) 을 구비하는 신호용 금속제 단자 (30) 에 의한 접속 양태의 구성예를 나타내는 모식도이다.
도 7 및 도 8 에 있어서는, 각각의 단면도에 나타내는 바와 같이, 신호용 금속제 단자 (30) 의 일부인 포크상 부분 (35) 혹은 침상 부분 (36) 이, 꼰끈 형상 압전 소자 (1) 의 초부 (2) 에 접촉하면서 심부 (3) 의 도전성 섬유와 직접 혹은 도전성 재료를 통해서 간접적으로 접속되어 있다. 신호용 금속제 단자 (30) 는 각 도면의 우측 부분에 다른 단자와 접속할 수 있는 형상을 갖고 있다. 신호용 금속제 단자 (30) 는 절연체 (32) 를 통해서 실드용 금속제 단자 (34) 에 고정되어 있고, 실드용 금속제 단자 (34) 는 신호용 금속제 단자 (30) 를 덮도록 배치되어 있다. 실드용 금속제 단자 (34) 는 파지 부분 (31) 을 갖고 있고, 이 파지 부분 (31) 에 의해 도전층 (4) 을 파지함으로써 도전층 (4) 과 전기적으로 접속되고 고정되어 있다.
이와 같은 접속을 실시할 수 있는 커넥터 부품으로서, 일본 공개특허공보 2006-277960호에 개시되어 있는 스택형 케이블 커넥터를 적합하게 사용할 수 있다.
양태 B 에 있어서는, 신호용 금속제 단자 (30) 의 포크상 부분 (35) 혹은 침상 부분 (36) 에 의해서만 꼰끈 형상 압전 소자 (1) 의 고정력이 불충분한 경우에는, 신호용 금속제 단자 (30) 의 다른 부위 혹은 신호용 금속제 단자 (30) 에 고정된 부품에 의해서도 꼰끈 형상 압전 소자 (1) 가 신호용 금속제 단자 (30) 에 고정되는 것이 바람직하다. 또, 이와 같은 추가 고정 부위는, 신호용 금속제 단자 (30) 와 심부 (3) 의 도전성 섬유의 접속 지점으로부터 10 ㎜ 이내의 장소에 있는 것이 바람직하다. 접속 지점에서 10 ㎜ 를 초과하는 부분밖에 추가 고정 부위가 없는 경우, 고정되어 있지 않은 꼰끈 형상 압전 소자 (1) 전체 및 신호용 금속제 단자 (30) 에 의해 풀린 초부 (2) 가 센서에 대한 충격 등에 의해 불안정하게 움직이고, 노이즈의 원인이 될 수 있다. 신호용 금속제 단자 (30) 의 다른 부위 혹은 신호용 금속제 단자 (30) 에 고정된 부품에 의해 꼰끈 형상 압전 소자 (1) 를 고정시키려면, 양태 A 와 같이 신호용 금속제 단자 (30) 의 일부에서 꼰끈 형상 압전 소자 (1) 를 파지할 수 있지만, 신호용 금속제 단자 (30) 에 고정된 수지제 하우징 등의 부품에 의해 꼰끈 형상 압전 소자 (1) 를 끼워 넣고 파지하거나, 접착제에 의해 신호용 금속제 단자 (30) 나 신호용 금속제 단자 (30) 에 고정된 부품에 고정시키는 것이 보다 바람직하다.
도 7 및 도 8 에 있어서는, 추가 고정 부위의 일례로서, 신호용 금속제 단자 (30) 의 외장으로서 절연체 (32) 를 구비하고 있고, 도면의 절연체 (32) 의 좌측의 부분에서 꼰끈 형상 압전 소자 (1) 를 사이에 끼워 파지하고, 신호용 금속제 단자 (30) 에 고정된 부품에 의한 고정 부위로 하고 있다. 절연체 (32) 는, 도 7 및 도 8 의 각 단면도 (B) 에 나타내는 바와 같이, 상부와 하부의 2 부분으로 나뉘어져 있고, 절연체 (32) 상부는 신호용 금속제 단자 (30) 에 미리 고정되어 있어도 된다. 꼰끈 형상 압전 소자 (1) 를 신호용 금속제 단자 (30) 에 접속 고정시킬 때에는, 절연체 (32) 상부에 고정된 신호용 금속제 단자 (30) 와 절연체 (32) 하부에 의해 꼰끈 형상 압전 소자 (1) 를 사이에 끼우고, 또한 상하로부터 힘을 가함으로써 신호용 금속제 단자 (30) 를 꼰끈 형상 압전 소자 (1) 에 삽입하고, 상부와 하부의 절연체 (32) 가 접하여 고정되는 양태가 바람직하다. 그 때문에, 신호용 금속제 단자 (30) 의 포크상 부분 (35) 혹은 침상 부분 (36) 은 초부 (2) 의 압전성 섬유의 섬유간에 삽입되기 위해서 필요한 가늘음 혹은 얇음을 구비하고 있거나, 혹은 초부 (2) 의 압전성 섬유를 부분적으로 절단하기 위해서 필요한 예리함을 구비하고 있는 것이 바람직하다. 하나의 신호용 금속제 단자 (30) 는 복수의 포크상 부분 (35) 혹은 복수의 침상 부분 (36) 을 갖고 있어도 되고, 포크상 부분 (35) 과 침상 부분 (36) 을 동시에 구비하고 있어도 된다. 포크상 부분 (35) 을 갖는 신호용 금속제 단자 (30) 를 사용하는 경우에는, 초부 (2) 의 두께가 지나치게 두껍거나 심부 (3) 의 총 섬도가 지나치게 낮으면, 심부 (3) 에 포크상 부분 (35) 이 접촉하기 어려워지기 때문에, 초부 (2) 의 두께는 1 ㎜ 이하인 것이 바람직하고, 0.5 ㎜ 이하가 더욱 바람직하고, 심부 (3) 의 총 섬도는 50 dTex 이상이 바람직하고, 100 dTex 이상이 더욱 바람직하다.
(단자 접속부)
본 발명의 꼰끈 형상 압전 소자는, 신호용 금속제 단자 혹은 그 금속제 단자에 고정된 부품에 의해 고정된 부분의 단 (端) 에 있어서, 초부의 조직이 풀려 심부로부터 떨어진 압전성 섬유가, 초부의 압전성 섬유 전체의 20 % 미만인 부분을 갖는다. 20 % 를 초과하는 경우, 심부로부터 떨어진 압전성 섬유가 센서에 대한 충격 등에 의해 불안정하게 움직임으로써 압전성 신호를 랜덤하게 발생하고, 노이즈의 원인이 된다. 꼰끈 형상 압전 소자가 금속제 단자 혹은 금속제 단자에 고정된 부품에 의해 고정된 부분이란, 양태 A 에 있어서 금속제 단자에 의해 파지된 부분이나, 양태 B 에 있어서 금속제 단자의 포크상 부분 및 침상 부분이 꼰끈 형상 압전 소자의 초부에 접하고 있는 부분이나, 양태 A 및 양태 B 에 있어서 금속제 단자에 고정된 수지 하우징 등의 부품에 의해 꼰끈 형상 압전 소자가 끼워 넣어져 파지된 부분이나, 접착제에 의해 금속제 단자나 금속제 단자에 고정된 부품에 꼰끈 형상 압전 소자가 고정된 부분을 가리킨다. 그 단 (端) 이란, 고정된 부분과 고정되어 있지 않은 부분의 경계부로부터 1 ㎜ 이내의 영역을 가리킨다. 초부의 조직이 풀려 심부로부터 떨어진다는 것은, 심부 표면으로부터, 꼰끈 형상 압전 소자의 초부의 평균 두께의 1.5 배 이상의 거리가 되는 장소에 초부의 압전성 섬유가 도달해 있는 상태를 가리키며, 압전성 섬유 1 개 (즉 꼰끈을 제조할 때에 캐리어 1 개로부터 공급되는 섬유) 마다 판정한다. 초부의 압전성 섬유가 멀티 필라멘트인 경우, 압전성 섬유 1 개를 구성하는 필라멘트 중 50 % 이상이, 심부 표면으로부터 꼰끈 형상 압전 소자의 초부의 평균 두께의 1.5 배 이상의 거리에 도달해 있는 경우, 그 압전성 섬유 1 개는 초부의 조직이 풀려 심부로부터 떨어져 있는 것으로 판정한다. 판정은 꼰끈 형상 압전 소자의 측면에서 관찰해도 되고, 단면을 관찰해도 된다. 단면을 관찰하는 경우에는, 절단시에 초부가 과도하게 풀리지 않도록, 에폭시 수지 등으로 고정하고 나서 절단하여 관찰한다.
본 발명의 소자의 신호용 금속제 단자는, 도 3 및 도 4 (양태 A), 도 5 및 도 7 (양태 B 포크상) 그리고 도 6 및 도 8 (양태 B 침상) 과 같이 꼰끈 형상 압전 소자 (1) 의 말단에 고정할 수도 있고, 꼰끈 형상 압전 소자 (1) 의 도중에 고정할 수도 있다.
본 발명의 소자는 압전성 유래의 노이즈를 억제하는 목적 달성을 위해서, 절연성 피복인 꼰끈의 초부의 섬유를 제거하지 않은 채 신호용 금속제 단자를 고정하고, 또한, 심부와 신호용 금속제 단자의 전기적 접속을 확보한다는 일견 모순된 구조를 가진다. 그것을 달성하는 구조로서 이하의 2 개 예를 든다.
구조의 1 예로서, 심부와 신호용 금속제 단자의 접속 부분으로부터 5 ㎜ 이내에 있는 초부의 압전성 섬유의 일부 또는 전부가 섬유 형상을 상실하고 융착한 구조가 바람직하게 채용된다. 즉, 금속제 단자 고정 후의 초부를 구성하는 압전성 섬유의 융해 등에 의해, 금속제 단자와 심부의 전기적 접속을 방해하는 초부의 압전성 섬유를 유동시키고, 금속제 단자와 심부의 전기적 접속을 확보한 후 냉각 등을 실시하여 다시 압전성 섬유를 고화시키고 고정시킬 수 있다. 압전성 섬유가 융해 후 고화한 고체는 접착제와 같이 꼰끈 형상 압전 소자와 금속제 단자를 고정할 수 있는 이점을 갖는다. 또한 압전성 섬유에 폴리락트산 등의 고분자 섬유를 사용한 경우, 융해 후 고화한 고체는 압전성을 잃기 때문에, 노이즈원이 될 우려가 없다. 고화한 압전성 섬유의 융해는, 폴리락트산 섬유를 사용한 경우에는 160 ℃ 이상의 온도를 거치는 열 처리에 의해 실시할 수 있지만, 불필요한 폴리락트산의 분해 및 불필요한 초부의 융해나 그 밖의 부재의 변형을 방지하기 위해서 220 ℃ 이하에서 실시하는 것이 바람직하다. 압전성 섬유의 융해는 금속제 단자의 고정시에 실시할 수도 있고, 전기적 접속을 확보할 수 있는지 확인하면서 금속제 단자의 파지 압력을 강하게 해 나가는 것이 바람직하고, 불필요한 초부의 변형을 방지하기 위해서, 금속제 단자를 가열하여 초부에 열을 전달하여 융해시키는 것이 바람직하다. 공정의 안전성이나 복수의 소자를 동시에 처리할 수 있는 관점에서, 금속제 단자를 장착한 후에 실시하는 것도 바람직하다.
구조의 다른 예로서, 초부 표면에 솔더 혹은 도전 페이스트로 이루어지는, 심부와 전기적으로 접속된 도전성 재료를 구비하고 있고, 초부 표면에 구비된 도전성 재료와 신호용 금속제 단자가 접촉함으로써 심부와 금속제 단자가 간접적으로 접속된 구조를 들 수 있다. 도전성 재료는 심부와 금속제 단자의 사이에 개재하여 전기적으로 도통시키는 기능을 가지며, 온도 변화나 용매 제거나 화학 반응에 의해 액체상 (슬러리상을 포함한다) 으로부터 고체상으로 변화하는 것이면 무엇이든지 사용할 수 있으며, 솔더, 금속이나 카본 등의 도전성 필러를 함유하는 도전 페이스트가 바람직하게 사용된다. 특히 취급성과 도전성으로부터, 솔더 및 은 페이스트가 바람직하게 사용된다. 본 발명의 꼰끈 형상 압전 소자는 절연 피복이 섬유의 집합체이기 때문에, 표면으로부터 상기의 도전성 재료를 부착시킴으로써 내부에 스며들게 하고, 심부와 전기적으로 접속된 도전 표면을 초부 표면에 형성할 수 있지만, 보다 심부와의 전기적 접속을 확실하게 하기 위해서, 도전성 재료의 고화 전의 유동성을 낮게 조정하여 심부에 스며들기 쉽게 하거나, 도전성 재료의 고화 전에 꼰끈 형상 압전 소자에 물리적 자극을 주어 초부의 섬유간의 간극을 넓히거나, 혹은 꼰끈 형상 압전 소자의 말단의 절단면에도 도전성 재료를 부착시키는 것이 바람직하다.
(기재에 대한 고정)
본 발명의 꼰끈 형상 압전 소자는, 신호용 금속제 단자 혹은 실드용 금속제 단자가 꼰끈 형상 압전 소자에 고정된 부분으로부터 길이 10 ㎜ 이내의 범위에 있어서, 그 꼰끈 형상 압전 소자의 적어도 일부가 포백 형상 기재에 고정되어 있는 것이 바람직하다. 10 ㎜ 이내에 포백 형상 기재에 고정되어 있는 장소가 없는 경우, 고정되어 있지 않은 꼰끈 형상 압전 소자가 포백 형상 기재 및 금속제 단자에 대한 충격 등에 의해 불안정하게 움직이고, 노이즈의 원인이 된다. 포백 형상 기재에 대한 고정은 접착, 꿰매붙이기 등의 후 가공에 의해 실시해도 되고, 포백 조직을 구성하는 실로서 섞어 넣어 직조하거나 또는 편조함으로써 고정되어 있어도 된다.
(제조 방법)
본 발명의 꼰끈 형상 압전 소자 (1) 는 적어도 1 개의 도전성 섬유 (B) 의 표면을 꼰끈 형상의 압전성 섬유 (A) 로 피복하고 있지만, 그 제조 방법으로는 예를 들어 이하의 방법을 들 수 있다. 즉, 도전성 섬유 (B) 와 압전성 섬유 (A) 를 별도의 공정으로 제조하고, 도전성 섬유 (B) 에 압전성 섬유 (A) 를 꼰끈 형상으로 휘감아 피복하는 방법이다. 이 경우에는, 가능한 한 동심원상에 가까워지도록 피복하는 것이 바람직하다.
이 경우, 압전성 섬유 (A) 를 형성하는 압전성 고분자로서 폴리락트산을 사용하는 경우의 바람직한 방사, 연신 조건으로서, 용융 방사 온도는 150 ℃ ∼ 250 ℃ 가 바람직하고, 연신 온도는 40 ℃ ∼ 150 ℃ 가 바람직하고, 연신 배율은 1.1 배 내지 5.0 배가 바람직하고, 결정화 온도는 80 ℃ ∼ 170 ℃ 가 바람직하다.
도전성 섬유 (B) 에 휘감는 압전성 섬유 (A) 로는, 복수의 필라멘트를 묶은 멀티 필라멘트를 사용해도 되고, 또, 모노 필라멘트를 사용해도 되고, 1 개의 방적사여도 되고, 복수 개의 방적사를 묶은 실다발 형태 (연사를 포함한다) 로 해도 되며, 또한, 필라멘트와 방적사를 조합한 장단 복합사로 해도 된다. 또, 압전성 섬유 (A) 가 휘감겨지는 도전성 섬유 (B) 로는, 복수의 필라멘트를 묶은 멀티 필라멘트를 사용해도 되고, 또, 모노 필라멘트를 사용해도 된다. 또한 1 개의 방적사여도 되고, 복수 개의 방적사를 묶은 실다발 형태 (연사를 포함한다) 로 해도 되며, 필라멘트와 방적사를 조합한 장단 복합사로 해도 된다.
피복의 바람직한 형태로는, 도전성 섬유 (B) 를 심사로 하고, 그 주위에 압전성 섬유 (A) 를 꼰끈 형상으로 제조하여, 환타 조물 (Tubular Braid) 을 제조함으로써 피복할 수 있다. 보다 구체적으로는 심부 (3) 를 갖는 8 타 꼰끈이나 16 타 꼰끈을 들 수 있다. 단, 예를 들어, 압전성 섬유 (A) 를 편조 (編組) 튜브와 같은 형태로 하고, 도전성 섬유 (B) 를 심으로 하여 당해 편조 튜브에 삽입함으로써 피복해도 된다.
도전층 (4) 은, 코팅이나 섬유 휘감기에 의해 제조되지만, 제조의 용이함의 관점에서, 섬유 휘감기가 바람직하다. 섬유 휘감기 방법으로는 커버 링, 편물, 조물이 생각되며, 어느 방법에 의해 제조해도 된다.
이상과 같은 제조 방법에 의해, 도전성 섬유 (B) 의 표면을 꼰끈 형상의 압전성 섬유 (A) 로 피복하고, 또한 필요에 따라 그 주위에 도전층 (4) 을 형성한 꼰끈 형상 압전 소자 (1) 를 얻을 수 있다.
본 발명의 꼰끈 형상 압전 소자 (1) 는, 표면에 전기 신호를 검출하기 위한 전극의 형성을 필요로 하지 않기 때문에, 비교적 간단하게 제조할 수 있다.
(보호층)
본 발명의 꼰끈 형상 압전 소자 (1) 의 최표면에는 보호층을 형성해도 된다. 이 보호층은 절연성인 것이 바람직하고, 플렉시블성 등의 관점에서 고분자로 이루어지는 것이 보다 바람직하다. 보호층에 절연성을 갖게 하는 경우에는, 물론, 이 경우에는 보호층째 변형시키거나 보호층 상을 문지르거나 하게 되지만, 이들 외력이 압전성 섬유 (A) 까지 도달하고, 그 분극을 야기할 수 있는 것이면 특별히 한정은 없다. 보호층으로는, 고분자 등의 코팅에 의해 형성되는 것에 한정되지 않고, 필름, 포백, 섬유 등을 휘감아도 되고, 혹은, 그것들이 조합된 것이어도 된다.
보호층의 두께로는 가능한 한 얇은 편이, 전단 응력을 압전성 섬유 (A) 에 전달하기 쉽지만, 지나치게 얇으면, 보호층 자체가 파괴되는 등의 문제가 발생하기 쉬워지기 때문에, 바람직하게는 10 ㎚ ∼ 200 ㎛, 보다 바람직하게는 50 ㎚ ∼ 50 ㎛, 더욱 바람직하게는 70 ㎚ ∼ 30 ㎛, 가장 바람직하게는 100 ㎚ ∼ 10 ㎛ 이다. 이 보호층에 의해 압전 소자의 형상을 형성할 수도 있다.
또, 노이즈 저감을 목적으로 하여 전자파 실드층을 꼰끈 구조에 도입하는 것도 가능하다. 전자파 실드층은 특별히 한정되는 것은 아니지만, 도전성 물질을 코팅해도 되고, 도전성을 갖는 필름, 포백, 섬유 등을 휘감아도 된다. 전자파 실드층의 체적 저항률로는 10-1 Ω·㎝ 이하인 것이 바람직하고, 보다 바람직하게는 10-2 Ω·㎝ 이하, 더욱 바람직하게는 10-3 Ω·㎝ 이하이다. 단, 전자파 실드층의 효과가 얻어지는 것이면 저항률은 이것에 한정되는 것은 아니다. 이 전자파 실드층은, 초부의 압전성 섬유 (A) 의 표면에 형성해도 되고, 전술한 보호층의 외측에 형성해도 된다. 물론, 전자파 실드층과 보호층이 복수 층 적층되어 있어도 되고, 그 순번도 목적에 따라 적절히 결정된다.
나아가서는, 압전성 섬유로 이루어지는 층을 복수 층 형성하거나, 신호를 취출하기 위한 도전성 섬유로 이루어지는 층을 복수 층 형성하거나 할 수도 있다. 물론, 이들 보호층, 전자파 실드층, 압전성 섬유로 이루어지는 층, 도전성 섬유로 이루어지는 층은, 그 목적에 따라, 그 순번 및 층 수는 적절히 결정된다. 또한, 휘감는 방법으로는, 초부 (2) 의 또한 외층에 꼰끈 구조를 형성하거나, 커버 링하거나 하는 방법을 들 수 있다.
(작용)
본 발명의 꼰끈 형상 압전 소자 (1) 는, 예를 들어 꼰끈 형상 압전 소자 (1) 의 표면을 문지르는 등으로, 꼰끈 형상 압전 소자 (1) 에 하중이 인가되어 발생하는 응력, 즉 꼰끈 형상 압전 소자 (1) 에 인가되는 응력에 대해, 그 크기 및/또는 인가 위치를 검출하는 센서로서 이용할 수 있다. 또, 본 발명의 꼰끈 형상 압전 소자 (1) 는, 문지르는 것 이외의 가압력이나 굽힘 변형 등에 의해서도 압전성 섬유 (A) 에 전단 응력이 부여된다면, 전기 신호를 취출하는 것은 물론 가능하다. 예를 들어, 꼰끈 형상 압전 소자 (1) 에 「인가되는 응력」 으로는, 압전 소자의 표면, 즉 압전성 섬유 (A) 의 표면과 손가락과 같은 피접촉물의 표면 사이의 마찰력이나, 압전성 섬유 (A) 의 표면 또는 선단부에 대한 수직 방향의 저항력, 압전성 섬유 (A) 의 굽힘 변형에 대한 저항력 등을 들 수 있다. 특히, 본 발명의 꼰끈 형상 압전 소자 (1) 는, 도전성 섬유 (B) 에 대하여 평행 방향으로 굴곡시켰을 경우나 문질렀을 경우에 큰 전기 신호를 효율적으로 출력할 수 있다.
여기서, 꼰끈 형상 압전 소자 (1) 에 「인가된 응력」 이란, 예를 들어 표면을 손가락으로 문지르는 정도의 크기의 응력인 경우, 그 기준으로는, 대체로 1 ∼ 1000 ㎩ 이다. 물론, 그 이상이더라도 인가된 응력의 크기 및 그 인가 위치를 검출하는 것이 가능한 것은 말할 필요도 없다. 손가락 등으로 입력하는 경우에는, 1 ㎩ 이상 500 ㎩ 이하의 하중이더라도 동작하는 것이 바람직하고, 더욱 바람직하게는 1 ㎩ 이상 100 ㎩ 이하의 하중으로 동작하는 것이 바람직하다. 물론, 500 ㎩ 를 초과하는 하중이더라도 동작하는 것은, 상기 서술한 바와 같다.
또, 꼰끈 형상 압전 소자 (1) 의 심부의 도전성 섬유 (B) 와 도전층 (4) 의 사이의 정전 용량 변화를 계측함으로써, 꼰끈 형상 압전 소자 (1) 에 가해진 압력에 의한 변형을 검출하는 것도 가능해진다. 또한, 복수 개의 꼰끈 형상 압전 소자 (1) 를 조합하여 사용하는 경우, 각각의 꼰끈 형상 압전 소자 (1) 의 도전층 (4) 간의 정전 용량 변화를 계측함으로써, 꼰끈 형상 압전 소자 (1) 에 가해진 압력에 의한 변형을 검출하는 것도 가능해진다.
(포백 형상 압전 소자)
도 9 및 도 10 은 실시형태에 관련된 꼰끈 형상 압전 소자를 사용한 포백 형상 압전 소자의 구성예를 나타내는 모식도이다.
포백 형상 압전 소자 (7) 는, 적어도 1 개의 꼰끈 형상 압전 소자 (1) 를 포함하는 포백 (8) 을 구비하고 있다. 포백 (8) 은, 포백을 구성하는 섬유 (꼰끈을 포함한다) 의 적어도 1 개가 꼰끈 형상 압전 소자 (1) 이며, 꼰끈 형상 압전 소자 (1) 가 압전 소자로서의 기능을 발휘 가능한 한 아무런 한정은 없고, 어떠한 직편물이어도 된다. 천 형상으로 하는 데 있어서는, 본 발명의 목적을 달성하는 한, 다른 섬유 (꼰끈을 포함한다) 와 조합하여, 교직 (交織), 교편 (交編) 등을 실시해도 된다. 물론, 꼰끈 형상 압전 소자 (1) 를, 포백을 구성하는 섬유 (예를 들어, 경사나 위사) 의 일부로서 사용해도 되고, 꼰끈 형상 압전 소자 (1) 를 포백에 자수해도 되고, 접착해도 된다. 도 9 및 도 10 에 나타내는 예에서는, 포백 형상 압전 소자 (7) 는, 경사로서, 적어도 1 개의 꼰끈 형상 압전 소자 (1) 및 절연성 섬유 (9) 를 배치하고, 위사로서 도전성 섬유 (10) 및 절연성 섬유 (9) 를 번갈아 배치한 평직물이다. 도전성 섬유 (10) 는 도전성 섬유 (B) 와 동일종이어도 되고 이종의 도전성 섬유여도 되며, 또 절연성 섬유 (9) 에 대해서는 후술된다. 또한, 절연성 섬유 (9) 및/또는 도전성 섬유 (10) 의 전부 또는 일부가 꼰끈 형태여도 된다.
이 경우, 포백 형상 압전 소자 (7) 가 구부러지는 등 하여 변형되었을 때, 그 변형에 수반하여 꼰끈 형상 압전 소자 (1) 도 변형되므로, 꼰끈 형상 압전 소자 (1) 로부터 출력되는 전기 신호에 의해, 포백 형상 압전 소자 (7) 의 변형을 검출할 수 있다. 그리고, 포백 형상 압전 소자 (7) 는, 포백 (직편물) 으로서 사용할 수 있으므로, 예를 들어 의류 형상의 웨어러블 센서에 적용할 수 있다.
또, 도 9 및 도 10 에 나타내는 포백 형상 압전 소자 (7) 에서는, 꼰끈 형상 압전 소자 (1) 에 도전성 섬유 (10) 가 교차하여 접촉하고 있다. 따라서, 도전성 섬유 (10) 는, 꼰끈 형상 압전 소자 (1) 의 적어도 일부와 교차하여 접촉하고, 그것을 덮고 있어, 외부로부터 꼰끈 형상 압전 소자 (1) 로 향하려고 하는 전자파의 적어도 일부를 차단하고 있다고 볼 수 있다. 이와 같은 도전성 섬유 (10) 는, 접지 (어스) 됨으로써, 꼰끈 형상 압전 소자 (1) 에 대한 전자파의 영향을 경감하는 기능을 갖고 있다. 즉 도전성 섬유 (10) 는 꼰끈 형상 압전 소자 (1) 의 전자파 실드로서 기능할 수 있다. 그에 따라, 예를 들어 포백 형상 압전 소자 (7) 의 상하에 전자파 실드용 도전성의 포백을 겹치지 않아도, 포백 형상 압전 소자 (7) 의 S/N 비를 현저하게 향상시킬 수 있다. 이 경우, 전자파 실드의 관점에서 꼰끈 형상 압전 소자 (1) 와 교차하는 위사 (도 9 및 도 10 의 경우) 에 있어서의 도전성 섬유 (10) 의 비율이 높을수록 바람직하다. 구체적으로는, 포백 (8) 을 형성하는 섬유이고 또한 꼰끈 형상 압전 소자 (1) 와 교차하는 섬유 중 30 % 이상이 도전성 섬유 (10) 인 것이 바람직하고, 40 % 이상이 보다 바람직하고, 50 % 이상이 더욱 바람직하다. 이와 같이 포백 형상 압전 소자 (7) 에 있어서, 포백을 구성하는 섬유의 적어도 일부로서 도전성 섬유 (10) 를 넣음으로써, 전자파 실드가 부착된 포백 형상 압전 소자 (7) 로 할 수 있다.
직물의 직조직으로는, 평직, 능직, 주자직 등의 삼원 조직, 변화 조직, 세로 이중직, 가로 이중직 등의 편이중 조직, 세로 비로도 등이 예시된다. 편물의 종류는, 환편물 (위편물) 이어도 되고 경편물이어도 된다. 환편물 (위편물) 의 조직으로는, 평편, 고무편, 양면편, 펄편, 택편, 부편 (浮編), 편반편 (片畔編), 레이스편, 첨모편 (添毛編) 등이 바람직하게 예시된다. 경편 조직으로는, 싱글 덴비편, 싱글 아틀라스편, 더블 코드편, 하프 트리콧편, 이모편 (裏毛編), 쟈가드편 등이 예시된다. 층 수도 단층이어도 되고, 2 층 이상의 다층이어도 된다. 나아가서는, 컷 파일 및/또는 루프 파일로 이루어지는 입모부와 그라운드 조직부로 구성되는 입모 직물, 입모 편물이어도 된다.
(복수의 압전 소자)
또, 포백 형상 압전 소자 (7) 에서는, 꼰끈 형상 압전 소자 (1) 를 복수 늘어놓아 사용하는 것도 가능하다. 늘어놓는 방법으로는, 예를 들어 경사 또는 위사로서 모두 꼰끈 형상 압전 소자 (1) 를 사용해도 되고, 수 개마다나 일부분에 꼰끈 형상 압전 소자 (1) 를 사용해도 된다. 또, 어느 부분에서는 경사로서 꼰끈 형상 압전 소자 (1) 를 사용하고, 다른 부분에서는 위사로서 꼰끈 형상 압전 소자 (1) 를 사용해도 된다.
이와 같이 꼰끈 형상 압전 소자 (1) 를 복수 개 늘어놓아 포백 형상 압전 소자 (7) 를 형성할 때에는, 꼰끈 형상 압전 소자 (1) 는 표면에 전극을 갖지 않기 때문에, 그 늘어놓는 방법, 짜는 방법을 광범위하게 선택할 수 있다는 이점이 있다.
또, 꼰끈 형상 압전 소자 (1) 를 복수 늘어놓아 사용하는 경우, 도전성 섬유 (B) 간의 거리가 짧기 때문에 전기 신호의 취출에 있어서 효율적이다. 특히 본 발명에서는, 각각의 꼰끈 형상 압전 소자에 접속된 복수의 금속제 단자를 1 개의 개구부를 갖는 커넥터 하우징에 정리하여 고정시킴으로써 복수 극을 갖는 커넥터로 하고, 일괄하여 다른 복수 극을 갖는 커넥터와 접속 가능하게 함으로써, 디바이스 제조의 효율화나, 사용자에게 있어서의 접속 및 제거를 용이하게 할 수 있어, 특히 바람직하다. 전술한 바와 같이 직물 혹은 편물의 조직에 짜넣음으로써, 복수의 꼰끈 형상 압전 소자를 원하는 간격으로 용이하게 늘어놓는 것이 가능하고, 각각의 금속제 단자를 커넥터에 고정하는 것을 용이하게 할 수 있는 이점이 있다. 이 때 직밀도나 편밀도의 조정에 의해, 복수의 꼰끈 형상 압전 소자의 간격을 전자 회로에 자주 사용되는 커넥터의 단자 간격으로 조정하는 것이 바람직하고, 0.5 ㎜, 1.0 ㎜, 1.25 ㎜, 1.5 ㎜, 2.0 ㎜, 2.54 ㎜ 중 어느 것의 간격 (꼰끈의 중심간의 거리) 으로 조정하는 것이 보다 바람직하다. 또, 양태 B 의 포크상의 부위를 갖고, 복수의 금속제 단자가 미리 1 개의 커넥터 하우징에 고정된 커넥터를 사용하고, 복수의 꼰끈 형상 압전 소자에 한 번에 복수의 금속제 단자를 접속하는 것이 공정의 간략화의 관점에서 특히 바람직하다.
(절연성 섬유)
포백 형상 압전 소자 (7) 에서는, 꼰끈 형상 압전 소자 (1) (및 도전성 섬유 (10)) 이외의 부분에는, 절연성 섬유를 사용할 수 있다. 이 때, 절연성 섬유는 포백상 압전 소자 (7) 의 유연성을 향상시킬 목적으로 신축성이 있는 소재, 형상을 갖는 섬유를 사용할 수 있다.
이와 같이 꼰끈 형상 압전 소자 (1) (및 도전성 섬유 (10)) 이외에 이와 같이 절연성 섬유를 배치함으로써, 포백 형상 압전 소자 (5) 의 조작성 (예시:웨어러블 센서로서의 움직이기 쉬움) 을 향상시키는 것이 가능하다.
이와 같은 절연성 섬유로는, 체적 저항률이 106 Ω·㎝ 이상이면 사용할 수 있으며, 보다 바람직하게는 108 Ω·㎝ 이상, 더욱 바람직하게는 1010 Ω·㎝ 이상이 좋다.
절연성 섬유로서 예를 들어, 폴리에스테르 섬유, 나일론 섬유, 아크릴 섬유, 폴리에틸렌 섬유, 폴리프로필렌 섬유, 염화비닐 섬유, 아라미드 섬유, 폴리술폰 섬유, 폴리에테르 섬유, 폴리우레탄 섬유 등의 합성 섬유 외에, 면, 마, 견 등의 천연 섬유, 아세테이트 등의 반합성 섬유, 레이온, 큐프라 등의 재생 섬유를 사용할 수 있다. 이들에 한정되는 것이 아니라, 공지된 절연성 섬유를 임의로 사용할 수 있다. 또한, 이들 절연성 섬유를 조합하여 사용해도 되고, 절연성을 갖지 않는 섬유와 조합하고, 전체적으로 절연성을 갖는 섬유로 해도 된다.
또, 공지된 모든 단면 형상의 섬유를 사용할 수 있다.
(압전 소자의 적용 기술)
본 발명의 꼰끈 형상 압전 소자 (1) 나 포백 형상 압전 소자 (5) 와 같은 압전 소자는 어느 양태이더라도, 표면에 대한 접촉, 압력, 형상 변화를 전기 신호로서 출력할 수 있으므로, 그 압전 소자에 인가된 응력의 크기 및/또는 인가된 위치를 검출하는 센서 (디바이스) 로서 이용할 수 있다. 또, 이 전기 신호를 다른 디바이스를 움직이기 위한 전력원 혹은 축전하는 등, 발전 소자로서 사용할 수도 있다. 구체적으로는, 사람, 동물, 로봇, 기계 등 자발적으로 움직이는 것의 가동부에 사용하는 것에 따른 발전, 구두창, 깔개, 외부로부터 압력을 받는 구조물의 표면에서의 발전, 유체 중에서의 형상 변화에 의한 발전 등을 들 수 있다. 또, 유체 중에서의 형상 변화에 의해 전기 신호를 발하기 위해서, 유체 중의 대전성 물질을 흡착시키거나 부착을 억제시키거나 하는 것도 가능하다.
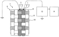
도 11 은, 본 발명의 압전 소자 (12) 를 구비하는 디바이스 (11) 를 나타내는 블록도이다. 디바이스 (11) 는, 압전 소자 (12) (예시:꼰끈 형상 압전 소자 (1), 포백 형상 압전 소자 (7)) 와, 인가된 압력에 따라 압전 소자 (12) 로부터 출력되는 전기 신호를 증폭하는 증폭 수단 (13) 과, 증폭 수단 (13) 으로 증폭된 전기 신호를 출력하는 출력 수단 (14) 과, 출력 수단 (14) 으로부터 출력된 전기 신호를 외부 기기 (도시하지 않음) 에 송신하는 송신 수단 (15) 을 구비한다. 이 디바이스 (11) 를 사용하면, 압전 소자 (12) 의 표면에 대한 접촉, 압력, 형상 변화에 의해 출력된 전기 신호에 기초하여, 외부 기기 (도시하지 않음) 에 있어서의 연산 처리로, 압전 소자에 인가된 응력의 크기 및/또는 인가된 위치를 검출할 수 있다. 혹은, 디바이스 (11) 내에, 출력 수단 (14) 으로부터 출력된 전기 신호에 기초하여 압전 소자 (12) 에 인가된 응력의 크기 및/또는 인가된 위치를 연산하는 연산 수단 (도시하지 않음) 을 형성해도 된다. 또한, 송신 수단 (15) 에 의한 송신 방식을 무선에 의한 것으로 할지 유선에 의한 것으로 할지는, 구성하는 센서에 따라 적절히 결정하면 된다.
또, 증폭 수단 뿐만 아니라, 노이즈를 제거하는 수단이나 다른 신호와 조합하여 처리하는 수단 등의 공지된 신호 처리 수단을 조합하여 사용할 수 있다. 이들 수단의 접속 순서는 목적에 따라 적절히 바꿀 수 있다. 물론, 압전 소자 (12) 로부터 출력되는 전기 신호를 그대로 외부 기기로 송신한 다음에 신호 처리해도 된다.
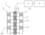
도 12 ∼ 15 는, 실시형태에 관련된 포백 형상 압전 소자를 구비하는 디바이스의 구성예를 나타내는 모식도이다. 도 12 ∼ 15 의 증폭 수단 (13) 은, 도 11 을 참조하여 설명한 것에 상당하지만, 도 11 의 출력 수단 (14) 및 송신 수단 (15) 에 대해서는 도 12 ∼ 15 에서는 도시를 생략하고 있다. 포백 형상 압전 소자 (7) 를 구비하는 디바이스를 구성하는 경우, 증폭 수단 (13) 의 입력 단자에 꼰끈 형상 압전 소자 (1) 의 심부 (3) 로부터의 인출선을 접속하고, 접지 (어스) 단자에는, 증폭 수단 (13) 의 입력 단자에 접속한 꼰끈 형상 압전 소자 (1) 와는 다른 꼰끈 형상 압전 소자 또는 도전성 섬유 (10) 를 접속한다. 예를 들어, 도 12 에 나타내는 바와 같이, 포백 형상 압전 소자 (7) 에 있어서, 꼰끈 형상 압전 소자 (1) 의 심부 (3) 로부터의 인출선을 증폭 수단 (13) 의 입력 단자에 접속하고, 꼰끈 형상 압전 소자 (1) 에 교차하여 접촉한 도전성 섬유 (10) 를 접지 (어스) 한다. 또 예를 들어, 도 14 에 나타내는 바와 같이, 포백 형상 압전 소자 (5) 에 있어서 꼰끈 형상 압전 소자 (1) 를 복수 늘어놓고 있는 경우, 1 개의 꼰끈 형상 압전 소자 (1) 의 심부 (3) 로부터의 인출선을 증폭 수단 (13) 의 입력 단자에 접속하고, 당해 꼰끈 형상 압전 소자 (1) 에 늘어놓은 다른 꼰끈 형상 압전 소자 (1) 의 심부 (3) 로부터의 인출선을, 접지 (어스) 한다. 다른 양태로서, 도전층 (4) 을 포함하는 포백 형상 압전 소자 (7) 를 구비하는 디바이스를 구성하는 경우, 증폭 수단 (13) 의 입력 단자에 꼰끈 형상 압전 소자 (1) 의 심부 (3) 로부터의 인출선을 접속하고, 접지 (어스) 단자에는, 꼰끈 형상 압전 소자 (1) 의 도전층 (4) 또는 포백 형상 압전 소자 (7) 의 도전성 섬유 (10) 또는 증폭 수단 (13) 의 입력 단자에 접속한 꼰끈 형상 압전 소자 (1) 와는 다른 꼰끈 형상 압전 소자를 접속한다. 예를 들어, 도 13 에 나타내는 바와 같이, 포백 형상 압전 소자 (7) 에 있어서, 꼰끈 형상 압전 소자 (1) 의 심부 (3) 로부터의 인출선을 증폭 수단 (13) 의 입력 단자에 접속하고, 꼰끈 형상 압전 소자 (1) 의 도전층 (4) 을 접지 (어스) 한다. 꼰끈 형상 압전 소자 (1) 의 도전층 (4) 이 아니라, 꼰끈 형상 압전 소자 (1) 에 교차하여 접촉한 도전성 섬유 (10) 를 접지 (어스) 해도 된다. 또 예를 들어, 도 15 에 나타내는 바와 같이, 포백 형상 압전 소자 (7) 에 있어서 꼰끈 형상 압전 소자 (1) 를 복수 늘어놓고 있는 경우, 1 개의 꼰끈 형상 압전 소자 (1) 의 심부 (3) 로부터의 인출선을 증폭 수단 (13) 의 입력 단자에 접속하고, 당해 꼰끈 형상 압전 소자 (1) 에 늘어선 다른 꼰끈 형상 압전 소자 (1) 의 심부 (3) 로부터의 인출선을, 접지 (어스) 한다.
본 발명의 디바이스 (11) 는 유연성이 있고, 꼰끈 형상 및 포백 형상 어느 형태로도 사용할 수 있기 때문에, 매우 광범위한 용도가 생각된다. 본 발명의 디바이스 (11) 의 구체적인 예로는, 모자나 장갑, 양말 등을 포함하는 착의, 서포터, 행커칩 모양 등의 형상을 한, 터치 패널, 사람이나 동물의 표면 감압 센서, 예를 들어, 장갑이나 밴드, 서포터 등의 형상을 한 관절부의 굽힘, 비틀림, 신축을 감지하는 센서를 들 수 있다. 예를 들어 사람에게 사용하는 경우에는, 접촉이나 움직임을 검출하고, 의료 용도 등의 관절 등의 움직임의 정보 수집, 어뮤즈먼트 용도, 상실된 조직이나 로봇을 움직이기 위한 인터페이스로서 사용할 수 있다. 그 밖에, 동물이나 인형 (人型) 을 본뜬 봉제 인형이나 로봇의 표면 감압 센서, 관절부의 굽힘, 비틀림, 신축을 감지하는 센서로서 사용할 수 있다. 그 밖에, 시트나 베개 등의 침구, 구두창, 장갑, 의자, 깔개, 봉투, 기 (旗) 등의 표면 감압 센서나 형상 변화 센서로서 사용할 수 있다.
또한, 본 발명의 디바이스 (11) 는 꼰끈 형상 혹은 포백 형상이며, 유연성이 있으므로, 모든 구조물의 전체 혹은 일부의 표면에 첩부 (貼付) 혹은 피복함으로써 표면 감압 센서, 형상 변화 센서로서 사용할 수 있다.
또한, 본 발명의 디바이스 (11) 는, 꼰끈 형상 압전 소자 (1) 의 표면을 문지르는 것만으로 충분한 전기 신호를 발생할 수 있기 때문에, 터치 센서와 같은 터치식 입력 장치나 포인팅 디바이스 등에 사용할 수 있다. 또, 꼰끈 형상 압전 소자 (1) 로 피계측물의 표면을 문지름으로써 피계측물의 높이 방향의 위치 정보나 형상 정보를 얻을 수 있으므로, 표면 형상 계측 등에 사용할 수 있다.
실시예
이하, 본 발명을 실시예에 의해 더욱 구체적으로 기재하는데, 본 발명은 이것에 의해 아무런 한정을 받는 것은 아니다.
압전 소자용의 포백은 이하의 방법으로 제조하였다.
(폴리락트산의 제조)
실시예에 있어서 사용한 폴리락트산은 이하의 방법으로 제조하였다.
L-락티드 ((주) 무사시노 화학 연구소 제조, 광학 순도 100 %) 100 질량부에 대하여, 옥틸산주석을 0.005 질량부 첨가하고, 질소 분위기하, 교반 날개가 부착된 반응기로 180 ℃ 에서 2 시간 반응시키고, 옥틸산주석에 대하여 1.2 배 당량의 인산을 첨가하고 그 후, 13.3 ㎩ 로 잔존하는 락티드를 감압 제거하고, 칩화하여, 폴리-L-락트산 (PLLA1) 을 얻었다. 얻어진 PLLA1 의 질량 평균 분자량은 15.2 만, 유리 전이점 (Tg) 은 55 ℃, 융점은 175 ℃ 였다.
(압전성 섬유)
240 ℃ 에서 용융시킨 PLLA1 을 24 홀의 캡으로부터 20 g/min 으로 토출하고, 887 m/min 으로 인취하였다. 이 미연신 멀티 필라멘트사를 80 ℃, 2.3 배로 연신하고, 100 ℃ 에서 열 고정 처리함으로써 84 dTex/24 필라멘트의 멀티 필라멘트 1 축 연신사를 얻고, 이것을 압전성 섬유 (A) 로 하였다.
(도전성 섬유)
미츠후지 (주) 제조의 은 도금 나일론, 품명 『AGposs』 100d34f 를 도전성 섬유 (B) 로서 사용하였다. 이 섬유의 체적 저항률은 1.1 × 10-3 Ω·㎝ 였다.
(절연성 섬유)
280 ℃ 에서 용융시킨 폴리에틸렌테레프탈레이트를 24 홀의 캡으로부터 45 g/min 으로 토출하고, 800 m/min 으로 인취하였다. 이 미연신사를 80 ℃, 2.5 배로 연신하고, 180 ℃ 에서 열 고정 처리함으로써 함으로써 84 dTex/24 필라멘트의 멀티 필라멘트 연신사를 얻고, 이것을 절연성 섬유 (9) 로 하였다.
(도전층을 포함하지 않는 꼰끈 형상 압전 소자)
실시예 1 의 시료로서, 도 1 에 나타내는 바와 같이, 상기의 도전성 섬유 (B) 를 심사로 하고, 상기의 압전성 섬유 (A) 8 개를 심사의 둘레에 꼰끈 형상으로 휘감아, 8 타 꼰끈으로 하고, 꼰끈 형상 압전 소자를 형성하였다. 이 꼰끈 형상 압전 소자의 도중에, 닛폰 압착 단자 제조 (주) 제조 SH 커넥터 컨택트를 금속제 단자로 하여, 길이 0.4 ㎜ 의 부분과 길이 0.8 ㎜ 의 훅 부분을 접어 구부리고, 꼰끈 형상 압전 소자를 파지한 후, 금속제 단자에는 납땜 인두를 대어 가열하고, 파지 부분의 초부를 일부 융해시켰다. 꼰끈 형상 압전 소자의 말단의 심부와 금속제 단자의 사이의 도통을 확인하고, 파지 부분으로부터 앞의 여분의 꼰끈 형상 압전 소자를 컷하였다. 이 단자가 부착된 꼰끈 형상 압전 소자를 꼰끈 형상 압전 소자 100 으로 하였다.
실시예 2 의 시료로서, 실시예 1 에서 사용한 꼰끈 형상 압전 소자를 절단하고, 그 말단에 도전 페이스트로서 「도타이트」 (등록상표) D-363 (후지쿠라 화성 (주) 제조) 을 부착시켜 고화시킨 후, 닛폰 압착 단자 제조 (주) 제조 SH 커넥터 컨택트를 금속제 단자로 하여, 길이 0.4 ㎜ 의 부분과 길이 0.8 ㎜ 의 훅 부분을 접어 구부리고, 도전 페이스트가 부착된 꼰끈 형상 압전 소자 말단을 파지하였다. 꼰끈 형상 압전 소자의 다른 말단의 심부와 금속제 단자의 사이의 도통을 확인하였다. 이 단자가 부착된 꼰끈 형상 압전 소자를 꼰끈 형상 압전 소자 200 으로 하였다.
실시예 3 의 시료로서, 평직포의 경사 및 위사에 절연성 섬유를 사용하고, 실시예 1 에서 사용한 꼰끈 형상 압전 소자를 평직포의 위사로서 2 개 늘어놓아 배치하고, 그들의 꼰끈 형상 압전 소자의 도중에, 오므론 (주) 제조 XG 압접 커넥터 10 극 중 2 극을 금속제 단자로 하여, 포크상의 금속 부분을 각각 질러 넣고, 또한 금속 부분에 고정된 커넥터 하우징의 상부분과 그것에 쌍이 되는 하부분에 의해 꼰끈 형상 압전 소자를 사이에 끼우고, 고정하였다. 꼰끈 형상 압전 소자의 말단의 심부와 금속제 단자의 사이의 도통을 확인하였다. 이 2 개의 단자가 부착된 꼰끈 형상 압전 소자를 각각 꼰끈 형상 압전 소자 300 및 400 으로 하였다. 평직포의 경사에 의해 꼰끈 형상 압전 소자는 고정되어 있고, 금속제 단자와 평직포의 경사와의 거리는 0.1 ㎜ 였다.
비교예 1 의 시료로서, 실시예 1 에서 사용한 꼰끈 형상 압전 소자의 말단의 초부를 풀고, 심부를 1 ㎜ 노출시킨 후, 닛폰 압착 단자 제조 (주) 제조 SH 커넥터 컨택트를 금속제 단자로 하여, 초부의 제거되어 있지 않은 부분을 길이 0.4 ㎜ 의 훅 부분이 파지하고, 노출된 심부를 길이 0.8 ㎜ 의 훅 부분이 파지하도록, 폴을 접어 구부리고, 꼰끈 형상 압전 소자를 파지하였다. 꼰끈 형상 압전 소자의 다른 말단의 심부와 금속제 단자의 사이의 도통을 확인하였다. 이 단자가 부착된 꼰끈 형상 압전 소자를 꼰끈 형상 압전 소자 500 으로 하였다.
(성능 평가 및 평가 결과)
꼰끈 형상 압전 소자 100, 200, 300, 400 및 500 의 성능 평가 및 평가 결과는 이하와 같다.
(실시예 1)
꼰끈 형상 압전 소자 100 중의 도전성 섬유 (B) 를 신호선으로서 오실로스코프 (요코가와 전기 (주) 제조 디지털 오실로스코프 DL6000 시리즈 상품명 『DL6000』) 에 배선을 통해서 1000 배 증폭 회로를 경유하여 접속하였다. 꼰끈 형상 압전 소자 100 을 접지 (어스) 된 금속 철망으로 보호된 전자파 실드 박스 내에서 90 도 접어 구부렸다.
그 결과, 꼰끈 형상 압전 소자 100 으로부터의 출력으로서, 오실로스코프에 의해 약 100 ㎷ 의 전위차가 검출되고, 꼰끈 형상 압전 소자 100 의 변형에 의해 충분한 크기의 전기 신호를 검출할 수 있는 것이 확인되었다. 파지 부분의 단에 있어서, 초부의 조직이 풀려 심부로부터 떨어진 압전성 섬유는 0 % 였다.
(실시예 2)
꼰끈 형상 압전 소자 200 중의 도전성 섬유 (B) 를 신호선으로서 실시예 1 과 동일하게 평가하였다. 그 결과, 꼰끈 형상 압전 소자 200 으로부터의 출력으로서, 오실로스코프에 의해 약 100 ㎷ 의 전위차가 검출되고, 꼰끈 형상 압전 소자 200 의 변형에 의해 충분한 크기의 전기 신호를 검출할 수 있는 것이 확인되었다. 파지 부분 및 은 페이스트의 고착 부분의 단에 있어서, 초부의 조직이 풀려 심부로부터 떨어진 압전성 섬유는 0 % 였다.
(실시예 3)
꼰끈 형상 압전 소자 300 및 400 중의 도전성 섬유 (B) 를 신호선으로서 오실로스코프 (요코가와 전기 (주) 제조 디지털 오실로스코프 DL6000 시리즈 상품명 『DL6000』) 에 배선을 통해서 1000 배 증폭 회로를 경유하여 접속하였다. 꼰끈 형상 압전 소자 300 및 400 이 넣어져 짜인 포백을 접지 (어스) 된 금속 철망으로 보호된 전자파 실드 박스 내에서 90 도 접어 구부렸다.
그 결과, 꼰끈 형상 압전 소자 300 및 400 으로부터의 출력으로서, 오실로스코프에 의해 약 100 ㎷ 의 전위차가 검출되고, 꼰끈 형상 압전 소자 300 및 400 의 변형에 의해 충분한 크기의 전기 신호를 검출할 수 있는 것이 확인되었다. 포크상의 금속 부분의 단에 있어서, 초부의 조직이 풀려 심부로부터 떨어진 압전성 섬유는 2 개의 꼰끈 형상 압전 소자 모두 0 % 였다.
(비교예 1)
꼰끈 형상 압전 소자 500 중의 도전성 섬유 (B) 를 신호선으로서 실시예 1 과 동일하게 평가하였다. 그 결과, 꼰끈 형상 압전 소자 500 으로부터의 출력으로서, 오실로스코프에 의해 약 100 ㎷ 의 전위차가 검출되었지만, 피크 부근의 신호에 진폭 10 ㎷ 정도의 노이즈가 중첩되어 있고, 굽힘 동작에 의한 노이즈 발생이 확인되었다. 파지 부분의 단에 있어서, 초부의 조직이 풀려 심부로부터 떨어진 압전성 섬유는 75 % 였다.
(도전층을 포함하는 꼰끈 형상 압전 소자)
실시예 4 의 시료로서, 도 2 에 나타내는 바와 같이, 상기의 도전성 섬유 (B) 를 심사로 하고, 상기의 압전성 섬유 (A) 8 개를 심사의 둘레에 꼰끈 형상으로 휘감아, 8 타 꼰끈으로 하고, 또한 도전성 섬유 (6) 를 초부의 압전성 섬유 (A) 의 둘레에 8 타 꼰끈 형상으로 휘감아 도전층 (4) 으로 하고, 꼰끈 형상 압전 소자 (1) 를 형성하였다. 여기서, 도전성 섬유 (B) 의 섬유축 (CL) 에 대한 압전성 섬유 (A) 의 휘감기 각도 (α) 는 45° 로 하였다. 실시예 1 의 시료의 도전층 (4) 의 피복률은 100 % 였다. 이 꼰끈 형상 압전 소자를 절단하고, 그 말단 10 ㎜ 의 도전층 (4) 을 구성하는 도전성 섬유 (6) 를 풀어 압전성 섬유 (A) 와 도전성 섬유 (B) 로부터 분리한 후, 닛폰 압착 단자 제조 (주) 제조 SH 커넥터 컨택트를 신호용 금속제 단자로 하여, 길이 0.4 ㎜ 의 부분과 길이 0.8 ㎜ 의 훅 부분을 접어 구부리고, 꼰끈 형상 압전 소자의 말단에 남은 압전성 섬유 (A) 와 도전성 섬유 (B) 를 파지한 후, 신호용 금속제 단자에는 솔더 인두를 대어 가열하고, 파지 부분의 초부를 일부 융해시켰다. 꼰끈 형상 압전 소자의 말단의 심부와 신호용 금속제 단자의 사이의 도통을 확인하고, 파지 부분으로부터 앞의 여분의 꼰끈 형상 압전 소자를 컷하였다. 또, 다른 닛폰 압착 단자 제조 (주) 제조 SH 커넥터 컨택트를 실드용 금속제 단자로 하여, 길이 0.4 ㎜ 의 부분과 길이 0.8 ㎜ 의 훅 부분을 접어 구부리고, 압전성 섬유 (A) 와 도전성 섬유 (B) 로부터 분리된 도전성 섬유 (6) 를 파지하였다. 실드용 금속제 단자에 파지할 수 없어 압전성 섬유 (A) 로부터 분리된 도전성 섬유 (6) 는 절제하였다. 상기의 신호용 금속제 단자와 실드용 금속제 단자를, 닛폰 압착 단자 제조 (주) 제조 SH 커넥터 하우징 2P 에 삽입하여 고정하고, 커넥터 하우징 단면으로부터 10 ㎜ 의 꼰끈 형상 압전 소자 (1) 의 둘레에는 절연성의 에폭시계 접착제를 부착시키고, SH 커넥터와 꼰끈 형상 압전 소자 (1) 를 고정하였다. 이 단자가 부착된 꼰끈 형상 압전 소자를 꼰끈 형상 압전 소자 101 로 하였다.
실시예 5 의 시료로서, 도 2 에 나타내는 바와 같이, 상기의 도전성 섬유 (B) 를 심사로 하고, 상기의 압전성 섬유 (A) 8 개를 심사의 둘레에 꼰끈 형상으로 휘감아, 8 타 꼰끈으로 하고, 또한 4 개의 절연성 섬유 (9) 를 우측 감기, 1 개의 도전성 섬유 (6) 및 3 개의 절연성 섬유 (9) 를 좌측 감기로 초부의 압전성 섬유 (A) 의 둘레에 휘감아 8 타 꼰끈 형상의 도전층 (4) 으로 하고, 꼰끈 형상 압전 소자 (1) 를 형성하였다. 여기서, 도전성 섬유 (B) 의 섬유축 (CL) 에 대한 압전성 섬유 (A) 의 휘감기 각도 (α) 는 45° 로 하였다. 또, 실시예 5 의 시료의 도전층 (4) 의 피복률은 25 % 였다. 실시예 1 과 마찬가지로, 도전성 섬유 (B) 에 닛폰 압착 단자 제조 (주) 제조 SH 커넥터 컨택트를 신호용 금속제 단자로서 접속하고, 도전성 섬유 (6) 에 다른 닛폰 압착 단자 제조 (주) 제조 SH 커넥터 컨택트를 실드용 금속제 단자로서 접속하고, 신호용 금속제 단자와 실드용 금속제 단자를, 닛폰 압착 단자 제조 (주) 제조 SH 커넥터 하우징 2P 에 삽입하여 고정하고, 커넥터 하우징 단면으로부터 10 ㎜ 의 꼰끈 형상 압전 소자 (1) 의 둘레에는 절연성의 에폭시계 접착제를 부착시켜, SH 커넥터와 꼰끈 형상 압전 소자 (1) 를 고정하였다. 이 단자가 부착된 꼰끈 형상 압전 소자를 꼰끈 형상 압전 소자 102 로 하였다.
실시예 6 의 시료로서, 실시예 1 에서 사용한 단자가 미접속의 꼰끈 형상 압전 소자 (1) 를 절단하고, 그 말단 10 ㎜ 의 도전층 (4) 을 구성하는 도전성 섬유 (6) 를 풀어 압전성 섬유 (A) 와 도전성 섬유 (B) 로부터 분리한 후, 꼰끈 형상 압전 소자의 말단에 남은 압전성 섬유 (A) 와 도전성 섬유 (B) 에 도전 페이스트로서 「도타이트」 (등록상표) D-363 (후지쿠라 화성 (주) 제조) 을 부착시켜 고화시킨 후, 닛폰 압착 단자 제조 (주) 제조 SH 커넥터 컨택트를 신호용 금속제 단자로 하여, 길이 0.4 ㎜ 의 부분과 길이 0.8 ㎜ 의 훅 부분을 접어 구부리고, 도전 페이스트가 부착된 꼰끈 형상 압전 소자 말단을 파지하였다. 꼰끈 형상 압전 소자의 다른 말단의 심부와 신호용 금속제 단자의 사이의 도통을 확인하였다. 또, 다른 닛폰 압착 단자 제조 (주) 제조 SH 커넥터 컨택트를 실드용 금속제 단자로 하여, 길이 0.4 ㎜ 의 부분과 길이 0.8 ㎜ 의 훅 부분을 접어 구부리고, 압전성 섬유 (A) 와 도전성 섬유 (B) 로부터 분리된 도전성 섬유 (6) 를 파지하고, 실드용 금속제 단자에 파지할 수 없어 압전성 섬유 (A) 로부터 분리된 도전성 섬유 (6) 는 절제하였다. 상기의 신호용 금속제 단자와 실드용 금속제 단자를, 닛폰 압착 단자 제조 (주) 제조 SH 커넥터 하우징 2P 에 삽입하여 고정하고, 커넥터 하우징 단면으로부터 10 ㎜ 의 꼰끈 형상 압전 소자 (1) 의 둘레에는 에폭시계 접착제를 부착시켜, SH 커넥터와 꼰끈 형상 압전 소자 (1) 를 고정하였다. 이 단자가 부착된 꼰끈 형상 압전 소자를 꼰끈 형상 압전 소자 103 으로 하였다.
실시예 7 의 시료로서, 실시예 1 에서 사용한 단자가 미접속의 꼰끈 형상 압전 소자 (1) 를 절단하고, 그 말단 10 ㎜ 의 도전층 (4) 을 구성하는 도전성 섬유 (6) 를 풀어 압전성 섬유 (A) 와 도전성 섬유 (B) 로부터 분리한 후, 꼰끈 형상 압전 소자의 말단에 남은 압전성 섬유 (A) 와 도전성 섬유 (B) 에 도전 페이스트로서 「도타이트」 (등록상표) D-363 (후지쿠라 화성 (주) 제조) 를 부착시키고, SMA-P 형 동축 커넥터의 중심 컨택트에 2 ㎜ 삽입하여 고화시켜 신호용 금속제 단자로 하고, 꼰끈 형상 압전 소자의 다른 말단의 심부와 신호용 금속제 단자의 사이의 도통을 확인하였다. 또, SMA-P 형 동축 커넥터의 금속제 외장을 실드용 금속제 단자로 하여, 압전성 섬유 (A) 와 도전성 섬유 (B) 로부터 분리된 도전성 섬유 (6) 를 슬리브에 의해 파지하고 접속하여 고정하고, 실드용 금속제 단자에 파지할 수 없어 압전성 섬유 (A) 로부터 분리된 도전성 섬유 (6) 는 절제하였다. 상기와 같이 신호용 금속제 단자와 실드용 금속제 단자가 절연체를 통해서 일체된 단자가 부착된 꼰끈 형상 압전 소자를 꼰끈 형상 압전 소자 104 로 하였다. 본 실시예에서 사용한 SMA-P 커넥터는, 좌측면도에 있어서 실드용 금속제 단자 (외장) 가 신호용 금속제 단자 (중심 컨택트) 를 완전하게 덮은 구조를 하고 있다.
실시예 8 의 시료로서, 도 15 에 나타내는 바와 같이 경사에 절연성 섬유 (9) 및 꼰끈 형상 압전 소자 (1) (실시예 4 의 단자가 미접속의 시료와 동일) 를 2 개 배치하고, 위사에 절연성 섬유 (9) 및 도전성 섬유 (10) 를 번갈아 배치하여 평직물을 제조하고, 포백 형상 압전 소자 (7) 로 하였다. 포백 형상 압전 소자 (7) 중의 2 개의 꼰끈 형상 압전 소자 (1) 의 말단으로부터 10 ㎜ 의 도전층 (4) 을 구성하는 도전성 섬유 (6) 를 풀어 압전성 섬유 (A) 와 도전성 섬유 (B) 로부터 분리한 후, 압전성 섬유 (A) 가 노출된 부분에 오므론 (주) 제조 XG 압접 커넥터 10 극 중 2 극의 포크상의 금속 부분을 각각 질러 넣고 신호용 금속제 단자로 하고, 이것과 동시에 압전성 섬유 (A) 와 도전성 섬유 (B) 로부터 분리된 도전성 섬유 (6) 를 정리하고, 이 도전성 섬유 다발에 상기 압접 커넥터 10 극 중 1 극의 포크상의 금속 부분에 질러 넣고 실드용 금속제 단자로 하였다. 또한 금속 부분에 고정된 커넥터 하우징의 상부분과 그것에 쌍이 되는 하부분에 의해 꼰끈 형상 압전 소자를 사이에 끼우고, 고정하였다. 2 개의 꼰끈 형상 압전 소자 (1) 의 말단의 심부와 2 극의 신호용 금속제 단자의 사이의 도통, 및 꼰끈 형상 압전 소자 (1) 의 도전층 (4) 과 1 극의 실드용 금속제 단자의 사이의 도통을 각각 확인하고, 2 극의 신호용 금속제 단자와 1 극의 실드용 금속제 단자의 사이의 절연을 확인하였다. 이 2 개의 신호용 금속제 단자가 부착된 꼰끈 형상 압전 소자를 각각 꼰끈 형상 압전 소자 105-1 및 105-2 로 하였다. 평직포의 경사에 의해 꼰끈 형상 압전 소자는 고정되어 있고, 신호용 금속제 단자와 평직포의 경사와의 거리는 0.1 ㎜ 였다.
실시예 9 의 시료로서, 실시예 1 에서 사용한 단자가 미접속의 꼰끈 형상 압전 소자 (1) 를 절단하고, 그 말단 10 ㎜ 의 도전층 (4) 을 구성하는 도전성 섬유 (6) 를 풀어 압전성 섬유 (A) 와 도전성 섬유 (B) 로부터 분리하고, 또한 말단의 압전성 섬유 (A) 를 풀어, 심부를 1 ㎜ 노출시킨 후, 닛폰 압착 단자 제조 (주) 제조 SH 커넥터 컨택트를 신호용 금속제 단자로 하여, 초부의 제거되어 있지 않은 부분을 길이 0.4 ㎜ 의 훅 부분이 파지하고, 노출된 심부를 길이 0.8 ㎜ 의 훅 부분이 파지하도록, 폴을 접어 구부리고, 꼰끈 형상 압전 소자를 파지하였다. 꼰끈 형상 압전 소자의 다른 말단의 심부와 신호용 금속제 단자의 사이의 도통을 확인하였다. 또, 다른 닛폰 압착 단자 제조 (주) 제조 SH 커넥터 컨택트를 실드용 금속제 단자로 하여, 길이 0.4 ㎜ 의 부분과 길이 0.8 ㎜ 의 훅 부분을 접어 구부리고, 압전성 섬유 (A) 와 도전성 섬유 (B) 로부터 분리된 도전성 섬유 (6) 를 파지하고, 실드용 금속제 단자에 파지할 수 없어 압전성 섬유 (A) 로부터 분리된 도전성 섬유 (6) 는 절제하였다. 상기의 신호용 금속제 단자와 실드용 금속제 단자를, 닛폰 압착 단자 제조 (주) 제조 SH 커넥터 하우징 2P 에 삽입하여 고정하였다. 이 단자가 부착된 꼰끈 형상 압전 소자를 꼰끈 형상 압전 소자 106 으로 하였다.
비교예 2 의 시료로서, 실시예 4 에서 사용한 단자가 미접속의 꼰끈 형상 압전 소자 (1) 를 절단하고, 그 말단 10 ㎜ 의 도전층 (4) 을 구성하는 도전성 섬유 (6) 를 풀어 압전성 섬유 (A) 와 도전성 섬유 (B) 로부터 분리한 후, 꼰끈 형상 압전 소자의 말단에 남은 압전성 섬유 (A) 와 도전성 섬유 (B) 에 도전 페이스트로서 「도타이트」 (등록상표) D-363 (후지쿠라 화성 (주) 제조) 을 부착시켜 고화시킨 후, 닛폰 압착 단자 제조 (주) 제조 SH 커넥터 컨택트를 신호용 금속제 단자로 하여, 길이 0.4 ㎜ 의 부분과 길이 0.8 ㎜ 의 훅 부분을 접어 구부리고, 도전 페이스트가 부착된 꼰끈 형상 압전 소자 말단을 파지하였다. 꼰끈 형상 압전 소자의 다른 말단의 심부와 신호용 금속제 단자의 사이의 도통을 확인하였다. 또, 다른 닛폰 압착 단자 제조 (주) 제조 SH 커넥터 컨택트를 실드용 금속제 단자로 하여, 길이 0.4 ㎜ 의 부분과 길이 0.8 ㎜ 의 훅 부분을 접어 구부리고, 압전성 섬유 (A) 와 도전성 섬유 (B) 로부터 분리된 도전성 섬유 (6) 를 파지하고, 실드용 금속제 단자에 파지할 수 없어 압전성 섬유 (A) 로부터 분리된 도전성 섬유 (6) 는 절제하였다. 상기의 신호용 금속제 단자와 실드용 금속제 단자를, 2 개의 닛폰 압착 단자 제조 (주) 제조 SH 커넥터 하우징 2P 에 각각 삽입하여 고정하고, 커넥터 하우징 단면으로부터 10 ㎜ 의 꼰끈 형상 압전 소자 (1) 의 둘레에는 에폭시계 접착제를 부착시키고, 각각의 SH 커넥터와 꼰끈 형상 압전 소자 (1) 를 고정하였다. 이 단자가 부착된 꼰끈 형상 압전 소자를 꼰끈 형상 압전 소자 201 로 하였다.
비교예 3 의 시료로서, 실시예 4 와 마찬가지로, 상기의 도전성 섬유 (B) 를 심사로 하고, 상기의 압전성 섬유 (A) 8 개를 심사의 둘레에 꼰끈 형상으로 휘감아, 8 타 꼰끈으로 했지만, 도전층 (4) 은 형성하지 않고, 꼰끈 형상 압전 소자를 형성하였다. 여기서, 도전성 섬유 (B) 의 섬유축 (CL) 에 대한 압전성 섬유 (A) 의 휘감기 각도 (α) 는 45° 로 하였다. 꼰끈 형상 압전 소자의 말단의 압전성 섬유 (A) 와 도전성 섬유 (B) 에 도전 페이스트로서 「도타이트」 (등록상표) D-363 (후지쿠라 화성 (주) 제조) 을 부착시켜 고화시킨 후, 닛폰 압착 단자 제조 (주) 제조 SH 커넥터 컨택트를 신호용 금속제 단자로 하여, 길이 0.4 ㎜ 의 부분과 길이 0.8 ㎜ 의 훅 부분을 접어 구부리고, 도전 페이스트가 부착된 꼰끈 형상 압전 소자 말단을 파지하였다. 꼰끈 형상 압전 소자의 다른 말단의 심부와 신호용 금속제 단자의 사이의 도통을 확인하였다. 상기의 신호용 금속제 단자를, 닛폰 압착 단자 제조 (주) 제조 SH 커넥터 하우징 2P 에 삽입하여 고정하고, 커넥터 하우징 단면으로부터 10 ㎜ 의 꼰끈 형상 압전 소자 (1) 의 둘레에는 에폭시계 접착제를 부착시켜, SH 커넥터와 꼰끈 형상 압전 소자 (1) 를 고정하였다. 이 단자가 부착된 꼰끈 형상 압전 소자를 꼰끈 형상 압전 소자 202 로 하였다.
(성능 평가 및 평가 결과)
꼰끈 형상 압전 소자 101, 102, 103, 104, 105-1, 105-2, 106, 201, 202 의 성능 평가 및 평가 결과는 이하와 같다.
(실시예 4)
꼰끈 형상 압전 소자 101 중의 신호용 금속제 단자 및 실드용 금속제 단자가 고정된 닛폰 압착 단자 제조 (주) 제조 SH 커넥터 하우징을, 닛폰 압착 단자 제조 (주) 제조 SH 커넥터 베이스 2P 에 접속하고, 신호용 금속제 단자가 오실로스코프 (요코가와 전기 (주) 제조 디지털 오실로스코프 DL6000 시리즈 상품명 『DL6000』) 에 배선을 통해서 1000 배 증폭 회로를 경유하여 접속되고, 꼰끈 형상 압전 소자 (1) 의 실드용 금속제 단자가 접지 (어스) 되도록 접속하였다. 꼰끈 형상 압전 소자 101 과 측정 회로 및 어스에 대한 접속은 SH 커넥터에 의해 일괄하여 실시되었다. 또, 신호용 금속제 단자의 파지 부분의 단에 있어서, 초부의 조직이 풀려 심부로부터 떨어진 압전성 섬유는 0 % 였다.
꼰끈 형상 압전 소자 101 을 90 도 접어 구부린 결과, 꼰끈 형상 압전 소자 101 로부터의 출력으로서, 오실로스코프에 의해 약 100 ㎷ 의 전위차가 검출되고, 꼰끈 형상 압전 소자 (1) 의 변형에 의해 충분한 크기의 전기 신호를 검출할 수 있는 것이 확인되었다. 또, 정치 (靜置) 아래에서의 노이즈 신호는 20 ㎷ 이고, S/N 비는 5 가 되어, 충분히 노이즈 신호가 억제되고 있는 것을 알 수 있었다.
(실시예 5)
꼰끈 형상 압전 소자 102 중의 신호용 금속제 단자 및 실드용 금속제 단자가 고정된 닛폰 압착 단자 제조 (주) 제조 SH 커넥터 하우징을, 닛폰 압착 단자 제조 (주) 제조 SH 커넥터 베이스 2P 에 접속하고, 신호용 금속제 단자가 오실로스코프 (요코가와 전기 (주) 제조 디지털 오실로스코프 DL6000 시리즈 상품명 『DL6000』) 에 배선을 통해서 1000 배 증폭 회로를 경유하여 접속되고, 꼰끈 형상 압전 소자 (1) 의 실드용 금속제 단자가 접지 (어스) 되도록 접속하였다. 꼰끈 형상 압전 소자 102 와 측정 회로 및 어스에 대한 접속은 SH 커넥터에 의해 일괄하여 실시되었다. 또, 신호용 금속제 단자의 파지 부분의 단에 있어서, 초부의 조직이 풀려 심부로부터 떨어진 압전성 섬유는 0 % 였다.
꼰끈 형상 압전 소자 102 를 90 도 접어 구부린 결과, 꼰끈 형상 압전 소자 102 로부터의 출력으로서, 오실로스코프에 의해 약 100 ㎷ 의 전위차가 검출되고, 꼰끈 형상 압전 소자 (1) 의 변형에 의해 충분한 크기의 전기 신호를 검출할 수 있는 것이 확인되었다. 또, 정치 아래에서의 노이즈 신호는 20 ㎷ 이고, S/N 비는 5 가 되어, 충분히 노이즈 신호가 억제되고 있는 것을 알 수 있었다.
(실시예 6)
꼰끈 형상 압전 소자 103 중의 신호용 금속제 단자 및 실드용 금속제 단자가 고정된 닛폰 압착 단자 제조 (주) 제조 SH 커넥터 하우징을, 닛폰 압착 단자 제조 (주) 제조 SH 커넥터 베이스 2P 에 접속하고, 신호용 금속제 단자가 오실로스코프 (요코가와 전기 (주) 제조 디지털 오실로스코프 DL6000 시리즈 상품명 『DL6000』) 에 배선을 통해서 1000 배 증폭 회로를 경유하여 접속되고, 꼰끈 형상 압전 소자 (1) 의 실드용 금속제 단자가 접지 (어스) 되도록 접속하였다. 꼰끈 형상 압전 소자 103 과 측정 회로 및 어스에 대한 접속은 SH 커넥터에 의해 일괄하여 실시되었다. 또, 신호용 금속제 단자의 파지 부분의 단에 있어서, 초부의 조직이 풀려 심부로부터 떨어진 압전성 섬유는 0 % 였다.
꼰끈 형상 압전 소자 103 을 90 도 접어 구부린 결과, 꼰끈 형상 압전 소자 103 으로부터의 출력으로서, 오실로스코프에 의해 약 100 ㎷ 의 전위차가 검출되고, 꼰끈 형상 압전 소자 (1) 의 변형에 의해 충분한 크기의 전기 신호를 검출할 수 있는 것이 확인되었다. 또, 정치 아래에서의 노이즈 신호는 20 ㎷ 이고, S/N 비는 5 가 되어, 충분히 노이즈 신호가 억제되고 있는 것을 알 수 있었다.
(실시예 7)
꼰끈 형상 압전 소자 104 중의 신호용 금속제 단자 및 실드용 금속제 단자가 고정된 SMA-P 형 동축 커넥터를, SMA-J 형 동축 커넥터에 접속하고, 신호용 금속제 단자가 오실로스코프 (요코가와 전기 (주) 제조 디지털 오실로스코프 DL6000 시리즈 상품명 『DL6000』) 에 배선을 통해서 1000 배 증폭 회로를 경유하여 접속되고, 꼰끈 형상 압전 소자 (1) 의 실드용 금속제 단자가 접지 (어스) 되도록 접속하였다. 꼰끈 형상 압전 소자 104 와 측정 회로 및 어스에 대한 접속은 SMA 형 커넥터에 의해 일괄하여 실시되었다. 또, 신호용 금속제 단자의 파지 부분의 단에 있어서, 초부의 조직이 풀려 심부로부터 떨어진 압전성 섬유는 0 % 였다.
꼰끈 형상 압전 소자 104 를 90 도 접어 구부린 결과, 꼰끈 형상 압전 소자 104 로부터의 출력으로서, 오실로스코프에 의해 약 100 ㎷ 의 전위차가 검출되고, 꼰끈 형상 압전 소자 (1) 의 변형에 의해 충분한 크기의 전기 신호를 검출할 수 있는 것이 확인되었다. 또, 정치 아래에서의 노이즈 신호는 16 ㎷ 이고, S/N 비는 6 이 되어, 충분히 노이즈 신호가 억제되고 있는 것을 알 수 있었다.
(실시예 8)
꼰끈 형상 압전 소자 105-1, 꼰끈 형상 압전 소자 105-2 의 신호용 금속제 단자 및 실드용 금속제 단자가 고정된 오므론 (주) 제조 XG 압접 커넥터를, 2 열 × 5 행의 핀 헤더에 접속하고, 신호용 금속제 단자가 오실로스코프 (요코가와 전기 (주) 제조 디지털 오실로스코프 DL6000 시리즈 상품명 『DL6000』) 에 배선을 통해서 1000 배 증폭 회로를 경유하여 접속되고, 꼰끈 형상 압전 소자 (1) 의 실드용 금속제 단자가 접지 (어스) 되도록 접속하였다. 꼰끈 형상 압전 소자 105-1 및 꼰끈 형상 압전 소자 105-2 와 측정 회로 및 어스에 대한 접속은 XG 압접 커넥터에 의해 일괄하여 실시되었다. 또, 신호용 금속제 단자의 포크상의 금속 부분의 단에 있어서, 초부의 조직이 풀려 심부로부터 떨어진 압전성 섬유는 꼰끈 형상 압전 소자 105-1 및 꼰끈 형상 압전 소자 105-2 모두 0 % 였다.
포백 형상 압전 소자 (7) 를 접어 구부림으로써 꼰끈 형상 압전 소자 105-1및 꼰끈 형상 압전 소자 105-2 를 90 도 접어 구부린 결과, 꼰끈 형상 압전 소자 105-1 및 꼰끈 형상 압전 소자 105-2 로부터의 출력으로서 각각, 오실로스코프에 의해 약 100 ㎷ 의 전위차가 검출되고, 꼰끈 형상 압전 소자 (1) 의 변형에 의해 충분한 크기의 전기 신호를 검출할 수 있는 것이 확인되었다. 또, 정치 아래에서의 노이즈 신호는 20 ㎷ 이고, S/N 비는 5 가 되어, 충분히 노이즈 신호가 억제되고 있는 것을 알 수 있었다.
(실시예 9)
꼰끈 형상 압전 소자 106 중의 신호용 금속제 단자 및 실드용 금속제 단자가 고정된 닛폰 압착 단자 제조 (주) 제조 SH 커넥터 하우징을, 닛폰 압착 단자 제조 (주) 제조 SH 커넥터 베이스 2P 에 접속하고, 신호용 금속제 단자가 오실로스코프 (요코가와 전기 (주) 제조 디지털 오실로스코프 DL6000 시리즈 상품명 『DL6000』) 에 배선을 통해서 1000 배 증폭 회로를 경유하여 접속되고, 꼰끈 형상 압전 소자 (1) 의 실드용 금속제 단자가 접지 (어스) 되도록 접속하였다. 꼰끈 형상 압전 소자 106 과 측정 회로 및 어스에 대한 접속은 SH 커넥터에 의해 일괄하여 실시되었다. 또, 신호용 금속제 단자의 파지 부분의 단에 있어서, 초부의 조직이 풀려 심부로부터 떨어진 압전성 섬유는 75 % 였다.
꼰끈 형상 압전 소자 106 을 90 도 접어 구부린 결과, 꼰끈 형상 압전 소자 106 으로부터의 출력으로서, 오실로스코프에 의해 약 100 ㎷ 의 전위차가 검출되었지만, 피크 부근의 신호에 진폭 30 ㎷ 정도의 노이즈가 중첩되어 있고, 굽힘 동작에 의한 노이즈 발생이 확인되었다. 또, 정치 아래에서의 노이즈 신호는 20 ㎷ 이고, S/N 비는 5 가 되어, 충분히 노이즈 신호가 억제되고 있는 것을 알 수 있었다.
(비교예 2)
꼰끈 형상 압전 소자 201 중의 신호용 금속제 단자가 고정된 닛폰 압착 단자 제조 (주) 제조 SH 커넥터 하우징 및 실드용 금속제 단자가 고정된 닛폰 압착 단자 제조 (주) 제조 SH 커넥터 하우징을, 각각 닛폰 압착 단자 제조 (주) 제조 SH 커넥터 베이스 2P 에 접속하고, 신호용 금속제 단자가 오실로스코프 (요코가와 전기 (주) 제조 디지털 오실로스코프 DL6000 시리즈 상품명 『DL6000』) 에 배선을 통해서 1000 배 증폭 회로를 경유하여 접속되고, 꼰끈 형상 압전 소자 (1) 의 실드용 금속제 단자가 접지 (어스) 되도록 접속하였다. 꼰끈 형상 압전 소자 201 과 측정 회로 및 어스에 대한 접속은 2 세트의 SH 커넥터에 의해 따로 따로 실시되기 때문에 작업이 번잡해지고, 실드용 금속제 단자에 끌어당겨진 도전성 섬유 (6) 의 풀림이 발생하였다. 또, 신호용 금속제 단자의 파지 부분의 단에 있어서, 초부의 조직이 풀려 심부로부터 떨어진 압전성 섬유는 0 % 였다.
꼰끈 형상 압전 소자 201 을 90 도 접어 구부린 결과, 꼰끈 형상 압전 소자 201 로부터의 출력으로서, 오실로스코프에 의해 약 100 ㎷ 의 전위차가 검출되고, 꼰끈 형상 압전 소자 (1) 의 변형에 의해 충분한 크기의 전기 신호를 검출할 수 있는 것이 확인되었다. 또, 정치 아래에서의 노이즈 신호는 25 ㎷ 이고, S/N 비는 4 가 되어, 노이즈 신호를 충분히 억제할 수 없었다.
(비교예 3)
꼰끈 형상 압전 소자 202 중의 신호용 금속제 단자가 고정된 닛폰 압착 단자 제조 (주) 제조 SH 커넥터 하우징을, 닛폰 압착 단자 제조 (주) 제조 SH 커넥터 베이스 2P 에 접속하고, 신호용 금속제 단자를 오실로스코프 (요코가와 전기 (주) 제조 디지털 오실로스코프 DL6000 시리즈 상품명 『DL6000』) 에 배선을 통해서 1000 배 증폭 회로를 경유하여 접속한 결과, 정치 아래에서의 노이즈 신호는 1000 ㎷ 였다. 꼰끈 형상 압전 소자 202 를 90 도 접어 구부렸지만 노이즈 신호가 커, 접어 구부림에서 유래하는 전기 신호를 판별할 수 없었다. 또, 신호용 금속제 단자의 파지 부분의 단에 있어서, 초부의 조직이 풀려 심부로부터 떨어진 압전성 섬유는 0 % 였다.
A : 압전성 섬유
B : 도전성 섬유
CL : 섬유축
α : 휘감기 각도
1 : 꼰끈 형상 압전 소자
2 : 초부
3 : 심부
4 : 도전층
6 : 도전성 섬유
7 : 포백 형상 압전 소자
8 : 포백
9 : 절연성 섬유
10 : 도전성 섬유
11 : 디바이스
12 : 압전 소자
13 : 증폭 수단
14 : 출력 수단
15 : 송신 수단
20 : 금속제 단자
21, 31 : 파지 부분
22 : 커넥터 하우징
23, 33 : 개구부
25, 35 : 포크상 부분
26, 36 : 침상 부분
30 : 신호용 금속제 단자
32 : 절연체
34 : 실드용 금속제 단자
100 : 평직물

Claims (28)

  1. 도전성 섬유로 형성된 심부 (芯部) 와,
    상기 심부를 피복하도록 꼰끈 형상의 압전성 섬유로 형성된 초부
    를 구비한 꼰끈 형상 압전 소자로서, 그 꼰끈 형상 압전 소자의 심부에, 다음의 A, B 어느 하나의 양태로 접속 고정된 금속제 단자를 추가로 구비하고, 또한, 그 금속제 단자 또는 그 금속제 단자에 고정된 부품에 의해 고정된 그 꼰끈 형상 압전 소자의 부분의 단부 (端部) 에 있어서, 그 초부의 조직이 풀려 그 심부로부터 떨어진 압전성 섬유가, 그 초부의 압전성 섬유 전체의 20 % 미만인 부분을 갖는, 꼰끈 형상 압전 소자.
    A) 그 꼰끈 형상 압전 소자의 말단 부분을 구성하는 섬유의 길이 0.5 ㎜ 이상의 부분을, 그 금속제 단자의 일부가 파지 (把持) 하고, 그 파지 부분 또는 그 파지 부분으로부터 1 ㎜ 이내의 장소에 있어서, 그 꼰끈 형상 압전 소자의 심부와 그 금속제 단자가 직접 혹은 도전성 재료를 통해서 간접적으로 전기 접속되고 고정된 양태
    B) 그 금속제 단자의 일부가 포크상 혹은 침상 (針狀) 이고, 이 포크상 부분 또는 침상 부분이 그 꼰끈 형상 압전 소자의 그 초부에 접촉하면서 그 심부의 도전성 섬유와 직접 또는 도전성 재료를 통해서 간접적으로 접속되고, 이 접속 지점으로부터 10 ㎜ 이내의 장소에 있어서, 그 금속제 단자의 다른 부위 또는 그 금속제 단자에 고정된 부품에 의해 그 꼰끈 형상 압전 소자가 그 금속제 단자에 고정된 양태
  2. 제 1 항에 있어서,
    그 심부와 그 금속제 단자의 접속 부분으로부터 5 ㎜ 이내에 있는 그 초부의 압전성 섬유의 일부 또는 전부가 섬유 형상을 상실하고 융착한, 꼰끈 형상 압전 소자.
  3. 제 1 항 또는 제 2 항에 있어서,
    그 초부의 표면에 솔더 또는 도전 페이스트로 이루어지는, 그 심부와 전기적으로 접속된 도전성 재료를 구비하고 있고, 그 초부의 표면에 구비된 그 도전성 재료와 그 금속제 단자가 접촉함으로써 그 심부와 그 금속제 단자가 간접적으로 전기 접속되어 있는, 꼰끈 형상 압전 소자.
  4. 제 1 항 내지 제 3 항 중 어느 한 항에 기재된 꼰끈 형상 압전 소자를 포함하는 포백을 구비하는 포백 형상 압전 소자에 있어서, 그 금속제 단자가 그 꼰끈 형상 압전 소자에 고정된 부분으로부터 길이 10 ㎜ 이내의 범위에 있어서, 그 꼰끈 형상 압전 소자의 적어도 일부가 포백 형상 기재에 고정된, 포백 형상 압전 소자.
  5. 제 1 항 내지 제 4 항 중 어느 한 항에 있어서,
    제 1 항 내지 제 3 항 중 어느 한 항에 기재된 꼰끈 형상 압전 소자가, 2 개 이상, 대략 평행하게 배치되고, 각각의 꼰끈 형상 압전 소자에 접속된 2 개 이상의 금속제 단자가 1 개의 커넥터 하우징에 정리되고, 일괄하여 다른 커넥터와 접속 가능하게 되어 있는, 꼰끈 형상 또는 포백 형상 압전 소자.
  6. 직포 혹은 편지 (編地) 를 구성하는 실의 일부에, 제 5 항에 기재된 꼰끈 형상 압전 소자를 2 개 이상 대략 평행하게 배치한 포백 형상 압전 소자.
  7. 제 1 항 내지 제 6 항 중 어느 한 항에 있어서,
    압전성 섬유가 주성분으로서 폴리락트산을 포함하고,
    상기 도전성 섬유에 대한 상기 압전성 섬유의 휘감기 각도는 15° 이상, 75° 이하인, 꼰끈 형상 또는 포백 형상 압전 소자.
  8. 제 1 항 내지 제 7 항 중 어느 한 항에 있어서,
    상기 압전성 섬유의 총 섬도는, 상기 도전성 섬유의 총 섬도의 1 배 이상, 20 배 이하인, 꼰끈 형상 또는 포백 형상 압전 소자.
  9. 제 1 항 내지 제 8 항 중 어느 한 항에 있어서,
    상기 압전성 섬유의 1 개당 섬도는, 상기 도전성 섬유의 총 섬도의 1/20 배 이상, 2 배 이하인, 꼰끈 형상 또는 포백 형상 압전 소자.
  10. 제 4 항 내지 제 6 항 중 어느 한 항에 있어서,
    상기 꼰끈 형상 압전 소자의 적어도 일부와 교차하여 접촉하는 도전성 섬유를 추가로 포함하는, 포백 형상 압전 소자.
  11. 제 10 항에 있어서,
    상기 도전성 섬유가, 상기 꼰끈 형상 압전 소자와 교차하는 섬유 중 30 % 이상을 구성하는, 포백 형상 압전 소자.
  12. 제 1 항 내지 제 11 항 중 어느 한 항에 기재된 꼰끈 형상 또는 포백 형상 압전 소자와,
    인가된 압력에 따라 상기 꼰끈 형상 또는 포백 형상 압전 소자로부터 출력되는 전기 신호를 증폭하는 증폭 수단과,
    상기 증폭 수단으로 증폭된 전기 신호를 출력하는 출력 수단
    을 구비하는, 디바이스.
  13. 도전성 섬유로 형성된 심부와,
    그 심부를 피복하도록 꼰끈 형상의 압전성 섬유로 형성된 초부와,
    그 초부의 주위에 형성된 도전층
    을 구비한 압전 소자로서, 그 심부에 접속 고정된 신호용 금속제 단자와, 그 도전층에 접속 고정된 실드용 금속제 단자를 추가로 구비하고, 그 신호용 금속제 단자와 그 실드용 금속제 단자가 절연체를 통해서 서로 고정된, 압전 소자.
  14. 제 13 항에 있어서,
    상기 도전층에 의한 상기 초부의 피복률이 25 % 이상인, 압전 소자
  15. 제 13 항 또는 제 14 항에 있어서,
    상기 도전층이 섬유로 형성되어 있는, 압전 소자.
  16. 제 13 항 내지 제 15 항 중 어느 한 항에 있어서,
    상기 실드용 금속제 단자가, 상기 신호용 금속제 단자를 절연체를 통해서 덮어 유지하고 있는, 압전 소자.
  17. 제 1 항 내지 제 4 항 중 어느 한 항에 있어서,
    상기 신호용 금속제 단자는, 다음의 A, B 어느 하나의 양태로 접속 고정되고, 또한, 그 신호용 금속제 단자 또는 그 신호용 금속제 단자에 고정된 부품에 의해 고정된 그 압전 소자의 부분의 단부에 있어서, 그 초부의 조직이 풀려 그 심부로부터 떨어진 압전성 섬유가, 그 초부의 압전성 섬유 전체의 20 % 미만인 부분을 갖는, 압전 소자.
    A) 그 압전 소자의 말단 부분을 구성하는 섬유의 길이 0.5 ㎜ 이상의 부분을, 그 신호용 금속제 단자의 일부가 파지하고, 그 파지 부분 또는 그 파지 부분으로부터 1 ㎜ 이내의 장소에 있어서, 그 압전 소자의 심부와 그 신호용 금속제 단자가 직접 혹은 도전성 재료를 통해서 간접적으로 전기 접속되고 고정된 양태
    B) 그 신호용 금속제 단자의 일부가 포크상 혹은 침상이고, 이 포크상 부분 또는 침상 부분이 그 압전 소자의 그 초부에 접촉하면서 그 심부의 도전성 섬유와 직접 또는 도전성 재료를 통해서 간접적으로 접속되고, 이 접속 지점으로부터 10 ㎜ 이내의 장소에 있어서, 그 신호용 금속제 단자의 다른 부위 또는 그 신호용 금속제 단자에 고정된 부품에 의해 그 압전 소자가 그 신호용 금속제 단자에 고정된 양태
  18. 제 13 항 내지 제 17 항 중 어느 한 항에 있어서,
    그 심부와 그 신호용 금속제 단자의 접속 부분으로부터 5 ㎜ 이내에 있는 그 초부의 압전성 섬유의 일부 또는 전부가 섬유 형상을 상실하고 융착한, 압전 소자.
  19. 제 13 항 내지 제 18 항 중 어느 한 항에 있어서,
    그 초부의 표면에 솔더 또는 도전 페이스트로 이루어지는, 그 심부와 전기적으로 접속된 도전성 재료를 구비하고 있고, 그 초부의 표면에 구비된 그 도전성 재료와 그 신호용 금속제 단자가 접촉함으로써 그 심부와 그 신호용 금속제 단자가 간접적으로 전기 접속되어 있는, 압전 소자.
  20. 제 13 항 내지 제 19 항 중 어느 한 항에 기재된 압전 소자를 포함하는 포백을 구비하는 압전 소자에 있어서, 그 신호용 금속제 단자 혹은 실드용 금속제 단자가 그 압전 소자에 고정된 부분으로부터 길이 10 ㎜ 이내의 범위에 있어서, 그 압전 소자의 적어도 일부가 포백 형상 기재에 고정된, 압전 소자.
  21. 제 13 항 내지 제 20 항 중 어느 한 항에 있어서,
    제 13 항 내지 제 19 항 중 어느 한 항에 기재된 압전 소자가, 2 개 이상, 대략 평행하게 배치되고, 각각의 압전 소자에 접속된 2 개 이상의 신호용 금속제 단자가 1 개의 커넥터 하우징에 정리되고, 일괄하여 다른 커넥터와 접속 가능하게 되어 있는, 압전 소자.
  22. 제 21 항에 있어서,
    제 13 항 내지 제 19 항 중 어느 한 항에 기재된 압전 소자가, 직포 혹은 편지를 구성하는 실의 일부로서 2 개 이상 대략 평행하게 배치된, 압전 소자.
  23. 제 13 항 내지 제 22 항 중 어느 한 항에 있어서,
    압전성 섬유가 주성분으로서 폴리락트산을 포함하고,
    상기 도전성 섬유에 대한 상기 압전성 섬유의 휘감기 각도는 15° 이상, 75° 이하인, 압전 소자.
  24. 제 13 항 내지 제 23 항 중 어느 한 항에 있어서,
    상기 압전성 섬유의 총 섬도는, 상기 도전성 섬유의 총 섬도의 1 배 이상, 20 배 이하인, 압전 소자.
  25. 제 13 항 내지 제 24 항 중 어느 한 항에 있어서,
    상기 압전성 섬유의 1 개당 섬도는, 상기 도전성 섬유의 총 섬도의 1/20 배 이상, 2 배 이하인, 압전 소자.
  26. 제 20 항 내지 제 22 항 중 어느 한 항에 있어서,
    상기 압전 소자의 적어도 일부와 교차하여 접촉하는 도전성 섬유를 추가로 포함하는, 압전 소자.
  27. 제 26 항에 있어서,
    상기 도전성 섬유가, 상기 압전 소자와 교차하는 섬유 중 30 % 이상을 구성하는, 압전 소자.
  28. 제 13 항 내지 제 27 항 중 어느 한 항에 기재된 압전 소자와,
    인가된 압력에 따라 상기 압전 소자로부터 출력되는 전기 신호를 증폭하는 증폭 수단과,
    상기 증폭 수단으로 증폭된 전기 신호를 출력하는 출력 수단
    을 구비하는, 디바이스.
KR1020187017585A 2015-12-28 2016-12-28 꼰끈 형상 압전 소자, 꼰끈 형상 압전 소자를 사용한 포백 형상 압전 소자 및 그것들을 사용한 디바이스 Active KR102651217B1 (ko)

Applications Claiming Priority (5)

Application Number Priority Date Filing Date Title
JP2015257504A JP6635788B2 (ja) 2015-12-28 2015-12-28 組紐状圧電素子、組紐状圧電素子を用いた布帛状圧電素子およびそれらを用いたデバイス
JPJP-P-2015-257504 2015-12-28
JPJP-P-2016-075437 2016-04-04
JP2016075437A JP6689119B2 (ja) 2016-04-04 2016-04-04 組紐形態を利用した圧電素子およびそれらを用いたデバイス
PCT/JP2016/089149 WO2017115860A1 (ja) 2015-12-28 2016-12-28 組紐状圧電素子、組紐状圧電素子を用いた布帛状圧電素子およびそれらを用いたデバイス

Publications (2)

Publication Number Publication Date
KR20180098554A true KR20180098554A (ko) 2018-09-04
KR102651217B1 KR102651217B1 (ko) 2024-03-25

Family

ID=59225062

Family Applications (1)

Application Number Title Priority Date Filing Date
KR1020187017585A Active KR102651217B1 (ko) 2015-12-28 2016-12-28 꼰끈 형상 압전 소자, 꼰끈 형상 압전 소자를 사용한 포백 형상 압전 소자 및 그것들을 사용한 디바이스

Country Status (6)

Country Link
US (1) US11101425B2 (ko)
EP (1) EP3399562B1 (ko)
KR (1) KR102651217B1 (ko)
CN (1) CN108701752B (ko)
TW (1) TWI723109B (ko)
WO (1) WO2017115860A1 (ko)

Families Citing this family (10)

* Cited by examiner, † Cited by third party
Publication number Priority date Publication date Assignee Title
WO2017212523A1 (ja) * 2016-06-06 2017-12-14 株式会社村田製作所 菌対策用圧電糸、菌対策用布、布、衣料、医療部材、生体作用圧電糸、および物質吸着用圧電糸
EP3536838B1 (en) 2016-11-01 2025-01-01 Murata Manufacturing Co., Ltd. Antibacterial nonwoven member and antibacterial cushioning material
EP3534419B1 (en) * 2016-11-18 2021-10-20 Mitsui Chemicals, Inc. Piezoelectric base material, and sensor, biological information acquisition device, and piezoelectric fiber structure including the same
JP6842059B2 (ja) * 2017-01-11 2021-03-17 帝人フロンティア株式会社 圧電構造体及びそれを用いたデバイス
JP7102762B2 (ja) * 2018-02-09 2022-07-20 日立金属株式会社 圧電部材
US11042233B2 (en) * 2018-05-09 2021-06-22 Apple Inc. Finger-mounted device with fabric
JP6501958B1 (ja) * 2018-09-06 2019-04-17 東邦化成株式会社 圧電素子
CN110736669B (zh) * 2019-10-30 2022-02-22 浙江理工大学 一种基于压电纤维的碳纤维增强复合材料冲击检测方法
CN113358249B (zh) * 2021-06-11 2022-09-30 中国科学技术大学 一种织物型压阻传感器阵列及智能物
US12492495B2 (en) * 2023-06-30 2025-12-09 Systems Protection Group Us Llc Braided tubular textile sleeve with hybrid yarns and method of construction thereof

Citations (4)

* Cited by examiner, † Cited by third party
Publication number Priority date Publication date Assignee Title
JPS54208B2 (ko) 1974-08-31 1979-01-08
JP2011253517A (ja) 2010-05-06 2011-12-15 Murata Mfg Co Ltd タッチパネル、ならびにタッチ式入力装置およびその制御方法
WO2014058077A1 (ja) 2012-10-12 2014-04-17 帝人株式会社 圧電素子
WO2015159832A1 (ja) * 2014-04-16 2015-10-22 帝人株式会社 繊維を用いた電気信号を出力または入力とするトランスデューサー

Family Cites Families (17)

* Cited by examiner, † Cited by third party
Publication number Priority date Publication date Assignee Title
JP3199559B2 (ja) 1994-03-28 2001-08-20 松下電器産業株式会社 スピーカ用ダンパー及びその製造方法
US6271621B1 (en) * 1998-08-05 2001-08-07 Matsushita Electric Industrial Co., Ltd. Piezoelectric pressure sensor
JP3540208B2 (ja) 1998-08-31 2004-07-07 グンゼ株式会社 圧電材およびその製造法
JP4922482B2 (ja) 2000-12-28 2012-04-25 マイクロストーン株式会社 圧電性ファイバおよび圧電性織物デバイス
US6543299B2 (en) * 2001-06-26 2003-04-08 Geoffrey L. Taylor Pressure measurement sensor with piezoresistive thread lattice
US7047800B2 (en) * 2004-06-10 2006-05-23 Michelin Recherche Et Technique S.A. Piezoelectric ceramic fibers having metallic cores
JP2007141617A (ja) * 2005-11-17 2007-06-07 Aisin Seiki Co Ltd 圧電ケーブルの接続構造
JP2007165121A (ja) * 2005-12-14 2007-06-28 Matsushita Electric Ind Co Ltd 圧電センサケーブルの接続装置
JP5135757B2 (ja) * 2006-01-13 2013-02-06 日産自動車株式会社 導電性高分子からなる布帛を用いたセンサ、アクチュエータ
JP5051532B2 (ja) 2007-10-18 2012-10-17 日本電気株式会社 電子部品及びシールドケースとチップ部品の配置方法
CN100592543C (zh) * 2008-06-13 2010-02-24 南京航空航天大学 部分涂布电极的含有金属芯的压电陶瓷纤维
CN102097583B (zh) * 2010-11-29 2013-08-21 南京航空航天大学 含金属芯压电陶瓷纤维的封装方法
GB201200445D0 (en) * 2012-01-11 2012-02-22 Univ Bolton Piezoelectric fibre and method of production thereof
CN104233579A (zh) * 2013-06-20 2014-12-24 扬州思必得仪器设备有限公司 一种含芯压电纤维织物
KR101498417B1 (ko) * 2014-02-04 2015-03-04 김한구 압전센서 및 그 제작방법
WO2016175321A1 (ja) * 2015-04-30 2016-11-03 帝人株式会社 圧電素子およびそれを用いたデバイス
US10347815B1 (en) * 2015-12-22 2019-07-09 X Development Llc Piezoelectric strands for tactile sensing

Patent Citations (5)

* Cited by examiner, † Cited by third party
Publication number Priority date Publication date Assignee Title
JPS54208B2 (ko) 1974-08-31 1979-01-08
JP2011253517A (ja) 2010-05-06 2011-12-15 Murata Mfg Co Ltd タッチパネル、ならびにタッチ式入力装置およびその制御方法
WO2014058077A1 (ja) 2012-10-12 2014-04-17 帝人株式会社 圧電素子
KR20150082201A (ko) * 2012-10-12 2015-07-15 데이진 가부시키가이샤 압전 소자
WO2015159832A1 (ja) * 2014-04-16 2015-10-22 帝人株式会社 繊維を用いた電気信号を出力または入力とするトランスデューサー

Also Published As

Publication number Publication date
CN108701752A (zh) 2018-10-23
WO2017115860A1 (ja) 2017-07-06
US11101425B2 (en) 2021-08-24
EP3399562B1 (en) 2019-09-04
EP3399562A1 (en) 2018-11-07
CN108701752B (zh) 2022-05-10
TWI723109B (zh) 2021-04-01
KR102651217B1 (ko) 2024-03-25
TW201801358A (zh) 2018-01-01
EP3399562A4 (en) 2019-01-09
US20180358541A1 (en) 2018-12-13

Similar Documents

Publication Publication Date Title
KR20180098554A (ko) 꼰끈 형상 압전 소자, 꼰끈 형상 압전 소자를 사용한 포백 형상 압전 소자 및 그것들을 사용한 디바이스
CN107710432B (zh) 压电元件以及使用其的设备
KR102287122B1 (ko) 압전 소자에 사용하는 구조체, 끈목상 압전 소자, 끈목상 압전 소자를 사용한 포백상 압전 소자 및 그것들을 사용한 디바이스
JP6789065B2 (ja) 複数の組紐状圧電素子を有する布帛状圧電素子を用いたデバイス
JP2017201487A (ja) カバリング糸状圧電素子
JP2018073997A (ja) 組紐状圧電素子およびそれを用いたデバイス
JP6835310B2 (ja) 組紐状圧電素子を用いた布帛状圧電素子およびそれを用いたデバイス
JP6624968B2 (ja) 圧電センサ
JP6689119B2 (ja) 組紐形態を利用した圧電素子およびそれらを用いたデバイス
TW201830744A (zh) 用於壓電元件之構造體、編織狀壓電元件、使用編織狀壓電元件之布帛狀壓電元件及使用該些之裝置
JP6635788B2 (ja) 組紐状圧電素子、組紐状圧電素子を用いた布帛状圧電素子およびそれらを用いたデバイス
JP6639907B2 (ja) 組紐状圧電素子を固定化したデバイス
JP2017120859A (ja) 組紐状圧電素子、組紐状圧電素子を用いた布帛状圧電素子およびそれらを用いたデバイス
JP6835309B2 (ja) 圧電素子に用いる構造体およびそれを用いたデバイス
JP2017120237A (ja) 布帛状センサーおよびそれを用いたデバイス
JP6785618B2 (ja) 圧電素子に用いる構造体およびそれを用いたデバイス
JP2017120860A (ja) 組紐状圧電素子、組紐状圧電素子を用いた布帛状圧電素子およびそれらを用いたデバイス
JP2017120862A (ja) 平組紐状圧電素子およびそれらを用いたデバイス

Legal Events

Date Code Title Description
PA0105 International application

Patent event date: 20180620

Patent event code: PA01051R01D

Comment text: International Patent Application

PG1501 Laying open of application
PA0201 Request for examination

Patent event code: PA02012R01D

Patent event date: 20210928

Comment text: Request for Examination of Application

E902 Notification of reason for refusal
PE0902 Notice of grounds for rejection

Comment text: Notification of reason for refusal

Patent event date: 20230926

Patent event code: PE09021S01D

E701 Decision to grant or registration of patent right
PE0701 Decision of registration

Patent event code: PE07011S01D

Comment text: Decision to Grant Registration

Patent event date: 20240102

GRNT Written decision to grant
PR0701 Registration of establishment

Comment text: Registration of Establishment

Patent event date: 20240321

Patent event code: PR07011E01D

PR1002 Payment of registration fee

Payment date: 20240321

End annual number: 3

Start annual number: 1

PG1601 Publication of registration