KR20180098506A - 발광 소자, 발광 장치, 전자기기, 및 조명 장치 - Google Patents

발광 소자, 발광 장치, 전자기기, 및 조명 장치 Download PDF

Info

Publication number
KR20180098506A
KR20180098506A KR1020180100065A KR20180100065A KR20180098506A KR 20180098506 A KR20180098506 A KR 20180098506A KR 1020180100065 A KR1020180100065 A KR 1020180100065A KR 20180100065 A KR20180100065 A KR 20180100065A KR 20180098506 A KR20180098506 A KR 20180098506A
Authority
KR
South Korea
Prior art keywords
layer
light emitting
emitting element
earth metal
light
Prior art date
Legal status (The legal status is an assumption and is not a legal conclusion. Google has not performed a legal analysis and makes no representation as to the accuracy of the status listed.)
Granted
Application number
KR1020180100065A
Other languages
English (en)
Other versions
KR102050219B1 (ko
Inventor
히로미 노와타리
사토시 세오
Original Assignee
가부시키가이샤 한도오따이 에네루기 켄큐쇼
Priority date (The priority date is an assumption and is not a legal conclusion. Google has not performed a legal analysis and makes no representation as to the accuracy of the date listed.)
Filing date
Publication date
Application filed by 가부시키가이샤 한도오따이 에네루기 켄큐쇼 filed Critical 가부시키가이샤 한도오따이 에네루기 켄큐쇼
Publication of KR20180098506A publication Critical patent/KR20180098506A/ko
Application granted granted Critical
Publication of KR102050219B1 publication Critical patent/KR102050219B1/ko
Active legal-status Critical Current
Anticipated expiration legal-status Critical

Links

Images

Classifications

    • H01L51/0078
    • HELECTRICITY
    • H10SEMICONDUCTOR DEVICES; ELECTRIC SOLID-STATE DEVICES NOT OTHERWISE PROVIDED FOR
    • H10KORGANIC ELECTRIC SOLID-STATE DEVICES
    • H10K85/00Organic materials used in the body or electrodes of devices covered by this subclass
    • H10K85/30Coordination compounds
    • H10K85/311Phthalocyanine
    • H01L51/0072
    • H01L51/5036
    • H01L51/5048
    • HELECTRICITY
    • H10SEMICONDUCTOR DEVICES; ELECTRIC SOLID-STATE DEVICES NOT OTHERWISE PROVIDED FOR
    • H10KORGANIC ELECTRIC SOLID-STATE DEVICES
    • H10K50/00Organic light-emitting devices
    • H10K50/10OLEDs or polymer light-emitting diodes [PLED]
    • H10K50/11OLEDs or polymer light-emitting diodes [PLED] characterised by the electroluminescent [EL] layers
    • H10K50/125OLEDs or polymer light-emitting diodes [PLED] characterised by the electroluminescent [EL] layers specially adapted for multicolour light emission, e.g. for emitting white light
    • HELECTRICITY
    • H10SEMICONDUCTOR DEVICES; ELECTRIC SOLID-STATE DEVICES NOT OTHERWISE PROVIDED FOR
    • H10KORGANIC ELECTRIC SOLID-STATE DEVICES
    • H10K50/00Organic light-emitting devices
    • H10K50/10OLEDs or polymer light-emitting diodes [PLED]
    • H10K50/14Carrier transporting layers
    • HELECTRICITY
    • H10SEMICONDUCTOR DEVICES; ELECTRIC SOLID-STATE DEVICES NOT OTHERWISE PROVIDED FOR
    • H10KORGANIC ELECTRIC SOLID-STATE DEVICES
    • H10K71/00Manufacture or treatment specially adapted for the organic devices covered by this subclass
    • HELECTRICITY
    • H10SEMICONDUCTOR DEVICES; ELECTRIC SOLID-STATE DEVICES NOT OTHERWISE PROVIDED FOR
    • H10KORGANIC ELECTRIC SOLID-STATE DEVICES
    • H10K85/00Organic materials used in the body or electrodes of devices covered by this subclass
    • H10K85/60Organic compounds having low molecular weight
    • H10K85/649Aromatic compounds comprising a hetero atom
    • H10K85/657Polycyclic condensed heteroaromatic hydrocarbons
    • H10K85/6572Polycyclic condensed heteroaromatic hydrocarbons comprising only nitrogen in the heteroaromatic polycondensed ring system, e.g. phenanthroline or carbazole
    • H01L2251/30
    • HELECTRICITY
    • H10SEMICONDUCTOR DEVICES; ELECTRIC SOLID-STATE DEVICES NOT OTHERWISE PROVIDED FOR
    • H10KORGANIC ELECTRIC SOLID-STATE DEVICES
    • H10K2102/00Constructional details relating to the organic devices covered by this subclass
    • YGENERAL TAGGING OF NEW TECHNOLOGICAL DEVELOPMENTS; GENERAL TAGGING OF CROSS-SECTIONAL TECHNOLOGIES SPANNING OVER SEVERAL SECTIONS OF THE IPC; TECHNICAL SUBJECTS COVERED BY FORMER USPC CROSS-REFERENCE ART COLLECTIONS [XRACs] AND DIGESTS
    • Y02TECHNOLOGIES OR APPLICATIONS FOR MITIGATION OR ADAPTATION AGAINST CLIMATE CHANGE
    • Y02BCLIMATE CHANGE MITIGATION TECHNOLOGIES RELATED TO BUILDINGS, e.g. HOUSING, HOUSE APPLIANCES OR RELATED END-USER APPLICATIONS
    • Y02B20/00Energy efficient lighting technologies, e.g. halogen lamps or gas discharge lamps
    • Y02B20/30Semiconductor lamps, e.g. solid state lamps [SSL] light emitting diodes [LED] or organic LED [OLED]
    • Y02B20/36

Landscapes

  • Chemical & Material Sciences (AREA)
  • Engineering & Computer Science (AREA)
  • Materials Engineering (AREA)
  • Physics & Mathematics (AREA)
  • Inorganic Chemistry (AREA)
  • Optics & Photonics (AREA)
  • Spectroscopy & Molecular Physics (AREA)
  • Manufacturing & Machinery (AREA)
  • Electroluminescent Light Sources (AREA)

Abstract

본 발명은 고휘도의 발광을 나타내고, 또 저전압으로 구동할 수 있는 발광 소자를 제공하는 것을 과제로 한다.
양극과 음극 사이에 n(n은 2 이상의 자연수)층의 EL층을 갖고, 양극에서 m(m은 자연수, 1≤m≤n-1)번째의 EL층과 m+1번째의 EL층 사이에 제 1 층, 제 2 층, 및 제 3 층을 갖는다. 제 1 층은 전하 발생 영역으로서 기능하고, 정공 수송성을 갖고, 또 억셉터성 물질을 함유한다. 제 3 층은 전자 수송성을 갖고, 또 알칼리 금속 등을 함유한다. 제 1 층과 제 3 층 사이에 프탈로시아닌계 재료로 이루어진 제 2 층을 제공함으로써 제 1 층에서 발생한 전자를 제 3 층을 통과하여 m번째의 EL층에 주입할 때 전자 주입 장벽을 작게 할 수 있다.

Description

발광 소자, 발광 장치, 전자기기, 및 조명 장치{LIGHT-EMITTING ELEMENT, LIGHT-EMITTING DEVICE, ELECTRONIC DEVICE, AND LIGHTING DEVICE}
본 발명은 일렉트로루미네선스(Electroluminescence)층을 갖는 발광 소자(EL 소자라고도 부름), 상기 발광 소자를 갖는 발광 장치, 및 상기 발광 장치를 갖는 전자기기 및 조명 장치에 관한 것이다.
일렉트로루미네선스층(EL층이라고도 부름)을 갖는 발광 소자는 EL층을 한 쌍의 전극 사이에 끼운 구조를 갖는다. 한 쌍의 전극 사이에 전압을 인가함으로써 EL층으로부터 발광을 얻을 수 있다. EL층은 유기 화합물로 이루어지고, 적어도 발광 물질을 함유한 발광층을 포함하여 구성된다. 이러한 발광 소자는 단순한 구조이고, 박형 경량·고속 응답성·직류 저전압 구동 등의 특성을 갖기 때문에 차세대의 플랫 패널 디스플레이 소자로서 주목을 받고 있다. 또한, 이러한 발광 소자는 면광원(plane light source)이기 때문에 액정 디스플레이의 백 라이트나 조명 등의 광원으로서 응용되는 것도 검토되고 있다.
상기 발광 소자의 발광 기구를 설명한다. 한 쌍의 전극 사이에 전압을 인가함으로써 음극으로부터 주입된 전자 및 양극으로부터 주입된 정공이 EL층에서 재결합한다. 재결합한 결과, 에너지를 방출하여 발광한다.
이러한 발광 소자의 발광 휘도를 높이기 위하여 복수의 발광 유닛(본 명세서에서 EL층이라고도 표기함)을 적층하고, 단층의 경우와 같은 전류 밀도의 전류를 흘림으로써 발광 휘도를 높이는 발광 소자가 제안되어 있다(예를 들어, 특허 문헌 1).
특허 문헌 1에서는 복수의 발광 유닛이 각각 전하 발생층으로 구획된 발광 소자가 제안되어 있다. 더 구체적으로는, 제 1 발광 유닛의 알칼리 금속을 갖는 전자 주입층 위에 5산화바나듐을 갖는 전하 발생층을 갖고, 상기 전하 발생층 위에 제 2 발광 유닛이 적층된 구조의 발광 소자가 개시되어 있다. 상기 전하 발생층이 갖는 5산화바나듐은 금속 산화물 중 하나이다.
특개2003-272860호 공보
특허 문헌 1과 같이 복수의 발광 유닛을 적층한 발광 소자에서는 전하 발생층에서 발생한 전자는 제 1 발광 유닛에 주입되고, 제 1 발광 유닛의 발광에 사용된다. 그것과 동시에 전하 발생층에서 발생한 정공은 제 2 발광 유닛에 주입되고, 제 2 발광 유닛의 발광에 사용된다. 그러나, 특허 문헌 1과 같이 금속 산화물을 갖는 전하 발생층을 사용한 발광 소자에서는 전하 발생층으로부터 제 1 발광 유닛에 전자를 주입할 때 주입 장벽이 크므로 발광 소자의 구동에 높은 전압이 필요하다.
그래서, 고휘도 발광을 나타내고, 또 저전압으로 구동할 수 있는 발광 소자를 제공하는 것을 과제의 하나로 한다. 또한, 상기 발광 소자를 포함함으로써 소비 전력을 저감시킨 발광 장치를 제공하는 것을 과제의 하나로 한다. 또한, 상기 발광 장치를 갖는 전자기기 및 조명 장치를 제공하는 것을 과제의 하나로 한다.
본 발명의 일 형태는 양극과 음극 사이에 n(n은 2 이상의 자연수)층의 EL층을 갖고, 양극에서 m(m은 자연수, 1≤m≤n-1)번째 EL층과 m+1번째 EL층 사이에 제 1 층, 제 2 층, 및 제 3 층을 갖는 발광 소자에 관한 것이다. 제 1 층은 m+1번째 EL층과 제 2 층 사이에 제공되고, m+1번째 EL층 및 제 2 층과 접촉되고, 전하 발생 영역으로서 기능하고, 정공 수송성을 갖고, 또 억셉터성 물질을 함유한다. 제 2 층은 제 1 층과 제 3 층 사이에 제공되고, 제 1 층 및 제 3 층과 접촉되고, 또 프탈로시아닌계 재료로 이루어진다. 제 3 층은 제 2 층과 m번째의 EL층 사이에 제공되고, 제 2 층 및 m번째 EL층과 접촉되고, 전자 수송성을 갖고, 또 알칼리 금속, 알칼리 토류 금속, 희토류 금속, 알칼리 금속 화합물, 알칼리 토류 금속 화합물 또는 희토류 금속 화합물을 함유한다. 프탈로시아닌계 재료는 CuPc(Copper(Ⅱ) phthalocyanine), H2Pc(Phtalocyanine), SnPc(Phthalocyanine tin(Ⅱ) complex), ZnPc(Phthalocyanine zinc complex), CoPc(Cobalt(Ⅱ)phthalocyanine, β-form), 및 FePc(Phtalocyanine Iron) 중 어느 것이다. 상기 프탈로시아닌계 재료의 구조식을 이하에 나타낸다.
Figure pat00001
본 발명의 다른 일 형태는 양극과 음극 사이에 n(n은 2 이상의 자연수)층의 EL층을 갖고, 양극에서 m(m은 자연수, 1≤m≤n-1)번째 EL층과 m+1번째 EL층 사이에 제 1 층, 제 2 층, 및 제 3 층을 갖는 발광 소자에 관한 것이다. 제 1 층은 m+1번째 EL층과 제 2 층 사이에 제공되고, m+1번째 EL층 및 제 2 층과 접촉되고, 전하 발생 영역으로서 기능하고, 정공 수송성을 갖고, 또 억셉터성 물질을 함유한다. 제 2 층은 제 1 층과 제 3 층 사이에 제공되고, 제 1 층 및 제 3 층과 접촉되고, 또 페녹시기를 갖는 프탈로시아닌계 재료(프탈로시아닌 유도체라고도 함)로 이루어진다. 제 3 층은 제 2 층과 m번째의 EL층 사이에 제공되고, 제 2 층 및 m번째 EL층과 접촉되고, 전자 수송성을 갖고, 또 알칼리 금속, 알칼리 토류 금속, 희토류 금속, 알칼리 금속 화합물, 알칼리 토류 금속 화합물 또는 희토류 금속 화합물을 함유한다. 페녹시기를 갖는 프탈로시아닌계 재료는 PhO-VOPc(Vanadyl 2,9,16,23-tetraphenoxy-29H,31H-phthalocaynine)(SYNTHON 제작)이다. 페녹시기를 갖는 상기 프탈로시아닌계 재료의 구조식을 이하에 나타낸다.
Figure pat00002
전하 발생 영역으로서 기능하고, 정공 수송성을 갖고, 또 억셉터성 물질을 함유한 제 1 층과, 전자 수송성을 갖고, 또 알칼리 금속 등을 함유한 제 3 층 사이에 상기 프탈로시아닌계 재료로 이루어진 제 2 층을 제공함으로써 제 1 층에서 발생한 전자를 제 3 층을 통과하여 m번째 EL층에 주입할 때 전자 주입 장벽을 작게 할 수 있다. 이로써, 발광 소자를 저전압으로 구동할 수 있다. 또한, 양극과 음극 사이에 n층의 EL층을 가짐으로써 고휘도 발광을 나타내는 발광 소자를 제공할 수 있다.
제 2 층의 LUMO 준위는 -5.0eV 이상, 바람직하게는 -5.0eV 이상 -3.0eV 이하이다. 이로써, 제 1 층으로부터 제 2 층으로의 전자의 이동, 및 제 2 층으로부터 제 3 층을 통과하여 m번째의 EL층으로의 전자의 이동이 용이해진다. 따라서, 발광 소자를 저전압으로 구동할 수 있다.
상기에서 제 3 층은 전자 수송성을 갖고, 또 알칼리 금속, 알칼리 토류 금속, 희토류 금속, 알칼리 금속 화합물, 알칼리 토류 금속 화합물, 또는 희토류 금속 화합물을 함유한다. 이로써, 제 3 층 내에서 전자를 효율적으로 수송할 수 있고, 제 2 층으로부터 제 3 층을 통과하여 EL층(m번째 EL층)에 전자를 주입할 때 효율적으로 전자를 주입할 수 있다. 또한, 제 3 층이 상기 금속 또는 금속 화합물을 함유함으로써 제 1 층에서 발생한 전자를 제 2 층 및 제 3 층을 통과하여 EL층(m번째 EL층)에 주입할 때 전자 주입 장벽을 어느 정도 완화할 수 있다.
상기에서 제 3 층에는 전자 수송성 물질을 함유하고, 상기 전자 수송성 물질에 대하여 질량비로 0.001 이상 0.1 이하의 비율로 상기 알칼리 금속, 알칼리 토류 금속, 희토류 금속, 알칼리 금속 화합물, 알칼리 토류 금속 화합물, 또는 희토류 금속 화합물을 함유한 것을 사용할 수 있다. 이 조건으로 상기 효과가 현저히 나타나기 때문이다.
상기에서 제 3 층은 전자 수송성 물질을 함유한다. 제 3 층은 동일 막 중에 전자 수송성 물질과 상기 금속 또는 금속 화합물을 함유한 구조뿐만 아니라 전자 수송성 물질을 함유한 층과 상기 금속 또는 금속 화합물을 함유한 층이 적층된 구조를 채용할 수도 있다.
상기에서 제 1 층은 전하 발생 영역으로서 기능하고, 정공 수송성을 갖고, 또 억셉터성 물질을 함유한다. 이로써, 제 1 층에서 발생한 정공을 제 1 층 내에서 효율적으로 수송할 수 있고, 상기 정공을 EL층(m+1번째 EL층)에 효율적으로 주입할 수 있다. 또한, 제 1 층이 억셉터성 물질을 함유함으로써 전하 발생 영역으로서 효과적으로 기능시킬 수 있다. 또한, 제 1 층이 억셉터성 물질을 함유함으로써 제 1 층에서 발생한 전자를 제 2 층 및 제 3 층을 통과하여 EL층(m번째 EL층)에 주입할 때 전자 주입 장벽을 어느 정도 완화할 수 있다.
상기에서 제 1 층에 함유된 억셉터성 물질로서 천이 금속 산화물이나 원소 주기율표에서의 제 4 족 내지 제 8 족에 속하는 금속의 산화물을 사용할 수 있다. 상술한 재료는 강한 억셉터성을 갖는다. 따라서, 예를 들어, 전압을 인가하였을 때 제 1 층에서 전하를 용이하게 발생시킬 수 있다.
상기에서 제 1 층에 함유된 억셉터성 물질로서 산화몰리브덴을 사용하는 것이 바람직하다. 산화몰리브덴을 사용한 경우에 상기한 효과가 현저하게 나타나기 때문이다. 또한, 산화몰리브덴은 흡습성이 낮기 때문에 발광 소자에 사용하는 재료로서 적합하다.
상기에서 제 1 층은 정공 수송성 물질을 함유한다. 제 1 층은 동일 막 중에 정공 수송성 물질과 억셉터성 물질을 함유한 구조뿐만 아니라 정공 수송성 물질을 함유한 층과 억셉터성 물질을 함유한 층이 적층된 구조를 채용할 수도 있다.
상기에서 제 2 층에는 알칼리 금속, 알칼리 토류 금속, 희토류 금속, 알칼리 금속 화합물, 알칼리 토류 금속 화합물, 또는 희토류 금속 화합물을 함유한 것을 사용할 수 있다. 제 2 층에 상기 금속 또는 금속 화합물을 함유한 것을 사용함으로써 전자의 이동이 용이해진다. 이로써 발광 소자를 저전압으로 구동할 수 있다.
제 2 층에는 상기 프탈로시아닌계 재료에 대하여 질량비로 0.001 이상 0.1 이하의 비율로 상기 금속 또는 금속 화합물을 함유한 것을 사용할 수 있다. 이 조건으로 상기한 효과가 현저하게 나타나기 때문이다.
상기 발광 소자를 사용하여 발광 장치를 형성하여도 좋다. 또한, 상기 발광 장치를 사용하여 전자기기나 조명 장치를 형성하여도 좋다. 이러한 용도에서 효과가 현저하게 나타나기 때문이다.
본 명세서 중의 발광 장치란, 화상 표시 디바이스, 발광 디바이스, 또는 광원(조명 장치를 포함함)을 가리킨다. 또한, 발광 장치에 커넥터, 예를 들어, FPC(Flexible Printed Circuit) 또는 TAB(Tape Automated Bonding) 테이프 또는 TCP(Tape Carrier Package)가 장착된 모듈, TAB 테이프나 TCP의 끝에 프린트 배선 기판이 제공된 모듈, 또는 발광 소자에 COG(Chip On Glass) 방식에 의하여 IC(집적 회로)가 직접 실장된 모듈을 모두 발광 장치에 포함하는 것으로 한다.
또한, 본 명세서에 있어서, "제 1" 또는 "제 2" 등의 서수사는 편의상 사용하는 것이고, 공정 순서 또는 적층 순서를 나타내는 것이 아니다. 또한, 본 명세서에서 발명을 특정하기 위한 사항으로서 고유의 명칭을 나타내는 것이 아니다.
본 발명의 일 형태에 따르면 제 1 층과 제 3 층 사이에 상기 프탈로시아닌계 재료로 이루어진 제 2 층을 제공함으로써 제 1 층에서 발생한 전자를 제 3 층을 통과하여 EL층에 주입할 때 전자 주입 장벽을 작게 할 수 있다. 이로써, 발광 소자를 저전압으로 구동할 수 있다. 또한, 양극과 음극 상에 복수의 EL층을 가짐으로써 고휘도 발광을 나타내는 발광 소자를 제공할 수 있다.
도 1은 발광 소자의 소자 구조의 예를 도시하는 도면.
도 2a 및 도 2b는 발광 소자의 소자 구조 및 밴드도의 예를 도시하는 도면.
도 3a 및 도 3b는 발광 소자의 밴드도의 예를 도시하는 도면.
도 4a 및 도 4b는 발광 소자의 소자 구조 및 밴드도의 예를 도시하는 도면.
도 5는 발광 소자의 밴드도의 예를 도시하는 도면.
도 6a 및 도 6b는 발광 소자의 소자 구조 및 밴드도의 예를 도시하는 도면.
도 7a 및 도 7b는 발광 소자의 소자 구조 및 밴드도의 예를 도시하는 도면.
도 8a 및 도 8b는 발광 소자의 소자 구조의 예를 도시하는 도면.
도 9a 및 도 9b는 발광 소자의 소자 구조 및 발광 스펙트럼의 예를 도시하는 도면.
도 10a 내지 도 10e는 전자기기의 예를 도시하는 도면.
도 11은 조명 장치의 예를 도시하는 도면.
도 12는 발광 소자의 특성을 도시하는 도면.
도 13은 발광 소자의 특성을 도시하는 도면.
도 14는 발광 소자의 특성을 도시하는 도면.
도 15는 발광 소자의 특성을 도시하는 도면.
도 16은 발광 소자의 특성을 도시하는 도면.
도 17은 발광 소자의 특성을 도시하는 도면.
도 18은 발광 소자의 특성을 도시하는 도면.
도 19는 발광 소자의 특성을 도시하는 도면.
도 20은 발광 소자의 특성을 도시하는 도면.
도 21은 발광 소자의 특성을 도시하는 도면.
본 발명의 실시형태에 대하여 도면을 사용하여 이하에 자세히 설명한다. 다만, 본 발명은 이하의 설명에 한정되지 않고, 본 발명의 취지 및 그 범위로부터 벗어남이 없이 그 형태 및 상세한 내용을 다양하게 변경할 수 있다는 것은 당업자이면 용이하게 이해할 수 있다. 따라서, 본 발명은 이하에 기재하는 실시형태의 기재 내용에 한정하여 해석되는 것은 아니다.
(실시형태 1)
본 발명의 일 형태인 발광 소자의 소자 구조의 예를 도 1 내지 도 5를 사용하여 설명한다.
도 1에 도시한 발광 소자는 한 쌍의 전극(양극(101), 음극(102)) 사이에 복수의 EL층(201)이 적층된 구조를 갖는다. 예를 들어, n(n은 2 이상의 자연수)층의 적층 구조를 갖는 경우에는 EL층(201-m)(m은 자연수, 1≤m≤n-1)(m번째 EL층이라고도 기재함)과 EL층(201-m+1)(m+1번째 EL층이라고도 기재함)을 갖는다. 또한, 발광 소자는 EL층(201-1)과 EL층(201-2)(도시하지 않음) 사이에 중간층(202-1)을 갖고, EL층(201-m)과 EL층(201-m+1) 사이에는 중간층(202-m)(m번째 중간층이라고도 기재함)을 갖고, EL층(201-n-1)(도시하지 않음)과 EL층(201-n) 사이에는 중간층(202-n-1)(n-1번째 중간층이라고도 기재함)을 갖는다. 또한, 중간층은 전원 등에 접속되지 않아 부유 상태다. 복수의 EL층(201)은 각각 유기 화합물로 이루어지고, 적어도 발광 물질을 함유한 발광층을 포함하여 구성된다.
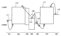
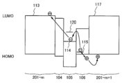
도 2a에는 도 1의 발광 소자의 일부분의 구조(EL층(201-m), 중간층(202-m), EL층(201-m+1))를 도시한다. 도 2a에 도시한 바와 같이, 중간층(202-m)은 음극(102) 측에서 순차로 제 1 층(106), 제 2 층(105), 및 제 3 층(104)을 갖는다.
제 1 층(106)은 EL층(201-m+1)과 제 2 층(105) 사이에 제공되고, EL층(201-m+1)과 제 2 층(105)과 접촉된다. 제 1 층(106)은 전하 발생 영역으로서 기능하고, 정공 수송성을 갖고, 또 억셉터성 물질을 함유한다. 또한, 제 1 층(106)은 정공 수송성 물질을 함유한다. 한 쌍의 전극(양극(101), 음극(102))에, 예를 들어, 전압을 인가하였을 때 정공 수송성 물질로부터 억셉터성 물질이 전자를 뽑아냄으로써 정공 및 전자가 발생하는 것으로 생각된다. 제 1 층(106)에서 발생한 전자는 EL층(201-m)에 주입되고, EL층(201-m)의 발광에 사용된다. 동시에, 제 1 층(106)에서 발생한 정공은 EL층(201-m+1)에 주입되고, EL층(201-m+1)의 발광에 사용된다. 제 1 층(106)은 막 두께가 10nm 이상 200nm 이하다. 제 1 층(106)은 막 두께를 두껍게 하여도 도전율의 변화가 작기 때문에 발광 소자의 구동 전압의 상승을 억제할 수 있다. 제 1 층(106)의 막 두께를 조정함으로써 구동 전압을 상승시키지 않고 발광의 광학 조정(optical adjustment)을 행할 수 있다.
제 2 층(105)은 제 1 층(106)과 제 3 층(104) 사이에 있고, 제 1 층(106) 및 제 3 층(104)과 접촉된다. 제 2 층(105)은 프탈로시아닌계 재료로 이루어지고, 제 1 층(106)에서 발생한 전자를 받고, 제 3 층(104)을 통과하여 EL층(201-m)에 전자를 주는 기능을 갖는다. 따라서, 제 2 층(105)은 전자 릴레이층으로서 기능한다. 또한, 제 2 층(105)의 LUMO 준위는 -5.0eV 이상, 바람직하게는 -5.0eV 이상 -3.0eV 이하이고, 제 2 층(105)은 제 1 층(106)에서 발생한 전자를 제 3 층(104)을 통과하여 EL층(201-m)에 주입할 때의 전자 주입 장벽을 작게 하는 기능을 갖는다. 따라서, 제 2 층(105)을 제공함으로써 발광 소자를 저전압으로 구동할 수 있다.
프탈로시아닌계 재료는 구체적으로는 이하의 구조식으로 나타내어지는 CuPc(Copper(Ⅱ) phthalocyanine), H2Pc(Phthalocyanine), SnPc(Phthalocyanine tin(Ⅱ) complex), ZnPc(Phthalocyanine zinc complex), CoPc(Cobalt(Ⅱ) phthalocyanine, β-form), 및 FePc(Phthalocyanine Iron) 중 어느 것이 바람직하다. 이하의 구조식으로 나타내어지는 프탈로시아닌계 재료는 중심 금속이 Cu, Co, Fe, Zn, Sn인 프탈로시아닌, 또는 중심 금속을 갖지 않는 프탈로시아닌이다.
Figure pat00003
또는, 프탈로시아닌계 재료는 구체적으로는 이하의 구조식으로 나타내어지는 PhO-VOPc(Vanadyl 2,9,16,23-tetraphenoxy-29H,31H-phthalocaynine)(SYNTHON 제작)가 바람직하다. 이하의 구조식으로 나타내어지는 프탈로시아닌계 재료는 페녹시기를 갖는 프탈로시아닌 유도체다. 페녹시기를 갖는 프탈로시아닌 유도체는 용매에 용해할 수 있다. 따라서, 발광 소자를 형성하는 데 취급하기 쉬운 이점을 갖는다. 또한, 용매에 용해할 수 있으므로 성막에 사용하는 장치의 메인터넌스가 용이한 이점을 갖는다.
Figure pat00004
제 3 층(104)은 제 2 층(105)과 EL층(201-m) 사이에 제공되고, 제 2 층(105)과 EL층(201-m)과 접촉된다. 제 3 층(104)은 전자 수송성을 갖고, 또 알칼리 금속, 알칼리 토류 금속, 희토류 금속, 알칼리 금속 화합물, 알칼리 토류 금속 화합물, 또는 희토류 금속 화합물을 포함하고, 제 2 층(105)에서 받은 전자를 EL층(201-m)에 주는 기능을 갖는다. 제 3 층(104)은 제 3 층(104) 내에서 전자를 효율적으로 수송할 수 있다. 따라서, 제 2 층(105)으로부터 제 3 층(104)을 통과하여 EL층(201-m)에 전자를 주입할 때 전자를 효율적으로 주입할 수 있다. 또한, 제 3 층(104)이 상기 금속 또는 금속 화합물을 포함함으로써, 제 1 층(106)에서 발생한 전자를 제 2 층(105) 및 제 3 층(104)을 통과하여 EL층(201-m)에 주입할 때 전자 주입 장벽을 어느 정도 완화할 수 있다. 따라서, 제 3 층(104)은 전자 주입 버퍼층으로서 기능한다.
제 2 층(105)을 제공하지 않는 경우에는 전하 발생 영역으로서 기능하고, 정공 수송성을 갖고, 또 억셉터성 물질을 함유한 제 1 층(106)과, 전자 수송성을 갖고, 또 알칼리 금속, 알칼리 토류 금속, 희토류 금속, 알칼리 금속 화합물, 알칼리 토류 금속 화합물 또는 희토류 금속 화합물을 함유한 제 3 층(104)이 직접 접촉된다. 제 1 층(106)은 p형 영역이고, 제 3 층(104)은 n형 영역이므로, 제 1 층(106)과 제 3 층(104)이 접촉되면 p-n 접합이 형성되어 공핍층이 형성된다. 따라서, 발광 소자의 구동 전압이 상승한다.
한편, 본 발명의 일 형태에서는 제 1 층(106)과 제 3 층(104) 사이에 제 2 층(105)을 제공함으로써 상기 공핍층의 형성을 억제할 수 있다. 따라서, 제 2 층(105)을 제공함으로써 발광 소자의 구동 전압의 상승을 억제할 수 있다.
또한, 제 2 층(105)을 제공하지 않는 경우에는, 전하 발생 영역으로서 기능하고, 정공 수송성을 갖고, 또 억셉터성 물질을 함유한 제 1 층(106)과, 전자 수송성을 갖고, 또 알칼리 금속, 알칼리 토류 금속, 희토류 금속, 알칼리 금속 화합물, 알칼리 토류 금속 화합물, 또는 희토류 금속 화합물을 함유한 제 3 층(104)이 직접 접촉된다. 제 1 층(106)에 함유된 억셉터성 물질은 강한 억셉터성을 갖고, 제 3 층(104)에 함유된 상기 금속 또는 금속 화합물은 강한 도너성을 갖는다. 따라서, 제 1 층(106)과 제 3 층(104)이 접촉되면, 강한 억셉터성 물질과 강한 도너성 물질이 근접할 확률이 높아진다. 강한 억셉터성 물질과 강한 도너성 물질이 근접하면 양쪽 물질이 상호 작용하여 상기 억셉터성 물질의 기능 및 상기 도너성 물질의 기능이 저해된다. 따라서, 발광 소자의 구동 전압이 상승한다.
한편, 본 발명의 일 형태에서는 제 1 층(106)과 제 3 층(104) 사이에 제 2 층(105)을 제공함으로써 상기 강한 억셉터성 물질과 강한 도너성 물질의 상호 작용을 억제할 수 있다. 따라서, 제 2 층(105)을 제공함으로써 발광 소자의 구동 전압의 상승을 억제할 수 있다.
밴드도를 사용하여 이하에 설명한다.
도 2b에 도 2a의 소자 구조에서의 밴드도를 도시한다. 도 2b에서 부호 113은 EL층(201-m)의 LUMO(최저 비점유 분자 궤도(LUMO: Lowest Unoccupied Molecular Orbital)) 준위를 나타내고, 부호 114는 제 2 층(105)의 LUMO 준위를 나타내고, 부호 115는 제 1 층(106)에서의 억셉터성 물질의 억셉터 준위를 나타내고, 부호 117은 EL층(201-m+1)의 LUMO 준위를 나타낸다.
EL 소자에 전압이 인가되면, 제 1 층(106)에서 억셉터성 물질이 정공 수송성 물질로부터 전자를 뽑아내 정공 및 전자가 발생하는 것으로 생각된다. 제 1 층(106)에서 발생한 전자는 EL층(201-m)에 주입되고, EL층(201-m)의 발광에 사용된다. 동시에, 제 1 층(106)에서 발생한 정공은 EL층(201-m+1)에 주입되고, EL층(201-m+1)의 발광에 사용된다.
제 1 층(106)은 정공 수송성을 갖기 때문에, 제 1 층(106)에서 발생한 정공은 층 내에서 효율적으로 수송된다. 따라서, 상기 정공을 EL층(201-m+1)에 효율적으로 주입할 수 있다. 또한, 제 1 층(106)이 억셉터성 물질을 함유함으로써 전하 발생 영역으로서 효율적으로 기능시킬 수 있다. 또한, 제 1 층(106)이 억셉터성 물질을 함유함으로써 제 1 층(106)에서 발생한 전자를 제 2 층(105) 및 제 3 층(104)을 통과하여 EL층(201-m)에 주입할 때 전자 주입 장벽을 어느 정도 완화할 수 있다.
제 2 층(105)은 상기 프탈로시아닌계 재료로 이루어지고, 제 1 층(106)에서 발생한 전자를 받고, 제 3 층(104)을 통과하여 EL층(201-m)에 전자를 주는 기능을 갖는다. 따라서, 제 2 층(105)은 전자 릴레이층으로서 기능한다.
제 2 층(105)의 LUMO 준위(114)는 제 1 층(106)에서의 억셉터성 물질의 억셉터 준위(115)와, EL층(201-m)의 LUMO 준위(113) 사이의 준위가 되도록 한다. 이로써, 제 1 층(106)에서 발생한 전자를 EL층(201-m)에 주입할 때 전자 주입 장벽을 작게 할 수 있다. 구체적으로는, -5.0eV 이상 -3.0eV 이하로 한다. 이로써, 발광 소자를 저전압으로 구동할 수 있다.
제 1 층(106)의 억셉터 준위(115)에서 제 2 층(105)의 LUMO 준위(114)에 이동한 전자는 제 3 층(104)에 주어진다. 제 3 층(104)은 전자 수송성을 갖기 때문에 제 3 층(104)에 이동한 전자는 층 내에서 효율적으로 수송되고, EL층(201-m)의 LUMO 준위(113)에 용이하게 주입된다. 또한, 제 3 층(104)은 상기 알칼리 금속, 알칼리 토류 금속, 희토류 금속, 알칼리 금속 화합물, 알칼리 토류 금속 화합물, 또는 희토류 금속 화합물을 함유함으로써 전자 주입 장벽을 어느 정도 완화하는 기능을 갖는다. 따라서, 전자의 이동이 더 용이해진다.
그 후, 전자는 EL층(201-m)에서 양극(101) 측으로부터 주입된 정공과 재결합하여 EL층(201-m)이 발광한다. 한편, 제 1 층(106)에서 발생한 정공은 EL층(201-m+1)에서 음극(102) 측으로부터 주입된 전자와 재결합하여 EL층(201-m+1)이 발광한다.
상술한 바와 같이, 제 2 층(105)은 프탈로시아닌계 재료로 이루어지지만, 알칼리 금속, 알칼리 토류 금속, 희토류 금속, 알칼리 금속 화합물, 알칼리 토류 금속 화합물 또는 희토류 금속 화합물을 함유하여도 좋다. 상기 금속 또는 금속 화합물은 프탈로시아닌계 재료에 대하여 도너성 물질로서 기능한다.
제 2 층(105)에 알칼리 금속 등이 함유된 경우의 밴드도의 예를 도 3에 도시한다. 도 3에 도시한 부호 120은 제 2 층(105)에서의 도너성 물질의 도너 준위를 나타낸다. 도너 준위(120)는 제 1 층(106)에서의 억셉터성 물질의 억셉터 준위(115)와, EL층(201-m)의 LUMO 준위(113) 사이의 준위가 되도록 한다. 구체적으로는 -5.0eV 이상 -3.0eV 이하로 한다.
도너 준위(120)는 제 2 층(105)의 LUMO 준위(114)에 영향을 준다. 이로써, 전자는 제 1 층(106)의 억셉터 준위(115)로부터 제 2 층(105)의 LUMO 준위(114)에 용이하게 이동할 수 있다.
제 1 층(106), 제 2 층(105), 및 제 3 층(104)에 대하여 이하에 설명한다.
제 1 층(106)은 전하 발생 영역으로서 기능하고, 정공 수송성을 갖고, 또 억셉터성 물질을 함유한다. 또한, 제 1 층(106)은 정공 수송성 물질을 함유한다.
정공 수송성 물질로서는, 방향족 아민 화합물, 카르바졸 유도체, 방향족 탄화수소, 고분자 화합물(올리고머, 덴드리머, 폴리머 등) 등 각종 유기 화합물을 사용할 수 있다. 구체적으로는, 10-6cm2/Vs 이상의 정공 이동도를 갖는 물질이 바람직하다. 다만, 전자 수송성보다 정공 수송성이 높은 물질이면 이들 외의 물질을 사용하여도 좋다.
상기 방향족 아민 화합물의 구체적인 예로서는, 4,4'-비스[N-(1-나프틸)-N-페닐아미노]비페닐(약칭: NPB), N,N '-비스(3-메틸페닐)-N,N '-디페닐-[1,1'-비페닐]-4,4'-디아민(약칭: TPD), 4,4',4''-트리스(카르바졸-9-일)트리페닐아민(약칭: TCTA), 4,4',4''-트리스(N,N-디페닐아미노)트리페닐아민(약칭: TDATA), 4,4',4''-트리스[N-(3-메틸페닐)-N-페닐아미노]트리페닐아민(약칭: MTDATA), N,N '-비스(4-메틸페닐)-N,N'-디페닐-p-페닐렌디아민(약칭: DTDPPA), 4,4'-비스[N-(4-디페닐아미노페닐)-N-페닐아미노]비페닐(약칭: DPAB), 1,3,5-트리스[N-(4-디페닐아미노페닐)-N-페닐아미노]벤젠(약칭: DPA3B), 4-페닐-4'-(9-페닐플루오렌-9-일)트리페닐아민(약칭: BPAFLP) 등을 들 수 있다.
상기 카르바졸 유도체의 구체적인 예로서는, 3-[N-(9-페닐카르바졸-3-일)-N-페닐아미노]-9-페닐카르바졸(약칭: PCzPCA1), 3,6-비스[N-(9-페닐카르바졸-3-일)-N-페닐아미노]-9-페닐카르바졸(약칭: PCzPCA2), 3-[N-(1-나프틸)-N-(9-페닐카르바졸-3-일)아미노]-9-페닐카르바졸(약칭: PCzPCN1) 등을 들 수 있다. 그 외, 4,4'-디(N-카르바졸릴)비페닐(약칭: CBP), 1,3,5-트리스[4-(N-카르바졸릴)페닐]벤젠(약칭: TCPB), 9-[4-(10-페닐-9-안트라세닐)페닐]-9H-카르바졸(약칭: CzPA), 9-페닐-3-[4-(10-페닐-9-안트릴)페닐]-9H-카르바졸(약칭: PCzPA), 1,4-비스[4-(N-카르바졸릴)페닐]-2,3,5,6-테트라페닐벤젠 등을 들 수 있다.
상기 방향족 탄화수소의 구체적인 예로서는, 2-tert-부틸-9,10-디(2-나프틸)안트라센(약칭: t-BuDNA), 2-tert-부틸-9,10-디(1-나프틸)안트라센, 9,10-비스(3,5-디페닐페닐)안트라센(약칭: DPPA), 2-tert-부틸-9,10-비스(4-페닐페닐)안트라센(약칭: t-BuDBA), 9,10-디(2-나프틸)안트라센(약칭: DNA), 9,10-디페닐안트라센(약칭: DPAnth), 2-tert-부틸안트라센(약칭: t-BuAnth), 9,10-비스(4-메틸-1-나프틸)안트라센(약칭: DMNA), 9,10-비스[2-(1-나프틸)페닐]-2-tert-부틸안트라센, 9,10-비스[2-(1-나프틸)페닐]안트라센, 2,3,6,7-테트라메틸-9,10-디(1-나프틸)안트라센, 2,3,6,7-테트라메틸-9,10-디(2-나프틸)안트라센, 9,9'-비안트릴, 10,10'-디페닐-9,9'-비안트릴, 10,10'-비스(2-페닐페닐)-9,9'-비안트릴, 10,10'-비스[(2,3,4,5,6-펜타페닐)페닐]-9,9'-비안트릴, 안트라센, 테트라센, 루브렌, 페릴렌, 2,5,8,11-테트라(tert-부틸)페릴렌 등을 들 수 있다. 또한, 상기 방향족 탄화수소는 비닐 골격을 가져도 좋다. 비닐기를 갖는 방향족 탄화수소로서는, 예를 들어, 4,4'-비스(2,2-디페닐비닐)비페닐(약칭: DPVBi), 9,10-비스[4-(2,2-디페닐비닐)페닐]안트라센(약칭: DPVPA) 등을 들 수 있다.
상기 고분자 화합물의 구체적인 예로서는, 폴리(N-비닐카르바졸)(약칭: PVK)이나 폴리(4-비닐트리페닐아민)(약칭: PVTPA) 등을 들 수 있다.
여기서, 특히, 정공 수송성 물질은 아민 골격을 갖지 않는 것이 바람직하다. 아민 골격을 갖지 않는 정공 수송성 물질과 억셉터성 물질을 사용하여 제 1 층(106)을 구성한 경우에는 전하 이동 상호 작용에 기인한 흡수가 발생하지 않음에도 불구하고 전하 발생 영역으로서 기능하는 것을 본 발명자들이 발견하였다. 이로써, 가시광 영역에 흡수 피크를 갖지 않는 전하 발생 영역으로서 기능하는 층을 형성하는 것이 용이해지기 때문에 광 흡수에 의한 발광 효율의 저하를 방지할 수 있다.
또한, 배경 기술에 기재한 특허 문헌 1과 같이, 종래는 전하 발생 영역으로서 기능하는 층에서는 산화 환원 반응에 의하여 전하 이동 착체가 형성되는 것이 중요한 것으로 생각해 왔다. 또한, 특허 문헌 1에는 정공 수송성 물질로서 사용하는 유기 화합물의 이온화 포텐셜이 5.7eV 이상이 되면, 억셉터성 물질과 유기 화합물 사이에서 그 산화 환원 반응이 발생하기 어렵다고 기재되어 있다. 따라서, 산화 환원 반응을 적극적으로 일으키기 위하여 정공 수송성 물질로서 사용하는 유기 화합물로서는 이온화 포텐셜이 5.7eV 이하의 물질, 구체적으로는 아릴아민 등 전자 공여성이 높은 물질이 필요한 것으로 생각해 왔다. 하지만, 이러한 아민 골격을 갖는 화합물과 억셉터성 물질 사이에서 산화 환원 반응이 일어나면 가시광 영역 및 적외광 영역에 전하 이동 상호 작용에 기인한 흡수가 발생해 버린다. 실제로, 특허 문헌 1에 개시된 흡수 스펙트럼을 보면 아릴아민 골격을 갖는 화합물과 산화바나듐을 혼합함으로써 500nm 부근 및 1300nm 부근에 새로운 흡수가 발행한다. 또한, 아릴아민 골격을 갖는 화합물과 F4-TCNQ를 혼합함으로써 700nm, 900nm, 및 1200nm 부근에 새로운 흡수가 발생한다. 이 경우에는, 특히 가시광 영역의 흡수 피크는 발광 효율을 저하시키는 요인이 되어 버리지만, 종래는 전하 이동 착체의 형성이 전하 발생층에 필요 불가결이고, 흡수가 발생하는 것은 어쩔 수 없는 것으로 생각되어 왔다.
한편, 본 발명의 일 형태에서는 아민 골격을 갖지 않는 정공 수송성 물질과 억셉터성 물질을 사용하여 제 1 층(106)을 형성하지만, 전하 이동 상호 작용에 기인한 흡수를 나타나지 않음에도 불구하고 전하 발생 영역으로서 기능한다. 이와 같은 전하 발생 영역으로서는 기능하는 층에서는 전계 인가에 의하여 전하가 발생하여 정공 및 전자가 EL층에 주입될 가능성이 있다. 이 점이 종래의 전하 발생 영역으로서 기능하는 층과 상이한 점이다. 실제로, 아민 골격을 갖지 않는 정공 수송성 물질인 카르바졸 유도체의 하나인 9-[4-(10-페닐-9-안트라세닐)페닐]-9H-카르바졸(약칭: CzPA)은 이온화 포텐셜이 5.7eV(Riken Keiki Co., Ltd.의 제품, AC-2)이며, 이온화 포텐셜의 수치로서는 매우 크다. 그런 이유 때문인지 억셉터성 물질인 산화몰리브덴과 혼합하여도 전하 이동 상호 작용에 기인한 흡수가 발생하지 않는다. 그러나, 전하 발생 영역으로서 기능하기 때문에 본 발명의 일 형태에 사용할 수 있다.
또한, 아민 골격을 갖지 않는 정공 수송성 물질로서 바람직하게는 상술한 CBP, TCPB, CzPA, PCzPA, 1,4-비스[4-(N-카르바졸릴)페닐]-2,3,5,6-테트라페닐벤젠 등의 카르바졸 유도체나, t-BuDNA, DPPA, t-BuDBA, DNA, DPAnth, t-BuAnth, DMNA, 2-tert-부틸-9,10-디(1-나프틸)안트라센, 9,10-비스[2-(1-나프틸)페닐]-2-tert-부틸안트라센, 9,10-비스[2-(1-나프틸)페닐]안트라센, 2,3,6,7-테트라메틸-9,10-디(1-나프틸)안트라센, 2,3,6,7-테트라메틸-9,10-디(2-나프틸)안트라센, 9,9'-비안트릴, 10,10'-디페닐-9,9'-비안트릴, 10,10'-비스(2-페닐페닐)-9,9'-비안트릴, 10,10'-비스[(2,3,4,5,6-펜타페닐)페닐]-9,9'-비안트릴, 안트라센, DPVBi, DPVPA 등의 방향족 탄화수소를 들 수 있다. 또한, PVK 등 카르바졸 유도체의 폴리머를 사용하여도 좋다.
제 1 층(106)이 갖는 억셉터성 물질로서 천이 금속 산화물이나 원소 주기율표에서의 제 4족 내지 제 8족에 속하는 금속 산화물을 사용할 수 있다. 구체적으로는, 산화바나듐, 산화니오븀, 산화탄탈, 산화크롬, 산화몰리브덴, 산화텅스텐, 산화망간, 산화레늄은 전자 수용성이 높기 때문에 바람직하다. 특히, 산화몰리브덴이 바람직하다. 산화몰리브덴은 흡습성이 낮은 특징을 갖기 때문이다. 수분은 EL 소자에 안 좋은 영향을 준다. 따라서, EL 소자에 사용하는 재료는 흡습성이 낮은 재료가 바람직하다.
제 1 층(106)은 정공 수송성 물질에 대하여 질량비로 0.1 이상 4.0 이하의 비율로 억셉터성 물질을 함유한 것을 사용할 수 있다.
제 1 층(106)은 동일 막 중에 정공 수송성 물질과 억셉터성 물질을 함유한 구조뿐만 아니라, 정공 수송성 물질을 함유한 층과 억셉터성 물질을 함유한 층이 적층된 구조로 할 수도 있다. 다만, 적층 구조의 경우에는, 정공 수송성 물질을 함유한 층이 EL층(201-m+1)과 접촉된다.
제 1 층(106)은 막 두께가 10nm 이상 200nm 이하가 되도록 형성할 수 있다. 제 1 층(106)은 막 두께를 두껍게 하여도 도전율의 변화가 작기 때문에 발광 소자의 구동 전압의 상승을 억제할 수 있다. 제 1 층(106)의 막 두께를 조정함으로써 구동 전압을 상승시키지 않고 발광의 광학 조정을 행할 수 있다.
제 2 층(105)은 제 1 층(106)에서 억셉터성 물질이 뽑아낸 전자를 신속히 받고, 제 3 층(104)을 통과하여 EL층(201-m)에 전자를 주는 기능을 갖는다. 제 2 층(105)은 프탈로시아닌계 재료로 이루어지고, 그 LUMO 준위(114)는 제 1 층(106)에서의 억셉터성 물질의 억셉터 준위(115)와, EL층(201-m)의 LUMO 준위(113) 사이의 준위가 된다. 구체적으로는, -5.0eV 이상 3.0eV 이하의 LUMO 준위로 하는 것이 바람직하다. 제 2 층(105)을 가짐으로써 제 1 층(106)에서 발생한 전자를 제 3 층(104)을 통과하여 EL층(201-m)에 주입할 때 전자 주입 장벽을 작게 할 수 있다. 또한, 프탈로시아닌계 재료는 구체적으로는 CuPc, H2Pc, SnPc, ZnPc, CoPc, 및 FePc 중 어느 것을 사용할 수 있다. 또는, 프탈로시아닌계 재료는 구체적으로는 PhO-VOPc를 사용할 수 있다. 제 2 층(105)을 제공함으로써 발광 소자를 저전압으로 구동할 수 있다.
제 2 층(105)에서는 프탈로시아닌계 재료에 대하여 질량비로 0.001 이상 0.1 이하의 비율로 도너성 물질이 첨가되어도 좋다. 도너성 물질로서는 알칼리 금속, 알칼리 토류 금속, 희토류 금속, 및 이들 화합물(알칼리 금속 화합물(산화리튬 등의 산화물, 할로겐화물, 탄산리튬이나 탄산세슘 등의 탄산염을 포함함), 알칼리 토류 금속 화합물(산화물, 할로겐화물, 탄산염을 포함함), 또는 희토류 금속 화합물(산화물, 할로겐화물, 탄산염을 포함함) 외, 테트라티아나프타센(약칭: TTN), 니켈로센, 데카메틸니켈로센 등의 유기 화합물을 들 수 있다.
제 3 층(104)은 제 2 층(105)에서 받은 전자를 EL층(201-m)에 주는 기능을 갖는다. 제 3 층(104)은 전자 수송성을 갖고, 또 알칼리 금속, 알칼리 토류 금속, 희토류 금속, 및 이들의 화합물(알칼리 금속 화합물(산화리튬 등의 산화물, 할로겐화물, 탄산리튬이나 탄산세슘 등의 탄산염을 포함함), 알칼리 토류 금속 화합물(산화물, 할로겐화물, 탄산염을 포함함), 또는 희토류 금속 화합물(산화물, 할로겐화물, 탄산염을 포함함) 등을 포함한다. 또한, 제 3 층(104)은 전자 수송성 물질을 함유한다.
전자 수송성 물질로서는, 트리스(8-퀴놀리놀라토)알루미늄(약칭: Alq), 트리스(4-메틸-8-퀴놀리놀라토)알루미늄(약칭: Almq3), 비스(10-하이드록시벤조[h]-퀴놀리놀라토)베릴륨(약칭: BeBq2), 비스(2-메틸-8-퀴놀리놀라토)(4-페닐페놀라토)알루미늄(III)(약칭: BAlq) 등 퀴놀린 골격 또는 벤조퀴놀린 골격을 갖는 금속 착체 등을 사용할 수 있다. 또한, 그 외, 비스[2-(2-하이드록시페닐)벤즈옥사졸라토]아연(약칭: Zn(BOX)2), 비스[2-(2-하이드록시페닐)벤조티아졸라토]아연(약칭: Zn(BTZ)2) 등의 옥사졸계, 티아졸계 리간드를 갖는 금속 착체 등도 사용할 수 있다. 또한, 금속 착체 외에도, 2-(4-비페닐릴)-5-(4-tert-부틸페닐)-1,3,4-옥사디아졸(약칭: PBD), 1,3-비스[5-(p-tert-부틸페닐)-1,3,4-옥사디아졸-2-일]벤젠(약칭: OXD-7), 9-[4-(5-페닐-1,3,4-옥사디아졸-2-일)페닐]카르바졸(약칭: CO11), 3-(4-비페닐릴)-4-페닐-5-(4-tert-부틸페닐)-1,2,4-트리아졸(약칭: TAZ), 바소페난트롤린(약칭: BPhen), 바소큐프로인(약칭: BCP) 등도 사용할 수 있다. 여기에 기술한 물질은 주로 10-6cm2/Vs 이상의 전자 이동도를 갖는 물질이다. 또한, 정공 수송성보다 전자 수송성이 높은 물질이면, 이들 외의 물질을 사용하여도 좋다. 또한, 제 3 층(104)은 단층에 한정되지 않고, 상기 물질로 이루어진 층을 2층 이상 적층한 것을 사용하여도 좋다. 또한, 폴리[(9,9-디헥실플루오렌-2,7-디일)-co-(피리딘-3,5-디일)](약칭: PF-Py), 폴리[(9,9-디옥틸플루오렌-2,7-디일)-co-(2,2'-비피리딘-6,6'-디일)](약칭: PF-BPy) 등의 고분자 화합물을 사용할 수 있다.
제 3 층(104)은 전자 수송성 물질에 대하여 질량비로 0.001 이상 0.1 이하의 비율로 상기 알칼리 금속, 알칼리 토류 금속, 희토류 금속, 알칼리 금속 화합물, 알칼리 토류 금속 화합물 또는 희토류 금속 화합물을 함유한 것을 사용할 수 있다.
제 3 층(104)은 전자를 효율적으로 수송할 수 있으므로 제 2 층(105)으로부터 제 3 층(104)을 통과하여 EL층(201-m)에 전자를 주입할 때 전자를 효율적으로 주입할 수 있다. 또한, 제 3 층(104)이 상기 금속이나 화합물을 함유함으로써 제 1 층(106)에서 발생한 전자를 제 2 층(105) 및 제 3 층(104)을 통과하여 EL층(201-m)에 주입할 때 전자 주입 장벽을 어느 정도 완화할 수 있다.
제 3 층(104)은 동일 막 중에 전자 수송성 물질과 상기 금속 또는 금속 화합물을 함유한 구조뿐만 아니라 전자 수송성 물질을 함유한 층과 상기 금속 또는 금속 화합물을 함유한 층이 적층된 구조로 할 수도 있다. 다만, 적층 구조의 경우에는 전자 수송성 물질을 함유한 층이 EL층(201-m)과 접촉된다.
또한, 제 3 층(104)의 일부분 또는 전부는 EL층(201-m)을 구성하는 일부분의 층으로서 사용할 수 있다. 예를 들어, EL층(201-m)을 구성하는 전자 수송층으로서 제 3 층(104)의 일부분을 사용할 수 있다.
제 1 층(106), 제 2 층(105), 및 제 3 층(104)은 건식법(예를 들어, 진공 증착법 등), 습식법(예를 들어, 잉크젯법, 스핀코트법 등)을 막론하고 각종 방법을 사용하여 형성할 수 있다.
발광 소자의 그 외의 구성을 설명한다.
양극(1001)으로서는 일 함수가 큰(구체적으로는 4.0eV 이상이 바람직함) 금속, 합금, 전기 전도성 화합물, 및 이들의 혼합물 등을 사용하는 것이 바람직하다. 구체적으로는, 예를 들어, 산화인듐-산화주석(ITO: Indium Tin Oxide), 실리콘 또는 산화실리콘을 함유한 산화인듐-산화주석, 산화인듐-산화아연(IZO: Indium Zinc Oxide), 산화텅스텐 및 산화아연을 함유한 산화인듐 등을 들 수 있다.
또한, 금(Au), 백금(Pt), 니켈(Ni), 텅스텐(W), 크롬(Cr), 몰리브덴(Mo), 철(Fe), 코발트(Co), 구리(Cu), 팔라듐(Pd), 티타늄(Ti), 또는 금속 재료의 질화물(예를 들어, 질화티타늄 등), 산화몰리브덴, 산화바나듐, 산화루테늄, 산화텅스텐, 산화망간, 산화티타늄 등을 사용하여도 좋다. 또한, 폴리(3,4-에틸렌디옥시티오펜)/폴리(스티렌술폰산)(PEDOT/PSS), 폴리아닐린/폴리(스티렌술폰산)(PAni/PSS) 등의 도전성 폴리머를 사용하여도 좋다. 다만, 양극(101)과 접촉되어 전하 발생 영역을 제공하는 경우에는 일 함수의 대소에 상관없이 Al, Ag 등 각종 도전성 재료를 양극(101)에 사용할 수 있다.
양극(101)은 보통 스퍼터링법에 의하여 성막된다. 예를 들어, 산화인듐-산화아연(IZO)막은 산화인듐에 대하여 1wt% 내지 20wt%의 산화아연을 첨가한 타깃을 사용하여 스퍼터링법에 의하여 형성할 수 있다. 또한, 산화텅스텐 및 산화아연을 함유한 산화인듐막은 산화인듐에 대하여 산화텅스텐을 0.5wt% 내지 5wt%, 산화아연을 0.1wt% 내지 1wt% 함유한 타깃을 사용하여 스퍼터링법에 의하여 형성할 수 있다. 또한, 양극(101)은 졸-겔법 등을 사용하여 제작할 수도 있다.
또한 음극(102)으로서는, 일 함수가 작은(구체적으로는 3.8eV 이하인 것이 바람직함) 금속, 합금, 전기 전도성 화합물, 및 이들의 혼합물 등을 사용할 수 있다. 예를 들어, 원소 주기율표의 제 1 족 또는 제 2 족에 속하는 원소, 즉 리튬(Li)이나 세슘(Cs) 등의 알칼리 금속, 및 마그네슘(Mg), 칼슘(Ca), 스트론튬(Sr) 등의 알칼리 토류 금속, 및 이들을 함유한 합금(MgAg, AlLi), 유로퓸(Eu), 이테르븀(Yb) 등의 희토류 금속 및 이들을 함유한 합금 등을 들 수 있다. 또한, 알칼리 금속, 알칼리 토류 금속, 이들을 함유한 합금의 막은 진공 증착법을 사용하여 형성할 수 있다. 또한, 알칼리 금속 또는 알칼리 토류 금속을 함유한 합금은 스퍼터링법에 의하여 형성할 수도 있다. 또한, 은 페이스트 등을 잉크젯법 등에 의하여 성막할 수도 있다.
그 외, 알칼리 금속 화합물, 알칼리 토류 금속 화합물, 또는 희토류 금속 화합물(예를 들어, 불화리튬(LiF), 산화리튬(LiOx), 불화세슘(CsF), 불화칼슘(CaF2), 불화에르븀(ErF3) 등)의 막과, 알루미늄 등의 금속막을 적층함으로써, 음극(102)을 형성할 수도 있다.
또한, 본 실시형태에 기재하는 발광 소자는 양극 및 음극 중 적어도 한쪽이 가시광에 대한 투광성을 가지면 좋다. 투광성은 ITO 등 투명 전극을 사용하거나 또는 전극의 막 두께를 얇게 함으로써 확보할 수 있다.
다음에, 복수의 EL층(201)의 구체적인 예에 대하여 기재한다.
각 EL층(201)은 적어도 발광 물질을 함유한 발광층을 포함하여 구성된다. 발광층과 발광층 외의 층이 적층된 구조를 가져도 좋다. 각 EL층(201)은 적층 구조가 각각 상이한 구조를 가져도 좋다. 또한, 각 EL층(201)은 사용하는 재료가 각각 상이한 구성을 가져도 좋다.
발광층 외의 층으로서는 정공 주입성 물질을 함유하고 정공 주입성을 갖는 층(정공 주입층), 정공 수송성 물질을 함유하고 정공 수송성을 갖는 층(정공 수송층), 전자 수송성 물질을 함유하고 전자 수송성을 갖는 층(전자 수송층), 전자 주입성 물질을 함유하고 전자 주입성을 갖는 층(전자 주입층), 바이폴라성(전자 수송성 및 정공 수송성) 물질을 함유하고 바이폴라성을 갖는 층 등을 들 수 있다. 이들은 적절히 조합하여 구성할 수 있다. 또한, EL층(201-1)에서 양극(101)과 접촉되는 층 및 EL층(201-n)에서 음극(102)과 접촉되는 층으로서 전하 발생층을 제공할 수도 있다.
정공 주입층, 정공 수송층, 발광층, 전자 수송층, 전자 주입층을 구성하는 물질의 구체적인 예를 이하에 기재한다.
정공 주입층은 정공 주입성 물질을 함유한 층이다. 상기 정공 주입성 물질로서는, 예를 들어, 산화몰리브덴, 산화바나듐, 산화루테늄, 산화텅스텐, 산화망간 등의 금속 산화물을 사용할 수 있다. 또한, 프탈로시아닌(약칭: H2Pc), 구리(Ⅱ)프탈로시아닌(약칭: CuPc) 등의 프탈로시아닌계 화합물을 사용할 수 있다. 또한, PEDOT/PSS(약칭) 등의 고분자를 사용할 수도 있다.
정공 수송층은 정공 수송성 물질을 함유한 층이다. 정공 수송층이 함유한 정공 수송성 물질은 상술한 제 1 층(106)이 함유한 정공 수송성 물질과 같은 물질을 적용할 수 있다. 따라서, 여기서는 상술한 설명을 원용한다. 또한, 정공 수송성 물질을 함유한 층은 단층에 한정되지 않고, 상기 물질로 이루어진 층이 2층 이상 적층된 것으로 하여도 좋다.
발광층은 발광 물질을 함유한 층이다. 상기 발광 물질로서는 이하에 기재하는 형광성 화합물 및 인광성 화합물을 적용할 수 있다. 발광은 1중항으로부터의 발광과 3중항으로부터의 발광으로 나누어지고, 형광성 화합물을 함유한 발광층으로부터의 발광은 1중항으로부터의 발광이고, 인광성 화합물을 함유한 발광층으로부터의 발광은 3중항으로부터의 발광이다.
형광성 화합물로서는, N,N '-비스[4-(9H-카르바졸-9-일)페닐]-N,N '-디페닐스틸벤-4,4'-디아민(약칭: YGA2S), 4-(9H-카르바졸-9-일)-4'-(10-페닐-9-안트릴)트리페닐아민(약칭: YGAPA), 4-(9H-카르바졸-9-일)-4'-(9-10-디페닐-2-안트릴)트리페닐아민(약칭: 2YGAPPA), N,9-디페닐-N-[4-(10-페닐-9-안트릴)페닐]-9H-카르바졸-3-아민(약칭: PCAPA), 페릴렌, 2,5,8,11-테트라-tert-부틸페릴렌(약칭: TBP), 4-(10-페닐-9-안트릴)-4'-(9-페닐-9H-카르바졸-3-일)트리페닐아민(약칭: PCBAPA), N,N''-(2-tert-부틸안트라센-9,10-디일디-4,1-페닐렌)비스[N,N',N',-트리페닐-1,4-페닐렌디아민](약칭: DPABPA), N,9-디페닐-N-[4-(9,10-디페닐-2-안트릴)페닐]-9H-카르바졸-3-아민(약칭: 2PCAPPA), N-[4-(9,10-디페닐-2-안트릴)페닐]-N,N ',N'-트리페닐-1,4-페닐렌디아민(약칭: 2DPAPPA), N,N,N ',N',N'',N'',N''',N'''-옥타페닐디벤조[g,p]크리센-2,7,10,15-테트라아민(약칭: DBC1), 쿠마린30, N-(9,10-디페닐-2-안트릴)-N,9-디페닐-9H-카르바졸-3-아민(약칭: 2PCAPA), N-[9,10-비스(1,1'-비페닐-2-일)-2-안트릴]-N,9-디페닐-9H-카르바졸-3-아민(약칭: 2PCABPhA), N-(9,10-디페닐-2-안트릴)-N,N',N'-트리페닐-1,4-페닐렌디아민(약칭: 2DPAPA), N-[9,10-비스(1,1'-비페닐-2-일)-2-안트릴]-N,N',N'-트리페닐-1,4-페닐렌디아민(약칭: 2DPABPhA), 9,10-비스(1,1'-비페닐-2-일)-N-[4-(9H-카르바졸-9-일)페닐]-N-페닐안트라센-2-아민(약칭: 2YGABPhA), N,N,9-트리페닐안트라센-9-아민(약칭: DPhAPhA), 쿠마린545T, N,N '-디페닐퀴나크리돈(약칭: DPQd), 루브렌, 5,12-비스(1,1'-비페닐-4-일)-6,11-디페닐테트라센(약칭: BPT), 2-(2-{2-[4-(디메틸아미노)페닐]에테닐}-6-메틸-4H-피란-4-일리덴)프로판디니트릴(약칭: DCM1), 2-{2-메틸-6-[2-(2,3,6,7-테트라하이드로-1H,5H-벤조[ij]퀴놀리진-9-일)에테닐]-4H-피란-4-일리덴}프로판디니트릴(약칭: DCM2), N,N,N ',N'-테트라키스(4-메틸페닐)테트라센-5,11-디아민(약칭: p-mPhTD), 7,14-디페닐-N,N,N ',N'-테트라키스(4-메틸페닐)아세나프토[1,2-a]플루오란텐-3,10-디아민(약칭: p-mPhAFD), 2-{2-이소프로필-6-[2-(1,1,7,7-테트라메틸-2,3,6,7-테트라하이드로-1H,5H-벤조[ij]퀴놀리진-9-일)에테닐]-4H-피란-4-일리덴}프로판디니트릴(약칭: DCJTI), 2-{2-tert-부틸-6-[2-(1,1,7,7-테트라메틸-2,3,6,7-테트라하이드로-1H,5H-벤조[ij]퀴놀리진-9-일)에테닐]-4H-피란-4-일리덴}프로판디니트릴(약칭: DCJTB), 2-(2,6-비스{2-[4-(디메틸아미노)페닐]에테닐}-4H-피란-4-일리덴)프로판디니트릴(약칭: BisDCM), 2-{2,6-비스[2-(8-메톡시-1,1,7,7-테트라메틸-2,3,6,7-테트라하이드로-1H,5H-벤조[ij]퀴놀리진-9-일)에테닐]-4H-피란-4-일리덴}프로판디니트릴(약칭: BisDCJTM) 등을 들 수 있다.
인광성 화합물로서는, 비스[2-(4',6'-디플루오르페닐)피리디나토-N,C 2 ' ]이리듐(III)테트라키스(1-피라졸릴)보레이트(약칭: FIr6), 비스[2-(4',6'-디플루오르페닐)피리디나토-N,C 2' ]이리듐(III)피콜리네이트(약칭: FIrpic), 비스[2-(3',5'-비스트리플루오르메틸페닐)피리디나토-N,C 2' ]이리듐(III)피콜리네이트(약칭: Ir(CF3ppy)2(pic)), 비스[2-(4',6'-디플루오르페닐)피리디나토-N,C 2 ' ]이리듐(III)아세틸아세토네이트(약칭: FIr(acac)), 트리스(2-페닐피리디나토)이리듐(III)(약칭: Ir(ppy)3), 비스(2-페닐피리디나토)이리듐(III)아세틸아세토네이트(약칭: Ir(ppy)2(acac)), 비스(벤조[h]퀴놀리나토)이리듐(III)아세틸아세토네이트(약칭: Ir(bzq)2(acac)), 트리스(벤조[h]퀴놀리나토)이리듐(III)(약칭: Ir(bzq)3), 비스(2,4-디페닐-1,3-옥사졸라토-N,C 2' )이리듐(III)아세틸아세토네이트(약칭: Ir(dpo)2(acac)), 비스[2-(4'-퍼플루오르페닐페닐)피리디나토]이리듐(III)아세틸아세토네이트(약칭: Ir(p-PF-ph)2(acac)), 비스(2-페닐벤조티아졸라토-N,C 2' )이리듐(III)아세틸아세토네이트(약칭: Ir(bt)2(acac)), (아세틸아세토나토)비스[2,3-비스(4-플루오르페닐)-5-메틸피라디나토]이리듐(III)(약칭: Ir(Fdppr-Me)2(acac)), (아세틸아세토나토)비스{2-(4-메톡시페닐)-3,5-디메틸피라디나토]이리듐(III)(약칭: Ir(dmmoppr)2(acac)), 비스[2-(2'-벤조[4,5-α]티에닐)피리디나토-N,C 3 ' ]이리듐(III)아세틸아세토네이트(약칭: Ir(btp)2(acac)), 비스(1-페닐이소퀴놀리나토-N,C 2' )이리듐(III)아세틸아세토네이트(약칭: Ir(piq)2(acac)), (아세틸아세토나토)비스[2,3-비스(4-플루오르페닐)퀴녹살리나토]이리듐(III)(약칭: Ir(Fdpq)2(acac)), (디피바로일메타나토)비스(2,3,5-트리페닐피라지나토)이리듐(III)(약칭: Ir(tppr)2(dpm)), (아세틸아세토나토)비스(2,3,5-트리페닐피라지나토)이리듐(III)(약칭: Ir(tppr)2(acac)), 2,3,7,8,12,13,17,18-옥타에틸-21H,23H-포르피린백금(II)(약칭: PtOEP), 트리스(아세틸아세토나토)(모노페난트롤린)테르븀(III)(약칭:Tb(acac)3(Phen)), 트리스(1,3-디페닐-1,3-프로판디오나토)(모노페난트롤린)유로퓸(III)(약칭: Eu(DBM)3(Phen)), 트리스[1-(2-테노일)-3,3,3-트리플루오르아세토나토](모노페난트롤린)유로퓸(III)(약칭: Eu(TTA)3(Phen)) 등을 들 수 있다.
또한, 발광층은 호스트 재료에 이들 발광 물질을 분산시킨 구조로 하는 것이 바람직하다. 호스트 재료로서는, 예를 들어, NPB, TPD, TCTA, TDATA, MTDATA, 4,4'-비스[N-(스피로-9,9'-비플루오렌-2-일)-N-페닐아미노]비페닐(약칭: BSPB) 등의 방향족 아민 화합물, PCzPCA1, PCzPCA2, PCzPCN1, CBT, TCPB, CzPA 등의 카르바졸 유도체 등의 정공 수송성 물질을 사용할 수 있다.
또한, 폴리[N-(4-{N'-[4-(4-디페닐아미노)페닐]페닐-N'-페닐아미노}페닐)메타크릴아미드](약칭: PTPDMA), 폴리[N,N '-비스(4-부틸페닐)-N,N '-비스(페닐)벤지딘](약칭: Poly-TPD) 등의 고분자 화합물을 함유한 정공 수송성 물질을 사용할 수 있다.
또는, 호스트 재료로서, 예를 들어, Alq, Almq3, BeBq2, BAlq 등의 퀴놀린 골격 또는 벤조퀴놀린 골격을 갖는 금속 착체, Zn(BOX)2, Zn(BTZ)2 등의 옥사졸계, 티아졸계 리간드를 갖는 금속 착체, PBD, OXD-7, CO11, TAZ, BPhen, BCP 등의 전자 수송성 물질을 사용할 수 있다.
전자 수송층은 전자 수송성 물질을 함유한 층이다. 전자 수송층이 함유한 전자 수송성 물질은 상술한 제 3 층(104)이 갖는 전자 수송성 물질과 같은 물질을 적용할 수 있다. 따라서, 여기서는 상술한 설명을 원용한다. 또한, 전자 수송층은 단층에 한정되지 않고, 상기 물질로 이루어진 층을 2층 이상 적층한 것을 사용하여도 좋다.
전자 주입층은 전자 주입성 물질을 함유한 층이다. 전자 주입성 물질로서는, 불화리튬(LiF), 불화세슘(CsF), 불화칼슘(CaF2) 등의 알칼리 금속, 알칼리 토류 금속, 또는 이들의 화합물을 들 수 있다. 또한, 전자 수송성 물질 중에 알칼리 금속, 알칼리 토류 금속, 또는 이들의 화합물을 함유시킨 것(예를 들어, Alq(약칭) 중에 마그네슘(Mg)을 함유시킨 것 등)을 상기 전자 주입성 물질로서 적용할 수도 있다. 이와 같은 구조로 함으로써, 음극(102)으로부터의 전자 주입 효율을 더 높일 수 있다.
EL층(201-1) 또는 EL층(201-n)에 전하 발생층을 제공할 수 있다. EL층(201-1) 또는 EL층(201-n)에 전하 발생층을 제공하는 경우에는, 전하 발생층은 정공 수송성 물질과 억셉터성 물질을 함유한 층으로 한다. 또한, 전하 발생층은 동일 막 중에 정공 수송성 물질과 억셉터성 물질을 함유한 경우뿐만 아니라, 정공 수송성 물질을 함유한 층과 억셉터성 물질을 함유한 층이 적층되어도 좋다. 다만, 적층 구조의 경우에는, 억셉터성 물질을 함유한 층이 양극(101) 또는 음극(102)과 접촉된다.
EL층(201-1) 또는 EL층(201-n)에 전하 발생층을 제공함으로써 전극을 형성하는 물질의 일 함수를 고려하지 않고, 양극(101) 또는 음극(102)을 형성할 수 있다. 또한, EL층(201-1) 또는 EL층(201-n)에 제공되는 전하 발생층은 상술한 제 1 층(106)과 같은 구성 및 물질을 적용할 수 있다. 따라서, 여기서는 상술한 설명을 원용한다.
또한, 이들의 층을 적절히 조합하여 적층시킴으로써, 각 EL층(201)을 형성할 수 있다. 또한, 각 EL층(201)의 형성 방법은 사용하는 재료에 따라 각종 방법(예를 들어, 건식법이나 습식법 등)을 적절히 선택할 수 있다. 예를 들어, 진공 증착법, 잉크젯법, 또는 스핀 코팅법 등을 사용할 수 있다. 또한, 각 층마다 상이한 방법을 사용하여 형성하여도 좋다.
상술한 바와 같은 물질을 조합함으로써, 본 실시형태에 기재하는 발광 소자를 제작할 수 있다. 상기 발광 소자로부터는 상술한 발광 물질로부터의 발광을 얻을 수 있다. 따라서, 발광층에 사용하는 발광 물질의 종류를 바꿈으로써 다양한 발광색을 얻을 수 있다. 또한, 발광 물질로서 발광색이 상이한 복수의 발광 물질을 사용함으로써, 넓은 스펙트럼의 발광이나 백색 발광을 얻을 수도 있다.
여기까지 n층의 EL층을 갖는 발광 소자를 설명하지만, n=2, 3이라도 좋은 것은 말할 필요도 없다. n=2인 경우의 발광 소자의 소자 구조를 도 4a에 도시하고, 밴드도를 도 4b에 도시한다. 또한, 부호 111은 양극(101)의 페르미 준위를 나타내고, 부호 112는 음극(102)의 페르미 준위를 나타낸다.
도 4a에 도시한 발광 소자는 한 쌍의 전극(양극(101), 음극(102)) 사이에 발광 영역을 함유한 제 1 EL층(103) 및 제 2 EL층(107)을 갖고, 제 1 EL층(103) 및 제 2 EL층(107) 사이에는 중간층(203)을 갖는다. 중간층(203)은 음극(102) 측에서 순차로 제 1 층(106), 제 2 층(105), 및 제 3 층(104)을 갖는다.
제 1 층(106)은 제 2 EL층(107)과 제 2 층(105) 사이에 제공되고, 제 2 EL층(107)과 제 2 층(105)과 접촉된다. 제 2 층(105)은 제 1 층(106)과 제 3 층(104) 사이에 제공되고, 제 1 층(106)과 제 3 층(104)과 접촉된다. 제 3 층(104)은 제 2 층(105)과 제 1 EL층(103) 사이에 제공되고, 제 2 층(105)과 제 1 EL층(103)과 접촉된다.
도 4b에 도시한 밴드도를 사용하여 이하에 설명한다.
한 쌍의 전극(양극(101), 음극(102)) 사이에 전압이 인가되면, 제 1 층(106)에서 정공 수송성 물질로부터 억셉터성 물질이 전자를 뽑아내 정공 및 전자가 발생하는 것으로 생각된다. 제 1 층(106)이 억셉터성 물질을 함유함으로써 전하 발생 영역으로서 효과적으로 기능시킬 수 있다. 제 1 층(106)은 정공 수송성을 가지므로 제 1 층(106)에서 발생한 정공은 층 내에서 효율적으로 수송된다. 따라서, 상기 정공을 제 2 EL층(107)에 효율적으로 주입할 수 있다. 또한, 제 1 층(106)이 억셉터성 물질을 함유함으로써 제 1 층(106)에서 발생한 전자를 제 2 층(105) 및 제 3 층(104)을 통과하여 제 1 EL층(103)에 주입할 때 전자 주입 장벽을 어느 정도 완화할 수 있다.
제 2 층(105)은 프탈로시아닌계 재료로 이루어지고, 제 1 층(106)에서 발생한 전자를 받고, 제 3 층(104)을 통과하여 제 1 EL층(103)에 전자를 주는 기능을 갖는다. 따라서, 제 2 층(105)은 전자 릴레이층으로서 기능한다.
제 2 층(105)의 LUMO 준위(114)는 제 1 층(106)에서의 억셉터성 물질의 억셉터 준위(115)와 제 1 EL층(103)의 LUMO 준위(113) 사이의 준위가 되도록 한다. 이로써, 제 1 층(106)에서 발생한 전자를 제 1 EL층(103)에 주입할 때 전자 주입 장벽을 작게 할 수 있다. 이로써, 발광 소자를 저전압으로 구동할 수 있다.
제 1 층(106)의 억셉터 준위(115)로부터 제 2 층(105)의 LUMO 준위(114)에 이동한 전자는 제 3 층(104)에 주어진다. 제 3 층(104)은 전자 수송성을 갖기 때문에 제 3 층(104)에 이동한 전자는 층 내에서 효율적으로 수송되고, 제 1 EL층(103)의 LUMO 준위(113)에 용이하게 주입된다. 또한, 제 3 층(104)은 상기 알칼리 금속, 알칼리 토류 금속, 희토류 금속, 알칼리 금속 화합물, 알칼리 토류 금속 화합물 또는 희토류 금속 화합물을 함유함으로써 전자 주입 장벽을 어느 정도 완화하는 기능을 갖는다. 따라서, 전자의 이동이 더 용이해진다.
그 후, 전자는 제 1 EL층(103)에서 양극(101) 측으로부터 주입된 정공과 재결합하여 제 1 EL층(103)이 발광한다. 한편, 제 1 층(106)에서 발생한 정공은 제 2 EL층(107)에서 음극(102) 측으로부터 주입된 전자와 재결합하여 제 2 EL층(107)이 발광한다.
제 2 층(105)이 알칼리 금속, 알칼리 토류 금속, 희토류 금속, 알칼리 금속 화합물, 알칼리 토류 금속 화합물, 또는 희토류 금속 화합물을 함유한 경우의 밴드도를 도 5에 도시한다.
도 5에 도시한 부호 120은 제 2 층(105)에서의 상기 금속 또는 금속 화합물 준위(도너 준위라고도 함)를 나타낸다.
도너 준위(120)는 제 2 층(105)의 LUMO 준위(114)에 영향을 준다. 이로써, 전자는 제 1 층(106)의 억셉터 준위(115)로부터 제 2 층(105)의 LUMO 준위(114)에 용이하게 이동할 수 있다. 따라서, 더 낮은 전압으로 발광 소자를 구동할 수 있다.
또한, 본 실시형태에 기재한 발광 소자는 각종 기판 위에 제작할 수 있다. 기판으로서는, 예를 들어, 유리, 플라스틱, 금속판, 금속박 등을 적용할 수 있다. 또한, 발광 소자의 발광을 기판 측에서 추출하는 경우에는 투광성을 갖는 기판을 사용하면 좋다. 다만, 기판은 발광 소자의 제작 공정에서 지지체로서 기능하는 것이면 이들 외의 것이라도 좋다.
또한, 본 실시형태에 기재하는 구성은 다른 실시형태에 기재한 구성과 적절히 조합하여 사용할 수 있는 것으로 한다.
이하에 기재하는 실시형태 2 내지 실시형태 5에서는 편의상 n=2인 경우의 발광 소자를 사용하여 설명한다.
(실시형태 2)
본 실시형태에서는 본 발명의 일 형태인 발광 소자의 소자 구조, 밴드도의 예에 대하여 도 6a 및 도 6b를 사용하여 설명한다. 본 실시형태에서는 실시형태 1에 기재한 발광 소자에서 제 3 층(104)이 전자 수송성 물질을 함유한 층과, 알칼리 금속, 알칼리 토류 금속, 희토류 금속, 알칼리 금속 화합물, 알칼리 토류 금속 화합물, 또는 희토류 금속 화합물을 함유한 층을 적층한 구조를 갖는 예를 설명한다.
본 실시형태에 기재하는 발광 소자는 도 6a에 도시한 바와 같이 한 쌍의 전극(양극(101), 음극(102)) 사이에 제 1 EL층(103) 및 제 2 EL층(107)을 갖는다. 제 1 EL층(103) 및 제 2 EL층(107)은 각각 적어도 발광 물질을 함유한 발광층을 포함하여 구성된다. 제 1 EL층(103)과 제 2 EL층(107) 사이에는 음극(102) 측에서 순차로 제 1 층(106), 제 2 층(105), 및 제 3 층(104)을 갖는다. 제 1 층(106)은 전하 발생 영역으로서 기능하고, 정공 수송성을 갖고, 또 억셉터성 물질을 함유한다. 또한, 제 1 층(106)은 정공 수송성 물질을 함유한다. 제 2 층(105)은 프탈로시아닌계 재료로 이루어진다.
본 실시형태에 있어서, 양극(101), 음극(102), 제 1 EL층(103), 제 2 층(105), 제 1 층(106), 및 제 2 EL층(107)에는 실시형태 1에서 설명한 구성 및 물질을 사용할 수 있다.
제 3 층(104)은 제 2 층(105)에 접촉되는 층(104a)과, 제 1 EL층(103)에 접촉되는 층(104b)이 적층한 구조를 갖는다. 층(104a)은 알칼리 금속, 알칼리 토류 금속, 희토류 금속, 알칼리 금속 화합물, 알칼리 토류 금속 화합물, 또는 희토류 금속 화합물을 함유한 층이다. 층(104b)은 전자 수송성 물질을 함유한 층이다.
층(104b)에 사용되는 전자 수송성 물질로서는, 실시형태 1에 기재한 제 3 층(104)에 사용되는 전자 수송성 물질과 같은 물질을 적용할 수 있다.
층(104a)에 사용하는 물질로서는, 리튬(Li) 및 세슘(Cs) 등의 알칼리 금속, 마그네슘(Mg), 칼슘(Ca), 및 스트론튬(Sr) 등의 알칼리 토류 금속, 유로퓸(Eu)이나 이테르븀(Yb) 등의 희토류 금속, 알칼리 금속 화합물(산화리튬 등의 산화물, 할로겐화물, 탄산리튬이나 탄산세슘 등의 탄산염을 포함함), 알칼리 토류 금속 화합물(산화물, 할로겐화물, 탄산염을 포함함), 및 희토류 금속 화합물(산화물, 할로겐화물, 탄산염을 포함함) 등의 전자 주입성이 높은 물질을 들 수 있다. 또한, 이들 전자 주입성이 높은 물질은 공기 중에서 안정적인 물질이기 때문에, 생산성이 좋고, 양산에 적합하기 때문에 바람직하다.
층(104a)으로서 상기 금속 또는 금속 화합물의 단층이 제공된다. 층(104a)의 막 두께는 구동 전압의 상승을 피하기 위하여 매우 얇은 막 두께(구체적으로는 0.1nm 이상 1nm 이하)로 형성된다. 다만, 층(104b)을 형성한 후, 층(104b) 위에 층(104a)을 형성하는 경우에는 층(104a)을 형성하는 물질의 일부분은 층(104b)에도 존재할 수 있다. 막 두께가 매우 얇은 층(104a)은 제 2 층(105)과 층(104b)의 계면에 존재한다고도 바꿔 말할 수 있다.
밴드도를 사용하여 이하에 설명한다.
도 6b는 도 6a의 소자 구조의 밴드도이다. 도 6b에 있어서, 부호 113은 제 1 EL층(103)의 LUMO 준위, 부호 114는 제 2 층(105)의 LUMO 준위, 부호 115는 제 1 층(106)의 억셉터성 물질의 억셉터 준위, 부호 117은 제 2 EL층(107)의 LUMO 준위를 나타낸다. ×는 제 3 층(104)에 함유된 상기 금속 또는 금속 화합물로 이루어진 물질을 나타낸다.
한 쌍의 전극(양극(101), 음극(102)) 사이에 전압이 인가되면, 제 1 층(106)에서 정공 수송성 물질로부터 억셉터성 물질이 전자를 뽑아내 정공 및 전자가 발생하는 것으로 생각된다. 제 1 층(106)이 억셉터성 물질을 함유함으로써 전하 발생 영역으로서 효과적으로 기능시킬 수 있다. 제 1 층(106)은 정공 수송성을 가지므로 제 1 층(106)에서 발생한 정공은 층 내에서 효율적으로 수송된다. 따라서, 상기 정공을 제 2 EL층(107)에 효율적으로 주입할 수 있다. 또한, 제 1 층(106)이 억셉터성 물질을 함유함으로써 제 1 층(106)에서 발생한 전자를 제 2 층(105) 및 제 3 층(104)을 통과하여 제 1 EL층(103)에 주입할 때 전자 주입 장벽을 어느 정도 완화할 수 있다.
제 2 층(105)은 프탈로시아닌계 재료로 이루어지고, 제 1 층(106)에서 발생한 전자를 받고, 제 3 층(104)을 통과하여 제 1 EL층(103)에 전자를 주는 기능을 갖는다. 따라서, 제 2 층(105)은 전자 릴레이층으로서 기능한다.
제 2 층(105)의 LUMO 준위(114)는 제 1 층(106)에서의 억셉터성 물질의 억셉터 준위(115)와, 제 1 EL층(103)의 LUMO 준위(113) 사이의 준위가 되도록 한다. 이로써, 제 1 층(106)에서 발생한 전자를 제 1 EL층(103)에 주입할 때 전자 주입 장벽을 작게 할 수 있다. 구체적으로는 -5.0eV 이상 -3.0eV 이하로 한다. 이로써, 발광 소자를 저전압으로 구동할 수 있다.
제 1 층(106)의 억셉터 준위(115)로부터 제 2 층(105)의 LUMO 준위(114)에 이동한 전자는 제 3 층(104)(층(104a) 및 층(104b))에 주어진다. 제 2 층(105)과 층(104b)의 계면에 층(104a)을 제공함으로써 제 1 층(106)과 층(104b) 사이의 주입 장벽을 어느 정도 완화할 수 있다. 따라서, 제 1 층(106)에서 발생한 전자를 층(104b)에 용이하게 주입할 수 있다. 층(104b)은 전자 수송성을 가지므로 층(104b)에 이동한 전자를 층 내에서 효율적으로 수송되고, 제 1 EL층(103)의 LUMO 준위(113)에 용이하게 주입된다. 또한, 층(104b)은 제 1 EL층(103)의 전자 수송층으로서 겸용시킬 수 있다. 또한, 층(104b)과 별도로 제 1 EL층(103)에 전자 수송층을 형성하여도 좋다. 층(104b)과 별도로 전자 수송층을 형성하는 경우에는, 층(104b)에 사용하는 전자 수송성 물질과 전자 수송층에 사용하는 전자 수송성 물질은 같아도 달라도 좋다.
그 후, 전자는 제 1 EL층(103)에서 양극(101) 측으로부터 주입된 정공과 재결합하여 제 1 EL층(103)이 발광한다. 한편, 제 1 층(106)에서 발생한 정공은 제 2 EL층(107)에서 음극(102) 측으로부터 주입된 전자와 재결합하여 제 2 EL층(107)이 발광한다.
본 실시형태에서는 제 3 층(104)은 전자 수송성 물질을 함유한 층(104b)과 금속 또는 금속 화합물을 함유한 층(104a)이 적층된 구조를 갖는다. 이와 같이, 층(104b)과 층(104a)이 적층된 구조를 갖는 제 3 층(104)을 갖는 발광 소자는 동일 막 중에 전자 수송성 물질과 금속 또는 금속 화합물을 함유한 구조를 갖는 제 3 층을 갖는 경우와 비교하여 구동 전압을 저감시킬 수 있다.
본 실시형태에 기재한 구성은 다른 실시형태에 기재한 구성과 적절히 조합하여 사용할 수 있다.
예를 들어, 실시형태 1에 기재한 바와 같이 제 2 층(105)은 프탈로시아닌계 재료에 대하여 질량비로 0.001 이상 0.1 이하의 비율로 도너성 물질이 첨가되어도 좋다. 이 경우에는, 도너성 물질은 실시형태 1에 기재한 것을 사용할 수 있다.
(실시형태 3)
본 실시형태에서는 본 발명의 일 형태인 발광 소자의 소자 구조, 밴드도의 예에 대하여 도 7a 및 도 7b를 사용하여 설명한다. 본 실시형태에서는 실시형태 1에 기재한 발광 소자에서 제 3 층(104)이 전자 수송성 물질과, 알칼리 금속, 알칼리 토류 금속, 희토류 금속, 알칼리 금속 화합물, 알칼리 토류 금속 화합물, 또는 희토류 금속 화합물을 함유하여 구성되는 경우에 대하여 설명한다.
본 실시형태에 기재한 발광 소자는 도 7a에 도시한 바와 같이 한 쌍의 전극(양극(101), 음극(102)) 사이에 제 1 EL층(103) 및 제 2 EL층(107)을 갖는다. 제 1 EL층(103) 및 제 2 EL층(107)은 각각 적어도 발광 물질을 함유한 발광층을 포함하여 구성된다. 제 1 EL층(103)과 제 2 EL층(107) 사이에는 음극(102) 측에서 순차로 제 1 층(106), 제 2 층(105), 및 제 3 층(104)을 갖는다. 제 1 층(106)은 전하 발생 영역으로서 기능하고, 정공 수송성을 갖고, 또 억셉터성 물질을 함유한다. 또한, 제 1 층(106)은 정공 수송성 물질을 함유한다. 제 2 층(105)은 프탈로시아닌계 재료로 이루어진다.
본 실시형태에 있어서, 양극(101), 음극(102), 제 1 EL층(103), 제 2 층(105), 제 1 층(106), 및 제 2 EL층(107)에는 실시형태 1에서 설명한 구성 및 물질을 사용할 수 있다.
제 3 층(104)은 제 1 EL층(103)과 제 2 층(105) 사이에 제공되고, 전자 수송성 물질과, 알칼리 금속, 알칼리 토류 금속, 희토류 금속, 알칼리 금속 화합물, 알칼리 토류 금속 화합물, 또는 희토류 금속 화합물을 함유한다. 또한, 본 실시형태에서는 전자 수송성 물질에 대하여 질량비로 0.001 이상 0.1 이하의 비율로 상기 금속 또는 금속 화합물을 첨가하는 것이 바람직하다. 이로써, 막질이 좋은 제 3 층(104)을 얻을 수 있다.
제 3 층(104)에 사용되는 전자 수송성 물질로서는, 실시형태 1에 기재한 제 3 층(104)에 사용되는 전자 수송성 물질과 같은 물질을 적용할 수 있다.
또한, 제 3 층(104)에 사용되는 알칼리 금속, 알칼리 토류 금속, 희토류 금속, 알칼리 금속 화합물, 알칼리 토류 금속 화합물, 또는 희토류 금속 화합물로서는 실시형태 1에 기재한 제 3 층(104)에 사용되는 상기 금속 또는 금속 화합물을 적용할 수 있다.
제 1 EL층(103)에 제 3 층(104b)과 접촉되는 전자 수송층(108)을 형성하여도 좋다. 제 1 EL층(103)에 전자 수송층(108)을 형성하는 경우에는, 제 3 층(104)에 사용되는 전자 수송성 물질과 전자 수송층(108)에 사용되는 전자 수송성 물질은 같아도 달라도 좋다.
밴드도를 사용하여 이하에 설명한다.
도 7b는 도 7a의 소자 구조의 밴드도이다. 도 7b에서 부호 113은 제 1 EL층(103)의 LUMO 준위를 나타내고, 부호 114는 제 2 층(105)의 LUMO 준위를 나타내고, 부호 115는 제 1 층(106)에서의 억셉터성 물질의 억셉터 준위를 나타내고, 부호 117은 제 2 EL층(107)의 LUMO 준위를 나타낸다. ×는 제 3 층(104)에 함유된 상기 금속 또는 금속 화합물로 이루어진 물질을 나타낸다.
한 쌍의 전극(양극(101), 음극(102)) 사이에 전압이 인가되면, 제 1 층(106)에서 정공 수송성 물질로부터 억셉터성 물질이 전자를 뽑아내 정공 및 전자가 발생하는 것으로 생각된다. 제 1 층(106)이 억셉터성 물질을 함유함으로써 전하 발생 영역으로서 효과적으로 기능시킬 수 있다. 제 1 층(106)은 정공 수송성을 가지므로 제 1 층(106)에서 발생한 정공은 층 내에서 효율적으로 수송된다. 따라서, 상기 정공을 제 2 EL층(107)에 효율적으로 주입할 수 있다. 또한, 제 1 층(106)이 억셉터성 물질을 함유함으로써 제 1 층(106)에서 발생한 전자를 제 2 층(105) 및 제 3 층(104)을 통과하여 제 1 EL층(103)에 주입할 때 전자 주입 장벽을 어느 정도 완화할 수 있다.
제 2 층(105)은 프탈로시아닌계 재료로 이루어지고, 제 1 층(106)에서 발생한 전자를 받고, 제 3 층(104)을 통과하여 제 1 EL층(103)에 전자를 주는 기능을 갖는다. 따라서, 제 2 층(105)은 전자 릴레이층으로서 기능한다.
제 2 층(105)의 LUMO 준위(114)는 제 1 층(106)에서의 억셉터성 물질의 억셉터 준위(115)와, 제 1 EL층(103)의 LUMO 준위(113) 사이의 준위가 되도록 한다. 이로써, 제 1 층(106)에서 발생한 전자를 제 1 EL층(103)에 주입할 때 전자 주입 장벽을 작게 할 수 있다. 구체적으로는, -5.0eV 이상 -3.0eV 이하로 한다. 이로써, 발광 소자를 저전압으로 구동할 수 있다.
제 1 층(106)의 억셉터 준위(115)로부터 제 2 층(105)의 LUMO 준위(114)에 이동한 전자는 제 3 층(104)에 주어진다. 제 3 층(104)은 전자 수송성을 갖기 때문에 제 3 층(104)에 이동한 전자는 층 내에서 효율적으로 수송되고, 제 1 EL층(103)의 LUMO 준위(113)에 용이하게 주입된다. 또한, 제 3 층(104)은 상기 알칼리 금속, 알칼리 토류 금속, 희토류 금속, 알칼리 금속 화합물, 알칼리 토류 금속 화합물, 또는 희토류 금속 화합물을 함유함으로써 전자 주입 장벽을 어느 정도 완화하는 기능을 갖는다. 따라서, 전자의 이동이 더 용이해진다.
그 후, 전자는 제 1 EL층(103)에서 양극(101) 측으로부터 주입된 정공과 재결합하여 제 1 EL층(103)이 발광한다. 한편, 제 1 층(106)에서 발생한 정공은 제 2 EL층(107)에서 음극(102) 측으로부터 주입된 전자와 재결합하여 제 2 EL층(107)이 발광한다.
본 실시형태에 기재한 구성은 다른 실시형태에 기재한 구성과 적절히 조합하여 사용할 수 있다.
예를 들어, 실시형태 1에 기재한 바와 같이 제 2 층(105)은 프탈로시아닌계 재료에 대하여 질량비로 0.001 이상 0.1 이하의 비율로 도너성 물질이 첨가되어도 좋다. 이 경우에는, 도너성 물질은 실시형태 1에 기재한 것을 사용할 수 있다.
(실시형태 4)
본 실시형태에서는 본 발명의 일 형태인 발광 소자의 소자 구조의 예에 대하여 도 8a 및 도 8b를 사용하여 설명한다. 본 실시형태에서는 실시형태 1에 기재한 발광 소자에서 제 1 층(106)의 구성에 대하여 설명한다.
본 실시형태에 기재한 발광 소자는 도 8a 및 도 8b에 도시한 바와 같이 한 쌍의 전극(양극(101), 음극(102)) 사이에 제 1 EL층(103) 및 제 2 EL층(107)을 갖는다. 제 1 EL층(103) 및 제 2 EL층(107)은 각각 적어도 발광 물질을 함유한 발광층을 포함하여 구성된다. 제 1 EL층(103)과 제 2 EL층(107) 사이에는 음극(102) 측에서 순차로 제 1 층(106), 제 2 층(105), 및 제 3 층(104)을 갖는다. 도 8a 및 도 8b에 있어서, 양극(101), 음극(102), 제 1 EL층(103), 제 3 층(104), 제 2 층(105), 및 제 2 EL층(107)에는 실시형태 1 내지 실시형태 3에서 설명한 구성 및 물질을 사용할 수 있다.
제 1 층(106)은 전하 발생 영역으로서 기능하고, 정공 수송성을 갖고, 또 억셉터성 물질을 함유한 층이다. 또한, 제 1 층(106)은 정공 수송성 물질을 함유한 층이다. 한 쌍의 전극(양극(101), 음극(102)) 사이에 전압이 인가되면 제 1 층(106)에서 정공 수송성 물질로부터 억셉터성 물질이 전자를 뽑아내 정공 및 전자가 발생하는 것으로 생각된다.
도 8a에 도시한 제 1 층(106)은 동일 막 중에 정공 수송성 물질과, 억셉터성 물질을 함유시킨 구조를 갖는다. 이 경우에는, 정공 수송성 물질에 대하여 질량비로 0.1 이상 4.0 이하의 비율로 억셉터성 물질을 첨가하는 것이 바람직하다. 이로써, 제 1 층(106)에서의 전하의 발생이 용이해진다.
도 8a에서는 억셉터성 물질이 정공 수송성 물질에 첨가(도핑)된 구성이고, 제 1 층(106)을 두껍게 한 경우라도 구동 전압의 상승을 억제할 수 있다. 이로써, 발광 소자의 구동 전압의 상승을 억제하면서 또 광학 조정에 의한 색 순도의 향상을 실현할 수 있다. 또한, 제 1 층(106)을 두껍게 함으로써 발광 소자의 단락을 방지할 수 있다.
한편, 도 8b에 도시하는 제 1 층(106)은 제 2 EL층(107)에 접촉되는 층(106a)과, 제 2 층(105)에 접촉되는 층(106b)이 적층된 구조를 갖는다. 층(106a)은 정공 수송성 물질을 함유한 층이다. 층(106b)은 억셉터성 물질을 함유한 층이다.
제 1 층(106)에서 가시 영역에 전하 이동 상호 작용에 기인한 흡수를 나타내는 경우가 있다. 정공 수송성 물질을 함유한 층(106a)과 억셉터성 물질을 함유한 층(106b)이 적층된 경우에는 상기 전하 이동 상호 작용은 제 1 층(106) 전체가 아니라 층(106a)과 층(106b)의 계면에만 작용한다. 따라서, 전하 이동 상호 작용에 기인한 흡수가 발생하는 경우라도 제 1 EL층(103)으로부터의 발광이 흡수되기 어려워 바람직하다.
제 1 층(106)의 형성에 사용하는 정공 수송성 물질로서는 실시형태 1에 기재한 제 1 층(106)에 사용되는 정공 수송성 물질과 같은 물질을 적용할 수 있다.
제 1 층(106)의 형성에 사용하는 억셉터 물질로서는, 7,7,8,8-테트라시아노-2,3,5,6-테트라플루오르퀴노디메탄(약칭: F4-TCNQ), 클로라닐 등을 들 수 있다. 또한, 천이 금속 산화물을 들 수 있다. 또한, 원소 주기율표의 제 4족 내지 제 8족에 속하는 금속의 산화물을 들 수 있다. 구체적으로는, 산화바나듐, 산화니오븀, 산화탄탈, 산화크롬, 산화몰리브덴, 산화텅스텐, 산화망간, 산화레늄은 전자 수용성이 높기 때문에 바람직하다. 산화몰리브덴은 흡습성이 낮아 특히 바람직하다.
본 실시형태에 기재한 구성은 다른 실시형태에 기재한 구성과 적절히 조합하여 사용할 수 있다.
예를 들어, 실시형태 1에 기재한 바와 같이 제 2 층(105)은 프탈로시아닌계 재료에 대하여 질량비로 0.001 이상 0.1 이하의 비율로 도너성 물질이 첨가되어도 좋다. 이 경우에는, 도너성 물질은 실시형태 1에 기재한 것을 사용할 수 있다.
(실시형태 5)
본 실시형태에서는 본 발명의 일 형태인 발광 소자의 소자 구조, 밴드도의 예에 대하여 도 9a 및 도 9b를 사용하여 설명한다.
본 실시형태에 기재한 발광 소자는 도 9a에 도시한 바와 같이 한 쌍의 전극(양극(101), 음극(102)) 사이에 제 1 EL층(103) 및 제 2 EL층(107)을 갖는다. 제 1 EL층(103) 및 제 2 EL층(107)은 각각 유기 화합물로 이루어지고, 적어도 발광 물질을 함유한 발광층을 포함하여 구성된다. 제 1 EL층(103)과 제 2 EL층(107) 사이에는 음극(102) 측에서 순차로 제 1 층(106), 제 2 층(105), 및 제 3 층(104)을 갖는다. 도 9a에 있어서, 양극(101), 음극(102), 제 3 층(104), 제 2 층(105), 및 제 1 층(106)에는 실시형태 1 내지 실시형태 4에서 설명한 구성 및 물질을 사용할 수 있다.
제 1 EL층(103)은 청색 내지 청록색 파장 영역에 피크를 갖는 발광 스펙트럼을 나타내는 제 1 발광층(103a)과, 황색 내지 오렌지색 파장 영역에 피크를 갖는 발광 스펙트럼의 나타내는 제 2 발광층(103b)을 갖는다. 제 1 발광층(103a)은 제 1 발광 물질을 함유한다. 제 2 발광층(103b)은 제 2 발광 물질을 함유한다. 제 2 EL층(107)은 청록색 내지 녹색 파장 영역에 피크를 갖는 발광 스펙트럼을 나타내는 제 3 발광층(107a)과, 오렌지 내지 적색 파장 영역에 피크를 갖는 발광 스펙트럼을 나타내는 제 4 발광층(107b)을 갖는다. 제 3 발광층(107a)은 제 3 발광 물질을 갖는다. 제 4 발광층(107b)은 제 4 발광 물질을 갖는다. 제 1 발광층(103a)과 제 2 발광층(103b)은 적층 순서가 반대라도 좋다. 제 3 발광층(107a)과 제 4 발광층(107b)은 적층 순서가 반대라도 좋다.
한 쌍의 전극(양극(101), 음극(102)) 사이에 전압을 인가하면, 양극(101)으로부터 주입된 정공과, 제 1 층(106)에서 발생하고 제 2 층(105) 및 제 3 층(104)을 통과하여 주입된 전자가 제 1 발광층(103a) 또는 제 2 발광층(103b)에서 재결합한다. 이로써, 제 1 발광(330)을 얻을 수 있다. 또한, 음극(102)으로부터 주입된 전자와, 제 1 층(106)에서 발행하고 주입된 정공이 제 3 층(107a) 또는 제 4 발광층(107b)에서 재결합한다. 이로써, 제 2 발광(340)을 얻을 수 있다.
도 9b는 제 1 발광(330) 및 제 2 발광(340)의 발광 스펙트럼을 모식적으로 도시한 것이다. 제 1 발광(330)은 제 1 발광층(103a) 및 제 2 발광층(103b)의 양쪽 모두로부터의 발광이다. 따라서, 청색 내지 청록색 파장 영역 및 황색 내지 오렌지색 파장 영역의 양쪽 모두에 피크를 갖는 발광 스펙트럼을 나타낸다. 즉, 제 1 EL층(103)은 2파장형 백색 또는 백색에 가까운 색깔의 발광을 나타낸다. 제 2 발광(340)은 제 3 발광층(107a) 및 제 4 발광층(107b)의 양쪽 모두로부터의 발광이다. 따라서, 청록색 내지 녹색 파장 영역 및 오렌지색 내지 적색 파장 영역의 양쪽 모두에 피크를 갖는 발광 스펙트럼을 나타낸다. 즉, 제 2 EL층(107)은 제 1 EL층(103)과 상이한 2파장형 백색 또는 백색에 가까운 색깔의 발광을 나타낸다.
제 1 발광(330) 및 제 2 발광(340)을 통합한 결과, 발광 소자는 청색 내지 청록색 파장 영역, 청록색 내지 녹색 파장 영역, 황색 내지 오렌지색 파장 영역, 오렌지색 내지 적색 파장 영역을 망라할 수 있다.
예를 들어, 제 1 발광층(103a)(청색 내지 청록색 파장 영역에 피크를 갖는 발광 스펙트럼을 나타냄)의 발광 휘도가 시간 경과에 따라 열화되거나 또는 전류 밀도에 기인하여 변화하였다고 하여도 발광 스펙트럼 전체에 대하여 제 1 발광층(103a)은 1/4 정도밖에 기여하지 않기 때문에 색도의 편차는 비교적 작다.
또한, 상기에서는 제 1 EL층(103)이 청색 내지 청록색 파장 영역 및 황색 내지 오렌지색 파장 영역의 양쪽 모두에 피크를 갖는 스펙트럼을 나타내고, 제 2 EL층(107)이 청록색 내지 녹색 파장 영역 및 오렌지색 내지 적색 파장 영역의 양쪽 모두에 피크를 갖는 스펙트럼을 나타내는 경우를 예로 들어 설명하였지만, 각각 반대의 관계라도 좋다. 즉, 제 2 EL층(107)이 청색 내지 청록색 파장 영역 및 황색 내지 오렌지색 파장 영역의 양쪽 모두에 피크를 갖는 발광 스펙트럼을 나타내고, 제 1 EL층(103)이 청록색 내지 녹색 파장 영역 및 오렌지색 내지 적색 파장 영역의 양쪽 모두에 피크를 갖는 발광 스펙트럼을 나타내는 구성이라도 좋다. 또한, 제 1 EL층(103) 및 제 2 EL층(107)은 각각 발광층 외의 층(예를 들어, 전자 수송층, 정공 수송층 등)이 형성된 적층 구조를 가져도 좋다.
다음에, 본 실시형태에 기재하는 발광 소자의 EL층에 사용할 수 있는 발광 물질을 설명한다. 다만, 본 실시형태에 기재하는 발광 소자에 적용할 수 있는 물질은 이하에 기재하는 물질에 한정되지 않는다.
청색 내지 청록색의 발광은, 예를 들어, 페릴렌, TBP, 9,10-디페닐안트라센 등을 발광 물질(게스트 재료라고도 함)로서 사용하여 호스트 재료에 분산시킴으로써 얻을 수 있다. 또한, DPVBi 등의 스티릴 아릴렌 유도체, 또는 DNA 및 t-BuDNA 등의 안트라센 유도체 등으로 얻을 수 있다. 또한, 폴리(9,9-디옥틸플루오렌) 등의 폴리머를 사용하여도 좋다. 또한, 청색 발광의 게스트 재료로서는 YGA2S 및 N,N'-디페닐-N,N'-비스(9-페닐-9H-카르바졸-3-일)스틸벤-4,4'-디아민(약칭 : PCA2S) 등의 스티릴아민 유도체를 들 수 있다. 특히, YGA2S는 450nm 부근에 피크를 가지므로 바람직하다. 또한, 호스트 재료로서는 안트라센 유도체가 바람직하고, t-BuDNA 및 CzPA가 바람직하다. 특히, CzPA는 전기 화학적으로 안정적이기 때문에 바람직하다.
청록색 내지 녹색 발광은, 예를 들어, 쿠마린 30, 쿠마린 6 등의 쿠마린계 색소, FIrpic, Ir(ppy)2(acac) 등을 게스트 재료로서 사용하여 호스트 재료에 분산시킴으로써 얻을 수 있다. 또한, BAlq, Zn(BTZ)2, 비스(2-메틸-8-퀴놀리놀라토)클로로갈륨(Ga(mq)2Cl) 등의 금속 착체로부터도 얻을 수 있다. 또한, 폴리(p-페닐렌비닐렌) 등의 폴리머를 사용하여도 좋다. 또한, 상술한 페릴렌이나 TBP를 5 wt% 이상의 고농도로 호스트 재료에 분산시킴으로써 얻을 수도 있다. 또한, 청록색 내지 녹색의 발광층의 게스트 재료로서는 효율이 높은 발광을 얻을 수 있기 때문에 안트라센 유도체가 바람직하다. 예를 들어, DPABPA를 사용함으로써 효율이 높은 청록색 발광을 얻을 수 있다. 또한, 2위치에 아미노기가 치환된 안트라센 유도체는 효율이 높은 녹색 발광을 얻을 수 있어 바람직하고, 2PCAPA가 특히 장수명이므로 바람직하다. 이와 같은 재료의 호스트 재료로서는 안트라센 유도체가 바람직하고, 상술한 CzPA가 전기화학적으로 안정적이기 때문에 바람직하다. 또한, 녹색 발광과 청색 발광을 조합하여, 청색 내지 녹색 파장 영역에 2개의 피크를 갖는 발광 소자를 제작하는 경우에는, 청색 발광층의 호스트 재료에 CzPA 등 전자 수송성 안트라센 유도체를 사용하고, 녹색 발광층의 호스트 재료에 NPB 등 정공 수송성의 방향족 아민 화합물을 사용하면, 청색 발광층과 녹색 발광층의 계면에서 발광을 얻을 수 있기 때문에 바람직하다. 즉, 이 경우에는, 2PCAPA 등 녹색 발광 재료의 호스트 재료로서는 NPB 등 방향족 아민 화합물이 바람직하다.
황색 내지 오렌지색의 발광은, 예를 들어, 루브렌, DCM1, DCM2, 비스[2-(2-티에닐)피리디나토]아세틸아세토나토이리듐(약칭: Ir(thp)2(acac)), 비스(2-페닐퀴놀리나토)아세틸아세토나토이리듐(약칭: Ir(pq)2(acac)) 등을 게스트 재료로서 사용하여 호스트 재료에 분산시킴으로써 얻을 수 있다. 특히, 게스트 재료로서 루브렌 등 테트라센 유도체가 고효율이고 또 화학적으로 안정적이기 때문에 바람직하다. 이 경우의 호스트 재료로서는 NPB 등의 방향족 아민 화합물이 바람직하다. 다른 호스트 재료로서는, 비스(8-퀴놀리놀라토)아연(약칭: Znq2)이나 비스[2-신나모일-8-퀴놀리놀라토]아연(약칭: Znsq2) 등의 금속 착체를 사용할 수 있다. 또한, 폴리(2,5-디알콕시-1,4-페닐렌비닐렌) 등의 폴리머를 사용하여도 좋다.
오렌지색 내지 적색의 발광은, 예를 들어, BisDCM, 4-(디시아노메틸렌)-2,6-비스[2-(줄롤리딘-9-일)에티닐]-4H-피란(약칭: DCM1), 2-{2-메틸-6-[2-(2,3,6,7-테트라하이드로-1H,5H-벤조[ij]퀴놀리진-9-일)에테닐]-4H-피란-4-일리딘}프로판디니트릴(약칭: DCM2), Ir(thp)2(acac) 등을 게스트 재료로서 사용하고 호스트 재료에 분산시킴으로써 얻을 수 있다. Znq2나 Znsq2 등 금속 착체로부터도 얻을 수 있다. 또한, 폴리(3-알킬티오펜) 등의 폴리머를 사용하여도 좋다. 적색 발광을 나타내는 게스트 재료로서는, BisDCM, DCM2, DCJTI, BisDCJTM 등 4H-피란 유도체가 효율이 높아 바람직하다. 특히, DCJTI, BisDCJTM은 620 nm 부근에 발광 피크를 갖기 때문에 바람직하다.
또한, 상기 구성에서 호스트 재료로서는 발광 물질보다 발광색이 단파장의 재료나, 또는 에너지 갭이 큰 재료를 사용할 수 있다. 구체적으로는, 실시형태 1에 기재한 예로 대표되는 정공 수송 재료나 전자 수송 재료 중에서 적절히 선택할 수 있다. 또한, CBT, TCTA, TCPB 등을 사용하여도 좋다.
발광 소자는 제 1 EL층의 발광 스펙트럼 및 제 2 EL층의 발광 스펙트럼을 통합한 결과, 청색 내지 청록색 파장 영역, 청록색 내지 녹색 파장 영역, 황색 내지 오렌지색 파장 영역, 오렌지색 내지 적색 파장 영역을 널리 망라할 수 있는 백색 발광을 얻을 수 있다.
또한, 각 적층의 막 두께를 조절하여 의도적으로 광을 약간 간섭시킴으로써, 돌출하고 날카로운 피크의 발생을 억제하고 사다리꼴형에 가까운 형상을 갖는 발광 스펙트럼이 되도록 하여 연속적인 스펙트럼을 갖는 자연광과 비슷하게 하여도 좋다. 또한, 각 적층의 막 두께를 조절하여 의도적으로 광을 약간 간섭시킴으로써, 발광 스펙트럼의 피크 위치를 변화시킬 수 있다. 발광 스펙트럼에 나타나는 복수의 피크 강도가 거의 같게 되도록 각 적층의 막 두께를 조절하고, 또, 서로의 피크의 간격을 좁게 함으로써 사다리꼴형에 더 가까운 형상의 발광 스펙트럼을 갖는 백색 발광을 얻을 수 있다.
본 실시형태에 기재하는 발광 소자의 제 1 EL층(103) 및 제 2 EL층(107)에서 각각 백색 발광을 얻기 위해서는 제 1 발광 물질과 제 2 발광 물질의 양쪽 모두 및 제 3 발광 물질과 제 4 발광 물질의 양쪽 모두가 발광할 필요가 있다. 따라서, 제 1 EL층(103) 내 및 제 2 EL층(107) 내에서의 전하의 수송성을 조절하기 위해서는 정공 수송성 물질 및 전자 수송성 물질의 양쪽 모두를 호스트 재료로서 사용하는 것이 바람직하다. 제 1 EL층(103) 및 제 2 EL층(107)에 사용할 수 있는 정공 수송성 물질 또는 전자 수송성 물질은 실시형태 1에 기재한 물질을 적절히 사용할 수 있다.
예를 들어, 제 1 EL층(103)은 정공 수송성 물질 및 제 1 발광 물질을 함유한 층과, 정공 수송성 물질 및 제 2 발광 물질을 함유한 층과, 전자 수송성 물질 및 제 2 발광 물질을 함유한 층이 양극(101) 측에서 순차로 적층된 구성으로 할 수 있다. 또한, 제 2 EL층(107)은 정공 수송성 물질 및 제 3 발광 물질을 함유한 층과, 정공 수송성 물질 및 제 4 발광 물질을 함유한 층과, 전자 수송성 물질 및 제 4 발광 물질을 함유한 층이 양극(101) 측에서 순차로 적층된 구성으로 할 수 있다.
제 1 발광 물질 및 제 2 발광 물질은 각각의 발광색이 보색 관계인 물질을 선택하여 사용할 수 있다. 또한, 제 3 발광 물질 및 제 4 발광 물질은 각각의 발광색이 보색 관계인 물질을 선택하여 사용할 수 있다. 보색 관계로서는, 청색과 황색, 또는 청록색과 적색 등을 들 수 있다. 청색, 황색, 청록색, 적색 발광하는 물질은 예를 들어, 상기 발광 물질 중에서 적절히 선택하면 좋다.
본 실시형태에 기재한 바와 같이, EL층 중에 발광 파장이 상이한 2개의 발광 물질을 함유시킴으로써 발광 파장이 단파장 측의 발광 물질의 여기 에너지의 일부분을 발광 파장이 장파장 측의 발광 물질로 에너지 이동시켜 발광 파장이 장파장 측의 발광 물질을 발광시킬 수 있다.
또한, 본 실시형태에 기재한 구성은 다른 실시형태에 기재한 구성과 적절히 조합하여 사용할 수 있다.
(실시형태 6)
본 실시형태에서는 본 발명의 일 형태인 발광 소자를 사용하여 제작된 발광 장치를 적용하여 완성시킨 각종 전자기기 및 조명 장치에 대하여 도 10a 내지 도 11을 사용하여 설명한다.
발광 소자를 사용하여 제작된 발광 장치를 적용한 전자기기로서, 예를 들어, 텔레비전 장치(텔레비전, 또는 텔레비전 수신기라고도 함), 컴퓨터용 등의 모니터, 디지털 카메라나 디지털 비디오 카메라 등의 카메라, 디지털 포토 프레임, 휴대 전화기(휴대 전화, 휴대 전화 장치라고도 함), 휴대형 게임기, 휴대 정보 단말, 음향 재생 장치, 파친코(pachinko)기 등의 대형 게임기 등을 들 수 있다. 이들 전자기기 및 조명 장치의 구체적인 예를 도 10a 내지 도 10e에 도시한다.
도 10a에 텔레비전 장치의 일례를 도시한다. 텔레비전 장치(9100)는 케이스(9101)에 표시부(9103)가 내장된다. 표시부(9103)에 영상을 표시할 수 있다. 상기 실시형태에 기재한 발광 소자를 사용하여 발광 장치를 제작하고, 상기 발광 장치를 표시부(9103)의 화상 표시 디바이스 또는 그 광원으로서 사용할 수 있다. 또한, 여기서는, 스탠드(9105)에 의하여 케이스(9101)를 지지한 구성을 도시한다.
텔레비전 장치(9100)는 케이스(9101)가 구비한 조작 스위치나, 별체의 리모트 컨트롤러(9110)에 의하여 조작할 수 있다. 리모트 컨트롤러(9110)가 구비한 조작 키(9109)에 의하여 채널이나 음량을 조작할 수 있고, 표시부(9103)에 표시되는 영상을 조작할 수 있다. 또한, 리모트 컨트롤러(9110)에 상기 리모트 컨트롤러(9110)로부터 출력되는 정보를 표시하는 표시부(9107)를 형성하는 구성으로 하여도 좋다.
또한, 텔레비전 장치(9100)는 수신기나 모뎀 등을 구비한 구성으로 한다. 수신기에 의하여 일반 텔레비전 방송을 수신할 수 있고, 또한 모뎀을 통하여 유선 또는 무선에 의한 통신 네트워크에 접속함으로써, 한방향(송신자로부터 수신자) 또는 쌍방향(송신자와 수신자간, 또는 수신자끼리 등)의 정보 통신을 행할 수도 있다.
또한, 본 발명의 일 형태인 발광 소자를 사용하여 제작된 발광 장치는 소비 전력이 저감되기 때문에, 텔레비전 장치의 표시부(9103)의 화상 표시 디바이스 또는 그 광원으로서 사용함으로써 장수명의 텔레비전 장치를 제공할 수 있다.
도 10b는 컴퓨터이며, 본체(9201), 케이스(9202), 표시부(9203), 키보드(9204), 외부 접속 포트(9205), 포인팅 디바이스(9206) 등을 포함한다. 또한, 컴퓨터는 본 발명의 일 형태인 발광 소자를 사용하여 제작된 발광 장치를 그 표시부(9203)의 화상 표시 디바이스 또는 그 광원으로서 사용함으로써 제작된다.
또한, 본 발명의 일 형태인 발광 소자를 사용하여 제작된 발광 장치는 소비 전력이 저감되기 때문에 컴퓨터의 표시부(9203)의 화상 표시 디바이스 또는 그 광원으로서 사용함으로써, 장수명의 컴퓨터를 제공할 수 있다.
도 10c는 휴대형 게임기이며, 케이스(9301)와 케이스(9302)의 2개의 케이스로 구성되고, 연결부(9303)에 의하여 개폐 가능하도록 연결된다. 케이스(9301)에는 표시부(9304)가 내장되고, 케이스(9302)에는 표시부(9305)가 내장된다. 또한, 도 10c에 도시한 휴대형 게임기는 그 외 스피커부(9306), 기록 매체 삽입부(9307), LED 램프(9308), 입력 수단(조작키(9309), 접속 단자(9310), 센서(9311)(힘, 변위, 위치, 속도, 가속도, 각속도, 회전수, 거리, 광, 액, 자기, 온도, 화학 물질, 음성, 시간, 경도, 전기장, 전류, 전압, 전력, 방사선, 유량, 습도, 경도, 진동, 냄새 또는 적외선을 측정하는 기능을 포함한 것), 마이크로폰(9312)) 등을 구비한다. 물론, 휴대형 게임기의 구성은 상술한 것에 한정되지 않고, 적어도 표시부(9304) 및 표시부(9305)의 양쪽 모두 또는 한쪽에 본 발명의 일 형태인 발광 소자를 사용하여 제작된 발광 장치를 사용하면 좋고, 그 외 부속 설비가 적절히 제공된 구성으로 할 수 있다. 도 10c에 도시한 휴대형 게임기는 기록 매체에 기록되어 있는 프로그램 또는 데이터를 판독하여 표시부에 표시하는 기능이나, 다른 휴대형 게임기와 무선 통신을 행하여 정보를 공유하는 기능을 갖는다. 또한, 도 10c에 도시한 휴대형 게임기가 갖는 기능은 이것에 한정되지 않고, 다양한 기능을 가질 수 있다.
또한, 본 발명의 일 형태인 발광 소자를 사용하여 제작된 발광 장치는 소비 전력이 저감되기 때문에, 휴대형 게임기의 표시부(9304, 9305)의 화상 표시 디바이스 또는 그 광원으로서 사용함으로써 장수명의 휴대형 게임기를 제공할 수 있다.
도 10d에 휴대 전화기의 일례를 도시한다. 휴대 전화기(9400)는 케이스(9401)에 내장된 표시부(9402) 외, 조작 버튼(9403), 외부 접속 포트(9404), 스피커(9405), 마이크로폰(9406) 등을 구비한다. 또한, 휴대 전화기(9400)는 본 발명의 일 형태인 발광 소자를 사용하여 제작된 발광 장치를 표시부(9402)의 화상 표시 디바이스 또는 그 광원으로서 사용함으로써 제작된다.
도 10d에 도시한 휴대 전화기(9400)는 표시부(9402)를 손가락 등으로 터치(touch)함으로써 정보를 입력할 수 있다. 또한, 전화를 거는 조작, 또는 문자 메시지를 작성하는 조작 등은 표시부(9402)를 손가락 등으로 터치함으로써 행할 수 있다.
표시부(9402)의 화면에는 주로 3가지 모드가 있다. 제 1 모드는 화상 표시가 주된 표시 모드이고, 제 2 모드는 문자 등의 정보 입력이 주된 입력 모드이다. 제 3 모드는 표시 모드와 입력 모드의 2개의 모드가 혼합된 표시+입력 모드이다.
예를 들어, 전화를 걸거나 또는 문자 메시지를 작성하는 경우에는, 표시부(9402)를 문자의 입력이 주된 문자 입력 모드로 하여 화면에 표시시킨 문자의 입력 조작을 행하면 좋다. 이 경우에는, 표시부(9402)의 화면의 대부분에 키보드 또는 번호 버튼을 표시시키는 것이 바람직하다.
또한, 휴대 전화기(9400) 내부에 자이로스코프(gyroscope), 가속도 센서 등의 기울기를 검출하는 센서를 갖는 검출 장치를 제공함으로써, 휴대 전화기(9400)의 방향(세로인지 가로인지)을 판단하여, 표시부(9402)의 화면 표시를 자동적으로 전환하도록 할 수 있다.
또한, 화면 모드는 표시부(9402)를 터치하거나 또는 케이스(9401)의 조작 버튼(9403)을 조작함으로써 전환된다. 또한, 표시부(9402)에 표시되는 화상의 종류에 따라 전환되도록 할 수도 있다. 예를 들어, 표시부에 표시하는 화상 신호가 동영상 데이터이면 표시 모드로 전환되고, 텍스트 데이터이면 입력 모드로 전환된다.
또한, 입력 모드에 있어서, 표시부(9402)의 광 센서로 검출된 신호를 검지하고, 터치 조작에 의한 표시부(9402)로의 입력이 일정 기간 없는 경우에는, 화면의 모드를 입력 모드로부터 표시 모드로 전환되도록 제어하여도 좋다.
표시부(9402)는 이미지 센서로서 기능시킬 수도 있다. 예를 들어, 표시부(9402)에 손바닥이나 손가락으로 터치하여 장문(掌紋)이나 지문 등을 촬상함으로써 본인 인증을 행할 수 있다. 또한, 표시부에 근적외광을 발광하는 백 라이트 또는 근적외광을 발광하는 센싱용 광원을 사용하면, 손가락 정맥, 손바닥 정맥 등을 촬상할 수도 있다.
또한, 본 발명의 일 형태인 발광 소자를 사용하여 제작된 발광 장치는 소비 전력이 저감되기 때문에, 휴대 전화기(9400)의 표시부(9402)의 화상 표시 디바이스 또는 그 광원으로서 사용함으로써 장수명의 휴대 전화기를 제공할 수 있다.
도 10e는 조명 장치(탁상 조명 정치이며, 조명부(9501), 갓(9502), 가변 암(9503), 지주(9504), 대(9505), 전원 스위치(9506)를 포함한다. 또한, 조명 장치는 본 발명의 일 형태인 발광 소자를 사용하여 제작된 발광 장치를 조명부(9501)(광원이라고도 함)에 사용함으로써 제작된다. 또한, 조명 장치에는 도 10e에 도시한 탁상 조명 장치 외, 천정 고정형 조명 장치 또는 벽걸이형 조명 장치 등도 포함된다.
또한, 본 발명의 일 형태인 발광 소자를 사용하여 제작된 발광 장치는 소비 전력이 저감되기 때문에, 조명 장치(탁상 조명 장치)의 조명부(9501)(광원)에 사용함으로써 장수명의 조명 장치(탁상 조명 장치)를 제공할 수 있다.
도 11은 본 발명의 일 형태인 발광 소자를 사용하여 제작된 발광 장치를 실내 조명 장치로서 사용한 예이다. 본 발명의 일 형태인 발광 소자를 사용하여 제작된 발광 장치는 대면적화할 수도 있기 때문에, 천정 고정형 조명 장치(1001)로 도시된 바와 같이 대면적의 조명 장치로서 사용할 수 있다. 그 외, 벽걸이형 조명 장치(1002)로서 사용할 수도 있다. 또한, 본 발명의 일 형태인 발광 소자를 사용하여 제작된 발광 장치는 구동 전압이 낮은 발광 소자를 갖기 때문에, 저소비 전력의 조명 장치로서 사용할 수 있다. 또한, 도 11에 도시한 바와 같이, 실내 조명 장치를 구비한 방에서 도 10e에서 설명한 탁상 조명 장치(1003)를 병용하여도 좋다.
상술한 바와 같이, 본 발명의 일 형태인 발광 소자를 사용하여 제작된 발광 장치를 적용하여 전자기기나 조명 장치를 얻을 수 있다. 본 발명의 일 형태인 발광 소자를 사용하여 제작된 발광 장치의 적용 범위는 극히 넓고, 모든 분야의 전자기기에 적용할 수 있다.
또한, 본 실시형태에 기재한 구성은 다른 실시형태에 기재한 구성과 적절히 조합하여 사용할 수 있다.
(실시예 1)
본 실시예에서는 본 발명의 일 형태인 발광 소자에 대하여 도 12 및 도 13을 사용하여 설명한다. 본 실시예에서는 발광 소자 A 내지 발광 소자 C, 및 비교 발광 소자 a를 제작하고, 동작 특성을 비교하였다. 본 실시예에서 사용한 재료의 구조식을 이하에 나타낸다.
Figure pat00005
본 실시예의 발광 소자 A 내지 발광 소자 C, 및 비교 발광 소자 a의 제작 방법을 이하에 기재한다. 발광 소자 A 내지 발광 소자 C, 및 비교 발광 소자 a는 제 2 층의 구성 및 제 2 층의 유무가 상이하다. 그 외의 구성은 같으므로 이하에 아울러 설명한다.
우선, 스퍼터링법에 의하여, 유리 기판 위에 실리콘 또는 산화실리콘을 함유하는 인듐 주석 산화물을 막 두께가 110nm가 되도록 성막하여 양극을 형성하였다(전극 면적 2mm×2mm).
다음에, 양극이 형성된 면이 하방을 향하도록 양극이 형성된 유리 기판을 진공 증착 장치 내의 성막실에 설치된 기판 홀더에 고정시키고, 10- 4Pa정도까지 감압한 후, 정공 수송성 물질인 4,4'-비스[N-(1-나프틸)-N-페닐아미노]비페닐(약칭: NPB)과 억셉터성 물질인 산화몰리브덴(Ⅵ)을 동시 증착함으로써, NPB와 산화몰리브덴(Ⅵ)을 함유한 층을 형성하였다. 그 막 두께를 50nm로 하고, NPB와 산화몰리브덴(Ⅵ)의 비율은 질량비로 4:1(=NPB:산화몰리브덴(Ⅵ))이 되도록 조절하였다. 또한, 동시 증착법이란, 하나의 처리실 내에서 복수의 증발원으로부터 동시에 증착을 행하는 증착법이다. NPB와 산화몰리브덴(VI)을 함유한 층은 유기 화합물과 무기 화합물을 복합하여 이루어진 복합 재료를 함유한 층이고, 전압을 인가했을 때 전하 발생층으로서 기능한다.
다음에, 저항 가열을 사용한 증착법에 의하여, NPB를 막 두께가 10nm가 되도록 성막하여 제 1 정공 수송층을 형성하였다.
다음에, 9-[4-(10-페닐-9-안트릴)페닐]-9H-카르바졸(약칭: CzPA)과 N-(9,10-디페닐-2-안트릴)-N,9-디페닐-9H-카르바졸-3-아민(약칭: 2PCAPA)을 동시 증착하여 제 1 발광층을 형성하였다. CzPA와 2PCAPA의 질량비는 1:0.05(=CzPA:2PCAPA)가 되도록 조절하였다. CzPA는 전자 수송성을 갖는 물질이고, 2PCAPA는 녹색 발광을 나타내는 물질이다. 막 두께는 30nm로 하였다.
다음에, 저항 가열을 사용한 증착법에 의하여 트리스(8-퀴놀리놀라토)알루미늄(약칭: Alq)을 막 두께가 10nm가 되도록 성막함으로써, 제 1 전자 수송성 물질을 함유한 층을 형성하였다.
이로써, 전하 발생층, 제 1 정공 수송층, 제 1 발광층, 제 1 전자 수송성 물질을 함유한 층을 갖는 제 1 EL층을 형성하였다.
다음에, 저항 가열을 사용한 증착법에 의하여 바소페난트롤린(약칭: BPhen)을 막 두께가 10nm가 되도록 성막하였다. 이어서, 저항 가열을 사용한 증착법에 의하여 산화리튬(Li2O)을 막 두께가 0.1nm 정도가 되도록 성막하였다. BPhen은 전자 수송성 물질이고, BPhen을 함유한 층과 산화리튬을 함유한 층을 적층시킴으로써 제 3 층을 형성하였다.
이어서, 저항 가열을 사용한 증착법에 의하여 프탈로시아닌계 재료로서, CuPc, SnPc, 및 리튬을 첨가한 CuPc 중 어느 것을 막 두께가 3nm 정도가 되도록 성막하여 제 2 층을 형성하였다. 발광 소자 A에서는 CuPc를 성막하고, 발광 소자 B에서는 SnPc를 성막하고, 발광 소자 C에서는 리튬(Li)을 첨가한 CuPc를 성막하였다. 발광 소자 C에서는 CuPc와 Li의 질량비는 1:0.02(=CuPc:Li)가 되도록 조절하였다. 비교 발광 소자 a에는 제 2 층을 형성하지 않았다.
다음에, 정공 수송성 물질인 4,4'-비스[N-(1-나프틸)-N-페닐아미노]비페닐(약칭: NPB)과, 억셉터성 물질인 산화몰리브덴(VI)을 동시 증착함으로써 제 1 층을 형성하였다. 그 막 두께를 60nm로 하고, NPB와 산화몰리브덴(VI)의 비율은 질량비로 4:1(=NPB:산화몰리브덴(VI))이 되도록 조절하였다.
다음에, 저항 가열을 사용한 증착법에 의하여 NPB를 막 두께가 10nm가 되도록 성막함으로써 제 2 정공 수송층을 형성하였다.
다음에, CzPA와 2PCAPA를 동시 증착하여 제 2 발광층을 형성하였다. CzPA와 2PCAPA의 질량비는 1:0.05(=CzPA:2PCAPA)가 되도록 조절하였다. CzPA는 전자 수송성을 갖는 물질이고, 2PCAPA는 녹색 발광을 나타내는 물질이다. 막 두께는 30nm로 하였다.
다음에, 저항 가열을 사용한 증착법에 의하여 Alq를 막 두께가 10nm가 되도록 성막함으로써, 제 2 전자 수송성 물질을 함유한 층을 형성하였다.
다음에, 저항 가열을 사용한 증착법에 의하여 BPhen을 막 두께가 20nm가 되도록 성막하여 제 3 전자 수송성 물질을 함유한 층을 형성하였다. 이어서, 저항 가열을 사용한 증착법에 의하여 불화리튬(LiF)을 막 두께가 1nm 정도가 되도록 성막하여 전자 주입층을 형성하였다.
이로써, 제 2 정공 수송층, 제 2 발광층, 제 2 전자 수송성 물질을 함유한 층, 제 3 전자 수송성 물질을 함유한 층, 전자 주입층을 갖는 제 2 EL층을 형성하였다.
다음에, 알루미늄을 막 두께가 200nm가 되도록 성막하여 음극을 형성함으로써, 발광 소자 A 내지 발광 소자 C, 및 비교 발광 소자 a를 제작하였다.
표 1에 발광 소자 A 내지 발광 소자 C, 및 비교 발광 소자 a의 소자 구조의 일부분을 기재한다. 발광 소자 A 내지 발광 소자 C는 실시형태 1, 실시형태 2, 또는 실시형태 4에 기재한 발광 소자에 상당한다. 또한, 어느 소자나 양극, 제 1 EL층, 제 2 EL층의 구성은 같으므로 제 1 EL층, 제 2 EL층에 관한 자세한 설명은 생략한다.
[표 1]
Figure pat00006
상술한 공정으로 얻어진 발광 소자 A 내지 발광 소자 C, 및 비교 발광 소자 a를 질소 분위기하의 글로브 박스 내에서 발광 소자가 대기에 노출되지 않도록 밀봉하는 작업을 행하였다. 그 후, 소자 A 내지 발광 소자 C, 및 비교 발광 소자 a의 동작 특성을 측정하였다. 측정은 실온(25℃로 유지된 분위기)에서 행하였다. 또한, 어느 발광 소자로부터나 파장 520nm 부근에 발광 물질인 2PCAPA로부터의 녹색 발광을 얻을 수 있었다.
발광 소자 A 내지 발광 소자 C, 및 비교 발광 소자 a의 전압-전류 밀도 특성을 도 12에 도시하고, 전류 밀도-전류 효율 특성을 도 13에 도시한다. 또한, 1000cd/m2 부근에서의 각 소자의 주된 초기 특성 값을 표 2에 정리하였다.
[표 2]
Figure pat00007
도 12에 의거하여 발광 소자 A 내지 발광 소자 C는 비교 발광 소자 a와 비교하여 제 2 층을 갖기 때문에 같은 전압을 인가하였을 때 전류 밀도가 큰 발광 소자를 얻을 수 있는 것을 알 수 있다. 바꿔 말하면, 발광 소자 A 내지 발광 소자 C는 비교 발광 소자 a와 비교하여 같은 전류 밀도를 얻기 위하여 필요한 구동 전압이 낮은 것을 알 수 있다.
또한, 도 13에 도시한 전류 밀도-전류 효율 특성에서 발광 소자 A 내지 발광 소자 C는 비교 발광 소자 a와 어느 전류 밀도에서나 전류 효율이 거의 같은 것을 알 수 있다.
도 12와 도 13의 결과에 의거하여 발광 소자 A 내지 발광 소자 C는 비교 발광 소자 a와 비교하여 전류 효율은 거의 같은 수준을 유지하면서 구동 전압이 낮은 발광 소자를 얻을 수 있는 것을 알 수 있다.
표 2에 기재한 바와 같이, 1000cd/m2 부근에서의 발광 소자 A 내지 발광 소자 C의 구동 전압(A: 7.7V, B: 7.8V, C: 7.6V)은 비교 발광 소자 a(9.2V)와 비교하여 낮다. 발광 소자 A 내지 발광 소자 C의 색도는 비교 발광 소자 a와 거의 같다. 발광 소자 A 내지 발광 소자 C의 전류 효율은 비교 발광 소자 a와 거의 같다. 발광 소자 A 내지 발광 소자 C의 외부 양자 효율은 비교 발광 소자 a와 거의 같다.
상술한 바와 같이, 발광 소자 A 내지 발광 소자 C는 비교 발광 소자 a와 비교하여 구동 전압이 낮다는 결과를 얻었다. 즉, 발광 소자 A 내지 발광 소자 C에 제공된 제 2 층이 현저한 효과를 나타내고, 제 2 층을 가짐으로써 발광 소자를 저전압으로 구동할 수 있는 것을 알 수 있었다.
(실시예 2)
본 실시예에서는 본 발명의 일 형태인 발광 소자에 대하여 도 14 및 도 15를 사용하여 설명한다. 본 실시예에서는 발광 소자 D 및 발광 소자 E, 및 비교 발광 소자 b를 제작하고, 동작 특성을 비교하였다. 본 실시예에서 사용한 재료의 구조식을 이하에 나타낸다. 또한, 실시예 1에서 사용한 재료의 구조식은 생략하였다.
Figure pat00008
본 실시예의 발광 소자 D, 발광 소자 E, 및 비교 발광 소자 b는 제 2 층 외는 실시예 1에 기재한 발광 소자와 같은 방법으로 제작하였다. 발광 소자 D, 발광 소자 E에서는 프탈로시아닌계 재료로서 페녹시기를 갖는 프탈로시아닌 유도체인 PhO-VOPc, 및 리튬을 첨가한 PhO-VOPc 중 어느 것을 막 두께가 3nm 정도가 되도록 성막하여 제 2 층을 형성하였다. 발광 소자 D에서는 PhO-VOPc를 성막하고, 발광 소자 E에서는 리튬을 첨가한 PhO-VOPc를 성막하였다. 발광 소자 E에서는 PhO-VOPc와 리튬(Li)의 질량비는 1:0.02(=PhO-VOPc:Li)가 되도록 조절하였다. 비교 발광 소자 b에는 제 2 층을 형성하지 않았다. 이로써, 발광 소자 D, 발광 소자 E, 비교 발광 소자 b를 얻었다.
표 3에 발광 소자 D, 발광 소자 E, 및 비교 발광 소자 b의 소자 구조의 일부분을 기재한다. 발광 소자 D, 발광 소자 E는 실시형태 1, 실시형태 2, 또는 실시형태 4에 기재한 발광 소자에 상당한다. 또한, 어느 소자나 양극, 제 1 EL층, 제 2 EL층의 구성은 같으므로 제 1 EL층, 제 2 EL층에 관한 상세한 내용은 생략한다.
[표 3]
Figure pat00009
상술한 공정으로 얻어진 발광 소자 D, 발광 소자 E, 및 비교 발광 소자 b를 질소 분위기하의 글로브 박스 내에서 발광 소자가 대기에 노출되지 않도록 밀봉하는 작업을 행하였다. 그 후, 소자 D, 발광 소자 E, 및 비교 발광 소자 b의 동작 특성을 측정하였다. 측정은 실온(25℃로 유지된 분위기)에서 행하였다. 또한, 어느 발광 소자로부터나 파장 520nm 부근에 발광 물질인 2PCAPA로부터의 녹색 발광을 얻을 수 있었다.
발광 소자 D, 발광 소자 E, 및 비교 발광 소자 b의 전압-전류 밀도 특성을 도 14에 도시하고, 전류 밀도-전류 효율 특성을 도 15에 도시한다. 또한, 1000cd/m2 부근에서의 각 소자의 주된 초기 특성 값을 표 4에 정리하였다.
[표 4]
Figure pat00010
도 14에 의거하여 발광 소자 D 및 발광 소자 E는 비교 발광 소자 b와 비교하여 제 2 층을 갖기 때문에 같은 전압을 인가하였을 때 전류 밀도가 큰 발광 소자를 얻을 수 있는 것을 알 수 있다. 바꿔 말하면, 발광 소자 D 및 발광 소자 E는 비교 발광 소자 b와 비교하여 같은 전류 밀도를 얻기 위하여 필요한 구동 전압이 낮은 것을 알 수 있다.
또한, 도 15에 도시한 전류 밀도-전류 효율 특성에서 발광 소자 D 및 발광 소자 E는 비교 발광 소자 b와 어느 전류 밀도에서나 전류 효율이 거의 같은 것을 알 수 있다.
도 14와 도 15의 결과에 의거하여 발광 소자 D 및 발광 소자 E는 비교 발광 소자 b와 비교하여 전류 효율은 거의 같은 수준을 유지하면서 구동 전압이 낮은 발광 소자를 얻을 수 있는 것을 알 수 있다.
표 4에 기재한 바와 같이, 1000cd/m2 부근에서의 발광 소자 D 및 발광 소자 E의 구동 전압(D: 7.3V, E: 7.5V)은 비교 발광 소자 a(8.1V)와 비교하여 낮다. 발광 소자 D 및 발광 소자 E의 색도는 비교 발광 소자 b와 거의 같다. 발광 소자 D 및 발광 소자 E의 전류 효율은 비교 발광 소자 b와 거의 같다. 발광 소자 D 및 발광 소자 E의 외부 양자 효율은 비교 발광 소자 b와 거의 같다.
상술한 바와 같이, 발광 소자 D 및 발광 소자 E는 비교 발광 소자 b와 비교하여 구동 전압이 낮다는 결과를 얻었다. 즉, 발광 소자 D 및 발광 소자 E에 제공된 제 2 층이 현저한 효과를 나타내고, 제 2 층을 가짐으로써 발광 소자를 저전압으로 구동할 수 있는 것을 알 수 있었다.
본 실시예에서 프탈로시아닌계 재료로서 페녹시기를 갖는 프탈로시안 유도체인 PhO-VOPc는 용매에 용해할 수 있다. 따라서, 발광 소자를 형성하는 데 취급하기 쉽다. 또한, 용매에 용해할 수 있기 때문에 성막에 사용하는 장치의 메인터넌스가 용이해진다.
(실시예 3)
본 실시예에서는 본 발명의 일 형태인 발광 소자에 대하여 도 16 및 도 17을 사용하여 설명한다. 본 실시예에서는 발광 소자 F 및 발광 소자 G, 및 비교 발광 소자 c를 제작하고, 동작 특성을 비교하였다. 본 실시예에서 사용한 재료의 구조식을 이하에 나타낸다. 또한, 실시예 1에서 사용한 재료의 구조식은 생략하였다.
Figure pat00011
본 실시예의 발광 소자 F, 발광 소자 G, 및 비교 발광 소자 c의 제작 방법을 이하에 기재한다. 발광 소자 F와 발광 소자 G는 제 1 EL층, 제 1 층, 및 제 2 EL층의 구성이 다르다. 발광 소자 F와 비교 발광 소자 c는 제 2 층의 유무가 다르다. 그 외의 구성은 같으므로 이하에 아울러 설명한다.
우선, 스퍼터링법에 의하여 유리 기판 위에 실리콘 또는 산화실리콘을 함유하는 인듐 주석 산화물을 막 두께가 110nm가 되도록 성막하여 양극을 형성하였다(전극 면적 2mm×2mm).
다음에, 양극이 형성된 면이 하방을 향하도록 양극이 형성된 유리 기판을 진공 증착 장치 내의 성막실에 설치된 기판 홀더에 고정시키고, 10- 4Pa정도까지 감압한 후, 정공 수송성 물질인 9-페닐-3-[4-(10-페닐-9-안트릴)페닐]-9H-카르바졸(약칭: PCzPA) 또는 NPB와, 억셉터성 물질인 산화몰리브덴(Ⅵ)을 동시 증착함으로써, PCzPA 또는 NPB와 산화몰리브덴(Ⅵ)을 함유하는 층을 형성하였다. 그 막 두께를 50nm로 하고, PCzPA 또는 NPB와 산화몰리브덴(Ⅵ) 비율은 질량비로 4:1(=PCzPA 또는 NPB:산화몰리브덴(VI))이 되도록 조절하였다. 발광 소자 F 및 비교 발광 소자 c에서는 PCzPA와 산화몰리브덴(VI)을 함유한 층을 형성하였다. 발광 소자 G에서는 NPB와 산화몰리브덴(VI)을 함유한 층을 형성하였다. 동시 증착법이란, 하나의 처리실 내에서 복수의 증발원으로부터 동시에 증착을 행하는 증착법이다. PCzPA 또는 NPB와 산화몰리브덴(Ⅵ)을 함유한 층은 유기 화합물과 무기 화합물을 복합하여 이루어진 복합 재료를 함유한 층이고, 전압을 인가하였을 때는 전하 발생층으로서 기능한다.
다음에, 저항 가열을 사용한 증착법에 의하여, PCzPA 또는 NPB를 막 두께가 10nm가 되도록 성막하여 제 1 정공 수송층을 형성하였다. 발광 소자 F 및 비교 발광 소자 c에서는 PCzPA를 성막하였다. 발광 소자 G에서는 NPB를 성막하였다.
다음에, CzPA와 2PCAPA를 동시 증착하여 제 1 발광층을 형성하였다. CzPA와 2PCAPA의 질량비는 1:0.05(=CzPA:2PCAPA)가 되도록 조절하였다. CzPA는 전자 수송성을 갖는 물질이고, 2PCAPA는 녹색 발광을 나타내는 물질이다. 막 두께는 30nm로 하였다.
다음에, 저항 가열을 사용한 증착법에 의하여 Alq를 막 두께가 10nm가 되도록 성막함으로써, 제 1 전자 수송성 물질을 함유한 층을 형성하였다.
이로써, 전하 발생층, 제 1 정공 수송층, 제 1 발광층, 제 1 전자 수송성 물질을 함유한 층을 갖는 제 1 EL층을 형성하였다.
다음에, 저항 가열을 사용한 증착법에 의하여 BPhen을 막 두께가 10nm가 되도록 성막하였다. 이어서, 저항 가열을 사용한 증착법에 의하여 산화리튬(Li2O)을 막 두께가 0.1nm 정도가 되도록 형성하였다. BPhen은 전자 수송성 물질이고, BPhen을 함유한 층과 산화리튬을 함유한 층을 적층시킴으로써 제 3 층을 형성하였다.
이어서, 발광 소자 F 및 발광 소자 G에는 저항 가열을 사용한 증착법에 의하여 프탈로시아닌계 재료로서 CuPc를 막 두께가 2nm 정도가 되도록 성막하여 제 2 층을 형성하였다. 비교 발광 소자 c에는 제 2 층을 형성하지 않았다.
다음에, 정공 수송성 물질인 PCzPA 또는 NPB와 억셉터성 물질인 산화몰리브덴(VI)을 동시 증착함으로써 제 1 층을 형성하였다. 그 막 두께를 60nm로 하고, PCzPA 또는 NPB와 산화몰리브덴(VI)의 비율은 질량비로 4:1(PCzPA 또는 NPB:산화몰리브덴(VI))이 되도록 조절하였다. 발광 소자 F 및 비교 발광 소자 c에서는 PCzPA와 산화몰리브덴(VI)을 함유한 층을 형성하였다. 발광 소자 G에서는 NPB와 산화몰리브덴(VI)을 함유한 층을 형성하였다.
다음에, 저항 가열을 사용한 증착법에 의하여 PCzPA 또는 NPB를 막 두께가 10nm가 되도록 성막함으로써 제 2 정공 수송층을 형성하였다. 발광 소자 F 및 비교 발광 소자 c에서는 PCzPA를 성막하였다. 발광 소자 G에서는 NPB를 성막하였다.
다음에, CzPA와 2PCAPA를 동시 증착하여 제 2 발광층을 형성하였다. CzPA와 2PCAPA의 질량비는 1:0.05(=CzPA:2PCAPA)가 되도록 조절하였다. CzPA는 전자 수송성을 갖는 물질이고, 2PCAPA는 녹색 발광을 나타내는 물질이다. 막 두께는 30nm로 하였다.
다음에, 저항 가열을 사용한 증착법에 의하여 Alq를 막 두께가 10nm가 되도록 성막함으로써, 제 2 전자 수송성 물질을 함유한 층을 형성하였다.
다음에, 저항 가열을 사용한 증착법에 의하여 BPhen을 막 두께가 20nm가 되도록 성막하여 제 3 전자 수송성 물질을 함유한 층을 형성하였다. 이어서, 저항 가열을 사용한 증착법에 의하여 불화리튬(LiF)을 막 두께가 1nm 정도가 되도록 형성하여 전자 주입층을 형성하였다.
이로써, 제 2 정공 수송층, 제 2 발광층, 제 2 전자 수송성 물질을 함유한 층, 제 3 전자 수송성 물질을 함유한 층, 전자 주입층을 갖는 제 2 EL층을 형성하였다.
다음에, 알루미늄을 막 두께가 200nm가 되도록 성막하여 음극을 형성함으로써, 발광 소자 F, 발광 소자 G, 및 비교 발광 소자 c를 제작하였다.
표 5에 발광 소자 F, 발광 소자 G, 및 비교 발광 소자 c의 소자 구조를 기재한다. 발광 소자 F 및 발광 소자 G는 실시형태 1, 실시형태 2, 또는 실시형태 4에 기재한 발광 소자에 상당한다.
[표 5]
Figure pat00012
상술한 공정으로 얻어진 발광 소자 F, 발광 소자 G, 및 비교 발광 소자 c를 질소 분위기하의 글로브 박스 내에서 발광 소자가 대기에 노출되지 않도록 밀봉하는 작업을 행하였다. 그 후, 발광 소자 F, 발광 소자 G, 및 비교 발광 소자 c의 동작 특성을 측정하였다. 측정은 실온(25℃로 유지된 분위기)에서 행하였다. 또한, 어느 발광 소자로부터나 파장 520nm 부근에 발광 물질인 2PCAPA로부터의 녹색 발광을 얻을 수 있다.
발광 소자 F, 발광 소자 G, 및 비교 발광 소자 c의 전압-전류 밀도 특성을 도 16에 도시하고, 전류 밀도-전류 효율 특성을 도 17에 도시한다. 또한, 1000cd/m2 부근에서의 각 소자의 주된 초기 특성 값을 표 6에 정리하였다.
[표 6]
Figure pat00013
도 16에 의거하여 발광 소자 F 및 발광 소자 G는 비교 발광 소자 c와 비교하여 제 2 층을 갖기 때문에 같은 전압을 인가하였을 때 전류 밀도가 큰 발광 소자를 얻을 수 있는 것을 알 수 있다. 바꿔 말하면, 발광 소자 F 및 발광 소자 G는 비교 발광 소자 c와 비교하여 같은 전류 밀도를 얻기 위하여 필요한 구동 전압이 낮은 것을 알 수 있다.
또한, 도 17에 도시한 전류 밀도-전류 효율 특성에서 발광 소자 F 및 발광 소자 G는 비교 발광 소자 c와 어느 전류 밀도에서나 전류 효율이 거의 같은 것을 알 수 있다.
도 16과 도 17의 결과에 의거하여 발광 소자 F 및 발광 소자 G는 비교 발광 소자 c와 비교하여 전류 효율은 같은 수준을 유지하면서 구동 전압이 낮은 발광 소자를 얻을 수 있는 것을 알 수 있다.
표 6에 기재한 바와 같이, 1000cd/m2 부근에서의 발광 소자 F 및 발광 소자 G의 구동 전압(F: 7.3V, G: 7.2V)은 비교 발광 소자 c(8.0V)와 비교하여 낮다. 발광 소자 F 및 발광 소자 G의 색도는 비교 발광 소자 c와 거의 같다. 발광 소자 F 및 발광 소자 G의 전류 효율은 비교 발광 소자 c와 거의 같다. 발광 소자 F 및 발광 소자 G의 외부 양자 효율은 비교 발광 소자 c와 거의 같다.
상술한 바와 같이, 발광 소자 F 및 발광 소자 G는 비교 발광 소자 c와 비교하여 구동 전압이 낮다는 결과를 얻었다. 즉, 발광 소자 F 및 발광 소자 G에 제공된 제 2 층이 현저한 효과를 나타내고, 제 2 층을 가짐으로써 발광 소자를 저전압으로 구동할 수 있는 것을 알 수 있었다.
또한, 도 17 및 표 6에 의거하여 전하 발생층 및 제 1 층에 PCzPA와 산화몰리브덴(VI)을 함유한 층을 사용한 발광 소자 F는 전하 발생층 및 제 1 층에 NPB와 산화몰리브덴(VI)을 함유한 발광 소자 G와 비교하여 전류 효율이 높은 것을 알 수 있었다. 이 이유는 NPB와 산화몰리브덴(VI)을 함유한 층과 비교하여 PCzPA와 산화몰리브덴(VI)을 함유한 층은 전하 이동 상호 작용에 기인한 흡수가 거의 없으므로 빛을 추출하는 데 손실이 적기 때문인 것으로 생각된다.
(실시예 4)
본 실시예에서는 본 발명의 일 형태인 발광 소자에 대하여 도 18 및 도 19를 사용하여 설명한다. 본 실시예에서는 발광 소자 H 및 발광 소자 I, 및 비교 발광 소자 d를 제작하고, 동작 특성을 비교하였다.
본 실시예의 발광 소자 H, 발광 소자 I, 및 비교 발광 소자 d는 제 3 층 외는 실시예 3에 기재한 발광 소자 F, 발광 소자 G, 및 비교 발광 소자 c와 같은 방법으로 제작하였다. 발광 소자 H, 발광 소자 I, 및 비교 발광 소자 d에서는 저항 가열을 사용한 증착법에 의하여 리튬(Li)을 첨가한 BPhen을 막 두께가 10nm가 되도록 성막하여 제 3 층을 형성하였다. BPhen과 Li의 질량비는 1:002(=BPhen:Li)가 되도록 조절하였다. 상술한 바와 같이, 발광 소자 H, 발광 소자 I, 및 비교 발광 소자 d를 얻었다.
표 7에 발광 소자 H, 발광 소자 I, 및 비교 발광 소자 d의 소자 구조를 기재한다. 발광 소자 H, 발광 소자 I는 실시형태 1, 실시형태 3, 또는 실시형태 4에 기재한 발광 소자에 상당한다.
[표 7]
Figure pat00014
얻어진 발광 소자 H, 발광 소자 I, 및 비교 발광 소자 d의 동작 특성을 측정하였다. 측정은 실온(25℃로 유지된 분위기)에서 행하였다. 또한, 어느 발광 소자로부터나 파장 520nm 부근에 발광 물질인 2PCAPA로부터의 녹색 발광을 얻을 수 있다.
발광 소자 H, 발광 소자 I, 및 비교 발광 소자 d의 전압-전류 밀도 특성을 도 18에 도시하고, 전류 밀도-전류 효율 특성을 도 19에 도시한다. 또한, 1000cd/m2 부근에서의 각 소자의 주된 초기 특성 값을 표 8에 정리하였다.
[표 8]
Figure pat00015
도 18에 의거하여 발광 소자 H 및 발광 소자 I는 비교 발광 소자 d와 비교하여 제 2 층을 갖기 때문에 같은 전압을 인가하였을 때 전류 밀도가 큰 발광 소자를 얻을 수 있는 것을 알 수 있다. 바꿔 말하면, 발광 소자 H 및 발광 소자 I는 비교 발광 소자 d와 비교하여 같은 전류 밀도를 얻기 위하여 필요한 구동 전압이 낮은 것을 알 수 있다.
또한, 도 19에 도시한 전류 밀도-전류 효율 특성에서 발광 소자 H 및 발광 소자 I는 비교 발광 소자 d와 어느 전류 밀도에서나 전류 효율이 거의 같은 것을 알 수 있다.
도 18과 도 19의 결과에 의거하여 발광 소자 H 및 발광 소자 I는 비교 발광 소자 d와 비교하여 전류 효율은 같은 수준을 유지하면서 구동 전압이 낮은 발광 소자를 얻을 수 있는 것을 알 수 있다.
표 8에 기재한 바와 같이, 1000cd/m2 부근에서의 발광 소자 H 및 발광 소자 I의 구동 전압(H: 7.6V, I: 7.4V)은 비교 발광 소자 d(7.9V)와 비교하여 낮다. 발광 소자 H 및 발광 소자 I의 색도는 비교 발광 소자 d와 거의 같다. 발광 소자 H 및 발광 소자 I의 전류 효율은 비교 발광 소자 d와 거의 같다. 발광 소자 H 및 발광 소자 I의 외부 양자 효율은 비교 발광 소자 d와 거의 같다.
상술한 바와 같이, 발광 소자 H 및 발광 소자 I는 비교 발광 소자 d와 비교하여 구동 전압이 낮다는 결과를 얻었다. 즉, 발광 소자 H 및 발광 소자 I에 제공된 제 2 층이 현저한 효과를 나타내고, 제 2 층을 가짐으로써 발광 소자를 저전압으로 구동할 수 있는 것을 알 수 있었다.
또한, 도 19 및 표 8에 의거하여 전하 발생층 및 제 1 층에 PCzPA와 산화몰리브덴(VI)을 함유한 층을 사용한 발광 소자 H는 전하 발생층 및 제 1 층에 NPB와 산화몰리브덴(VI)을 함유한 발광 소자 I와 비교하여 전류 효율이 높은 것을 알 수 있었다. 이 이유는 NPB와 산화몰리브덴(VI)을 함유한 층과 비교하여 PCzPA와 산화몰리브덴(VI)을 함유한 층은 전하 이동 상호 작용에 기인한 흡수가 거의 없으므로 빛을 추출하는 데 손실이 적기 때문인 것으로 생각된다.
(실시예 5)
본 실시예에서는 본 발명의 일 형태인 발광 소자에 대하여 도 20 및 도 21을 사용하여 설명한다. 본 실시예에서는 발광 소자 J 및 발광 소자 K, 및 비교 발광 소자 e를 제작하고, 동작 특성을 비교하였다.
본 실시예의 발광 소자 J, 발광 소자 K, 및 비교 발광 소자 e는 제 3 층 외는 실시예 3에 기재한 발광 소자 F, 발광 소자 G, 및 비교 발광 소자 c와 같은 방법으로 제작하였다. 발광 소자 J, 발광 소자 K, 및 비교 발광 소자 e에서는 저항 가열을 사용한 증착법에 의하여 칼슘(Ca)을 첨가한 BPhen을 막 두께가 10nm가 되도록 성막하여 제 3 층을 형성하였다. BPhen과 Ca의 질량비는 1:0.08(=BPhen:Ca)이 되도록 조절하였다. 상술한 바와 같이, 발광 소자 J, 발광 소자 K, 및 비교 발광 소자 e를 얻었다.
표 9에 발광 소자 J, 발광 소자 K, 및 비교 발광 소자 e의 소자 구조를 기재한다. 발광 소자 J, 발광 소자 K는 실시형태 1, 실시형태 3, 또는 실시형태 4에 기재한 발광 소자에 상당한다.
[표 9]
Figure pat00016
얻어진 발광 소자 J, 발광 소자 K, 및 비교 발광 소자 e의 동작 특성을 측정하였다. 측정은 실온(25℃로 유지된 분위기)에서 행하였다. 또한, 어느 발광 소자로부터나 파장 520nm 부근에 발광 물질인 2PCAPA로부터의 녹색 발광을 얻을 수 있다.
발광 소자 J, 발광 소자 K, 및 비교 발광 소자 e의 전압-전류 밀도 특성을 도 20에 도시하고, 전류 밀도-전류 효율 특성을 도 21에 도시한다. 또한, 1000cd/m2 부근에서의 각 소자의 주된 초기 특성 값을 표 10에 정리하였다.
[표 10]
Figure pat00017
도 20에 의거하여 발광 소자 J 및 발광 소자 K는 비교 발광 소자 e와 비교하여 제 2 층을 갖기 때문에 같은 전압을 인가하였을 때 전류 밀도가 큰 발광 소자를 얻을 수 있는 것을 알 수 있다. 바꿔 말하면, 발광 소자 J 및 발광 소자 K는 비교 발광 소자 e와 비교하여 같은 전류 밀도를 얻기 위하여 필요한 구동 전압이 낮은 것을 알 수 있다.
또한, 도 21에 도시한 전류 밀도-전류 효율 특성에서 발광 소자 J 및 발광 소자 K는 비교 발광 소자 e와 어느 전류 밀도에서나 전류 효율이 거의 같은 것을 알 수 있다.
도 20과 도 21의 결과에 의거하여 발광 소자 J 및 발광 소자 K는 비교 발광 소자 e와 비교하여 전류 효율은 같은 수준을 유지하면서 구동 전압이 낮은 발광 소자를 얻을 수 있는 것을 알 수 있다.
표 10에 기재한 바와 같이, 1000cd/m2 부근에서의 발광 소자 J 및 발광 소자 K의 구동 전압(J: 7.6V, K: 7.5V)은 비교 발광 소자 e(8.2V)와 비교하여 낮다. 발광 소자 J 및 발광 소자 K의 색도는 비교 발광 소자 e와 거의 같다. 발광 소자 J 및 발광 소자 K의 전류 효율은 비교 발광 소자 e와 거의 같다. 발광 소자 J 및 발광 소자 K의 외부 양자 효율은 비교 발광 소자 e와 거의 같다.
상술한 바와 같이, 발광 소자 J 및 발광 소자 K는 비교 발광 소자 e와 비교하여 구동 전압이 낮다는 결과를 얻었다. 즉, 발광 소자 J 및 발광 소자 K에 제공된 제 2 층이 현저한 효과를 나타내고, 제 2 층을 가짐으로써 발광 소자를 저전압으로 구동할 수 있는 것을 알 수 있었다.
또한, 도 21 및 표 10에 의거하여 전하 발생층 및 제 1 층에 PCzPA와 산화몰리브덴(VI)을 함유한 층을 사용한 발광 소자 J는 전하 발생층 및 제 1 층에 NPB와 산화몰리브덴(VI)을 함유한 발광 소자 K와 비교하여 전류 효율이 높은 것을 알 수 있었다. 이 이유는 NPB와 산화몰리브덴(VI)을 함유한 층과 비교하여 PCzPA와 산화몰리브덴(VI)을 함유한 층은 전하 이동 상호 작용에 기인한 흡수가 거의 없으므로 빛을 추출하는 데 손실이 적기 때문인 것으로 생각된다.
104: 제 3 층 105: 제 2 층
106: 제 1 층 113: LUMO 준위
114: LUMO 준위 115: 억셉터 준위
117: LUMO 준위 201-m: EL층
201-m+1: EL층 202-m: 중간층

Claims (23)

  1. 발광 소자에 있어서:
    양극과 음극 사이에 n(n은 2 이상의 자연수)층의 EL층들,
    m(m은 자연수, 1≤m≤n-1)번째 EL층과 (m+1)번째 EL층 사이에서, 상기 (m+1)번째 EL 층 아래에서 상기 (m+1)번째 EL 층과 접하는 제 1 층,
    상기 m번째 EL층과 상기 제 1층 사이에서, 상기 제 1 층 아래에서 상기 제 1 층과 접하는 제 2 층, 및
    상기 m번째 EL층과 상기 제 2 층 사이에서, 상기 제 2 층 아래에서 상기 제 2 층과 접하는 제 3 층을 포함하고,
    상기 제 1 층은 유기 화합물과 억셉터성 물질을 함유하고,
    상기 제 2 층은 단일 막이고,
    상기 제 2 층은 프탈로시아닌계 재료를 함유하고,
    상기 제 3 층은 알칼리 금속, 알칼리 토류 금속, 희토류 금속, 알칼리 금속 화합물, 알칼리 토류 금속 화합물, 또는 희토류 금속 화합물을 함유하는, 발광 소자.
  2. 발광 소자에 있어서:
    양극과 음극 사이에 n(n은 2 이상의 자연수)층의 EL층들,
    m(m은 자연수, 1≤m≤n-1)번째 EL층과 (m+1)번째 EL층 사이에서, 상기 (m+1)번째 EL 층 아래에서 상기 (m+1)번째 EL 층과 접하는 제 1 층,
    상기 m번째 EL층과 상기 제 1층 사이에서, 상기 제 1 층 아래에서 상기 제 1 층과 접하는 제 2 층, 및
    상기 m번째 EL층과 상기 제 2 층 사이에서, 상기 제 2 층 아래에서 상기 제 2 층과 접하는 제 3 층을 포함하고,
    상기 제 1 층은 유기 화합물과 억셉터성 물질을 함유하고,
    상기 제 2 층은 단일 막이고,
    상기 제 2 층은 프탈로시아닌계 재료의 층이고,
    상기 제 3 층은 알칼리 금속, 알칼리 토류 금속, 희토류 금속, 알칼리 금속 화합물, 알칼리 토류 금속 화합물, 또는 희토류 금속 화합물을 함유하는, 발광 소자.
  3. 제 1 항에 있어서,
    상기 제 2 층은 상기 프탈로시아닌계 재료로 형성되는, 발광 소자.
  4. 제 1 항 또는 제 2 항에 있어서,
    상기 제 2 층은 알칼리 금속, 알칼리 토류 금속, 희토류 금속, 알칼리 금속 화합물, 알칼리 토류 금속 화합물, 또는 희토류 금속 화합물을 더 함유하는, 발광 소자.
  5. 제 1 항 또는 제 2 항에 있어서,
    상기 제 3 층은 리튬을 함유하고,
    상기 제 2 층은 리튬을 더 함유하는, 발광 소자.
  6. 제 1 항 또는 제 2 항에 있어서,
    상기 억셉터성 물질은 천이 금속 산화물 또는 원소 주기율표의 제 4 족 내지 제 8 족 중 어느 하나에 속하는 금속의 산화물인, 발광 소자.
  7. 제 1 항 또는 제 2 항에 있어서,
    상기 억셉터성 물질은 산화몰리브덴인, 발광 소자.
  8. 제 1 항 또는 제 2 항에 있어서,
    상기 제 1 층은 상기 유기 화합물을 함유한 층과 상기 억셉터성 물질을 함유한 층의 적층 구조를 갖는, 발광 소자.
  9. 제 1 항 또는 제 2 항에 있어서,
    상기 제 2 층은 발광할 수 없는, 발광 소자.
  10. 제 1 항 또는 제 2 항에 있어서,
    상기 프탈로시아닌계 재료는 하기 구조식으로 나타내어지는 재료들 중 어느 것인, 발광 소자.
    Figure pat00018
  11. 제 1 항 또는 제 2 항에 있어서,
    상기 프탈로시아닌계 재료는 하기 구조식으로 나타내어지는 재료인, 발광 소자.

    Figure pat00019
  12. 제 1 항 또는 제 2 항에 있어서,
    상기 유기 화합물은 정공 수송성 물질인, 발광 소자.
  13. 제 1 항 또는 제 2 항에 있어서,
    상기 프탈로시아닌계 재료는 페녹시기를 갖는, 발광 소자.
  14. 제 1 항 또는 제 2 항에 있어서,
    상기 제 1 층은 전하 발생층으로서 기능하고, 정공 수송성을 갖고,
    상기 제 3 층은 전자 수송성을 갖는, 발광 소자.
  15. 제 1 항 또는 제 2 항에 있어서,
    상기 제 3 층은 전자 수송성 물질을 더 포함하고,
    상기 제 3 층에서, 상기 알칼리 금속, 상기 알칼리 토류 금속, 상기 희토류 금속, 상기 알칼리 금속 화합물, 상기 알칼리 토류 금속 화합물, 또는 상기 희토류 금속 화합물의 상기 전자 수송성 물질에 대한 질량비는 0.001:1에서 0.1:1인, 발광 소자.
  16. 제 1 항 또는 제 2 항에 있어서,
    상기 제 3 층은 전자 수송성 물질을 더 포함하고,
    상기 제 3 층은 상기 전자 수송성 물질을 함유한 층과, 상기 알칼리 금속, 상기 알칼리 토류 금속, 상기 희토류 금속, 상기 알칼리 금속 화합물, 상기 알칼리 토류 금속 화합물, 또는 상기 희토류 금속 화합물을 함유한 층의 적층 구조를 갖는, 발광 소자.
  17. 제 1 항 또는 제 2 항에 있어서,
    상기 제 2 층에서, 상기 알칼리 금속, 상기 알칼리 토류 금속, 상기 희토류 금속, 상기 알칼리 금속 화합물, 상기 알칼리 토류 금속 화합물, 또는 상기 희토류 금속 화합물의 상기 프탈로시아닌계 재료에 대한 질량비는 0.001:1에서 0.1:1인, 발광 소자.
  18. 제 1 항 또는 제 2 항에 있어서,
    상기 제 2 층의 LUMO 준위는 -5.0eV 이상 -3.0eV 이하인, 발광 소자.
  19. 제 1 항 또는 제 2 항에 있어서,
    상기 제 2 층의 LUMO 준위는 상기 제 1 층에서의 상기 억셉터성 물질의 LUMO 준위와 상기 m번째 EL층의 LUMO 준위 사이에 위치되는, 발광 소자.
  20. 제 1 항 또는 제 2 항에 있어서,
    상기 유기 화합물은 아민 골격을 갖지 않는, 발광 소자.
  21. 제 1 항 또는 제 2 항에 따른 상기 발광 소자를 포함하는, 발광 장치.
  22. 제 21 항에 따른 상기 발광 장치를 포함하는, 전자 기기.
  23. 제 21 항에 따른 상기 발광 장치를 포함하는, 조명 장치.
KR1020180100065A 2010-03-31 2018-08-27 발광 소자, 발광 장치, 전자기기, 및 조명 장치 Active KR102050219B1 (ko)

Applications Claiming Priority (2)

Application Number Priority Date Filing Date Title
JP2010082706 2010-03-31
JPJP-P-2010-082706 2010-03-31

Related Parent Applications (1)

Application Number Title Priority Date Filing Date
KR1020110028068A Division KR102087615B1 (ko) 2010-03-31 2011-03-29 발광 소자, 발광 장치, 전자기기, 및 조명 장치

Publications (2)

Publication Number Publication Date
KR20180098506A true KR20180098506A (ko) 2018-09-04
KR102050219B1 KR102050219B1 (ko) 2019-11-29

Family

ID=44697282

Family Applications (2)

Application Number Title Priority Date Filing Date
KR1020110028068A Active KR102087615B1 (ko) 2010-03-31 2011-03-29 발광 소자, 발광 장치, 전자기기, 및 조명 장치
KR1020180100065A Active KR102050219B1 (ko) 2010-03-31 2018-08-27 발광 소자, 발광 장치, 전자기기, 및 조명 장치

Family Applications Before (1)

Application Number Title Priority Date Filing Date
KR1020110028068A Active KR102087615B1 (ko) 2010-03-31 2011-03-29 발광 소자, 발광 장치, 전자기기, 및 조명 장치

Country Status (5)

Country Link
US (1) US9276221B2 (ko)
JP (1) JP5801580B2 (ko)
KR (2) KR102087615B1 (ko)
CN (2) CN105742516B (ko)
TW (1) TWI506121B (ko)

Families Citing this family (32)

* Cited by examiner, † Cited by third party
Publication number Priority date Publication date Assignee Title
SG10201707064RA (en) 2009-09-07 2017-10-30 Semiconductor Energy Lab Light-emitting element, light-emitting device, lighting device, and electronic device
EP2365556B1 (en) 2010-03-08 2014-07-23 Semiconductor Energy Laboratory Co., Ltd. Light-emitting element, light-emitting device, electronic device, and lighting device
CN102201541B (zh) * 2010-03-23 2015-11-25 株式会社半导体能源研究所 发光元件、发光装置、电子设备及照明装置
JP5801579B2 (ja) 2010-03-31 2015-10-28 株式会社半導体エネルギー研究所 発光素子、発光装置、電子機器、及び照明装置
TWI506121B (zh) * 2010-03-31 2015-11-01 Semiconductor Energy Lab 發光元件,發光裝置,電子裝置以及照明裝置
WO2011162105A1 (en) 2010-06-25 2011-12-29 Semiconductor Energy Laboratory Co., Ltd. Light-emitting element, light-emitting device, display, and electronic device
EP2433929B1 (en) 2010-09-27 2013-10-23 Semiconductor Energy Laboratory Co, Ltd. Organic Compound, Light-Emitting Element, Light-Emitting Device, Electronic Device, and Lighting Device
KR101995700B1 (ko) 2011-06-24 2019-07-03 가부시키가이샤 한도오따이 에네루기 켄큐쇼 발광 패널, 발광 패널을 사용한 발광 장치 및 발광 패널의 제작 방법
DE102012208235B4 (de) * 2012-05-16 2021-05-12 Osram Oled Gmbh Optoelektronisches Bauelement und Verfahren zum Herstellen eines optoelektronischen Bauelements
DE102012025879B3 (de) 2012-05-16 2022-02-17 Osram Oled Gmbh Optoelektronisches Bauelement und Verfahren zum Herstellen eines optoelektronischen Bauelements
CN104183733A (zh) * 2013-05-21 2014-12-03 海洋王照明科技股份有限公司 一种有机电致发光器件及其制备方法
CN104183729A (zh) * 2013-05-24 2014-12-03 海洋王照明科技股份有限公司 有机电致发光器件及其制备方法
CN104183778A (zh) * 2013-05-24 2014-12-03 海洋王照明科技股份有限公司 有机电致发光器件及其制备方法
CN104183738A (zh) * 2013-05-24 2014-12-03 海洋王照明科技股份有限公司 有机电致发光器件及其制备方法
CN104253215A (zh) * 2013-06-27 2014-12-31 海洋王照明科技股份有限公司 太阳能电池器件及其制备方法
DE102013107113B4 (de) * 2013-07-05 2024-08-29 Pictiva Displays International Limited Organisches Licht emittierendes Bauelement und Verfahren zur Herstellung eines organischen Licht emittierenden Bauelements
KR101789069B1 (ko) * 2013-09-17 2017-10-23 엘지디스플레이 주식회사 유기 발광 소자
KR102081123B1 (ko) * 2013-10-02 2020-02-26 엘지디스플레이 주식회사 유기 발광 표시 장치
US9929368B2 (en) * 2014-02-06 2018-03-27 Semiconductor Energy Laboratory Co., Ltd. Light-emitting element, lighting device, and electronic appliance
KR20150130224A (ko) * 2014-05-13 2015-11-23 가부시키가이샤 한도오따이 에네루기 켄큐쇼 발광 소자, 발광 장치, 표시 장치, 전자 기기, 및 조명 장치
CN104282843B (zh) * 2014-10-30 2017-04-19 中国科学院长春应用化学研究所 一种黄色有机电致发光器件及其制备方法
KR102294413B1 (ko) 2014-11-18 2021-08-27 삼성디스플레이 주식회사 유기발광 표시장치
DE102015114084A1 (de) * 2015-08-25 2017-03-02 Osram Oled Gmbh Organisches lichtemittierendes Bauelement und Leuchte
DE102015119994A1 (de) * 2015-11-18 2017-05-18 Osram Oled Gmbh Verfahren zur Herstellung einer Schicht, Verwendung der Schicht, Verfahren zur Herstellung eines organischen Licht emittierenden Bauelements und organisches Licht emittierendes Bauelement
KR102611206B1 (ko) * 2016-07-13 2023-12-08 삼성디스플레이 주식회사 유기 발광 소자
CN106783932A (zh) * 2016-12-30 2017-05-31 上海天马有机发光显示技术有限公司 一种有机发光显示面板及装置
DE102017101077B4 (de) * 2017-01-20 2025-06-26 Pictiva Displays International Limited Organisches elektronisches Bauelement
EP3633344A4 (en) * 2017-05-31 2021-03-03 National Institute for Materials Science NANOMECHANICAL SENSOR RECEPTOR MADE OF LOW HYGROSCOPIC MATERIAL AND NANOMECHANICAL SENSOR AS A RECEPTOR
CN107579160B (zh) * 2017-08-10 2020-03-17 上海天马有机发光显示技术有限公司 有机电致发光显示面板及显示装置
CN110175492B (zh) * 2018-07-20 2022-03-01 神盾股份有限公司 光学指纹感测装置
KR102748698B1 (ko) 2018-12-12 2024-12-30 엘지디스플레이 주식회사 유기발광다이오드 및 이를 포함하는 유기발광표시장치
KR102518723B1 (ko) * 2019-10-04 2023-04-07 삼성디스플레이 주식회사 발광 소자 및 이를 포함한 장치

Citations (4)

* Cited by examiner, † Cited by third party
Publication number Priority date Publication date Assignee Title
JP2003272860A (ja) 2002-03-26 2003-09-26 Junji Kido 有機エレクトロルミネッセント素子
KR20040098552A (ko) * 2003-05-13 2004-11-20 이스트맨 코닥 캄파니 n-형 및 p-형 유기 층을 갖는 연결 단위를 갖는 연속단계적 유기 전자 발광 장치
JP2006516814A (ja) * 2003-01-07 2006-07-06 日東電工株式会社 バックライト型極性有機発光素子
KR20070092135A (ko) * 2006-03-08 2007-09-12 가부시키가이샤 한도오따이 에네루기 켄큐쇼 발광소자, 발광장치 및 전자장치

Family Cites Families (82)

* Cited by examiner, † Cited by third party
Publication number Priority date Publication date Assignee Title
JPS6337991A (ja) 1986-08-01 1988-02-18 Toyo Ink Mfg Co Ltd 光学記録媒体
JP2837485B2 (ja) 1990-01-25 1998-12-16 株式会社リコー 光起電力素子
JPH04297076A (ja) 1991-01-31 1992-10-21 Toshiba Corp 有機el素子
JP2901477B2 (ja) 1993-03-24 1999-06-07 株式会社日本触媒 光記録媒体
JP3303526B2 (ja) 1994-06-10 2002-07-22 東洋インキ製造株式会社 正孔輸送材料およびその用途
US5585213A (en) 1994-06-10 1996-12-17 Toyo Ink Manufacturing Co., Ltd. Hole-transporting material and its use
US5998803A (en) 1997-05-29 1999-12-07 The Trustees Of Princeton University Organic light emitting device containing a hole injection enhancement layer
JPH10270171A (ja) 1997-01-27 1998-10-09 Junji Kido 有機エレクトロルミネッセント素子
EP0882768B1 (en) 1997-06-05 2001-12-19 Nippon Shokubai Co., Ltd. Method for producing of phthalocyanine compound
JP3475078B2 (ja) 1997-06-05 2003-12-08 株式会社日本触媒 フタロシアニン化合物の製造方法
US6137223A (en) 1998-07-28 2000-10-24 Eastman Kodak Company Electron-injecting layer formed from a dopant layer for organic light-emitting structure
WO2001015244A1 (en) 1999-08-20 2001-03-01 Emagin Corporation Organic light emitting diode device with high work function metal-oxide anode layer and method of fabrication of same
WO2001023497A1 (en) * 1999-09-30 2001-04-05 Idemitsu Kosan Co., Ltd. Organic electroluminescent element
WO2002071813A1 (en) 2001-03-02 2002-09-12 The Trustees Of Princeton University Double doped-layer, phosphorescent organic light emitting devices
US7071615B2 (en) 2001-08-20 2006-07-04 Universal Display Corporation Transparent electrodes
JP4447445B2 (ja) 2001-11-27 2010-04-07 株式会社半導体エネルギー研究所 発光素子
US6734457B2 (en) 2001-11-27 2004-05-11 Semiconductor Energy Laboratory Co., Ltd. Light emitting device
US7956349B2 (en) 2001-12-05 2011-06-07 Semiconductor Energy Laboratory Co., Ltd. Organic semiconductor element
JP2004031212A (ja) 2002-06-27 2004-01-29 Matsushita Electric Ind Co Ltd 有機電界発光素子
US6717358B1 (en) 2002-10-09 2004-04-06 Eastman Kodak Company Cascaded organic electroluminescent devices with improved voltage stability
CN1781339A (zh) 2003-03-25 2006-05-31 国立大学法人京都大学 发光元件以及有机电致发光元件
US7053412B2 (en) 2003-06-27 2006-05-30 The Trustees Of Princeton University And Universal Display Corporation Grey scale bistable display
JP4210753B2 (ja) 2003-09-11 2009-01-21 独立行政法人産業技術総合研究所 金属錯体デンドリマー及びその用途
JP4210754B2 (ja) 2003-09-11 2009-01-21 独立行政法人産業技術総合研究所 金属錯体デンドリマー及びその用途
TWI407829B (zh) 2003-09-26 2013-09-01 Semiconductor Energy Lab 發光元件和其製法
JP4243237B2 (ja) 2003-11-10 2009-03-25 淳二 城戸 有機素子、有機el素子、有機太陽電池、及び、有機fet構造、並びに、有機素子の製造方法
US7138763B2 (en) 2003-11-14 2006-11-21 Eastman Kodak Company Organic electroluminescent devices having a stability-enhancing layer
US6972431B2 (en) 2003-11-26 2005-12-06 Trustees Of Princeton University Multilayer organic photodetectors with improved performance
JP4352880B2 (ja) 2003-12-02 2009-10-28 セイコーエプソン株式会社 洗浄方法および洗浄装置
WO2005064995A1 (en) 2003-12-26 2005-07-14 Semiconductor Energy Laboratory Co., Ltd. Light-emitting element
JP5137292B2 (ja) 2003-12-26 2013-02-06 株式会社半導体エネルギー研究所 発光素子、発光装置および電気器具
JP5167571B2 (ja) 2004-02-18 2013-03-21 ソニー株式会社 表示素子
US7192659B2 (en) 2004-04-14 2007-03-20 Eastman Kodak Company OLED device using reduced drive voltage
US7598670B2 (en) 2004-05-21 2009-10-06 Semiconductor Energy Laboratory Co., Ltd. Light emitting element and light emitting device
KR101215279B1 (ko) 2004-05-21 2012-12-26 가부시키가이샤 한도오따이 에네루기 켄큐쇼 조명 장치
JP4925569B2 (ja) 2004-07-08 2012-04-25 ローム株式会社 有機エレクトロルミネッセント素子
JP2006295104A (ja) 2004-07-23 2006-10-26 Semiconductor Energy Lab Co Ltd 発光素子およびそれを用いた発光装置
CN100534247C (zh) 2004-08-03 2009-08-26 株式会社半导体能源研究所 发光元件和发光器件
EP1624502B1 (en) 2004-08-04 2015-11-18 Semiconductor Energy Laboratory Co., Ltd. Light-emitting element, display device, and electronic appliance
JP4684042B2 (ja) 2004-08-04 2011-05-18 株式会社半導体エネルギー研究所 発光素子、発光装置および電子機器
US7273663B2 (en) * 2004-08-20 2007-09-25 Eastman Kodak Company White OLED having multiple white electroluminescence units
JP4513060B2 (ja) 2004-09-06 2010-07-28 富士電機ホールディングス株式会社 有機el素子
US7737626B2 (en) 2004-09-30 2010-06-15 Semiconductor Energy Laboratory Co., Ltd. Light emitting element
CN101032040B (zh) 2004-09-30 2012-05-30 株式会社半导体能源研究所 发光元件和发光设备
US7560862B2 (en) 2004-10-22 2009-07-14 Eastman Kodak Company White OLEDs with a color-compensated electroluminescent unit
WO2006049323A1 (en) 2004-11-05 2006-05-11 Semiconductor Energy Laboratory Co., Ltd. Light-emitting element and light emitting device using the same
US20060115673A1 (en) 2004-12-01 2006-06-01 Au Optronics Corporation Organic light emitting device with improved electrode structure
US7494722B2 (en) 2005-02-23 2009-02-24 Eastman Kodak Company Tandem OLED having an organic intermediate connector
US20060251921A1 (en) 2005-05-06 2006-11-09 Stephen Forrest OLEDs utilizing direct injection to the triplet state
US7683536B2 (en) 2005-03-31 2010-03-23 The Trustees Of Princeton University OLEDs utilizing direct injection to the triplet state
US8906517B2 (en) 2005-04-04 2014-12-09 Sony Corporation Organic electroluminescence device
US7629741B2 (en) 2005-05-06 2009-12-08 Eastman Kodak Company OLED electron-injecting layer
US7728517B2 (en) 2005-05-20 2010-06-01 Lg Display Co., Ltd. Intermediate electrodes for stacked OLEDs
US7960038B2 (en) 2005-05-20 2011-06-14 Semiconductor Energy Laboratory Co., Ltd. Light emitting device and electronic appliance using the same
US7687986B2 (en) * 2005-05-27 2010-03-30 Fujifilm Corporation Organic EL device having hole-injection layer doped with metallic oxide
US8017252B2 (en) 2005-06-22 2011-09-13 Semiconductor Energy Laboratory Co., Ltd. Light emitting device and electronic appliance using the same
US8729795B2 (en) 2005-06-30 2014-05-20 Semiconductor Energy Laboratory Co., Ltd. Light emitting device and electronic device
KR100712214B1 (ko) 2005-07-14 2007-04-27 삼성에스디아이 주식회사 유기전계발광표시소자
KR100806812B1 (ko) 2005-07-25 2008-02-25 엘지.필립스 엘시디 주식회사 유기 el 소자 및 그 제조방법
GB0522645D0 (en) * 2005-11-07 2005-12-14 Nuko 70 Ltd Electroluminescent devices
US8021763B2 (en) * 2005-11-23 2011-09-20 The Trustees Of Princeton University Phosphorescent OLED with interlayer
KR101478004B1 (ko) 2005-12-05 2015-01-02 가부시키가이샤 한도오따이 에네루기 켄큐쇼 유기금속 착체, 및 이를 사용하는 발광 소자, 발광 장치 및 전자 기기
JP4853010B2 (ja) 2005-12-15 2012-01-11 コニカミノルタホールディングス株式会社 有機エレクトロルミネッセンス素子および有機エレクトロルミネッセンスディスプレイ
JP4896544B2 (ja) 2006-03-06 2012-03-14 富士フイルム株式会社 有機電界発光素子
US9112170B2 (en) 2006-03-21 2015-08-18 Semiconductor Energy Laboratory Co., Ltd. Light-emitting element, light-emitting device, and electronic device
EP2355198B1 (en) 2006-05-08 2015-09-09 Global OLED Technology LLC OLED electron-injecting layer
EP2018090A4 (en) * 2006-05-11 2010-12-01 Idemitsu Kosan Co ORGANIC ELECTROLUMINESCENCE DEVICE
CN101636856A (zh) 2007-03-22 2010-01-27 日本先锋公司 有机电致发光器件、内含有机电致发光器件的显示装置和发电装置
US8563855B2 (en) 2007-07-23 2013-10-22 Basf Se Tandem photovoltaic cell
TWI479712B (zh) 2007-10-19 2015-04-01 Semiconductor Energy Lab 發光裝置
EP2075860A3 (en) 2007-12-28 2013-03-20 Semiconductor Energy Laboratory Co., Ltd. Light-emitting element, light-emitting device and electronic device
JP4734368B2 (ja) 2008-03-31 2011-07-27 株式会社 日立ディスプレイズ 有機発光表示装置
JP5194950B2 (ja) 2008-03-31 2013-05-08 住友化学株式会社 発光性組成物
JP5690482B2 (ja) 2008-12-01 2015-03-25 株式会社半導体エネルギー研究所 発光素子、発光装置および照明装置
JP5759669B2 (ja) 2008-12-01 2015-08-05 株式会社半導体エネルギー研究所 発光素子、発光装置、電子機器、および照明装置
KR101703524B1 (ko) 2009-05-29 2017-02-07 가부시키가이샤 한도오따이 에네루기 켄큐쇼 발광 소자, 발광 장치, 전자기기 및 조명 장치
US8389979B2 (en) 2009-05-29 2013-03-05 Semiconductor Energy Laboratory Co., Ltd. Light-emitting element, light-emitting device, electronic device, and lighting device
SG10201707064RA (en) 2009-09-07 2017-10-30 Semiconductor Energy Lab Light-emitting element, light-emitting device, lighting device, and electronic device
EP2365556B1 (en) 2010-03-08 2014-07-23 Semiconductor Energy Laboratory Co., Ltd. Light-emitting element, light-emitting device, electronic device, and lighting device
CN102201541B (zh) 2010-03-23 2015-11-25 株式会社半导体能源研究所 发光元件、发光装置、电子设备及照明装置
JP5801579B2 (ja) 2010-03-31 2015-10-28 株式会社半導体エネルギー研究所 発光素子、発光装置、電子機器、及び照明装置
TWI506121B (zh) * 2010-03-31 2015-11-01 Semiconductor Energy Lab 發光元件,發光裝置,電子裝置以及照明裝置

Patent Citations (4)

* Cited by examiner, † Cited by third party
Publication number Priority date Publication date Assignee Title
JP2003272860A (ja) 2002-03-26 2003-09-26 Junji Kido 有機エレクトロルミネッセント素子
JP2006516814A (ja) * 2003-01-07 2006-07-06 日東電工株式会社 バックライト型極性有機発光素子
KR20040098552A (ko) * 2003-05-13 2004-11-20 이스트맨 코닥 캄파니 n-형 및 p-형 유기 층을 갖는 연결 단위를 갖는 연속단계적 유기 전자 발광 장치
KR20070092135A (ko) * 2006-03-08 2007-09-12 가부시키가이샤 한도오따이 에네루기 켄큐쇼 발광소자, 발광장치 및 전자장치

Also Published As

Publication number Publication date
CN102208551B (zh) 2016-03-23
TWI506121B (zh) 2015-11-01
TW201200578A (en) 2012-01-01
KR20110109971A (ko) 2011-10-06
CN102208551A (zh) 2011-10-05
US20110240971A1 (en) 2011-10-06
JP5801580B2 (ja) 2015-10-28
KR102050219B1 (ko) 2019-11-29
CN105742516A (zh) 2016-07-06
KR102087615B1 (ko) 2020-03-12
CN105742516B (zh) 2018-06-08
US9276221B2 (en) 2016-03-01
JP2011228278A (ja) 2011-11-10

Similar Documents

Publication Publication Date Title
KR102050219B1 (ko) 발광 소자, 발광 장치, 전자기기, 및 조명 장치
JP7423728B2 (ja) 発光素子、発光装置、電子機器、及び照明装置
KR102050220B1 (ko) 발광 소자, 발광 장치, 전자기기, 및 조명 장치
KR101955182B1 (ko) 발광 소자, 발광 장치, 전자기기, 및 조명 장치
CN108630826B (zh) 发光元件
KR101753565B1 (ko) 발광 소자, 발광 장치, 전자 기기, 및 조명 장치
KR101729040B1 (ko) 발광 소자, 발광 장치, 전자 기기, 및 조명 장치
WO2019220283A1 (ja) 発光素子、発光装置、電子機器および照明装置
JP2019114780A (ja) 電子デバイス、発光素子、発光装置、電子機器及び照明装置
JP6463891B2 (ja) 発光装置、電子機器、及び照明装置

Legal Events

Date Code Title Description
A107 Divisional application of patent
A201 Request for examination
PA0107 Divisional application

Comment text: Divisional Application of Patent

Patent event date: 20180827

Patent event code: PA01071R01D

Filing date: 20110329

Application number text: 1020110028068

PA0201 Request for examination
PG1501 Laying open of application
E902 Notification of reason for refusal
PE0902 Notice of grounds for rejection

Comment text: Notification of reason for refusal

Patent event date: 20181115

Patent event code: PE09021S01D

E601 Decision to refuse application
PE0601 Decision on rejection of patent

Patent event date: 20190701

Comment text: Decision to Refuse Application

Patent event code: PE06012S01D

Patent event date: 20181115

Comment text: Notification of reason for refusal

Patent event code: PE06011S01I

AMND Amendment
PX0901 Re-examination

Patent event code: PX09011S01I

Patent event date: 20190701

Comment text: Decision to Refuse Application

PX0701 Decision of registration after re-examination

Patent event date: 20190901

Comment text: Decision to Grant Registration

Patent event code: PX07013S01D

Patent event date: 20190801

Comment text: Amendment to Specification, etc.

Patent event code: PX07012R01I

Patent event date: 20190701

Comment text: Decision to Refuse Application

Patent event code: PX07011S01I

X701 Decision to grant (after re-examination)
GRNT Written decision to grant
PR0701 Registration of establishment

Comment text: Registration of Establishment

Patent event date: 20191125

Patent event code: PR07011E01D

PR1002 Payment of registration fee

Payment date: 20191126

End annual number: 3

Start annual number: 1

PG1601 Publication of registration
PR1001 Payment of annual fee

Payment date: 20221017

Start annual number: 4

End annual number: 4

PR1001 Payment of annual fee

Payment date: 20231017

Start annual number: 5

End annual number: 5

PR1001 Payment of annual fee

Payment date: 20241016

Start annual number: 6

End annual number: 6