KR20130040887A - 광학 스택 및 도광체 - Google Patents

광학 스택 및 도광체 Download PDF

Info

Publication number
KR20130040887A
KR20130040887A KR1020127029411A KR20127029411A KR20130040887A KR 20130040887 A KR20130040887 A KR 20130040887A KR 1020127029411 A KR1020127029411 A KR 1020127029411A KR 20127029411 A KR20127029411 A KR 20127029411A KR 20130040887 A KR20130040887 A KR 20130040887A
Authority
KR
South Korea
Prior art keywords
light
optical
light directing
unitary discrete
layer
Prior art date
Legal status (The legal status is an assumption and is not a legal conclusion. Google has not performed a legal analysis and makes no representation as to the accuracy of the status listed.)
Granted
Application number
KR1020127029411A
Other languages
English (en)
Other versions
KR101796806B1 (ko
Inventor
윌리암 에프 에드몬드스
타오 리우
데르롤프스키 존 에프 삼세 반
존 에이 휘틀리
Original Assignee
쓰리엠 이노베이티브 프로퍼티즈 컴파니
Priority date (The priority date is an assumption and is not a legal conclusion. Google has not performed a legal analysis and makes no representation as to the accuracy of the date listed.)
Filing date
Publication date
Application filed by 쓰리엠 이노베이티브 프로퍼티즈 컴파니 filed Critical 쓰리엠 이노베이티브 프로퍼티즈 컴파니
Publication of KR20130040887A publication Critical patent/KR20130040887A/ko
Application granted granted Critical
Publication of KR101796806B1 publication Critical patent/KR101796806B1/ko
Expired - Fee Related legal-status Critical Current
Anticipated expiration legal-status Critical

Links

Images

Classifications

    • GPHYSICS
    • G02OPTICS
    • G02BOPTICAL ELEMENTS, SYSTEMS OR APPARATUS
    • G02B5/00Optical elements other than lenses
    • G02B5/04Prisms
    • GPHYSICS
    • G02OPTICS
    • G02BOPTICAL ELEMENTS, SYSTEMS OR APPARATUS
    • G02B5/00Optical elements other than lenses
    • G02B5/04Prisms
    • G02B5/045Prism arrays
    • FMECHANICAL ENGINEERING; LIGHTING; HEATING; WEAPONS; BLASTING
    • F21LIGHTING
    • F21VFUNCTIONAL FEATURES OR DETAILS OF LIGHTING DEVICES OR SYSTEMS THEREOF; STRUCTURAL COMBINATIONS OF LIGHTING DEVICES WITH OTHER ARTICLES, NOT OTHERWISE PROVIDED FOR
    • F21V11/00Screens not covered by groups F21V1/00, F21V3/00, F21V7/00 or F21V9/00
    • GPHYSICS
    • G02OPTICS
    • G02BOPTICAL ELEMENTS, SYSTEMS OR APPARATUS
    • G02B26/00Optical devices or arrangements for the control of light using movable or deformable optical elements
    • G02B26/08Optical devices or arrangements for the control of light using movable or deformable optical elements for controlling the direction of light
    • GPHYSICS
    • G02OPTICS
    • G02BOPTICAL ELEMENTS, SYSTEMS OR APPARATUS
    • G02B6/00Light guides; Structural details of arrangements comprising light guides and other optical elements, e.g. couplings
    • GPHYSICS
    • G02OPTICS
    • G02BOPTICAL ELEMENTS, SYSTEMS OR APPARATUS
    • G02B6/00Light guides; Structural details of arrangements comprising light guides and other optical elements, e.g. couplings
    • G02B6/0001Light guides; Structural details of arrangements comprising light guides and other optical elements, e.g. couplings specially adapted for lighting devices or systems
    • G02B6/0011Light guides; Structural details of arrangements comprising light guides and other optical elements, e.g. couplings specially adapted for lighting devices or systems the light guides being planar or of plate-like form
    • G02B6/0033Means for improving the coupling-out of light from the light guide
    • G02B6/005Means for improving the coupling-out of light from the light guide provided by one optical element, or plurality thereof, placed on the light output side of the light guide
    • G02B6/0053Prismatic sheet or layer; Brightness enhancement element, sheet or layer
    • GPHYSICS
    • G02OPTICS
    • G02FOPTICAL DEVICES OR ARRANGEMENTS FOR THE CONTROL OF LIGHT BY MODIFICATION OF THE OPTICAL PROPERTIES OF THE MEDIA OF THE ELEMENTS INVOLVED THEREIN; NON-LINEAR OPTICS; FREQUENCY-CHANGING OF LIGHT; OPTICAL LOGIC ELEMENTS; OPTICAL ANALOGUE/DIGITAL CONVERTERS
    • G02F1/00Devices or arrangements for the control of the intensity, colour, phase, polarisation or direction of light arriving from an independent light source, e.g. switching, gating or modulating; Non-linear optics
    • G02F1/01Devices or arrangements for the control of the intensity, colour, phase, polarisation or direction of light arriving from an independent light source, e.g. switching, gating or modulating; Non-linear optics for the control of the intensity, phase, polarisation or colour 
    • G02F1/13Devices or arrangements for the control of the intensity, colour, phase, polarisation or direction of light arriving from an independent light source, e.g. switching, gating or modulating; Non-linear optics for the control of the intensity, phase, polarisation or colour  based on liquid crystals, e.g. single liquid crystal display cells
    • G02F1/133Constructional arrangements; Operation of liquid crystal cells; Circuit arrangements
    • G02F1/1333Constructional arrangements; Manufacturing methods
    • G02F1/1335Structural association of cells with optical devices, e.g. polarisers or reflectors
    • G02F1/1336Illuminating devices
    • G02F1/133602Direct backlight
    • G02F1/133606Direct backlight including a specially adapted diffusing, scattering or light controlling members
    • GPHYSICS
    • G02OPTICS
    • G02FOPTICAL DEVICES OR ARRANGEMENTS FOR THE CONTROL OF LIGHT BY MODIFICATION OF THE OPTICAL PROPERTIES OF THE MEDIA OF THE ELEMENTS INVOLVED THEREIN; NON-LINEAR OPTICS; FREQUENCY-CHANGING OF LIGHT; OPTICAL LOGIC ELEMENTS; OPTICAL ANALOGUE/DIGITAL CONVERTERS
    • G02F1/00Devices or arrangements for the control of the intensity, colour, phase, polarisation or direction of light arriving from an independent light source, e.g. switching, gating or modulating; Non-linear optics
    • G02F1/01Devices or arrangements for the control of the intensity, colour, phase, polarisation or direction of light arriving from an independent light source, e.g. switching, gating or modulating; Non-linear optics for the control of the intensity, phase, polarisation or colour 
    • G02F1/13Devices or arrangements for the control of the intensity, colour, phase, polarisation or direction of light arriving from an independent light source, e.g. switching, gating or modulating; Non-linear optics for the control of the intensity, phase, polarisation or colour  based on liquid crystals, e.g. single liquid crystal display cells
    • G02F1/133Constructional arrangements; Operation of liquid crystal cells; Circuit arrangements
    • G02F1/1333Constructional arrangements; Manufacturing methods
    • G02F1/1335Structural association of cells with optical devices, e.g. polarisers or reflectors
    • G02F1/1336Illuminating devices
    • G02F1/133602Direct backlight
    • G02F1/133606Direct backlight including a specially adapted diffusing, scattering or light controlling members
    • G02F1/133607Direct backlight including a specially adapted diffusing, scattering or light controlling members the light controlling member including light directing or refracting elements, e.g. prisms or lenses
    • YGENERAL TAGGING OF NEW TECHNOLOGICAL DEVELOPMENTS; GENERAL TAGGING OF CROSS-SECTIONAL TECHNOLOGIES SPANNING OVER SEVERAL SECTIONS OF THE IPC; TECHNICAL SUBJECTS COVERED BY FORMER USPC CROSS-REFERENCE ART COLLECTIONS [XRACs] AND DIGESTS
    • Y10TECHNICAL SUBJECTS COVERED BY FORMER USPC
    • Y10TTECHNICAL SUBJECTS COVERED BY FORMER US CLASSIFICATION
    • Y10T428/00Stock material or miscellaneous articles
    • Y10T428/24Structurally defined web or sheet [e.g., overall dimension, etc.]
    • Y10T428/24479Structurally defined web or sheet [e.g., overall dimension, etc.] including variation in thickness
    • Y10T428/24612Composite web or sheet

Landscapes

  • Physics & Mathematics (AREA)
  • General Physics & Mathematics (AREA)
  • Optics & Photonics (AREA)
  • Nonlinear Science (AREA)
  • Mathematical Physics (AREA)
  • Chemical & Material Sciences (AREA)
  • Crystallography & Structural Chemistry (AREA)
  • General Engineering & Computer Science (AREA)
  • Engineering & Computer Science (AREA)
  • Optical Elements Other Than Lenses (AREA)
  • Planar Illumination Modules (AREA)
  • Laminated Bodies (AREA)
  • Liquid Crystal (AREA)
  • Polarising Elements (AREA)
  • Light Guides In General And Applications Therefor (AREA)
  • Securing Globes, Refractors, Reflectors Or The Like (AREA)

Abstract

광학 스택이 개시된다. 광학 스택은 제1 광학 접착제 층, 및 제1 광학 접착제 층 상에 배치된 반사 편광기 층을 포함하는 제1 광학 스택을 포함한다. 반사 편광기 층은 제1 편광 상태의 광을 실질적으로 반사하고 제1 편광 상태에 직교하는 제2 편광 상태의 광을 실질적으로 투과시킨다. 광학 스택은 또한 제2 광학 접착제 층, 제2 광학 접착제 층 상에 배치되고 결합제 중에 분산된 복수의 공극을 포함하는 저굴절률 층, 및 저굴절률 층 상에 배치되고 복수의 단일형 개별 구조물을 포함하는 광 지향 필름을 포함하는 제2 광학 스택을 포함한다. 각각의 단일형 개별 구조물의 일부분은 제1 광학 접착제 층 내로 침투한다. 각각의 단일형 개별 구조물의 일부분은 제1 광학 접착제 층 내로 침투하지 않는다. 각각의 단일형 개별 구조물은 단일형 개별 구조물의 침투 부분과 비침투 부분 사이의 계면에서 침투 깊이 및 침투 기부를 한정한다. 침투 기부는 최소 침투 기부 치수를 갖는다. 복수의 단일형 개별 구조물은 평균 침투 깊이 및 평균 최소 침투 기부 치수를 갖는다. 평균 최소 침투 기부 치수에 대한 평균 침투 깊이의 비는 1.5 이상이다. 제1 광학 스택과 제2 광학 스택 사이의 박리 강도는 약 11.8 g/㎝(30 그램/인치) 초과이다.

Description

광학 스택 및 도광체{OPTICAL STACK AND LIGHTGUIDES}
관련 출원
본 출원은 본 출원과 동일자로 출원되고 참고로 포함되는 다음의 미국 특허 출원들과 관련이 있다: "광 지향 필름(Light Directing Film)"(대리인 문서 번호 65903US002), 및 "광학 스택(Optical Stack)"(대리인 문서 번호 66400US002).
본 발명은 일반적으로 광학 스택(optical stack), 도광체(light guide), 및 이들을 포함하는 디스플레이에 관한 것이다. 특히, 본 발명은 광학적 특성의 손실이 전혀 없거나 거의 없이 감소된 두께 및 높은 박리 강도를 갖는 광학 스택에 관한 것이다.
액정 패널을 포함하는 디스플레이와 같은 평판 디스플레이는 종종 미리결정된 관찰 방향을 따른 디스플레이 휘도를 향상시키기 위해 하나 이상의 광 지향 필름을 포함한다. 그러한 광 지향 필름은 전형적으로 프리즘형 단면 프로파일을 갖는 복수의 선형 미세구조물(microstructure)을 포함한다.
일부 응용에서는 단일 프리즘형 필름이 사용되는 반면에, 다른 응용에서는 2개의 교차된 프리즘형 필름이 채용되며, 이 경우에 2개의 교차된 프리즘형 필름은 종종 서로 수직으로 배향된다.
일반적으로, 본 발명은 광학 스택 및 도광체에 관한 것이다. 일 실시 형태에서, 광학 스택은 제1 광학 접착제 층 및 제1 광학 접착제 층 상에 배치된 반사 편광기 층을 포함하는 제1 광학 스택을 포함한다. 반사 편광기 층은 제1 편광 상태의 광을 실질적으로 반사하고 제1 편광 상태에 직교하는 제2 편광 상태의 광을 실질적으로 투과시킨다. 광학 스택은 또한 제2 광학 접착제 층, 제2 광학 접착제 층 상에 배치되고 결합제(binder) 중에 분산된 복수의 공극(void)을 포함하는 저굴절률 층(low index layer), 및 저굴절률 층 상에 배치되고 복수의 단일형 개별 구조물(unitary discrete structure)을 포함하는 광 지향 필름을 포함하는 제2 광학 스택을 포함한다. 각각의 단일형 개별 구조물의 일부분은 제1 광학 접착제 층 내로 침투한다. 각각의 단일형 개별 구조물의 일부분은 제1 광학 접착제 층 내로 침투하지 않는다. 각각의 단일형 개별 구조물은 단일형 개별 구조물의 침투 부분과 비침투 부분 사이의 계면에서 침투 깊이 및 침투 기부를 한정한다. 침투 기부는 최소 침투 기부 치수를 갖는다. 복수의 단일형 개별 구조물은 평균 침투 깊이 및 평균 최소 침투 기부 치수를 갖는다. 평균 최소 침투 기부 치수에 대한 평균 침투 깊이의 비(ratio)는 1.5 이상이다. 제1 광학 스택과 제2 광학 스택 사이의 박리 강도는 약 11.8 g/㎝(30 그램/인치) 초과이다. 일부 경우에, 제1 광학 스택 및 제2 광학 스택 각각에서 2개의 이웃하는 각각의 주 표면들의 상당한 부분들이 서로 물리적으로 접촉한다. 일부 경우에, 제1 광학 스택 및 제2 광학 스택 각각에서 2개의 이웃하는 각각의 주 표면들의 50% 이상, 또는 70% 이상, 또는 90% 이상이 서로 물리적으로 접촉한다. 일부 경우에, 저굴절률 층의 유효 굴절률은 약 1.3, 또는 약 1.25, 또는 약 1.2, 또는 약 1.15, 또는 약 1.05 이하이다. 일부 경우에, 저굴절률 층의 광학적 탁도(optical haze)는 약 5%, 또는 약 4%, 또는 약 3%, 또는 약 2%, 또는 약 1% 이하이다. 일부 경우에, 저굴절률 층의 광학적 탁도는 약 10%, 또는 약 20%, 또는 약 30%, 또는 40%, 또는 약 50% 이상이다. 일부 경우에, 저굴절률 층은 약 1 마이크로미터 또는 2 마이크로미터 이상인 두께를 갖는다. 일부 경우에, 저굴절률 층은 복수의 입자를 포함한다. 일부 경우에, 저굴절률 층은 결합제 중에 분산된 복수의 상호연결된 공극을 포함한다. 일부 경우에, 제1 광학 스택은 반사 편광기 층 상에 배치되는 광 확산 층을 추가로 포함한다.
일부 경우에, 광학 스택은 단일형 개별 구조물이 제1 광학 접착제 층 내로 침투하지 않는 것을 제외하고는 동일한 구성을 갖는 광학 스택과 비교할 때 작지 않거나 약 10%, 또는 약 5% 이하만큼 작은 평균 유효 투과율을 갖는다. 일부 경우에, 평균 최소 침투 기부 치수에 대한 평균 침투 깊이의 비는 2 이상, 또는 3 이상, 또는 4 이상, 또는 5 이상, 또는 7 이상, 또는 10 이상이다. 일부 경우에, 각각의 단일형 개별 구조물은 기부 및 최소 기부 치수를 가지며, 여기서 복수의 단일형 개별 구조물은 평균 최소 기부 치수를 갖고, 평균 최소 침투 기부 치수는 평균 최소 기부 치수의 약 10%, 또는 약 8%, 또는 약 6%, 또는 약 5%, 또는 약 4%, 또는 약 3% 미만이다. 일부 경우에, 조명 시스템은 도광체, 및 도광체 상에 배치되어 점착된 광학 스택을 포함한다. 저굴절률 층은 내부 전반사 및 향상된 내부 반사 중 적어도 하나에 의해 도광체 내에서의 광의 전파를 촉진한다. 일부 경우에, 도광체는 내부 전반사에 의해 도광체 내에서 전파되는 광을 도광체로부터 추출하기 위한 복수의 광 추출기(light extractor)를 포함한다. 일부 경우에, 디스플레이 시스템은 이미지 형성 패널, 후방 반사기, 및 이미지 형성 패널과 후방 반사기 사이에 배치된 광학 스택을 포함한다.
다른 실시 형태에서, 광학 스택은 제1 광학 접착제 층, 제1 광학 접착제 층 상에 배치되고 결합제 중에 분산된 복수의 공극을 포함하는 저굴절률 층, 저굴절률 층 상에 배치되고 복수의 단일형 개별 구조물을 포함하는 광 지향 필름, 및 광 지향 필름 상에 배치된 제2 광학 접착제 층을 포함한다. 각각의 단일형 개별 구조물의 일부분은 제2 광학 접착제 층 내로 침투한다. 각각의 단일형 개별 구조물의 일부분은 제2 광학 접착제 층 내로 침투하지 않는다. 각각의 단일형 개별 구조물은 단일형 개별 구조물의 침투 부분과 비침투 부분 사이의 계면에서 침투 깊이 및 침투 기부를 한정한다. 침투 기부는 최소 침투 기부 치수를 갖는다. 복수의 단일형 개별 구조물은 평균 침투 깊이 및 평균 최소 침투 기부 치수를 갖는다. 평균 최소 침투 기부 치수에 대한 평균 침투 깊이의 비는 1.5 이상이다. 광 지향 필름과 제2 광학 접착제 층 사이의 박리 강도는 약 11.8 g/㎝(30 그램/인치) 초과이다. 일부 경우에, 광학 스택은 단일형 개별 구조물이 제2 광학 접착제 층 내로 침투하지 않는 것을 제외하고는 동일한 구성을 갖는 광학 스택과 비교할 때 작지 않거나 약 10% 이하만큼 작은 평균 유효 투과율을 갖는다. 일부 경우에, 각각의 단일형 개별 구조물은 기부 및 최소 기부 치수를 가지며, 여기서 복수의 단일형 개별 구조물은 평균 최소 기부 치수를 갖고, 평균 최소 침투 기부 치수는 평균 최소 기부 치수의 약 10% 미만이다.
다른 실시 형태에서, 도광체는 도광체 층 - 상기 도광체 층은 내부 전반사에 의해 도광체 층을 가로질러 광을 전파시키기 위한 것임 -, 및 도광체 층 상에 배치된 복수의 개별 광 추출기를 포함한다. 각각의 개별 광 추출기는 내부 전반사에 의해 도광체 층 내에서 전파되는 광을 도광체 층으로부터 추출하기 위해 도광체 층 내에 부분적으로 매설된다. 일부 경우에, 복수의 개별 광 추출기의 각각의 개별 광 추출기는 도광체 층 내에 매설되지 않은 부분을 갖는다. 일부 경우에, 복수의 개별 광 추출기의 각각의 개별 광 추출기의 굴절률은 도광체 층의 굴절률과는 상이하다. 일부 경우에, 복수의 개별 광 추출기의 각각의 개별 광 추출기의 굴절률은 도광체 층의 굴절률과 같다. 일부 경우에, 도광체는 도광체 층 상에 배치된 광학 필름을 포함하고 복수의 개별 광 추출기를 포함한다.
첨부 도면과 관련하여 본 발명의 다양한 실시 형태들의 이하의 상세한 설명을 고려하면 본 발명이 보다 완전히 이해되고 인식될 수 있다.
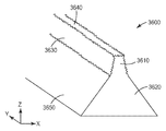
도 1은 광 지향 필름의 개략 측면도.
도 2는 복합형 구조물의 개략 측면도.
도 3은 단일형 개별 구조물의 3차원 개략도.
도 4는 다른 단일형 개별 구조물의 3차원 개략도.
도 5는 광학 층을 부분적으로 침투하는 단일형 개별 구조물의 개략 측면도.
도 6은 광 지향 필름의 3차원 개략도.
도 7은 다른 광 지향 필름의 3차원 개략도.
도 8a 내지 도 8e는 여러 구조물들의 기부의 개략 평면도.
도 9는 단일형 개별 구조물의 3차원 개략도.
도 10은 다른 단일형 개별 구조물의 3차원 개략도.
도 11은 다른 단일형 개별 구조물의 3차원 개략도.
도 12는 또 다른 단일형 개별 구조물의 3차원 개략도.
도 13은 또 다른 단일형 개별 구조물의 3차원 개략도.
도 14는 또 다른 단일형 개별 구조물의 3차원 개략도.
도 15는 광 지향 필름의 개략 측면도.
도 16은 다른 광 지향 필름의 개략 측면도.
도 17은 다른 광 지향 필름의 개략 측면도.
도 18은 또 다른 광 지향 필름의 개략 측면도.
도 19는 디스플레이 시스템의 개략 측면도.
도 20은 광학 스택의 개략 측면도.
도 21은 광 지향 필름의 3차원 개략도.
도 22는 디스플레이 시스템의 개략 측면도.
도 23은 광 지향 필름의 개략 측면도.
도 24는 다른 광 지향 필름의 개략 측면도.
도 25는 단일형 개별 구조물의 3차원 개략도.
도 26은 다른 단일형 개별 구조물의 3차원 개략도.
도 27은 다른 단일형 개별 구조물의 3차원 개략도.
도 28은 또 다른 단일형 개별 구조물의 3차원 개략도.
도 29는 광학 스택의 개략 측면도.
도 30은 다른 광학 스택의 개략 측면도.
도 31은 디스플레이 시스템의 개략 측면도.
도 32는 다른 디스플레이 시스템의 개략 측면도.
도 33은 광 지향 필름의 개략 측면도.
도 34는 광학 스택의 개략 측면도.
도 35는 단일형 개별 구조물의 3차원 개략도.
도 36은 다른 단일형 개별 구조물의 3차원 개략도.
도 37은 광학 시스템의 개략 측면도.
도 38은 절삭 공구의 3차원 개략도.
도 39는 광 지향 필름의 개략 측면도.
도 40은 기재의 개략 측면도.
도 41은 광 지향 필름의 개략 측면도.
도 42는 반사 편광기의 개략 측면도.
도 43은 광 지향 필름의 개략 측면도.
도 44는 다른 광 지향 필름의 개략 측면도.
도 45는 절삭 공구의 예시적인 SEM.
도 46은 광학 층을 부분적으로 침투하는 단일형 개별 구조물의 예시적인 SEM.
도 47은 박리 강도의 함수로서의 평균 유효 투과율의 플롯.
도 48은 디스플레이 시스템의 개략 측면도.
도 49는 광학 스택의 개략 측면도.
도 50은 디스플레이 시스템의 개략 측면도.
도 51은 다른 디스플레이 시스템의 개략 측면도.
도 52는 도광체의 개략 측면도.
본 명세서에서, 다수의 도면에 사용된 동일한 도면 부호는 동일하거나 유사한 특성 및 기능을 갖는 동일하거나 유사한 요소를 가리킨다.
본 발명은 일반적으로 광 지향 필름 및 그러한 광 지향 필름을 포함하는 디스플레이에 관한 것이다. 특히, 본 발명은 광을 지향시키고/지향시키거나 재순환시키기 위한 복수의 단일형 개별 구조물을 갖는 광 지향 필름에 관한 것이다. 광 지향 필름은 광학 접착제 층을 통해 광학 필름 또는 유리의 주 표면과 같은 표면에 접합될 수 있으며, 여기서 단일형 개별 구조물들은 광학 이득(optical gain) 또는 유효 광학 투과율과 같은 광학적 특성의 손실이 전혀 없거나 거의 없이 광학 접착제 층 내로 부분적으로 침투한다.
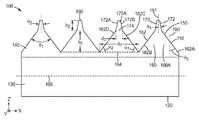
도 1은 구조화된(structured) 제1 주 표면(110) 및 대향하는 제2 주 표면(120)을 포함하는 광 지향 필름(100)의 개략 측면도이다. 구조화된 제1 주 표면(110)은 복수의 단일형 개별 구조물(150)을 포함한다. 각각의 단일형 개별 구조물(150)은 상부 부분 또는 접합 부분(170), 및 하부 부분 또는 광 지향 부분(160)을 포함한다. 본 명세서에 사용된 바와 같이, 단일형 구조물은 구조물의 여러 부분들 또는 일부분들 사이에 내부 또는 내측의 물리적 또는 검출가능한 계면을 갖지 않는 단일 유닛인 구조물을 말한다. 다시 말해서, 단일형 구조물은 구조물의 내부 안에 선명한 계면(sharp interface), 구배형 계면(gradient interface), 또는 분산형 계면(distributed interface)과 같은 임의의 계면을 포함하지 않는다. 일부 경우에, 단일형 구조물은 동일한 재료 조성으로 제조되며, 이는 구조물 내의 여러 위치 또는 부분들이 동일한 재료 조성 및 동일한 굴절률을 갖는다는 것을 의미한다. 일부 경우에, 단일형 구조물은 비균일 재료 조성 또는 굴절률 분포를 가질 수 있다. 예를 들어, 일부 경우에, 단일형 구조물은 예를 들어 단일형 구조물의 두께 방향을 따른 구배형 굴절률 분포를 가질 수 있다.
예를 들어, 각각의 단일형 개별 구조물(150)은 상부 부분(170) 및 하부 부분(160)을 포함하고, 상부 부분 및 하부 부분은 상부 부분과 하부 부분 사이에 물리적 또는 검출가능한 계면 없이 단일 유닛을 형성한다. 다른 예로서, 도 2는 하부 부분(220) 상에 배치되지만 물리적 계면(230)에 의해 하부 부분으로부터 분리된 상부 부분(210)을 포함하는 복합형 구조물(200)의 개략 측면도이다. 따라서, 예시적인 복합형 구조물(200)은 복합형 구조물 내의 상이한 두 부분을 물리적으로 분리시키는 내부의 물리적 계면을 포함한다. 일부 경우에, 부분(210, 220)들은 동일한 재료 조성을 가질 수 있다. 그러한 경우에, 계면(230)이 두 부분들 사이에서 검출될 수 있다면 구조물(200)은 비-단일형인 것으로 여전히 간주된다. 단일형 구조물은 전형적으로 단일 단계에서 제조되거나 제작되며, 이는 단일형 구조물을 제작하는 공정이 다수의 또는 별개의 단계들로 합리적으로 분할될 수 없다는 것을 의미한다. 그러나, 일부 경우에, 단일형 구조물은 둘 이상의 단계에서 제조되거나 제작될 수 있다. 비-단일형 또는 복합형 구조물은 전형적으로 다수의 단계에서 제조된다. 예를 들어, 복합형 구조물(200)은 처음에 하부 부분(220)을 제조하고 이어서 하부 부분 상에 상부 부분(210)을 형성함으로써 제조된다.
다시 도 1을 참조하면, 단일형 개별 구조물(150)들은 응용에 바람직할 수 있는, 임의의 규칙적인 또는 불규칙적인 형상과 같은, 임의의 형상을 가질 수 있다. 예를 들어, 일부 경우에, 단일형 개별 구조물(150)들은 3차원 직선형 몸체, 예를 들어 사면체, 프리즘, 또는 피라미드, 또는 그러한 몸체들의 일부분 또는 조합, 예를 들어 절두체이거나 이를 포함할 수 있다. 일부 경우에, 단일형 개별 구조물(150)들은 3차원 곡선형 몸체, 예를 들어 구체(sphere), 비구체(asphere), 타원체, 회전 타원체, 포물면, 원뿔, 또는 원통의 일부분이거나 이를 포함할 수 있다. 일부 경우에, 단일형 개별 구조물(150)들 중 적어도 일부는 프리즘형 프로파일을 갖는다.
단일형 구조물(150)들은 개별적인 것이며, 이는 각각의 단일형 구조물이 기재(130) 상에 배치된 다른 유사한 단일형 구조물들로부터 분리된 것으로서 그리고 개별적으로 특정될 수 있음을 의미한다. 각각의 단일형 개별 구조물(150)은 주로 광을 지향시키도록 설계된 광 지향 부분(160)을 포함한다. 광 지향 부분(160)은 또한 다른 기능을 수행하도록 설계될 수 있지만, 광 지향 부분의 주 기능은 예를 들어 광을 굴절시키거나 반사, 예를 들어 내부 전반사함으로써 광을 방향전환시키는 것이다.
일반적으로, 광 지향 부분(160)은 응용에 바람직할 수 있는, 임의의 규칙적인 또는 불규칙적인 형상과 같은, 임의의 형상을 가질 수 있다. 예를 들어, 일부 경우에, 광 지향 부분(160)은 3차원 직선형 몸체, 예를 들어 사면체, 프리즘, 또는 피라미드, 또는 그러한 몸체들의 일부분 또는 조합, 예를 들어 절두체이거나 이를 포함할 수 있다. 일부 경우에, 광 지향 부분(160)은 3차원 곡선형 몸체, 예를 들어 구체, 비구체, 타원체, 회전 타원체, 포물면, 원뿔, 또는 원통의 일부분이거나 이를 포함할 수 있다. 일부 경우에, 광 지향 부분(160)은 회전 대칭형의 총알-형상 구조물을 가질 수 있다.
광 지향 부분(160)은 복수의 제1 측부 소면(facet)(162)을 포함한다. 예를 들어, 예시적인 광 지향 필름(100)에서, 광 지향 부분(160A)은 제1 측부 소면(162A) 및 대향하는 제1 측부 소면(162B)을 포함한다. 일반적으로, 광 지향 부분(160)은 2개 이상의 측부 소면을 가질 수 있다. 예를 들어, 도 3은 선형이며 y 축 또는 y 방향을 따라 연장되는 단일형 개별 구조물(300)의 3차원 개략도이다. 단일형 개별 구조물(300)은 대향하는 측부 소면(362A, 362B)들을 포함하는 광 지향 부분(360)을 포함한다. 일부 경우에, 단일형 개별 구조물(300)은 평면(xy 평면)내 사행(serpentine) 변화를 가질 수 있다. 다른 예로서, 도 4는 4개의 제1 측부 소면, 즉 2개의 대향하는 제1 측부 소면(462A, 462C)들, 및 2개의 대향하는 제1 측부 소면(462B, 462D)들을 포함하는 광 지향 부분(460)을 포함하는 단일형 개별 구조물(400)의 3차원 개략도이다.
본 명세서에 개시된 단일형 개별 구조물의 광 지향 부분은 예를 들어 굴절 또는 반사에 의해 광을 방향전환시키도록 주로 설계된다. 예를 들어, 도 5는 상부 또는 접합 부분(570), 및 제1 측부 소면(562A, 562B)들을 포함하고 주로 광을 지향시키도록 설계된 하부 또는 광 지향 부분(560)을 포함하는 단일형 개별 구조물(500)의 개략 측면도이다. 예를 들어, 광 지향 부분(560)은 처음에 광선(540)을 측부 소면(562B)에서 광선(541)으로서 내부 전반사하고 이어서 광선(541)을 측부 소면(562A)에서 광선(542)으로서 내부 전반사함으로써 광선(540)을 광선(542)으로서 지향시킨다. 다른 예로서, 광 지향 부분(560)은 광선(545)을 측부 소면(562A)에서 굴절시킴으로써 광선(545)을 광선(546)으로서 지향시킨다.
다시 도 1을 참조하면, 광 지향 필름(100)의 단일형 개별 구조물(150)의 각각의 광 지향 부분(160)은 광 지향 필름의 평면에 평행한 광 지향 부분의 최대 단면이고 광 지향 부분의 측부 소면들에 의해 제약되는 기부를 갖는다. 예를 들어, 광 지향 부분(160)은 광 지향 필름의 평면(105)에 평행한 방향에서 광 지향 부분의 최대 단면이고 측부 소면(162C, 162D)들에 의해 제약되는 기부(164)를 갖는다. 예시적인 광 지향 필름(100)은 xy 평면 내에 있는 광 지향 필름의 평면(105)을 한정한다.
다른 예로서, 도 6은 구조화된 제1 주 표면(610) 및 대향하는 제2 주 표면(620)을 포함하는 광 지향 필름(600)의 3차원 개략도이다. 광 지향 필름(600)은 광 지향 필름의 평면인 평면(605)을 한정하며, 여기서 예시적인 광 지향 필름(600)에서 평면(605)은 xy 평면에 평행하다. 일반적으로, 광 지향 필름(600)은 광 지향 필름이 구조화된 주 표면(610)을 가질지라도 평면(605)을 대체로 한정할 수 있다. 구조화된 주 표면(610)은 복수의 단일형 개별 구조물(650)을 포함하며, 여기서 적어도 일부의 구조물(650)은 광 지향 부분(660) 및 광 지향 부분 상에 배치된 접합 부분(670)을 포함한다. 각각의 광 지향 부분(660)은 y 방향을 따라 연장되는 선형 구조물이고, y 축 또는 방향을 따라 또한 연장되는 2개의 한정가능한 측부 소면을 포함한다. 각각의 광 지향 부분(660)은 평면(605)에 평행한 방향에서 광 지향 부분의 최대 단면이고 한정되거나 특정될 수 있는 광 지향 부분의 측부 소면들 모두에 의해 제약되는 기부를 갖는다. 예를 들어, 광 지향 부분(660A)은 직사각형 기부(661A)를 포함하고, 이 직사각형 기부는 하나의 측부에서 기부의 에지(613A)를 한정하는 측부 소면(612A)에 의해 그리고 다른 측부에서 기부의 에지(613B)를 한정하는 측부 소면(612B)에 의해 제약되며; 광 지향 부분(660B)은 직사각형 기부(661B)를 포함하고, 이 직사각형 기부는 하나의 측부에서 기부의 에지(623A)를 한정하는 측부 소면(622A)에 의해 그리고 다른 측부에서 기부의 에지(623B)를 한정하는 측부 소면(622B)에 의해 제약되며; 광 지향 부분(660C)은 직사각형 기부(661C)를 포함하고, 이 직사각형 기부는 하나의 측부에서 기부의 에지(623B)를 한정하는 측부 소면(632A)에 의해 그리고 다른 측부에서 기부의 에지(633B)를 한정하는 측부 소면(632B)에 의해 제약되며; 광 지향 부분(660D)은 직사각형 기부(661D)를 포함하고, 이 직사각형 기부는 하나의 측부에서 기부의 에지(643A)를 한정하는 측부 소면(642A)에 의해 그리고 다른 측부에서 기부의 에지(643B)를 한정하는 측부 소면(642B)에 의해 제약된다.
다른 예로서, 도 7은 기부(720A)를 갖는 광 지향 부분(710A), 기부(720B)를 갖는 광 지향 부분(710B), 및 기부(720C)를 갖는 광 지향 부분(710C)을 포함하는 광 지향 필름(700)의 3차원 개략도이다.
다시 도 1을 참조하면, 기부(164)는 예시적인 광 지향 필름(100)에서 x 방향을 따른 최소 치수 d1을 포함한다. 예를 들어, 도 6을 참조하면, 광 지향 부분(660D)의 기부(661D)는 x 방향을 따른 최소 치수(671D)를 갖는다. 다른 예로서, 도 4를 참조하면, 광 지향 부분(460)은 y 방향을 따른 최소 치수(471)를 포함하는 xy 평면 내의 기부(470)를 갖는다. 또 다른 예로서, 도 7을 참조하면, 기부(720A)는 x 방향을 따른 최소 치수(730A)를 갖고, 기부(720B)는 x 방향을 따른 최소 치수(730B)를 가지며, 기부(720C)는 x 방향을 따른 최소 치수(730C)를 갖는다.
일반적으로, 광 지향 부분의 기부의 최소 치수는 응용에 바람직할 수 있는 임의의 값 또는 크기일 수 있다. 예를 들어, 일부 경우에, 최소 치수 d1 은 약 500 마이크로미터 미만, 또는 약 400 마이크로미터 미만, 또는 약 350 마이크로미터 미만, 또는 약 300 마이크로미터 미만, 또는 약 250 마이크로미터 미만, 또는 약 200 마이크로미터 미만, 또는 약 150 마이크로미터 미만, 또는 약 100 마이크로미터 미만, 또는 약 90 마이크로미터 미만, 또는 약 80 마이크로미터 미만, 또는 약 70 마이크로미터 미만, 또는 약 60 마이크로미터 미만, 또는 약 50 마이크로미터 미만, 또는 약 40 마이크로미터 미만, 또는 약 30 마이크로미터 미만, 또는 약 20 마이크로미터 미만일 수 있다.
일반적으로, 광 지향 부분의 기부는 응용에 바람직할 수 있는 임의의 형상, 예를 들어 임의의 규칙적인 또는 불규칙적인 형상, 및 임의의 크기 최소 치수를 가질 수 있다. 예를 들어, 도 8a는 y 방향을 따라 연장되고 최소 치수(810B)를 갖는 선형 기부(810A)의 개략 평면도이고, 도 8b는 y 방향을 따라 연장되고 최소 치수(820B)를 갖는 선형 기부(820A)의 개략 평면도이며, 도 8c는 최소 치수(830B)를 갖는 기부(830A)의 개략 평면도이고, 도 8d는 최소 치수(840B)를 갖는 육각형 기부(840A)의 개략 평면도이고, 도 8e는 y 방향을 따라 연장되고 최소 치수(850B)를 갖는 선형 기부(850A)의 개략 평면도이다. 일반적으로, 광 지향 부분의 기부는 선형일 수 있으며, 이는 기부의 선형 방향을 따른 기부의, 평균 치수와 같은, 치수가 직교 방향을 따른 기부의, 평균 치수와 같은, 치수보다 실질적으로 더 크다는 것을 의미한다. 예를 들어, 그러한 경우에, 직교 방향을 따른 기부의 평균 치수에 대한 선형 방향을 따른 기부의 평균 치수의 비는 약 10 이상, 또는 약 50 이상, 또는 약 100 이상, 또는 약 500 이상, 또는 약 1000 이상이다. 일부 경우에, 예를 들어 직교 방향을 따른 기부의 평균 치수에 대한 선형 방향을 따른 기부의 평균 치수의 비가 약 10,000 이상일 때, 기부와 기부에 관련된 광 지향 부분 및 단일형 개별 구조물은 선형 방향을 따른 무한 또는 무제한 크기 또는 치수를, 그리고 직교 방향을 따른 유한 또는 제한된 크기 또는 치수를 갖는 것으로 간주될 수 있다. 일부 경우에, 광 지향 부분의 기부는 다각형과 같은 직선형 형태의 형상일 수 있다. 일부 경우에, 다각형은 부정다각형(irregular polygon), 예를 들어 직사각형, 또는 정다각형(regular polygon), 예를 들어 정삼각형, 정사각형, 정육각형, 또는 정팔각형일 수 있다. 일부 경우에, 기부는 부등변 사각형, 사다리꼴, 평행 사변형, 마름모꼴, 또는 삼각형일 수 있다. 일부 경우에, 기부는 원, 타원, 또는 포물선과 같은 곡선형 형태의 형상일 수 있다.
다시 도 1을 참조하면, 광 지향 부분(160)은 기부(164) 또는 평면(105)에 수직인 방향에서 기부(164)와 접합 부분(170) 사이의 최대 치수 또는 거리인 최대 높이 h1을 갖는다. 예를 들어, 도 4를 참조하면, 광 지향 부분(460)은 z 방향을 따르고 z 축을 따른 기부(470)와 접합 부분(480) 사이의 최대 크기인 최대 높이(472)를 갖는다. 다른 예로서, 도 7을 참조하면, 광 지향 부분(710A)은 z 방향을 따른 최대 높이(740A)를 갖고, 광 지향 부분(710B)은 z 방향을 따른 최대 높이(740B)를 가지며, 광 지향 부분(710C)은 z 방향을 따른 최대 높이(740C)를 갖는다. 일반적으로, 본 명세서에 개시된 광 지향 부분의 높이는 하나 이상의 방향을 따라 변화할 수 있다. 예를 들어, 도 9는 y 방향을 따라 연장되고 광 지향 부분(960) 및 광 지향 부분 상에 배치된 접합 부분(970)을 포함하는 선형 단일형 개별 구조물(900)의 3차원 개략도이다. 광 지향 부분(960)은 xy 평면 내에 놓여 있고 y 방향을 따라 연장되는 기부(940), 및 z 방향을 따른 기부(940)와 접합 부분(970) 사이의 거리인 높이(950)를 갖는다. 높이(950)는 y 방향을 따라 변화한다. 광 지향 부분(960)은 z 방향을 따른 기부(940)와 접합 부분(970) 사이의 최대 거리인 최대 높이(951), 및 z 방향을 따른 기부(940)와 접합 부분(970) 사이의 최소 거리인 최소 높이(952)를 갖는다.
일부 경우에, 광 지향 부분의 각각의 제1 측부 소면은 광 지향 필름의 평면과 약 30도 내지 약 60도 범위에 있는 각도를 이룬다. 예를 들어, 광 지향 필름(100)에서, 측부 소면(162C)은 광 지향 필름의 평면(105)과 각도 α1을 이루고 측부 소면(162D)은 광 지향 필름의 평면(105)과 각도 α2를 이루며, 여기서 α1 및 α2 각각은 약 30도 내지 약 60도의 범위에 있다. 다른 예로서, 도 7을 참조하면, 광 지향 부분(710B)은 기부(720B)와 각도 β1, β2, β3 및 β4를 이루는 4개의 측부 소면을 포함하고, 여기서 4개의 각도 β1 내지 β4 각각은 약 30도 내지 약 60도의 범위에 있을 수 있다. 일부 경우에, 광 지향 부분의 각각의 제1 측부 소면은 광 지향 필름의 평면과 약 35도 내지 약 55도, 또는 약 40도 내지 약 50도, 또는 약 41도 내지 약 49도, 또는 약 42도 내지 약 48도, 또는 약 43도 내지 약 47도, 또는 약 44도 내지 약 46도의 범위에 있는 각도를 이룬다. 일부 경우에, 광 지향 부분의 각각의 제1 측부 소면은 광 지향 필름의 평면과 약 45도인 각도를 이룬다. 예를 들어, 일부 경우에, 각도 α1 및 α2 각각은 약 45도일 수 있다.
다시 도 1을 참조하면, 단일형 개별 구조물(150)은 광 지향 필름을 기재에 접합시키도록 주로 설계된 접합 부분(170)을 포함한다. 일부 경우에, 접합 부분(170)은 또한 다른 기능들을 수행하거나 수행하도록 설계될 수 있지만, 광 지향 부분의 주 기능은 광 지향 필름을, 예를 들어 접착제 층을 통해 이웃 표면에 접합시키는 것이다. 접합 부분(170)은 광 지향 부분(160) 상에 배치된다. 접합 부분(170)은 또한 측부 소면(162)들 상에 그리고 이들 사이에 배치된다. 예를 들어, 접합 부분(170A)은 측부 소면(162C, 162D)들 상에 그리고 이들 사이에 배치된다.
일반적으로, 접합 부분(170)은 응용에 바람직할 수 있는, 임의의 규칙적인 또는 불규칙적인 형상과 같은, 임의의 형상을 가질 수 있다. 예를 들어, 일부 경우에, 접합 부분(170)은 3차원 직선형 몸체, 예를 들어 사면체, 프리즘, 또는 피라미드, 또는 그러한 몸체들의 일부분 또는 조합, 예를 들어 절두체이거나 이를 포함할 수 있다. 일부 경우에, 접합 부분(170)은 3차원 곡선형 몸체, 예를 들어 구체, 비구체, 타원체, 회전 타원체, 포물면, 원뿔, 또는 원통의 일부분이거나 이를 포함할 수 있다.
접합 부분(170)은 복수의 측부 소면(172)을 포함한다. 예를 들어, 예시적인 광 지향 필름(100)에서, 접합 부분(170A)은 측부 소면(172A) 및 대향하는 측부 소면(172B)을 포함한다. 일반적으로, 접합 부분(170)은 2개 이상의 측부 소면을 가질 수 있다. 예를 들어, 도 3을 참조하면, 단일형 개별 구조물(300)은 대향하는 측부 소면(372A, 372B)들을 포함하는 접합 부분(370)을 포함한다. 다른 예로서, 도 4를 참조하면, 단일형 개별 구조물(400)은 4개의 측부 소면, 즉 2개의 대향하는 측부 소면(472A, 472C)들, 및 2개의 대향하는 측부 소면(472B, 472D)들을 포함하는 접합 부분(480)을 포함한다.
본 명세서에 개시된 단일형 개별 구조물의 접합 부분은 광 지향 부분을 이웃 표면에 접합시키도록 주로 설계된다. 예를 들어, 도 5를 참조하면, 단일형 개별 구조물(500)은, 측부 소면(572A, 572B)들을 포함하고 광 지향 부분(560)을 광학 접착제 층(580)을 통해 이웃 표면(595)에 접합 또는 부착시키는 접합 부분(570)을 포함한다. 접합 부분(570)의 주 기능은 단일형 개별 구조물(500) 또는 광 지향 부분(560)을 표면(595)에 접합시키는 것이다. 일부 경우 또는 응용에서, 접합 부분(570)은 또한 광을 지향시킬 수 있다. 예를 들어, 접합 부분(570)은 광선(550)을 광선(551)으로서 지향시킬 수 있지만, 그러한 광 지향 기능은 접합 부분의 주 기능이 아니다. 오히려, 광 지향 기능은 접합 부분의 이차적인 기능이다.
본 명세서에 개시된 단일형 개별 구조물의 접합 부분 및 광 지향 부분은 다수의 또는 복수의 측부 소면을 갖는다. 일반적으로, 본 명세서에 개시된 측부 소면은 응용에 바람직할 수 있는, 임의의 규칙적인 또는 불규칙적인 형상과 같은, 임의의 형상을 가질 수 있다. 예를 들어, 일부 경우에, 측부 소면은 평탄한 부분이거나 이를 포함할 수 있다. 예를 들어, 도 4를 참조하면, 광 지향 부분(460)의 측부 소면(462A 내지 462D)들 및 접합 부분(480)의 측부 소면(472A 내지 472D)들은 평탄하다. 일부 경우에, 측부 소면은 구분적으로 평탄할 수 있다. 예를 들어, 도 10은 광 지향 부분(1060) 및 광 지향 부분 상에 배치된 접합 부분(1070)을 포함하는 단일형 개별 구조물(1000)의 3차원 개략도이다. 광 지향 부분 및 접합 부분 각각은 구분적으로 평탄한 측부 소면을 갖는다. 특히, 광 지향 부분(1060)은 평탄한 부분(1062A, 1062B)들을 포함하는 구분적으로 평탄한 측부 소면(1062)을 포함하고, 접합 부분(1070)은 평탄한 부분(1072A, 1072B)들을 포함하는 구분적으로 평탄한 측부 소면(1072)을 포함한다.
일부 경우에, 측부 소면은 만곡된 부분이거나 이를 포함할 수 있다. 예를 들어, 도 11은 광 지향 부분(1160) 및 광 지향 부분 상에 배치된 접합 부분(1170)을 포함하는 단일형 개별 구조물(1100)의 3차원 개략도이다. 광 지향 부분 및 접합 부분 각각은 만곡된 측부 소면을 갖는다. 특히, 광 지향 부분(1160)은 만곡된 측부 소면(1162A, 1162B)들을 포함하고, 접합 부분(1170)은 만곡된 측부 소면(1172A, 1172B)들을 포함한다.
일부 경우에, 측부 소면은 구분적으로 만곡될 수 있다. 예를 들어, 도 12는 광 지향 부분(1260) 및 광 지향 부분 상에 배치된 접합 부분(1270)을 포함하는 단일형 개별 구조물(1200)의 3차원 개략도이다. 광 지향 부분 및 접합 부분 각각은 구분적으로 만곡된 측부 소면을 갖는다. 특히, 광 지향 부분(1260)은 만곡된 부분(1262A, 1262B)들을 포함하는 구분적으로 만곡된 측부 소면(1262)을 포함하고, 접합 부분(1270)은 만곡된 부분(1272A, 1272B)들을 포함하는 구분적으로 만곡된 측부 소면(1272)을 포함한다. 일부 경우에, 단일형 개별 구조물의 하나의 측부 소면은 평탄하거나 구분적으로 평탄할 수 있고, 단일형 개별 구조물의 다른 측부 소면은 만곡되거나 구분적으로 만곡될 수 있다.
다시 도 1을 참조하면, 광 지향 필름(100)의 단일형 개별 구조물(150)의 각각의 접합 부분(170)은 광 지향 필름의 평면에 평행한 접합 부분의 최대 단면이고 접합 부분의 측부 소면들에 의해 제약되는 기부를 갖는다. 기부(174)는 측부 소면(172)들에 의해 제약된다. 예를 들어, 접합 부분(170)은 광 지향 필름의 평면(105)에 평행한 접합 부분의 최대 단면이고 접합 부분의 측부 소면(172A, 172B)들에 의해 제약되는 기부(174)를 갖는다. 다른 예로서, 도 4를 참조하면, 접합 부분(480)은 xy 평면에 평행한 방향에서 접합 부분의 최대 단면인 기부(482)를 갖는다. 기부(482)는 한정될 수 있는 광 지향 부분의 측부 소면들 모두에 의해 제약된다. 예시적인 단일형 개별 구조물(400)에서, 기부(482)는 직사각형이고 측부 소면(472A 내지 472D)들에 의해 제약된다.
다른 예로서, 도 7을 참조하면, 광 지향 필름(700)은 기부(760A)를 갖는 접합 부분(750A), 기부(760B)를 갖는 접합 부분(750B), 및 기부(760C)를 갖는 접합 부분(750C)을 포함한다. 다른 예로서, 도 13은 선형이고 y 방향을 따라 연장되는 단일형 개별 구조물(1300)의 3차원 개략도이다. 단일형 개별 구조물은 xy 평면 내에 있는 기부(1315)를 갖는 광 지향 부분(1310), 및 기부(1330)를 갖는 접합 부분(1320) - 이 기부는 xy 평면에 평행한 접합 부분의 최대 단면이고 기부의 에지(1331)를 한정하는 측부 소면(1321) 및 기부의 에지(1332)를 한정하는 측부 소면(1322)에 의해 제약됨 - 을 포함한다.
다시 도 1을 참조하면, 기부(174)는 예시적인 광 지향 필름(100)에서 x 방향을 따른 최소 치수 d2를 포함한다. 예를 들어, 도 4를 참조하면, 기부(482)는 y 방향을 따른 최소 치수(474)를 갖는다. 다른 예로서, 도 7을 참조하면, 기부(760A)는 x 방향을 따른 최소 치수(770A)를 갖고, 기부(760B)는 x 방향을 따른 최소 치수(770B)를 가지며, 기부(760C)는 x 방향을 따른 최소 치수(770C)를 갖는다.
일반적으로, 접합 부분의 기부는 응용에 바람직할 수 있는 임의의 형상, 예를 들어 임의의 규칙적인 또는 불규칙적인 형상, 및 임의의 크기 최소 치수를 가질 수 있다. 예를 들어, 도 8a의 선형 기부(810)는 y 방향을 따라 연장되고 최소 치수(810B)를 갖는 접합 부분의 기부일 수 있고, 도 8b의 선형 기부(820A)는 y 방향을 따라 연장되고 최소 치수(820B)를 갖는 접합 부분의 기부일 수 있으며, 도 8c의 기부(830A)는 최소 치수(830B)를 갖는 접합 부분의 기부일 수 있고, 도 8d의 기부(840A)는 최소 치수(840B)를 갖는 접합 부분의 기부일 수 있으며, 도 8e의 선형 기부(850A)는 y 방향을 따라 연장되고 최소 치수(850B)를 갖는 접합 부분의 기부일 수 있다. 일반적으로, 접합 부분의 기부는 선형일 수 있고, 이는 기부의 선형 방향을 따른 기부의, 평균 치수와 같은, 치수가 직교 방향을 따른 기부의, 평균 치수와 같은, 치수보다 실질적으로 더 크다는 것을 의미한다. 예를 들어, 그러한 경우에, 직교 방향을 따른 기부의 평균 치수에 대한 선형 방향을 따른 기부의 평균 치수의 비는 약 10 이상, 또는 약 50 이상, 또는 약 100 이상, 또는 약 500 이상, 또는 약 1000 이상이다. 일부 경우에, 예를 들어 직교 방향을 따른 기부의 평균 치수에 대한 선형 방향을 따른 기부의 평균 치수의 비가 약 10,000 이상일 때, 기부, 기부에 관련된 접합 부분 및 단일형 개별 구조물은 선형 방향을 따른 무한 또는 무제한 크기 또는 치수를, 그리고 직교 방향을 따른 유한 또는 제한된 크기 또는 치수를 갖는 것으로 간주될 수 있다. 일부 경우에, 접합 부분의 기부는 다각형과 같은 직선형 형태의 형상일 수 있다. 일부 경우에, 다각형은 부정다각형, 예를 들어 직사각형, 또는 정다각형, 예를 들어 정삼각형, 정사각형, 정육각형, 또는 정팔각형일 수 있다. 일부 경우에, 기부는 부등변 사각형, 사다리꼴, 평행 사변형, 마름모꼴, 또는 삼각형일 수 있다. 일부 경우에, 기부는 원, 타원, 또는 포물선과 같은 곡선형 형태의 형상일 수 있다.
다시 도 1을 참조하면, 접합 부분(170)은 기부(174) 또는 광 지향 필름의 평면(105)에 수직인 방향에서 접합 부분의 기부(174)와 상부 사이의 최대 치수 또는 거리인 최대 높이 h2를 갖는다. 예를 들어, 도 4를 참조하면, 접합 부분(480)은 z 방향을 따르고 접합 부분의 기부(482)와 상부 표면(490) 사이의 최대 거리인 최대 높이(476)를 갖는다. 다른 예로서, 도 7을 참조하면, 접합 부분(750A)은 z 방향을 따른 최대 높이(780A)를 갖고, 접합 부분(750B)은 z 방향을 따른 최대 높이(780B)를 가지며, 접합 부분(750C)은 z 방향을 따른 최대 높이(780C)를 갖는다. 일반적으로, 본 명세서에 개시된 접합 부분의 높이는 하나 이상의 방향을 따라 변화할 수 있다. 예를 들어, 도 14는 y 방향을 따라 연장되고 광 지향 부분(1460) 및 광 지향 부분 상에 배치된 접합 부분(1470)을 포함하는 선형 단일형 개별 구조물(1400)의 3차원 개략도이다. 접합 부분(1470)은 xy 평면 내에 놓여 있고 y 방향을 따라 연장되는 기부(1475), 및 z 방향을 따른 접합 부분의 기부(1475)와 상부 사이의 거리인 높이(1480)를 갖는다. 높이(1480)는 y 방향을 따라 변화한다. 접합 부분(1470)은 z 방향을 따른 접합 부분의 기부(1475)와 상부 사이의 최대 거리인 최대 높이(1482), 및 z 방향을 따른 접합 부분의 기부(1475)와 상부 사이의 최소 거리인 최소 높이(1484)를 갖는다. 광 지향 부분(1460)은 xy 평면 내에 있는 기부(1440), 및 z 방향을 따른 광 지향 부분의 기부(1440)와 접합 부분의 기부(1475) 사이의 거리인 일정한 높이(1445)를 갖는다.
일반적으로, 개시된 선형 단일형 개별 구조물의 높이는 단일형 개별 구조물의 길이를 따라 일정하게 유지되거나 변화할 수 있다. 예를 들어, 단일형 개별 구조물(1400)의 높이는 구조물의 선형 길이를 따라 변화한다. 다른 예로서, 도 13의 단일형 개별 구조물(1300)은 구조물의 선형 방향을 따른 일정한 높이를 갖는다.
일부 경우에, 접합 부분의 각각의 측부 소면은 광 지향 필름의 평면과 약 60도 초과인 각도를 이룬다. 예를 들어, 단일형 개별 구조물(300)에서, 측부 소면(372A)은 xy 평면과 각도 α3를 이루고 측부 소면(372B)은 xy 평면과 각도 α4를 이루며, 여기서 α3 및 α4 각각은 약 60도 초과이다. 다른 예로서, 도 10을 참조하면, 접합 부분(1070)은 단일형 개별 구조물(1000)과 관련된 광 지향 필름의 평면 또는 xy 평면과 각도 γ1, γ2, γ3 및 γ4를 이루는 4개의 측부 소면을 포함하고, 여기서 4개의 각도 γ1 내지 γ4 각각은 약 60도 초과일 수 있다. 일부 경우에, 접합 부분의 각각의 측부 소면은 광 지향 필름의 평면과 약 65도 초과, 또는 약 70도 초과, 또는 약 75도 초과, 또는 약 80도 초과, 또는 약 85도 초과인 각도를 이룬다.
일부 경우에, 본 명세서에 개시된 광 지향 필름의 각각의 단일형 개별 구조물은 복수의 측부 소면을 포함하며, 여기서 광 지향 필름의 평면과 약 35도 내지 약 55도, 또는 약 40도 내지 약 50도, 또는 약 41도 내지 약 49도, 또는 약 42도 내지 약 48도, 또는 약 43도 내지 약 47도, 또는 약 44도 내지 약 46도의 범위에 있는 각도를 이루는 측부 소면은 단일형 개별 구조물의 광 지향 부분을 형성하거나 한정하고, 광 지향 필름의 평면과 약 60도 초과, 또는 약 65도 초과, 또는 약 70도 초과, 또는 약 75도 초과, 또는 약 80도 초과, 또는 약 85도 초과인 각도를 이루는 측부 소면은 단일형 개별 구조물의 접합 부분을 형성하거나 한정한다.
일부 경우에, 단일형 개별 구조물의 접합 부분의 기부의 최소 치수는 단일형 개별 구조물의 광 지향 부분의 기부의 최소 치수보다 실질적으로 더 작다. 예를 들어, 도 1을 참조하면, 일부 경우에, 최소 치수 d2는 최소 치수 d1보다 실질적으로 더 작다. 예를 들어, 그러한 경우에, 최소 치수 d2는 최소 치수 d1의 약 20% 미만, 또는 약 18% 미만, 또는 약 16% 미만, 또는 약 14% 미만, 또는 약 12% 미만, 또는 약 10% 미만, 또는 약 9% 미만, 또는 약 8% 미만, 또는 약 7% 미만, 또는 약 6% 미만, 또는 약 5% 미만, 또는 약 4% 미만, 또는 약 3% 미만, 또는 약 2% 미만, 또는 약 1% 미만이다.
일부 경우에, 접합 부분(170)은 1 초과인 종횡비(aspect ratio)를 갖는다. 예를 들어, 일부 경우에, 접합 부분의 제2 최소 치수 d2에 대한 접합 부분(170)의 최대 높이 h2의 비는 1 초과이다. 예를 들어, 그러한 경우에, 비 h2/d2는 약 1.2 이상, 또는 약 1.4 이상, 또는 약 1.5 이상, 또는 약 1.6 이상, 또는 약 1.8 이상, 또는 약 2 이상, 또는 약 2.5 이상, 또는 약 3 이상, 또는 약 3.5 이상, 또는 약 4 이상, 또는 약 4.5 이상, 또는 약 5 이상, 또는 약 5.5 이상, 또는 약 6 이상, 또는 약 6.5 이상, 또는 약 7 이상, 또는 약 8 이상, 또는 약 9 이상, 또는 약 10 이상, 또는 약 15 이상, 또는 약 20 이상이다.
도 15는 기재(1505) 상에 배치된, 단일형 개별 구조물(1510, 1520)들과 같은, 복수의 단일형 개별 구조물을 포함하는 광 지향 필름(1500)의 개략 측면도이며, 여기서 기재는 단일형 구조물들에 지지를 제공한다. 단일형 개별 구조물(1510)은 기부(1515)를 갖는 광 지향 부분(1512) 상에 배치된 접합 부분(1514)을 포함하고, 단일형 개별 구조물(1520)은 기부(1525)를 갖는 광 지향 부분(1522) 상에 배치된 접합 부분(1524)을 포함한다. 일부 경우에, 예를 들어 도 15에 도시된 예시적인 광 지향 필름에서, 단일형 개별 구조물들 중 적어도 일부는 광 지향 부분의 기부와 단일형 개별 구조물을 지지하는 기재 사이에 배치된 랜딩 부분을 포함한다. 일부 경우에, 이 랜드 부분(land portion)의 주 기능들은 광을 고효율로 투과시키는 것, 광 지향 부분 및 접합 부분에 지지를 제공하는 것, 및 단일형 개별 구조물과 기재 사이에 충분한 점착을 제공하는 것을 포함할 수 있다. 예를 들어, 단일형 개별 구조물(1510)은 기부(1515)와 기재(1505) 사이에 배치된 랜드 부분(1516)을 포함하고, 단일형 개별 구조물(1520)은 기부(1525)와 기재(1505) 사이에 배치된 랜드 부분(1526)을 포함한다.
일반적으로, 광 지향 필름의 단일형 개별 구조물들은 랜드 부분을 가질 수 있거나 갖지 않을 수 있다. 일부 경우에, 예를 들어 도 15에 개략적으로 도시된 광 지향 필름(1500)의 경우에, 단일형 개별 구조물들은 랜드 부분을 갖는다. 일부 경우에, 단일형 개별 구조물들은 랜드 부분을 갖지 않는다. 예를 들어, 도 16은 단일형 개별 구조물들이 랜드 부분을 갖지 않는 것을 제외하고는 광 지향 필름(1500)과 유사한 광 지향 필름(1600)의 개략 측면도이다. 특히, 광 지향 부분(1512)의 기부(1515)는 기재(1505)의 상부 표면(1506)과 일치하거나 실질적으로 일치하고, 광 지향 부분(1522)의 기부(1525)는 기재(1505)의 상부 표면(1506)과 일치하거나 실질적으로 일치한다. 일부 경우에, 광 지향 필름의 일부 단일형 개별 구조물은 랜드 부분을 갖고, 광 지향 필름의 일부 단일형 개별 구조물은 랜드 부분을 갖지 않는다. 예를 들어, 도 17은 기재(1705)의 상부 표면(1706) 상에 배치된, 단일형 개별 구조물(1710, 1720, 1730, 1740)들과 같은, 복수의 단일형 광 구조물을 포함하는 광 지향 필름(1700)의 개략 측면도이다. 단일형 개별 구조물(1710)은 기부(1715)를 갖는 광 지향 부분(1712), 광 지향 부분 상에 배치된 접합 부분(1714), 및 광 지향 부분의 기부(1715)와 기재의 상부 표면(1706) 사이에 배치된 랜드 부분(1716)을 포함한다. 단일형 개별 구조물(1720)은 기부(1725)를 갖는 광 지향 부분(1722), 광 지향 부분 상에 배치된 접합 부분(1724), 및 광 지향 부분의 기부(1725)와 기재의 상부 표면(1706) 사이에 배치된 랜드 부분(1726)을 포함한다. 단일형 개별 구조물(1730)은 기부(1735)를 갖는 광 지향 부분(1732), 광 지향 부분 상에 배치된 접합 부분(1734), 및 광 지향 부분의 기부(1735)와 기재의 상부 표면(1706) 사이에 배치된 랜드 부분(1736)을 포함한다. 단일형 개별 구조물(1740)은 기재(1705)의 상부 표면(1706)과 일치하거나 실질적으로 일치하는 기부(1745)를 갖는 광 지향 부분(1742), 및 광 지향 부분 상에 배치된 접합 부분(1744)을 포함한다. 단일형 개별 구조물(1710, 1720, 1730)들은 랜드 부분을 포함하고 단일형 개별 구조물(1740)은 랜드 부분을 포함하지 않는다.
일부 경우에, 광 지향 필름의 복수의 단일형 개별 구조물의 단일형 개별 구조물들 중 적어도 일부는 광 지향 필름에 수직인 방향에서 대칭적인 단면 프로파일을 가지며, 여기서 대칭적인 단일형 개별 구조물이라는 것은 단일형 개별 구조물의 광 지향 부분 및 접합 부분이 대칭적인 프로파일을 갖는다는 것을 의미한다. 예를 들어, 단일형 개별 구조물은, 단일형 개별 구조물의 접합 부분 및 광 지향 부분이 대칭적인 프로파일을 갖는다면, 단일형 개별 구조물의, 랜드 부분과 같은, 다른 부분들이 비대칭적인 프로파일을 가질지라도 대칭적인 프로파일을 갖는 것으로 간주된다.
예를 들어, 도 15를 참조하면, 단일형 개별 구조물(1510, 1520)들은 광 지향 필름에 수직인 방향에서 대칭적인 단면 프로파일을 갖는다. 특히, 광 지향 필름(1500)의 단일형 개별 구조물(1510)은 광 지향 필름에 수직인 방향(1511)에서 대칭적인 단면 프로파일을 갖고, 광 지향 필름(1500)의 단일형 개별 구조물(1520)은 광 지향 필름에 수직인 방향(1521)에서 대칭적인 단면 프로파일을 갖는다. 방향(1511)은 단일형 개별 구조물(1510)에 대한 대칭 축이고, 방향(1521)은 단일형 개별 구조물(1520)에 대한 대칭 축이다.
일부 경우에, 광 지향 필름의 복수의 단일형 개별 구조물 내의 단일형 개별 구조물들 중 적어도 일부는 광 지향 필름에 수직인 방향에서 비대칭적인 단면 프로파일을 갖는다. 예를 들어, 도 18은 기재(1805)의 상부 표면(1806) 상에 배치된 대칭적인 단일형 개별 구조물(1810, 1820, 1840)들 및 비대칭적인 단일형 개별 구조물(1830)을 포함하는 광 지향 필름(1800)의 개략 측면도이다. 단일형 개별 구조물(1810)은 기부(1815)를 포함하는 광 지향 부분(1812), 및 광 지향 부분의 기부(1815)와 기재(1805)의 상부 표면(1806) 사이에 배치된 랜드 부분(1816)을 포함한다. 단일형 개별 구조물(1810)은 z 방향을 따르고 광 지향 필름에 수직인 방향(1818)에서 대칭적인 단면 프로파일을 갖는다. 단일형 개별 구조물(1820)은 기부(1825)를 포함하는 광 지향 부분(1822), 및 광 지향 부분의 기부(1825)와 기재(1805)의 상부 표면(1806) 사이에 배치된 랜드 부분(1826)을 포함한다. 단일형 개별 구조물(1820)은 z 방향을 따르고 광 지향 필름에 수직인 방향(1828)에서 대칭적인 단면 프로파일을 갖는다. 단일형 개별 구조물(1830)은 기재(1805)의 상부 표면(1806)과 일치하거나 실질적으로 일치하는 기부(1835)를 포함하는 광 지향 부분(1832)을 포함한다. 단일형 개별 구조물(1830)은 비대칭적인 단면 프로파일을 갖는다. 단일형 개별 구조물(1840)은 기재(1805)의 상부 표면(1806)과 일치하거나 실질적으로 일치하는 기부(1845)를 포함하는 광 지향 부분(1842)을 포함한다. 단일형 개별 구조물(1840)은 z 방향을 따르고 광 지향 필름에 수직인 방향(1848)에서 대칭적인 단면 프로파일을 갖는다.
도 20은 광 지향 필름(2010) 상에 배치된 광학 필름(2090)을 포함하는 광학 스택(2000)의 개략 측면도이며, 여기서 광 지향 필름(2010)은 본 명세서에 개시된 임의의 광 지향 필름일 수 있다. 광 지향 필름(2010)은 구조화된 제1 주 표면(2020) 및 대향하는 제2 주 표면(2025)을 포함한다. 구조화된 제1 주 표면(2020)은 기재(2005) 상에 배치된 복수의 단일형 개별 구조물(2030)을 포함한다. 적어도 일부의 단일형 개별 구조물들 각각은 주로 광을 지향시키기 위한 광 지향 부분(2040), 및 주로 광 지향 필름을 광학 필름(2090)에 접합시키기 위한 접합 부분(2050)을 포함한다. 일부 경우에, 예를 들어 예시적인 광학 스택(2000)의 경우에, 광 지향 필름(2010)의 적어도 일부의 접합 부분(2050)의 적어도 일부분은 광학 필름(2090) 내로 침투하고, 광 지향 필름(2010)의 적어도 일부의 광 지향 부분(2040)의 적어도 일부분은 광학 필름(2090) 내로 침투하지 않는다. 그러한 경우에, 광학 스택(2000)은 광 지향 필름(2010)과 광학 필름(2090) 사이에 복수의 비충전된 공극(2015)을 포함하며, 여기서 비충전된 공극은 공기 및/또는 기체를 포함할 수 있다. 일부 경우에, 복수의 비충전된 공극(2015) 중 적어도 일부의 비충전된 공극들 각각은 구역 - 이 구역은 광학 필름(2090) 및 광학 필름 내로 침투하지 않고 구역을 직접 둘러싸는 2개 이상의 인접한 단일형 개별 구조물(2030)들의 부분들에 의해 한정됨 - 을 실질적으로 덮는다. 예를 들어, 그러한 경우에, 비충전된 공극은 광학 필름(2090) 및 광학 필름 내로 침투하지 않는 2개 이상의 인접한 단일형 개별 구조물(2030)들의 부분들에 의해 한정되는 구역의 50% 이상, 또는 60% 이상, 또는 70% 이상, 또는 80% 이상, 또는 90% 이상을 덮는다. 예를 들어, 선형 단일형 개별 구조물(2030)들의 경우에, 비충전된 공극(2015)은 상부에서 광학 필름(2090)에 의해, 우측에서 광학 필름 내로 침투하지 않은 선형 단일형 개별 구조물(2030A)의 부분(2021)에 의해, 그리고 좌측에서 광학 필름 내로 침투하지 않은 선형 단일형 개별 구조물(2030B)의 부분(2022)에 의해 한정되는 구역을 실질적으로 덮는다.
광학 필름(2090)은 광학 접착제 층(2060) 상에 배치된 광학 층(2070)을 포함한다. 광학 필름 내로 침투하는 광 지향 필름(2010)의 접합 부분(2050)의 부분은 광학 접착제 층 내로 침투한다. 광학 접착제 층(2060)은 광 지향 부분(2040)을 위한 공기 환경 또는 주위를 실질적으로 유지하면서 광 지향 필름(2010)을 광학 층(2070) 또는 광학 층(2070)의 주 표면(2071)에 부착하거나 접합시킨다. 일부 경우에, 접합 부분(2050)은 광학 필름(2090)과 광 지향 필름(2010) 사이에 강한 접합을 유발할 수 있는 높은 종횡비를 갖는다.
광학 접착제 층 내로 침투하는 접합 부분(2050)은 광학 접착제 층 내로 침투한 개개의 접합 부분들의 최대 높이 h2들의 평균인 평균 최대 높이 h2,avg를 갖는다. 일부 경우에, h2,avg는 광학 접착제 층(2060)의 평균 두께 h3보다 크다. 예를 들어, 그러한 경우에, h2,avg는 h3보다 0.2 마이크로미터 이상, 또는 0.3 마이크로미터 이상, 또는 0.4 마이크로미터 이상, 또는 0.5 마이크로미터 이상, 또는 0.7 마이크로미터 이상, 또는 1 마이크로미터 이상, 또는 1.2 마이크로미터 이상, 또는 1.5 마이크로미터 이상, 또는 1.7 마이크로미터 이상, 또는 2 마이크로미터 이상만큼 더 크다.
일반적으로, 광학 필름(2090)은 응용에 바람직할 수 있는 임의의 광학 층(2070)을 포함할 수 있다. 예를 들어, 일부 경우에, 광학 층(2070)은 흡수 편광기이거나 이를 포함할 수 있다. 다른 예로서, 일부 경우에, 광학 필름(2090) 또는 광학 층(2070)은 반사 편광기를 포함할 수 있다. 일부 경우에, 반사 편광기는 다층 광학 필름을 포함할 수 있으며, 여기서 층들 중 적어도 일부는 복굴절성이다. 일부 경우에, 반사 편광기는 교번하는 층들을 포함할 수 있으며, 여기서 교번하는 층들 중 적어도 하나는 복굴절 재료를 포함한다. 일부 경우에, 반사 편광기는 와이어 그리드(wire grid) 반사 편광기, 또는 콜레스테릭(cholesteric) 반사 편광기를 포함할 수 있다. 일부 경우에, 반사 편광기는 섬유 편광기이거나 이를 포함할 수 있다. 그러한 경우에, 반사 편광기는 결합제 내에 매설된 섬유들의 하나 이상의 층 - 이때 결합제 및 섬유 중 적어도 하나는 복굴절 재료를 포함함 - 을 형성하는 복수의 실질적으로 평행한 섬유들을 포함한다. 실질적으로 평행한 섬유들은 투과 축 및 반사 축을 한정한다. 섬유 편광기는 투과 축에 평행하게 편광된 입사 광을 실질적으로 투과시키고, 반사 축에 평행하게 편광된 입사 광을 실질적으로 반사한다. 섬유 편광기들의 예가, 예를 들어 전제적으로 본 명세서에 참고로 포함되는 미국 특허 제7,599,592호 및 제7,526,164호에 기재되어 있다.
일부 경우에, 반사 편광기는 통과 상태(pass state)에서 중급의 축상(on-axis) 평균 반사율을 갖는 부분 반사 층일 수 있다. 예를 들어, 부분 반사 층은 xy 평면과 같은 제1 평면에서 편광된 가시 광에 대해(예를 들어, x 방향을 따라 직선 편광된 가시 광에 대해) 약 90% 이상의 축상 평균 반사율을, 그리고 제1 평면에 수직인 xz 평면과 같은 제2 평면에서 편광된 가시 광에 대해(예를 들어, z 방향을 따라 직선 편광된 가시 광에 대해) 약 25% 내지 약 90% 범위의 축상 평균 반사율을 가질 수 있다.
일부 경우에, 반사 편광기는 2009년 10월 24일에 출원되고 대리인 문서 번호가 65809US002이며 발명의 명칭이 "고 비축 반사율을 갖는 침지형 반사 편광기(Immersed Reflective Polarizer with High Off-Axis Reflectivity)"인 미국 특허 출원 제61/254691호, 및 2009년 10월 24일에 출원되고 대리인 문서 번호가 65900US002이며 발명의 명칭이 "선택된 입사 평면에서 각방향 구속을 갖는 침지형 반사 편광기(Immersed Reflective Polarizer With Angular Confinement in Selected Planes of Incidence)"인 미국 특허 출원 제61/254692호에 기재된 바와 같이 더 작은 입사각에서 광을 편광시키고 더 큰 입사각에서 하나의 편광 상태, 또는 상호 수직인 2개의 편광 상태를 실질적으로 반사할 수 있는 광대역 반사 편광기일 수 있으며, 이들 특허 출원의 개시 내용은 전체적으로 본 명세서에 참고로 포함된다.
일부 경우에, 반사 편광기는 하나의 편광 상태를 실질적으로 투과시키고 직교 편광 상태를 실질적으로 확산 반사하는 확산 반사 편광기일 수 있다. 확산 반사 편광기 필름은 전형적으로 연속 복굴절 매트릭스 내에 배치된 중합체 입자들의 분산 상(disperse phase)을 포함한다. 필름은 복굴절을 발생시키도록 하나 이상의 방향으로, 전형적으로 연신에 의해, 배향된다. 확산 반사 편광기의 예가, 예를 들어 미국 특허 제6,999,233호 및 제6,987,612호에 기재되어 있으며, 이들 특허의 개시 내용은 전체적으로 본 명세서에 참고로 포함된다.
다른 예로서, 광학 층(2070)은 예를 들어 광학 필름(2090)에 지지를 제공하기 위한 기재이거나 이를 포함할 수 있다. 일반적으로, 본 명세서에 개시된 기재, 예를 들어 기재(130), 기재(2005), 또는 기재(2070)는 응용에 바람직할 수 있는 임의의 재료이거나 이를 포함할 수 있다. 예를 들어, 기재(2070)는 유리 및/또는 중합체, 예를 들어 폴리에틸렌 테레프탈레이트(PET), 폴리카르보네이트, 및 아크릴을 포함하거나 이들로 제조될 수 있다. 일부 경우에, 기재는 다수의 층을 가질 수 있다. 일부 경우에, 광학 층(2070)은 유리일 수 있다. 예를 들어, 유리 층(2070)은 액정 패널의 유리 층일 수 있다.
다른 예로서, 광학 층(2070)은 이동가능한 광 지향 필름(2010)을 제공하는 이형 라이너이거나 이를 포함할 수 있으며, 이는 예를 들어 광 지향 필름의 노출된 주 표면(2025)이 기재 또는 표면과 접촉하여 배치될 수 있고 그 후에 예를 들어 다른 기재 또는 표면에 접합될 수 있는 광학 접착제 층(2060)의 주 표면(2061)을 노출시키도록 이형 라이너가 벗겨져 제거될 수 있다는 것을 의미한다. 이형 라이너(2070)로부터 광학 접착제 층(2060) 또는 광 지향 필름(2010)을 해제하기 위한 이형력은 일반적으로 약 0.77 N/㎝(200 g-힘/인치) 미만, 또는 약 0.58 N/㎝(150 g-힘/인치) 미만, 또는 약 0.39 N/㎝(100 g-힘/인치) 미만, 또는 약 0.29 N/㎝(75 g-힘/인치) 미만, 또는 약 0.19 N/㎝(50 g-힘/인치) 미만이다.
또 다른 예로서, 일부 경우에, 광학 층(2070)은 복수의 선형 프리즘형 구조물을 포함하는 제2 광 지향 필름이거나 이를 포함할 수 있다. 예를 들어, 도 21은 기재(2120) 상에 배치되고 y 방향을 따라 선형으로 연장되는 복수의 선형 프리즘형 구조물(2110)을 포함하는 광 지향 필름(2100)의 3차원 개략도이다. 일부 경우에, 광학 층(2070)은 광 지향 필름(2100)이거나 이를 포함할 수 있다. 그러한 경우에, 광 지향 필름(2010)의 단일형 개별 구조물(2030)이 또한 선형 프리즘형 구조물(2110)의 선형 방향에 수직인 방향으로 연장되는 선형 구조물일 수 있다. 일부 경우에, 기재(2120)는 광학 층(2070)과 유사할 수 있고, 임의의 광학 층을 포함하고 응용에 바람직할 수 있는 임의의 기능을 제공할 수 있다.
일반적으로, 본 명세서에 개시된 기재, 예를 들어 기재(130) 또는 기재(2005)는 임의의 광학 층을 포함하고 응용에 바람직할 수 있는 임의의 기능을 제공할 수 있다. 예를 들어, 일부 경우에, 개시된 기재는 주로 다른 층들에 지지를 제공할 수 있다. 다른 예로서, 일부 경우에, 개시된 기재는 예를 들어 반사 또는 흡수 편광기를 포함함으로써 광을 편광시키거나, 광학 확산기를 포함함으로써 광을 확산시키거나, 광 지향 필름을 포함함으로써 광을 지향 또는 방향전환시키거나, 예를 들어 이형 라이너를 포함함으로써 이동 능력을 가질 수 있다.
접합 부분(2050)은 휘도와 같은 광학적 특성의 손실이 전혀 없거나 거의 없이 광학 필름(2090) 또는 표면(2071)에 대한 광 지향 필름(2010)의 견고한 부착을 허용한다. 특히, 접합 부분은 광 지향 필름과 광학 필름 사이의 점착을 향상시키기 위해 충분한 외부 표면을 제공하기에 충분히 큰 종횡비를 갖는다. 접합 부분은 또한 광 지향 부분의 폭에 비해 충분히 좁아서, 광 지향 필름 및/또는 광학 스택의 유효 투과율의 손실이 전혀 없거나 거의 없게 한다. 본 명세서에 사용된 바와 같이, 유효 투과율(ET) 또는 광학 이득은 광학 시스템 내 제위치에 필름을 갖는, 디스플레이 시스템과 같은, 광학 시스템의 휘도 대 제위치에 필름을 갖지 않는 광학 시스템의 휘도의 비이다.
단일형 개별 구조물(2030)은 응용에 바람직할 수 있는 임의의 굴절률을 가질 수 있다. 예를 들어, 일부 경우에, 단일형 개별 구조물의 굴절률은 약 1.4 내지 약 1.8, 또는 약 1.5 내지 약 1.8, 또는 약 1.5 내지 약 1.7의 범위에 있다. 일부 경우에, 단일형 개별 구조물의 굴절률은 약 1.5 이상, 또는 약 1.55 이상, 또는 약 1.6 이상, 또는 약 1.65 이상, 또는 약 1.7 이상이다.
일반적으로, 광 방향전환 필름(2010) 및 광학 접착제 층(2060), 표면(2071), 또는 광학 필름(2090)의 박리 강도는 접합 부분(2050)이 광학 필름(2090)으로부터 박리되거나 분리됨이 없이 광학 스택(2000)이 단일 필름 또는 유닛으로서 취급될 수 있도록 광 지향 필름(2010)과 광학 필름(2090) 사이에 견고한 점착을 제공하기에 충분히 크다. 일부 경우에, 광 방향전환 필름(2010) 및 광학 접착제 층(2060)의 박리 강도는 약 7.9 g/㎝(20 그램/인치), 또는 약 9.8 g/㎝(25 그램/인치), 또는 약 11.8 g/㎝(30 그램/인치), 또는 약 13.8 g/㎝(35 그램/인치), 또는 약 15.7 g/㎝(40 그램/인치), 또는 약 17.7 g/㎝(45 그램/인치), 또는 약 19.7 g/㎝(50 그램/인치), 또는 약 23.6 g/㎝(60 그램/인치), 또는 약 27.6 g/㎝(70 그램/인치), 또는 약 31.5 g/㎝(80 그램/인치), 또는 약 35.4 g/㎝(90 그램/인치), 또는 약 39.4 g/㎝(100 그램/인치), 또는 약 43.3 g/㎝(110 그램/인치), 또는 약 47.2 g/㎝(120 그램/인치), 또는 약 51.2 g/㎝(130 그램/인치), 또는 약 55.1 g/㎝(140 그램/인치), 또는 약 59.1 g/㎝(150 그램/인치) 초과이다.
접합 부분(2050)은 광학 필름 내로 충분히 침투함으로써 광 지향 필름(2010)과 광학 필름(2090) 사이에 충분한 점착을 제공하도록 주로 설계된다. 2개의 필름 사이에 충분한 점착을 제공하면서, 접합 부분은 광 지향 필름(2010) 또는 광학 스택(2000)의 유효 투과율에 영향을 전혀 미치지 않거나 거의 미치지 않도록 충분히 좁다. 예를 들어, 일부 경우에, 접합 부분(2050) 또는 단일형 개별 구조물(2030)이 광학 접착제 층(2060) 또는 광학 필름(2090) 내로 침투하지 않는 것을 제외하고는 광학 스택(2000)과 유사한 광학 스택은 광학 스택(2000)의 유효 투과율보다 단지 약간 더 큰 유효 투과율 또는 동일한 유효 투과율을 갖는다. 예를 들어, 도 29는 단일형 개별 구조물(2030)이 광학 접착제 층(2060) 내로 침투하지 않는 것을 제외하고는 광학 스택(2000)과 동일한 구성을 갖는 광학 스택(2900)의 개략 측면도이다. 일부 경우에, 광학 스택(2000)의 유효 투과율은 광학 스택(2900)과 비교할 때 작지 않거나 약 20%, 또는 약 15%, 또는 약 10%, 또는 약 9%, 또는 약 8%, 또는 약 7%, 또는 약 6%, 또는 약 5%, 또는 약 4%, 또는 약 3%, 또는 약 2%, 또는 약 1% 이하만큼 작다.
일부 경우에, 도 29에서, 광학 접착제 층(2060)은 부존재할 수 있거나 비-접착성인 광학 층으로 대체될 수 있다. 그러한 경우에, 예를 들어 광학 접착제 층(2060)이 부존재하는 경우, 접합 부분(2050)은 광 지향 필름(2010)과 광학 층(2070) 사이의 광학적 결합을 방지하거나 실질적으로 감소시키는 웨트-아웃(wet-out) 방지 구조물일 수 있다. 일부 경우에, 단일형 개별 구조물(2030)들의 적어도 일부의 접합 부분(2050)은 광학 층(2070)과 물리적으로 접촉하지만 광학 층 내로 침투하지는 않는다. 일부 경우에, 단일형 개별 구조물(2030)의 접합 부분(2050)은 광학 층(2070) 내로 침투하지 않는다.
일부 경우에, 개시된 단일형 개별 구조물의 광 지향 부분은 광을 재순환시키도록 설계되어, 예를 들어 관찰자에 의해 관찰되는 이미지의 휘도가 증가되거나 향상되게 한다. 예를 들어, 도 19는 이미지를 형성하고 이 이미지를 관찰자(1990)에게 디스플레이할 수 있으며 조명 시스템(1905)으로부터 광을 수광하도록 배치된 이미지 형성 패널(1950)을 포함하는 디스플레이 시스템(1900)의 개략 측면도이다. 조명 시스템(1905)은 도광체(1920)를 포함하는 광원(1915) 상에 배치된 광학 스택(2000); 도광체에 입사하고, 내부 전반사에 의해 도광체 내에서 전파되며, 이미지 형성 패널을 향해 광(1940)으로서 도광체로부터 출사하는 광(1936)을 방출하기 위한 램프(1930); 및 후방 반사기(1910) - 상기 후방 반사기는 후방 반사기에 입사하는 광을 이미지 형성 패널을 향해 방향전환시키기 위한 것임 - 를 포함한다. 광 지향 부분(2040)은 도광체(1920)로부터 출사하는 광을 이미지 형성 패널(1950)을 향해 방향전환시키거나, 또는 도광체로부터 출사하는 광을 재순환을 위해 반사하도록 주로 설계된다. 예를 들어, 광 지향 부분(2040)은 도광체(1920)로부터 출사하는 광(1941)을 이미지 형성 패널 또는 관찰자를 향해 광(1942)으로서 방향전환시킨다. 다른 예로서, 광 지향 부분(2040)은 도광체로부터 출사하는 광(1943)을 수광하고 수광된 광을 재순환을 위해 광(1944)으로서 다시 내부 전반사한다.
일반적으로, 이미지 형성 패널(1950)은 이미지를 형성하고 이 이미지를 관찰자(1990)에게 디스플레이할 수 있는 임의의 유형의 패널일 수 있다. 일부 경우에, 이미지 형성 패널(1950)은 액정 패널이거나 이를 포함할 수 있다. 그러한 경우에, 액정 이미지 형성 패널(1950)은 유리 플레이트와 같은 2개의 패널 플레이트 사이에 배치된 액정의 층, 액정 층 위에 배치된 상부 광 흡수 편광기 층, 및 액정 층 아래에 배치된 하부 흡수 편광기를 포함할 수 있다. 상부 및 하부 광 흡수 편광기들 및 액정 층은 조합되어 관찰자(1990)에 대한 광의 투과율을 제어한다. 일부 경우에, 이미지 형성 패널(1950)은 모놀리식 이미지 형성 패널, 또는 복수의 이미지 형성 타일(tile)을 포함하는 타일형 이미지 형성 패널일 수 있다. 일부 경우에, 광원(1915)은 모놀리식 광원, 또는 복수의 광원 타일을 포함하는 타일형 광원일 수 있다. 일부 경우에, 디스플레이 시스템(1900)은 모놀리식 이미지 형성 패널(1950) 및 타일형 광원(1915)을 포함한다. 타일형 광원(1915)은 독립적으로 제어되는 복수의 타일형 도광체(1920)를 포함할 수 있으며, 여기서 각각의 도광체는 디스플레이된 이미지 내의 상이한 구역을 조명할 수 있다.
일부 경우에, 디스플레이 시스템(1900) 또는 조명 시스템(1905)은 광학 스택(2000)과 도광체(1920) 사이에 배치된 하나 이상의 선택적인 층(1935)을 포함할 수 있다. 예시적인 선택적인 층(1935)은 광 확산 층 및 편광 지연 층을 포함한다.
일반적으로, 개시된 광 지향 필름은 복수의 단일형 개별 구조물을 포함하는 구조화된 제1 주 표면, 및 구조화된 제1 주 표면과 대향하는 제2 주 표면을 포함한다. 일부 경우에, 개시된 광 지향 필름은 광 지향 필름의 제2 주 표면측으로부터 광을 수광하도록 주로 설계된다. 예를 들어, 도 19의 광 지향 필름(2010)은 제2 주 표면(2025)으로부터 광을 수광하고 구조화된 제1 주 표면(2020)으로부터 광을 방출하거나 투과시키도록 주로 설계된다.
일부 경우에, 개시된 단일형 개별 구조물의 광 지향 부분은 광을 재순환시키는 것이 아니라 방향전환시키도록 주로 설계된다. 예를 들어, 도 22는 정보 또는 이미지를 관찰자(1990)에게 디스플레이하기 위한 디스플레이 시스템(2200)의 개략 측면도이다. 디스플레이 시스템(2200)은 광원(1915) 상에 배치된 광학 스택(2201)을 포함하는 조명 시스템(2202) 상에 배치된 이미지 형성 패널(1950)을 포함한다. 광학 스택(2201)은 광학 필름(2290) 상에 배치된 광 지향 필름(2210)을 포함한다. 광 지향 필름(2210)은 본 명세서에 개시된 임의의 광 지향 필름일 수 있으며, 기재(2205) 상에 배치된 복수의 단일형 개별 구조물(2230)을 포함하는 구조화된 제1 주 표면(2220), 및 주 표면(2220)과 대향하는 제2 주 표면(2225)을 포함한다. 단일형 개별 구조물(2230)은 광 지향 부분(2240) 상에 배치된 접합 부분(2250)을 포함한다. 접합 부분(2250)의 적어도 일부분은 광학 필름(2290)을 침투하고 광 지향 부분(2240)의 적어도 일부분은 광학 필름을 침투하지 않는다. 광 지향 필름(2210) 및 광 지향 부분(2240)은 광을 재순환시키는 것이 아니라 지향시키거나 방향전환시키도록 주로 설계된다. 예를 들어, 광 지향 부분(2240A)은 도광체(1920)로부터 출사하는 광(2211)을 이미지 형성 패널(1950) 및 관찰자(1990)를 향해 광(2212)으로서 지향시키도록 주로 설계된다.
일반적으로, 개시된 광 지향 필름은 복수의 단일형 개별 구조물을 포함하는 구조화된 제1 주 표면, 및 구조화된 제1 주 표면과 대향하는 제2 주 표면을 포함한다. 일부 경우에, 개시된 광 지향 필름은 광 지향 필름의 구조화된 제1 주 표면측으로부터 광을 수광하도록 주로 설계된다. 예를 들어, 도 22의 광 지향 필름(2210)은 구조화된 제1 주 표면(2220)으로부터 광을 수광하고 제2 주 표면(2225)으로부터 광을 방출하거나 투과시키도록 주로 설계된다.
일부 경우에, 광학 필름(2290)은 광학 층(2170)을 포함하지 않는다. 그러한 경우에, 광학 접착제 층(2060)은 도광체(1920)에 직접 점착될 수 있어서, 광 지향 필름(2210)이 도광체(1920)에 견고하게 점착되게 한다.
일부 경우에, 예를 들어 도 22에 도시된 예시적인 조명 시스템(2200)에서, 광학 필름(2290)은 광 지향 필름(2210)과 광원(1915) 사이에 배치된다. 일부 경우에, 예를 들어 도 19에 도시된 예시적인 조명 시스템(1905)에서, 광 지향 필름(2010)은 광학 필름(2090)과 광원(1915) 사이에 배치된다.
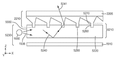
일부 경우에, 광학 층(2170)은 도광체, 예를 들어 도광체(1920)일 수 있다. 그러한 경우에, 단일형 개별 구조물(2230)은 도광체로부터 광을 추출할 수 있고 도광체(2170)의 광 추출기로 간주될 수 있다. 일부 경우에, 단일형 개별 구조물(2230)은 도광체 내로 직접 침투할 수 있으며, 이의 예시적인 측면도가 도 52에 개략적으로 도시되어 있다. 특히, 도 52에서, 광원(5230)은 후방 반사기(1910) 상에 배치된 도광체(5210)를 포함한다. 도광체(5210)는 도광체 층(5220)을 포함하고, 이 도광체 층은 도광체 층의 측면(5550)으로부터 램프(1930)에 의해 방출되는 광(1936)을 수광한다. 도광체 층에 입사한 광은 내부 전반사에 의해, 예를 들어 x 방향을 따라 도광체 층을 가로질러 전파된다. 광 지향 필름(2210)은 도광체(5210) 상에 배치되고, 단일형 개별 구조물(2230)과 유사한 복수의 개별 구조물(5280)을 포함한다. 각각의 개별 구조물(5280)은 도광체 층(5220) 내에 부분적으로 매설되고, 내부 전반사에 의해 도광체 층 내에서 전파되는 광을 도광체 층으로부터 추출한다. 예를 들어, 개별 구조물(5280)은 내부 전반사에 의해 도광체 층(5220) 내에서 전파되는 광(5240)을 도광체 층으로부터 광(5241)으로서 추출한다. 결과적으로, 각각의 개별 구조물(5280)은 도광체(5210)의 개별 광 추출기(5280)인 것으로 간주될 수 있다. 각각의 개별 광 추출기(5280)는 도광체 층(5220) 내로 침투하거나 도광체 층 내에 매설된 제1 부분(5260), 및 도광체 층(5220) 내로 침투하지 않거나 도광체 층 내에 매설되지 않은 제2 부분(5270)을 포함한다. 일반적으로, 각각의 개별 광 추출기(5280)는 단일형이거나 복합형일 수 있다.
일부 경우에, 각각의 개별 광 추출기(5280)의 굴절률은 도광체 층(5220)의 굴절률과는 상이하다. 일부 경우에, 각각의 개별 광 추출기(5280)의 굴절률은 도광체 층(5220)의 굴절률과 같다.
다시 도 1을 참조하면, 일부 경우에, 제2 주 표면(120)은 예를 들어 광의 확산, 먼지 입자 또는 스크래치와 같은 결함의 은폐 또는 숨김, 및/또는 무아레(
Figure pct00001
)와 같은 바람직하지 않은 광학적 효과의 가시성 감소를 돕는 복수의 구조물을 포함한다. 예를 들어, 도 23은 광 지향 필름(100)과 유사하고 구조화된 제1 주 표면(2310) 및 대향하는 구조화된 제2 주 표면(2350)을 포함하는 광 지향 필름(2300)의 개략 측면도이다. 구조화된 제1 주 표면(2310)은 복수의 단일형 개별 구조물(2320)을 포함한다. 각각의 단일형 개별 구조물(2320)은 주로 광을 지향시키도록 설계된 광 지향 부분(2330), 및 광 지향 부분 상에 배치되고 주로 광 지향 필름을 표면에 접합시키도록 설계된 접합 부분(2340)을 포함한다.
구조화된 주 표면(2350)은 복수의 구조물(2360)을 포함한다. 일부 경우에, 구조물(2360)들은 불규칙하게 배열된다. 예를 들어, 그러한 경우에, 구조물(2360)들은 랜덤한 패턴을 형성할 수 있다. 일부 경우에, 구조물(2360)들은 규칙적으로 배열된다. 예를 들어, 그러한 경우에, 구조물(2360)들은 한 방향 또는 상호 직교하는 두 방향을 따른 주기적인 패턴을 형성할 수 있다.
예시적인 광 지향 필름(2300)은 광 지향 필름 내에 내부 계면이 존재하지 않기 때문에 단일형 필름이다. 일부 경우에, 구조물(2360)은 예를 들어 광 지향 필름 상에 코팅될 수 있는 별개의 층의 일부분일 수 있다. 예를 들어, 도 24는 구조화된 제1 주 표면(2310), 및 복수의 구조물(2460)을 포함하는 대향하는 구조화된 제2 주 표면(2450)을 포함하는 광 지향 필름(2400)의 개략 측면도이다. 광 지향 필름(2400)은 구조화된 제2 주 표면(2450)이 광 지향 필름(2400)에 적용된, 예를 들어 광 지향 필름 상에 코팅된 광 확산 층(2410)의 일부분인 것을 제외하고는 광 지향 필름(2300)과 유사하다. 일반적으로, 광 확산 층(2410)은 입자를 포함할 수 있거나 포함하지 않을 수 있다. 일부 경우에, 예를 들어 도 24에 도시된 예시적인 경우에, 광 확산 층(2410)은 복수의 입자(2420)를 포함한다. 일반적으로, 복수의 구조물(2460)은 제1 평균 높이를 갖고 복수의 입자(2420)는 제2 평균 크기를 갖는다. 일부 경우에, 예를 들어 입자(2420)의 평균 크기가 구조물(2460)의 평균 높이와 동일한 자릿수를 갖는 경우, 제2 평균 크기에 대한 제1 평균 높이의 비는 약 50 미만, 또는 약 40 미만, 또는 약 30 미만, 또는 약 20 미만, 또는 약 10 미만, 또는 약 5 미만, 또는 약 2 미만, 또는 약 1 미만이다. 일부 경우에, 예를 들어 입자(2420)의 평균 크기가 구조물(2460)의 평균 높이보다 실질적으로 작은 경우, 제2 평균 크기에 대한 제1 평균 높이의 비는 약 50 초과, 또는 약 100 초과, 또는 약 500 초과, 또는 약 1000 초과이다.
다시 도 1을 참조하면, 일부 경우에, 단일형 개별 구조물(150)들 중 적어도 일부는 선형 구조물들이고 동일한 방향을 따라 연장된다. 예를 들어, 도 6을 참조하면, 단일형 개별 구조물(650)들은 선형 구조물들이고 y 방향을 따라 연장된다. 일부 경우에, 동일한 방향을 따라 연장되는 단일형 개별 구조물들의 광 지향 부분의 높이는 그 방향을 따라 변화하지 않는다. 예를 들어, 도 7을 참조하면, 광 지향 부분(710A, 710B, 710C)들의 높이는 광 지향 부분들 또는 그들의 관련 단일형 개별 구조물들의 선형 방향인 y 방향을 따라 변화하지 않는다. 일부 경우에, 동일한 방향을 따라 연장되는 단일형 개별 구조물들의 광 지향 부분의 높이는 그 방향을 따라 변화한다. 예를 들어, 도 9를 참조하면, 광 지향 부분(960)의 높이(950)는 광 지향 부분(960) 또는 단일형 개별 구조물(900)의 선형 방향인 y 방향을 따라 변화한다. 일부 경우에, 높이(950)는 y 방향을 따라 규칙적으로 변화할 수 있다. 일부 경우에, 높이(950)는 y 방향을 따라 불규칙적으로 변화할 수 있다.
일반적으로, 광 지향 부분은 다수의 측부 소면을 가질 수 있다. 일부 경우에, 예를 들어 선형 단일형 개별 구조물들의 경우에, 각각의 광 지향 부분은 2개의 대향하는 측부 소면을 포함할 수 있다. 예를 들어, 도 6을 참조하면, 광 지향 필름(600)은 y 방향을 따라 연장되는 복수의 선형 단일형 개별 구조물(650)을 포함하고, 여기서 각각의 광 지향 부분은 2개의 대향하는 측부 소면을 포함한다. 예를 들어, 광 지향 부분(660A)은 2개의 대향하는 측부 소면, 즉 측부 소면(612A) 및 대향하는 측부 소면(612B)을 포함한다. 일부 경우에, 각각의 광 지향 부분은 2개의 대향하는 측부 소면만을 포함한다.
다른 예로서, 도 7의 광 지향 부분(710A)은 4개의 측부 소면 또는 두 쌍의 대향하는 측부 소면들을 포함한다. 특히, 광 지향 부분(710A)은 대향하는 측부 소면(701A, 701B)들의 제1 쌍 및 대향하는 측부 소면(701C, 701D)들의 제2 쌍을 포함한다.
다시 도 1을 참조하면, 광 지향 부분(160)의 대향하는 측부 소면(162)들은 이 2개의 대향하는 측부 소면들 사이의 각도인 끼인각 θ1을 한정한다. 일부 경우에, 끼인각 θ1은 약 60도 내지 약 120도, 또는 약 65도 내지 약 115도, 또는 약 70도 내지 약 110도, 또는 약 75도 내지 약 105도, 또는 약 80도 내지 약 100도, 또는 약 85도 내지 약 95도의 범위에 있다. 일부 경우에, 끼인각 θ1은 약 88도, 또는 약 89도, 또는 약 90도, 또는 약 91도, 또는 약 92도이다.
광 지향 부분(160A)의 측부 소면(162A)은 광 지향 필름(100) 또는 광 지향 필름의 평면(105)에 수직인 법선(180)과 각도 θ3를 이룬다. 일부 경우에, 광 지향 부분의 측부 소면과 광 지향 필름에 대한 법선 사이의 각도 θ3는 약 30도 내지 약 60도, 또는 약 35도 내지 약 55도, 또는 약 40도 내지 약 50도, 또는 약 42도 내지 약 48도, 또는 약 43도 내지 약 47도, 또는 약 44도 내지 약 46도의 범위에 있다.
접합 부분(170)의 대향하는 측부 소면(172)들은 이 2개의 대향하는 측부 소면들 사이의 각도인 끼인각 θ2를 한정한다. 일부 경우에, 접합 부분의 2개의 대향하는 측부 소면들 사이의 끼인각 θ2는 약 40도 미만, 또는 약 35도 미만, 또는 약 30도 미만, 또는 약 25도 미만, 또는 약 20도 미만, 또는 약 15도 미만, 또는 약 12도 미만, 또는 약 10도 미만, 또는 약 9도 미만, 또는 약 8도 미만, 또는 약 7도 미만, 또는 약 6도 미만, 또는 약 5도 미만, 또는 약 4도 미만, 또는 약 3도 미만, 또는 약 2도 미만, 또는 약 1도 미만이다. 일부 경우에, 접합 부분(170)의 대향하는 측부 소면(172)들은 서로 평행하다. 그러한 경우에, 2개의 대향하는 측부 소면들 사이의 끼인각은 0이다.
접합 부분(170)의 측부 소면(172)은 광 지향 필름(100) 또는 광 지향 필름의 평면(105)에 수직인 법선(181)과 각도 θ4를 이룬다. 일부 경우에, 접합 부분(170)의 측부 소면(172)과 광 지향 필름(100)에 대한 법선(181) 사이의 각도 θ4는 약 0도 내지 약 40도, 또는 약 0도 내지 약 35도, 또는 약 0도 내지 약 30도, 또는 약 0도 내지 약 25도, 또는 약 0도 내지 약 20도, 또는 약 0도 내지 약 15도, 또는 약 0도 내지 약 10도, 또는 약 0도 내지 약 5도의 범위에 있다.
일부 경우에, 단일형 개별 구조물(150)의 광 지향 부분의 측부 소면은 광 지향 필름(100)에 대한, 법선(180)과 같은, 법선과 각도 θ3를 이루고, 동일한 단일형 개별 구조물의 접합 부분의 측부 소면은 광 지향 필름(100)에 대한, 법선(180)과 같은, 법선과 각도 θ4를 이룬다. 일부 경우에, θ4는 θ3보다 작다. 일부 경우에, θ4는 θ3보다 약 5도, 또는 약 10도, 또는 약 15도, 또는 약 20도, 또는 약 25도, 또는 약 30도, 또는 약 35도, 또는 약 40도 이상만큼 작다.
일부 경우에, 단일형 개별 구조물(150)의 광 지향 부분의 각각의 측부 소면은 광 지향 필름(100)에 대한, 법선(180)과 같은, 법선과 각도 θ3를 이루고, 동일한 단일형 개별 구조물의 접합 부분의 각각의 측부 소면은 광 지향 필름(100)에 대한, 법선(180)과 같은, 법선과 각도 θ4를 이룬다. 일부 경우에, θ4는 θ3보다 작다. 일부 경우에, θ4는 θ3보다 약 5도, 또는 약 10도, 또는 약 15도, 또는 약 20도, 또는 약 25도, 또는 약 30도, 또는 약 35도, 또는 약 40도 이상만큼 작다.
일부 경우에, 광 지향 필름의 광 지향 부분들은 실질적으로 동등한 최대 높이를 가질 수 있다. 예를 들어, 광 지향 부분(160)들은 실질적으로 동등한 최대 높이 h1을 가질 수 있다. 일부 경우에, 적어도 2개의 광 지향 부분은 동등하지 않은 최대 높이를 가질 수 있다. 예를 들어, 도 7을 참조하면, 광 지향 부분(710A)의 최대 높이(740A)는 광 지향 부분(710C)의 최대 높이(740C)와는 상이하다. 일부 경우에, 광 지향 부분들 중 일부의 최대 높이는 몇몇 다른 광 지향 부분의 최대 높이보다 작다. 예를 들어, 최대 높이(740C)는 최대 높이(740A)보다 작다.
일부 경우에, 개시된 광 지향 부분의 최대 높이는 약 500 마이크로미터 미만, 또는 약 400 마이크로미터 미만, 또는 약 300 마이크로미터 미만, 또는 약 200 마이크로미터 미만, 또는 약 100 마이크로미터 미만, 또는 약 90 마이크로미터 미만, 또는 약 80 마이크로미터 미만, 또는 약 70 마이크로미터 미만, 또는 약 60 마이크로미터 미만, 또는 약 50 마이크로미터 미만, 또는 약 40 마이크로미터 미만, 또는 약 30 마이크로미터 미만, 또는 약 20 마이크로미터 미만, 또는 약 10 마이크로미터 미만이다.
다시 도 1을 참조하면, 각각의 접합 부분(170)은 접합 부분의 복수의 측부 소면(172)을 연결하는 상부 표면(190)을 포함한다. 일부 경우에, 상부 표면(190)은 실질적으로 평탄할 수 있다. 예를 들어, 도 3을 참조하면, 접합 부분(370)의 상부 표면(390)은 실질적으로 평탄하다. 다른 예로서, 도 4를 참조하면, 접합 부분(480)의 상부 표면(490)은 실질적으로 평탄하다.
일반적으로, 접합 부분의 상부 표면은 응용에 바람직할 수 있는 임의의 형상, 예를 들어 임의의 규칙적인 또는 불규칙적인 형상, 또는 프로파일을 가질 수 있다. 예를 들어, 일부 경우에, 접합 부분의 상부 표면은 실질적으로 구분적으로 평탄하다. 예를 들어, 도 25는 y 방향을 따라 연장되고 광 지향 부분(2510) 및 광 지향 부분 상에 배치된 접합 부분(2520)을 포함하는 선형 단일형 개별 구조물(2500)의 3차원 개략도이다. 접합 부분(2520)은 측부 소면(2530) 및 대향하는 측부 소면(2532)을 포함하며, 여기서 2개의 측부 소면은 끼인각 θ2를 갖는다. 일부 경우에, 각각의 측부 소면(2530)은 단일형 개별 구조물(2500)과 관련된 광 지향 필름의 평면 또는 xy 평면과 약 60도, 또는 약 65도, 또는 약 70도, 또는 약 75도, 또는 약 80도, 또는 약 85도 초과인 각도를 이룬다. 접합 부분은 또한 측부 소면(2530, 2532)들을 연결하는 상부 표면(2540)을 포함한다. 상부 표면(2540)은 구분적으로 평탄하고 제1 평탄 표면(2545) 및 제2 평탄 표면(2547)을 포함한다. 일부 경우에, 상부 평탄 표면(2545, 2547)들 각각은 xy 평면과 약 60도, 또는 약 55도, 또는 약 50도, 또는 약 45도, 또는 약 40도, 또는 약 35도, 또는 약 30도, 또는 약 25도, 또는 약 20도, 또는 약 15도, 또는 약 10도 미만인 각도를 이룬다. 2개의 평탄 표면은 상부 표면(2540), 접합 부분(2520), 및 단일형 개별 구조물(2500)의 피크(peak)(2560)에서 교차하며, 여기서 피크(2560)는 선 피크(line peak)이다. 상부 표면 또는 접합 부분의 피크(2540)는 일부 경우에 끼인각 θ2와는 상이할 수 있는, 2개의 평탄 표면 사이의 끼인각 θ5를 갖는다. 일반적으로, 끼인각 θ5는 응용에 바람직할 수 있는 임의의 각도, 예를 들어 약 0도 내지 약 180도의 임의의 각도일 수 있다. 예를 들어, 일부 경우에, 끼인각 θ5는 약 90도, 또는 약 100도, 또는 약 110도, 또는 약 120도, 또는 약 130도, 또는 약 140도, 또는 약 150도, 또는 약 160도, 또는 약 170도 초과일 수 있다. 일부 경우에, 끼인각 θ5는 약 70도, 또는 약 65도, 또는 약 60도, 또는 약 55도, 또는 약 50도, 또는 약 45도, 또는 약 40도, 또는 약 35도, 또는 약 30도, 또는 약 25도, 또는 약 20도 미만이다.
다른 예로서, 도 26은 y 방향을 따라 연장되고 광 지향 부분(2610) 및 광 지향 부분 상에 배치된 접합 부분(2620)을 포함하는 선형 단일형 개별 구조물(2600)의 3차원 개략도이다. 접합 부분(2620)은 측부 소면(2630) 및 대향하는 측부 소면(2632)을 포함하며, 여기서 2개의 측부 소면은 끼인각 θ2를 갖는다. 접합 부분은 또한 측부 소면(2630, 2632)들을 연결하는 상부 표면(2640)을 포함한다. 상부 표면(2640)은 구분적으로 평탄하고 제1 평탄 표면(2642), 제2 평탄 표면(2644), 및 제3 평탄 표면(2646)을 포함한다. 평탄 표면(2644)은 또한 상부 표면(2640), 접합 부분(2620), 및 단일형 개별 구조물(2600)의 피크를 형성한다. 피크(2644)는 일부 경우에 끼인각 θ2와는 상이할 수 있는 끼인각 θ5를 갖는다.
일부 경우에, 예를 들어 소면들이 평탄한 경우, 광 지향 필름의 평면과 약 60도, 또는 약 65도, 또는 약 70도, 또는 약 75도, 또는 약 80도, 또는 약 85도 초과인 각도를 이루는 광 지향 필름의 접합 부분의 소면들은 접합 부분의 측부 소면을 형성하고, 광 지향 필름의 평면과 약 60도, 또는 약 55도, 또는 약 50도, 또는 약 45도, 또는 약 40도, 또는 약 35도, 또는 약 30도, 또는 약 25도, 또는 약 20도, 또는 약 15도, 또는 약 10도 미만인 각도를 이루는 접합 부분의 소면들은 접합 부분의 상부 소면을 형성한다.
일부 경우에, 접합 부분의 상부 표면은 실질적으로 만곡될 수 있다. 예를 들어, 도 9를 참조하면, 접합 부분(970)의 상부 표면(980)은 실질적으로 만곡된다. 일부 경우에, 접합 부분의 상부 표면은 실질적으로 구분적으로 만곡될 수 있다. 예를 들어, 도 27은 y 방향을 따라 연장되고 광 지향 부분(2710) 및 광 지향 부분 상에 배치된 접합 부분(2720)을 포함하는 선형 단일형 개별 구조물(2700)의 3차원 개략도이다. 접합 부분(2720)은 측부 소면(2730) 및 대향하는 측부 소면(2732)을 포함하며, 여기서 2개의 측부 소면은 끼인각 θ2를 갖는다. 접합 부분은 또한 측부 소면(2730, 2732)들을 연결하는 상부 표면(2740)을 포함한다. 상부 표면(2740)은 구분적으로 만곡되고 제1 만곡 표면(2742) 및 제2 만곡 표면(2744)을 포함한다. 2개의 만곡 표면은 상부 표면(2740), 접합 부분(2720), 및 단일형 개별 구조물(2700)의 피크(2760)에서 교차하며, 여기서 피크(2760)는 선 피크이다. 상부 표면, 접합 부분, 및 단일형 개별 구조물의 피크(2760)는 일부 경우에 끼인각 θ2와는 상이할 수 있는, 2개의 만곡 표면 사이의 끼인각 θ5를 갖는다. 일부 경우에, 끼인각 θ5는 약 70도, 또는 약 65도, 또는 약 60도, 또는 약 55도, 또는 약 50도, 또는 약 45도, 또는 약 40도, 또는 약 35도, 또는 약 30도, 또는 약 25도, 또는 약 20도 미만이다.
일부 경우에, 접합 부분의 상부 표면은 하나 이상의 만입부(recession)를 포함할 수 있다. 예를 들어, 도 28은 y 방향을 따라 연장되고 광 지향 부분(2810) 및 광 지향 부분 상에 배치된 접합 부분(2820)을 포함하는 선형 단일형 개별 구조물(2800)의 3차원 개략도이다. 접합 부분(2820)은 측부 소면(2830) 및 대향하는 측부 소면(2832)을 포함하며, 여기서 2개의 측부 소면은 끼인각 θ2를 갖는다. 접합 부분은 또한 측부 소면(2830, 2832)들을 연결하는 상부 표면(2840)을 포함한다. 상부 표면(2840)은 구분적으로 평탄하고 제1 평탄 표면(2842), 제2 평탄 표면(2844), 제3 평탄 표면(2846), 및 제4 평탄 표면(2848)을 포함한다. 인접한 평탄 표면(2842, 2844)들은 상부 표면(2840), 접합 부분(2820), 및 단일형 개별 구조물(2800)의 제1 피크(2860)에서 교차하며, 여기서 제1 피크(2860)는 선 피크이다. 상부 평탄 표면(2842, 2844)들은 제1 피크(2860)에서, 일부 경우에 끼인각 θ2와는 상이할 수 있는 끼인각 θ6를 한정한다. 인접한 평탄 표면(2846, 2846)들은 상부 표면(2840), 접합 부분(2820), 및 단일형 개별 구조물(2800)의 제2 피크(2862)에서 교차하며, 여기서 제1 피크(2862)는 선 피크이다. 상부 평탄 표면(2846, 2848)들은 제2 피크(2862)에서, 일부 경우에 끼인각 θ2 및/또는 θ6와는 상이할 수 있는 끼인각 θ7을 한정한다. 상부 표면(2840)은 제1 피크(2860)와 제2 피크(2862) 사이에 배치되는 만입된 표면 형태의 만입부(2870)를 포함한다. 일부 경우에, 광 지향 필름의 접합 부분의 상부 표면의 예리한 피크는 접합 부분이 광 지향 필름에 부착될 광학 필름 또는 광학 필름의 광학 접착제 층 내로 침투하는 것을 도울 수 있다. 일부 경우에, 접합 부분의 상부 표면, 또는 접합 부분의 기부에 수직인 방향에서의 상부 표면의 단면은 다수의 개별 피크들을 가질 수 있다. 예를 들어, 접합 부분(2820)의 상부 표면(2840)은 2개의 개별 피크(2860, 2862)들을 포함한다. 일반적으로, 상부 표면(2840)의 각각의 피크(2860, 2862)의 피크 각도 θ6 및 θ7은 응용에 바람직할 수 있는 임의의 값을 가질 수 있다. 예를 들어, 일부 경우에, 다수의 개별 피크(2860, 2862)들 중 적어도 하나의 피크 각도는 약 70도, 또는 약 65도, 또는 약 60도, 또는 약 55도, 또는 약 50도, 또는 약 45도, 또는 약 40도, 또는 약 35도, 또는 약 30도, 또는 약 25도, 또는 약 20도 미만일 수 있다.
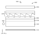
도 30은 제1 기재(3010) 상에 배치된 복수의 단일형 개별 구조물(3030)을 포함하는 광 지향 필름(3020), 광 지향 필름을 향하는 주 표면(3018) 및 광 지향 필름으로부터 멀어지는 쪽을 향하는 대향 주 표면(3019)을 갖는 제2 기재(3015), 및 광 지향 필름을 제2 기재의 표면(3018)에 접합 또는 점착시키기 위해 광 지향 필름(3020)과 제2 기재(3015) 사이에 배치된 광학 접착제 층(3025)을 포함하는 광학 스택(3000)의 개략 측면도이다.
각각의 단일형 개별 구조물(3030)의 부분(3040)은 광학 접착제 층(3025) 내로 침투하고, 단일형 개별 구조물의 침투 부분(3040)으로 지칭될 수 있다. 각각의 단일형 개별 구조물(3030)의 부분(3045)은 광학 접착제 층(3025) 내로 침투하지 않으며, 단일형 개별 구조물의 비침투 부분(3045)으로 지칭될 수 있다. 각각의 침투하는 단일형 개별 구조물은 광학 스택에 대해 수직으로(z 방향) 가장 긴 침투 거리인 침투 깊이(3050)를 한정한다. 예를 들어, 단일형 개별 구조물(3030A)은 침투 깊이 PD1을 갖고 단일형 개별 구조물(3030B)은 침투 깊이 PD2를 갖는다. 각각의 단일형 개별 구조물은 또한 단일형 개별 구조물의 침투 부분(3040)과 비침투 부분(3045) 사이의 계면(3056)에서 침투 기부(3054)를 한정한다. 침투 기부(3054)는, 일부 경우에 x 축을 따른 침투 기부의 폭일 수 있는 최소 침투 기부 치수(3058)를 갖는다. 예를 들어, 단일형 개별 구조물(3030A)은 최소 침투 기부 치수 MD1을 갖고 단일형 개별 구조물(3030B)은 최소 침투 기부 치수 MD2를 갖는다. 복수의 단일형 개별 구조물(3030)은 평균 침투 깊이 및 평균 최소 침투 기부 치수를 갖는다. 예를 들어, 단일형 개별 구조물(3030A, 3030B)들은 (PD1+PD2)/2와 같은 평균 침투 깊이 PDavg, 및 (MD1+MD2)/2와 같은 평균 최소 침투 기부 치수 MDavg를 갖는다. 평균 최소 침투 기부 치수에 대한 평균 침투 깊이의 비는 광 지향 필름(3020)과 표면(3018) 사이에 충분한 점착을 제공하기 위해 충분히 크다. 일부 경우에, 평균 최소 침투 기부 치수에 대한 평균 침투 깊이의 비는 약 1.2 이상, 또는 약 1.4 이상, 또는 약 1.5 이상, 또는 약 1.6 이상, 또는 약 1.8 이상, 또는 약 2 이상, 또는 약 2.5 이상, 또는 약 3 이상, 또는 약 3.5 이상, 또는 약 4 이상, 또는 약 4.5 이상, 또는 약 5 이상, 또는 약 5.5 이상, 또는 약 6 이상, 또는 약 6.5 이상, 또는 약 7 이상, 또는 약 8 이상, 또는 약 9 이상, 또는 약 10 이상, 또는 약 15 이상, 또는 약 20 이상이다.
각각의 단일형 개별 구조물(3030)은 최소 기부 치수(3032)를 갖는 기부(3031)를 포함하며, 여기서 기부(3031)는 또한 광 지향 부분(3070)의 기부이다. 예를 들어, 단일형 개별 구조물(3030A)의 기부는 최소 기부 치수 BMD1을 갖고 단일형 개별 구조물(3030B)의 기부는 최소 기부 치수 BMD2를 갖는다. 복수의 단일형 개별 구조물(3030)은 평균 최소 기부 치수를 갖는다. 예를 들어, 단일형 개별 구조물(3030A, 3030B)들은 (BMD1+BMD2)/2와 같은 평균 최소 기부 치수 BMDavg를 갖는다. 평균 최소 침투 기부 치수 MDavg는 광학 스택(3000)의 유효 투과율의 손실이 전혀 없거나 거의 없도록 평균 최소 기부 치수 BMDavg보다 충분히 더 작다. 예를 들어, 일부 경우에, 평균 최소 침투 기부 치수는 평균 최소 기부 치수의 약 20%, 또는 약 15%, 또는 약 10%, 또는 약 9%, 또는 약 8%, 또는 약 7%, 또는 약 6%, 또는 약 5%, 또는 약 4%, 또는 약 3%, 또는 약 2%, 또는 약 1% 미만이다.
일부 경우에, 광 지향 필름(3020)과 표면(3018) 또는 제2 기재(3015) 사이의 박리 강도는 약 7.9 g/㎝(20 그램/인치), 또는 약 9.8 g/㎝(25 그램/인치), 또는 약 11.8 g/㎝(30 그램/인치), 또는 약 13.8 g/㎝(35 그램/인치), 또는 약 15.7 g/㎝(40 그램/인치), 또는 약 17.7 g/㎝(45 그램/인치), 또는 약 19.7 g/㎝(50 그램/인치), 또는 약 23.6 g/㎝(60 그램/인치), 또는 약 27.6 g/㎝(70 그램/인치), 또는 약 31.5 g/㎝(80 그램/인치), 또는 약 35.4 g/㎝(90 그램/인치), 또는 약 39.4 g/㎝(100 그램/인치), 또는 약 43.3 g/㎝(110 그램/인치), 또는 약 47.2 g/㎝(120 그램/인치), 또는 약 51.2 g/㎝(130 그램/인치), 또는 약 55.1 g/㎝(140 그램/인치), 또는 약 59.1 g/㎝(150 그램/인치) 초과이다.
일부 경우에, 광학 스택(3000)은 광학 접착제 층(3025)과 광 지향 필름(3020) 사이에 복수의 공극(3060)을 포함한다. 일부 경우에, 공극들은 개별적인 것이며, 이는 각각의 공극이 다른 공극들로부터 분리된 것으로서 그리고 개별적으로 특정될 수 있음을 의미한다. 일부 경우에, 개별 공극은 상부에서 광학 접착제 층(3025)에 의해, 하부에서 광 지향 필름(3020)에 의해, 하나의 측부에서 단일형 개별 구조물의 비침투 부분에 의해, 그리고 반대편 측부에서 이웃하는 또는 인접한 단일형 개별 구조물의 비침투 부분에 의해 제약된다.
일부 경우에, 광학 접착제 층(3025) 내로의 단일형 개별 구조물(3030) 또는 침투 부분(3040)의 침투는 광학 스택(3000)의 유효 투과율의 손실이 전혀 없거나 거의 없게 한다. 예를 들어, 그러한 경우에, 광학 스택(3000)의 평균 유효 투과율은 단일형 개별 구조물이 광학 접착제 층(3025) 내로 침투하지 않는 것을 제외하고는 동일한 구성을 갖는 광학 스택과 비교할 때 작지 않거나 약 20%, 또는 약 15%, 또는 약 10%, 또는 약 9%, 또는 약 8%, 또는 약 7%, 또는 약 6%, 또는 약 5%, 또는 약 4%, 또는 약 3%, 또는 약 2%, 또는 약 1% 이하만큼 작다.
각각의 단일형 개별 구조물(3030)은 광을 지향시키도록 주로 설계된 광 지향 부분(3070), 및 광 지향 필름(3020)을 표면(3018) 또는 제2 기재(3015)에 접합시키도록 주로 설계된 접합 부분(3080)을 포함한다. 일부 경우에, 각각의 단일형 개별 구조물의 접합 부분의 적어도 일부분은 광학 접착제 층(3025) 내로 침투하고, 각각의 단일형 개별 구조물의 광 지향 부분의 적어도 일부분은 광학 접착제 층 내로 침투하지 않는다. 일부 경우에, 예를 들어 휘도를 향상시키기 위해 광을 효과적으로 지향시키는 것이 바람직할 때, 접합 부분(3080)의 적어도 일부분만이 광학 접착제 층(3025) 내로 침투하고 광 지향 부분(3070)의 일부분은 광학 접착제 층(3025) 내로 전혀 침투하지 않거나 거의 침투하지 않는다.
예시적인 광학 스택(3000)에서, 광 지향 필름(3020)의 단일형 개별 구조물(3030)은 광학 접착제 층(3025) 내로 침투한다. 일반적으로, 단일형 개별 구조물(3030)은 침투될 수 있고 응용에 바람직한 임의의 광학 층 내로 침투할 수 있다. 일반적으로, 광학 스택(3000)은 제1 복수의 단일형 개별 구조물(3030)을 포함하는 광 지향 필름(3020)을 포함한다. 광학 스택(3000)은 또한 광 지향 필름(3020) 상에 배치되는 광학 층(3025)을 포함한다. 제1 복수의 단일형 개별 구조물의 각각의 단일형 개별 구조물(3030)의 일부분은 광학 층(3025) 내로 침투한다. 제1 복수의 단일형 개별 구조물의 각각의 단일형 개별 구조물(3030)의 일부분은 광학 층(3025) 내로 침투하지 않는다. 제1 복수의 단일형 개별 구조물의 각각의 단일형 개별 구조물(예를 들어, 단일형 개별 구조물(3030A))은 단일형 개별 구조물의 침투 부분과 비침투 부분 사이의 계면(예를 들어, 계면(3056))에서 침투 깊이(예를 들어, PD1) 및 침투 기부(예를 들어, 침투 기부(3054))를 한정한다. 침투 기부는 최소 침투 기부 치수(예를 들어, MD1)를 갖는다. 제1 복수의 단일형 개별 구조물(3030)은 평균 침투 깊이 및 평균 최소 침투 기부 치수를 갖는다. 평균 최소 침투 기부 치수에 대한 평균 침투 깊이의 비는 1.5 이상이고, 광 지향 필름(3020)과 광학 층(3025) 사이의 박리 강도는 약 11.8 g/㎝(30 그램/인치) 초과이다.
일부 경우에, 광학 층(3025)은 감압 접착제, 구조용 접착제(structural adhesive), 또는 고온 용융 접착제일 수 있다. 일부 경우에, 광학 층(3025)은 도 32의 도광체(3110)와 같은 도광체 - 이 도광체는 내부 전반사에 의해 도광체 내에서 전파되는 광을 추출하기 위한, 광 추출기(3112)와 같은, 수단을 포함함 - 일 수 있다.
일부 경우에, 광학 스택(3000)은 최대 작동 온도 Tmax를 갖고 광학 층(3025)은 Tmax보다 높은 유리 전이 온도 Tg를 갖는다. 그러한 경우에, 광학 스택(3000)은 맨 먼저 광학 층(3025)의 온도를 광학 층의 Tg보다 높은 온도까지 증가시킴으로써 제조될 수 있다. 다음에, 가열된 광학 층 및 광 지향 필름(3070)은 단일형 개별 구조물(3030)의 일부분이 가열된 광학 층 내로 침투하도록 서로에 대항하여 가압될 수 있다. 다음에, 광학 층의 온도는 예를 들어 실온까지 감소될 수 있다. Tmax는 Tg보다 낮기 때문에, 광학 스택은 Tmax보다 낮은 온도에서 사용될 때 온전하게 그리고 라미네이팅된 상태로 유지된다.
제1 복수의 단일형 개별 구조물의 구조물들 전부는 단일형이다. 더욱이, 각각의 구조물의 일부분만이 광학 층(3025) 내로 침투하여 평균 침투 깊이 및 평균 최소 침투 기부 치수를 생성한다. 또한, 평균 최소 침투 기부 치수에 대한 평균 침투 깊이의 비는 약 1.2 이상, 또는 약 1.4 이상, 또는 약 1.5 이상, 또는 약 1.6 이상, 또는 약 1.8 이상, 또는 약 2 이상, 또는 약 2.5 이상, 또는 약 3 이상, 또는 약 3.5 이상, 또는 약 4 이상, 또는 약 4.5 이상, 또는 약 5 이상, 또는 약 5.5 이상, 또는 약 6 이상, 또는 약 6.5 이상, 또는 약 7 이상, 또는 약 8 이상, 또는 약 9 이상, 또는 약 10 이상, 또는 약 15 이상, 또는 약 20 이상이다.
일부 경우에, 광 지향 필름(3020)은 제2 복수의 단일형 개별 구조물을 포함할 수 있고, 여기서 제2 복수의 단일형 개별 구조물의 적어도 하나의 단일형 개별 구조물은 광학 층(3025) 내로 침투하지 않는다. 예를 들어, 제2 복수의 구조물의 일부 단일형 개별 구조물들은 그들이 광학 층(3025) 내로 침투하지 않도록 구조물(3030)보다 충분히 더 짧을 수 있다. 예를 들어, 도 34를 참조하면, 제1 복수의 단일형 개별 구조물은 구조물(3320)을 포함할 수 있고 제2 복수의 단일형 개별 구조물은 구조물(3320)보다 짧기 때문에 광학 층(3420) 내로 침투하지 않는 구조물(3330)을 포함할 수 있다. 일부 경우에, 광 지향 필름(3020)은 복합형이고 단일형이 아닌 제2 복수의 구조물을 포함할 수 있다. 예를 들어, 제2 복수의 구조물은 도 2에 도시된 복합형 구조물(200)과 유사한 복합형 구조물을 포함할 수 있다.
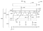
도 31은 정보를 형성하여 관찰자(1990)에게 디스플레이하기 위한 이미지 형성 패널(1950)을 포함하는 디스플레이 시스템(3100)의 개략 측면도이다. 이미지 형성 패널(1950)은 후방 반사기(3105) - 상기 후방 반사기는 후방 반사기에 입사하는 광을 이미지 형성 패널(1950) 및 관찰자(1990)를 향해 반사하기 위한 것임 -, 램프(3115)에 의해 방출되는 광(3116)을 수광하고 수광된 광을 이미지 형성 패널(1950)을 향해 방출하기 위한 도광체(3110), 및 도광체(3110) 상에 배치되어 점착된 광학 스택(3135)을 포함하는 조명 시스템(3145) 상에 배치된다.
광학 스택(3135)은 제2 광학 스택(3125) 상에 배치되어 견고하게 부착된 제1 광학 스택(3115)을 포함한다. 제1 광학 스택(3115)은 제1 광학 스택을 제2 광학 스택에 점착시키기 위한 제1 광학 접착제 층(3170), 및 제1 광학 접착제 층(3170) 상에 배치된 반사 편광기 층(3180)을 포함한다. 반사 편광기 층(3180)은 제1 편광 상태의 광을 실질적으로 반사하고 제1 편광 상태에 직교하는 제2 편광 상태의 광을 실질적으로 투과시킨다. 예를 들어, 반사 편광기 층(3180)은 제1 편광 상태의 50% 이상, 또는 60% 이상, 또는 70% 이상, 또는 80% 이상, 또는 90% 이상을 반사하고, 제1 편광 상태에 직교하는 제2 편광 상태의 50% 이상, 또는 60% 이상, 또는 70% 이상, 또는 80% 이상, 또는 90% 이상을 투과시킨다. 일반적으로, 반사 편광기 층(3180)의 통과축 또는 투과축은 응용에 바람직할 수 있는 임의의 방향을 따라 배향될 수 있다. 예를 들어, 일부 경우에, 반사 편광기 층의 통과축은 x축 또는 y축을 따르거나 x축 및 y축과 45도 각도를 이룰 수 있다. 일부 경우에, 반사 편광기 층(3180)은 하나 이상의 방향을 따른 광 시준 효과를 가질 수 있으며, 이는 반사 편광기 층이 하나 이상의 방향에서 더 좁은 시야 원추(viewing cone)로 광을 구속할 수 있다는 것을 의미한다. 예를 들어, 일부 경우에, 반사 편광기 층(3180)은 xz 평면, yz 평면 또는 둘 모두에서 시야 원추를 감소시킬 수 있다.
일부 경우에, 디스플레이 시스템(3100)은 반사 편광기 층(3180)을 포함하지 않는다. 그러한 경우에, 디스플레이 시스템은 제1 광학 접착제 층(3170)에 점착된 제2 광 지향 필름을 포함할 수 있다.
제2 광학 스택(3125)은 제2 광학 스택을 도광체(3110)에 점착시키기 위한 제2 광학 접착제 층(3120), 제2 광학 접착제 층 상에 배치된 저굴절률 층(3130), 및 저굴절률 층(3130) 상에 배치된 광 지향 필름(3140)을 포함한다.
저굴절률 층(3130)은 굴절률 nb를 갖는 결합제 중에 분산된 복수의 공극을 포함한다. 일부 경우에, 복수의 공극은 결합제 중에 분산된 복수의 상호연결된 공극이거나 이를 포함한다.
일부 경우에, 저굴절률 층은 낮은 광학적 탁도를 갖는다. 예를 들어, 그러한 경우에, 저굴절률 층의 광학적 탁도는 약 8% 이하, 또는 약 7% 이하, 또는 약 6% 이하, 또는 약 5% 이하, 또는 약 4% 이하, 또는 약 3% 이하, 또는 약 2% 이하, 또는 약 1% 이하이다. 저굴절률 층(3130)에 수직 입사하는 광의 경우, 광학적 탁도는 본 명세서에 사용된 바와 같이 전체 투과된 광에 대한, 수직 방향으로부터 4도 초과만큼 벗어난 투과된 광의 비로서 정의된다. 본 명세서에 개시된 탁도 값은 ASTM D1003에 기술된 절차에 따라 헤이즈-가드 플러스(Haze-guard Plus) 탁도계(미국 메릴랜드주 실버 스프링스 소재의 비와이케이-가디너(BYK-Gardiner))를 사용해 측정하였다.
일부 경우에, 저굴절률 층(3130) 내의 공극은 스펙트럼의 가시 범위 내의 파장보다 충분히 더 작아서, 저굴절률 층이 저굴절률 층 내의 결합제의 굴절률 nb보다 실질적으로 작은 유효 굴절률을 갖게 한다. 그러한 경우에, 저굴절률 층의 유효 굴절률은 공극 및 결합제의 굴절률들의 체적 가중된 평균이다. 예를 들어, 약 1.5의 굴절률을 갖는 결합제 및 약 50%의 공극 체적 분율을 갖는 저굴절률 층(3130)은 약 1.25의 유효 굴절률을 갖는다. 일부 경우에, 스펙트럼의 가시 범위 내의 저굴절률 층의 평균 유효 굴절률은 약 1.4 미만, 또는 약 1.35 미만, 또는 약 1.3 미만, 또는 약 1.25 미만, 또는 약 1.2 미만, 또는 약 1.15 미만, 또는 약 1.1 미만, 또는 약 1.09 미만, 또는 약 1.08 미만, 또는 약 1.07 미만, 또는 약 1.06 미만, 또는 약 1.05 미만이다.
일부 경우에, 저굴절률 층(3130)은 큰 광학적 탁도를 갖는다. 그러한 경우에, 저굴절률 층의 광학적 탁도는 약 10% 이상, 또는 약 15% 이상, 또는 약 20% 이상, 또는 약 25% 이상, 또는 약 30% 이상, 또는 약 35% 이상, 또는 약 40% 이상, 또는 약 45% 이상, 또는 약 50% 이상, 또는 약 60% 이상, 또는 약 70% 이상, 또는 약 80% 이상이다. 그러한 경우에, 저굴절률 층(3130)은 내부 반사를 향상시키는 것이 가능할 수 있으며, 이는 반사가 굴절률 nb(결합제 굴절률)를 갖는 재료가 생성하는 것보다 더 크다는 것을 의미한다. 그러한 경우에, 저굴절률 층(3130)은 저굴절률 층의 표면에서 내부 전반사를 겪는 광선의 순간적인 말단이 저굴절률 층의 두께에 걸쳐 광학적으로 전혀 결합되지 않거나 광학적으로 거의 결합되지 않을 정도로 충분히 두껍다. 그러한 경우에, 저굴절률 층(3130)의 두께는 약 1 마이크로미터 이상, 또는 약 1.1 마이크로미터 이상, 또는 약 1.2 마이크로미터 이상, 또는 약 1.3 마이크로미터 이상, 또는 약 1.4 마이크로미터 이상, 또는 약 1.5 마이크로미터 이상, 또는 약 1.7 마이크로미터 이상, 또는 약 2 마이크로미터 이상이다. 충분히 두꺼운 저굴절률 층(3130)은 저굴절률 층의 두께에 걸친 광학 모드의 순간적인 말단의 바람직하지 않은 광학적 결합을 방지하거나 감소시킬 수 있다.
일부 경우에, 저굴절률 층(3130)은 또한 결합제 중에 분산된 복수의 입자를 포함한다. 입자는 응용에 바람직할 수 있는, 임의의 규칙적인 또는 불규칙적인 형상과 같은, 임의의 형상 또는 크기를 가질 수 있다. 예를 들어, 일부 경우에, 입자의 적어도 대부분, 예를 들어 입자의 60% 이상, 또는 70% 이상, 또는 80% 이상, 또는 90% 이상, 또는 95% 이상이 요구되는 범위에 있는 크기를 갖는다. 예를 들어, 일부 경우에, 입자의 적어도 대부분, 예를 들어 입자의 60% 이상, 또는 70% 이상, 또는 80% 이상, 또는 90% 이상, 또는 95% 이상이 약 5 마이크로미터 이하, 또는 약 3 마이크로미터 이하, 또는 약 2 마이크로미터 이하, 또는 약 1 마이크로미터 이하, 또는 약 700 ㎚ 이하, 또는 약 500 ㎚ 이하, 또는 약 200 ㎚ 이하, 또는 약 100 ㎚ 이하, 또는 약 50 ㎚ 이하인 크기를 갖는다.
일부 경우에, 입자들은 약 5 마이크로미터 이하, 또는 약 3 마이크로미터 이하, 또는 약 2 마이크로미터 이하, 또는 약 1 마이크로미터 이하, 또는 약 700 ㎚ 이하, 또는 약 500 ㎚ 이하, 또는 약 200 ㎚ 이하, 또는 약 100 ㎚ 이하, 또는 약 50 ㎚ 이하인 평균 입자 크기를 갖는다.
일부 경우에, 저굴절률 층 내의 입자는 입자의 주요한 광학적 효과가 저굴절률 층(3130)의 유효 굴절률에 영향을 미치는 것일 정도로 충분히 작다. 예를 들어, 그러한 경우에, 입자는 약 λ/5 이하, 또는 약 λ/6 이하, 또는 약 λ/8 이하, 또는 약 λ/10 이하, 또는 약 λ/20 이하인 평균 크기를 가지며, 여기서 λ는 가시광의 평균 파장이다. 다른 예로서, 그러한 경우에, 평균 입자 크기는 약 70 ㎚ 이하, 또는 약 60 ㎚ 이하, 또는 약 50 ㎚ 이하, 또는 약 40 ㎚ 이하, 또는 약 30 ㎚ 이하, 또는 약 20 ㎚ 이하, 또는 약 10 ㎚ 이하이다.
저굴절률 층(3130) 내의 입자는 응용에 바람직할 수 있는 임의의 형상을 가질 수 있다. 예를 들어, 입자는 규칙적인 또는 불규칙적인 형상을 가질 수 있다. 예를 들어, 입자는 대략적으로 구형일 수 있다. 다른 예로서, 입자는 길 수 있다.
일반적으로, 저굴절률 층(3130)은 균일한 또는 비균일한 유효 굴절률 및/또는 광학적 탁도를 가질 수 있다. 예를 들어, 일부 경우에, 저굴절률 층(3130)은 균일한 유효 굴절률 및 균일한 광학적 탁도를 가질 수 있다. 다른 예로서, 일부 경우에, 저굴절률 층(3130)은 비균일한 광학적 탁도를 가질 수 있다. 예를 들어, 일부 경우에, 저굴절률 층(3130)은 예를 들어 저굴절률 층의 두께 방향을 따른 구배형 광학적 탁도를 가질 수 있다. 다른 예로서, 저굴절률 층(3130)은 다층을 포함할 수 있으며, 여기서 층들 중 적어도 일부는 상이한 유효 굴절률 및/또는 광학적 탁도 값을 갖는다. 예를 들어, 일부 경우에, 저굴절률 층(3130)은 다층을 포함할 수 있으며, 여기서 각각의 층은 상이한 유효 굴절률 및/또는 광학적 탁도를 갖는다. 그러한 경우에, 저굴절률 층(3130)은 계단형 유효 굴절률 프로파일을 가질 수 있다. 다른 예로서, 저굴절률 층(3130)은 교번하는 고 광학적 탁도 및 저 광학적 탁도를 갖는 다층을 포함할 수 있다. 비균일한 광학적 탁도 및/또는 유효 굴절률을 갖는 예시적인 저굴절률 층(3130)이, 예를 들어 2009년 10월 24일자로 출원되고 대리인 문서 번호가 65716US002이며 발명의 명칭이 "구배형 저굴절률 용품 및 방법(Gradient Low Index Article and Method)"인 미국 특허 출원 제61/254673호, 및 2009년 10월 24일자로 출원되고 대리인 문서 번호가 65766US002이며 발명의 명칭이 "구배형 나노공극 형성된 물품을 위한 공정(Process for Gradient Nanovoided Article)"인 미국 특허 출원 제61/254674호에 기재되어 있으며, 이들 특허 문헌의 개시 내용은 전체적으로 본 명세서에 참고로 포함된다.
광 지향 필름(3140)은 복수의 단일형 개별 구조물(3155)을 포함한다. 각각의 단일형 개별 구조물(3155)의 부분(3156)은 제1 광학 접착제 층(3170) 내로 침투하고, 단일형 개별 구조물의 침투 부분(3156)으로 간주될 수 있다. 각각의 단일형 개별 구조물(3155)의 부분(3157)은 제1 광학 접착제 층(3170) 내로 침투하지 않으며, 단일형 개별 구조물의 비침투 부분(3157)으로 간주될 수 있다. 각각의 단일형 개별 구조물(3155)은 단일형 개별 구조물의 침투 부분(3156)과 비침투 부분(3157) 사이의 계면(3162)에서 침투 깊이(3172) 및 침투 기부(3158)를 한정한다. 침투 기부(3158)는, 일부 경우에 x 방향을 따른 침투 기부의 폭일 수 있는 최소 침투 기부 치수(3159)를 갖는다. 복수의 단일형 개별 구조물(3155)은 개개의 단일형 개별 구조물들의 침투 깊이의 평균인 평균 침투 깊이, 및 침투 기부들 전부의 최소 침투 기부 치수의 평균인 평균 최소 침투 기부 치수를 갖는다. 일부 경우에, 평균 최소 침투 기부 치수에 대한 평균 침투 깊이의 비는 약 1.2 이상, 또는 약 1.3 이상, 또는 약 1.4 이상, 또는 약 1.5 이상, 또는 약 1.6 이상, 또는 약 1.8 이상, 또는 약 2 이상, 또는 약 2.5 이상, 또는 약 3 이상, 또는 약 3.5 이상, 또는 약 4 이상, 또는 약 4.5 이상, 또는 약 5 이상, 또는 약 5.5 이상, 또는 약 6 이상, 또는 약 6.5 이상, 또는 약 7 이상, 또는 약 8 이상, 또는 약 9 이상, 또는 약 10 이상, 또는 약 15 이상, 또는 약 20 이상이다.
각각의 단일형 개별 구조물(3155)은 최소 기부 치수(3199)를 갖는 기부(3198)를 포함하며, 여기서 기부(3198)는 또한 광 지향 부분(3150)의 기부이다. 복수의 단일형 개별 구조물(3155)은 평균 최소 기부 치수를 갖는다. 평균 최소 침투 기부 치수는 광학 스택(3135)의 유효 투과율의 손실이 전혀 없거나 거의 없도록 평균 최소 기부 치수보다 충분히 더 작다. 예를 들어, 일부 경우에, 평균 최소 침투 기부 치수는 평균 최소 기부 치수의 약 20%, 또는 약 15%, 또는 약 10%, 또는 약 9%, 또는 약 8%, 또는 약 7%, 또는 약 6%, 또는 약 5%, 또는 약 4%, 또는 약 3%, 또는 약 2%, 또는 약 1% 미만이다.
일부 경우에, 제1 광학 스택(3115)과 제2 광학 스택(3125) 사이의 박리 강도는 약 7.9 g/㎝(20 그램/인치), 또는 약 9.8 g/㎝(25 그램/인치), 또는 약 11.8 g/㎝(30 그램/인치), 또는 약 13.8 g/㎝(35 그램/인치), 또는 약 15.7 g/㎝(40 그램/인치), 또는 약 17.7 g/㎝(45 그램/인치), 또는 약 19.7 g/㎝(50 그램/인치), 또는 약 23.6 g/㎝(60 그램/인치), 또는 약 27.6 g/㎝(70 그램/인치), 또는 약 31.5 g/㎝(80 그램/인치), 또는 약 35.4 g/㎝(90 그램/인치), 또는 약 39.4 g/㎝(100 그램/인치), 또는 약 43.3 g/㎝(110 그램/인치), 또는 약 47.2 g/㎝(120 그램/인치), 또는 약 51.2 g/㎝(130 그램/인치), 또는 약 55.1 g/㎝(140 그램/인치), 또는 약 59.1 g/㎝(150 그램/인치) 초과이다.
일부 경우에, 단일형 개별 구조물(3155)은 응용에 바람직할 수 있는 임의의 방향을 따라 연장되는 선형 구조물이다. 예를 들어, 일부 경우에, 구조물(3155)의 선형 방향은 반사 편광기 층(3180)의 통과축에 평행일 수 있다. 다른 예로서, 일부 경우에, 구조물(3155)의 선형 방향은 반사 편광기 층(3180)의 통과축에 수직일 수 있다.
일부 경우에, 제1 광학 스택 및 제2 광학 스택 각각에서 2개의 이웃하는 각각의 주 표면들의 상당한 부분들이 서로 물리적으로 접촉한다. 예를 들어, 그러한 경우에, 제1 광학 스택 및 제2 광학 스택 각각에서 2개의 이웃하는 각각의 주 표면들의 50% 이상, 또는 60% 이상, 또는 70% 이상, 또는 80% 이상, 또는 90% 이상이 서로 물리적으로 접촉한다.
램프(3115)에 의해 방출되는 광(3116)은 도광체의 측면(3127)으로부터 도광체(3110)에 진입하고 x 방향을 따라 도광체의 길이를 가로질러 전파된다. 저굴절률 층(3130)은 내부 전반사를 지원하고/하거나 저굴절률 층(3130)과 제2 광학 접착제 층(3120) 사이의 계면(3122)에서의 내부 반사를 향상시킴으로써 도광체(3110) 내에서의 광의 전파를 촉진한다. 일반적으로, 도광체(3110)는 도광체 내에서 전파되는 광을 이미지 형성 패널(1950)의 일반적인 방향을 향해 추출하기 위한 하나 이상의 수단을 포함한다. 예를 들어, 일부 경우에, 도광체(3110)는 일부 경우에 광을 추출하기 위해 도광체의 하부 표면(3124) 상에 배치된 복수의 광 추출기(3112)를 포함한다. 다른 예로서, 일부 경우에, 도광체는 웨지(wedge) 도광체일 수 있다. 광 추출기(3112)는 TIR을 방해함으로써 광을 추출할 수 있는 임의의 유형의 구조물일 수 있다. 예를 들어, 광 추출기(3112)는 함몰부(depression) 또는 돌출부일 수 있다. 일부 경우에, 광 추출기는 프린팅, 예를 들어 잉크젯 또는 스크린 프린팅 또는 에칭, 예를 들어 습식 또는 건식 에칭에 의해 형성될 수 있다.
일반적으로, 본 명세서에 개시된 도광체, 예를 들어 도광체(1920, 3110)들은 응용에 바람직할 수 있는 임의의 유형의 도광체일 수 있다. 예를 들어, 일부 경우에, 개시된 도광체는 약 500 마이크로미터, 또는 약 400 마이크로미터, 또는 약 300 마이크로미터, 또는 약 200 마이크로미터, 또는 약 100 마이크로미터, 또는 약 75 마이크로미터, 또는 약 50 마이크로미터, 또는 약 25 마이크로미터 미만인 두께를 갖는 박막 도광체일 수 있다. 다른 예로서, 일부 경우에, 개시된 도광체는 약 0.5 ㎜, 또는 약 1 ㎜, 또는 약 1.5 ㎜, 또는 약 2 ㎜ 초과인 두께를 갖는 플레이트 도광체일 수 있다. 일부 경우에, 개시된 도광체는 평행한 주 표면들을 갖는 슬래브(slab) 도광체 또는 비평행한, 예를 들어 수렴하거나 발산하는 주 표면들을 갖는 웨지 도광체일 수 있다. 일부 경우에, 개시된 도광체는 직사각형 또는 정사각형일 수 있다. 일부 경우에, 개시된 도광체는 실질적으로 평평하거나 만곡될 수 있다. 일반적으로, 개시된 도광체는 응용에 바람직할 수 있는 충분히 광학적으로 투명한 임의의 재료로 제조될 수 있다. 예시적인 재료는 중합체, 예를 들어 폴리카르보네이트, 아크릴 및 사이클로 올레핀 중합체(COP) 및 유리를 포함한다.
제1 광학 스택(3115)은 또한 표면 확산기 및/또는 벌크 확산기일 수 있는 광 확산 층(3190)을 포함한다. 광 확산 층(3190)은 광의 확산, 먼지 입자 또는 스크래치와 같은 결함의 은폐 또는 숨김, 및/또는 무아레와 같은 바람직하지 않은 광학적 효과의 가시성 감소를 도울 수 있다. 일부 경우에, 광 확산 층(3190)은 본 명세서에 개시된 광학 층 또는 필름으로 대체되거나 이를 포함할 수 있다. 예를 들어, 일부 경우에, 광 확산 층(3190)은 반사 편광기 또는 광 지향 필름, 예를 들어 광 지향 필름(4100 또는 4300)으로 대체될 수 있다. 그러한 경우에, 광 지향 필름(3190)은 제1 방향을 따라 연장되는 선형 구조물을 포함할 수 있고 광 지향 필름(3140)은 제2 방향을 따라 연장되는 선형 단일형 개별 구조물을 포함할 수 있으며, 여기서 제1 방향과 제2 방향 사이의 각도는 응용에 바람직할 수 있는 임의의 각도일 수 있다. 예를 들어, 제1 방향과 제2 방향 사이의 각도는 약 90도, 또는 약 90도 미만, 또는 약 80도 미만, 또는 약 70도 미만, 또는 약 60도 미만, 또는 약 50도 미만, 또는 약 40도 미만, 또는 약 30도 미만, 또는 약 20도 미만, 또는 약 10도 미만일 수 있다. 일부 경우에, 반사 편광기 층(3180)은 광 지향 필름, 예를 들어 광 지향 필름(4100 또는 4300)으로 대체되거나 이를 포함할 수 있다. 일부 경우에, 디스플레이 시스템(3100)은 반사 편광기 층(3180)과 이미지 형성 패널(1950) 사이에, 광 확산 층(3190)과 같은, 임의의 광 확산 층을 포함하지 않는다.
각각의 단일형 개별 구조물(3155)은 광학 스택(3135)의 유효 투과율을 전혀 감소시키지 않거나 거의 감소시키지 않고 주로 제2 광학 스택(3125)을 제1 광학 스택(3115)에 견고하게 접합시키기 위한 접합 부분(3160) 및 주로 광을 지향시키기 위한 광 지향 부분(3150)을 포함한다. 일부 경우에, 침투 부분(3156) 또는 단일형 개별 구조물(3155)의 제1 광학 접착제 층(3170) 내로의 침투는 광학 스택(3135)의 유효 투과율의 손실이 전혀 없거나 거의 없게 한다. 예를 들어, 그러한 경우에, 광학 스택(3135)의 평균 유효 투과율은 단일형 개별 구조물이 제1 광학 접착제 층(3170) 내로 침투하지 않는 것을 제외하고는 동일한 구성을 갖는 광학 스택과 비교할 때 작지 않거나 약 20%, 또는 약 15%, 또는 약 10%, 또는 약 9%, 또는 약 8%, 또는 약 7%, 또는 약 6%, 또는 약 5%, 또는 약 4%, 또는 약 3%, 또는 약 2%, 또는 약 1% 이하만큼 작다.
일부 경우에, 단일형 개별 구조물(3155)은 도광체(3110)의 측면(3127)에 실질적으로 평행한 선형 구조물이며, 여기서 측면(3127)은 램프(3115)에 의해 방출되는 광(3116)을 수광하는 도광체의 측면이다. 예를 들어, 그러한 경우에, 선형 단일형 개별 구조물(3155) 및 측면(3127)은 y 방향을 따라 연장될 수 있다. 일부 경우에, 측면(3127)은 y 방향과 같은 한 방향을 따라 연장될 수 있고, 선형 단일형 개별 구조물은 x 방향과 같은 직교 방향을 따라 연장될 수 있다.
일반적으로, 디스플레이 시스템(3100)은 도 31에 명시적으로 도시되지 않은 임의의 추가의 광학 층을 포함할 수 있다. 예를 들어, 일부 경우에, 디스플레이 시스템(3100)은 예를 들어 반사 편광기 층(3180)과 제1 광학 접착제 층(3170) 사이에 하나 이상의 추가 층을 포함할 수 있다. 다른 예로서, 일부 경우에, 디스플레이 시스템(3100)은 접착제 층이 저굴절률 층 내의 공극 내로 확산되고 이를 충전하는 것을 방지하기 위해 저굴절률 층(3130)과 제2 광학 접착제 층(3120) 사이에 배치된 밀봉 또는 장벽 층을 포함할 수 있다.
후방 반사기(3105)는 응용에 바람직할 수 있는 임의의 광 반사기일 수 있다. 예를 들어, 일부 경우에, 후방 반사기(3105)는 주로 경면 반사기(specular reflector) 또는 주로 확산 반사기일 수 있다. 다른 예로서, 일부 경우에, 후방 반사기(3105)는 부분적으로 확산 반사기 및 부분적으로 경면 반사기일 수 있다. 일부 경우에, 후방 반사기(3105)는 알루미늄 도금 필름, 은 코팅 필름, 또는 다층 중합체 반사성 필름, 예를 들어 미국 미네소타주 세인트 폴 소재의 쓰리엠 컴퍼니(3M Company)로부터 입수가능한 강화 경면 반사기(enhanced specular reflector, ESR) 필름일 수 있다. 일부 경우에, 후방 반사기(3105)는 표면 및/또는 체적 확산기를 포함함으로써 광을 확산 반사할 수 있다.
예시적인 디스플레이 시스템(3100)에서, 도광체(3110)로부터 추출된 광은 양의 z 방향을 따라 이미지 형성 장치(1950)를 향해 지향된다. 일부 경우에, 도광체로부터 추출된 광은 하나 초과의 방향을 따라 지향될 수 있다. 예를 들어, 도 49는 도광체로부터 추출된 광의 일부를 양의 z 방향을 따라 지향시키고 추출된 광의 다른 일부를 음의 z 방향을 따라 지향시키는 광학 스택(4900)의 개략 측면도이다.
일부 경우에, 본 명세서에 개시된, 반사 편광기 층(3180)과 같은, 반사 편광기는 입사 광의 일부를 반사하고 입사 광의 다른 일부를 투과시키는 부분 반사 층으로 대체될 수 있다. 일반적으로, 반사된 빔과 투과된 빔 각각은 경면 부분 및 확산 부분을 가질 수 있다. 예를 들어, 입사 광의 일부는 부분 반사 층에 의해 경면 반사될 수 있고 입사 광의 다른 일부는 부분 반사 층에 의해 확산 반사될 수 있다. 다른 예로서, 입사 광의 일부는 부분 반사 층에 의해 경면 투과될 수 있고 입사 광의 다른 일부는 부분 반사 층에 의해 확산 투과될 수 있다. 다른 예로서, 부분 반사 층(3180)은 광을 경면 투과시키고 광을 확산 반사하거나, 광을 확산 투과시키고 광을 경면 반사할 수 있다. 일부 경우에, 부분 반사 층(3180)은 비편광 부분 반사 층일 수 있다. 예를 들어, 부분 반사 층(3180)은 부분 반사성 금속 및/또는 유전체 층을 포함할 수 있다. 일부 경우에, 부분 반사 층(3180)은 본 명세서에 개시된 반사 편광기와 유사한 편광 부분 반사 층일 수 있다.
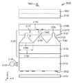
도 32는 디스플레이 시스템(3100)과 유사한 디스플레이 시스템(3200)의 개략 측면도이다. 디스플레이 시스템(3200)에서, 반사 편광기 층(3180)이 이미지 형성 패널(1950) 상에 배치되어 점착되고 광 확산 층(3190)이 제1 광학 접착제 층(3170) 상에 배치된다. 디스플레이 시스템(3200)의 광학 스택(3210)은 제2 광학 접착제 층(3120), 제2 광학 접착제 층 상에 배치된 저굴절률 층(3130), 저굴절률 층 상에 배치되고 복수의 단일형 개별 구조물(3155)을 포함하는 광 지향 필름(3140), 및 광 지향 필름 상에 배치된 제1 광학 접착제 층(3170)을 포함한다. 각각의 단일형 개별 구조물의 부분(3156)은 제1 광학 접착제 층(3170) 내로 침투하고 각각의 단일형 개별 구조물의 부분(3157)은 제1 광학 접착제 층(3170) 내로 침투하지 않는다. 각각의 단일형 개별 구조물(3155)은 단일형 개별 구조물의 침투 부분과 비침투 부분 사이의 계면(3162)에서 침투 깊이(3172) 및 침투 기부(3158)를 한정한다. 침투 기부(3158)는 최소 치수(3159)를 갖는다. 복수의 단일형 개별 구조물(3155)은 평균 침투 깊이 및 평균 최소 치수를 갖는다. 평균 최소 치수에 대한 평균 침투 깊이의 비는 약 1.2 이상, 또는 약 1.3 이상, 또는 약 1.4 이상, 또는 약 1.5 이상, 또는 약 1.6 이상, 또는 약 1.8 이상, 또는 약 2 이상, 또는 약 2.5 이상, 또는 약 3 이상, 또는 약 3.5 이상, 또는 약 4 이상, 또는 약 4.5 이상, 또는 약 5 이상, 또는 약 5.5 이상, 또는 약 6 이상, 또는 약 6.5 이상, 또는 약 7 이상, 또는 약 8 이상, 또는 약 9 이상, 또는 약 10 이상, 또는 약 15 이상, 또는 약 20 이상이다.
일부 경우에, 침투 부분(3156) 또는 단일형 개별 구조물(3155)의 제1 광학 접착제 층(3170) 내로의 침투는 광학 스택(3210)의 유효 투과율의 손실이 전혀 없거나 거의 없게 한다. 예를 들어, 그러한 경우에, 광학 스택(3210)의 평균 유효 투과율은 단일형 개별 구조물이 제1 광학 접착제 층(3170) 내로 침투하지 않는 것을 제외하고는 동일한 구성을 갖는 광학 스택과 비교할 때 작지 않거나 약 20%, 또는 약 15%, 또는 약 10%, 또는 약 9%, 또는 약 8%, 또는 약 7%, 또는 약 6%, 또는 약 5%, 또는 약 4%, 또는 약 3%, 또는 약 2%, 또는 약 1% 이하만큼 작다.
각각의 단일형 개별 구조물(3155)은 최소 기부 치수(3199)를 갖는 기부(3198)를 포함한다. 복수의 단일형 개별 구조물(3155)은 평균 최소 기부 치수를 갖는다. 평균 최소 침투 기부 치수는 광학 스택(3210)의 유효 투과율의 손실이 전혀 없거나 거의 없도록 평균 최소 기부 치수보다 충분히 더 작다. 예를 들어, 일부 경우에, 평균 최소 침투 기부 치수는 평균 최소 기부 치수의 약 20%, 또는 약 15%, 또는 약 10%, 또는 약 9%, 또는 약 8%, 또는 약 7%, 또는 약 6%, 또는 약 5%, 또는 약 4%, 또는 약 3%, 또는 약 2%, 또는 약 1% 미만이다.
일부 경우에, 광 지향 필름(3140)과 제1 광학 접착제 층(3170) 사이의 박리 강도는 약 7.9 g/㎝(20 그램/인치), 또는 약 9.8 g/㎝(25 그램/인치), 또는 약 11.8 g/㎝(30 그램/인치), 또는 약 13.8 g/㎝(35 그램/인치), 또는 약 15.7 g/㎝(40 그램/인치), 또는 약 17.7 g/㎝(45 그램/인치), 또는 약 19.7 g/㎝(50 그램/인치), 또는 약 23.6 g/㎝(60 그램/인치), 또는 약 27.6 g/㎝(70 그램/인치), 또는 약 31.5 g/㎝(80 그램/인치), 또는 약 35.4 g/㎝(90 그램/인치), 또는 약 39.4 g/㎝(100 그램/인치), 또는 약 43.3 g/㎝(110 그램/인치), 또는 약 47.2 g/㎝(120 그램/인치), 또는 약 51.2 g/㎝(130 그램/인치), 또는 약 55.1 g/㎝(140 그램/인치), 또는 약 59.1 g/㎝(150 그램/인치) 초과이다.
일부 경우에, 광을 재순환시키는 것이 아니라 지향시키도록 주로 설계된 광 지향 필름이 저굴절률 층을 통해 도광체에 점착될 수 있다. 예를 들어, 도 50은 광학 접착제 층(2060) 및 저굴절률 층(3130)을 통해 도광체(1920)에 라미네이팅된 도 22로부터의 광 지향 필름(2210)을 포함하는 디스플레이 시스템(5000)의 개략 측면도이다. 일부 경우에, 광 지향 필름(2210)은 도 50에 명시적으로 도시되지 않은 광학 접착제 층을 통해 이미지 형성 장치(1950)에 라미네이팅될 수 있다.
저굴절률 층(3130)은 결합제 중에 분산된 복수의 공극을 포함하는 임의의 광학 층일 수 있다. 예를 들어, 저굴절률 층(3130)은 2009년 4월 15일자로 출원되고 대리인 문서 번호가 65062US002이며 발명의 명칭이 "광학 필름(Optical Film)"인 미국 특허 출원 제61/169466호, 및 2009년 4월 15일자로 출원되고 대리인 문서 번호가 65354US002이며 발명의 명칭이 "광학 구조물 및 이를 포함하는 디스플레이 시스템(Optical Construction and Display System Incorporating Same)"인 미국 특허 출원 제61/169521호에 기재된 광학 층일 수 있다. 다른 예로서, 저굴절률 층(3130)은 2009년 10월 24일자로 출원되고 대리인 문서 번호가 65822US002이며 발명의 명칭이 "공극 형성된 확산기(Voided Diffuser)"인 미국 특허 출원 제61/254676호, 및 2009년 10월 23일자로 출원되고 대리인 문서 번호가 65619US002이며 발명의 명칭이 "광학 구조물 및 이를 제조하는 방법(Optical Construction and Method of Making the Same)"인 미국 특허 출원 제61/254,243호에 기재된 광학 층일 수 있으며, 이들 특허 문헌의 개시 내용은 전체적으로 본 명세서에 참고로 포함된다.
개시된 광학 접착제 층, 예를 들어 광학 접착제 층(2060, 3025, 3120, 3170)들은 응용에 바람직할 수 있는 임의의 광학 접착제이거나 이를 포함할 수 있다. 예시적인 광학 접착제는 감압 접착제(pressure sensitive adhesive, PSA), 감열 접착제, 용매-휘발성 접착제, 및 UV-경화성 접착제, 예를 들어 노르랜드 프로덕츠, 인크.(Norland Products, Inc.)로부터 입수가능한 UV-경화성 광학 접착제를 포함한다. 예시적인 PSA는 천연 고무, 합성 고무, 스티렌 블록 공중합체, (메트)아크릴 블록 공중합체, 폴리비닐 에테르, 폴리올레핀, 및 폴리(메트)아크릴레이트를 기재로 한 것을 포함한다. 본 명세서에 사용된 바와 같이, (메트)아크릴(또는 아크릴레이트)은 아크릴 화학종과 메타크릴 화학종 둘 모두를 말한다. 다른 예시적인 PSA는 (메트)아크릴레이트, 고무, 열가소성 탄성중합체, 실리콘, 우레탄, 및 이들의 조합을 포함한다. 일부 경우에, PSA는 (메트)아크릴 PSA 또는 적어도 하나의 폴리(메트)아크릴레이트를 기재로 한다. 예시적인 실리콘 PSA는 중합체 또는 검(gum) 및 선택적인 점착성 부여 수지를 포함한다. 다른 예시적인 실리콘 PSA는 폴리다이오르가노실록산 폴리옥사미드 및 선택적인 점착성 부여제를 포함한다.
일부 경우에, 본 명세서에 개시된 광학 접착제 층은 구조용 접착제이거나 이를 포함할 수 있다. 일반적으로, 유용한 구조용 접착제는 경화되어 강한 점착성 접합을 형성하는 반응성 물질을 함유한다. 구조용 접착제는 혼합시(예를 들어, 2부분 에폭시 접착제) 또는 공기에 대한 노출시(예를 들어, 시아노아크릴레이트 접착제) 자발적으로 경화될 수 있거나, 열 또는 방사선(예를 들어 UV 광)의 인가에 의해 경화가 수행될 수 있다. 적합한 구조용 접착제의 예는 에폭시, 아크릴레이트, 시아노아크릴레이트, 우레탄 등을 포함한다.
일부 경우에, 개시된 광학 접착제 층은 예를 들어 미국 특허 제3,691,140호, 제4,166,152호, 제4,968,562호, 제4,994,322호, 제5,296,277호, 제5,362,516호에 기재된 것과 같은 제거가능한 접착제일 수 있으며, 이들 특허 문헌의 개시 내용은 전체적으로 본 명세서에 참고로 포함된다. 필름을 기재에 점착시키기 위한 문구 "제거가능한 접착제"는 기재를 손상시킴이 없이 또는 필름으로부터 기재로의 과도한 접착제 전사를 나타냄이 없이 기재로부터의 필름의 간편한 수동 제거를 제공하는 접착제를 의미한다.
일부 경우에, 개시된 광학 접착제 층은 예를 들어 미국 특허 제6,197,397호, 미국 특허 공개 제2007/0000606호, 및 PCT 공개 WO 00/56556호에 기재된 것과 같은 재사용가능한 그리고/또는 재부착가능한 접착제일 수 있으며, 이들 특허 문헌의 개시 내용은 전체적으로 본 명세서에 참고로 포함된다. 필름을 기재에 점착시키기 위한 문구 "재사용가능한 접착제" 또는 "재부착가능한 접착제"는 (a) 기재에 대한 필름의 일시적인 견고한 부착을 제공하는 동시에, 기재를 손상시킴이 없이 또는 필름으로부터 기재로의 과도한 접착제 전사를 나타냄이 없이 기재로부터의 필름의 간편한 수동 제거를 제공하고, (b) 이어서 예를 들어 다른 기재 상에의 필름의 후속적인 재사용을 제공하는 접착제를 의미한다.
일부 경우에, 개시된 광학 접착제 층은 광학적으로 확산성일 수 있다. 그러한 경우에, 광학 접착제 층은 광학 접착제 중에 분산된 복수의 입자를 포함함으로써 광학적으로 확산성일 수 있으며, 여기서 입자와 광학 접착제는 상이한 굴절률을 갖는다. 2개의 굴절률 사이의 불일치는 광 산란을 유발할 수 있다. 일부 경우에, 개시된 광학 접착제는 연속 층일 수 있다. 일부 경우에, 개시된 광학 접착제 층은 패턴화될 수 있다.
일부 경우에, 광 지향 필름의 일부 개별 구조물은 접합 부분 및 광 지향 부분을 가질 수 있고, 일부 다른 개별 구조물은 접합 부분을 갖지 않을 수 있고 광 지향 부분만을 가질 수 있다. 예를 들어, 도 33은 기재(3310) 상에 배치된 제1 복수의 단일형 개별 구조물(3320) 및 제2 복수의 개별 구조물(3330)을 포함하는 광 지향 필름(3300)의 개략 측면도이다. 단일형 개별 구조물(3320)은 광 지향 필름을 표면에 접합시키도록 주로 설계된 접합 부분(3340), 및 광을 지향시키도록 주로 설계되고 끼인각(3355)을 갖는 광 지향 부분(3350)을 포함한다. 개별 구조물(3330)은 접합 부분을 포함하지 않으며, 프리즘형이고 꼭지각(3365)을 갖는 광 지향 부분(3360)만을 포함한다. 일부 경우에, 꼭지각(3365) 및 끼인각(3355)은 실질적으로 같을 수 있고 예를 들어 약 90도일 수 있다. 일반적으로, 단일형 개별 구조물은 본 명세서에 개시된 임의의 단일형 개별 구조물일 수 있고 개별 구조물(3330)은 광을 지향시킬 수 있는 임의의 개별 구조물일 수 있다. 일부 경우에, 단일형 개별 구조물(3320) 및 개별 구조물(3330)은 예를 들어 y 방향과 같은 동일한 방향을 따라 연장되는 선형 구조물일 수 있다. 예시적인 광 지향 필름(3300)에서, 개별 구조물들의 열(row)들은 단일형 개별 구조물(3320)과 개별 구조물(3330) 사이에서 교번한다. 일반적으로, 단일형 개별 구조물(3320)과 개별 구조물(3330) 각각은 응용에 바람직할 수 있는 임의의 패턴 또는 배열을 형성할 수 있다. 예를 들어, 개별 구조물(3320, 3330)들은 규칙적인, 예를 들어 주기적인 패턴 또는 불규칙적인, 예를 들어 무작위 패턴을 형성할 수 있다.
도 34는 광학 접착제 층(3420)을 통해 표면(3410)에 라미네이팅된 광 지향 필름(3300)을 포함하는 광학 스택(3400)의 개략 측면도이다. 단일형 개별 구조물(3320)의 접합 부분(3340)은 광학 접착제 층(3420) 내로 적어도 부분적으로 침투하여 광 지향 필름(3300)과 표면(3410) 사이에 견고한 부착을 제공한다. 예시적인 광학 스택(3400)에서, 개별 구조물(3330)은 광학 접착제 층 내로 침투하지 않지만, 일부 경우에 적어도 일부의 개별 구조물(3330)의 일부분은 광학 접착제 층 내로 침투할 수 있다. 광 지향 필름(3300)은 광 지향 필름(3300)과 표면(3410) 사이에 충분한 점착을 제공하기 위해 충분한 개수의 접합 부분(3340)을 포함한다. 동시에, 접합 부분(3340)의 개수 또는 밀도는 광학 스택(3400)의 광학 이득 또는 유효 투과율의 손실이 전혀 없거나 거의 없을 정도로 충분히 낮다.
본 명세서에 개시된 예시적인 디스플레이 시스템들 중 일부, 예를 들어 도 19의 디스플레이 시스템(1900) 또는 도 31의 디스플레이 시스템(3100)은 "에지형(edge-lit)" 디스플레이를 보여주고 있다. 에지형 디스플레이에서, 하나 이상의 램프, 예를 들어 도 31의 램프(3115)가 디스플레이의, 측면(3127)과 같은, 측면 또는 에지를 따라 그리고 디스플레이의, 관찰면(3182)과 같은, 관찰면 또는 출력면 외측에 배치되며, 여기서 디스플레이의 관찰면은 정보가 그것에 걸쳐 관찰자(1990)에게 디스플레이되게 하는 영역이다. 램프에 의해 방출되는, 광(3116)과 같은, 광은 전형적으로, 디스플레이의 관찰면을 향해 광을 확산시키고 방향전환시키는, 도광체(3110)와 같은, 도광체에 진입한다. 직하형(direct-lit) 디스플레이에서, 하나 이상의 램프 또는 램프들의 어레이(array)가 디스플레이 시스템의 다양한 층들의, 출력면(3182)과 같은, 주 표면들 바로 뒤에 배치된다. 예를 들어, 도 48은 디스플레이 시스템(4800)이 직하형 디스플레이이고 디스플레이 시스템의 다양한 층들의 주 표면들 뒤에 배치된 복수의 램프(4810)를 포함하는 것을 제외하고는 디스플레이(1900)와 유사한 디스플레이 시스템(4800)의 개략 측면도이다. 특히, 램프(4810)는 이미지 형성 패널(1950) 또는 디스플레이 시스템(4800)의 관찰면(4830) 바로 뒤에 배치된다. 램프(4810)는 이미지 형성 패널을 향해 광(4820)을 방출한다. 일부 경우에, 선택적인 층(1935)은 광(4820)을 확산시키고 램프(4810)를 감추기 위한 광학 확산기 층을 포함할 수 있다. 다른 예로서, 도 51은 광(5120)을 도광체(3110) 내로 방출하고 도광체 내에 형성된 공동(cavity)(5130) 내에 수용된 복수의 램프(5110)로 램프(3115)가 대체된 것을 제외하고는 디스플레이 시스템(3100)과 유사한 디스플레이 시스템(5100)의 개략 측면도이다.
일반적으로, 광학 스택(3000, 3135, 3210)들과 같은 개시된 광학 스택의 광 지향 필름은 단일형 구조물을 가질 수 있거나 갖지 않을 수 있다. 예를 들어, 도 31을 참조하면, 일부 경우에, 구조물(3155)은 복합형 구조물일 수 있다. 예를 들어, 그러한 경우에, 접합 부분(3160)은 광 지향 부분(3150)과 검출가능한 계면을 형성할 수 있다.
일부 경우에, 단일형 개별 구조물의 일부분들만이 접합 부분을 포함한다. 예를 들어, 도 35는 y 방향을 따라 연장되고 광 지향 부분(3520) 상에 배치된 복수의 개별 접합 부분(3510)을 포함하는 선형 단일형 개별 구조물(3500)의 3차원 개략도이다. 접합 부분(3510) 및 광 지향 부분(3520)은 본 명세서에 개시된 임의의 접합 부분 및 광 지향 부분일 수 있다. 각각의 접합 부분(3510)은 최소 치수(3550)를 갖는 기부(3530)를 포함한다. 각각의 접합 부분은 또한 최대 높이(3540)를 갖는다. 단일형 개별 구조물 또는 단일형 개별 구조물과 관련된 광 지향 필름의 유효 투과율의 손실이 전혀 없거나 거의 없이 접합 부분들이 단일형 개별 구조물과 표면 사이에 충분한 점착을 제공할 수 있을 정도로, 접합 부분(3510)들의 밀도는 충분히 높고, 최소 치수(3550)에 대한 최대 높이(3540)의 비는 충분히 크며, 최소 치수(3550)는 충분히 작다. 일반적으로, 접합 부분(3510)들은 응용에 바람직할 수 있는 임의의 분포 또는 배열을 형성할 수 있다. 예를 들어, 일부 경우에, 접합 부분(3510)들은 광 지향 필름에 불규칙하게, 예를 무작위로 배열될 수 있다.
일부 경우에, 단일형 개별 구조물의 접합 부분의 측부 소면 및/또는 상부 표면의 적어도 일부분이 표면에 대한 접합 부분의 점착을 향상시키기 위해 구조화, 예를 들어 조면화(roughening)될 수 있다. 예를 들어, 도 36은 y 방향을 따라 연장되고 광 지향 부분(3620) 상에 배치된 접합 부분(3610)을 포함하는 선형 단일형 개별 구조물(3600)의 3차원 개략도이다. 접합 부분의 측부 소면(3630) 및 상부 표면(3640)은 표면에 대한 접합 부분의 점착을 개선시키기 위해 조면화되어 있다. 광 지향 부분(3620)은 효율적인 광 지향 또는 재순환을 제공하기 위해 매끄러운 측부 소면(3650)을 포함한다.
유효 투과율(effective transmission, ET)은 개략 측면도가 도 37에 도시되어 있는 광학 시스템(3700)을 사용해 측정될 수 있다. 광학 시스템(3700)은 광학 축(3750)에 중심설정되고, 방출 또는 출사 표면(3712)을 통해 램버시안 광(3715)을 방출하는 중공형 램버시안 라이트 박스(light box)(3710), 광(3715)을 편광시키기 위한 선형 광 흡수 편광기(3720), 및 광검출기(3730)를 포함한다. 라이트 박스(3710)는 광섬유(3770)를 통해 라이트 박스의 내부(3780)에 연결된 안정된 광대역 광원(3760)에 의해 조명된다. 광학 시스템에 의해 ET가 측정될 시험 샘플(3705)이 라이트 박스와 흡수 선형 편광기 사이의 위치(3740)에 배치된다.
시험 샘플(3705)은 본 명세서에 개시된 임의의 광 지향 필름 또는 광학 스택일 수 있다. 예를 들어, 시험 샘플(3705)은 y 방향을 따라 연장되는 복수의 선형 단일형 개별 구조물(150)을 갖는 광 지향 필름(100)일 수 있다. 광 지향 필름(100)의 ET는 단일형 개별 구조물(150)이 광검출기를 향하고 제2 주 표면(120)이 라이트 박스를 향하는 상태로 광 지향 필름을 위치(3740)에 배치함으로써 측정될 수 있다. 다음에, 스펙트럼 가중된 축방향 휘도 I1(광학 축(3750)을 따른 휘도)이 선형 흡수 편광기를 통해 광검출기에 의해 측정된다. 다음에, 광 지향 필름(100)이 제거되고 스펙트럼 가중된 휘도 I2가 광 지향 필름이 위치(3740)에 배치되지 않고 측정된다. ET는 비 I1/I2이다. ET0는 선형 단일형 개별 구조물(150)이 선형 흡수 편광기(3720)의 편광 축에 평행한 방향을 따라 연장될 때의 유효 투과율이고, ET90은 선형 단일형 개별 구조물(150)이 선형 흡수 편광기의 편광 축에 수직인 방향을 따라 연장될 때의 유효 투과율이다. 평균 유효 투과율(average effective transmission, ETA)은 ET0와 ET90의 평균이다.
본 명세서에 개시된 유효 투과율 값은 검출기(3730)를 위한 EPP2000 분광계(미국 플로리다주 탬파 소재의 스텔라넷 인크(StellarNet Inc)로부터 입수가능함)를 사용해 측정하였다. 분광계를 Vis-NIR 광섬유 케이블(미국 플로리다주 탬파 소재의 스텔라넷 인크로부터 F1000-Vis-NIR로서 입수가능함)을 통해 시준 렌즈에 연결하였다. 시준 렌즈는 렌즈 관(미국 뉴저지주 뉴튼 소재의 쏘르랩스(Thorlabs)로부터 SM1L30으로서 입수가능함) 및 평면-볼록 렌즈(미국 뉴저지주 뉴튼 소재의 쏘르랩스로부터 LA1131로서 입수가능함)를 포함하였다. 시준 렌즈는 검출기에서 약 5 ㎜의 집속점 크기(focused spot size)를 생성하였다. 검출기(3730)를 광학 축(3750)을 따라 배향시켰다. 선형 흡수 편광기(3720)(미국 뉴멕시코주 앨버커키 소재의 씨브이아이 멜레스 그리오트(CVI Melles Griot)로부터 입수가능한 멜레스 그리오트(Melles Griot) 03 FPG 007)를 회전식 스테이지 상에 장착하였다. 위치(3740)는 램버시안 라이트 박스(3710)의 방출 표면(3712)에 인접하였다. 라이트 박스는 약 0.6 ㎜ 두께의 확산 PTFE 플레이트로 제조된, 12.5 ㎝ × 12.5 ㎝ × 11.5 ㎝의 대략적인 치수를 갖는 6면 중공형 직육면체였다. 라이트 박스는 가시 범위에 걸쳐, 방출 표면(3712)에서 측정된, 약 83%의 평균 총 확산 반사율을 가졌다. 광원(3760) 및 광섬유(3770)는 광섬유 다발에 부착된 안정된 광대역 백열 광원이었다(미국 매사추세츠주 사우쓰브리지 소재의 쇼트 노쓰 아메리카(Schott North America)로부터의 1 센티미터 직경의 섬유 다발 연장부를 갖는 포스텍 디씨알(Fostec DCR)-III로서 입수가능함).
본 명세서에 보고된 박리 강도 값은 IMASS SP-2000 시험기(미국 매사추세츠주 어코드 소재의 아이매스 인크.(IMASS Inc.)로부터 입수가능함)를 사용해 측정하였다. 대략 폭이 2.54 ㎝이고 길이가 20.3 ㎝인 시험 스트립(하부 프리즘형 광 지향 필름을 갖는 광학 스택)을, 시험 스트립의 길이를 따라 연장되는 하부 광 지향 필름의 선형 프리즘을 갖도록 제조하였다. 시험 스트립을 2.54 ㎝ 폭의 스카치(Scotch) 양면-코팅형 테이프(미국 미네소타주 세인트 폴 소재의 쓰리엠 컴퍼니로부터 스카치 665로서 입수가능함)를 사용해 시험기 플랫폼에 점착시켰다. 180도 박리력을 측정하도록 시험기를 구성하였다. 하부 프리즘 필름의 평평한 면(프리즘형 구조물의 반대편 면)이 시험기 플랫폼에 점착되고 상부 필름이 저울(force balance)에 부착되도록 시험 스트립을 배향시켰다. 로드 셀 용량은 13.6 nt-m(10 lb-ft)였다. 30.5 ㎝/min(12 in/min)의 속도에서 박리력을 측정하였다. 2초의 초기 지연 후에 데이터를 수집하였다. 이어서 측정값들을 10초의 시험 주기에 대해 평균하였다. 각각의 시험 스트립에 대해, 2개의 순차적인 10초 측정값의 최소를 수집하고 평균하였다.
본 명세서에 개시된 광 지향 필름, 예를 들어 광 지향 필름(100)은 먼저 절삭 공구, 예를 들어 다이아몬드 절삭 공구를 제조함으로써 제조될 수 있다. 절삭 공구는 이어서 미세복제 공구 내에, 선형 단일형 개별 구조물과 같은, 원하는 단일형 개별 구조물을 생성하는 데 사용될 수 있다. 미세복제 공구는 이어서 UV 또는 열 경화성 수지와 같은 수지 또는 재료 내에 구조물을 미세복제하여서, 광 지향 필름을 생성하는 데 사용될 수 있다. 미세복제는 임의의 적합한 제조 방법, 예를 들어 UV 캐스트 및 경화, 압출, 사출 성형, 엠보싱, 또는 다른 공지의 방법에 의해 성취될 수 있다.
도 38은 미세복제 공구를 생성하는 데 사용될 수 있는 다이아몬드 절삭 공구(3800)와 같은 예시적인 절삭 공구의 3차원 개략도이다. 절삭 공구(3810)는 플런징(plunging) 방향(3830)을 따라 원하는 그리고 미리결정된 깊이까지 공작물(workpiece) 내로 플런징하도록 설계된다. 다음에, 절삭 공구는 절삭 공구를 원하는 그리고 미리결정된 절삭 방향(3840)을 따라 이동시킴으로써, 예를 들어 선형 단일형 개별 구조물을 절삭할 수 있으며, 여기서 일부 경우에 방향(3840)은 공작물의 주 표면에 대체로 평행할 수 있다. 절삭 공구(3800)는 공작물 내로의 절삭 공구의 플런징을 안내하기 위한 상부 표면(3820), 및 절삭 공구가 공작물 내부에서 절삭 방향(3840)을 따라 이동함에 따라 원하는 프로파일을 절삭하기 위한 절삭 표면(3810)을 포함한다. 일부 경우에, 절삭 표면(3810)은 평탄하고 xz 평면 내에 있을 수 있다. 그러한 경우에, 상부 표면(3820)은 상부 표면이 절삭을 방해하지 않도록 xy 평면에 비해 만입될 수 있다. 예를 들어 미국 특허 제7,140,812호에 기재된 집속 이온 빔 밀링 공정을 사용해 절삭 공구(3800) 및 유사한 절삭 공구가 제조될 수 있으며, 이 특허 문헌의 개시 내용은 전체적으로 본 명세서에 참고로 포함된다.
도 45는 본 명세서에 개시된 공정에 따라 제조된 다이아몬드 절삭 공구의 예시적인 주사 전자 현미경 사진(SEM)이다. 다이아몬드 절삭 공구는, 일단 복제되면 본 명세서에 개시된 선형 단일형 개별 구조물을 생성할 선형 구조물을 미세복제 공구 내에 절삭하도록 설계된 절삭 표면(4505)을 가졌다. 절삭 표면(4505)은 단일형 개별 구조물의 광 지향 부분을 제조하기 위한 하부 부분(4510), 및 단일형 개별 구조물의 접합 부분을 제조하기 위한 상부 부분(4530)을 포함하였다. 하부 부분(4510)은 약 88.4도인 끼인각(4525)을 한정하는 2개의 대향하는 측부 소면(4520)을 가졌다. 상부 부분(4530)은 90도에 가까운 끼인각을 한정하는 2개의 대향하는 측부 소면, 및 도 28의 만입부(2870)와 유사한 만입부를 갖는 상부 표면(4550)을 가졌다. 상부 부분(4530)은 대략 길이가 6.4 마이크로미터이고 폭이 3.1 마이크로미터였다.
본 명세서에 개시된 광 지향 필름 및 광학 스택은 휘도를 증가시키고, 개별 구성요소들 또는 층들의 개수를 감소시키며, 전체 두께를 감소시키는 것이 바람직할 수 있는 임의의 응용에 채용될 수 있다. 예시적인 응용은 텔레비전, 컴퓨터 모니터, 프로젝터, 휴대용 디스플레이, 예를 들어 휴대용 비디오 플레이어, 및 핸드헬드(hand-held) 장치, 예를 들어 휴대폰을 포함한다. 다른 예시적인 응용은 대형 디스플레이, 예를 들어 대면적 텔레비전, 및 소형 디스플레이, 예를 들어 휴대폰 디스플레이를 포함한다. 다른 예시적인 응용은 이미지 또는 정보를 디스플레이하기 위한 디스플레이 또는 일반적인 조명 광학 시스템을 포함한다.
개시된 광 지향 필름, 광학 스택, 및 광학 시스템의 이점들 중 일부가 하기의 실시예에 의해 추가로 설명된다. 이러한 실시예에서 언급되는 특정 물질, 양 및 치수뿐만 아니라 다른 조건 및 상세 사항은 본 발명을 부당하게 제한하는 것으로 해석되어서는 안된다.
실시예들에서, 굴절률은 메트리콘 모델(Metricon Model) 2010 프리즘 커플러(Prism Coupler)(미국 뉴저지주 페닝턴 소재의 메트리콘 코포레이션(Metricon Corp.)으로부터 입수가능함)를 사용해 측정하였다.
실시예 A:
개략 측면도가 도 39에 도시되어 있는 광 지향 필름(3900)을 제조하였다. 예를 들어 미국 특허 공개 제2009/0041553호에 약술되고 기재되어 있는 공정을 사용해 미세복제 공구를 제조하였으며, 이 특허 문헌의 개시 내용은 전체적으로 본 명세서에 참고로 포함된다. 이어서 예를 들어 미국 특허 제5,175,030호에 약술되고 기재되어 있는 공정을 사용해 미세복제 공구를 광 지향 필름을 제조하는 데 사용하였으며, 이 특허 문헌의 개시 내용은 전체적으로 본 명세서에 참고로 포함된다. 광 지향 필름(3900)은 기재(3910) 상에 배치된 구조화된 층(3920)을 포함하였다. 기재(3910)는 PET로 제조하였으며, 약 29 마이크로미터의 두께 및 약 1.65의 굴절률을 가졌다. 구조화된 층(3920)은 y 방향(웨브 횡단 방향)을 따라 연장되는 복수의 선형 프리즘(3930)을 포함하였다. 각각의 프리즘(3930)의 꼭지각(3940)은 약 90도였다. 프리즘은 x 방향을 따른 약 24 마이크로미터의 피치 P1을 가졌다. 선형 프리즘의 굴절률은 약 1.56이었다. 광 지향 필름(3900)은 약 1.67의 평균 유효 투과율 ETA를 가졌다.
실시예 B:
개략 측면도가 도 40에 도시되어 있는 기재(4000)를 제공하였다. 기재(4000)는 PET로 제조하였으며, 약 50 마이크로미터의 두께 및 약 1.65의 굴절률을 가졌다. 기재(4000)는 약 1.02의 평균 유효 투과율 ETA를 가졌다.
실시예 C:
개략 측면도가 도 41에 도시되어 있는 광 지향 필름(4100)을 제조하였다. 광 지향 필름(4100)은 비퀴티(Vikuiti)™ BEF-RP-II 90/24r이었으며, 이는 휘도가 향상된 것이고, 프리즘형 표면을 갖는 반사 편광기이며, 미국 미네소타주 세인트 폴 소재의 쓰리엠 컴퍼니로부터 입수가능하다. 광 지향 필름(4100)은 반사 편광기(4110) 상에 배치된 구조화된 층(4120)을 포함하였다. 반사 편광기(4110)는 두께가 약 96 마이크로미터였다. 구조화된 층(4120)은 y 방향을 따라 연장되는 복수의 선형 프리즘(4130)을 포함하였다. 각각의 프리즘(4130)의 꼭지각(4140)은 약 90도였다. 프리즘은 x 방향을 따른 약 24 마이크로미터의 피치 P2를 가졌다. 선형 프리즘의 굴절률은 약 1.58이었다. 광 지향 필름(4100)은 약 2.42의 평균 유효 투과율 ETA를 가졌다.
실시예 D:
개략 측면도가 도 42에 도시되어 있는 반사 편광기(4200)를 제조하였다. 반사 편광기(4200)는 미국 미네소타주 세인트 폴 소재의 쓰리엠 컴퍼니로부터 입수가능한 비퀴티™ 반사 편광기였다. 반사 편광기(4200)는 약 96 마이크로미터의 두께 및 약 1.73의 평균 유효 투과율 ETA를 가졌다.
실시예 E:
개략 측면도가 도 43에 도시되어 있는 광 지향 필름(4300)을 제조하였다. 광 지향 필름(4300)은 미국 미네소타주 세인트 폴 소재의 쓰리엠 컴퍼니로부터 입수가능한, 프리즘형 표면을 갖는 휘도 향상 필름인, 비퀴티™ TBEF3였다.
광 지향 필름(4300)은 기재(4310) 상에 배치된 구조화된 층(4320)을 포함하였다. 기재(4310)는 PET로 제조하였으며, 약 29 마이크로미터의 두께 및 약 1.65의 굴절률을 가졌다. 구조화된 층(4320)은 y 방향으로 연장되는 복수의 선형 프리즘(4330)을 포함하였다. 각각의 프리즘(4330)의 꼭지각(4340)은 약 90도였다. 프리즘은 x 방향을 따른 약 24 마이크로미터의 피치 P3를 가졌다. 매 14번째의 프리즘이 다른 프리즘들에 비해 약간 융기되었다. 가장 큰 프리즘과 가장 짧은 프리즘 사이의 최대 높이 차이 S1은 약 2 마이크로미터였다. 선형 프리즘의 굴절률은 약 1.56이었다. 광 지향 필름(4300)은 약 1.65의 평균 유효 투과율 ETA를 가졌다.
실시예 F:
개략 측면도가 도 44에 도시되어 있는 광 지향 필름(4400)을 제조하였다. 광 지향 필름(4400)은 광 지향 필름(3300)과 유사하였으며, 제1 복수의 선형 대칭 단일형 개별 구조물(4420) 및 제2 복수의 선형 대칭 개별 구조물(4460)을 포함하였다. 구조물(4420, 4460)들은 y 방향을 따라 연장되고 기재(4410) 상에 배치되었다. 기재(4410)는 PET로 제조하였으며, 약 29 마이크로미터의 두께 및 약 1.65의 굴절률을 가졌다. 구조물(4420, 4460)들의 굴절률은 약 1.56이었다. 각각의 단일형 개별 구조물은 광 지향 필름을 표면에 접합시키도록 주로 설계되고 광을 지향 및 재순환시키도록 주로 설계된 광 지향 부분(4440) 상에 배치된 접합 부분(4430)을 포함하였다. 개별 구조물(4460)은 임의의 접합 부분을 포함하지 않았으며, 광을 지향 및 재순환시키도록 주로 설계되었다. 단일형 개별 구조물(4420)들은 개별 구조물(4460)들과 교번하였다.
각각의 접합 부분(4430)은 xy 평면(광 지향 필름의 평면)과 약 85 내지 90도인 각도 ω1을 이루는 2개의 대향하는 측부 소면(4432)을 포함하였다. 각각의 접합 부분은 기부(4434), 약 0.9(±0.2) 마이크로미터인 최소 기부 치수 t2, 및 약 3.4(±0.2) 마이크로미터인 최대 높이 t1을 가졌다. 각각의 접합 부분은 또한 약 0.9(±0.2) 마이크로미터의 최소 상부 표면 치수 t3를 갖는 만곡되거나 둥근 상부 표면을 포함하였다.
각각의 광 지향 부분(4420)은 xy 평면(광 지향 필름의 평면)과 약 45도인 각도 ω2를 이루는 2개의 대향하는 측부 소면(4422)을 포함하였다. 각각의 광 지향 부분은 기부(4444), 약 24 마이크로미터의 최소 기부 치수 t5, 및 약 11.9 마이크로미터인 최대 높이 t4를 가졌다. 광 지향 필름(4400)은 약 1.65의 평균 유효 투과율 ETA를 가졌다.
실시예 G:
점착 용액을 제조하였다. 이 점착 용액은 다음의 성분들을 포함하였다: (a) 감압 접착제(29.39 그램, 26% 고형물, 미국 미네소타주 세인트 폴 소재의 쓰리엠 컴퍼니로부터 RD2739로서 입수가능함); (b) 지방족 우레탄 다이아크릴레이트(1.84 그램, 100% 고형물, 미국 펜실베이니아주 엑스톤 소재의 사토머 컴퍼니(Sartomer Company)로부터 CN964로서 입수가능함); (c) 트라이프로필렌 글리콜 다이아크릴레이트(3.69 그램, 100% 고형물, 사토머 컴퍼니로부터 SR306으로서 입수가능함); (d) 톨루엔(15.15 그램, 0% 고형물, 미국 위스콘신주 밀워키 소재의 알드리치 컴퍼니(Aldrich Company)로부터 입수가능함); (e) 메탄올(10.81 그램, 0% 고형물, 알드리치 컴퍼니로부터 입수가능함); (f) 에틸 아세테이트(37.76 그램, 0% 고형물, 알드리치 컴퍼니로부터 입수가능함); (g) 광개시제(0.14 그램, 100% 고형물, 미국 노스캐롤라이나주 샬롯 소재의 바스프(BASF)로부터 루시린 티피오(Lucirin TPO)로서 입수가능함); (h) 광개시제(0.16 그램, 100% 고형물, 미국 뉴욕주 태리타운 소재의 씨바(Ciba)로부터 이르가큐어(Irgacure) 907로서 입수가능함); 및 폴리비닐카프로락탐(0.477 그램, 40% 고형물, 바스프로부터 루비스콜 플러스(Luviskol Plus)로서 입수가능함).
실시예 H:
실시예 G의 접착제 용액을 코팅하기 위한 코팅 공정을 진행하였다. 8번 또는 20번 메이어 로드(Mayer rod)(미국 뉴욕주 웹스터 소재의 알디 스페셜티즈(RD Specialties)로부터 입수가능함)를 사용해 접착제 용액을 상부 필름의 기재의 평평한 면에 코팅하였다. 8번 메이어 로드에 대한 습식 접착제 층 두께는 약 9 마이크로미터였다. 20번 메이어 로드에 대한 습식 접착제 층 두께는 약 26 마이크로미터였다. 이어서 코팅을 60℃에서 약 2.5분 동안 건조시켜 건식 광학 접착제 층을 생성하였다. 8번 메이어 로드의 경우, 광학 접착제 층의 두께는 약 1.0 마이크로미터(±0.2 마이크로미터)였다. 20번 메이어 로드의 경우, 광학 접착제 층의 두께는 약 3.0 마이크로미터(±0.2 마이크로미터)였다. 트랜스펙 분광계(TranSpec Spectrometer) 및 광원(독일 알렌 소재의 어플라이드 스펙트로스코피(Applied Spectroscopy)로부터 입수가능함)을 사용해 건식 두께 값을 측정하였다. 이어서 상부 필름을 0.88 N/㎝(0.5 lbf/in)에서 30 쇼어(Shore) A 경도를 갖는 고무 핸드 롤러를 사용해 하부 필름에 라미네이팅하였다. 이어서 생성되는 라미네이팅된 광학 스택을 퓨전 벨트 프로세서(Fusion belt processor)(미국 메릴랜드주 게이더스버그 소재의 퓨전 유브이 시스템즈(Fusion UV Systems)로부터 입수가능함)를 사용해 18.3 m/min(60 ft/min)로 하부 필름을 통해 경화시켰다. UV 조사량은 920 mJ/㎠(UV-A), 375mJ/㎠(UV-B), 및 43mJ/㎠(UV-C)이었다. 조사량은 유브이 파워퍽(UV PowerPuck) II(미국 뉴욕주 스털링 소재의 이아이티 인크.(EIT Inc.)로부터 입수가능함)를 사용해 측정하였다.
실시예 I:
점착 용액을 제조하였다. 이 점착 용액은 다음의 성분들을 포함하였다: (a) 감압 접착제(29.11 ㎏, 26% 고형물, 미국 미네소타주 세인트 폴 소재의 쓰리엠 컴퍼니로부터 RD2739로서 입수가능함); (b) 지방족 우레탄 다이아크릴레이트(1.75 ㎏, 100% 고형물, 미국 펜실베이니아주 엑스톤 소재의 사토머 컴퍼니로부터 CN964로서 입수가능함); (c) 트라이프로필렌 글리콜 다이아크릴레이트(3.55 ㎏ 그램, 100% 고형물, 사토머 컴퍼니로부터 SR306으로서 입수가능함); (d) 톨루엔(24.06 ㎏, 0% 고형물, 미국 위스콘신주 밀워키 소재의 알드리치 컴퍼니로부터 입수가능함); (e) 메탄올(17.21, 0% 고형물, 알드리치 컴퍼니로부터 입수가능함); (f) 에틸 아세테이트(59.38 ㎏, 0% 고형물, 알드리치 컴퍼니로부터 입수가능함); (g) 광개시제(0.27 ㎏, 100% 고형물, 미국 노스캐롤라이나주 샬롯 소재의 바스프로부터 루시린 티피오로서 입수가능함); (h) 광개시제(0.27 ㎏, 100% 고형물, 미국 뉴욕주 태리타운 소재의 씨바로부터 이르가큐어 907로서 입수가능함); 및 폴리비닐카프로락탐(0.48 ㎏, 40% 고형물, 바스프로부터 루비스콜 플러스로서 입수가능함).
실시예 J:
실시예 I의 접착제 용액을 코팅하기 위한 코팅 공정을 진행하였다. 슬롯(slot) 유형의 코팅 다이를 사용해 접착제 용액을 상부 필름의 기재의 평평한 면에 코팅하였다. 코팅 폭은 50.8 ㎝였고, 코팅 공정의 웨브 속도는 18.3 m/min였다. 용액을 제니스(Zenith) 기어 펌프를 사용해 미리 계량하고 분당 400 세제곱센티미터의 유량으로 전달하였다. 습식 접착제 층 두께는 대략 43 마이크로미터였다. 이어서 코팅을 65.6℃에서 대략 2.5분 동안 건조시켜, 대략 3.5 마이크로미터의 두께를 갖는 건식 광학 접착제 층을 생성하였다. 트랜스펙 분광계 및 광원(독일 알렌 소재의 어플라이드 스펙트로스코피로부터 입수가능함)을 사용해 건식 두께 값을 측정하였다. 이어서 고무 닙 롤(60 쇼어 A 경도)과 강철 롤 사이에서 3.2 N/㎝(1.8 lbf/in)의 닙 힘으로 상부 필름을 하부 필름에 라미네이팅하였다. 이어서 이 라미네이트를 제2 고무 닙 롤(60 쇼어 A 경도)과 온도 제어식 UV 백업 롤 사이에서 다시 닙핑(nipping)하였으며; UV 라미네이터의 닙 힘은 8.4 N/㎝(4.8 lbf/in)이었다. 이어서 생성되는 라미네이팅된 광학 스택을 "D" 전구를 구비한 퓨전(Fusion) F600 광원(미국 메릴랜드주 게이더스버그 소재의 퓨전 유브이 시스템즈로부터 입수가능함)을 사용해 경화시켰다. 라미네이팅된 광학 스택을 온도 제어식 UV 백업 롤 상에서 18.3 m/min로 하부 필름을 통해 경화시켰다. UV 백업 롤의 온도 설정점은 43.4℃였다. 전달되는 UV 조사량은 993 mJ/㎠(UV-A), 312 mJ/㎠(UV-B), 및 29 mJ/㎠(UV-C)이었다. 조사량은 유브이 파워퍽(미국 뉴욕주 스털링 소재의 이아이티 인크.로부터 입수가능함)을 사용해 측정하였다.
실시예 1A:
실시예 A의 광 지향 필름(3900)을 실시예 E의 다른 광 지향 필름(4300) 상에 배치함으로써 광학 스택을 제조하였다. 상부 광 지향 필름의 평평한 면은 하부 광 지향 필름의 구조화된 면을 향했다. 각각의 광 지향 필름(4300)은 대략 폭이 22.9 ㎝이고 길이가 30.5 ㎝였다. 2개의 필름의 선형 프리즘들은 직교 방향들을 따라 연장되었다. 2개의 광 지향 필름을 접합시키는 광학 접착제 층은 존재하지 않았다. 광학 스택의 ETA는 약 2.51이었다.
실시예 1B:
2개의 광 지향 필름이 실시예 H에 설명된 1 마이크로미터 두께의 광학 접착제 층 및 접합 공정을 통해 서로 접합된 것을 제외하고는 실시예 1A의 광학 스택과 유사한 광학 스택을 제조하였다. 생성된 광학 스택은 박리 강도가 약 13.4 그램/㎝(34 그램/in)이고 ETA가 약 2.39였다.
실시예 1C:
2개의 광 지향 필름(4300)이 실시예 H에 설명된 3 마이크로미터 두께의 광학 접착제 층 및 접합 공정을 통해 서로 접합된 것을 제외하고는 실시예 1A의 광학 스택과 유사한 광학 스택을 제조하였다. 생성된 광학 스택은 박리 강도가 약 15.4 그램/㎝(39 그램/in)이고 ETA가 약 2.01이었다.
실시예 2A:
실시예 A의 광 지향 필름(3900)을 실시예 F의 광 지향 필름(4400) 상에 배치함으로써 광학 스택을 제조하였다. 상부 광 지향 필름의 평평한 면은 하부 광 지향 필름의 구조화된 면을 향했다. 2개의 필름의 선형 프리즘들은 직교 방향들을 따라 연장되었다. 2개의 광 지향 필름을 접합시키는 광학 접착제 층은 존재하지 않았다. 광학 스택의 ETA는 약 2.45였다.
실시예 2B:
상부 광 지향 필름(3900)이 실시예 H에 설명된 1 마이크로미터 두께의 광학 접착제 층 및 접합 공정을 통해 하부 광 지향 필름(4400)에 라미네이팅된 것을 제외하고는 실시예 2A의 광학 스택과 유사한 광학 스택을 제조하였다. 생성된 광학 스택은 박리 강도가 약 11.0 그램/㎝(28 그램/in)이고 ETA가 약 2.37이었다.
실시예 2C:
상부 광 지향 필름(3900)이 실시예 H에 설명된 3 마이크로미터 두께의 광학 접착제 층 및 접합 공정을 통해 하부 광 지향 필름(4400)에 라미네이팅된 것을 제외하고는 실시예 2A의 광학 스택과 유사한 광학 스택을 제조하였다. 생성된 광학 스택은 박리 강도가 약 19.3 그램/㎝(49 그램/in)이고 ETA가 약 2.38이었다.
실시예 2D:
상부 광 지향 필름(3900)이 실시예 J에 설명된 3.5 마이크로미터 두께의 광학 접착제 층 및 접합 공정을 통해 하부 광 지향 필름(4400)에 라미네이팅된 것을 제외하고는 실시예 2A의 광학 스택과 유사한 광학 스택을 제조하였다. 생성된 광학 스택은 박리 강도가 약 31.5 그램/㎝(79.9 그램/in)이고 ETA가 약 2.32였다.
실시예 2E:
상부 필름의 기재의 평평한 면이 처음에 1.5 J/㎠의 조사량으로 질소 코로나 처리된 것 이외에 상부 광 지향 필름(4300)이 실시예 J에 설명된 3.5 마이크로미터 두께의 광학 접착제 층 및 접합 공정을 통해 하부 광 지향 필름(4400)에 라미네이팅된 것을 제외하고는 실시예 2A의 광학 스택과 유사한 광학 스택을 제조하였다. 생성된 광학 스택은 박리 강도가 약 39.6 그램/㎝(100.6 그램/in)이고 ETA가 약 2.31이었다.
도 47은 프리즘들이 프리즘들을 이웃 표면에 접합시키도록 주로 설계된 임의의 부분을 갖지 않는 실시예 1B 및 실시예 1C와, 하나 걸러 하나의 프리즘이 단일형 개별 구조물 - 이 단일형 개별 구조물은 단일형 개별 구조물을 이웃 표면에 접합시키도록 주로 설계된 접합 부분을 포함함 - 인 실시예 2B 내지 실시예 2E에 대한 박리 강도의 함수로서의 ETA이다. 실시예 2B 내지 실시예 2E에서, 박리 강도는 ETA의 감소가 전혀 없거나 거의 없이 크게 증가되었다. 극명하게 대조적으로, 실시예 1B 및 실시예 1C에서, 박리 강도의 약간의 증가도 ETA의 상당한 감소를 유발하였다.
실시예 3A:
실시예 B의 기재(4000)를 실시예 E의 광 지향 필름(4300) 상에 배치함으로써 광학 스택을 제조하였다. 각각의 필름은 대략 폭이 22.9 ㎝이고 길이가 30.5 ㎝였다. 2개의 광 필름을 접합시키는 광학 접착제 층이 존재하지 않았다. 광학 스택의 ETA는 약 1.61이었다.
실시예 3B:
상부 기재(4000)가 실시예 H에 설명된 1 마이크로미터 두께의 광학 접착제 층 및 접합 공정을 통해 하부 광 지향 필름(4300)에 라미네이팅된 것을 제외하고는 실시예 3A의 광학 스택과 유사한 광학 스택을 제조하였다. 생성된 광학 스택은 박리 강도가 약 10.2 그램/㎝(26 그램/in)이고 ETA가 약 1.55였다.
실시예 3C:
상부 기재(4000)가 실시예 H에 설명된 3 마이크로미터 두께의 광학 접착제 층 및 접합 공정을 통해 하부 광 지향 필름(4300)에 라미네이팅된 것을 제외하고는 실시예 3A의 광학 스택과 유사한 광학 스택을 제조하였다. 생성된 광학 스택은 박리 강도가 약 12.6 그램/㎝(32 그램/in)이고 ETA가 약 1.37이었다.
실시예 4A:
실시예 B의 기재(4000)를 실시예 F의 광 지향 필름(4400) 상에 배치함으로써 광학 스택을 제조하였다. 각각의 필름은 대략 폭이 22.9 ㎝이고 길이가 30.5 ㎝였다. 2개의 광 필름을 접합시키는 광학 접착제 층이 존재하지 않았다. 광학 스택의 ETA는 약 1.61이었다.
실시예 4B:
상부 기재(4000)가 실시예 H에 설명된 1 마이크로미터 두께의 광학 접착제 층 및 접합 공정을 통해 하부 광 지향 필름(4400)에 라미네이팅된 것을 제외하고는 실시예 4A의 광학 스택과 유사한 광학 스택을 제조하였다. 생성된 광학 스택은 박리 강도가 약 8.3 그램/㎝(21 그램/in)이고 ETA가 약 1.58이었다.
실시예 4C:
상부 기재(4000)가 실시예 H에 설명된 3 마이크로미터 두께의 광학 접착제 층 및 접합 공정을 통해 하부 광 지향 필름(4400)에 라미네이팅된 것을 제외하고는 실시예 4A의 광학 스택과 유사한 광학 스택을 제조하였다. 생성된 광학 스택은 박리 강도가 약 11.8 그램/㎝(30 그램/in)이고 ETA가 약 1.58이었다.
실시예 5A:
실시예 C의 광 지향 필름(4100)을 실시예 E의 광 지향 필름(4300) 상에 배치함으로써 광학 스택을 제조하였다. 상부 광 지향 필름의 평평한 면은 하부 광 지향 필름의 구조화된 면을 향했다. 각각의 광 지향 필름은 대략 폭이 22.9 ㎝이고 길이가 30.5 ㎝였다. 2개의 필름의 선형 프리즘들은 직교 방향들을 따라 연장되었다. 2개의 광 지향 필름을 접합시키는 광학 접착제 층은 존재하지 않았다. 광학 스택의 ETA는 약 3.06이었다.
실시예 5B:
상부 광 지향 필름(4100)이 실시예 H에 설명된 1 마이크로미터 두께의 광학 접착제 층 및 접합 공정을 통해 하부 광 지향 필름(4300)에 라미네이팅된 것을 제외하고는 실시예 5A의 광학 스택과 유사한 광학 스택을 제조하였다. 생성된 광학 스택은 박리 강도가 약 14.6 그램/㎝(37 그램/in)이고 ETA가 약 2.84였다.
실시예 5C:
상부 광 지향 필름(4100)이 실시예 H에 설명된 3 마이크로미터 두께의 광학 접착제 층 및 접합 공정을 통해 하부 광 지향 필름(4300)에 라미네이팅된 것을 제외하고는 실시예 5A의 광학 스택과 유사한 광학 스택을 제조하였다. 생성된 광학 스택은 박리 강도가 약 41.7 그램/㎝(106 그램/in)이고 ETA가 약 2.51이었다.
실시예 6A:
실시예 C의 광 지향 필름(4100)을 실시예 F의 광 지향 필름(4400) 상에 배치함으로써 광학 스택을 제조하였다. 상부 광 지향 필름의 평평한 면은 하부 광 지향 필름의 구조화된 면을 향했다. 각각의 광 지향 필름은 대략 폭이 22.9 ㎝이고 길이가 30.5 ㎝였다. 2개의 필름의 선형 프리즘들은 직교 방향들을 따라 연장되었다. 2개의 광 지향 필름을 접합시키는 광학 접착제 층은 존재하지 않았다. 광학 스택의 ETA는 약 3.07이었다.
실시예 6B:
상부 광 지향 필름(4100)이 실시예 H에 설명된 1 마이크로미터 두께의 광학 접착제 층 및 접합 공정을 통해 하부 광 지향 필름(4400)에 라미네이팅된 것을 제외하고는 실시예 6A의 광학 스택과 유사한 광학 스택을 제조하였다. 생성된 광학 스택은 박리 강도가 약 14.6 그램/㎝(37 그램/in)이고 ETA가 약 2.93이었다.
실시예 6C:
상부 광 지향 필름(4100)이 실시예 H에 설명된 3 마이크로미터 두께의 광학 접착제 층 및 접합 공정을 통해 하부 광 지향 필름(4400)에 라미네이팅된 것을 제외하고는 실시예 6A의 광학 스택과 유사한 광학 스택을 제조하였다. 생성된 광학 스택은 박리 강도가 약 34.6 그램/㎝(88 그램/in)이고 ETA가 약 2.82였다. 도 46은 접합 부분(4620) 및 광 지향 부분(4630)을 포함하는 단일형 개별 구조물(4610)의 예시적인 SEM이다. 접합 부분(4620)은 광학 접착제 층(4640) 내로 부분적으로 침투하였다. 접합 부분(4620)은 높이가 약 3 마이크로미터이고 폭이 약 1 마이크로미터였다.
실시예 7A:
실시예 A의 광 지향 필름(3900)을 실시예 E의 광 지향 필름(4300) 상에 배치함으로써 광학 스택을 제조하였다. 상부 광 지향 필름의 평평한 면은 하부 광 지향 필름의 구조화된 면을 향했다. 각각의 광 지향 필름은 대략 폭이 22.9 ㎝이고 길이가 30.5 ㎝였다. 2개의 필름의 선형 프리즘들은 직교 방향들을 따라 연장되었다. 2개의 광 지향 필름을 접합시키는 광학 접착제 층은 존재하지 않았다. 광학 스택의 ETA는 약 2.35였다.
실시예 7B:
상부 광 지향 필름(3900)이 실시예 H에 설명된 1 마이크로미터 두께의 광학 접착제 층 및 접합 공정을 통해 하부 광 지향 필름(4300)에 라미네이팅된 것을 제외하고는 실시예 7A의 광학 스택과 유사한 광학 스택을 제조하였다. 생성된 광학 스택은 박리 강도가 약 14.6 그램/㎝(37 그램/in)이고 ETA가 약 2.24였다.
실시예 7C:
상부 광 지향 필름(3900)이 실시예 H에 설명된 3 마이크로미터 두께의 광학 접착제 층 및 접합 공정을 통해 하부 광 지향 필름(4300)에 라미네이팅된 것을 제외하고는 실시예 7A의 광학 스택과 유사한 광학 스택을 제조하였다. 생성된 광학 스택은 박리 강도가 약 35.4 그램/㎝(90 그램/in)이고 ETA가 약 1.97이었다.
실시예 8A:
실시예 A의 광 지향 필름(3900)을 실시예 F의 광 지향 필름(4400) 상에 배치함으로써 광학 스택을 제조하였다. 상부 광 지향 필름의 평평한 면은 하부 광 지향 필름의 구조화된 면을 향했다. 각각의 광 지향 필름은 대략 폭이 22.9 ㎝이고 길이가 30.5 ㎝였다. 2개의 필름의 선형 프리즘들은 직교 방향들을 따라 연장되었다. 2개의 광 지향 필름을 접합시키는 광학 접착제 층은 존재하지 않았다. 광학 스택의 ETA는 약 2.36이었다.
실시예 8B:
상부 광 지향 필름(3900)이 실시예 H에 설명된 1 마이크로미터 두께의 광학 접착제 층 및 접합 공정을 통해 하부 광 지향 필름(4400)에 라미네이팅된 것을 제외하고는 실시예 8A의 광학 스택과 유사한 광학 스택을 제조하였다. 생성된 광학 스택은 박리 강도가 약 13.0 그램/㎝(33 그램/in)이고 ETA가 약 2.33이었다.
실시예 8C:
상부 광 지향 필름(3900)이 실시예 H에 설명된 3 마이크로미터 두께의 광학 접착제 층 및 접합 공정을 통해 하부 광 지향 필름(4400)에 라미네이팅된 것을 제외하고는 실시예 8A의 광학 스택과 유사한 광학 스택을 제조하였다. 생성된 광학 스택은 박리 강도가 약 25.2 그램/㎝(64 그램/in)이고 ETA가 약 2.29였다.
항목 1. 제1 광학 접착제 층,
제1 광학 접착제 층 상에 배치되고, 제1 편광 상태의 광을 실질적으로 반사하고 제1 편광 상태에 직교하는 제2 편광 상태의 광을 실질적으로 투과시키는 반사 편광기 층
을 포함하는 제1 광학 스택; 및
제2 광학 접착제 층,
제2 광학 접착제 층 상에 배치되고 결합제 중에 분산된 복수의 공극을 포함하는 저굴절률 층, 및
저굴절률 층 상에 배치되고 복수의 단일형 개별 구조물을 포함하는 광 지향 필름
을 포함하는 제2 광학 스택을 포함하고, 각각의 단일형 개별 구조물의 일부분은 제1 광학 접착제 층 내로 침투하고, 각각의 단일형 개별 구조물의 일부분은 제1 광학 접착제 층 내로 침투하지 않으며, 각각의 단일형 개별 구조물은 단일형 개별 구조물의 침투 부분과 비침투 부분 사이의 계면에서 침투 깊이 및 침투 기부를 한정하고, 침투 기부는 최소 침투 기부 치수를 가지며, 복수의 단일형 개별 구조물은 평균 침투 깊이 및 평균 최소 침투 기부 치수를 갖고, 평균 최소 침투 기부 치수에 대한 평균 침투 깊이의 비가 1.5 이상이며, 제1 광학 스택과 제2 광학 스택 사이의 박리 강도가 약 11.8 g/㎝(30 그램/인치) 초과인 광학 스택.
항목 2. 항목 1의 광학 스택으로서, 제1 광학 스택 및 제2 광학 스택 각각에서 2개의 이웃하는 각각의 주 표면들의 상당한 부분이 서로 물리적으로 접촉하는 광학 스택.
항목 3. 항목 2의 광학 스택으로서, 제1 광학 스택 및 제2 광학 스택 각각에서 2개의 이웃하는 각각의 주 표면들의 50% 이상이 서로 물리적으로 접촉하는 광학 스택.
항목 4. 항목 2의 광학 스택으로서, 제1 광학 스택 및 제2 광학 스택 각각에서 2개의 이웃하는 각각의 주 표면들의 70% 이상이 서로 물리적으로 접촉하는 광학 스택.
항목 5. 항목 2의 광학 스택으로서, 제1 광학 스택 및 제2 광학 스택 각각에서 2개의 이웃하는 각각의 주 표면들의 90% 이상이 서로 물리적으로 접촉하는 광학 스택.
항목 6. 항목 1의 광학 스택으로서, 저굴절률 층의 유효 굴절률이 약 1.3 이하인 광학 스택.
항목 7. 항목 1의 광학 스택으로서, 저굴절률 층의 유효 굴절률이 약 1.25 이하인 광학 스택.
항목 8. 항목 1의 광학 스택으로서, 저굴절률 층의 유효 굴절률이 약 1.2 이하인 광학 스택.
항목 9. 항목 1의 광학 스택으로서, 저굴절률 층의 유효 굴절률이 약 1.15 이하인 광학 스택.
항목 10. 항목 1의 광학 스택으로서, 저굴절률 층의 유효 굴절률이 약 1.05 이하인 광학 스택.
항목 11. 항목 1의 광학 스택으로서, 저굴절률 층의 광학적 탁도가 약 5% 이하인 광학 스택.
항목 12. 항목 1의 광학 스택으로서, 저굴절률 층의 광학적 탁도가 약 4% 이하인 광학 스택.
항목 13. 항목 1의 광학 스택으로서, 저굴절률 층의 광학적 탁도가 약 3% 이하인 광학 스택.
항목 14. 항목 1의 광학 스택으로서, 저굴절률 층의 광학적 탁도가 약 2% 이하인 광학 스택.
항목 15. 항목 1의 광학 스택으로서, 저굴절률 층의 광학적 탁도가 약 1% 이하인 광학 스택.
항목 16. 항목 1의 광학 스택으로서, 저굴절률 층의 광학적 탁도가 약 10% 이상인 광학 스택.
항목 17. 항목 1의 광학 스택으로서, 저굴절률 층의 광학적 탁도가 약 20% 이상인 광학 스택.
항목 18. 항목 1의 광학 스택으로서, 저굴절률 층의 광학적 탁도가 약 30% 이상인 광학 스택.
항목 19. 항목 1의 광학 스택으로서, 저굴절률 층의 광학적 탁도가 약 40% 이상인 광학 스택.
항목 20. 항목 1의 광학 스택으로서, 저굴절률 층의 광학적 탁도가 약 50% 이상인 광학 스택.
항목 21. 항목 1의 광학 스택으로서, 저굴절률 층은 약 1 마이크로미터 이상인 두께를 갖는 광학 스택.
항목 22. 항목 1의 광학 스택으로서, 저굴절률 층은 약 2 마이크로미터 이상인 두께를 갖는 광학 스택.
항목 23. 항목 1의 광학 스택으로서, 저굴절률 층은 복수의 입자를 포함하는 광학 스택.
항목 24. 항목 1의 광학 스택으로서, 저굴절률 층은 결합제 중에 분산된 복수의 상호연결된 공극을 포함하는 광학 스택.
항목 25.
도광체; 및
도광체 상에 배치되어 점착된 항목 1의 광학 스택을 포함하고, 저굴절률 층은 내부 전반사 및 향상된 내부 반사 중 적어도 하나에 의해 도광체 내에서의 광의 전파를 촉진하는 조명 시스템.
항목 26. 항목 25의 조명 시스템으로서, 도광체는 내부 전반사에 의해 도광체 내에서 전파되는 광을 도광체로부터 추출하기 위한 복수의 광 추출기를 포함하는 조명 시스템.
항목 27. 항목 1의 광학 스택으로서, 제1 광학 스택은 반사 편광기 층 상에 배치된 광 확산 층을 추가로 포함하는 광학 스택.
항목 28.
이미지 형성 패널;
후방 반사기; 및
이미지 형성 패널과 후방 반사기 사이에 배치된 항목 1의 광학 스택을 포함하는 디스플레이 시스템.
항목 29. 항목 1의 광학 스택으로서, 단일형 개별 구조물이 제1 광학 접착제 층 내로 침투하지 않는 것을 제외하고는 동일한 구성을 갖는 광학 스택과 비교할 때 작지 않거나 약 10% 이하만큼 작은 평균 유효 투과율을 갖는 광학 스택.
항목 30. 항목 1의 광학 스택으로서, 단일형 개별 구조물이 제1 광학 접착제 층 내로 침투하지 않는 것을 제외하고는 동일한 구성을 갖는 광학 스택과 비교할 때 작지 않거나 약 5% 이하만큼 작은 평균 유효 투과율을 갖는 광학 스택.
항목 31. 항목 1의 광학 스택으로서, 평균 최소 침투 기부 치수에 대한 평균 침투 깊이의 비는 2 이상인 광학 스택.
항목 32. 항목 1의 광학 스택으로서, 평균 최소 침투 기부 치수에 대한 평균 침투 깊이의 비는 3 이상인 광학 스택.
항목 33. 항목 1의 광학 스택으로서, 평균 최소 침투 기부 치수에 대한 평균 침투 깊이의 비는 4 이상인 광학 스택.
항목 34. 항목 1의 광학 스택으로서, 평균 최소 침투 기부 치수에 대한 평균 침투 깊이의 비는 5 이상인 광학 스택.
항목 35. 항목 1의 광학 스택으로서, 평균 최소 침투 기부 치수에 대한 평균 침투 깊이의 비는 7 이상인 광학 스택.
항목 36. 항목 1의 광학 스택으로서, 평균 최소 침투 기부 치수에 대한 평균 침투 깊이의 비는 10 이상인 광학 스택.
항목 37. 항목 1의 광학 스택으로서, 각각의 단일형 개별 구조물은 기부 및 최소 기부 치수를 갖고, 복수의 단일형 개별 구조물은 평균 최소 기부 치수를 가지며, 평균 최소 침투 기부 치수는 평균 최소 기부 치수의 약 10% 미만인 광학 스택.
항목 38. 항목 37의 광학 스택으로서, 평균 최소 침투 기부 치수는 평균 최소 기부 치수의 약 8% 미만인 광학 스택.
항목 39. 항목 37의 광학 스택으로서, 평균 최소 침투 기부 치수는 평균 최소 기부 치수의 약 6% 미만인 광학 스택.
항목 40. 항목 37의 광학 스택으로서, 평균 최소 침투 기부 치수는 평균 최소 기부 치수의 약 5% 미만인 광학 스택.
항목 41. 항목 37의 광학 스택으로서, 평균 최소 침투 기부 치수는 평균 최소 기부 치수의 약 4% 미만인 광학 스택.
항목 42. 항목 37의 광학 스택으로서, 평균 최소 침투 기부 치수는 평균 최소 기부 치수의 약 3% 미만인 광학 스택.
항목 43.
제1 광학 접착제 층;
제1 광학 접착제 층 상에 배치되고 결합제 중에 분산된 복수의 공극을 포함하는 저굴절률 층;
저굴절률 층 상에 배치되고 복수의 단일형 개별 구조물을 포함하는 광 지향 필름; 및
광 지향 필름 상에 배치된 제2 광학 접착제 층을 포함하고, 각각의 단일형 개별 구조물의 일부분은 제2 광학 접착제 층 내로 침투하고, 각각의 단일형 개별 구조물의 일부분은 제2 광학 접착제 층 내로 침투하지 않으며, 각각의 단일형 개별 구조물은 단일형 개별 구조물의 침투 부분과 비침투 부분 사이의 계면에서 침투 깊이 및 침투 기부를 한정하고, 침투 기부는 최소 침투 기부 치수를 가지며, 복수의 단일형 개별 구조물은 평균 침투 깊이 및 평균 최소 침투 기부 치수를 갖고, 평균 최소 침투 기부 치수에 대한 평균 침투 깊이의 비가 1.5 이상이며, 광 지향 필름과 제2 광학 접착제 층 사이의 박리 강도가 약 11.8 g/㎝(30 그램/인치) 초과인 광학 스택.
항목 44. 항목 43의 광학 스택으로서, 단일형 개별 구조물이 제2 광학 접착제 층 내로 침투하지 않는 것을 제외하고는 동일한 구성을 갖는 광학 스택과 비교할 때 작지 않거나 약 10% 이하만큼 작은 평균 유효 투과율을 갖는 광학 스택.
항목 45. 항목 43의 광학 스택으로서, 각각의 단일형 개별 구조물은 기부 및 최소 기부 치수를 갖고, 복수의 단일형 개별 구조물은 평균 최소 기부 치수를 가지며, 평균 최소 침투 기부 치수는 평균 최소 기부 치수의 약 10% 미만인 광학 스택.
항목 46.
도광체 층 - 상기 도광체 층은 내부 전반사에 의해 도광체 층을 가로질러 광을 전파시키기 위한 것임 -; 및
도광체 층 상에 배치된 복수의 개별 광 추출기 - 각각의 개별 광 추출기는 내부 전반사에 의해 도광체 층 내에서 전파되는 광을 도광체 층으로부터 추출하기 위해 도광체 층 내에 부분적으로 매설됨 - 를 포함하는 도광체.
항목 47. 항목 46의 도광체로서, 복수의 개별 광 추출기의 각각의 개별 광 추출기는 도광체 층 내에 매설되지 않은 부분을 갖는 도광체.
항목 48. 항목 46의 도광체로서, 복수의 개별 광 추출기의 각각의 개별 광 추출기의 굴절률은 도광체 층의 굴절률과는 상이한 도광체.
항목 49. 항목 46의 도광체로서, 복수의 개별 광 추출기의 각각의 개별 광 추출기의 굴절률은 도광체 층의 굴절률과 같은 도광체.
항목 50. 항목 46의 도광체로서, 도광체 층 상에 배치된 광학 필름을 포함하고 복수의 개별 광 추출기를 포함하는 도광체.
본 명세서에 사용된 바와 같이, "수직", "수평", "위", "아래", "상단", 하단", "좌측", "우측", "상부" 및 "하부", "시계방향" 및 "반시계방향"과 같은 용어 및 다른 유사한 용어는 도면에 도시된 바와 같은 상대 위치를 지칭한다. 일반적으로, 물리적인 실시 형태는 상이한 배향을 가질 수 있으며, 그 경우에 이 용어들은 장치의 실제 배향에 맞추어 수정되는 상대 위치를 지칭하도록 의도된다. 예를 들어, 도 38의 이미지가 도면의 배향과 비교할 때 뒤집혀져 있을지라도, 표면(3820)은 여전히 상부 표면인 것으로 간주된다.
위에서 인용된 모든 특허, 특허 출원, 및 다른 공보들은 상세히 재현되는 것처럼 본 문헌에 참고로 포함된다. 본 발명의 특정 실시예가 본 발명의 다양한 태양의 설명을 용이하게 하기 위해 위에서 상세하게 설명되었지만, 본 발명을 실시예의 상세 사항으로 제한하고자 하는 것이 아님을 이해하여야 한다. 오히려, 첨부된 특허청구범위에 의해 한정되는 본 발명의 사상 및 범주 내에 속하는 모든 수정, 실시 형태, 및 대안을 포함하고자 한다.

Claims (10)

  1. 제1 광학 접착제 층,
    제1 광학 접착제 층 상에 배치되고, 제1 편광 상태의 광을 실질적으로 반사하고 제1 편광 상태에 직교하는 제2 편광 상태의 광을 실질적으로 투과시키는 반사 편광기 층
    을 포함하는 제1 광학 스택(optical stack); 및
    제2 광학 접착제 층,
    제2 광학 접착제 층 상에 배치되고 결합제(binder) 중에 분산된 복수의 공극(void)을 포함하는 저굴절률 층(low index layer), 및
    저굴절률 층 상에 배치되고 복수의 단일형 개별 구조물(unitary discrete structure)을 포함하는 광 지향 필름
    을 포함하는 제2 광학 스택을 포함하고, 각각의 단일형 개별 구조물의 일부분은 제1 광학 접착제 층 내로 침투하고, 각각의 단일형 개별 구조물의 일부분은 제1 광학 접착제 층 내로 침투하지 않으며, 각각의 단일형 개별 구조물은 단일형 개별 구조물의 침투 부분과 비침투 부분 사이의 계면에서 침투 깊이 및 침투 기부를 한정하고, 침투 기부는 최소 침투 기부 치수를 가지며, 복수의 단일형 개별 구조물은 평균 침투 깊이 및 평균 최소 침투 기부 치수를 갖고, 평균 최소 침투 기부 치수에 대한 평균 침투 깊이의 비(ratio)가 1.5 이상이며, 제1 광학 스택과 제2 광학 스택 사이의 박리 강도가 약 11.8 g/㎝(30 그램/인치) 초과인 광학 스택.
  2. 제1항에 있어서, 제1 광학 스택 및 제2 광학 스택 각각에서 2개의 이웃하는 각각의 주 표면들의 70% 이상이 서로 물리적으로 접촉하는 광학 스택.
  3. 제1항에 있어서, 단일형 개별 구조물이 제1 광학 접착제 층 내로 침투하지 않는 것을 제외하고는 동일한 구성을 갖는 광학 스택과 비교할 때 작지 않거나 약 5% 이하만큼 작은 평균 유효 투과율을 갖는 광학 스택.
  4. 제1항에 있어서, 평균 최소 침투 기부 치수에 대한 평균 침투 깊이의 비는 3 이상인 광학 스택.
  5. 제1항에 있어서, 각각의 단일형 개별 구조물은 기부 및 최소 기부 치수를 갖고, 복수의 단일형 개별 구조물은 평균 최소 기부 치수를 가지며, 평균 최소 침투 기부 치수는 평균 최소 기부 치수의 약 10% 미만인 광학 스택.
  6. 제1 광학 접착제 층;
    제1 광학 접착제 층 상에 배치되고 결합제 중에 분산된 복수의 공극을 포함하는 저굴절률 층;
    저굴절률 층 상에 배치되고 복수의 단일형 개별 구조물을 포함하는 광 지향 필름; 및
    광 지향 필름 상에 배치된 제2 광학 접착제 층을 포함하고, 각각의 단일형 개별 구조물의 일부분은 제2 광학 접착제 층 내로 침투하고, 각각의 단일형 개별 구조물의 일부분은 제2 광학 접착제 층 내로 침투하지 않으며, 각각의 단일형 개별 구조물은 단일형 개별 구조물의 침투 부분과 비침투 부분 사이의 계면에서 침투 깊이 및 침투 기부를 한정하고, 침투 기부는 최소 침투 기부 치수를 가지며, 복수의 단일형 개별 구조물은 평균 침투 깊이 및 평균 최소 침투 기부 치수를 갖고, 평균 최소 침투 기부 치수에 대한 평균 침투 깊이의 비가 1.5 이상이며, 광 지향 필름과 제2 광학 접착제 층 사이의 박리 강도가 약 11.8 g/㎝(30 그램/인치) 초과인 광학 스택.
  7. 제6항에 있어서, 단일형 개별 구조물이 제2 광학 접착제 층 내로 침투하지 않는 것을 제외하고는 동일한 구성을 갖는 광학 스택과 비교할 때 작지 않거나 약 10% 이하만큼 작은 평균 유효 투과율을 갖는 광학 스택.
  8. 제6항에 있어서, 각각의 단일형 개별 구조물은 기부 및 최소 기부 치수를 갖고, 복수의 단일형 개별 구조물은 평균 최소 기부 치수를 가지며, 평균 최소 침투 기부 치수는 평균 최소 기부 치수의 약 10% 미만인 광학 스택.
  9. 도광체 층 - 상기 도광체 층은 내부 전반사(total internal reflection)에 의해 도광체 층을 가로질러 광을 전파시키기 위한 것임 -; 및
    도광체 층 상에 배치된 복수의 개별 광 추출기(light extractor)를 포함하고, 각각의 개별 광 추출기는 내부 전반사에 의해 도광체 층 내에서 전파되는 광을 도광체 층으로부터 추출하기 위해 도광체 층 내에 부분적으로 매설되는 도광체.
  10. 제9항에 있어서, 복수의 개별 광 추출기의 각각의 개별 광 추출기는 도광체 층 내에 매설되지 않은 부분을 갖는 도광체.
KR1020127029411A 2010-04-12 2011-04-11 광학 스택 및 도광체 Expired - Fee Related KR101796806B1 (ko)

Applications Claiming Priority (7)

Application Number Priority Date Filing Date Title
US32316310P 2010-04-12 2010-04-12
US32314710P 2010-04-12 2010-04-12
US32312810P 2010-04-12 2010-04-12
US61/323,128 2010-04-12
US61/323,163 2010-04-12
US61/323,147 2010-04-12
PCT/US2011/031904 WO2011130151A1 (en) 2010-04-12 2011-04-11 Optical stack and lightguides

Publications (2)

Publication Number Publication Date
KR20130040887A true KR20130040887A (ko) 2013-04-24
KR101796806B1 KR101796806B1 (ko) 2017-11-10

Family

ID=44227521

Family Applications (6)

Application Number Title Priority Date Filing Date
KR1020187014217A Expired - Fee Related KR102155586B1 (ko) 2010-04-12 2011-04-11 광 지향 필름
KR1020127029057A Ceased KR20130092392A (ko) 2010-04-12 2011-04-11 광 지향 필름
KR1020127029411A Expired - Fee Related KR101796806B1 (ko) 2010-04-12 2011-04-11 광학 스택 및 도광체
KR1020187014193A Active KR102120839B1 (ko) 2010-04-12 2011-04-11 광학 스택
KR1020127029058A Ceased KR20130067269A (ko) 2010-04-12 2011-04-11 광학 스택
KR1020207005219A Active KR102140995B1 (ko) 2010-04-12 2011-04-11 광학 스택

Family Applications Before (2)

Application Number Title Priority Date Filing Date
KR1020187014217A Expired - Fee Related KR102155586B1 (ko) 2010-04-12 2011-04-11 광 지향 필름
KR1020127029057A Ceased KR20130092392A (ko) 2010-04-12 2011-04-11 광 지향 필름

Family Applications After (3)

Application Number Title Priority Date Filing Date
KR1020187014193A Active KR102120839B1 (ko) 2010-04-12 2011-04-11 광학 스택
KR1020127029058A Ceased KR20130067269A (ko) 2010-04-12 2011-04-11 광학 스택
KR1020207005219A Active KR102140995B1 (ko) 2010-04-12 2011-04-11 광학 스택

Country Status (8)

Country Link
US (4) US8947799B2 (ko)
EP (3) EP2558891A1 (ko)
JP (7) JP2013529313A (ko)
KR (6) KR102155586B1 (ko)
CN (3) CN102822702B (ko)
SG (4) SG184854A1 (ko)
TW (3) TWI537613B (ko)
WO (3) WO2011130151A1 (ko)

Cited By (3)

* Cited by examiner, † Cited by third party
Publication number Priority date Publication date Assignee Title
KR101492922B1 (ko) * 2013-11-01 2015-02-12 신화인터텍 주식회사 복합 광학 시트 및 이를 포함하는 광원 어셈블리
KR20200092026A (ko) * 2019-01-24 2020-08-03 주식회사 엘엠에스 미니 led 또는 마이크로 led 백라이트 유닛용 광학 필름
US10890697B2 (en) 2017-06-23 2021-01-12 Samsung Display Co., Ltd. Composite optical sheet and liquid crystal display device including the same

Families Citing this family (44)

* Cited by examiner, † Cited by third party
Publication number Priority date Publication date Assignee Title
KR101898753B1 (ko) 2011-04-04 2018-09-13 쓰리엠 이노베이티브 프로퍼티즈 컴파니 접착제를 포함하는 광학 적층물
TWI514045B (zh) * 2011-12-08 2015-12-21 Lms Co Ltd 多層光學片組件
KR101321718B1 (ko) * 2012-06-25 2013-10-28 주식회사 엘엠에스 서로 다른 두께의 광학시트를 가지는 광학시트 모듈
KR101268083B1 (ko) * 2012-06-25 2013-05-29 주식회사 엘엠에스 적층형 광학시트모듈
US9784902B2 (en) 2013-03-25 2017-10-10 3M Innovative Properties Company Dual-sided film with split light spreading structures
US9261641B2 (en) * 2013-03-25 2016-02-16 3M Innovative Properties Company Dual-sided film with compound prisms
CN103257478A (zh) * 2013-05-22 2013-08-21 张家港康得新光电材料有限公司 复合式光学膜片及其制造方法
EP3042224A1 (en) 2013-09-05 2016-07-13 3M Innovative Properties Company Double-sided optical film with lenslets and clusters of prisms
SG11201602582UA (en) 2013-10-02 2016-04-28 3M Innovative Properties Co Articles and methods comprising polyacrylate primer with nitrogen-containing polymer
WO2015050862A1 (en) 2013-10-02 2015-04-09 3M Innovative Properties Company Article comprising polyacrylate pressure sensitive primer and adhesive comprising polyacrylate component
JP6643226B2 (ja) 2013-10-02 2020-02-12 スリーエム イノベイティブ プロパティズ カンパニー 第1の微細構造層及びコーティングを含む微細構造化拡散体、光学積層体、並びに方法
US10039321B2 (en) 2013-11-12 2018-08-07 Vmr Products Llc Vaporizer
WO2015074154A1 (en) * 2013-11-22 2015-05-28 Fluxwerx Illumination Inc. Light extraction elements for indirect light distribution
CN104698517B (zh) * 2013-12-09 2017-02-22 纬创资通股份有限公司 光学膜片、光学膜片组件及光学膜片的制造方法
KR101723790B1 (ko) * 2015-01-15 2017-04-07 주식회사 엘엠에스 광 리사이클링 향상 시트를 가지는 반사편광모듈 및 이를 구비한 백라이트 유닛
US10001587B2 (en) 2015-03-27 2018-06-19 3M Innovative Properties Company Brightness enhancement film
EP3286585A4 (en) 2015-04-24 2019-03-20 3M Innovative Properties Company DIFFUSER AT SEVERAL LEVELS
EP3286495A1 (en) * 2015-04-24 2018-02-28 3M Innovative Properties Company Optical film
KR20180036999A (ko) 2015-08-05 2018-04-10 쓰리엠 이노베이티브 프로퍼티즈 컴파니 광학 확산 필름 라미네이트 및 제조 방법
JP6762813B2 (ja) * 2015-09-28 2020-09-30 日東電工株式会社 液晶表示装置
JP6829969B2 (ja) * 2015-09-28 2021-02-17 日東電工株式会社 光学部材、ならびに、該光学部材を用いた偏光板のセットおよび液晶表示装置
WO2017057395A1 (ja) * 2015-09-28 2017-04-06 日東電工株式会社 光学部材、ならびに、該光学部材を用いた偏光板のセットおよび液晶表示装置
JP6960407B2 (ja) * 2015-12-28 2021-11-05 スリーエム イノベイティブ プロパティズ カンパニー 微細構造化層を有する物品
US11312100B2 (en) 2015-12-28 2022-04-26 3M Innovative Properties Company Article with microstructured layer
CN108431643B (zh) * 2015-12-28 2022-02-22 3M创新有限公司 具有微结构化层的制品
CN107219584A (zh) * 2015-12-29 2017-09-29 佛山市顺德区德联邦盛光电科技有限公司 一种抛物柱面加球点面的导光板
KR20180110022A (ko) * 2016-02-10 2018-10-08 쓰리엠 이노베이티브 프로퍼티즈 컴파니 일체형 광학 필름 조립체
US9841542B2 (en) * 2016-03-01 2017-12-12 Ubright Optronics Corporation Optical assembly and the method to make the same
US10795061B2 (en) * 2016-05-15 2020-10-06 3M Innovative Properties Company Light redirecting film with multi-peak microstructured prismatic elements and methods of making them
JP6744759B2 (ja) * 2016-05-20 2020-08-19 恵和株式会社 光学ユニット及び光学ユニットの製造方法
CN106199773B (zh) * 2016-06-21 2018-06-01 宁波激智科技股份有限公司 一种高机械稳定性的光学薄膜堆及其制备方法
JP2018004956A (ja) * 2016-07-01 2018-01-11 恵和株式会社 光学ユニット及び光学ユニットの製造方法
US10613258B2 (en) * 2016-09-13 2020-04-07 Ubright Optronics Corporation Optical assembly and the method to make the same
TWI614538B (zh) * 2016-11-22 2018-02-11 Huang Chen Cheng 反光膜
CN106547047A (zh) * 2017-01-24 2017-03-29 合肥京东方光电科技有限公司 一种导光板、背光模组及显示装置
US10288265B1 (en) * 2017-11-03 2019-05-14 Ubright Optronics Corporation Optical assembly and the method to make the same
KR20200103816A (ko) 2018-01-08 2020-09-02 쓰리엠 이노베이티브 프로퍼티즈 컴파니 광학 필름 조립체
CN114839775A (zh) 2018-02-19 2022-08-02 3M创新有限公司 光学膜装置
US11635622B1 (en) * 2018-12-07 2023-04-25 Meta Platforms Technologies, Llc Nanovided spacer materials and corresponding systems and methods
KR102827868B1 (ko) * 2019-07-18 2025-07-02 삼성디스플레이 주식회사 광학 필름 및 이를 포함하는 표시 장치
WO2021014245A1 (en) * 2019-07-22 2021-01-28 3M Innovative Properties Company Optical system for displaying magnified virtual image
CN114341679B (zh) * 2019-08-30 2025-01-21 三星Sdi株式会社 偏光板以及包括其的光学显示装置
US20210389505A1 (en) 2020-06-11 2021-12-16 Luminit Llc Anti-glare, privacy screen for windows or electronic device displays
TWI824858B (zh) * 2022-11-29 2023-12-01 友達光電股份有限公司 裝飾面板及顯示裝置

Family Cites Families (53)

* Cited by examiner, † Cited by third party
Publication number Priority date Publication date Assignee Title
US3619140A (en) 1967-01-03 1971-11-09 Cabot Corp Process for making carbon black
US3691140A (en) 1970-03-09 1972-09-12 Spencer Ferguson Silver Acrylate copolymer microspheres
US4166152B1 (en) 1977-08-17 1999-05-18 Minnesota Mining & Mfg Tacky polymeric microspheres
US5175030A (en) 1989-02-10 1992-12-29 Minnesota Mining And Manufacturing Company Microstructure-bearing composite plastic articles and method of making
US4994322A (en) 1989-09-18 1991-02-19 Minnesota Mining And Manufacturing Pressure-sensitive adhesive comprising hollow tacky microspheres and macromonomer-containing binder copolymer
US4968562A (en) 1990-02-27 1990-11-06 Minnesota Mining And Manufacturing Company Hollow acid-free acrylate polymeric microspheres having multiple small voids
JPH0559404U (ja) * 1992-01-16 1993-08-06 オーツタイヤ株式会社 導光板装置
US5296277A (en) 1992-06-26 1994-03-22 Minnesota Mining And Manufacturing Company Positionable and repositionable adhesive articles
JP3518554B2 (ja) * 1993-03-23 2004-04-12 大日本印刷株式会社 レンズシート及び該レンズシートを用いた面光源
US5561558A (en) * 1993-10-18 1996-10-01 Matsushita Electric Industrial Co., Ltd. Diffractive optical device
JP2855510B2 (ja) * 1994-09-06 1999-02-10 大日本印刷株式会社 レンズシート、エッジライト型面光源及び透過型表示体
JPH09227713A (ja) * 1996-02-20 1997-09-02 Fuji Photo Film Co Ltd 反射防止膜および画像表示装置
US6590705B1 (en) 1996-02-29 2003-07-08 3M Innovative Properties Company Optical film with co-continuous phases
US6197397B1 (en) 1996-12-31 2001-03-06 3M Innovative Properties Company Adhesives having a microreplicated topography and methods of making and using same
JP3968155B2 (ja) * 1997-09-17 2007-08-29 大日本印刷株式会社 プリズムシート
EP1147019B1 (en) 1999-01-25 2003-09-03 3M Innovative Properties Company Method of applying adhesive coated film
WO2000056557A1 (en) 1999-03-19 2000-09-28 3M Innovative Properties Company Image graphic system comprising a highly tacky adhesive and method for using same
JP2001076521A (ja) * 1999-09-02 2001-03-23 Kuraray Co Ltd 面光源素子
JP3457591B2 (ja) 1999-10-08 2003-10-20 インターナショナル・ビジネス・マシーンズ・コーポレーション 液晶表示装置
JP2001338507A (ja) * 2000-05-29 2001-12-07 Kuraray Co Ltd 面光源素子およびそれを用いた表示装置
US7010212B2 (en) 2002-05-28 2006-03-07 3M Innovative Properties Company Multifunctional optical assembly
US7140812B2 (en) 2002-05-29 2006-11-28 3M Innovative Properties Company Diamond tool with a multi-tipped diamond
US6846089B2 (en) 2003-05-16 2005-01-25 3M Innovative Properties Company Method for stacking surface structured optical films
US20040234724A1 (en) * 2003-05-22 2004-11-25 Eastman Kodak Company Immisible polymer filled optical elements
KR100447801B1 (ko) * 2003-07-10 2004-09-08 주식회사 엘지에스 백라이트유닛용 광학필름 및 그 제조방법
US7278775B2 (en) * 2004-09-09 2007-10-09 Fusion Optix Inc. Enhanced LCD backlight
US20080043490A1 (en) 2005-09-09 2008-02-21 Fusion Optix Inc. Enhanced Light Guide
US7356229B2 (en) 2005-02-28 2008-04-08 3M Innovative Properties Company Reflective polarizers containing polymer fibers
US20090213464A1 (en) 2005-08-30 2009-08-27 Yoshiya Kurachi Light polarizing sheet and manufacturing method for same
US20070195421A1 (en) * 2006-02-22 2007-08-23 Ching-Bin Lin Synergetically enhanced optical film and process for making same
US7529048B2 (en) * 2006-03-03 2009-05-05 Ching-Bin Lin Optical film having multi-story prisms and manufacturing process thereof
US7452120B2 (en) * 2006-03-24 2008-11-18 Rohm And Haas Denmark Finance A/S Illumination apparatus and film
JP2008027620A (ja) * 2006-07-18 2008-02-07 Konica Minolta Holdings Inc 面発光体及び表示装置
US20080049330A1 (en) 2006-08-25 2008-02-28 3M Innovative Properties Company Light directing laminate
US7599592B2 (en) 2006-08-30 2009-10-06 3M Innovative Properties Company Polymer fiber polarizers with aligned fibers
JPWO2008047855A1 (ja) * 2006-10-19 2010-02-25 株式会社クラレ 面光源素子およびその製造方法
JP4957195B2 (ja) 2006-11-09 2012-06-20 ソニー株式会社 液晶表示装置
JP4320672B2 (ja) * 2006-12-06 2009-08-26 ソニー株式会社 光学シートおよび表示装置
KR101361886B1 (ko) * 2006-12-13 2014-02-12 엘지디스플레이 주식회사 광학 플레이트, 이를 구비한 백라이트 어셈블리 및액정표시장치
JP2008176206A (ja) * 2007-01-22 2008-07-31 Mitsubishi Plastics Ind Ltd ディスプレイパネル用光学積層体
JP4148299B1 (ja) * 2007-02-13 2008-09-10 ソニー株式会社 光学包装体およびその製造方法、照明装置、ならびに表示装置
CN101542198A (zh) * 2007-02-13 2009-09-23 索尼株式会社 光学封装体及其制造方法、照明器和显示单元
JP4277931B2 (ja) * 2007-03-15 2009-06-10 ソニー株式会社 面発光装置、液晶表示装置及び光学シート組合せ体
US20080285304A1 (en) 2007-05-18 2008-11-20 Rankin Jr Charles M Light extraction film system
US20090041553A1 (en) 2007-08-06 2009-02-12 3M Innovative Properties Company Fly-cutting system and method, and related tooling and articles
JP2009063898A (ja) * 2007-09-07 2009-03-26 Sumitomo Chemical Co Ltd 光拡散板及び面光源装置並びに液晶表示装置
KR100916304B1 (ko) * 2007-11-26 2009-09-10 엘지전자 주식회사 광학 시트
KR20090086759A (ko) * 2008-02-11 2009-08-14 삼성정밀화학 주식회사 정면 휘도가 개선된 길이방향 웨이브 패턴의 프리즘 산을갖는 프리즘 시트, 이를 채용한 백라이트 유니트, 및 상기백라이트 유니트를 구비한 액정표시장치
JP5192877B2 (ja) * 2008-03-31 2013-05-08 古河電気工業株式会社 光学機能部材
US8730579B2 (en) * 2008-07-29 2014-05-20 Dae-Hwan Lee Optical sheet having enhanced optical characteristics
JP2010066309A (ja) * 2008-09-08 2010-03-25 Optmate Corp 積層光学フィルムおよび光学デバイス
JP2010078980A (ja) * 2008-09-26 2010-04-08 Toppan Printing Co Ltd 光制御スタック及びそれを用いたバックライトユニット、表示装置
JP5323005B2 (ja) * 2010-06-14 2013-10-23 株式会社日立製作所 超音波探傷装置及びその制御方法

Cited By (5)

* Cited by examiner, † Cited by third party
Publication number Priority date Publication date Assignee Title
KR101492922B1 (ko) * 2013-11-01 2015-02-12 신화인터텍 주식회사 복합 광학 시트 및 이를 포함하는 광원 어셈블리
US10890697B2 (en) 2017-06-23 2021-01-12 Samsung Display Co., Ltd. Composite optical sheet and liquid crystal display device including the same
KR20200092026A (ko) * 2019-01-24 2020-08-03 주식회사 엘엠에스 미니 led 또는 마이크로 led 백라이트 유닛용 광학 필름
CN113330337A (zh) * 2019-01-24 2021-08-31 株式会社Lms 迷你led或微型led背光单元用光学膜
CN113330337B (zh) * 2019-01-24 2023-04-04 株式会社Lms 迷你led或微型led背光单元用光学膜

Also Published As

Publication number Publication date
US20150153021A1 (en) 2015-06-04
JP2013524298A (ja) 2013-06-17
SG184134A1 (en) 2012-11-29
KR102155586B1 (ko) 2020-09-14
TW201211591A (en) 2012-03-16
CN102834744B (zh) 2016-03-16
US8947799B2 (en) 2015-02-03
KR20130092392A (ko) 2013-08-20
TWI537615B (zh) 2016-06-11
WO2011130151A1 (en) 2011-10-20
US8942522B2 (en) 2015-01-27
KR20130067269A (ko) 2013-06-21
KR20200022531A (ko) 2020-03-03
WO2011130144A1 (en) 2011-10-20
CN102822702B (zh) 2016-07-06
EP2558891A1 (en) 2013-02-20
KR20180058230A (ko) 2018-05-31
CN102844686A (zh) 2012-12-26
CN102822702A (zh) 2012-12-12
KR101796806B1 (ko) 2017-11-10
WO2011130155A1 (en) 2011-10-20
US20130022315A1 (en) 2013-01-24
TW201219851A (en) 2012-05-16
JP2018106196A (ja) 2018-07-05
EP2558890A1 (en) 2013-02-20
JP2013524299A (ja) 2013-06-17
JP2019194991A (ja) 2019-11-07
KR102140995B1 (ko) 2020-08-04
JP2016184168A (ja) 2016-10-20
SG184855A1 (en) 2012-11-29
CN102834744A (zh) 2012-12-19
TW201213888A (en) 2012-04-01
TWI537614B (zh) 2016-06-11
EP2558889A1 (en) 2013-02-20
KR20180058231A (ko) 2018-05-31
JP6870034B2 (ja) 2021-05-12
SG184854A1 (en) 2012-11-29
KR102120839B1 (ko) 2020-06-09
SG10201502906XA (en) 2015-05-28
US20130004728A1 (en) 2013-01-03
JP6605392B2 (ja) 2019-11-13
US9116285B2 (en) 2015-08-25
JP2013529313A (ja) 2013-07-18
TWI537613B (zh) 2016-06-11
US20130039077A1 (en) 2013-02-14
CN102844686B (zh) 2015-07-01
JP5824033B2 (ja) 2015-11-25
JP2016184583A (ja) 2016-10-20

Similar Documents

Publication Publication Date Title
JP6870034B2 (ja) 導光フィルム
KR102280969B1 (ko) 질소-함유 중합체를 갖는 폴리아크릴레이트 프라이머를 포함하는 물품 및 방법
KR20140029423A (ko) 접착제를 포함하는 광학 적층물

Legal Events

Date Code Title Description
PA0105 International application

St.27 status event code: A-0-1-A10-A15-nap-PA0105

PG1501 Laying open of application

St.27 status event code: A-1-1-Q10-Q12-nap-PG1501

A201 Request for examination
E13-X000 Pre-grant limitation requested

St.27 status event code: A-2-3-E10-E13-lim-X000

P11-X000 Amendment of application requested

St.27 status event code: A-2-2-P10-P11-nap-X000

P13-X000 Application amended

St.27 status event code: A-2-2-P10-P13-nap-X000

PA0201 Request for examination

St.27 status event code: A-1-2-D10-D11-exm-PA0201

D13-X000 Search requested

St.27 status event code: A-1-2-D10-D13-srh-X000

D14-X000 Search report completed

St.27 status event code: A-1-2-D10-D14-srh-X000

E902 Notification of reason for refusal
PE0902 Notice of grounds for rejection

St.27 status event code: A-1-2-D10-D21-exm-PE0902

T11-X000 Administrative time limit extension requested

St.27 status event code: U-3-3-T10-T11-oth-X000

T11-X000 Administrative time limit extension requested

St.27 status event code: U-3-3-T10-T11-oth-X000

E13-X000 Pre-grant limitation requested

St.27 status event code: A-2-3-E10-E13-lim-X000

P11-X000 Amendment of application requested

St.27 status event code: A-2-2-P10-P11-nap-X000

P13-X000 Application amended

St.27 status event code: A-2-2-P10-P13-nap-X000

E701 Decision to grant or registration of patent right
PE0701 Decision of registration

St.27 status event code: A-1-2-D10-D22-exm-PE0701

GRNT Written decision to grant
PR0701 Registration of establishment

St.27 status event code: A-2-4-F10-F11-exm-PR0701

PR1002 Payment of registration fee

St.27 status event code: A-2-2-U10-U12-oth-PR1002

Fee payment year number: 1

PG1601 Publication of registration

St.27 status event code: A-4-4-Q10-Q13-nap-PG1601

PR1001 Payment of annual fee

St.27 status event code: A-4-4-U10-U11-oth-PR1001

Fee payment year number: 4

PR1001 Payment of annual fee

St.27 status event code: A-4-4-U10-U11-oth-PR1001

Fee payment year number: 5

PC1903 Unpaid annual fee

St.27 status event code: A-4-4-U10-U13-oth-PC1903

Not in force date: 20221107

Payment event data comment text: Termination Category : DEFAULT_OF_REGISTRATION_FEE

PC1903 Unpaid annual fee

St.27 status event code: N-4-6-H10-H13-oth-PC1903

Ip right cessation event data comment text: Termination Category : DEFAULT_OF_REGISTRATION_FEE

Not in force date: 20221107