JP7561579B2 - エッチング方法およびエッチング装置 - Google Patents
エッチング方法およびエッチング装置 Download PDFInfo
- Publication number
- JP7561579B2 JP7561579B2 JP2020188278A JP2020188278A JP7561579B2 JP 7561579 B2 JP7561579 B2 JP 7561579B2 JP 2020188278 A JP2020188278 A JP 2020188278A JP 2020188278 A JP2020188278 A JP 2020188278A JP 7561579 B2 JP7561579 B2 JP 7561579B2
- Authority
- JP
- Japan
- Prior art keywords
- film
- etching
- silicon oxide
- gas
- chamber
- Prior art date
- Legal status (The legal status is an assumption and is not a legal conclusion. Google has not performed a legal analysis and makes no representation as to the accuracy of the status listed.)
- Active
Links
Images
Classifications
-
- H—ELECTRICITY
- H01—ELECTRIC ELEMENTS
- H01L—SEMICONDUCTOR DEVICES NOT COVERED BY CLASS H10
- H01L21/00—Processes or apparatus adapted for the manufacture or treatment of semiconductor or solid state devices or of parts thereof
- H01L21/02—Manufacture or treatment of semiconductor devices or of parts thereof
- H01L21/02041—Cleaning
- H01L21/02057—Cleaning during device manufacture
- H01L21/0206—Cleaning during device manufacture during, before or after processing of insulating layers
-
- H—ELECTRICITY
- H01—ELECTRIC ELEMENTS
- H01L—SEMICONDUCTOR DEVICES NOT COVERED BY CLASS H10
- H01L21/00—Processes or apparatus adapted for the manufacture or treatment of semiconductor or solid state devices or of parts thereof
- H01L21/02—Manufacture or treatment of semiconductor devices or of parts thereof
- H01L21/02104—Forming layers
- H01L21/02107—Forming insulating materials on a substrate
- H01L21/02109—Forming insulating materials on a substrate characterised by the type of layer, e.g. type of material, porous/non-porous, pre-cursors, mixtures or laminates
- H01L21/02112—Forming insulating materials on a substrate characterised by the type of layer, e.g. type of material, porous/non-porous, pre-cursors, mixtures or laminates characterised by the material of the layer
- H01L21/02123—Forming insulating materials on a substrate characterised by the type of layer, e.g. type of material, porous/non-porous, pre-cursors, mixtures or laminates characterised by the material of the layer the material containing silicon
- H01L21/02126—Forming insulating materials on a substrate characterised by the type of layer, e.g. type of material, porous/non-porous, pre-cursors, mixtures or laminates characterised by the material of the layer the material containing silicon the material containing Si, O, and at least one of H, N, C, F, or other non-metal elements, e.g. SiOC, SiOC:H or SiONC
- H01L21/0214—Forming insulating materials on a substrate characterised by the type of layer, e.g. type of material, porous/non-porous, pre-cursors, mixtures or laminates characterised by the material of the layer the material containing silicon the material containing Si, O, and at least one of H, N, C, F, or other non-metal elements, e.g. SiOC, SiOC:H or SiONC the material being a silicon oxynitride, e.g. SiON or SiON:H
-
- H—ELECTRICITY
- H01—ELECTRIC ELEMENTS
- H01L—SEMICONDUCTOR DEVICES NOT COVERED BY CLASS H10
- H01L21/00—Processes or apparatus adapted for the manufacture or treatment of semiconductor or solid state devices or of parts thereof
- H01L21/02—Manufacture or treatment of semiconductor devices or of parts thereof
- H01L21/02104—Forming layers
- H01L21/02107—Forming insulating materials on a substrate
- H01L21/02109—Forming insulating materials on a substrate characterised by the type of layer, e.g. type of material, porous/non-porous, pre-cursors, mixtures or laminates
- H01L21/02112—Forming insulating materials on a substrate characterised by the type of layer, e.g. type of material, porous/non-porous, pre-cursors, mixtures or laminates characterised by the material of the layer
- H01L21/02123—Forming insulating materials on a substrate characterised by the type of layer, e.g. type of material, porous/non-porous, pre-cursors, mixtures or laminates characterised by the material of the layer the material containing silicon
- H01L21/02164—Forming insulating materials on a substrate characterised by the type of layer, e.g. type of material, porous/non-porous, pre-cursors, mixtures or laminates characterised by the material of the layer the material containing silicon the material being a silicon oxide, e.g. SiO2
-
- H—ELECTRICITY
- H01—ELECTRIC ELEMENTS
- H01L—SEMICONDUCTOR DEVICES NOT COVERED BY CLASS H10
- H01L21/00—Processes or apparatus adapted for the manufacture or treatment of semiconductor or solid state devices or of parts thereof
- H01L21/02—Manufacture or treatment of semiconductor devices or of parts thereof
- H01L21/02104—Forming layers
- H01L21/02107—Forming insulating materials on a substrate
- H01L21/02109—Forming insulating materials on a substrate characterised by the type of layer, e.g. type of material, porous/non-porous, pre-cursors, mixtures or laminates
- H01L21/02112—Forming insulating materials on a substrate characterised by the type of layer, e.g. type of material, porous/non-porous, pre-cursors, mixtures or laminates characterised by the material of the layer
- H01L21/02123—Forming insulating materials on a substrate characterised by the type of layer, e.g. type of material, porous/non-porous, pre-cursors, mixtures or laminates characterised by the material of the layer the material containing silicon
- H01L21/0217—Forming insulating materials on a substrate characterised by the type of layer, e.g. type of material, porous/non-porous, pre-cursors, mixtures or laminates characterised by the material of the layer the material containing silicon the material being a silicon nitride not containing oxygen, e.g. SixNy or SixByNz
-
- H—ELECTRICITY
- H01—ELECTRIC ELEMENTS
- H01L—SEMICONDUCTOR DEVICES NOT COVERED BY CLASS H10
- H01L21/00—Processes or apparatus adapted for the manufacture or treatment of semiconductor or solid state devices or of parts thereof
- H01L21/02—Manufacture or treatment of semiconductor devices or of parts thereof
- H01L21/02104—Forming layers
- H01L21/02107—Forming insulating materials on a substrate
- H01L21/02109—Forming insulating materials on a substrate characterised by the type of layer, e.g. type of material, porous/non-porous, pre-cursors, mixtures or laminates
- H01L21/022—Forming insulating materials on a substrate characterised by the type of layer, e.g. type of material, porous/non-porous, pre-cursors, mixtures or laminates the layer being a laminate, i.e. composed of sublayers, e.g. stacks of alternating high-k metal oxides
-
- H—ELECTRICITY
- H01—ELECTRIC ELEMENTS
- H01L—SEMICONDUCTOR DEVICES NOT COVERED BY CLASS H10
- H01L21/00—Processes or apparatus adapted for the manufacture or treatment of semiconductor or solid state devices or of parts thereof
- H01L21/02—Manufacture or treatment of semiconductor devices or of parts thereof
- H01L21/02104—Forming layers
- H01L21/02107—Forming insulating materials on a substrate
- H01L21/02225—Forming insulating materials on a substrate characterised by the process for the formation of the insulating layer
- H01L21/0226—Forming insulating materials on a substrate characterised by the process for the formation of the insulating layer formation by a deposition process
- H01L21/02263—Forming insulating materials on a substrate characterised by the process for the formation of the insulating layer formation by a deposition process deposition from the gas or vapour phase
- H01L21/02271—Forming insulating materials on a substrate characterised by the process for the formation of the insulating layer formation by a deposition process deposition from the gas or vapour phase deposition by decomposition or reaction of gaseous or vapour phase compounds, i.e. chemical vapour deposition
- H01L21/0228—Forming insulating materials on a substrate characterised by the process for the formation of the insulating layer formation by a deposition process deposition from the gas or vapour phase deposition by decomposition or reaction of gaseous or vapour phase compounds, i.e. chemical vapour deposition deposition by cyclic CVD, e.g. ALD, ALE, pulsed CVD
-
- H—ELECTRICITY
- H01—ELECTRIC ELEMENTS
- H01L—SEMICONDUCTOR DEVICES NOT COVERED BY CLASS H10
- H01L21/00—Processes or apparatus adapted for the manufacture or treatment of semiconductor or solid state devices or of parts thereof
- H01L21/02—Manufacture or treatment of semiconductor devices or of parts thereof
- H01L21/04—Manufacture or treatment of semiconductor devices or of parts thereof the devices having potential barriers, e.g. a PN junction, depletion layer or carrier concentration layer
- H01L21/18—Manufacture or treatment of semiconductor devices or of parts thereof the devices having potential barriers, e.g. a PN junction, depletion layer or carrier concentration layer the devices having semiconductor bodies comprising elements of Group IV of the Periodic Table or AIIIBV compounds with or without impurities, e.g. doping materials
- H01L21/30—Treatment of semiconductor bodies using processes or apparatus not provided for in groups H01L21/20 - H01L21/26
- H01L21/31—Treatment of semiconductor bodies using processes or apparatus not provided for in groups H01L21/20 - H01L21/26 to form insulating layers thereon, e.g. for masking or by using photolithographic techniques; After treatment of these layers; Selection of materials for these layers
- H01L21/3105—After-treatment
- H01L21/311—Etching the insulating layers by chemical or physical means
- H01L21/31105—Etching inorganic layers
- H01L21/31111—Etching inorganic layers by chemical means
- H01L21/31116—Etching inorganic layers by chemical means by dry-etching
-
- H—ELECTRICITY
- H01—ELECTRIC ELEMENTS
- H01L—SEMICONDUCTOR DEVICES NOT COVERED BY CLASS H10
- H01L21/00—Processes or apparatus adapted for the manufacture or treatment of semiconductor or solid state devices or of parts thereof
- H01L21/67—Apparatus specially adapted for handling semiconductor or electric solid state devices during manufacture or treatment thereof; Apparatus specially adapted for handling wafers during manufacture or treatment of semiconductor or electric solid state devices or components ; Apparatus not specifically provided for elsewhere
- H01L21/67005—Apparatus not specifically provided for elsewhere
- H01L21/67011—Apparatus for manufacture or treatment
- H01L21/67017—Apparatus for fluid treatment
- H01L21/67063—Apparatus for fluid treatment for etching
- H01L21/67069—Apparatus for fluid treatment for etching for drying etching
Landscapes
- Engineering & Computer Science (AREA)
- Microelectronics & Electronic Packaging (AREA)
- Condensed Matter Physics & Semiconductors (AREA)
- General Physics & Mathematics (AREA)
- Manufacturing & Machinery (AREA)
- Computer Hardware Design (AREA)
- Physics & Mathematics (AREA)
- Power Engineering (AREA)
- Chemical & Material Sciences (AREA)
- Chemical Kinetics & Catalysis (AREA)
- General Chemical & Material Sciences (AREA)
- Inorganic Chemistry (AREA)
- Drying Of Semiconductors (AREA)
Description
本開示は、エッチング方法およびエッチング装置に関する。
近時、半導体デバイスの製造過程で、チャンバー内でプラズマを生成することなく化学的にエッチングを行う化学的酸化物除去処理(Chemical Oxide Removal;COR)と呼ばれる手法が知られている。CORとしては、基板である半導体ウエハの表面に存在するシリコン酸化膜(SiO2膜)に、フッ素含有ガスであるフッ化水素(HF)ガスと塩基性ガスであるアンモニア(NH3)ガスを用いる技術が知られている(例えば特許文献1、2)。この技術では、HFガスとNH3ガスをシリコン酸化膜と反応させてケイフッ化アンモニウム((NH4)2SiF6;AFS)を生成させ、加熱によりこのケイフッ化アンモニウムを昇華させることにより、シリコン酸化膜がエッチングされる。
本開示は、第1の酸化シリコン系膜と窒化シリコン系膜と第2の酸化シリコン系膜の3層積層膜を一括して除去することができるエッチング方法およびエッチング装置を提供する。
本開示の一態様に係るエッチング方法は、第1の酸化シリコン系膜と窒化シリコン系膜と第2の酸化シリコン系膜とを積層してなる3層積層膜を有する基板をチャンバー内に設ける工程と、前記チャンバー内で、HF-NH3系ガスを用い、前記3層積層膜を、各膜におけるガス比を調整しつつ一括してエッチングする工程と、を有する。
本開示によれば、第1の酸化シリコン系膜と窒化シリコン系膜と第2の酸化シリコン系膜の3層積層膜を一括して除去することができるエッチング方法およびエッチング装置が提供される。
以下、図面を参照しながら、実施形態について説明する。
<エッチング装置>
図1は、一実施形態のエッチング方法の実施に用いられるエッチング装置の一例を示す断面図である。
図1は、一実施形態のエッチング方法の実施に用いられるエッチング装置の一例を示す断面図である。
図1に示すように、エッチング装置1は、密閉構造のチャンバー10を備えており、チャンバー10の内部には、基板Wを略水平にした状態で載置させる載置台12が設けられている。
また、エッチング装置1は、チャンバー10に処理ガスを供給するガス供給機構13、チャンバー10内を排気する排気機構14を備えている。
チャンバー10は、チャンバー本体21と蓋部22とによって構成されている。チャンバー本体21は、略円筒形状の側壁部21aと底部21bとを有し、上部は開口となっており、この開口が内部に凹部を有する蓋部22で閉止される。側壁部21aと蓋部22とは、シール部材(図示せず)により密閉されて、チャンバー10内の気密性が確保される。
蓋部22の内部には、載置台12に臨むようにガス導入部材であるシャワーヘッド26がはめ込まれている。シャワーヘッド26は円筒状をなす本体31と、本体31の底部に設けられたシャワープレート32とを有している。本体31とシャワープレート32とで形成される空間には、シャワープレート32と平行に中間プレート33が設けられており、本体31の上部壁31aと中間プレート33との間は第1の空間34aとなっており、中間プレート33とシャワープレート32との間は第2の空間34bとなっている。
第1の空間34aには、ガス供給機構13の第1のガス供給配管61が挿入されており、第1の空間34aに繋がる複数のガス通路35が中間プレート33から第2空間34bに設けられたスペーサ36を通ってシャワープレート32の上面まで延びている。このガス通路35は、シャワープレート32に形成された複数の第1のガス吐出孔37に繋がっている。一方、第2の空間34bには、ガス供給機構の第2のガス供給配管63が挿入されており、この第2の空間34bには、シャワープレート32に形成された複数の第2のガス吐出孔38が繋がっている。
そして、第1のガス供給配管61から第1の空間34aに供給されたガスがガス通路35および第1のガス吐出孔37を経てチャンバー10内へ吐出される。また、第2のガス供給配管63から第2の空間34bに供給されたガスが第2のガス吐出孔38から吐出される。すなわち、第1のガス供給配管61から供給されたガスと、第2のガス供給配管63から供給されたガスがシャワーヘッド26から吐出した後に混合されるポストミックスタイプとなっている。
なお、第1のガス供給配管61から供給されたガスと、第2のガス供給配管63から供給されたガスがシャワーヘッド内で混合されるプレミックスタイプであってもよい。
チャンバー本体21の側壁部21aには、基板Wを搬入出する搬入出口41が設けられており、この搬入出口41はゲートバルブ42により開閉可能となっており、隣接する他のモジュールとの間で基板Wが搬送可能となっている。
載置台12は、平面視略円形をなしており、チャンバー10の底部21bに固定されている。載置台12の内部には、載置台12の温度を調節する温調器45が設けられている。温調器45は、例えば、温度を調節する温調媒体(例えば水など)が循環する温調媒体流路や、抵抗ヒーターで構成することができる。温調器45により載置台12が所望の温度に温調され、これにより載置台12に載置された基板Wの温度制御がなされる。
ガス供給機構13は、HFガス供給源51、Arガス供給源52、NH3ガス供給源53、およびN2ガス供給源54を有している。
HFガス供給源51はHFガスを供給するものであり、NH3ガス供給源53はNH3ガスを供給するものである。Arガス供給源52およびN2ガス供給源54は、希釈ガス、パージガス、キャリアガスとしての機能を兼ね備えた不活性ガスとして、N2ガス、Arガスを供給するものである。ただし、両方ともArガスまたはN2ガスであってもよい。また、不活性ガスはArガスおよびN2ガスに限定されず、Heガス等の他の希ガスを用いることもできる。
これらガス供給源51~54には、それぞれ第1~第4のガス供給配管61~64の一端が接続されている。HFガス供給源51に接続された第1のガス供給配管61は、上述したようにその他端がシャワーヘッド26の第1の空間34aに挿入されている。Arガス供給源52に接続された第2のガス供給配管62は、その他端が第1のガス供給配管61に接続されている。NH3ガス供給源53に接続された第3のガス供給配管63は、上述したようにその他端がシャワーヘッド26の第2の空間34bに挿入されている。N2ガス供給源54に接続された第4のガス供給配管64は、その他端が第3のガス供給配管63に接続されている。
HFガスとNH3ガスは、それぞれ不活性ガスであるArガスおよびN2ガスとともに、それぞれシャワーヘッド26の第1の空間34aおよび第2の空間34bに至り、ガス吐出孔37およびガス吐出孔38からチャンバー10内に吐出される。
第1~第4のガス供給配管61~64には、流路の開閉動作および流量制御を行う流量制御部65が設けられている。流量制御部65は例えば開閉弁およびマスフローコントローラ(MFC)またはフローコントロールシステム(FCS)のような流量制御器により構成されている。
排気機構14は、チャンバー10の底部21bに形成された排気口71に繋がる排気配管72を有しており、さらに、排気配管72に設けられた、チャンバー10内の圧力を制御するための自動圧力制御弁(APC)73およびチャンバー10内を排気するための真空ポンプ74を有している。
チャンバー10の側壁には、チャンバー10内の圧力制御のために高圧用および低圧用の2つのキャパシタンスマノメータ76a,76bが設けられている。載置台12に載置された基板Wの近傍には、基板Wの温度を検出する温度センサ(図示せず)が設けられている。
エッチング装置1を構成するチャンバー10、シャワーヘッド26、載置台12は、アルミニウムのような金属材料で形成されている。これらの表面には酸化皮膜等の皮膜が形成されていてもよい。
エッチング装置1は、さらに制御部80を有している。制御部80はコンピュ
ータで構成されており、CPUを備えた主制御部と、入力装置、出力装置、表示装置、記憶装置(記憶媒体)を有している。主制御部は、エッチング装置1の各構成部の動作を制御する。主制御部による各構成部の制御は、記憶装置に内蔵された記憶媒体(ハードディスク、光デスク、半導体メモリ等)に記憶された制御プログラムに基づいてなされる。記憶媒体には、制御プログラムとして処理レシピが記憶されており、処理レシピに基づいてエッチング装置1の処理が実行される。
ータで構成されており、CPUを備えた主制御部と、入力装置、出力装置、表示装置、記憶装置(記憶媒体)を有している。主制御部は、エッチング装置1の各構成部の動作を制御する。主制御部による各構成部の制御は、記憶装置に内蔵された記憶媒体(ハードディスク、光デスク、半導体メモリ等)に記憶された制御プログラムに基づいてなされる。記憶媒体には、制御プログラムとして処理レシピが記憶されており、処理レシピに基づいてエッチング装置1の処理が実行される。
<エッチング方法>
次に、以上のように構成されるエッチング装置1において行われる一実施形態に係るエッチング方法について説明する。以下のエッチング方法は、制御部80による制御のもとで行われる。
次に、以上のように構成されるエッチング装置1において行われる一実施形態に係るエッチング方法について説明する。以下のエッチング方法は、制御部80による制御のもとで行われる。
図2は、一実施形態に係るエッチング方法を示すフローチャートである。
まず、第1の酸化シリコン系膜と窒化シリコン系膜と第2の酸化シリコン系膜とをその順で積層してなる3層積層膜を有する基板Wをチャンバー10内に設ける(ステップST1)。
まず、第1の酸化シリコン系膜と窒化シリコン系膜と第2の酸化シリコン系膜とをその順で積層してなる3層積層膜を有する基板Wをチャンバー10内に設ける(ステップST1)。
次いで、チャンバー10内で、HF-NH3系ガスを用い、3層積層膜を各膜でガス比を調整しつつ一括してエッチングする(ステップST2)。
このとき、第1の酸化シリコン系膜、窒化シリコン系膜、および第2の酸化シリコン系膜のエッチングは、ローディングを最小限に抑制するために、各膜が良好な選択比で適切にエッチングされるように、ガス比を制御して実施される。また、各膜のエッチングは、載置台12の温度およびチャンバー10内の圧力を適切に制御して実施される。
酸化シリコン系膜および窒化シリコン系膜をHF-NH3系ガスでエッチングする際には、反応生成物としてケイフッ化アンモニウム(AFS)が生成される。このため、チャンバー10内で3層積層膜を構成する各膜を一括してエッチングするために、各膜のエッチングにおいて、HF-NH3系ガスを供給する操作と、チャンバー10内をパージする操作とを繰り返し行うサイクルエッチングを用いることが好ましい。これにより、HF-NH3系ガスを供給した際のAFSの生成と、パージによるAFSの昇華とが繰り返し行われ、エッチングを進行させることができる。繰り返し回数は、各膜の膜厚に応じて適宜設定される。
以下、より具体的に説明する。
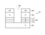
ステップST1において、基板Wは3層積層膜を有していればその構造は限定されないが、構造例として、例えば、図3に模式的に示すようなものを挙げることができる。図3の例では、基板Wは、基体(図示せず)上に、Si膜101が形成され、その上に、エッチング対象の3層積層膜であるONO積層膜102が形成されている。ONO積層膜102は、下から順に第2の酸化シリコン系膜113、窒化シリコン系膜112、および第1の酸化シリコン系膜111が積層して構成されている。第1の酸化シリコン系膜111、窒化シリコン系膜112、および第2の酸化シリコン系膜113のそれぞれの膜厚は、6~12nmの範囲であることが好ましい。ONO積層膜102の上には、Si膜103およびSiN膜104が形成され、Si膜103およびSiN膜104には、凹部(トレンチまたはホール)105が形成されている。なお、Si膜101,103はpoly-Si膜でもアモルファスSi膜(a-Si膜)でもよい。
ステップST1において、基板Wは3層積層膜を有していればその構造は限定されないが、構造例として、例えば、図3に模式的に示すようなものを挙げることができる。図3の例では、基板Wは、基体(図示せず)上に、Si膜101が形成され、その上に、エッチング対象の3層積層膜であるONO積層膜102が形成されている。ONO積層膜102は、下から順に第2の酸化シリコン系膜113、窒化シリコン系膜112、および第1の酸化シリコン系膜111が積層して構成されている。第1の酸化シリコン系膜111、窒化シリコン系膜112、および第2の酸化シリコン系膜113のそれぞれの膜厚は、6~12nmの範囲であることが好ましい。ONO積層膜102の上には、Si膜103およびSiN膜104が形成され、Si膜103およびSiN膜104には、凹部(トレンチまたはホール)105が形成されている。なお、Si膜101,103はpoly-Si膜でもアモルファスSi膜(a-Si膜)でもよい。
図3の基板Wに、ステップST2の第1の酸化シリコン系膜111、窒化シリコン系膜112、および第2の酸化シリコン系膜113の一括エッチングを施すことにより、図4に示すように、下地のSi膜101が露出した状態となる。
第1の酸化シリコン系膜111と第2の酸化シリコン系膜113は、SiとOとを主成分とし、添加物を含んでいてもよい。これらは同じ材料であってもよいが、異なる材料であることが好ましい。第1の酸化シリコン系膜としては、熱酸化膜(Th-SiO2膜)およびTEOS膜(CVD-SiO2膜)が例示される。TEOS膜とは、Siプリカーサとして、テトラエトキシシラン(TEOS)を用いてCVD法により形成された膜である。TEOS膜は、プラズマCVD法により形成したPTEOS膜であってもよい。第2の酸化シリコン系膜113としては、ALDにより成膜されたSiO2膜(ALD-SiO2膜)やSiON膜が例示される。これらは第1の酸化シリコン系膜111として用いる熱酸化膜やTEOS膜と比べて低密度の膜である。このように第2の酸化シリコン系膜113を第1の酸化シリコン系膜よりも低密度の膜とすることにより、第2の酸化シリコン系膜113を第1の酸化シリコン系膜111に対して選択的にエッチングすることができる。
窒化シリコン系膜112は、SiとNとを主成分とし、添加物を含んでいてもよい。窒化シリコン系膜112としては、CVD法やALD法で成膜されたSiN膜(CVD-SiN膜、ALD-SiN膜)が例示される。
ステップST2においては、図5に示すように、第1の酸化シリコン系膜111をエッチングする段階(ST2-1)、窒化シリコン系膜112をエッチングする段階(ST2-2)、および第2の酸化シリコン系膜113をエッチングする段階(ST2-3)が実施される。これらの段階で所望のエッチングを行うために、酸化シリコン系膜をエッチングする段階であるST2-1およびST2-3と、窒化シリコン系膜をエッチングする段階であるST2-2とで、HF-NH3系ガスのガス比を調整する。
図6は、NH3ガスとHFガスの比率を変化させてSiO2膜(Th-SiO2膜)とSiN膜をエッチングした際の、HFガスおよびNH3ガスに対するHFガスの比(HFガス比;HF/(HF+NH3)×100(%)))と、SiNに対するSiO2の選択比(SiO2/SiN)との関係を示す図である。この図に示すように、SiO2膜は、NH3ガスがリッチの範囲においてエッチングが進行しやすく、HFガス比が20%以下で窒化シリコン膜に対して100以上の高選択比が得られることがわかる。ただし、HFガス比が3%未満になると反応が進行し難くなる。一方、SiN膜は、HFガスがリッチの範囲においてエッチングが進行しやすく、HFガス比が99%以上程度で高選択比が得られることがわかる。具体的には、HFガス比が100%でSiO2/SiNが0.01以下、つまりSiO2に対するSiNの選択比が100以上となっていることがわかる。
したがって、酸化シリコン系膜をエッチングする段階であるST2-1およびST2-3では、HFガス比が3~20%であることが好ましい。より好ましくは3~9%の範囲である。この範囲で選択比に加え十分なエッチング量を得ることができる。
一方、窒化シリコン系膜をエッチングする段階であるST2-2では、HFガス比が99%以上であることが好ましい。より好ましくはHFガス比が100%である。
ステップST2のエッチング工程において、第2の酸化シリコン系膜113をエッチングする段階であるST2-3を実施するに際しては、第1の酸化シリコン系膜111に対して選択的にエッチングされることが好ましい。第1の酸化シリコン系膜111がTh-SiO2膜またはCVD-SiO2膜で、第2の酸化シリコン系膜113がALD-SiO2膜またはSiON膜の場合には、以下により、第2の酸化シリコン系膜113を選択的にエッチングすることができる。すなわち、第2の酸化シリコン系膜113をエッチングする際のHFガスの比率を、第1の酸化シリコン系膜111のエッチングよりも減少させることにより、第2の酸化シリコン系膜113を第1の酸化シリコン系膜111に対して選択的にエッチングすることができる。
以上のような好ましいガス比率で各膜をエッチングする際のガス流量は、以下のような範囲が好ましい。
・第1の酸化シリコン系膜111のエッチング段階(ST2-1)
HFガス:50~100sccm
NH3ガス:450~550sccm
N2ガス+Arガス:300~600sccm
・窒化シリコン系膜112のエッチング段階(ST2-2)
HFガス:800~1000sccm
NH3ガス:0~10sccm
N2ガス+Arガス:300~600sccm
・第2の酸化シリコン系膜113のエッチング段階(ST2-3)
HFガス:30~50sccm(第1の酸化シリコン系膜のエッチングの際よりも少なくする。)
NH3ガス:450~550sccm
N2ガス+Arガス:300~600sccm
・第1の酸化シリコン系膜111のエッチング段階(ST2-1)
HFガス:50~100sccm
NH3ガス:450~550sccm
N2ガス+Arガス:300~600sccm
・窒化シリコン系膜112のエッチング段階(ST2-2)
HFガス:800~1000sccm
NH3ガス:0~10sccm
N2ガス+Arガス:300~600sccm
・第2の酸化シリコン系膜113のエッチング段階(ST2-3)
HFガス:30~50sccm(第1の酸化シリコン系膜のエッチングの際よりも少なくする。)
NH3ガス:450~550sccm
N2ガス+Arガス:300~600sccm
ステップST2における圧力に関しては、第1および第2の酸化シリコン系膜111,113をエッチングする段階(ST2-1およびST2-3)においては、相対的に低圧にすることが好ましい。これにより、第1および第2の酸化シリコン系膜111,113を窒化シリコン系膜112に対して選択的にエッチングすることができる。一方、窒化シリコン系膜112をエッチングする段階(ST2-2)においては、相対的に高圧にすることが好ましい。これにより、窒化シリコン系膜112を第1および第2の酸化シリコン系膜111,113に対して選択的にエッチングすることができる。
より好ましくは、第1および第2の酸化シリコン系膜111,113をエッチングする段階(ST2-1およびST2-3)においては5Torr(667Pa)以下であり、窒化シリコン系膜112をエッチングする段階(ST2-2)においては5~100Torr(667~13332Pa)である。
窒化シリコン系膜112をエッチングする段階(ST2-2)の基板温度(載置台温度)は80~100℃が好ましく、90~100℃がより好ましい。温度をこの範囲にすることにより、窒化シリコン系膜112を現実的なエッチング量で第1および第2の酸化シリコン膜111,113に対して高選択比でエッチングすることができる。
図7は、HFガス100%、圧力20Torrおよび50Torrで、ALD-SiN膜とTh-SiO2膜を、載置台温度を90~120℃で変化させてエッチングした際における、載置台温度と各膜のエッチング量との関係、およびALD-SiN膜のTh-SiO2膜に対する選択比を示す図である。この図に示すように、90~100℃において、SiN膜を現実的なエッチング量で、かつSiO2膜に対して高選択比でエッチング可能である。105℃においては、選択比は高いがエッチング量が少なくなってしまう。
また、図3の構造の基板Wにおいては、ONO積層膜102の各膜のエッチングにおいてSi膜101および103に対する選択比が高いことが求められるが、温度が低いとSiがエッチングされてしまう。そのモデルは以下の通りである。図8はONO積層膜をエッチングする際にSiがエッチングされるモデルを示す図である。例えば、第1および第2の酸化シリコン系膜111,113をエッチングする際には、図8に示すように、HFガスおよびNH3ガスによりエッチングを行ってAFSが生成する過程でH2Oが発生する。そして、温度が低いとH2Oが残存し、H2Oと導入ガスであるNH3とが反応して、Siがアルカリエッチングされてしまう。この反応を抑制するためには、基板温度を上昇させてH2Oを除去することが好ましい。図9は、各温度でHFガスとNH3ガスによりTh-SiO2膜をエッチングしたときの、Th-SiO2膜のエッチング量とa-Si膜のエッチング量との関係を示す図である。この図に示すように、85℃ではTh-SiO2膜のa-Si膜に対する選択比が低い傾向にあるが、90℃においてはある程度高い選択比が得られており、温度が上昇するに従ってa-Siのエッチング量が低下している。したがって、ステップST2において各膜をSiに対して選択的にエッチングするためには、載置台温度(基板温度)は90℃以上が好ましい。上述したように、105℃ではSiN膜のエッチング量が少ないため、90~100℃が好ましい。
以上のSiN膜のSiO2膜に対する選択性およびSiO2膜のSi膜に対する選択性の結果を考慮すると、ステップST2のONO積層膜102のエッチングの際の基板温度(載置台温度)は、80~100℃が好ましく、90~100℃がより好ましい。この範囲内で各膜をエッチングする段階(ST2-1~ST2-3)で温度を変化させてもよいが、実質的に同一温度とすることが好ましい。
ステップST2における各膜をエッチングする段階(ST2-1~ST2-3)においては、上述したように、HF-NH3系ガスを供給して反応生成物を生成させる操作と、チャンバー10内をパージして反応生成物を昇華させる操作とを繰り返し実施するサイクルエッチングが好ましい。また、ONO積層膜102のエッチングが終了した後は、基板Wをチャンバー10から搬出して加熱装置により残渣除去のための加熱処理を行うことが好ましい。
各膜のサイクルエッチの際の1回のHF-NH3系ガスを供給する操作の時間は、20~60secの範囲が好ましい。また、1回のパージする操作の時間は、十分にAFSを除去する観点から3min以上が好ましく、3~5minの範囲がより好ましい。ただし、ONO積層膜102のエッチングが終了した後に残渣除去のための加熱処理を行う場合は、最後の第2の酸化シリコン系膜113をエッチングする段階(ST2-3)の際のパージ時間は短くてよく、30~60secの範囲が好ましい。
また、パージする操作は、チャンバー10内を真空引きするのみであってもよいし、真空引きしながらパージガスを供給してもよい。パージガスとしては、Arガス供給源52および/またはN2ガス供給源54から供給されるArガスおよび/またはN2ガスを用いることができる。AFSを効果的に排出するためには真空引きのみを実施することが好ましい。
パージする操作の際には、基板Wに生成されたAFSの昇華が進行し得る温度になるように載置台12の温度が設定される。載置台12の温度が上述した80~100℃の温度範囲であれば、サイクルエッチングにおけるパージする操作で反応生成物であるAFSを十分に除去可能である。
図3の構造の基板Wにおいては、ONO積層膜102をエッチングする際にSiN膜104に対する選択性も要求される。SiN膜104はONO積層膜102の窒化シリコン系膜112と同種の膜であるが、窒化シリコン系膜112をサイクルエッチングする際のパージ時間を長くしてAFSとH2Oを極力低減することにより、SiN膜104のロスを低減することができる。これにより、窒化シリコン系膜112をエッチングする際にSiN膜104に対する選択性も確保することができる。この際のパージ時間は3~5minの範囲であることが好ましい。
各膜のエッチングが終了した後は、チャンバー10内をパージする。パージガスとしては、Arガス供給源52および/またはN2ガス供給源54から供給されるArガスおよび/またはN2ガスを用いることができる。第2の酸化シリコン系膜113のエッチングが終了した後、このようにチャンバーのパージを行い、その後、基板Wをチャンバー10から搬出する。
上述の特許文献1に示すように、SiO2膜をHFガスおよびNH3ガスによりガスエッチングすることは従来から知られている。一方、半導体装置の構造中には、本実施形態で対象とするようなONO積層膜が多用されており、ONO積層膜のエッチングが求められる。ONO積層膜のエッチングに際しては、ローディングを最小限に抑制するため、SiO2膜とSiN膜を高い選択性でエッチングする必要があり、従来、SiO2膜のガスエッチングとSiN膜のウエットエッチングが併用されてきた。
これに対し、本実施形態では、ONO積層膜を構成する第1の酸化シリコン系膜、窒化シリコン系膜、第2の酸化シリコン系膜のガス比率等の条件を最適化し、さらにサイクルエッチを適用することにより、ONO積層膜をガスエッチングによる一括エッチングでエッチングすることが可能となる。これにより、ONO積層を従来よりも簡易な工程により高スループットでエッチングすることができる。
また、ONO積層膜に隣接する位置にSi膜が存在する場合には、Si膜に対して高選択比でONO積層膜をエッチングすることが要求される。特に、図3のように、ONO積層膜102の下地となるSi膜101は、トランジスタの機能部(チャネル等)となることが多く、ONO積層膜102をエッチングした際に極力エッチングされないことが要求される。これに対して、本実施形態では、上述したように、ONO積層膜をSi膜に対しても高選択比でエッチングすることができる。
<他の適用>
以上、実施形態について説明したが、今回開示された実施形態は、全ての点で例示であって制限的なものではないと考えられるべきである。上記の実施形態は、添付の特許請求の範囲およびその主旨を逸脱することなく、様々な形態で省略、置換、変更されてもよい。
以上、実施形態について説明したが、今回開示された実施形態は、全ての点で例示であって制限的なものではないと考えられるべきである。上記の実施形態は、添付の特許請求の範囲およびその主旨を逸脱することなく、様々な形態で省略、置換、変更されてもよい。
例えば、上記実施形態の装置は例示に過ぎず、種々の構成の装置を適用することができる。また、基板として半導体ウエハを例示したが、FPD(フラットパネルディスプレイ)基板や、セラミックス基板等の他の基板であってもよい。
1;エッチング装置
10;チャンバー
12;載置台
13;ガス供給機構
14;排気機構
26;シャワーヘッド
45;温調器
51;HFガス供給源
53;NH3ガス供給源
80;制御部
101,103;Si膜
102;ONO積層膜
104;SiN膜
105;凹部
111;第1の酸化シリコン系膜
112;窒化シリコン系膜
113;第2の酸化シリコン系膜
W;基板
10;チャンバー
12;載置台
13;ガス供給機構
14;排気機構
26;シャワーヘッド
45;温調器
51;HFガス供給源
53;NH3ガス供給源
80;制御部
101,103;Si膜
102;ONO積層膜
104;SiN膜
105;凹部
111;第1の酸化シリコン系膜
112;窒化シリコン系膜
113;第2の酸化シリコン系膜
W;基板
Claims (18)
- 第1の酸化シリコン系膜と窒化シリコン系膜と第2の酸化シリコン系膜とを積層してなる3層積層膜を有する基板をチャンバー内に設ける工程と、
前記チャンバー内で、HF-NH3系ガスを用い、前記3層積層膜を、各膜におけるガス比を調整しつつ一括してエッチングする工程と、
を有する、エッチング方法。 - 前記第1の酸化シリコン系膜、前記窒化シリコン系膜、および前記第2の酸化シリコン系膜の各膜のエッチングは、HF-NH3系ガスを供給して反応生成物を生成させる操作と、チャンバー内をパージして反応生成物を昇華させる操作とを繰り返し実施するサイクルエッチングにより行う、請求項1に記載のエッチング方法。
- 前記第1の酸化シリコン系膜、前記窒化シリコン系膜、および前記第2の酸化シリコン系膜の前記パージする操作の時間を3~5minとする、請求項2に記載のエッチング方法。
- 前記エッチングする工程の後、前記チャンバーから前記基板を搬出する工程と、搬出された前記基板を加熱して残渣除去を行う工程とをさらに有し、
前記第1の酸化シリコン系膜および前記窒化シリコン系膜の前記パージする操作の時間を3~5minとし、前記第2の酸化シリコン系膜の前記パージする操作の時間を30~60secとする、請求項2に記載のエッチング方法。 - 前記基板は、前記3層積層膜以外の部分にSiN膜を有し、前記窒化シリコン系膜をエッチングする際に、前記パージする操作の時間を3~5minとする、請求項2に記載のエッチング方法。
- 前記第1の酸化シリコン系膜および前記第2の酸化シリコン系膜をエッチングする際には、前記HF-NH3系ガスとして、HFガスとNH3ガスをHF/(HF+NH3)が3~20%になるようなガス比で供給し、前記窒化シリコン系膜をエッチングする際には、前記HF-NH3系ガスとして、HFガスとNH3ガスをHF/(HF+NH3)が99%以上になるようなガス比で供給する、請求項1から請求項5のいずれか一項に記載のエッチング方法。
- 前記第1の酸化シリコン系膜および前記第2の酸化シリコン系膜をエッチングする際には、前記チャンバー内の圧力を667Pa以下とし、前記窒化シリコン系膜をエッチングする際には、前記チャンバー内の圧力を667~13332Paの範囲とする、請求項1から請求項6のいずれか一項に記載のエッチング方法。
- 前記窒化シリコン系膜をエッチングする際の前記基板の温度は、80~100℃である、請求項1から請求項7のいずれか一項に記載のエッチング方法。
- 前記3層積層膜をエッチングする際の前記基板の温度は、80~100℃である、請求項8に記載のエッチング方法。
- 前記基板は、前記3層積層膜に隣接してSiを有し、前記3層積層膜をエッチングする際の前記基板の温度は90~100℃の範囲である、請求項9に記載のエッチング方法。
- 前記3層積層膜のエッチングは、前記第1の酸化シリコン系膜から開始され、前記第2の酸化シリコン系膜で終了し、
前記第1の酸化シリコン系膜は、熱酸化膜またはTEOS膜であり、前記第2の酸化シリコン系膜は、ALDで成膜された酸化シリコン膜、またはSiON膜である、請求項1から請求項10のいずれか一項に記載のエッチング方法。 - 前記第2の酸化シリコン系膜のエッチングの際に、HFガス流量が前記第1の酸化シリコン系膜のエッチングの際よりも少なくなるようにする、請求項11に記載のエッチング方法。
- 第1の酸化シリコン系膜と窒化シリコン系膜と第2の酸化シリコン系膜とを積層してなる3層積層膜を有する基板を収容するチャンバーと、
前記チャンバー内で前記基板を載置する載置台と、
前記チャンバー内に塩基性ガスとフッ素含有ガスを供給するガス供給部と、
前記チャンバー内を排気する排気部と、
前記載置台上の基板の温度を調節する温調部と、
制御部と、
を具備し、
前記制御部は、前記チャンバー内の前記載置台に載置された前記基板に対し、HF-NH3系ガスを用い、前記3層積層膜が、各膜におけるガス比を調整しつつ一括してエッチングされるように、前記ガス供給部と、前記排気部と、前記温調部とを制御する、エッチング装置。 - 前記制御部は、前記第1の酸化シリコン系膜、前記窒化シリコン系膜、および前記第2の酸化シリコン系膜の各膜のエッチングが、HF-NH3系ガスを供給して反応生成物を生成させる操作と、チャンバー内をパージして反応生成物を昇華させる操作とを繰り返し実施することにより行われるように制御する、請求項13に記載のエッチング装置。
- 前記制御部は、前記第1の酸化シリコン系膜および前記第2の酸化シリコン系膜をエッチングする際には、前記HF-NH3系ガスとして、HFガスとNH3ガスをHF/(HF+NH3)が3~20%になるようなガス比で供給させ、前記窒化シリコン系膜をエッチングする際には、前記HF-NH3系ガスとして、HFガスとNH3ガスをHF/(HF+NH3)が99%以上になるようなガス比で供給させる、請求項13または請求項14に記載のエッチング装置。
- 前記制御部は、前記第1の酸化シリコン系膜および前記第2の酸化シリコン系膜をエッチングする際には、前記チャンバー内の圧力を667Pa以下に制御し、前記窒化シリコン系膜をエッチングする際には、前記チャンバー内の圧力を667~13332Paの範囲に制御する、請求項13から請求項15のいずれか一項に記載のエッチング装置。
- 前記制御部は、前記3層積層膜をエッチングする際の前記基板の温度を、80~100℃に制御する、請求項13から請求項16のいずれか一項に記載のエッチング装置。
- 前記3層積層膜のエッチングは、前記第1の酸化シリコン系膜から開始され、前記第2の酸化シリコン系膜で終了し、前記第1の酸化シリコン系膜は、熱酸化膜またはTEOS膜であり、前記第2の酸化シリコン系膜は、ALDで成膜された酸化シリコン膜、またはSiON膜であり、
前記制御部は、前記第2の酸化シリコン系膜のエッチングの際に、HFガス流量が前記第1の酸化シリコン系膜のエッチングの際よりも少なくなるように制御する、請求項13から請求項17のいずれか一項に記載のエッチング装置。
Priority Applications (7)
| Application Number | Priority Date | Filing Date | Title |
|---|---|---|---|
| JP2020188278A JP7561579B2 (ja) | 2020-11-11 | 2020-11-11 | エッチング方法およびエッチング装置 |
| KR1020257035567A KR20250158820A (ko) | 2020-11-11 | 2021-10-28 | 에칭 방법 및 에칭 장치 |
| US18/247,669 US12381090B2 (en) | 2020-11-11 | 2021-10-28 | Etching method and etching apparatus |
| CN202180066737.1A CN116325081A (zh) | 2020-11-11 | 2021-10-28 | 蚀刻方法和蚀刻装置 |
| PCT/JP2021/039777 WO2022102421A1 (ja) | 2020-11-11 | 2021-10-28 | エッチング方法およびエッチング装置 |
| KR1020237011149A KR102877738B1 (ko) | 2020-11-11 | 2021-10-28 | 에칭 방법 및 에칭 장치 |
| US19/262,194 US20250336682A1 (en) | 2020-11-11 | 2025-07-08 | Etching method and etching apparatus |
Applications Claiming Priority (1)
| Application Number | Priority Date | Filing Date | Title |
|---|---|---|---|
| JP2020188278A JP7561579B2 (ja) | 2020-11-11 | 2020-11-11 | エッチング方法およびエッチング装置 |
Publications (2)
| Publication Number | Publication Date |
|---|---|
| JP2022077419A JP2022077419A (ja) | 2022-05-23 |
| JP7561579B2 true JP7561579B2 (ja) | 2024-10-04 |
Family
ID=81601106
Family Applications (1)
| Application Number | Title | Priority Date | Filing Date |
|---|---|---|---|
| JP2020188278A Active JP7561579B2 (ja) | 2020-11-11 | 2020-11-11 | エッチング方法およびエッチング装置 |
Country Status (5)
| Country | Link |
|---|---|
| US (2) | US12381090B2 (ja) |
| JP (1) | JP7561579B2 (ja) |
| KR (2) | KR20250158820A (ja) |
| CN (1) | CN116325081A (ja) |
| WO (1) | WO2022102421A1 (ja) |
Families Citing this family (3)
| Publication number | Priority date | Publication date | Assignee | Title |
|---|---|---|---|---|
| JP2024062579A (ja) * | 2022-10-25 | 2024-05-10 | 東京エレクトロン株式会社 | 基板処理方法及び基板処理装置 |
| KR20240101508A (ko) * | 2022-12-19 | 2024-07-02 | 주식회사 히타치하이테크 | 에칭 방법 |
| WO2025150427A1 (ja) * | 2024-01-09 | 2025-07-17 | 東京エレクトロン株式会社 | エッチング方法及びプラズマ処理システム |
Citations (3)
| Publication number | Priority date | Publication date | Assignee | Title |
|---|---|---|---|---|
| JP2014060220A (ja) | 2012-09-14 | 2014-04-03 | Tokyo Electron Ltd | エッチング装置およびエッチング方法 |
| JP2016154209A (ja) | 2015-02-16 | 2016-08-25 | 東京エレクトロン株式会社 | 基板処理方法及び基板処理装置 |
| JP2018207088A (ja) | 2017-05-30 | 2018-12-27 | 東京エレクトロン株式会社 | エッチング方法 |
Family Cites Families (7)
| Publication number | Priority date | Publication date | Assignee | Title |
|---|---|---|---|---|
| JP3897518B2 (ja) * | 2000-05-31 | 2007-03-28 | 芝浦メカトロニクス株式会社 | シリコンナイトライド膜のエッチング方法 |
| JP4833512B2 (ja) | 2003-06-24 | 2011-12-07 | 東京エレクトロン株式会社 | 被処理体処理装置、被処理体処理方法及び被処理体搬送方法 |
| JP5084250B2 (ja) | 2006-12-26 | 2012-11-28 | 東京エレクトロン株式会社 | ガス処理装置およびガス処理方法ならびに記憶媒体 |
| TW201108324A (en) * | 2009-03-24 | 2011-03-01 | Tokyo Electron Ltd | A method for processing a substrate |
| KR20140022917A (ko) * | 2011-08-25 | 2014-02-25 | 다이니폰 스크린 세이조우 가부시키가이샤 | 패턴 형성 방법 |
| JP5968130B2 (ja) | 2012-07-10 | 2016-08-10 | 東京エレクトロン株式会社 | プラズマ処理方法及びプラズマ処理装置 |
| JP6405958B2 (ja) * | 2013-12-26 | 2018-10-17 | 東京エレクトロン株式会社 | エッチング方法、記憶媒体及びエッチング装置 |
-
2020
- 2020-11-11 JP JP2020188278A patent/JP7561579B2/ja active Active
-
2021
- 2021-10-28 CN CN202180066737.1A patent/CN116325081A/zh active Pending
- 2021-10-28 KR KR1020257035567A patent/KR20250158820A/ko active Pending
- 2021-10-28 KR KR1020237011149A patent/KR102877738B1/ko active Active
- 2021-10-28 US US18/247,669 patent/US12381090B2/en active Active
- 2021-10-28 WO PCT/JP2021/039777 patent/WO2022102421A1/ja not_active Ceased
-
2025
- 2025-07-08 US US19/262,194 patent/US20250336682A1/en active Pending
Patent Citations (3)
| Publication number | Priority date | Publication date | Assignee | Title |
|---|---|---|---|---|
| JP2014060220A (ja) | 2012-09-14 | 2014-04-03 | Tokyo Electron Ltd | エッチング装置およびエッチング方法 |
| JP2016154209A (ja) | 2015-02-16 | 2016-08-25 | 東京エレクトロン株式会社 | 基板処理方法及び基板処理装置 |
| JP2018207088A (ja) | 2017-05-30 | 2018-12-27 | 東京エレクトロン株式会社 | エッチング方法 |
Also Published As
| Publication number | Publication date |
|---|---|
| KR20230058504A (ko) | 2023-05-03 |
| US12381090B2 (en) | 2025-08-05 |
| WO2022102421A1 (ja) | 2022-05-19 |
| US20240006187A1 (en) | 2024-01-04 |
| JP2022077419A (ja) | 2022-05-23 |
| US20250336682A1 (en) | 2025-10-30 |
| CN116325081A (zh) | 2023-06-23 |
| KR102877738B1 (ko) | 2025-10-28 |
| KR20250158820A (ko) | 2025-11-06 |
Similar Documents
| Publication | Publication Date | Title |
|---|---|---|
| US12494364B2 (en) | Method of manufacturing semiconductor device, substrate processing method, substrate processing apparatus, and recording medium | |
| CN109216186B (zh) | 蚀刻方法和残渣去除方法 | |
| KR102368311B1 (ko) | 반도체 장치의 제조 방법, 기판 처리 방법, 기판 처리 장치, 및 프로그램 | |
| US11735442B2 (en) | Method of operating substrate processing apparatus, method of manufacturing semiconductor device, substrate processing apparatus, and recording medium | |
| US20250336682A1 (en) | Etching method and etching apparatus | |
| CN110783188B (zh) | 蚀刻方法和蚀刻装置 | |
| KR102288228B1 (ko) | 반도체 장치의 제조 방법, 기판 처리 장치 및 프로그램 | |
| TW201624564A (zh) | 蝕刻方法 | |
| JP7778183B2 (ja) | エッチング方法およびエッチング装置 | |
| TW201941283A (zh) | 蝕刻方法 | |
| JPWO2019012797A1 (ja) | 半導体装置の製造方法、基板処理装置およびプログラム | |
| JPWO2019186637A1 (ja) | 半導体装置の製造方法、基板処理装置およびプログラム | |
| US11827979B2 (en) | Cleaning method, method of manufacturing semiconductor device, substrate processing apparatus, and recording medium | |
| JP2023065305A (ja) | 成膜方法及び成膜システム | |
| WO2023112423A1 (ja) | ガス処理方法およびガス処理装置 | |
| WO2023127137A1 (ja) | 基板処理方法、半導体装置の製造方法、基板処理装置、およびプログラム |
Legal Events
| Date | Code | Title | Description |
|---|---|---|---|
| A621 | Written request for application examination |
Free format text: JAPANESE INTERMEDIATE CODE: A621 Effective date: 20230814 |
|
| TRDD | Decision of grant or rejection written | ||
| A01 | Written decision to grant a patent or to grant a registration (utility model) |
Free format text: JAPANESE INTERMEDIATE CODE: A01 Effective date: 20240827 |
|
| A61 | First payment of annual fees (during grant procedure) |
Free format text: JAPANESE INTERMEDIATE CODE: A61 Effective date: 20240924 |
|
| R150 | Certificate of patent or registration of utility model |
Ref document number: 7561579 Country of ref document: JP Free format text: JAPANESE INTERMEDIATE CODE: R150 |